目录
5
5
10
标段与B标段接口划分 11
11
12
13
14
14
15
24
34
34
37
41
48
52
61
61
62
63
66
67
68
68
69
69
71
71
71
73
76
127
160
163
168
168
170
192
195
195
195
199
205
260
261
263
285
313
314
326
333
1.1 本标段项目名称:河南********有限公司2×300MW 机组工程—A 标段水塔、烟囱工程
1.2 工程地点:河南省***市**区
1.3 本标段工程总工期要求:要求2005 年3 月18 日开工,应满足里程碑事件及工期的要求如下:
烟囱结构到顶 2005 年11 月15 日
#1 水塔结构到顶 2005 年12 月18 日
#2 水塔结构到顶 2006 年03 月18 日
#1 水塔通水 2006 年01 月15 日
#2 水塔通水 2006 年 07 月 31 日
1.4 厂址自然条件
1.4.1 地理位置与地形地貌
本期 2×300MW 机组的场地在古城电厂南围墙外。**电厂位于**市南约 10km 的**乡,西侧紧靠京广铁路,距铁路约 500m,北距***乡政府约 200m,东距陈堂村约 1500m,东距京珠高速公路约3 公里,南距余庄村约300m。
拟建场地地貌上处于*********山前缓倾斜冲洪积平原地带,地貌单一,地形较平坦呈极缓波状起伏,总体地势向东南倾斜,地形起伏差2~3m。因分布有浅阔排水小沟和小水塘,地形稍显复杂。
1.4.2 厂区工程地质
厂区地基土主要为第四系冲洪积的粘性土与粉土地层,勘探深度内揭露的岩土地层依据其年代早晚和物理及工程特性的差异分为九层,上部地层又有少量夹层。分述如下:
①层:粘土,棕黄、棕褐等色,含铁锰质和少量高岭土灰白斑。湿,可塑~硬塑,具中压缩性。层厚1.30m~3.10m,层底标高71.79~75.72m。
②层:粉质粘土,灰黄、灰褐或褐黄等色,含少量氧化铁锰和灰白高岭土软斑或黄色粉土硬斑,局部粘性强而变为粘土。湿~很湿,可塑,具中压缩性。层底埋深5.10 m~7.20m,层厚2.00m~5.6m, 层底标高69.48m~70.72m。
③层:粘土,褐黄、黄褐、棕褐等色, 含氧化铁、锰结核和灰白高岭土斑纹。湿,硬塑,具中压缩性。层底埋深10.20~12.20m,层厚4.30~5.60m,标高63.88~66.02m。
④层:粉质粘土,黄褐、褐黄等色,含少量铁锰质结核。很湿,可塑,具中压缩性。层底埋深14.60~16.80m,厚度2.90~4.90m,标高59.08~62.92m。
⑤层:粉质粘土,灰褐、褐黄等色,含铁锰质和少量灰色条纹、黄色粘土硬斑及小姜石。湿~很湿,可塑,具中压缩性。层底埋深18.50m~21.50m,厚度2.80~6.10m,标高55.39~58.52m。
⑥层:粉土:褐黄、灰黄等色,含云母和氧化铁条纹,见少量灰白高岭土条纹,粘性不均,中密~密实,湿~很湿,具中(偏低)压缩性。层底埋深24.00m~26.50m,厚度2.80m~6.40m,标高50.69~52.92m。
⑦层:粉质粘土,褐黄、灰黄等色,不均匀分布有铁锰质和灰白色高岭土斑,顶部局部见有硅质小卵砾石。湿~很湿,可塑,具中压缩性。
层底埋深28.90~31.90m,厚度3.60m~7.70m,标高42.99~47.69m。
⑧层:粉土,黄棕、黄褐、灰白等色,含氧化铁,不均匀含锰质和夹有灰白色高岭土条带。中密~密实,湿~很湿,可塑,具中压缩性。层底埋深32.70m~35.70m,厚度1.90m~6.80m,标高40.89~45.02m。
⑨层:粉质粘土,褐黄、灰黄等色,含铁锰质和较多灰白色高岭土斑纹、条带。湿~很湿,可塑为主,具中压缩性。所有勘探点勘探深度全止于该层,揭露厚度5.10~7.70m。
1.4.3 厂区水文地质条件
厂区内地下水为粘性土孔隙裂隙水。地下水稳定水位埋深0.55~2.55m,水位标高73.33~76.82m,水力坡度微向东南倾斜。地下水水质清洁,无嗅无味,但水量不丰富,水位变化与大气降水密切相关。当基础长期浸水时:地下水水质对混凝土结构、钢筋混凝土结构中的钢筋以及对钢结构均无腐蚀性;当基础干湿交替时:东部地下水对钢筋混凝土结构中的钢筋有弱腐蚀性。
流经厂址附近的河流为臻头河支流马张河,距厂址最近处约200m。厂址处地势相对较高,厂址不受百年一遇的洪水威胁(厂址处百年一遇洪水位为75.0m)。
1.4.4 厂区抗震设防烈度
根据《中国地震动参数区划图》(GB18306-2001),拟建场地处于地震动峰值加速度小于0.05g 区,基本地震烈度为6 度,位于地震动反应谱特征周期分区1 区。
1.4.5 气象参数
多年平均气温 14.9℃
多年平均气压 1006.9hPa
极端最高气温 41.9℃
多年极端最低气温 -18.1℃
多年年平均降雨量 957.4mm
多年年最大降雨量 1007.7mm
最大一日降雨量 420.4mm
多年平均雷暴日数 23d
年平均相对湿度 72.4%
年日照时数 2670h
多年平均风速 2.5m/s
全年盛行风向 NNW
多年最大土壤冻结厚度 16cm
1.4.6 交通条件
**市地处**省中部,京广铁路、京珠高速公路、107 国道等均穿境而过,境内省、县、乡三级公路网十分发达,整个区域交通条件均较好。进厂道路已经通到厂区。
电厂建有铁路专用线,在厂区北面约 1km 处接轨于京广线马**站,专用线自西向东进入厂区。
1.4.7 电厂建设性质、规模及建设用地
本工程建设 2×300MW 国产燃煤机组,总平面布置留有扩建 2×600MW 机组的余地。
本期工程建设用地详见总平面布置图。
本标段(A 标段水塔、烟囱工程)为2×300MW 燃煤机组配套的、满足安全运行的烟囱和冷却塔的地上、地下建构筑物的土建工程设施,包括但不限于烟囱、冷却塔的各项有关土建工序工程以及与其相关的填充物、避雷装置、色环等。
2.2 建构筑物概况
2.2.1 烟囱
烟囱为现浇钢筋混凝土套筒烟囱,高210m、喉部内径7m、筒壁双层配筋。内衬为耐酸胶泥砌筑耐酸砖,筒壁内侧刷防酸涂料,耐热层采用玻璃棉毡,标高70m 以上筒身外侧涂航空标志漆。烟囱基础采用钢筋混凝土环板基础,基础埋深-7.0m。
2.2.2 冷却塔
本期拟建二座5500m2 自然通风冷却塔。冷却塔塔筒采用现浇钢筋混凝土旋转壳体结构,塔筒旋转壳体母线由三段曲线连接而成,壳体最大壁厚750mm,最小壁厚180mm,塔筒内壁防水涂刷冷却塔专用防水涂料。基础采用环板基础,现浇钢筋混凝土结构,环型基础宽5.0m,厚1.4m。塔筒与基础间采用40 对钢筋混凝土人字柱连接,人字柱为圆形断面,直径650mm。
冷却塔主要几何参数为:
塔顶高度 123.4m 塔顶半径 27.580m
喉部高度 92.550m 喉部半径 25.365m
进风口高度 8.328m 进风口半径 42.746m 基础底中心半径 46.572m
A 标段(即烟囱、冷却塔工程)与B 标段的交接划界,以《电力工业基本建设预算管理制度及规定》(2002 年版)为依据,原则上是以设计院出具的施工图内容为准,接口部位的连接由后施工的单位完成。详见《附件LA 标段烟囱、冷却塔工程范围和接口》。
4.1 根据招标文件描述(附件P 业主提供的设备、材料),业主提供的设备、材料基本属于《电力工业基本建设预算管理制度及规定》(2002 年版)划分的内容范围。凡不属于附件P 所列明的设备、材料均属于承包商负责的范围。承包商负责设备的短途运输(自业主指定的卸货点至施工现场),含卸车、运输中的二次转运、保管、开箱检查验收、发放。
4.2 根据招标文件描述,甲方施工用电设置2×1600kVA+1×800kVA 变压器。变压器总容量4000kVA, 满足《火力发电工程施工组织设计导则》的要求。
4.3 根据招标文件描述,冷却塔所在场地工程地质条件相对较为复杂,地基土总体工程特性相对稍差。冷却塔所在场地地下水位较高,施工期间需采取人工降水措施。
4.4 工程质量等级要求:全部达到国家和部颁检验评定优良标准,达标投产。
5.1 《河南************有限公司2×300MW 机组工程施工组织总设计》
5.2 厂区总平面布置图。
5.3 烟囱基础及烟囱筒身施工图。
5.4 5500m2 自然通风冷却塔塔筒塔基土建施工图。
5.5 5500m2 自然通风冷却塔淋水装置土建施工图。
5.6 自然通风冷却塔桩基础施工图。
5.7 国家电力公司电源建设部《火力发电工程施工组织设计导则》。
5.8 工程采用的技术规范及验收标准。
在满足合同工期的条件下,满足业主根据工程建设实际情况,对总体网络进度计划作相应调整。
6.2 严格满足业主的质量管理要求。
工程质量目标:本工程争创国家优质工程。本标区建筑工程要求分项工程一次性验收合格率100%,单位工程优良率大于85%。
工程质量分解目标:
单位工程优良率:建筑≥90%,安装≥98%,其中关键项目,隐蔽工程的优良率100%。
建筑工程: 钢筋焊接及机械连接合格率 100%
混凝土R28 合格率 100%
混凝土表面无蜂窝、麻面、露筋等质量缺陷,表面平整,颜色一致。
建筑工程在首次启动前无尾工、无明显缺陷,达到移交条件。
与工程同步移交竣工资料,文件资料齐全、准确、工整、规范,符合档案达标要求。
6.3 严格满足业主的工程安全管理目标要求。
杜绝人身死亡事故;杜绝重大施工机械设备损坏事故;不发生重大火灾事故,不发生交通事故,不发生重大环境污染事故,轻伤事故统计率控制在1‰以内,严格控制各种习惯性违章。
6.4 严格满足业主关于职业健康的要求。
作好噪声防治,防暑降温工作。
6.5 严格满足业主现场文明施工管理的要求。
6.6 严格满足业主关于环境管理、合同管理、信息管理和工程保险的有关规定。
组织机构图


2.2 主要负责人及管理部门职责
2.2.1 项目经理
2.2.1.1 受公司总经理委托全面负责本合同的履行,对本工程的质量、安全、进度、效益目标的实现负责。
2.2.1.2 领导各级人员抓好管理工作。严格按公司质量手册所规定的要求、程序、内容工作。
处理协调须经理平衡、决策的问题,签署发布相关的指令。
2.2.1.3 严格按合同条款及公司授权范围管好、用好工程资金及其它各项费用。
2.2.1.4 组织各方力量,科学、合理地安排本工程项目的施工,确保本工程文明、优质、安全、准点、高效。
2.2.1.5 代表公司及项目部承诺并处理政府、上级部门、业主方、监理方、兄弟单位指派、委托的各项事务。
2.2.1.6 代表公司及项目部洽谈、承诺本工程或本工程项目外的有关事项。
2.2.1.7 定期向上级汇报本工程及项目管理情况,及时传达、布置上级安排的工作。
2.2.2 项目副经理
2.2.2.1 组织、指导经营管理所属各有关专业展开的日常工作。监督、检查各专业工作情况,做好项目经理的参谋工作。
2.2.2.2 代表公司及项目部参加业主、工程监理机构安排的会议,承诺并处理会议决定。
2.2.2.3 及时与业主方及有关部门在工程资金到位、使用等方面取得共识,管好、理清工程费用帐目。
2.2.2.4 通过对工程全过程的合同管理、经营管理,使各项合同及经营指标得到控制。
2.2.2.5 指导、督促有关专业做好人力资源、物流管理、合同事务管理、预决算管理、物资管理等工作。
2.2.2.6 对本工程的经营状况定期作出分析、评价、建议,供项目经理及我公司有关职能部门、经理决策。
2.2.3 项目总工程师
2.2.3.1 全面负责本工程的技术管理工作。
2.2.3.2 组织编制施工组织专业设计、技术措施、方案。
2.2.3.3 指导工程管理组展开工作,并监督检查其实施运转情况。
2.2.3.4 负责合同中各项技术条款的落实,协调处理工程进度、质量控制、施工技术、安全技术措施中出现的问题,并作出决策。
2.2.3.5 保证对业主方的各项技术承诺得到贯彻落实,通过对工程全过程的管理,使各项技术管理工作目标得到实现。
2.2.3.6 根据监理工程师的指令,及时指示、督促有关专业、人员做出相应的调整工作。
2.2.3.7 落实、处理项目经理承诺、接受的各项任务中的技术问题。
2.2.3.8 负责指导项目内的起重运输、计量、金属、继电保护、混凝土、测量、绝缘等技术监督的工作,督促各专业严格按标准施工。
2.2.3.9 负责本工程内项目的竣工资料移交工作。
2.2.4 工程管理部
2.2.4.1 全面负责本工程的施工进度、施工信息、施工技术、施工规划、施工管理、质量管理、安全管理工作。
2.2.4.2 负责本工程信息管理工作,计算机网络的运行和维护。
2.2.4.3 负责运用P3 软件编制施工进度及网络计划,并进行阶段控制、节点考核、滚动落实、动态管理。
2.2.4.4 负责组织施工组织设计的编制工作,负责分专业组织设计的审批审定,施工作业指导书审定。
2.2.4.5 负责本工程内重大施工方案的提出与编制、送审与修正。
2.2.4.6 负责提出本工程内发生重大事件的分析、处理意见和报审。
2.2.4.7 负责编制施工中的资源配置、机具配置、劳动力配置、材料配置。
2.2.4.8 负责施工中各阶段施工技术文件、资料的整理、存档、移交工作。
2.2.4.9 负责按照规定的程序与格式处理与业主方、设计院、供应商之间往来的文件、图纸、资料的收发、存档工作,并落实处理部门。
2.2.4.10 负责对工程质量管理、工艺质量的薄弱环节,组织开展QC 小组或攻关小组活动,制定质量攻关目标及措施,并定期检查,督促实施。
2.2.4.11 负责本工程内施工具体安排、各专业进度协调、工程调度、质量验评、现场安全管理、文明施工管理、施工机械调度安排等全方位、全过程的施工管理。
2.2.4.12 按已定施工总进度要求安排、落实、检查各专业施工项目执行情况,处理、协调施工中出现的各种问题,使施工有序、规范进行。
2.2.4.13 制定工程调度、协调的规章制度和管理办法,组织各部门加以贯彻落实,严格按计划、措施把握工程总体要求,确保本工程的各项节点进度按时完成。
2.2.4.14 负责收集、整理施工过程中的各种信息,及时报送各有关班组处理,重大问题报送项目经理、项目主任工程师。
2.2.4.15 负责与业主方、监理工程师、设计院、设备供货商及其它的施工单位在本工程上的具体事务联系,办理交接验收手续、处理其它相关问题。
2.2.4.16 负责主持召开内部工程进度协调会,参加工程建设管理部门召集的工程协调会,落实安排会议决定的内容。
2.2.4.17 负责主要施工机械的平衡和调度。
2.2.4.18 负责质量检验三级验收,对实物质量的不符合品签发不合格项报告并跟踪、监督、直到封闭。
2.2.4.19 负责全过程、全方位施工安全监察。
2.2.4.20 负责总平面的管理,施工现场水、电、道路和排水的管理。
2.2.4.21 负责督促施工人员及时整理在施工过程中形成数据记录及技术文件和收集工作。
2.2.4.22 负责竣工资料的收集、整理、查阅、出版和移交。
2.2.4.23 负责金属、计量、混凝土、测量工作和调试工作。
2.2.4.24 本组设专业工程师、资料主管(兼职)、施工主管兼总平面、机具、计量主管、质量兼安全主管,分别开展自身业务工作。
2.2.5 经管部
2.2.5.1 经营管理组任务:合同管理、劳资管理、物供管理及财务。
2.2.5.2 管理本工程内发生的各项合同、物资供应、劳动力调配及我公司财务科指派的财务业务工作。
2.2.5.3 配合工程管理组对工程管理中的人力资源、物流管理进行预测、控制。及时下达月度计划,按时报送月度及年度工程报告。
2.2.5.4 配合工程管理组严格按《合同法》的要求及时订立各类用工、采购、培训等合同,检查合同执行、实施情况,对违规问题提出警告并做出相应处理,重大问题及时报告经理决策。
2.2.5.5 负责与业主方和其它相关单位的经管部门的业务往来。
2.2.5.6 负责编制本工程各施工项目的预、决算,及时下达各项经济考核指标,并严格控制,防止超标。
2.2.5.7 收集、积累施工中各项技术经济指标、数据统计资料,定期测算,编写经济分析比较资料。
2.2.5.8 收集、整理、汇总各专业上报的工程日报资料,编制、出版工程月报。
2.2.5.9 定期编制项目现金流量、成本统计等财务报表,报我公司财务科。
2.2.5.10 参与设备开箱检验工作;
2.2.5.11 负责我公司供应的物资采购管理,按ISO9001-2000 物资采购控制程序组织对物资供应分承包方的评审工作,建立物资供应分承包方名单、档案;
2.2.5.12 组织编制物资采购文件并实施采购、订货、储存、保管发放工作;
2.2.5.13 负责按物资质量程序文件规定进行物资到货后的验收、验证工作,以及设备材料的材质检验并记录检验情况,保管相关的质量证明文件;负责物资质量资料的收集整理和交接工作;
2.2.5.14 应用计算机管理手段,按要求编制各类统计报表、各类物资消耗台帐、物资供应大事记及其它基础资料。
2.2.6 办公室
2.2.6.1 负责内部和外来行政公文的转发、保管、归档。
2.2.6.2 全面负责本工程生活后勤保障工作。
2.2.6.3 负责组织、宣传劳动竞赛、精神文明建设。
姓名 | 建议职务 | 技术职称 | 岗位资质 | 经历 | 负责过的主要工程(形式与规模) | 与项目有关的语言 |
| 项目经理 | 高级工程师 | 一级项目经理 |
| 2×600MW 机组1×300MW 机组1×900MW 机组 | 汉语、英语 |
| 项目副经理 | 工程师 | 一级项目经理 |
| 1×300MW 机组1×350MW 机组1×900MW 机组 | 汉语、英语 |
| 项目总工程师 | 工程师 | 一级项目经理 |
| 1×300MW 机组1×350MW 机组1×900MW 机组 | 汉语、英语 |
| 工程部主任 | 工程师 | 二级项目经理 |
| 2×600MW 机组1×300MW 机组1×900MW 机组 | 汉语 |
| 质量安全部主任 | 工程师 |
|
| 2×600MW 机组1×300MW 机组1×900MW 机组 | 汉语 |
| 经营部主任 | 工程师 |
|
| 2×600MW 机组1×300MW 机组1×900MW 机组 | 汉语 |
| 物资部主任 | 经济员 |
|
| 1×300MW 机组1×350MW 机组1×900MW 机组 | 汉语 |
| 策划部主任 | 工程师 |
|
| 2×600MW 机组1×300MW 机组1×900MW 机组 | 汉语 |
3.2 现场主要管理人员情况汇总表(备选)
姓名 | 建议职务 | 技术职称 | 岗位资质 | 经历 | 负责过的主要工程(形式与规模) | 与项目有关的语言 |
| 项目经理 | 高级工程师 | 一级项目经理 |
| 2×600MW 机组2×600MW 机组2×900MW 机组 | 汉语、英语 |
| 项目副经理 | 工程师 | 二级项目经理 |
| 2×600MW 机组2×600MW 机组2×135MW 机组 | 汉语、英语 |
| 项目总工 | 工程师 |
|
| 2×600MW 机组2×900MW 机组 | 汉语、英语 |
| 经营主管 | 经济师 | 注册造价工程师 |
| 2×600MW 机组2×135MW 机组 | 汉语、英语 |
| 技术负责 | 工程师 |
|
| 2×300MW 机组2×600MW 机组2×900MW 机组 | 汉语 |
| 施工 | 助理工程师 |
|
| 4×300MW 机组2×600MW 机组2×135MW 机组 | 汉语 |
| 安全、质量 | 技术员 |
|
| 1×350MW 机组2×300MW 机组2×135MW 机组 | 汉语 |
| 材料主管 | 技术员 |
|
| 4×300MW 机组4×300MW 机组2×900MW 机组 | 汉语 |
附件:项目经理证书(扫描件)
附件:项目总工资格证书(扫描件)
本进度计划是根据招标文件明确的本标工程范围及工期要求,集中我方各专业技术骨干,在分析了该工程的特点和施工方案的基础上,经过各专业对进度的分解、细化,然后汇总、协调并多次讨论后编制的。在编制过程中充分借鉴了长期积累的电站和同类型烟囱、冷却塔工程施工经验。对施工中重点、难点在方案上进行了优化处理。在综合分析基础上,我方有信心、有能力高质量按时完成河南********有限公司2×300MW 机组工程烟囱、冷却塔工程。
1.1 里程碑进度
项目 日期
烟囱基础混凝土浇注 2005年04 月03 日
烟囱结构到顶 2005年11 月15 日
烟囱竣工 2006年03 月25 日
项目 日期
#1 冷却塔土方开挖 2005年02 月16 日
#1 冷却塔冷却塔筒体到顶 2005年12 月18 日
#1 冷却塔竣工通水 2006年01 月15 日
项目 日期
#2 冷却塔土方开挖 2005年05 月10 日
#2 冷却塔冷却塔筒体到顶 2006年03 月18 日
#2 冷却塔竣工通水 2006年07 月31 日
1.2 一级进度计划
项目 作业进度计划
烟囱基础施工 2005年03 月06 日~2005 年04 月30 日
烟囱外筒施工 2005年04 月21 日~2005 年11 月11 日
烟囱内筒施工 2005年08 月21 日~2005 年12 月18 日
烟囱工期自2005 年3 月6 日开工至2006 年3 月25 日竣工,总计划工期为385 个工作日。
项目 作业进度计划
#1 冷却塔基础施工 2005年02 月16 日~2005 年04 月30 日
#1 冷却塔筒体施工 2005年05 月16 日~2005 年09 月27 日
#1 冷却塔淋水装置施工 2005年10 月08 日~2005 年12 月30 日
#1 冷却塔工期自2005 年2 月16 日开工至2006 年1 月15 日竣工,总计划工期为334个工作日。
项目 作业进度计划
#2 冷却塔基础施工 2005年05 月10 日~2005 年07 月22 日
#2 冷却塔筒体施工 2005年08 月07 日~2006 年03 月18 日
#2 冷却塔淋水装置施工 2006年03 月29 日~2006 年06 月20 日
#2 冷却塔工期自2005 年5 月10 日开工至2006 年7 月31 日竣工,总计划工期为448个工作日。
2.1 见河南************有限公司2×300MW 机组工程烟囱、冷却塔工程进度计划横道图该工程进度计划现阶段独立采用WBS 编码系统,按照《火电施工质量验评标准》的项目划分原则编制WBS 编码。如有幸参与工程建设,该P3 进度计划将适当调整,使之统一执行业主颁布的编码体系、表格体系,并利用WBS 编码使P3 与MIS 系统建立数据接口,实现数据的共享和交换。
2.2 总进度说明
2.2.1 本标段总进度计划的编制是以招标文件要求为依据,以工程里程碑和关键节点的保障为重点,以本标段施工项目的内容和现场实际为依托,在分析、研究了本标段施工特点、难点的基础上,经过反复讨论、斟酌后拟订的一个环环相扣、协调交叉、动态衔接的进度安排。
2.2.2 总进度计划编排时将进度设为三级:里程碑进度、一级进度和二级进度,其中里程碑进度设定为强制开工或强制完工;一级进度设为串集式作业,以主要单位工程为对象;二级进度设定为子工程中的作业,以主要分部工程为对象。实施阶段建立目标工程,根据综合进度编制三级进度,跟踪三级进度并以周为单位调整综合进度,根据动态的综合进度控制三级进度。




3.1.1 周密、细致的施工准备工作是确保工程准时开工,以及开工后形成连续施工能力的前提,如果中标,我方将立即组织参加过同类型工程的项目班子进场,运用我方在烟囱和冷却塔等同类型工程施工的成功经验,配合业主方进行前期准备。同时我方将充分利用上述工程积累的技术资料进行工程总体施工策划,编制施工组织设计,作业指导书,质量计划,验收评定表,制定周密的设备材料供应及施工进度三级计划。施工组织设计,施工三级进度计划将在开工前15 天交业主方和监理单位核准。
3.1.2 根据施工组织设计文件,对生产和生活临建施工进行合理安排,为保证前期工作尽快投入,我方将在现场投入集装箱和组合式临建,作为生产和办公设施,快速进场形成生产能力。
3.1.3 根据本标段的特点,编制完成人员培训计划,按培训计划分批进行各工种的岗位复证培训和持证上岗培训,使进入本标段的施工人员的素质有较大提高。
3.1.4 对生产和生活临建的施工进行合理的安排,首先保证前期工作的尽快投入,同时规划考虑文明施工的临建环境。使管理人员和施工人员快速进场,投入施工前期准备和施工。
3.1.5 选用良好的机械装备投入到本工程,保证各项工作顺利进行。在合同谈判阶段即对本工程所需的大型机具及各类受控计量器具,进行组织落实,确保施工机械和设备按时抵达现场投入施工。
3.2 技术保证措施
针对本标段安装的特点,我方将在工程中采用新工艺、新技术,并制定详细的可靠的技术措施。
3.2.1 根据本标段建筑工程的特点,我方将充分利用我方在同类型工程施工中积累的成功经验,对每个施工项目制定详细可靠的施工作业指导书来指导施工。在施工中对技术难点进行技术攻关,利用新技术、新工艺来确保施工工期的准点完成。
3.2.2 加强管理,以有序的作业程序保证施工进度。若我方中标,在中标后将按业主规定的时间,及时编制、出版施工组织设计,以指导整个工程的施工。每个分部在施工前都编制作业指导书,以明确各项目的施工程序、质量、安全要求及措施。
3.2.3 加强施工前的技术交底,使所有参与施工的人员都了解做什么,怎么做,做到什么要求,达到什么目的,做到施工一项,优质完成一项,杜绝事故及返工现象,确保各施工节点能如期准点完成,以质量保进度。
3.2.4 做好图纸会审工作,提高图纸会审质量,尽最大可能减少现场设计修改,保证施工顺利进行。
3.3 施工组织保证措施
3.3.1 为加强本标段工程的管理,我方将在施工组织管理上制定有效的措施。我方将本标段工程列为我方重点的确保工程项目。组成有丰富工程管理经验和专业技术知识的强有力工程项目管理领导班子,针对本标段工程的特点,在技术人员和施工人员的配备上,选派优秀的技术人员和技术好、素质高、能打硬仗的施工人员来参加本标段工程的建设。我方还将在物力和财力方面对本工程倾斜,优先保证本标段工程项目的需要。
3.3.2 在本标段工程中,我方将服从业主,顾全大局,主动积极配合业主,做好协调工作。3.3.3 在业主方统一指挥下,与参建其他单位密切配合,统筹兼顾,合理组织施工工序的交叉,为总体工程各节点进度的按时完成创造条件。
3.3.4 针对本工程施工工期紧的特点,公司将配备足够的劳动力满足工程进度的需要。
3.3.5 对关键工序、集中耗工数多的项目采用组织相关施工人员二班倒,轮流连续施工方式抢出规定工期。
3.3.6 合理组织安排,尽量缩短关键项目工期。
基础施工和吊装施工是总体进度的制约工期,缩短这些项目的工期就能使总工期得到确保。加强事先策划,优化施工方案措施,制定恶劣气象条件下特殊的施工防范措施,多组织熟练工早进场,及时协调平衡。
3.3.7 认真总结同类型工程的施工经验教训,以期少走弯路,加强事先防范,缩短施工周期。
3.3.8 设备、材料、施工图纸的按计划交付,将对本工程施工总进度的完成创造有利的外部条件。我们将主动积极的配合业主做好这方面工作。万一由于材料、设备供应、设计图纸发生脱期或其它原因造成局部工程工期延误时,我公司将积极采取措施把工期抓回来。
必要时,公司可以调动全公司施工人员、管理人员和施工机械来实现。
3.3.9 对由于气候、环境等特殊情况的发生而影响施工进度,我公司将及时调整施工人员和工作时间,在关键时刻,进行二班制作业,合理安排好后勤供应工作,以确保施工进度的完成。
3.3.10 以文明施工和安全措施保证安全,以安全保进度。严格执行安全规章、规程、制度。我公司坚信只要通过努力,预定的施工工期得到确保或略有提前是有可能的。
3.4 以质量保进度措施
质量和进度既相互矛盾又相互依存,离开质量的进度是肥皂泡的进度,离开进度的质量是无效率的质量。因此在河南华润电力古城有限公司2×300MW 机组工程烟囱、冷却塔工程中,我公司将进一步强化质量管理和质量保证措施,以优异的质量来保证施工进度的准点。在跟踪施工进度的同时,加强现场质量检验人员的管理,针对不同专业的质量控制点,会同各方技术人员进行研究攻关,制定对策措施,预防在先,认真、仔细做好每一项工作,各级质检部门把好每一道关,不出现返工、返修,做一项成一项是最大的节约,也是缩短工期最好、最直接的手段。
3.5 科学管理措施
在本标段工程中,我公司将以科学的管理来规范施工程序,达到均衡施工,从而控制整个工程的进度。
3.5.1 P3 软件是美国Primavera 公司开发的工程项目管理软件,其主要功能包括对工程进度、资源、费用动态管理与控制,是国际上公认的功能最强、使用最广泛的网络进度计划软件,它以项目管理和成本控制为基础。项目管理是对工程进度、资源投入和费用的管理,而成本控制是以每天实际完成的工作量、资源投入及生产效率为基础,并以此进行相互比较、动态调整,保证工程始终处于受控、有序的状态。根据我公司最近几年在工程施工中使用P3(Primavera Project Planner)项目进度管理软件进行工程的进度、资源管理的经验,我公司在本标段施工中将继续使用这一科学的工程进度管理软件,以先进、科学的管理手段确保本工程进度计划得以实现。
3.5.2 我公司将结合本工程和本标段的特点,运用工程项目MIS 系统,主要包括进度计划管理、质量管理、合同管理、成本费用管理、财务管理、人力资源管理、工程技术管理、安全和环境管理、物资管理、生活综合管理、风险管理、办公自动化12 个模块,采用B/S模式建立综合信息查询与决策支持系统,以达到数据共享、实时沟通、动态管理、规范运行、严格监控、科学决策的目的。
3.5.3 我公司在P3 项目进度管理上,在工程进度安排上细化到各专业项目作业的周计划。根据业主提供的一级进度(里程碑进度),我公司将编制涵盖整个工程项目所有工作阶段的二级进度(总体进度);编制的二级进度经业主方审核通过后,编制三级进度,四级进度。以各级计划进度为目标,分别编制年度计划、季度计划、月度计划和周计划,加强进度跟踪,实行进度计划“滚动管理”,规定每周必须更新一次,通过计算机及时反馈到业主方,以确保工程进度的准点。另外,我公司将按时完成本标段的每月月度报告和下月度计划报送业主,该报告将全方位、真实地反映工程进展情况。
3.5.4 我方将优化施工工序,工程进度编排以调试顺序为纲,根据调试顺序合理安排工期,协调各项目施工,在工程进度安排上细化到各专业项目作业的周计划,并以里程碑进度为目标,加强进度跟踪,规定每周必须更新一次。将更新后反映的问题通过计算机网络及时反馈到业主、监理单位,以确保施工进度的准点。
3.5.5 我公司将成立以本标段项目经理为首的施工调度中心机制,运用P3 管理软件来加强施工调度,协调各方面关系,严格控制各网络节点的实现。对可能影响整个工程施工工期的关键路径上的关键项目,事先进行重点预控,施工过程中进行跟踪控制,一旦发现偏差,及时分析产生偏差的原因并采取各种措施加以纠正,以确保工程进度计划的实现。
3.5.6 我公司的各施工班组将根据施工周进度表和施工任务单安排施工,其他部门根据施工进度表做好材料、机具、后勤管理、验收等工作来保证进度的实现。
3.6 后勤保障措施
在本标段工程中,我公司将加强后勤管理,制定各方面的后勤保障措施。对本工程我公司将采用全天候工作制,合理安排施工人员的休息,做好后勤供应工作确保作业面不间断施工。另外我公司在材料供应和加工件制造方面都有完善的物供体系,能保证及时将现场所需的材料和加工件供应到场,对应急材料和加工件,我公司将以急件形式进行采购和加工,来最大限度地满足现场施工的需要,保证施工进度的准点完成。
3.7 奖惩措施
我公司在本标段工程中,将按阶段采用奖罚分明的考核制度,保证施工进度的准点完成。制定施工进度考核办法,运用经济杠杆的调节作用,经济分配与进度完成情况挂钩,奖惩分明。
我公司在执行合同有关承包商延误工期而承担罚金的条款的同时,将向全体员工进行严格履行合同的宣传教育,使每个员工清楚地认识到履约的责任和义务,从而认真地执行保证工期的各项措施。
4.1.1 现场配置4 台挖土机及配套土方运输车辆。
4.1.2 现场配置一套钢筋加工机械,负责钢筋制作和加工。
4.1.3 现场配置一套木工加工机械,负责模板的加工和整修。
4.1.4 现场安装一台30t/42m 龙门吊,负责预制构件的制作和起吊。
4.1.5 现场建立两套混凝土搅拌系统,分别采用JZC350 锥形反转出料搅拌机和JS1000 双卧轴式搅拌机。
4.1.6 本工程配置三辆泵车,12 台搅拌车进行基础混凝土浇灌。
4.1.7 冷却塔垂直运输机械采用SCD200 施工升降机,和一座12 孔金属竖井架。
4.1.8 烟囱外筒采用本公司定制的电动翻模装置进行施工工作。
4.1.9 冷却塔外筒采用本公司自制的专用模板进行施工工作。
4.2 主要施工机械进场计划
4.2.1 制定机械进场计划的主要依据是:保证按总体进度要求的各阶段施工及检测需求,提供所需要的机具及装备。进场前的所有装备都经过检修并测试合格。
4.2.2 我公司拟用于本工程的施工机械,目前已整修待命,随时可按需进场。
4.3 施工机械进场管理
4.3.1 所有施工机械进场之前均彻底地进行检修和保养,以确保施工机械设备到场后能安全可靠地投入使用。
4.3.2 根据不同施工机械的进场特点,需进行现场组装的大型机械设备一般提前5 天进场,其他施工机械一般提前3 天进场。
4.3.3 施工机械进场、大型施工机械现场组装完毕后,再组织一次施工机械安全可靠性检查,检查合格后挂牌使用。
4.4 主要施工机械装备配置表
1.申请人计划用于本工程的自有主要机械设备: | ||||
种类(名称) | 数量 | 型号 | 出厂日期 | 现值 |
液压挖土机 | 2 台 | 小松PC—220 | 2003 年 | 940000 |
泵车 | 2 辆 | 奔驰BPL900 | 2002 年 | 1560000 |
搅拌车 | 10 辆 | HDJ5250 | 2000 年 | 640000 |
蛙式打夯机 | 4 台 | B4—20 | 1996 年 | 1135 |
推土机 | 1 台 | TS-220 | 1999 年 | 213000 |
电动翻模装置 | 1 套 | φ26m | 2003 年 | / |
冷却塔专用模板 | 2 套 | 自制 | 2003 年 | / |
汽车吊 | 1 台 | 50t | 1999 年 | / |
汽车吊 | 1 辆 | 三菱QY-20 | 1989 年 | 12000 |
龙门吊 | 1 套 | 30t/42m | 1999 年 | 6700 |
电渣压力焊机 | 3 台 | DZH—36 型 | 1998 年 | 6170 |
直流电焊机 | 2 台 | AX—320 | 1996 年 | 8300 |
钢筋弯曲机 | 1 台 | 40mm | 1996 年 | 4950 |
钢筋切断机 | 1 台 | QJ—40—1 | 2001 年 | 2270 |
钢筋调直机 | 1 台 | 4—14mm | 2003 年 | 10280 |
四头弯钩机 | 1 台 | / | 2002 年 | 2460 |
木工圆锯机 | 1 台 | MJ104 | 2000 年 | 3180 |
木工压刨机 | 1 台 | MB106 | 1998 年 | 6480 |
混凝土搅拌机 | 2 台 | JZC350 | 2000 年 | 16280 |
砂浆搅拌机 | 3 台 | 400L | 2003 年 | 5200 |
测温仪 | 1 台 | / | 1999 年 | / |
经纬仪 | 1 台 | T2WILD | 1999 年 | 28000 |
1.申请人计划用于本工程的自有主要机械设备: | ||||
种类(名称) | 数量 | 型号 | 出厂日期 | 现值 |
经纬仪 | 1 台 | j2-2 | 1999 年 | 560 |
激光对中仪 | 1 台 | / | 2001 年 | / |
水准仪 | 1 台 | DSZ2 | 2000 年 | 700 |
2、计划为本工程新购置的机械设备: | ||||
曲线电梯 | 2 台 | SCQ100 | / | / |
3、计划为本工程租用的机械设备: | ||||
自卸卡车 | 12 辆 | 15t | / | / |
劳动力的有效合理安排是体现工程现代化管理的主要标志之一。根据本工程的安装施工范围、招标书中业主要求的工期以及我方为本工程拟订的整套施工顺序、施工工艺,我方将从施工计划进度的合理编制、劳动力结构的优化组合、现代化机具的充分运用、施工技术措施的有力保证上着手,简化现场管理体制,派遣具有较高管理水平和协调能力的现场技管人员和技术水平熟练、综合能力强的施工人员,以最大限度地提高劳动生产率。
河南***********有限公司2×300MW 机组工程烟囱、冷却塔工程是我公司在河南*********公司旗下创品牌、树形象和培育一流人才、展现上电建筑雄风的机遇,如果中标的话,我们将高度重视进场人员的素质。挑选精兵强将,提前进行技能培训和劳动力储备,在公司组建的现场管理机构统一组织、指挥下,以严谨的管理、精细的工艺、优质的服务奉献于河南***********有限公司2×300MW 机组工程烟囱、冷却塔工程建设。
5.1 劳动力计划汇总表
我公司按照满足合同要求的总体进度计划排出本标段工程所需的劳动力计划如下:
工种 | 2005 年(人) | 2006 年(人) | ||
平均 | 高峰 | 平均 | 高峰 | |
木工 | 95 | 120 | 24 | 60 |
钢筋工 | 73 | 90 | 22 | 40 |
混凝土工 | 36 | 41 | 12 | 20 |
瓦粉工 | 34 | 40 | 6 | 8 |
电焊工 | 13 | 13 | 5 | 8 |
起重工 | 11 | 12 | 4 | 8 |
架子工 | 27 | 28 | 13 | 20 |
操作工 | 9 | 10 | 4 | 6 |
电工 | 4 | 6 | 2 | 2 |
普工 | 249 | 260 | 47 | 120 |
测量工 | 2 | 2 | 2 | 2 |
工程技术员 | 4 | 4 | 2 | 2 |
管理人员 | 20 | 20 | 20 | 20 |
合计 | 577 | 646 | 163 | 316 |
注:平均人数为当年月平均人数,高峰人数为当年月最高人数。
5.2 烟囱施工劳动力计划明细表
工种 级别 | 按工程施工阶段投入劳动力情况 | ||||||||||||||||||||
2005 年(单位:月) | 2006 年(单位:月) | ||||||||||||||||||||
2 | 3 | 4 | 5 | 6 | 7 | 8 | 9 | 10 | 11 | 12 | 1 | 2 | 3 | 4 | 5 | 6 | 7 | 8 | |||
木工 | / | 5 | 5 | 15 | 15 | 20 | 30 | 30 | 30 | 30 | 30 | 10 | 10 | 10 | / | / | / | / | / | ||
钢筋工 | / | 15 | 15 | 15 | 15 | 20 | 20 | 20 | 20 | 20 | 20 | 5 | 5 | 5 | / | / | / | / | / | ||
砼工 | / | 10 | 10 | 16 | 16 | 16 | 16 | 16 | 16 | 16 | 16 | 3 | 3 | 3 | / | / | / | / | / | ||
瓦粉工 | / | 8 | 8 | 8 | 8 | 8 | 25 | 25 | 25 | 25 | 25 | 20 | 15 | 15 | / | / | / | / | / | ||
电焊工 | / | 5 | 5 | 5 | 5 | 5 | 5 | 5 | 5 | 5 | 5 | 2 | 2 | 2 | / | / | / | / | / | ||
起重工 | / | 2 | 2 | 2 | 4 | 4 | 4 | 4 | 4 | 4 | 4 | 2 | 2 | 2 | / | / | / | / | / | ||
架子工 | / | 0 | 0 | 4 | 10 | 10 | 8 | 8 | 8 | 8 | 6 | 2 | 2 | 2 | / | / | / | / | / | ||
操作工 | / | 0 | 0 | 2 | 2 | 2 | 4 | 4 | 4 | 4 | 4 | 2 | 2 | 2 | / | / | / | / | / | ||
电工 | / | 2 | 2 | 2 | 2 | 2 | 2 | 4 | 4 | 8 | 8 | 8 | 2 | 2 | / | / | / | / | / | ||
普工 | / | 20 | 20 | 20 | 30 | 30 | 30 | 30 | 30 | 30 | 30 | 15 | 15 | 15 | / | / | / | / | / | ||
技术员 | / | 2 | 2 | 2 | 2 | 2 | 2 | 2 | 2 | 2 | 2 | 2 | 2 | 2 | / | / | / | / | / | ||
合计 | / | 69 | 69 | 91 | 109 | 119 | 146 | 148 | 148 | 152 | 150 | 71 | 60 | 60 | / | / | / | / | / | ||
5.3 冷却塔施工劳动力计划明细表
工种 级别 | 按工程施工阶段投入劳动力情况 | |||||||||||||||||||
2005 年(单位:月) | 2006 年(单位:月) | |||||||||||||||||||
2 | 3 | 4 | 5 | 6 | 7 | 8 | 9 | 10 | 11 | 12 | 1 | 2 | 3 | 4 | 5 | 6 | 7 | 8 | ||
木工 | 30 | 40 | 50 | 70 | 90 | 90 | 90 | 90 | 90 | 70 | 70 | 20 | 20 | 50 | 50 | 50 | 50 | 40 | 10 | |
钢筋工 | 30 | 40 | 50 | 70 | 70 | 70 | 70 | 70 | 70 | 50 | 50 | 15 | 15 | 25 | 25 | 25 | 25 | 20 | 5 | |
砼工 | 15 | 15 | 15 | 25 | 25 | 25 | 25 | 25 | 25 | 20 | 20 | 10 | 10 | 15 | 15 | 15 | 15 | 10 | 5 | |
瓦粉工 | 8 | 8 | 8 | 8 | 15 | 15 | 15 | 15 | 15 | 15 | 15 | 5 | 5 | 15 | 15 | 15 | 8 | 5 | 5 | |
电焊工 | 5 | 8 | 8 | 8 | 8 | 8 | 8 | 8 | 8 | 8 | 8 | 5 | 5 | 8 | 8 | 8 | 8 | 5 | 2 | |
起重工 | 4 | 4 | 4 | 8 | 8 | 8 | 8 | 8 | 8 | 8 | 8 | 4 | 2 | 8 | 8 | 8 | 8 | 4 | 2 | |
架子工 | 6 | 12 | 12 | 20 | 20 | 20 | 20 | 20 | 20 | 20 | 20 | 15 | 10 | 20 | 20 | 20 | 20 | 15 | 6 | |
操作工 | 4 | 4 | 4 | 6 | 6 | 6 | 6 | 6 | 6 | 6 | 6 | 4 | 2 | 6 | 6 | 6 | 6 | 4 | 2 | |
电工 | 2 | 2 | 2 | 2 | 2 | 2 | 2 | 2 | 2 | 2 | 2 | 2 | 2 | 2 | 2 | 2 | 2 | 2 | 2 | |
普工 | 20 | 60 | 90 | 220 | 220 | 220 | 220 | 220 | 220 | 220 | 220 | 20 | 20 | 80 | 80 | 80 | 80 | 60 | 15 | |
技术员 | 2 | 2 | 2 | 2 | 2 | 2 | 2 | 2 | 2 | 2 | 2 | 2 | 2 | 2 | 2 | 2 | 2 | 2 | 2 | |
合计 | 126 | 195 | 245 | 439 | 466 | 466 | 466 | 466 | 466 | 421 | 421 | 102 | 93 | 231 | 231 | 231 | 224 | 167 | 56 | |
5.4 烟囱、冷却塔施工劳动力计划汇总表
劳动力 | 按工程施工阶段投入劳动力情况 | |||||||||||||||||||
2005 年(单位:月) | 2006 年(单位:月) | |||||||||||||||||||
2 | 3 | 4 | 5 | 6 | 7 | 8 | 9 | 10 | 11 | 12 | 1 | 2 | 3 | 4 | 5 | 6 | 7 | 8 | ||
烟囱 | / | 69 | 69 | 91 | 109 | 119 | 146 | 148 | 148 | 152 | 150 | 71 | 60 | 60 | / | / | / | / | / | |
冷却塔 | 126 | 195 | 245 | 439 | 466 | 466 | 466 | 466 | 466 | 421 | 421 | 102 | 93 | 231 | 231 | 231 | 224 | 167 | 56 | |
合计 | 126 | 264 | 314 | 530 | 575 | 585 | 612 | 614 | 614 | 573 | 571 | 173 | 153 | 291 | 231 | 231 | 224 | 167 | 56 | |
5.5 劳动力柱状图

烟囱基础及筒身施工图 2005年02 月20 日
5500m2 自然通风冷却塔塔筒塔基土建施工图 2005年02 月01 日
5500m2自然通风冷却塔淋水装置土建施工图 2005年06 月01 日
本施工总平面布置以业主给定的现场布置条件为依据,结合原国家电力公司颁布的《火力发电工程施工组织设计导则》(以下简称《导则》)、本标段施工项目划分范围、相关设计资料、现场具体条件以及我公司现有的施工技术能力和拟投入的机械装备、人员等而编制。本标的施工总平面布置力求与业主总平面规划相一致,做到紧凑合理、符合流程、方便施工、文明整洁。
本期工程主要施工场地,包括主要组装、作业场地、设备及材料堆场、混凝土集中搅拌站,木工作业区、钢筋及金属结构加工区、中小型预制场地、办公区和仓库区等。施工区布置在厂区扩建端的东部,已经基本具备“四通一平”的施工条件。
施工生活区布置在厂区西侧进厂道路的西面。
中标后的承包商应结合自身的条件编制施工组装设计,经业主、监理工程师审定后予以实施。
1.2 施工交通
电厂周围交通发达,进厂道路已经通到厂区,厂内施工道路需根据厂区总平面布置,采取“永临结合”方式,具体方案由投标单位考虑。
1.3 施工力能供应
1.3.1 施工用电:
施工用电设置2×1600kVA+1×800kVA 变压器。变压器总容量4000kVA, 满足《火力发电工程施工组织设计导则》的要求。
1.3.2 施工用水
招标单位已在施工场地西南侧预留有施工用水接口。
1.3.3 施工排水
施工排水及生活废水由承包商采取处理相应措施达标排放。
1.3.4 施工通讯
项目法人提供厂内通信用户口,供与项目法人和监理单位联系之用,其他通讯系统由承包商自行解决。
本标施工生产用地为烟囱和冷却塔施工生产场地,施工生活区,施工总用地面积计2.98h ㎡。
2.2 办公及生活、生产设施布置
2.2.1 现场人数确定
根据本公司的技术装备及施工生产能力,并参照以往烟囱施工的历史资料和《导则》的定额人数指标,以及本标段施工工作量和施工特点,预计施工高峰时需住宿人数约为614人。
2.2.2 生活临建布置
职工宿舍 2100 ㎡
食堂 300 ㎡
锅炉 36 ㎡
职工浴室 126 ㎡
职工厕所 105 ㎡
2.2.3 施工生产设施布置
施工生产场地分三块规划布置,其中冷却塔施工按规划,划分为现场施工区域,加工制作区;烟囱施工区。
2.2.3.1 烟囱施工区域主要建筑场地布置包括:
钢筋制作场 420 ㎡
木工制作场 490 ㎡
简易办公、休息室 120 ㎡
搅拌机棚 36 ㎡
水泥库 320 ㎡
砂石堆场 1290 ㎡
卷扬机场地 32 ㎡
耐酸砖及其他物品堆场 430 ㎡
危险品仓库 140 ㎡
具体布置见附图 烟囱施工平面布置图
2.2.3.2 冷却塔现场施工区域包括:
简易办公、休息室 690 ㎡
临时设施堆场 现场布置
具体布置见附图 冷却塔施工平面布置图
2.2.3.3 冷却塔加工制作区域包括:
钢筋制作场 2770 ㎡
构件预制场 3880 ㎡
木工制作场 2770 ㎡
搅拌系统 1820 ㎡
集中办公室 294 ㎡
具体布置见附图 冷却塔施工平面布置图
2.3 施工临建设置标准
2.3.1 项目集中办公楼采用单层砖混结构。混凝土地坪、同质地砖面层。
2.3.2 宿舍为单层砖混结构,清水墙、木桁条、坡屋顶、机制瓦屋面,混凝土楼地面,设外走廊。
2.3.3 现场工具间为空心砖墙、木桁条,轻型屋面、混凝土地坪,不设外走廊。现场工具间采用集装箱式工具间。
2.3.4 现场生产性工棚为钢柱、钢屋架、轻型屋面、砖墙、混凝土地坪。
2.3.5 一般仓库为砖墙、钢屋架、轻型屋面、混凝土地坪。
2.3.6 施工生产设施堆场场地原土压实,上铺200 厚碎石。
根据本标段的施工范围及生产临建场地分布,厂区现有主干道基本可满足施工需要。为方便区域内构件的装卸和进出,在冷却塔加工制作区修建一条东西向临时通道。临时施工道路宽5.00m,采用300 厚块石碎石路基,150 厚混凝土面层。在烟囱区域内修建一条由主干道直达烟囱筒体的临时通道。临时施工道路宽4.00m,采用300 厚块石碎石路基,150 厚混凝土面层。
本标各区的排水以砖砌明沟为主,辅以部分混凝土排水管道。生活和办公区内排水采用用混凝土排水管,管径φ450~φ230。临建厕所边设置化粪池。施工区排水在各区的道路边缘和路轨边设砖砌明沟,排水明沟过道路用φ600mm 混凝土管沟通。
生活临建区域:该区域需引接和布置生活用水管路。
施工生产设施区域:其区域内用水量主要满足混凝土拌制和养护所需,自施工生产供水总管引接一路DN50 支管可满足使用要求。
本标段根据使用需要引接的供水支管均按要求安装水表,计量使用。
根据施工作业面及施工生产场地的分布,使用标段附近的施工变。该施工变电源主要满足本标工程施工及施工生产临建区域的用电需要。
5.2 施工用电布置
为保证用电安全,现场施工临时用电采用三相五线制保护接零系统。
考虑到规划电源点靠近现场用电负荷区域,自各施工变引出的电源线,除至生活区采用部分架空线路外,其余部分均以敷设电缆为主。电缆布置在0m 以上,过路段及对吊装或大件运输有影响部分,电缆布置埋入地下,并采取防损措施。进入各区低压线路按400V系统运行,各作业区不按多路电源同时引入。
工程所需氧气、乙炔均采用外购瓶装气。施工现场配制统一的氧气、乙炔使用架,根据需要分散布置使用。使用架应满足防晒、防雨、防尘等要求,布置在各个施工区域的固定地点。施工用压缩空气采用移动式空压机供应。
以常规电话通讯为主,同时在现场配置一定数量的对讲机,作为移动通讯的手段,以便及时进行施工协调。
我方还将在本标段办公区域内设置数据通讯网(计算机局域网),以现代化手段进行管理,并留有与业主数据联络的接口,保证工程顺利进行。
途 | 面积(㎡) | 位置 | 需用时间 | |
一、办公及生活临建 |
|
|
| |
项目办公室 | 294 | 冷却塔加工制作区 | 2005.2~2006.7 | |
职工宿舍 | 2100 | 生活区 | 2005.2~2006.7 | |
其它生活辅助设施 | 567 | 生活区 | 2005.2~2006.7 | |
二、冷却塔生产区 |
|
|
| |
木工棚 | 1630 | 冷却塔加工制作区 | 2005.2~2006.7 | |
钢筋加工场 | 2770 | 冷却塔加工制作区 | 2005.2~2006.7 | |
预制场地 | 3880 | 冷却塔加工制作区 | 2005.2~2006.7 | |
搅拌机棚 | 60 | 冷却塔加工制作区 | 2005.2~2006.7 | |
水泥库 | 150 | 冷却塔加工制作区 | 2005.2~2006.7 | |
砂石堆场 | 1130 | 冷却塔加工制作区 | 2005.2~2006.7 | |
现场简易办公、休息室 | 690 | 冷却塔现场 | 2005.2~2006.7 | |
三、烟囱施工区 |
|
|
| |
钢筋制作场 | 420 | 烟囱施工区 | 2005.3~2005.12 | |
木工制作场 | 490 | 烟囱施工区 | 2005.3~2005.12 | |
简易办公、休息室 | 120 | 烟囱施工区 | 2005.3~2006.3 | |
搅拌机棚 | 36 | 烟囱施工区 | 2005.3~2005.12 | |
水泥库 | 320 | 烟囱施工区 | 2005.3~2005.12 | |
砂石堆场 | 1290 | 烟囱施工区 | 2005.3~2005.12 | |
卷扬机场地 | 32 | 烟囱施工区 | 2005.3~2005.12 | |
耐酸砖及其他物品堆场 | 430 | 烟囱施工区 | 2005.3~2005.12 | |
危险品仓库 | 140 | 烟囱施工区 | 2005.10~2006.3 | |
附图二 烟囱施工平面布置图
施工方案的优劣是关系到施工成败,以及能否满足施工工期、质量、安全和成本的重要因素,必须认真对待。
由于招标文件提供的图纸及其它资料的深度限制,一些具体的施工方案是参照本公司施工过的同类型机组制定的,可能与实际情况有些差距,如我公司中标,我们将在施工前编制出内容详细、措施得当的单位、分部及分项工程施工方案及作业指导书,用于指导施工。
烟囱和冷却塔属高耸结构。烟囱为现浇钢筋混凝土套筒烟囱,高210m、喉部内径7m、筒壁双层配筋。内衬为耐酸胶泥砌筑耐酸砖,筒壁内侧刷防酸涂料,耐热层采用玻璃棉毡,标高70m 以上筒身外侧涂航空标志漆。烟囱基础采用钢筋混凝土环板基础,基础埋深-7.0m;
冷却塔塔筒采用现浇钢筋混凝土旋转壳体结构,塔筒旋转壳体母线由三段曲线连接而成,壳体最大壁厚750mm,最小壁厚180mm,塔筒内壁防水涂刷冷却塔专用防水涂料。基础采用环板基础,现浇钢筋混凝土结构,环型基础宽5.0m,厚1.4m。塔筒与基础间采用40 对钢筋混凝土人字柱连接,人字柱为圆形断面,直径650mm。是电厂的标志性构筑物,因此其内在和观感质量要求都比较高。
积灰平台及以上4.5m 采用现浇法施工,模板系统采用组合钢模板及钢管排架支撑施工,积灰平台以下一次施工完成,积灰平台以上采用翻模模板作为现浇段的施工模板,同时安装电动翻模的轨道模板。积灰平台4.5m 以上采用电动升模施工。支撑平台利用翻模平台辐射梁挂钢丝绳和链条葫芦逐层安装。内筒砌筑采用在电动翻模的辐射梁上挂内吊盘,内吊盘随电动升模同步上升,内筒的砌筑与混凝土外筒的施工同步进行。烟囱航空标志油漆,利用电动升模的操作平台进行涂刷。
环形基础施工采用跳仓法;人字柱采用预制、吊装;风筒分环梁、筒体和钢性梁三段,采用三角架翻模、垂直运输为SC200×200D 直梯配金属竖井架;淋水装置(梁、柱)采用预制、吊装施工方案,中央竖井、配水槽采用脚手架现浇方案。
烟囱和冷却塔的混凝土浇注,利用现场建立的集中式搅拌站供应。
本工程水平度和垂直度精度要求较高,拟采用的主要测量仪器有:经纬仪两台、水准仪各一台。另外,配一名测量工程师和两名经验丰富的测量放线员,结合工程进度,分阶段采用不同的测量方法,做好测量工作,满足工程施工进度和质量的要求。
2.1 平面轴线的控制
依据《工程测量规程》进行电厂总控制网布设,控制桩设置在安全、易保护位置,相邻点通视良好。根据已经布设好的电厂总控制网,测放出烟囱和冷却塔的x 轴线及y 轴线控制点,并测出构筑物中心控制点。根据厂区平面方格网和烟囱、冷却塔的中心坐标,作互成90°方向的半永久性控制桩,每个方向上至少两个。
在筒壁施工前,控制桩用来校核烟囱和冷却塔的中心点及其坐标;在筒壁施工中,控制桩作为观测施工平台是否扭转的基准点。在筒壁施工完成后,控制桩作为检查烟囱垂直度和观测其倾斜的基准点。
2.2 烟囱、冷却塔中心桩的设置
在土方施工前,根据构筑物的中心坐标定出中心点。待挖土达到设计深度后,再次定出中心点。在浇灌基础底板混凝土时,在中心位置埋设一块铁板,待基础拆模板后,利用地面上的控制桩,用“+”字交会法把中心点测到铁板上,并作出记号。
中心桩要妥善保护。在上部结构施工时,在烟囱、冷却塔圆周中心,留一个直径为76~100mm 的孔洞,以备激光发射器光束通过。另外,在此孔洞上设一活动盖子,以防砂、石、灰浆等掉下来而损坏仪器。
2.3 标高的控制
根据现场情况,在构筑物四周拟设两个水准点。±0.00m 以下的高程控制点从地面的高程控制网的某一点向下引测,闭合到另一个地面高程控制点上,高差应不超过3mm。±0.00m 以上的高程从水准点引测到结构内壁,从吊笼位置用钢卷尺向上丈量引测,用水平仪操平,控制各层的高程。筒身高度实行一天一抄平,一米一刻记,十米一标记,五十米一校核。
2.4 半径控制
烟囱的半径,在辐射梁上标尺刻度进行测量。在施工平台组装完成后,校核施工平台与基底中心在同一垂直线后,通过平台中心丈量每一根辐射梁的尺寸,用油漆作标记或用扁铲在辐射梁上凿出刻度,即可据此测定半径。
冷却塔的半径由中心标靶,用钢卷尺和拉力镑现场量测。
2.5 扭转观测
操作平台扭转用经纬仪和钢尺检测,经纬仪设在筒身外100m 处的固定点,观测平台上的标志点与筒身上的固定点的扭转距离(由平台上人员量出弧线长度),定时复测。
2.6 沉降观测
2.6.1 沉降观测点布置准备工作
测量仪器和工具应用精密水准仪及与之配套使用的水准尺。
沉降观测中,每次需记录观测时间,构筑物的荷载变化,气象情况与施工条件的变化。
在筒壁的施工中,在标高+0.50m 处,按设计要求沿圆周设置沉降观测点。作为沉降观测点的首次高程测定准确后,标志在筒身上,并将其记入沉降观测记录中。在筒身施工过程中,施工期间沉降观测次数按设计要求;若设计无要求时,按照规范规定每升高15~20m进行沉降观测一次。筒身施工完成后,沉降观测继续进行。
2.6.2 沉降观测点成果的整理
沉降观测资料应及时整理,妥善保存,每次沉降观测的结果,记入沉降观测记录中,计算出每次观测的沉降量,并绘制出沉降观测日期与沉降量的关系曲线图,供设计、施工有关技术负责人员使用。并作为该工程技术档案资料的一部分。
2.6.3 沉降观测注意事项
沉降观测是一项长期性,系统性观测工作。
为保证观测成果的正确性,如实反映构筑物沉降情况,应做到:
a) 固定人员观测和整理成果;
b) 固定使用的水准仪及水准尺;
c) 使用固定的水准点,按规定的日期、方法及路线进行观测。
该烟囱工程为烟囱为现浇钢筋混凝土套筒烟囱,高210m、喉部内径7m、筒壁双层配筋。内衬为耐酸胶泥砌筑耐酸砖,筒壁内侧刷防酸涂料,耐热层采用玻璃棉毡,标高70m以上筒身外侧涂航空标志漆。烟囱基础采用钢筋混凝土环板基础,基础埋深-7.0m
3.1 基础施工
3.1.1 施工流程
土方开挖→垫层浇筑→基础钢筋绑扎→模板安装→混凝土浇筑→养护→回填
3.1.2 挖土
基坑开挖时采用二台PC220 挖土机,分别从中心向两侧流水作业,铺设路基箱以保证车辆正常行驶。基坑放坡为1:1,施工作业面为0.8m。基坑底标高以上20cm 处,需人工修土。认真修整边坡,严禁超挖,严格控制挖土标高。

为防止雨天雨水冲刷边坡,造成塌方,须认真修正边坡外,在基坑上部四周堆筑20×20cm 挡水坝,以防止地面水向基坑内汇入。根据开挖后的情况,在坡脚处叠三—四层灌土草袋以压坡脚。施工期间加强对基坑周围2×4.5m 范围内土体裂缝的检查,在基坑4.5m范围内禁止堆物。垫层浇筑完毕后砌两皮砖代替模板并形成挡水坎,以防止雨天泥浆污染钢筋。
基坑内的积水应及时排除,在基础施工中保证基坑干燥。挖土同时在基坑四周开挖好排水沟,排水沟宽20cm,深30cm。同时设置4 只60cm×60cm 的积水井。用水泵将积水提升至地面排入下水道。
3.1.3 垫层浇筑
地基验槽后,即进行混凝土垫层浇筑施工。垫层采用集中搅拌混凝土泵送入模,垫层浇筑前对模板顶标高进行测量,并在基坑底部测设2m 见方的标高网。垫层浇混凝土采用平板震动器和插入式震捣器进行震捣,表面用刮尺刮平,铁板紧面木抹子搓毛,垫层浇筑后12h 开始洒水养护。
3.1.4 钢筋制作绑扎、防雷接地烧焊(钢筋绑扎前避雷接地须施工完毕)
3.1.4.1 钢筋进货及加工要求:
钢筋进场首先应检查钢材合格证、质保书,核对钢筋的规格型号,然后按规定进行取样作力学性能试验,确认产品合格后才能使用。
进场钢筋应分规格、分批堆码整齐,并挂好产品状态标识牌。
认真熟悉施工图,根据施工图明确的各种钢筋的相互关系认真放样。
制作时对照钢筋翻样表进行,并根据进场钢筋长度和翻样表明确的钢筋接头形式进行认真配料,杜绝钢筋浪费。
钢筋弯曲时先进行试弯,待核对尺寸准确无误后再进行成批加工。加工好的钢筋应分类分别堆码整齐,挂上标识牌,以便绑扎时不至于用错。
3.1.4.2 钢筋制作
钢筋由钢筋加工厂制作,挂牌堆放整齐。
钢筋骨架制作长度偏差不大于±5mm,高度偏差不大于±3mm,交叉钢筋部位封闭式接头处都必须满焊,焊缝为双面焊。
所有钢筋在制作前均按规定进行复试。Ⅱ级钢筋弯钩制作均需放样,一次成型,不允许有回弯钢筋,下料尺寸须按设计规定进行复核。各种编号的钢筋成型后均挂好料牌,归堆整理。
3.1.4.3 钢筋绑扎
钢筋接头方式:纵向钢筋采用闪光电焊,环筋采用45d 绑扎搭接或单面搭接焊接。
钢筋搭接时应在接头中间和两端用铅丝绑扎牢固。
钢筋网的绑扎:基础钢筋网绑扎时外边两排所有交叉点绑扎,中间可以隔空呈梅花状绑扎。绑扎时扎点的铅丝扣应呈八字形,以免扎点移位使网片歪斜变形。
所有钢筋焊接接头和搭接接头均应相互错开,同一截面焊接接头率≤50%,搭接接头率≤25%。
钢筋保护层的厚度:底板50mm、其他35mm。采取垫与底板混凝土同配合比的细石砂浆垫块的方法来保证保护层的厚度符合设计及规范要求。
钢筋绑扎前先进行弹线分格,钢筋骨架绑扎须预防发生整体倒塌,因此当第一榀骨架竖立前先支好钢管马凳架作为骨架靠山,骨架竖立后即焊上剪刀撑(Φ28 钢筋制作),支撑角度不大于45º ,底层钢筋完成后先扎中间分布钢筋,使构成骨架支撑的构件长细比达到设计规定后再上面层钢筋。这样就能有效地防止骨架整体侧向失稳。
骨架全部立好后可拆除马凳架。骨架和环向筋流水交叉施工,临时剪刀撑应随进度视具体情况随时加固,整个骨架沿圆周设三道剪刀撑,任何施工人员不得随意拆除,局部拆除需征得技术人员同意后方可进行。
环向筋在同一位置的接头应按施工规范错开,接头位置间隔应符合施工规范的规定,绑扎不允许出现漏点现象。垫好保护层垫块。钢筋骨架做径向布置,钢筋在同一截面错开距离不少于52d。筒壁插筋应固定牢固,在插筋高度方向分上、中、下布置三道环向钢筋绑扎牢固以便固定插筋,防止混凝土浇注时插筋位置变动。
钢筋绑扎的质量要求:
a) 钢筋的绑扎严格按照施工图纸进行,不得出现少筋、漏筋、改变间距、以小代大的情况。
b) 钢筋表面应平直、洁净,不得有损伤、油渍、漆污、片状老锈和麻点等缺陷。
c) 钢筋的接头应符合设计要求,并相互错开。
d) 钢筋的间距偏差应≤20 ㎜。
e) 主筋保护层偏差应控制在±10 ㎜之间。
3.1.5 模板安装及拆除
3.1.5.1 中心定位及半径控制
为严格控制基础中心点,保证基础圆弧度,在基础中心搭设1000×1000 方形测量控制平台,采用#10 槽钢现场烧焊,高度从-4.0m 至+0.2m,此架须独立设置,不得与其它物件相连,以防中心点发生偏移。从-4.0m 标高中心点垂直引出上部中心标志点,经校测无误后作为+0.2m 标高处临时中心点。基础及筒壁内、外半径从此中心点引出。
3.1.5.2 模板安装
基础模板采用定型钢模板,采用Φ22 钢筋弹箍Φ48 钢管支撑系统固定。钢模板设6 道Φ22 钢筋弹箍,每道弹箍采用单面焊搭接,搭接长度为10d(22cm)。各道弹箍用葫芦受紧,受紧程度要均匀,以保证各道弹箍均匀受力。弹箍外侧设双根Φ48 钢管,间距为1.0m。模板采用Φ12 对拉螺栓固定,最大间距为1.0m×0.9m(0.9m 为高度)。由于烟囱基础呈圆形,为保证模板整体稳定性,沿径向设置钢管抛撑,径向间距为2.0m,高度方向设三道。
所有对拉螺栓两端均要垫25mm 厚的木华丝,以便混凝土浇筑后凿除,割掉对拉螺栓并修补。
模板质量要求:
a) 模板安装严格按施工规范及火电施工质量检验及评定标准进行施工和检查验收,应达到以下质量要求:
b) 模板的拼缝宽度不大于2.5 ㎜。
c) 模板表面不得有粘浆,不得漏涂隔离剂。
d) 半径偏差控制在+10mm~-5mm 之间。
e) 标高偏差控制在±10mm 之间。
f) 模板加固必须牢固,不允许产生变形。
3.1.5.3 模板拆除
基础混凝土养护结束,进行拆除模板工作,拆除时应先内后外,先上部后下部。拆除弹箍时应注意,用气割割除钢筋两端时,1m 处均需由有人握牢,以防弹箍反弹伤人。所有拆除应予以清理,分类归堆。模板拆除后,割除对拉螺栓头,用1:2 水泥砂浆修补。
3.1.6 混凝土浇捣、养护
基础底板混凝土浇筑一次成型,烟道基础短柱和钢内筒基础的施工缝留在基础大底板的表面。
3.1.6.1 浇捣
基础混凝土属大体积混凝土,采用集中搅拌混凝土泵送,中心大斜坡浇筑法,现场布置二辆泵车,八辆搅拌车,沿环形基础相向浇注,斜坡均匀逐层下料同时机械振捣,每层浇筑厚度均为0.5m,上一层混凝土应在下一层混凝土初凝前对其进行覆盖,以免产生冷缝。
在振捣上一层混凝土时,振动棒插入下一层混凝土5cm 左右,振捣密实。
3.1.6.2 养护
本工程烟囱基础属大体积混凝土,基础保温经理论计算结合我公司多年来在大体积混凝土施工方面的成熟经验,基础顶部采取覆盖三层草包或麻袋保温,混凝土浇捣完毕后十二小时内,顶面覆盖草包或麻袋,浇水蓄热保湿养护。混凝土养护时,每天洒水四次,上午两次,下午两次,若气温变化时,可据实际情况变动洒水次数,保证混凝土表面有一定的湿度。混凝土养护、洒水、测温设专人负责,且做好记录。
另外,为严格控制大体积混凝土的内外温差,保证养护时间符合要求,掌握内部温度变化情况,防止有害裂缝的出现,必须对基础混凝土进行测温。
3.1.6.3 测温方法及操作要点
混凝土浇捣前2~3 天,先在现场进行测温仪安装,包括配线、连接、调试,同时进行试测温,用0℃~100℃水银温度计与之相比较,以确定测温仪是否工作性能稳定。
混凝土浇灌完毕后,测温仪开始工作,24 小时不间断记录下温度变化值。前7 天升温阶段每8 小时记录一次;以后散热降温阶段每12 小时记录一次。若遇温度突变或温差过大增加记录一次,待内外温差不大于25℃时方可结束测温。
测温过程中经常观测仪器是否处于稳定状态,出现异常情况应及时处理,保证测温数据正确。记录速度一般控制在每小时记录纸长度60cm 为宜。
另外,在每组电测点附近的基础表面留一个φ48 的预留孔,以作为电测失效的应急措施。
3.1.6.4 控制混凝土有害温度裂缝产生及扩展措施
a) 在集中搅拌混凝土技术条件中注明:选用水化热低,初凝时间长的矿渣水泥,黄砂宜选用细度模数≥2.5 的中砂,砂石的含泥量≤3%和1%。
b) 协助搅拌站应用“双掺”技术,减少水泥用量,降低水灰比和水化热,协助拌站试拌,完善混凝土配合比。
c) 浇筑前对拌站的计量设备进行检查。
d) 混凝土浇筑过程中,加强坍落度控制和浇筑强度控制,加强振捣控制,以检验混凝土质量,确保不出现冷缝,提高混凝土的密实度。
e) 严格混凝土表面的紧面工艺,采用二次紧面工艺。
f) 测温控制,用测温数据来指导保温保湿养护工作,严格控制混凝土内外温差符合≤25℃要求。
3.1.6.5 施工缝的处理
严格按《规范》要求进行操作,施工缝处理完毕后进行隐蔽工程验收。
3.1.7 沉降观测
垫层浇筑完毕后,在基础外侧紧靠基础边缘的垫层上做沉降观测点标记,并进行沉降观察初始值的测定,待基础拆模后立即将其引测到基础顶面,同样做好沉降观测点标记,最后引测到设计规定的沉降观测点上。以确保沉降观测资料的完整性。在整个施工阶段,按设计文件规定进行观测。
3.1.8 基础回填
3.1.8.1 回填主要采用素土回填。回填前把基坑内的积水、杂物清理干净。不允许含有大块的土块、砖石和杂草。
3.1.8.2 回土方法总体考虑选用机械进行分层压实,回填土应分层铺摊。每层铺土厚度应根据土质、密实度要求和机具性能确定。蛙式和平板式打夯机每层铺土厚度为200~250mm。
每层铺摊后,随之耙平。局部狭小区域考虑采用平板打夯机进行人工夯实。
3.1.8.3 回填土每层至少夯打三遍。打夯应一夯压半夯,夯夯相接,行行相连,纵横交叉。并且严禁采用水浇使土下沉的所谓“水夯”法。
3.1.8.4 现场用环刀取样做干容重试验,回填压实系数、干容重、含水率分别要求符合规范及图纸要求,试验合格后方可进行下一层的回填。
3.1.8.5 回填土每层填土夯实后,应按规定见证取样进行环刀试验,测出土的干密度;达到要求后,再进行上一层的铺土。
3.2.8.6 如必须分段填夯时,交接处应填成阶梯形,梯形的高宽比一般为1:2。上下层错缝距离不小于1.0m。
3.1.8.7 基坑回填土应连续进行,尽快完成。施工中注意天气变化,雨前应及时夯完已填土层或将表面压光,并做成一定坡势,以利排除雨水并及时抽干。
3.1.8.8 回填工程应尽量在雨季前完成,雨天必须停止回填施工作业。
3.1.8.9 如雨量较大可考虑在土面上开沟排水。
3.2 筒壁现浇段施工
积灰平台及现浇段采用翻模施工方法,模板系统采用组合钢模板及钢管排架支撑施工。积灰平台以下一次施工完成,积灰平台以上采用翻模模板作为现浇段的施工模板,同时安装电动升模的轨道模板。积灰平台以上施工三段。
3.2.1 排架工程
采用扣件式脚手架,分内外排架。内排架采用满堂脚手架,靠近筒壁6 排立杆沿圆周呈辐射状布置,其余立杆沿轴向布置,两部分紧密相连,或全部采用轴向分布。

3.2.1.1 搭设顺序:地基处理→ 放置纵向扫地杆 → 立柱 → 横向扫地杆 → 纵向水平杆→ 横向水平杆 → 连墙杆 → 剪刀撑、横向支撑 → 铺设竹笆 → 搭设栏杆 → 搭设“之”形爬梯 → 拉设安全网
3.2.1.2 内外排架按规定合理设置剪刀撑和横向支撑,外排架每道剪刀撑每隔4 跨设置,其宽度为4 跨,横向支撑在两步内自上而下呈之字形连续布置,连墙杆2 步3 跨布置,保证内外排架有足够的稳定性。内排架每隔四根立杆通长布置一道剪刀撑,梁底采用独立排架支撑。为供人员上下和材料运输之用,搭设斜跑道,其坡度为1:3,满铺竹笆加设钢管防滑条。脚手架上设置避雷接地装置。
3.2.1.3 脚手架基础:由于内外脚手架高度较大荷载较大,内排脚手架立杆直接放在基础砼上。对外排脚手,待基坑回填夯实后浇筑10cm 厚的砼,上铺设10#槽钢,外脚手立杆放在槽钢上。做好外脚手架旁边的排水措施。
3.2.1.4 材料:采用钢管Ф48x3.5 搭设脚手架,钢管表面应光滑平直,无裂纹、压痕、硬弯等缺陷。扣件与钢管应贴和紧密,扣件转动部分灵活,不得出现锈蚀、变形、滑丝、伤痕等现象。
3.2.1.5 连墙杆:外脚手架设置连墙杆。连墙杆2 步3 跨并排布置,利用短钢管一端用扣件与立杆连接,另一端与筒壁上对拉螺杆烧焊连接。
3.2.1.6 支撑:内外脚手架设置剪刀撑和横向支撑。每道剪刀撑跨越立杆5 根,其宽度为4跨,斜杆与地面的倾角在45º ~60º 之间。斜杆采用对接接头,用旋转扣件与立杆或横向水平杆伸出端连接牢固。横向支撑在二步内自下至上呈之字形连续设置,斜杆用旋转扣件与立杆或横向水平杆伸出端连接牢固,横向支撑每隔六跨设置一道。内脚手架设置剪刀撑,每隔四根立杆沿径向或轴向从下到上设置一道。
3.2.1.7 斜跑道:搭设斜跑道,以供人员上下和材料运输之用。斜跑道宽度为1.2m,坡度为1:3,满铺竹笆加设钢管防滑条,防滑条间距30cm,斜道两侧设两道栏杆,转弯平台须采用竹笆防设。
3.2.1.8 施工操作层满铺竹笆四角用铅丝绑扎固定,操作层外侧设置两道防护栏杆,高度分别为1.05m、0.4m。沿脚手架四周从下到上设置小眼细网围护。
3.2.2 模板工程
按照翻模工艺施工的现浇段模板系统为普通组合钢模板。筒壁的半径收分通过钢模板之间的楔形木条调整,楔形木条与钢模板间用双头螺丝连成整体,对拉螺丝穿入楔形木条,竖向间距600mm,横向间距与楔形木条间距相同。
3.2.2.1 模板固定方式
内脚手架固定内模,用以控制半径;通过对拉螺丝由内模固定外模,用以控制壁厚,确保外半径尺寸正确。
3.2.2.2 内模安装
先根据筒壁内半径及坡度,减去模板及抱箍的位置,算出脚手管在半径上所处的位置,并用扣件和短管将其固定于内脚手架上(内脚手架用φ48×3.5 的钢管搭成满堂架),为保证模板整体刚度和圆弧度,内外模板采用钢筋(Ф22)弹箍,上下间距为600mm。接头处用电焊连接,焊缝长度不少于220mm。接着把配置好的定型钢模由下至上依次支设于抱箍上,并用8#镀锌铁丝扎牢形成整体。注意收分模板应编号均匀插入,不能漏插和错插,内模板支好后及时检查其弧度和半径,有误差及时进行调整,合格后方可进行下道工序施工。
弹箍外加竖向钢管支楞,通过对拉螺丝和槽钢华司固定。
3.2.2.3 外模安装
待钢筋绑扎完经检查验收合格后进行外模安装,安装时从一点开始安装一块收分模板和三块定型钢模,注意收分模板的位置应与内模收分模板基本对齐,以便穿拉杆,安装应注意模板、背管、抱箍、拉杆同时进行,以防外模的弧度不能保证。
为保证混凝土筒壁的外表质量,外模板采用新模板;对拉螺栓采用Ф12,为保证筒壁厚度,用φ16 的PVC 管作顶撑。拉杆穿过PVC 管,调紧拉杆时让PVC 管顶紧内外模。混凝土浇注完毕拆模后抽出对拉螺栓,用水泥砂浆封闭。
内外模板安装以前应对基础环壁上口进行砂浆找平,防止模板底部缝隙漏浆。
3.2.2.4 模板安装示意图

3.2.3 钢筋工程
钢筋绑扎由内向外进行,竖向钢筋采用直螺纹接头,环向钢筋采用绑扎连接,搭接长度符合设计要求。立筋、环向筋加工成型,当竖向筋减少或增加时应沿整个圆周分配。钢筋位置正确,不得遗漏。钢筋保护层用砂浆垫块控制。所有埋件位置正确,固定牢固,不得遗漏。
钢筋采用经检验合格的Ⅱ级钢筋。
3.2.3.1 钢筋制作
钢筋制作前还应检查出厂合格证及复检报告,合格的钢筋先在加工场按图纸要求制作好后挂牌堆放整齐,制作时要求放样、下料、弯曲准确,配料合理。
3.2.3.2 钢筋绑扎
待内模板验收合格后将制作好的钢筋运到现场安装。
钢筋安装时先在顶部和中部各固定一圈环向标准筋再扎其余位置环筋。注意钢筋间距均匀,接头错开,搭接长度符合设计要求,具体操作时要划线控制。
钢筋绑扎由内向外进行,竖向钢筋采用直螺纹接头连接,环向钢筋采用绑扎连接,搭接长度符合设计要求。立筋、环向筋加工成型,当竖向筋减少或增加时应沿整个圆周分配。
钢筋位置正确,不得遗漏。钢筋保护层用砂浆垫块控制。所有埋件位置正确,固定牢固,不得遗漏。
为确保钢筋绑扎质量,应作到以下几点:
a) 绑扎水平筋以前先在模板上口位置固定一圈标准半径水平筋,同时把竖向钢筋调整垂直、均匀。
b) 沿圆周间距2m 左右在相应位置的竖向钢筋上用粉笔划出每道水平筋的位置线,严格对准标记绑扎。
c) 在标准水平筋上划出竖向钢筋的位置线,对线绑扎,保证竖向钢筋位置正确、垂直。
d) 横竖钢筋交叉点可隔空绑扎,即绑扎点呈梅花形布置。
为确保牛腿位置正确,应先测出牛腿根部钢筋标高标注于竖向钢筋上,并用水平管复查一周的标高点是否水平,并在此位置绑扎一道水平筋后再绑扎牛腿其余的钢筋。
水平钢筋搭接长度应符合设计及规范要求,接头错开布置,同一截面上接头数百分率≤25%。竖向钢筋采用直螺纹接头,其焊接严格按钢筋焊接规程进行操作和检查验收。
钢筋安装完成后用高标号砂浆垫块垫出钢筋保护层。
3.2.4 混凝土工程
混凝土采用集中搅拌混凝土浇筑,采用混凝土多点卸料对称分层分皮同时上升,每层浇筑250~300 厚,连续浇筑的方法。混凝土经串筒入筒壁,混凝土用插入式振动棒(内部振动器)进行振捣,根据浇筑方法分层捣固,振捣时振动点采用行列式排列,从下向上进行,间距不得大于500,且注意振捣时间控制20s~30s 之间,防止漏振和捣固不密实。振动器操作做到“快插漫拔”,且振捣上层混凝土时应插入下层混凝土不超过5cm。
为保证施工缝平滑过渡,外模板比内模板稍高。由于孔洞暗柱、梁位置处的钢筋较密,为保证混凝土振捣密实,此位置处应开门子板。
混凝土浇筑完后,及时覆盖草垫进行洒水养护,养护时间不得少于14 天。拆模后混凝土外壁涂刷养生液进行养护。
3.3 筒壁翻模施工
电动翻模的提升工作原理:利用已成型并且具有一定强度的混凝土筒壁为依托,将轨道模板与补偿模板通过高强螺栓及剪力环固定在筒壁上。6.4m 高的操作架,其滚轮安装在轨道模板的槽钢轨道上,架体用大销子与轨道模板固定;提升架高为2.1m,与操作架梁两者通过滚轮及槽钢作轨道相互套合,且互为轨道,并在提升架上装有摆线针轮减速机、丝杠,丝杠螺母装在操作架上。提升时以剪力环为支撑点(承受系统自重及施工荷载),以轨道模板为基准,电机正转提升操作架,操作架沿轨道模板提升,每次提升高度为1.5m,一个行程约1.5m 约8 分钟,用大销子将操作架固定在轨道模板上;然后电机反转,提升架上升。这样操作架与提升架靠电动机的正反转互相提升,完成沿筒壁的提升过程。
3.3.1 电动翻模装置的组成
烟囱采用电动翻模装置施工,该装置共有五大系统;操作平台系统、模板系统、垂直运输系统、电动提升系统和电气操作系统。电动翻模装置示意图见下页。

3.3.1.1 操作平台系统由中心鼓圈、辐射梁、内外环梁、平台铺板及栏杆等部分组成。其结构与滑模装置基本相同,由于用电动机代替,液压爬升千斤顶进行提升,支承点爬升能力提高,因此辐射梁数量可大为减少,相应辐射梁构件要增加。
3.3.1.2 模板系统由外模、内模和内吊脚手架等组成。外模由轨道模板和大模板组成,并配以一定数量的补偿模板;内模采用普通模板和调节模板组成。内外模板用三套,每套高度
1.5m。
3.3.1.3 垂直运输系统由随升井架、起重爬杆、吊笼及其导索、卷扬机及其钢丝绳、混凝土储料斗等部分组成。其结构与滑模装置基本相同。
3.3.1.4 提升系统主要由操作架、提升架、电动提升装置和轨道模组成。操作架和提升架通过两组滚轮导合,互为轨道,交互上升。
3.3.1.5 电气操作系统主要由卷扬机动力用电、信号控制、电梯防止冒顶和蹲底限位开关及行程控制、爬升电动机动力及施工照明等组成。
3.3.2 电动翻模装置的安装
该装置在筒壁翻模到一定高度后开始组装(视烟囱外直径和电动翻模操作平台直径来定),组装前利用已安装的2 节轨道模板及脚手排架进行组装。组装顺序为:
轨道模板安装 → 中心鼓圈支撑脚手架搭设 → 操作架、提升架、电动提升装置地面组装后安装到位 →安装中心鼓圈 → 平台辐射梁安装 → 平台连接钢圈安装 → 铺平台脚手板 → 斜拉索安装 → 井架安装 → 电气系统安装 → 支撑中心鼓圈脚手架拆除 →吊笼及导索的安装 → 扒杆安装 → 调试 → 荷载试验 → 验收使用。
3.3.2.1 轨道模板的安装
轨道模板的安装是此装置的重点,其安装准确与否直接影响到整个翻模装置系统。根据此烟囱的特点,轨道模板从+16.5m 开始安装,共安装3 节。轨道模板安装在筒壁外侧,通过Ø36 对拉螺丝、剪刀环、螺母与内侧模板进行固定连接,安装时以烟道孔中心线为基准均匀布置,共20 榀门架,轨道间连接要求平滑,轨道模安装垂直,应对上述要求进行测量并做好记录。
3.3.2.2 中心鼓圈的安装准备
中心鼓圈的安装脚手架搭设采用满堂脚手架,其立杆间距控制在80cm 左右,搭设面积为半径为4.5m 的圆,顶面用水准仪找平,满铺脚手板并绑扎牢固,脚手架能够承受中心鼓圈、辐射梁、支撑平台、施工人员的重量,并要求脚手架具有足够的稳定性。
3.3.2.3 提升架、操作架的地面组装
此部分严格按照组装图在地面组装,严格按照图纸施工,并检查焊缝以及配件是否满足平台组装和升模的要求。
3.3.2.4 操作架、提升架、电动提升装置组装件吊装就位
操作架、提升架系统在地面组装好并试运行至正常后,即进行组合门架的吊装,门架共20 榀,吊装时利用50t 汽车吊沿筒壁一周吊装就位(组合门架与轨道模板之间通过销块进行连接)。
3.3.2.5 辐射梁与连接角铁、连接钢圈的安装
门架与中心鼓圈安装就位后,利用吊车安装辐射梁,共20 榀,逐个与中心鼓圈用销子销好,另一端固定在操作架顶部的滚轮上。辐射梁就位后,根据施工图画出连接钢圈和连接角铁的位置,从内到外依次连接牢固。
3.3.2.6 施工平台脚手板的铺设
平台辐射梁以及连接角铁、连接钢圈安装就位后,即可进行平台脚手板的安装。脚手板采用50mm 厚的优质白松木材,先铺设辐射梁顶面,再铺辐射梁间的空档,辐射梁顶部脚手板采用12#铅丝绑扎牢固,平台脚手板钉在辐射梁顶部脚手板上,必须满铺。
3.3.2.7 斜拉索安装
斜拉索采用 Ø30 钢丝绳与其配套杆件组成,其安装方法如下:将所有的斜拉索均布挂好,用5t 链条葫芦从外侧对称四点同时拉紧,再四点对称同时拉直至最外侧拉完,其安装要点为每一道斜拉索受力均匀,最外侧拉完后再拉次外侧,按照上述方法将所有拉索全部拉完。
3.3.2.8 井架安装
井架安装时将组装构件运到施工平台上进行现场组装,避雷针装在井架顶部,与筒壁内的避雷导线连接,安装完成后进行接地电阻测试。
3.3.2.9 电气系统的安装
施工平台电气系统的安装应满足电动提升原理的要求,电气连接应装在辐射梁下部或侧面,并固定牢固,电源控制箱放在零米的操作室内,施工平台的照明由碘钨灯和行灯(低压灯泡)提供,支撑平台上设置低压灯泡,所有电源线均采用绝缘可靠的橡皮电缆,并配备安全可行的漏电保护器,平台的配电箱应设置防雨罩。
3.3.2.10 吊笼及导索安装
提升装置的材料及人员上下靠吊笼实现,其安装顺序为:
卷扬机就位 → 天地轮安装 → 穿卷扬机钢丝绳 → 导索钢丝绳安装 → 吊笼抱刹装置安装。
卷扬机就位布置在烟囱东南侧与B 轴夹角成17°,距烟囱中心52m 以外,并确保卷筒中心到第一个导向轮的间距大于20 倍卷筒宽度,利用吊车就位,卷扬机位置固定在预先浇筑的基础上。导索钢丝绳的一端固定在烟囱内地坑内的预埋件上,另一端用3t 倒链拉紧。
3.3.2.11 小扒杆的安装和平台上1t 卷扬机的就位
小扒杆利用井架三点固定,安装时利用卷扬机将其提升到安装高度,再进行固定,1t卷扬机用吊车吊至平台上,用钢丝绳将卷扬机固定牢固。
3.3.2.12 电动翻模装置提升前的检查及负荷试验
a) 检查内容
所有辐射梁的挠度、电气系统的绝缘检查、吊笼减速机显示灯指示灯是否正常、通讯联系是否畅通、避雷针接地是否良好、斜拉索钢丝绳是否均匀受力、操作平台上荷载是否均匀等。
b) 提升试验
每榀门架处站1 人,由指挥人员指挥操作人员同步提升提升架1.5m,主要观察系统平台上下是否灵活,提升丝杆与螺母是否有搅丝现象及减速机是否有异常声音。
c) 平台荷载试验
根据平台的设计应载重量进行试验,无异常情况下分别再加15%、20%的荷载进行试验。在辐射梁等结构构件的适当部位贴应变片和应力片,测量这些结构部位的应力和应变,并做好记录,并再次检查斜拉索的钢丝绳卡头是否有松动现象等。
d) 吊笼荷载试验
吊笼空载运行3 次,并撞行程开关检查是否有效,再检查钢丝绳卡头、天地轮是否可靠;然后两部吊笼各加设计荷载1.5t,进行同步提升或下落试验,再检查吊笼顶部的钢丝绳卡头、天地轮是否可靠:吊笼抱刹试验为:加荷载1.4 t 用钢丝连接,剪断铁丝其刹车行程≯25cm。
e) 小扒杆试验
小扒杆设计荷载0.5 t,若吊0.5 t 钢筋进行起吊后情况正常再分别加荷载的15%、20%钢筋起吊,观察外扒杆提升过程中扒杆的变形情况。
3.3.3 利用翻模装置系统的筒壁施工
3.3.3.1 电动翻模装置系统的施工流程
钢筋绑扎 → 整体提升外操作架 → 松导索,整体提升内操作架并固定 → 紧导索、用激光铅直仪对中 → 拆内、外下层模板,清理、刷脱模剂,堵孔并对混凝土表面养护 →支内、外模板 → 调节模板半径并固定 → 穿套管、浇混凝土 → 循环。
3.3.3.2 钢筋绑扎
特殊部位的钢筋按图纸加工成型,筒壁竖向和环向钢筋直接下料。φ18 以上的内外竖向钢筋按成6m 一段下料,φ18 以下竖向钢筋按4m 一段下料。
竖向钢筋采用直螺纹接头连接,且接头错开,同一截面接头数量为25%,相邻接头错开1.25m。竖向钢筋数量改变时,在钢筋接头标高处预先插入和改变后相同规格的钢筋,预埋钢筋插入接头标高以下90d,并保持钢筋间距均匀。环向钢筋下料成9m 一段,钢筋接头采用搭接,搭接长度≥45d,接头采用绑扎且应错开,同一截面接头数量不大于25%,钢筋绑扎圆弧平滑、间距均匀,搭接处应在中心和两端用铁丝扎牢。
环向钢筋外侧挂混凝土垫块,用以控制钢筋保护层。竖向钢筋接头采用直螺纹接头连接时,焊剂和钢筋保持干燥,上下竖筋中心偏差不超过规范要求,钢筋接头锈蚀的要进行除锈。
3.3.3.3 模板的组装与拆除
钢筋绑扎完成后即可以进行模板的安装,除承重模板外,外模用0.58×1.5 的模板,与承重模板连接处用普通模板补偿;内模用0.3×1.5 模板和调节模板组合。
壁厚通过对拉螺栓外套Ф16PVC 管来控制。轨道模同对应的内模之间用M36 的螺栓连接,安装前加Ф50PVC 硬塑料管,以保证螺栓的反复周转使用,其它的模板用M12 螺栓连接,并在内外模的对拉螺栓处加两道Ф33.5 的环行钢管做围檩,使之形成一个整体。
模板的半径控制通过硬支撑进行调节,上下节模板接缝之间加1.5cm 宽PE 双面胶带,模板水平接缝处U 型卡采用螺栓代替,以防混凝土漏浆。
3.3.3.4 混凝土工程
混凝土由试验室根据施工条件提前试配,为了保证筒身色泽及混凝土材性一致,筒身采用同一家水泥厂同标号的水泥。
钢筋及模板工程经验收合格符合设计要求后,方可进行混凝土的浇注工作。混凝土由搅拌场供应,利用两只吊笼垂直运输,放至施工平台上的集料斗内,由施工人员用小板车推至混凝土浇筑点,混凝土浇筑由一点开浇,分别沿顺时针和逆时针斜坡分层后退浇筑,分层振捣。混凝土振捣布点均匀,不过振不漏振,振捣时间以混凝土表面无汽泡逸出为宜,混凝土浇至外模上口平齐,混凝土初凝后在混凝土上表面用木条压50mm 深沟槽作施工缝处理,并清理干净。
根据工期要求,筒身施工进度每两天施工3 节,而电动提升系统全部支承于已拆模的混凝土筒壁上,要求从该节开始向下第一节、第二节、第三节混凝土强度分别达到5Mpa9Mpa、12Mpa 后方可施工,如混凝土达不到施工要求的龄期强度,可在混凝土内加入早强型减水剂。对已拆模的混凝土表面利用养生液养护,养护前用和混凝土同配比相同的水泥砂浆把对拉螺丝孔堵实抹平,用角向砂轮机把混凝土表面的挂浆及混凝土接头缝磨平,最后在混凝土表面喷洒养生液,养生液喷洒要均匀。
3.3.3.5 特殊部位施工
牛腿施工与该节筒壁同时进行,由于采用电动翻模法,每节牛腿高度为1.5 米,牛腿环向相隔1 米留设楔形逢用木模作成楔形状,在混凝土终凝后抽出,周转使用。
烟囱留设的门洞口及烟道口,施工时准确控制位置及标高,门洞口侧模及顶模用50mm厚木板制作,烟道口的侧模用钢模配以木模,与筒身同节施工,顶部用木模制成弧形(50mm厚板),在烟道的位置搭设有足够强度的支撑。
电动翻模施工至信号灯窗洞位置时,根据筒壁厚度加工两侧木模及上口底模,中间用剪刀撑加固,形成整体,并留出预埋件的位置。支模时先安装木模,然后支内外钢模,浇混凝土时从预留洞两侧同时始浇,以防侧模位移。
3.3.3.6 避雷线安装
避雷线埋在混凝土内,施工随筒壁施工一道进行,每根每段下料成6m,接头采用搭接焊,上端用细铁丝临时固定在竖向钢筋上。筒壁施工至避雷线向外引出标高,沿筒壁绑一圈环向避雷线,接头采用搭接焊,搭接长度大于6d,并与预埋铁板焊接。筒壁到顶后,按图纸要求把避雷针连续板与环向避雷线焊接,然后把避雷针下端和避雷线引出线连续。避雷针安装完毕要由有资质的试验单位和持证人员进行电阻试验,并出检测报告。
3.3.3.7 烟囱沉降观测
烟囱沉降观测应在基坑开挖完成浇捣垫层混凝土凝固后进行,在0.00m 以上每20m~30m观测一次,一直到顶。钢内筒每提升40m 观测一次,完工后及投入运行后的第一年内,应每月观测一次。施工完毕后,移交有关观测资料。
3.3.4 施工过程中翻模装置的操作控制
3.3.4.1 操作平台提升
操作平台提升时尽量不要有多余的材料和设备堆放在平台上,这样可以减轻平台自重,有利于提升架提升。
平台提升时应由专人操作,操作时有专人对操作过程监护,在每个单元架有专人监护(一级监护),每四个单元架有一个管理人员做二级监护,二级监护人员用对讲机和操作员联系。提升架提升时,监护人员应把提升架上的插销卸下,待提升架提升到位后再把插销安装就位;操作架提升时监护人员把插销退出使其靠近筒壁的端部和操作架立柱平齐。
单元架提升时监护人员应加强对单元架的监护,防止单元架和其它物体相碰,特别注意提升丝杆和安全网绞在一起,安全网顶杆不得和下层爬升靴碰撞。
提升过程中如出现异常情况,一级监护人员立刻通知所在位置的二级监护人员,由二级监护人员用对讲机通知操作人员,操作人员马上按急停按钮,待查明原因确认可以继续提升后方可继续提升;操作监护员在提升时应加强对操作人员操作过程的监护,发现操作人员误操作时,应立刻按急停按钮。
平台每次提升高度1.5m,首先在第一层对拉螺栓孔穿对拉丝杆,挂爬升靴并锚固,平台提升时先把控制开关切换至“整体提升”位置,按“整体提升”按钮,启动提升单元架上的电动机使其反转,推动提升架上升至第一层爬升靴位置,把插销挂在爬升靴上方,然后把控制开关切换到“单个提升”位置,分别调整各提升架高度,使提升架插销和爬升靴连接牢固。把控制开关切换到“整体提升”位置,按“操作架同时提升”按钮,正转电动机利用提升架带动丝杆向上提升操作架,待操作架插销升至爬升靴位置时(插销应高过爬升靴挂杆约5cm)把插销伸出就位,把控制开关切换至“单个提升”位置,分别调整各操作架高度,使操作架插销挂在第二层爬升靴上,完成平台提升。
操作架提升要保持各单元架提升速度一致,在操作架立柱上用油漆做出高度标记,每10cm 一档,在提升时根据提升架和操作架上的标记检查各单元架提升是否同步。
3.3.4.2 中心及标高控制
烟囱中心由激光铅直仪检测,基础施工时,已在基础底板上定出烟囱中心(预埋铁件),在此中心点上安放激光铅直仪,并加工一个防护盒,随升平台中心设激光接收靶。测中时,铅直仪激光光斑在接收靶的方向和偏差值即为平台中心偏离的反方向和偏差值。根据此偏差值调整平台中心,平台每提升一次要测一次中,出现偏差应及时调整,防微杜渐。
筒壁标高用测距仪从烟囱外一点观测,每节牛腿测量一次。
3.3.4.3 平台水平控制
平台上的各种物件布置应均匀对称,总电缆与小扒杆对称布置。小扒杆吊运的物品应随吊随运,散开均匀布置在平台上,严禁集中堆放。严格控制平台水平度,每次平台爬升均达到同一标高。用水准仪校验平台水平度,一般一天或两天一次。
3.3.4.4 调径收分
平台每次爬升后,模板根据爬升的高度、外壁坡度、半径进行收分一次。此项工作由技术熟练的木工去做,且专人负责,他人不得乱动模板支头螺丝,确保坡度正确,平台稳定。半径控制采用在辐射梁上做好的刻度标志,根据刻度来调整半径,并且每提升一次,打圆尺一次,半径偏差不得大于25mm,壁厚偏差不得大于20mm。
3.3.4.5 电动翻模系统的改装
电动翻模至+100m 处相临操作架间距太小,不利施工,需改装平台,减少一半的操作架并把短辐射梁抽掉,短辐射梁位置的操作架拆除,长辐射梁外伸部分拆除掉。
改装顺序:操作架铺板拆除 → 安全网、栏杆整修 → 拆除内操作架及短辐射梁 →拆除外操作架 → 铺走道板 → 挂安全网。
电动翻模系统拆除时要编制详细的施工措施。
3.3.4.6 平台拆除阶段
烟囱爬升到顶,可进行爬升平台的拆除工作。拆除程序为:爬升平台稳固 → 拆除液压系统 → 拆除模板系统 → 抽除辐射梁(以每节外钢圈为一组) → 小扒杆拆除 → 拆除吊笼、导索、工作钢丝绳 → 花鼓筒、井架整体下降→拆除花鼓筒、井架。
平台拆除前,所有施工机具应备齐,对卷扬机、小扒杆、手链葫芦、滑车、天地轮、导向轮、千斤绳、钢丝绳夹头、卸扣、安全带等必须全面检查。重要项目由安全部门组织专业人员进行检查,做荷载实验且做好记录。在拆除过程中,拆除的物件应随拆随运。各作业人员须精力集中,相互配合,不得留有安全隐患,确保安全。
3.3.5 预防质量通病措施
3.3.5.1 操作平台漂移
a) 原因:辐射梁分布不均匀,平台组装时外操作架组装高度不一致,造成平台倾斜;另外平台荷载不均也是造成平台飘移的主要原因。
b) 防治:电动翻模系统组装时,辐射梁应方位准确,外操作架组装高度一致,施工过程中平台上设备均匀分布,避免堆集一边,一旦发生漂移,利用1t 链条葫芦住箍圈和外操作架调整。
3.3.5.2 上下层混凝土色泽不一致
a) 原因:上下层混凝土所用水泥品种不同或不是同标号水泥,配合比发生变化、外加剂变化。
b)防治:筒身施工应选用同一家水泥厂,同一标号水泥,同一品种,外加剂不改变。
3.3.5.3 钢筋保护层偏差较大
a) 原因:竖向钢筋较长,造成倾斜;模板与钢筋间没有合适的垫层块。
b) 防治:竖向钢筋较长时,可以预先在上部绑扎上道环筋,作临时固定。在模板口挂专用垫块,可以重复使用,方便有效。
3.3.5.4 混凝土表面有蜂窝麻面
a) 原因:混凝土浇筑时没有严格按斜坡分层的方法进行,振捣不及时,造成下层未振到;振捣混凝土时,没有使混凝土内气泡完全逸出。
b) 防治:混凝土浇筑时,严格按斜坡分层的方法浇筑,每层厚度300mm~500mm,每层振捣及时,不过振、漏振;混凝土振捣时,快插慢拔,振至混凝土表面无泡时为宜。一旦出现蜂窝麻面,应采用和混凝土配比相同的水泥砂浆抹平,保持颜色一致。
3.3.5.5 混凝土表面脱皮
a) 原因:模板未及时清理,模板表面粗糙,有硬固的水泥浆;拆模早,混凝土未达到拆模强度。
b) 防治:每升模一次必须对模板清理一次,且均匀涂刷脱模剂,根据现场气温情况和混凝土龄期强,确定混凝土拆模时间,不得提前拆模,如出现脱皮情况,应用和筒壁混凝土组份相同的水泥砂浆抹平。
3.3.6 安全文明施工措施
3.3.6.1 烟囱周围30m 范围内划定为危险区并设置围栏,危险区内进出通道必须搭设安全防护棚,其宽度为4m,高度为4.5m,防护层上铺3mm 厚铁板,并加铺两层竹笆作缓冲层,材料及半成品堆放在危险区外。由于烟囱内设计有灰斗平台,无须在烟囱内搭设安全防护棚。
施工平台铺板选用6cm 厚优质白松板或樟子松板,并铺设牢固;平台底挂全兜式安全网;提升单元架的下方及内外侧均应设置全兜式安全网,并随筒壁升高及时调整,使其紧贴内外筒壁。
3.3.6.2 平台四周及铺板边缘设置1.2m 高的栏杆,相邻栏杆用φ12 圆钢连接,用作围栏,围上安全网。
3.3.6.3 平台上的设备、材料分开堆放。避免集中堆放在一点。
3.3.6.4 井架上设置三道限位开关,防止吊笼冒顶,限位开关安装位置确保吊笼上下到极限位置能碰到;井架上端要安装避雷针,并保证良好的接地,并由有资质的单位和持证人员测试接地电阻。
3.3.6.5 平台上应设灭火装置,放泡沫灭火器2 只、放干粉灭火器2 只、CO2 灭火器2 只,并固定在牢固处;夜间施工必须有足够的照明,行灯必须采用低压电源,井架顶部应设航空指示灯。
3.3.6.6 平台上下通讯要保持时时畅通,吊笼上下利用电铃通知对方,上下联系用直流电话机,同时备两对对讲机上下联系。
3.3.6.7 吊笼垂直运输利用两台5t 双滚筒卷扬机牵引,吊笼利用双钢丝绳提升,卷扬机使用前要由机械人员检查、保养,卷扬机要有专人监护,遇到紧急情况及时切断卷扬机控制闸刀。
3.3.6.8 吊笼上下时不可超载,不能人货混装,不能载超过吊笼尺寸的材料,吊笼上要装有限位。
3.3.6.9 电动翻模系统、吊笼必须经技术监督局出具使用证后方可使用。
3.3.6.10 施工人员进行现场必须配戴安全帽,高空作业人员经体检合格后由安全部门发登高证方可上岗。
3.3.6.11 吊笼应由专人操作,操作人员必须持证上岗,操作时必须集中精力,严禁在操作时和无关人员聊天、做无关的事;严禁无关人员进入操作室,操作人员不得让无登高证人员乘吊笼上至施工平台。
3.3.6.12 吊笼操作人员应定期检查卷扬机及吊笼运行情况,检查钢丝绳完好程度,是否有断丝和断股现象;检查吊笼上下是否和井架有碰撞;定期做吊笼空载冲顶试验,检查限位是否灵敏。平台提升操作人员在提升时要注意各单元架行程是否一致,检查各提升架减速机是否能正常运转,检查各提升单元架在提升时是否有阻碍;平台提升到位后要检查插销是否和爬升靴连接牢固;并定期对提升丝杆及减速机进行保养。
3.3.6.13 施工人员进入烟囱危险区必须从安全防护棚内通过,非本工程施工人员未经许可不得进入烟囱危险区。
3.3.6.14 施工人员严禁酒后上班。
3.3.6.15 施工人员在平台上不得嘻闹、打斗。
3.3.6.16 平台提升应由专人指挥,并安排人员检查各减速机运转情况,发现问题及时汇报。每道工序结束应将散落在平台上的零星材料和个人工具堆放整齐。
3.3.6.17 卷扬机由专人监护,发现问题及时切断电源。机械管理人员定期对施工机械进行检查,发现问题及时维修。
3.3.6.18 加强班组文明施工教育和管理力度,坚持一日一清、一日一净制度,做到工完、料尽、场地清。
3.3.6.19 现场设垃圾箱和废料堆,并派专人每天进行打扫、清理。
3.4 支撑平台吊装方案
为了缩短烟囱施工工期,充分利用劳动力资源,提高经济效益。烟囱外筒和内筒同时向上施工,白天施工外筒,晚上施工内筒,每天完成一个流程,烟囱施工一节模板(1.5m)高度。
烟囱钢筋混凝土外筒壁采用电动翻模施工,电动翻模工艺成熟,外筒施工容易实现,而且工程质量好。内筒施工采用电动升模辐射梁上悬挂的内吊盘进行。支撑平台将内筒的荷载传递给混凝土筒壁,因而支撑平台的施工是内筒施工的先决条件,支撑平台构件数量多,制作、加工中难免存在误差,就位难;再加之烟囱施工的特殊性,吊装作业面难以形成,因而支撑平台的吊装就成为该烟囱施工的难点和重点。
3.4.1 吊装方案
构件吊装利用内筒砌筑内吊盘进行构件的倒运及就位。吊装按照吊装预制梁→吊装预制柱→现浇环梁的顺序进行操作。
采用吊笼进行所有构件的吊运。梁、柱就位位置距吊笼水平距离较远,而且吊笼运行速度快,操作中无法用吊笼将构件吊运到就位位置。施工中在构件就位位置正上方的辐射梁上下挂2 根12m 左右长的钢丝绳,钢丝绳下端悬挂5t 倒链,用5t 倒链接钩倒运的方法,完成构件的就位操作。
吊装方案设计见下图:

3.4.2 吊装准备
内筒砌筑内吊盘为园环形,外半径4.0m,吊盘中部孔径为1.7m,孔的大小能保证吊笼的上下通过,吊盘用电动升模提升,为了适应吊装需不断变化吊盘位置的需要,吊盘用6×19φ14mm 的钢蕊钢丝绳悬挂,钢丝绳上在吊盘位置处设2.5t 手拌葫芦,用手拌葫芦调节吊盘与电动提模之间的距离,使两者之间的距离可在30m 范围内变化以适应吊装的需要。
在支撑平台标高以下1.5m 处,砼外筒壁上埋设φ48×3.5 的套管,套管深15cm 间距约2m。套管用于吊装作业中内吊盘水平支撑与外筒壁的连接固定。在辐射梁上下挂两根长12m左右6×37φ13mm 的钢丝绳,钢丝绳下端挂设5t 倒链用于梁、柱的接钩并完成构件的吊装就位工作。
制作两个上人吊笼悬挂在梁上,以供柱就位使用。
3.4.3 吊装操作
当烟囱外筒施工至支撑平台以上15m 左右时,内筒施工至支撑平台以下4m 处时,开始组织平台吊装。
将内吊盘用手拌葫芦提升至预埋套管水平标高处,由内吊盘上伸出脚手管插入套管中,另一端用扣件与内吊盘上焊设的脚手管固定,以此做为内吊盘的水平支撑,在水平支撑杆上靠近外筒壁处铺设两块脚手板,脚手板用铁丝绑扎牢,操作人员在脚手板上完成构件的吊装就位。内吊盘支撑固定之后,在吊盘上对中,确定烟囱中心,以此中心确定安装构件的位置。
3.4.3.1 预制梁安装
梁较轻,安装时,用吊笼将预制梁调运至内吊盘上,操作人员将钢梁抬至安装位置处,与外筒上的预埋件焊接。注意安装中要通过烟囱中心确定梁的平面位置,确保预制梁位置准确。
3.4.3.2 预制柱安装梁安装完之后,从安装的梁上下挂两只吊笼,吊笼分别下落至预制柱位牛腿的两边,利用吊笼完成柱的就位及焊接作业。
在柱上焊吊环,将柱通过吊环绑挂在吊笼下部,用吊笼将钢柱竖起起吊,穿过内吊盘,当钢柱下部上至吊盘上方1m 处时,在柱下部绑溜绳。用电动翻模平台辐射梁上下挂的5t倒链将柱吊起,然后吊笼脱钩,利用溜绳控制柱摆动,用倒链将柱慢慢落至牛腿梁就位位置处,在吊笼中完成柱与牛腿的就位焊接。采用相同的方法,依次将所有的柱安装完。
3.4.3.3 预制板安装
用拖车将预制板运进烟囱内部,在吊笼下部绑挂起重千斤绳,用吊笼将预制板竖起吊运至吊盘上方1m 左右高处,用吊笼将预制梁调运至内吊盘上,操作人员将钢梁抬至安装位置处,与梁上的预埋件焊接。
用上述方法逐层吊装各层支撑平台。
3.5 内筒施工方案
3.5.1 施工准备
3.5.1.1 砌筑作业在组装好并通过荷载试验及有关部门验收同意使用的吊盘上进行。
3.5.1.2 垂直运输利用电动升模作业时用的人货两用吊笼。
3.5.1.3 内衬中心控制依据为2m/m 钢丝吊中线。
3.5.1.4 作业之前对原材料进行复试及试拌砌筑,合格后方可使用。
3.5.1.5 灰斗平台内衬砌体位置抄平,砌浆找平。
3.5.1.6 对上台作业人员进行体格检查,持有登高证方可登高作业,全体施工人员进行培训交底,掌握安全注意事项及质量验收规范。
3.5.2 作业程序及方法:
3.5.2.1 作业流程图

3.5.2.2 砌筑吊平台的组装:
a) 在灰斗平台上搭设1.8m 高组装脚手架一座,为辐射型式,架子面高用水准仪测平。
b) 烟囱中心即为内衬吊平台的中心,按照组装图摆好平台钢圈,钢圈连接处的螺栓须拧紧。
c) 按组装图间距等分摆上木辐射梁,辐射梁与钢圈的连接用φ16u 型螺栓和δ=16m/m吊点夹板及普通δ=16m/m 夹板。
d) 依据辐射梁铺设平台板,辐射梁和平台铺板均应选用优质白松板,每块板均采用4吋铁钉固定。
e) 整座平台设吊点30 只,凡吊点处均采用双螺帽。
f) 钢丝绳轧头使用:吊点上轧头不少于3 只,所有轧头应正向轧,螺帽拧紧。
g) 吊盘用6×19φ14mm 的钢蕊钢丝绳悬挂,钢丝绳上在吊盘位置处设2.5t 手拌葫芦,用手拌葫芦调节吊盘与电动提模之间的距离,使两者之间的距离可在30m 范围内变化以适应吊装的需要。
h) 平台上各吊点调节到吊点钢丝绳松紧一致,汇总点离平台面为10 米。吊点钢丝绳采用6×37,φ13mm。
i) 吊平台中心井口设置2 米高安全围栏,铁丝网围护。
j) 平台上照明采用设置在平台中心井口,围栏上的6 只每盏400W 的自镇流灯。
k) 组装完,将原滑升用的动力电缆及通讯电缆翻到吊平台上使用。
l) 当吊平台提升离组装架1.5m 时,在平台底部挂好一层安全网。
3.5.2.3 内筒砌筑和摆放隔热层
a) 灰缝厚度为3~5mm,内筒为圆形砌体,厚度为240mm 时,应用顶砖砌筑,互相交错1/4,内衬厚度为120mm 时,应用顺砖砌筑,互相交错1/2 砖,每皮砖闭合时不合模楼的尺寸砖,应用斩斧断成所要尺寸砖砌入。
b) 瓦工操作采用“三一”砌法,即每块砖上墙采取铺、挤、揉相结合,以确保灰缝的饱满度好,碰头缝处能挤上胶泥,确保灰缝饱满度。
c) 耐酸泥为粉料型,在台上拌制,配合比由厂方及试验室提供,视气温条件调整。
d) 内筒半径控制检查,每1 米高打一次圆尺,并在砌筑过程中随时用托线板检查坡度和用圆弧板检查弧度。
3.5.2.4 跳跃承荷规定及提升注意事项:
a) 平台承荷规定:50Kg/㎡
b) 平台上除尚可放置少量手动工具外,垃圾、空桶、包装箱、袋要及时清理下(用吊笼吊下)。
c) 吊笼乘人仍按升模方案规定执行。
3.5.3 质量标准及验收
3.5.3.1 检查数量:每砌5~10 米高抽查一次,检查全部项目,每项抽查点数不少于10 处。
3.5.3.2 等级划分:本作业验评为4 级,即班组、队、公司、监理四级验收。
3.5.3.3 质量标准:
a) 砖缝厚度4mm,在5m2 的表面抽取10 点,+2mm 点不超过5 次,胶泥饱满度不小于90%。
b) 内筒材料的类型、规格、质量应符合设计要求。
c) 防腐涂料,按部标塔-7-1 质量标准执行。
d) 内筒表面平整度≯30mm。
3.5.3.4 胶泥、砖强度试验,代样数量、批量由试验室确定。
3.5.4 安全措施:
3.5.4.1 工程施工前必须进行技术、安全交底。
3.5.4.2 高空作业人员须进行体格检查,不适应高空作业健康要求的人员一律不得上岗。
3.5.4.3 特殊工种必须持证上岗。
3.5.4.4 严格执行平台堆荷规定,严禁超载和集中堆荷。
3.5.4.5 内吊盘与内筒间隙不得超过30cm,防止平台边缘空隙过大。
3.5.4.6 当平台边缘离墙体超过15cm,砌筑人员必须系好安全带,并扣好保险扣。
3.5.4.7 平台上不得多人集中站在一起,严禁在平台上打闹取笑。
3.5.4.8 瓦工砌筑严禁站在墙面上砌筑、划线、检查头角垂直度和清扫墙面。
3.5.4.9 砌砖使用的工具应放在稳妥的地方;斩砖应面向平台内,每次清理碎砖、灰砂时不得上、下交叉作业,并须上、下台事先联系好,派专人监护。
3.5.4.10 吊笼装砖应放妥,码放整齐,不得偏心,以免提升时晃动倒下,造成高空落物。
3.5.4.11 平台、后台卷扬机处均需设置灭火机,内衬材料包装用的纸箱、袋、草绳、塑料桶等,均须及时清理到烟囱外的指定堆放地点,不得抛到灰斗平台上,以防引起火灾。
3.5.4.12 内壁涂刷防腐涂料的专用稀释剂,属易燃物品,应按危险品领用制度执行,在平台上每次使用后,应立即将桶盖紧。
3.5.4.13 现场各种材料应分类堆放整齐,搞好文明施工,为安全生产创造一个良好的作业环境。
3.6 烟囱外筒航空标志油漆
烟囱外筒体涂刷航空标志油漆,红白相间。外筒航空标志油漆安排在烟囱混凝土外筒完成60 天后进行。外筒航空标志漆施工依托顶层平台进行,首先在平台上组装两台卷扬机吊笼系统,对称布置。吊笼两侧各有一根导索,其上部与平台固定,下部与0.00m 处的包箍连接牢固。施工人员在吊笼里进行自上而下油漆施工,为确保安全每只吊笼设置一根安全绳,各作业人员的安全带扣在安全绳上。利用导向滑车来调整工作钢丝绳的位置,进而完成吊笼的移位。
油漆大面积采用滚筒刷涂刷,局部采用2″排刷涂刷工艺。
3.6.1 施工准备
3.6.1.1 人员准备
该项作业计划用9 人(包括1 名信号工)完成,所有人员在施工前进入现场进行安全教育和体检,合格者方可从事该项作业。信号工应持证上岗。
3.6.1.2 材料及机具设备准备
a)油漆在施工前采购进现场,并经验收合格,得到各方认可后方可使用。
b)吊笼和其配套钢丝绳运到现场,经检查验收合格后待用。
3.6.1.3 设备选择
该项作业每品吊栏在使用过程中最不利荷载为两个人和一桶油漆,合计重量为:70×2+25=165(kg)。根据《电力建设安全工作规程(火力发电厂部分)》第191 条的要求和现有设备,选择相应的钢丝绳,起重量要求大于使用荷载的两倍,应满足规范要求。
3.6.1.4 技术准备
a)施工前编制好方案并经审批完毕。
b)施工前进行施工技术交底,让每个人清楚明白如何施工,要达到的标准。并在交底记录上签字。
3.6.2 作业方法及步骤
3.6.2.1 油漆施工
由于图纸上对涂料的涂刷无具体要求,在涂刷前仔细阅读使用说明书,严格按配方使用,在吊笼上升时用铲刀和适量腻子灰补平混凝土表面,待表面干燥,清洁后进行涂刷。
油漆涂刷前,用角向磨光机钢丝砂轮对外筒壁外表面进行打磨,除掉表面的砂浆等。涂刷按四遍进行,涂料的浓度应满足使用要求,不得有流淌后过厚的现象。涂刷时先从下往上涂刷两遍,到顶以后随着吊栏的下降再从上往下涂刷两遍。
大面积部分采用长柄油漆滚筒涂刷,红白相接处采用漆刷涂刷。在红白色环交接处,颜色之间分界应清晰、平整,并不得相互污染,为方便涂刷,每人一个小桶,桶上有挂钩挂在栏杆上,不能倾斜倒下来对筒壁污染。
涂刷过程中技术员随时检查涂刷效果,上下联系使用对讲机,地面由1 人协调工作,通过远观近查,随时改进。
3.6.2.2 材料运输
涂料属易燃物品,应小心轻放,油漆用吊笼运至钢平台上,再用麻绳放至所需位置。
注意油漆不能一次吊运太多,根据每天的使用量随用随吊。使用完的空桶及时运到地面指定的地点堆放。
3.6.2.3 吊笼的拆除
先将安全网、围栏、吊笼、跳板等构件用1t 卷扬机放至0.00m。再用φ16 的白棕绳把钢丝绳从上一层信号平台上放至下一层信号平台,圈好后再用1t 卷扬机吊至0.00m。
3.6.3 质量保证措施
3.6.3.1 油漆施工时空气湿度不能太大,因此要求晴天施工,雨天、大雾时禁止施工。
3.6.3.2 油漆涂刷前应对基层上的杂物、灰尘等进行清扫,局部不平的地方用腻子灰修补平整,保证涂刷时基层表面平整、清洁、干燥。
3.6.3.3 涂料涂刷时要求涂刷均匀,上层涂料干燥以后才允许涂刷上层涂料,即下层涂料涂刷24 小时以后再进行上一层涂料施工。
3.6.4 质量标准
该项作业应达到以下质量标准:
3.6.4.1 不允许出现掉粉、起皮、漏刷、透底、返碱、咬色、流坠、疙瘩等缺陷。
3.6.4.2 颜色一致,无砂眼,无刷纹。
3.6.4.3 红白分色线平直,拉5m 通线允许偏差不大于3mm。
3.6.5 安全文明施工保证措施
涂料涂刷属高空危险操作。所有操作人员除遵守相应安全操作规程以外,还应重点遵守扑以下几点安全文明施工措施。
3.6.5.1 雨天、有大雾和风力达到6 级及以上时停止作业。作业人员应年轻精干,并精神饱满,不得患有不宜上高空的病症。
3.6.5.2 作业人员禁带火种,平台上材料堆放点和吊栏上涂刷点配备足够干粉灭火器,每位操作人员必须能正确使用,在平台上和吊栏内严禁使用电、火焊。
3.6.5.3 操作人员正确使用“三宝”,并使用一根长绳,上端挂在辐射梁上,下端系在操作人员腰上与安全网、安全带形成三重保护。
3.6.5.4 吊栏内的涂料桶以及临时存放桶用绳索绑牢固在相应的位置上,即便吊栏适量晃动都不会倾倒。用完的涂料桶和用废的滚筒等应即时吊下来,以防二次污染。
3.6.5.5 安全员每天不低于一次对吊笼、材料、防火设施、“三宝”使用进行检查,对违章人员进行教育,必要时可命令其停止工作,离开现场。
3.6.5.6 地面设人监护,防止无关人员进入警戒区域。
3.6.5.7 作业人员配置工具袋,使用时工器具拴好保险绳。
3.6.5.8 每个人的安全保险绳由平台上负责传递材料的人员随时放长或收短,即每一次吊栏上升好以后把安全绳收紧,每次下降前应把安全绳放松2m。
3.6.5.9 油漆涂刷期间,地面人员应远离,以免高空落物伤人。油漆施工人员固定,不得随意换人,并且每个人负责哪个位置的施工也相对固定,不得在施工过程中随意进入别人负责的区域内。
冷却塔塔筒采用现浇钢筋混凝土旋转壳体结构,塔筒旋转壳体母线由三段曲线连接而成,壳体最大壁厚750mm,最小壁厚180mm,塔筒内壁防水涂刷冷却塔专用防水涂料。基础采用环板基础,现浇钢筋混凝土结构,环型基础宽5.0m,厚1.4m。塔筒与基础间采用40对钢筋混凝土人字柱连接,人字柱为圆形断面,直径650mm。
冷却塔主要几何参数为:
塔顶高度 123.4m 塔顶半径 27.580m
喉部高度 92.550m 喉部半径 25.365m
进风口高度 8.328m 进风口半径 42.746m 基础底中心半径 46.572m
冷却塔单位工程工艺流程图

4.1 土方工程
4.1.1 施工顺序
场地平整——→机械进场——→机械开挖——→修整边坡——→人工清土——→地基验槽
4.1.2 施工方法
冷却塔工程采用大开挖形式挖方,方法采用机械开挖、人工修坡方法施工,放坡系数为1:1,作业面为1.0m。当机械挖方至基底以上300mm 时,由人工清底,以防止扰动地基持力层。
挖方时,冷却塔由留设的施工坡道相对处开始挖掘,一次挖方到位(留300mm 人工清除),余量土方应在基础施工前由人工挖除。
土方工程施工的具体要求:
施工中应尽量利用附近场地堆放回填用的土方,剩余部分土方,在挖土时应随时采用自卸汽车运到业主指定的堆放场地。土方挖至设计标高后,应立即请监理及设计人员对基底进行验槽,符合设计要求后,应立即组织基础施工,并填写验底记录(隐蔽工程记录)。
4.1.3 土方开挖机械配备
开挖土方时,配备履带式挖掘机2 台, 15 吨自卸汽车5 台,推土机1 台。
4.1.4 填方工程
土方回填安排在池壁混凝土、池壁外防腐和避雷接地完成后进行。用土采用挖出的原土回填,土方采用蛙式夯实机分层夯实,每层厚度不大于250mm,土方回填应分层取样检验密实度,其密实系数不小于设计图纸要求。土方回填至设计高度。
回填方式主要采用装载机进行装土、自卸汽车运输,推土机或人工进行摊平、回填。
土方回填前,应清除基坑中杂物,排除积水,并做好隐蔽工程记录,测定回填前的标高。
回填土不准用腐植土、淤泥回填,土块必须打碎后再回填。回填土的密实度应及时进行取样检验并满足要求。填方时要保证边缘部位的压实质量。
4.2 环基
4.2.1 工程结构
本工程环基采用环型板式基础和环型池壁相结合的基础形式,混凝土强度等级C25, 抗渗等级W6,抗冻等级F150。环基断面为5.0×2.0m,环基底面标高-4.3m,环基底中心半径R=59.669m;水池壁厚200~400mm,水池深2.3m,外壁半径R=62.169m,水池壁约20m 设一道橡胶止水带伸缩缝,缝宽40mm,用BW 密缝腻子嵌缝,为了防止水池壁和环板基础出现温度及干缩裂缝,在混凝土中掺入WG-CMA 高性能抗裂防水剂,掺用量为水泥用量的8%。
4.2.2 施工顺序
钢筋绑扎顺序如下:
垫层浇筑——→垫层上防水层——→下层径向钢筋——→内外环筋——→下层环筋——→上层径向钢筋——→上层环筋——→池壁预埋筋——→进出水口、连通沟、支墩预埋筋
模板施工顺序:
砌环基内侧砖模——→绑扎钢筋——→支外层定型模板
混凝土施工顺序:
混凝土从一点开始向两方向同时浇筑或采用分段跳仓施工(执行施工图纸要求)。
4.2.3 施工方法
基坑形成后,应及时浇筑混凝土垫层,防止基坑泡水和暴露时间过长而降低地基承载力。根据监理工程师提供的厂区测量成果及验槽记录,对冷却塔坐标进行复测,其结果经监理工程师确认后,测量人员定出环基及底板的尺寸线,清理基底土层,进行其垫层施工。随浇筑随进行标高控制(设标高桩,用铝合金尺板控制平整度),表面压光。
为防止环基施工时产生施工缝,采用分段跳仓施工。如采用分段施工时,环基按圆周分八段跳仓,垂直施工缝采用钢板拉网挡灰,并埋入环基中(执行施工图纸要求)。
环基钢筋绑扎需绑剪刀撑,保证钢筋骨架整体刚度,防止倾倒,混凝土采用泵送。环基断面形状只为示意,具体以施工图为准。施工方法见下图。
环基内侧采用砖模板,外模板采用定型钢模板。瓦工按环基内边线砌筑砖墙,采用24墙,外模板(300mm*1200mm)待绑扎完钢筋后安装。
混凝土采用斜面分层赶浆法流水施工,每层浇筑厚度不大于400mm,不留设水平施工缝。基础混凝土采用浇水养护,覆盖塑料薄膜和草袋保湿,养护时间不得少于14 天。
4.2.4 工程易出现的质量缺陷及预防措施
为防止基础施工时产生温度裂缝,在施工过程中必须做好以下几点:
原材料、外加剂计量准确,砂、石含泥量控制在规范允许范围内,石子采用连续级配,尽量选大粒级配;
最大限度的降低混凝土的入模温度,以控制混凝土水化热温度升高。采用对骨料浇水降温,同时,在混凝土中掺加木质素磺酸钙及缓凝剂以延长混凝土凝固时间,减少水泥用量,降低水灰比;
混凝土浇筑上下层间隔时间不得超过1.5 小时,分层浇筑可避免形成施工缝,并使浇筑后的混凝土温度分布均匀;为保证振捣密实和防止漏振,必须控制振捣棒的间距、振捣时间;
为减少环境温度差,提高混凝土抗裂能力,在环基内侧采用砖模,外模拆除后立即验收,及时回填土;
混凝土的温度控制要求:本工程要求混凝土中心与表面的温度差不超过25℃,养护方法:混凝土初凝后盖一层PVC 布,再盖2 层草袋子;
及时进行混凝土的养护和测温工作。养护方法见上。测温工作要持续浇筑后的内外温差稳定,且小于要求的温度后结束;测温的方法:每段环基设一测温孔,测混凝土中心及表面下10cm 处温度,用电子测温仪进行测温,前五天每6 小时测一次,以后每12 小时测一次,依此确定温差,当△t >25℃时,增加覆盖厚度,否则适时揭下覆盖物,至△t <20℃测温结束。施工过程中应及时填写部颁技术记录表式。
在混凝土中掺粉煤灰,以减少水泥用量。
为防止环基与池壁之间的施工缝发生渗漏,采取如下措施:
本工程在此位置采用设置凹槽的措施,凹槽尺寸为80mm×80mm。施工池壁前,对施工缝清洗、凿毛,清除表面浮灰等。
环基中心处标高偏差大,造成环基顶不平,措施如下:
垫层浇筑前沿径向设3 个砂浆块,环向@5m 设砂浆块,与径向对应,砂浆块尺寸为200mm*200mm*100mm,上表面用水准仪抄平,用砂浆抹平。底板垫层亦设控制标高的砂浆块,确保底板上表面平整度及标高正确。
4.3 池壁
4.3.1 工程结构
池壁为钢筋混凝土结构,与环基相连,断面为梯形结构,压力进水管、回水沟从池壁穿过。
4.3.2 施工顺序
清理施工缝——→调整环基预埋钢筋——→绑扎环向钢筋——→绑扎回水沟、压力进水沟处钢筋——→支池壁模板——→支回水沟、压力进水沟处异型模板——→混凝土连续浇筑——→养护
4.3.3 施工方法
池壁钢筋绑扎需绑剪刀撑,以保证钢筋骨架整体刚度。模板采用风筒施工时使用的定型模板。混凝土采用吊车垂直运输、分层浇筑,每层不超过300mm。上下层模板以及模板之间的处置方法执行筒壁模板处置方法。支完模立即进行浇筑,否则应遮盖,防止模板面污染。拆模时间一般为3 天左右,以防掉角、粘模。
4.3.4 主要设备等配置
定型模板 1 套 机动翻斗车 6 台
汽车吊 1 台
4.3.5 工程易出现的质量缺陷及预防措施
池壁较薄,且面积较大,容易出现“干缩裂缝”。预防措施:
加强混凝土早期养护,并适当延长养护时间。采用覆盖PVC 膜养护,养护时间为14天;浇筑混凝土前,将施工缝浇水湿润;在气温高或风速大的天气施工,混凝土浇筑后,及早对钢模板表面喷水,以防止混凝土水分蒸发过快;混凝土掺膨胀剂。
池壁上沿高低不平要求在环基顶面抹砂浆带,先做砂浆墩,控制标高差≤5mm,然后安装池壁模板,混凝土浇筑时,做专用标杆混凝土上面标高及水平度。
4.4 底板
4.4.1 工程结构
底板厚度为300mm,其上分布有淋水柱和配水槽框架柱。水池底板由垫层和面层组成,垫层为C15 素混凝土,面层为C25 素混凝土,厚度均为150mm,垫层与面层间设弹性防水层,防水层应采用聚丙烯酸脂防水涂料和玻璃纤维布(二油一布),水池面层表面在初凝前用抹子抹平,并撒干水泥粉压光,水池面层混凝土要求充分养护,在施工撤出水塔时应保证塔内干净。底板垫层和面层混凝土均要求分缝,缝距约为6.0m,垫层与面层分缝错开1.0m,缝宽20mm,且应用聚硫双组份密封膏填缝。水池底板抗渗等级W4,抗冻等级F50。
4.4.2 施工顺序
底板分区格施工。
4.4.3 施工方法
底板分区格绑筋,为防止上、下层钢筋合拢,设置φ12 钢筋马凳,每平方米设置一个。
伸缩缝的位置及尺寸必须按照施工图纸的要求设置。底板混凝土浇筑完毕后,适时清除伸缩缝内的杂物。底板混凝土采用机动翻斗车运输、浇筑,同一区格的混凝土连续浇筑完成,不留施工缝。浇筑完毕后混凝土及时用PVC 薄膜覆盖养护2 周,薄膜下充水,使其保持湿润。
水池底板之垫层混凝土是确保防水层稳定的关键,由于施工活动的影响,可能出现缺损或裂缝,在施工防水层之前,其表面应清理干净,凡有缺损的部位应用1:2 水泥砂浆填补,待填补砂浆干透后方可施工防水层,垫层混凝土有裂缝或与基础衔接处出现裂缝或垫层分块间的裂缝拉开时均应用聚硫双组份密封膏弥缝。防水层应采用聚丙烯酸脂防水涂料和玻璃纤维布(二油一布),水池面层要求分块施工,表面在初凝前用抹子抹平,并撒干水泥粉压光,水池面层混凝土要求充分养护,在施工撤出水塔时应保证塔内干净。底板垫层和面层混凝土(均为150mm 厚)均要求分缝,且应用聚硫双组份密封膏填缝。
4.4.4 主要设备等配置
平板震捣器 4 台 机动翻斗车 4 台
4.4.5 工程易出现的质量缺陷及预防措施
表面粗糙,不坚实。
预防措施:加强混凝土早期养护,并适当延长养护时间。采用覆盖PVC 薄膜养护,养护时间为14 天;合理安排施工顺序,避免上人过早;在气温高或风速大的天气施工,混凝土浇筑后,及早对混凝土表面覆盖,以防止混凝土水分蒸发过快。
底板表面有刚性防水层时,底板与防水层之间空鼓。
预防措施:严格处理基层(底板表面),认真清理表面的浮灰以及其他污物,并对底板表面进行凿毛处理;防水层施工前1—2 天,对基层认真进行浇水湿润,使基层表面湿润;
严格按照刚性防水施工工艺分层施工;首层施工前,刷界面剂。
顶面水平度及标高偏差大。
预防措施:在环基预埋钢筋做标识,钢筋间拉紧22#线,然后浇筑混凝土;用铝合金尺板控制平整度。
干缩裂缝。
预防措施:控制坍落度、骨料含泥量;掺减水剂以减少水泥用量;掺膨胀剂,补偿收缩;浇筑后及时抹压、养护。
二次污染,即防腐涂料洒落、风筒浇筑混凝土洒落等。
预防措施:底板施工完成后,覆盖塑料布。
4.5 人字柱施工
4.5.1 人字柱预制
4.5.1.1 工程结构
冷却塔人字柱断面为圆形,下部与环基相连,上部与风筒环梁相连。本工程人字支柱为预制钢筋混凝土V 字型结构,斜支柱为直径Φ950mm 的圆形柱,每座共48 对斜支柱,单支斜长11.3m。混凝土强度等级C30, 抗渗等级W8,抗冻等级F150。人字柱支墩平面尺寸为3250×1150mm,顶面中心标高-0.197m,支墩顶面中心高2103mm。每座塔共48 个支墩。
4.5.1.2 施工顺序
人字柱在预制场采用单根预制的方法,一次预制10 根。
4.5.1.3 施工方法
预制采用定型钢胎模(人字柱模板示意图如下)铺贴薄硬塑板,塑料板周转2~3 次。底模加工10 套,顶模加工5 套。
测量人员首先对已经压实的地面抄平,预制人员将枕木按一定的等间距置于地面上,然后将底模吊至其上,现场绑扎钢筋,主筋长度不够要按设计要求进行焊接。为保证人字柱主筋间距、防止扭曲,每根柱筋内放2~3 个Φ12 钢筋固定支架环。注意部分人字柱内的避雷钢筋不可遗漏,要做好标记。混凝土采用翻斗车运输,人工浇筑、机械振捣。控制混凝土坍落度在3~5cm。底模应在混凝土强度达75%时方可拆除,用吊车将柱从底模中轻轻吊出,放在事先准备好的垫木上。预制好的人字柱堆放最多堆放三层,层间用100mm×100mm 木方垫起。
4.5.1.4 主要设备配置
定型钢胎模 底模 10 套 顶模 5 套
机动翻斗车 2 台 汽车吊 1 台
4.5.1.5 工程易出现的质量缺陷及预防措施
表面气泡。
预防措施:为防止人字柱表面出现过多气泡,混凝土浇筑采用分层浇筑,最上层分两次振捣。初凝后拆除上模将混凝土表面压光,保证收口处细腻。及时覆盖塑料布养护一周。
吊环处裂缝。
预防措施:在混凝土强度不低于设计的混凝土强度的75%方可拆模,其混凝土强度应达到设计的混凝土强度的100%方可运输和吊装。钢筋绑扎时,在吊环处加设抵抗负弯矩的钢筋;起吊时,必须平稳移动人字柱,防止起吊时的冲击力使裂缝出现。
表面裂缝。
预防措施:及时养护;控制坍落度,掺减水剂、膨胀剂;表面及时抹压。
4.5.2 人字柱吊装
4.5.2.1 施工顺序
单根吊装,从一点开始,沿顺时针或逆时针方向进行,最后封闭。
4.5.2.2 施工方法
人字柱单根吊装,采用双机抬吊方案(见淋水构件吊装部分),25 吨汽车吊为主吊,8吨汽车吊为副吊。每根人字柱都用一榀独立的钢架支撑。吊装前测量人员定出环基和人字柱中心交点、人字柱的中心投影线、支撑钢架两个底脚的位置。吊装时,利用吊车将人字柱底部伸出的钢管放入焊接在环基埋件上的钢管内,上端由事先安装好的钢架支撑,人字柱上部控制点与底板的投影重合后,焊工及时将支撑焊接在底板预埋件上。依此类推完成整个塔的人字柱吊装。人字柱找正示意图如下。
4.5.2.3 主要设备等配置
人字柱钢支撑 若干榀 汽车吊(25 吨) 1 台
汽车吊(8 吨) 1 台 平板拖车 1 台
4.5.2.4 工程易出现的质量缺陷及预防措施
人字柱安装轴线、顶标高、半径偏离设计位置,预防措施:
测量定出 “施工方法”中要求的位置必须准确,并经复测,误差小于5mm;焊接人字柱底脚和钢支撑埋件时,宜对角等速焊接,焊接过程中,应随时用激光铅直仪观察人字柱顶标高、半径情况;池壁施工前,必须再次校核人字柱的控制指标;在池壁施工和池壁混凝土未达到设计强度前严禁碰撞人字柱。
人字柱二次污染,即风筒施工时流淌水泥浆。预防措施:
人字柱拆除模板后,在表面缠绑塑料膜,吊装前再加绑一层麻帘片,接头及柱根部用胶带封严。
4.6 风筒施工
通风筒采用现浇钢筋混凝土薄壳结构,风筒壁最小厚度200mm,最大厚度1000mm。混凝土强度等级C30,抗渗等级W8,抗冻等级F150。模板节数109 节,标准模板的长度为1303mm,实际长度1300mm。通风筒不得留子午向施工缝,每模水平施工缝应采用BW 密封膨胀止水条嵌缝,筒壁厚小于500mm 设置一道,筒壁厚大于500mm 则设置两道。通风筒为薄壳结构,全部暴露于大气中,塔内处于高温高湿状态其凝结水对钢筋混凝土材料有侵蚀作用,塔外则时而被排出的水滴或大气降雨湿润,时而在太阳光曝晒下干燥,为保证结构的抗腐、抗渗、抗裂、抗冻性能,要求在混凝土中掺入WG-CMA 高性能抗裂防水剂,掺用量为水泥用量的8%;通风筒内壁采用T 型冷却塔专用防腐涂料防腐,外壁使用混凝土薄膜养生液。
4.6.1 环梁施工
4.6.1.1 工程结构
环梁是风筒的一部分,环梁内侧设有钢筋混凝土牛腿,牛腿承托淋水装置。环梁下与人字柱相连,上为风筒。
4.6.1.2 施工顺序
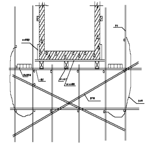
钢管排架杆件加工——→测量给出钢管脚手架底脚环向中心线——→排架组装——→组装环向钢梁及上横梁——→铺跳板、安栏杆——→铺环梁底模——→测量放线——→钢筋绑扎——→安装内外翻模模板系统——→混凝土浇筑——→养护
4.6.1.3 施工方法
环梁施工在人字柱吊装、支墩施工完,支墩混凝土强度达到75%以上进行。首先组装钢管排架,组装时保证排架整体稳定性,径、环向斜杆,整体横杆与排架同时安装,(以上工序在人字柱吊装前完成)然后在排架上按下图铺设环形槽钢、操作平台,安装内外栏杆,铺环梁底木模板。复核、修正标高、半径后绑扎环梁钢筋及环形牛腿钢筋,每柱间设钢筋骨架支撑,要求边绑扎边校正倾斜尺寸,以防钢筋交圈后不能改正。
环梁的其他施工方法见“风筒”的相关部分。环梁支撑示意图如下。
4.6.1.4 主要设备等配置
环梁支撑系统 1 套 汽车吊(25 吨) 1 台
汽车吊(8 吨) 1 台
4.6.1.5 工程易出现的质量缺陷及预防措施
环梁底表面不平整,预防措施:
为了保证环梁底平整光滑,在木模板上铺设10mm 厚的覆膜胶合板,间隙用透明胶带纸粘接;人字柱柱头处放样定出模板尺寸,用曲线锯切割,人字柱与环梁底模板之间的间隙用腻子封闭;浇筑混凝土前,必须对环梁支撑排架加固,组装前进行力学计算。
4.6.2 风筒施工
4.6.2.1 工程结构
风筒是冷却塔的关键分部,为双曲线变截面结构,风筒环梁处最厚,喉部处最薄。风筒外设有钢结构爬梯,风筒内有防水涂料,顶部设有刚性环及栏杆。
4.6.2.2 施工顺序
环梁底支撑系统、底模施工完成——→绑扎钢筋——→安装内外模板——→安装三角架——→浇筑环梁第一节混凝土——→绑扎第二节钢筋——→安装第二节模板——→安装第二节三角架——→浇筑第二节混凝土——→绑扎第三节钢筋——→安装第三节模板——→安装第三节三角架——→浇筑第三节混凝土——→安装安全网——→完成三节混凝土的浇筑
拆除第一节模板、三角架——→运到第三节作业平台——→绑扎第四节钢筋——→安装第三节作业平台上的模板——→第三节作业平台安装到第四节上、返安全网——→浇筑第四节混凝土——→依此开始第二个循环,完成4~6 节施工。
4.6.2.3 施工方法
通风筒现浇钢筋混凝土薄壳结构,筒壁厚度200mm~1000mm;通风筒竖向钢筋宜按人字支柱分成48 个单元,以便控制竖向钢筋自下而上均能沿着同一子午线方向。
通风筒不得留子午向施工缝,每模水平施工缝应采用BW 密封止水条嵌缝。
通风筒采用三角架翻模施工。拆模板时其混凝土强度应达到:喉部以下部分所拆模板的上节混凝土强度不低于6Mpa,喉部以上部分所拆模板的上节混凝土强度不低于12Mpa,上刚性环应达到15Mpa。由于施工期间混凝土强度低,施工荷载不均匀,壳体的上口还没有刚性环的约束等不利因素,因此要求附着式脚手架在水平方向必须联接牢靠,并具备一定的横向刚度。
通风筒下部设有两圈牛腿,下层牛腿用于支承填料层的主次梁,上层牛腿用于支承配水层的主次梁,其标高误差为±10mm。牛腿的施工与风筒二次施工,应保证牛腿钢筋牢固锚着在筒壁上,其与筒壁的衔接面要凿毛,剔出结合的石子附近的水泥胶接物,并用清水冲洗干净,浇筑牛腿混凝土时要注意振捣,以确保牛腿与风筒联成一体。
通风筒壳体的几何尺寸必须按有关技术规定严格控制,塔中心偏差控制在20mm 以内,半径误差为+20、-5mm,壁厚误差为+10、-5mm,子午向斜率的偏差控制在1%以内,若出现过大偏差,不得搞突变纠偏,应按纠偏斜率小于1%来纠正,水平向的曲率误差应小于1%。
风筒施工采用三角架翻模施工。其垂直运输采用SC200×200D 施工升降机配金属竖井架。示意图如下:
a) 垂直运输系统
本工程垂直之运输采用内井架、自生式伸缩桥配施工升降机的方案,其优点为:减少风筒施工与外界环境、其他承包商的交叉和干扰,增加该工程的技术含量,降低竖井架风载指标,提高安全度,降低劳动强度。
金属竖井架为12 孔120m 高,布置在冷却塔内,SC200×200D 施工升降机布置在井架的后侧,采用冷却塔施工定型管材,沿高度设置6 道缆风绳,缆风绳与风筒混凝土锚固(风筒上的埋件需经设计院专门设计)。吊桥采用桁架结构,利用爬模装置提升系统提升,可以减少卷扬机的配备。平面布置见下图

为保证吊桥的整体刚度和稳定性,确保安全施工,对前桥加设斜向支撑杆,与提升架相连,提升系统采用整体套架形式,确保吊桥的受力全部传向金属竖井架;为保证吊桥的整体平衡,在后桥加载配重。
SC200×200D 施工升降机一机多用,可同时运送混凝土及施工人员,大大提高施工效率,安全保护装置齐全、可靠,符合国家标准。
正式安装:
包括:基础部分安装、电缆滑车系统安装、吊杆及料斗的安装、正常节加高。主要顺序如下:
底架安放在基础上(基础承载力大于40Kpa)——→加装三节加厚型标准节——→安装缓冲弹簧座、弹簧——→安装吊笼——→加一节标准节——→安装驱动架——→站笼套在标准节上——→加四节标准节——→加第一道附着(距离基础面6~9 米)——→接动力电缆、试运行——→调整上下限位、极限和减速碰快——→正常接高(标准节安装和附着架安装)
升降机拆卸:
施工顺序:拆除钢筋输送系统、混凝土输送系统——→最上附着架以上标准节、电缆护架拆下——→最上附着架拆下——→重复上述步骤直到电缆滑车系统部分——→拆下电缆托架——→拆下电缆滑车导轨、固定杆、A 型电缆导架——→直到升降机基本部分——→拆除升降机基本部分——→整理、入库。
b) 钢筋工程
根据规范规定及考虑模板高度、搭接长度,合理计算出每节竖向筋长度,给出筒壁钢筋施工指示图表以满足接头率要求。环向筋绑扎时,满足接头搭接长度、钢筋规格、间距、保护层符合图纸设计及规范要求。如设计要求对焊或搭接焊,焊接人员必须有上岗合格证,并进行试焊合格,方可进行施焊,并按规范取样检验。绑扎时,先绑扎内竖筋、内环筋,再绑扎外竖筋、外环筋。用水泥砂浆垫块控制钢筋保护层,同时用“∽”型钢筋拉钩配合控制保护层和内外层钢筋间距。注意焊接环梁避雷设施。钢筋垂直运输用竖井架及SC200×200D 施工升降机。
c) 模板工程,
风筒施工采用悬挂式三角架系统,三层模板进行循环翻倒,模板采用专业定型模板及配套模具,组装前将里外模板清理干净、刷好脱模剂,安装采用M16 对穿螺栓紧固。螺栓穿在套管内,安装前,要仔细查对套管和螺栓长度,分清上下层,以免错放。前组人员安装模板,后组人员安装内外三角架、紧固对拉螺栓,随后安装平拉杆、加减丝、垂直支撑,并对所有螺丝派专人进行加固。通过调整加减丝长短来调整模板半径、调整三角架斜杆长度来调整三角架角度,使安装后的顶面保持水平。再铺设走台板,安装栏杆、安全网。
模板半径要采取灰前、灰后检查和抽查方法控制在规范要求之内。为控制壁厚的顶块不裂不断,对拉螺栓能顺利取出,在对拉螺栓的两端(即顶块两端)用10—15mm 厚海绵做垫。
风筒中心控制采用激光经纬仪,利用风筒中心悬挂的吊盘作为接收靶,自吊盘中心引出钢尺进行风筒半径的测量控制,(依经验 半径外放+5~10mm)。
找正措施
钢尺必须检验;用弹簧秤拉尺,刚尺不得折曲,拉力为20kg,激光找中时应左转,然后右转进行校对,并在底板设四点用激光经纬仪直接校对筒壁模板半径误差无误后方可模板半径找正。
d) 混凝土工程
混凝土水平运输采用机动翻斗车运输,直梯做垂直运输工具(见图)。浇筑时在冷却塔上某一点开始浇筑,向相反的两个方向同时连续浇筑,最后汇合,不允许留垂直施工缝。
混凝土要徐徐入仓,避免混凝土洒落外面,为减小模板承受侧压力和冲击力,避免漏振,混凝土要分层(3 层)浇灌,每层向前延伸约3 米左右,上层覆盖下层的时间间隔以下层砼未初凝为准。要严格振捣,不得漏振。风筒养护采用浇水养护法,养生要及时,不得遗漏,每天3~5 次,每次水下流7 节。
强度要求:浇筑环梁上一节混凝土时,环梁混凝土强度不得小于10Mpa,三角架翻模时,下一节混凝土强度不得小于2 Mpa,浇筑刚性环混凝土时,下一节混凝土强度不得小于10 Mpa。
e) 水平施工缝、螺栓孔处理及内侧防腐
水平施工缝处理
水平施工缝采用留凹槽的方法,凹槽的尺寸宽 50mm;埋深20~30mm,混凝土浇筑后及时形成凹槽,专人维护确定设置和提出木条时间。在下层混凝土浇筑之前,将施工缝上的浮灰、混凝土块等清理干净(用高压水冲洗),然后洒水湿润,之后先浇筑20~30mm 厚同配比砂浆,然后连续浇筑混凝土。
螺栓孔处理
螺栓孔处理:首先将M16 对拉螺栓从筒壁中取出,然后用水:石棉绒:水泥=1:3:7的配比搅拌均匀,从筒壁内外两侧分层(3—5cm)同时填补捣实,进行螺栓孔封堵。
内侧防腐
筒壁内侧防腐在筒壁施工完后进行涂刷,施工人员站在专用吊栏上,进行人工涂刷。
按配合比要求及涂刷遍数进行涂刷。涂料搅拌、涂刷厚度要均匀,不得有漏涂、皱皮、气泡、破膜现象。在涂刷之前一定要做好基底的清理工作(如表面浮浆必须打掉等)。
4.6.3 刚性环施工
在风筒最后一节三角架上铺设底模,用三角木找好坡度,绑扎悬挑平台钢筋,在内外三角架上搭设龙门架铺走台板做为施工作业面,通过井架进行悬挑平台及立檐的混凝土浇筑。
4.6.4 风筒爬梯及平台安装
爬梯及平台用井架上的卷扬机进行安装。爬梯埋件需专人埋设用经纬仪找正,保证位置的准确。至下而上分节组装。可在地面根据现场情况进行若干件组装成一节进行吊装。
施工中应注意安全,尤其是爬梯安装人员。应保证爬梯安装质量,安装时由测量人员监护,使爬梯既牢固又美观。
4.6.4.1 主要设备等配置
三角架翻模 1 套 金属竖井架 1 座
机动翻斗车 4 台 激光经纬仪 2 台
高压水泵 1 台 施工升降机 1 台
4.6.4.2 工程易出现的质量缺陷及预防措施
筒壁施工缝出现夹渣和两道水平缝痕迹。
预防措施:严格按“水平施工缝处理”要求施工,下节钢筋绑扎前对施工缝表面浇水并清除杂物,在下节混凝土浇筑前,注意保护施工缝;每节混凝土连续施工,不留垂直施工缝;严格按照混凝土配合比搅拌、浇筑和养护混凝土;浇筑混凝土前,按照要求铺设同配比水泥砂浆20~30mm 厚,保证上节混凝土与下节混凝土的较好结合。
为了避免出现两道施工缝痕迹,支模时,要求里模比外模高出20~30mm,每节混凝土标高一致,且与外模板上表面一平。
漏浆。
预防措施:模板之间、模板与橡胶条之间的间隙偏差不大于±2.0mm,且粘贴海绵条;
模板之间的螺栓必须拧紧;上下节模板之间使用M12 螺栓拧紧;平台铺板平整、紧密,间隙不大于±2.0mm;混凝土浇筑时,采取措施保证不落灰或设专人维护,对出现的少量漏浆及时清理干净。
混凝土色差不均。
预防措施:采用斜面分层工艺施工;筒壁施工时,采用同一厂家、同一规格的水泥,不允许中途调换水泥品种;砂、石骨料级配不得调换;混凝土搅拌均匀,保证配合比所要求的坍落度和搅拌时间。
风筒半径超差,漏浆,表面不洁净,有错台现象。
预防措施:必须测量灰后半径,依此确定下节找正半径调整值,关键是内外模板间的对拉螺栓必须拧紧,加强测量人员的责任心,必须对每一块模板都进行半径测量;混凝土分三层下灰,减少冲击变形;出现超差后,每节调整5~10mm,依经验找正半径应+10mm;
环向杆件、加减丝与相应杆件的连接必须拧紧靠严,加减丝及顶丝必须同时处于受压状态;每节混凝土浇筑高度应一致,以避免出现两道施工缝,使表面更美观;
严格按照配合比施工;模板表面杂物必须清除,并在模板表面涂刷优质脱模剂;模板之间间隙满足“验评要求”,并在模板间粘海棉条;上下节模板间使用M12 螺栓拧紧;
混凝土浇筑时,旁站监护,出现胀模及时处置。
4.7 淋水装置
4.7.1 中央竖井及配水槽
4.7.1.1 工程结构
中央竖井为现浇钢筋混凝土结构,混凝土强度等级C25, 抗渗等级W8,抗冻等级F150。
竖井内空尺寸 5600×5600mm,壁厚600mm,竖井顶标高17m,井高19.3m,竖井底板厚1000mm。应在混凝土中掺入WG-CMA 高性能抗裂防水剂,掺用量为水泥用量的8%,水平施工缝采用BW 密封止水条嵌缝。
中央竖井下部与压力进水沟相连,在竖井的上部与配水槽连接,配水槽在塔内至十字形分布,配水槽为双层布置,上层供内围区配水,下层供外围区配水,水槽进水采用在竖井中设虹吸罩。内围水槽断面尺寸1.4m×5.0m,外围水槽断面尺寸1.4m×2.5m,水槽壁厚100mm。
4.7.1.2 施工顺序
脚手架搭设——→钢筋绑扎——→模板支设——→混凝土浇筑——→吊装支撑柱(见构件吊装部分)——→配水槽脚手架——→配水槽底模板铺设——→配水槽钢筋——→配水槽模板——→配水槽混凝土
4.7.1.3 施工方法
竖井采用分节现浇方法,进行混凝土浇筑,钢筋模板垂直运输采用人工。搭设钢管脚手架,模板用定型钢模板,内外模板用对拉螺栓紧固,中间焊止水板,模板支撑在钢管脚手架上,用加减丝调整。施工缝处理严格按风筒相应要求进行。
配水槽采用现浇的方法,具体示意图如下:

4.7.1.4 主要设备等配置
汽车吊(25 吨) 1 台 搅拌站 1 座
4.7.1.5 工程易出现的质量缺陷及预防措施
施工缝及对拉螺栓处渗漏。
预防措施:施工缝的处理执行“风筒”的相关要求;对拉螺栓中间焊接止水板。
混凝土表面工艺达不到要求。
预防措施:见构件预制和风筒的相关部分。
4.7.2 构件预制
4.7.2.1 工程结构
淋水架构柱、梁全部采用预制钢筋混凝土结构,混凝土强度C30, 抗渗等级W6,抗冻等级F150,淋水装置为棋盘形布置。
淋水支柱柱距为6.0m×6.0m,断面尺寸450mm×450mm,柱顶标高13.42m,柱基础平面尺寸2000mm×2000mm,基础高800mm,每座塔支柱共52 榀。柱基础与水池底板连接,预留伸缩缝全部采用聚硫双组份密封膏填缝。
填料层主梁间距6.0m,断面尺寸300mm×700mm,梁长1410~5740mm,每座共240 榀;次梁间距1.2m,断面尺寸200mm×500mm,梁长1450~5740mm,每座共1256 榀。
配水层主梁间距6.0m,断面尺寸300mm×600mm,梁长680~5880mm,每座共256 榀;次梁间距2.0m,断面尺寸200mm×400mm,梁长2200~5880mm,每座共700 榀。
4.7.2.2 施工顺序
铺地模——→绑钢筋——→支侧模——→浇筑混凝土——→养护
4.7.2.3 施工方法
预制采用钢大模板,保证横向无拼缝,以提高表面工艺,测量人员首先对地面抄平,然后搭设钢管脚手架,测量找平后固定,安装模板系统。现场绑扎钢筋,主筋长度不够要按设计要求进行焊接,并按规范取样检验。模板加固系统采用脚手钢管。混凝土采用机动翻斗车运输,人工入模,机械振捣。脱模强度、堆放高度及层数见本施工组织设计的“人字柱预制”部分。
淋雨架构为预制构件,在混凝土强度能保证构件不变形,棱角完整时,方可拆除侧模;
在混凝土强度达到设计的混凝土强度100%时,方可运输和吊装。淋雨架构堆放的场地应平整坚实,并具有排水措施,堆放时必须立放,堆放层数不超过4 层,且各支点应上下严格对齐。
4.7.2.4 主要设备等配置
搅拌站 1 座 水泵 1 台
汽车吊 1 台 机动翻斗车 2 台
4.7.2.5 工程易出现的质量缺陷及预防措施
淋水柱变截面处裂缝。预防措施:
在构件上表面加2 根ф14 措施钢筋,以抵抗负弯矩;吊环位置使吊环处的负弯矩与接近柱子中部的正弯矩相等;构件起吊时强度、注意事项执行“人字柱预制”部分。
表面不光洁,边角漏浆。预防措施:
模板表面每次打光、擦净,涂刷脱模剂,底模与侧模各为整体面板,两模板间贴胶条,防止漏浆,模板拼装时要平,平整度≤1mm。
4.7.3 构件吊装
4.7.3.1 工程结构
淋水梁支撑柱均支撑在底板杯口内,上部与淋水梁相连;淋水梁分别支撑在风筒牛腿、配水槽牛腿、中央竖井牛腿以及淋水柱上;配水槽支撑在淋水柱上。
4.7.3.2 施工顺序
淋水构件吊装自离入塔口最远处开始,逆时针或顺时针进行。当吊至进出口最后一跨时,需合理调整吊车位置,将主梁、次梁、水槽放入相应位置,最后吊车收杆退出塔外。
施工准备——→测量抄平——→柱子吊装——→梁吊装——→水槽吊装——→梁柱、水槽二次灌浆——→除水器安装——→托架、填料安装
4.7.3.3 施工方法
a) 构架柱吊装
采用垂直吊装法,_用25T 吊车为主吊,吊绳捆绑在构架柱牛腿的下方(具体吊点位置依据施工图纸,经过计算后确定)。在牛腿下1.2m 处卡好操作平台及爬梯。同时将系有4台2T 导链的缆风绳挂好,拴好溜绳,吊车起吊构架柱,将构架柱送至指定的柱基坑内,然后慢慢下落,用人力配合使构架柱四面中心线与底板的正交中心线重合。将四个对角线方向的四台2T 导链的缆风绳固定在底板吊环上,用导链拉紧钢丝绳,使构架柱临时固定,然后用两台经纬仪,从构架柱的垂直正交方向进行构架柱的垂直校正,校正完毕后,吊车可以脱钩,施工人员可以从爬梯上去卸掉起吊钢丝绳和溜绳。吊两跨后进行梁的吊装。
b) 梁的吊装
梁吊装就位时,施工人员从爬梯上至平台上配合,使梁底的中心线与牛腿的中心线重合,并且使梁两端至构架柱的距离大至相等。就位后,对预埋件进行施焊。
当一根构架柱与8 根联系主、次梁连结后,方可拆除构架柱四角的缆风绳。拆除下操作平台时,施工人员站在爬梯上进行,拆除上操作平台时,施工人员站在下层主梁上进行。
4.7.3.4 主要设备等配置
平板拖车 1 台 汽车吊(16 吨) 1 台
汽车吊(8 吨) 1 台 机动翻斗车 2 台
4.7.3.5 工程易出现的质量缺陷及预防措施
淋水柱垂直偏差。
预防措施:校正淋水柱时,经纬仪必须支在轴线上;杯口二次浇筑的混凝土未达到设计强度时,不允许在柱身上拉缆风绳;对支撑水槽柱主要尺寸要严格进行预检,杯口底部平整,不符合设计要求及时处理好;只有在形成整体框架后,方可拆除临时缆风绳。
4.8 其他工序施工
4.8.1 池壁外防水施工
池壁外防水施工在池壁干燥的条件下进行,确保沥青防水层与混凝土面结合牢固,涂刷的遍数和厚度满足设计要求。
4.8.2 底板沥青隔离层施工
底板垫层施工完成后,按照设计的厚度涂刷沥青隔离层。施工前,必须做好基层的清扫工作,同时保证基层的干燥,以防止沥青隔离层的皱皮、气泡、破膜现象。
4.8.3 压力钢管施工
压力钢管制作
根据钢管的直径确定钢板的下料长度,用切割器进行焊接坡口切割。然后进行钢板卷制。卷制好的钢板必须立放。按钢管的直径进行钢管卷制。对接的焊接方法采用手工电弧焊。其钢管组对方法见下图。
卷制好的钢管存放时要进行加固,加固方法为在卷制好的钢管内部加设“十”字剪刀撑。
压力钢管安装
压力钢管安装需在淋水构件吊装完进行,但淋水构件吊装时必须将压力钢管存放在其安装位置附近。其安装示意图如下
焊口的检验
按三级焊缝要求检验,同时100%透油检验。
烟囱、冷却塔电气工程由航空标志灯、正常工作照明和防雷接地等几个部分组成。正常工作照明的灯具按常规布置。防雷接地由避雷针、引下线和地下接地网组成。
5.2 施工力量配备
5.2.1 施工人员配备
施工负责人 1 名
电 工 4~10 名
焊 工 2~3 名
辅 工 若干
(工程前期可进少量人员,工程高峰时必须全部进场。)
5.2.2 施工机具配备
型材切割机: 1 台
电动套丝机: 1 台
交直流电焊机: 2 台
便携式电焊机: 1 台
液压弯管机: 1 台
电动开孔机: 1 台
枪转: 1 把
5.3 施工措施
5.3.1 施工时必须与结构主体工程紧密结合。施工步骤合理安排。各专业之间互相配合。施工计划应遵循严密,紧凑和统一的原则。
5.3.2 施工前,必须加强各专业之间的图纸会审。注意预埋件、预留孔的位置、尺寸是否正确,有无遗漏。及时发现各专业之间安装位置可能出现的违界、挤占情况。并通过有关进行及早调整。
5.3.3 施工原则应遵循先主管、后支管;先立管、后横管;先地下、后地面;先下部、后上面的原则。
5.3.4 支架制作应尽可能地避免现场制作,尽可能地减少高处的工作量。
5.3.5 地下接地网的施工完毕后,应将其引至设计指定位置并伸出地面以防被土覆盖。
5.3.6 接地引下线需等各层平台安装完毕后才能进行。当接地引下线采用金属绞线时,可先将金属绞线运到顶部,然后将其自上而下地进行敷设。
5.3.7 避雷针的安装应在筒壁到顶及顶板施工完毕后进行。
5.3.8 正常工作照明及航空标志灯的管路敷设应统一考虑。其进入烟囱筒壁的电源应预先将钢管预埋在混凝土筒壁内。
5.3.9 除布置在烟道下方管路可以先行敷设外,其余部分等层钢平台及扶梯、过道及栏杆安装完毕后进行。对所有向上的管口
5.3.10 垂直管路的管内穿线应采用自上而下方式进行。对于每次敷设好的线头均需临时编号,以免遗忘导线两端各自的去向,给工作带来不必要的麻烦。
5.3.11 灯具安装应最后进行。安装前应先行单只试亮。对于航空标志灯系统的调试应由专业人员与供货厂商互相配合共同进行。各层航空标志灯及每层的单只航空标志灯,其闪烁的次序、闪烁的间隔必须符合设计的要求。
6.1.1 冬季来临前,按工程进度进展情况组织编制有针对性的冬季施工措施,并落实责任制。
6.1.2 冬季定期组织对各类取暖设施,用电设备,食堂、仓库等,进行全面检查,发现问题当场开列整改项目,限时改正、反馈。
6.1.3 对各类消防用器材定期进行全面检查,抽样试验,确保完好,发现问题及时更换,做好防冻措施。
6.1.4 做好各类施工机械和汽车的定期维护、保养。冬季做好防冻措施,及时更换冬季油品及水箱添加防冻液,确保机械完好率及防冬季受损。
6.1.5 配制冬期施工的混凝土,优先采用普通硅酸盐水泥且其标号不低于425 号,最小水泥用量不少于300kg/m3,水灰比不大于0.6,混凝土中掺用防冻剂符合规范规定。
6.1.6 混凝土所用骨料必须清洁、不得含有冰、雪等冻结物及易冻裂的矿物质。
6.1.7 搅拌时间取常温搅拌时间的1.5 倍,出机温度不宜低于10℃。入模温度不得低于5℃。
6.1.8 钢材焊接时,有挡风措施,焊接好的接头采取保温措施,严禁立即碰到冰雪。
6.1.9 每班的施工速度必须控制(混凝土出模强度应不低于0.2Mpa),尤其在冬季低温情况下,严防发生筒壁混凝土坍落,平台倾斜或翻落等事故。
6.1.10 现场道路以及脚手架、平台、走道、跳板及时清除积水,冬季雨、雪天必须及时清除积雪并采取防滑措施。
6.1.11 孔洞在风、雨天及冬季加以封闭,避免恶劣天气影响到室内施工。
6.1.12 各类户外水管道完成保温。
6.2 雷雨、台汛期施工措施
6.2.1 夏季、雨季来临前要做好防风、防汛、防雨、防雷等工作。成立防台防汛领导小组,编制防台防汛措施,成立抢险队,落实并备齐防台防汛用物资。
6.2.2 在雨汛前根据排水布置土,对下水道、明沟要作一次全面清理,保证排水畅通。施工现场低洼地、积水区应进行平整和回填。
6.2.3 台风季节来临前,要对施工现场的施工机械进行一次检查,落实各项防风措施。对设备、材料堆场的防雨设施,临建设施增补抗风、固定措施。
6.2.4 在爬升平台上设置风速测定仪,当风速达5 级以上,停止扒杆使用;风力达到6 级及以上,停止翻模作业,停工前做好停滑措施,用轧头轧住千斤顶上部支承杆,并对设备、工具、零散材料、可移动的铺板等进行整理、固定和做好防护。
6.2.5 在筒壁施工过程中,随着筒壁的增高而直径变小时,应及时缩小工作台,减少迎风面积。
6.2.6 所有设备要有良好的绝缘和接地(井架、卷扬机等),绝缘电阻不得低于0.5 兆欧,接地电阻小于4 欧姆,在雷雨季节来临前进行全面检查,测定接地电阻并做好记录。平时定期对所有用电设施、机具、施工机械进行电气和接地检查,测定接地电阻并记录。
6.2.7 当工作台上遇到六级以上的大风或雷雨时,所有的高空作业必须停止,施工人员应迅速下到地面,并切断电源。
6.2.8 在雷雨、台风、汛期前及后,组织对临时建筑、脚手架安全防护设施、施工机械、用电设施进行全面检查并及时修理加固。
6.2.9 在梅雨、台汛期做好现场各类设备的防雨防风、防潮措施。对有防雨要求的设备架空放置搭设防雨棚或用三防油布严密遮盖并捆扎好。各种仪表盘柜、电气盘柜,接通加热器电源,电机用临时电源接至加热器干燥,以防止受潮。有特殊要求的设备及容器可加入固体干燥剂,并定期调换,做好定期测量记录。
6.2.10 现场布置时,统筹考虑场地排水设施,土方施工备足潜水泵抽水,雨后及时抽水疏导。
6.2.11 浇捣混凝土前应与气象部门作好联系,尽可能避免在大暴雨天内浇捣混凝土。
6.2.12 现场应准备足够的防雨应急材料(如油布、塑料薄膜),在振捣密实的同时铺设覆盖材料(如油布、塑料薄膜),尽量避免混凝土遭受雨水冲刷,以保证混凝土质量。
6.2.13 雨天浇灌混凝土时减小坍落度,并测定砂、石含水量,及时调整配合比。大雨、暴雨时停止施工。
6.2.14 如在施工过程中突遇大暴雨,应做好人员配置,加强施工管理力量。确实无法施工时,可留设施工缝,但应做好施工缝的处理工作。
6.2.15 外筒到顶后及时安设好雨水口,组织雨排水。
6.3 夏季施工措施
6.3.1 夏季来临之前应对高温露天作业人员进行一次高问题将防止高温图发病的发生。
6.3.2 夏季高温季节,做好防暑降温工作,根据气温及时调整作息时间,设置凉棚,备好风扇,在特殊高温作业点,采取相应防暑降温措施,确保人身健康。
6.3.3 夏季使用易挥发溶剂作清洗或调制油漆时,必须在通风良好处进行,周围严禁明火及吸烟。
6.3.4 夏季各类气瓶必须放在阴凉处,严禁受烈日曝晒,并不卧置在晒热的地面上。
6.3.5 高温季节不安排在容器内部进行油漆、防腐工作,如进度需要,则安排在夜晚凉爽时,改善容器通风换气条件,定时轮换作业,并设专人在外监护。
6.3.6 特殊作业人员架子工、电焊工尽可能避开中午高温期,特殊情况必须施工应有防暑降温措施和设施。
6.4 夜间施工措施
6.4.1 夜间施工确保道路有足够的照明以及道路畅通,车辆慢行,确保安全。
6.4.2 夜间进行高空作业,有足够的照明,楼梯、空洞等处应设明显的标志示警,高空建筑上与地面应有通讯装置。
6.4.3 夜间起重作业,指挥人员须看清工作地点,操作人员须看清指挥信号,方可进行起重工作。
6.4.4 现场照明灯具、开关应有防雨措施,开关箱应有熔断器及隔离开关。
6.4.5 夜间施工须有针对性强的施工组织措施,并作好施工准备工作和技术交底工作,在施工过程中派专职安全员现场巡视。
河南************有限公司2×300MW 机组工程烟囱、冷却塔工程的施工质量管理绩效,将对工程的准点投产、安全运行、经济指标都将产生重大影响。我们将认真总结和充分发挥近年来承建的大型火电机组,特别是********电厂二期2×900MW 机组施工管理上不断提高的管理水平,通过我们精湛的施工技术优势、完善的质量管理体系、优秀的专业人员素质、周到的服务业主措施,确保达到招标文件和合同规定的质量等级,跻身国际一流超超临界发电厂,满足业主的建设意图和社会需求。
工程质量目标:达到电力行业《火电机组达标投产考核标准》要求,争创国家优质工程杜绝发生重大质量事故,一般质量事故3‰以下。
单位工程优良率:建筑≥90%,安装≥98%,其中关键项目,隐蔽工程的优良率100%。
工程质量标准:全面达到国家和电力行业颁发的标准。
1.1 内在质量目标
a) 分项工程合格率100%;关键分部工程优良率100%;工程总体质量评定等级优良。
b) 钢筋焊接检测一次合格率≥98%;
c) 现场混凝土强度合格率100%;
d) 混凝土生产质量水平优良批数占统计批数的百分率≥85%,且无差级;
e) 严格控制原材料的质量,全面实行现的复检,跟踪管理,做到可追溯;
f) 隐蔽工程的验收一次通过;
g) 回填土密实、地面不空鼓。
1.2 施工工艺创精品目标
a) 混凝土工程振捣密实、内实外光,接头平整,几何尺寸正确;
b) 地面工程表面平整、光洁、无裂纹、色泽协调,排水坡度合理,无积水,楼梯无损坏;
c) 油漆无色差,除锈干净彻底,漆层厚薄均匀,无剥落、流痕;
d) 钢结构构件表面无焊疤、凹面、损坏、电焊引弧痕迹,吊点无变形、错位;
e)照明、接地、通讯系统安装严格按设计施工,工艺美观;
f) 涂料、油漆均匀,色泽协调、无污染;
g) 外筒油漆无剥落、流痕、航空标志色环分界清晰。
本工程将建立以项目管理部经理为首的质量管理网络,以项目管理部主任工程师为首的技术管理网络,以项目管理部生产副经理为首的施工保证网络,通过以施工措施为预控要素,以过程控制为组织要素,以质量验评为保证要素的管理措施,实行工程质量的全过程控制。
2.1 整合型质量管理体系的控制措施
本工程施工中,我公司将按照国际通行的质量管理方法开展对工程施工的管理。
2.1.1 建立与本工程相适宜的整合型质量管理体系
通过质量策划、环境因素排查和危险源辨识,建立符合IS09000《质量管理和质量保证体系》(2000 版)标准、ISO14001《环境管理体系》标准、GB/T28001《职业健康安全管理体系》标准的整合型管理体系,从而实现本工程质量管理和施工作业行为的规范化、标准化、程序化要求。我公司目前已经按照上述三个体系的标准建立了32 项质量管理程序和39 项安全环境管理程序以及与之相配套的作业文件和记录表式。我公司承诺,本工程施工将全面实施上述三个体系,并接受认证机构和业主方的监督检查。
2.1.2 改进和完善质量体系运行质量
我公司在整合型质量体系运行过程中将确保最好的质量资源配置到本工程,通过质量计划、过程控制、内部质量审核、不符合项的纠正行动、最高管理者的管理评审来不断改进和完善建立的整合型质量管理体系。
在本工程施工过程中,我公司将对现场的管理体系运行审核和第三方认证机构的监督审核,以确保施工现场质量管理符合确定的管理程序要求,为业主提供一个可信赖的质量管理模式。对业主和监理提出的质量意见、服务投诉以及重复和普遍存在的质量问题,将由公司最高管理层组织实施纠正措施,保证为业主提供可信、满意的质量服务。
2.2 质量检验管理机构和人员的控制措施
2.2.1 明确管理职责
我公司将针对本工程的特点和管理模式,建立和完善质量责任制,明确项目经理、项目总工程师、质量检验主管、各级质检员和管理人员、作业人员的质量责任、权利及奖惩措施。质量责任制及有关文件报监理工程师备案。
2.2.2 配备具有经验、资格和强烈责任心的专兼职质量检验人员
本工程公司内部将执行质量检验三级验收制度,开展自检、互检、专检。作业班组为一级自检,自检与互检相结合,一级质量检验由班组长评定与签证。施工为二级复检,设二级专职质检员,负责二级质量检验的评定与签证。项管部为三级验收,项目质量安全部设三级专职质检员,分专业审查一、二级质量验收情况及记录,进行三级质量验收、评定与签证,向监理报验外三级质量验收项目并配合验收。所有专职质检员均经培训持证上岗,具有较高的专业业务素质和强烈的责任心,能够适应本标段工程质量管理的要求。
2.2.3 本工程三级质量检验网络
项目管理部三级质量检验网络结构图

2.2.4 加强对人员的培训和控制
a) 技术和管理人员的培训和控制
通过对技术人员和管理人员计算机应用能力、P3 进度控制等工程管理软件、法律法规和其他要求(标准、规程、规范等)、质量管理体系文件等方面的进一步培训,全面提升技术人员和管理人员的施工技术和现场管理水平,以适应本工程施工要求。质量审核、质量检验、施工机械管理、计量管理等人员均经专业培训持证上岗。
b) 作业人员的培训和控制
对各技术工种的作业人员进行进入施工点前培训,尤其是焊工、试验员等作业人员采用岗前培训,掌握本工程施工中出现的特殊要求和技能,考核合格后上岗作业。焊工、测量工、试验工、取样员、计量员等作业人员均经培训持证上岗,进入本工程施工的班组长将经过质量检验基础知识和技能的培训,以适应班组一级自检和互检的要求。
c) 外来劳动力的培训和控制
本工程工作量大,季节性、阶段性施工突出,施工时将会招用一部分从事过工程建设辅助工作的外来劳动力。对外来劳动力进行现场培训,培训包括施工质量标准、施工工艺要求、文明施工要求,所有外来劳动力培训后都将考核,合格后方能上岗,使其能胜任岗位工作。
2.3 施工机械和工器具的控制措施
2.3.1 施工机械设备和工器具的检测控制
a) 本工程我公司保证所用的施工机械、检验和试验仪器设备等处于受控状态,均在规定的检定或检验周期内,并由具有资格的检测机构出具符合使用要求的检定合格证书。施工工器具均经规定周期的安全性能测试合格。我公司对施工机械和机具、检验和试验仪器设备、工器具的控制都有经第三方认证的管理程序,具有使用性能、安全性能、计量鉴定等的严格的受控能力。在本工程施工中,我公司将针对本工程的特点和管理模式,完善和推行适合本工程施工要求的施工机械和机具、检验和试验仪器设备、工器具的管理程序。
b) 本工程开工前,我公司对进驻施工现场的施工机械和机具将完成定期保养、阶段性修理(如电动升模装置、电焊机、起重机械和运输机械)及技术鉴定,检验和试验仪器设备完成计量鉴定,工器具完成保修保养和计量鉴定。
c) 进驻施工现场的施工机械和机具、检验和试验仪器设备、工器具将按规定进行例行保养、定期保养和故障性修理,所有施工机械、机具、检验和试验仪器设备、工器具均有经检验后的合格状态标识,提供使用人员控制和业主监理的监督,我公司将以完好的施工机械和机具、检验和试验仪器设备、工器具状态从一个方面来保证施工的质量。
2.3.2 施工机械和工器具的计量管理
a) 本工程项目建立计量管理网络,项目管理部设专职计量员,专业施工队设兼职计量员。
b) 本工程施工全过程中所使用的检验、测量、试验仪器设备始终处于受控状态,具有检验机构出具的符合使用要求的鉴定证书。
c) 施工作业指导书和质量验收签证单内有关数据、测量记录,使用法定的计量单位;并填写使用的计量器具编号,保证所有技术记录的有效性并可进行追溯。
2.3.3 本工程计量工作目标值
a) 标准计量器具受检率100%;
b) 在用工作计量器具受检率100%;
c) 在用工作计量器具合格率100%。
2.4 物资质量管理控制措施
采购物资和业主提供的产品,其质量和各类参数与设计技术文件的一致性是确保工程施工后符合设计要求、运行的安全性、可靠性、经济性以及环境要求的主要因素之一,我公司对设备、材料等物资的质量控制都有经第三方认证的管理程序,具有设备、材料等物资的质量严格受控能力。在本工程施工中,我公司将针对本工程的特点和管理模式,完善和建立适合本工程施工要求的设备、材料等物资的质量管理程序。
2.4.1 物资供应商的控制
本工程开工前,为我公司提供采购物资的供货商均经过符合我公司《物资采购供方评定及控制程序》规定程序的评审,在对其企业资质、资信、规模、产品结构、市场信誉、技术标准、历年使用的质量情况、售后服务等多方面的评价合格后,作为我公司的合格物资供方。我公司建立了合格物资供方名录,对名录中的供货商每年评价一次进行筛选。我公司建立的合格物资供方名录及评审过程将提供给业主或监理审核。本工程采购物资的供货商均是本名录中的合格物资供方,对业主提出否定意见的物资供货商,我公司将无条件取消其本工程合格物资供方的资格。
2.4.2 采购物资的质量控制
a) 我公司用于本工程的采购物资(含各类外加工件)都经过进货质量检查验收,验收的方式有货源处检验和施工现场进货检验,所有物资的检验结果都将被记录,检验不合格的产品有隔离、标识和处置规定,保证不将不合格品用于本工程。
b) 物资采购前要经过业主的评审和确认。对所有原材料的质保书、原材料的检验、原材料的复试,严格按国家、行业有关规范、标准以及技术检验制度等规定进行检验或收集。试验报告向监理工程师报送。
c) 业主有权对我公司的采购物资进行验证,该验证既不减经我公司提供合格产品的责任,也不排除业主其后的拒收。
2.4.3 业主提供的设备和材料等物资的质量控制
我公司对业主提供设备和材料等物资在使用和安装前均按相关程序进行开箱检验,并记录检验情况;保管相关的质量证明文件,以有效防止使用这些物资和设备中的不合格品。
在对业主提供的物资设备中经检验发现的不合格品,我公司将立即以书面的形式报告业主或监理,并采取隔离措施以确保不被误用。
2.4.4 设备和材料等物资的保管
所有到达施工现场的设备和材料等物资都有明确的贮存、保管、防腐和领用制度,焊接材料等重要物资的保管、使用都将严格受控,确保所有设备和材料等物资技术性能、内在和外观质量符合到货时状况,以达到使用后的质量要求。
2.4.5 采购物资的质量证明文件管理
我公司的采购物资质量证明文件以及业主提供的物资质量证明文件、技术标准、设备使用说明书等将被妥善保管,工程竣工后随竣工资料移交业主。所有的质量文件将被归类编目并配索引,如施工中业主需要,将随时提供和移交。
2.5 施工质量检验监督控制措施
2.5.1 确定适合本工程特点的工程质量检验评定计划和隐蔽工程项目
a) 本工程将按照国家发布的相关施工技术规范和质量检验评定标准以及业主和设备供货商确定的技术标准,在工程开工前编制本工程三级质量检验评定计划,经业主或监理审核批准后,作为工程质量验收评定依据。
b) 在本工程开工前,对部颁验评标准中的质量控制点以及施工中重点控制对象和薄弱环节,如隐蔽工程、特殊关键工序等在工程开工前经业主、监理和我公司共同确定并在三级质量检验评定表中书面明确,实施见证点(W 点)和停工待检点(H 点)控制模式,严格按规定转序。
2.5.2 严格执行工程质量验收及评定制度,加强施工过程的质量检验控制
a) 本工程质量检验将按工程三级质量检验评定计划规定的验收项目和验收等级,实施四级质量验收(包括业主或监理验收),即施工班组一级自检,各专业专职质检员二级复检,质量部门专职质检员三级验收,业主或监理专业人员的四级验收。
我公司所有的验收均与工程同步进行且有验收人书面签证,施工技术记录均在施工中同步真实记录。
b) 我公司内部将实施工序交接签证控制制度,这些工序主要包括:结构与建筑的交接,设备材料保管与领用安装的交接,建筑设备安装与保温的交接等。我们将以严密的管理制度和奖惩措施确保内部工序交接的实施,通过各工序的相互约束来消除工序接口漏洞,消除施工缺陷,提高外观工艺质量,杜绝设备二次污染。
c) 本工程施工技术记录、质量检验评定、各类与业主监理、制造、设计单位的往来联系单等技术、质量文件以及质量检验控制情况全部应用微机管理,所使用的各类表式均符合有关规定且均经业主或监理审核备案。
d) 本工程在施工过程中将依据业主或监理工程师按合同签发的施工指令施工,我公司在施工过程中随时接受业主或监理工程师的检查检验,为检查检验提供便利条件,并按监理工程师的要求进行返工、修改,承担由于我公司原因而导致的返工、修改费用,对于非我公司原因而导致的返工、修改,我公司将接受业主或监理工程师的指令及时修改和返工。
e) 我公司将在三级验收合格的基础上书面向监理工程师提出四级验收申请并保证监理工程师有足够的准备时间。监理工程师对我公司的质量检验不替代我公司提供合格施工产品的责任,如在监理工程师检查合格后,仍发现由于我公司原因引起的质量问题,其责任仍由我公司承担,并无条件地及时返工、修改,由此造成的工期和经济损失由我公司承担。
f) 本工程施工质量将保证达到合同规定的工程施工质量评定等级。如工程质量达不到规定的质量标准,我公司将无条件接受业主或监理工程师提出的返工指令,在规定的时间内返工到符合约定的质量标准,造成工期和经济损失由我公司承担。
我公司施工的各项目质量评定等级将以监理工程师最终的判定为依据。
g) 隐蔽工程项目施工结束后我公司在完成班组、施工队和项目管理部三级验收合格后,将至少在隐蔽施工前或中间验收前48 小时向监理工程师提出书面验收申请,在监理工程师书面(隐蔽工程验收签证单)批准隐蔽施工前,该项目的任何部分不得覆盖或隐蔽。
h) 我公司将保证监理工程师有充分的机会对将予以覆盖或掩蔽的任何此类工程部分进行检查和测量,以及对任何部分工程将置于其上的基础进行检查。我公司将为监理工程师的检查和测量提供一切可能的配合。我公司将接受监理工程师随时指示的对工程的某一部分或某几部分进行剥露或在其内或贯穿其中开孔进行隐蔽工程的复查。
i) 对质量检验计划中确定的质量见证点,我公司将在三级自检合格的基础上书面申请监理工程师见证,并签署见证意见,如见证不合格我公司将无条件返工。我公司将尽可能地提供充足的见证时间,以便监理工程师有充分的见证准备。
j) 对质量检验计划中确定的停工待检点,我公司将在三级自检合格的基础上书面申请监理工程师检验并签署意见,如检验不合格或检验后未签证,将不得进行下道工序施工。
k) 所有的隐蔽工程项目和质量见证点、停工待检点项目将与该项目施工同时形成独立的质量记录,该质量记录将以监理工程师判定的意见为检验依据。
2.5.3 施工作业指导书的控制措施和实施
a) 施工作业指导书由专业技术人员编制,提供施工人员作业时应遵循的具体施工顺序、要求、方法、质量工艺标准及计量、安全等规定。我公司将在本工程中继续推行施工作业指导书编制、审核、审定、批准、交底、实施的管理办法。
b) 对重要工序的质量控制方式,如基础、筒身、钢平台制作、安装,钛合金复合板钢内筒制作、安装等施工项目编制施工作业指导书。
c) 施工作业指导书将于开工前确定编制目录,经业主或监理工程师审核确认,施工作业指导书的编制项目原则上以分部工程为单位,并确保可操作性。施工作业指导书将经业主或监理工程师审核批准。
d) 施工作业指导书的编制依据主要是合同规定的所有规程、规范和标准、设计院的施工图、制造厂提供的技术文件、设计变更通知单及联系单。
2.5.4 旁站质量监督控制措施
为确保施工时严格按规定的工艺、工序、质量标准进行作业,达到“一开始就把工作做好”的目的;及时发现并纠正施工中出现的问题,将质量疵点和安全隐患消除在萌芽状态,杜绝质量问题的出现;杜绝设备事件或事故的发生,我公司将在本标段工程施工过程中实施旁站监督。
2.5.4.1 旁站监督的内容
a) 对工程中的重大项目进行监督;
b) 对施工过程中的危险项目进行监督;
c) 对有特殊要求的项目进行监督。
2.5.4.2 旁站监督的实施
a) 本标段工程设置旁站监督员。担任旁站监督工作的人员,均是受过专门的职业培训,他们是有一定资质的专业人员(例如已取得资格认可的质检员、安全员、技师、高级工等),他们不仅熟悉工艺规程,了解质量标准,能发现可能存在的施工弊病及安全隐患,对工程质量有较高的责任心,能及时指出并监督施工人员施工,纠正不正确的方法、作风,确保施工作业按规定要求有序地进行,担任旁站监督的人员将是与施工工地无直接责任关系的人员,以保证其独立行使旁站监督职责。
b) 根据本工程的情况,我公司将配置足够数量的旁站监督员,并佩带标志,对预定的工程项目进行旁站监督,以取得预期效果。
2.5.4.3 计划的旁站监督项目至少包括如下,但不限于此
a) 大体积施工
b) 电动升模装置安装/荷载试验
2.5.5 工程质量监督检查
本工程将始终坚持“质量第一、预防为主”的质量控制原则,重点做好质量的事前预防、事中控制和事后监督,工序质量控制和工序交接控制以及质量改进活动。
本工程将设置施工现场专业技术监督人员,这些专业是金属监督、起重监督、混凝土监督、计量监督。各专业技术监督人员均具备大专及以上学历或中级及以上职称,具有较高的专业业务能力,熟悉国家和行业的相关法律法规、规程规范和其他要求。
2.5.5.1 金属技术监督
a) 认真贯彻执行上级颁发的有关金属技术监督的规程、规定和制度。
b) 督促有关部门加强焊接技术管理工作,确保焊接质量。
c) 定期组织召开金属技术监督网络会议。
d) 负责编制本单位施工范围内的金属测试计划。填写金属测试申请单,负责检测结果的处理工作。
e) 参与焊工考试考核工作,对受监和其它重要部件焊接进行内部质量监督。
f) 负责对焊工资质审查,对焊工资质不合格的施工队伍具有否决权。
g) 负责对焊接材料的烘焙、保管、发放、退料的监督。
2.5.5.2 混凝土监督
a) 审查混凝土浇灌措施,参加施工技术交底;
b) 参加混凝土浇灌前的施工准备工作,会签浇灌令和混凝土浇灌申请单;
c) 审定承重结构拆模强度;
d) 审定大体积混凝土测温后拆模时间;
e) 审定提高混凝土强度等级或后期强度利用;
f) 参加混凝土新材料、新技术、新工艺的试验鉴定和推广应用工作;
g) 参加混凝土质量问题分析和处理以及技术鉴定工作;
h) 负责组建混凝土监督网,定期开展活动;
j) 对混凝土施工全过程的材料、运输、计量、养护和试块管理等重大技术环节有权进行检查,有问题可制止其施工;
k) 参加现场小型搅拌站投用前检查、认证和投用后的现场小型搅拌站质量管理的监督、检查。
2.5.5.3 起重监督
a) 认真贯彻执行政府劳动安全监察部门颁发的有关起重运输的规程制度和技术规范。
b) 负责施工起重机械和起重设备安装后的安全监察取证确认和起重机械施工资质管理。
c) 参与审核起重施工技术方案的审核并监督实施。
d) 加强施工过程中的起重施工技术监督。
e) 负责调查和处理有关起重质量问题及事故的技术鉴定。
2.5.5.4 计量监督
a) 有组织、有计划安排对计量法和法定计量单位的宣传贯彻工作。
b) 督促、贯彻并定期检查各类计量器具的送检、领用、封存、报废、申购等管理工作。
c) 负责对工程的计量管理工作,如建立相应的计量器具台帐,阐明类别、编号、量程、精度、数量、检测时间使用情况(添置、报废、库存、封库)的监督检查。
d) 定期、有组织的开展计量网络活动并有书面记录。
e) 监督计量器具的申购、入库、领用。
f) 监督计量器具的流转、报废。
g) 监督计量器具周期鉴定。
现场技术监督工作在主任工程师的领导下,由工程管理组组织实施日常专业技术监督活动,制定本专业的技术监督计划,提出质量改进计划并组织本专业实施,组织和参与内部质量监督活动,配合业主和上级质监部门的质量监督活动。
各专业现场技术监督活动将在规定周期内定期实施,所有监督活动都将形成记录,发现的不合格将督促整改封闭。技术监督工作将确保清除不合格,防止缺陷发生,努力实现质量目标。
2.5.6 工序交接管理
a) 我公司服从业主、监理工程师对本标段工程其他承包商工程之间接口的安排及协调,并办理交接手续。
b)所有有关接口需要协调和取得共识的内容,均在业主和监理工程师的确认后执行。
我公司负责制定本标段工程接口的施工作业指导书,并在接口施工前、后出具验收签证。
c) 接口工序交接一般以书面形式进行交接,接口工序交接工作和施工工作完成后,以书面形式加以描述和记录,同时有监理工程师、调试方或业主在场进行确认。
d) 书面交接采用注册的标准格式。接口工序交接时,严格执行业主职能部门或监理工程师开具的工作票中的各项规定、要求;同时严格执行针对本项工作所定的作业指导书。
2.5.7 质量检验
a) 我公司将按照建立的质量检验程序严格执行检验检查,以保证质量目标的实现。
b) 质量监督管理和检查以国家现行的、相关的的规程、规范及文件为依据。
c) 质量验收等级的评定,按《建筑工程施工质量验收统一标准》(GB50300—2001)执行。本标段工程全部竣工后,由业主组织有关单位进行工程竣工验收,全面检查本标段工程施工项目的完成情况、工程质量和有关技术记录等资料。
d) 《施工质量检验项目划分表》将规定见证点(H 点)、停工待检点(W 点)和隐蔽工程的质量验收评定项目,本标段工程由三级质检员在提前24 小时向监理工程师申请,监理工程师确认或验收通过后才能进入下一道工序。
e) 分项、分部和单位工程质量检验项目均执行100%的检验。
f) 完备检验手段,配齐检测和试验仪器、仪表,并及时校正,确保其精度。
g) 试验室及测量按管理程序及各室的职责,严格按规程规范的规定做好本标段工程的试验、检验、检测、校验等工作。
h) 我公司将根据质量责任制制定质量奖惩制度,对质量事故严肃处理,坚持三不放过:事故原因不明不放过,不分清责任不放过,没有改进、预防措施不放过。
i) 我公司将严格杜绝因我方引起的质量事故。若现场发生一般质量事故,将在3 天内内将事故详细情况书面报告监理工程师和业主。若现场发生重大质量事故,我公司将以最快方式通知监理工程师和业主,并在2 小时内将事故详细情况书面报告监理工程师和业主。
2.5.8 进行重点项目的内部质量监督
本工程将按照有关要求的质量监督项目实施内部施工过程质量监督活动。
内部质量监督检查项目如下:
a) 基础施工完
b) 外筒开始施工
外筒结构到顶
内筒结构到顶
本工程内部质量监督项目由工程管理组组织实施,经营部、各专业施工队等单位配合实施。上述内部质监活动所发现的不合格项均将由责任单位实施纠正措施并由工程管理部验证,未确认封闭前不得转序施工或向上级质监部门提出质监申请。
2.5.9 施工技术记录及文件资料的控制
a) 施工技术记录所采用的表式均经我公司注册的标准化格式表式。
b) 本工程开工前我公司确定施工技术记录的编制范围、数量、深度、类型等。在工程施工过程中,可按工程的特点和业主或监理工程师的要求再予以增加、补充和调整。
c) 施工技术记录的形成与施工进展同步,并且是对施工过程的真实记载。现场质量检验、试验的原始资料真实、准确、无追记,接受上级质监部门和业主或监理工程师的检查。所有施工技术记录清晰、完整、可追溯。
d) 所有施工技术记录均妥善保存并备各目录索引,随时可供追溯。
e) 所有施工技术记录都将按单位工程、分部、分项工程分类输入计算机。如施工中业主及监理工程师需要查询,将随时提供。
f) 文件、资料、图纸管理将执行我公司制订的统一的流转、接收、分类、整理、登记及分发、归档制度。
2.5.10 竣工档案管理
a) 竣工资料的编制、内容、规格、装订按技术规范执行。
b) 竣工资料的管理从本标段工程中标后就加强控制,确保竣工资料的真实性、正确性、有效性。
c) 竣工资料按工程概况、技术记录、重要技术文件、各类联系单、各类缺陷处理单、工程照相等各部分组成。每一组成部分的内容、排列按规定编制。
d) 我公司将根据本标段工程的特点建立相应的《竣工资料编制制度》,并严格执行建设项目(工程)档案验收办法 (国档发(1992)8 号)和我公司《电力建设工程施工技术管理制度》有关工程竣工档案资料的编制要求。
我公司曾在以往工程施工项目中化大力气对诸多工程质量通病进行治理,已取得一定成效。在本标段工程中我方仍将制定质量通病控制计划,同时完善和执行我方已制定的如下工艺导则(不限于此)。
3.1 回填土质量控制
3.1.1 施工文件及图纸在开工前应进行会审。
3.1.2 工程施工前,对施工人员按作业指导书要求进行技术交底,并应有真实记录。
3.1.3 机械应经过检修和试用无误后才能开工。
3.1.4 按设计要求合理选用填料,其中上层宜填筑透水性较小的填料,下层宜填筑透水性较大的填料,填料技术要求应符合技术规范要求。
3.1.5 填土前应保持回填基坑干燥,无建筑垃圾和混凝土块。
3.1.6 填土应分层进行,填土方法应进行实际效果试验后,才能大规模施工。
3.1.7 回填土密实度,应达到设计的要求,其要求一般应按规范规定的要求取样。
3.2 预埋件质量控制
3.2.1 预埋件所用钢材必须符合设计要求,并有相应的出厂证件和试验报告。
3.2.2 预埋件焊接人员必须持有相应的焊接资质证书。
3.2.3 预埋件焊接时要根据钢筋直径的大小,选择合适的焊接电流及相应的焊接时间,选择恰当的引弧提升高度,采用合适的下送速度,确保焊接过程顺利进行。当焊剂重复使用时,应认真清除夹杂物。
3.2.4 预埋件焊接完毕应按JGJ18-96 做好试验符合要求后方可使用,并做好标识。
3.2.5 预埋件应固定牢固在钢筋上与模板紧贴,位置偏移控制在标准范围内。
3.2.6 振捣混凝土时,应加强震捣,以确保预埋件埋设牢固。
3.3 混凝土的质量控制
3.3.1 配置混凝土时,应严格控制水灰比和水泥用量,选择级配良好的石子。
3.3.2 控制出模强度,混凝土强度不小于0.2Mpa。并涂养生液。
3.3.3 混凝土出模后对其表面应及时进行修理,
3.3.4 基础混凝土浇捣完毕后采取两次抹实压光方法,即在混凝土收水前再在表面进行抹实压光。
3.3.5 现浇段混凝土浇捣前,检查保护层垫块厚度数量.间距是否适当,发现问题及时纠正。
3.3.6 加强混凝土浇筑后养护工作,裸露表面应及时用潮湿材料覆盖,认真养护,气温高的天气应进行浇水养护,使混凝土保持始终湿润。
3.3.7 大体积混凝土浇筑时,应有降低内外温差措施,如果用低热的水泥配制混凝土,掺适量粉煤灰,降低水泥用量,加入缓凝剂,减少浇筑速度,以利散热,用塑料薄膜或湿草包遮盖混凝土,浇水养护,检测混凝土内部温度,以掌握内外温差,控制养护时间。
3.4 专职检查与消缺(工艺达标)的措施
3.4.1 在施工阶段由质量保证部组织专业质检人员定期进行现场巡察,发现问题及时通知整改。
3.4.2 在施工后期及整套启动试运阶段,组织一支施工技术精良,工作认真负责的高级技工为主的小分队,专门针对现场出现的工艺、美观、整洁等不完善处进行整改。
3.4.3 对监理工程师、业主、上级质监部门质监中提出的质量问题进行整改并负责整改后的验证,对重大项目及具有普遍性的质量问题将运用统计技术进行分析,由总工程师制定质量改进措施并组织实施进行动态受控。所有上级质监部门质监人员、业主或监理工程师提出的质量问题整改验证后,须经业主或监理工程师的复查、确认、签证后方可转序施工。
4.1 工程竣工后,我公司将按现行的国家法律、法规和国家关于工程质量保修的有关规定,对交付业主使用的工程,在质量保修期内承担质量保修责任,并在工程竣工前与业主签定质量保修书。
4.2 我公司将在接到修理通知单的规定期限内及时派人修理,并承担因我公司施工原因造成的修理费用。
4.3 如发生工程质量保修情况,我公司将尽量派参加过本工程施工的人员,以便尽快消除事故。
4.4 工程质量保修期过后,我公司仍将以“承诺服务”的原则,为用户提供服务。
本工程将按施工合同或设计文件确定的施工技术规范和质量标准开展工程施工管理,确保施工质量全部达到约定的质量标准,全面实现我方承诺的各项质量目标。
本工程执行的主要技术规范、规程及质量验评标准(至少包括但不限于)
1.1 烟囱工程适用规范
烟囱施工应遵照现行的《烟囱工程施工及验收规范GBJ78—85》中的有关规定执行。
同时尚应遵守各工程施工及验收规范中的有关规定和施工图纸、技术说明书以及由承包人编制并经发包人同意的施工技术措施和其它有关的文件资料。
主要的施工及验收规范如下(以下版本如有新版,按最新版本执行):
《电力建设施工及验收技术规范–––建筑工程篇》(现行版本)
《建筑工程施工质量验收统一标准》(GB50300—2001);
《建筑地基基础工程施工质量验收规范》(GB50202—2002);
《混凝土结构工程施工质量验收规范》(GB50204—2002);
《砌体工程施工质量验收规范》(GB50203—2002)
《钢结构工程施工质量验收规范》(GB 50205—2001)
《建筑地面工程施工质量验收规范》(GB50209—2002)
《建筑装饰装修工程质量验收规范》(GB50210—2001)
《钢筋焊接及验收规范》(JGJ18—2003)
《建筑防腐蚀工程施工及验收规范》(GB50212—2002)
《建筑电气工程施工质量验收规范》(GB50303—2002)
《土方与爆破工程施工及验收规范》(GB50201—2002)
《普通混凝土用砂质量标准及验收方法》(JGBJ52—92)
《普通混凝土用碎石或卵石质量标准及检验方法》(GGJ53—92)
《火电施工质量检验及评定标准》——钢筋混凝土烟囱及双曲线型冷却塔工程篇。
《火电机组达标投产考核标准》(2001 年版本);
1.2 冷却塔工程适用规范
《电力建设施工及验收技术规范》———建筑工程篇(DJG108—87)
———水工结构篇(SDJ280—90)
———管道篇(DL5031—94)
《建筑地基基础工程施工质量验收规范》(GB50202—2002)
《土方与爆破工程施工质量验收规范》(GB50201—2002)
《混凝土结构工程施工质量验收规范》(GB50204—2002)
《砌体工程施工质量验收规范》(GB50203—2002)
《建筑地面工程施工质量验收规范》(GB50209-2002)
《通风与空调工程施工质量验收规范》(GB50243-2002)
《建筑给水排水及采暖工程施工质量验收规范》(GB50242-2002)
《建筑电气工程施工质量验收规范》(GB50303-2002)
《钢结构工程施工质量验收规范》(GB50205—2001)
《地下防水工程质量验收规范》(GB50208—2002)
《钢筋焊接及验收规范》(JGJ18—96)
《钢筋焊接接头试验方法标准》(JGJ/T27—2001)
《普通混凝土用砂质量标准及验收方法》(JGBJ52—92)
《普通混凝土用碎石或卵石质量标准及检验方法》(GGJ53—92)
《水工混凝土外加剂技术规程》(DL/T5100—1999)
《水工建筑物地下开挖工程技术规程》(DL/T5099—1999)
《火电施工质量检验及评定标准》
《电力建设施工及验收技术规范》(管道焊接接头超声波检验篇)(DL/T 5048—95)
《电力建设施工及验收技术规范》(钢制承压管道对接焊接接头射线检验篇)(DL/T 5069
—96)
《焊接工艺评定规程》(DL/T 868—2004)
《火力发电厂焊接技术规程》(DL/T 869—2004)
《电力建设工程质量监督规定》
《火电工程质量监督站质量监督检查典型大纲》(建质〔1995〕84 号)
生活、消防水、雨水、污水、排水管道按材质分别采用有关给水排水管道工程施工及验收规范。
业主、设计单位确定的其他相关标准,我方将保证实施上述规范、标准的有效版本,当上述标准发生变更时,我方将按照业主的要求实施新的标准。
我方于1996 年起建立和实施了GB/T19002-ISO9002 质量体系-生产、安装和服务的质量保证模式,质量体系已于1996 年12 月通过了第三方的认证并于2000 年12 月通过了GB/T19001-ISO9001:2000 版换版认证。为适应河南************有限公司2×300MW 机组工程烟囱、冷却塔工程施工要求,更好地强化对工程的管理职能和质量体系运行的可操作性,完善内外工序接口管理,在本标工程开工前,将对质量体系进行调整,使其更适应于本工程管理,不同专业不同工序的接口更严密,质量控制措施可具有针对性,以此来保证实现本工程“创优质工程”的目标。
公司要求每个参加河南************有限公司2×300MW 机组工程烟囱、冷却塔工程施工建设的人员,负责地使本公司质量管理体系在本工程正常而有效地运行,更好地贯彻公司的质量方针,实现本工程“优质”的质量目标。
2.1 本工程质量管理体系模式和重点
本工程将按照GB/T19001-ISO9001:2000《质量管理体系》标准的要求实施工程施工管理。
这一体系是实现公司质量方针和质量目标的保证。质量管理体系的运行将以顾客为关注焦点,以持续改进为基本点,并充分注意到有效的过程控制是质量管理体系持续有效运行、实现质量目标的关键。
2.2 本工程质量管理体系的组成结构
2.2.1 管理职责
a) 质量方针和目标的制订;
b) 职责权限分配;
c) 管理评审;
d) 文件控制;
e) 质量记录控制。
2.2.2 资源管理
a) 人力资源管理
1) 培训策划;
2) 培训实施;
3) 培训有效性评价(培训考核)。
b) 设备提供
1) 施工机具、检测设备配置计划;
2) 施工设备、检测设备技术监督计划。
c) 设施提供
1) 施工总平面布置;
2) 生产、生活临建设施配置;
3) 劳动安全设施配备;
4) 环境设施配备。
2.2.3 产品实现过程
a) 合同评审;
b) 施工策划:
1) 施工组织设计;
2) 图纸会审;
3) 施工方案或作业指导书编审;
4) 质量检验项目划分表编审;
5) 记录内容的确定。
c) 采购
1) 采购文件控制;
2) 供方评价;
3) 采购验证。
d) 施工作业
1) 技术交底;
2) 现场的质量检查和监督;
3) 施工设备的控制;
e) 产品及其状态的标识;
f) 产品防护和顾客财产的保护;
g) 关键、特殊(隐蔽)过程的确认;
h) 监视和测量装置的控制。
2.2.4 测量、分析和改进
a)策划
1) 工程质量验收项目划分;
2) 年度内部质量审核计划编制;
3) 用户回访计划编制;
4) 过程质量审核计划编制。
b) 监视和测量
1) 用户回访(顾客满意度信息收集);
2) 内部质量体系审核;
3) 工程质量监督;
4) 工程三级验收。
c) 不合格控制
1) 不合格报告;
2) 不合格的处置;
3) 纠正和预防措施。
d) 数据分析
1) 验收合格率、一次合格率;
2) 用户回访、顾客满意度;
3) 供方提供产品质量;
4) 质量事故;
5) 混凝土生产质量水平数理统计。
2.3 本工程质量管理体系运行的控制方式
2.3.1 为确保质量管理体系过程能满足事先策划的要求,本公司对这些过程的运作均明确其控制的准则或方式,每项过程活动均在准则的指导下进行。过程运作所形成的质量记录,能详尽地反映过程受监控的信息。
2.3.2 本工程所有过程均受到监控和测量,并对其结果进行分析,以确定是否实现质量目标和持续改进。
为了确保我公司《质量手册》在河南************有限公司2×300MW 机组工程烟囱、冷却塔工程施工现场的有效实施,向顾客提供放心满意的工程产品,特制订本《质量计划》,作为公司《质量手册》在本工程项目具体实施的补充质量文件。
3.2 适用范围
本《质量计划》适用于河南************有限公司2×300MW 机组工程烟囱、冷却塔工程施工管理。
3.3 有效期
自本工程开工到标内全部工程结束,并完成保修期为止。
3.4 文件要求
3.4.1 本工程的质量管理体系,以文件化的形式加以描述,同时设有多媒体文本,这些文件除本手册外,还包括文件化的程序、过程活动准则和作业指导书,以及能证实过程方法有效并已得到控制的记录。所有文件的有效性都得到控制,确保各活动场所使用现行有效版本。
3.4.2 质量管理体系文件的主要内容
3.4.2.1 质量计划
概括和清晰地描述本工程质量管理体系的范围,对执行GB/T19001-2000 质量管理体系要求的能力也加以明确的阐述,确保符合顾客与适用的法律、法规要求,增强顾客的满意度。
3.4.2.2 程序
本计划包括的文件化的程序共有12 个,这些程序明确了本工程质量管理体系的运作方式和准则,管理程序目录见附录。
3.4.2.3 产品实现控制的准则
本计划包括了对实现特定过程的控制制订必要的活动准则,这些准则是对具体质量活动的内容、目标、方法的规定,是根据产品实现的策划的结果展开的。
3.4.2.4 质量记录
本计划包括的质量记录均在相应过程的描述中予以提示。质量记录的标准格式均得到公司标准化注册,并以动态的方法加以发布。
3.4.3 文件控制
以实施对质量体系有效运行起作用的活动的各个场所,都得到相应文件和资料的有效版本,通过对文件和资料更改控制,保证文件和资料是适宜的。对文件和资料的控制包括涉及质量活动的外来文件。
3.4.3.1 文件控制程序概述
《文件控制程序》适用于涉及质量管理体系的所有文件和资料的审核、批准、发布、更改和修订活动的控制,程序规定了文件编审、修改、作废、评价及其标识的步骤。
3.4.3.2 职责
a) 工程部资料室负责本工程文件和资料控制的实施。
b) 工程部负责标准的归口管理。
c) 文件归口部门负责文件和资料编制的审核或审定,修改和再版审核。
d) 项目管理部经理或总工负责重要文件的批准。
3.4.3.3 归口部门组织文件的编审。
3.4.3.4 对特定文件(如外来文件、引用的标准等)的适宜性进行评价,动态地对有效期内的文件进行评审,以确认其适宜性、充分性,并对发生的修改按规定进行审批。
3.4.3.5 现场都使用有效版本文件。
3.4.3.6 文件和资料的更改符合原审批规定或由指定代表审批,并使原文件和资料的拥有者得到更改后生效的版本。
3.4.3.7 文件由工程部资料室统一标识、分发、归档、贮存、收回和处理,确保文件保持清晰,易于识别和检索。
3.4.3.8 文件和资料的修改、参考、作废等不同的控制性质均有既定的标识加以识别,防止作废文件的非预期使用。
3.4.4 质量记录
对质量记录做好标识、贮存、保护、检索等工作,并确保不损坏、不丢失,以充分证实质量体系运行的有效性。根据合同要求,向顾客提供整个寿命期内的工程施工质量情况证明。
3.4.4.1 相关程序概述
《记录控制程序》适用于本工程质量形成过程和质量体系运行的记录、图表、报告,包括供方的质量记录、制造和设计单位按合同规定提供有关施工的质量记录的控制。程序规定了质量记录的保存期限和质量记录的标识、贮存、保护、检索、处置的步骤。
3.4.4.2 职责
a) 工程部资料室负责公司档案管理,组织质量记录的归档、存贮、保管和处理。
b) 各职能部门负责相关质量记录的保管、汇编,保证形成的质量记录清晰并移交工程部资料室。
c) 质量安全部负责施工过程中形成的质量记录的收集、整理,组织汇编竣工资料,工程结束后交付顾客并移交公司办公(档案)室归档。
3.4.4.3 施工过程形成的质量记录均予以控制,例如:
a) 施工技术记录;
b) 检验和评定报告;
c) 试验和鉴定报告;
d) 签证单;
g) 设计和设备更改通知单或会议纪要;
j) 工程联系单等。
3.4.4.4 对质量记录的标记、收集、分类编目、登记和建帐或移交、立卡、入库保管等活动均按程序进行。
3.4.4.5 质量记录归档的检索
对归档的质量记录,制定必要的检索方法,便于迅速、有效地查询和利用。
3.4.4.6 质量记录档案的存贮
存贮质量记录档案的库房条件符合档案管理要求,以防损坏、变质和丢失。
3.4.4.7 质量记录档案的保管期
档案的保管期按国家现行规定分永久、长期、短期三种,非归档的质量记录按程序规定的期限保存。
3.4.4.8 质量记录档案存放和回收
质量记录档案在保管期内按规定借阅和回收。工程竣工资料按合同向顾客提供。
3.4.4.9 质量记录档案的处理
处理或销毁均造具清册加以鉴定,并经部门主管批准。
3.5 管理职责
3.5.1 管理承诺
3.5.1.1 引言
公司经理为本公司质量管理体系的建立和有效运行向顾客作出承诺,项目管理部经理作为公司的派出机构,对本工程质量管理体系的运行向公司经理负责,并提供相应的证据,以证实所作的承诺已得到履行。
所有承诺经有效的传达,使公司员工能充分了解满足顾客要求和法律、法规的重要性,承诺的履行情况均有可以出示的记录或文件。
3.5.1.2 公司经理职责
a) 负责贯彻国家及上级有关的方针、政策、法规,并建立各级责任制,以确保质量体系满足要求。
b) 组织制定质量方针和质量目标,并确保传达到公司员工。
c) 定期主持管理评审,对质量体系的适宜性、充分性、有效性进行评价。
d) 指定管理者代表。
e) 确保所需资源的投入。
3.5.1.3 重要性的传达
最高管理者通过对本公司职能部门的质量教育和质量职能的分配,明确各自执行国家和上级有关法律与法规的责任与义务,通过落实市场开拓、合同评审、用户回访和产品实现过程的控制职责来传达顾客的要求。
最高管理者为充分传达满足顾客、法律与法规要求,保证提供必要的组织和财力支持。
3.5.1.4 确定质量方针与目标
公司本着“顾客的需要就是我们的追求”的管理理念,制定形成文件的质量方针,并确定可以量化和展开描述的质量目标。通过质量目标的实现以保证质量方针的有效贯彻和执行。
3.5.1.5 开展管理评审
由最高管理者主持的管理评审每年一次定期进行(间隔不超过12 个月)。
3.5.1.6 资源的获得
所获得资源满足体系运行要求,并保证质量目标的实现。
3.5.2 以顾客为关注焦点
3.5.2.1 引言
通过对顾客需求和期望的识别,确保所施工的工程与所提供的服务满足顾客明确和隐含的要求。顾客对工程质量的验收准则和对进度的安排等是必须履行的要求。公司所开展的质量活动都为满足这些要求而作出努力,并力求超越顾客的期望。
3.5.2.2 职责
市场部组织对标书、合同的评审;
各参与标书合同评审的职能部门负责对识别后的顾客要求的责任落实。
3.5.2.3 识别内容
a) 交货(工)期限;
b) 里程碑进度;
c) 质量标准;
d) 过程监督要求;
e) 竣工条件;
f) 服务要求;
g) 法律、法规的要求。
3.5.2.4 对识别的转化
a) 按交货(工)期限安排施工计划,并用文件传达到项目管理部。
b) 按里程碑进度要求组织施工,投入必须的资源。
c) 质量标准按所有执行的验收标准报顾客并经其确认。
d) 为确保顾客要求与期望的实现,对产品实施过程进行中间质量监督、审核,所有监督、审核均报告顾客,不论顾客参与与否,监督、审核报告备查。
e) 竣工条件按顾客要求,完成所有程序后,报告于顾客,批准竣工的文件加以控制。
f) 对顾客提出的服务要求作及时的响应,记录所有对顾客实施服务的项目,确认服务结果。
g) 满足顾客的要求与期望,不违反现行法律、法规。
3.5.3 质量方针
3.5.3.1 本工程执行公司质量方针
贯彻国标、严格管理、精心施工、持续改进,为顾客提供满足合同要求的工程和优质服务。
公司采用有效的措施,使每个员工充分理解质量方针。
本公司承建的建设工程实现“机组达标,工程创优,管理创新,服务满意。”的承诺是和制造、工程设计文件、施工及验收技术规范、质量检验及评定标准、质量体系文件规定的质量水平相一致的,并符合以下条款的规定:
a) 本工程施工保证充分发挥设计和设备所具有的高可靠性和可维修性,非商业性试生产期提供广泛的现场服务;
b) 本工程施工保证充分发挥设计和设备所具有的安全、经济运行性能和适宜的使用性能;
c) 本工程施工符合政府法律、法规和标准的规定;
d) 本工程施工保证建设工程准点竣工,按期交付使用。
3.5.3.2 贯彻质量方针的基本措施
a) 精心识别顾客对工程的要求和期望,以顾客满意为宗旨;
b) 建立相适应的部门职权,实施质量意识教育,并使每个员工理解公司质量方针的内涵;
c) 保证资源的投入,财力首先用于预防缺陷和纠正措施;
d) 积极采用国内、外火电施工经验和标准,向行业的国际先进水平靠拢;
e) 提供的优质工程和服务是在顾客满意的前提下,并通过持续改进的方法得以实现。
3.5.4 策划
本工程将保证按照《火力发电机组达标投产考核标准(2001 版)》达标投产,创建国家和行业优质工程。此外还将实现“质量目标和质量管理措施”中实现的各项质量目标:
本工程质量管理体系的策划的主要内容有:
a) 对如何满足顾客的要求和期望,以及相应的质量体系过程和所需资源进行产品实现的策划。通过策划,充分考虑质量管理体系的完整性并得到持续改进。
b) 针对本工程施工合同,为有效地实施质量管理体系,编制《施工组织设计》对本工程的实现过程进行策划。策划输出的文件与公司现行质量方针、目标和接受的顾客委托业务相适应,并进行动态的控制。
c) 策划结果与现行质量体系要求保持一致。
3.5.5 职责、权限和沟通
为在本工程确保提供一流的施工质量、一流的管理、一流效益的优质工程,我公司在本标段施工中建立以两层分离为基础的管理模式,即项目管理部管理层与作业层分离。见“项目管理部组织结构图”、“质量管理组织结构图”。
现场组织结构以公司辐射型为原则,使项目管理部管理组织机构精简,减少层次,提倡一专多能,一岗多责的项目管理部管理组织。
3.5.5.1 职责和权限
1) 项目经理
a) 受公司委托全面负责本标段的所有工作;
b) 负责组织和实施生产计划,以有效、先进、科学的管理手段来组织生产,确保工程100%履约合同。
c) 负责在本工程中组织和实施公司的质量体系文件和本计划,主持项目管理部质量体系评审;
d) 加强质量监督和质量控制,确保工程质量符合设计要求;
e) 代表公司与建设、监理、设计单位、制造商进行横向联系及协调;
2) 项目总工程师
a) 贯彻执行国家相关的施工技术政策和上级颁发的相关技术规程、规范、标准和各项技术管理制度;
b) 负责质量策划工作,组织编制质量计划(施工组织总设计)并组织实施;
c) 负责项目技术管理、质量管理和质量保证工作,确保公司质量体系的有效运行,严格控制各质量体系要素的实施。
d) 负责施工过程中全面质量监控,加强施工过程控制能力。
3) 质量安全保证部
a) 负责编制工程的质量计划和程序;
b) 负责对质量趋势进行分析,编制质量趋势分析报告;
c) 负责编制监查计划,对质量计划的实施情况进行监查,编制监查报告,对体系运行和管理上的不符合签发不合格项报告并进行跟踪、监督其封闭;
d) 负责组织有关部门接受业主和监理单位的监查,并对监查报告作出回答;
e) 在出现不符合、有缺陷或不满足规定要求的物项和质量活动时,有权向经理提出停工建议;
f) 负责质量事故的调查和报告;
g) 负责特殊工作人员培训的策划和监督控制;
h) 负责特殊工种人员资格核查,参加对物资供应等供方的资格审查;
i) 负责对特殊工艺过程进行监督;
j) 编制三级质量验收项目划分表,设置质量控制点;
k) 负责施工全过程的质量检查和验证工作,具体实施三级质量验收和隐蔽工程、控制点、见证点和检查点的验收,对实物质量的不符合签发不合格项报告并进行跟踪、监督直至封闭;
l) 负责不合格品返工、返修后的质量检查、验证工作;
m) 负责施工现场的文明施工管理;
n) 负责施工区域的安全、消防和保卫工作。
4) 工程部
a) 负责按施工作业进度和有关技术文件组织协调施工;
b) 负责施工进度的控制;
c) 负责协调安装工序之间以及公司与其他施工单位之间的交接;
d) 负责混凝土、金属、计量、起重技术监督工作;
e) 负责主要施工机械的平衡和调度。
f) 负责总平面的管理,施工现场水、电、道路和排水的管理;
g) 负责本工程施工技术策划和实施
5) 物资供应部
a) 负责甲方提供的设备和材料的领用、场内运输、卸车及现场保管工作;
b) 参与设备开箱检验工作,协助处理设备质量问题;
c) 负责我方供应的物资采购管理,按物资采购控制程序组织对物资供应供方的评审工作,建立物资供应供方名单、档案;
d) 组织编制物资采购文件并实施采购、订货、储存、保管发放工作;
e) 负责按物资质量程序文件规定进行物资到货后的验收、验证工作,以及金属材料的材质检验并记录检验情况,保管相关的质量证明文件;负责物资质量资料的收集整理和交接工作;
f) 应用计算机管理手段,按要求编制各类统计报表、各类物资消耗台帐、物资供应大事记及其它基础资料。
g) 参加设备/材料供应协调会议,针对本标段设备/材料供应、收货、保管、发放等方面存在的问题,制定相应的解决措施,以确保物资的供应;
6) 经营部
a) 负责对项目管理中所涉及或发生的合同的谈判、签约、履约、过程控制到结算的管理。
b) 负责组织对供方的资格审查和选择工作。审定供方的经营资质、经营信誉、工程业绩、施工技术能力和质量管理体系;收集供方资料,建立合格供方名录、档案。
c) 负责合同管理,在合同执行过程中会同有关部门履行满足合同要求的全部责任。
d) 负责与合同相关联的信息的收集和管理,及时传递给施工管理部。
e) 负责组织编制施工图预算;负责编制《建筑工程任务完成情况月报表》,及时给施工管理部提供《工程月报》所需的资料。
f) 负责做好各类项目的结算工作。
g) 收集技术经济资料,整理工程量汇总表和主要材料用量表;
h) 负责项目管理部的资金和财务管理。
7) 办公室
a) 负责项目管理部的总务管理;
b) 负责文秘和接待工作。
c) 负责完成经理安排的其它工作。

质量职能活动分配表
部门 标准号 | 项目经理 | 项目总工 | 质量安全部 | 工程部 | 经营部 | 办公室 | 各施工队 |
4.1 总要求 | ☆ | □ | □ | □ | □ | □ | □ |
4.2 文件控制 |
| □ | □ | □ | □ | □ | □ |
5.1 管理承诺 | ☆ | □ | □ | ☆ | □ | □ | □ |
5.2 以顾客为关注焦点 | □ | □ | □ | □ | ☆ | □ | □ |
5.3 质量方针 | ☆ | □ | □ | □ | □ | □ | □ |
5.4 策划 | □ | ☆ | □ | □ | □ | □ | □ |
5.5 职能权限与沟通 | ☆ | □ | □ | □ | □ | □ | □ |
5.6 管理评审 | ☆ | □ | □ | □ | □ | □ | □ |
6.1 资源的提供 | ☆ | □ | □ | □ | □ | □ | □ |
6.2 人力资源 |
|
| □ | □ | ☆ | □ | □ |
6.3 基础设施 |
|
| □ | ☆ | □ | □ | □ |
6.4 工作环境 |
|
| ☆ | □ | □ | □ | □ |
7.1 产品实现的策划 |
|
| □ | ☆ | □ |
| □ |
7.2 与顾客有关的过程 |
|
| □ | □ | ☆ |
| □ |
7.3 设计和开发 |
|
|
|
|
|
|
|
7.4 采购 |
|
| □ | □ | ☆ |
| □ |
7.5 生产和服务提供 |
|
| ☆ | ☆ | □ |
| □ |
7.6 监视和测量装置的控制 |
|
| ☆ | □ | □ |
| □ |
8.1 测量分析和改进 |
| ☆ | □ | □ | □ | □ | □ |
8.2.1 顾客满意 |
| □ | □ | □ | ☆ | □ | □ |
8.2.2 内部审核 | □ | □ | ☆ | □ | □ | □ | □ |
8.2.3 过程的监视和测量 |
|
| ☆ | □ | □ | □ | □ |
8.2.4 产品的监视和测量 |
|
| ☆ | □ | □ | □ | □ |
8.3 不合格控制 |
|
| ☆ | □ | □ | □ | □ |
8.4 数据分析 |
|
| ☆ | □ | □ |
| □ |
8.5 改进 |
| ☆ | □ | □ | □ | □ | □ |
注:☆:主关联部门 _配合部门
3.5.6 管理评审
3.5.6.1 引言
公司每年至少进行一次由公司主持的管理评审(间隔不超过12 个月),保证现行质量体系持续的适宜性、充分性、有效性,管理评审内容将覆盖本工程。
公司现行质量体系发生变更时,将及时组织评审,并采取相应的改进措施。
3.5.6.2 相关程序概述
《管理评审程序》适用于对质量体系的评审控制。程序对管理评审的频率、输入、输出等控制作出了规定。
3.5.6.3 职责
公司经理主持管理评审。
管理者代表负责向总经理报告质量管理体系的业绩及改进需求。
各部门提供相关的管理评审信息,项目管理部经理参加并输入有关信息。
3.5.6.4 输入
当前的质量体系业绩和改进机会均是管理评审的输入。
a) 质量体系内部和第三方审核报告;
b) 顾客满意情况调查、用户回访记录及与顾客沟通信息;
c) 工程质量的情况和政府质量监督报告;
d) 不符合或不合格、纠正和预防措施的实施情况;
e) 上次管理评审报告中改进措施的跟踪情况;
f) 有关质量管理体系的变化需求信息;
g) 质量管理体系各过程的控制业绩和效果;
h) 改进的建议。
3.5.6.5 输出
a) 体系改进措施;
b) 资源需求配置计划;
c) 与顾客有关的工程质量改进措施;
3.5.6.6 评审记录列入短期档案保存。
3.6 资源管理
3.6.1 资源的提供
3.6.1.1 引言
随着外界环境变化和公司自身发展的需求,为实现质量目标而提供的资源是动态的。及时识别并提供为实现顾客满意和实施改进质量体系所需求的资源。
3.6.1.2 相关程序概述
a) 《监视和测量装置控制程序》适用于检测仪器的申购、领用、保管、报废、封存、流转的控制,程序规定了控制的步骤。
b) 《机械设备管理条例》适用于施工机械的检查、监督的控制,规定了控制的步骤。
c) 《培训工作程序》适用于各类人员的培训、考核工作的控制,程序规定了控制的步骤。
3.6.1.3 职责
a) 经理组织资源需求的识别和提供,项目管理部经理组织本工程资源需求的识别和提供。
b) 各有关部门识别和提出需求计划
c) 各需求部门负责资源提供计划的实施和控制
3.6.1.4 用有效的管理方法,保证有足够的能力和意识的员工从事与质量有关的活动,确保施工机械和检验仪器及其他基础设施有充分的适宜性。
3.6.1.5 保证提供的工作环境能够为施工过程实现和顾客满意创造良好的条件。
3.6.2 人力资源
3.6.2.1 引言
在特定的岗位上,配备有能力的人员,使其能胜任质量管理体系所规定的岗位。
3.6.2.2 相关程序概述
《培训工作程序》适用于对员工进行各种类型培训和考核的控制。程序规定了培训、考核、评价的步骤。
3.6.2.3 职责
a) 经营部负责编制培训计划和组织对各类人员进行培训,并评价培训的有效性。
b) 质量安全部负责特殊作业人员安全技术上岗的考核。
c) 各职能部门识别相关岗位人员的能力需求,参与编制培训计划,并配合培训的实施。
3.6.2.4 对承担质量管理体系规定职责的人员安排,首先考虑其工作能力,对这些规定职责人员的能力评判兼顾教育、培训、技能和经历等方面的因素。
3.6.2.5 职能部门和工地按相关的质量岗位职能识别从事质量活动主体的能力需求。
3.6.2.6 安排有计划的培训,以满足各岗位的能力需求。
3.6.2.7 所有培训均经相应的考核,并将其结果作为培训有效性评价的依据。
3.6.2.8 培训包括技能和意识的提高。经过培训的人员在掌握必要技能的同时,还具有对其所从事质量活动的相关性和重要性的足够认识,能为实现企业的质量目标作成贡献。
3.6.2.9 从事有关质量活动的人员的教育、经历、培训和资格的适当记录予以保存。
3.6.3 基础设施
3.6.3.1 引言
确定工程满足合同要求所需的基础实施,做好施工临建场地和作业设备等设施的合理配置,提供必要的维护,保持各基础设施的技术性能和具有足够的符合性。
3.6.3.2 相关程序概述
《机械设备管理条例》适用于大中型机具监督管理。
《监视和测量装置控制程序》适用于对本工程使用的监视和测量装置的配置情况的检查和监督。
3.6.3.3 职责
工程部负责施工机械技术鉴定的组织、监视和测量装置的控制、施工场所的总平面布置、组织管理软件的开发或引进工作,负责基础设施的维护。
3.6.3.4 工作场所的设置,满足创建优质工程的施工要求。
3.6.3.5 工作场所的总平面布置,充分考虑作业人员对施工和劳动保护的需求,并保证提供满足需求的条件。
3.6.3.6 保证施工设备的性能和技术条件符合工程施工质量要求。
3.6.3.7 确保检测设备配置满足施工质量的检测要求。
3.6.3.8 保持施工全过程中和交付后支持性(仓储、现场运输、维修人员的装备)服务功能的完好和发挥正常。
3.6.4 工作环境
3.6.4.1 引言
通过对环境因素的识别和设施的管理,提供满足工程施工符合要求的工作环境。
3.6.4.2 总平面和工作环境的检查和管理。
3.6.4.3 职责
a) 工程部负责施工总平面的布置。
b) 质量安全部负责劳动防护、职业安全健康设施的控制。
3.6.4.4 各专业分区域设置施工隔离区,工程部负责施工总平面和环境的管理。确保施工过程无干扰。
3.6.4.5 监视和测量工作环境满足对温、湿度和防尘的需求,确保数据可信、有效。
3.6.4.6 焊接工作环境做好防风、防雨、防幅射措施,保证焊接产品质量和减少紫外线伤害。
3.6.4.7 采取措施,保证工作场所有充足的照明和适当的通风。
3.6.4.8 为各施工作业及管理岗位提供必需的劳动防护和健康安全设施,确保施工过程的顺利进行。
3.7 产品实现
3.7.1 产品实现的策划
3.7.1.1 引言
通过对实现过程与质量体系相一致的策划,明确施工项目分级的质量目标和要求,明确资源的需求,确定质量验收标准和相应的质量记录要求,使工程质量达到设计要求和既定目标。
3.7.1.2 相关标准概述
a) 《生产和服务提供的控制程序》适用于工程施工过程的策划。对施工组织设计的内容和要求作出了规定。
b) “工程项目质量验收划分表”作为产品监视和测量控制计划的一种,适用本于工程质量验收。对验收评定的分级作出了规定。
3.7.1.3 职责
a) 总工程师组织产品实现的策划,负责组织审查和批准施工组织设计和重要作业指导书的审批。
b) 项目管理部负责施工组织设计、产品实现的策划文件的编制和作业指导书的审批。
c) 工程部部负责指导协调产品实现的策划。
3.7.1.4 质量目标的确定
a) 施工组织设计作为工程实现全过程策划的纲领性文件,明确工程的质量目标,以及要实现目标所需控制的内容和采取的措施。
b) 作业指导书作为对具体分项的过程策划的输出文件,确定了特定项目的质量目标,以及保证实现目标所采用的施工措施、施工工艺和评定标准。
3.7.1.5 过程策划的输出文件
产品实现的策划均形成文件,以确定该过程所需建立的文件和所需的资源和设施,以及验收评定的准则和必需形成的记录。
1) 产品实现策划的管理体系文件
a) 施工组织设计
确定和配备工程施工必要的控制手段、过程、工艺装备、资源和设施、技能和进度安排,以及重要的施工方案。
b) 质量计划
为满足顾客对特定产品、项目、合同的质量要求,规定专门的质量措施、资源和活动顺序。
2) 产品实现策划的操作性文件
a) 质量改进计划
为持续改进,编制治理质量通病和关键工序的控制措施。
b) 质量检验计划
以质量验收项目划分表为主,确定产品(工程)的分段或中间验证以及控制点、检查点和见证点的设置,明确接收标准。
c) 作业指导书
对已知产品的实现过程,确定和配备必要的设备、工具和控制手段以及工艺方法、质量标准、检测手段、人员资质和质量记录,使工程项目质量符合设计和顾客的要求。
d) 质量记录
确定为满足工程质量要求,并能充分予以证实的质量记录的内容。对所有被确定的记录内容,都准备好记录的载体,并作出唯一性标识,以确保质量记录可追溯性和可信性。
e) 过程审核和技术监督计划
对工程全过程中的重要节点或关键过程进行过程审核和技术监督检查,控制资源的配备、技术方案、工艺措施和工程质量。
f) 培训计划
对影响质量活动的各类人员所要进行的培训予以策划,确定培训内容、评价方法,保证公司员工胜任各自所从事的岗位。
3.7.2 与顾客有关的过程
3.7.2.1 引言
根据以顾客为关注焦点的原则,通过识别顾客明示或隐含的要求和评审合同(标书),以及与顾客建立良好的沟通,充分、准确掌握顾客对产品的要求,确保顾客要求在工程中得以实现。
3.7.2.2 相关程序概述
a) 《合同评审控制程序》适用于对标书和合同草案进行正式的全面的评价和协调工作。程序对评审组织、评审意见会签,合同修订等作出了规定。
b) 《生产和服务提供的控制程序》适用于对顾客需求的识别。程序对服务实施的顾客满意调查,质量回访等服务内容的评审等作出了规定。
3.7.2.3 职责
a) 公司市场部负责合同(标书)的评审工作和与顾客进行有限的沟通。
b) 工程部负责服务的实施。
c) 总工程师负责用户回访的组织。
3.7.2.4 顾客要求识别
a) 明确对顾客要求识别的职责和采用适当的方法(如评审会议、用户回访等),确保顾客各方面的要求充分和准确地被掌握。
b) 识别内容包含对顾客明示和隐含的要求以及与合同有关的法律、法规的要求。
c) 合同(标书)的评审。
在投标和合同签订前,有序地对其进行评审。对标书和合同草案实施正式的全面的检查和协调工作,确保质量要求规定的适当、明确,文件齐全且可执行。在技术和经济方面规定的合适,与投标不一致的要求得到解决,从而保证合同能顺利履行。
d) 评审内容
- 条款符合国家法律、法规,含义准确,便于执行。
- 合同和技术协议的条款能反映工程施工全过程质量管理要求。
- 与合同不一致的要求均传递给各职能部门并能采取措施解决。
e) 评审方法
- 采用传阅评审或会议评审。
- 各职能部门负责人或专职人员代表本部门签署评审意见和具名。
- 起草人员归纳评审意见,进行修改,形成正式文本。
- 正式文本充分表明顾客的技术、质量要求及相应的权利和具有施工能力作保证的竣工交付期。
f) 合同修订
修改内容由公司市场部传递到各有关职能部门和项目管理部,以便采取必要的措施。
g) 评审记录
- 各种评审书面意见、评审会议纪要为正式评审记录。
- 评审记录均随相关合同归档。
h) 产品要求变更的控制
评审产品要求的变更,并确保由此引起的文件修改传达到与产品有关的各个部门及人员。
-公司市场部组织对合同条款修改的评审,并确保相关文件得到相应的修改,使修改内容传达到与合同执行有关的各个部门。
- 项目管理部工程部负责对图纸的修改和设计变更单的评审,确保相关的文件得到相应的修改,并将变更的内容传达到相关单位、部门和人员。
3.7.2.5 与顾客沟通
a) 在工程施工的全过程中,安排有效的与顾客沟通,以测量与监控满意度。
b) 开工前充分掌握顾客对工程的要求。
c) 施工中深入了解顾客对合同执行与修订的信息。
d) 竣工后跟踪回访顾客,收集满意度信息。
e) 将与顾客沟通获取的信息,作为管理评审的输入,以促进持续改进。
3.7.3 设计
3.7.3.1 本公司不进行产品设计,本要素涉及业主授权范围内的施工过程中的二次设计。
3.7.3.2 项目工程部负责现场设计和设计、变更管理
3.7.3.3 责任
a) 现场设计:由施工队提出,工程部批准,报监理工程师批准后实施;
b) 普通和重大设计、设备的变更修改按设计单位签发的〈通知单〉执行;
c) 小型设计变更:由施工队提出,工程部同意,报监理工程师核定后执行。
d) 工程部按文件和资料控制要求负责对现场设计和设计变更文件、资料的收集、整理、编码、分发和归档。
3.7.4 采购
3.7.4.1 引言
本工程公司的采购活动包含了对所有为了满足工程最终质量的原材料、元器件、加工件、配套设备及施工机具等物资采购过程和工程发包过程。对供方、采购文件和采购物资的验证进行有效的控制,保证采购的物资和供方选择符合规定要求。
3.7.4.2 相关程序概述
《采购及顾客财产控制程序》适用于对采购文件的编制、修订和对供方的评价控制和评价记录,以及对采购物资的验证活动和不合格品管理。程序、标准对各控制活动的步骤和相关的职责作出了规定。
3.7.4.3 职责
a) 公司计财部负责对自行采购物资的采购活动的控制,负责组织对供应商的评价。
b) 项目管理部物资部负责工程供方采购物资的采购活动进行检查、监督和控制。
c) 公司计财部负责对工程发包的控制及对工程供方的评价。
d) 项目管理部工程部负责对发包工程进行监督控制。
3.7.4.4 对供方的资格评定
以《采购及顾客财产控制程序》文件规定供方能力合格评价标准、供方能力评价和供方的选择根据物资、设备采购或发包工程的需要在采购前进行,对合格供方每年进行一次考核,以确认其能力的保持与否。
1) 供方评定由经营部组织进行。为满足分合同要求的能力,采用以下适合的方法:
a) 对供方质量保证能力的调查,由供方填写调查表;
b) 必要时,考察证实供方业绩和能力的记录,并加以评定;
c) 由供方提供第三方的质量体系认证合格证书;
d) 如合同规定进行第三方认证,第三方有经过鉴定的合格证书。
2) 经评定合格者,由公司确认,归口部门负责,建立档案并进行有效的控制管理。
3) 所有评定活动的记录均予以保存。
3.7.4.5 采购文件
1) 采购文件明确表明规范和设计规定的技术要求和质量要求,视需要在适当时还包括对过程、程序或设备、人员资格鉴定的要求,以及对供方质量管理体系的要求,并经授权人员审批发布。
2) 采购文件的更改和管理:
a) 采购文件的修订状态均加以识别;
b) 被修订的采购文件均经原审批人员审批;
c) 设计和设备更改后的采购,经过相应的审批及时下达物供部门;
d) 材料设备采购文件由物资部集中保管归档;
e) 大型机具采购文件由工程部集中保管归档;
f) 发包文件由经营部集中保管。
3.7.4.6 采购物资的验证
公司在采购合同中充分注意对采购物资的验证。公司或顾客在供方现场处或到货现场对采购物资是否符合规定进行验证和放行方式均在合同中明确规定。
a) 任何方式的验证,顾客、项目管理部和供方均经验收签证,表明其符合性。
b) 对供方提供物资不符合规定要求的,签发不符合项报告。所有不符合项报告均进行随后的整改验证封闭,以判定供方提供产品符合规定要求。
c) 采购物资质量问题亦可由供方办理委托处理手续,明确质量要求和验收标准。
d) 顾客的验证是在合同规定条件下进行的,不论顾客是否参与对采购物资的验证,本公司都保证向顾客提供的采购物资是合格产品。
3.7.4.7 质量安全部对供方的采购活动进行检查和监督,抽查其对供应商的评价资料、采购文件及验证的记录。
3.7.5 生产和服务的提供
3.7.5.1 引言
项目管理部加强对工程施工和交付后服务运作的产品实现控制,以实现经策划的工程质量目标。通过对施工图纸的会审充分掌握设计、设备的特性;编制必要的作业指导书明确施工工艺和验收标准;对作业人员进行详尽的技术交底,传达工程特性和施工要领信息;提供合适的施工机械和检测设备并予以有效的维护;开展过程运作的同步监控从而达到施工过程受控。
a) 采取措施,对产品和工程项目特性或状态进行标识,以实现过程和产品的可追溯性。
b) 按规定验证和维护顾客的财产,保持顾客财产的原始状况。
c) 采用可靠的手段,确保工程器材、半成品、外购装置性物资的固有特性。
d) 用工艺评定或记录过程参数的方式确认特殊过程。
3.7.5.2 相关程序概述
a) 《生产和服务提供的控制程序》适用于生产和服务的提供过程。
b) 《机械设备管理条例》适用于作业设备及中小型施工机械的控制,对配备、维护等作出了具体的规定。
c) 《监视和测量装置控制程序》适用于对本工程使用的监视和测量装置的配置、使用、维护、标识等情况的检查和监督。
d) 《生产和服务提供的控制程序》、《采购及顾客财产控制程序》适用于对产品或工程项目特性的标识。
3.7.5.3 职责
a) 物供部负责物资的标识和顾客财产控制的实施。
b) 工程部负责对生产和服务的提供进行协调、检查和控制。
c) 经营部负责人员能力的培训和考核。
d) 质量安全部负责检测设备技术性能和测量能力的确认。
e) 质量安全部组织过程质量监督活动和服务实施的组织工作,负责工程项目验收状态的标识。
f) 工程部组织图纸会审、技术交底和作业指导书的编制工作,
3.7.5.4 运作控制
a) 工程部组织各有关人员对施工图纸进行审查,明确各专业各系统之间的接口和配合,确保施工作业按设计要求进行。
b) 必须编制的作业指导书经过策划,由工程部以文件形式明确范围,并按计划出版、发布。
c) 工程部组织综合工地对机械设备提供适当的维护,保持施工设备技术条件始终如一,记录这些设备的完好状况。
d) 质量安全部确保提供的检测设备满足工程质量检测要求,确保所测量的质量参数真实可信。
e) 质量安全部对过程实施有效的监控,确保过程(测量、人员技能、设备维护、作业规范、工作环境等)输出满足工程质量要求。
f) 工程部有效实施工程竣工移交后的服务工作,保证施工的质量满足机组安全经济运行。
3.7.5.5 标识和可追溯性
a) 为实现必要的追溯,对产品、物资、施工项目的特性或状态进行唯一性标识,以防止在施工过程中误用。
b) 通过使用票签、油漆标记、钢印、签证单、试验报告表明产品或工程项目检验状态合格与否。
c) 工程标识的范围、形式、内容及标识工序由施工图纸和《质量检验及评定标准》等技术文件规定。
d) 只有具备相应资格的人员才能对检验和试验状态进行标识。
e) 由各专业施工人员按程序对施工项目做好可靠的标识。
f) 标识的形式
- 文件记载──应用于工程施工过程中产品的各种状态;
- 标签──应用于系统设备、原材料及监视和测量装置状态;
- 软件──应用于管理。
g) 标识的可追溯性保证满足合同、法律或法规的要求
3.7.5.6 顾客财产
对顾客提供的工程设备、专用工具、图纸等财产有控制地进行验证、保管和维护,并负责向顾客报告财产保管动态。
a) 验证按规范或合同规定进行,并办理签证手续。
b) 贮存按顾客提供的设备保管状态和明确标识规定进行分级保管,库房和现场均符合贮存要求。
c) 保养按规定进行,并定期检查。
d) 搬运符合有关规定。
e) 记录发生的缺件、丢失、损坏或不适用,签发不符合项报告并通知顾客。有关单位整改后由物供部本公司验证认可。
f) 本公司的验证不减轻顾客提供合格产品的责任。
3.7.5.7 产品防护
在施工过程和到工程移交前的标识、搬运、贮存、涂装期间内,采取有效措施做好产品及其组成部份的防护。
a) 用唯一性的标识表明产品的特性,(如图号、扎号等)
b) 各类物资按有关规定执行入库验收,分级保管、保养发放及领用后的保管和安装后的保护。
c) 物资保管做到帐、卡、物一致、消灭差错、质量不变并有入库检验状态的识别标志。
d) 物资按规定的区域堆放,堆放场、库均符合贮存要求。
e) 定期检查物资存放情况,防止变质和损坏。
f) 本公司施工的工程产品系裸装产品,均按工程设计采取相应的防护措施(如油漆等)。
g) 凡已安装的重要设施有保护措施,防止损坏或危及人身安全。
h) 交付
工程竣工后,符合合同条件和交付标准,按规定程序交付顾客管理,并由公司代表按合同规定办理竣工移交签证。
3.7.5.8 特殊过程确认
本公司的特殊过程是指大体积混凝土、防水、防腐、焊接、基坑围护,加强特殊过程的控制,确保这些过程的输出符合合同或顾客以及法律、法规的要求。
a) 工艺评定和技术鉴定的准则予以规定。
b) 特殊过程的必要参数加以记录或标识,由专业管理人员进行抽查。
c) 隐蔽工程项目办理专用的签证,确保工程质量的可追溯性。
d) 对特殊过程的作业人员和隐蔽工程项目的签证人员进行必要的资格培训,并在他们的资格得到鉴定和确认后再行上岗作业。
e) 对特殊过程使用的设备进行检查和认可。
f) 特殊过程实施一个阶段后,组织有关人员对准则和相关要求进行一次再确认。
3.7.6 监视和测量装置的控制
3.7.6.1 引言
对用以确保工程施工质量特性是否符合规定要求的监视和测量装置均进行有效的控制,校准和维护,保证所用设备的测量不确定度已知、且测量能力满足要求。
3.7.6.2 相关程序概述
《监视和测量装置控制程序》适用于检测设备的控制。程序对监视和测量装置的配置、周检、使用、标识和管理的控制作出规定。
3.7.6.3 职责
项目管理部质量安全部负责监视和测量装置管理的检查和控制。
3.7.6.4 监视和测量装置的控制内容
a) 根据工程的质量要求,明确测试任务所要求的准确度和精密度,选择适用的检验测量和试验设备。
b) 周期检定符合国家有关检定规程要求,并保证检定人员拥有相应的标准文件。
c) 经使用并发现测量装置或计量器具校准值有偏离时,按规定处理不合格计量检测装置,并对已测量数据重新复测。
d) 检验测量和试验设备有规范化的标签和检定证书,标明其检定周期、类别,确保使用过程中的检验测量和试验校准状态已知。
e) 采取有效的防失效措施,在检测和设备校准的适当阶段,对设备上能影响其性能的可调整部位由经授权的人员进行封缄,(如火漆、铅封等)。
f) 采取必要的保护措施,保证检测和试验设备在搬运,保养和贮存过程中,其准确度和适用性不受影响。
3.8 测量、分析和改进
3.8.1 测量、分析和改进的策划
3.8.1.1 引言
策划所有为确保符合质量要求和实现改进所需的测量和监控活动,保证通过这些活动能够及时识别和发现产品实现过程和体系运行中存在的问题,从而采取有效的措施予以纠正和改进,以保证向顾客提供质量优良的工程。
3.8.1.2 职责
a) 项目管理部总工程师负责内部质量管理体系审核及随后验证的策划。
b) 项目管理部质量安全部负责工程项目分级验收评定的策划和质量监督策划。
c) 公司物供部负责采购物资验证及进货检验的策划。
d) 项目管理部工程部负责工程技术监督工作的策划。
e) 各部门负责本部门不合格的控制、纠正及预防工作的策划。
3.8.1.3 内部质量管理体系审核的策划输出为“年度审核计划”和“审核实施计划”。策划结果规定了内审及监督的频次、人员组成以及范围和目的。
3.8.1.4 开工前对工程一、二、三级验收评定项目进行划分,并按有关准则确定合格或优良的等级。
3.8.1.5 对在供方现场实施验证及其放行方法和设备开箱计划进行策划。
3.8.1.6 在各阶段的政府质量监督检查前布置受监项目的过程审核,保证所有该阶段施工项目完成,验收合格。
3.8.2 监视和测量
3.8.2.1 引言
通过对顾客满意度、工程产品实现过程、工程产品的测量和监控,以及开展内部质量管理体系审核,评价、记录质量管理体系业绩。
3.8.2.2 相关程序概述
a) 《生产和服务提供的控制程序》适用于对顾客满意情况的监控。程序对用户回访的频率、职责、方法和内容作出了规定。
b) 《产品的监视和测量控制程序》适用于施工现场特定阶段的过程审核、技术监督检查、日常监视和测量活动,以及施工过程的各级质量验收和评定控制。程序规定了从施工开始到最终验收为止的检验和试验活动控制步骤。程序对监督控制的内容和方法作出了规定。
c) 《管理评审程序》适用于对质量管理体系的评价,程序对评审的步骤作出了规定。
d) 《内部审核程序》适用于质量体系审核和过程质量审核。程序对审核方案的策划、范围、频次和方法作出了规定。
3.8.2.3 职责
a) 工程部部负责服务的实施。
b) 质量安全部负责内部质量审核,对顾客意见的收集及顾客满意度的测量,对质量管理体系过程进行监视和测量,并对施工现场的监视和测量活动进行检查和控制。
c) 物供部负责采购物资和顾客财产的验证。
d) 质量安全部负责组织工程质量的检查验收。
e) 经营部负责对顾客需求信息的收集。
3.8.2.4 顾客满意度测量
a) 定期对用户回访,收集并分析和评价顾客对本工程所提供的工程施工和服务的信息。
b) 施工质量、服务质量、顾客期望的实现等是用户回访的主要内容。
3.8.2.5 内部质量审核
定期实施质量管理体系审核,以确定质量活动和有关结果是否符合体系要求和达到预期目标,以及各过程的安排是否得到有效的贯彻,对于实现质量目标是否合适。
1) 策划
策划工作以审核的活动和区域的现状以及以往的审核发现为依据,通过有成效的审核活动及时发现存在问题并及时采取纠正措施。
a) 质量体系审核:每年不少于一次;
b) 过程质量审核:按工程进度确定;
c) 审核计划:分年度计划和实施计划二种。审核组由具备资格和独立的人员担任,并形成正式文件。审核项目均编制审核检查表,并和受审核方取得共识。
2) 不符合项报告
审核中发现的任何不符合项,与受审核方取得共识,并签发不符合项报告。
3) 不符合项的纠正
a) 受审核部门的管理者针对不符合项报告事实,及时制定并采取纠正措施;
b) 不符合项的纠正按计划时限完成。
4) 审核报告
每次审核均编制的审核报告,向有关人员递交,报最高管理者。
5) 不符合项纠正后的跟踪验证
所有不符合项的纠正措施均进行跟踪,验证并记录措施的有效程度。
3.8.2.6 过程的监视和测量
用经过认定的测量方法及其适用的统计技术,对影响顾客要求所必需的产品实现过程进行监控,以确认过程满足质量目标的能力。采用观察、检查、统计和分析的方法,对质量管理体系的运行过程进行监视和测量,以保证体系运行的符合性和有效性。
1) 采用的统计技术经鉴别并满足工程及产品的特性。
2) 质量目标、大体积混凝土、混凝土坍落度、焊接检验、分项工程验收等产品实现过程的质量监控有相适宜的测量和监控方法,并在适当的阶段予以实施。
3) 体系运行过程中的不符合项的数量和分布进行测量和统计分析。
4) 本公司常用的统计方法有:
a) 排列图;
b) 控制图;
c) 因果图
3.8.2.7 产品的测量和监控
在产品质量形成的适当阶段安排对其特性的测量和监控,以验证所交付的建筑工程和提供的服务是否满足顾客的要求。
a) 测量和监控的安排经事先策划,并形成文件。(如质量验收评定项目划分表)
b) 测量和监控记录,均明确描述产品符合验收准则的证据,并由经授权的验收人员按权限签证后表明其放行的等级。
c) 用文件的形式,对申请例外放行和交付的产品或服务报顾客批准,并由经本公司授权的人员执行例外放行和交付。
3.8.3 不合格品控制
3.8.3.1 引言
采取措施识别实现过程中和交付后的不符合要求的产品,对不合格品进行标记、隔离、评价、处理和记录,保证不使用不合格品。
3.8.3.2 相关程序概述
a) 《不合格品控制程序》适用于原材料、设备到达现场至施工全过程的不合格品的控制。程序对不合格品的标识,识别等控制的步骤作出了规定。
b) 《纠正和预防措施控制程序》适用于消除不合格的原因,防止不合格的再次发生。程序规定了识别不合格、纠正策划及有效性评价的步骤。
3.8.3.3 职责
a) 质量安全部负责施工过程中产生的不合格品的管理。
b) 质量安全部、物供部负责对不合格品的控制的检查和监督。
3.8.3.4 标记和隔离
由检验或试验人员按规定对不合格品作好标记,并由有关人员对其进行隔离,确保有不合格标识的原材料、半成品、制成品或设备不流入下道工序。
3.8.3.5 不合格报告
审核、检验或试验人员开出的不合格品报告,按规定的审批程序传递,通知受影响的有关部门,并按规定对不合格品进行分析、评价,确定返工或报废。
3.8.3.6 不合格品评审的职责和处置的职权
评审的职责和处置的职权按技术管理制度规定执行。
3.8.3.7 不合格品按规定做好各项记录,对重大不合格品的处理通知顾客,处理记录纳入工程的质量档案。
3.8.3.8 让步申请
在使用返修或未经返修的不合格品之前,向顾客或其代表或有关机构提出让步申请,同意后记录、报告不合格和返修情况。
3.8.3.9 返修或返工后产品的处理
经返修或返工后的产品按质量检验及评定标准规定重新进行检验或试验。
3.8.3.10 对交付使用后发现不合格品的处理
无论使用者的原因如何,项目管理部工程部组织专门的人员,负责修理或调换所有交付使用后发现的由于施工原因造成的不合格品,并重新进行检验或验证,确认其质量特性符合既定的要求。
3.8.4 数据分析
3.8.4.1 引言
为正确评价质量管理体系的适宜性、有效性和充分性,以及能正确识别将要采取改进的可行性,对收集或已掌握的通过测量和监控获得的信息进行分析。
3.8.4.2 相关程序概述
a) 《数据分析管理条例》规定了需要收集的数据内容以及分析的方法。
b) 《生产和服务提供的控制程序》适用于对顾客满意度信息的收集。程序对顾客信息收集、分析、处理步骤作出了规定。
c) 《内部审核程序》适用于对质量管理体系运行符合性和有效性信息的收集。程序对体系运行情况的收集、报告、纠正措施有效性分析等步骤作出了规定。
d) 《管理评审程序》适用于最高管理层对所收集的需要其识别的重要信息的分析和决策。程序对评审的组织、内容、形式、输出文件等方面作出了规定。
e) 《产品的监视和测量控制程序》适用于过程监督和三级质量检验过程中数据的收集。程序对质量检验信息收集、分析、处理步骤作出了规定。
3.8.4.3 职责
a) 工程部负责实施用户回访和顾客满意度信息的收集和分析。
b) 质量安全部负责内部体系审核和体系运行符合性、有效性信息的收集和分析。
c) 工程部负责工程质量信息的收集和分析。
d) 物供部负责材料物资供应商、制造商资质、能力和业绩信息的收集和分析。
3.8.4.4 执行质量和安全月度会议制度,收集和分析工程质量和安全信息。
3.8.4.5 执行施工月报制度,掌握和分析工程进展和施工工艺执行动态信息。
3.8.4.6 按时对供方实施动态的考察,收集供方对顾客及工程质量所履行的质量义务的信息,分析并识别其履行合同的能力。
3.8.4.7 安排有计划的内部质量体系审核,识别各部门执行管理职能的符合性,并向管理评审报告体系运行情况。
3.8.4.8 设置与顾客、供方沟通联络的机制,有效及时地得到顾客满意与否的信息。
a) 参加顾客的有关会议。
b) 设工程调度会制度,分析顾客对工程质量安全和工期的意见。
c) 严格执行工程联系单、设计修改单反馈及实施结果验证制度。
d) 定期组织用户回访和顾客满意情况调查。
3.8.4.9 定期举行管理评审,对有关质量管理体系有效性和适宜性的信息进行评审,决策应采取的改进。
3.8.5 改进
3.8.5.1 引言
通过有效实施纠正措施、预防措施的控制,并依据对过程测量、审核、评审、监控和分析的结果进行持续改进的策划,提高公司质量管理体系运行或持续改进的有效性和效率。
3.8.5.2 相关程序的概述
a) 《纠正和预防措施控制程序》适用于消除已发现的过程和工程质量不合格的纠正。程序对不合格原因识别、采取措施以及随后跟踪作出了规定;适用于消除潜在的过程和工程质量不合格的预防。程序对潜在不合格原因识别、采取措施、随后跟踪以及持续改进作出了规定。
3.8.5.3 职责
a) 项目管理部总工程师组织质量目标的改进策划。
b) 质量安全部实施内部审核,以及随后改进活动的安排。
c) 质量安全部负责体系不符合的纠正及预防措施的验证。
d) 责任部门负责工程质量不合格和潜在不合格的原因分析及纠正预防措施的验证实施。
3.8.5.4 持续改进的策划
通过用方针、目标管理的方法和对体系过程审核结果、数据的分析,以及采取有效的纠正措施、预防措施和管理评审等手段,促进质量管理体系所必要的过程的持续改进。
a) 开展有效的内部体系审核和过程监督审核,审核输出提供改进的目标。
b) 纠正或预防措施的制定和评价,均以实现改进为目的,以防止不合格的再发生。
c) 管理评审评价已采取的改进效果,并对新的改进目标进行策划。
3.8.5.5 纠正措施
采取与影响程度相适应的纠正措施,查明导致现存的不合格、缺陷或其它不符合顾客或过程特性要求的原因,并予以纠正和防止再发生。
1) 调查不合格品的原因。
a) 对不合格查明原因;
b) 分析抑制不合格再发生措施的可行性。
2) 制定和实施纠正措施
a) 纠正措施经过审核;
b) 纠正实施结果经验证和评审。
3) 纠正结果予以记录
3.8.5.6 预防措施
充分考虑不合格发生的潜在可能,并采取有效的措施,防止其发生。
1) 识别不合格
a) 找出潜在的原因;
b) 分析可能发生的程度;
c) 拟定相应的抑制措施;
2) 制定和实施预防措施
a) 预防措施经过审核;
b) 预防措施实现结果经验证和评审;
3) 预防措施实施结果予以记录。
3.9 本工程采用的质量管理程序和有关规定
1.文件控制程序 QG/DZ ZTCX01-2003
2.质量记录控制程序 QG/DZ ZTCX02-2003
3.管理评审程序 QG/DZ ZTCX03-2003
4.培训工作程序 QG/DZ ZTCX04-2003
5.合同评审程序 QG/DZ ZTCX05-2003
6.采购及顾客财产控制程序 QG/DZ ZTCX06-2003
7.生产和服务提供的控制程序 QG/DZ ZTCX07-2003
8.监视和测量装置控制程序 QG/DZ ZTCX08-2003
9.内部审核程序 QG/DZ ZTCX09-2003
10.产品的监视和测量程序 QG/DZ ZTCX10-2003
11.不合格品控制程序 QG/DZ ZTCX11-2003
12.纠正措施和预防措施控制程序 QG/DZ ZTCX12-2003
13.施工技术管理若干规定 QG/DZ GL001-2003
14.机械设备管理条例 QG/DZ GL002-2003
15.计量管理条例 QG/DZ GL003-2003
16.施工测量管理条例 QG/DZ GL004-2003
17.混凝土监督管理条例 QG/DZ GL005-2003
18.焊接技术管理条例 QG/DZ GL006-2003
19.数据分析管理条例 QG/DZ GL007-2003
施工过程中的安全与文明施工保障将直接影响到施工质量、设备和环境保护,影响到员工及各相关方人员的生命安全和健康,我们深感安全和文明施工管理的重大意义,各级施工管理和作业人员将牢固树立起安全管理和控制如履薄冰、一丝不苟、认真苛求的思想,把安全施工贯串于“全员、全过程、全方位”的“三全”管理之中,实现安全和文明施工管理的制度化、规范化、程序化和标准化,创建本工程各类重大安全事故为零的“零”目标管理,实现我公司安全的文明窗口工程,使业主放心和满意。
切实实现业主的安全管理目标、职业健康、现场文明施工管理和环境管理目标。
安全管理目标:杜绝人身死亡事故;杜绝重大施工机械设备损坏事故;不发生重大火灾事故;不发生由施工单位负主责的交通事故;不发生重大环境污染事故;轻伤事故统计率控制在1‰以内;严格控制各种习惯性违章。
职业健康管理:作好施工现场噪声防治,防暑降温。
现场文明施工管理管理:工地门口应有五牌二图,应有安全卫生、文明施工监督电话。
环境卫生及文明施工的各项管理制度要上墙。
环境管理:对施工现场环境(噪音、粉尘、废气、废液、废水、光污染)进行控制,注意对机械的经常性保养。
1.1 上海电力建筑工程公司职业安全健康和环境管理方针
本公司在工程施工相应的管理活动中,将遵守国家“安全第一、预防为主”的劳动保护方针和“预防为主、防治结合、综合治理”的环境保护原则,并郑重承诺:
a) 遵守与本公司相关的职业安全健康和环境保护的法律法规,并以此作为最基本的要求。
b) 坚持对职业安全健康和环境行为的改善与绩效的持续改进。
本公司以分包方在高处作业、明火作业、带电作业、起重作业中的危险源和施工中产生的噪音、废料、资源利用等环境因素为主要管理重点,以杜绝重大事故、杜绝死亡事故、控制一般事故,控制施工噪音和废料排放、合理利用资源,实现安全文明施工为总体目标。
本方针将以多种形式传达至全体员工,明确职责,予以实施。也可为相关方获取。并通过定期评审,确保其适宜性。
1.2 本工程安全工作目标
a) 死亡事故为0;
b) 重大火灾及燃爆事故为0;
c) 重大机械设备及起重事故为0;
d) 同一现场重复发生相同性质的事故或未遂事故为0;
e) 一般重伤事故不大于0.5‰/年;
f) 年一般轻伤事故频发率不大于5‰/年。
我公司将设立直接隶属于项目管理部经理的质量安全部作为安全和消防的管理机构,项目管理部经理作为第一安全责任人,对本工程的职业健康安全和环境管理工作统一牵头、统一指挥、统一管理、统一考核,并在整个项目管理部建立安全管理的三个体系,即:
a) 以项目管理部经理为核心,落实各职能部门、各级岗位人员安全责任制为中心的安全保证体系;
b) 以安全监察机构和安全监察人员为主体的安全监察体系;
c) 以项目管理部总工程师负责的安全技术保证体系。
2.1 本工程安全管理网络图

2.2 主要安全管理岗位的安全职责
2.2.1 项目经理的安全职责
a) 根据公司职业安全健康和环境保护的方针目标,结合项目实际情况,制定并实现本项目的安全目标;
b) 负责对本项目施工现场危险因素(设施、部位、过程和活动)的识别、评价和项目职业安全健康和环境保护管理体系的建立健全,组织编制切合实际的项目安全生产保证计划,审定安全技术措施和管理措施等;
c) 确定项目部的组织结构和岗位设置,按合理分工、加强协作的原则,明确相关部门(岗位)的具体职责和权限,健全安全生产责任制;
d) 组织实施和保持项目安全生产保证体系充分、有效运行,以实现本项目安全目标;
e) 确保安全生产所需的必要资源(人力、设施、设备、资金等)提供到位,负责安全设施、防护用品采购计划审批,组织对安全设施、防护用品质量的验收;
f) 组织对分包方评价、选择和监控;
g) 对项目各级人员的安全思想意识、纪律、知识和技能教育培训负领导责任;
h) 严格执行公司颁布的各项安全管理制度,组织落实各项安全技术措施和管理措施,加强施工过程的安全控制,杜绝违章指挥和违章作业;
i) 负责组织每月一次安全检查和专项安全检查,及时发现问题,消除事故隐患,严格安全奖罚;
j) 定期组织召开安全工作会议,对项目安全工作进行分析研究,做好安全性评价的自查,积极主动对安全管理工作进行改进和完善;
k) 直接领导本项目安全部门(或专职安保人员)工作。充分支持安全部门或专职安保人员履行职责;
l) 发生重大安全事故时,组织抢救伤员,保护好现场,及时向公司报告;参加事故调查处理工作;组织并主持轻伤事故、记录事故和未遂事故的调查,并按“四不放过”的原则做好事故的处理工作。
2.2.2 项目专职安全员职责
a) 深入施工现场掌握安全施工动态,监督、检查施工场所的安全文明施工状况和职工的作业行为,承担所负责区域安全施工的监护责任。专职安监人员必须记工作日记,并自觉接受检查;
b) 有权制止和处罚违章作业及违章指挥行为;有权根据现场情况要求有关部门或班组采取安全措施或设施;对严重危及人参安全的施工,有权指令先行停止施工,并立即报告领导研究处理;
c) 参加本工地重要施工项目和危险性作业项目开工前的安全交底,并检查开工安全文明施工条件,监督安全施工措施的执行;
d) 参加本单位安全工作例会和生产调度会,协助本单位领导布置、检查、总结安全文明施工工作;
e) 协助本单位领导布置与检查每周的“安全日”活动;监督检查班组每天的“三交”(交任务、交安全、交技术)“三查”(查衣着、查“三宝”、查精神状态)站班会;
f) 对本工地施工现场和安全卫生责任区内文明施工、环境保护、环境卫生、成品保护措施执行情况以及生活卫生的管理进行监督、检查;
g) 负责本单位机械和车辆交通安全监督工作;
h) 负责本单位防火防爆、化学危险品安全监督工作;
i) 督促并协助本单位有关人员做好职业防护用品、用具和重要工器具的定期检查、试验工作;
j) 组织开展本工地安全健康与环境保护的宣传教育工作。负责对新入厂人员进行第二级安全教育;
k) 参加本单位安全大检查,对发现的问题,按“三定”原则督促整改;
l) 参加上一级安监部门组织的安全员工作例会;
m) 负责对分包单位的安全工作进行监督、检查与指导;
n) 负责对班组安全文明施工进行考核与奖惩;
o) 协助单位领导组织对人员轻伤事故、记录事故中严重未遂事故的调查处理工作;
p) 负责与业主或监理的安全工作联络,接受并组织实施业主或监理对工程安全消防工作提出的建议和整改意见。
2.2.3 项目主任工程师安全职责
a) 负责本项目的安全技术工作,对本项目的安全施工在技术上负责;
b) 协助项目经理建立、完善职业安全健康和环境管理体系;
c) 组织编制项目安全技术措施,并组织落实;
d) 办理公司一级安全施工作业票,并亲自交底,审批二级安全施工作业票;重大事故安全措施必须亲自交底;
e) 主持项目安全技术教育,从技术上指导和支持项目安全部门(安监人员)的工作;
f) 组织编审本项目的新技术、新工艺的安全技术措施和施工操作规程,积累相关资料,完成施工总结;
g) 组织安全设施的研制和推行工作;
h) 负责对分包单位施工项目进行安全施工技术的监督和指导;
i) 参加项目安全施工检查,解决存在的安全技术问题,参加轻伤、记录和未遂事故的调查、分析,提出防范措施。
2.2.4 技职人员安全职责
a) 负责对所分管的项目工程认真制订严密、科学及具有可操作性、针对性强的技术方案和安全技术措施,对分管工程项目的安全施工负技术责任;
b) 签发各类安全施工作业票、动火证、动土证,制定专项安全措施;
c) 负责项目工程的施工交底,使参加该项目工程施工的作业人员了解作业场所的危险因素、防范措施和事故应急措施;
d) 施工过程中,负责检查监督作业人员是否正确执行已确定的方案措施,验证所制定的安全技术措施是否具有针对性和可操作性,并及时进行改进;
e) 参加安全检查,负责对分管工程项目中存在的安全问题和事故隐患制订整改措施和对整改过程进行监督;
f) 有权及时制止一切违章违规作业行为,并及时向有关部门反映,有责有权对安全生产工作的存在问题提出批评和改进意见;
g) 在作工程总结的同时,应对本工程的安全工作(如措施得当与否、安全设施是否符合等)同时进行总结。
2.2.5 施工员安全职责
a) 学习和熟悉国家有关安全生产的法律、法规,认真执行上级有关安全生产的指示、指令和本公司、本项目有关安全生产的各项规定,对分管施工范围内的安全施工负管理责任;
b) 组织项目工程的施工安全交底,协助技职人员完善交底内容,组织有关人员对本工程的安全设施进行验收;
c) 在协调施工程序、施工进度的同时,应严格执行已审定的安全施工技术措施和有关安全规定,不得擅自更改安全施工技术措施;
d) 对分管施工范围的一切施工活动的安全负有检查、监督的责任,有权及时制止一切违章违规的作业行为,并作好记录和反馈;
e) 对安全施工技术措施中或施工安全交底中提及的重大危险作业场所的施工,必须旁站监护;
f) 参加本工程施工的相关班组的“安全活动日”活动,参加相关班组的站班会;
g) 参加项目组织的安全检查,督促相关施工队及时认真地做好整改工作,做好整改工作的检查,并在有关记录上签字。
2.2.6 班组兼职安全员职责
a) 组织班组学习、贯彻安全健康与环境管理工作规程、规定和上级有关安全工作的指示与要求;
b) 协助班组长进行班组安全建设,负责主持各项安全活动;
c) 协助班组长组织安全文明施工,有权制止和纠正违章作业行为;
d) 检查作业场所的安全文明施工情况;检查和督促本班组人员执行安全施工措施及正确使用职业防护用品、用具,对发现的安全隐患及时上报;
e) 负责班组安全健康与环境保护的宣传教育,对新入厂人员进行第三级安全教育;
f) 负责做好安全活动、站班会记录,做好有关台帐,保管好有关资料;
g) 参加本班组安全事故的调查分析。
2.2.7 作业人员安全职责
a) 认真学习国家关于安全生产的法律法规,并自觉执行公司的职业安全健康和环境管理制度;
b) 施工中,作业人员应严格遵守本公司的有关制度和操作规程,严格遵守安全技术措施要求,严禁擅自改变施工程序和安全技术措施的规定,服从管理,正确佩带和使用劳动防护用品;
c) 服从安排,接受安全生产教育和培训,掌握本职工作的安全生产知识,提高安全生产技能,增强事故预防和应急能力,对违反“应知应会“而造成的事故负主要责任;
d) 不操作本专业使用的机械、设备;对自己不熟悉的工器具在使用前应提出培训要求,未经培训不可擅自操作;
e) 施工项目开工前,认真接受安全施工措施交底,正确领会并在交底书上签字;对无安全施工措施和未经安全措施交底的施工项目,有权拒绝施工并可越级反映;
f) 作业前检查工作场所,做好该做的安全措施,以确保不伤害自己,不伤害他人,不被他人伤害;下班前做好现场清理;
g) 施工中发现不安全因素或事故隐患,应立即向现场安全管理人员或者本单位负责人报告,有权拒绝违章指挥和强令冒险作业;
h) 认真参加每周定期安全活动及每天的站班会,积极提出改进安全工作的合理建议,有权对企业安全生产中存在的问题提出批评、检举、控告;
i) 尊重和支持安全管理工作人员的工作,服从安全管理工作人员的监督与指导,有权制止他人违章;
j) 发生事故时应立即抢救伤员,保护事故现场并及时报告;事故调查中应如实反映情况,分析事故时应积极提出改进意见和防范措施。
2.3 本工程执行的主要安全和环境管理法律、法规及标准(至少包括但不限于):
2.3.1 法律
a) 中华人民共和国劳动法
b) 中华人民共和国消防法
c) 中华人民共和国安全生产法
d) 中华人民共和国环境保护法
e) 中华人民共和国环境噪声污染防治法
2.3.2 法规
a) 化学危险品安全管理条例
b) 特种作业人员安全技术培训考核管理办法
c) 特种设备质量监督与安全监察规定
d) 起重机械安全监察规定
e) 施工现场安全防护用具及机械设备使用监督管理规定
f) 企业职工伤亡事故报告和处理规定
g) 国家危险废物名录
h) 放射性同位素与射线装置放射防护条例
i) 放射环境管理办法
g) 城市放射性废物管理办法
k) 职业病防治条例
l) 消防管理条例
2.3.3 行业规章、标准
a) 电力建设安全和环境管理工作规定
b) 电力安全监察规定
c) 电业生产事故调查规程
d) 电力建设安全工作规程(火力发电厂部分)
e) 电力建设起重机械安全监察规定
f) 电力建设施工机械设备事故调查处理规定
g) 电力建设大型施工机械设备管理规定
h) 电力建设大型起重机械的选型、安装和拆卸管理规定
i) 电力建设文明施工规定及考核办法
j) 电力工程施工安全设施规定
k) 建筑施工高处作业安全技术规范
l) 施工现场临时用电安全技术规范
m) 龙门架及井架物料提升机安全技术规范
n) 建筑施工安全检查标准
o) 建筑安全生产监督管理规定
p) 上海市建设工程文明施工管理暂行规定
2.3.4 管理体系标准
a) 职业安全健康管理体系试行标准
b) 环境管理体系(规范及使用指南)
2.3.5 国家标准
a) 安全标志
b) 安全色
c) 危险货物分类和品名编号
d) 职业性接触毒物危害程度分级
e) 起重机械安全规程
f) 起重机械超载保护装置安全技术规范
g) 用电安全导则
h) 建设工程施工现场供用电安全规范
i) 焊接与切割安全
j) 手持电动工具的管理、使用、检查和维护安全技术规程
k) 劳动保护用品选用规则
l) 特种作业人员安全技术考核管理规则
m) 建筑灭火配置设计规范
n) 建筑施工场界噪声限值
o) 劳动防护用品配备标准(试行)
p) 建筑卷扬机安全规程
2.4 本工程实施的安全管理体系
本工程施工范围较大,技术要求较高、工期紧等因素对施工管理提出了较高的要求,因此,我们深刻认识到本工程的施工过程将面临一定的职业安全健康风险。为确保安全事故零目标的实现,我们将以制度化、规范化、程序化和标准化的管理手段,引入国际通行的OHSAS18001(GB/T28001)《职业安全健康管理体系》标准,通过风险辨识和评价,重大危险源的确定,安全控制措施的策划、组织和实施,持续改进和提高等过程,保证所有的施工过程和人员行为均在事先策划的安全控制措施之中,消除潜在的职业安全危害,实现安全管理目标。
2.4.1 确定本工程重点控制的重大危险源
我公司根据确定的风险辨识评价程序组织对本工程面临的安全风险的调查、辨识和评价,初步确定下列项目为本工程的重大危险源,并将在工程开工前根据业主、监理等相关方的要求及本公司员工的意见,补充确定重大危险源。
a) 电气设备及电动工器具引起的触电
b) 施工用电线路触电
c) 构件吊装坠落及打击伤人
d) 脚手架搭设和拆除引起的高处坠落及坍塌
e) 预留孔洞和临边引起的高处坠落
f) 高处作业坠落
g) 起重机械倾覆
h) 电焊切割引起输煤系统火灾
i) 调试和试运行中电焊切割火星引燃燃煤火灾
j) 危险品仓库遇明火、高温引起的燃爆
k) 油漆过程遇明火燃烧
l) 易燃易爆气体遇明火燃爆
m) 油类物品遇明火引起火灾
n) 探伤用放射性物质对员工及业主、监理造成健康伤害
我公司安全管理程序中规定,对确定的重大危险源,我方将制定相对应的管理方案,通过施工作业文件、技术监督、安全监督检查、内部审核等方法确保管理方案的贯彻实施,必要时还将组织应急预案演习。
2.4.2 本工程全面推行职业安全健康管理体系的设想
按照对本工程风险辨识的结果,我方将依据OHSAS18001《职业安全健康管理体系》标准建立起文件化的安全管理体系,实施以职业安全健康方针、目标管理为中心的全员、全过程、全方位的安全管理。
我公司职业安全健康管理体系的主要运作流程如下:

在系统分析阶段,我公司将根据各专业人员和典型工程的调查,确定所有我方施工作业和管理过程中可能产生的危险以及政府主管部门、业主及社会相关方的期望目标,确定危险源清单,根据危险源清单。我方组织有关专业人员并邀请业主等通过确定的风险评价程序、常规和非常规情况、作业场所的变化、合适的方法、相关方的意见,通过定量考评的方式确定重大危险源,并将重大危险源信息输入到安全控制措施中,编制相关的管理方案,通过措施实施过程中的检查和总结,将有关信息反馈到公司高层领导和职能部门,从而实现安全管理的持续改进。
2.4.3 我公司已建立的职业安全健康管理程序及其各管理要素间的关系
我方在建立和实施OHSAS18001《职业健康安全管理体系》标准的过程中,已按照该标准17 个要素叙述的要求建立了24 项管理程序及33 项作业指导书和相关记录表式,建立的24 项程序文件及33 项作业指导书如下:
24 项程序文件:
1) Q/DY003 DA001—2002《文件控制程序》
2) Q/DY004 DA002—2002《记录控制程序》
3) Q/DY005 AZ001—2002《管理体系评审程序》
4) Q/DY006 ZG001—2002《人力资源控制程序》
5) Q/DY007 CH001—2002《培训控制程序》
6) Q/DY008 AZ002—2002《内部审核程序》
7) Q/DY009 AZ003—2002《不合格品的控制程序》
8) Q/DY010 AZ004—2002《纠正与预防措施管理程序》
9) Q/DY001 GG001—2002《运行控制程序》
10) Q/DY012 GG002—2002《总平面和工作环境控制程序》
11) Q/DY013 GG003—2002《设施和设备管理控制程序》
12) Q/DY014 GG004—2002《产品实现过程策划程序》
13) Q/DY016 JY001—2002《物资采购供方评定及控制程序》
14) Q/DY017 JY002—2002《施工分包工程供方评定及控制程序》
15) Q/DY025 AZ008—2002《过程和施工产品的监视和测量控制程序》
16) Q/DY026 AZ009—2002《数据分析控制程序》
17) Q/DY027 AZ010—2002《危险辨识、风险评价和环境因素管理程序》
18) Q/DY028 DA003—2002《职业健康安全和环境、法律、法规管理程序》
19) Q/DY029 DA011—2002《职业健康安全和环境管理方案程序》
20) Q/DY030 AZ012—2002《协商与交流管理程序》
21) Q/DY031 AZ013—2002《应急预案与响应管理程序》
22) Q/DY032 AZ014—2002《现场安全环境监察管理程序》
23) Q/DY033 AZ015—2002《重大隐患管理程序》
24) Q/DY034 AZ016—2002《事故、事件调查处理报告和统计管理程序》
33 项工作指导书:
1) Q/DY035 ZD001-2002《施工设计及设备变更管理规定》
2) Q/DY036 ZD002-2002《施工技术交底规定》
3) Q/DY038 ZD004-2002《危害辨识和危险评价》
4) Q/DY040 ZD006-2002《安全技术措施管理规定》
5) Q/DY041 ZD007-2002《分包工程安全和环境管理规定》
6) Q/DY042 ZD008-2002《临时建筑安全防火审核规定》
7) Q/DY044 ZD010-2002《安全施工措施编制规定》
8) Q/DY045 ZD011-2002《安全施工作业票管理规定》
9) Q/DY046 ZD012-2002《大型施工机械安全管理规定》
10) Q/DY047 ZD013-2002《小型施工机械安全管理规定》
11) Q/DY048 ZD014-2002《起重与运输安全管理规定》
12) Q/DY049 ZD015-2002《起重工器具安全管理规定》
13) Q/DY050 ZD016-2002《电动工器具安全管理规定》
14) Q/DY051 ZD017-2002《焊接与切割安全管理规定》
15) Q/DY052 ZD018-2002《锅炉压力容器管理规定》
16) Q/DY053 ZD019-2002《施工临时用电管理规定》
17) Q/DY054 ZD020-2002《脚手架安全管理规定》
18) Q/DY055 ZD021-2002《消防设施管理规定》
19) Q/DY056 ZD022-2002《安全防护设施管理规定》
20) Q/DY057 ZD023-2002《有毒有害物品废物处理管理规定》
21) Q/DY059 ZD025-2002《危险品安全管理规定》
22) Q/DY060 ZD026-2002《交通安全管理规定》
23) Q/DY061 ZD027-2002《明火作业管理规定》
24) Q/DY062 ZD028-2002《避雷装置检测管理规定》
25) Q/DY063 ZD029-2002《季节性施工安全管理规定》
26) Q/DY064 ZD030-2002《高处作业与交叉作业安全管理规定》
27) Q/DY065 ZD031-2002《尘毒、射线作业安全管理规定》
28) Q/DY066 ZD032-2002《防台防汛安全管理规定》
29) Q/DY067 ZD033-2002《拆除工程安全管理规定》
30) Q/DY068 ZD034-2002《施工噪声控制管理规定》
31) Q/DY069 ZD035-2002《劳动防护用品、安全防护设施申购、采购、检测管理规定》
32) Q/DY071 ZD037-2002《职业病防治管理规定》
33) Q/DY073 ZD039-2002《安全工作会议管理规定》
上述程序所覆盖的管理要素经归纳符合以下关系,如下图:

2.4.4 我公司已建立的职业安全健康管理体系运行情况
我公司于2000 年7 月开始全面贯彻OHSAS18001《职业健康安全管理体系》标准,建立的体系文件已在************电厂二期工程#5 标段,************电厂八期2×600MW 机组工程等工程运行,公司各相关管理部门和大部分员工已经经过该标准的宣贯和程序文件的培训,我公司工程管理已全面推行这一标准。
我公司建立的职业健康安全管理体系将对本工程安全管理提供标准化管理上的支持,保证能将河南************有限公司2×300MW 机组工程烟囱、冷却塔工程工程施工中可能产生的各类危险源给予全过程的控制,从而实现我方确定的本工程安全管理目标。
3.1.1 本工程项目管理部和专业工地的专职安全管理人员都经过政府管理部门组织的系统安全管理知识的培训,并经政府劳动安全监察部门考核合格持证上岗。专职安全管理人员都至少具有五年以上现场施工管理经验,具有较高的文化、专业素质和工作责任心,能够适应本工程安全管理的要求。班组兼职安全员将经过公司职能部门组织的安全管理知识的培训,并经考核合格方可上岗,他们都具有一定的施工实践经验和较高的工作责任心。
3.1.2 参加本工程施工和管理的各级部门、各层次员工在进入现场以前,都将经过项目管理部组织的针对本工程特点的安全管理制度、施工安全管理程序以及相关专业安全知识和安全责任制的培训,并经考试合格方可上岗。
3.1.3 所有外来人员和外借工在进入本工程施工前,都将经过项目管理部、施工队、施工班组组织的安全知识、安全管理制度和施工安全管理程序的三级安全教育,安全教育时间不少于三天。所有外来人员在三级安全教育后经考试合格获得身份识别卡后才能安排进入本工程施工。
3.1.4 本工程各施工班组和有关管理部门实行每周一次(不少于1.5 小时)的安全活动日制度,每次活动有具体的学习内容、记录。项目管理部和专业工地二级专职安全员对安全活动日的实施情况进行检查和监督。
3.1.5 结合每年六月份全国安全生产月活动要求,开展形式多样的安全宣传教育活动,包括每年组织一次全员安规学习和考试每个职工每年参加一次以“安全责任重于泰山”为主题的安全电视录像教育和事故安全警示教育等,以此增强职工安全施工意识,创造良好的安全施工氛围。
3.2 特殊工种作业人员的管理
3.2.1 本工程施工中将对涉及设备安装操作、安全管理的特种作业人员进行安全资格控制,保证特殊工种作业人员上岗持证率达到100%。这些特种作业人员是起重指挥挂钩工、起重操作工、架子工、电工、明火作业工、安全员。
3.2.2 特种作业人员上岗前,均由政府劳动安全监察部门进行上岗资格培训,经考试合格获省或直辖市一级的劳动安全监察部门的上岗证书后方可上岗,所有人员均二年复训一次,合格后才能上岗。我们将保证上述工种的作业人员均具有相应的资格,其专业操作水平能够适应本工程施工需要。项目管理部安全主管组织对上述人员进行施工过程中的日常培训和监督。
3.2.3 所有特殊工种作业人员的上岗资格证书将由施工管理部统一保管,作业人员本人随身持有受控的复印件随时接受业主或监理以及政府管理部门的监督检查。
3.3 安全检查和安全监督
3.3.1 本工程将实行班组、施工队和项目管理部三级安全检查制度。各施工班组安全员每天施工前和施工后对施工区域进行安全检查;施工队专职安全员每周至少一次进行本专业施工区域的安全检查;项目管理部专职安全员每月至少组织一次施工现场的全面安全检查。所有的安全检查都将被记录并在规定的时间内整改封闭所有的安全隐患。
3.3.2 日常施工过程中,项目管理部、施工队和班组三级安全员将按照每天划分的安全监督区域进行不间断动态安全监督,落实安全监督区域责任制,各施工人员采用互相之间人盯人的安全监督措施,确保消除各类安全隐患。
3.3.3 本工程采用的安全检查形式有:日常安全巡视、一般性和阶段性安全检查、专业和季节性安全检查、施工机械的定期安全检查。这几种检查方式可以结合进行,也可以分别进行。
3.3.4 根据查领导、查管理、查隐患、查事故处理的“四查”内容,建立事故隐患的登记、整改、检查、封闭制度及管理台账。
3.3.5 对业主、监理、政府安全监督部门安全监督检查中发现的安全隐患,由项目管理部经理落实各责任单位整改封闭,安全主管监督、验证整改封闭和预防再发生的情况。
3.4 安全防护
3.4.1 本工程所有施工和管理人员统一着装和佩带上岗标志以及身份卡以接受安全监督。
3.4.2 所有使用的劳动防护用品将由物资部门统一到政府劳动安全监察部门定点企业采购,使用前须经项目管理部安全管理人员进行质量检验,对安全帽、安全网绳、安全带等重要劳防用品还将委托有关监察单位进行抽样破坏性试验,符合质量要求的劳防用品方可发放使用。
3.4.3 劳防用品的采购、贮存、配备使用、更换要求等制度将被明确规定,保证各类人员足额配备和规范化使用劳防用品。
3.4.4 落实火电施工安全设施规定中的安全设施标准,严格执行制定的安全设施搭设、检查、使用、维护和拆除规定,使安全防护设施标准化、规范化。
3.5 安全事故的处置、报告和防范
3.5.1 本工程将采取有效措施控制安全、消防事故的发生。安全、消防事故将按照《电业生产事故调查规程》和《电力建设安全健康和环境管理工作规定》的要求建立事故即时上报和月、季、年报制度。重伤及以上安全事故、重大及以上火灾事故在及时采取措施的同时于事故发生后的4 小时内逐级上报至业主、劳动安全监察和消防部门。
3.5.2 对发生的安全消防事故及重大未遂事故,将严格按照事故原因分析不清不放过、群众和事故责任者没有受到教育不放过、没有制定出防范措施不放过和没有对事故责任者作出处理不放过的“四不放过”的原则实施当事人、班组、施工队和项目管理部分层次的原因分析、处理教育和事故防范。
3.5.3 本工程将确保“安全第一、预防为主”安全方针的贯彻执行,对超过二次以上被查出违反安全规程受处罚或不接受安全整改措施的施工人员将被清除出本工程。
3.6 安全考核
3.6.1 本工程安全管理将与各施工队、各管理部门和施工人员挂钩,在执行电力部《电力安全生产奖惩规定》的基础上,制定和实施本公司《全员安全承诺书制度》、《违章、违纪处罚实施条例》;
3.6.2 每月在对各施工队进行施工、经营考核的同时,考核安全管理,把安全工作直接与业绩和效益挂钩;
3.6.3 现场专职安全人员严格执行有关安全管理条例,对违章现象在责令纠正的同时进行重罚,各类违章处罚情况将被记录,作为各单位、部门和职工个人考核的依据。
3.7 安全管理计算机网络化
3.7.1 本工程安全工作将实现计算机网络化动态管理,建立的安全管理数据库将实现各施工队、项目管理部、本公司和业主、监理的数据共享,施工现场每天的安全动态将于当天傍晚传输到计算机各网络单位;
3.7.2 计算机网络共享的安全管理数据主要有以下内容:安全事故及未遂事故状况、职工安全教育动态、特殊工种作业人员持证及初、复训情况、外来人员及外借工变动和安全教育情况、安全活动及安全专题会内容、安全检查及事故隐患整改项目及封闭情况、安全奖惩及事故通报、安全动态分析报告等;
3.7.3 本工程月、季、年的安全报表、一般安全事故报告、安全检查及整改台帐等将全部通过计算机网络实现分级报告制度。
3.7.4 本工程将运用计算机进行人员安全动态管理,所有进出各作业点的施工现场人员手持身份识别卡通过计算机自动识别系统进行记录,便于对现场人员进行安全控制和管理。
3.8 重要危险源的防范控制措施
3.8.1 确保人身伤亡事故为“0”的控制措施
3.8.1.1 防高空坠跌
a) 进行吊装作业时各层平台、扶梯、栏杆和安全网同步进行安装。
b) 脚手架全部采用钢管材质,钢管材质符合JGJ130-2001 标准的要求。所有脚手架按任务单搭设后,均需经搭设班组负责人、使用班组负责人和使用班组所在的工地专职安全员三方验收合格,确认载重量、使用期限并挂牌后方可使用,在使用期限内任何人未经书面批准均不得拆除或割断脚手管,使用班组如需延长使用期需重新申请并由专职安全员更换挂牌。大面积和重点部位搭设的脚手架还需经项目管理部质安部专职安全员验收合格。
c) 施工现场所有的孔洞都有固定可靠的盖板,所有盖板均统一规格,盖板上有黑黄相间的色标以防随意拆移。施工现场需开孔应经书面申请,经专业工地专职安全员批准后方可开孔,开孔后应立刻采取防护措施。
d) 各平台开口处和井坑均有不易碰断或不易随意拆除的可靠的钢管拦杆围护,钢管栏杆有统一的黑白相间的色标,对于无条件安装铁栏杆的地方,应加装双层手扶安全绳索并张挂红白带;
e) 因施工需要临时拆除孔洞盖板和栏杆的应通过专职安全员,并由拆除人指定专人监护,施工结束或施工中止时立即恢复孔洞盖板和栏杆。
f) 进入施工区域须在离每层地面2m 以上施工或可能造成坠落的区域内施工的人员必须佩带安全带,施工时安全带必须挂钩在可靠处。
g) 所有可能进行高空作业的施工人员进入本工程前将进行一次体检,以确保登高作业人员不患有高血压、心脏病等不适合高空作业的疾病,未经过体检或体检不合格的人员一律不得进入高空施工。
3.8.1.2 防物体打击
a) 施工现场实施装配式施工,落料工作基本在厂房外进行。高空作业使用的材料和工器具均采取防止坠落的措施,并且做到“落手清”。
b) 高空吊装物体,应采用捆绑式吊装方法加装速差自控器以防绳索滑动导致物体坠落伤人,在吊机伸臂半径范围内严禁站人,吊装过程中应指定专人监护。
c) 施工人员严禁相互间或向上、向下抛物,在钢格栅、孔洞上和半空中施工,必须做好防落物隔离措施。
d) 在使用吸铁电钻、电锤时采取固定防范措施,砂轮机等转动工具必须可靠,砂、钻头等需固定牢固,以防飞出伤人。
3.8.1.3 防触电事故
a) 开工前编制临时用电设施施工措施,用电设施应符合GB50194-93《建设工程施工现场供用电安全规范》和DL5009.1-2002《电力建设安全工作规程》。
b) 现场落实施工区域用电管理责任人,制定和执行《施工临时用电安全管理规定》,本工程施工现场统一实行三相五线制临时用电制度。配电间各配电箱进出线路及负载名称均书面确定并挂于明显处。
c) 现场用电的配电箱和拖线盘均按设计标准统一制作,经检测合格且装置完好、标识统一,能够符合劳动安全监察部门的有关要求。施工中,所有配电箱保证数量充足且定置放置,插座箱电源线拉出长度不超过30m。所有电源线均实行一机一闸一保护。
d) 加强对用电设施和电动工具的检查维护。配电箱、拖线盘的电动工具都经过定期检测合格,并有明显检测合格标识,所有的配电箱,拖线盘和电动工具都有台帐并办理使用登记手续。
e) 所有电动机具外壳均有可靠的重复接地。
f) 施工现场照明全部采用固定照明。
g) 对有关专业主要施工人员进行电气安全知识培训并组织考试,执行书面用电工作票管理制度,书面确定用电工作票申请人和监护人。
3.8.2 确保重大火灾及燃爆事故为“0”的措施
3.8.2.1 控制电气火灾事故的措施
a) 施工区域的施工照明采用固定照明,敷设的线路有防护措施。
b) 现场使用的配电箱统一规格,定位设置并配备足够的数量,配电箱内的电气设备电源保证可靠,每天落实专人检查。
c) 电动工具、电焊机等电源线有可靠的绝缘,不得裸露芯线,主要通道区域电源线路径不得落地设置,以确保电线绝缘的可靠。
d) 施工现场、生活区一律不使用电炉、电炒锅和大功率取暖灯等用电设备,焊条仓库等使用大功率照明灯的区域必须经过批准并有严密的防护措施。
3.8.2.2 控制易燃易爆物品火灾事故的措施
a) 施工现场氧气、乙炔等气瓶的管理实行定点放置,设置金属防护围栏,氧气、乙炔气瓶的相隔距离均在5m 以上,气瓶的防爆装置、压力表计齐全可靠,各类气瓶的运输搬运由专人实施并有可靠的防滑落措施,放置区域与贮油和动火区域保持安全距离。
b) 施工现场设置可靠的危险品仓库,其设置位置、结构、面积符合消防主管部门的规定要求并主动征求消防部门的认可,防雷装置雨汛前委托消防部门检测确保防雷装置可靠。
c) 高温季节油漆、汽油等易燃物品从危险品仓库领运至现场时采取早晚运输、遮阳、避火源等防护措施,确保万无一失。在设备进油、大面积油漆的区域禁止动火。
d) 本工程我方施工人员在施工现场实施禁止吸烟措施。
3.8.2.3 控制电火焊火星溅落火灾事故的措施
a) 电焊、火焰切割施工人员全部经政府劳动安全部门的动火资格培训持证上岗。
b) 施工区域将尽可能采用装配式施工方法,禁止在施工区域未经批准动用风焊切割任何设备和部件。
c) 风焊切割下的铁件不准直接向下坠落,应在采取收集措施后方可割落。
d) 在明令禁火区域严禁随意动火、焊接,因施工需要动火时,按规定办理动火手续,经批准方可动火施工,动火施工结束后明确责任人监督,确保不留火源。
e) 各级动火作业票施工和批准人员均经培训考核,并以书面文件报业主或监理审核批准。
3.8.2.4 防火消防设施的设置
a) 在重要防火区域设置各种规格足够数量的消防器材。
b) 所有消防器材的设置均定置放置,灭火机等介质均在有效期内,灭火沙桶定期更换。
c) 现场有足够的消防水源,设置消防贮水池和贮沙池。
d) 现场确保消防报警系统可靠。
3.8.3 确保同一现场重复相同事故及重大未遂事故为“0”的措施
3.8.3.1 实施安全事故“四不放过”原则
a) 本工程将通过安全管理计算机网络化措施,及时通报施工安全状况,能够保证安全事故在最快的时间内通报到施工现场各班组;各类安全事故将由第一安全责任人组织事故分析,找出原因,并组织每个员工学习。
b) 各类安全事故将按照电力部《电力生产事故调查规程》要求进行分层次地调查处理,对发生重大未遂事故或具有普遍意义的安全事故倾向时将组织停工整改。
c) 对安全事故的处理严格执行事故原因分析不清不放过、群众和事故责任者没有受到教育不放过、没有制定出防范措施不放过和没有对事故责任者作出处理不放过的“四不放过”原则,把“四不放过”原则落实到每项安全事故的处理中去。
3.8.3.2 加强对同类事故的防范
a) 按造成事故的原因进行现场普查,消除类似隐患。属于施工环境因素造成的事故,停工整顿环境;属于劳动技能原因造成的事故,对有关人员进行培训,合格后再安排上岗;属于工作责任心或违章操作原因造成的事故,调整有关责任人员岗位或清除出本工程;属违章指挥原因造成的事故,追究有关领导责任。
b) 对同类型的事故隐患指定专人重点控制、监护
c) 实施安全保证金制度和经营考核制度,按有关规定对责任人员和单位进行考核处罚。
3.9 烟囱施工专项安全措施
3.9.1 安全工作规定
a) 所有作业人员进入现场必须遵守公司的安全规章制度和安全规程,坚持“安全第一,预防为主”的原则,消除事故隐患,杜绝事故发生。
b) 所有参加高空作业的人员,须经体检合格,不符合要求者不得参与施工。各作业人员须经过安全三级教育、技术规程教育。特殊工种均持证上岗,做好审证工作。
c) 作业人员进入现场须戴安全帽、扣好帽带,安全设施不全时须戴安全带,安全带扣在牢靠的地方。作业人员衣着灵便,不得穿硬地鞋或钉掌鞋。
d) 严格执行登高证制度,无关人员未经同意不得上爬升平台、各层钢平台。登高参观人员,须经安全部门同意,有人陪同,且遵守一切安全规定。无证不准登高。
e) 所有操作人员,所有特殊工种人员(包括起重工、操作工、竹工、焊工)均应持有效上岗证件,严禁无证操作。
f) 在施工过程中,严禁坐在平台、孔洞边缘,不得用手拉安全网,以防不测。特别注意临边、临洞处的安全。
g) 施工前组织全体作业人员进行技术安全交底,进行安全学习。按规定进行安全检查,作好记录,发现问题及时整改,消除事故隐患。
h) 在危险区域设立明显标志,在进出口处应派专人值班,严禁随意进入。在烟囱施工区域四周严禁人员逗留或休息。
i) 施工人员应佩带工具袋,较大的工具应用绳栓在牢固的构件上,不得乱放。筒身内外严禁交叉作业。
j) 所有用电机具、电器设备、配电盘、配电箱等进场须测试合格,不合格者严禁使用。所有机电设备每班检查一次。整个烟囱施工用电及用电机具,由电工专门负责检查处理,非本工种专业不得玩弄机电设备设施。
k) 各种电器设备应有良好接地,并配有漏电开关。作好防雨防潮措施。电工应经常检查电器设备、线路,特别是电动移动工具的检查,杜绝漏电触电事故的发生。
施工用电不得间断。
l) 严格执行交接班制度,各项操作均做全面记录,包括上下台班长记录,各工种记录、卷扬机运行记录、技术记录等。严格执行岗位责任制,各尽其职。
m) 氧气、乙炔瓶应远离明火10m 以上,相互间隔也不得少于5m 以上。电焊线严禁在钢筋等上面乱拖拉,以防发生漏触电事故。
n) 吊笼、卷扬机上的钢丝绳、导轮、滑轮、卡子、地锚保护装置应符合有关规定,并有专人负责检查、维护。
o) 做好现场的文明施工工作,保持场地清洁,道路畅通,堆物整齐,排水畅通,无垃圾堆放。杜绝野蛮作业,创造一个良好的施工环境。
p) 严禁所有施工人员酒后上岗,严禁在睡眠严重不足的情况下进行现场施工尤其是高空作业。
q) 在施工中所需要的扳手、榔头及其它工具均应用绳子结牢,施工时结在手腕上,严禁放在钢梁、烟囱筒顶、吊脚手架上。严禁向烟囱下抛置任何物件。
3.9.2 烟囱混凝土外筒施工时安全措施
a) 烟囱混凝土外筒施工时30m 范围内设立危险区,拉一圈红白带作安全防护。进出烟囱的道路搭设双层竹笆安全防护棚,搅拌机棚、钢丝绳过道处也应搭设双层竹笆防护架,防护棚上铺设薄铁皮,严格按规定搭设。施工人员严禁在防护棚外逗留或休息。
b) 夜间进行施工,必须有足够照明(包括平台上下、筒壁内外),小扒杆夜间设置信号指示灯,井架顶设置航空信号灯(20m 以上)。移动式照明电源的电压不得超过36 伏,动力电源线严禁直接捆扎在金属杆上,220 伏或380 伏必须用橡皮绝缘电源线,配有触电保护装置。
c) 平台上小扒杆吊运时限载500kg,严禁超载,顶部设有限位装置,吊钩封闭。小扒杆吊运物品时应分清规格、长度,不得混吊,吊物设稳绳,其下方不得站人。小扒杆有专人指挥,专人操作。
d) 爬升平台四周设置栏杆,用安全网围护。严禁往下或往上抛扔物品,以防物落伤人。平台四周设立1.2m 高的防护栏杆,用铁丝围护。在扒杆下部的栏杆,用角铁或钢管加固。内外吊梯的外侧和底部以及工作平台的底部设置安全网。
e) 施工平台的铺板及吊梯上的铺板,应优先采用5cm 厚的木板。随着烟囱直径的缩小,铺板也做相应的变动,铺板固定牢靠,严禁出现翘头板。
f) 内外安全网、脚手板、平台铺板、防护棚等安全设施经常检查,发现问题及时修复,并作好记录。安全网等定期清理,清理宜放在下午四点左右,专人清理派人监护,上下联系。在牛腿处支模和拆模时,严禁将材料堆放在安全网上。
g) 升模平台上安装避雷接地装置,须可靠有效。平台避雷器用导线与引下线接通,每20~30m 测试一次,且作好记录。
h) 筒壁上照明采用36 伏的低压灯,0m 以下采用12 伏低压灯,行灯须有保护罩。各种电源线、电缆位置明显,固定牢固,注意保护。
i) 平台上、筒身内、卷扬机棚等配备足够的灭火器,做好防火工作。
j) 吊笼上部作好翻板以便混凝土浇筑时作为挡板,防止石子飞溅坠落伤人。所有洞口加盖盖板。
k) 烟囱底部、平台上、卷扬机棚之间,应配备声光信号及通讯联系。卷扬机操作严格执行操作规程,保证安全畅通,且一定要听清信号后才运行,严防误操作。操作人员要精心操作,发现意外立刻切断电源,按紧急停止按纽。
l) 吊笼乘人不得超过4 人,严禁人货混乘,吊笼停稳后方可上下。吊笼限载不得超过900 公斤(0.3 ㎡ 混凝土)同时经常清理料斗。
m) 平衡铁压重(含自重))20m 以下小于1.0t;20~100m 小于1.2t;100~150m 为1.3t;120~200m 为1.5t;200m 以上为2t。但还视导索松紧作适当调整,须经技术负责人批准。
n) 钢筋放在平台上,20m 以下小于2t;20~100m 小于1.8t; 100~150m 为1.5t ;120~200m 为1.2t;200m 以上为小于1t。当吊物放下后,应及时分散均匀堆放,随吊随用,特别注意钢筋、爬杆放置在稳妥的地方,防止滚落伤人。平台上杂物及时清理装走,尽量减少平台荷载,避免集中荷载。
o) 吊笼、搅拌机清理时,先切断电源,并挂牌警告,派专人监护。吊笼下部清理,应在洞口搁置道木或槽钢,以作为保险。搅拌机要将空斗挂钩。
p) 打圆尺等在吊脚手架上作业或悬空作业,一律系好安全带,钩子扣在牢靠的结构上。打圆尺时挂在吊笼总绳时,要吊笼关机。
q) 拆除、改装平台时,停止下方一切作业,在四周危险区域派专人监护,通道全部封闭。
r) 注意收听天气预报,如遇6 级以上大风,雷雨等恶劣天气,应停止作业。做好平台加固措施,保证平台稳固。台上施工人员迅速下到地面,切断电源。
s) 台上凡第一个操作人员上去,要求立即做好通信、监护工作,防止发生意外。做好井架、平台等处的清理工作,杜绝物从高空坠落。
t) 上下吊笼、小扒杆、看机处必须配备有线对讲机,且辅以无线对降机,确保通信畅通。值班长应加强对安全质量的交底和检查工作,做好交接班工作,消除事故苗子。
u) 平台提升前必须进行荷载试验,吊笼、小扒杆也要试荷,卷扬机试刹车,专人调试,运行中每班检查一次。值班人员每天要做好刹车系统维护、清理工作,每班对平台系统、井架、天地轮、卷扬机等检查一次,并做好记录。发现问题及时处理,确保安全。
v) 在整个提升过程中,保证各操作、各工种相互协调、相互配合,各环节紧密相连。平台上下、筒身内外,力保井然有序,指挥得当,通信、信号联系畅通。指挥人员加强全面协调,保证施工顺利进行。
3.9.3 烟囱支撑平台、内筒砌筑安全措施
a) 自行设计的内吊盘应经过试吊经公司安全、动力等部门签证,总工室批准后方可投入使用,若发现悬吊钢丝绳断丝严重应进行更换。
b) 在施工中所使用的吊索具均应满足五倍以上的安全系数,捆绑钢丝绳应满足十倍安全系数,吊笼用起吊钢丝绳应满足14 倍安系数,严禁使用已达到报废标准的钢丝绳,所有钢丝绳都应具有生产厂的合格证明。捆绑钢丝绳应做好包角保护。并在每天施工前对所有施工用的吊索具进行检查,在确认安全可靠的情况下方能进行使用。
c) 施工用的链条葫芦若是新购买的除了有出厂证明外,还应派施工人员进行检查或润滑工作,已多次使用的均应进行检修,发现不合格的不准带入现场进行使用。
d) 施工中所选用的所有链条葫芦在使用前应进行检查和试荷规定。不合格的一律不准使用。链条葫芦在就位或到位停用时,应及时做好锁链工作。严禁链条葫芦超载工作、不使用的链条葫芦应挂放在专用托架上,并在葫芦上明显位置标出其额定负荷,以免错用。
e) 施工人员所乘坐的吊笼限载为4 人,额定载重为500Kg 严禁客货混载,严禁氧气瓶与乙炔瓶同装一笼进行吊运,严禁超载。吊笼在每班施工前应进行检查双滚筒卷扬机,起吊钢丝绳、吊笼自身结构、吊笼导索、吊笼高度限位,二次井架结构及避雷设施。吊笼出入口(零m 层)应设置围护设施,不得在吊笼坐架范围内堆放物件或有人员走动、停留,当吊笼中载人载物时应关上保护横挡。吊笼中堆物时应使堆物重心与吊笼中心尽量相重,以防止起吊过程中吊笼的严重晃动。吊笼在每班工作结束后应停放于零米层,并严禁在吊笼上牵挂任何东西,吊笼坐架四周的50cm 范围内应严禁堆放杂物,尤其是钢丝绳。施工人员每次跨离吊笼后应关上围护门。
f) 所有构件一律不准采用捆绑吊,应根据设计图焊接吊耳。构件在起吊、移位、接钩过程中不得于其他物体相冲撞,尤其是内吊盘钢丝。
g) 内吊盘上严禁集中堆放材料,材料要均匀分配。
3.9.4 发证规定
a) 在施工阶段前施工单位必须向项目安全组申报登高作业人员名单和工种类别,有安全组进行教育再送医务组进行身体检查,经检查合格者,方可办理“登高证”
b) 日常管理人员登高检查有工程部确定名单送安全组登记,有医务组进行身体检查,经检查合格者,方可办理“登高证”。
c) 外人员检查、参观应得到项目经理室批准后,有带队人员到安全组签用“临时登高证”。检查、参观结束后带队人员负责收回“临时登高证”送安全组销帐。
d) 在施工阶段“登高证”与“上岗证”有同等效力,烟囱滑升结束“登高证”失效。对遗失、未销帐的人员按每张20 元的重新补证处理。
e) 登高人员进入吊笼内必须把“登高证”佩带在胸前明显处,接受操作人员的检查。
f) 操作人员在开机前应控制吊笼内的人员数量,并且核实登高人员的“登高证”。
g) 无证或不佩带“登高证”人员,严禁登高。
h) 吊笼内有货物不得在乘载人员,严禁人货混装。每只吊笼最多准乘四人以下(含四人)。
i) 进入吊笼内必须把门栓挂好,并不得向外仍东西。
j) 登高人员应听从操作人员的指挥。
k) 违反上述规定均处罚100 元。
3.9.5 机械检查、保养、维修规定
a) 每天进行一次全面机械检查,每班一次对卷扬机传动、滑轮导向检查,并且做好记录。
b) 每周一次项目处机管人员抽检,每月进行大检查发现问题及时处理,并且有书面分析报告和预防措施。
c) 在不停机的时间内不得保养。在保养前要和值班长取得联系,得到许可放可工作。
d) 维修人进行修理时不得擅自调换主要部件,更换变动必须得到主管部门同意。
e) 任何保养、维修工作必须要有记录。
3.9.6 吊笼操作规定
a) 必须树立牢固安全责任性,认真操作每一步,作一名合格的操作工。
b) 上下讯号必须一致,除音响信号外还应设灯光信号。
c)操作人员必须持证上岗,并佩带胸卡接受检查。
d) 每班操作人员应正确详细登记工况记录,重大问题立即汇报。
e)接班时应看清记录内容,问清上一班的工作状况。
f) 班前检查通讯、限位、门闩、操作台上指示灯、按钮及周围环境。
g) 在操作过程中,应认真做好打铃规定,凡打铃无回声不得擅自起动,必须用有线对讲机问清后方可操作。
h) 负责督促乘载人员门闩的关闭和井架门闩的关闭。
i) 有权拒开违反规定的操作。
j) 有权检查乘载人员的登高证。
k) 何人不得强行指挥操作人员的正常工作。
l) 每班结束时做好整理,清扫工作。
3.10 冷却水塔施工专项安全措施
3.10.1 一般规定
a) 应编制施工安全技术措施并经总工程师批准后执行。
b) 参加施工人员应经体格检查合格并发给“高处作业合格证”,凭证登高作业。
c) 水塔(贮水池)30m 以内为危险区,不能满足时应采取措施。主要通道及进出口的上方应搭设隔离防护顶棚,进出口处应设专人值班。危险区内严禁明火。
d) 盘道架周围应保持整洁,不得堆放易燃物。道路应保持畅通。水塔、贮水池及盘道周围应做好排水措施。盘道架应定期检查,大风雨后应加强检查。
e) 为保证通风筒壳的屈曲稳定,筒壁应连续施工到顶,如遇特殊情况必须分期施工时,应采取诸如减少施工设施的荷重和加强施工平面的环向刚度等有利于壳体稳定和安全的有效措施。
f) 在施工工艺设计和施工过程中,凡涉及结构强度、稳定或有特殊要求的如提升井架、吊桥、缆风绳及地锚等必须经计算、井架顶部应设避雷装置。
g) 要有可靠的施工电源。条件许可时宜设置专用的施工电源,以保证施工过程的连续性和施工安全。
h) 筒壁应避免冬期施工。如必须进行冬期施工,应符合各期施工的各项规定。
3.10.2 垂直运输设置应符合下列规定:
a) 筒壁施工用的载人电梯、料斗和扒杆等设施必须经过设计或复核。载人电梯必须具有可靠的安全装置,使用前必须按规定进行荷载试验。附着手筒壁的电梯,其附着点的间距及锚固装置必须满足设备要求,锚固处必须验算筒壁强度;
b)施工人员必须乘坐乘人吊箱或从扶梯上下,严禁乘坐混凝土吊斗上下。乘人吊笼应符合本规程“烟囱工程”的有关规定;
c) 筒壁施工用的金属竖井架及其缆风绳应进行施工设计和验算,综合考虑井架的高度、施工荷载、缆绳的初拉力和倾角;
d) 竖井架的基础应进行设计,预埋螺栓位置偏差不应大于20mm,基础周围应采取防止积水的措施;
e) 竖井架组装用的扒杆应经强度、刚度校核。当使用木扒杆时其小头截面直径应大于150mm,且扒杆底座的木垫板厚度应大于60mm,在两端横杆上的搭接长度应大干200mm;
f) 井架组装应在立杆插入后随即将水平杆、斜撑杆用螺栓临时连接,在插入其上一层的立杆后,再逐根拧紧该层所有螺栓;
g) 组装高度达到一个缆风层间的高度时,应立即设置缆风绳,同时应进行井架中心及扭转的测量和校正;
h) 缆风绳设置的数量、角度、初拉力及其它地锚等必须按照施工设计所规定的要求进行施工。施工过程应检查缆风绳松弛所引起初拉力的降低,并随即予以补拉;
i) 竖井架上悬挂的吊桥必须进行桥身的强度、刚度以及其提升、悬挂钢丝绳的计算,使用前应进行荷载试验;
j) 吊桥的提升必须有统一的指挥。提升后必须与井架卡牢。吊桥四周应设1.2m 高的栏杆。吊桥铺板采用5cm 厚的优质木板并固定牢靠,严禁任意拆除或搬动,铺板搭接长度不得少于50cm。
3.10.3 采用人工提升操作架应符合下列规定:
a) 操作架外侧必须设置顶撑和水平连杆;
b) 操作架各杆件和连接螺栓,在每次安装时必须逐根检查,如发现有开裂、破损、弯曲、丝扣损坏的,不得使用;
c) 操作架上的脚手板宜采用木质专用脚手板,其厚度由计算确定,脚手板应铺平垫实。吊篮脚手板的厚度不得小于50mm,并必须相互搭接在吊篮的横杆上,搭接长度不得少于200mm。
d) 操作架拆除时,应随即吊运到最上层,且分散搁置,不得集中堆放;
e) 内外操作架间的对销螺栓应采用Ⅰ级钢,直径由计算确定,但不小于16mm。
3.10.4 悬挂式操作架应经设计,焊接应牢固,并应遵守下列规定:
a) 操作架的施工荷重不得超过设计规定,一般为3.72kN/㎡(380kg/㎡)浇灌混凝土时,施工荷重应力求均匀,不得集中在一侧;
b) 操作架安装时螺母必须拧紧,栏杆应完整、牢固,使用过程中应有专人进行检查、维修;
c) 施工人员均应系安全带,安全带应栓在靠模板一侧的立杆或横杆上,不得拴在其它杆件上;
d) 在操作架下层工作时,应从指定地点上下,严禁任意攀越,内外操作架必须拉设全兜式安全网;
e)三角形吊架应悬挂牢固,吊钩应设锁环。拆三角架或模板必须使用吊脚手。严禁从将要拆除的架子上跨越。
3.10.5 装卸操作架(三角架)及模板时应配带工具袋,撬杠应用绳系牢,工具、拆下的模板及零件不得任意乱放或集中堆放。
3.10.6 拆除操作架时,刚性环的混凝土强度应达到设计强度的70%以上。
3.10.7 塔身施工所用移动式照明应用低压电源。其它电源线路应固定,并应有专人进行检查、维护。
3.10.8 拆除模板时,其下一节筒壁混凝土的强度必须达到如下要求。
a) 池壁:100Mpa;
b) 环梁、斜支柱(现浇):设计强度的70%;
c) 筒壁采用人工提升脚手架施工时,其上节筒壁混凝土的强度:6 Mpa ;
d) 刚性环:15 Mpa。
3.10.9 冷却水塔筒壁采用预制吊装方法施工时应遵守下列规定:
a) 吊装筒壁预制件的起重机械、索具等均应符合“起重与运输安全技术规程”的有关规定;
b) 吊装作业应由专人指挥,一般不宜在夜间进行;
c) 焊好的筒壁预制件应及时灌浆,严禁在未灌浆的筒壁预制件上站立或行走;
d) 每一个台班应尽量将一圈筒壁吊装合拢,否则应采取加固措施。
3.10.10 筒壁施工严禁和淋水装置施工交叉作业。
3.10.11 筒壁采用滑模施工时应遵守下列规定:
a) 操作平台、吊桥及吊架等必须经设计,平台荷重不得超过规定,人员不得集中在一侧工作,材料、器具等应分散均匀堆放;
b) 平台上不得堆集易燃物,并应备有消防器材;
c) 所有电气装置必须接地良好;
d) 内外脚手架必须设置安全网并栓挂牢固。组装滑升结构时应对架子进行检查后方可攀登;
e) 使用电梯、混凝土吊斗和扒杆等应有统一的联系信号。安全抱刹应由专人经常检查、维修;
f) 每班的施工速度必须控制,严防混凝土坍落;
g) 在吊桥及系统提升过程中,乘人电梯及吊桥均不得使用;
h) 吊装门架时,严禁人、物同时起吊。拆除门架时,扒杆每次挪动后皆应固定牢固。导向滑车走绳应正确,避免与混凝土摩擦。吊装及拆除工作均应由专人负责指挥;
i) 金属井架应定期检查基础、中心、缆风绳及天轮架等应良好,发现问题应及时处理。
3.10.12 安全网应定期检查和清理,其布设应遵守下列规定:
a) 塔内15m 标高处设一层安全网:
b) 塔外壁10m 标高处设宽10m 的安全网一层;
c) 顶层操作架外侧应设栏杆及安全网;
d) 钢制三角形吊架下应设兜底安全网。
3.10.13 喷刷水塔内壁防腐涂料应与筒壁施工同时进行。喷刷防腐涂料,除应按有关防止沥青中毒的规定执行外,还应遵守下列规定:
a) 不得在警戒区内熬制沥青;
b) 喷涂用空压机应有压力表及安全阀;
c) 应经常检查设备运行情况,表压应符合施工要求;
d) 疏通喷嘴时严禁对人;
e) 手沾沥青时不得操作电气开关及气闸门。
精心策划、规范作业、长效管理、顾客满意
4.2 文明施工管理目标
创建河南************有限公司2×300MW 机组工程烟囱、冷却塔工程施工的文明施工标化工地。
4.3 文明施工组织机构及管理网络
我公司将设置直接隶属于项目管理部经理的质量安全部负责文明施工监督管理和考核,工程部负责文明施工的策划、实施和改进。项目管理部、专业工地、班组设三级专兼职人员构成文明施工管理网络。
文明施工和环境管理各级人员的职责与安全管理职责相同,详细内容请参见安全与消防管理中“组织机构与职责”一节。
本工程文明施工管理网络图如下图所示。

我公司在本工程实施的文明施工和环境管理的措施有“六化”,即:
a) 总平面管理模块化;
b) 现场设施标准化;
c) 工程施工程序化;
d) 文明区域责任化;
e) 作业行为规范化;
f) 环境卫生一贯化。
具体措施如下:
5.1 总平面管理模块化
5.1.1 本工程全过程进行总平面管理,项目管理部设专职管理人员,严格按照施工组织设计确定的总平面管理原则实施动态管理,确保总平面符合文明施工要求。
5.1.2 总平面实行模块式隔离管理,各分隔区域均挂牌,严格区分施工区域、生活区域、办公区域和通道,保证各区域相对独立、专业管理。
5.1.3 本公司在工程的大门、岗亭、临时围墙以及区域小区的门、围墙等均经过设计按图施工,杜绝随意拆除和更换以及乱搭建物体。在大门附近设立整齐划一、大小适宜、色彩醒目的“七牌二图”。
七牌是:工程概况、施工单位名称牌
安全生产纪律牌
文明施工守则牌
防火须知牌
安全生产无重大事故日计数牌
工地主要管理人员名单及监督举报电话号码牌
十项安全技术措施牌
二图是:施工总平面图
工地文明卫生承包责任图
5.1.4 施工区域的道路、电源、上水、下水严格按照施工组织设计原则并经设计后按图施工,杜绝随意开挖、支接和修改。凡因施工需要断路、停电、停水时,必须提出申请经项目管理部总平面主管批准后方可实施并限期复原。
5.1.5 本工程施工范围内的施工、生活、仓储区域道路保证全过程畅通。
5.1.6 确定专人负责道路的清洁和维护保养,每天清扫道路,确保现场内外道路的平整清洁,无泥泞和尘土。
5.1.7 在总平面范围内按设计合理布置、垃圾临时堆放场、废旧材料回收堆场,堆场由专人管理及时清理,保持整洁;下水道由专人保养,定期清淤疏通,保持排水畅通,确保现场没有各种原因引起的积水。
5.1.8 所有进入总平面区域的车辆必须保持干净整洁,张挂统一标识,按指定的道路和限定的时速安全行驶,道路上未经批准不得随意停车装卸货物,经批准临时停车装卸货物的车辆,驾驶员不得离开车辆。
5.1.9 在施工区域、办公生活区域按设计设置自行车棚,所有自行车、三轮车、手推车必须放入指定车棚,杜绝现场乱放车辆。
5.1.10 施工现场所有设备、材料、机械、车辆等全部实行定置化管理,定置地一律划线挂牌,明确放置物的名称、编号、所属部门、数量等;仓库区域所有的材料、设备的放置按规格、型号、专业分类堆放,放置方向一致,堆放高度统一,标识的标牌、字型、色标大小均按规定统一设置;露天堆放的设备、材料离地至少保持20cm,下填的道木长度一致。
开箱检验后的设备及时交付安装,在交付安装前全部用防雨布严密覆盖;室内放置的设备材料,应离地离墙放置,保证室内的防水防尘功能,对焊条、水泥等特殊物资按规定采取防潮保护措施。
5.2 现场设施标准化
5.2.1 临时照明及配电装置标准化:本工程施工现场照明均经设计后施工安装,照明全部固定设置电缆敷设设置防护措施,无乱拉灯线的现象。施工电源盘、配电箱统一规格、统一色标、装置全部标准化,插座箱放线不超过30m。
5.2.2 电焊机箱及气瓶工棚标准化:施工现场制作统一规格和标识的电焊机箱、氧乙炔气瓶工棚,放置在现场规定位置,保证数量充足,避免长距离施放皮带。所有的电焊机、气瓶全部置于工棚内。皮带、气管走向不交叉,气瓶均涂刷气体介质色标,全部加装防护帽和经计量合格的压力表。电焊机电线、气管皮带确保不破损露出铜芯和裂纹。
5.2.3 脚手管架标准化:现场使用的脚手架基本采用钢管脚手,在有条件的地方尽可能使用承插或螺栓连接的工具式钢脚手架,脚手架全部统一漆涂醒目的橘红色色标,经搭设人、使用人和专职安全员验收合格并在规定的承载范围内挂牌使用,脚手架在有效期内拆除或修改均经过规定的程序。
5.2.4 安全防护设施标准化:施工现场统一设计、制作各种规格、标有统一色标的孔洞盖板和防护栏杆,所有的孔洞均覆盖牢固的盖板保护,所有的开口均安装可靠的双层防护栏杆;如确因施工需要临时拆除孔洞盖板防护栏杆的,必须张挂红白带或防护绳索,并同时指定专人在每一孔洞和开口处监护。
5.2.5 废弃物收集设施标准化:每个施工区域设置足够数量的垃圾收集箱,按我方文明管理要求进行分类并标识,每天由专人清理垃圾运到总平面指定的分类垃圾堆放区,由环卫部门定期清运出现场。施工过程中产生的混凝土块、废砖块、废模板、铅丝头、废钢材、废纸箱等固体废料,每次施工结束后由施工人员自行清理带出施工现场,放入指定区域有标识的垃圾箱内,有毒有害危险废物按相关规定委托环保部门进行环保处置。
5.2.6 现场警示标识标准化:施工使用的各类机具全部张挂一机一牌的操作规程,各区域的设备定置点全部划线固定,所有机械加工设备均经过命名,配有固定编号和设备管理主人且全部挂牌,需经过定期检测的设备均标明检测状态标识,人行、车行安全通道全部标注明显的通行色标,所有安全警示牌、操作规程标牌、设备或区域命名牌均统一规格和色标,张挂在规定位置。
5.3 工程施工程序化
5.3.1 按本工程经批准的施工组织设计确定的施工程序施工,严格执行单位工程开工报告和按作业指导书施工的制度。
5.3.2 开工前技术准备阶段认真做好图纸会审并记录签证,未经图纸会审签证不得开工;开工前应经技术交底和确认特殊工种作业人员的上岗资格。
5.3.3 施工工程公司按照确定的施工进度网络计划,按照程序化工期管理的要求,严格执行同一施工阶段先土建后安装,先地下后地上,先隐蔽后安装,先重要设备安装、后一般设备安装的施工程序。
5.3.4 根据工程量、预计最早开工和最迟完工的周期、交叉施工项目的交叉工程和内容、物资供应的顺序以及不同机械的使用周期进行开工前的协调,确保施工过程中由于施工程序和物资、机械的原因影响工序。
5.3.5 用计算机编制施工工序计划再安排施工并确保计划工期的实现,为文明施工创造良好的条件。
5.3.6 各类机械、设备、物资、人员在开工前均应经过性能检验、质量验证、资格审核或培训等程序控制,以保证计划工期的实现。
5.3.7 严格执行工序交接管理制度,在工序交接条件具备后方可进行工序交接。
5.4 文明区域责任化
5.4.1 本工程施工根据总平面布置要求确定文明施工区域责任制,建立文明施工分区管理制度并落实到人,文明施工责任区域在总平面图中予以明确。
5.4.2 各文明施工包干区均制定文明施工包干管理制度,明确本包干区的目标、措施、负责人、管理人等,设置统一明显的管理标志牌,对文明施工包干区实绩进行定期考核评比。
5.4.3 现场各区域道路,由各包干工地设专人负责清扫维护,保证道路路况良好,车辆畅通。
5.4.4 施工区域落实以专业工地施工范围为包干区域的文明施工责任制,实行包干区域综合责任制,即包干单位不仅要管理本单位施工人员的文明施工,还要对本包干区域内其他单位人员文明施工的管理,进一步明确文明施工责任制。
5.4.5 各文明施工包干工地对本责任区域的安全设施标志、宣传标牌、设备标识、安全设施以及施工材料、设备、机械的标准化放置实施管理和监督责任,保证进入本责任区域的所有材料、设备及时安装使用,特殊情况下放置不超过三天,保证开箱后或安装过程中所有设备开口均被封口保护,开箱和安装后的包装材料等废弃物不遗留在现场,安装就位的设备用围栏、彩条布和塑料薄膜包裹防护。
5.5 作业行为规范化
5.5.1 本工程施工过程中各系统的分部工程均编制施工作业指导书,明确施工方案的文明施工要求,在施工交底中确定文明施工责任人,所有的交底均进行签证以落实考核责任。
5.5.2 现场施工中使用的模板、槽钢、角铁、管道等材料原则上采用装配式施工,即在组合区域用型材切割机切割钻孔加工,现场组装,减少和消除厂房的切割开孔。
5.5.3 所有可能造成废弃物的施工如混凝土浇筑、墙面粉刷、焊接等全部做到在工件施工部位下部或周围设置统一标识的收集铁板,严禁火星飞溅、废弃物下落,现场发生的少量切割废铁须采用可靠的收集措施后才能割下。
5.5.4 马达、泵、机械等凡需加油检修等,须在其下部铺垫塑料布和安放接油盘,直至确保不漏油时方可撤去,以确保不污染基础及楼面。
5.5.5 油漆施工时,采用统一的收集铁板收集除锈粉尘和滴下的油漆,在已安装就位的设备周围油漆、粉刷时采用塑料布、粘贴纸等隔离防范措施,保证不对设备和环境造成二次污染。
5.5.6 施工现场严禁将设备管道和保温外装板作为吊装的支持物,不得将设备或管道作为电焊引弧点。
5.5.7 施工人员在工作结束或暂时离开施工地点时随时做好落手清工作,带走所有工器具、废铁、废模板、混凝土块、装饰材料的包装物等施工废弃物,全员做到工完、料尽、场地清。
5.5.8 废油、含油回丝随施工人员带离现场,在厂房外规定的地点回收,由项目管理部定时清理,并由环保部门进行环保处置
5.5.9 参加本工程施工的全体人员统一着装、统一佩带身份牌,施工现场、办公区域、仓库等禁止游动吸烟。
5.6 环境卫生一贯化
5.6.1 现场办公区域设施统一规范,办公桌椅、文件柜等办公用品整洁统一;各专业管理区域均实行开放式、区域分割办公格局;各办公室全部统一挂牌,明确工作规范,所有管理全部实现计算机网络化。
5.6.2 施工班组的工具间实行工具、生活用品定置放置,工具箱、工具棚、橱、桌、椅均统一规范,班组各类技术文件均放置于橱内;各办公室、工具间内外的桌、椅和地面无杂物和废物。
5.6.3 职工宿舍的生活用品全部实行租赁化,宿舍内生活用品全部统一并由专人进行清洗、更换;宿舍的桌、椅、照明、电源等规范统一,禁止乱拉灯线和加装电源插座,宿舍内严禁烧煮任何食物,禁止使用大功率照明或取暖设备;宿舍内外卫生实施责任制考核,办公、生活区域厕所制定卫生标准,安排专人负责清扫管理,确保卫生状况符合文明施工要求。
5.6.4 职工食堂设备规范、安全,墙、地面无油腻和积水,就餐区域桌、椅统一整洁,照明明亮,食盆和碗筷等全部统一租赁,购物、就餐和食盘回收区域以及配餐间的生熟和清洗等各区域分隔明显;禁止职工就餐时的无序和混乱现象;保证不发生各类食物中毒。
5.6.5 室内仓库、宿舍、办公室等场所的环境管理能够保证减少或消除老鼠、蟑螂和苍蝇;职工食堂杜绝出现老鼠和蚊蝇。
5.6.6 厕所制定卫生标准,落实专人清扫管理。
5.6.7 采取措施控制设备跑、冒、滴、漏现象,施工过程产生的废油以及其它废弃物采取收集、隔绝等措施。
5.6.8 施工过程中对石棉制品、水泥、煤粉等粉尘建立操作、隔绝和回收规定,保证上述物质不污染环境。
5.6.9 施工过程中采取加装消音装置、档板隔绝、封闭区域和调整施工时间等措施,保证将施工对周围环境所造成的噪音影响减少到最低限度。
5.7 我方已编制和实施的文明施工管理制度清单如下:
a) 文明施工管理制度
b) 文明施工考核办法
c) 文明施工奖励和处罚实施细则
d) 职工行为规范文明守则
e) 施工区域文明施工标准化工地管理实施规定
f) 仓库区域文明施工标准化工地管理实施规定
g) 施工用电管理制度
h) 施工用水、消防用水管理制度
i) 临时道路、下水道管理制度
j) 材料领取、堆放、使用、清场、退库管理制度
k) 大型移动式施工机械进出场、停放、使用、转移管理制度
l) 脚手架搭、拆、验收、使用管理制度
m) 土方施工管理制度
n) 土方车辆装载、行驶管理程序
o) 建筑物敲拆管理程序
p) 逻辑施工中对主要设备仪器仪表、建筑安装成品保护程序
q) 生活区环境卫生管理制度
r) 食堂卫生管理制度
s) 宿舍卫生管理制度
t) 厕所卫生管理制度
u) 临时垃圾堆场、废旧材料堆场管理制度
v) 废渣、废气、废水、废油、噪音等处理排放管理制度
本工程的保卫、消防工作设有以预防、预控为主的全面系统的管理体系。
本工程的保卫、消防工作执行我方制定的《保卫消防制度汇编》;原电力部发布的《电力设备典型消防规程》行业标准;实施职业安全卫生和环境管理体系的标准。
本工程保卫、消防工作采取职责清晰、责任落实、层次分明的管理模式。
6.2 保卫、消防指导思想及目标
6.2.1 指导思想
预防预控、规范管理、服务工程、确保安全
6.2.2 目标
杜绝重大设备、重大火灾事故、创治安全合格工地
6.3 保卫、消防管理组织机构和职责
保卫、消防管理组织机构见“安全管理体系”一节中
6.4 本工程保卫、消防主要控制点
施工现场各主要出入口、有毒有害物品及存放场所、施工现场重点要害部位。防腐施工现场、装饰施工现场、木工场。
6.5 保卫、消防管理措施
6.5.1 管理措施
a) 按预防预控要求,了解掌握施工现场状况,提出消防、保卫力量配置和现场治安、防火设施方案;对施工现场重点要害部位预先布控。
b) 施工现场警卫工作,实施“三化”。一般部位轮班化,施工现场“区域包干”流动化,重点要害部位固定化。
c) 实施合理布置消防器材,按动火区域分层次布置,按危险程度集中布置,按物资及气体易燃易爆特性,配置相应规格品种的消防器材。
d) 严格执行危险品仓库防火制度。仓库管理人员必须经区级以上公安消防、劳动部门的专业培训合格,持证上岗,仓库区域设置明显警告标志,按规定限额凭审批单发料。
e) 严格执行三级动火工作票制度。规定三级动火范围及审批权限,明确监护措施及工作票有效期限,实施专人监护。
f) 严格执行易燃易爆气体防火规范。如:氧乙炔瓶必须保持防火间距等。
g) 严格执行电焊、气焊、气割作业防火制度。焊割操作人员必须经过区以上劳动部门的专业培训,考核合格持证上岗,操作中必须遵守安全规程和焊割工“十不准”原则。
h) 制定重点要害部位的应急灭火预案。组织实施每年一次预案演练。
i) 按消防规程、规范防火检查程序,实施专题性、阶段性、季节性、突击性和日常的防火安全检查,及时消除各种隐患与问题(附消防检查流程图)。
j) 实施对监火员、义务消防员,警卫每年不少于60 小时的保卫消防业务知识培训。
k) 按程序实施外劳力管理。施工前教育培训,施工中监督检查,竣工后考核评定,择优选用,竞争上岗。
l) 预先掌握了解本工程主要设备及系统的特性,对引进的新设备、新材料、新技术、新工艺,有针对性地适时制定保卫、防火管理规定和制度,并取得委托方的认可,实施保卫同步管理。
6.5.2 消防设施配置
根据原国电力部有关《发电厂防火部位消防器材配置》,上海市公安局《消防技术规范汇编》以及上海市消防部门的有关规定,结合本工程实际规模及施工过程中火险因素,合理配置消防设施。在永久消防设施系统投用前,施工现场的所有消防设施由我方负责布置管理。
6.5.3 消防检查流程图
(见下页)

6.6 主要施工作业防火控制措施
6.6.1 电焊、火焊切割施工防火
a) 电焊、火焰切割施工人员持证上岗。
b) 施工前须清理电焊、切割部位的易燃易爆物质,并做好相应的隔离措施。
c) 凡电焊、切割施工,必须执行允许动火工作票制度。动火地点、部位、动火人员、动火措施、监护人员须同工作票内容相符,凡内容相悖,一律作违章动火,消防检查人员有权责令停止施工。
d) 高空明火作业必须落实防止火星及金属熔融物坠落隔离措施。
e) 凡有特别危险性或有易燃易爆可能的特殊施工动火项目,必须具有总工程师审核签发的防火防爆技术措施,并实施专人监护。
f) 严格执行电焊、切割安全规程和焊、割人员“十不准”原则。
6.6.2 易燃易爆、化学危险物品的防火措施
a) 易燃易爆、化学危险物品仓库建筑物布局间距、库内电器设备,通风降温设施,避雷装置等经地区消防部门验收审批合格后方能使用。
b) 仓库管理人员必须持证上岗。
c) 危险物品分室分类储存,不得超量储存。
d) 库区配备必要的消防设施,有醒目的警告标牌。
e) 一、二级易燃易爆、化学危险物品的领用,必须由质量安全部审批同意后限量发料(每次不超过20Kg)。
f) 施工使用易燃易爆及化学危险物品,必须划定禁火区域,实施专人监护,配备相应的消防器材,严禁在使用区域吸烟,动火。
g) 施工完毕后按程序做好对剩余物品及废弃物的处理。
h) 施工现场氧气、乙炔等气瓶的管理实行定点放置,设置金属防护围栏,氧气、乙炔气瓶的相隔距离均在5m 以上,气瓶的防爆装置、压力表计齐全可靠,各类气瓶的运输搬运由专人实施并有可靠的防滑措施,放置区域与贮油和动火区域保持安全距离。
i) 施工现场设置可靠的危险品仓库,其设置位置、结构、面积符合消防主管部门的规定要求并主动征求消防部门的认可。
j) 高温季节油漆、汽油等易燃物品从危险品仓库领运至现场时采取早晚运输、遮阳、避火源等防护措施,确保万无一失。在大面积油漆的区域禁止动火。
k) 本工程工程我方施工人员在施工现场实施禁止流动吸烟措施。
6.6.3 预防火灾事故的控制措施
a) 严格执行三级动火制度,即:一级动火为特别危险区域,重点要害防火部位和影响较大的场所动火;二级动火为危险性较大的区域动火;三级动火为危险性一般的区域动火。
b) 在明令禁火区域严禁随意动火、焊接,因施工需要动火时,按规定办理动火手续,经批准方可动火施工。动火前均须经专业消防人员对动火区域检查确认,动火结束后明确责任人检查确保不留火源。
c) 各级动火作业人员须经劳动局有关部门进行培训考核,持有特种作业操作证。
d) 所有消防器材的设置均定位放置,灭火机等均在有效期内。
e) 现场有足够的消防水源,设置消防贮水池和贮砂池。
6.6.4 木工场防火控制措施
a) 设置“严禁烟火”的明显标志,配备消防设施,周围10m 内禁止动有明火。明确防火责任人,防火制度上墙。
b) 木料应分类堆放整齐,木屑、刨花和废木柴应按指定地点临时堆放及时处理。
c) 大门口不准停车、堆放机具,材料,保证道路畅通。
d) 严格遵守各类机具的操作规程,非工作人员不准操作机器,经常检查维修,确保机具完好做到人离机停,发现故障切断电源,及时修理。要及时消除机具上的木屑、刨花。
e) 严禁使用碘钨灯、煤油炉、电加热器,不准私自拉接电源和灯泡,禁止抽烟。
f) 严禁各类油类、涂料及化学危险品带入或存放在木工场内。
g) 下班前必须做好落手清工作,切断电源,确无火险隐患后,方可离岗。
预防为主、防治结合、综合治理
7.2 环境保护目标
控制施工噪声,施工中的噪声符合国家标准要求
控制施工废料排放,施工中的废料处理符合有关法规规定
降低能源消耗
7.3 本工程环境管理体系
为建立制度化、规范化、程序化和标准化的环境管理体系,实现环境管理目标,我公司将在本工程全面推行ISO14001《环境管理体系》标准和电力建设文明施工规定及考核办法。本公司建立的环境管理体系能够保证本工程施工中的环境保护符合政府和业主以及施工现场相关方对环境控制的要求。
7.4 本工程面临的环境风险和重要环境因素的控制
本工程建设方和当地政府对环境管理有着较高的要求,环境事故及环境管理缺陷将会引起固、液体废弃物的污染环境,易燃易爆物品泄漏及燃爆、放射性物品污染环境等将影响整个工程的进展和工程所在地居民和企事业单位正常生活和健康安全,油、气、水、电、通讯管线因施工原因造成损坏将直接影响当地的生产、生活和投资引进。我们深刻认识到这些环境风险对我们提出的要求。我方将通过大中型电站工程建设和同类型工程以及环境管理和环境保所积累的知识和经验,将通过对环境因素的排查和评价,确定需要重点控制的重要环境因素,并通过管理方案和应急预案控制、日常施工的环境管理,确保环境风险降低到最小程度。
7.5 重要环境保护控制措施
7.5.1 本工程我方将对氧气、乙炔等易燃易爆气体可能造成的对大气环境和周边区域的影响重要环境因素进行控制。
7.5.2 确定合格的气源供方,施工现场制作统一的钢管防护笼,气源仓库符合消防;管理要求,确保输气像皮管、表计完好无泄露,采取措施防止太阳曝晒。
7.5.3 控制香蕉水、丙酮、酒精、汽油、油漆等易燃易爆刺激气体对大气和水体的污染;施工现场设置专用回收箱,确保上述物品回收率100%,回收的上述物品交由环保部门回收机构处置。
7.5.4 控制酸类液体对水体和周边环境产生毒性和令人厌恶的色、臭味并损害动植物的污染;施工现场设置专用回收箱,酸洗液体、焊接探伤用的酸碱液体专人回收,确保上述物品回收率100%,回收的上述物品交由环保部门回收机构处置。
7.5.5 控制油浸回丝、棉、毛等含油废物对水体和大气环境的污染;施工现场设置专用回收箱,确保上述物品回收率100%,回收的上述物品交由环保部门回收机构处置。
7.5.6 控制废焊条头、废钢铁、废钢渣、废装箱木板、混凝土屑、废木块、废砖块、废建筑装饰边角料等固体废弃物对水体造成的沉淀物、泥土等污染;施工现场设置专用固体废弃物回收箱,分类回收利用上述固体废弃物,固体废弃物回收后交由环卫部门处置,确保上述物品回收率大于95%。
7.5.7 控制保温废弃物、电缆线橡胶皮、塑料薄膜等的飘浮物对水体和土地造成的污染;施工现场设置专用固体废弃物回收箱,分类回收利用上述固体废弃物,保温物品切割过程采用垫物、防风等措施,防止保温切割物飞扬,塑料薄膜装入袋内带离施工现场,上述固体废弃物回收后交由环卫部门处置,确保上述物品回收率大于95%。
7.5.8 控制施工机械所产生的噪声对周边环境造成的污染,对施工机械的运行可靠性进行检测,确保符合机械性能要求,规定施工机械运行时间以保证夜间不影响周围环境,特别控制空气压缩机的噪声,在作业安排上,避开夜间凿混凝土工作。定期用噪声检测仪检测周围环境,确保施工现场周围的白天噪声不超过65 分贝。
7.5.9 控制现场生活、办公产生的食品等影响环境的废弃物以及墨粉、硒鼓、日光灯管、色带、电池等有害固体废弃物对周边环境造成的污染;生活废弃物分类收集,由环卫部门定期清运;墨粉、硒鼓、日光灯管、色带、电池等有害固体废弃物采用置换回收的方法,由供应商回收或交环抱部门处置,确保回收率100%。
7.5.10 防止施工作业对水、气、电、通讯线路、污水排放管损坏对环境造成的损害。施工前充分观察了解周围环境,对可能发生的损害,在施工方案中予以明确,施工中加强监护,对不慎发生水、气、电、通讯线路、污水排放管损坏事故时,在组织抢险的同时报告有关部门,本公司将承担事故造成的损失,我方将保证不发生此类事故。
7.5.11 控制施工粉尘、泥灰对周边环境造成的污染;施工现场设立专职清扫人员,每天在施工通道、场地、道路及地面不间断清扫,施工通道、场地、道路及楼地面每天洒水二次,干燥季节每天洒水四次,对出施工区的挖土车辆冲洗车轮。确保控制施工粉尘、泥灰对周边环境造成的污染。
7.5.12 降低能源消耗,节约施工用水用电;施工现场和生活办公区统一安装计量表进行计量统计和考核,杜绝输水管路和水龙头渗漏,落实专人对生活区和工具间进行管理和考核,电焊机等施工机械采用国家推荐使用的设备,严禁使用国家第一批和第二批规定淘汰的高能耗机械产品,实现能源消耗控制目标。
对于上述重要环境保护环节,我方已制订了相关的管理方案予以控制,并已分类制定了相关的作业程序和管理制度,施工前所制定的各个施工技术方案与在技术交底过程中将专题对重要环境保护环节的控制措施进行描述和交底,我方完全有能力确保施工过程中对环境保护的控制。
星欣设计图库资料专卖店拥有最新最全的设计参考图库资料,内容涉及景观园林、建筑、规划、室内装修、建筑结构、暖通空调、给排水、电气设计、施工组织设计等各个领域的设计素材和设计图纸等参考学习资料。是为广大艺术设计工作者优质设计学习参考资料。本站所售的参考资料包括设计方案和施工图案例已达几十万套以上,总量在数千G以上。
联系QQ:447255935
电话:13111542600