目 录
项目 指标
基础
Φ400、Φ500静压预制桩
主体高度
25.60m
建筑层数
5层
±0.00相当于绝对标高
47.400m
项目 构造做法
屋面
结构层
(1)现浇钢筋混凝土板车 (2)屋面找坡:①结构找坡(外挑部分用1:8水泥陶粒找反坡2%),②建筑找坡(用不着:8水泥陶粒找坡2%)
找平层
1:3水泥砂浆15厚
绝热层
80厚憎水珍珠岩块
柔性防水层
二道防水材料①合成高分子材料、②基层处理剂
隔离层
干铺油毡一层
刚性防水层
面捣C20细石混凝土40厚提浆压光,内配温度钢筋Ф4﹫150双向,分格缝做法详88ZJ201P20大样,位置见屋顶平面。
架空隔热层(包括电梯机房屋面)
屋面用M25水泥砂浆砌120X120砖墩,架空180(240)高,面铺钢筋混凝土予制板35厚,钢筋混凝土予制板(配Ф4钢筋﹫200双赂)1:2.5水泥砂浆灌缝,纯水泥浆纹口
楼地面 |
| (1)用1:2.5水泥砂浆20厚找平, 再面批1:2水泥砂浆10厚,洒水泥粉随手抹光。(2)楼梯梯面用1:2水泥浆20厚,坐砌墨绿色防滑砖;白色水泥浆抹缝。 |
厨房 卫生间地面 | 最薄处20厚C20细石混凝土向地漏找坡 10厚聚合物水泥砂浆找平 聚合物水泥基防水涂膜1.5厚 聚合物水泥5.0厚 外贴枣红色防滑地砖,防水涂层沿墙上翻150高 | |
内地台 |
| 回填土分层淋水夯实,每层厚度不天于300,压缩系数天于0.8 面铺300厚毛石垫层,用河砂加水冲实 |
捣C15素混凝土150厚. | ||
粉 刷 | 外墙 | 12厚1:3水泥砂浆找平层,8厚1:3水泥砂浆底层 聚合物水泥基防水涂漠1.0厚防水层 聚合物水泥砂浆7厚,浅明灰色釉面亚光小方砖. 外墙面伸缩缝防水做法详见SJ.A图集P662# 大样 |
内墙 | 用0.3:4水泥石灰砂浆15厚,纸筋(麻刀)灰罩面3厚,扫白色乳胶漆; | |
墙裙 | (1)1:3水泥砂浆找底20厚,聚合物水泥基防水涂漠1.0厚 聚合物水泥砂浆5.0厚外贴白色釉面瓷片;1800高 | |
踢脚线 | 1:2.5水泥砂浆打底15厚,纯水泥浆贴枣红色釉面砖色水磨石板;200高. | |
顶 棚 |
| 1:1:6水泥石灰砂浆打底10厚,纸筋灰批面3厚。 |
铝合金龙骨吊浅灰色铝合金扣板;位置详见建施 | ||
其他飘板底抹平,刷白色乳胶漆; | ||
散水 斜坡 踏步 |
| 室外踏步贴墨绿色耐磨地砖 |
门窗及 楼梯 |
| 硬木门;夹板门吐 打底咖架面;底色两道,面油清漆两道,拼板门,油栗色油漆.底油一道,面油二道,采用白色3厚玻璃 本工程采用白色铝合金门窗框;采用绿色5厚玻璃 本工程采用白色玻璃幕框;绿色5厚玻璃具体构造由厂方制作确定 楼梯园(扁)钢栏杆先用红丹打底,面油银色油漆两道;楼梯钢管扶手先红丹打底,面油油漆两道;楼梯硬木扶手刷栗底色,油清漆两道; |
序号 名称 单位 数量
1
混凝土
立方米
14400
2
钢筋
吨
1808.5
3
模板
平方米
72418
4
砖模
立方米
5
红砖
立方米
6
空心砌块
立方米
基础形式
主体结构
桩端土承载力设计值
静压预制桩
1000∽1800KN
结构部分
混凝土强度等级
钢筋
钢筋保护层
备注
天然基础
ФⅠ,ФⅡ
35
桩及承台
C25
ФⅠ,ФⅡ
桩50,承台35
地基梁
C25
ФⅠ,ФⅡ
35
楼梯
C25
ФⅠ,ФⅡ
板15,梁25
楼面
C25
ФⅠ,ФⅡ
板15,梁25
屋面
C25
ФⅠ,ФⅡ
板15,梁25
小屋面
C20
ФⅠ,ФⅡ
板15,梁25
框架柱
C30
ФⅠ,ФⅡ
25
首层
C25
ФⅠ,ФⅡ
25
二∽五层
C20
ФⅠ,ФⅡ
25
其它楼层
其 它
C20
板15,梁及柱25
接头形式
接头面积允许百分率%
受拉区
受压区
绑扎骨架和绑扎网的搭接
25
50
焊接骨架和焊接网的搭接
50
50
受力钢筋的焊接接头
50
不限
部位
管材选用
备注
给水系统
室内钢管
UPVC给水塑料管
卫生间支管
UPVC给水塑料管
消火栓系统
室内管道
镀锌钢管,DN>100时用普通钢管
室外管道
普通钢管
热水系统
干管
钢塑复合管
卫生间支管
钢塑复合管
排水系统
室内钢管
PVC排水管
卫生间排水支管
PVC排水管
序号 项 目 内 容 进场后第几天完成 承办及审定 单位
1
施工组织设计
编制
确定施工方案和质量技术安全等措施,并报审。
甲方、监理、公司
2
建立施工组织
机构
成立项目经理部,确定各班组及组成人员。
1
公司
3
现场定位放线
点线复核,建立平面布置和建筑物的定位和控制细部。
项目部
4
现场平面布置
按总平面图布置水、电及临时设施。
4
项目部
5
主要机具进场
机械设备进场就位。
公司、项目部
6
主要材料进场
部分急用材料进场。
项目部
7
劳动力进场与教育
组织劳动力陆续进场,进行三级安全技术教育。
3
项目部
8
施工方案编制与交底
编写详细的施工方案,并向有关人员和班组仔细交底。
公司、项目部
9
编写施工预算
计算工程量,人工、材料限额量、机械台班。
4
公司
10
材料计划
原材料和各种半成品
需量计划
4
项目部
11
图纸会审
全部施工图。
10
甲方、监理、公司
12
砂浆、混凝土配合比
各种标号的砂浆,混凝土配合比设计。
8
实验室
13
进度计划交底
明确总进度安排及各部门的任务和期限。
6
项目部
14
质量安全交底
明确质量等级特殊要求,加强安全劳动保护。
3
项目部
序号 职务 姓名 职务、职称 学历
1
总指挥
2
技术总负责
3
总调度
4
工程负责人
5
工程技术负责人
6
项目经理
7
项目副经理
8
项目副经理
9
项目技术负责人
10
质量安全部
11
质量安全部
12
水电安装部
13
材料部
14
设备部
15
测量组组长
17
专职安全员
70天
120天
110天
30天
附图“施工进度计划横道图”。
±0.00以下静压桩基础、承台为一个流水段施工。在主体结构施工中,每个流水段间以混凝土浇筑为关键线路,组织各施工段间的流水交叉施工,装饰和安装工程穿插施工。
![]()
![]()
![]()
![]()
外墙装饰
![]()
![]()
![]()
![]()
![]()
![]()
![]()
主体结构 砌 体 室内粗装饰 室内精装饰
![]()
![]()
![]()
![]()
![]()
水、电 等安装 调 试 竣 工
![]()
![]()
![]()
![]()
![]()
![]()
静压预制管桩桩 基础承台
![]()
![]()
![]()
![]()
![]()
![]()
装预留预埋
![]()
![]()
![]()
![]()
![]()
测温养护 地梁混凝土浇筑 局部模板
![]()
![]()
![]()
![]()
![]()
![]()
![]()
满堂架 梁、板模板 梁板钢筋
放
![]()
![]()
线
![]()
柱钢筋 柱模板 梁板内安装预留预埋
![]()
![]()
![]()
![]()
![]()
![]()
安装预留预埋 梁、板、柱混凝土浇筑
![]()
![]()
养 护
工种 基础阶段 主体阶段 装修阶段
木工
3
50
10
钢筋工
10
60
6
混凝土工
10
40
10
架工
5
15
10
砌筑工
6
40
10
抹灰工
4
20
60
电焊工
4
6
6
油漆工
40
机械工
6
6
6
少数工种
4
4
4
配属工
4
4
4
序号 名称 规格、型号 单位 数量 备注
1
发电机组
160KVA
台
1
160KVA
2
推土机
115马力
台
1
3
自卸车
15T
台
3
4
打夯机
台
10
5
混凝土搅拌机
ZJ-750
台
2
6
砂浆搅拌机
台
5
7
混凝土平板振动器
台
25
8
混凝土插入式振动器
台
50
9
混凝土输送泵
HB80
台
1
90M
10
电焊机
台
3
11
钢筋切割机
台
3
12
钢筋成型机
台
3
13
钢筋对焊机
台
3
14
弯管机
台
3
15
台式电锯
台
5
16
压刨
台
3
17
砂轮机
台
3
18
高速井架
台
3
19
手动电锯
台
10
编号 名称 面积(平方米)
1
门卫值班室
6.00
2
办公室
30.0
3
厨房、卫生间
32.90
4
仓库
35.00
5
配电房
25.00
6
钢筋加工厂
200.00
7
加工车间
30.00
8
木工加工厂
120.00
第三节 施工用水
第五节 施工用电
![]()
![]()
![]()
其中:P2-取75KW
桩承台编号 | 桩(mm) | 承载力(KN) | 参考桩长(m) | 备 注 |
ZJ-1 | 400 | 1100 | 19∽22 |
|
ZJ-2 | 500 | 1800 | 20∽25 |
|
ZJ-2a | 500 | 1000 | 24 |
|
ZJ-3 | 500 | 1800 | 19∽24 |
|
ZJ-3a | 500 | 1000 | 24 |
|
ZJ-4 | 500 | 1800 | 14∽30 |
|
ZJ-4a | 500 | 1000 | 24 |
|
ZJ-4b | 500 | 1000 | 22 |
|
ZJ-5 | 500 | 1800 | 16∽31 |
|
ZJ-6 | 500 | 1000 | 20∽24 |
|
ZJ-6a | 500 | 1000 | 24 |
|
ZJ-7 | 500 | 1000 | 22 |
|
ZJ-8 | 500 | 1000 | 20∽24 |
|
ZJ-8 | 500 | 1000 | 20∽24 |
|
1.1M
230L/MIN
115L/MIN
184A
2.94M

混凝土浇筑方向示



![]()

![]()
→柱钢筋,顶板、梁模板→柱模板,顶板、梁钢筋→柱,顶板、梁浇筑混凝土→混凝土养护至少7天→1天柱拆模,7天或28天后顶板、梁拆模。
20厚胶合板,钢木混合支撑。
1、梁模板安装:
(1)、在柱子上弹出轴线、粱位置和水平线,钉柱头模板。
(2)、梁底模板:按设计标高调整支柱的标高,然后安装梁底模板,并拉线找平。当梁底跨度大于及等于4m时,跨中梁底处应按设计要求起拱,如设计无要求时,起拱高度为梁跨度的千分之一至三。主次梁交接时,先主梁起拱,后次梁起拱。悬桃梁均需在悬臂端起拱0.6%.
(3)、支顶在楼层高度4.5m以下时,应设二道水平拉杆和剪刀撑,楼层高度在4 .5m以上时要另行作施工方案。
(4)、梁侧模板;根据墨线安装梁侧模板、压脚板、斜撑等。梁侧模板制作高度应根据梁高及楼板模板碰旁或压旁来确定。
(5)、当梁高超过750mm时,梁侧模板要加穿梁螺栓加固,间距@600。
柱模板图
(6)、对于结构中的弧形线条,可采用先配模后安装加固的方法施工,配模方法为将弧形线条划分为若干小段,每段均用小宽度板条拼成设计形状,再在模板面钉一层镀锌铁皮,然后将配好的各小段模扳运至现场拼在一起,并与其他模板合并加固。

梁模板图一

梁模板图二

梁模板图三
五、模板的拆除

楼梯模板图
2、宽度≤2.0m的板,必须在混凝土试块常规养护达到设计混凝土强度标准值的50%时方可拆除;跨度在2.0m~8.0m之间的板,必须在混凝土试块常规养护达到设计混凝土强度标准值的75%时方可拆除;宽度大于8.0m的板,必须在混凝土试块常规养护达到设计混凝土强度标准值的100%时方可拆除(28天后);如果上一层的梁板混凝土未施工,则该层的梁板底模拆除后应加支撑。

柱筋定位图
”推进,先将梁分层浇筑成阶梯 ,当达到楼板位置时再与板的混凝土一起浇筑。

柱与梁板不同结点处
一)、操作工艺
序号 名称 规格、型号 单位 数量 备注
1
套丝机
1/2“—4”
台
3
2
套丝机
1/2“—2”
台
1
3
砂轮切割机
台
2
4
电焊机
直流AX-165
台
1
5
电焊机
交流BX3-300
台
2
6
电焊机
手提式BX1-200型
台
2
7
气焊
套
1
8
试压泵
电动
台
1
9
试压泵
手动
台
3
10
冲击钻
台
6
11
台式钻座
台
1
0.75M、Φ110 →1.1M、Φ160→1.6M,立管不大于2M,层高小于或等到于4M时,应设置1个固定件,层高大于4M时,应设置2个固定件,固定件应尽量固定在立管口下边缘附近,管道支架要求结构合理,埋设平整牢固,排列整齐,支架与管子接触紧密,排水横管贴梁底敷设。安装排水塑料管,当层高≤4m时,应每层装一伸缩节;当层高>4m时,应根据伸缩量确定。
序号 | 名 称 | 规 格 | 单 位 | 数 量 | 备 注 |
|---|---|---|---|---|---|
1 | 电焊机 | 24KW | 台 | 2 |
|
2 | 手提电焊机 | 220V 6KV | 台 | 3 |
|
3 | 液压弯管器 | 32-150 | 台 | 2 |
|
4 | 电动套丝扣 | 15-100 | 台 | 3 |
|
5 | 定形手动弯管器 | 管Φ15 | 个 | 20 |
|
6 | 定形手动弯管器 | 管Φ20 | 个 | 6 |
|
7 | 定形手动弯管器 | 管Φ25 | 个 | 4 |
|
8 | 合式钻床 | 管Φ12 | 台 | 2 |
|
9 | 砂轮切割锯 | 管Φ300 | 台 | 6 |
|
10 | 冲击电钻 | 管Φ6-12 | 把 | 6 |
|
11 | 手提电钻 | 管Φ8 | 把 | 4 |
|
12 | 兆欧表 | 500V | 只 | 3 |
|
13 | 地阻测试表 | ZC-8 | 只 | 1 |
|
14 | 万用表 | 数字式 | 只 | 3 |
|

沉降观测点做
20mm。
序号 仪器设备名称 规格型号 单位 数量
1
经纬仪
J2
台
2
2
水平仪
DS3
台
3
3
天平
TG628A
台
1
4
标准筛
D40MM
套
1
5
干湿计
272-A
台
1
6
容量筒
1Kg-20Kg
个
2
7
坍落度筒
个
1
8
砂子筛
10~0.8MM
套
1
9
石子筛
2.5~100MM
套
1
10
混凝土回弹仪
台
1
11
混凝土振动台
套
1
12
混凝土抗压试模
100×100
150×150
组
组
6
15
13
混凝土抗折试模
200×200
组
10
14
标准击实仪
台
1
15
砂浆试模
70.7×70.7
组
20
16
砂浆稠度仪
台
1
17
标准针
个
2
18
秒表(常用)
19
坡度尺(常用)
20
直尺(常用)
21
卷尺(常用)
22
靠尺(常用)

防护棚做法图

洞口防护栏

电梯井口、管道井口防护

屋面楼层临边防护示意图

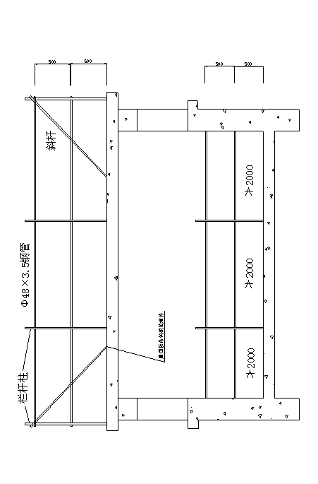
楼梯、楼层和阳台防护示意图
七、夜间施工分配电箱 开关箱,开关箱距离机具不能超过三米,开关箱实行一机一闸一漏电保护。
8m高以上。
![]()

成本控制图
================================================================
说 明
星欣设计图库资料专卖店拥有最新最全的设计参考图库资料,内容涉及景观园林、建筑、规划、室内装修、建筑结构、暖通空调、给排水、电气设计、施工组织设计等各个领域的设计素材和设计图纸等参考学习资料。是为广大艺术设计工作者优质设计学习参考资料。本站所售的参考资料包括设计方案和施工图案例已达几十万套以上,总量在数千G以上。
联系QQ:447255935
电话:13111542600