某广场建筑机电安装工程施工组织设计方案

1 工程概述              2

1 工程简介              3

2 工程工期              3

3 工程质量              3

4 工程有关管理单位              4

5 工程本次投标范围              4

6 工程环境条件              4

7 施工组织设计编制的依据              5

2 机电工程专业特点              5

1 综述              6

2 空调、通风及防排烟系统              6

3 制冷机房及锅炉房系统              7

4 给水及排水系统特点              8

5 电气系统              9

3 项目管理              11

1 计算机文档管理及应用              11

2 分承包方的管理              11

3 物资管理              12

4 合约管理              16

5 机电安装项目管理机构设置              18

6 机电工程总承包管理模式              34

7 项目管理目标              35

4 施工部署及配套计划              35

1 施工部署              35

1 施工流水段的划分及部署原则              36

2 机电各专业的施工部署              36

2 施工进度计划              46

1 工程总控计划              46

2 工程进度控制计划              49

3 工期保证措施              50

4 施工主要机具及检测设备计划              51

5 劳动力计划安排              56

6 主要设备及材料供货计划              57

5 施工准备工作              89

1 人力资源的组织准备              89

2 物质准备              89

3 现场临时设施              90

4 技术准备工作              91

5 施工详图的二次设计              92

6 主要施工方法与技术措施              92

1 通风、空调系统              92

1 空调水管道安装              92

2 通风管道制作安装              100

3 通风空调、制冷机房及锅炉房设备安装              104

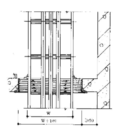
4 消声与隔震              109

5 风管系统的透光法检查及漏风量测试              112

6 冲洗与试压              113

7 防腐与保温              115

8 试运转及系统调试              117

2 给排水系统安装              123

1 排水用PVC-U管道的安装              123

2 铸铁管安装              127

3 焊接钢管安装              127

4 污水泵安装              128

5 试验要求              128

6 管道保温及防腐              129

3 设备吊装运输方案              130

1 本工程大型设备              130

2 室内楼层间的垂直运输,可以采用以下方法:              131

3 地上各设备层中              133

4 安全注意事项              133

4 电气系统安装              134

1 施工做法              134

2 安装配合阶段              144

3 关键工序节点做法              152

7 推荐本工程中使用的新工艺              155

1 组合法兰风管制作与安装工艺              155

1 材质要求              155

2 加工工艺流程              155

2 工艺管道支吊架标准化技术              158

8 施工中执行的规程、规范、标准图集              160

1 空调、采暖及通风系统              160

1 GBJ19-87              160

2 GBJ242-82              160

3 GB50045              160

4 IEC              161

2 给排水工程              161

1 GBJ15-88              162

2 IEC              162

3 低压供电系统              162

1 GBJ50169-92              163

2 IEC              163

4 弱电系统              163

1 IEC              164

5 所有中国国家及地方(天津)政府机构的有关规定              164

1工程概述

 

1工程简介

 

天津市消防减灾中心工程建筑面积24300平方米,为一幢十五层高的多功能综合大楼。其功能主要包括十四层拥有约四百间客房的宾馆、十五层办公室、十层服务公寓及一个云霄餐厅,另连同一个高的裙楼商场,商场的功能广泛,包括商店及美食广场等。此外,还包括两层的地库层,其功能包括保龄球场、超级市场、停车库、自行车库及机电设备用房等。

本工程结构主体分为塔楼与群楼两部分。塔楼为钢筋混凝土框筒结构,平面形式为正六边形;裙楼部分为钢筋混凝土框架结构。

 

 

2工程工期

 

我们将根据工程总体进度要求作出详细的机电工程总体及单项专业施工进度配套计划,包括施工进度控制网络计划、劳动力计划、施工机具及检测设备计划、设备及材料的供货计划、施工用水用电量计划等,并在实施过程中进行细化,根据总体计划制订阶段计划和月计划,由阶段和月计划制订周计划,再由周计划制订日消项计划,层层落实总体计划。同时以诚信的态度服从业主及机电顾问公司对工程的指导,做好与土建(总包)、装修单位及机电各专业的配合与协调工作,确保工程总体工期。

 

 

3工程质量

 

1.3.1质量方针

    1、信手合同:坚定不移地完成与业主所签合同中应承担的义务;

    2、精心施工:细致地做好施工前的准备工作,周密地组织好工程的施工,一丝不苟地完成工程的交付。

    3、保证质量:配备足够的资源,通过有计划、有系统的活动来满足工程质量的要求。

    4、竭诚服务:诚心尽力地满足顾客在合同中的要求及实际中的需要。

1.3.2质量承诺:

    1、工程一次交验合格率100%

    2、分部工程的优良品率80%以上。

    3、整体工程在达到《建筑安装工程质量检验评定标准》中的优良标准。

 

 

4工程有关管理单位

 

发展商:天津市消防局

设计单位:天津市建筑设计院

 

 

5工程本次投标范围

 

1.5.1机电设备系统

1、空调及通风系统、空调水系统、制冷机房及锅炉房系统

2、生活给水、热水及排水系统

3、照明系统、动力系统、防雷及接地系统。

1.5.2投标工程量

1、机电专业公共部分(各种机电主干线);

2、服务公寓部分(做五层);

3、办公楼部分(做六层);

4、商贸部分(做三层);

5、裙楼全部;

6、宾馆部分和云霄部分,不在投标范围。

 

 

6工程环境条件

 

 

夏季温度

夏季极端温度(干球)

39.7℃ 

最热月份平均温度(干球)

26.4℃ 

夏季通风温度(干球)

29℃ 

冬季温度

冬季极端温度(干球)

22.9℃

最冷月份平均温度(干球)

4.6℃

温度5的总天数

每年122日

雨量

最大雨量:每小时119毫米

平均风速

冬季:3.1m/s

夏季:2.6m/s

地震(抗震防护)

基本烈度(中国标准):7级

相对湿度

最热月份平均值:78%

最热月份平均值:78%

电力供应

电压:380V供三相设备

          220V供单项设备

频率:50HZ

电力波动

电压波动:±10%正常数值

频率波动:±2%正常数值

   

 

7施工组织设计编制的依据

 

1、天津信达广场机电工程各系统技术规格说明书、邀标文件;

2、天津信达广场工程议标图纸;

3、我国现行的各种规程、规范、标准图集及等同的国际标准;

4、我国颁布的与建筑有关的各种法律、法规;

5、我公司同类型或类似大型工程施工管理经验。

6、本工程现场技术答疑会及答疑文件

7、参考天津设计院的设计(深化)图纸。

 

2机电工程专业特点

 

 

 

1综述

 

1、本工程为综合性高级发展项目,在有着建设经济效益的同时,有其深远的社会意义,天津信达广场将成为未来天津市的标志性建筑。为此我们将配备精良的高素质专业人员,建立完善的项目管理制度,统筹安排,均衡部署,把严谨履行合同、保证工期、保证质量、安全生产、文明施工、树立良好的信誉和社会形象放在工程建设管理的首位。

2、本工程为机电设施配套齐全的现代化综合性工程,立体交叉作业,因此搞好与业主、总包、土建及各机电专业之间的配合工作,创立良好施工氛围,是做好项目施工管理的必要条件。

3、本工程为超高层建筑,做好机电设备及材料的吊装运输是机电施工的关键环节之一,我们在组织好物资供应的同时,依据工程具体情况,结合以往的工程经验和先进设备,精心编制本工程的设备及大宗材料的吊装运输方案。此外我们还时刻关注天气(风力)对工程带来的影响,采取措施做好季节性施工部署。

3、深化设计和完善施工图纸,是本工程搞好施工工作的前提条件,我公司设计所(华运设计所)具备良好的设计能力,并具有北京西客站、东方广场、中银大厦、北京SOHO现代城等数十座现代化综合大型建筑机电设备图纸的二次深化设计经验,并具有与许多国内外知名设计公司、顾问咨询公司及建筑公司良好合作的经历。

4、本工程工程量大、作业面广,为确保工程项目的良好实施,我们将发挥我公司的整体实力和专业上的优势,调集先进的施工机具,建立完善的配套计划控制体系,以充足的人力、物力和良好的管理保证整个项目工程的实施。

5、装配化工艺水平的程度,是衡量现代施工和传统施工重要标志,也是提高工效,保证工程质量的有利手段,我们在工程中除按要求采用管道凹槽卡箍式接口连接,以及带佛丁胶圈的316不锈钢节套接口外,将推荐采用两种新型的装配化施工工艺。

 

 

2空调、通风及防排烟系统

 

2.2.1系统概况

本建筑物裙房的首层、二层教育馆采用低速单风道全空气系统,散流器上送风,回风由设在吊顶上的条缝形回风口和侧墙下部的单层百叶回风口集中回至回风干管。

五层报告厅采用低速单风道全空气系统,风口选用旋流风口顶送,风口在冬夏季可调节不同的角度,回风由设在舞台下的回风口集中回至空调机房回风干管,排风由屋顶风机排至室外。该系统过渡季节全新风运行。

主楼首层至十五层、裙房餐厅及活动大厅等均采用风机盘管加新风系统。风机盘管卧式安装于吊顶内,经送风散流器送至室内。

所有外墙上的新、排风百叶均采用防雨型,并内衬防虫网。

主楼卫生间、会议室机房等的排风通过设在吊顶内的排气扇和屋顶上的排风机排至室外。裙房卫生间淋浴设有吊顶式排气扇。厨房设有独立的排风系统,并设一台新风机组为厨房补风。主楼消防电梯合用前室、楼梯间分别设置机械加压送风系统,加压送风机设在顶层屋面上,防烟楼梯间每隔两层设一个自垂百叶加压送风口,前室每层设一个PSK-OZYSDW型多叶送风口,与加压送风机联锁,由消防控制中心进行控制。排烟防火阀为PYFH-OZYSDW型,防火阀为FYH-OZSDW型。

地下室设备用房设机械通风系统,排风系统同时兼作机械排风系统。地下汽车库设机械排风系统,排风系统兼作机械排烟系统,支管上装有电动阀,着火时关闭相应的电动阀。电梯机房设机械排风系统。排风机入口处设280℃排烟防火阀。

空调风管在穿越防火分区、新风机房和空调机房处;垂直风管与每层水平风管交接处的水平管道上;穿越变形缝处的两侧及楼板处均设置防火阀,动作温度为70℃

锅炉房内设事故排风机,排风机为防爆风机,与可燃气体探测报警器联动。

2.2.2空调水系统概况

本工程空调水系统为两管制,各层水平干管为同程式。供至群房的供回主立管为异程式,供至十五层的主立管为同程式,各层回水水平干管与主立管连接处的阀门采用手动平衡阀。新风机组、空调机组凝结水管接至机房地漏,风机盘管凝结水管排至各凝结水立管,由建筑专业、水专业配和接至地下室集水坑、室外屋面或室外检查井。凝结水管坡度不小于0.006。水系统最大压力1.1MPa,水泵应采用机械承封。

空调机组、新风机组回水支管上设SM-C动态平衡电动调节阀,空调机组依回风温度调节水量,新风机组依送风温度调节水量。每台组合式空调机组、新风机组表冷器均设SMPA-100湿膜加湿器,独立安装。在出风管上设湿度传感器一个,控制加湿器的加湿量。空调机组、新风机组设有防冻装置,机组进、出水管上设压力表、温度计。

十四、十五层通讯机房及调度中心按使用要求设机房专用加湿器,由室内给水供水,排水管接至卫生间及新风机房排水管道

2.2.3空调风、通风及防排烟管材

本工程空调风管采用超强复合消声风道,机房内空调风管、地下室通风及防排烟管道采用镀锌钢板。

2.2.4空调水管材

空调水管DN≥40采用无缝钢管,焊接;DN≤32时采用镀锌钢管,丝接。

2.2.5保温

①镀锌钢板风管做保温,保温材料为带加筋铝箔离心玻璃棉板,厚度为30mm,保温层施工应密实,与风管之间不留间隙。

②空调水管采用加筋铝箔离心玻璃保温管壳,管径<DN150,厚度为40㎜;DN≥150,厚度为50㎜;阀门保温厚度为30㎜。

 

3制冷机房及锅炉房系统

 

2.3.1系统概况

本工程制冷机房位于地下一层,夏季总冷负荷为3070KW,制冷机组选用双机头螺杆冷水机组两台,单台制冷量为1613KW。供水温度为7/12℃。设冷冻水循环泵三台,其中两用一备。系统定压及补水方式采用变频定压装置。

本工程热源为燃气锅炉,锅炉房设于地下一层,冬季采暖热负荷为2233KW,选用三台常压燃气热水锅炉,单台供热量为1163KW,供回水温度为95~70℃,分别通过换热机组供给空调及生活热水使用,空调热水温度为60~50℃,锅炉补水采用软化水。烟囱采用5㎜厚钢板制作,内外刷耐热漆两道再作保温,保温材料采用60㎜稀土保温材料,外抹面漆一道。

制冷机组进出水管上均安装软连接、阀门、压力表,进水管上应安装Y型过滤器。

补水箱采用4㎜厚钢板制作,水箱内外表面除锈后刷防锈漆两道,,水箱内表面再刷汽包漆两遍,水箱外表面再刷油性调和漆两遍,水箱底部刷沥青漆两遍。水箱上安装液位计。

2.3.2保温

采用加筋铝箔离心玻璃保温管壳,管径<DN150,厚度为40㎜;DN≥150,厚度为50㎜;分集水器保温厚度为50㎜;阀门保温厚度为30㎜。

 

4给水及排水系统特点

 

2.4.1给水系统

本工程生活给水系统采用分区供水,地下一层至地上二层,由城市自来水管网直接供给;地上三层至十五层,由地下水泵房内的高区变频给水泵供水,工作压力为0.8~0.85MPa,三层至七层为减压后供水区域。

本工程热水由地下室燃气锅炉供水,并设低区换热机组1台,高区换热机组1台,三层至七层为减压后供水区域。一层、二层不供热水。

管材采用塑钢管。

2.4.2污水系统

本工程采用重力流汇合后排放,地下污水经污水泵提升后排入市政管道。

污水管1.00m以上部分采用降噪声PVC-U管,粘接;1.0m以下部分采用离心排水铸铁管,柔性连接。压力排水管采用焊接钢管,焊接。

2.4.3冷却循环水系统

本工程冷却循环水量为800m3/h,冷却塔置于裙房屋顶上,循环水泵设在地下室内机房内。

采用焊接钢管,焊接。

2.4.4保温             

1、给水管道

①吊顶内的给水管采用40㎜厚阻燃橡塑海绵防结露。热水管保温采用厚度为40㎜的阻燃橡塑海绵,外缠玻璃丝布两道,刷调和漆两遍。

②水箱及换热设备的保温材料为岩棉板,厚度为40㎜,外缠玻璃布两道。

2、排水管道

在坡道顶板下敷设的排水管均作做保温,保温材料采用40㎜厚岩棉板,外缠玻璃丝布两道。

 

3、冷却循环水管道

保温材料采用岩棉毡保温,保温层厚度DN≤200为60㎜,DN250~300为80㎜,外缠玻璃布带。

 

5电气系统

 

1、设计依据

(1)国内现行设计规范及设计标准;

(2)机电系统设计报告;

(3)国际电气技术委员会标准;

(4)英国电机工程师学会电力装置规例;

(5)英国屋宇设备工程学会照明法规。

2、设计范围

(1)照明配电系统;

(2)动力配电系统;

(3)防雷及接地系统。

3、供配电系统

(1) 供电电源:本建筑供电电源是由总市政电网引来的两路10KV电源提供的,至地下一层变电所。

(2)低压配电非一级(消防)用电回路均带分励脱扣。两路电源同时工作,当一路电源故障时,另一路自动投入,保证消防负荷的供电。22#柜另预留进线端子。

(3)由变压器至低压开关柜采用型号为BICC-M.M-2500A低压封闭母线槽。24#柜至25#柜采用型号为BICC-M.M-2500A低压封闭母线槽。

(4)各电力配电柜除标注者外,均选用XL-31落地柜。电力箱选用JX(F)型。落地柜均安装在10#槽钢底座上。

(5)所用金属线槽均为防火型,电气竖井内为梯形桥架(宽度为600毫米两个)。

(6)本工程配电导线选用铜芯塑料绝缘电力电缆、电线。有配电室引出的所有干线电缆,水平敷设部分采用电缆桥架沿墙或顶板敷设引至首层竖井,从竖井垂直引上至各层用电缆桥架敷设,电缆桥架为镀锌型。地上部分由配电箱或电缆桥架引出的所有支线均穿钢管敷设。

4、照明系统

(1)灯具选型:疏散照明分出口指示和疏散指示,均采用带蓄电池荧光灯,蓄电池容量按30分钟时间供电计。灯具采用吸顶式出口应急灯,单面显示层数应急灯,嵌入式应急灯,吸顶显示出口应急灯。

  双管日光灯采用HGD240-14-2X36W型;嵌入式方形日光灯采用HGS-320-22-3X18W型;高天井投光灯采用CB-17501-MH100-100WMH型;弯灯采用DC1-E60-60W型;其余灯具为普通型

(2)插座均带安全门保护,除个别外,一般距地0.3米安装。开关距地1.4米安装,卫生间、操作间插座为防水型,距地1.8米安装

(3)线路敷设:消防设备加消防泵、喷淋泵、消防电梯及事故照明等选用云母绝缘耐火电缆NH-YJV(TP)0.6/1KV,一般配电电缆选用阻燃交联聚乙烯电力电缆ZR-YJV(TP)-0.6/1KV型。

照明线路未标注者导线均为ZR-BV-500V-3X2.5mm2。照明支线穿管规格:2X2.5穿TC16钢管;3X2.5穿TC20;4~6X2.5穿TC25;7,8X2.5穿TC32。吊顶内明敷设,其余暗敷设。(其中TC为扣压式薄壁电线管)

照明、电力干线选用阻燃交联聚乙烯电力电缆ZR-YJV-1KV,干线电缆沿阻燃槽式电缆桥架敷设。

(4)凡需要二次装修的房间,本次施工只预留照明配电箱,配电箱的出线预留TC25钢管,管的出口距顶0.3米,预留管数量根据照明箱出线回路的数量确定,一根TC管最多可穿6根2.5 mm2导线。

5、防雷与接地

(1)本建筑属民用二类防雷建筑物。

(2)在建筑物屋顶设有避雷装置,在一些重点部位设避雷针保护。利用建筑物混凝土柱内双主筋作为引下线,利用建筑物结构柱下基础桩内双主筋(每根柱下连接桩数量不少于4根,柱下主筋少于4根时全数利用),基础底板内上下两层双主筋及地连墙内双主筋作接地极,共用接地电阻不大于1欧姆。

(3)各电气竖井、消防控制室、电话机房等均通过结构柱或剪力墙内双主筋作接地引下线接至共用接地体,所有防雷引下线、接地引下线、预埋件及接地极间均作可靠电气连接。

(4)为防侧雷击和等电位联结采取以下措施:

①建筑物内的钢筋互相连接;

②将30米及以上部分墙上的栏杆,金属门窗等较大金属物直接或通过门窗预埋铁与防雷装置连接。

③将建筑物内各竖向金属管道及金属物每三层与圈梁的钢筋连接一次,此圈梁的钢筋与防雷引下线连通。金属管道及金属物内的顶端和底端与防雷装置连接。

④ 所有突出屋面的金属物体及管道与避雷带作可靠电气连接。

 

 

以上为本工程机电项目的主要技术专业特点,依据资料为本工程相关专业的技术规格说明书和议标图纸。2001年12月21日我司收到的天津设计院的设计深化图纸,对部分材料及相关施工方法进行了修改和调整。根据业主之“机电专业招、投标说明(G2001/12/67)和2001年12月26日下午答疑会的要求,设备及材料的技术规格、型号及施工要求仍以柏诚(亚洲)有限公司的技术规格说明书为主,当然这也是本施工组织设计编制的原则和基准。

 

3项目管理

 

1计算机文档管理及应用

 

利用计算机进行文件档案管理,与业主和监理及时进行信息传递,通过计算机在各专业之间的相互协调控制,确保工程优质、高速地完成,并将其视作我公司进行机电总承包管理的强有力手段。

本工程总承包管理的计算机应用模式为:以机电总承包合同为管理依据,将业主指定分包商、各类设备材料的分供方,自有分承包全部按照合约关系,纳入工程总承包管理范畴,落实各职能部门的职责,以工程施工计划为目标,建立严格的现场管理制度,努力营造良好的机电工程总承包运作环境、秩序,确保机电总承包管理目标的实现。

应用范围:工程管理、技术管理、合同管理、成本管理、质量管理、行政管理、图纸深化设计、档案人事管理等。

主要应用软件:Project2000项目管理软件、Auto CAD2000、财务软件、预算软件;Photoshop6.0、3DS MAX4.0、Office2000 、金山词霸2002、金山快译2002等。

 

 

2分承包方的管理

 

与业主指定分包方的配合与服务

业主有权将工程中的某些分项、分部(如电梯安装等)发包给具有相应资质等级的分包商,总承包商配合业主及顾问公司进行有关资质的审定,并将批准的分包商纳入工程的总体管理中。最好是采用招标方式进行评价和筛选,确定分包商后,应和总包签定以工程施工合同或协议,以此约束双方的责任和义务.

分承包方的评定及管理

严格履行合约要求,根据公司制定的工程分承包方的评定工作程序进行,评定管理流程如下:

对分包商进行资格预审,分包商应提交近五年的工程质量情况、工期完成情况、安全事故状况、资信情况等,从中择优发邀标函进行招标,邀标分包方进行投标报价,编制施工组织设计,由业主(顾问公司)和总包商共同进行评标,确定分包方后,分包方与总包商签定施工合同。

分包方进场之前必须和总承包商签定具有法律效应的工程合同,如果分包商为业主指定,该分包商还应和总包签定以工程施工合同或协议,以此约束双方的责任和义务.

总承包商定期将业主审批的施工进度计划,通过定期工作例会,及时贯彻和传达到各专业分包,使之遵照执行.并通过总承包商的协调管理人员监督实施.

分包进场施工人员,必须符合合约要求及天津市有关用工的精神,不符合要求的人员,一经发现将劝其退场.加强对分包的安全教育,使安全意识建立在广泛的群众基础上,达到现场安全管理处在受控之中。

总承包商将对指定分包的工作质量、安全生产做出评价,并提供给监理和顾问公司,促使其工作质量不断提高。

我司(机电总承包商)将制定并及时下发分包管理手册及其它管理制度,使一些不了解内地特别是天津地区有关建筑施工的管理规定的分包方(例如:境外分包商)一进场就做到有章可循,凡是不遵守规定的就严格按规定办事,坚决处罚;一视同仁;使施工管理从一开始就处于有序的受控状态。

 

 

3物资管理

 

采购管理模式

    机电设备及材料的选用直接关系到建筑功能的实现、工程质量和资金的使用效率。我们将严格按照招标文件及合约的各项规定及技术要求进行设备材料的初选,提供具有5年以上制作经验符合要求厂家和供应商的各项资料及资质证书做为预审资料,并严格遵照业主和顾问公司所审定的厂家、采购方式进行采购或配合业主进行采购;且对于一部分的内容,我们建议采取以下几种方式进行:

    1.1对于中心或大型设备,由机电总承包商协助或配合业主及顾问公司进行公开招标,以便优中选优,并获得最有利的价格和服务。

    1.2对于一般设备、部件和主要材料,由机电总承包商根据招标文件及合约要求,以往的施工经验进行初选,再报业主最终确定。

    1.3对于其它设备、零部件及材料,由业主指定品牌或机电总承包商统一选择报顾问公司审定后采购。

    此外,还可以有其它的采购方式:

      a.统一由业主购买。

      b.业主指定品牌或供应商,由机电总承包商购买。

总之,无论采用何种采购方式,均应保证产品有优良的品质,合理的价格,及时的供应和完善的售后服务。作为机电总承包商应及时与业主、各分包商划分出明确的供应范围,并协同顾问公司、工料测量师对所有的进场材料、设备进行检验和报验。

 

设备、材料采购审定及测试检验程序

 

 

 

 

 

 

 

 

 

 

 

 

 

     未获批准

 

 

                                  批准使用

 

 

 

 

 

 

 

 

 

 

 

 

 

 

 

 

 

 

 

 

 

 

 

 

 

 

设备、材料采购审定流程图

 

 

 

 

 

 

 

 

                                 合格

 

 

 

合格

                           

 

 

 

 

 

 

 

 

 

 

 

                                         不合格

 

 

 

 

 

 

 

 

 

 

 

 

 

 

 

设备、材料定型及进货测试检验程序

注:工地测试试运行和试运行、安装验收测试,内容详见“第七章 主要施工工艺及技术措施”及(第九章)9.4.2过程检验和试验、9.4.3最终检验和试验之相关内容。

与业主指定分供方的配合与服务

凡业主参与订货的物资规格、技术标准、价格与支付条件以及供货时间、运输方式、售后服务等我司将主动请示业主的意见以按期确定具体的供应商并严格遵守我公司《顾客提供产品的控制程序》纳入机电工程管理。

 

 

 

 

 

 

 

 

 

 

 

 

 

 

 

 

顾客提供产品的控制程序流程

 

设备、材料的运输及保管

我公司如有幸中标,将根据合约条款和工程总体进度要求,以及土建总包的施工进度计划和(我司制定,并经顾问公司审批)的机电工程进度计划,制定详细的机电工程设备、材料供货计划及运输计划,并提交业主、顾问公司审批,作为(采购定货的)供货时间依据,确保设备及材料在适当的时间,准确按期并安全地运至现场。

我们计划于施工现场设置一临设料场区,主要存放大宗管材、钢材等,由汽车直接运输,汽车吊直接卸车,经检验清点后,遮以苫布(防雨帆布),保管存放;另外,准备在裙楼地下室或首层选择一个料库房,存放五金及阀部件等。

我们将另在天津东丽区京津塘高速路附近(靠近市区为最好)租用一块1000平米的场地,搭设做为进口设备、进口大宗材料的“周转库房”。

进口设备及材料(主要设备经工厂检验合格后),(于采购合同中)要求供应商装载保护于集装箱内船运至天津新港,卸货并负责通关事宜;我司负责用大型货车经京津塘高速公路运至“周转库房”,能立即就位的设备或在近短期内安装使用的材料则可运至工程现场;进行联合(同厂家及业主或顾问公司)开箱点件、检验验收,且我公司全权负责保管及安装。

国产设备及材料,(于采购合同中要求)供应商或厂商负责安全运至工程现场(或“周转库房”),我司负责接货验收、保管及安装。

有关设备及材料定货、运输、验收及保管、安装等,我公司将严格按本工程有关程序要求进行,并及时申报有关资料。

对于业主供货的设备及材料,我公司将同等对待,同样可负责接货、运输、保管及安装等。

 

 

4合约管理

 

1、总承包商的责任与义务:

严格执行合同条款的各项规定,按合同规定对工程施工的安全、质量、工期等负责。将按合同要求对分包商进行管理协调,积极为分包商的工作创造条件,使工程顺利进行。

将根据合同规定,认真而努力地完成工程施工、总包服务和保修等工作所必须的人力、材料、管理、机具、资金、设备及其它物品,对承包范围内的各工序操作和施工方法之可靠性和安全性负责任,而且要对电梯、制冷站和热力站、楼宇自控、消防、通讯、信息等主要设备和系统安装后的管理与配合、服务负责任。

2、对分包方的各项要求:

1)分包方资质要求管理:

具有国家一级机电安装资质。

提供近三年财务状况与审计报告及银行信用等级证件。

提供近五年在本市已完工工程名单及业主与监理单位名称、联系电话。

拟用在工程的项目经理、主要专业技术人员名单及简历情况。

以上资料送机电总包进行资格预审,并报送顾问公司审定。

2)执行的标准与规范:

执行国家现行有关规范、标准和图集,或等同的适用于本工程的国际标准。

3)施工范围:

在工程发包时进行明确。

(4)承包方式:

包工包料和包清工相结合,按系统分项目进行承包。

(5)工期要求:

根据工程整体进度要求,按机电总包单位进度计划执行。

3、投标报价:

1)标书的内容:工程施工组织设计2份;工程预算书2份;设备材料价格清单;其它相关资料等。

2)标书的编制

投标单位按标书要求施工范围、图纸要求及工程量计算规则,自行编制工程预算书及包干工程总价。投标人应注意工程报价中的单价将用作工程修改或增减项目的工程款的依据之一。

3)其它事项:按要求时间(另行通知)将投标文件送到指定地点。接受中标通知后5天内签订分包合同,并进入现场开展工作。

4、分包施工合同条款:

按照业主与机电总承包商签订的施工合同要求进行发包,主要包括并明确以下内容:

1)工程概况

2)合同文件及解释顺序

3)图纸管理

4)机电总包商的工作

5)分包方工作

6)工期延误

(7)工程质量

(8)隐蔽工程和中间验收:

(9)合同价款的调整

(10)预付工程款

(11)工程量的核算确认

12)各项承诺:

工程质量达到优良。

未经总包单位同意不再进行分包,并接受总包,业主及监理单位监督检查。

所有施工人员应持证,并佩戴胸卡上岗。

保证安全文明施工,优质快速完成施工任务。

13)履约保证:

分包方一旦接到中标通知书,应在3天内取得一家(须经总包单位认可的)银行的担保,与总包单位一起负责承担履约责任的义务,并将分包合同金额的百分之十,作为履行合同的保证金。

14)保修合同按标书及总包合同的规定签订。

 

 

5机电安装项目管理机构设置

 

   1、机电安装项目管理机构职能图

(见下页职能图)


机电安装项目管理机构职能图

 

 

 

 

 

 

 

 

 

 

 

 

 

 

 

 

 

 

 

 

 

 

 

 

 


2、工程项目主要管理人员简介

● 项目经理

姓名

魏志民

   

大学本科

出生年月

1974年11月

职    称

工程师

毕业院校/专业

哈尔滨建筑大学  暖通专业

新加坡南洋理工大学  国际建筑工程管理专业

学习/工作 单位:

1993,9~1997,7

哈尔滨建筑大学(哈尔滨工业大学 建工学院)

1997,7~1998,7

北京市城乡建设集团北京市新能源开发服务公司

1997,7~1998,7

北京博大环境工程有限公司

1998,8~2000,4

北京市建工集团  北京市设备安装工程公司

2000,5~2001,10

新加坡南洋理工大学

2000,8~2001,10

新加坡工程集团

2001,10~

北京市建工集团  北京市设备安装工程公司

工作经历(从事的工程项目)

1997,7~1998,2

黑龙江正大集团污水处理厂(工艺处理系统)

1998,4~1998,7

北京市水利水电学校太阳能热水系统工程

1998,7~1999,3

天津Motorola  芯片厂洁净空调系统工程

1999,4~2000,4

北京市大地花园酒店溴化锂直燃机组排烟系统

1999,4~2000,4

北京市铁路局文体活动中心机械系统安装

1999,4~2000,4

北京市铁路局文体活动中心机械系统安装

.1999,4~2000,4

新加坡国家大剧院工程  艺术中心

2000,8~2001,10

新加坡驻中国大使馆(北京),新加坡驻上海领事馆(上海),新加坡驻缅甸大使馆(仰光),新加坡心脏中心,新加坡裕廊中心医院,新加坡国家医院。

 

项目副经理:

姓名

邱柏民

   

大学本科

性别/年龄

男/41岁

职    称

高级工程师、建筑师、设计师

毕业院校/专业

英国建筑设计师学会会员

英国特许设计师学会会员

加拿大特许经理学会会员

中国劳动保护科学技术学会会员

中国上海建筑学会会员

 

工作经历(从事的工程项目)

1996年至今

上海华亭酒店、深圳国际酒店、北京京伦饭店、北京建国饭店、北京华侨大厦、阳江国际大酒店、海南文华酒店、北京海员酒家、北京嘉林会所、中国银行、北京名都园、中国工商银行总行营业办公楼、北京电力大厦、北京新世界中心一期工程、中国国际贸易中心第二期塔楼、北京建国公寓等装修的总体设计工作。是一位非常有经验的设计师。

 

 

 

 

 

 

 

● 项目总工程师 :

姓名

陈立新

   

大学本科

性别/年龄

男/40岁

职    称

高级工程师

学习/工作 单位:

1983年8月

北京市设备安装工程公司工作

1986年11月至今

北京华运工程设计公司任主任工程师。

工作经历(从事的工程项目)

1983年至今

北京木材厂工程任施工员。中国国际文化交流中心工程参加施工图翻译工作。北京市政府宽沟招待所、建外宿舍楼、北京市消防指挥中心、天安门管理处北苑招待所、人民大会堂、宣武医院、劲松潮洲酒家、海淀工人俱乐部、北京内燃机厂劳动服务公司、国际金融大厦、金玉大厦等工程主管图纸设计工作。

 

 

● 项目工程副经理:

姓名

黄刚

   

大专

出生年月

1970年11月

职    称

暖通工程师

工作经历(从事的工程项目)

1993年9月

进入北京市设备安装工程公司工作

1993,9~1994,5

百乐酒店工程实习

1994,6~1996,1

北京西客站工程任管道工长,负责空调管道施工工作。1995年被建工集团总公司评为优秀团员

1996,2~1997,3

北安设计所,从事怡生园工程的机电二次深化图工作

1997,4~1998,8

鲁谷电信局工程任暖通工长,负责通风、空调管道施工工作

1998年

东方广场工程,

从事通风、消防、给排水二次深化图设计工作

1998,8~2000,5

中银大厦工程任项目副经理,负责生产管理工作

2000,6~今

现代城工程任项目副经理,负责生产管理工作

 

● 项目技术部经理 :

姓名

李强

   

大学本科

性别/年龄

男/34岁

职    称

暖通高级工程师

毕业院校/专业

北京建筑工程学院/供热、通风与空气调节专业

学习/工作 单位:

1986,9~ 1990,7

北京建筑工程学院/城市建设工程系学习

1990,8~ 1998,9

北京市建工集团 北京市设备安装工程公司

1998,10~2001,1

意大利阿斯特公司中银大厦项目部

2001,2~

北京市建工集团 北京市设备安装工程公司

工作经历(从事的工程项目)

1989,4~1990,7

京城大厦工程

任实习施工员

1990,8~1991,11

京城大厦工程

任施工员

1991,121993,11

北京友谊医院病房楼

任主管施工员

1993,12~1995,4

中日友好环境保护中心

任技术队长

1995,4~1998,9

北京市设备安装工程公司 通风公司

技术科科长

1998,10~2001,1

意大利阿斯特公司中银大厦项目部

现场技术质量经理

2001,9~今

北京市设备安装工程公司 机电工程总承包部

技术部经理

 

● 项目设计部经理 :

姓名

黄都育

   

大学本科

性别/年龄

女/43岁

职    称

高级工程师

工作经历(从事的工程项目)

1985年8月

进入北京市设备安装工程公司工作

1985,6~1988,8

北京贵宾楼饭店工程从事二次深化图设计工作

1989,3~1992,2

北京新世纪大厦工程从事二次深化图设计工作

1993,3~1997,5

中华大厦工程主管二次深化图设计工作。

1997,5~1998,8

国际金融大厦工程主管二次深化图设计工作

1998,9~2000,12

远洋大厦工程主管二次深化图设计工作

 

● 项目质量部经理 :

姓名

张岩

   

 

性别/年龄

女/41岁

职    称

电气工程师

工作经历(从事的工程项目)

1985年 10月

北京市设备安装工程公司工作

1985,10~1988,8

北京贵宾楼饭店工程,任施工员

1988,11~1990,4

北京国际会议中心工程从事质量管理工作

1992,12~1997,10

中央电台业务楼主管质量管理工作

1998,5~2000,3

华澳中心综合楼工程主管质量管理工作

 

    ● 项目工程部经理 :

姓名

钟赛忠

   

中专

性别/年龄

男/52岁

职    称

工程师

工作经历(从事的工程项目)

1973年

进入北京市设备安装工程公司工作

1973,10~1994,10

北京市设备安装工程公司工作,担任班长、施工员、队长。

主要工程有:北京饭店东楼、毛主席纪念堂、中央戏剧学院、北京新型建筑材料厂、北京长城饭店、昆仑饭店、中国人民银行金融中心、生物中心、湖北大酒店等。

1994,10~2000,11

北京市设备安装工程公司生产调度员、生产调度室副主任。

主要工程:国家经贸委、北京科技会堂等工程。

1993,3~1997,5

中华大厦工程主管二次深化图设计工作。

1997,5~1998,8

国际金融大厦工程主管二次深化图设计工作

2001,11

北京市设备安装工程公司机电总承包部工作

 


● 项目安全消防部经理 :

姓名

茹永增

   

中专

性别/年龄

男/60岁

职    称

机装工程师

工作经历(从事的工程项目)

1965年

进入北京市设备安装工程公司工作

1965,7~1968,4

首都体育馆工程任施工员

1968,5~1973,5

北京燕山石油化工公司工程任施工员

1973,6~1975,9

扎伊尔人民宫工程任项目副经理

1982,9~1984,9

长城饭店工程任项目副经理

1985,10~1987,7

北京图书馆新馆工程任项目副经理

1988,1~1990,7

中日青年友好交流中心工程任项目工程师

1993,~1997,5

中华大厦工程主管安全消防保卫工作

1998,5~2000,3

华澳中心综合楼工程负责消防保卫工作

2000,3~今

现代城工程任负责消防保卫工作

 

项目合约预算部经理 :

 

姓名

马四力

   

中专

性别/年龄

男/39岁

职    称

助理工程师

工作经历(从事的工程项目)

1987年开始从事合约管理工作

参与并主持了新华社业务楼、北京饭店贵宾楼、加拿大使馆、澳大利亚使馆、毛主席纪念堂修缮、人民大会堂改造、全国政协办公楼、国际金融大厦。

 

● 项目办公室主任 :

姓名

赵艳平

   

大专

性别/年龄

女/37岁

职    称

工作经历(从事的工程项目)

1995年12月

北京市设备安装工程公司工作

1996,1~1998,8

银都大厦工程负责行政办公室管理工作

1998,8~今

铁路文体中心工程负责行政办公室管理工作

 

● 项目财务部经理 :

姓名

孟伟

   

大专

性别/年龄

男/39岁

职    称

会计师

工作经历(从事的工程项目)

1975年5月

北京市设备安装工程公司工作

1979,6~1983,6

北京市设备安装工程公司通风公司任成本核算员

1983,6~1995,10

北京市设备安装工程公司通风公司负责成本核算

管理工作

1995,10~2001,10

北京市设备安装工程公司通风公司负责财务管理

工作

2001,~今

北京市设备安装工程公司机电工程总承包部任财务部经理

西苑饭店、中国肉食品加工研究所、中央电视台彩色电视中心大演播厅、金融大厦、中银大厦、北京名人广场名人国际大酒店、大兴黄村污水处理厂

 

  ● 项目物资部经理 :

姓名

巩斌

   

中专

性别/年龄

男/44岁

职    称

助理工程师

工作经历(从事的工程项目)

1975年8月

北京市设备安装工程公司工作

1975,8~今

北京市设备安装工程公司材料组,担任材料员、材料组组长,负责材料供应管理工作

京城大厦、中日友好医院、北京图书馆、长城饭店、第十一届亚运会场

馆、国家经贸委二期工程、国际金融大厦

 

 

● 项目电气工程师 :

姓名

夏刚

   

大学本科

性别/年龄

男/28岁

职    称

电气工程师

毕业院校/专业

洛阳工学院  工业电气自动化控制专业

工作经历(从事的工程项目)

1997年8月

北京市设备安装工程公司工作

1997,8~1997,11

信达大厦工程实习

1997,11~2000,8

综合公司技质科,负责贯标、资料管理及工程质检工作

2000,8~今

现代城工程,负责强、弱电工程管理

 

 

● 项目通风空调工程师 :

姓名

周建辉

   

大学本科

性别/年龄

男/27岁

职    称

暖通工程师

毕业院校/专业

北京工业大学  热能工程系制冷专业

工作经历(从事的工程项目)

1998年8月

北京市设备安装工程公司工作

1998,8~2000,5

东方广场工程,负责机电工程管理工作

2000,5~2000,7

中银大厦工程,负责通风、空调工程管理工作

2000,7~今

现代城工程,任责任工程师

 

 

● 项目通风空调工程师 :

姓名

谭德海

   

 

性别/年龄

男/26岁

职    称

通风空调工程师

工作经历(从事的工程项目)

1997年8月

北京市设备安装工程公司工作

1997,9~1998,11

安慧供热厂工程任施工员

1999,5~1999,10

青年湖西里危改小区外线任施工员

2000,6~2000,9

常青大厦工程任项目工程师

2000,6~2001,5

国营电子动力公司集中供热工程任项目工程师

 

● 项目通风空调工程师 :

姓名

冯彬

   

 

性别/年龄

男/31岁

职    称

通风空调工程师

工作经历(从事的工程项目)

1997年10月

北京市设备安装工程公司工作

1997,10~1998,8

国际金融大厦工程任施工员

1998,9~1998,12

京塘港北京办事处供热站工程任施工员

1999,3~2000,9

大兴污水处理厂工程任施工员

2000,9~今

现代城工程任项目工程师

 

 

● 项目给排水工程师 :

姓名

李慧俊

   

大学本科

性别/年龄

男/29岁

职    称

给排水工程师

工作经历(从事的工程项目)

1995年10月

北京市设备安装工程公司工作

1995,10~1997,8

外交部办公楼工程任施工员

1998,5~2000,3

华澳中心综合楼工程任项目工程师

2000,3~今

海淀医院工程任项目工程师

● 项目给排水工程师 :

姓名

李向路

   

大学本科

性别/年龄

男/27岁

职    称

给排水工程师

工作经历(从事的工程项目)

1997年9月

北京市设备安装工程公司工作

1997,9~2000,12

远洋大厦工程任施工员

2001,2~今

现代城工程任施工员

 

 

● 项目给排水工程师 :

姓名

李锴

   

大学本科

性别/年龄

男/26岁

职    称

给排水工程师

工作经历(从事的工程项目)

1998年9月

北京市设备安装工程公司工作

1998,9~1999,1

水源九厂三期工程任施工员

1999,5~1999,10

青年湖西里危改小区外线工程任施工员

2000,3~2001,5

国营电子动力公司集中供热工程任项目工程师

 

 

● 项目电气工程师 :

姓名

黄鹤知

   

大学本科

性别/年龄

男/26岁

职    称

电气工程师

工作经历(从事的工程项目)

1998年10月

北京市设备安装工程公司工作

1998,10~1998,12

京塘港北京办事处供热站工程任施工员

1998,12~2000,3

华澳中心综合楼工程任施工员

2000,3~今

第一商城工程任项目工程师

 

 

● 项目电气工程师 :

姓名

刘玮

   

大专

性别/年龄

男/24岁

职    称

电气工程师

工作经历(从事的工程项目)

1996年8月

北京市设备安装工程公司工作

1996,8~1998,5

鲁谷电信局工程任施工员

1998,5~2000,3

华澳中心综合楼合理工程任施工员

2000,3~2001,4

国营电子动力公司集中供热工程任项目工程师

2001,4~今

两广大街商业楼工程任项目工程师

 

 

 

● 项目电气质检员 :

姓名

沃绍强

   

中专

性别/年龄

男/53岁

职    称

工程师

工作经历(从事的工程项目)

1969年2月

北京市设备安装工程公司工作

1969,5~1971,12

人民轴承厂工程任施工员

1972,2~1974,6

北京饭店工程任施工员

1977,2~1977,6

毛主席纪念堂工程任施工员

1977,10~1981,9

高能物理研究所“八七”预制研究工程任施工员

1982,6~1988,12

中国科学院一〇九厂工程任项目副经理

1989,2`1992,7

北京新闻广播电视交流中心工程任项目工程师

1993,1~1997,1

西客站工程任项目工程师

1998,9~2000,7

华彬大厦工程负责质量管理工作

 

● 项目给排水质检员 :

姓名

王杰智

   

大专

性别/年龄

男/52岁

职    称

工程师

工作经历(从事的工程项目)

1968年5月

北京市设备安装工程公司工作

1968,5~1973,11

北京燕山石油化工公司工程任施工员

1973,11~1975,9

北京重型机械厂工程任施工员

1977,3~1977,5

毛主席纪念堂工程任施工员

1978,6~1981,10

香山饭店工程任施工员

1982,9~1983,10

长城饭店工程任项目副经理

1985,10~1987,7

北京图书馆新馆工程任项目工程师

1987,12~1989,9

新华社业务楼工程任项目工程师

1992,12~1997,10

中央电台工程任项目工程师

1997,5~1998,11

安慧供热厂工程任项目工程师

1999,10~2000,12

宏源大厦A、B栋工程负责质量管理工作

2001,1~  今

第一商城工程负责质量管理工作

 

● 项目通风空调质检员 :

姓名

贾小娣

   

中专

性别/年龄

女/39岁

职    称

助理工程师

工作经历(从事的工程项目)

1985年10月

北京市设备安装工程公司工作

1986,,6~1987,1

北京电冰箱压缩机厂扩建工程任施工员

1988,11~1990,4

北京国际会议中心工程任施工员

1990,5~1991,11

北京炎黄艺术馆工程任施工员

1992,12~1997,10

中央电台业务楼工程任项目工程师

1999,6~1999,11

国营北京电子动力公司7#锅炉房工程负责质量管理工作

2000,2~今

现代城工程负责质量管理工作

 

 

 

6机电工程总承包管理模式

 

我公司是具备机电总承包管理能力的一级企业,将按照多年来积累的工程机电总包管理经验,以国际惯例例来运作和管理项目,形成以项目经理负责制为核心,以项目合同管理和成本管理为主要内容,以科学的系统管理和先进的技术手段的机电总承包管理机制。

在本工程的施工组织方面,依据现代项目管理模式,拟组建天津信达广场项目经理部,将委派高素质、精干、并具有同类型工程施工管理经验的优秀管理人员以及较熟悉本工程临近地区状况的管理人员参加工程项目管理。

项目经理部专业人员配备齐全,下设承发包部、工程管理部、技术部、质量部、物资部、财务部、安保部等部门,具有充足的深化设计图纸、产品加工及施工等多方面综合管理能力,严谨履行项目管理的各项职能,落实业主的各项要求,全面配合监理单位、设计单位及土建单位的工作。并按照“信守合同,精心施工,保证质量,谒诚服务”的质量方针,以ISO9002标准建立完善的质量保证体系,形成专业管理和计算机管理相结合的科学化管理体制,优质、高效地实现项目管理目标及对业主的承诺。并在工程管理中认真履行机电总承包商的职责,使各分包单位的进度、质量、安全、文明施工等纳入总体控制计划和管理中,确保工程管理的各项工作始终处于受控管理中,并积极主动为各分包单位的施工创造必要的条件,确保工程的各项管理目标的实现。

 

 

7项目管理目标

 

1、质量目标:

工程一次交验合格率100%

    分部工程的优良品率80%以上

    整体工程在确保达到《建筑安装工程质量检验评定标准》中的优良标准的基础上,创市(部)优工程,争创国家优质工程“鲁班奖”。

    2、工期目标:

    在确保建设单位招标文件之工期要求的基础上,承诺将工期缩短至即比业主所要求的工期缩短60日历天,即在670日历天内完成工程所含所有机电项目的施工工作(含系统调试及试运转)。并以此做出周密的部署和详尽的工程进度控制网络计划,确保目标的实现。

    3、安全目标:

    确保工程安全、设备安全,施工人员重伤、死亡事故为零。

    4、文明施工目标:

    按规范化、标准化进行现场管理,树立环保意识,创文明施工样板、示范工程。

 

 

4施工部署及配套计划

 

1施工部署

 

1施工流水段的划分及部署原则

 

1、根据和顺应土建总体进度安排部位进行安装工程的流水段划分,首先从建筑地下室开始施工,然后顺序进行地上一层~六层裙楼部分及塔楼部分八层以下部分的机电设备安装施工,当结构条件具备后再进行塔楼部分八层以上部分的机电施工。

2、制订施工进度控制网络计划,制定相应的配套计划,严格控制关键线路的施工,并定期(每周)进行核对(进度前锋线),及时做出调整,从而控制安装工程的总体进度。

3、本工程施工配合量大,设备预埋件多,必须配合土建施工作业进行。由我公司项目设计部深化设计,并配合专门技术人员进行预留预埋工作,以达到土建、安装、电气及内部各工种之间互创施工条件,保证工程总体进度。

4、抓好关键工序施工,以点带面,并严格按施工流程及工序施工,严禁工序倒置。

5、在组织好分部位施工的同时,集中力量保重点部分,各专业工种搞好协调配合,确保安装进度。

6、以精良的人员管理、充分物力资源、完善的体系及制度保证安装工程流水施工的实施。

 

 

2机电各专业的施工部署

 

机电设备安装工程的施工部署需要根据合约要求并配合土建的施工部署来制定。按照建筑工程施工的不同阶段,机电设备安装可顺序分为以下几个阶段:

 

 

 

 

 

 

机电安装各专业依据施工流水段划分的原则,结合土建(结构)及装修的进度总体安排,组织好各施工流水段从工序到细部工艺的计划与实施。

制定详尽的相应配套计划,包括施工进度控制计划、劳动力计划、施工机具及检测设备计划、设备及材料的供货计划、施工用水用电量计划等,并在实施过程中进行细化,根据总体计划制订阶段计划和月计划,由阶段和月计划制订周计划,再由周计划制订日消项计划,层层落实总体计划。

在周密的部署、均衡安排施工的基础上,配合土建做好预留、预埋工作,服从业主、顾问公司对工程整体安排及各项意见,负责并确立机电各专业的配合施工关系,划定其工作界面,创造良好的施工协作氛围,保证工程总体计划及各项目标的实现。

由我公司项目设计部进行机电图纸深化设计,绘制施工管线系统综合布置图和施工结点做法图及设备安装(机房)大样图等图纸,并向顾问公司及设计单位报审签认,为日后各专业的施工及相互配合创造有力条件,确保机电安装施工工作有序地顺利进行。

 

 

 

 

 

 

1、空调水系统的施工工序及工艺部署:

 

 

 

 

 

 

 

 

 

 

 

 

 

 

2、空调风的施工施工工序及工艺部署:

 

 

 

 

 

 

 

 

 

 

 

 

3、采暖系统的施工工序及工艺部署:

 

 

 

 

 

 

 

 

 

 

4、给水系统的施工工序及工艺部署:

 

 

 

 

 

 

 

 

 

 

5、排水系统的施工部署:

 

 

 

 

 

 

 

 

 

 

6、电气系统的施工工序及工艺部署

 

 

 

 

 

 

 

 

 

 

 

 

 

 

 

 

4.1.3施工配合与协调

服从及配合业主(顾问公司、工料测量师)的管理,切实做好机电工程施工工作,并做好与土建总包的施工配合及各专业间配合,协调统一、综合安排,确保施工质量,确保工程总体进度。

1、机电总包的配合与协调职责

(1)服从及配合业主(顾问公司、工料测量师)的管理,负责管理、统筹及协调所有机电设备系统(包括空调、采暖及通风系统、消防系统、给排水系统、燃气供应系统、低压供电系统、弱电系统)的施工工作;负责各专业的技术管理和协调工作;负责与土建总承包及其他施工单位进行联系协调,以使各机电设备系统有效和合理地按总体工程进度进行施工及圆满完成。

(2)负责各机电系统施工详图的深化设计工作(包括暖通空调系统、消防系统、给排水系统、燃气系统、低压供电系统及弱电系统),绘制出施工管线系统综合布置图、施工结点做法图和设备安装(机房)大样图及土建(预留、预埋)配合图等图纸,这些图纸经顾问公司、工料测量师审批后供各机电专业作为施工协调和施工的依据。

(3)与本项目土建总包及其他承包单位协调和合作,提供所有需要的有关资料、设备和人员以确保于分工交界点上能与其他承包单位满意地配合,并确保其负责的工作是按正确的程序施工。在施工进行中的各个阶段,与土建总包及其他有关的承包单位讨论、协调和落实各分工交界点。

(4)负责在有关工程施工前复核由土建总包及其他承包单位为配合本工程所提供的各项设施和配备是否配合及适用。

(5)负责对各机电(合格)分承包单位进行统筹管理,对其各项工作实施有效的部署、控制和监督,并尽应尽的责任和义务,使整体机电项目做到管理安排上协调统一、均衡部署。

 

2、各施工阶段的配合

(1)结构施工阶段的配合

a、协调并要求土建配合预留的墙洞和楼板洞,要按照施工进度计划提前通知土建进行预留工作。并确保其安装位置正确;

b、需在建筑结构内预埋的套管、防水套管以及预埋钢板等,要提前提供给土建作预埋;

c、各种设备的混凝土基座的坐标、尺寸要尽早提供该土建,以免延误设备的安装,设备安装以前,要对设备基础进行检查和验收;

d、配合土建进行电气管线在结构中的预埋;

(2安装阶段的配合

a、项目设计室负责绘制施工图纸、部位节点图、管线综合布置图。施工的原则是小管让大管、无压管让有压管。安装时按照先上后下的原则进行。各工种施工严格按设计图纸及深化设计图纸的标高、位置施工安装。施工的原则性顺序为:

 

 

 

b、设备到货后,应尽快就位,为设备配管和电气安装创造条件;

c、墙内的暗装管道,要在土建隔墙砌筑完毕后,马上进行,给土建的抹面和装修创造条件;

d、管道试压、刷油完成后,应马上交保温专业进行保温工作;

e、卫生间管道设备的安装工作,与土建的配合工作尤其重要,施工中,要派专人盯住土建的施工进度,随时调整和修正各种管道的坐标和甩口,管道甩口的封度措施要有效且不易破坏;

f、各专业不得互相破坏别的专业的成品,遇到问题请有关部门予以解决。

(3)装修阶段的配合

a、灯具、开关、插座盒安装应位置准确,施工时不得随意在墙面上剔槽。需待土建同意后方能施工。施工时,要先用云石机切割,再进行剔凿工作。

b、面板要等到墙面的装饰工作完成后,再安装。

c、洒系统的追位与系统吹洗应在吊顶龙骨安装完后进行。吊顶的石膏板施工时,消防喷洒专业要派人密切配合,在喷头的位置预留出圆孔,待吊顶施工完后,再装喷洒头。装喷洒头时,要戴上白色的手套,以免污染顶棚。

d、通风专业应随吊顶龙骨的施工进行风口立管的安装,等吊顶施工完毕,再安装风口,要注意不得污染吊顶。

e、装修吊顶封板以前,要再仔细检查调整一遍风机盘管的凝结水的坡度。

f、装修吊顶封板时,要在风机盘管和有阀门的部位留出检查孔。

g、灯具安装时,与装修吊顶配合开孔的工作也非常重要。

h、灯头盒、烟感盒及监测广播扬声器,应先在龙骨上固定,烟感探头在吊顶完工后安装,其布局要与精装协调。

(4)调试阶段的配合

这个阶段的配合工作尤其重要,应做好以下几点工作:

a、检查和协调土建维护结构,使其满足调试要求;

b、会同业主(顾问公司、工料测量师)对所涉及的机电工程进行全面检查,全部符合设计、施工验收规范和工程质量评定标准的要求,才能进行运转和调试;

c、安排各专业、机电分包商准备系统试运转、调试所需的水、电汽及压缩空气等,并将现场(机房、管道间)打扫干净;

d、提前编制调试方案,内容包括:调试要求、时间进度计划、调试项目、程序和采用的方法等;并报请顾问公司审批后照此执行。

e、备好调试所需的仪器仪表和必要的工具,并将清单和有关资料报请业主、顾问公司审批;

f、及时解决和协调调试过程中所遇的问题,必要时报请业主、顾问公司协商解决。

 

3、与业主(顾问公司、工料测量师)的配合

(1)由业主供应的设备和材料及业主确定厂家的产品。由业主按机电安装工程施工进度计划及时提供。其具体到货计划时间表,待工程开工签订合约后,由机电总包(我司)提出,并经业主(顾问公司、工料测量师)审批。

(2)设计图纸及资料由业主按规定的数量及时提供,我司依此作出深化设计施工详图经顾问公司、工料测量师审批后做为施工依据。安装与设计的有关事宜,亦应请示业主(顾问公司、工料测量师)协调解决。

(3)业主、顾问公司、工料测量师在施工过程中,对安装施工进度及质量进行监督,设备工厂测试、设备材料的进货检验、隐蔽验收、分项工程验收、试压、试车及系统调试等应按要求请报业主、顾问公司参加和验收。

(4)业主按施工进度(顾问公司、工料测量师审批的报量单)及时解决工程进度款和设备订货款。

 

4、与土建(总包)及装修单位配合

(1)与土建的配合

a、预留、预埋及孔洞回填的配合

按预留、预埋图纸进行预留、预埋。预留、预埋中不得随意割断建筑钢筋。与土建结构有矛盾处,应及时与设计、土建、业主(顾问公司、工料测量师)协调解决。

土建负责根据总体进度要求,对孔洞和壁坑进行回填、修补及抹面;机电总包商(我司)在完成其工作后,及时以书面形式通知土建承包商,经确认后进行回填、封闭、修补等工作。

b、各机房施工配合

冷冻机房、空调机房、消防泵房等机房交付安装条件:土建湿作业及内粉刷作业完工,门窗安装完工。

c、厕所、卫生间配合施工

在土建进行主体结构施工时,配合进行安装预留孔。安装时由土建给定楼地坪标高基准。卫生器具及地漏定位甩口后,土建再做地坪(土建施工不得损坏安装管口,应有保护措施)

d、暗设箱、盒及开关、插座安装配合

暗设箱、盒安装应随土建墙体施工进行,布置在大理石墙面上的开关、插座应配合大理石贴面施工进行。

e、设备基础及留孔的配合

设备基础应尽早浇筑,设备安装时强度应达到70%以上,基础位置尺寸和留孔由土建检查,安装复查,并办理交接手续。

f、灯具、开关、插座、面板安装配合

灯具、开关、插座盒安装应位置准确,施工时不得损坏墙面。若孔洞较大应先做处理。在粉刷或贴墙纸后再安装面板。

g、成品保护的配合

安装施工不得随意在墙体上剔洞,如必须剔洞,须书面报告土建(总包)、顾问公司、结构设计,经批准后按批复意见进行剔凿;且安装施工应注意对墙面吊顶的保护。

土建施工人员不得随意损坏已安装好的管路、线路开关、阀门,未交工的厕所不得使用。

(2)与精装的配合

a、散流器安装与龙骨吊顶安装的配合

安装在吊顶上的散流器风口,应随龙骨安装调整进行,以便对散流器风口进行固定。

b、灯头盒、烟感盒安装与吊顶施工的配合

灯头盒、烟感盒及监测广播扬声器,应先在龙骨上固定,烟感探头在吊顶完工后安装,其布局要与精装协调。

c、喷洒系统与吊顶施工的配合

喷洒系统支管安装与系统吹污应在吊顶封面前进行。吊顶面留喷头孔,由精装配合开孔,封面完工后再装喷洒头。

d、凡吊顶风管、水管设有阀门处,由精装在吊顶上开检查口,其位置由现场确定。

e、在装修墙面上安装开关、插座,应与装修工作配合进行。

5、与其他机电承包商的配合与协调

(1)机电总包(我司)总体的统筹、协调及配合

统一布置规划吊顶内的空间及机电安装的公共部位,项目设计室根据施工图纸绘制出部位节点图、管线综合布置图;原则是小管道让大管道,无压管道让有压管道,先上后下的原则进行安装。各工种施工严格按设计图纸及深化设计图纸的标高、位置施工安装。

机电总承包商(我司)将根据合约文件、设计图纸、技术规格说明书的要求统一部署、合理安排机电各专业(含机电分承包商)的交界面项目及彼此之间的配合施工,并接受业主、顾问公司、工料测量师的指导与监督,确保机电设备整体项目施工的和谐、顺利地进行。

 

(2)与消防系统(分)承包商的协调工作

a、空调、采暖及通风专业

      ① 消防系统承包单位将于首层的安保/消防控制中心内提供足够的分区控制的无电压接点以供于发生火警时启动或关闭有关的防火阀、排烟阀、排烟机、正压送风机、通风机、空调机等。

      ② 由无电压接点至各排烟机、正压逆风机、通风机或空调机的控制线路供应及安装由本承包单位(我司)负责。

      ③ 本承包单位(我司)须与消防系统承包单位协调以进行及完成所需的安装工作,并就双方的交接驳口设定准确的位置及双方方的工作界面。

      b、低压供电专业

      ① 有关消防水泵的电力供应,本承包单位(我司)须负责供应、安装及接驳电源电缆从配电箱至消防系统承包单位的电动机控制屏(MCC)及电动机就地控制屏(LMCP)内。

      ② 本承包单位(我司)须负责供应、安装及接驳电源电缆从配电箱至消防控屏旁包括提供保险丝接头,供消防承包单位接驳。

      ③ 有关疏散指示标志的电力供应,本承包单位(我司)需于每层配电房内提供电源电缆包括保险丝接头予消防系统承包单位接驳以完成完善的疏散指示系统。

      ④ 有关于火警时切断非紧急电源,消防系统承包单位将按防火分区控制要求于各层配电房内提供足够的分区控制无电压接点以供于发生火警时在消防控制室以手动强切非紧急电源。本承包单位(我司)须由上述无电压接点接驳电缆至有关正常电源开关包括提供所需控制,使达到切断非紧急电源之有关要求。

      ⑤ 有关紧急电视运行情沉的反馈信号,本承包单位(我司)需于各发电机房内提供每台发电视的运行故障信号无电压接点,供消防系统承包单位接驳至消防控制屏上。无电压接点应设于终端盒内。

      ⑥ 本承包单位(我司)须提供接地装置至各设备房及消防控制室内指定位置,供消防系统承包单位接驳以完成有关接地系统。

      ⑦ 本承包单位(我司)需提供紧急电源于所有消防系统装置。

      ⑧ 本承包单位(我司)须与上述承包单位协调以进行所需的安装工作,并就双方的交接驳口议定准确的位置及双方的工作界面。

c、弱电专业

      ① 消防系统承包单位将於消防控制室内消防控制屏旁提供无电压接点以供本承包单位(我司)接驳至楼宇中央管理系统,用以显示火警信息,各有关水箱之高低水位警报、水泵和相关设备的运作状况。

      ② 有关火灾应急广播切换,消防系统承包单位将按防火分区控制要求提供无电压接点,以供本承包单位(我司)接驳至广播系统作自动切换为火灾应急广播。

      ③ 本承包单位(我司)须与消防系统承包单位协调以进行所需的安装工作,并就双方的交接驳口议定准确的位置及双方的工作界面。

d、备用发电机组(供应)安装

关于紧急发电机组运行情况的反馈信号,本承包单位(我司)于各发电机房内提供各发电机组的运行及故障信号无电压接点,供消防系统承包商接驳至消防控制屏上。无电压接点应设于终端盒内。

 

(3)与燃气系统(分)承包单位的协调工作

a、空调、采暖及通风专业

      ① 燃气系统的快速式切断阀的启闭与厨房通风系统的开关联锁:通风系统开动,快速切断阀才开启,通风系统关闭,切断阀亦同时关闭。燃气泄漏报警系统亦与快速切断闭联络;如探测到燃气泄漏,快速切断阀会关闭,但通风系统将维持运作以便把燃气排出室外。

      ② 本承包单位(我司)负责与燃气系统承包单位协调,并就双方的交接驳口议定准确的位置及详细的工作界面。

b、低压供电专业

① 本承包单位(我司)负责供应、安装及接驳紧急电源缆从配电箱至快速式切断阀、燃气泄漏报警及控制屏旁的隔离开关或熔丝开关。

② 本承包单位(我司)负责提供接地装置至上述各设备以完成有关接地系统。

③ 本承包单位(我司)负责与燃气系统承包单位协调以进行所需的安装工作,并就双方的交接驳口议定准确的位置及双方的工作界面。

 

(4)与升降拥电扶梯(分)承包单位的协调工作

a、低压供电专业

① 供应及安装电源电缆从低压配电屏至位于升降机房内的升降机供电屏。

② 供应及安装升降机房内的升降机供电屏并包括自动转换开关(ATS), MCCB箱连 MCCB, MCB箱连 MCB等。

③ 供应及安装升降机井内的照明及插座供电回路,升降机井内的照明及插座则由升降机分包单位负责。

      ④ 提供乾接点信号于每个升降机房内,信号包括‘正常电力供应故障’及‘应急用电力供应生效’。有关信号将接驳至由升降机分包单位提供的接线盒内。

      ⑤ 供应及安装从各升降机房至位于首层消防/保安控制室的总监察屏及位于分区控制室的分区监察控制屏之电线槽及电线管,供监控升降机系统之用。

      ⑥ 供应及安装电源电缆从配箱至扶手电梯井,包括安装于扶手电梯内的防水型隔离开关及防水型照明开关。

      ⑦ 供应及安装从各扶手电梯井至位于首层消防/保安控制室的总监察控制屏之电线槽及电线管,供监控扶手电梯系统之用。

      ⑧ 供应及安装接地装置至各升降机房指定位置及各电扶梯以完成有关接地系统。

      ⑨ 每部电扶梯外壳底部将有灯具设置,有关之线管将藏于电扶梯底的外修饰板内。本承包单位须与电扶梯承包单位协调以进行有关的预留孔洞、线管及支架等的安装工作。

      ⑩ 本承包单位须与上述承包单位协调以进行所需的安装工作,并就 双方的交接驳口议定准确的位置及双方的工作界面。

a、弱电专业

① 有关升降机轿厢内的闭路电视及广播系统,升降机及电扶梯系统承包单位将於升降机井道内,提供线管、视频及音频传输线及接线端子供本承包单位(我司)接驳。

② 本承包单位(我司)负责与升降机及扶梯系统承包单位协调,并就双方的交接驳口议定准确的位置及双方的工作界面。

 

(5与玻璃幕墙承包单位的协调工作

a、低压供电专业

① 本承包单位(我司)负责于地上30米外及以上每隔三层提供由镀锌扁钢组成的均压环,用作幕墙防雷接地之用。

② 幕墙承包单位将于设均压环的楼层的幕墙框架提供多个接合端供接驳防雷接地系统之用。

③ 本承包单位(我司)须从压环引出镀锌扁钢或导线上接驳至幕墙承包单位所提供的接点,接驳工作由本承包单位(我司)负责。

④本承包单位(我司)负责与燃气系统承包单位协调以进行所需的安装工作,并就双方的交接驳口议定准确的位置及双方的工作界面。

 

6、本承包商内部各专业的协调

空调、采暖和通风系统;给排水系统;低压供电系统;弱电系统;以及备用发电机组供应安装均由本承包商(我司)自有施工队伍进行施工。

首先,本公司项目部将根据合约、技术规格说明书及设计图纸要求,统筹做出部署,进行细致的划项和交圈,并制定出详细的总体和各单项计划,并协同组织实施;

本公司设计部依据合约条款、设计图纸,绘制出各种管线的综合布置图,以及各机房、标准间的安装大样图,经审定后作为施工依据,以指导各专业的配合施工;

由一名项目副经理专门负责各专业的施工协调,项目工程部全权负责生产安装过程中的协调工作,技术部负责协调解决配合施工相关的技术问题,质量部、安全消防部负责配合施工的质量、安全把关,合约部负责收集、传递及反馈业主、顾问公司及土建单位关于施工配合的要求及建议;

制定相应的配合原则及制度,各专业在施工过程中严格遵守。定期(每周)召开各专业施工协调会议,及时处理解决施工过程中的配合问题,理顺各种环节及关系,营造出良好(内部及外部)配合施工氛围。

各专业在施工过程还应注意搞好以下几个环节

(1)隔热保温施工

按施工作业分段、分系统,管道安装完后,应及时进行水压试压,合格后交保温施工。

(2)设备安装与管道、电气的配合

设备到货后,应尽快就位,为管道配管和电气接线创造条件。

(3)设备试运转及系统调试的配合

设备试运转应由电工先将设备单机试运转合格(如水泵、风机)后,再运转设备。系统调试事先编制调试方案,经顾问公司批准后,由专职调试技术人员、安装相关各专业、厂家组成的联合调试小组进行系统调试,并出具调试报告由业主、顾问公司认定。

(4)自动消防调试的配合

自动消防调试以管道和弱电专业配合进行。自动喷洒系统及消火栓系统,由管道专业编制调试方案。消防报警系统由弱电专业编制调试方案。

 

 

2施工进度计划

 

1工程总控计划

 

本工程采用以下计划模式:

 

 

 

 

 

1、由总控计划编制相应施工计划。根据总控计划制订阶段计划和月计划,由阶段和月计划制订周计划,再由周计划制订日计划,层层落实总控计划。

2、由各类计划保证总控计划实现。形成以日计划保证周计划,周计划保证月计划,月计划保证阶段计划,阶段计划保证总控计划的计划保证体系。

3、计划实施过程中进行动态消项管理,检查和发现计划中的偏差,并及时进行调整和纠正,避免影响月计划、阶段计划,进而影响总控计划。

4、切实落实机电配套计划的实施,保证施工计划的进展和实现。

5、及时与土建、装饰等专业进行计划协调,避免工序、技术、作业面等矛盾而影响计划的实施。

6、对计划进行严格管理,建立相应奖惩制度,切实保证计划的实施效果。

    7、在施工过程中随时听取业主及顾问公司对工程进度意见和建议,并积极做出相应的调整,保持与工程整体安排部署及业主、顾问公司的步调统一。

8、为保证总控计划的实施,应制定以下配套计划:材料、设备送审、订货、进场计划;施工机具使用计划;劳动力使用计划;加工件的加工计划;调试计划;验收计划;培训计划。

 

 

 

 

 


 

 

 

 

 

 

 

 

 

 

 

 

 

 

 

 

 

 

 

 

 

 

 

 

 

 

 

 

 

 

 

 

 

 

 

 

 

 

 

 

 

 

 

 

 

 

 

 

 

工程进度控制模式图

 

 

 

2工程进度控制计划

 

本公司如有幸中标,即受到中标通知书后就开始本工程的各项施工准备工作,以便工程开工后能按施工进度计划顺利进行。

我们根据本工程议标图纸和邀标文件,已草拟了本机电设备安装工程进度控制网络计划(见后页附图“工程进度控制计划表”),并承诺凭借我公司的实力、丰富的大型工程的施工管理经验,以及与外商、澳(港)商、知名设计公司、顾问公司多次成功合作的经历,完全能确保和提前完成机电施工工作。

如我公司有幸中标,将在两周内向业主、顾问公司及工料测量师呈送一份更为详细的工程进度计划,主要包括以下内容:

派驻管理人员及各工种技术工人状况,进驻工地的时间;

现场临设计划;

施工图纸的深化设计出图及送审计划;

设备及材料送审、订货、进场计划;

细化专业工序控制的施工网络进度计划;

劳动力配备计划;

施工机具设备计划;

预制件的加工计划;

工厂、工地测试,调试计划及验收计划

(10)资料送审及报批计划;

(11)培训计划;

(12)竣后服务计划等。

在编制本工程项目进度计划时主要依据下述原则

(1)合同中关于各施工项目总体进度要求

(2)国家及地方的有关法令、法规;

(3)施工工艺标准规定的施工方法和施工工艺流程

(4)合同中规定的开、竣工日期;

(5)土建的施工进度计划安排

(6)设计图纸和设计说明

(7)顾问公司的技术规格说明书;

(8)有关设备的供获周期;

(9)本工程的地理位置、交通状况及临近社区环境;

(10)各工种之间的施工顺序和搭接关系

(11)本公司对本工程的各项承诺;

(12)本公司同类型及大型工程施工管理经验。

 

3工期保证措施

 

   1、采用先进的施工技术,提高生产率

  (1)空调风系统:风管加工采用计算机放样下料,形成预制装配化,并采用分段组装、整体吊装的安装方法;

  (2)标准化支、吊架:大大加快施工进度;

  (3)消防水管道:采用沟槽连接件,提高工效。

   2、发挥大型企业集团优势,提供专业施工保证

  (1)我们将充分发挥我公司做为国家一级安装企业的集团化人才优势,选拔和调集具有同类型或大型施工经验的素质高、技术好、业务精、能力强的骨干力量组建项目管理班子;

  (2)选则素质好、技术能力强、有类似工程经验劳务队伍参加工程施工,并坚持考核上岗制度;

  (3)配备充足的施工机具设备施工;

  (4)有计划地保质保量地进行材料的订货、供应、检验和储运工作;

  (5)设置适于本工程的项目管理机构及岗位,并建立健全各项制度,奖罚分明;

  (6)实行工程总控体系模式,对工程工期进行整体和细部的控制(详见“4.2.1工程总控计划”)。

    从“人、机、料、法、环”以上五方面,提供本公司资源上的优势,对本工程工期加以控制和保障。

   3、搞好项目资金管理

   (1)保证本工程项目资金将全部用到工程施工上,严禁挪作它用;

   (2)项目资金出现困难,联合体及时出面协助解决;

   (3)坚持按月报量(月完成工作量和月计划完成量),配合协助建设单位和总包作好付款和备款计划。

   4、融洽各方关系,做好施工配合工作

  (1)融洽与政府部门、建设单位、设计单位、总包、土建及其他单位的关系,创造良好外部条件和施工氛围,确保工程顺利施工;

  (2)做好施工配合工作(详见“4.1.3施工配合与协调”)。

   5、搞好文明施工,严格工程质量、安全管理,良性地促进保证和保证工程施工。(见第九章、第十章、第十一章之相应“管理措施”)

 

 

4施工主要机具及检测设备计划

 

为保质保量完成本工程的施工任务达到设计要求的标准确保工程工期,我们在分析了本工程的特点之后结合本公司的机具及检测设备力量,编制了施工机具及检测设备计划。(内容详见附表6“主要施工机具及检测设备计划”)

 

附表6:主要施工机具及检测设备计划

序号

名称

规格型号

单位

数量

备注

1

通风管联合加工设备

美国美科

1

 

2

通风管联合加工设备

美国美科

1

 

3

单平口咬口机

LB-12DR

4

 

4

联合弯头咬口机

SAF-6

8

 

5

联合式咬口机

FSL-16/日本

3

 

6

液压板料折弯机

WB67Y-100

2

 

7

剪板机

Q11-3*2000H

2

 

8

手动剪板机

 

8

 

9

插接法兰铆接机

 

8

 

10

联合口合缝机

 

5

 

11

压筋机

918J/美国里奇

1

 

12

套丝机

Z3T-R4(1/2”-2”

6

 

13

薄管套丝机

 

3

 

14

圆钢套丝机

SG20A

4

 

 

附表6:主要施工机具及检测设备计划(续)

序号

名称

规格型号

单位

数量

备注

15

弯管机

WYQ27-108

1

 

16

液压弯管器

φ20-φ32

4

 

17

交流电焊机

AC-380VBX1-500

10

 

18

手提交流电焊机

AC-220V

5

 

19

逆变直流焊机

ZX7-250

2

 

20

焊条烤箱

ZYHC-150

2

 

21

氩弧焊机

WSE-500

4

 

22

气焊工具

 

10

 

23

电动卷扬机

JJMW5

6

 

24

手拉葫芦

SH1.SH2

20

 

25

汽车式起重机

NK-200BE/日本加藤

台班

40

 

27

升降平台

STY03-6/山东/1998

2

 

28

载重汽车

日野

2

 

29

载重汽车

130加长

4

 

30

叉车

5t  CPCD-5

2

 

31

砂轮锯

400

15

 

32

台钻

13mm 

8

 

33

手电钻

6-12mm  J222

40

 

34

电锤

φ8φ38

10

 

35

手砂轮

 

20

 

36

液压开孔器

 

3

 

37

胀管器

φ8-φ32

4

铜管专用

38

切管机

 

4

铜管专用

39

压槽机

 

3

 

40

空气压缩机

VW-0.22/7

1

 

41

空气压缩机

CZ-0.43/60A

1

 

42

电动试压泵

4DSY-165

6

 

43

手动液压接线钳

SYB16-240

6

 

44

无线电对讲机

 

10

 

45

铝合金人字梯

9,11,13,15

各10

 

46

移动门式架

 

20

 

47

兆欧表

500-2500V

5

 

 

 

附表6:主要施工机具及检测设备计划(续)

序号

名称

规格型号

单位

数量

备注

48

摇表

500V

5

 

49

数字万用表

 

10

 

50

数字钳形表

 

8

 

51

超声波流量计

FLB2004/日本富士

1

 

52

电流表

 

5

 

53

水准仪

Yi004/德国

1

 

54

热球式风速仪

数字式

6

 

55

数字微压计

 

3

 

56

皮托管

 

3

 

57

双金属湿度计

 

2

 

58

转速表

 

5

 

59

数显点温计

-20~100℃

10

 

60

防火阀测试仪

JW-30A

1

 

61

风管漏风测试仪

Q89

2

 

62

 

临时用电配电箱

主开关电流100A

配两个漏电分开关(30mA

 

 

30

 

 

 

5劳动力计划安排

 

为保证本工程各项内容按预定计划完成在编制施工进度计划时我们充分考虑到各专业在完成每道工序所需要的劳力相应的劳动力计划在中标后按业主规定的时间内呈送业主审定。(劳动力计划初步详见附表7“劳动力计划表”及附图“劳动力动态图”)

 

附表7:劳动力计划表

时间

管工

(人)

通风工(人)

电工

(人)

焊工

(人)

钳工

(人)

起 重工(人)

调 试工(人)

杂工

(人)

合计

(人)

2002年3月

 

 

 

 

 

 

 

 

 

2002年4月

 

 

 

 

 

 

 

 

 

附表7:劳动力计划表(续)

时间

管工

(人)

通风工(人)

电工

(人)

焊工

(人)

钳工

(人)

起 重工(人)

调 试工(人)

杂工

(人)

合计

(人)

2002年5月

 

 

 

 

 

 

 

 

 

2002年6月

 

 

 

 

 

 

 

 

 

2002年7月

 

 

 

 

 

 

 

 

 

2002年8月

 

 

 

 

 

 

 

 

 

2002年9月

 

 

 

 

 

 

 

 

 

2002年10月

 

 

 

 

 

 

 

 

 

2002年11月

 

 

 

 

 

 

 

 

 

2002年12月

 

 

 

 

 

 

 

 

 

2003年1月

 

 

 

 

 

 

 

 

 

2003年2月

 

 

 

 

 

 

 

 

 

2003年3月

 

 

 

 

 

 

 

 

 

2003年4月

 

 

 

 

 

 

 

 

 

2003年5月

 

 

 

 

 

 

 

 

 

2003年6月

 

 

 

 

 

 

 

 

 

2003年7月

 

 

 

 

 

 

 

 

 

2003年8月

 

 

 

 

 

 

 

 

 

2003年9月

 

 

 

 

 

 

 

 

 

2003年10月

 

 

 

 

 

 

 

 

 

2003年11月

 

 

 

 

 

 

 

 

 

2003年12月

 

 

 

 

 

 

 

 

 

2003年1月

 

 

 

 

 

 

 

 

 

2003年2月

 

 

 

 

 

 

 

 

 

2003年3月

 

 

 

 

 

 

 

 

 

注:本劳动力计划仅为本此次投标工程量范围暂定的劳动力预计安装

 

 

● 劳动力动态情况见下页劳动力动态图

 

 

 

附图:劳动力动态图

 

 

 

6主要设备及材料供货计划

 

    为确保工程进度控制网络计划及工程施工的顺利进行,我们拟定了本“供货计划”(下页附表8),如有幸中标,我们将制定一份更为详尽的设备及材料供货计划,报请业主(顾问公司、工料测量师)审批。

 

附表8:主要设备及材料供货计划表

设备编号

设备用途或功能

安装位置

设备类型

数量

进场时间

备注

CH/B2/01至05

冷水机组

地下二层空调机房

水冷离心式

5台

2002年7月

 

CH/B2/06

冷水机组

地下二层空调机房

水冷离心式

1台

2002年7月

 

CHWP/B2/01至06

冷冻水泵

地下二层空调机房

卧式离心

6台

2002年6月

 

CHWP/B2/07至08

冷冻水泵

地下二层空调机房

卧式离心

6台

2002年6月

 

CT/6F/01至05

散热

裙楼六层屋顶

开式冷却塔

5台

2003年3月

 

CT/6F/06

散热

裙楼六层屋顶

开式冷却塔

1台

2003年3月

 

CDWP/B2/01至06

冷却水泵

地下二层空调机房

卧式离心

6台

2002年6月

 

CDWP/B2/07至08

冷却水泵

地下二层空调机房

卧式离心

2台

2002年6月

 

HTWP/B2/01至05

空调热水泵

地下二层空调机房

卧式离心

5台

2002年6月

 

HWP/B2/01至03

采暖热水泵

地下二层空调机房

卧式离心

3台

2002年6月

 

CONWP/B2/01至02

冷凝热水水泵

地下二层空调机房

卧式离心

2台

2002年6月

 

CONWP/B2/03至04

冷凝热水水泵

地下二层空调机房

卧式离心/连线式

2台

2002年7月

 

WP/B2/01至02

冷水换热水泵

地下二层空调机房

卧式离心/连线式

2台

2002年7月

 

CH(H)WP/21F/01至03

冷冻/采暖水泵

二十一层设备层

卧式离心

3台

2002年6月

 

HX/B2/0102

冬季内区供冷

地下二层空调机房

板片式热交换器

2

2002年6月

 

附表8:主要设备及材料供货计划表(续)

设备编号

设备用途或功能

安装位置

设备类型

数量

进场时间

备注

HX/21F/0102

二十一层以上供冷

二十一层设备层

板片式热交换器

2

2002年6月

 

二十一层以上供热

二十一层设备层

板片式热交换器

2

2002年6月

 

HX/B2/09

冷凝水换热

地下二层空调机房

板片式热交换器

1

2002年6月

 

HX/B2/0306

冬季空调

地下二层制冷机房

管壳式热交换器

4

2002年6月

 

HX/B2/0708

冬季采暖

地下二层制冷机房

管壳式热交换器

2

2002年6月

 

HF-P/GF/01

裙房首层新风加湿

裙房首层空调机房

高压喷雾式加湿器

1

2002年6月

 

HF-P/GF/02

裙房首层新风加湿

裙房首层空调机房

高压喷雾式加湿器

1

2002年6月

 

HF-P/GF/03

裙房首层新风加湿

裙房首层空调机房

高压喷雾式加湿器

1

2002年6月

 

HF-P/2F/01

裙房二层新风加湿

裙房二层空调机房

高压喷雾式加湿器

1

2002年6月

 

HF-P/2F/02

裙房二层新风加湿

裙房二层空调机房

高压喷雾式加湿器

1

2002年6月

 

HF-P/2F/03

裙房二层新风加湿

裙房二层空调机房

高压喷雾式加湿器

1

2002年6月

 

HF-P/2F/04

裙房二层新风加湿

裙房二层空调机房

高压喷雾式加湿器

1

2002年6月

 

HF-P/2F/05

裙房二层新风加湿

裙房二层空调机房

高压喷雾式加湿器

1

2002年6月

 

附表8:主要设备及材料供货计划表(续)

设备编号

设备用途或功能

安装位置

设备类型

数量

进场时间

备注

HF-P/2F/06

裙房二层新风加湿

裙房二层空调机房

高压喷雾式加湿器

1

2002年6月

 

HF-P/3F/01&02

裙房三层新风加湿

裙房三层空调机房

高压喷雾式加湿器

2

2002年6月

 

HF-P/3F/03

裙房三层新风加湿

裙房三层空调机房

高压喷雾式加湿器

1

2002年6月

 

HF-P/3F/04

裙房三层新风加湿

裙房三层空调机房

高压喷雾式加湿器

1

2002年6月

 

HF-P/3F/05

裙房三层新风加湿

裙房三层空调机房

高压喷雾式加湿器

1

2002年6月

 

HF-P/4F/01

裙房四层新风加湿

裙房四层空调机房

高压喷雾式加湿器

1

2002年6月

 

HF-P/4F/02

裙房四层新风加湿

裙房四层空调机房

高压喷雾式加湿器

1

2002年6月

 

HF-P/4F/03

裙房四层新风加湿

裙房四层空调机房

高压喷雾式加湿器

1

2002年6月

 

HF-P/4F/04

裙房四层新风加湿

裙房四层空调机房

高压喷雾式加湿器

1

2002年6月

 

HF-P/4F/05

裙房四层新风加湿

裙房四层空调机房

高压喷雾式加湿器

1

2002年6月

 

HF-P/5F/01

裙房五层新风加湿

裙房五层空调机房

高压喷雾式加湿器

1

2002年6月

 

HF-P/5F/02

裙房五层新风加湿

裙房五层空调机房

高压喷雾式加湿器

1

2002年6月

 

HF-P/5F/03

裙房五层新风加湿

裙房五层空调机房

高压喷雾式加湿器

1

2002年6月

 

 

附表8:主要设备及材料供货计划表(续)

设备编号

设备用途或功能

安装位置

设备类型

数量

进场时间

备注

HF-P/6F/01

裙房六层新风加湿

裙房六层空调机房

高压喷雾式加湿器

1

2002年6月

 

HF-P/6F/02

裙房六层新风加湿

裙房六层空调机房

高压喷雾式加湿器

1

2002年6月

 

HF-P/6F/03

裙房六层新风加湿

裙房六层空调机房

高压喷雾式加湿器

1

2002年6月

 

HF-H/21F/01,02

宾馆新风加湿

二十一层设备层

高压喷雾式加湿器

2

2002年8月

 

HF-H/36F/01,02

宾馆新风加湿

三十六层设备层

高压喷雾式加湿器

2

2003年1月

 

HF-A/36F/01

服务公寓新风加湿

三十六层设备层

高压喷雾式加湿器

1

2003年1月

 

HF-A/36F/02

服务公寓新风加湿

三十六层设备层

高压喷雾式加湿器

1

2003年1月

 

HF-A/36F/03

服务公寓新风加湿

三十六层设备层

高压喷雾式加湿器

1

2003年1月

 

HF-A/36F/04

服务公寓新风加湿

三十六层设备层

高压喷雾式加湿器

1

2003年1月

 

HF-O/21F/01

办公楼新风加湿

二十一层设备层

高压喷雾式加湿器

1

2002年8月

 

HF-O/21F/02

办公楼新风加湿

二十一层设备层

高压喷雾加湿器式

1

2002年8月

 

HF-H/5F/01

宾馆群楼首层至五层新风加湿

宾馆裙楼五层风机房

高压喷雾式加湿器

1

2002年6月

 

AHU-P/3F/01

三层空调机房

二层大台阶空调

空调机

1

2002年6月

 

AHU-P/4F/01

四层空调机房

三层大台阶空调

空调机

1

2002年6月

 

附表8:主要设备及材料供货计划表(续)

设备编号

设备用途或功能

安装位置

设备类型

数量

进场时间

备注

AHU-P/5F/02

五层空调机房

四层大台阶空调

空调机

1

2002年6月

 

AHU/B1/01

地下一层风机房

地下一层超市空调

空调机

1

2002年6月

 

AHU/B1/02

地下一层风机房

地下一层超市空调

空调机

1

2002年6月

 

AHU/B1/03

地下一层风机房

地下一层超市空调

空调机

1

2002年6月

 

AHU/B1/04

地下一层风机房

地下一层超市空调

空调机

1

2002年6月

 

AHU/B1/05

地下一层风机房

地下一层百货空调

空调机

1

2002年6月

 

AHU/B1/06

地下一层风机房

地下一层百货空调

空调机

1

2002年6月

 

AHU-H/2F/01

宾馆群楼二层

宾馆入口大堂空调

空调机

1

2002年6月

 

AHU-O/2F/01

宾馆群楼二层

办公楼入口大堂空调

空调机

1

2002年6月

 

AHU-A/2F/01

宾馆群楼二层

服务公寓入口大堂空调

空调机

1

2002年6月

 

AHU-H/3F/01

宾馆群楼三层入口大堂

宾馆群楼三层入口大堂空调

空调机

1

2002年6月

 

AHU-P/5F/01

五层空调机房

五层美食广场

空调机

1

2002年6月

 

AHU/50F/01

五十层夹层

四十八层云霄餐厅

空调机

1

2003年1月底

 

AHU/50F/02

五十层夹层

四十七层云霄餐厅

空调机

1

2003年1月底

 

AHU/50F/03

五十层夹层

四十七层云霄餐厅

空调机

1

2003年1月底

 

附表8:主要设备及材料供货计划表(续)

设备编号

设备用途或功能

安装位置

设备类型

数量

进场时间

备注

PAU-P/GF/01

供应群房首层新风

群房首层空调机房

新风机

1

2002年6月

 

PAU-P/GF/02

供应群房首层新风

群房首层空调机房

新风机

1

2002年6月

 

PAU-P/GF/03

供应群房首层新风

群房首层空调机房

新风机

1

2002年6月

 

PAU-P/2F/01

供应群房二层新风

群房二层空调机房

新风机

1

2002年6月

 

PAU-P/2F/02

供应群房二层新风

群房二层空调机房

新风机

1

2002年6月

 

PAU-P/2F/03

供应群房二层新风

群房二层空调机房

新风机

1

2002年6月

 

PAU-P/2F/04

供应群房二层新风

群房二层空调机房

新风机

1

2002年6月

 

PAU-P/2F/05

供应群房二层新风

群房二层空调机房

新风机

1

2002年6月

 

PAU-P/2F/06

供应群房二层新风

群房二层空调机房

新风机

1

2002年6月

 

PAU-P/3F/01&02

供应群房三层新风

群房三层空调机房

新风机

2

2002年6月

 

PAU-P/3F/03

供应群房三层新风

群房三层空调机房

新风机

1

2002年6月

 

PAU-P/3F/04

供应群房三层新风

群房三层空调机房

新风机

1

2002年6月

 

PAU-P/3F/05

供应群房三层新风

群房三层空调机房

新风机

1

2002年6月

 

附表8:设备及主要材料供货计划表(续)

设备编号

设备用途或功能

安装位置

设备类型

数量

进场时间

备注

PAU-P/4F/01

供应群房四层新风

群房四层空调机房

新风机

1

2002年6月

 

PAU-P/4F/02

供应群房四层新风

群房四层空调机房

新风机

1

2002年6月

 

PAU-P/4F/03

供应群房四层新风

群房四层空调机房

新风机

1

2002年6月

 

PAU-P/4F/04

供应群房四层新风

群房四层空调机房

新风机

1

2002年6月

 

PAU-P/4F/05

供应群房四层新风

群房四层空调机房

新风机

1

2002年6月

 

PAU-P/5F/01

供应群房五层新风

群房五层空调机房

新风机

1

2002年6月底

 

PAU-P/5F/02

供应群房五层新风

群房五层空调机房

新风机

1

2002年6月底

 

PAU-P/5F/03

供应群房五层新风

群房五层空调机房

新风机

1

2002年6月底

 

PAU-P/6F/01

供应群房六层新风

群房六层空调机房

新风机

1

2002年6月底

 

PAU-P/6F/02

供应群房六层新风

群房六层空调机房

新风机

1

2002年6月底

 

PAU-P/6F/03

供应群房六层新风

群房六层空调机房

新风机

1

2002年6月底

 

PAU-H/21F/01,02

供应宾馆新风

二十一层设备层

新风机

2

2002年8月初

 

PAU-H/36F/01,02

供应宾馆新风

三十六层设备层

新风机

2

2003年1月底

 

PAU-A/36F/01

供应服务公寓新风

三十六层设备层

新风机

1

2003年1月底

 

PAU-A/36F/02

供应服务公寓新风

三十六层设备层

新风机

1

2003年1月底

 

表8:设备及主要材料供货计划表(续)

设备编号

设备用途或功能

安装位置

设备类型

数量

进场时间

备注

PAU-A/36F/03

供应服务公寓新风

三十六层设备层

新风机

1

2003年1月底

 

PAU-A/36F/04

供应服务公寓新风

三十六层设备层

新风机

1

2003年1月底

 

PAU-O/21F/01

供应办公楼新风

二十一层设备层

新风机

1

2002年8月初

 

PAU-O/21F/02

供应办公楼新风

二十一层设备层

新风机

1

2002年8月初

 

PAU-H/5F/01

宾馆群楼首至五层新风

宾馆群楼五层风机房

新风机

1

2002年6月底

 

FC-04

服务区空调

如图

天花隐藏式风机盘管

(二管转换)

278

2002年8月初

 

塔楼高区为

2002年12月

FC-06

服务区空调

如图

天花隐藏式风机盘管

(二管转换)

322

2002年8月初

塔楼高区为

2002年12月

FC-08

服务区空调

如图

天花隐藏式

(二管转换)

229

2002年8月初

塔楼高区为

2002年12月

FC-10

服务区空调

如图

天花隐藏式风机盘管

(二管转换)

179

2002年8月初

塔楼高区为

2002年12月

FC-12

服务区空调

如图

天花隐藏式风机盘管

(二管转换)

173

2002年8月初

塔楼高区为

2002年12月

MAHU

商场内走廊空调

如图

天花隐藏式风机盘管

(二管转换)

70

2002年7月

 

 

附表8:主要设备及材料供货计划表(续)

设备编号

设备用途或功能

安装位置

设备类型

数量

进场时间

备注

RAD-"X"

楼梯间、地库、机房采暖

如图

铸铁四柱813

采暖散热器

922台

2002年7月

2002年8月

塔楼高区为

2003年1月

ACU

首层入口热风幕

首层入口

 

29台

2003年1月

 

MAF/B1/01

地下二层补风

地下一层1#风机房

后弯叶片离心风机

1

2002年6月

 

MAF/B1/02

地下二层补风

地下一层2#风机房

后弯叶片离心风机

1

2002年6月

 

MAF/B1/05

地下二层补风

地下一层4#风机房

后弯叶片离心风机

1

2002年6月

 

MAF/B1/07

地下二层补风

地下一层7#风机房

后弯叶片离心风机

1

2002年6月

 

MAF/B1/08

地下二层补风

地下一层5#风机房

后弯叶片离心风机

1

2002年6月

 

MAF/B1/09

地下二层补风

地下一层12#风机房

后弯叶片离心风机

1

2002年6月

 

MAF/B1/13

地下二层补风

地下一层9#风机房

后弯叶片离心风机

1

2002年6月

 

MAF/B1/14

地下二层补风

地下一层8#风机房

后弯叶片离心风机

1

2002年6月

 

MAF/B1/03,04,06,10,12

地下一层补风

地下一层4,5,12,11,9#风机房

轴流式

6

2002年6月

 

MAF/B1/15

地下一层补风

地下一层2#风机房

前弯叶片离心风机

1

2002年6月

 

OAF/B1/01

泵房新风

地下一层

后弯叶片离心风机

1

2002年6月

双速风机

OAF/B1/02,06

泵房新风

地下一层

后弯叶片离心风机

2

2002年6月

双速风机

附表8:主要设备及材料供货计划表(续)

设备编号

设备用途或功能

安装位置

设备类型

数量

进场时间

备注

OAF/B1/03

供控制室新风

地下一层

前弯叶片离心风机

1

2002年6月

 

OAF/B1/04

供地下二层配电房新风

地下一层

后弯叶片离心风机

1

2002年6月

双速风机

OAF/B1/05

供地下一层配电间新风

地下一层

前弯叶片离心风机

1

2002年6月

 

OAF/B1/07

供地下一层配电间新风

地下一层

后弯叶片离心风机

1

2002年6月

 

OAF-H/7F/01

七层宾馆洗衣房送风

七层宾馆洗衣房

前弯叶片离心风机

1

2002年7月

 

OAF-P/7F/01

七层水加热器房送风

七层水加热器房

后弯叶片离心风机

1

2002年7月

 

OAF-O/36F/01 (*)

二十一层升降机房送风

二十一层设备层

前弯叶片离心风机

1

2002年8月底

 

OAF/21F/01(SPF-E/21F/01)

二十一层机房送风

二十一层设备层

后弯叶片离心风机

1

2002年8月底

 

OAF-H/36F/01 (*)

三十六层升降机房送风

三十六层设备层

前弯叶片离心风机

1

2003年2月底

 

OAF/36F/01 (SPF-E/36F/01)

三十六层机房送风

三十六层设备层

后弯叶片离心风机

1

2003年2月底

 

OAF/50F/01

五十层消防电梯机房送风

五十层夹层空调机房

前弯叶片离心风机

1

2003年2月底

 

KOAF-H/4F/01

四层宾馆厨房送风

四层宾馆厨房

后弯叶片离心风机

1

2002年6月底

 

KOAF-H/5F/01

五层宾馆厨房送风

五层宾馆厨房

后弯叶片离心风机

1

2002年6月底

 

KOAF-P/6F/01

五层美食广场厨房送风

六层空调器房

后弯叶片离心风机

1

2002年6月底

 

 

附表8:主要设备及材料供货计划表(续)

设备编号

设备用途或功能

安装位置

设备类型

数量

进场时间

备注

SPF-P/GF/01

合用前室加压

首层车道入口

轴流式

1

2002年7月

 

SPF-P/2F/01

楼梯间加压

二层楼梯间

轴流式

1

2002年7月

 

SPF-H/2F/01

楼梯间加压

宾馆二层楼梯间

轴流式

1

2002年7月

 

SPF-P/3F/01

前室加压

三层风机房

轴流式

1

2002年7月

 

SPF-P/3F/02

楼梯间加压

三层风机房

轴流式

1

2002年7月

 

SPF-P/3F/03

前室加压

三层风机房

轴流式

1

2002年7月

 

SPF-P/3F/04

楼梯间加压

三层楼梯间

轴流式

1

2002年7月

 

SPF-P/3F/05

前室加压

三层风机房

轴流式

1

2002年7月

 

SPF-P/3F/06

楼梯间加压

三层楼梯间

轴流式

1

2002年7月

 

SPF-P/3F/07

前室加压

三层楼梯间

轴流式

1

2002年7月

 

SPF-P/3F/09

前室加压

三层商店走廊

轴流式

1

2002年7月

 

SPF-P/4F/01

前室加压

四层风机房

轴流式

1

2002年7月

 

SPF-P/4F/02

楼梯间加压

四层风机房

轴流式

1

2002年7月

 

 

附表8:主要设备及材料供货计划表(续)

设备编号

设备用途或功能

安装位置

设备类型

数量

进场时间

备注

SPF-P/4F/06

楼梯间加压

四层风机房

轴流式

1

2002年7月

 

SPF-P/4F/04

前室加压

四层风机房

轴流式

1

2002年7月

 

SPF-P/4F/05

楼梯间加压

四层风机房

轴流式

1

2002年7月

 

SPF-P/5F/01

前室加压

五层风机房

轴流式

1

2002年7月

 

SPF-P/5F/02

楼梯间加压

五层风机房

轴流式

1

2002年7月

 

SPF-P/5F/03

合用前室加压

五层风机房

轴流式

1

2002年7月

 

SPF-P/6F/01

楼梯间加压

六层风机房

轴流式

1

2002年7月

 

SPF-P/6F/02

前室加压

六层风机房

轴流式

1

2002年7月

 

SPF-P/6F/05~07

加压送风

六层

轴流式

1

2002年7月

 

SPF-P/6F/04

前室加压

六层风机房

轴流式

1

2002年7月

 

SPF-P/7F/01

楼梯间加压

七层风机房

轴流式

1

2002年7月

 

SPF-P/7F/02

前室加压

七层风机房

轴流式

1

2002年7月

 

SPF-P/7F/03

楼梯间加压

七层楼梯间

轴流式

1

2002年7月

 

SPF-P/7F/04

楼梯间加压

七层楼梯间

轴流式

1

2002年7月

 

SPF-P/8F/01

楼梯间加压

八层风机房

轴流式

1

2002年7月

 

附表8:主要设备及材料供货计划表(续)

设备编号

设备用途或功能

安装位置

设备类型

数量

进场时间

备注

SPF-O/21F/01~04

办公楼楼梯间或前室加压

二十一设备层

轴流式

2

2002年8月底

 

SPF/21F/01,02

加压送风

二十一设备层

轴流式

2

2002年8月底

 

SPF-H/36F/01~04

宾馆楼梯间或前室加压

三十六层设备层

轴流式

2

2003年1月底

 

SPF/36F/01,02

加压送风

三十六层设备层

轴流式

2

2003年1月底

 

SPF-A/49F/01

服务公寓消防前室加压

四十九层设备层

离心式

1

2003年2月底

 

SPF-A/50F/03

服务公寓楼梯间前室加压

五十层夹层设备层

离心式

1

2003年2月底

 

SPF-A/50F/01,02

服务公寓楼梯间加压

五十层设备层

离心式

2

2003年2月底

 

EAF/B1/01

地下一层空调主机房排风

地下一层空调机房

轴流式排风机

1

2002年6月

变速风机

EAF/B1/02

地下一层空调主机房排风

地下一层空调机房

轴流式排风机

1

2002年6月

变速风机

EAF/B1/03

地下一层控制中心排风

地下一层控制中心

前弯叶片离心式排风机

1

2002年6月

 

EAF/B1/04

地下二层变配电房排风

地下一层控制中心

轴流式排风机

1

2002年6月

变速风机

EAF/B1/05

地下一层低压配电房排风

地下一层低压配电房

前弯叶片离心式排风机

1

2002年6月

 

EAF/B1/06

地下二层变配电房排风

地下一层控制中心

轴流式排风机

1

2002年6月

变速风机

EAF/B1/07

地下一层垃圾房排风

地下一层垃圾房

前弯叶片离心式排风机

1

2002年6月

 

EAF/B1/08

地下一层厕所排风

地下一层风机房

前弯叶片离心式排风机

1

2002年6月

 

附表8:主要设备及材料供货计划表(续)

设备编号

设备用途或功能

安装位置

设备类型

数量

进场时间

备注

EAF/B1/09

地下一层厕所排风

地下一层厕所

前弯叶片离心式排风机

1

2002年6月

 

EAF/B1/10

地下一层配电房排风

地下一层配电房

前弯叶片离心式排风机

1

2002年6月

 

EAF-P/GF/01

裙房一层厕所排风

裙房一层厕所

前弯叶片离心式排风机

1

2002年7月

 

EAF-P/GF/02

裙房一层厕所排风

裙房一层厕所

前弯叶片离心式排风机

1

2002年7月

 

EAF-P/GF/03

裙房一层厕所排风

裙房一层厕所

前弯叶片离心式排风机

1

2002年7月

 

EAF-H/GF/01

裙房一层厕所排风

裙房一层厕所

前弯叶片离心式排风机

1

2002年7月

 

EAF-P/2F/01

裙房二层厕所排风

裙房二层厕所

前弯叶片离心式排风机

1

2002年7月

 

EAF-P/2F/02,04

裙房二层厕所排风

裙房二层厕所

前弯叶片离心式排风机

2

2002年7月

 

EAF-P/2F/03

裙房二层厕所排风

裙房二层厕所

前弯叶片离心式排风机

1

2002年7月

 

EAF-P/3F/01

裙房三层厕所排风

裙房三层厕所

前弯叶片离心式排风机

1

2002年7月

 

EAF-P/3F/02,03

裙房三层厕所排风

裙房三层厕所

前弯叶片离心式排风机

2

2002年7月

 

EAF-P/3F/04

裙房三层厕所排风

裙房三层厕所

前弯叶片离心式排风机

1

2002年7月

 

EAF-H/3F/01

宾馆三层更衣室排风

宾馆更衣室

前弯叶片离心式排风机

1

2002年7月

 

EAF-P/4F/01

裙房四层厕所排风

裙房四层厕所

前弯叶片离心式排风机

1

2002年7月

 

EAF-P/4F/02,03

裙房四层厕所排风

裙房四层厕所

前弯叶片离心式排风机

2

2002年7月

 

附表8:主要设备及材料供货计划表(续)

设备编号

设备用途或功能

安装位置

设备类型

数量

进场时间

备注

KEF-H/4F/01

宾馆四层厕所排风

宾馆四层厕所

后弯叶片离心式排风机

1

2002年7月

 

EAF-P/5F/01

裙房五层厕所排风

裙房五层厕所

前弯叶片离心式排风机

1

2002年7月

 

EAF-P/5F/02

裙房五层厕所排风

裙房五层厕所

前弯叶片离心式排风机

1

2002年7月

 

EAF-P/5F/03

裙房五层厕所排风

裙房五层厕所

前弯叶片离心式排风机

1

2002年7月

 

EAF-H/5F/01

宾馆五层垃圾房排风

宾馆五层垃圾房

前弯叶片离心式排风机

1

2002年7月

 

EAF-H/5F/02

宾馆五层更衣室排风

宾馆五层更衣室

前弯叶片离心式排风机

1

2002年7月

 

KEF-H/5F/01

宾馆五层厨房排风

宾馆五层厨房

后弯叶片离心式排风机

1

2002年7月

 

EAF-P/6F/01

裙房六层厕所排风

裙房六层厕所

前弯叶片离心式排风机

1

2002年7月

 

EAF-P/6F/02

裙房六层厕所排风

裙房六层厕所

前弯叶片离心式排风机

1

2002年7月

 

EAF-P/6F/03

裙房六层厕所排风

裙房六层厕所

前弯叶片离心式排风机

1

2002年7月

 

EAF-P/6F/04,05

裙房六层发电机房排风

裙房六层发电机房

前弯叶片离心式排风机

2

2002年7月

 

EAF-O/6F/01

商贸六层厕所排风

商贸六层厕所

前弯叶片离心式排风机

1

2002年7月

 

KEF-P/6F/01

裙房五层美食广场厨房排风

裙房六层空调机房

后弯叶片离心式排风机

1

2002年7月

 

EAF-H/4F/01

宾馆四层厕所排风

宾馆四层厕所

前弯叶片离心式排风机

1

2002年7月

 

 

附表8:主要设备及材料供货计划表(续)

设备编号

设备用途或功能

安装位置

设备类型

数量

进场时间

备注

EAF-P/7F/01

裙房七层水加热器房排风

裙房七层水加热器房

后弯叶片离心式排风机

1

2002年7月底

 

EAF-P/7F/02

裙房七层升降机房排风

裙房七层升降机房

前弯叶片离心式排风机

1

2002年7月底

 

EAF-P/7F/03

裙房七层升降机房排风

裙房七层升降机房

前弯叶片离心式排风机

1

2002年7月底

 

EAF-O/7F/01

商贸七层厕所排风

商贸七层厕所

前弯叶片离心式排风机

1

2002年7月底

 

EAF-H/7F/01

宾馆七层洗衣房排风

宾馆七层洗衣房

前弯叶片离心式排风机

1

2002年7月底

 

EAF-P/8F/01

裙房八层升降机房排风

裙房八层升降机房

后弯叶片离心式排风机

1

2002年7月底

 

EAF-O/8F/01

商贸八层厕所排风

商贸八层厕所

后弯叶片离心式排风机

1

2002年7月底

 

EAF-P/8F/02,03,04,05

大台阶排风

裙房八层机房

后弯叶片离心式排风机

4

2002年7月底

 

EAF-O/21F/01,02

办公楼厕所排风

二十一层设备层

后弯叶片离心式排风机

2

2002年8月底

 

EAF-H/21F/01,02

宾馆厕所排风

二十一层设备层

前弯叶片离心式排风机

2

2002年8月底

 

EAF-O/36F/01

二十一层升降机房排风

三十六层设备层

后弯叶片离心式排风机

1

2002年8月底

变速风机

EAF/21F/01

二十一层机电房排风

二十一层设备层

后弯叶片离心式排风机

1

2002年8月底

 

EAF-H/36F/03

三十六层升降机房排风

三十六层设备层

前弯叶片离心式排风机

1

2003年2月底

 

EAF-H/36F/04

三十六层升降机房排风

三十六层设备层

后弯叶片离心式排风机

1

2003年2月底

变速风机

EAF/36F/01

三十六机电房排风

三十六层设备层

后弯叶片离心式排风机

1

2003年2月底

 

附表8:主要设备及材料供货计划表(续)

设备编号

设备用途或功能

安装位置

设备类型

数量

进场时间

备注

EAF-H/36F/01,02

宾馆厕所排风

三十六层设备层

前弯叶片离心式排风机

2

2003年2月底

 

EAF-A/36F/01,02

服务公寓厕所排风

三十六层设备层

后弯叶片离心式排风机

2

2003年2月底

 

EAF/49F/01

四十八层茶水房排风

四十九层风机房

前弯叶片离心式排风机

1

2003年3月

 

EAF/49F/02

四十七层厕所排风

四十九层风机房

前弯叶片离心式排风机

1

2003年3月

 

EAF/49F/03

四十七层厕所排风

四十九层风机房

前弯叶片离心式排风机

1

2003年3月

 

KEF-A/49F/01

服务公寓厨房排风

四十九层风机房

后弯叶片离心式排风机

1

2003年3月

 

KEF-A/49F/02

服务公寓厨房排风

四十九层风机房

后弯叶片离心式排风机

1

2003年3月

 

EAF-A/50F/01

五十层升降机房排风

五十层夹层

后弯叶片离心式排风机

1

2003年3月

 

EAF/50F/01

五十层升降机房排风

五十层夹层

前弯叶片离心式排风机

1

2003年3月

 

KEF/51F/01,02

四十七层云宵餐厅厨房排风

五十一层空调机房

后弯叶片离心式排风机

2

2003年3月

 

TEF-01

浴室排风

服务公寓及宾馆浴室天花排风口

天花暗装离心式排风机

219

2003年2月底

 

SEF/B1/01

排风/排烟

地下一层13#风机房

离心后弯叶片式排烟风机

1

2002年6月底

 

SEF/B1/02

排风/排烟

地下一层13#风机房

离心后弯叶片式排烟风机

1

2002年6月底

 

SEF/B1/03

排风/排烟

地下一层1#风机房

离心后弯叶片式排烟风机

1

2002年6月底

 

SEF/B1/04

排风/排烟

地下一层3#风机房

离心后弯叶片式排烟风机

1

2002年6月底

 

附表8:主要设备及材料供货计划表(续)

设备编号

设备用途或功能

安装位置

设备类型

数量

进场时间

备注

SEF/B1/05

排风/排烟

地下一层3#风机房

离心后弯叶片式排烟风机

1

2002年6月底

 

SEF/B1/06

排风/排烟

地下一层3#风机房

离心后弯叶片式排烟风机

1

2002年6月底

 

SEF/B1/07

排烟

4#风机房

轴流式

1

2002年6月底

 

SEF/B1/08

排风/排烟

地下一层5#风机房

离心后弯叶片式排烟风机

1

2002年6月底

 

SEF/B1/09

排风/排烟

地下一层14#风机房

离心后弯叶片式排烟风机

1

2002年6月底

 

SEF/B1/10

排烟

14#风机房

离心后弯叶片式排烟风机

1

2002年6月底

 

SEF/B1/11

排风/排烟

地下一层14#风机房

离心后弯叶片式排烟风机

1

2002年6月底

 

SEF/B1/12

排风/排烟

地下一层6#风机房

离心后弯叶片式排烟风机

1

2002年6月底

 

SEF/B1/13

排风/排烟

地下一层11#风机房

离心后弯叶片式排烟风机

1

2002年6月底

 

SEF/B1/14

排烟

11#风机房

轴流式排烟风机

1

2002年6月底

 

SEF/B1/16

排烟

11#风机房

离心后弯叶片式排烟风机

1

2002年6月底

 

SEF/B1/15

排风/排烟

地下一层8#风机房

离心后弯叶片式排烟风机

1

2002年6月底

 

SEF/2F/01

排烟

宾馆群楼二层

轴流式排烟风机

1

2002年7月

 

SEF/2F/02

排烟

宾馆群楼二层

轴流式排烟风机

1

2002年7月

 

SEF/2F/03

排烟

宾馆群楼二层

轴流式排烟风机

1

2002年7月

 

附表8:主要设备及材料供货计划表(续)

设备编号

设备用途或功能

安装位置

设备类型

数量

进场时间

备注

SEF-P/6F/01

排烟

六层风机房

离心后弯叶片式排烟风机

1

2002年7月

 

SEF-P/6F/02

排烟

六层风机房

离心后弯叶片式排烟风机

1

2002年7月

 

SEF-P/7F/01

排烟

七层风机房

离心后弯叶片式排烟风机

1

2002年7月

 

SEF-P/7F/02

排烟

七层屋面上部吊装

轴流式排烟风机

1

2002年7月底

 

SEF-P/7F/03

排烟

七层屋面上部吊装

轴流式排烟风机

1

2002年7月底

 

SEF-P/7F/04

排烟

七层屋面上部吊装

轴流式排烟风机

1

2002年7月底

 

SEF-P/7F/05

排烟

七层屋面上部吊装

轴流式排烟风机

1

2002年7月底

 

SEF-P/7F/06

排烟

七层屋面上部吊装

轴流式排烟风机

1

2002年7月底

 

SEF-P/7F/07

排烟

七层屋面上部吊装

轴流式排烟风机

1

2002年7月底

 

SEF-P/8F/01

排烟

八层风机房

离心后弯叶片式排烟风机

1

2002年7月底

 

SEFO/21F/01

内走道排烟

二十一 层设备层

轴流式排烟风机

1

2002年8月底

 

SEFH/36F/01

内走道排烟

三十六层设备层

轴流式排烟风机

1

2003年1月底

 

SEF/51F/01

内走道排烟

五十一层设备层

离心后弯叶片式排烟风机

1

2003年2月底

 

 

 

附表8:主要设备及材料供货计划表(续)

设备用途或功能

安装位置

设备类型

数量

进场时间

备注

21层以下所有冷冻水系统膨胀及补给水箱

二十一层

冷水系统膨胀及补给水箱

2座

2002年8月底

 

22~51层所有冷冻水(热水)系统膨胀及补给水箱

五十一层

冷水(热水)系统膨胀及补给水箱

1座

2003年2月底

 

裙楼散热器系统

二十一层

采暖热水系统膨胀及补给水箱

1座

2002年8月底

 

21层以下所有空调采暖系统膨胀及补给水箱

二十一层

空调采暖系统膨胀及补给水箱

1座

2002年8月底

 

收集空调热交换器凝结水

地下二层

凝结水箱

1座

2002年7月

 

收集厨房、生活热水、洗衣机房及采暖热交换器凝结水

地下二层

凝结水箱

1座

2002年7月

 

分、集水器

地下二层

空调水

6台

2002年9月

 

分汽缸

地下二层

蒸汽系统

2台

2002年9月

 

生活给水

.八层

生活给水箱

2座

2002年9月底

 

生活给水

三十六层

生活给水箱

2座

2002年11月

 

生活给水

五十一层

生活给水箱

2座

2003年4月

 

 

 

 

附表8:主要设备及材料供货计划表(续)

设备编号

设备用途或功能

安装位置

设备类型

数量

进场时间

备注

UPF-B2-01,02,03

给水系统上水

地下二层生活用水泵房

立式多极离心泵

3

2002年8月底

 

UPF-B2-04,05,06

空调补给水上水

地下二层生活用水泵房

立式多极离心泵

3

2002年8月底

 

UPF-36-01,02,03

宾馆及服务公寓给水转送

三十六层机电层

卧式多极离心泵

3

2002年11月

 

WPP-B2-01,02

集水井(WP-1)排水

地下二层

潜水泵

2

2002年8月底

 

WPP-B2-03

集水井(WP-2)排水

地下二层

潜水泵

1

2002年8月底

 

WPP-B2-04

集水井(WP-3)排水

地下二层

潜水泵

1

2002年8月底

 

WPP-B2-05

集水井(WP-4)排水

地下二层

潜水泵

1

2002年8月底

 

WPP-B2-06,07

集水井(WP-5)排水

地下二层

潜水泵

2

2002年8月底

 

WPP-B2-08

集水井(WP-6)排水

地下二层

潜水泵

1

2002年8月底

 

WPIP-B2-01,02

集水井(WPI-1)排水

地下二层

潜水泵

2

2002年8月底

 

WPIP-B2-03,04

集水井(WPI-1)排水

地下二层

潜水泵

2

2002年8月底

 

WPIP-B2-05,06

集水井(WPI-2)排水

地下二层

潜水泵

2

2002年8月底

 

WPIP-B2-07,08

集水井(WPI-3)排水

地下二层

潜水泵

2

2002年8月底

 

WPIP-B2-09,10

集水井(WPI-4)排水

地下二层

潜水泵

2

2002年8月底

 

WPIP-B2-11,12

集水井(WPI-5)排水

地下二层

潜水泵

2

2002年8月底

 

附表8:主要设备及材料供货计划表(续)

设备编号

设备用途或功能

安装位置

设备类型

数量

进场时间

备注

WPIP-B2-13,14

WPIP-B2-15,16

集水井(WPI-6)排水

地下二层

潜水式

2

2002年8月底

 

集水井(WPI-7)排水

地下二层

潜水泵

2

2002年8月底

 

WPIP-B2-17,18

集水井(WPI-8)排水

地下二层

潜水泵

2

2002年8月底

 

WPIP-B2-19,20

集水井(WPI-9)排水

地下二层

潜水泵

2

2002年8月底

 

WPIP-B2-21,22

集水井(WPI-10)排水

地下二层

潜水泵

2

2002年8月底

 

SPP-B2-01,02

集水井(SP-1)排水

地下二层

潜水泵

2

2002年8月底

 

SPP-B2-03,04

集水井(SP-2)排水

地下二层

潜水泵

2

2002年8月底

 

SPP-B1-01,02

集水井(SP-B1-1)排水

地下一层

潜水泵

2

2002年8月底

 

WPP-B1-01,02

集水井(WP-B1-1)排水

地下一层

潜水泵

2

2002年8月底

 

RP-B1-0103

集水井(RP-1)排水

地下一层

潜水泵

3

2002年8月底

 

HWP-B1-01,02

宾馆(三至五层)热水回水

地下一层给水机房

单级单吸管道泵

2

2002年8月底

 

HWP-07-01,02

群楼商场热水回水

群楼七层水加热器房

单级单吸管道泵

2

2002年9月

 

HWP-07-03,04

办公楼(低区)热水回水

群楼七层水加热器房

单级单吸管道泵

2

2002年9月

 

附表8:主要设备及材料供货计划表(续)

设备编号

设备用途或功能

安装位置

设备类型

数量

进场时间

备注

HWP-21-01,02

办公楼(高区)热水回水

二十一层机电房

单级单吸管道泵

2

2002年8月底

 

HWP-21-03,04

宾馆(低区)热水回水

二十一层机电房

单级单吸管道泵

2

2002年8月底

 

HWP-36-01,02

宾馆(高区)热水回水

三十六层机电房

单级单吸管道泵

2

2002年11月

 

HWP-36-03,04

服务公寓(低区)热水回水

三十六层机电房

单级单吸管道泵

2

2002年11月

 

HWP-36-05,06

服务公寓(高区)热水回水

三十六层机电房

单级单吸管道泵

2

2002年11月

 

HWP-47-01-02

云霄餐厅厨房热水回水

四十七层云霄餐厅厨房

单级单吸管道泵

2

2003年2月底

 

PP-01-01

水景池水循环

首层水景池水泵房

单级单吸泵

1

2002年8月

 

PP-01-02

水景池水循环

首层水景池水泵房

单级单吸泵

1

2002年8月

 

CP-01-0103

水景池水加药

首层水景池水泵房

单级单吸泵

3

2002年8月

 

PP-02-01

水景池水循环

二层水景池水泵房

单级单吸泵

1

2002年8月

 

PP-02-02

水景池水循环

二层水景池水泵房

单级单吸泵

1

2002年8月

 

CP-02-0103

水景池水加药

二层水景池水泵房

单级单吸泵

3

2002年8月

 

PP-03-01

水景池水循环

三层水景池水泵房

单级单吸泵

1

2002年8月

 

附表8:主要设备及材料供货计划表(续)

设备编号

设备用途或功能

安装位置

设备类型

数量

进场时间

备注

CP-03-0103

水景池水加药

三层水景池水泵房

单级单吸泵

3

2002年8月

 

PP-04-01

水景池水循环

四层水景池水泵房

单级单吸泵

1

2002年8月

 

PP-04-02

水景池水循环

四层水景池水泵房

单级单吸泵

1

2002年8月

 

CP-04-0103

水景池水加药

四层水景池水泵房

单级单吸泵

3

2002年8月

 

SF-01-01

水景池水过滤缸

首层水景池水泵房

立式

1

2002年8月

 

SF-02-01

水景池水过滤缸

二层水景池水泵房

立式

1

2002年8月

 

SF-03-01

水景池水过滤缸

三层水景池水泵房

立式

1

2002年8月

 

SF-04-01

水景池水过滤缸

四层水景池水泵房

立式

1

2002年8月

 

HT-B1-01,02

宾馆(三至五层)热水供水

地下一层给水机房

贮水式容积式水加热器

2

2002年8月

 

HT-07-01,02

群楼商场热水供水

群楼七层水加热器房

贮水式容积式水加热器

2

2002年8月底

 

HT-07-03,04

办公楼(低区)热水供水

群楼七层水加热器房

贮水式容积式水加热器

2

2002年8月底

 

HT-21-01,02

办公楼(高区)热水供水

二十一层机电房

贮水式容积式水加热器

2

2002年9月

 

HT-21-03,04

宾馆(低区)热水供水

二十一层机电房

贮水式容积式水加热器

2

2002年9月

 

附表8:主要设备及材料供货计划表(续)

设备编号

设备用途或功能

安装位置

设备类型

数量

进场时间

备注

HT-36-01,02

宾馆(高区)热水供水

三十六层机电房

贮水式容积式水加热器

2

2002年11月

 

HT-36-03,04

服务公寓(低区)热水供水

三十六层机电房

贮水式容积式水加热器

2

2002年11月

 

HT-36-05,06

服务公寓(高区)热水供水

三十六层机电房

贮水式容积式水加热器

2

2002年11月

 

HT-47-01,02

云霄餐厅厨房热水供水

四十七层云霄餐厅厨房

贮水式容积式水加热器

2

2003年3月

 

PRV-B1-01

宾馆(三至五层)供水减压

地下一层

可调式减压阀组

2台

2002年8月底

 

PRV-07-01

群楼商场供水减压

六层

可调式减压阀组

2

2002年8月底

 

PRV-07-02

办公楼(低区)供水减压

七层

可调式减压阀组

2

2002年8月底

 

PRV-07-03

空调补给水系统减压

七层

可调式减压阀组

2

2002年8月底

 

PRV-21-01

办公楼(高区)供水减压

二十一层

可调式减压阀组

2

2002年8月底

 

PRV-21-02

空调补给水系统减压

二十一层

可调式减压阀组

2

2002年8月底

 

PRV-28-01

宾馆(低区)供水减压

二十八层

可调式减压阀组

2

2002年8月底

 

PRV-36-01

宾馆(高区)供水减压

三十六层

可调式减压阀组

2

2002年11月

 

PRV-41-01

服务公寓(低区)供水减压

四十一层

可调式减压阀组

2

2003年2月底

 

附表8:主要设备及材料供货计划表(续)

材料名称

工程用途

材料规格

安装位置

数量

进场时间

备注

镀锌钢板

风管道制作

板厚0.5~1.2mm

裙楼

64701m2 

2002年4月~6月

陆续

塔楼低区

2002年5月~6月

塔楼高区

2002年9月~11月

不锈钢板

厨房排烟风管制作

板厚0.5、0.8mm

裙楼

 

2002年6月

 

塔楼

2002年6月

铝玻超细玻璃棉板

风管道保温

密度60~80kg/m3

厚度40mm

裙楼

39150.4m2 

2002年11月~12月

陆续

塔楼低区

2002年11月~12月

塔楼高区

2002年4月底~5月

防火阀

风道部件

各种

裙楼

911

2002年6月~8月

陆续

塔楼低区

2002年7月~9月

塔楼高区

2002年11月~12月

焊接钢管

无缝钢管

空调、采暖冷却水管

DN20~500

裙楼

31028m 

2002年5月~8月

陆续

塔楼低区

2002年6月~8月

塔楼高区

2002年10月~12月

镀锌钢管

凝结水管、补给水管

DN20~100

裙楼

9255m 

2002年7月~9月

陆续

塔楼低区

2002年7月~9月

塔楼高区

2002年11月~12月

橡塑保温管套

(一级福乐斯)

空调水保温

密度65kg/m3

裙楼

35592m 

2002年11月~12月

陆续

塔楼低区

2002年11月~12月

塔楼高区

2003年4月底~5月

附表8:主要设备及材料供货计划表(续)

材料名称

工程用途

材料规格

安装位置

数量

进场时间

备注

铝玻超细玻璃棉管段

采暖水管保温

密度64kg/m3

裙楼

2049m 

2002年11月~12月

陆续

塔楼低区

2002年11月~12月

塔楼高区

2003年4月底~5月

阀件

采暖、空调水系统

 

裙楼

9517个

2002年6月~9月

陆续

塔楼低区

2002年6月~9月

塔楼高区

2002年10月~12月

球墨铸铁管

生活用水

大管径埋地管

DN150~200

裙楼

1114m 

+12m

2002年4月~8月

陆续

塔楼低区

2002年4月~9月

塔楼高区

02年9月~03年2月

镀锌钢管

空调补给水

DN20~100

裙楼

2243m 

2002年6月~7月

陆续

塔楼低区

2002年6月~7月

塔楼高区

02年11月~03年1月

铜管

生活热水

生活用水配水系统

D22~219

裙楼

111749m 

2002年6月~9月

陆续

塔楼低区

2002年6月~9月

塔楼高区

02年10月~03年2月

铝玻超细玻璃棉管段

热水支管

密度64kg/m3

裙楼

11474m 

2002年12月

陆续

塔楼低区

2002年12月

~2003年1月初

塔楼高区

2003年4月底~6月底

橡塑保温管套

(一级福乐斯)

热水干管

密度65kg/m3

裙楼

73.5m3 

2002年11月~12月

陆续

塔楼低区

2002年11月~12月底

塔楼高区

2003年4月~6月

附表8:主要设备及材料供货计划表(续)

材料名称

工程用途

材料规格

安装位置

数量

进场时间

备注

BS437铸铁管

BS1211铸铁管

排水埋地管

 

 

990m 

+12m

2002年5月

 

镀锌钢管

冷凝水、通气管

DN50~200

裙楼

4774m 

2002年7月~9月

陆续

塔楼低区

2002年7月~9月

塔楼高区

02年12月~03年2月

UPVC管

水景池系统

污废水泵送排水管

D50~150

 

1420m 

2002年5月~9月

陆续

PVC管

地上污废管

(管径≤65mm

管径50mm

裙楼

3100m 

2002年8月~9月

陆续

塔楼低区

2002年8月~9月

塔楼高区

02年12月~03年1月

无承插口

离心烧铸铁管

地上污废管

(管径≥80mm

雨水管(地上)

厨房排水管

DN80~500

裙楼

16941m 

2002年5月~8月

陆续

塔楼低区

2002年5月~10月

塔楼高区

02年10月~03年1月

铝玻超细玻璃棉管段

排水防结露保温

密度64kg/m3

厚度25mm

裙楼

990m 

2002年11月底

陆续

塔楼低区

2002年11月底

塔楼高区

2003年4月

阀件

给水系统

 

裙楼

918个

2002年6月~9月

陆续

塔楼低区

2002年6月~9月

塔楼高区

02年11月~03年2月

阀件

排水系统

 

裙楼

 

2002年6月~9月

陆续

塔楼低区

2002年6月~10月

塔楼高区

02年10月底~03年1月

附表8:主要设备及材料供货计划表(续)

设备材料名称

工程用途

安装位置

数量

进场日期

备注

线槽

50~1600mm

地库

15268(强电)m

+27494(弱电)m

2002/03/20 

 

裙楼

2002/06/10 

 

塔楼

2002/06/10 

 

电缆桥架

50~1800mm

地库

1617(桥架)m

+571(托盘)m

2002/03/20 

 

裙楼

2002/06/10 

 

塔楼

2002/06/10 

 

母线

630~4000A

地库

2951m 

2002/03/20 

 

裙楼

2002/06/10 

 

塔楼

2002/06/10 

 

电缆

 

地库

57916(动力,照明)

+5074(空调)+2567

(给排水)m

2002/09/20 

 

裙楼

2002/09//20

 

塔楼

2003/01//15

 

配电盘

MCCB

MCB

地库

1209(动力,照明)+195(空调)+37

(给排水)台

2002/12/20 

 

裙楼

2002/12/20 

 

塔楼

2003/02/01 

 

低压设备

 

地库

95

2002/12/20 

 

裙楼

2002/12/20 

 

塔楼

2003/02/20 

 

灯具及面板

 

地库

12681(灯具)个

+6269(面板)个

2002/03/15 

 

裙楼

2002/03/15 

 

 

主要设备及材料供货计划表(续)

设备名称

设备型号

设备功能

数量

进场时间

备注

5类UTP线缆

1061004CSL

综合布线系统

506

2002年6月20日 

 

5类信息插座

MPS100E-262

综合布线系统

2452

2003年5月1日 

 

信息插座单孔面板

M110S

综合布线系统

2452

2003年5月1日 

 

三类100对大对数

1010100AGY

综合布线系统

26

2002年6月20日 

 

5类24口配线架

PM2150PSE-24

综合布线系统

57

2003年5月1日 

 

100鱼骨式配线架

110DW2-100FT

综合布线系统

99

2003年5月1日 

 

300鱼骨式配线架

110DW2-300FT

综合布线系统

27

2003年5月1日 

 

1.3m标准机柜

19"

综合布线系统

1

2003年5月1日 

 

2.0M标准机柜

19"

综合布线系统

16

2003年5月1日 

 

室内6芯光纤

LGBC-006D-LRX

综合布线系统

3811 

2002年6月20日 

 

1.8m标准机柜

19"

综合布线系统

7

2003年5月1日 

 

光纤配线架

600A2+12ST OR 24ST+1U-19+183U1

综合布线系统

32

2003年5月1日 

 

光纤ST连接头

P2020C-C-125

综合布线系统

252

2003年5月1日 

 

光纤ST耦合器

C2000A-2

综合布线系统

252

2003年5月1日 

 

光纤耗材

D182038

综合布线系统

2

2003年5月1日 

 

主要设备及材料供货计划表(续)

设备名称

设备型号

设备功能

数量

进场时间

备注

定压功放(带优先口)

JPA-480CP

广播系统

10

2003年5月1日 

 

定压功放(带优先口)

JPA-360CP

广播系统

15

2003年5月1日 

 

定压功放(带优先口)

JPA-240CP

广播系统

28

2003年5月1日 

 

专业广播6碟CD机

J6CD-10

广播系统

2

2003年5月1日 

 

数码调谐器模块

JTP-10

广播系统

2

2003年5月1日 

 

语音存储器

JDM-10A

广播系统

2

2003年5月1日 

 

两单元机箱

JME-2A

广播系统

2

2003年5月1日 

 

遥控钟声话筒

JPTT-10

广播系统

2

2003年5月1日 

 

两编组前置

JMA-1410

广播系统

2

2003年5月1日 

 

音频分配器

JAD-125A

广播系统

5

2003年5月1日 

 

紧急呼唤器

JEU-211A

广播系统

2

2003年5月1日 

 

紧急回路分区选择器

JES-120A

广播系统

5

2003年5月1日 

 

间接喇叭回路选择器

JSS-120A

广播系统

5

2003年5月1日 

 

矩阵式继电器组

JRG-220A

广播系统

5

2003年5月1日 

 

时序电源分配器

JPD-322A

广播系统

9

2003年5月1日 

 

附表8:主要设备及材料供货计划表(续)

设备名称

设备型号

设备功能

数量

进场时间

备注

紧急电源

JEP-352

广播系统

9

2003年5月1日 

 

监听器

JMU-307A

广播系统

5

2003年5月1日 

 

远程控制台

JRA-051A

广播系统

2

2003年5月1日 

 

故障监察器

JFA-242

广播系统

7

2003年5月1日 

 

JVC双卡座

JVC-254

广播系统

2

2003年5月1日 

 

天花喇叭(含安装支架)

PC-865B

广播系统

936

2003年5月1日 

 

5W挂墙音箱

WS-601B

广播系统

136

2003年5月1日 

 

吸顶扬声器防火后罩

PC-05B

广播系统

936

2003年5月1日 

 

玻璃门豪华广播机柜

JPR-36A

广播系统

8

2003年5月1日 

 

蓄电池

12V/24AH

广播系统

18

2003年5月1日 

 

背景音乐/应急广播切换箱

 

广播系统

52

2003年5月1日 

 

线缆

RVV2*1.5

广播系统

16162 

2002年6月20日 

 

线缆

RVV3*1.5

广播系统

550 

2002年6月20日 

 

线缆

RVV2*1.5

广播系统

16162 

2002年6月20日 

 

专用线材插件及机柜敷料

 

广播系统

1

2003年5月1日 

 

附表8:主要设备及材料供货计划表(续)

设备名称

设备型号

设备功能

数量

进场时间

备注

黑白摄象机

WAT-902H

保安监控系统

13

2003年5月1日 

 

10倍变焦镜头

H10Z1218

保安监控系统

13

2003年5月1日 

 

半球摄象机

ZC-D1024

保安监控系统

73

2003年5月1日 

 

室内全球云台

ASW-12MPT

保安监控系统

13

2003年5月1日 

 

电梯摄象机

HM-660GB

保安监控系统

21

2003年5月1日 

 

解码器室内

AB-D1641M

保安监控系统

13

2003年5月1日 

 

监视器 14”

SAP-BM1400

保安监控系统

8

2003年5月1日 

 

监视器 21”

SAP-BM2000

保安监控系统

6

2003年5月1日 

 

矩阵128入/32出

AB-D2050R

保安监控系统

1

2003年5月1日 

 

矩阵键盘

AB-D2079X

保安监控系统

1

2003年5月1日 

 

控制码分配器

AB-2091

保安监控系统

1

2003年5月1日 

 

码转换器

AB-D2083AT

保安监控系统

1

2003年5月1日 

 

多媒体软件及计算机

AB-D5500

保安监控系统

1

2003年5月1日 

 

16画面分割器

MV-16i

保安监控系统

7

2003年5月1日 

 

 

附表8:主要设备及材料供货计划表(续)

设备名称

设备型号

设备功能

数量

进场时间

备注

长延时录象机

SLV-24JP

保安监控系统

8

2003年5月1日 

 

楼层显示叠加器

DS251

保安监控系统

21

2003年5月1日 

 

控制台

非标

保安监控系统

6

2003年5月1日 

 

监视器柜

非标

保安监控系统

8

2003年5月1日 

 

RVV12*0.5

 

保安监控系统

 

2002年6月20日 

 

RVV2*0.5

 

保安监控系统

 

2002年6月20日 

 

RVV4*0.5

 

保安监控系统

 

2002年6月20日 

 

RVV2*0.75

 

保安监控系统

 

2002年6月20日 

 

RVV2*0.5

 

保安监控系统

 

2002年6月20日 

 

SYV-75-5

 

保安监控系统

 

2002年6月20日 

 

SYV-75-3

 

保安监控系统

 

2002年6月20日 

 

SYV-75-3-

 

保安监控系统

 

2002年6月20日 

 

主机(最多128防区)

VISTA-120

报警及巡更系统

5

2003年5月1日 

 

英文LCD编程键盘

6139

报警及巡更系统

5

2003年5月1日 

 

 

附表8:主要设备及材料供货计划表(续)

设备名称

设备型号

设备功能

数量

进场时间

备注

40VA主机用变压器

TF40

报警及巡更系统

5

2003年5月1日 

 

7AH/12VDC蓄电池

MF7

报警及巡更系统

5

2003年5月1日 

 

总线小型1区扩展器

4293SN

报警及巡更系统

532

2003年5月1日 

 

总线驱动延伸器

4297

报警及巡更系统

6

2003年5月1日 

 

巡更开关锁

4073

报警及巡更系统

172

2003年5月1日 

 

串口模块

4100SM

报警及巡更系统

5

2003年5月1日 

 

32路继电器模块

4132DV&RY

报警及巡更系统

24

2003年5月1日 

 

玻璃破碎探测器

2100EX

报警及巡更系统

95

2003年5月1日 

 

紧急按钮

PSW-1

报警及巡更系统

231

2003年5月1日 

 

门磁

7940

报警及巡更系统

18

2003年5月1日 

 

警讯中心软件及计算机

GCW2000

报警及巡更系统

1

2003年5月1日 

 

串口扩展模块

CW2104

报警及巡更系统

1

2003年5月1日 

 

8区主机

VISTA-25

报警及巡更系统

1

2003年5月1日 

 

4线8区扩展器

4219

报警及巡更系统

1

2003年5月1日 

 

双鉴探测器

DUO200

报警及巡更系统

16

2003年5月1日 

 

附表8:主要设备及材料供货计划表(续)

设备名称

设备型号

设备功能

数量

进场时间

备注

16路继电器模块

4116DVR

报警及巡更系统

1

2003年5月1日 

 

入口管理出票机

ES-1

停车场系统

2

2003年5月1日 

 

感应读卡器

M1-ANT1

停车场系统

2

2003年5月1日 

 

挡车器(曲臂)

BS3B-3A

停车场系统

2

2003年5月1日 

 

环路车辆探测器

927SF-12D

停车场系统

4

2003年5月1日 

 

车位满显示屏

FS-1

停车场系统

2

2003年5月1日 

 

出口管理验票机

EXS-1

停车场系统

2

2003年5月1日 

 

感应式读卡器

M1-ANT1

停车场系统

2

2003年5月1日 

 

挡车器(曲臂)

BS3B-3A

停车场系统

2

2003年5月1日 

 

环路车辆探测器

927SF-12D

停车场系统

4

2003年5月1日 

 

主控计算机

P4-1.5G

停车场系统

1

2003年5月1日 

 

中央收款台

CAS-1

停车场系统

1

2003年5月1日 

 

通讯控制器

SMARON

停车场系统

1

2003年5月1日 

 

图像采集卡

CPE-2000

停车场系统

2

2003年5月1日 

 

收费管理系统软件及计算机

SMCC-2

停车场系统

1

2003年5月1日 

 

附表8:主要设备及材料供货计划表(续)

设备名称

设备型号

设备功能

数量

进场时间

备注

收费汉字叠加器

 

停车场系统

2

2003年5月1日 

 

信号转换卡

 

停车场系统

4

2003年5月1日 

 

感应IC卡

 

停车场系统

 

2003年5月1日 

 

磁条纸票

 

停车场系统

20000

2003年5月1日 

 

线缆、安装家架、柜

 

停车场系统

 

2003年5月1日 

 

管理主机

GR300

无线对讲系统

1

2003年5月1日 

 

接收机

GM300及电源

无线对讲系统

6

2003年5月1日 

 

分支器

 

无线对讲系统

19

2003年5月1日 

 

天线

 

无线对讲系统

33

2003年5月1日 

 

高频低耗电缆

 

无线对讲系统

3000 

2002年6月20日 

 

音频控制电缆

 

无线对讲系统

600 

2002年6月20日 

 

双功器

 

无线对讲系统

6

2003年5月1日 

 

发送机(高频放大器)

 

无线对讲系统

6

2003年5月1日 

 

附件

 

无线对讲系统

1

2003年5月1日 

 

对讲机

GP88S

无线对讲系统

80

2003年5月1日 

 

附表8:主要设备及材料供货计划表(续)

设备名称

设备型号

设备功能

数量

进场时间

备注

MDS-数字式可视对讲门口机

MDS-Digital Video Panel

大门可视对讲系统

2

2003年5月1日 

 

MDS-数字式可视管理机(挂壁式)

MDS-Digital Guard Unit Panel

大门可视对讲系统

1

2003年5月1日 

 

中央控制器(10入口)

Central Unit 10 Panel

大门可视对讲系统

1

2003年5月1日 

 

转换卡

Video/Audio Switcher

大门可视对讲系统

1

2003年5月1日 

 

分隔型解码器/4线

Audio Isodecoder 4 Lines

大门可视对讲系统

15

2003年5月1日 

 

视频分配器/4线

Video Distributor 4 Lines

大门可视对讲系统

15

2003年5月1日 

 

可视对讲电源   4A/12Vdc 18Vdc

Video Power Supply

大门可视对讲系统

5

2003年5月1日 

 

可视对讲话机(带3个辅助键)

Citymax Monitor+Panic

大门可视对讲系统

60

2003年5月1日 

 

可视主干线

1mm2+2×1mm2双绞屏蔽线+1×RG59

大门可视对讲系统

400 

2002年6月20日 

 

同轴电缆

SYS-75-5-1

大门可视对讲系统

2600 

2002年6月20日 

 

楼层线

RVV9×0.5

大门可视对讲系统

2600 

2002年6月20日 

 

250公斤磁力锁

 

大门可视对讲系统

2

2003年5月1日 

 

双只解码器盒(明装)

450*400*150

大门可视对讲系统

15

2003年5月1日 

 

卫星天线

STRE—3.2米手动

卫星电视系统

1

2003年5月1日 

 

卫星天线

STRE—4.5米手动

卫星电视系统

1

2003年5月1日 

 

附表8:主要设备及材料供货计划表(续)

设备名称

设备型号

设备功能

数量

进场时间

备注

卫星天线

STRE—6米电动

卫星电视系统

1

2003年5月1日 

 

馈源

2.5-2.7G高性能馈源

卫星电视系统

3

2003年5月1日 

 

功分器

PBI 2088SD系列

卫星电视系统

3

2003年5月1日 

 

高频头

TOSHIBA-C4

卫星电视系统

3

2003年5月1日 

 

数字卫星接收机

TS-C5

卫星电视系统

9

2003年5月1日 

 

模拟卫星接收机

TS-C5

卫星电视系统

2

2003年5月1日 

 

TCS

 

卫星电视系统

1

2003年5月1日 

 

NHK

 

卫星电视系统

1

2003年5月1日 

 

CNBC美国财经

 

卫星电视系统

1

2003年5月1日 

 

CCTV-4-9

 

卫星电视系统

1

2003年5月1日 

 

卫视合家欢

 

卫星电视系统

1

2003年5月1日 

 

Channel v(音乐频道)

 

卫星电视系统

1

2003年5月1日 

 

Phoenix channnel

 

卫星电视系统

1

2003年5月1日 

 

CNN

 

卫星电视系统

1

2003年5月1日 

 

美联社

 

卫星电视系统

1

2003年5月1日 

 

路透社

 

卫星电视系统

1

2003年5月1日 

 

附表8:主要设备及材料供货计划表(续)

设备名称

设备型号

设备功能

数量

进场时间

备注

MTV  中文

 

卫星电视系统

1

2003年5月1日 

 

邻频调制解调器

PBI DVR

卫星电视系统

33

2003年5月1日 

 

制式转换器

PBI 2000NP

卫星电视系统

33

2003年5月1日 

 

滤波器

 

卫星电视系统

4

2003年5月1日 

 

电源供电器

PS-6A

卫星电视系统

1

2003年5月1日 

 

电源插入器

PI-6A

卫星电视系统

1

2003年5月1日 

 

混合器

PBI

卫星电视系统

4台

2003年5月1日 

 

交流净化稳压电源

5KVA

卫星电视系统

1台

2003年5月1日 

 

彩色监视器

14寸  康佳

卫星电视系统

21台

2003年5月1日 

 

彩监机柜

3X4

卫星电视系统

4台

2003年5月1日 

 

标准机柜

19寸

卫星电视系统

4台

2003年5月1日 

 

前端放大器

Y7526BG

卫星电视系统

2台

2003年5月1日 

 

频道差转器

 

卫星电视系统

2

2003年5月1日 

 

高频主干电缆

SYWV-75-9

卫星电视系统

200 

2002年6月20日 

 

联接配件

PHF系列

卫星电视系统

4

2003年5月1日 

 

均衡器、衰减器

STL系列

卫星电视系统

2

2003年5月1日 

 

附表8:主要设备及材料供货计划表(续)

设备名称

设备型号

设备功能

数量

进场时间

备注

宽频带双向放大器

Y7535BG/26/2

卫星电视系统

11

2003年5月1日 

 

四屏蔽同轴电缆

75-5 P,金桥

卫星电视系统

6000 

2002年6月20日 

 

四屏蔽同轴电缆

75-7P,金桥

卫星电视系统

4000 

2002年6月20日 

 

四分之器

4FZ-GB,5-1000MHZ

卫星电视系统

63

2003年5月1日 

 

二分配器

2FP-GB,5-1000MHZ

卫星电视系统

21

2003年5月1日 

 

三分配器

3FP-GB,5-1000MHZ

卫星电视系统

12

2003年5月1日 

 

四分配器

4FP-GB,5-1000MHZ

卫星电视系统

1

2003年5月1日 

 

用户终端

WF-ZD,(带滤波器)

卫星电视系统

260

2003年5月1日 

 

均衡器

 

卫星电视系统

11

2003年5月1日 

 

衰减器

 

卫星电视系统

11

2003年5月1日 

 

-7F阳,压接

-7-B,英制,冷压

卫星电视系统

370

2003年5月1日 

 

-5F阳,压接

-5-B,英制,冷压

卫星电视系统

2300

2003年5月1日 

 

负载

75Ω

卫星电视系统

360

2003年5月1日 

 

接插件

针转F,英制

卫星电视系统

24

2003年5月1日 

 

放大器箱

北京有线台专用

卫星电视系统

12

2003年5月1日 

 

分之器箱

北京有线台专用

卫星电视系统

30

2003年5月1日 

 

 

 

机电安装工程的水电设施服从业主及土建总包单位的统一部署,经申报同意后使用总包的供水、供电设施。

另在临设区由土建总包单位提供一个供水总阀和二组配电箱(办公区、生活区、设备库料场区各一组)。

现场生产用水主要为空调水系统、生活给水系统、消防栓系统、消防喷洒系统冲洗、试压,估算高峰期月用水量约为10000吨/月,总用水量约为38000吨。其余用水为生活用水,可根据劳动力安排(见“4.5劳动力计划安排”)按平均每人1.5吨/月计算。

        根据施工进度计划安排,施工用电高峰期出现在2002年3月至7月,月用电量计划如下:

附表9:主要大功率电器设备一览表

序号

设备名称

数量

合计功率(Kw)

1

通风管联合加工设备

2

76

2

电焊机

21

400

3

卷扬机

6

130

4

空压机

2

20

5

其它

300

6

总计

926

 

本设备安装工程生产计算负荷:

P=1.2×(K1×ΣP1/COSФ+K2×ΣP2)

其中:K1、K2为需要系数(取K1=0.5,K2=0.5)

P1—电动机额定功率

P2—电焊机额定容量

P3—现场照明

COSФ—电焊机的平均功率因数(取COSФ=0.7)

P=1.2×(K1×ΣP1/COSФ+K2×ΣP2)

=1.(0.5×526/0.7+0.5×400)

692 Kw

 


 

 

5施工准备工作

 

1人力资源的组织准备

 

    1、建立工程项目的管理组织机构

科学合理的管理体制、统一有效的工程指挥系统是顺利施工的重要保证,为此我们将精心挑选业务水平高、责任心强的技术人员和现场管理人员,组成分工细致、责任明确的、富有团队精神的管理集体。(具体内容详见“第三章 项目管理之 3.3机电安装项目管理机构设置”)

同时要求各机电分承包商(根据具体分承包项目、内容)配备具有相应资质和管理经验的工程管理人员,应包括现场负责人、现场工程师、专业施工员、质检员、材料员、消防安全员等,并应通过我司(机电总承包商)的资格审核。在工程施工过程中,应服从我司的统一整体管理,如有不符我司有权勒令其更换。

    2、选择各专业技术工人队伍,组织劳动力进场

选择参加过同类型或大型工程建设,并与我公司配合多年具有较高技术水平的施工队伍来参加本工程的施工。

    对班组长和技术工人采取考核上岗方式,考核分实际操作和专业考试两部分(联合体成员单位对施工人员均有定期培训及考核的制度,这已形成惯例)。电焊工、电工等特操技术工人,须持证(劳动部门颁发)上岗。

根据工期进度安排,编制各专业详细劳动力计划,配备充足的专业技术工人,保障工程施工的基础力量。(内容详见“4.5劳动力计划安排”)

对各分包商的劳动力安排同样纳入机电总承包的各项管理,以控制劳动力的质量和数量,做到机电工程的统一部署和整体安排。

    3、做好劳动力的进场教育

    参加本工程进行安装施工的所有人员(含各分包商人员),在进场前必须进行进场培训教育,内容包括安全、文明施工、现场各项规章制度等,并组织书面考试,考试合格后方可进场工作。

 

 

2物质准备

 

    1、有计划地组织好材料、设备、机具资源。

做好施工设备、材料供货和配备充分的施工机具是施工准备的重要环节,是保障顺利施工的必要条件,为此我们特制定了施工机具及检测设备计划和设备及材料进场计划。(内容详见4.4施工主要机具及检测设备计划”和“4.6主要设备及材料供货计划”)

对施工机具的要求如下:

(1)要有足够的数量;

(2)具用先进性和实用性

(3)严格检验筛选,保持100%的完好性;

(4)施工机具的能力要满足工程的需要;

(5)施工机具要有专门的管理人员和管理台帐;

(6)要配备专门的维修人员;

(7)按规定必须按期校验的设备和仪器要在有效期内。

2、办理设备、材料订购手续及采购。

所有设备、材料的预选、审定论证、采购方式、订货和采购程序、以及各项测试检验工作均严格遵照标书及合约文件要求严谨进行,并服从顾问公司、工料测量师的监督指导。(管理流程见“第三章 项目管理之 3.5物资管理”之相关内容)。

(1)严格按照合约文件和设计图纸的要求,以及业主(顾问公司、工料测量师)所审定通过的采购方案进行设备、主材及其它材料的订货和采购。

(2)凡业主(建设单位)订货或参与订货的货物规格、技术标准、价格与支付条件以及供货时间、运输方式、售后服务等,应主动请示业主之意见,并积极配合进行接货、检验和保管。

(3)设备、材料订货前,严格按程序向业主提供技术资料及供货依据,其中包括设备的定型测试、出厂验收试验的检测报告,而出厂验收时应有采购方的技术人员参加。

(4)所有定(采)购产品(设备、材料等)均按程序及要求进行严格测试、检验及控制管理,有关内容见章节“9.4质量检验及不合格品的控制”并将有关资料报请业主或业主委托的监理(顾问公司、工料测量师)进行审查。

(5)设备、材料进场后,立即按程序组织验货,并将有关资料和可呈交之样品呈报业主进行检测。

 

 

3现场临时设施

 

本公司如有幸中标与业主签订合同,即与业主和总包单位落实施工所必须的临时设施,确定更为具体的临设方案和进场事宜,确保按业主合同规定的日期开工。

我们在本投标书中(施工组织设计)初步拟定了临设方案,包括办公区及料厂区两部分,各区域内按有关要求设置消防栓,道路及消防通道贯穿中央或四周。

办工区为二层活动用房,包括会议室,项目经理、项目工程师、项目办公室、各部门办公室和各专业办公室等房间;

料场区按轻型钢结构及瓦楞板设置。且有2米高护板,地面垫高200mm,主要存放大宗管材、钢材等,由汽车直接运输,汽车吊直接卸车,经检验清点后,遮以苫布(防雨帆布),保管存放;

大型设备(特别是进口设备)最好进入现场后立即就位,为此我们根据机电工程进度安排精心编制了设备及材料进场计划,确保其到货进场的准确时间;但为以防万一,我们计划在天津东丽区京津塘高速路附近(靠近市区为最好)租用一块1000平米的场地,搭设做为进口设备、进口大宗材料的周转库房。

另外,准备在裙楼地下室或首层选择一个料库房,存放五金及阀部件等。

我公司提请工程土建(总包)单位设置现场区域临时用电总闸箱做为接线源,我公司根据现场具体情况于地库、裙楼及塔楼的不同地点或逐层设置分闸箱,以解决现场施工临时用电问题。

如有必要,我公司可负责于现场指定适当地点设置乙炔站,并可负责其管线部设工作,以解决现场施工临时用(乙炔)气问题。

施工现场办公区及料场区安排布置服从业主及土建总包的总体安排和管理,我们已初步草拟了“施工现场临时设施平面布置示意图”(下页图),如有幸中标后,将根据业主和土建总包的统一安排及实际情况及时进行调整、布置和安排。各机电分承包的现场办公及料场等临设场地将与业主、土建总包请示协商后进行妥善安排。

   

 

 

                                                 甲 方 办 公 楼

                                                                                                                            值班

 

 

 

4技术准备工作

 

    1、技术部门根据本工程特点,认真组织好图纸自审、会审,领会标书内容和要求,充分了解设计意图,并结合本工程各项目的特点和实际需要制定有针对性的分项施工方案。根据方案要求和有关技术、质量规范,做好对施工人员进行技术交底和技术培训的准备。

    2、施工前安排本工程的各专业工程技术人员对技术工人进行技术交底、工程内容交底、工艺流程交底,使所有人员在进入施工现场前熟悉所安装设备的性能、特点及合约文件规定,做到胸中有数。

    3、通过认真审查施工图纸及有关施工资料,及时准确地做出施工预算,经有关部门批准后由物资供应部门筹备。

    4、按图纸及国家标准确定采购标准、运作程序,确保加工订货质量及到货日期。

据工程特点和现场情况,制订有关技术、安全等详细施工管理措施。

 

 

5施工详图的二次设计

 

如有幸中标在接到通知书后,由我司项目设计部,根据业主提供的设计蓝图、设计交底及业主(顾问公司)的有关要求,立即着手进行图纸的深化设计工作,编制一份详细的系统深化设计及施工图绘制送审计划表,提交建筑师、顾问公司审核。

我司项目设计部将根据批复意见及要求,及时地安排图纸深化设计工作。绘制出施工管线系统综合布置图和施工结点做法图及设备安装(机房)大样图等图纸,并向顾问公司机设计单位报审签认,为日后各专业的施工及相互配合和设备材料加工定货提供依据性文件。

 

6主要施工方法与技术措施

 

1通风、空调系统

 

1空调水管道安装

 

1工艺流程

 

 

 

 

 

2、管材材质要求

(1)严格本工程技术规格说明书要求的材质和规格进行材料的选厂、报批及订货,管道材料和规格

(2)各种管材、型钢及各种阀部件在进场后认真检查,必须符合国家或部颁标准,有质量、技术要求并有产品合格证。

(3所有钢管在使用前应做外观检查,有缺陷的钢管不允许使用,管壁厚度偏差应满足规范要求。

(4)钢管在安装前,管壁内、外表面应仔细清理,除去铁锈、渣质和污物,呈现金属光泽,再按设计及规范要求做防腐处理。

(5)阀门应按有关规范要求进行抽检,有防火要求(或特别要求)的材料应具有政府消防部门(或权威机构)的检定证明文件。

3、预留孔洞及预埋铁件

(1)在结构施工阶段配合土建单位搞好设备吊运孔洞的预留工作;管路安装孔洞的预留及预埋件设置工作亦应细致配合土建单位进行。

(2)凡属预制墙板、楼板需要剔孔洞,必须在装修或抹灰前剔凿;遇有剔混凝土空心楼板或断钢筋,必须先征得有关部门的同意及采取相应补救措施后,方可剔凿。

(3)在外墙内模和外挂板内模工程中,对个别无法预留的孔洞,在大模板拆除后及时进行剔凿,严禁用大锤操作。

4、套管安装

   (1)管道穿墙壁或楼板,应设置钢制套管。根据所穿部位的厚度及管径尺寸确定套管规格、长度。一般非保温管道套管内径应大于管道外径30mm;安装保温水管,其套管内径应满足设计规定厚度的保温层通过。安装在楼板内的套管,其顶部应高出地面20mm,底部应与饰面相平;套管与管道之间用非燃性保温材料填实;穿过厕所、厨房等潮湿房间的立管,套管与管道之间可用油麻填实。

   (2)关于防水套管安装(见下图)

a、柔性穿墙防水套管用于管道穿过墙壁之处受有震动或有严密防水要求的构筑物,做法见下图:

柔性穿墙防水套管安装图

注:1-套管;2-翼环;3-挡圈;4-橡皮条;5-螺母;6-双头螺母;

    7-法兰盘;8-短管;9-翼盘。

b、刚性套管适用于钢管穿过墙壁之处有严密防水要求的构筑物。

刚性穿墙防水套管安装图

5、型钢管架安装:管道支、吊架的间距及做法应参见技术规格说明书及有关规范和标准图集,且需根据现场实际情况设置支架;

附表10 最大管道支架间距

管道系统规格

额定内径(毫米)

支架中心距(米)

A(黑软钢)

B(铸钢)

C(镀锌软钢)

D(硬制聚氯乙烯)

 

15~40

2.5

50~80

3.5

100

4.0

150

4.5

200

5.0

250以上

6.0

E(铜管)

F(铜管)

15~20

0.9

25~32

1.1

40~80

1.4

100

1.9

注:A、B、C、D、E、F管道规格及用途详见本施工组织设计附表1及附表2(P15、16页)

(1)管道及其部件必须用支吊架固定稳固,不得把管道及其部件的重量传递给设备承受,如连接设备水泵等须提供附加支架,以防设备过度受力。

(2)如管夹/码和管子为不同材料时,两者之间应安装垫片。

(3)空调冷冻水管等需绝热的管道敷设在金属支架时,与金属支架之间必须垫以经沥青蒸煮过的硬垫木,其厚度应与保温层厚度相同。

(4)水平安装的管道支吊架一般应设置在建筑物的钢筋混凝土梁上;垂直安装的管道(含在管井内安装)在多层的楼板处设支架。

(5)在直段管廊内,按设计图纸和规范要求,测定好吊卡位置和标高,找好坡度,将预制好的型钢吊架用膨胀螺栓固定在砼梁、楼板或墙面上;支、吊架安装应平整、牢固,与管道接触良好;所有金属支吊架都做防腐处理。

(6)管井内所有立管均固定在各层楼板上;固定支架采用槽钢制作,固定在砼结构的预埋件上;如果没有预埋件,可用膨胀螺栓固定在砼结构上。

管道导向支架

所有水平和垂直的管道在适当位置都应配有导向支架,以能有效地控制因热涨冷缩所产生的移动和配合伸缩圈及伸缩器的效能,导向支架的布置和间距应根据伸缩器制造厂所建议安排。

管道固定支架

a、须用槽钢固定在建筑结构上作为管道的固定支架安装;

b、管道固定点的设置须配合有关管道的改向和管网内的伸缩器及伸缩管弯,以能有效地将管道系统因膨胀、收缩及内压力所产生的推力和回应力传递到建筑结构上。

c、管道固定支架同时要承受管道水压试验时所产生的较高轴向推力。

(7)标准支架安装:在各层空调水系统Dg108以下水平干管的管道支架,推广采用和国际接轨的新型支架。此种支架是安装行业零部件标准化供应的一项新型商品化系列产品,支架全部五金件均做到了标准化、系列化、通用化,产品生产方式全部达到了冷弯轧制和模具冲压成型的工业化产品。其产品表面处理均为冷、热镀锌,进一步提高了支架的防腐性能,也提高了支架的可靠性、灵活性,保证了工程质量,减化操作工艺,提高施工效率。

空调管道安装工艺

(1)管道组成件及管道支承件必须具有制造厂的质量证明书,其质量不得低于国家现行标准的规定;

(2)钢管在安装前,管壁内、外表面应仔细清理,除去铁锈、渣质和污物,呈现金属光泽,再按设计及规范要求做防腐处理;

(3)阀门应从每批中抽取10%,且不少于1个进行强度试验和严密性试验,当不合格时,应加倍抽查,仍不合格时,该批阀门不得使用,阀门的强度试验压力不得小于公称压力的1.5倍,试验时间不得少于5min,以壳体填料无渗漏为合格;严密性试验宜以公称压力进行,以阀瓣密封面不漏为合格;

(4)空调水系统管路的放水点与放气点,除图中已标明的,若在安装过程中出现局部的最高点和最低点时,应在相应的位置分别装设放气或放水设施。

(5)管道的伸缩补偿:一般采用自然补偿,若自然补偿不能满足时,可采用不锈钢波纹伸缩节或其它补偿措施。

(6)根据技术规格说明书的要求选用相应管材材质和连接施工方法,如有变更以业主和顾问公司联合签发的书面文件为准。

(7)采用丝接时应注意以下问题:

a、螺纹应用符合要求的套丝机加工,套丝过程中应经常加油,从最后的1/3长度处起,板牙应逐渐放松,以便形成锥状。

b、检查螺纹应端正、清楚、完整、光滑,不得有毛刺、乱斯、断斯和缺丝现象。

c、螺纹加工时,应用力均匀,不得用加套管接长手柄的方法进行套丝。

d、螺纹连接时,应在管段螺纹外面敷上填料(聚四氟乙稀带或一氧化铅和甘油制成的粘稠混合物),用手拧入2~3扣,再用管子钳一次装紧,不得倒回,装紧后应留有丝尾。

e、管道连接后,应把挤到螺纹外面的填料清除掉,填料不得挤入官腔,以免阻塞管路。

f、一氧化铅与甘油混合后,需在10分钟后用完,否则就会硬化,不得再用。各种填料在螺纹里只能使用一次,若螺纹拆卸,重新装紧时,应更换新填料。

(8)采用法兰连接时,应保持法兰平行,不得用加紧螺栓的方法消除歪斜。所有部件、测量仪表按要求采用专用产品,应按设计及有关图集要求装在便于观察、不防碍操作检修、光线良好的地方。

(9)管道采用法兰连接时(一般为与阀门等管件连接方法),法兰装配的技术要求:

a、法兰与管子焊接装配时,法兰端面应与管子中心线相垂直,其偏差度可用角尺和钢尺检查,当Dg300mm时,允许偏差度为1mm;当Dg>300mm时,允许偏差度为2mm

b、管子插入法兰内距密封面应留出一定距离,一般为法兰厚度的一半,最多不超过法兰厚度的2/3,以便于内口焊接。

c、高压螺纹法兰装配时,一般应涂以二硫化钼(有脱脂要求除外),螺纹法兰拧入端口时,应使管端螺纹倒角外露。

(10)法兰安装技术要求及要点:

a、法兰连接时应保持平行,其偏差不大于法兰外径的千分之1.5,且不大于2mm,不得用强紧螺栓的方法消除偏斜;

b、法兰连接应保持同一条轴线,其螺孔中心偏差一般不超过孔径的3%,并保证螺栓自由插入;

c、法兰垫片应符合标准,不允许使用斜垫片或双层垫片。采用软垫片时,周边应整齐,垫片尺寸应与法兰密封面相符。当大口径的垫片需要拼接时,应采用斜口搭接或迷宫形式,不得平口对接;

d、垫片安装时,可根据要求,分别涂以石墨粉、二硫化钼油脂等涂剂;

e、软钢、紫铜金属软片安装前应进行退火处理;

f、法兰连接应使用同一规格的螺栓,安装方向一致,紧固螺栓应对称均匀,松紧适度,紧固后外漏长度不大于两倍螺距;

g、螺栓紧固后,应与法兰紧贴,不得有楔缝;需要加垫圈时,每个螺栓所加垫圈不应超过一个;

h、法兰不允许装在装在楼板、墙壁和套管内,为了便于装拆,法兰与支架边缘或建筑结构一般不小于200mm

i、高温或低温管道法兰连接螺栓,在试运转时要进行热紧和热紧。热紧或冷紧应在保持工作温度24小时后进行;紧固螺栓时,管内最大内压应根据设计压力确定;设计压力大于6Mpa时,热紧最大内压为0.5Mpa,冷紧一般应卸压。

(11)钢管焊接工艺

  a、对焊工的要求:由于空调水管道是承压管道,凡参加此项工程施工的焊工应具有劳动局颁发的焊工证。

     b、焊接方法:

        氧-乙炔焊:一般适用于外径小于或等于57毫米,壁厚小于3.5毫米的碳素钢管道焊接及紫铜管焊接。

        手工电弧焊:一般适用于外径大于57毫米的无缝钢管、螺旋电焊管焊接。

        焊接接头型式:管道对接

        坡口型式:V型;母材 A3;焊接材料E4303(结422)

     c、焊前准备工作:

      ① 管道安装点固前应将坡口内外表面(不大于10mm范围内)的油污、锈垢等清理干净。

      ② 再次检查管道有无裂纹、夹层、锈蚀等缺陷。

      ③ 电焊条使用前要按焊条说明书要求烘干。

d、DN50(含)以下的管道用砂轮锯切割,DN50以上的管道用氧乙炔火焰切割,切口表面应平整,无裂纹、重皮、毛刺、凹凸、缩口、熔渣、氧化物、铁屑等;切口端面倾斜偏差△不应大于管子外径的1%,且不得超过3mm(见下页图);

 

 

 

 

 

    

e、对接管道坡口型式及间隙

坡口角度(度)

间隙(mm)

钝边(mm)

点焊长度(mm)

600±2

1.5~4

1~2

10~25

f、焊接工艺参数

管径(mm)

焊接层次

焊条直径

焊接电流(A)

焊条角度

φ38-φ57

1

2.5

一层70-80

应随焊接空间位置不断变化

2

2.5

二层65-75

φ159

1

3.2

一层110-120

2

3.2

二层90-100

    

g、焊缝加强面高度和宽度

壁厚σ(mm)

3~4

5~6

7~10

V型坡口

焊缝加强高h(mm)

1±1

2±1

焊缝宽度b(mm)

盖过每边坡口约

1~2mm

注意:法兰内侧的焊缝不得凸出法兰密封面。

h、管子对口时,应在距接口中心200mm处测量平直度,当管子工称直径小于100mm时,允许偏差为1mm;当管子公称直径大于或等于100mm时,允许偏差为2mm。但全长允许偏差为10mm

 

 

 

 

 

管道对口平直度

 

i、管道连接时,不得用强力对口、加偏垫或加多层垫等方法来消除接口端面的空隙、偏斜、错口或不同心等缺陷。

g、直管段上两对接焊口中心面间的距离,当公称直径大于或等于150mm时,不应小于150mm;当公称直径小于150mm时,不应小于管子外径;

 

 

 

 

 

 

h、焊缝距离弯管起弯点不得小于100mm,且不得小于管子外径;

i、环焊缝距支吊架净距不应小于50mm,需热处理的焊缝距支吊架不得小于焊缝宽度的5倍,且不得小于100mm

j、管道焊缝不得置于穿墙洞口内或外加套管内。不宜在管道焊缝及其边缘上开孔。

k、埋地钢管的防腐层应在安装前作好,焊缝部位未经试压合格不得防腐,在运输和安装时应防止损坏防腐层。

(12)管道安装时还应注意以下几点

a、穿墙及过楼板的管道,应加套管,套管的管径尺寸(一般比管道大两号)应保证管道的保温层能够穿过套管,管道焊缝不宜置于套管内,穿墙套管的长度不得小于墙厚。穿楼板套管应高出楼面20mm,穿过屋面的管道应有防水肩和防雨帽,管道与套管之间的空隙应采用不燃材料填塞;

b、冷冻水管道与吊架之间要设木托,以防止结露,木托的厚度与保温层相同。示意图见下页:

 

 

 

 

 

 

 

c、管道安装时,应及时固定和调整支吊架,支吊架位置应准确,安装应平整牢固,与管子接触应紧密;

d、导向支架或滑动支架的滑动面应洁净平整,不得有歪斜和卡涩现象,其安装位置应从支撑面中心向位移反方向偏移,偏移量应为位移值的1/2;

e、支吊架的焊接应由合格焊工施焊,并不得有漏焊、欠焊或焊接裂纹等缺陷,管道与支架焊接时,管子不得有咬边、烧穿等现象;

f、管架紧固在槽钢或工字钢翼板斜面上时,其螺栓应有相应的斜垫片;

g、管道安装时,不宜使用临时支吊架,当使用临时支吊架时,不得与正式支吊架冲突,并应有明显标记,在管道安装完后拆除。

7、立管安装

竖井大口径立管可采用倒装法安装,即在竖井顶部设置吊装机具,在适当位置进行焊接作业; 先从最高端的一根管开始,焊好一根,提升一根,达到所需长度(即高度)后,一次就位固定。采用此方法施工,应注意以下几个问题:

(1)安装、施工前必须编制切实可行的专项方案,其中吊装机具的设置,必须按焊接后整根钢管重量考虑

(2)在主管安装前,必须将竖井固定支架和滑动支架等安装完毕;

(3)施焊前,必须按规定铲好坡口;施焊时,上部钢管必须可靠固定,并有防滑措施和指派专人看守;

(4)施工过程中,一定要做好顶部管口的防护;

(5)需要保温的管道,应合理安排,留足保温量。

  8、水平管安装

(1)先做干管,然后做支路;

(2)严禁倒坡。尤其是冷凝水管安装坡度:除设计图纸注明外,冷凝水管水平管段的排放坡度应≥1.2%,且保证所连接末端设备的冷凝水水盘高出水平干管起点100mm;风机盘管凝结水管的坡度一般应≥8%,并必须作灌水实验,要求每台风机盘管都做到凝水顺畅、接水盘内无积水。

(3)水平管道变径时,采用偏心变径;管道坐标及标高应满足设计要求。

9、机房管道安装

机房的设备吊运上位、找平找正完毕后,对设备进行管道碰头。为确保质量,使之布置合理美观且操作方便,现场技术人员应根据实测数据分部位绘制出配管大样图用以指导施工、确保关键部位效果:

(1)与设备连接的管道,安装前必须将管内外清理干净;管道与设备口连接时,不得用强力对口;固定焊口应尽量远离设备,以减弱焊接应力的影响;管道与设备连接后,做好附加支架,以防设备过度受力。

(2)水泵阀类安装整齐一致,方便操作;冷水机组、水泵及空调机组的进出水管上均设软接头;仪表设置在便于观察,不易磕碰处;除污器设置便于拆卸清洗。

(3)机房(包括其它部位)高标高管道安装之前须根据现场实际情况搭设好脚手架:脚手架的搭设须由专业人员按相关规范进行,应充分考虑到承受大口径管道的能力;正式安装使用前,必须由专职安全员对脚手架进行检查验收,确保安全且合理地使用脚手架;局部的高空小口径管道安装时可使用组装门式架,其搭设亦须牢固可靠、用前进行细致检查,确保安全方可正式使用;门式架应尽可能避免二层或二层以上重叠组装使用,如确有必要,由专业架子工搭设且须配合加设安全马道及斜支撑。

(4)设备拆箱后,各口加盲板封堵,施工中注意各种管道口的加封,以防止杂物进入系统。

(5)机房明装管道安装完毕后,应根据设计要求涂色漆,并于明显部位注明管道的名称及用箭头标明管内介质流向。

(6)空调机组的凝结水管安装应结合现场实际情况做满足功能要求的返水弯(水封)且与外管路连接正确,以克服机内负压、使凝结水能够顺畅流出;水封高度(mm)=机外余压(mmH2O)+50(mm)。

6.1.2阀门安装

1、阀门种类、规格型号符合规程、规范要求。

2、所有阀门安装前按制造厂标定的压力逐个做水压试验,合格后再安装,不能用系统整体试压来检验阀门质量。

阀体的强度试验:试验压力为公称压力的1.5倍,阀体和填料处无渗漏为合格。

严密性试验:试验压力为公称压力,阀芯密封面不漏为合格。

3、阀门安装前,应按设计图纸核对其型号,并按介质流向确定其安装方向;

4、阀门安装和手柄方位根据现场情况进行安装并使其便于安装和操作。

 

2通风管道制作安装

 

1、风管施工工艺:

(1)镀锌钢板施工工艺:

①通风系统采用镀锌钢板咬口制,钢板厚度按设计及规范采取。

②风管与设备之间、风机盘管与其送、回风管之间的连接采用带保温的200㎜长铝箔金属伸缩软管。

③风管法兰衬垫采用8501材料,δ=3~5㎜。

各种管道穿墙和楼板的预留或预埋件以及设备的安装孔等施工中应与土建密切配合,不得遗漏,并认真核对其位置、数量和尺寸

风管的支管与干管相接处为三通分路,当支管与干管的底面(或项面)相距<150mm,做成弧形三通,相距在150mm以上者做成插管式三通,连接要严密。

风管弯头制作按设计及规范要求标准执行。

(2)复合风管施工工艺:

①管道系统安装,管件之间的连接采用榫接。首先在管件的阴、阳榫上均匀刷足一号胶,然后把管件一端的阳榫插入另一管件的阴榫中,再沿管件外壁结合缝粘贴一层宽25-30mm的铝箔胶带,最后用401胶在铝箔胶带上粘贴一层宽50-60mm的玻璃丝布铝箔。

②连接管件,要求两管件的阴、阳榫结合紧密,管壁上的结合缝要位于粘贴材料的中心,整个粘贴面应平整、无皱折,不留胶液痕迹。

③穿墙管

1)无套管穿墙管

矩形风管的宽度不大于350mm时,管道可以直接穿墙而不用套管。预留孔回填层的高度不要超过25mm

2)有套管的穿墙管

宽度大于350mm的穿墙管,穿墙段必须加铁制套管。回填层厚度不超过50mm

外套管钢析厚度

 

穿墙管横向边长(mm)

套管钢板厚度(mm)

300-500

1.2

500-800

1.5

800-1250

2.0

>1250

>2.0

风管横向边长大于800mm时套管上应焊加强肋。加强肋采用L25×3等边角钢。

④水平风管的固定

水平安装的风管有三种固定方式:双吊杆吊装、支架支承和吊杆加支承。

横撑角钢与吊杆规格按下表选用:

风管横边长(mm)

固定方式

双 吊 杆 吊 装

支架支承

吊 杆 加 支 承

横撑角钢(mm)

圆钢(mm)

横撑角钢(mm)

横撑角钢(mm)

圆 钢(mm)

<500

L30×20×3

Φ8

L30×30×4

L30×20×3

Φ8

500-800

L30×30×3

Φ8

 

L30×30×3

Φ8

800-1000

L30×30×4

Φ8

 

L30×30×4

Φ8

1000-1250

L40×30×4

Φ8

 

L40×30×4

Φ8

吊架或支架距离按下表确定

风管最大边长(mm)

吊支架距离(mm)

<900

2400

900-1500

1800

>1500

1200

⑤垂直风管的固定

1)靠侧墙安装:可以用侧墙支架支承风管。采用侧墙支架支承时,风管被支承的点上要设置用镀锌钢板制作的内撑短管。                   

2)不靠侧墙安装:可以采用地面支架或用吊杆固定。

(3)本工程的风管加工按图纸要求、设计说明、规范标准分期、分批加工运至施工现场。

(4)风管弯头制作按设计及规范要求标准执行。

(5)风管部件及支、吊架

水平安装的风管直径或大边长小于400毫米,支、吊架间距不超过4米

对于相同管径的支、吊、托架应等距离排列,但不能将支、吊、托架设置在风口、风阀、检视门及测定孔等部位处,否则将影响系统的使用效果,应适当错开一定距离。支、吊、托架的预埋件或膨胀螺栓的位置,应正确和牢固。

安装吊架应根据风管中心线托出吊杆敷设位置,单吊杆在风管中心线上,双吊杆按托架钢的螺孔间距或风管中心线对称安装。

④在新风机组、空调机组的出风口主风道上应设流量和温度测量孔,测孔位置由调试人员定。

⑤风管的调节装置应安装在便于操作的部位,各类风口的安装应平整,位置应正确,与风管的连接应牢固。

(6)手柄阀的手柄方向应一致,所有阀门操作装置均设开关批示阀,操作装置露出保温层3050mm

(7)凡有阀门,风管检查门处的吊顶应留检查孔。

(8)为确保工程按期交付甲方,随时配合土建,吊顶时风口碰头及安装风口。土建在做吊顶龙骨时,根据装修总体布局及时配合土建核实风口位置,并将支风管引到位,不影响土建吊顶。

(9)所有新风管的支管均装设调节阀。

(10)送风散流器、送风百叶风口、排风百叶风口均佩带对开多叶调节阀;排气扇排风支管局部采用铝箔金属伸缩软管,排气扇配带止回风阀。

(11)风管的漏风量测定:(如下图)

(12)防腐

①全部角钢法兰支、吊架(及设备基础)的钢制构件,除锈后涂防锈底漆两道,排烟管及排风兼排烟管除锈后,内外表面各涂耐热漆两遍。

②镀锌板矩形保温风管大边>800mm,不保温风管大边>630mm,长度1200mm时加角钢腰箍一道。

2、部件制作

(1)所有风口、阀门等部件制作材料及材质严格按照合约条款及技术规格说明书选用,并符合有关标准的要求(国家规范或等同的国际标准。

风口规格应以颈部外径或外边长为准,其尺寸的允许偏差值应符合下表的规定(见下页表)。

边长

<300

300~800

>800

允许偏差

0~-1

0~-2

0~-3

对角线长度

<300

300~500

>500

两对角线之差

≤1

≤2

≤3

 

(2)风口外表装饰面应平整光滑。

(3)百叶式风口的叶片距应均匀,其叶片间距允许偏差为±1.0mm,两端轴应同心。叶片中心线直线度允许偏差为3/1000;叶片平行度允许偏差为4/1000。

(4)风口外表面不得有明显的划伤、压痕与花斑,颜色应一致,焊点应光滑。

(5)风口的转动、调节部分应灵活、可靠,定位后无松动现象。手动式风口叶片与边框铆接应松紧适当。

(6)插板式及活动蓖板式风口,其插板、蓖板应平整,边缘应光滑,启闭应灵活。组装后应能达到完全开启和闭和的要求。

(7)散流器的扩散和调节环应同轴,径向间距分布应均匀。

(8)风阀的结构应牢固,调节应灵活、定位应准确、可靠、并应标明风阀的启闭方向调节角度。

(9)插板阀的壳体应严密、壳体内壁应作防腐处理,插板应平整、启闭应灵活,并应有可靠的插板固定装置。

(10)三通调节阀的拉杆或手柄的转轴与风管结合处应严密;拉杆可在任意位置上固定;手柄开关应标明调节的角度;阀板应调节方便,并不得与风管碰擦。

(11)多叶风阀的叶片间距应均匀,关闭时应相互贴合,搭接应一致。大截面的多叶调节风阀应提高叶片与轴的刚度;并实施分组调节。

 

3通风空调、制冷机房及锅炉房设备安装

 

1、设备开箱检查:我司、业主、顾问公司及设备供应部门共同参加,开箱前检查包装外观有无损坏和受潮,开箱后认真检查设备名称、规格、型号是否与图纸相符,说明书、合格证是否齐全;按装箱清单和设备技术文件,检查主机附件、专用工具是否齐全;设备表面有无缺陷、损坏、锈蚀、受潮等现象;将检验结果作好记录,参与检查人员签字盖章,作为交接资料和设备技术档案的依据。

2、设备运输

见本施工组织设计之“6.3设备吊装运输方案”

3、风机的安装

(1)设备安装前,应进行开箱检查,开箱检查人员由建设、监理、施工单位的代表组成;

(2)风机的开箱检查:

a、按设备装箱单清点风机的零件、部件和配套件并应齐全;

b、核对叶轮、机壳和其它部位的主要安装尺寸,并应与设计相符;

c、风机进口和出口的方向(或角度)应与设计相符;叶轮旋转方向和走子导流叶片的导流方向应符合设备技术文件的规定;

d、风机外露部分各加工面应无锈蚀;转子的叶轮和轴颈、齿轮的齿面和齿轮轴的轴颈等主要零件、部件的重要部位应无碰伤和明显的变形;

e、整体出厂的风机,进气口和排气口应有盖板遮盖,并防止尘土和杂物进入。

设备就位前,应对设备基础进行验收,合格后方可安装。

(4风机搬运和吊装时,绳索不得捆缚在转子和机壳上盖或轴承上盖的吊耳上。

(3)风机搬运时,绳索不得捆缚在转子和机壳或轴承盖的吊环上;

(4)通风机的进风管、出风管等装置应有单独的支撑,并与基础或其他建筑物连接牢固;

(5通风机的传动装置外露部分应有防护罩;当通风机的进风口或进风管路直通大气时,应加保护网或采取其他安全措施;

(6离心通风机(混凝土)基础高度一般为200mm,各细部尺寸及强度要求严格按照设计及有关规范图集(国标图集及华北标板91SB6图集99~111页)要求进行,并预先书面通知土建,设备安装前认真进行基础验收。

(7离心风机安装设置弹簧(刚性)减震支架(由原厂提供),吊装风机采用减震吊架,减震支(吊)架按国标图集及华北标板91SB6图集78~99页或等同的国际标准制作。

(8整体出厂机组的安装水平和铅垂度应在底座和风筒上进行测量。其偏差均不应大于1/1000。

 

4、空调机组及新风机组的安装

(1)严格按照本工程“设计图纸及技术规格书”的技术参数和技术要求,进行设备的选厂定型及订货,并认真进行进货检验工作。

(2)机组应清理干净,箱体内应无杂物;

(3)机组应放置平整的基础上,基础应高于机房地平面(一般为200mm);各细部尺寸及强度要求严格按照设计及有关规范图集(国标图集及华北标板91SB6图集99~111页)要求进行,并预先书面通知土建,设备安装前认真进行基础验收。

(4)机组下部的冷凝水排放管,应有水封,与外管路的连接应正确;(见附图)

 

 

 

                                                 200×200×100橡胶垫

混凝土基础台座                                    上复6mm厚钢板

                                                 (橡胶硬度400

 

 

                                                        

 

(5)空调机组(新风机组)安装于(混凝土)基础间安装橡胶减震垫,减震垫设置数量及材质规格应符合原厂说明书及国标图集或北标板91SB6图集的要求(见上图)。

(6)组合式空调机组按照厂家说明书及技术要求进行组装,必须保证各功能段连接要严密,整体平直,检查门开启灵活,水路畅通。

(7)现场组装的(组合式)空调机组做漏风试验,以检验其严密性,试验要求按国标(GB50243-97)或英国标准(HVCA,DW144,1998)执行。

5、风机盘管的安装

(1)在选用风机盘管时,应选用(较)高静压型,其提供的机外静压不得小于40Pa。

(2)风机盘管安装前应进行单机三速试运转及水压试验,试验压力为工作压力的1.5倍,不漏为合格;

(3)卧式风机盘管应由支、吊架固定,并应便于拆卸和维修;

(4)排水坡度应正确,冷凝水应畅通无阻地流到指定位置,供回水阀及过滤器应靠近风机盘管安装;

(5)供回水管与风机盘管的连接应采用不锈钢波纹软接头;

(6)风管、回风箱及风口与风机盘管的连接处应严密、牢固;

 

 

 

 

 

 

 

 

 

6、水泵的安装

(1)首先应检查水泵安装基础的尺寸、位置和标高,应符合工程设计要求;

(2)水泵开箱检查应符合下列要求:

a、应按设备技术文件的规定清点泵的零件和部件,并应无缺件、损坏和锈蚀等;管口的保护物和堵盖应完好;

b、应核对泵的主要安装尺寸并应与工程设计相符;

(3)电动机与泵连接时,一般应以泵的轴线为基准找正;电动机与泵之间有联轴器连接时,应以联轴器轴线为基准找正;

(4)吸入管道与输出管道应有各自的支架,泵不得直接承受管道的重量;

(5)管道与泵连接后,不应在其上进行焊接和气割,当需焊接和气割时,应拆下管道或采取必要的措施,并应防止焊渣进入泵内;

(6)整体安装的泵,纵向安装水平偏差不应大于0.1/1000,横向安装水平偏差不应大于0.2/1000,并应在泵的进出口法兰面或其它水平面上测量;

(7)泵试运转前,应检查下列项目:

a、电机的转向应与泵的转向相符;

b、地脚螺栓应无松动;

c、各润滑部位已加注润滑油,需要冷却的部位已加注冷却油;

d、各指示仪器、安全保护装置及电控装置均应灵敏、准确、可靠;

e、盘车应灵活、无异常现象;

(8)泵启动前,应先打开吸入管路阀门,关闭排出管路阀门,待转速正常后,再打开出口管路的阀门,并将泵调节到设计工况;

(9)泵试运转时应符合下列要求:

a、各固定连接部位不应有松动;

b、转子及各运动部件运转正常,不得有异常声响和摩擦现象;

c、附属系统的运转应正常;管道连接应牢固无渗漏;

d、滑动轴承的温度不应高于70℃;滚动轴承的温度不应高于80℃

e、泵的安全保护和电控装置及各部分仪表均应灵敏、正确、可靠;

f、泵在额定工况点连续试运转的时间不应少于两小时;

(10)泵停止试运转后,应符合下列要求:

a、先关闭泵入口的阀门,待泵冷却后再依次关闭附属系统的阀门;

b、应放尽泵内积存的液体,防止锈蚀和冻裂。

 

7、冷却塔安装

(1)根据设计图纸及技术规格说明书的技术参数和技术要求进行设备的选厂定型及订货,并认真进行进货检验工作。

(2)冷却塔均安装于裙漏六层平台,制定详细吊装运输方案,经顾问公司审批后实施。

(3)冷却塔的安装严格按照原厂的安装说明书指示并由有经验的技工有步骤地进行。

(4)由原厂提供或提供图纸制作冷却塔的钢制支撑支架(一般安装在型钢底座上,与基础之间也应根据设计的要求安装隔震器),支承部份的垂直和水平度使用仪器进行测量校正,并用螺栓牢固稳地固知在防震设施、(原厂设计的)钢制支撑支架及基础上。

    (5)使用足够强度的钢缆对冷却塔(专用吊眼)进行拉纤加固拉纤,使能抵受每小时24O公里的风力吹袭。

(6)接驳溢水管,排污泄水管和排空管至最近的地漏或接至最近下水立管,届时由我公司设计所进行进行接驳管道的图纸设计,报顾问公司审批后实施。

(7)在冷却塔试运转之前,采用原制造厂推荐的润滑剂和液压油并遵照其润滑方法,对所有冷却塔的机械转动部件进行润滑。

(8)采取保护措施防止外来的物体进入轴承,如有物体进入轴承,应彻底地使用煤油清洗,并重新润滑。

(8)在安装完毕,并经认真检查各部位安装良好无误时,对冷却塔和冷却水系统进行试运行及调试(最好在夏季进行)。并测试冷却塔运转及冷却指标、噪音水平是否符合要求,并将有关记录呈送顾问公司。

 

8、离心式水冷机组安装

(1)离心式冷水机组安装,严格按照设计图纸、设计说明、制造厂说明书以及相关规范标准执行。

(2)离心式水冷机组需在设备定型落实后,核实其尺寸后书面通知土建单位,确定浇灌混凝土基础、地脚螺栓孔及预埋件的详细尺寸及要求。待砼强度达到75%以上时方可进行设备的安装就位。

(3)离心式水冷机组安装于地下二层空调主机房内(冷冻机房),安装就位前,根据冷水机组的外形及重量,经过详细考察现场后,编制冷水机组的吊装运输方案,报顾问公司审批后按此实施。(初步制定的吊装运输方案见6.3设备吊装运输方案)。

(4离心式水冷机组安装按照设计要求做隔振处理(采用专用的弹簧隔振器),并达到要求的尺寸及位置。

(5在底座或与底座平行的加工面上测量,离心式制冷机组的纵向和横向安装水平偏差度均应保证不大于1/1000。

(6)机组所有低温表面包括蒸发器、水室、吸入弯管、节能器和电动机冷却管等,须由原厂提供保温材料覆盖。

 

9、板式换热器的安装

(1)板式换热器的选厂定型、订货及进货检验严格按照设计及技术规格说明书要求进行,并将有关资料报请业主、顾问公司审定。

(2)板式换热器的安装严格按照有关规程规范及标准图集进行。

(3)板式换热器安装在混凝土基座上,混凝土基座应按要求设置地脚螺栓预留孔(事先书面通知土建),地脚螺栓预留孔应垂直无倾斜。

(4)设备就位前,应按施工图和有关建筑物的轴线或边缘线和标高线,划定安装的基准线,成排设备要划定共同的基准线。

(5)板式热交换器与基座间须装设20mm厚的聚丁橡胶垫片,且采用的固定螺栓包括垫环和螺帽均做热浸镀锌处理。

(6)在使用前,地脚螺栓上的油污和氧化皮等应清除干净,螺纹部分应涂少量油脂。

(7)拧紧脚螺栓应在预留孔中的混凝土达到设计强度的75%以上时进行,各螺栓的拧紧力应均匀,螺母与垫圈、垫圈与设备底座间的接触均应紧密。

(8)拧紧螺母后,螺栓应露出螺母,其露出长度宜为螺栓直径的1/3-2/3。

(9)板式热交换器采用厚度50mm和密度48kg/m3的玻璃纤维做保温,同时外加以板厚18#厚(1.2mm)镀锌钢板制成的易装拆式保护外壳。保温外壳与拉铆钉之间涂透明密封胶密封,防止保温材料被弄湿/潮,保温须覆盖整个板式热交换器包括外框和导杆。

 

4消声与隔震

 

    1、系统消声

  1)本公司将严格按照合约及技术规格说明书的程序与要求进行设备的选厂订货,仔细进行审核,保证所有设备及系统部件的噪声值不会超过国家环保总局及天津市环保局对噪声控制的要求,同时阻燃指标满足国家及天津时消防部门的要求。

   (2)根据设计图纸及技术规格说明书的要求,进行消声材料及消声设备的选厂订货,并按程序向业主、顾问公司提交资料(包括厂家资质、详细的产品样本、权威机构的技术检定证书、消防部门的鉴定证明及物料样品等)供审核。

   (3)选用低噪声风机(空调器),并对所有设备产生的机械(震动)噪声及系统管道、各类风口的气流噪声,进行计算检定,并将计算结果提交顾问公司审核;并承诺如在今后的系统设备的运行过程中,发觉所提供所提供的消声设备未能满足有关噪声度要求(ASHRAE System Handbook-1987时,我公司将负责并配合进行修改和更换,而不收取费用。

   (4消声器制造要求:

a、消声器及内消声风管应从一认可的制造厂所生产的标准系列产品中选择,且必须为不含石棉物质的产品。

b、消声器的风阻力不应超过设计的额定值,而噪音消减量则应等于大于其管道系统消声量的要求。

c、长方形消声器的外壳须用0.8mm厚的镀锌钢板制造;其内部隔板须用≥0.55mm厚的镀锌穿孔钢板制造,穿孔钢板的孔眼的直径应为2.4mm,交错中交错中心距为4.8mm;内部加强支撑均用不少于0.88mm的镀锌钢板制造。

d、消声器进/出口两端为喇叭口形设计,而其中进风喇叭口应用0.88mm镀锌钢板制造,并恰当地与穿孔钢板连接。

f、附在消声器柜体的分隔板应有适当的加强保护,以保征分隔板的任何部份在系统运行不会震动或松动脱落。

g、应采用无机矿物玻璃纤维作为消声器的内部填充物料,密度应不少于40kg/m3,并且在不低于5%的压缩率下填充,以避免因震动和物料下坠沉积所引起的间隙。所用材料应是不起化学作用的、防虫及防潮的。

h、镀锌金属板的切割面和焊接点均须涂上高锌漆料;

i、所有消声器的柜体接口须涂上密封胶,以保证在额定风量及系统静压1200Pa情况操作时仍能保持气密性。

j、消声器须在系统压差2kPa的情况下不会有任何变形现象产生。

   (5消声器的安装

a、消声器的安装严格按照厂家说明书及国标图集、华北标办91SB6图集进行。

b、消声器按照设计图纸所示安装在较直的主风道上,不得妨碍和破坏气流组织。

c、消声器外表面应平整,不应有明显的凹凸、划痕及锈蚀。

d、吸声片外包玻纤布应平整无破损,两端设置的导风条应完好。

e、紧固消声器部件的螺钉应分布均匀,接缝平整,不得松动、脱落。

h、穿孔板表面应清洁,无锈蚀及孔洞堵塞;

i、 安装消声器时应注意其安装方向的正确,并不得碰损消声器,同时应注意其产品保护,不得使之受潮。

j、 消声器、消声弯管均应单独设支架,其重量不得由风管承受;

   (6在选择散流器、格栅风口和调风器时均应仔细考虑,使其达到较好的气流分送效果和产生最低噪声。

   (7装设在风机出口附近及经过要求低噪音区域的风管道弯头内壁,必须镶以25mm厚,32kg/m3的具有保护表面的玻璃纤维衬里。有关消声村里应在管弯的两端同时伸延不少于 3米

   (8在设计图纸所示的位置,安装内消声风管;内消声风管衬里采用具有防潮层面,且用热凝固的凝固树脂胶合在一起的玻璃纤维制造(厚度40mm,密度40 kg/m3);衬里应是半刚性的,在面对气流的一侧须涂有黑色耐火涂层,衬里表面纤维紧密结合,以防在安装和使用期间受损坏,并且要求其表面足以抵受30米/秒的风速吹拂。玻璃纤维衬里吸声材料须符合“美国试验材料标准ASTMC423-66所规定的下列声音吸收系数:

倍频程

吸收系数

倍频程

吸收系数

125

0.31

2000

1.06

250

0.81

4000

1.13

500

1.06

NRC

1.05

1000

1.09

 

 

   (9依据设计图纸所示位置提供消声镶板(消声片),消声镶板厚度应至少为100毫米,其内面须用1.2mm厚的镀锌穿孔钢板制作,而外面须用1.9mm厚实心冷轧镀锌钢板制成,并以1.9mm厚槽钢作框架。

 

2、设备隔震

(1)所有通风、空调机械设备均须设置隔震器,以防止设备运转时所产生的震动和声音以机械原理传送到建筑结构中。

(2)按照设备的配重(应考虑设备的静重量和运转时的附加重量)选择隔震器,以提供一合理及均匀的振幅。

(3)所有采用的隔震器及连接器,包括自立式弹簧隔震器、限位式弹簧隔震器、防震吊钩、氯丁橡胶隔震器、防震垫片、惯性基座、水平限位推力器、柔性聚氯丁橡胶连接器、风管柔性接头等,均按照设计图纸及技术规格说明书的有关制作要求进行厂商及产品筛选,应将有关资料(包括样本说明书、施工安装图、测试证书及装置弹簧震幅量、隔震效率、弹簧种类)顾问公司工程师审核。

(4)按图纸所示的设备(包括制冷帆、冷却水塔、水泵及其它机动设备)其出口和进口处应设置柔性聚氯丁橡胶连接器。

a、连接器应为尼龙胎芯结构和聚氯丁橡胶复合管以液压橡胶压机压铸成型;

b、不应采用钢丝或钢环作为压力增强器;

c、所有连接管均应按系统要求提供单球型,并需得到顾问公司工程师认可;

d、连接器应用悬浮式钢制凹槽法兰与管道进行连接;

e、所有连接器均应能承受1600 kPa的工作压力和2400 kPa测试压力;

(5)风管柔性接头

a、应按照“英国金属风管系统,低速和高速、压缩空气系统规范DW-142”所制定的材料规格和安装方法,在各风管系统和设备连接口安装柔性接头;

b、按图纸所示或为减低震动,在所有风机和空调处理机的进风和出风接口安装隔震柔性接头,且每个接头均须预留有25毫米阔的宽松带以确保由风机所产生的震动不会传送至风管系统。柔性接头的连接采用内箍于金属片内或附于金属框架上,以防止漏风;

c、连接器采用氯丁橡胶涂膜玻璃织物制造,所有连接器要符合天津市消防局的最新要求,并呈交有关试验证书以供审批。

(6)空调处理机及风机

      a、用一相同的构件连接整个风机及电动机,并安装在一具有定够刚度的钢梁组合基座上;

      b、所有风机须安装水平推力限制器;

      c、空调处理机及风机配置安装的弹簧隔震器的最少静态隔震幅度是20mm

d、空调机房内所有水管及风管须采用减震吊架。

(7)水平水管道

安装在各空调机房内的所有水管道均须提供防震吊架,各吊架及隔震器的钢弹簧最少静态隔震幅度应符合下表规定:

管径尺寸(mm)

最小静态隔震幅度(mm)

<80

20

80~150

38

≥200

50

(8)垂直管和立管

所有立管均应按图纸所示,用支架或固定件悬吊或支撑,所有立管均应以4m的间隔弹性地悬吊或支撑。

(9)各种水泵

a、除有特别标明外,所有水泵应装在惯性混凝土基座上;除基座制造厂对质量或刚度有特别的要求外,混凝土基座的深度不应大于300mm;基座最小深度应为基座最长的边长十二分之一,但不应少于  150mm

b、水泵和电动机应共同装置在一座具有不少于95%隔震效果的浮式惯性台座上,再用弹簧型避震器和防震垫片承托于混凝土基座上。浮式台座的重量最少为设备操作重量的1.5倍。浮式台座的钢框由我公司根据国标图集及厂家安装说明书制作,钢框架焊接完成后,再进行热浸镀锌处理。

c、当水泵的电动机马力在45kw或以下或水泵装设在地下室时,可选用静态震动幅度20mm的弹簧隔震器;如电动机马力在45kw以上则应选用静态震动幅度40mm的弹簧隔震器。

(10)离心式水冷机组

冷水机组安装于惯性混凝土基座上(深度一般为200mm),冷水机组与基座间垫以橡胶减震垫(根据厂家的安装说明书)。

(11)冷却水塔

各冷却水塔须安装在一组工字槽钢结构底座架面上,并用防震垫片承托于混凝土基座上。

 

 

5风管系统的透光法检查及漏风量测试

 

1、风管系统在安装完毕后进行保温前,应进行透光法检查及漏风量测试(抽测),经确认合格后方可进行保温。

2、风管的严密性须满足设计及有关规程规范的要求:

国标(GB50243)中规定的风管单位面积允许漏风量(m3/h.m2)

系统类别

工作压力

低压系统

 

中压系统

高压系统

100

2.11

 

 

200

3.31

 

 

300

4.30

 

 

400

5.19

 

 

500

6.00

2.00

 

600

 

2.25

 

800

 

2.71

 

1000

 

3.14

 

1200

 

3.53

 

1500

 

4.08

1.36

1800

 

 

1.53

2000

 

 

1.64

 

3、漏光法检测

(1)漏光法检测是应采用光线对小孔的强穿透力,对系统风管严密程度进行检测的方法。

(2)检测应采用具有一定强度的安全光源,光源可采用不低于   100w带保护罩的低压照明灯,或其它低压光源。

(3)系统风管漏光检测时,其光源可置于风管内侧或外侧,但相对侧应为暗黑环境。检测光源应沿被检测部位与接缝作缓慢移动,在另一例进行观察,当发现有光线射出,则说明查到明显漏风部位,并作好记录。

(4)系统风管宜采用分段检测,汇总分析的方法,被检测系统

风管不应有条缝形的明显漏光。且采用漏光法检测系统时,低压系统风管每10m接缝,漏光小点不应超过1处,且100m接缝平均不应大于8处;中压系统风管每10m接缝,漏光小点不应超过1处,且100m接缝平均不应大于8处为合格。

(5)漏光检测中发现的条缝形漏光或漏光小点超出要求,应进行密封处理。

4、漏风量测试

(1)漏风量测试采用经国家(或国际)权威机构检验合格的专用测量仪器。

(2)本工程漏风量测试装置采用正压风管式(主要测试装置采用孔板作计量元件),装置由风机、连接风管、测压仪器(倾斜式微压计)、整流栅、节流器和标准孔板等组成,见下图。

                 10D        5D             

 

                                          整流栅

节流器                      倾斜式微压计

              风机

 

正压风管式漏风量测试装置示意图

注:如采用变频调速风机则可免去节流器

 

(3)风管系统漏风量测试可以整体或分段进行。测试时,被测系统的所有开口均应封闭,不得漏风。

(4)漏风星测试装置的风机,其风压和风量应选择大于被测定系统或设备的规定试验压力及最大允许漏风量的1.2倍。

(5)被测系统的漏风量超过标准时,应查出漏风部位(用听、摸、看或烟),做好标记。修补完工后,重新测试直至合格

 

6冲洗与试压

 

    1、管道冲洗

(1)管道的清洗:首先在安装之前,管道及配件的内外壁必须用100至300Kpa的高压水冲洗干净后,才可安装。

(2)调试、运行前必须进行系统的冲洗:水系统主、干管必须开式进行冲洗排污,反复多次直至甲方、监理确认清洁,然后才允许转入封闭式循环过滤(管网、机组、设备整体进行),反复清理过滤器,直到整个系统干净、清洁。

(3)管道系统在清洗前必须把换热设备与系统分离开(即关闭设备进出口阀门),开启旁通阀(可以临时设置),向管网最高点(如膨胀水箱、冷却塔水盘等)或设定补水点灌水,直到系统灌满水为止;接着从系统的最低点处把脏水放出,按上述方法反复多次,直至系统无脏物;然后启动冷冻水泵、冷却水泵,使水循环多次,停泵后将系统水放尽,检查水过滤器,确认系统管网清洁时止。

(4)冲洗前还应将管路上安装的流量孔板、滤网、温度计、调节阀等拆除,待冲洗合格后再恢复安装。

(5)管道冲洗进水口及排水口应选择适当位置,并能保证将管道系统内的杂物冲洗干净,其截面积不小于被冲洗管道截面的60%。

(6)冲洗要求一般以系统内可能达到的最大流量或不小于1.5m/s流速进行,直至出水水色和透明度与入水水色和透明度目测一致为合格。

(7)冲洗水应排入指定的泄水点,避免出现跑水事故。

    2、管道试压:

(1)水系统试压必须在冲洗排污之后进行,不得在其之前进行。

(2)管道系统试验前应具备以下条件:

a.管路系统施工安装完毕,且符合设计和规范的要求。

b.全部支、吊架安装完毕且合格。

c.焊接工作结束,并经外观检验合格;焊缝等接口部位未经刷漆和隐蔽。

d.管道的位置、标高、坡度、坡向等经复查合格;试验用的临时加固措施经检查确认安全可靠。

e.试验用的压力表经校验合格,并做好标识;精度不低于1.5级,表的满刻度值为最大被测压力的1.5-2倍;试验压力表不少于2块。

f.将不能参加试压的设备及阀件、仪表等管道附件加以隔离;试压泵已设置好。

g.具有完善合理并经报批的试压方案。

(3)冷冻水和冷却水系统管网安装完毕且在隐蔽前必须做好单项水压试验;试验方法:充满水且放净空气后进行加压,先把管网或管段的压力升至试验压力(不得小于600KPa),观测10分钟,如果压力降不大于20Kpa,且外观检查不漏为合格;通知有关人员验收、办理交接手续,然后把水泄净、拆除试压泵和水源。

种类

管段

最大工作压力

(KPa)

最大工作压力

(KPa)

冷冻水管

全部

1050

1350

冷却水管

全部

500

650

(4)试压过程中如发现渗漏等问题,在泄压后再行修理;焊缝渗漏必须铲掉重焊,缺陷修复后须重新试压;被破损的镀锌层和外露丝扣处须补做防腐处理再进行隐蔽工作。

(5)冷凝水管管网安装完毕后,应进行充水试验,不渗不漏为合格。

 

7防腐与保温

 

    1、系统保温

(1)一般要求

a、保温材料无论在运送、储存和安装期间,应采取正确的保护设施,以确保在任何情况下不受破损;

b、保温材料必须不含石棉物质;

c、所有空调系统,包括空调送风系统及冷冻水/采暖水系统,或按图纸所示的其他系统管道,均须进行(适当)的保温;

d、一般输送未经处理的新风及系统的排风的风管道,无需保温,但如果有关管道经过空调的空间或会有结露产生时,则需进行保温。

(2)质量保证及资料呈送

a、所有保温材料应符合英国标准 BS5422及BS5970和遵从天津市消防局规定;

b、所有保温材料的燃烧级别必须依据美国国家防火学会(NFPA)之标准编号90A和90B进行测试,最大的火焰扩散系数是   25,和烟产生系数是50;

c、所有保温厂商或供应商应出示以上经权威机构检定测试的证明文件及资质证明,我公司将资料整理审阅后报顾问公司审核;

d、所有保温厂商或供应商要提交完整的保温材料产品技术说明书资料(一式六份)及材料样品,我公司将资料整理认定后按要求将资料和样品呈报顾问公司审核。

(3)水管和风管系统保温

有关各管道系统所采用的保温材料要求,包括种类规格、厚度和表面处理等具体要求,均按照(在本施工组织设计“第二章机电工程专业特点风管及水管系统保温”中已做较为详细的阐述,故在此忽略不再重复)要求进行。

(4)柔性联接器

保温风管和水管的柔性接头应选用厚度相当的带保温的铝箔软管,柔性接头如设在室外则须作防风雨保护。

(5)阀门、过滤器和配件

所有用于空调水系统的阀门、过滤器、法兰和其它配件等应按与其联接管道的保温厚度作相同厚度保温处理,同时外加以1.2mm厚的镀锌钢板制成的易装折式保护外壳。阀门的外壳覆盖至阀杆并设有箱盖方便阀门操作;而在邻近接驳法兰两侧的管道保温须整齐地折入,以方便法兰的螺栓之装拆。

(6)保温施工要求

  ● 一般要求

a、在需要保温的设备和管道,必须完成所需的各项系统测试后,才能进行保温安装。

b、所有保温安装由我公司保温厂熟练的技术工人进行施工。

c、须在清洁及干燥而没有任何污染物质的表面才能进行保温工作。而所有冷热水管道在安装保温材料前,必须先清除表面铁锈,并揉上两层防锈底漆。

d、只可使用清洁及干燥的保温材料。

e、由保温材料厂商所提出的保温施工建议将作为基本的保温施工条件要求。

f、凡穿过保温层而与冰冷管道表面接触的金属构件,均须做完善的防潮密封处理。

g、穿越套管和孔洞的管道保温须保持连续不断。

h、保温的对接驳口须作交错安排,风管保温以50mm阔宽的铝玻胶带将接口紧密封贴。

i、保温应按国家规范及图集进行仔细地安装,以保证外表平滑而厚度一致。

● 金属风道的保温

a、在安装风管道保温时,在周边须预留足够的长度,以保证在任何位置尤其是转角处的保温厚度均匀一致;

b、在所有保温的边缘接驳位置须予以紧密封贴;

c、使用认可的胶贴剂令保温材料均匀及稳固地附于管道表面;

d、当风管道的宽度大于450mm时,除采用胶贴剂外,须同时采用保温固定钉和定位钢夹作固定。而突出保温层(自带铝玻防潮层)外的保温固定钉尾部须整齐地切平,而保温固定钉的间距不能超过300mm

e、在风管道内的内衬保温材料应用保温金属固定钉和定位钢夹来固定。

● 水泵及板式热交换器保温

a、将保温材料填塞紧贴于设备的外表面而不留任何空隙;

b、将保温材料切成科面配合设备不规则或弯曲的表面以求紧贴密封。

c、提供附有易装拆配备的保温金属外壳。

● 水管道保温

a、安装在管道系统中的法兰、阀门和其他管道配件须以与相连管道的保温厚度和规格相同的保温材料进行保温。对所有有突出的金属部件和阀杆须作彻底保温密封。

b、在每段保温段须以不少于三条不锈钢盘条作固定。

c、所有用于空调水系统的阀门、存水弯、过滤器、法兰和其它配件等应按其联接管道的保温厚度作相同厚度之保温,同时外加以 1.2 mm厚镀锌钢板制成的易装折式保护外壳。过滤器的保温须容许于清理过滤器时不会使有关保温材料受破损。阀门的保温须覆盖至阔帽。

● 在管托支座上的保温

a、采用与有关管道相同厚度和规格的保温材料,剪裁成一块比管道外径和管托支座间的空隙稍大的保温材料;

b、用手将有关保温充塞在管外壁及支座间的空隙内,以效保温稍微超出支应两端;

c、把保温与支座齐口切平;

d、不能用填充物、胶贴剂或其他物料去填补有关空隙或不完整的保温。

● 固定支撑的保温

固定冷冻水管道之固定支撑应安装保温,其覆盖范围距离管道保温表面不能少于200mm

● 管道和风道在承托支架处的保温及保护

a、所有保温水管须在承托支架位置设置硬木管垫作管道承托和保温,而硬木管垫的阔度须比管道托架的宽度每边长至少25mm

b、在承托支架位置需同时提供比硬木管垫长度每边长至少25mm,并由板规14#(1.8mm)厚的镀锌钢板制成的半圆形管道保温保护罩。

c、所有穿越保温层的管道支撑须提供妥善和足够的保温,以确保结露不会产生。

d、保温的风管在承托支架位置设置硬木条作风管的承托和保温。

 

8试运转及系统调试

 

6.1.9.1设备单机试运转

1、设备单机试运转前,必须加上适度的润滑油,并检查各项安全措施;通风机盘动叶轮无卡阻和碰擦现象。

2、风机(空调器)、水泵设备单机试运转按以下流程图进行:

                               

                

 

 

 

 

3、风机、水泵叶轮旋转方向必须正确,测试其转速,并保持在额定转速下试运转时间不得少于2h;

4、运转中不应有异常振动和声响,各静密封处不得泄漏,紧固连接部位不应松动;

5、测试轴承温升,滑动轴承的最高温度不得超过70度,滚动轴承的最高温度不得超过75℃

6、测试设备的运转噪声值;

7、电动机的电流和功率不应超过额定值。

8、冷却塔单机试车应按照厂家说明书并在厂家指导下进行,测试其运转参数进行记录,并测试其运转噪声值于允许噪声水平相比较。

9、冷水机组的空气负荷试运转必须在厂家技术人员的配合和指导下进行。

10、冷水机组一般应在制造厂已充灌好制冷剂,并提供充灌证明;如未充灌制冷剂,应由厂商按下列步骤充灌制冷济:

(1系统的吹扫排污

(2气密性试验

(3抽真空试验

(4系统保温后充灌制冷剂

11、机组空气试负荷运转前应做好以下工作:

    (1)应按设备技术文件的规定冲洗润滑系统;

    (2)加入油箱的冷冻机油的规格及油面高度应符合技术文件的求;

    (3)抽气回收装置中压缩机的油位应正常,转向应正确,运转应无异常现象;

    (4)各保护继电器的整定值应整定正确;

    (5)导叶实际开度和仪表指示值,应按设备技术文件的要求调整一致。

12、机组的空气负荷试运转技术要求:

(1)润滑油系统应冲洗干净,加入冷冻机油的规格及数量应符合随机文件的要求;

    (2)应按要求供给冷却水;

启动油泵及调节润滑系统,其供油应正常;

电气系统工作正常,保护继电器整定值正确,油箱电加热运行正常;

    (5)瞬间点动电动机的检查,转向应正确,其转动应无阻滞现象;

    (6)启动压缩机,当机组的电机为通水冷却时,其连续运转时间不应小平0.5h;当机组的电机为通氟冷却时,其连续运转时间不应大于10min;同时检查油温、油压,轴承部位的温升,机器的声响和振动均应正常;

    (7)导向叶片的开度应进行调节试验;导叶的启闭应灵活、可靠;当导叶开度大于40%时,试验运转时间宜缩短。

 

6.1.9.2系统试运转及调试

通风、空调系统安装完毕,各种施工安装过程检验试验(包括各分项验收评定、水系统试压、风系统漏光试验及漏风量测试、设备的工程测试等)合格(优良)通过,进行系统的测定与调整。

    1、仪器仪表要求:

(1)通风与空调系统调试所使用的仪器仪表应有出厂合格证明书和鉴定文件。

(2)严格执行计量法,不准在调试工作岗位上使用无鉴定合格印,证或超过鉴定周期以及经鉴定不合格的计量仪器仪表。

(3)必须了解各种常用测试仪表的构造原理和性能,严格掌握它   们的使用检验方法,按规定和操作步骤进行测试。

(4)综合效果测定时,所使用的仪表精度级别应高于被测对象的级别。

(5搬运和使用仪器仪表要轻拿轻放,防止震动和撞击,不使用仪表时应放在专用工具仪表箱内,防潮、防污秽等。

2、主要仪表、工具:
     一般应具备:测量温度的仪表,测量湿度的仪表,测量风速的仪表,测量风压的仪表;其他常用的电工仪表、转数表、声级仪等。
    3、作业条件:
    (1通风空调系统必须安装完毕,运转调试之前会同业主进行全                                                 面检查,全部符合设计、施工及验收规范和工程质量检验评 定标准的要求后,才能进行运转和调试。

(2)通风空调系统运转所需用的水、电、汽及压缩空气等,应具备使用条件,现场清理干净。
   (3)运转调试之前做好下列工作准备:
     a、应有运转调试方案,内容包括调试目的要求、时间进度计划、

调试项目、程序和采取的方法等。
     b、按运转调试方案,备好仪表和工具及调试记录表格。
     c、熟悉通风空凋系统的全部设计资料,计算的状态参数,领会

设计意图,掌握风管系统、冷源和热源系统、电系统的工作

原理。
     d、风道系统的调节阀、防火阀、排烟阀、送风口和回风口内的

阀板、叶片应在设计的工作状态位置。

     e、通风空调系统风量调试之前,先应对风机进行单机试运转,设备完好符合设计要求后,方可进行系统调试工作。

    4、调试工艺:
   (1)调试工艺程序:(见下面流程图)

   (2)准备工作
     a、熟悉空调系统设计图纸和有关技术文件,室内、外空气计算

参数,风量、冷热负荷恒温精度要求等,弄清送(回)风系统、供冷和供热系统、自动调节系统的运行要求。

b、绘制通风空调系统的透视示意图。

c、调试人员会同设计、施工和业主代表深人现场,查清空调系统安装质量不合格的地方,查清施工与设计不符的地方,并记录在缺陷明细表中,限期修改完。

     d、备好调试所需的仪器仪表和必要工具,消除缺陷明细表中的各种毛病。电源、水源和冷、热源准备就绪后,即可按计划进行运转和凋试。

  调试工艺流程图

 

 

 

 

 

 

 

 

 

 

 

 

 

 

 

 

 

 

 

 

(3)通风空调系统运转调试前的检查:

a、再次核对通风机、电动机的型号、规格是否与设计相符。

b、检查地脚螺栓是否拧紧、减振台座是否平、皮带轮或联轴器是否找正。

c、检查轴承处是否有足够的润滑油,加注润滑油的种类和数量应符合设备技术文件的要求。

d、检查电机及有接地要求的风机、风管接地线连接是否可靠。

e、检查风机调节阀门,开启应灵活,定位装置可靠,已定位在工作位置。

f、风机启动并连续运转,不少于2h,有单机试运转记录。
   (4)通风空调系统的风量测定与调整:
      a、按工程实际情况绘制系统单线透视图,应标明风管尺寸、测

点截面位置、送风口的位置,同时标明设计风量、风速、截面面积及风口尺寸。(见下图)


    b、开风机之前,将风道和风口本身的调节阀门放在全开位置,

三通调节阀门放在中间位置。

     c、开启风机进行风量测定与调整,先粗测总风量是否满足设计风量要求,做到心中有数,有利于下步测试工作。

d、系统风量测定与调整。干管和支管的风量可用皮托管、微压计仪器进行测试。对送风系统调整采用“流量等比分配法”或“基准风口调整法”等,从系统的最远最不利的环路开始,逐步调向通风机。

e、风口风量测试可用热电风速仪、叶轮风速仪或转杯风速仪。用定点法或匀速移动法测出平均风速,计算出风口风量。测试次数不少于3~5次。

f、系统风量调整平衡后,应达到:

① 风口的风量、新风量、排风量、回风量的实测值与设计风量的允许偏差值不大于10%。

      ② 新风量与回风量之和应近似等于总的送风量,或各送风量之和。

      ③ 总的送风量应略大于回风量与排风量之和。

     g、系统风量测试调整时应注意的问题:

① 测定点截面位置选择应在气流比较均匀稳定的地方,一般选在产生局部阻力之后4~5倍管径(或风管长边尺寸)以及产生局部阻力之前约1.5~2倍管径或风管长边尺寸的直风管段上见下图)。

 

② 在矩形风管内测定平均风速时,应将风管测定截面划分若干个相等的小截面,使其尽可能接近于正方形。

③ 没有调节阀的风道,如果要调节风量,可在风道法兰处临时加插板进行调节,风量调好后插板留在其中并密封不漏。

   (5)冷水机组的负荷试运转应在厂家技术人员的全面配合和指导下严格按照厂家技术说明书及设定的程序进行,并应注意下列环境:

a、首先启动空调机组(新风机)、盘管风机,再启动冷却水泵和冷冻水泵,并保持空调系统管路通畅;

     b、接通油箱电加热器,将油加热至50~55℃

     c、按要求供给冷却水和载冷剂;

     d、启动油泵、调节润滑系统,其供油应正常;

     e、按设备技术文件的规定启动抽气回收装置,排除系统中的空气;

     f、启动压缩机应逐步开启导向叶片,并应快速通过喘振区,使压缩机正常工作;

     g、检查机组的声响、振动,轴承部位的温升应正常;当机器发生喘振时,应立即采取措施予以消除故障或停机;

     h、油箱的油温直为50~65℃,油冷却器出口的油温宜为35~55℃。滤油器和油箱内的油压差,制冷剂为R11的机组应大于0.1Mpa,R12机组应大于0.2MPa;

     i、能量调节机构的工作应正常;

j、机组载冷剂出口处的温度及流量应符合设备技术文件的规定;

k、试运转正常后,必须先停止制冷机,2分钟后停止油泵,再停冷冻水泵、冷冻水泵。试运转结束后应拆检和清理滤油器、滤网、干燥剂,必要时更换润滑油。拆检完毕后将有关装置调整到准备启动状态。

(6)空调自动调节系统控制线路检查:

a、核实敏感元件、调节仪表或检测仪表和调节执行机构的型号、规格和安装的部位是否与设计图纸要求相符。

b、根据接线图纸,对控制盘下端子的接线或接管进行核对。

c、根据控制原理图和盘内接线图,对上端子的盘内接线进行核对。

d、对自动调节系统的联锁、信号、远距离检测和控制等装置及调节环节核对是否正确,是否符合设计要求。

e、敏感元件和测量元件的装设地点应符合下列要求:

① 要求全室性控制时,应放在不受局部热源影响的区域内;局部区域要求严格时,应放在要求严格的地点;室温元件应放在空气流通的地点。

② 在风管内,宜放在气流稳定的管段中心。

③“露点”温度的敏感元件和测量元件宜放在挡水板后有代表性的位置,并应尽量避免回风的影响,不应受辐射热、振动或水滴的直接影响。

  (7)调节器及检测仪表单体性能校验:

a、敏感元件的性能试验,根据控制系统所选用调节器和检测仪表所要求分度号必须配套,应进行刻度误差校验和动特性校验,均应达到设计精度要求。

b、调节仪表和检测仪表,应做到度特性校验、调节特性的校验及动作试验与调整,均应达到设计精度要求。

c、调节阀和其他执行机构的调节性能、全行程距离、全行程间的测定、限位开关位置的调、标出满行程的分度值等均应达到设计精度要求。

  (8)自动调节系统及检测仪表联动校验:

a、自动调节系统在未正式投入联动之前,应进行模拟试验,以校验系统的动作是否正确,是否符合设计要求,无误时,可投入自动调节运行。

b、自动调节系统投入运行后,应查明影响系统调节品质的因素,进行系统正常运行效果的分析,并判断能否达到预期的效果。

c、自动调节系统各环节的运行调整,应使空洞系统的“露点”、二次加热器和室温的各控制点经常保持所规定的空气参数,符合设计精度的要求。

   (9)空调系统综合效果测定在各分项调试完成后进行,测定系统联动运行的综合指标是否满足设计与生产工艺要求,如果达不到规定要求,应在测定中做进一步调整。

a、确定经过空调器处理后的空气参数和空调房间工作区的空气参数。

b、检验自动调节系统的效果,各调节元件设备经长时间的考核,应达到系统安全可靠地运行。

c、在自动调节系统投入运行条件下,确定空调房间工作区内可能维持的给定空气参数的允许波动范围和稳定性。

d、空调系统连续运转时间,一般舒适性空调系统不得少于8h:恒温精度在士l℃时,应在8~12h;恒温精度在士0.5℃时,应在12~24h;恒温精度在土0.1~0.2℃时,应在24~36h。

e、空调系统带生产负荷的综合效能试验的测定与调整,应由业主负责,施工和设计单位配合进行。

  (10)资料整理、编制交工调试报告。将测定和调整后的大量原始数据进行计算和整理,应包括下列内容:

a、通风与空调工程概况。

b、电气设备及自动调节系统设备的单体试验及检测、信号、联锁保护装置的试验和调整数据。

c、空调处理性能测定结果。

d、系统风量调整结果。

e、房间气流组织调试结果。

f、自动调节系统的整定参数。

g、综合效果测定结果。

h、对空调系统做出结论性的评价和分析。

系统综合试运转调试工作在风机正常运转、通风管网中所有缺陷如风道不严密、风阀失灵或损坏等消除后进行。

系统综合效果测定工作主要是配合空调自动调节系统控制线路检查调节器及检测仪表单体性能试验自动调节系统及检测仪表联动校验等工作完成后的最终调试。

 

2给排水系统安装

 

1排水用PVC-U管道的安装

 

1、管材和管件的连接方法采用承插式胶粘剂粘接,胶粘剂必须标有生产厂名称、生产日期和使用期限,并必须有出厂合格证和使用说明书,管材、管件和胶粘剂应由同一生产厂家供应。

2、管材和管件在运输、装卸和搬运时应小心轻放,不得抛、摔、滚、拖,也不得烈日暴晒。应分规格装箱运输,管材和管件储存在温度不超过40℃的库房内,库房应有良好的通风条件,管材应分规格水平堆放在平整的地面上。

3、伸缩节的设置:立管及非埋地管都应设置伸缩节。当层高H≤4m时,立管上每层应设置伸缩节一个,层高H>4m时应根据计算确定;悬吊横干管设置伸缩节应结合支撑情况确定。悬吊横支管上伸缩节之间的最大间距不宜超过4m,超过4m时应根据管道设计伸缩量和伸缩节最大允许的伸缩量计算确定。管道设计伸缩量不应大于表1中伸缩节最大允许的伸缩量。为了使立管连接支管处位移最小,伸缩节应尽量设在靠近水流汇合管件处。为了控制管道的膨胀方向,两个伸缩节之间必须设置一个固定支撑。

 

伸缩节最大允许伸缩量

DN(mm

40

90

110

125

160

最大允许伸缩量(mm

15

20

20

20

25

 


 

 

 

 

 

 

 

 

 

 

 

 

 

 

 

 

 

 

4、管道支撑:

(1)支撑种类:管道支撑分滑动支撑和固定支撑两种,悬吊在楼板下的横支管上,若连接有穿越楼板的卫生器具排水竖向支管时,可视为一个滑动支承;明装立管穿越楼板应得有严格的防漏水措施,采用细石混凝土补洞,分层填实后可以形成固定支承,暗装在管井中的立管,若穿越楼板处未能形成固定支承时,应每层设置立管固定支承一个。

(2)管道支承间距:立管管径为50mm时不得大于1.2m,管径大于或等于75mm时,不得大于2m,横管直线管段支承件间距见下表。

横管直线管段支承件的间距

DN(mm

40

90

110

125

160

间距(mm

15

20

20

20

25

 

(3)立管滑动支承与固定支承的设置:固定支承每层设置一个,以控制立管膨胀方向,分层支承管道的自重,当层高H<4m时,层间设滑动支承一个;若层高H>4m,层间设滑动支承两个。

(4)立管底部宜设支墩或采用牢固的固定措施。

(5)管道支承件的内壁应光洁,滑动支承件与管道之间应留有微隙,若内壁不够光洁,则应衬垫一层柔性材料;固定支承件的内壁和管身外壁之间应夹一层橡胶软垫,安装时应将扁钢制成的U形卡用螺栓拧紧固定。

5、室内管道安装:

(1)施工前的准备工作:

按设计图纸及现场预留洞位置等实际情况作出配管简图,决定各种管件的实际安装位置,选择合格的管材和管件进行装配。

(2)管道安装一般应自下而上分层进行。先安装立管,后安装横管,连续施工。

(3)安装立管时,应先将管段吊正,再安装伸缩节,将管端插口平直插入伸缩节承口橡胶圈中,用力应均匀,不得摇挤,避免橡胶圈顶歪,安装完毕后,应随及将立管固定,然后与土建配合,用C20细石混凝土分层将孔洞缝隙填实。

(4)横支管的安装:先将预制好的的管段用铁钩吊挂,查看无误后,再进行粘接,粘接后,应迅速摆正位置,按规定校正坡度,临时加以固定。待粘接固化后,再紧固支承件,但不宜卡得过紧。

(5)室内管段安装完毕后,随即进行伸顶通气管和通气帽的安装。

(6)管道粘接要求:

①胶粘剂必须标有生产厂名称、生产日期和使用年限,并必须有出厂合格证和使用说明书,管件、管材、胶粘剂应由同一厂家配套供应。

②粘接前用砂纸将粘接表面打毛,并用干布擦干净。粘接前接口表面如粘有油污、吸附物或加工残留物,必须清理干净,否则会直接影响粘接强度。如粘有油污,应用棉纱蘸丙酮等清洁剂擦净。

③粘接剂涂刷时,用油刷蘸胶粘剂涂刷被粘接插口外侧及粘接承口内侧时,应轴向涂刷,动作迅速、涂刷均匀,涂刷的胶粘剂要适量,不得漏图或涂抹过厚,冬季施工时,应先涂承口,再涂插口。

④承插口涂刷胶粘剂后,即找准方向将管子轻轻插入承口,对直后挤压,且净置23分钟,插接过程中,可稍做旋转,但不得超过1/4圈,不得插到底后进行旋转。

⑤承插接口插接完毕后,应立即将接头处多余的胶粘剂用棉纱或干布粘清洁剂擦干净,并根据胶粘剂的性能和气候条件静置至接口固化为止,冬季施工时固化时间应适当延长。

⑥水平管道连接应采用TY型、Y型三通,立管底部与主干管连接处应采用TY型三通加清扫口连接。

⑦全部粘接后,管道要直,坡度均匀,核对甩口,用专用胶带裹缠进行保护。管道坡度除图中注明外,均按标准坡度安装。UPVC管横管管道坡度未注坡度者均为以下坡度: DN100   i=0.02。

⑧UPVC管的横管、托吊管均应加伸缩节,直线管长度大于2m应设伸缩节,且间距不大于4m。管端插入伸缩节处欲留间隙,夏季为5-10mm,冬季为15-20mm

⑨立管外径为75mm及以上的应不大于2m,立管应用管卡箍固定在墙柱上,下面的管卡距地面1.5m。立管应用UPVC管专用管卡。卫生间立管穿越楼板时,立管周围做高出地坪10-20mm的阻水圈,严禁接合部位发生渗水现象。

⑩托吊管安装时应按设计坐标、标高、坡向做好托吊架,螺旋塑料管管道支撑件的间距,横管外径为100mm的间距为1m,外径为150mm的间距为1.5m,外径为75mm的间距为0.75m

 

6、管道系统安装完毕,应对管道的外观质量和安装尺寸进行复核检查,检查无误后,再分层进行通水试验,排水系统按给水系统1/3配水点同时开放,检查排水是否畅通有无渗漏。埋地管灌水试验的灌水高度不低于底层地面高度。灌满水15分钟后,若水面下降,再灌满延续5分钟,以液面不下降为合格,放水后应将存水弯水封内积水沾出。

 

 

2铸铁管安装

 

本工程的1.0m以下部分采用离心排水铸铁管,柔性连接。,采用带氯丁胶圈的不锈钢节套接口。安装注意事项有下面几条:

1、管道的切割要用砂轮锯,切割完后管道断面要与管身成90°角。

2、无论是水平管还是立管安装时,每根管道要有两个卡子,距离接头200mm左右。

 

 

 

 

 

 

 

 

 

 

 

3、管道边缘和端面的毛刺一定要清理干净,以免划伤密封套。

4、密封套两边的套接距离要相等。

5、拧紧时,几条紧固螺栓的用力要均匀。

6、安装完的管子要注意成品保护,因为本管道为柔性接口,任何扰动,都有可能是接口脱落或造成倒坡。

7、管道坡度为3%。

 

 

3焊接钢管安装

 

1.管路焊接前清理焊口,不能留有油漆等杂物。

2.焊条的强度选择要不低于母材强度。

3.焊缝用全熔透式,插入部分不能超过管壁,焊缝最少要两层。环境温度低于-17℃,不可进行焊接。

4.焊接点要层式,水纹一致。当完成第一道焊道后,清理焊面焊渣后再焊第二层。管道的焊缝不得埋于墙内或不便于维修的地方。

5.管壁厚≥5mm必须铲坡口并清除氧化皮。坡口角度、钝边尺寸、对口间应符合规范要求。

6.法兰不得直接焊在弯头处,焊口距法兰不小于一个管径且≥100mm,焊缝距管道支吊架≥50mm

 

 

4污水泵安装

 

1.污水泵安装前,污水泵坑、集水井内应清理干净,底部应平整;污水坑内有防水要求的,污水泵的安装应在防水做完后进行,安装时应注意不要破坏防水层。

2.考虑到污水泵坑、集水井内的水中携带的杂质较多,为避免水泵叶轮在工作中受损,在水泵的底部应设置杂质隔离网(可用不锈钢丝网现场制作)。

3.安装污水泵时,应使用水泵自带的吊环为吊装受力点,切忌不要扯拽污水泵的电源线,同时保证电源线的绝缘良好。

 

 

5试验要求

 

1. 管道试压:

(1)铺设、暗装、保温的管道在隐蔽前做好单项水压试验。管道系统安装完毕后进行水压试验。试压前必须排净空气,试验压力为工作压力的1. 5倍, 10分钟内,压降不超过0.05 Mpa,降至工作压力并保持压力,作外观检查不渗不漏为合格。

(2)试压泵一般设在首层或室外管道入口处。

(3)试压前将预留口堵严,关闭入口总阀门和所有泄水阀门及低处放风阀门,打开各分路及主管阀门和系统最高处的放风阀门。

(4)打开水源阀门往系统内充水,水满后将阀门关闭。

(5)试压完毕后,拆除试压水泵和临时水源,泄净管道系统内的水。

2.系统冲洗:

(1)管道试压合格后,调试、运行前进行管道系统的冲洗。

(2)管道冲洗进水口及排水口选择适当位置,并能保证将管道系统内的杂物冲洗干净。排水管接至排水井或排水沟内,截面积不小于被冲洗管道截面60%。同时应保证冲洗水流速不小于1.5m/s。

(3)冲洗时以系统内可能达到的最大压力和流量进行,直到流出的水无污物为止(用白色滤纸进行检验)

(4)安装前所有管道用刷子及棉丝刷净内壁,进行管道内除锈。

(5)采用加临时盲板等措施防止各种污物进入管路系统。

 

3. 灌水试验:

雨水管道、排水管道安装完毕,隐蔽验收前应做灌水试验。试验时灌水高度不低于底层地面高度,试验时可分层分区进行,满水15分钟后,在灌满延续5分钟,液面部下降为合格。

 

4. 通球试验:

(1)通球试验的主要项目包括:室内所有排水立管、横干管及引出管。

(2)通球试验应在室内排水系统及卫生工具等设备全部安装完毕,通水检查无渗漏后进行。

(3)试球一般应采用硬质空心塑料球,也可以选用其它体轻、易击碎的空心球体,试球的外径尺寸应为管道内径的四分之三,但不应小于管道内径的三分之二。

(4)排水立管:自立管顶端将试球投入,在首层立管检查口处检查,有设备层的在设备层上部检查口检查。

(5)横干管及引出管,将试球在检查管管段的始端投入,通水冲至引出管末端排出,应在室外检查井处加临时网罩,以便将试球截住取出。以上试验以试球通畅无阻力为合格,试球不通的,应做好标记,及时清除管道的阻塞物,并应重新进行通球试验,直至合格为止。

 

 

6管道保温及防腐

 

1、质量保证

(1)保温材料在运送、储存和安装过程中,我们将采取相应的保护措施,制定详细的计划和方案,并把此工作内容落实到分项施工交底中,以确保保温材料不受破坏;

(2)严格依据技术规格说明书中的技术要求,选购不含石棉物质的保温材料,并严格进行定型检验和材料进货检验。

(3)保温材料由厂家出示详细的证明文件和权威机构的检测报告,其各项技术指标应符合天津市消防局的有关规定。

(4)保温材料的选购的定型测试(或出示权威机构合格的测试报告)应包含防火测试。

2、保温的施工

(1)保温工作必须在管道、设备、阀门等安装完毕通过检查及测试后进行。

(2)保温工作力求外表整洁美观,保温材料保证清洁和干燥。

(3)除图纸特别说明外,穿越套管和孔洞的管道保温须保持连续不断。

6、其他要点

(1)我公司将依据水泵生产厂家按强度和质量计算出的基座高度要求,事先向土建书面提出要求和准确的基座高度(但不得小于150mm)。

(2)水泵和电动机的座板固定于浮式惯性台座上(减震),浮式台座的钢框架需进行热浸镀锌处理。

(3)所有铺设在地下或埋藏于混凝土/砖墙的镀锌钢管,应用麻布或其它认可的物料包扎和涂上沥青以作保护。

 

 

3设备吊装运输方案

 

1本工程大型设备

 

都位于地下二层,这就存在一个设备向下运输的问题。我们准备采取以下方法:

1、先用吊车将设备沿吊装孔放入地下室;

2、设备下垫排子和滚杠,用卷扬机将设备水平运输上位。


 

 

 

 

 

 

 

 

 

 

 

 

 

 

 

 

 

 

 

 

 

 

 

 

 

2室内楼层间的垂直运输,可以采用以下方法:

 

在上层楼板上安放大型工字钢,做为吊点。设两台电动卷扬机、两套滑轮组作为起吊工具。在吊装孔洞上铺无缝钢管,做为临时支撑物。在支架上放短滚杠,用倒链将设备拉上临时支撑后,挂好吊具。先试吊,确信安全,没有问题后,再迅速撤离临时支撑。开动两台卷扬机,步调一致,协同工作,将设备运至下一层。(见下页图)

 

 

 

 

 

 

 

 

 

 

 

 

 

 

 

 

 

 

 

 

 

 

 

 

 

 

 

 

 

 

 

室内楼层间的垂直运输示意图

 

 

 

 

 

 

 

 

3地上各设备层中

 

(主要是塔楼部分)设备的垂直运输,我们考虑借用土建的塔吊,先用塔吊运至吊装平台,在用卷扬机拉入楼内。

 

 

 

 

 

 

 

 

 

 

 

 

 

 

 

 

 

 

 

 

 

高层设备利用土建塔吊吊装示意图

 

 

4安全注意事项

 

1、吊装前,必须进行详细的书面安全与技术交底,使每一个施工者,对本工程如何施工都有清楚的认识。

2、进入施工现场必须戴好安全帽,并系牢下腭带。

3、高处作业,必须系好安全带。

4、吊装时要明确指挥信号及信号传递要求。

5、起重机具及索具应做受力计算和强度稳定性校核。

6、钢丝绳与设备构件及建筑物的尖角如直接接触,应垫木块或半圆管。

7、起吊设备时,卷扬机卷筒上钢丝绳的余留圈数不得少于5圈;

8、凡从事高处作业的人员必须衣着灵便,禁止赤脚及穿硬底、高跟、带钉、易滑的鞋从事高处作业。

9、起重作业要做到“五不吊”:

(1)手势指挥不清不吊;

(2)重量不明不吊;

(3)超负荷不吊;

(4)看不清楚不吊;

(5)捆绑不牢或重心不明不吊;

10、起钩时,操纵杆不得扳的过紧,防止由于过紧而卡住;

11、作业时,起重臂下严禁站人,重物应尽量避免在司机室上方通过;

12、起重机作业场所要有足够的照明设备和畅通的吊运通道,并且应与附近的设备、建筑物保持一定的安全距离,使其在运行时不致发生碰撞;

13、吊重作业中,不准扳动支腿操纵手柄,如必须调整支腿时,应先将重物落下,再行调整;

14、吊装重型设备时,不准进行超载作业;

15、吊重时钢丝绳应垂直地面,不准斜吊;

16、吊钩吊有重物时,司机不准离开司机室,运行中不准进行维修调整;

17、如遇七到八级风时,必须停止作业,并要卸下荷载把起重臂放在托架上;

18、设备吊装场地,应清除一切有碍起吊操作的障碍物,作到干净、整洁、视野广阔;

19、吊装准备工作应细致踏实,指挥人员应经验丰富、调度有方,能应付紧急情况;

20、正式吊装前,应再次检查各项准备工作,对起重机具再次仔细检查,检查合格后,才可正式起吊;

21、试吊时,首先开动卷扬机,直到钢丝绳拉紧为止,然后仔细检查吊索连接是否牢靠,待一切都正常,再次开动卷扬机,把物体缓缓吊起,当物体距地面0.2~0.5米时,停止卷扬机,仔细检查索具和物体有无变形、粘接和其他不良现象。如确定安全,方可正式吊装。

 

4电气系统安装

 

1施工做法

 

以下按照施工顺序,按结构配合、安装配合、调试三个大的阶段分别编制施工方案如下。

1、结构配合阶段

为更好的实现施工质量,减少施工中的不必要影响,本工程电气配合使用钢管、KBG钢管及金属线槽,这几种材料已通过国家正式部门的检测,并有相应的施工规范及验收规范。

(1)钢管的施工做法:

①管材及附件进入施工现场应符合如下标准:

1)钢管管路的管材、连接套管及盒()组成的电线管路应采用同一金属材料制作并应镀锌紧定螺钉应采用高强度原材料制作。管材、连接套管及其金属附件使用的原材料应符合国家现行标准的规定产品应附有出厂合格证和检验报告。

2)钢管管路的管材、连接套管、螺钉及其附件安装前应进行外观检查且应符合下列规定

Ⅰ.型号、规格符合设计要求管材表面有明显、不脱落的产品标识

Ⅱ.金属内、外壁镀层均匀完好无剥落、锈蚀等现象

Ⅲ.管材、连接套管及其金属附件内、外壁表面光洁无毛刺、飞边、砂眼、气泡、裂纹、变形等缺陷

Ⅳ.管材、连接套管及其金属附件璧厚均匀管口边缘平整、光滑

Ⅴ.连接套管的长度不小于管外径的1.5~3

Ⅵ.连接套管中心凹型槽弧度均匀位置垂直、正确凹槽深度与钢导管管壁厚度一致。

②管路敷设应按以下标准进行:

1)钢管管路有下列情况之一时中间应增设拉线盒或接线盒其位置应便于穿线

Ⅰ.管路长度每超过30m无弯曲;

Ⅱ.管路长度每超过20m有一个弯曲

Ⅲ.管路长度每超过15m有两个弯曲

Ⅳ.管路长度每超过8m有三个弯曲。

2)钢管管路弯曲敷设时弯曲管材弧度应均匀焊缝处于外侧。不应有折皱、凹陷、裂纹、死弯等缺陷.切断口平整、光滑。管材弯扁程度不应小于管外径的6倍。

3)钢管管路垂直敷设时管内绝缘电线截面应不大于50mm2,长度每超过30m应增设固定导线用的拉线盒。

4)钢管管路暗敷设时宜沿最近的路线敷设且应减少弯曲。

5)钢管管路暗敷设时其弯曲半径不应小于管外径的6倍。埋入混凝土内平面敷设时其弯曲半径不应小于管外径的10倍。

6)钢管管路埋入墙体或混凝土内时管路与墙体或混凝土表面净距不应小于15mm

7)钢管管路暗敷设时管路固定点应牢固且应符合下列规定

Ⅰ.敷设在钢筋混凝土墙及楼板内的管路紧贴钢筋内侧与钢筋绑扎固定。直线敷设时固定点间距不大于1000mm

Ⅱ.敷设在砖墙、砌体墙内的管路垂直敷设剔槽宽度不宜大于管外径5mm固定点间距不大于1000mm连接点外侧一端200mm增设固定点。

8)钢管管路进入落地式箱()排列应整齐管口高出配电箱()基础面宜为50~80mm

9)钢管管路进入盒()应顺直且应采用专用接头固定。

10)钢管明敷设要配合土建结构安装好预埋件,并且配合土建内装修油漆,浆活完成后进行明配管。如采用胀管安装时,必须在土建抹灰后进行。

11)明管敷设应根据设计图加工支架、吊架、报箍等铁件以及各种盒、箱、弯管。

12)明配管弯曲半径一般不小管外径的6倍。如有一个弯时,可不小于管外径的4倍。加工办法可采用冷煨法和热煨法,支架、吊架应按设计图要求进行加工。支架、吊架的规格设计无规定时,应不小于下列规定:扁铁支架30mmX3mm;角钢支架25mmX25mmX3mm埋注支架应有燕尾,埋注深度不小于120mm

13)水平或垂直敷设明配管允许偏差值,管路在2m以内时,偏差为3mm,全长不应超过管内径的1/2。

14)检查管路是否畅通,内部又无毛刺,防锈漆是否完整无损,管子不顺直者应调直。

15)明敷设时,先将管卡一端的螺丝拧紧一半,然后将管敷设在管卡上,逐个拧紧。使用铁支架时,可将钢管固定在支架上,不准许将钢管焊接在其他管道上。

16)钢管的接地连接应符合下列要求:

明敷镀锌钢管的跨接地线宜采用专用接地线恰跨接不应采用熔焊连接;

当黑色钢管采用螺纹连接时,连接处的两端应焊接跨接地线或采用专用接地线卡跨接。

17)管进、箱盒的要求管口入盒箱按配管可用跨接地线焊接固定在盒棱边上,管口部宜与敲落孔焊接,管口露出盒、箱应小于5mm。有锁紧螺母者与锁紧螺母平,露出锁紧螺母的丝扣为24扣。两个以上管入盒,箱要长短一致,间距均匀,排列整齐。

18)跨接地线两段双面焊接,焊接面不得小于该跨接线截面的6倍,焊缝均匀牢固,焊接处要请除药皮,刷防腐漆。跨接线的规格见下图:

管   径

圆  钢

扁  钢

15~25

φ5

32~38

φ6

50~63

φ10

25X3

大于等于70

φ8X2

(25X3)X2

 

(2)套接扣压式薄壁电线管的施工做法

①总则

1)为保证路敷设工程的施工质量,促进技术进步,确保安全运行,制定本规范。

2)本规范适用于1kV及以下无特殊规定的室内干燥场所,采用套接扣压式连接的薄壁钢导管组成电线保护管路敷设工程的施工及验收。

3)套接扣压式薄壁钢导管电线管路敷设工程的施工,应按已批准的设计进行。当修改设计时,应经原设计单位同意,方可进行。

4)套接扣压式薄壁钢导管电线管路,在敷设中的安全技术措施,应符合国家现行的有关规范及产品技术文件的规定。

5)与套接扣压式薄壁钢导管电线管路敷设工程相关的建筑工程质量,应符合国家现行建筑工程施工及验收规范的有关现定。

6)套接扣压式薄壁钢导管电线管路敷设工程施工完毕后,应将施工中造成建筑物、构筑物等处的槽、洞、孔、沟等修补完整。

7)套接扣压式薄壁钢导管电线管路,不宜穿过建筑物、构筑物或设备的基础。当必须穿过时,应另设保护管或采取其它措施。

8)套接扣压式薄壁钢导管电线管路,经过建筑物的沉降缝或伸缩缝处,应装设两端固定的补偿装置。

9)固定套接扣压式薄壁钢导管电线管路的预埋件,应与建筑工程同步进行。

10)套接扣压式薄壁钢导管电线管路敷设及管内穿线的施工及验收,除应符合本规范的规定外,尚应符合国家现行的有关规范的规定。

②器材检验

1)套接扣压式薄壁钢导管的管材、连接附件及盒(箱),宜采用同一金属材料制作。使用的原材,应符合国家现行标准的规定。产品应有出厂合格证和检验报告。

2)套接扣压式薄壁钢导管的管材及连接附件,安装前,应进行外观检查,且应符合下列规定:

Ⅰ.型号、规格符合设计要求,管材表面有明显的产品标识;

Ⅱ.金属内、外壁镀层良好、均匀,无表皮剥落、锈蚀等现象;

Ⅲ.管材及连接附件内、外壁表面光洁,无裂纹、毛刺、飞边、砂眼、气泡、变形等缺陷;

Ⅳ.管材及连接附件,壁厚均匀、管口平整、光滑;

Ⅴ.套接管件(直管接头、弯管接头)的长度,不小于管外径的2.5倍;

Ⅵ.套接管件中心呈现的凹型槽弧度均匀,位置正确,垂直;

Ⅶ.弯曲的管材及连接附件,弧度呈均匀状,且不应有折皱,凹陷、裂缝、弯扁、死弯等缺陷,管材焊缝处于外侧;

Ⅷ.管内畅通,无杂物;

Ⅸ.各种附件尺寸,符合设计规定;

Ⅹ.螺纹附件的螺纹整齐、光滑、丝扣配合良好。

3)扣压专用工具应配套、搬动灵活、便于操作。

③管路敷设

1)套接扣压式薄壁钢导管的电线管路暗敷设时,应沿最近的路线敷设,且应减少弯曲。

2)套接扣压式薄壁钢导管电线管路弯曲处敷设,不应有折皱、凹陷、裂纹等缺陷。其管材弯扁程度不应大于管外径的10%。

3)套接扣压式薄壁钢导管电线管路,有下列情况之一者,中间应增设拉线盒或接线盒,其位置应便于穿线:

Ⅰ.管路长度每超过30m,无弯曲。

Ⅱ.管路长度每超过20m,有一个弯曲。

Ⅲ.管路长度每超过15m,有两个弯曲。

Ⅳ.管路长度每超过8m,有三个弯曲。

4)套接扣压式薄壁钢导管电线管路垂直敷设时,管内绝缘电线截面为50mm2及以下,长度每超过30m,应增设固定用的拉线盒。

5)套接扣压式薄壁钢导管电线管路明敷设时,管的弯曲半径不应小于管外径的6倍;当有两个接线盒间只有一个弯曲时,其弯曲半径不应小于管外径的4倍。

6)套接扣压式薄壁钢导管电线管路明敷设时,支架、吊架的规格,当设计无要求时,不应小于下列规定;

Ⅰ.圆钢:直径6mm

Ⅱ.扁钢:30mm×3mm

Ⅲ.角钢:25mm×25mm×3mm

Ⅳ.埋注支架应有燕尾,埋入深度不应小于80mm

7)套接扣压式薄壁钢导管电线管路水平或垂直明敷设时,其水平或垂直安装的允许偏差为1.5%。,全长偏差不应大于管内径的1/2。

8)套接扣压式薄壁钢导管电线管路明敷设时,排列应整齐,固定点牢固、间距均匀,其最大问距应符合下表的规定:

 

敷设方式

管的直径(mm

16~20

25~32

40~50

吊架、支架或沿墙敷设

固定点间的最大距离(m)

1.0

1.5

2.0

注:敷设在吊顶内的电线管路,当管径为φ16一20时,

固定点间距可增大到1.5m为宜。

 

9)套接扣压式薄壁钢导管电线管路明敷设时,其固定点所采用器材与终端、弯头中点、电气器具或盒(箱)边缘的距离,宜为150~300mm

10)套接扣压式薄壁钢导管电线管路进入落地式配电箱(柜)时,排列应整齐,管口高出配电箱(柜)基础面宜为50~80mm

11)套接扣压式薄壁钢导管电线管路暗敷设时,其弯曲半径不应小于管外径的6倍;埋入混凝土内平面敷设时,其弯曲半径不应小于管外径的10倍。

12)套接扣压式薄壁钢导管电线管路埋入墙体或混凝土内时,管路与墙体或混凝土表面净距不应小于15mm

13)套接扣压式薄壁钢导管电线管路暗敷设时,管路固定点应牢固,且应符合下列规定:

Ⅰ.敷设在钢筋混凝土墙及楼板内的管路与钢筋绑扎固定,固定点间距不应大于1000mm

Ⅱ.敷设在砖墙、砌体墙内的管路,剔槽宽度,不应大于管外径5mm。固定点间距,不应大于1000mm

Ⅲ.敷设在预制圆孔板上的管路平顺,紧贴板面,固定点间距不应大于1000mm

14)套接扣压式薄壁钢导管电线管路与其它管道间的最小距离,应符合下表3.的规定:

 

管路名称

管路敷设方式

最小间距(mm

蒸汽管

平  行

管道上

1000

管道下

500

交     叉

300

暖气管

热水管

平  行

管道上

300

管道下

200

交     叉

100

通风、给排水及压缩空气管

平  行

100

交  叉

50

注:①对蒸汽管道,当在管外包隔热层后,上下平行距离可减至2OOmm。

②暖气管、热水管应设隔热层。

 

15)套接扣压式薄壁钢导管电线管路内的电线,应采用额定电压为500V的合格绝缘电线,绝缘电线型号、规格应符合设计要求。

16)套接扣压式薄壁钢导管电线管路内,绝缘电线配置,应符合国家现行规范的规定。

④管路连接

1)套接扣压式薄壁钢导管电线管路连接,应采用专用工具进行,不应敲打形成压点。严禁熔焊连接。

2)套接扣压式薄壁钢导管电线管路连接处,管与套接管件连接紧密,内、外壁应光滑,无毛刺,且应符合下列规定:

Ⅰ.直管连接时,两管口插入直管接头中心凹型槽两侧;

Ⅱ.转角连接时,管口插入弯管接头凹型槽侧。

3)套接扣压式薄壁钢导管电线管路为水平敷设时,扣压点宜在管路上、下方分别扣压;管路为垂直敷设时,扣压点宜在管路左、右侧分别扣压。

4)套接扣压式薄壁钢导管电线管路,当管径为φ25及以下时,每端扣压点不应少于2处;当管径为φ32及以上时,每端扣压点不应少于3处。且扣压点宜对称,间距宜均匀。

5)套接扣压式薄壁钢导管管与管的连接处的扣压点深度不应小于1.0mm。且扣压牢固,表面光滑,管内畅通。管壁扣压形成的凹、凸点,不应有毛刺。

6)套接扣压式薄壁钢导管电线管路连接处的扣压点位置,应在连接处中心。扣压后,接口的缝隙,应采用封堵措施。

7)套接扣压式薄壁钢导管进入盒(箱)时,应一孔一管。管与盒(箱)的连接,应采用爪型螺纹接头管连接,且应锁紧,内壁光洁,便于穿线。盒(箱)孔应整齐,且应与管径吻合。

两根及以上管入盒(箱)时,间距均匀,排列整齐。

盒(箱)不应开长孔。严禁使用电、气焊开孔。

8)套接扣压式薄壁钢导管电线管路敷设完毕后,管路固定牢固,连接口符合规定,两端头应封堵。

⑤接地

1)套接扣压式薄壁钢导管及其金属附件组成的电线管路,当管与管、管与盒(箱)连接符合以上管路连接规定时,连接处可不设置跨接线。管路外壳应有可靠接地。

2)套接扣压式薄壁钢导管电线管路与接地线不应熔焊连接。

3)套接扣压式薄壁钢导管电线管路,不应做为电气设备接地线。

(3)电缆桥架敷设

①作业条件

1)配合土建的结构施工,预留孔洞、预埋铁和预埋吊杆、吊架等全部完成。

2)顶棚和墙面的喷浆、油漆等全部完成后,方可进行线槽敷设及槽内配线。

②电缆桥架敷设的工艺流程如下:

 

③安装示意图:

1)电缆桥架在电气竖井内敷设:

 

   

 

2)电缆桥架水平敷设:

 

 

 

④电缆桥架施工做法:

1)支、吊架所用钢材应平整,无显著扭曲,下料后长短偏差应在5mm范围内,切口应无卷边、毛刺。

2)支、吊架应焊接牢固,无显著变形,焊缝均匀平整,焊缝长度应符合要求,并做好防腐处理,支、吊架安装应牢固,保证横平竖直,在有坡度的建筑物口安装支、吊架应与建筑物有相同坡度。

3)线槽的连接应采用连接板,用垫圈、弹簧垫圈、螺母紧固,接缝处应紧密平直,槽盖装上后应平整,无翘角,出线口的位置准确。

4)线槽与盒、箱柜等接茬时,进线和出线口等处应采用抱脚连接,并用螺丝紧固,末端应加封堵。

5)线槽经过建筑物的变形缝时,线槽本身应断开,槽内用内连接板搭接,不需固定,保护地线和槽内导线均应留有补偿余量。

6)线槽的所有非导电部分的铁件均应相互连接和跨接,使之成为一个连续导体,并做好整体接地。

7)线槽进行交叉转弯、丁字、连接时,应采用单通、二通、三通、四通或平面二通、平面三通等进行变通连接,导线接头处应设置接线盒或将导线接头放在电气器具内。

8)线槽内保护地线应根据设计要求敷设在线槽的一侧,接地处螺丝直径不应小于6mm;并且需要加平光垫和弹簧垫圈,用螺母压接牢固。

9)金属线槽的宽度在100mm以内(含100mm,两端线槽用连接板连接处(即连接板做地线处),每段螺丝固定点不应少于4个; 宽度在1200mm以内(含200mm,两端线槽用连接板连接处(即连接板做地线处),每段螺丝固定点不应少于6个。

10)电缆桥架水平敷设时,应按荷载曲线选取最佳跨距进行支撑,跨距一般为1.50~3米;垂直敷设时其固定点间距不宜大于2米

11)金属电缆桥架及其支架和引入或引出的金属电缆导管必须接地(PE)或接零(PEN)可靠,且必须符合下列规定:

Ⅰ.金属电缆桥架及其支架全长应不少于2处与接地(PE)或接零(PEN)干线相连接;

Ⅱ.非镀锌电缆桥架间连接板的两端跨接铜芯接地线,接地线最小允许截面积不小于4mm2;

Ⅲ.镀锌电缆桥架间连接板的两端不跨接接地线,但连接板两端不少于2个有防松螺帽或防松垫圈的连接固定螺栓。

12)直线段钢制电缆桥架长度超过30m、铝合金或玻璃钢制电缆桥架长度超过15m设有伸缩节;电缆桥架跨越建筑物变形缝处设置补偿装置;

13)电缆桥架转弯处的弯曲半径,不小于桥架内电缆最小允许弯曲半径。

14)电缆桥架敷设在易燃易爆气体管道和热力管道的下方,当设计无要求时,与管道的最小净距,符合下表规定;

 

管 道 类 别

平 行 净 距

交 叉 净 距

一般工艺管道

0.4

0.3

易燃易爆气体管道

0.5

0.5

热力管道

有保温层

0.5

0.3

无保温层

1.0

0.5

 

15)电缆桥架在穿过防火隔墙及防火楼板时,应采用防火隔离措施。

16)托盘、梯架允许最小板材厚度如下表所示:

 

托盘、梯架宽度(mm

允许最小厚度(mm)

<400

1.5

400~800

2.0

>800

2.5

 

17)敷设在竖井、吊顶、通道、夹层及设备层等处的线槽应符合有关防火要求。示意图如下:

   

 

2安装配合阶段

 

本阶段为整个工程的重中之重,穿线缆、安装箱盒及器具、安装灯具都在此阶段完成。

    工艺流程:

 

 

 

 

 

1、管路检查,清点出线口位置、数量无误后开始扫管。

2、管内穿线(缆)工程 工艺流程:

 

 

 

 

 

(1)考虑导线(电缆)截面大小,根数多少,将导线(缆)与带线进行绑扎,绑扎处做成平滑锥形状,便于穿线。

(2)穿线前在管口加装护口,两人配合协调,一拉一送,管路较长时,转弯较多时,要在管内吹入适量滑石粉,截面大、长度长的线缆考虑采用机械牵引(如倒链)。

(3)管内穿线宜在建筑物抹灰、粉刷及地面工程结束后进行,穿线前,应将钢管内的积水及杂物清除干净。

(4)管内导线包括绝缘层在内的总截面积不应大于管子内空截面积的40%。

(5)敷设于垂直管路中的导线,当超过下列长度时,应在管口处和接线盒中加以固定:

1)截面积为50mm2及以下的导线为30米

2)截面积为70mm295mm2的导线为20米

3)截面积为180mm2240mm2之间的导线为18米

4)穿线完毕后,应用摇表测线路绝缘电阻,照明回路采用500V摇表,其绝缘电阻不小于0.5MΩ,动力线路采用1000V摇表,其绝缘电阻不小于1 MΩ,并做好记录。

3、电缆敷设

(1)工艺流程

 

 

 

 

 

 

 

 

 

 

 

 

 

 

 

 

 

(2)作业条件

1)预留孔洞、预埋件符合设计要求,预埋件安装牢固,强度合格;

2)井道及人孔等处的地坪及抹面工作结束;

3)电缆沿线模板等设施拆除完毕,场地清理干净;

4)放电缆用的脚手架搭设完毕,且符合安全要求,电缆沿线照明照度满足施工要求;

5)变电室内全部电气设备及用电设备配电箱柜安装完毕;

6)电缆桥架、托盘及电缆过管、保护管安装完毕,并检验合格。

(3)敷设前应先检查所敷设电缆的型号、规格与设计是否相同,进行例行的外观检查和各项试验。1KV以下的电缆,用1KV摇表测线间及对地的绝缘电阻应不低于10MΩ,合格后方可敷设。

(4)敷设方法是用人力或机械牵引;敷设时电缆尽量做到不交叉,敷设电缆的弯曲半径不小于其外径的10倍,并及时装设标志牌。电缆最小弯曲半径见下表所示:(D为电缆直径)

电    缆    形    式

多   芯

单   芯

控   制    电    缆

10D

橡皮绝缘

电力电缆

无铅包、钢铠护套

10D

裸铅包护套

15D

钢铠护套

20D

聚氯乙烯绝缘电力电缆

10D

交联聚乙烯绝缘电力电缆

15D

20D

油浸纸绝缘电力电缆

铅     包

30D

铅 包

有铠装

15D

20D

无铠装

20D

自容式充油(铅包)电缆

20D

 

(5)电缆穿楼板时应装套管,敷设完后应将套管用防火材料堵死。敷设时在终端头和接头处附近预留一定长度。

(6)电缆头和中间头制作严格遵守工艺规程。

(7)桥架内电缆敷设应符合下列规定:

1)大与45○倾斜敷设的电缆每隔2m处设固定点;

2)电缆出入电缆沟、竖井、建筑物、柜(盘)、台处及管子管口处等做密封处理;

3)电缆敷设排列整齐,水平敷设的电缆,首尾两端、转弯两侧及每隔5~10m处设固定点;敷设于垂直桥架内的电缆固定点间距,不大于下表规定:

电缆种类

固定点的间距

电力

电缆

全  塑  性

1000

除全塑性外的电缆

1500

控制电缆

1000


4、配电箱(盘)安装工程

(1)作业条件

1)随土建结构预留好安装配电箱的安装位置。

2)预埋铁架或螺栓时,墙体结构应弹出施工水平线。

3)安装配电箱盘面时,抹灰、喷浆及油漆应全部完成。

(2)工艺流程

 

 

 

 

(3)配电箱(盘)安装应符合下列规定:

1)箱(盘)内配线整齐,无绞接现象。导线连接紧密,不伤芯线,不断股。垫圈下螺丝两侧压的导线截面积相同,同一端子上导线连接不多于2根,防松垫圈等零件齐全;

2)箱(盘)内开关动作灵活可靠,带有漏电保护的回路,漏电保护装置动作电流不大于30mA,动作时间不大于0.1s。

3)照明箱(盘)内,分别设置零线(N)和保护地线(PE线)汇流排,零线和保护地线经汇流排配出。

4)管进箱时要做到一管一孔,当箱体上敲落孔不够时,应用开孔器开孔,严禁用气焊开孔,连接完毕应按要求做好跨接地线。不能用箱体作为连接地线。箱体、管路连接固定好后,箱内清理干净,用盖板封闭,避免土建抹灰对箱内污染。

5)位置正确,部件齐全,箱体开孔与到管管径适配,暗装配电箱箱盖紧贴墙面,箱(盘)涂层完整;

6)箱(盘)内接线整齐,回路编号齐全,标识正确;

7)箱(盘)不采用可燃材料制作;

8)箱(盘)安装牢固,垂直度允许偏差为1.5‰;底边距地面为1.5m,照明配电板底边距地面不小于1.8m

9)PE线安装应牢固明显,导线选择如下:

 

装置的相线的截面积

S(mm2)

相应的保护导线的最小面积

Sp

S≤16

Sp=S

16<S≤35

Sp=16

S>35

Sp=S/2

 

5、成套配电柜及低压开关柜安装工程:

(1)作业条件

1)土建工程施工标高、尺寸、结构及埋件均符合设计要求。墙面、屋顶喷浆完毕,无漏水,门窗玻璃安装完、门上锁。室内地面工程完,场地干净、道路通畅;

2)施工图纸、技术资料齐全。技术、安全、消防措施落实;

3)设备、材料齐全,并运至现场库。

(2)安装时应符合下列要求

1)基础型钢安装应符合下表规定:

项目

允许偏差

(mm/m)

(mm/全长)

不直度

1

5

水平度

1

5

不水平度

5

 

2)金属配电柜钢板厚度不应小于1.5mm,钢板箱门钢板盘面厚度不应小于2mm

3)配电柜其底部宜高出地面50mm,其操作手柄距地宜为1.2~1.5米。侧面操作的手柄距墙的距离不应小于200mm

4)配电柜的金属部分,包括电器的安装板(支架)和电器的金属外壳等均应有良好的接地。配电柜的盖、门、覆板等处装有点器并可开启时应以裸铜线与接地的金属构架可靠连接。

5)配电柜内的电源指示灯应接在总开关前侧。

6)采用TN-S系统供电时,PE线不得断开,在配电柜内应设置N,PE母线或端子排,PE、N线经端子排配出。

7)配电柜基础型钢固定点间距不大于1m。基础型钢底部应埋入地面内,型钢顶部宜高出地面50mm

8)手车、抽出式成套配电柜推拉应灵活,无卡阻碰撞现象。动触头与静触头的中心线应一致,且触头接触紧密,投入时,接地触头先于主触头接触;退出时,接地触头后于主触头脱开。

(3)低压成套配电柜交接试验,必须符合下列规定:

1)每路配电开关及保护装置的规格、型号,应符合设计要求;

2)相间和相对地间的绝缘电阻值应大于0.5MΩ;

3)电气装置的交流工频耐压试验电压为1kV,当绝缘电阻值大于10MΩ时,可采用2500V兆欧表摇测替代,试验持续时间1min,无击穿闪络现象。

 

6、插接母线安装。

(1)加工定货前应实地测量每楼层标高,注意每层出线端口位置与每层照明箱位置对应。

(2)母线在安装前应用1kv摇表进行摇测,检查母线有无缺损或裂破,瓷件绝缘良好,罗栓及母线喀具均应为镀锌件。

(3)每层穿楼板处应做槽钢支架,一端用胀管螺栓固定在楼板上,另一端应嵌入墙内,用沙浆抹死,以固定牢固。

(4)沿墙竖向应每层加固定支架,用40x4镀锌扁铁做抱箍抱紧。

(5)母线与母线连接处螺栓应紧固,垫好绝缘隔板,螺母置于维护侧,平垫应选用专用厚垫圈,并配齐弹簧垫。螺栓、平垫圈及弹簧垫必须用镀锌件,螺栓长度应考虑螺栓紧固后丝扣能露出螺母2~3扣,母线的接触面应连接紧密,连接螺栓应用力矩扳手紧固,其力矩应符合下表:

螺栓规格(mm

力矩值(N·m

M8

8.810.8

M10

17.722.6

M12

31.439.2

M14

51.060.8

M16

78.598.1

M18

98.0127.4

M20

156.9196.2

M24

274.6313.2

 

(6)母线应平整美观,且母线安装时两支持点垂直误差不大于2mm,全长不大于5mm

(7)母线安装完毕后,要全面进行检查,清理现场。

(8)母线送电前,应进行绝缘摇测,绝缘电阻值不小于1MΩ,送电前应挂好“有电”标志牌。

 

7、灯具、器具安装

(1)作业条件

1)灯具安装作业条件

Ⅰ.在结构施工中做好预埋工作,如有大型灯具安装,则应在混凝土楼板预埋螺栓,吊顶内预下吊杆。

Ⅱ.盒子口修好,木台木板修漆完。

Ⅲ.对灯具安装有影响的模板及脚手架已拆除。

Ⅳ.顶棚、墙面的抹灰工作、室内装饰浆活及地面清理工作均已结束。

2)开关、插座等器具安装作业条件

Ⅰ.各种管路、盒子已经敷设完毕,盒子收口平整。

Ⅱ.线路的导线已穿完,并已做完绝缘遥测。

Ⅲ.墙面的浆活及油漆等内装修工作均已完成。

(2)灯具及开关、插座安转做法

1)普通灯具安装

Ⅰ.灯具的固定应符合下列规定:

ⅰ.灯具重量大于3kg时,固定在螺栓或预埋吊钩上;

.软线吊灯,灯具重量在0.5kg及以下时,采用软电线自身吊装;大于0.5kg的灯具采用吊链,且软电线编叉在吊链内,使电线不受力;

.灯具固定牢固可靠,不使用术楔。每个灯具固定用螺钉或螺栓不少于2个;当绝缘台直径在75mm及以下时,采用1个螺钉或螺栓固定。

Ⅱ.花灯吊钩圆钢直径不应小于灯具挂销直径,且不应小于6mm。大型花灯的固定及悬吊装置,应按灯具重量的2倍做过载试验。

Ⅲ.当钢管做灯杆时,钢管内径不应小于10mm,钢管厚度不应小于1.5mm

Ⅳ.固定灯具带电部件的绝缘材料以及提供防触电保护的绝缘材料,应耐燃烧和防明火。

Ⅴ.当设计无要求时,灯具的安装高度和使用电压等级应符合下列规定:

.一般敞开式灯具,灯头对地面距离不小于下列数值(采用安全电压时除外):

--室外:22.5m(室外墙上安装);

--室内:2m

--软吊线带升降器的灯具在吊线展开后:0.8m

.危险性较大及特殊危险场所,当灯具距地面高度小于2.4m时,使用额定电压为36V及以下的照明灯具,或有专用保措施。

Ⅵ.当灯具距地面高度小于2.4m时,灯具的可接近裸露导体必须接地(PE)或接零(PEN)可靠,并应有专用接地螺栓,且有标识。

Ⅶ.引向每个灯具的导线线芯最小截面积应符合下表规定。(单位:mm2)

 

灯具安装的场所及用途

线 芯 最 小 截 面 积

铜芯软线

铜  线

铝  线

灯头线

民用建筑室内

0.5

0.5

2.5

工业建筑室内

0.5

1.0

2.5

室  外

1.0

1.0

2.5

 

Ⅷ.灯具的外形、灯头及其接线应符合下列规定:

.灯具及其配件齐全,无机械损伤、变形、涂层剥落和灯罩破裂等缺陷;

.软线吊灯的软线两端做保护扣,两端芯线搪锡;当装升降器时,套塑料软管,采用安全灯头;

.除敞开式灯具外,其他各类灯具灯泡容量在100W及以上者采用瓷质灯头;

.连接灯具的软线盘扣、搪锡压线,当采用螺口灯头时,相线接于螺口灯头中间的端子上;

.灯头的绝缘外壳不破损和漏电;带有开关的灯头,开关手柄无裸露的金属部分。

Ⅸ.变电所内,高低压配电设备及裸母线的正上方不应安装灯具。

Ⅹ.装有白炽灯泡的吸顶灯具,灯泡不应紧贴灯罩;当灯泡与绝缘台间距离小于5mm时,灯泡与绝缘台间应采取隔热措施。

Ⅺ.安装在室外的壁灯应有泄水孔,绝缘台与墙面之间应有防水措施。

2)应急照明灯具安装应符合下列规定:

Ⅰ.应急照明灯的电源除正常电源外,另有一路电源供电;或者是独立于正常电源的柴油发电机组供电;或由蓄电池柜供电或选用自带电源型应急灯具;

Ⅱ.应急照明在正常电源断电后,电源转换时间为:疏散照明≤15s;备用照明≤15s(金融商店交易所≤1.5s);安全照明≤0.5s;

Ⅲ.疏散照明由安全出口标志灯和疏散标志灯组成。安全出口标志灯距地高度不低于2m,且安装在疏散出口和楼梯口里侧的上方;

Ⅳ.疏散标志灯安装在安全出口的顶部,楼梯间、疏散走道及其转角处应安装在1m以下的墙面上。不易安装的部位可安装在上部。疏散通道上的标志灯间距不大于20m(人防工程不大于10m)

Ⅴ.疏散标志灯的设置,不影响正常通行,且不在其周围设置容易混同疏散标志灯的其他标志牌等;

Ⅵ.应急照明灯具、运行中温度大于60℃的灯具,当靠近可燃物时,采取隔热、散热等防火措施。当采用白炽灯,卤钨灯等光源时,不直接安装在可燃装修材料或可燃物件上;

Ⅶ.应急照明线路在每个防火分区有独立的应急照明回路,穿越不同防火分区的线路有防火隔堵措施;

Ⅷ.疏散照明线路采用耐火电线、电缆,穿管明敷或在非燃烧体内穿刚性导管暗敷,暗敷保护层厚度不小于30mm。电线采用额定电压不低于750V的铜芯绝缘电线。

3)照明开关安装应符合下列规定:

Ⅰ.同一建筑物、构筑物的开关采用同一系列的产品,开关的通断位置一致,操作灵活、接触可靠;

Ⅱ.相线经开关控制;民用住宅无软线引至床边的床头开关。

开关安装位置便于操作,开关边缘距门框边缘的距离0.15~0.2m,开关距地面高度1.3m;拉线开关距地面高度2~3m,层高小于3m时,拉线开关距顶板不小于100mm,拉线出口垂直向下;

Ⅲ.相同型号并列安装及同一室内开关安装高度一致,且控制有序不错位。并列安装的拉线开关的相邻间距不小于20mm

Ⅳ.暗装的开关面板应紧贴墙面,四周无缝隙,安装牢固,表面光滑整洁、无碎裂、划伤,装饰帽齐全。

4)插座安装应符合下列规定:

Ⅰ.暗装的插座面板紧贴墙面,四周无缝隙,安装牢固,表面光滑整洁、无碎裂、划伤,装饰帽齐全;

Ⅱ.车间及试(实)验室的插座安装高度距地面不小于0.3m;特殊场所暗装的插座不小于0.15m;同一室内插座安装高度一致。

Ⅲ.特殊情况下插座安装应符合下列规定:

.当接插有触电危险家用电器的电源时,采用能断开电源的带开关插座,开关断开相线;

.潮湿场所采用密封型并带保护地线触头的保护型插座,安装高度不低于1.5m

Ⅳ.插座接线:

.单相两孔插座,面对插座的右孔或上孔与相线连接,左孔或下孔与零钱连接;单相三孔插座,面对插座的右孔与相线连接,左孔与零线连接;

.单相三孔、三相四孔及三相五孔插座的接地{PE}或接零(PEN线接在上孔。插座的接地端子不与零线端子连接。同一场所的三相插座,接线的相序一致。

.接地(PE)或接零(PEN)线在插座间不串联连接。

 

 

3关键工序节点做法

 

1、施工前的准备

(1)技术准备

①施工前应认真熟悉工程施工图,并对工程性质、规模、服务对象和系统的工作原理、系统的设计参数、系统的划分和组成、施工质量和特殊施工方法作到心中有数。

②了解设计单位的技术交底、图纸会审和相关洽商的内容。

③熟悉设计要求选用的国标、院标、图集和其他技术资料的内容和对安装的要求。

④绘制主要外加工件的加工草图。

⑤收集已建工程质量通病信息,明确施工重点与难点和质量管理点。

⑥ 对施工中需要的计量、测量器具提前做好准备。

(2)作业条件

①底板筋与柱筋连接处已绑扎完,桩基内钢筋与柱筋连接处已绑扎完,按设计位置清理好场地可安装接地体。

②利用主筋作引下线时,钢筋绑扎完毕,可以作防雷引下线暗敷设。

③ 具备调直场地和垂直运输条件,接地体和引下线已做完,支架安装完毕后,安装避雷网。

2、操作工艺:

(1)工艺流程

 

 

 

 

①测位

     根据施工图要求测定接地体、防雷引线、接地线位置,并划出标记,被利用的结构纲筋、柱筋引线可用油漆等划出标记。

②挖沟

在室外按划出的标记挖沟,沟宽0.5m,深0.8m

③接地线敷设

先将接地体放在沟的中心线上,用手锤打入地中。且与地面保持垂直,当接地体顶端距离地面600mm时停止打入。镀锌扁钢敷设前应放开、并调直。按测定位置将扁钢敷设在沟中,扁钢应侧放。

④焊接、防腐:

依次将扁钢与接地体用电焊(气焊)焊接。扁钢与钢管连接的位置距接地体最高点约100mm。焊接时应将扁钢拉直,焊好后清除药皮,刷沥青作防腐处理,并将接地线引出至需要位置,留出足够的连接长度,以待使用。扁钢与扁钢应3面施焊,扁钢与钢管焊接应大于其管外径的6倍。扁钢与扁钢焊接应大于其宽度的2倍。

⑤测试检验、回填土:

接地体连接完毕后,应及时请监理及质检部门进行隐检核验,接地体材质、位置、焊接质量等均应符合施工规范要求,然后方可进行回填土。回填土内不应夹有石块及建筑垃圾等。回填土不应有腐蚀性,否则应换土。回填土时应分层夯实。

⑥若是利用无防水地板或深基础做接地体,应先按设计图尺寸标好位置,将底板钢筋搭接焊好,再将柱主筋(不少于2根)底部与底板筋搭接焊好,并在室外地面以下将主筋焊好连接板,清除药皮,并将两主筋用色漆做好标记,以便引出和检查,及时请质检部门进行隐检并做好记录。

(2)引下线暗敷设

①将作为引线的柱主筋的搭接接头进行电焊连接。当被利用的钢筋接头已采用电渣压力焊、冷挤压等连接时,可不再进行电焊连接。

②将作为防雷引下线的柱主筋进行连接,柱主筋与外廓圈梁主筋进行连接,连接处应搭接不小于φ12圆钢,并进行电焊连接。

③需与防雷装置进行连接的建筑外墙上的金属栏杆、门窗、突出屋面的金属物等,可采用圆钢或扁钢按测定位置引出,圆钢或扁钢与防雷装置钢筋应进行搭接焊接。

④外墙测试点的高度符合设计要求,接地电阻测试点用扁钢焊接,并清除焊点的药皮。位于砌体墙内的焊点刷防锈漆,埋在土壤中的焊点刷沥青油。

(3)避雷网的安装

①将作为避雷网的圆钢一端固定在牢固地锚的夹具上,另一端固定在绞磨(或倒链)的夹具上,进行冷拉调直。

②按设计要求进行弹线、定位,用水泥砂浆将支架稳固好,并保持平直。

③将避雷线用大绳提升到顶部,顺直、敷设、卡固、焊接连成一体。同引下线焊好。药皮敲掉,进行局部调直后,刷防锈漆及铅油(或银粉)。

④ 屋顶上的突出物,如金属旗杆、透气管、爬梯等部位的金属导体必须与避雷网焊接成一体。

⑤ 在变形缝处应作防雷跨越处理。

(4)进出建筑物的各种金属管道及电气设备的接地装置,应在进出处与防雷接地装置连接。配电系统的保护干线、接地、干线、建筑物金属构件、建筑物内的水管、煤气管、暧通等金属管道在进入建筑处做总等电位联接。插座回路采用漏电断路器保护,采用TN-C-S系统,插座回路应加穿一根PE线至配电箱专用接地极,接地干线采用专用PE线引下至室外接地极,采取以上措施以保障操作人员的人身安全。

(5)总等电位联结的做法

①总等电位联结的作用在于降低建筑物内间接接触电击的接触电压和不同金属部件间的电位差,并消除自建筑物外经电气线路和各种金属管道引入的危险故障电压的危害。它应通过进线配电箱近旁的总等电位连接端子板将下列导电部分相连通:

--进线配电箱的PE(PEN)母排;

--公用设施的金属管道,如上、下水,热力、煤气等管道;

--如果可能,应包括建筑物金属结构;

--如果作人工接地,也包括其接地极引线;

建筑物每一电源进线都应作总等电位联结,各个总等电位联结端子板应互相连通。

②等电位联结的要求

1)金属管道的连接处一般不需加接跨接线;

2)给水系统的水表需加接跨接线,已保证水管的等电位联结和接地的有效;

3)等电位联结内各联结导体间的连接可采用焊接,焊接处不应有夹渣,咬边,气孔及未焊透情况;也可采用螺栓连接,应注意接触面的光洁,足够的接触压力和面积;也可采用熔接,在腐蚀性场所应采用防腐处理;

4)当等电位联结线采用钢材焊接时,应采用搭接焊并应满足如下要求:

Ⅰ.扁钢的搭接长度应不小于其宽度的二倍,三面施焊(当扁钢宽度不同时,搭接长度以宽的为准);

Ⅱ. 圆钢的搭接长度应不小于其直径的六倍,双面施焊(当直径不同时,搭接长度以直径大的为准);

Ⅲ.圆钢与扁钢连接时,其搭接长度应不小于圆钢直径的六倍;

Ⅳ.扁钢与钢管(角钢)焊接时除应在其接触部位两侧焊接外,并应焊以由扁钢弯成的弧形面(或直角形)与钢管(或角钢)焊接;

Ⅴ. 当等电位联结线采用不同材质的导体连接时,可采用熔接法进行连接,也可采用压接法,压接时压接处应进行热搪锡处理;

5)等电位联结用的螺栓、垫圈、螺母等应进行热镀锌处理。

③等电位联结导通性的测试

等电位联结安装完毕后应进行导通性测试,测试用电源可采用空载电压为4~24V的直流或交流电源。测试电流不应小于0.2A。当测得等电位连接端子板与等电位联结范围内的金属管道等金属体末端之间的电阻不超过3Ω时,可认为等电位联结是有效的。如发现导通不良的管道连接处,应作跨接线,在投入使用后应定期作测试。

(6)质量标准

①保证项目:

材料的规格、质量符合设计要求,接地电阻值不大于1Ω。

②基本项目:

1)避雷网及其支持件安装位置正确,固定牢靠,防腐良好。避雷网规格尺寸和弯曲半径正确。

2)接地线焊接处的焊缝应平整、饱满,无明显气孔、夹渣、咬肉等缺陷。螺栓连接紧密、牢固,有防松措施。

3)接地体位置正确,连接牢固,埋设深度距地面不小于0.6m

 

 

7推荐本工程中使用的新工艺

 

1组合法兰风管制作与安装工艺

 

本工程风管选用镀锌钢板风管,本联合体特推荐采用组合法兰镀锌钢板风管制作与安装技术(此项技术获中国安装协会优秀科技成果奖)。

 

1材质要求

    1、空调、通风系统的风管板材厚度如下:

风管大边或直径(mm

矩形风管

中压低压系统

高压系统

80-320

0.5

0.8

340- 450

0.6

0.8

480-630

0.6

0.8

670-1000

0.8

0.8

1120-1250

1.0

1.0

1320-2000

1.0

1.2

2500-4000

1.2

1.2

 

    2、组合法兰风管所使用钢板为卷材,钢板锌层重量-JY-Z-B,规格-GB2518-88,其机械性能强度为47kg/mm2,最大屈服和剪切强度为35KG/mm2

    3、风管全部由流水线加工,剪切由数控等离子切割机完成。切割台承受最大重量455KG,加工板材最大尺寸为1524mmX3048mm.

 

2加工工艺流程

   1、直管段制作工艺流程:

 

 

 

 

 

 

 

 

 

   

2、配件制作工艺流程

 

 

 

 

 

 

   

3、组合法兰风管标准管长:

     1158mm(TDC1)1255mm(TDC2

    4、加固筋:风管水平面、立面每隔305mm均设有楞筋。

    5、组合法兰风管及部件的安装工艺流程:


 

 

 

 

 

 

   

6、组合法兰关键工序节点做法

   (1)组合法兰风管咬口形式:

      组合法兰风管咬口

咬口形式采用联合式咬口,见左图示:

风管大边采用单口,小边采用双口,见右图所示:

       (2)组合法兰风管、法兰条、法兰角、法兰卡、法兰扳手及连接件见附图图所示(下页):

 

 

组合法兰风管制作与安装工艺经中国建筑研究院、中国安装协会、北京市建委、市质量监督总站、北京建筑设计研究院及许多高等学府鉴定,认为此项工艺具有传统工艺无法比拟的优越性――提高效率、降低消耗、增进质量、延长管道使用寿命、便于维护、减轻结构承载、减少噪声等各类污染。同时,其产品内在的先进性和感观已在其建筑产品中充分体现出来,组合法兰风管已在泛亚大厦、天银大厦、东方广场、中银大厦、华彬大厦、远洋大厦、中宜大厦和SOHO现代城等工程中得到了成功的运用与推广。

 

 

2工艺管道支吊架标准化技术

 

    由本联合体成员单位研制、开发的工艺管道“标准化支吊架”,突破了管道支吊架于现场手工预制加工的落后传统做法,形成了管道支吊架生产的工厂化、标准化,现已形成系列产品。它具有质量可靠、整齐美观、施工效率高的优点,不需要在现场焊接、钻孔、除锈、刷漆等复杂的加工工序和烦琐的操作程序,提高了工程安装效率,消除了质量通病。更有效地促进了安装工程的预制装配化技术水平的提高,从而为工程质量和施工工期目标的实现提供了技术上的保障。

BLZ系列工艺管道支吊架可适用于建筑安装工程中室外工艺管道、通风与空调、给排水及消防管道等系统(特别适用于Dg100以下的管道安装)。该项技术是以我国建筑安装技术规程、规范为依据,并在总结了施工技术特点后研制出来的,充分考虑了装配上的灵活性、安全的可靠性和型式上的新颖性。产品生产方式全部达到了冷弯轧制和模具冲压成型的工业化产品标准,表面处理为冷镀锌和热镀锌,也可根据需要进行喷漆、喷塑等防腐处理,大大提高了产品的观感质量和使用寿命。

BLZ系列工艺管道支吊架已成功运用在中银大厦、东方广场、北京会计学院等工程的管道施工中,并得到业主、设计单位等有关方面的好评。(BLZ系列工艺管道支吊架的结构形式及安装方法详见下图)

 

 

 


 

8施工中执行的规程、规范、标准图集

 

 

 

1空调、采暖及通风系统

 

《采暖通风与空气调节设计规范》

 

1GBJ19-87

 

《采暖通风与空气调节设计规范》

GBJ19-87

《采暖与卫生工程施工及验收规范》

GBJ242-82

 

2GBJ242-82

 

《采暖与卫生工程施工及验收规范》

GBJ242-82

《通风与空调工程施工及验收规范》

GB50243-97

《建筑排水硬聚氯乙烯管道工程技术规程》

CJJ/T29-98

《高层民用建筑设计防火规范》(1997年版)

GB50045

 

3GB50045

 

《高层民用建筑设计防火规范》(1997年版)

GB50045

《建筑设计防火规范》

GBJ16-87

《汽车库、修车库、停车场设计防火规范》

GB50067-97

《火灾自动报警系统设计规范》

GB50116-98

《消防联动控制设备通用技术条件》

GB16806-97

《供配电系统设计规范》

GB50052-95

《民用建筑电气设计规范》

JGJ/T16-92

《电热设备电力装置设计规范》

GB50056-93

《机械设备安装工程施工及验收通用规范》

JBJ 23-96

《工业金属管道工程施工及验收规范》

GB50235-97

《人防工程施工及验收规范》                     

GBJ134-90

《现场设备、工业管道焊接工程施工及验收规范》

GB50236-98

《制冷设备、空气分离设备安装工程施工及验收规范》

JBJ 30-96

《压缩机、风机、泵安装工程施工及验收规范》

GB50275-98

《工业设备及管道绝热工程设计规范》

GB50264-97

《机械设备安装工程施工及验收规范》

JBJ 23-96

《建筑设备施工安装通用图集》

91SB1

《建筑设备施工安装通用图集》

91SB2

《建筑设备施工安装通用图集》

91SB6

《建筑设备施工安装通用图集》

91SB7

《建筑设备施工安装通用图集》

91SB9

《防空地下室通用图》(通风部分)                      

TJFT

国际电气技术委员会标准

IEC

 

4IEC

 

国际电气技术委员会标准

IEC

英国标准和标准施工规范                  

CODE OF PRACTICE

英国电机工程师学会布线规例                 

IEE REGULATION

英国屋宇设备工程手册

CIBSE GUIDE

 

 

2给排水工程

 

 

《建筑给水排水设计规范》(1997年版)

GBJ15-88

 

1GBJ15-88

 

《建筑给水排水设计规范》(1997年版)

GBJ15-88

《室外排水设计规范》(1997年版)

GBJ14-87

《采暖与卫生工程施工及验收规范》

GBJ242-82

《给水排水管道工程施工及验收规范》

GB50286-97

《建筑排水硬聚氯乙烯管道工程技术规程》

CJJ/T29-98

《高层民用建筑设计防火规范》(1997年版)

GB50045

《建筑设计防火规范》

GBJ16-87

《民用建筑电气设计规范》

JGJ/T16-92

《工业设备及管道绝热工程设计规范》

GB 50264-97

《建筑设备施工安装通用图集》

91SB1

《建筑设备施工安装通用图集》

91SB2

《建筑设备施工安装通用图集》

91SB6

《建筑设备施工安装通用图集》

91SB7

《建筑设备施工安装通用图集》

91SB9

国际电气技术委员会标准

IEC

 

2IEC

 

国际电气技术委员会标准

IEC

英国标准和标准施工规范                  

CODE OF PRACTICE

英国电机工程师学会布线规例                 

IEE REGULATION

英国屋宇设备工程手册

CIBSE GUIDE

 

 

3低压供电系统

 

《高层民用建筑设计防火规范》(1997年版)

《建筑设计防火规范》

《民用建筑电气设计规范》

《火灾自动报警系统设计规范》

《消防联动控制设备通用技术条件》

《电气装置安装工程接地装置施工及验收规范》

 

1GBJ50169-92

 

《电气装置安装工程接地装置施工及验收规范》

GBJ50169-92

《汽车库、修车库、停车场设计防火规范》

GB50067-97

《汽车库建筑设计防火规范》

JGJ100-98

《建筑电气施工安装通用图集》

92DQ

国际电气技术委员会标准

IEC

 

2IEC

 

国际电气技术委员会标准

IEC

英国标准和标准施工规范                  

CODE OF PRACTICE

英国电机工程师学会布线规例                 

IEE REGULATION

英国屋宇设备工程手册

CIBSE GUIDE

 

 

4弱电系统

 

《高层民用建筑设计防火规范》(1997年版)

《建筑设计防火规范》

《民用建筑电气设计规范》

《建筑与建筑群综合布线系统工程设计规范》

《火灾自动报警系统设计规范》

《消防联动控制设备通用技术条件》

国际电气技术委员会标准

 

1IEC

 

国际电气技术委员会标准

IEC

英国标准和标准施工规范                  

CODE OF PRACTICE

英国电机工程师学会布线规例                 

IEE REGULATION

英国屋宇设备工程手册

CIBSE GUIDE

 

 

5所有中国国家及地方(天津)政府机构的有关规定

1)      消防局

2)      规划局

3)      环保局

4)      卫生检疫站

5)      自来水公司

6)      煤气公司

7)      邮电局

8)      供电局

9)      劳动局

10)  安保处(公安局)

11)  交通局

12)  市抗震局

13)  音像管理部门(弱电系统)

14)  市广播电视局(弱电系统)

15)  其他中央及地方(天津)政府机构

 

 


   

 

星欣设计图库资料专卖店拥有最新最全的设计参考图库资料,内容涉及景观园林、建筑、规划、室内装修、建筑结构、暖通空调、给排水、电气设计、施工组织设计等各个领域的设计素材和设计图纸等参考学习资料。是为广大艺术设计工作者优质设计学习参考资料。本站所售的参考资料包括设计方案和施工图案例已达几十万套以上,总量在数千G以上。

 图库网址http://www.xingsc.cn

ftp://xingxin.gnway.net

联系QQ447255935

电话:13111542600