天津某钢铁有限公司mm中厚板工程施工组织设计

目录

承建中厚板工程的承诺和优势              6

              6

施工优势及能力              7

              13

3500mm中厚板轧机机架吊装方案比选              14

              40

              40

              41

              41

              42

              45

              45

              45

              45

              46

              46

              54

              54

              54

              59

              59

              59

              65

              67

              78

              79

              79

              79

              79

              80

              80

              127

              146

              157

              264

              286

              286

              292

              303

              311

              311

              315

              319

              321

              321

              329

              329

              334

              336

              342

              342

              343

              343

              343

              344

              345

              345

              346

              346

              346

              352

              352

              356

              361

              363

施工工法              363

              364

              365

              366

              366

              366

              367

              368


**承建中厚板工程的承诺和优势

第一节        我公司承建本工程的承诺

1、本工程由我公司上海总部负责组织与管理,在人员、机械等各方面给予充分的保证而且成建制的从上海派到本工程。主要管理人员和专业公司有:

项目经理:***

曾担任过上钢一厂1780mm 热轧工程、宝钢1800mm 冷轧工程、宝钢1550mm 冷轧、沙钢50 万吨棒材工程等工程项目经理、副经理、总工。

项目总工:***

曾担任过上钢一厂1780mm 热轧工程、宝钢1420mm 冷轧工程、宝钢1550mm 冷轧、沙钢50 万吨棒材工程等工程项目副经理、总工。

负责土建施工的建筑分公司

曾经施工过:上钢三厂4200mm 中厚板工程、宝钢1420mm 冷轧工程、宝钢1550mm 冷轧工程、上钢一厂1780mm 热轧工程、宝钢1800mm 冷轧工程、沙钢50 万吨棒材工程。

负责钢结构安装的金结分公司

曾经施工过:上钢三厂4200mm 中厚板工程、宝钢1420mm 冷轧工程、宝钢1550mm 冷轧工程、上钢一厂1780mm 热轧工程、宝钢1800mm 冷轧工程、沙钢50 万吨棒材工程。

负责设备安装的机装分公司

曾经施工过:上钢三厂4200mm 中厚板工程、宝钢1420mm 冷轧工程、宝钢1550mm 冷轧工程、上钢一厂1780mm 热轧工程、宝钢1800mm 冷轧工程、沙钢50 万吨棒材工程。

负责电气设备安装调试的电装分公司

曾经施工过:上钢三厂4200mm 中厚板工程、宝钢1420mm 冷轧工程、宝钢1550mm 冷轧工程、上钢一厂1780mm 热轧工程、宝钢1800mm 冷轧工程、沙钢50 万吨棒材工程。

2、完全响应招标文件的各项要约条件。严格按照业主认可的样板工程标准组织施工,保证达到样板工程的标准。如果达不到愿意接受100 万元处罚。

3、本工程全部由我公司的专业工程公司施工,不分包、不转包,保证施工技术工种人员没有农民工充岗。

4、在业主资金一时不能到位的情况下,我公司将和业主共同克服困难,保证工程持续进行。

5、综合费率表中计取的利润50%作为工期保证金,另外的50%作为赶工奖。

 

第一节        **施工优势及能力

1.2.1 我公司承建本工程的优势

1、我公司在轧钢施工方面,具备先进的技术和非常成熟的经验。

1)现代化大型轧机安装工法获国家级工法证书;

2)酸洗冷连轧联合机组自动化系统调试工法获国家级工法证书;

3)现代化大型步进式加热炉施工工法获国家级工法证书;

4)大型箱型基础混泥土施工工法获国家级工法证书;

5)防腐衬胶工法获国家级工法证书;

6)液压、润滑管道在线循环酸洗工法获省部级工法。

2、我公司施工机械装备精良,目前全国6 300 吨汽车吊,中冶集团只有2 台均在我公司。牌坊吊装上有非常成熟的方案。济钢3500mm 中厚板的重达340 吨的轧机牌坊、上钢三厂4200mm 中厚板轧机牌坊均为该2 台汽车吊安装的。

3、我公司承建的轧钢工程业绩显赫。其中

1)上海宝钢1420mm 冷轧工程荣获鲁班奖;

2)上海宝钢1550mm 冷轧工程荣获鲁班奖;

3)上钢三厂4200mm 中厚板工程评为建设部优质样板工程、上海市金钢奖;

4)莱芜钢铁总厂中小型轧钢车间工程获冶金部优质样板工程;

5)梅山1422mm 热轧工程获冶金部优质样板工程;

6)太钢1549mm 热轧工程获冶金部优质样板工程;

7)上钢一厂1780mm 热轧工程正在申报鲁班奖;

8)安钢2800mm 中板工程评为冶金部优质样板工程。

4、我公司新建成的年生产能力为4 万吨金属结构制造厂是目前**地区规模最大、生产线最先进的制造厂,它就坐落在本工程的北面仅1km 之遥,加工能力完全满足本工程需要而且运输十分便利。

5、在现场有生产、生活大临,可以缩短施工准备时间,施工人员马上就可以投入施工。1.2.2 基础施工能力

本公司下设基础工程分公司、机械化施工分公司、市政工程分公司,具有土石方机械化施工、各种钢管桩、钢板桩、砼管桩、砼方桩、砂桩、砼板桩、碎石桩、沉管灌注桩、CFG 灌注桩等桩基及围护工程的施工能力,其实力和施工技术在国内居领先地位。拥有种类不同的挖土机42 台,推土机37 台,装载机22 台,自卸汽车104 台。拥有日本引进打桩机53 台及配套吊装运输等机械设备。在桩基及土石方施工方面具有丰富的施工经验和技术装备能力。在深基础施工方面,为国内最早掌握地下连续墙、地锚加固、地下穿掘施工技术的单位,在轧钢基础施工上更拥有成熟的施工技术和丰富的施工管理经验。我公司承建的上海市复兴东路黄浦江越江隧道工作井及上钢一厂热轧旋流池地下连续墙深度分别达到45 米和53 米,堪称亚洲之最。

1.2.3 结构制作能力

公司下设两个钢结构制造厂,年生产能力分别为4 万吨和6 万吨。一个坐落在**市东丽区无暇街,另一个坐落在河北省沙河市。两个厂内分别设有四条生产线(两条H 型钢加工生产线、一条箱式梁生产线、一条管线生产线)。其技术力量雄厚并拥有一大批经验丰富、高素质的工程技术人员,是一家集设计、制作、安装为一体的大型钢结构专业生产厂。主要承揽单层、多层工业厂房、网架结构、厂房结构、高炉、转炉、火电厂锅炉钢架、高层房屋建筑、轻型建筑结构、定型级合式钢模板、非标设备等工程项目的设计、制作和安装任务。是中国钢结构协会会员单位,中国工程建设焊接协会理事会员单位。产品分布全国28 个市、自治区。钢结构制造厂的产品曾获国家级《鲁班奖》、中国工程建设焊接协会《优秀焊接工程奖》、并多次获得部级《优质产品奖》和国家级质量管理QC 成果奖。

1.2.4 结构安装能力

公司设有两个金属结构安装分公司,曾荣获和蝉联国家质量管理奖。具有各种不同规格的起重机械263 台,可满足各类结构安装的需要,其中有履带式起重机23 (起重量15200t,其中:起重量200t2 台,150t1 台,100t3 ),轮胎式起重机4 台,汽车式起重机46 (其中:起重量300t 2 台,150t 2 台,127t 2 台,110t 1 ),塔式起重机15 台(其中:3000tm1 台),门式起重机18 台。金属结构安装工程公司可承担各种钢、砼结构厂房和高层建筑结构的安装,可承担各种工业筑窑、槽罐柜等金属容器的安装。数十年来建设了一大批优质工程。研制和开发了二十余项具有突破性的施工技术。在宝钢建设中首创整体安装工艺,最早掌握彩色压型板施工技术。该公司是国内首批推广全面质量管理(TQC)的单位之一,自1984 年以来蝉联国际质量管理奖,近年来多项安装工程获金钢奖。

1.2.5 土建施工能力

公司设有四个土建分公司,均参加过国家重点工程建设。拥有固定砼搅拌站20 个,砼搅拌输送车37 台,砼输送泵车14 台,钻孔机械9 台等主要机械设备。同时拥有年产砼结构件一万立方米的建筑材料厂及年产PHC桩(高强度预应力离心砼管桩)十八万米的混凝土构件公司。可承担各种类型的工业、民用土木建筑工程,擅长各类砖混、框架、剪力、筒式结构建构筑物施工。在5m 轧钢平台设备基础施工方面上,更具有成熟的技术和丰富的施工经验。对于大面积(体积)工业设备基础施工具有独到的施工工艺,上钢一厂BOX 基础长428 米,宽80 米,为国内最大。公司采用的分块跳仓法浇筑综合技术措施施工工艺获上海市科委认定,总体质量达国际先进水平。

1.2.6 机械设备安装能力

公司所属的两个机械设备安装工程分公司具有国家颁发的起重设备安装许可证、锅炉安装许可证及乙级消防工程施工资质。该工程公司是一支技术力量非常雄厚的专业安装队伍,有完整的质量保证体系。擅长安装高精度设备及管道,对轧机设备的安装具有丰富经验。设备液压系统的安装调试技术在国内居领先地位。在宝钢二期工程中,由该工程公司研制的八五四酸洗溶液配方,八八年通过部级鉴定,并在冶金行业推广使用,取得了良好的社会效益。同时还研究开发了液压润滑管道在线循环酸洗新工艺,彻底解决了液压润滑系统由于二次安装造成再次污染的难题,节约了成本,并且大大缩短了施工周期。该新工艺近几年来运用于各类行业,均受到了国内外专家的认可和用户的好评。近年来公司制定发布的部分内控标准已达到或超过德、日、法、美等国家的标准。我公司的大型轧机安装工法、防腐衬胶工法、连续退火炉施工工法、现代大型电炉施工工法获国家级工法证书。

1.2.7 电气设备安装调试能力

公司所属的两个电气安装工程分公司是专门从事冶金电气设备、仪表电讯、工业电视、过程控制计算机等安装调试的专业工程公司。能承担各种大中型输变电工程、交直流传动系统自动化机器仪表、有线和无线通讯、工业电视、工业控制用微机和过程控制计算机、遥控遥测装置等电气设备的安装调试。通过与日本、意大利、德国、法国、美国、瑞士、英国、比利时等国企业的合作,吸收消化了大量国外先进施工技术和科学管理经验,开发了大型主轧机电机安装、变压器安装、电缆棚槽防腐处理、电气附件制作等新工艺,在自动化程度较高的轧钢系统的电气调试方面,具有独特的工艺技巧和先进的施工方法。

 

第一节        近年来我公司承建过的同类工程业绩情况

建设单位

项目名称

开竣工日期

达到质量

标准

梅山钢铁公司

1422 热轧工程

91.11-94.11

优质

太原钢铁公司

1549mm 热连轧工程

92.7-94.8

质量样板 汾水杯

安阳钢铁公司

2800mm 中板技改

94.4-95.9

优良

上海宝钢

2030 热轧酸洗板

00.2-01.6

冶金优质

邢台德龙钢铁实业有限公司

850mm 中宽带钢热连轧工程

02.12-03.9

优良

上海一钢

1780 不锈钢热轧工程(3.1)标

01.6-03.12

优良

淄博万杰集团

中厚板轧钢工程施工安装合同

03.7-04.2

在建

安阳永兴钢铁公司

3500mm 中厚板生产线工程

04.7-05.1

在建

上海浦钢有限公司

3300mm 厚板厂改造工程

01.11-02.12

优良

宝山钢铁股份有限公司

1800 冷轧带钢工程冷1 标、冷2

02.1005.6

在建

唐山港陆钢铁有限公司三期工程

1250mm 热连轧建筑安装

04.2.8-04.8

在建

 

第一节        *3500mm中厚板轧机机架吊装方案比选

1.4.1 概述

**钢铁有限公司新建一条3500mm 中厚板生产线,厂房总长1017 米,年产120 万吨中厚板,生产线设计一架3500mm 四辊可逆式粗轧机及一架3500mm 四辊可逆式精轧机。

*3500mm 中厚板粗、精轧机设备由一重制造,分别布置在主轧跨89 线和1516 线间,轧制中心线距操作侧柱中心线19m,距传动侧柱列线14m,单机架重量约为330 吨,为中厚板车间单件设备重量最大值。共四件,粗轧机二件,精轧机二件。机架外形尺寸高××厚为13765mm×4860mm×2000mm,如下图所示,车间主轧跨为33 米跨,跨内设计一台150/30 吨、一台100/30 吨、一台75 吨、一台32/5 吨、一台50/10 吨天车。主电机跨设计一台200 吨天车。

 

轧机机架吊装之前,为减少机架的外形尺寸及重量,将机架的不需要使用的六个吊耳割除,机架的外形尺寸高××厚可变为:13245mm×4340mm×2000mm,如下图所示:

1.4.2 轧机机架吊装方案比选

1.4.2.1 吊装方案初选

根据**施工中厚板工程的施工经验,大型中厚板轧机的吊装有两种方法:

1) 使用两台300 吨汽车式起重机抬吊

这项技术是**的成熟技术,也是专有技术,目前能够同时拥有二台300 吨级汽车式起重机的大型施工单位的唯有**

济南钢铁集团公司3500mm 中厚板工程轧机机架吊装使用的就是二台300 吨汽车吊抬吊。

2) 使用主轧跨内的天车二台或三台抬吊。

这也是**的一项成熟的施工技术。

安阳钢铁公司2800mm 中厚板工程四辊可逆轧机机架单件最大重量为232 吨,使用一台150吨、一台50 吨和一台32 吨天车成功地吊装了两个机架。

上钢三厂4200mm 中厚板轧机机架吊装也是使用这种办法。

安阳永兴钢铁公司3500mm 中厚板工程非常看重**的这项吊装技术,为了轧机机架的吊装成功,首选**为设备安装施工单位,并且根据这项技术的要求,相应配置了天车和结构方面的各项参数。并组织了多次施工单位与设计院的交流活动。

1.4.2.2 吊装方案比选

根据**钢铁有限公司中厚板工程的特点,两种吊装方案均可适用。两种方案各自的优缺点如下:

1) 两台300 吨汽车吊抬吊

使用**自有二台300 吨汽车式起重机抬吊。

Δ 优点:第一,不需要厂房天车作吊装工具,节省了200 吨天车安拆的费用。第二,使用施工单位的吊装机具,对业主的天车无要求,天车可以按正常日期到货。

Δ 缺点:第一,增加了两台300 吨汽车吊的大型机械进出场费用;第二,车间内的轧机机架运输比较复杂,需要在轧辊间先拆下轧机机架,然后再从换沟内将轧机机架运入主轧跨,需要安装机架的运输轨道及运输小车;第三,需要核算300 吨汽车吊的压脚支点,确保不影响主轧机附近的地下设施,如地下油库的施工。

2) 两台天车抬吊

使用主轧跨150/30t 天车和主电室200t 天车抬吊机架。

Δ 优点:使用车间内天车抬吊,首先不涉及大型机械的进出场,节省投资;第二,**曾经使用这种方法吊装过机架,施工方案及吊装技术、施工人员比较成熟;第三,轧机机架卸车可以直接在主轧跨卸车,卸车与车间内的机架运输难度降低。

Δ 缺点:第一,要与设计院及天车制造厂家核对厂房结构及天车的起重能力,需要施工单位与设计院充分交流,从总体施工的高度来考虑机架的吊装方案。第二,天车抬吊吊装技术比较复杂,没有施工经验的单位很难作到,施工的难度比较大,对平衡梁的计算要求比较高,各种参数确定要慎之又慎,对施工单位的要求比较高。第三,要求天车的到货与安装满足机架的吊装工期要求;第四,要使用主电机室的200 吨天车,增加了200 吨天车的安拆费用。

1.4.2.3 吊装方案确定

综合以上论述,根据**目前的施工能力及*钢工程的进一步发展,优选采用二台300 吨汽车抬吊的施工方案,同时仍然保留使用一台150 吨天车及一台200 吨天车双天车抬吊的方式吊装机架施工方案的可能性,根据工程的进展情况进行调整。

1.4.3 第一套吊装方案

选用二台300 吨汽车吊抬吊。

1.4.3.1 概况

**钢铁有限公司3500mm 中厚板工程厂房总长1017 米,主轧跨为33 米跨,设置两台主轧机,分别布置在主轧跨89 线和1516 线间,轧制中心线距操作侧柱中心线19m,距传动侧柱列线14m,单机架重约330 吨,外形尺寸高××厚为13765mm×4860mm×2000mm,轧机机架外形尺寸如图所示。

车间主轧跨为33 米跨,跨内设计一台150/30 吨、一台100/30 吨、一台32/5 吨、一台50/10吨天车。

1.4.3.2 轧机机架的运输通道

1) 从厂外运入车间的通道

按照*钢中板工程的工艺布置和厂房布置的实际情况及我公司的施工经验,轧机机架运输从轧辊间一侧运入为最优。(粗轧机是从9 线进入,精轧机从16 线进入)

2) 从轧辊间运入主轧跨的通道

将机架卸至轧机的换辊沟内,从轧机的换辊沟运至轧机基础。换辊沟内设置钢轨及平移小车,机架由换辊沟从轧辊间平移至主轧跨轧机基础上,先运传动侧机架,再运操作侧机架,

1.4.3.3 轧机机架卸车方式

利用两台300 吨汽车吊抬吊卸车。卸车位置在轧辊间,直接卸到主轧机换辊沟内,300 吨汽车吊18 米杆、吊装半径11 米时能吊175 吨。两台抬吊能够达到350 吨的吊装能力,可以满足要求。

1.4.3.4 机架进场的顺序及方向

1) 两机架的进场顺序

传动侧机架先进场,操作侧机架后进场。

2) 机架在拖车上的摆放方向

机架由汽车陆路运入,拖车进入轧辊间时,机架放在拖车上的方向为顶部朝向传动侧,传动侧机架有安装上下横梁螺栓孔的一侧朝向天空,操作侧有安装上下横梁螺栓孔的一侧朝向地面。

1.4.3.5 轧机机架的吊装

冲渣沟壁用钢板及型钢制作钢架进行加固。保证吊车压脚支点牢固。

300 吨汽车吊的性能参数:主臂18 米,吊装半径11 米,起重量2×175 吨。

机架卸车、运输及吊装如下图所示。

1.4.4 第二套吊装方案

采用一台150 吨天车及一台200 吨天车抬吊的方式吊装机架。

1.4.4.1 机架运输

机架运输由下列几个步骤组成:

机架厂外运输(由业主负责)机架卸车车间内水平运输放入冲渣内临时存放待吊装机架吊装就位机架安装调整。

1) 吊具及吊点设置

机架卸车由车间主轧跨内一台150 吨天车及一台200 吨天车抬吊,吊具采用一套平衡梁。平衡梁的外形尺寸已确定,外形为矩形箱形梁,截面尺寸为1700×1100mm,长度13.5m,采用Q235板材δ=40mm30mm 制造,总重量约22 吨。加上钢丝绳的重量,预计吊具总重量不超过30 吨。

也就是说两台天车的总负荷在360 吨以内。两台天车动负荷抬吊能力可以满足要求。

机架上的吊点设在机架两侧的四个吊耳上。如机架卸车示意图所示。

2) 机架卸车

根据*钢提供的机架运输方案,机架由汽车公路运输进场。

轧机机架从3500mm 中厚板车间北侧轧辊间21 线-22 线间进入,穿过轧辊间进入主轧跨,停在主轧跨21 线-22 线间,躲开精轧机4 号油库地下设施。机架头部进入主轧跨最小不得小于11696mm,如图所示。

轧机机架在拖车上的摆放方向:

由于运输机架的车辆必须倒进主轧跨,所以机架放在拖车上的方向为两个机架头部全部朝向车尾,传动侧机架有安装上下横梁螺栓孔的一侧朝向天空,操作侧有安装上下横梁螺栓孔的一侧朝向地面。

轧机机架进入主轧跨的方向(与机架在拖车上的摆放方向配套)

机架进入厂房主轧跨的方向为:两个机架头部全部朝向南,传动侧机架有安装上下横梁螺栓孔的一侧朝向天空,操作侧有安装上下横梁螺栓孔的一侧朝向地面。

两机架的进场顺序为:

操作侧机架先进场,传动侧机架后进场。

机架卸下后,水平摆放在主轧跨内,地面用钢板及道木垫平,使车间地面均匀受力。

 

1.4.4.2 机架于车间内的水平运输

机架车间内水平运输是指从主轧跨21 线-22 线运输至精轧机基础坑内,水平运输吊具由主轧跨内一台150 吨天车及一台200 吨天车抬吊,吊具采用平衡梁(与卸车吊具相同)。运输时将机架头部倾斜吊起,头高尾低,与地面的夹角进行计算,要与机架放入精轧机基础坑内的角度相适应。

机架放入精轧机基础坑后,轧机机架头部用钢板及道木制作的支撑座撑起,以保护精轧机基础。

机架先运输操作侧机架,再运输传动侧机架,机架放入基础坑内时,机架头部向传动侧倾倒。

轧机基础按实际需要垫放道木。如机架临时存放示意图所示。

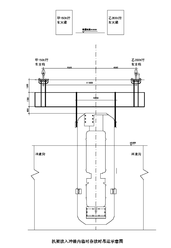
1.4.4.3 机架吊入冲渣沟内临时存放待吊装

机架吊入冲渣沟内临时存放待吊装是指将机架从精轧机基础坑内吊起放入冲渣沟内临时存放,机架放在粗轧机与精轧机之间的冲渣沟内,这一段冲渣沟-2.0 米以上若设计横穿冲渣沟的混凝土固定梁、电缆过梁、管道过梁要由设计院与施工单位交流具体设计位置。如图所示。

放置机架时,先放操作侧机架,再放传动侧机架,操作侧机架靠近精轧机基础,机架吊装时要先吊装操作侧机架,再吊装传动侧机架。

冲渣沟内按实际需要垫放道木。每架机架垫放面积为2.5×820m2,冲渣沟底板承力约200Kpa(20 /2),冲渣沟底板设计时应考虑加固。

如下图所示。

1.4.4.4 机架吊装

吊装顺序:

先吊粗轧机机架,粗轧机机架先吊操作侧机架,再吊传动侧机架。

等精轧机的机架全部放置于冲渣内后,再安装精轧机底座。

如下图所示。

1.4.4.5 机架运输及吊装注意事项

Δ 主轧跨天车

1、外形尺寸:天车宽度及主梁下底面标高还要进一步与业主及设备制造厂家确认。两台天车靠在一起时,使用钢件及螺栓在端部进行紧密钢性连接。

2、安装施工质量:应满足<<起重设备安装工程施工及验收规范>>GB50278-98 及设备技术文件的各项要求。

3、试动转:分别进行空负荷试运转、静负荷试运转及动负荷试运转。

Δ 平衡梁的结构设计及验算

平衡梁的外形尺寸已确定,外形为矩形箱形梁,截面尺寸为1700×1100mm,长度13m,采用Q235 板材δ=40mm30mm 制造,总重量约22 吨。加上钢丝绳的重量,预计吊具总重量不超过30吨。也就是说一台150 吨、一台200 吨天车的总负荷在360 吨以内。可以满足动负荷的要求。

Δ 精轧机底座安装配合要求

由于两架轧机的四个机架都要在精轧机基础上倾斜后立起,所以精轧机的底座要晚一些安装,等四个轧机的机架全部立起后放入冲渣沟内时,再安装精轧机的底座。

Δ 轧机制造方面的要求

1) 轧机机架的上部两侧的吊耳要能够承受吊重330 吨的要求。

2) 机架的单重及机架水平摆放时的重心位置由业主及制造厂以书面形式提供较为准确的数值。

机架重心要用明显的标记标注在机架实物上,便于识别。

Δ 冲渣沟土建设计的要求

轧机机架要从精轧机基础坑内立起,再临时存放在冲渣沟内。所以,冲渣沟底板承受的压强要达到20 /2 以上。

Δ 轧机机架运输进入主轧跨的要求

由于运输机架的车辆长度约为20 米,进场时,有一定的要求,最小及最大的尺寸详见极限位置示意图。

 

综合说明

第一节        编制依据

2.1.1 **钢铁有限公司轧钢工程建安施工招标文件;

2.2.2 国家和冶金行业颁发的施工及验收规范、工程质量检验评定标准;

2.2.3 本工程现场踏勘掌握的资料;

2.2.4 GB/T19001-2000idtISO9001 系列国际质量体系及**颁布实施的有关企业技术质量标准和操作规程;

2.2.5 公司质量、职业健康安全、环境管理体系管理手册、程序文件;

2.2.6 本工程的现场条件及我公司施工的类似工程施工经验。

2.2.7 类似工程相关资料及标准图集;

 

第一节        本工程施工的目标

2.2.1 质量目标

单位工程一次验收合格率达到100%,单位工程优良率达到85%以上,工程质量达到国优(鲁班奖)

2.2.2 工期目标

本工程于2004 3 1 日开工,2005 9 21 日达到热负荷试车条件,工程绝对工期570日历天 (若业主设备提前到货,本工程工期还可提前30 )

2.2.3 安全目标

重伤及死亡事故为零;月千人负伤率控制在0.54%0 以下。

2.2.4 现场文明施工目标

达到市级文明工地的标准。

 

第一节        指导思想

a) 坚持用户满意的服务宗旨,与业主、设计单位、监理及其它参战各单位、各部门充分配合、协作,树立责任观念,不管是设计问题、设备问题,还是现场条件问题,都作为现场需要立即解决的问题,积极联系或协助解决。

b) 踏踏实实的工作,以树立高标准、追求高水平创精品工程为根本出发点,在工程项目实施过程中始终把搞好工程建设质量放到第一位。

c) 服从业主方、监理单位要求,严格按设计施工,保证工程质量目标和工期目标的实现。

 

第一节        工程概况

2.4.1 业主名称: **钢铁有限公司

2.4.2 工程名称:**钢铁有限公司3500mm 中厚板工程

2.4.3 设计单位: 北京钢铁设计研究总院

2.4.4 生产规模:本工程设计规模为年产120 万吨中厚板。

2.4.5 工程招标范围:

板材生产线:从推料机、上料辊道到粗轧、精轧、矫直机、冷床、精整、定尺剪、钢板收集设备以及除鳞、液压、润滑系统、三电系统(包括10KV 开关站)、起重设备的设备安装工程,桩基工程、钢结构厂房、平流池等建()筑物、加热炉基础及加热炉设备基础以及相关的附属设施。不含加热炉设备安装及砌炉。

2.4.6 工程特点

2.4.6.1 本工程属于边设计、边设备制造、边施工的三边工程。在施工工程中会遇到很多业主方、设计单位或施工单位意想不到的问题,所以施工单位承建类似工程的经验对于高速、优质、安全地完成本工程的建设任务是非常重要的,我公司承建过上钢三厂4200mm 中厚板工程、济钢3500mm 中厚板工程、淄博3500mm 中厚板工程、安钢2800mm 中厚板工程,与本工程很多方面有类似之处,这些工程的施工经验无疑会对本工程起到很大的帮助,这也正是我们**承建*3500mm 中厚板工程的优势所在。

2.4.6.2 厂房长度达到1017米,钢结构构件数量多,起重量大,因此对投入该工程施工的运输机械和起重机械的能力要求高。要满足施工要求,必须投大量的重型吊装机械,确保工期及质量要求。

2.4.6.3 主轧线设备基础标高均为±0,埋深较大,土建工作量比较集中,施工安排上要突出重点,尽快完成主轧跨厂房结构安装,为设备基础施工尽早创造条件。

2.4.6.4 建安工作量和实物工程量大,工期较紧,必须加大管理人员、施工人员和施工机具的投入力度,确保项目按期完工。

2.4.6.5 施工内容多且复杂,专业配合多,交叉作业多,在施工中要科学组织,精心施工,认真编制重点项目施工方案和作业设计,以使施工正常有序地进行。

2.4.6.6 本工程设备到货时间可能较晚,而且比较集中,因此设备实际安装工期短,给设备安装带来一定难度,也给现场组织提出了更的要求,工程施工中要投入大量的施工劳动力,结构安装的后期抓紧安装厂房内天车安装,设备到货后,直接进入厂房内,由天车卸车,随后立即投入安装,解决现场设备堆放场地比较紧张的难题。该工程正合适**一贯打硬仗,确保后墙不倒的作风。

2.4.6.7 本工程机械、电气设备由国外、国内等几个部分组成,所以在设备安装阶段组织、协调、管理的工作量较大,应在施工中积极配合并创造较好的施工条件,同时发挥总承包的综合实力,严格质量管理。

2.4.6.8 本工程自动化程度高,设备安装精度要求高,对安装调试人员的素质要求高。因此我公司拟选派参加过上钢三厂4200mm中厚板工程、济钢3500mm中厚板工程、淄博3500mm中厚板工程、安钢2800mm中厚板工程的施工人员作为本工程的施工主体,充分利用以往类似工程的施工经验,科学管理,精心安排,确保各项施工有条不紊地进行。

2.4.6.9 为保证工期,要科学合理地安排施工程序,按工程的主次和后续工程的工艺要求合理安排各施工项目的开工顺序;合理划分施工用地,并加强施工过程中场地的平面管理, 以便各项施工的顺利进行。

 

施工部署

第一节        施工部署的依据

a)业主方提出的施工要求;

b)其它类似工程建设经验和有关资料;

c)公司现有施工机具设备、人员及其它资源;

d)本工程的施工特点。

 

第一节        施工部署思想

施工部署的指导思想以确保工程质量及合同工期为目标,优化施工顺序,协调好专业间的关系,高速、优质、安全、全面地完成合同承担的施工任务。创造精品工程

 

第一节        施工力量投入

公司将派曾经参加过宝钢、安钢、济钢等中板工程施工的管理人员组成项目管理班子,以加强施工指挥和管理,确保网络节点,保证按期完成施工任务。

本工程施工管理人员及施工队伍全部**上海公司的施工力量承担,抽调参加过上钢三厂4200mm 中厚板工程、济钢3500mm 中厚板工程、淄博3500mm 中厚板工程、安钢2800mm 中厚板工程施工的队伍参加本项目的施工,施工人员中所有电焊工、气焊工、设备安装工、电工等技术工人全部为我公司职工。把本工程做为公司的重点创优工程项目,公司各职能部门将对项目经理部在财力、物力、人力上大力支持。项目经理部下设4 个专业项目经理部,专业项目部下设施工班组,按专业分别土建施工、结构安装、机械管道安装、电气仪表设备安装。

 

第一节        钢结构加工力量安排

本工程钢结构量很大,也是整个工程的关键,所以需采取工厂制造的方式。主要钢结构制造安排在**天管钢结构制造公司进行制作,该制造厂在华北地区规模最大,技术最为先进,集聚大批制造工业重钢的优秀人员。该加工厂距离施工现场较近,运输方便。工程合同签订后即开始安排备料、制作,根据工程进度安排依次运至施工现场。

 

第一节        施工部署的总体设想

本工程项目施工的最大特点是工程量大,工期紧,主轧机机架吊装难度大,涉及专业多,因此,加大施工人员配置,优化施工顺序,明确施工重点,协调各专业间关系是本项目施工部署的指导。

本工程涉及圆管桩施工、厂房柱基础施工、厂房结构制作及安装、设备基础施工、机械设备及电气、仪表安装调试等诸多施工内容。通过对全部施工内容理解并借鉴以往类似工程的施工经验,制定了该工程总体施工部署。

3.5.1 施工区域划分

根据*3500mm中厚板工程的厂房布置特点,将整个工程划分为五个大的施工区域:

第一施工区:板坯库、一次平流池、高压水除鳞站、加热炉区(1-7线)

第二施工区:主轧跨7-39线、轧辊间、2号电气室;

第三施工区:主电室、1号电气室、修理间、备品备件库(7-39线)

第四施工区:主轧跨39-77线、成品跨;

第五施工区:3号电气室、精整跨(39-77线)

各施工区各安排独立的作业力量组织施工。

整个工程施工以主轧跨为核心,以主轧线为施工重点,其它工程项目按照主辅同步、能源介质优先的原则组织施工。

3.5.2 施工程序安排

厂房土建施工安排闭口施工,即先进行圆管桩施工,然后进行厂房柱基础施工,为结构安装创造条件。结构安装完封闭后土建队伍二次进入,进行设备基础和厂房内附房的施工。

在施工程序上,按照先深后浅,先地下后地上,先土建后专业的程序施工,着重做好各专业、各工序和各工种之间的交叉配合工作。

3.5.3 施工阶段安排

为了整个工程的顺利进行,在施工部署上,将施工全过程划为6 个阶段进行组织施工。

3.5.3.1 施工准备阶段

在开工前必须做好各项施工准备工作,主要任务是:

调查了解和熟悉工程项目;

熟悉合同和设计资料,参加设计交底和图纸会审工作;

建造临时生产设施,修筑临时施工道路和场地施工排水设施;

落实施工机具和施工人员的进场;

编制施工组织设计、作业设计和项目质量计划;

编制材料计划和施工图预算;

钢结构制作的备料;

周转材料备置;

与业主进行测量控制点的交接和控制网的测设。

3.5.3.2 厂房打桩及柱基础施工阶段

正式开工后,根据施工进度安排,先后组织9 台桩机进场,分别选用ZYJ320 型和ZYJ600 型。

第一施工区配备1 台,其余施工区各配备2 台。遵循先深后浅,先密后疏,由中间向四周施打的原则,同时施打厂房柱基础桩、设备基础桩和地坪桩,40 天内完成全部桩基施工。

桩基施工过程中根据规范及设计要求进行荷载测试,测试合格后,上报监理和有关质检部门对桩基工程检查验收后,进入柱基础施工阶段。

由于一次平流池较深,采用沉井施工,单独配备作业力量进行施工。

厂房柱基施工重点为主轧跨和主电室柱基,为主轧跨和主电室厂房结构安装和设备基础施工尽早创造条件。

各施工区域厂房基础按照先深后浅的原则按轴线顺次推进。

在这个阶段同时完成部分钢结构的制作并运抵施工现场。

为确保整个工程及时受电及后续调试工作的顺利进行,主电室土建施工尽早安排施工。

3.5.2.3 厂房结构安装阶段

中标后立即安排钢结构制作。以不影响结构安装为原则,按照安装顺序和安装进度要求配套制作。

厂房钢结构安装选用1 200t 履带吊、4 100t 履带吊、5 50t 履带吊共10 台主要吊装机械。100t 履带吊、200t 履带吊主要负责立面结构安装,50t 履带吊主要负责平面结构安装。

安装期间,另选2 30t 汽车吊进行吊车梁与辅助桁架以及制动结构在地面组装以及现场的装卸构件等工作。

施工中要充分发挥200t 履带吊起重大,吊装能力强的优势,尽量扩大柱、吊车梁的组合起重重量,采取扩大给合吊装,一次安装就位的施工方法,加快施工进度。

在屋面结构安装完610 空并经过调整后,屋面压型板即可进行安装,在屋面结构安装完成时,屋面板也紧随其后安装完成。主厂房墙面板、屋面板采用在施工现场压制,边压制边安装,以保证施工质量和进度。

3.5.2.4 天车安装阶段

厂房平面结构安装时,跨端预留1-2 空暂不安装,待天车安装完毕后再进行剩余平面结构的安装。

厂房内天车安装以主轧跨、精整跨、主电室和轧辊间为重点,选用200t履带吊、100t履带吊及50t履带吊根据天车的单件重量大小选择,50吨以上的天车安装由200t履带吊、100t履带吊负责,50吨以下的天车由50t履带吊负责,与结构可以进行同步安装。为设备安装创造条件,天车若无正式电源,可接临时电源进行调试,以保证设备安装前正常运行,供设备安装使用。

主轧跨150/30t天车及主电室200t天车为吊装主轧机机架的吊装机具,其到货日期一定要比轧机机架的到货日期提前一个月,来满足天车的安装调试及主轧机机架的吊装要求。

其它主轧跨、精整跨及成品跨天车的到货日期也是这个原则,到货日期要与轧线工艺设备的到货日期相匹配,比轧线设备的到货日期提前半个月到一个月。保证轧线设备抵达现场后直接进入车间,然后马上吊装到设备基础上进行安装。来一件,装一件,这样可以解决本工程设备堆放场不足的矛盾。

3.5.2.5 设备基础施工阶段

在厂房结构形成一定规模后,土建施工队伍二次进入,按先深后浅的原则,穿插进行设备基础的施工,并同步组织厂房内附房及地坪施工。该阶段施工的重点是主轧跨设备基础及加热炉设备基础施工。同时也要兼顾精整跨、成品跨设备基础的施工。

由于主轧跨设备基础和加热炉设备基础均为埋深较深的大体积混凝土,施工时按大体积混凝土施工方法进行施工,采用一次整体浇灌和综合温控技术。投入足够的人员、周转工具和施工机械,提前做好砂、石、混凝土等原材料的准备工作,以保证混凝土浇筑的连续进行。同时要对桩、柱基、柱等已完工部位采取保护措施,做好对这些部位的成品保护。

设备基础有大量地脚螺栓、螺栓套筒和预埋铁件等,预埋螺栓对安装精度要求高,安装固定与支模同时考虑。为保证螺栓有足够的强度、刚度、稳定性和准确的位置,设置独立的螺栓固定架,采用角钢螺栓定位控制板进行定位控制,在控制板上画出地脚螺栓纵横向中心线,挂细钢丝以确定螺栓的中心。地脚螺栓上端用螺母调节固定在螺栓固定框上进行微调,以保证螺栓标高。

3.5.2.6 机电设备、工艺管道安装阶段

首先要保证在结构安装的后期进行车间内天车的设备安装调试,确保桥式起重机按期投入使用,为机电设备安装创造良好的垂直及水平运输条件。

在设备相继到达现场后,开始进入施工重点阶段,以3500mm 粗轧机、精轧机、矫直机、冷床、剪切机等轧线工艺设备为安装重点,主攻粗、精轧机的机电设备安装。在设备安装高峰期,为了最大限度使用行车,可采取两班倒的作业方式,在夜晚进行轧线设备的吊装就位作业,白天进行设备的安装调整,力保充分利用施工劳动力,按节点完成全部设备的安装工作。

本工程轧线较长,轧线设备总重量达到2万余吨,而且根据目前了解的情况,设备到货的日期较晚,并且相对比较集中,本工程还有一个大的矛盾,就是设备量大,而设备的临时堆放场地比较小,如果大量的设备到达现场,施工组织上没有准备,势必会造成混乱,若安排在厂外存放,还会浪费业主的大量资金。所以,设备安装的组织要求,充分考虑到车间内的设备堆放场地不足的矛盾,力保设备到货后,立即用天车将设备卸在车间内,而且马上将设备吊放到设备基础上,来一件,安一件,来十件,安十件,确保不压车,不占用大量的车间内场地。

液压、润滑系统管道施工,由于施工工序多,调试复杂,施工期相对较长,应创造条件尽早开始安装。

电气设备安装分主体电气设备、控制电气设备、辅助电气设备三条主线平行组织施工。

电气设备以供配电设备安装为重点,保证电气设备及时受电。

车间内部架空能源介质管道的施工,基本不受设备到货时间影响,分别安排人力进行管道的安装施工。确保在设备单体试车前全部开通,以满足单体试车的需要。

3.5.2.7 机电设备调试阶段

该阶段包括单体调试和无负荷联动试车。是在设备安装结束后,能源介质都已顺利开通的情况下进行,主要任务是检查设备性能和安装质量、完善电气及自动化系统,为热试车创造条件。

前期调试以供配电设备调试为重点,保证轧线电气设备及时送电,为全面开展调试工作打好基础。中后期调试以传动、自动化仪表、PLC 调试为重点。

调试要求电气设备、自动化仪表、计算机调试同步进行。设备调试以先单体试验后外围试验,先基础后综合,尽快完成设备单体调试及时发现问题,及时解决,最终保证计算机调试成功。

 

施工进度

第一节        工期目标

本工程于2004 3 1 日开工,2005 9 21 日达到热负荷试车条件,工程绝对工期570日历天 (若业主设备提前到货,本工程工期还可提前30 )

 

第一节        主要节点安排

根据施工进度安排,我公司将确保按以下节点完成3500mm 中厚板工程的施工:

2004 10 26 日完成全部厂房建设及重要设备基础和深基础;

2004 11 15 日完成主厂房天车的安装;

2005 7 13 日完成设备安装;

2005 8 12 日完成完成设备调试、单体试车;

2005 9 21 日完成联动试车。

工程主要节点时间表

 

施工

区域

主要工序节点

工序时间(日历天)

工序开始日期

工序完工日期

主轧跨

圆管桩施工

40

2004.3.1

2004.4.9

主轧跨7-39 线柱基础施工

40

2004.4.10

2004.5.19

主轧跨7-39 线厂房结构安装

70

2004.5.20

2004.7.28

主轧跨屋面、墙面封闭、天车安装

90

2004.7.29

2004.10.26

主轧跨7-39 线轧线设备基础施工

90

2004.7.29

2004.10.26

主轧跨7-39 线轧机、矫直机等轧线机电设备安装及机体配管

220

2004.10.27

2005.6.3

管道试压、冲洗

40

2005.6.4

2005.7.13

粗、精轧机机架运输

30

2005.3.6

2005.4.4

粗、精轧机底座安装

30

2005.3.6

2005.4.4

粗轧机机架就位

10

2005.4.5

2005.4.14

主轧跨

精轧机机架就位

10

2005.4.15

2005.4.24

粗轧机机电设备安装及机体配管

90

2005.4.15

2005.7.13

精轧机机电设备安装及机体配管

80

2005.4.25

2005.7.13

主轧跨39-77 线柱基础施工

40

2004.4.10

2004.5.19

主轧跨39-77 线厂房结构安装

70

2004.5.20

2004.7.28

主轧跨39-77 线轧线设备基础施工

90

2004.7.29

2004.10.26

 

 

主轧跨39-77 线剪切机、冷床等轧线设备安装及机体配管

220

2004.10.27

2005.6.3

板坯库、轧辊间、主电室、

加热炉区

板坯库、轧辊间、主电室、加热炉区柱基础施工、厂房结构安装

110

2004.4.10

2004.7.28

加热炉等设备基础施工

90

2004.7.29

2004.10.26

板坯库、轧辊间、主电室天车安装

60

2004.8.27

2004.10.26

主轧跨1-7 线加热炉区机电设备安装及机体配管

160

2004.10.27

2005.4.4

轧辊磨床等轧辊间设备安装

100

2005.4.5

2005.7.13

主电室、电气室等附房土建、内外装修施工

130

2004.7.29

2004.12.5

变压器、盘、柜及仪表、计算机等电气设备安装

150

2004.12.6

2005.5.4

受电调试

30

2005.5.5

2005.6.3

电气系统调试

40

2005.6.4

2005.7.13

精整及

成品跨

39 线后精整及成品跨柱基础施工

50

2004.4.10

2004.5.29

39 线后精整及成品跨厂房钢结构安装

90

2004.5.30

2004.8.27

设备基础及附房施工

60

2004.8.28

2004.10.26

屋面、墙面封闭、天车安装

80

2004.8.28

2004.11.15

39 线后精整及成品跨机电设备安装及机体配管

210

2004.11.16

2005.6.13

一次

平流池

一次平流池沉井施工

150

2004.4.10

2004.9.5

地上结构、装修施工

50

2004.9.6

2004.10.25

设备安装

30

2004.10.26

2004.11.24

试车

单体试车

30

2005.7.14

2005.8.12

无负荷联动试车

40

2005.8.13

2005.9.21

 

第一节        施工进度网络计划图

附后

施工准备

第一节        技术准备

5.1.1 随时与设计单位保持联系,做到图纸到位一部分,消化和审查一部分,积极参加设计交底,同时取得各项技术资料及有关图集,及时制定施工技术措施,组织技术交底。

5.1.2 进口设备的设计到达后,立即组织有关技术人员迅速熟悉图纸,核对国内设备与进口设备的接口部分,并与对口专家及甲方联络,解决设计和施工中出现的技术问题。

5.1.3 项目经理部负责编制项目施工组织设计,组织专业项目部编制专业项目施工组织设计并报项目工程师审批。合同有要求时报业主方批准。

5.1.4 项目经理部负责界定关键工序、特殊工序和工序质量控制点,由专业项目部编制施工作业设计。

5.1.5 技术标准配备

本项目开工前,将按业主和图纸要求配备施工及验收规范、工程质量检验评定标准。为了中标后能立即投入工作,我公司现已配备了以下施工及验收规范和工程质量检验评定标准,中标后由专业项目部按专业施工需要进行配备,保证标准的覆盖率达到100%。进口设备资料到达后及时收集整理外方的安装标准并配备到专业施工队。引进设备安装应满足类似国内规范,也应符合随机技术资料中的技术要求和外方专家的要求。

5.1.5.1 施工及验收规范和质量评定标准

GB50026-93 工程测量规范

JGJ79-2002 建筑地基处理技术规范

GBJ201-83 土方与爆破工程施工及验收规范

GB50202-2002 建筑地基基础施工质量验收规范

GB50203-2002 砌体工程施工质量验收规范

GB50212-2002 建筑防腐蚀工程施工及验收规范

GB50204-2002 混凝土结构工程施工质量验收规范

JGJ18-96 钢筋焊接及验收规范

GB50209-2002 建筑地面工程施工质量验收规范

GB50205-2001 钢结构工程施工质量验收规范

JGJ8291 钢结构高强螺栓连接的设计、施工及验收规程

JGJ81-2002 建筑钢结构焊接与验收规范

GB8923-88 涂装前钢材表面锈蚀等级和除锈等级

JGJ27-86 钢筋焊接接头试验方法

GB50300-2001 建筑工程施工质量验收统一标准

GBJ30188 建筑工程质量检验评定标准

GB5022495 建筑防腐蚀工程质量检验评定标准

GB5016492 混凝土质量控制标准

GBJ10787 混凝土强度检验评定标准

GB/T503152000砌体工程现场检测技术标准

GB50221—95 钢结构工程质量检验评定标准

GBJ242-82 采暖及卫生工程施工及验收规范

GB5024397 通风与空调工程施工及验收规范

GBJ302-88 建筑采暖卫生与煤气工程质量检验评定标准

GBJ30488 通风与空调工程质量检验评定标准

GBJ30288 建筑采暖卫生与煤气工程质量检验评定标准

GBJ93-86 工业自动化仪表工程施工验收规范

GBJ131-90 自动化仪表安装工程质量检验评定标准

JGJ/T90-92 建设领域计算机软件工程技术规范

CECS81 工业计算机监控系统抗干扰技术规范

GBJ14790 电气装置安装工程高压电器施工及验收规范

GBJ14890 电气装置安装工程电力变压器、油浸电抗器、互感器施工及验收规范

GBJ14990 电气装置安装工程母线装置施工及验收规范

GB5015091 电气装置安装工程电气设备交接试验标准

GB5016892 电气装置安装工程电缆线路施工及验收规范

GB5016992 电气装置安装工程接地装置施工及验收规范

GB5017092 电气装置安装工程旋转电机施工及验收规范

GB5017192 电气装置安装工程盘、柜及二次回路接线施工及验收规范

GB5025496 电气装置安装工程低压电器施工及验收规范

GB50173-92 电气装置安装35KV及以下架空电力线踟施工及验收规范

GB50257-96 电气装置安装工程爆炸和火灾危险环境电气装置施工及验收规范

GB5025896 电气装置安装工程1KV及以下配线工程施工及验收规范

GB5025996 电气装置安装工程电气照明装置施工及验收规范

CECS4993 低压成套开关设备验收规程

YBJ21789 冶金电气设备安装工程施工及验收规范

GB50303-2002 建筑电气安装工程施工质量验收规范

YB923992 冶金电气设备安装工程质量检验评定标准

GB5017292 电气装置安装工程蓄电池施工及验收规范

GB5019493 建设工程施工现场供电安全规范

GBJ12689 工业设备及管道绝热工程施工及验收规范

GB5018493 工业金属管道工程质量检验评定标准

GB5018593 工业设备及管道绝热工程质量检验谱写标准

GB5023597 工业金属管道工程施工及验收规范

GBJ5023698 现场设备、工业管道焊接工程施工及验收规范

GB5023198 机械设备安装工程施工及验收通用规范

YBJ20183 冶金机械设备安装工程施工及验收规范(通用规定)

YB924993 冶金机械设备安装工程施工及验收规范(轧钢设备)

YB9245—92 冶金机械设备安装工程质量检验评定标准(轧钢设备)

GB5025294 工业安装工程质量检验评定统一标准

GB50271-98 金属切削机床安装工程施工及验收规范

GB5027598 压缩机、风机、泵安装工程施工及验收规范

GB5027898 起重设备安装工程施工及验收规范

YBJ20785 冶金机械设备安装工程施工及验收规范(液压、气动和润滑系统)

YB924692 冶金机械设备安装工程质量检验评定标准(液压、气动、润滑设备)

5.1.5.2 除按上述施工及验收规范和质量检验评定标准配备执行外,还应严格执行国家、市有关工程建设的法令法规文件。

 

第一节        劳动力组织

5.2.1 项目经理部根据项目建安工作量、施工进度计划、劳动生产率及其它因素安排项目施工各阶段的劳动力计划,并依此组织专业项目部的施工人员及时进场。

5.2.2 专业项目部按计划组织劳动力进场,满足工程进展所需的数量,特别是保证具备完成本项目所必备的技术素质。

5.2.3 从事有资质要求的工种的作业人员均为我公司职工,经过了相应的专业培训,并具有上岗证件,确保持证上岗。对电焊工、运转工、起重工等特殊技术工种人员加强培训,保证其技术素质。

5.2.4 施工现场配备有较好英语能力的各类管理人员。以保证业主提供的英文资料及时翻译。

5.2.5 劳动力计划

根据本工程特点及施工安排,参照我单位近年来劳动生产率完成情况,制订本工程各专业施工高峰劳动力计划,详见建筑及安装劳动力投入计划表。

建筑及安装劳动力投入计划表

 

土建专业

木工

钢筋工

水泥工

架工

抹灰工

瓦工

运转工

电气焊工

油工

电工

力工

司机

测量工

管理人员

合计

300

400

100

100

60

60

30

40

30

16

320

40

12

20

1528

结构安装专业

铆工

起重工

电焊工

气焊工

电工

测量工

司机

其他

管理人员

合计

160

60

60

30

10

20

15

80

20

455

机械设备安装专业

钳工

铆工

配管工

起重工

氩弧焊工

电焊工

气焊工

电工

测量工

司机

管理人员

合计

180

60

200

60

20

50

30

10

30

10

10

20

680

电气设备安装专业

电工

计器安装工

电钳工

电焊工

架工

电调工

计调工

司机

管理人员

合计

200

80

60

20

20

40

30

10

20

480

 

第一节        施工物资准备及施工机具配备

5.3.1 及时报出施工图材料预算,按月报出材料需用量计划,自行采购的材料,要注意市场行情,及时采购,按计划供货,同时要保证材料的质量;及时报出对业主供应材料的计划要求,确保不影响施工。

5.3.2 主要施工机械配备

计划投入的主要施工机械设备表

 

土建专业

序号

机械或设备名称

型号规格

数量

国别产地

制造年份

额定功率KW

生产能力

备注

1

液压静力压桩机

ZYJ320

3

湖南

2001

 

 

 

2

液压静力压桩机

ZYJ600

6

湖南

2001

 

 

 

3

履带式起重机

KH100

4

日本

1998

 

30t

 

4

履带式起重机

QV25

5

日本

1997

 

25t

 

5

液压反铲挖掘机

R942

4

上海

1995

125

1.6m3

 

6

液压反铲挖掘机

VHD2

2

日本

1990

 

0.4m3

 

7

自卸汽车

T815

15

捷克

1993

208

15t

 

8

推土机

T220

1

西安

1989

161

 

 

9

推土机

SH120

1

上海

1991

88

 

 

10

碾压机

YZ10

1

徐州

1997

73.5

10t

 

11

卷扬机

JTK-2

4

**

1994

7.5

 

 

12

砼搅拌站

HZQ100

1

阜新

1994

70

100m3/h

 

13

砼搅拌机

JSY500

2

上海

2000

40

25m3/h

 

14

砂浆搅拌机

UJ200

6

上海

1995

2.2

 

 

15

汽车吊

QY45

1

徐州

2000

 

45t

 

16

装载机

IL-40

2

厦门

1995

125

2 m3

 

17

砼运输车

MR4510

8

日本

1992

255HP

6 m3

 

18

砼泵车

DC-S115 B

4

日本

1994

145HP

85 m3/h

 

19

机动翻斗车

FE10A

8

武汉

1997

8.8

0.5 m3

 

20

交流电焊机

BX3-500

25

**

1997

20

 

 

21

钢筋切断机

GQ40-2

2

济南

1997

4

 

 

22

钢筋成型机

GW6-40

2

济南

1997

7.5

 

 

23

钢筋对焊机

UN1-100

2

北京

1998

100

 

 

24

蛙式打夯机

HW-201

15

**

1996

2.5

 

 

25

经纬仪

J2

4

德国

1992

 

 

 

26

水准仪

NA2 S1/S3

6

德国

1993

 

 

 

结构安装专业

1

履带式起重机

CCH2000

1

日本

2003

 

200t

 

2

履带式起重机

IHI1495-3A

4

日本

1997

 

100t

 

3

履带式起重机

CH500

5

日本

1989

 

50t

 

4

汽车吊

NK300

2

徐州

1998

 

30t

 

5

拖车

CN50GTL

5

日本

1985

194

40t

 

6

电焊机

BX3-500-2

40

上海

1997

30.5

 

 

7

直流电焊机

YD630SS

20

上海

1997

26

 

 

8

烘干箱

400

4

上海

1995

 

 

 

9

卷扬机

JTK-2

2

**

1996

7.5

 

 

10

压型板轧机

LD-750

4

厦门

1997

 

 

 

11

经纬仪

J2

10

瑞士

1993

 

 

 

12

水准仪

S2

6

德国

1995

 

 

 

13

千斤顶

3t5t10t

2

上海

1997

 

 

 

 

机械设备及管道安装专业

1

300t 汽车吊

TC2000

2

德国

1984

 

300t

若采用天车抬吊则此项机具可不使用

2

汽车吊

50t

1

徐州

1994

125

50t

 

3

汽车吊

16t

2

徐州

1996

99

16t

 

4

解放汽车

8t

1

长春

1996

 

8t

 

5

酸洗设备

2000L/min 0.8Mpa

4

自制

1998

 

 

 

6

滤油机

 

4

山东

1993

 

 

 

7

油冲洗设备

2000L/min

4

自制

1998

 

 

 

8

油液污染检测仪

NAS 0-12

1

德国

1995

 

 

 

9

电动试压泵

35Mpa

3

石家庄

1995

 

35MP a

 

10

交流电焊机

BX3-500

30

上海

1997

20

 

 

11

烘干箱

400

3

上海

1993

 

 

 

12

直流电焊机

AX-500

20

上海

1997

20

 

 

13

氩弧焊机

YC-300W 5-300A

20

上海

1996

 

 

 

14

X 射线探伤仪

XXQ3005

3

丹东

1997

 

 

 

15

超声波探伤仪

CA5-260A

1

汕头

1998

 

 

 

16

经纬仪

T2

4

瑞士

1997

 

 

 

17

经纬仪

蔡司全站仪

1

德国

2001

 

 

 

18

徕卡自动安平水准仪

NA2

4

瑞士

1997

 

 

 

19

液压煨管机

ф108

3

上海

1996

 

 

 

20

空压机

1.5m3

4

**

1995

 

 

 

21

精密方水平

0.01mm/m

20

上海

1995

 

 

 

22

螺旋千斤顶

16t

20

南京

1995

 

 

 

23

液压千斤顶

100t

16

济南

1998

 

 

 

24

平尺

5m

4

上海

1995

 

 

 

 

25

平尺

2m

8

上海

1995

 

 

 

26

长水平

0.05mm/m

30

上海

1995

 

 

 

27

液压煨管机

Ф108×5

5

南京

1994

 

 

 

28

塞尺

0.01mm

20

上海

2001

 

 

 

电气设备安装专业

1

汽车吊

16t

2

徐州

1996

99

16t

 

2

汽车吊

90t

1

 

1994

 

90t

 

3

液压煨管机

Ф108×5

2

济南

1993

 

 

 

4

套丝机

 

1

**

1999

 

 

 

5

滤油机

 

1

日本

1996

 

 

 

6

万用表

 

6

美国

1998

 

 

 

7

绝缘摇表

 

6

上海

1998

 

 

 

8

电流表

 

8

上海

1998

 

 

 

9

电压表

 

8

上海

1998

 

 

 

10

接地摇表

 

6

上海

1998

 

 

 

11

手拉葫芦

1t-3t

12

 

 

 

 

 

12

端子压接钳

各种规格

15

上海

1999

 

 

 

13

数字存储示波器

9301A

2

美国

1996

 

 

 

14

交直流数字KV

KVMS-200

2

上海

1996

 

 

 

15

多用试验仪

PJN-5210

2

法国

1998

 

 

 

16

万用电桥

PM-6302

2

荷兰

1998

 

 

 

17

西林电桥

QS1

2

上海

1998

 

 

 

18

接触电阻测试仪

GCJC-1

2

武汉

1999

 

 

 

19

高压开关机械特性测试仪

GKTJ-6

2

西安

1999

 

 

 

20

分合闸电源箱

CKZC-2

2

西安

1999

 

 

 

21

精密直流电阻箱

ZX-78

4

上海

1999

 

 

 

22

精密数字表

2501

2

日本

1996

 

 

 

 

 

23

直流标准源

2554

2

日本

1996

 

 

 

24

可控硅试验仪

EC-04

2

日本

1996

 

 

 

25

绝缘多项测试仪

3207-12

2

日本

1996

 

 

 

26

数字钳型表

777

2

日本

1996

 

 

 

27

交流电焊机

BX3-500

15

上海

1997

20

 

 

28

兆欧表

ZC25-4

4

上海

1999

 

 

 

29

数字万用表

FLUKE-45

2

美国

1996

 

 

 

30

光电转速表

0-3000rpm

2

日本

1996

 

 

 

31

相序指示表

RZL-2

2

上海

1999

 

 

 

32

交流稳压源

614A

2

上海

1999

 

 

 

33

交流试验变压器

YDJ-80

2

上海

1999

 

 

 

34

电缆试验器

JGS-2

2

上海

1999

 

 

 

 

施工总平面布置

第一节        施工总平面的管理

项目经理部工程部负责按项目施工组织总设计中的施工平面规划组织实施,做到专人管理,保证施工道路、用电、用水到位,物流畅通,现场的临时生产设施不应妨碍正式工程的施工。随着工程项目施工进展,实施动态定置管理,做到文明施工。

 

第一节        工程施工用电、用水

施工用水、用电到业主指定的电源点、水源点接取。

施工用水主干线用φ100 钢管敷设,并按消防要求设消防栓,在各施工区域引一路φ50 分管线供施工用水需要。施工用电点设分线从用电主干线取电,施工总用电量约2500KVA

 

第一节        施工道路

施工道路尽量设在正式道路位置,先按设计要求施工正式道路路基作为施工道路,做好排水沟,保证道路畅通,在施工完后完成正式道路路面。

 

第一节        工程施工现场临时设施

工程施工临时用地在现场的布置暂按如下考虑,待中标后,若业主另行指定场地,再做调整在现场设置钢筋及铁件加工场、钢构件堆场、混凝土搅拌站、现场办公室、仓库等临时设施,生活设施在场外解决。详见施工平面布置图。

临时用地计划表

 

用途

面积(m2)

位置

备注

混凝土搅拌站

4000

中厚板车间东北侧

 

钢筋铁件加工厂

1500

中厚板车间东北侧

 

现场办公室、仓库

1800

中厚板车间东北侧

 

钢构件堆场

2000

中厚板车间东北侧

 

合计

9300

 

 

 

主要施工方法

第一节        土建工程施工方法

7.1.1 测量定位

7.1.1.1 平面控制网布设

a)施工测量时,首先向建设单位接受测量控制起算点,作为本工程的坐标起算点。

b)利用施工现场红线桩,采用直角坐标法施测,标定出本工程的控制线。

c)控制线定位完毕,标定出纵横向控制线的交点,进行闭合检查,点位误差应符合规范要求。

d)点位检查合格后,作为施工控制网起算点,并做好点位保护工作。

e)申请业主或监理人员进行验线。

7.1.1.2 高程控制

a)向建设单位接收高程控制点作为本工程标高起算点。

b)在施工现场埋设半永久性高程控制点。

c)将高程自起算点引测至现场控制点。

d)全部点位应形成闭合控制网,闭合差应符合规范要求。

7.1.2 施工降水

由于地下水位较低,因此在施工基础期间,必须采取措施降低地下水位,拟较浅基础施工采用普通明沟和集水井排水法,较深基础和地下构筑物施工采用深井降水法。

a) 普通明沟和集水井排水法

在开挖基坑的四周设置排水明沟,在四角或每隔2030m 设一集水井,使地下水流汇集于集水井内,再用水泵将地下水排出基坑外。

排水沟、集水井在土方开挖至地下水位以前设置,并设在基础轮廓线以外,排水沟边缘距坡脚不小于0.3m,深度始终保持比挖土面低0.40.5m;集水井比排水沟低0.51.0m,并随基坑的深浅而变化保持水流畅通。

b) 深井井点降水法

采用深井井点降水法进行排水时,在基坑位置四周均匀布置适量的深井井点,并同时降水。

深井井点沿基坑周围均匀布置,井点埋深根据埋深确定。井管采用无砂混凝土管,管径400mm,水泵选用潜水电泵或深井泵,每井一台,并带吸水铸铁管或胶管,在井口安装75mm 阀门以便调节流量的大小。

深井井点施工程序为:井点测量定位挖井口、安护筒钻孔就位钻孔回填井底砂垫层吊放井管回填井管与孔壁间的砂砾过滤层洗井井管内下水泵,安装抽水控制电路试抽水降水井正常工作降水完毕拔井管封井。

成孔根据土质条件和井深要求,采用冲击钻钻孔,用泥浆护壁,成孔直径600mm,孔口设置护筒,以防孔坍方。孔直径较井管直径每边大100mm,成孔后应立即安装井管,以防坍孔。

深井井管沉放前应清孔,用压缩空气与潜水泵联合洗井。

井管用吊车下放,外壁绑长竹片导向。井管安放应力求垂直并位于井孔中间,管顶部比自然地面高500mm 左右,井管过滤部分应放置在透水层适当的范围内。井管下入后,及时在井管与土壁间填充砂砾滤料,粒径应大于滤网的孔径,为38mm 的细砾石。装料时应用铁锹人工下料,且一次连续完成,从底填到井口下1m 左右,上部采用不含砂石的粘土封口。

潜水泵安装前按规定清洗滤井冲除沉渣,对水泵本身控制系统先做一次全面细致的检查。检查各部分零件是否运转正常,电缆有无松动,破损等情况,然后在地面上空转35 分钟,如无问题,即可放入井内使用。

深井潜水电泵可用绳索吊入滤水层部位,上部与井管口连接固定,潜水电动机、电缆及接头应有可靠的绝缘保护,每台泵配置一个控制开关,主电源线路沿深井排水管路设置,安装完毕后应进行试抽水,满足要求后方可转入正常工作。降水1015天后可进行挖土。

7.1.3 管桩机械静压法施工

1、施工程序

静压预制桩的施工程序为:测量定位 桩机就位吊桩插桩桩身对中调直静压沉桩接桩再静压沉桩终止压桩切割桩头。

2、压桩方法

压桩时,桩机就位系利用行走装置完成,由横向行走(短船行走)、纵向行走(长船行走)和回转机构组成。把船体当作铺设的轨道,通过横向和纵向油缸的伸程和回程使桩机实现步履式的横向和纵向行走。当横向两油缸一只伸程,另一只回程可使桩机实现小角度回转。桩用起重机吊运至桩机附近,再利用桩机自身设置的起重机可将预制混凝土管桩吊入夹持器中,夹持油缸将桩从侧面夹紧,压桩油缸伸程,把桩压入土层中。伸长完后,夹持油缸回程松夹压桩油缸回程,重复上述动作,可实现连续压桩操作,直至把桩压人预定深度土层中。当桩歪斜,压桩抽缸回程,可将压人土层中的桩拔出,实现拔桩作业。

3、施工要点

压桩应连续进行,接桩面应保持于净,上下桩中心线应对齐,节点矢高不得大于1桩长。

压桩应控制好终止条件,对纯摩擦桩,终压时以设计桩长为控制条件,对长度大于21m 的端承摩擦型静压桩应以设计桩长控制为主,终压力值作对照:对一些设计承载力较高的桩基,终压力值宜尽量接近压桩机满载值;对长142lm 静压桩应以终压力达满载值为终压控制条件:对桩周土质较差且设计承载力较高的,宜复压12 次为佳,对长度小于14m 的桩,宜连续多次复压,特别对长度小于8m 的短桩,连续复压的次数应适当增加。

静力压桩单桩竖向承载力,可通过桩的终止压力值大致判断,但因土质不同而异,并不等于单桩的极限承载力,要通过静载对比试验来确定一个系数,然后再利用系数和终压力,求出单桩竖向承载力标准值。如判断终止压力值不能满足设计要求,应立即采取送桩加深处理或补桩,以保证桩基的施工质量。

4、质量检验

桩的质量检验同锤击法沉桩,但可利用压桩机作反力平衡装置进行桩的静载试验,可省去设置锚桩和反力梁等。

钢筋混凝土预制管桩允许偏差

 

项目

允许偏差(mm)

检验方法

桩中心位置偏移

有基础梁

的桩

垂直基础梁的中心线方向

100

用经纬仪或拉线和尺量检查

沿基础梁的中心线方向

150

桩数为12 根的单排桩

100

桩数320

d/2

桩数多于20

边缘桩

d/2

中间桩

d

按标高控制的打入桩桩顶高差

-50100

用水准仪和

尺检查

7.1.4 土方工程

7.1.4.1 土方开挖

a)开挖前准备工作:编制土方开挖施工作业设计,并报业主或监理审批;复测场地自然地坪标高;复测建筑物位置的标准轴线及灰线尺寸;清除障碍物。

b)土方采用机械开挖,人工配合修坡清底。

c)工艺流程:测量定位、抄平放线 分段分层顺序开挖 基槽清底 验槽。

d)柱基础土方原则上采用单坑开挖,设备基础土方采用大开挖的方式施工。

e)安排1.6m3 反铲挖掘机进行大面积土方开挖,0.4m3 反铲挖掘机进行小量土方施工,基底留20cm 厚土层人工开挖。土方运输视弃土地点远近现场安排多台土方运输车。

f)挖土时应从基坑(槽)一角自上而下进行,边挖边检查基坑尺寸、标高和边坡高度是否符合要求,并配合人工削坡、清底至设计标高。

g)对定位校准桩、轴线引桩、校准点等,挖土时不得碰撞,并应经常测量和校准平面位置。定位校准桩和水准点应定期复测。

h)人工清底至设计标高后应及时验槽并请监理人员进行验收,验收合格后及时浇筑混凝土垫层。

7.1.4.2 土方回填

a)基础隐蔽工程检验通过后,应及时进行回填。

b)回填料材质及密实度应符合设计要求。

c)回填时应对称分层碾压或夯实,分层厚度不超过规范要求。基底标高变化部位应先夯实深的部位,再与浅的部位一起夯填,每层压实后,应按规范规定取样试验。

d)回填压实后应检查轴线有无走动,基础是否损坏,待业主或监理人员确认后才可进行下道工序施工。

7.1.5 钢筋工程

7.1.5.1 钢筋制作

a)钢筋进场必须有出厂合格证,进场后按规定进行抽样检验,经检验合格后才能使用。各种规格、各种级别的钢筋分类堆放,并进行类别和检验状态的标识。

b)钢筋翻样人员要熟识图纸、会审记录和施工规范,按图纸要求的钢筋规格、形状、尺寸、数量准确地填写钢筋料表,计算出钢筋的用量。

c)钢筋表面应洁净,粘着的油污、泥土、浮锈使用前须清理干净。

d)在现场设置钢筋加工厂,钢筋在现场加工成型。钢筋采用机械加工,水平钢筋接长在钢筋加工厂采用闪光对焊。现浇柱等竖向主筋直径在18mm 以上时,采用现场套筒冷挤压连接。

e)钢筋切断应根据钢筋型号、直径、长度和数量,长短搭配,先断长料后断短料,尽量减少和缩短钢筋短头,以节约钢筋。

f)柱、梁的箍筋必须成封闭型,开口处设置135 度弯钩,弯钩长度不小于10dd 为箍筋直径)。

g)钢筋对焊接头和焊接制品的机械性能必须符合钢筋焊接及验收的专门规定。

7.1.5.2 钢筋绑扎与安装

a)熟识图纸,核对半成品钢筋的级别、直径、尺寸和数量是否与料牌相符,如有错漏应纠正增补。

b)划出钢筋安装位置线,如钢筋品种较多时,应在混凝土垫层或已安装好的模板上标明钢筋规格、形状和数量。

c)基础

钢筋网的绑扎,四周两行钢筋交叉点应每点扎牢,中间部分每隔一根相互成梅花式扎牢,双向主筋的钢筋,必须将全部钢筋相互交点扎牢,注意相邻绑扎点的铁丝扣要成八字形绑扎。

基础底板采用双层钢筋网时,在上下层钢筋之间设置钢筋马凳,底板500 厚以上时采用角钢固定架,以保证上层钢筋位置的正确和两层钢筋之间距离。

180°弯钩的钢筋弯钩应向上,不要倒向一边;但双层钢筋网的上层钢筋弯钩应朝下。

独立柱基础的钢筋网双向弯曲受力,如设计图纸没有规定绑扎方法时,其短向钢筋应放在长向钢筋的上边。

d)

竖向钢筋的弯钩应朝向柱心,角部钢筋的弯钩与模板面夹角应为45°,弯钩和模板所成的角度不应小于15°

箍筋的接头应交错排列垂直放置,箍筋转角与竖向钢筋交叉点均应扎牢,绑扎箍筋时铁丝扣要相互成八字绑扎。

e)梁与板

纵向受力钢筋出现双层或多层排列时,两排钢筋应垫以直径25mm 的短钢筋,如纵向钢筋直径大于25mm 时,短钢筋直径规格与纵向钢筋相同规格。

箍筋的接头应交错设置,并与两根架立筋绑扎。

板、次梁与主梁交叉处,板的钢筋在上,次梁的钢筋在中间,主梁的钢筋在下,当有圈梁

或垫梁时,主梁钢筋在上。

f)钢筋的绑扎接头应符合下列规定:

搭接长度的末端距钢筋弯折处不得小于钢筋直径的10 倍,接头不宜位于构件最大弯矩处;

受拉区域内,级钢筋绑扎接头的末端应做弯钩,级钢筋可不做弯钩;

直径不大于12mm 的受压级钢筋的末端以及轴心受压构件中任意直径的受力钢筋的末端,不做弯钩,但搭接长度不应小于钢筋直径的35 倍;

钢筋搭接处应在中心和两端用铁丝扎牢;

绑扎网和绑扎骨架的允许偏差表(mm

 

 

允许

差偏

检验方法

网的长、宽

±10

尺量检查

网眼尺寸

±20

尺量连续三档取其最大值

骨架的宽及高

±5

尺量检查

骨架的长

±10

尺量检查

箍筋间距

±20

尺量连续三档取其最大值

受力钢筋

间距

±10

尺量两端中间各一点取其最大值

排距

±5

钢筋位置的允许偏差表(mm

 

项目

允许偏差

检验方法

受力钢筋的排距

±5

尺量两端中间各一点取其最大值

钢筋弯起点位置

20

尺量检查

箍筋、横向钢筋间距

绑扎骨架

±20

尺量连续三档取其最大值

焊接骨架

±10

焊接预埋件

中心线位置

5

尺量检查

水平高差

3.0

受力钢筋的保护层

±10

尺量检查

柱、

±5

板、墙、壳

±3

 

7.1.6 模板工程

7.1.6.1 该工程现浇混凝土构件采用定型钢模,钢脚手管背楞,ф48 脚手管支撑体系,尺寸不足、异形和预留孔部位采用木模。

7.1.6.2 根据工程结构形式和特点及现场施工条件进行模板排版图设计,确定模板平面布置、内外楞规格、排列尺寸和预埋螺栓、套管的位置。

7.1.6.3 确定支撑系统的形式、间距和布置,根据规范验算内外楞和支撑系统的强度、刚度和稳定性,绘制全套模板排版图(包括模板平面布置图、立面图、组装图、节点大样图、零件加工图、材料表等)

7.1.6.4 模板数量应在模板排版图设计时结合流水段划分,进行综合研究,合理确定模板的配制数量。

7.1.6.5 模板分规格堆放,并涂好脱模剂。

7.1.6.6 根据模板排版图,放好轴线和模板边线,定好立口位置和水平控制标高,墙、柱模板底边应做水泥砂浆找平层。

7.1.6.7 钢筋绑扎完毕,水电管线及预埋件已安装,绑好钢筋保护层垫块,并办完隐蔽验收手续。

7.1.6.8 按图纸和规范要求向班组进行安全、技术交底。

7.1.6.9 基础模板安装

a)根据基础墨线固定好压脚板,用模板连接件把模板扣紧固定。

b)四周备楞及支撑,并将钢筋位置固定好,复核无误。

7.1.6.10 柱模板安装

a)按照放线位置固定好压脚板,然后按柱模板排版图的模板位置,由下至上安装模板,模板之间用模板连接件扣紧固定,转角位置用阳角模板连接。

b)安装柱箍:柱箍可用钢管、型钢等制成,柱箍应根据柱模尺寸、侧压力大小等因素进行设计选择,必要时可增加对拉螺栓。

c)安装柱模的拉杆或斜撑:柱模每边的拉杆或顶杆,固定于事先预埋的钢筋环上,用花篮螺栓或可调节螺杆校正模板的垂直度,拉杆或顶杆的支承点要牢固可靠,与地面的夹角宜不大于45 度。

d)柱模的下脚必须留有清理孔,便于清理垃圾。

7.1.6.11 梁模板安装

a)在柱子上弹出轴线、梁位置线和水平线。

b)梁支架的排列、间距要符合模板设计和施工方案的规定,一般情况下,其间距为4001000mm不等,具体视模板内外楞排列而定。

c)按设计标高调整支柱的标高,然后安装模板内外楞,铺上梁底板,并拉线找平。当梁底板跨度等于及大于4m 时,梁底应按设计要求起拱,如设计无要求时,起拱高度为梁跨度的13

d)支顶之间应设水平拉杆和剪刀撑,其竖向间距不大于2m,支顶若支承在基土上时,应对基土平整夯实,并满足承载力要求,并加木垫板或混凝土垫块等有效措施,确保混凝土在浇筑过程中不会发生下沉。

e)梁的两侧模板通过阴、阳角模板和连接件连接固定。

f)当梁高超过750mm 时,侧模宜增加对拉螺栓。

g)梁柱接头的模板构造应根据工程特点进行设计和加工。

7.1.6.12 平台板模板安装

a)底层地面应夯实,并铺垫脚板。采用多层支架支模时,支顶应垂直,上下层支顶应在同一竖向中心线上,而且要确保多层支架间在竖向与水平向的稳定。

b)支顶与模板内外楞的排列和间距,应根据平台板的混凝土重量和施工荷载大小在模板设计中确定,一般情况下支顶间距为8001200mm,外楞间距为6001200mm,内楞间距为600750mm,且支顶排列要考虑设置施工通道。

c)铺模板时可从一侧开始铺设,模板间用连接扣件连接固定,对拼缝不足部分可用木模代替。

d)平台面模板铺完后,应检查支柱是否牢固、模板之间连接的连接件有否脱落、漏设等,然后将楼面清扫干净。

e)模板工程验收重点为控制标高、垂直度、平整度,对于设备基础应把螺栓、预埋管件、预留孔等作为验收的重点。

现浇结构模板安装的允许偏差表(mm

 

允许偏差

检验方法

轴线位置

5

尺量检查

底模上表面标高

±5

用水准仪或拉线和尺量检查

截面内部尺寸

基础

±10

尺量检查

柱、墙、梁

4     5

每层垂直度

3

2m 托线板检查

相邻两板表面高低差

2

用直尺和尺量检查

表面平整(2m 长度上)

5

2m 靠尺和楔形塞尺检查

 

预埋件和预留孔洞的允许偏差表(mm

 

项目

允许偏差

检验方法

预埋钢板中心线位置

3

拉线和尺量检查

预埋管、预留孔中心线位置

3

预埋螺栓

中心线位置

2

外露长度

10 0

预留洞

中心线位置

10

截面内部尺寸

10  0

 

7.1.6.13 模板拆除

a)非承重模板(墙、梁侧模)拆除时,结构混凝土强度不宜低于1.2Mpa

b)承重模板(梁、板底模)的拆除时间应符合规范要求。

c)拆模顺序为后支先拆,先支后拆,先拆非承重模板,后拆承重模板。

d)柱子模板拆除

先拆除斜拉杆或斜支撑,然后拆除柱箍及对拉螺栓,接着拆除连接模板的连接件最后用撬棍轻轻撬动模板,使模板与混凝土脱离。

e)平台板、梁模板拆除

平台板模板分单元进行拆除,拆除时从一端向另一端一个单元一个单元拆除,先拆除模板支撑体系,然后拆除模板连接件,最后用撬棍轻轻撬动模板,使模板逐块拆下。

拆除跨度较大的梁下支撑时,应先从跨中开始,分别向两端拆除。

f)拆模时不要用力过猛,拆下来的材料要及时运走。钢模板要逐块传递下来,不得抛扔,拆下来后即清理干净,板面涂刷隔离剂,按规格分类堆放整齐。

现浇结构拆模时所需混凝土强度表

 

结构类型

结构跨度(m

按设计的混凝土强度标准值的百分率计(%)

2

50

28

75

8

100

梁、拱、壳

8

75

8

100

悬臂构件

2

75

2

100

7.1.7 混凝土工程

7.1.7.1 在现场新建混凝土搅拌站,电子称计量。混凝土浇筑主要采用搅拌车运输,混凝土泵输送混凝土入模的方法施工;局部小体积混凝土可采用机动翻斗车运输,人工送混凝土入模的方法施工。

7.1.7.2 材料的要求

a)水泥采用散装水泥。水泥进场时应有出厂合格证,要核对其品种、标号和出厂日期,并按要求进行复试。

b)砂子、石子、粉煤灰、外加剂等原材料严格按相关技术标准进行检验和控制。

c)根据配合比确定的每盘各种材料用量要过称。

d)装料顺序:先装石子,再装水泥,最后装砂子,如需加掺合料时,掺合料与水泥一并加入。

e)混凝土搅拌的最短时间应符合规范的规定;掺有外加剂时,搅拌时间应适当延长;粉煤灰混凝土的搅拌时间宜比基准混凝土的搅拌时间延长1030s

7.1.7.3 混凝土浇筑

a)现浇混凝土的浇筑主要采用搅拌车运输,混凝土泵输送的方法浇筑;局部小体积混凝土可采用机动翻斗车运输,人工送混凝土入模的方法施工。

b)混凝土浇筑前应对模板温润处理,模板的清扫口应在清除杂物及积水后再封闭。

c)混凝土自出料口下落的自由倾落高度不得超过2m,如超过2m 时必须采用串筒或其它防止混凝土离析的措施。

d)浇筑混凝土时应分段分层进行,每层浇筑高度应根据结构特点、钢筋疏密程度决定。一般分层高度为插入式振动器作用部分长度的1.25 倍,最大不超过500mm

e)混凝土入模处,每处配备2 只插入式振捣器,振捣时快插慢拔,振动时间以不冒气泡为止,插入点间距为300mm,呈梅花状布置,插入深度为进入下层510cm 为宜。

f)混凝土浇筑应连续进行,如必须间歇,时间应尽量缩短,并应在前层混凝土初凝前将混凝土浇筑完毕。间歇的最长时间应按所用水泥品种及混凝土初凝条件确定。

g)浇筑混凝土时应派专人经常观察模板、钢筋、预留孔洞、预埋件、插筋等有无位移变形或填塞情况,发现问题应立即停止浇筑,并在混凝土初凝前修整完毕。

h)柱混凝土浇筑

柱混凝土浇筑前,应在底面铺上一层50mm 厚与混凝土配比相同的水泥砂浆,以保证柱根部的质量。

柱混凝土应分层浇筑、振捣,每层浇筑厚度控制在500mm 左右。

i)梁、板混凝土浇筑

和板连成整体的大断面梁可单独浇筑。

楼板浇筑的虚铺厚度应略大于板厚,用振动器垂直于浇筑方向振捣。

浇筑梁、板混凝土时,应在柱混凝土浇筑完毕后停歇11.5 小时,使其初步沉实,再继续浇筑混凝土。

7.1.7.4 施工缝留置与处理

柱施工缝可留设在基础顶和梁底处;梁施工缝可留置在次梁跨度中间的三分之一范围内;和板连成整体的大断面梁单独浇筑时,其施工缝应留设在板底下2030mm 处。

在施工缝处继续浇筑混凝土时,已浇筑的混凝土抗压强度不应小于1.2Mpa,在已硬化的混凝土表面上继续浇筑混凝土前,应清除垃圾、水泥薄膜、表面上松动砂石和软弱混凝土层,用水冲洗干净并充分湿润后,先浇筑一层与混凝土成分相同的水泥砂浆,然后继续浇筑混凝土。

7.1.7.5 混凝土养护

混凝土浇筑12h 以后,即可进行养护工作。夏季采用覆盖草袋浇水养护,养护时间一般为714 天。

7.1.7.6 混凝土试块制作与养护

试块的制作、取样将按业主和监理单位的统一安排执行,试块组数应满足100m3 不少于一组,每台班不少于一组,并在现场随时核对混凝土坍落度。现场设试块标准养护室进行标准养护,建立台帐,专人管理。

7.1.8 砌筑工程

a)砖墙的工艺流程为:作业准备砖浇水砂浆搅拌砌砖墙验收。

b)砌筑所用的砖、水泥、砂等均按有关规范进行检验,合格后方可进行使用。

c)按设计强度等级进行砂浆配比,并有试验部门提供的配合比单。

d)砌体施工应弹好建筑物的主要轴线及砌体的砌筑控制边线,经有关技术部门进行技术复核,检查合格,方可施工。

e)设置皮数杆,并根据设计要求、砌块规格和灰缝厚度在皮数杆上标明皮数及竖向构造的变化部位。

f)砖墙(砖砌体)砌筑应上下错缝,内外搭砌,灰缝平直,砂浆饱满,水平灰缝的厚度和竖向灰缝的宽度一般为10mm,但不小于8mm,也不应大于12mm。推行一块砖、一铲灰、一揉剂三一砌法,不准采用推尺铺灰法或摆砖砌法,使水平灰缝砂浆饱满度>80%。

g)砖墙的转角处和交接处应同时砌筑,对不能同时砌筑而又必须留置的临时间断处应砌成斜槎或砌成直槎加设拉结筋。

h)结构砌砖采用一顺一丁组砌形式砌筑,每层最下三皮采用实心砖砌筑,窗台采用三皮实心砖砌筑,承重墙墙顶采用两皮实心砖排丁砌筑。

i) 填充隔墙不宜一次砌筑到顶,在梁底留23皮,3天后采用立砖或侧砖,斜砌挤紧,砂浆应饱满。

j) 门窗采用砌砖预留口后塞口的方法,窗口两侧固定铁脚外脚处砌混凝土预制砖,木门洞口两侧采用混凝土砌块内嵌木砖预制联合体,木砖防腐处理。施工洞口、门窗过梁搁置采用1:3水泥砂浆,搁置长度各为250mm

k) 构造柱采用三进三退马牙槎,先退后进并有2Φ6弯钩钢筋伸进墙内1000mm,上下垂直间距为500mm

l)砖墙在砌筑前一般隔夜浇水湿润,具体可视天气变化而定。

砖砌体尺寸、位置的允许偏差和检验方法

 

相次

项目

允许偏差(mm)

检验方法

1

轴线位置偏移

10

用经纬仪或拉线和尺量检查

2

基础和墙砌体顶面标高

±15

用水准仪和尺量检查

3

垂直度

每层

5

2m 托线板检查

全高

10m

10

用经纬仪或吊线和尺量检查

>10m

20

4

表面平整度

清水墙、柱

5

2m 靠尺和楔形塞尺检查

混水墙、柱

8

5

水平灰缝平直度

清水墙

7

10m 线和尺量检查

混水墙

10

6

水平灰缝厚度(10 皮砖累计数)

±8

与皮数杆比较尺量检查

7

清水墙游丁走缝

20

吊线和尺量检查,以底层第一皮砖为准

8

门窗洞口(后塞口)

宽度

±5

尺量检查

门口高度

+15(-5)

9

预留构造柱截面(宽度、深度)

±10

尺量检查

10

外墙上下窗口偏移

20

用经纬仪或吊线检查,以底层窗口为准

7.1.9 脚手架工程

1)脚手架基层应夯实,立管下铺垫木板或槽钢。

2)按施工设计放线、铺垫板、设置底座或标定立杆位置。

3)外脚手架采用双排钢管脚手架,按步距1.8m,小横杆、立杆间距离 1.8m,大横杆间距1m搭设,并要求与建筑物拉结,每8m 设剪刀撑一处。外脚手架随施工层挂安全网,且高于操作面1.5m,并在建筑物外侧设安全可靠的斜坡道,确保操作人员上下架子安全。

(4) 各类拉结、支撑点应符合规范要求,软拉结应双股并联,不得拉结在窗框、水落管和锈蚀的金属预埋件上。设置预埋硬拉结处,混凝土强度应达到设计标准,硬拉结与脚手架里立杆连接点不准采用电焊焊接。剪刀撑、斜杆等整体拉结杆件和连墙件随搭升的架子一起及时设置。

(5) 脚手板或其它铺板铺平铺稳,必要时应予绑扎固定。对接时,在对接处,与其下两侧支承横杆的距离控制在100200mm 之间。

7.1.10 装饰工程

(1) 外墙抹灰

a)工艺流程:基层处理 找方贴饼抹灰罩面。

b) 施工方法及要求

抹灰前将墙面基层表面的灰尘、污垢的油渍等清除干净,并洒水湿润。混凝土部位需凿毛,墙面凿平,凹处用1:3 水泥砂浆补平,补平层较厚时应分层进行,厚度超过40mm 时要在基层上设钢丝片后再用砂浆抹平。

外墙大角采用钢丝拉直作垂直度控制线,并做上、下塌饼和横向水平塌饼。

根据塌饼厚度用粉刷砂浆刮糙,窗盘泛水要从刮糙层做起。

糙坯层表面用刮尺刮平整。

面层厚为8mm,以每层分格缝为界,分层、分界进行施工。

(2)室内抹灰

a)工艺流程:基底处理底层抹灰中层抹灰面层抹灰。

b)施工方法:

抹灰前对基底表面的灰尘、污垢、油渍、碱膜等均应仔细清除干净,并洒水湿润,混凝土表面应预先进行剥皮斩毛处理,用素水泥浆扫毛一遍。混凝土表面采用界面处理剂,减少剥皮斩毛工序。

抹灰一般按照先上后下的原则进行,以便做到减少修理,保护成品。

在墙面上用2m 托线板进行挂线做塌饼,洒水湿润墙面,用1:2 水泥砂浆做好门窗及阳角的侧边和护角,然后做竖筋刮糙。

墙面基底凹凸不平或抹灰层较厚处必须先用砂浆分层垫平,每层厚度不宜大于20mm,必要时可用钢丝网加固。

底层抹灰应压实粉平,使其粘贴牢固,中层应待底层稍干后方能进行操作,并用刮尺打平整。

罩面应待中层达到六七成干后进行,先从阴角、阳角开始,铁板压光应不少于二遍,厚度不大于2mm

(3) 天棚抹灰

a)工艺流程:基底处理底层抹灰罩面。

b)施工方法:

垂直于模板抹底子灰,用力压实,越薄越好。

第二遍紧跟底子灰顺模方向抹,用软刮尺刮平,木抹子搓平。

待底子灰七成干时抹罩面灰,必须两遍成活。第一遍薄抹,紧跟着抹第二遍,待灰稍干,顺抹纹压实压光。

抹灰允许偏差项目表

 

项目

允许偏差(mm)

检验方法

普通

中级

高级

 

表面平整

5

4

2

2m靠尺和楔形塞尺检查

阴、阳角垂直

-

4

2

2m托线板检查

立面垂直

-

5

3

阴、阳角方正

-

4

2

用方尺和楔形塞尺检查

分格条()平直

-

3

 

5m线和尺量检查

7.1.11 门窗安装工程

a)门、窗框表面要求平正光滑,安装后要注意成品保护,以免工具碰撞,造成变形,影响窗扇推拉。

b)门窗框安装工作应在装饰工程施工前进行。

c)框与墙体的固定:钢门窗采用预埋铁件连接,木门窗采用预埋木砖连接,铝合金门窗采用专门连接件和钢钉或膨胀螺栓固定。

d)框与墙体间缝填嵌的材料采用膨胀泡沫聚氨酯条,且在框两侧留58mm深槽口填嵌油膏,以避免框边收缩产生缝隙导致渗水,嵌缝油膏的表面应平整、光滑。

e)门窗安装时找好中线、标高线,使门窗上下垂直、左右门窗扇标高一致。门窗的安装尺寸要控制在规范允许偏差范围内。

木门窗安装允许偏差

 

项目

允许偏差(mm)

检验方法

 

框的正、侧面垂直度

3

1m托线板检查

框对角线长度差

2

3

尺量检查

框与扇、扇与扇接触处高低差

2

用直尺和楔形塞尺检查

门窗扇对口和扇与框间留缝宽度

1.52.5

用楔形塞尺检查

工业厂房双扇大门对口留缝宽度

25

框与扇上缝留缝宽度

1.01.5

窗扇与下坎间留缝宽度

23

门扇与地面间留缝宽度

外门

45

内门

68

卫生间门

1012

厂房大门

1020

门扇与下坎间留缝宽度

外门

45

内门

35

 

 

钢门窗安装的允许偏差值

 

项目

允许偏差(mm)

检验方法

门窗框两对角线长度差

2000mm

5

用钢卷尺检查,量里角

>2000mm

6

窗框扇配合间隙的限值

铰链面

2

2×50塞片检查,量铰链面

执手面

1.5

1.5×50塞片检查,量框大面

窗框扇搭接量的限值

实腹窗

2

用钢针划线和深度尺检查

空腹窗

4

门窗框(含拼樘料)正侧面垂直度

3

1m托线板检查

门窗框(含拼樘料)的水平度

3

用水平尺和楔形塞尺检查

门无下槛时,内门扇与地面留缝限值

48

用楔形塞尺检查

双层门窗内外框挺(含拼樘料)的中心距

5

用钢板尺检查

铝合金门窗安装允许偏差值

 

项目

允许偏差(mm)

检查方法

门窗框对角线长度差

2000mm

2

钢卷尺检查量里角槽口

>2000mm

3

门窗框(含拼樘料)垂直度

2000mm

2

用托线板检查

>2000mm

2.5

门窗框(含拼樘料)水平度

2000mm

1.5

用水平尺和楔形塞尺检查

>2000mm

2

门窗扇与框或相邻扇立边平行度

2

用钢板尺检查与基

门窗横框标高

5

准线比较

门窗框扇搭接宽度差

1

用深度尺或钢板尺

同樘门窗相邻窗横端角高度差

2

检查

门窗扇启闭力

面积1.5m2

40N

100N 弹簧测力计检查启闭五次取平均值

面积>1.5m2

60N

地弹

簧门

门窗对口缝或扇与框之间竖、横缝

24

用楔形塞尺检查

留缝限值

 

 

门窗与地面间隙留缝限值

27

门扇对口缝关闭时平整

2

用深度尺检查

双层门窗内外框、挺(含拼樘料)中心距

4

用钢板尺检查

7.1.12 楼地面工程

7.1.12.1 钢筋混凝土地面

a)工艺流程:素土夯实浇筑混凝土垫层钢筋绑扎弹面层水平线浇灌混凝土振实三遍压光养护切缝养护。

b)施工方法:

素土夯实,回填土每层不超过300mm分层夯实,用水准仪找平,浇筑混凝土垫层。

钢筋绑扎前先按图纸将料下好,待垫层有一定强度后进行绑扎,特别注意伸缩处的钢筋位置,如地坪采用双层钢筋,则用钢筋马凳将上层筋托起,验收后进行混凝土浇筑。

混凝土浇筑前编制混凝土浇筑方案,从一头向后退着浇筑混凝土,连续进行浇捣,采用混凝土平板振动器将混凝土振捣密实,随振捣随压光,不准在表面撒干水泥压光。

地坪混凝土浇筑完毕后,待有一定强度时,进行缩缝切割,混凝土缩缝采用混凝土切割机进行,切缝前,按图纸设计的要求在地坪上弹出分格线,按分格线切割,切缝深度控制在30mm

7.1.12.2 水泥砂浆楼地面

a)工艺流程:清理基层弹面层水平线洒水湿润刷素水泥浆铺设砂浆滚压三遍压实洒1:1水泥砂干料抹压光养护。

b)施工方法:

清除楼面上的混凝土浮浆及砂浆,并冲水清扫干净。

在清理干净的垫层(楼板)上按标高线做出灰饼及冲筋,用直尺刮平面层。

用打滚筒滚出浆头,用木抹子抹出浆后,用铁抹子压光,压光至无纹为止。

砂浆初凝前抹平,抹光时不得撒水泥,可采用11水泥砂干料压实抹平。

施工一昼夜后要覆盖养护,洒水养护不少于7天,并注意成品保护。

水泥砂浆地面的允许偏差和检验方法

 

项目

允许偏差

检验方法

表面平整度

4

2m靠尺和楔形塞尺检验

踢脚线上口平直度

4

5m长线,不足5m拉通线和尺量检验

格缝平直度

3

5m长线,不足5m拉通线和尺量检验

 

7.1.12.3 水磨石楼地面

a)工艺流程:做找平层分格条镶嵌抹面层磨光打腊

b)施工方法

清除楼地面上的混凝土浮浆及砂浆,并浇水湿润。

按标高线做出灰饼及冲筋,抹找平层,用直尺刮平压实。

用素水泥浆在分格条下部抹成八字角通长嵌固分格条。

抹面层并用直尺刮平压实,同时对面层进行浇水养护。

对面层进行研磨,并检查其平整度、光滑度,达到要求后即可擦草酸打磨出光。

用布将蜡均匀地涂刷在水磨石面上,待蜡干后用布进行磨光。

水磨石地面的允许偏差和检验方法

 

项目

允许偏差(mm)

检验方法

普通水磨石

高级水磨石

表面平整度

3

2

2m靠尺和楔形塞尺检验

踢脚线上口平直

3

3

5m长线,不足5m拉通线尺量检查

格缝平直度

3

2

5m长线,不足5m拉通线尺量检验

 

7.1.13 屋面卷材防水施工

7.1.13.1 找平层表面应压实平整,排水坡度应符合设计要求。找平层水泥砂浆抹平收水后二次压光,

充分养护,不得有酥松、起砂、起皮现象。

7.1.13.2 基层与突出屋面结构,以及基层的转角外均做成圆弧。圆弧半径100150mm

找平层的允许偏差和检验方法

 

项次

项目

允许偏差(mm)

检验方法

1

表面平整度

5

2m 靠尺和楔形塞尺检查

2

预制找平层接缝高低差

3

用直尺和楔形塞尺检查

 

7.1.13.3 铺设卷材防水前,基层必须干净、干燥。

7.1.13.4 屋面防水施工时,先做好节点、附加层和屋面排水等较集中部位的处理,然后由屋面最低标高处向上施工。铺贴天沟、檐沟卷材时,顺天沟、檐沟方向,减少搭接。

7.1.13.5 铺贴卷材采用搭接法,上下层及相临两幅油毡的搭接缝错开。上下层卷材不得相互垂直铺贴。平行于屋脊的搭接缝顺流水方向搭接;垂直于屋脊的搭接缝应顺年最大频率风向搭接,搭接长度符合规范要求。

卷材防水层的允许偏差和检验方法

 

项次

项目

允许偏差

检验方法

1

卷材搭接宽度

-10mm

尺量检查

2

玛碲脂软化点

±5

检查铺贴时的测试记录

3

沥青胶结材料使用温度

-10

检查铺贴时的测试记录

 

7.1.14 沉降观测

7.1.14.1 点位布置、埋设

a)点位布置按设计图纸要求,埋设永久性沉降观测点,如观测需要可增设临时沉降观测点,并进行点位高程引测测量。

b)沉降观测点埋设要求如下:

保证在观测点有良好的通视条件。

临时观测点与永久观测点的水平距离不大于1.5m,高差也不大于1.5m

观测点与柱面应有30-40mm 的空隙,以便于放置水准尺。

7.1.14.2 沉降观测的时间和次数

a)柱基础、设备基础底板施工完后23 天应及时进行首次观测。

b)较大荷重增加前后(如厂房柱安装、平台混凝土浇筑等),均应进行观测。

c)当基础附近地面荷重突然增加,周围大量积水及暴雨后,或周围大量挖方等,应进行观测。

d)如上部荷载变化不大时,根据沉降量大小及速度调整沉降观测时间,开始一个月一次,随着沉降速度的减慢逐渐延长至沉降稳定。

7.1.14.3 沉降观测工作的要求

沉降观测应尽可能做到四定:

固定人员观测和整理资料。

固定使用的水准仪及水准尺。

使用固定的水准点。

按规定的日期、方法和路线进行观测。

7.1.14.4 沉降观测资料整理

沉降观测资料应包括以下内容:

沉降观测点平面位置布置图。

根据水准点测量得出的各测点的高程和每次沉降量、累计沉降量、沉降曲线图。

测量仪器设备的计量检定证书,测量人员上岗证。

7.1.15 设备基础施工

a) 基础支模采用定型钢模,Φ48 钢脚手管背楞、支顶。设备基础有大量地脚螺栓、螺栓套筒和预埋铁件等,安装固定与支模同时考虑。设置独立的螺栓固定架,保证其有足够的强度、刚度和稳定性,保证螺栓准确。

b) 设备基础采用一次整体浇灌和综合温控技术,施工时安排采取有可靠保证的技术措施。如:

选用低水化热的矿渣硅酸盐水泥。

控制水泥用量,水灰比控制在0.65 以内,减少水泥用量,从而减少水化热和延缓峰温时间。

控制好砼出机温度,夏季施工时,在输送、泵送时采取降温措施,在水平输送管道上加盖草袋喷水,防止砼入模温度升高。冬期施工时,大体积砼在正温搅拌和正温浇灌,保证已浇筑层的砼温度在未被上一层砼覆盖前不低天2。砼浇筑顺序采用斜面分层连续浇筑,严禁出现冷缝。

砼采用二次振捣工艺,以提高砼密实度和抗拉强度,对大面积的板面进行拍打振实,实行二次抹面,以减少表面收缩裂缝。

进行砼温度监测,合理布置测温点,指定专人进行监测,控制砼内外温差在25以内。

加强养护,砼表面塑料薄膜及草包作保温保湿养护,草包应叠缝铺放,冬期施工必要时可搭设保温棚。

7.1.16 设备基础地脚螺栓固定

a)本工程设备地脚螺栓固定采用独立金属螺栓固定架。固定架立柱采用75×550×5 角钢,纵横间距为1.53.0m;固定架横杆采用75×550×5 角钢,纵横间距1.53.0m,竖向间距1.0m

固定架剪刀撑采用50×5 角钢,纵横间距3.0m

b)在螺栓固定架的立柱上焊接50×5 角钢螺栓定位控制板,此控制板标高要高出螺栓顶面标高3050mm 为宜;在控制板上施放地脚螺栓纵横向中心线,并刻出标记;依照控制板上的标记,用细钢丝线挂纵横中心线,钢丝线必须拉紧,以保证螺栓安装的精度;钢丝线的交叉点即为螺栓的中心,将由50×5 角钢和δ=8mm 扁钢制成的螺栓固定框按位置线焊在螺栓固定架上,地脚螺栓上端用螺母调节固定在螺栓固定框上,下端用Φ12 钢筋拉条拉结,使地脚螺栓间形成稳定的整体。

7.1.17 现浇钢筋混凝土平台施工

现浇钢筋混凝土平台施工时,首先绑扎柱钢筋,并在主筋底部绑扎一个钢筋井字架,井字形支架与柱子截面尺寸相同。支模时,把模板卡在井字形支架外。柱子支模时,用线坠在两个方向吊直后,柱子本身每750mm 加一道φ12 对拉螺栓,把柱子与模板牢固地锁在一起。柱子模板支完后,将其用φ48×3.5 的钢管与支设梁板模板的满堂红脚手架锁牢,保证柱子的长度、宽度和高度的准确,保证整体的稳定性。

支梁板模板所用满堂红支架,其立杆间距为双向750900mm,横杆间距为双向1200mm。在支梁时,梁底的位置处增设2 根大横杆,按钢模的长度设置小横杆并连接在大横杆上,小横杆用来托住钢模板,其间距为750mm,梁高大于900mm 时,梁侧模设@750×750mm φ12 对拉螺栓。

模板板底部的横楞标高必须按基准线量好后,方可进行铺板,梁与板结合处应用阴角模板,便于拆卸。局部不赶模数的地方可以采用55mm 厚木模,模面应刨光。

平台混凝土施工时,平台以下柱和平台现浇梁板一次浇注完成。

混凝土浇筑时,板顶搭设临时施工通道,严禁直接踩踏板顶负弯矩钢筋而使其变形,影响工程质量。混凝土浇筑应连续进行,不留施工缝。混凝土浇注完后及时覆盖草袋浇水养护。

7.1.18 地下池壁结构施工

本工程地下池壁结构抗渗要求较高,因此必须严格按设计和施工及验收规范的要求精心组织施工,确保混凝土地下池壁的施工质量。

结构垂直方向分二次施工,第一次施工至距底板上表面300mm 处,第二次施工以上部分结构。

为保证结构的抗渗效果,施工缝按要求设计设成凸形企口缝,贯穿底板、墙壁的固定架、对拉螺栓及套管等加焊止水环。其具体施工工序如下:

施工工序

 

 

 

 

 

 

 

 

 

 

7.1.18.1 水泥宜选用标号不低于425 号普通硅酸盐水泥;砂宜用中砂,含泥量不得大于3%;石子最大粒径不宜大于40mm,所含泥土不得是块状或包裹石子表面,且不得大于1%,吸水率不得大于1.5%

7.1.18.2 混凝土配合比应通过试验确定,其强度等级应比设计要求的强度等级提高0.2Mpa,其他各项技术指标应符合下列要求:

a) 水泥用量不得少于300Kg/m3

b) 含砂率为35%40%,灰砂比宜为1:21:2.5

c)水灰比不大于0.55

7.1.18.3 必须严格按配合比通知单,并按石子、水泥、砂顺序投料,先干搅1 分钟再加水,加水后搅拌时间不应小于2 分钟,塌落度要控制在30mm左右;散装水泥、砂、石务必每车过称;雨季施工期间每天要对砂、石测定含水率,以便调整用水量。

7.1.18.4 由于池壁外表面不作抹灰处理,因此在支模时,池壁内侧采用定型组合钢模板,尺寸不足或异形处采用木模;池壁外侧采用竹塑模板,以保证外表面的观感和质量;模板支撑系统采用φ48 钢脚手管支撑体系。

7.1.18.5 混凝土浇筑除按垂直方向分二次浇筑外,其余均整体连续浇筑;池壁混凝土按300mm 分层浇筑,且每层混凝土必须在其下层混凝土初凝前浇筑完毕;底板混凝土不分层一次浇筑完成;混凝土浇筑时,必须加强振捣,严禁漏振,确保混凝土里实外光。

7.1.18.6 施工缝新旧混凝土接槎处,继续浇筑混凝土前,将其表面凿毛,清除杂物,并用水冲洗干净后,涂刷一层素水泥浆,然后才能浇筑混凝土。

7.1.18.7 混凝土浇筑完后,在混凝土进入终凝即应覆盖并浇水养护,前3 天内每天浇水46 次,3天后每天浇水23 次,养护时间不少于14 天。池壁混凝土浇筑3 天后,可将侧模松开,在侧模与混凝土表面缝隙中浇水,以保持湿润。

7.1.19 一次平流池施工

一次平流池为地下沉井结构,长方形,基底标高约-13m,为保证沉井施工质量,防止转角处应力集中对结构的破坏,应加强一次池转角处的配筋,并将内直角做成八字形,施工时采用半开挖半沉井施工方法,即将基坑开挖至标高-5.000m 后,在坑内施工沉井,基坑比沉井宽2m,每节沉井高度可根据土质情况定,一般以78m 为宜。

沉井壁采用规格为1500(1000)mm×250(300mm)×55mm的组合钢模板拼装,在刃脚内侧、预留插筋处,采用非标准木模板。刃脚垫架上模板分段安装,以便垫架拆除。井壁模板采用多节钢模板进行循环周转,用2φ48钢管作为模板内外楞,以Φ16mm对拉螺栓固定2φ48钢管,螺栓纵横向间距为750mm,中部设止水片,与螺栓接触的一圈满焊。

外楞用适当支撑支顶在外脚手架上保持模板稳定。并利用下一节沉井模板固定上一节沉井模板,且上下两节模板紧密结合,不漏浆,确保外壁光滑一致。

外壁支模和混凝土浇筑,在井外搭设双排钢管脚手架。内壁模板支设,采用在下节沉井上预埋铁件的办法焊悬臂脚手架,随着沉井下沉,而不影响井内挖土、运土等作业。

钢筋在加工场机械成型,人工绑扎,每节井壁竖筋一次绑好,水平筋分段绑扎,与上节井壁连接处,伸出插筋,接头错开1/4,并采用套管冷挤压方法连接。

混凝土在搅拌站集中拌制,用混凝土运输车运输,混凝土泵车通过布料杆伸入壁内均匀浇筑。

浇筑采用分层平铺法,每层厚300mm。将沉井沿周长分成若干段同时浇筑,保持对称均匀下料,以避免一侧浇筑,使沉井倾斜。

两节混凝土的接缝处采用企口缝,上节混凝土待下节混凝土强度达到70%后浇筑,浇筑前,先凿出新茬用高压水冲净浮渣,保持润湿24小时后,用1:1水泥浆薄铺,在终凝前浇筑新混凝土。

沉井土方开挖采用人工挖土,设一台30t履带吊将土方吊至井外,汽车运土。挖土时从井底中央部分的土开始,均衡对称地向四周进行,每层挖土厚度为500mm。刃脚处1.2m宽土垄,要对称均匀地削薄土层,每人负责2m一段,方法是顺序分层逐渐往刃脚方向削薄土层,每次削120mm,当土垄挡不住刃脚的挤压而破裂时,沉井便在自重作用下破土下沉。削土时沿刃脚方向全面、均匀、对称地进行,使均匀平稳下沉,防止过量挖空刃脚踏面产生突沉。刃脚下部土方必须边挖边清理。见人工挖土方法图。

如遇较硬土层中下沉时,挖平土垄后,如沉井下沉很少或不沉,可在井底中部再向下挖300400mm,挖好后如沉井仍不下沉,可再向四周均匀扩挖,最后削去土垄,使沉井下沉,如仍不下沉,则可继续挖深中部,若还不下沉,再挖去刃脚四周土垄,使沉井下沉。

下沉注意事项:沉井下沉位置的正确与否,开始5m 以内,要特别注意保持平面位置与垂直度的正确,以免继续下沉,不易调整。为减少下沉的磨阻力和以后的清淤工作,在沉井的外壁随下沉随填砂的方法,以减轻下沉困难。在沉井开始下沉和将沉至设计标高时,周边开挖深度小于300mm 或更薄一些,避免发生倾斜。在离设计标高200mm 左右停止取土,依自重下沉至设计标高。

当沉井沉至设计标高,经23 天,下沉已稳定,或经观测,在8h 内累计下沉量不大于10mm时,即可进行沉井封底。首先进行土形整理,使之呈锅底形,刃脚混凝土凿毛处刷洗干净。然后,在井底按设计要求对称均匀混凝土垫层,强度达到30%后,绑钢筋,浇筑上层的防水混凝土底板。

浇筑在整个沉井面积上分层由四周向中央进行,每层厚300400mm,并捣固密实。

 

第一节        钢结构制作

开工后立即组织钢结构制作、加工,主要构件在****天管钢构厂进行工厂化制作,并按安装要求配套运到施工现场,小型构件在施工现场组织制作。

7.2.1 材料要求

1)钢材、焊材和油漆须有质量证明书,并符合设计文件和有关标准的要求,钢材和油漆应按业主要求及有关规定进行复验,严禁使用不合格的材料。

2)钢材材质

所有钢材均应符合设计单位和业主方的规定。

3)钢结构连接采用高强螺栓,型式尺寸及技术条件应符合有关的国家标准及业主方的要求。

4)焊接材料

a)手工电弧焊

对于吊车梁采用E5016 焊条,对于普碳钢采用E4303 焊条。

b)埋弧焊采用H08A 焊丝,配合HJ431 型焊剂(具体根据钢材及设计要求而定)。

c)CO2 气体保护焊采用H08Mn2Si 焊丝。

d)焊材应满足设计要求及有关规定,并按下表进行烘干。

e)其它特殊材料的焊接根据详细的设计图纸进一步确定。

 

名称

烘干温度(

烘干时间(h

备注

焊条

E4303

100150

12

恒温箱保存温度80100

E5016

300400

12

焊剂

HJ431

250

2

5)构件喷砂除锈等级涂刷等级根据设计图纸和业主方要求确定,质量应符合国家有关的技术标准的规定。

6)钢材表面锈蚀、划痕等缺陷不得超过钢材允许负偏差的1/2,否则严禁使用。

7)所有材料代用需经设计部门同意后方可使用。

7.2.2 号料工序

1)放样号料前,应认真熟悉施工图纸及工艺的各项要求,对有疑义的问题及时与有关技术人员联系解决。

2)施工应使用计量合格的量具,严禁使用未经计量的测量工具。

3)板材进入现场后应该对其规格、材质及编号并清除表面杂质。钢材表面质量应符合下表的规定,否则要在九辊平板机上进行矫正平直。

 

允许偏差

钢板局部平面度

T14 T>14

1.5 1.0

 

 

 

4)为保证连接板的号料精度,宜采用0.30.5mm 薄钢板制成样板进行号料,号料用划针划线,板材应同时号出质量控制检查线(距切割线50mm)。

样板精度偏差:

长度、宽度: ±0.5mm

对角线差: ±1.0mm

孔距: ±0.5mm

加工样板角度:±20'

5)放样号料时应按下表要求预留切割刨边余量

加工余量

剪切(mm

手工切割(mm

半自动切割(mm

切割缝

0.51.0

4.05.0

2.03.0

刨边

2.03.0

5.06.0

3.04.0

6)吊车梁、屋架、柱间撑等下料应按排版图进行,H 型翼缘板及腹板的拼接采用整板拼焊后下料,长度方向预留50100mm 荒料翼缘板只允许长度方向拼接;腹板长度和宽度方向均可接料,其纵横方向的对接焊缝可采用字型或T字型,两相邻T字型应错开200mm 以上,拼接宽度不得小于300mm,拼接长度不得小于600mm

7)板材号料后应标明订货号、零件号、加工方法等有关数据,并作好标识移植工作。

8H 型在门型焊机上焊接后须经矫直机矫正后,二次装配后方能进行翼缘板腹板上号钻孔,其它一次号钻孔。柱间支撑及屋架整体拼焊须经矫正后,方能进行翼缘板号钻孔,制动板整体焊接须矫正平整后,背面反向号钻孔。

9)板材接料焊缝两端应加δX100X100 的引弧板,其材质规格、坡口型式应与母材相同。

对接接料坡口型式如下图所示,如板材超出以上范围,我公司将另行参数确定,以保证工程质量。

10)吊车梁、屋架应严格按照设计要求起拱。

11)吊车梁、翼缘板、腹板接料的长度方向应与轧制方向一致,且不得在跨中1/3 范围设接头,三者的对接焊缝不应设置在同一截面,应互相错开200mm以上,与吊车梁加劲板亦应错开200mm以上。

12)制动板接料尽量采用长度方向拼接,T 型钢和角钢采用双肢,同时45°斜接,内铲坡口35°2

13)屋架起拱应严格按照设计要求起拱。

14)吊车梁、柱间承及屋架整体焊接须经矫正后,方能进行翼缘板、腹板上号钻孔,制动板整体焊接须矫正平整后,背面反向号钻孔。

15)柱子与屋架相连孔应在整体焊接,矫正后进行号钻。

16)吊车梁封头板下端刨平后方可号钻孔(应保证下端孔距)。吊车梁及屋架加劲板宜下料切割后号钻孔,其余二次号钻孔,所有孔均应打冲眼。

7.2.3 切割工序

1)严格按切线下料的标注进行切割。切割前,应将钢材表面切割边缘50mm 范围内的铁锈、油污等清除干净。切割后,断口处不得有裂纹和大于1.0mm 的缺棱,并及时清除边缘的熔瘤和飞溅物,对于切割缺陷应补焊后打磨修整。

2)切割中如发现有重皮或缺陷严重的现象应停止切割,并及时通知有关人员解决。

3)板材采用多头直条切割机或剪切,型材采用日本东带锯切割机切割,坡口加工宜采用刨边机加工。

手工切割偏差: ±2.0mm

半自动切割偏差:±1.5mm

坡口角度偏差: ±5°

钝边偏差: ±1.0mm

4)采用半自动气割时应按下表控制切割工艺参数:

 

割嘴号码

板厚(mm)

氧气压力(MPa)

乙炔(或丙烷) 压力(Mpa)

气割速度(mm/min)

1

610

0.690.78

0.3

650450

2

1020

0.690.78

0.3

500350

3

2030

0.690.78

0.3

450300

4

4060

0.690.78

0.3

400300

5)精切的部位表面粗糙度不得大于0.03mm,切割线与号料线偏差<1.0mm

6)板材切割宜采用多头直条切割机,型材可采用带锯切割机切割,坡口加工采用数控切割机或刨边机加工。如采用半自动切割机进行切割要采取防变形措施。多头直条切割工艺性能如下表:

 

割嘴号

气割钢板厚度

气体压力X105Mpa

气体消耗量

气割速度(mm/min

 

氧气

丙烷

氧气(立方米/h

丙烷(立方米/h

 

 

3

>0.3

2.53

350400

450500

2

1530

35.5

>0.3

3.54.5

450500

350450

7)切割面与钢材表面的垂直度偏差10%且不大于2.0mm

8)切割及剪切后应及时清除熔瘤、飞边和毛刺。

9)吊车梁钢柱及屋架翼缘板、柱间承H 型盖腹板切割宜采用分段切割,以减小侧弯变形。

7.2.4 制孔工序

1)按施工图纸要求选择钻头直径。

2)钻孔前将构件放平、垫稳、固定牢,防止钻偏、钻斜,严禁套钻。

3)螺栓孔允许偏差:(mm

 

项目

直径

圆度

垂直度

允许偏差

1.0 0

2.0

0.03t 且不大于2.0

4)螺栓孔距的允许偏差:

 

项次

项目

允许偏差(mm

500

5001200

12003000

3000

1

同一组内任意两孔间

±0.1

±1.5

 

 

2

相邻两组的端孔间

±1.5

±2.0

±2.0

±3.0

5)钻孔完毕应及时清除毛边、飞刺,并用量规检查。检查不合格的孔需经技术人员同意,方可扩钻或用与母材匹配的焊条补焊后重新钻孔。扩钻后的孔径不得大于原设计孔径2.0mm,否则应用与母材强度相应的焊条补焊后钻孔,严禁用钢块填塞,处理后应做出记录。

6)钻制大直径孔时,可先用小直径钻头打孔后再用原规格钻头扩钻;或在大直径孔位边用小钻头打一小孔后用仿形割孔。

7.2.5 装配工序

1)装配前应根据图纸要求和划线提供的料单、排板图认真核对零件的尺寸、规格,严格检查质量,不合格不得装配。

2)装配前,应认真清除接口表面3080mm 范围内的铁锈、油污等杂质。

3)板材、型材的拼接,应在组装前进行;构件的组装应在部件组装、焊接、矫正后进行;对发生弯曲变形的半成品应预先矫直后方可组装。

4)定位焊采用Φ3.2mm 焊条,其型号应与正式焊材相匹配,点焊高度不宜超过设计焊缝高度的2/3,并保证点焊牢固可靠不变形。

5)装配时应严格控制各部位的偏差,除图纸个别要求外一律顶紧对齐:

局部间隙1.0mm

磨光顶紧接触部位75%,边缘最大间隙0.8mm

6)板材接料见号料工序所述。

7H 型焊接完毕后用矫直机消除角变形。

8)组立采用组立机进行组立,门型焊机焊接后用矫直机进行矫直。

9)所有型材亦应拼焊矫直合格后方可装配焊接。

10)采用卡具组装时,使用和拆除过程中不得损伤母材,并对残留的焊疤进行打磨修整,引弧板须用气割切除,并用砂轮磨光,严禁用大锤击落。

11)组装过程中的变形矫正,当采用火焰矫正时,同一部位的加热不得超过两次,加热温度严禁超过900,加热矫正后的低合金钢必须缓慢冷却,严禁水冷;如采用手工捶击矫正,须采取加锤垫等措施,以防凹痕和损伤母材。

12)二合一角钢应预先喷砂除锈并涂隐蔽底漆后再进行装配、焊接。

13)吊车梁上翼缘板与轨道接触部位150mm 长度的接口焊缝应打磨修平。

14)吊车梁上翼缘板与制动板接触部位接口焊缝均应打磨修平。严禁在吊车梁焊缝以外,尤其下翼缘板不得随意打火或焊接夹具。分段制作的钢构件在交工前应进行预拼装,整体检查验收合格后方可出厂。

7.2.6 特殊工序

技术负责人应对特殊过程材料的使用及生产过程进行抽查监控。

7.2.6.1 焊接工序

1)焊工须经培训并取得合格证后方可上岗施焊,严禁无证人员上岗施焊。

2)焊接材料使用前应按规定进行烘干,焊条经烘干后存放在保温筒内随用随取。技术负责人应抽查使用焊接材料的烘干记录。

3)施焊前,应熟悉施工图及工艺的要求,并对装配质量和焊缝区域的处理情况进行检查。如不符合要求,应待修整合格后方可进行施焊。焊完后及时清除金属飞溅,并在焊缝附近打上焊工钢印代号。

4)多层焊接应连续施焊,并在每层焊完后及时清理焊渣,如有缺陷用碳弧气刨清除彻底,并用磨光机将渗碳层打磨干净后重焊。碳弧气刨工艺参数如下表:

 

 

 

 

碳棒直径

电弧长度

空气压力

电流

mm

mm

MPa

A

6.0

13

0.40.5

230300

8.0

13

0.50.6

330400

5)焊缝出现裂纹,焊工不得擅自处理,应上报有关技术人员查清原因,并定出处理方案后方可处理,同一处的返修不得超过两次。

6)严禁在焊缝以外的母材上打火引弧,对接、T 型接头施焊应在其两端设置的引(熄)弧板上起(落)弧。

7)板材接料及H 型主焊缝均采用埋弧自动焊。所有要求熔透的焊缝正面焊后,反面用碳弧

气刨清根,打磨渗碳层后再施焊。

8)对接埋弧自动焊工艺参数:

板厚(mm)

焊丝直径(mm)

接头型式

焊接顺序

焊接电流(A)

电弧电压(V)

焊接速度(mm/min)

备注

8

φ4

不需开坡口

400530 400550

3234 3032

300400

1018

φ4

如表下图1所示

500550

650700

2830

2830

280300

2030

φ5

如表下图2所示

650700

650720

3034

3034

200300

250300

3240

φ5

650700

650700

750800

650720

3034

3037

3034

3438

200250

250300

 

9T 型接头埋弧自动焊工艺参数:

焊角高度(mm

焊丝直径(mm

焊接电流(A

焊接电压(V

焊接速度(mm/min

备注

6

Φ4

600650

3436

500600

船形焊

8

Φ5

600650

3436

500600

10

Φ5

750800

3436

320400

12

Φ5

750800

3436

260320

 

10)吊车梁与实腹屋架H 型焊接及钢柱H 型焊接顺序如下图所示。

11)所有焊缝焊后要及时清理飞溅、熔渣等,有缺陷及时修补。除特殊要求外,焊缝以图纸要求为准。

12CO2 半自动焊规范参数:

 

焊丝

焊丝直径(mm)

干伸长(mm)

电流(A)

电压(V)

焊速(cm/min)

气流量(L/min)

H08Mn2si

1.2

1012

300330

3032

4045

1719

13CO2 气体保护焊引弧前将焊丝球形端头剪去,并清理焊丝表面,防止产生飞溅,焊后及时清理焊道两侧的飞溅物。

14)新灌气瓶使用前应倒置12 小时,然后打开阀门放水.经放水处理的气瓶在使用前先放气23 分钟。瓶中气压降到10 个大气压时不再使用。CO2 纯度不小于99.5%

15)焊缝质量标准:

所有对接焊缝均为一级焊缝。

吊车梁上翼缘板角焊缝、端部加劲板的焊缝为一级焊缝。

屋架主焊缝、钢柱上肢H 型主焊缝、吊车梁下翼缘板角焊缝为二级焊缝。

其余焊缝应达到(GB50205-2001)中的三级质量标准。

16)焊条直径与电流匹配参照表:

焊条直径(mm)

Ф3.2

Ф4.0

Ф5.0

备注

电流(A)

100130

160210

200270

立、横焊电流比平焊电流小10%

左右,E5016 型焊条电流比E4303

型焊条电流大10%左右。

17)所有焊缝焊后应及时清除干净飞溅,有缺陷及时修补。除特殊要求外,焊缝高度以图纸要求为准。

18)焊缝冷却24 小时后方可进行超声波探伤。

7.2.6.2 除锈及涂漆工序:

1)半成品经专检合格并填写自检表后,进行除锈、油漆。

2)除锈按设计图纸要求,并执行GB892388 标准。

3)除锈经专检合格后,填写工序交接卡,经专职检查员查验后,方可涂刷防锈底漆。

4)涂装工作地点温度宜在538之间,相对湿度不应大于85%,雨天或构件表面有结露及灰尘较大时不得作业,涂装后4 小时内严防雨淋。

5)设计或施工图注明不涂漆的部位不得涂漆,安装焊缝处应予留3050mm 范围暂不涂漆。

6)涂漆的具体要求按设计院详图设计。

7)漆膜局部损伤时,应清理损伤的漆膜,并按原涂装工艺进行补涂。

8)刷涂时应从构件一边按顺序快速连续地刷,不宜反复刷涂,刷最后一道垂直表面应由上到下进行,刷最后一道水平表面,应按阳光照射的方向进行。

9)涂刷全部检查验收合格后,应及时按图纸要求标注构件编号。

7.2.7 检查验收

1)构件制作完毕,检查部门应按施工图工艺要求和《钢结构工程施工及验收规范》、《钢结构工程质量检验评定标准》认真检查验收。

2)本工程构件外形尺寸允许偏差:

檩条、支撑、框架梁、屋架的允许偏差:

a)构件两端最外侧安装孔距离:±3.0

b)构件弯曲矢高:L/1000 10.0

c)屋架跨中高度:±10.0

d)屋架拱度:L/5000

e)柱底面到柱端最上一个安装孔距离(L)允许偏差:±L/2000

f)柱底面到牛腿支承面距离(L1)允许偏差:±L1/3000

g)柱身弯曲失高允许偏差:H/1000

h)牛腿面的翘曲()允许偏差:2.0

i)柱身扭曲允许偏差:3.0

j)柱截面几何尺寸允许偏差:±2.0

k)翼缘板对腹板的垂直度:b/100 3.0,连接处1.5

l)柱底板平面度允许偏差:3.0

m)柱脚螺栓孔中心对柱轴线的距离允许偏差:2.0

n)钢梁长度允许偏差:L/2000

o)钢梁端部最外侧安装孔距离(L2)允许偏差:±3.0

p)钢梁侧弯失高允许偏差:±L/2000

q)钢梁扭曲允许偏差:h/250

r)钢梁腹板局部平面度允许偏差:2.0

s)钢梁翼缘板对腹板的垂直度允许偏差:b/100

t)檩条连接支座间距:±5.0

吊车梁允许偏差:

a)吊车梁两端最外侧安装孔距离:±3.0

b)吊车梁拱度:510

c)侧弯矢高L/2000 10.0

d)扭曲:h/250 10.0

e)翼缘板对腹板的垂直度:b/100 3.0

f)吊车梁上翼缘板与轨道接触面平面度:1.0

g)端部高度:±.0

 

第一节        结构安装

7.3.1 柱子安装

a)首先对厂房柱基的行列线、预埋螺栓的平面位置及标高尺寸进行复查,中间交接资料必须齐全,柱基础的定位轴线和标高必须符合《建筑工程质量检验评定标准》的要求。准确无误后办理工序交接手续。

b)按复测钢柱尺寸,复核后做好钢柱等高线及大、小面中心线标记以备安装找正使用。

 

项目

允许偏差

支承面

标高

±3.0

水平度

L/1000

地脚螺栓

螺栓中心偏移

5.0

螺栓露出长度

+20.0    0

螺纹长度

+20.0    0

c)柱安装

柱子安装前,以柱牛腿面为基准,量取柱子长度,做出柱身三面中心线和+0.300 标高的标记。

柱子起吊前,绑扎好爬梯,以便施工人员解吊绳和摘吊钩。柱子就位、调整、固定后,安装接柱操作平台。

柱底垫铁按计算承压面积确定,进行加工和安装,每叠不得超过三块。安装前结合柱子实际长度及柱基顶面标高,确定垫铁放设点数及垫板尺寸,并进行校核以保证强度及稳定性。柱子吊装就位后,用两台经纬仪在夹角900 的两个方向观测柱身在自然状态下的垂直度,检查柱底中心线位置;用一台水准仪复查标高。全部合格后,对称打紧柱底钢楔,再复查标高和中心线,确认无误后拧紧柱脚螺栓。

对于双牛腿柱,量测+0.300 标高时,各牛腿标高情况要综合考虑,以防安装后牛腿标高出现正公差。

焊接时应保证正确的焊接顺序,先腹板后盖板,并对称施焊,腹板焊缝清根采用衬垫保证焊透,使钢柱焊接质量满足设计要求。

d) 柱子校正后,方可安装柱间支撑。支撑安装前,应检查其几何尺寸,如与图纸不符或有弯曲时,修理后再安装。支撑与柱连接后,及时固定、焊接。

e)钢柱安装质量应符合下表要求:

 

序号

检查项目

允许偏差(mm)

1

柱脚底座中心线对定位轴线的偏移

5.0

2

柱基准点标高

3.0   -5.0

3

挠曲矢高

H/1000   15.0

4

柱轴线垂直度

底层柱

10.0

柱全高

35.0

 

f) 柱子安装精度要求:

柱子底心位移偏差<3mm,且要求每个底角有三点对正。

柱身标高偏差=0+3mm

柱身垂直度偏差:牛腿处<5mm,柱顶处<15mm

柱距、跨距偏差:±10mm

7.3.2 吊车梁系统安装

a)吊车梁安装遵守下列规定:

柱子调整固定完;

柱间支撑(吊车梁以下)安装固定完;

从有柱间撑的柱间开始安装吊车梁并临时固定,然后依次吊装其它柱间的吊车梁并临时固定。

为了发挥200t 履带吊起重量大的优势,吊车梁与辅助桁加尽量在地面组合拼装,一次吊装就位。

b)吊车梁安装前,要做好如下准备工作:

检查钢柱安装后的位移和垂直度偏差;

实测吊车梁搁置处梁高制作的误差;

做好临时标高垫块工作。

c)辅助桁架安装后,两端用临时螺栓固定,再安装吊车梁。安装吊车梁时,除将梁的下缘与牛腿处用螺栓连接外,上翼缘与辅助桁架、柱子临时固定,确保梁的稳定。

d)吊车梁就位、临时固定后,将吊车定位线引至吊车梁上部,拉钢线标识,以备吊车梁调整使用。

e)吊车梁调整主要确定标高、垂直度、轴线和跨距,标高调整以柱牛腿顶面为基准采用钢尺进行调整;垂直度调整采用水平尺、线坠调整;轴线和跨距采用经纬仪和钢尺加弹簧秤调整。

f)吊车梁跨距调整用钢尺必须加弹簧秤拉测,防止钢尺下垂影响调整精度。并对温度和尺长进行修正。

g)制动板与吊车梁连接为高强螺栓,与辅助桁架相连为焊接的结构,施工程序如下:

制动板与吊车梁连接处穿上临时螺栓或冲钉,制动板与辅助桁架连接处点焊固定。

各部几何精度符合规范规定后,焊接相邻两制动板之间的横缝、安装高强螺栓、焊接制动板与辅助桁架连接焊缝。

高强螺栓连接时,从吊车梁中间向两端安装。

为避免辅助桁架侧弯,在焊接制动板与辅助桁架连接焊缝时,由辅助桁架中间向两端跳焊。

h)吊车梁调整固定必须在屋面系统安装固定后进行。

i)吊车梁安装精度可按下表进行检查

钢吊车梁安装精度允许偏差(mm

项目

允许偏差

吊车梁跨中垂直度

H/500

侧向

L/1000 10.0

垂直方向

+10.0 0

两端支座中心位移

安装在钢柱上,对牛腿中心的偏移

5.0

吊车梁支座加劲肋中心与柱子承压加劲板中心偏移

t/2

7.3.3 屋面结构安装

a)屋架在复测其单件几何尺寸后应严格控制其长度、拱度、侧向弯曲、对角线等,标出安装中心线。吊装时吊装选择应合理。每跨第一、二榀屋架及构件安装形成的结构单元,是其他屋面结构安装的基础,故应提高其安装质量标准及精度,有效地起到控制安装、修复的作用。

b)屋面结构安装顺序为:托架-屋架-屋面支撑系统-天窗架-屋面板。

c)屋架就位时,先临时固定,将吊钩适当放松,检查校正就位偏差,合格后正式固定,然后再摘卸吊钩。

d) 屋面水平支撑、檩梁和屋架偶撑的安装应在屋架找正后进行,并先用临时螺栓连接,经检查主体结构屋架、托架等垂直度、弯曲合格后,再进行永久固定。偶撑安装应在屋架两侧对称进行并要自由对位、避免造成屋架垂直度超差。

e)天窗架安装时,先在地面上拼装一个单元,然后用吊车整体安装。

f)屋面结构安装精度要达到:

跨中的垂直度h/250,不大于15mm

桁架及其受压弦杆的侧向弯曲矢高l/1000,不大于10mm

檩条间距 ±5.0mm

檩条的弯曲(两个方向)L/750,不大于20mm

7.3.4 高强螺栓施工

a)在高强螺栓施工前,需有工厂、工地钢构件摩擦面系数试验合格报告及高强螺栓复验合格报告,并折算高强螺栓扭矩系数,为以后施工做好准备。

b)高强度螺栓入库需分批号、规格放置。严禁露天过夜,并制定可追溯性控制标识。

c)检查钢构件接口是否平直,有无变形,有无毛刺和油污,如不符合要求,处理后再施工。

d)装配时,对磨擦面进行清理,清除浮锈、油污、油漆等,确保摩擦面清洁、干净。

e)高强度螺栓需自由穿入,螺母自由旋入螺杆。力求穿入方向一致,注意垫圈的位置及数量,按规定施工。高强度螺栓按规范标准要求,在利用转角法施工的同时,结合测力扳手检测施工。

7.3.5 墙面及屋面压型板安装

压型钢板现场轧制,成卷钢板运至现场,放在干燥处存放,用压型板成型机在现场制作、截断,屋面板一坡长为一整块,中间不留接头,墙面压型板制作时考虑尽量减少接头。成型机为多道轧辊,逐渐挤压钢板成型,到达一定长度时由无齿锯切割。屋面压型板安装利用斜钢索人力进行垂直运输,钢索一端固定在地面,另一端连接在屋面结构,钢索间距5 米,人力运输屋面瓦在运输吊装过程中严禁与硬物直接接触,应用软质材料隔离,人工抬运时应轻拿轻放,协调一致,严禁拖运。以防屋面瓦扭曲变形,损坏涂层。墙面采用慢速卷扬安装。安装顺序为:先屋面,墙面随后跟上,屋面、墙面逆主导风向辅设,墙面由下向上安装。

7.3.5.1 屋面板安装

1)配板设计

配板设计要根据施工图,确定板的安装方向,板的长度及块数、配件数量(自攻螺丝、铆钉、密封膏或密封条)等,与屋面板有关的节点详图主要有:屋脊节点、檐口节点、女儿墙节点、还与每块的尺寸有关。板的安装方向为逆夏季主导风向。

2)屋面板的加工

本工程为双坡屋面,单坡最长60 多米。屋面板为确保无渗漏,压型板不宜采用搭接,应通长制作安装。

3)屋面板的堆放

屋面板在堆放时,不允许变形、污染、被水泡,且不许被外界损伤。现场堆放时,应架空放置,每3m 间距铺设垫木60mm 高左右,并应沿长度方向保持1%坡度;不同规格的压型板分开堆放,压型板放置时,搭架或铺设垫木时,注意板的两端头处放低,便于排水,防止板面积水;两端挑出长度不超过1.5m;堆放时注意压型板波纹应一致,切不可颠倒乱放,以免弄错(最好按安装要求波纹堆放)。

屋面板堆放时上部应加盖雨布防雨。

4)屋面板在屋面的运输及堆放

屋面板在屋面的运输由人工抬运,抬运人员对称站在板的两侧,人与人间距5m 左右,抬运时要求保持板的平稳,防止板扭曲变形,严禁在檩条上拖运。屋面板吊至屋面后,马上用尼龙绳或棕绳把屋面板绑紧在檩条上,建议当前吊的当前安装完。

5)屋面板的铺设

安装前的准备:

a.检查承重屋架和檩条,有否不平或歪斜现象,如发现不符合要求,应立即通知上道工序进行处理,检查屋面有无妨碍安装的凸起物,发现后及时处理。

b.检查屋面板有否由于运输过程引起的局部翘曲、变形,如有用木榔头进行修补;变形过大,无法修复的,严禁使用到工程上去。

c.安装前,屋面满挂安全网,并通过安全部门的检查。

铺板:

a.在山墙头出设定基准线,并设标尺拉线,以基准线为准用钢尺定出每一块板的位置线。以10块的板的宽度为基准线,进行复检,避免累计误差。

b.在屋脊及檐口拉通线,确保瓦在屋脊及檐口的位置对齐一条线。

c.安装第一块屋面板,将第一块屋面板的公扣边定于起始线,并使整块调整就位,然后用自攻螺丝将板直接固定在檩条上。

d.安装第二块屋面板,将第二块屋面板的公扣边扣在第一块板的母扣边上,调整定位,并使与第一块板的檐口位置对齐后,用自攻螺丝将第二块板固定在檩条上。

e.安装第三块、第四块……

(6)泛水板安装

a.泛水板安装搭接长度不小于100mm,顺水流方向或主导风向搭接,搭接处两板间垫双面自粘胶带,并用双排拉铆钉交错固定,排距、钉距不大于100mm

b.泛水板应根据现场实际尺寸加工。

7.3.5.2 墙面板的施工

1)配板设计

配板设计的依据是厂家提供的图集设计节点,墙皮通长设置不能搭接,配板设计主要内容有:

确定板的起始边,板的长度及块数,安装方向(逆主导风向)

2)墙面板的堆放(同屋面瓦)

3)安装的方法:采用慢速卷扬安装,由下向上进行。

4)安装墙面板:

检查钢结构:钢墙架柱是否水平且在一条线上,挠度是否符合要求。确定起始边安装第一块板,起始边的位置依据配板图定,吊垂直线,确保第一块板安装位置正确,然后用自攻螺丝固定,自攻螺丝为镀锌或不锈钢,且带密封圈。

依次安装第二、第三块板……每安装5 块检查一下板的垂直度。

5)安装包角泛水:

包角、泛水板安装逆流水方向或夏季主导风向安装安装,包角板用拉铆钉与墙面板连接,门窗四周、窗台泛水板要跟门窗结合起来安装,包角泛水板搭接处用密封膏密封。

7.3.5.3 验收标准

1)外观检查

外观板件的品种、规格、型号及安装位置应准确,不得有遗漏,各种紧固件的品种、规格、型号及安装位置遗漏和松动,各种板件和紧固件表面应无破损、孔洞、漏涂、涂层脱落、划痕、污染、翘角等缺陷,大雨天气检查应无渗漏。

2)尺寸误差检查

屋面板檐口处及墙板下端相邻两板间的错口应小于5mm 其直线度偏差应小于1/1000,且不得大于20mm

压型板的不平整度及侧弯应小于1/1000,且不大于20mm

泛水板、包角板及伸缩缝盖板与板之间的搭接长度应为正偏差,相邻两板间的错口应小于5mm,其直线度偏差应小于1/1000,且不得大于20mm

自攻螺栓、拉铆钉等紧固件的定位偏差不得大于5 mm

 

第一节        机械设备及管道安装

7.4.1 基础交接与验收

根据土建提供的中间交接资料按设计图纸认真复查,检查设备基础的尺寸偏差,复测地脚螺栓的露出长度、丝扣长度、平面位置等,应符合下表的要求。

 

项次

项目

极限偏差

公差

1

基础座标位置(纵、横向轴线)

20

 

2

基础各不同平面的标高

0~-20

 

3

基础上平面外形尺寸

20

 

凸台上平面外形尺寸

0~-20

 

凹穴尺寸

200

 

4

基础上平面的水平度

每米

 

5

全长

 

10

5

铅垂度

每米

 

5

全长

 

20

6

预埋地脚螺栓

标高(顶端)

+200

 

中心距(在根部和顶部测量)

2

 

7

预留地脚螺栓孔

中心距

10

 

深度

200

 

孔壁的铅垂度

 

10

 

 

标高

200

 

8

预埋活动地脚螺栓锚板

 

 

 

中心距

5

 

水平度

 

5

地脚螺栓的模拟检查:

针对轧机地脚螺栓较大、较长,对预埋地脚螺栓要检查根部中心位置,不垂直度和顶部标高,对套筒后埋型地脚螺栓除检查中心位置、套筒孔壁不垂直度外,还要检查模板埋设状况,通常对每个地脚螺栓进行模拟检查,同时计算地脚螺栓的长度是否达到要求。

7.4.2 中心标板、基准点

7.4.2.1 永久中心标板

永久中心标板和永久基准点可利用厂房新建时设备安装的中心标板及基准点,若设计图纸有变化,可根据具体情况按图纸新设置永久中心标板及基准点,以厂房建筑的轴线控制网点为测设依据,配合土建单位在施工基础时埋设就位。每组轧机沿纵向中心设置2 个纵向中心标板,横向中心标板设置取每组轧机居中间的一台轧机轧辊中心线为准。以此类推,在轧线上设置若干个纵向中心标板和横向中心标板。

7.4.2.2 永久基准点

永久基准点设置在纵向和横向中心标板的附近,既作为标高测定用,也作为设备基础两个坐标方向的沉降观测用。

7.4.3 沉降观测

为了观察设备基础沉降情况,在轧线两侧相隔一定距离埋设若干沉降观测点。建立沉降观测网定期测量并做以记录,必要时绘制曲线图。沉降观测点的位置以不妨碍测量和安装为原则。沉降观测点由不锈钢制作,并加以保护罩。

a) 设备基础沉降的处理

为了防止由于基础沉降发生已安装设备的精度发生超差现象,对所有轧线已经安装好的主要设备进行沉降观测,根据沉降观测成果,确认基础基本稳定后,对超差设备进行最终调整,调整时要考虑基础的不均匀沉降趋势。最后进行基础的二次灌浆工作。沉降观测方法有两种:宏观沉降观测和微观沉降观测:

7.4.4 设备检查验收

所有安装设备均应具有合格证,设备进厂后,对设备进行外观检验;清点设备的型号、规格、材质、数量。发现的问题及时做好记录。设备开箱应根据施工进度,安什么开什么,开箱要认真核对装箱单,开箱时应有甲方人员在场共同检查。

设备检查时应注意以下几点:

1)设备的类别、规格型号及数量应与装箱单及设计图纸相符。按装箱单清点零部件、工具和附件等。

2)检查设备的外观和保护包装情况,如有缺陷、损坏、锈蚀应通知甲方代表确认,协商处理意见,并认真记录。

3)对同箱内暂不安装的零部件、附件等应进行分类,放在库房内妥善保管。

4)设备和零部件上的标识不得去掉,应妥善保护,无标签的零部件应编号以便确认。

5) 对主要的仪表和有特殊防护要求的零部件要重点分类保管。

6)设备开箱检查情况填入《设备开箱检验记录》,并由甲乙双方确认签字。

7.4.5 垫板设置

7.4.5.1 垫板的选择

每个地脚螺栓的近旁至少应有一个垫板组,底座刚度较小或动负荷较大的设备,地脚螺栓的两侧近旁均应放置垫板组;无地脚螺栓处的设备主要受力部位亦应放置垫板组。垫板组在放置平稳和不影响二次灌浆的情况下,应尽量靠近地脚螺栓和主要受力部位。相邻垫板组之间的距离宜为500~1000mm。每个垫板组均应设置一对斜垫铁用来微量调整标高用。

放置在混凝土基础上的垫板,其总承力面积应按下式计算:

AC×100Q1Q2)/R

式中:A垫板总承力面积,mm2

C安全系数,可采用1.53,采用座浆法放置垫板或采用无收缩混凝土进行二次灌浆时,取小值;

Q1采用普通混凝土二次灌浆时为设备及承载物的重量,采用无收缩混凝土二次灌浆时为设备重量,kgf

Q2地脚螺栓紧固力的总和,kgf

R基础混凝土的抗压强度,kgf/cm2

每一垫板组应尽量减少垫板的块数,一般不宜超过5 块,平垫板组中,最厚的垫板应放在下面,最薄的垫板应放在中间。

设备找平找正后,每一垫板组应符合下列要求:

a) 每一垫板组应放置整齐,每对斜垫板的重叠面积应大于垫板面积的2/3

b) 垫板组伸入设备底座底面的深度应超过地脚螺栓;

c) 平垫板宜露出设备底座外缘1030mm,斜垫板组宜露出设备底座外缘1050mm

d) 每一垫板组均应被压紧,压紧程度可用手锤轻击垫板,根据响声凭经验检查,对于高速运转、承受冲击负荷和振动较大的设备,其垫板与垫板间、垫板与设备底座间,用0.05mm 塞尺检查,塞入面积不得超过垫板面积的1/3

e) 钢垫板组的各垫板间应相互点焊牢固。

7.4.5.2 座浆法安装垫板

轧机设备安装使用座浆垫板,座浆材料选用优质R525 早强水泥、中砂、粒度为5-20mm 的石子及洁净水。

施工前必须对座浆材料进行试块检验,座浆试块要求如下:

 

时间

R1(一天)

R2(三天)

R3(七天)

抗压强度

25MPa

40MPa

50MPa

座浆配合比要求如下:

 

材料名称

水泥

砂子

石子

使用比例

1

1

1

0.3-0.37

水灰比根据材料的干湿程度和当时天气情况适当掌握,砼搅拌均匀后用手捏成团,掉地后能散开,可认为水灰比恰当。

2) 水泥、砂子及石子采用集中称料、干料运输、分散搅拌。将称量好材料倒在搅拌板上,干拌均匀后,再加水搅拌。搅拌好的砼在15 分钟内用完,超过时间不得再加水使用。

3) 座浆垫板标高确定前要量好设备底座的实际尺寸,斜垫板按3/4L 重叠厚度计算(L 为垫板厚度)。

4) 根据设备底座外形的实际尺寸,在设备基础上划好外形轮廓线,确定垫板位置,用风铲或其它机具在基础上凿出座浆坑。坑的深度,一般情况下为40mm 以上,凿坑时如遇到钢筋,可根据实际情况适当加深。坑内松动的砼块必须清除干净。

5) 用压缩空气吹掉坑内的杂物,并用水充分浸润砼坑约20 分钟左右,然后排出坑内积水,吹干或擦干坑内少量积水及杂物。

6) 在坑内涂一层薄薄的水泥浆,以利于新老砼的粘接,水泥浆的水灰比为:水泥0.5Kg 加水1公斤。

7) 将搅拌好的砼灌入坑内,并分层捣固,每层以40mm 为宜,捣固应达到返浆程度,砼表面应呈中间高四周低的弧形,以便放置垫板时能排出空气。

8) 座浆模应采用钢制模板,最好采用可折式模板,便于运输、存放,特别是能保证座浆质量,拆模时不易损坏座浆堆。

9) 放置埋设垫板,找水平和标高,找好后,拍平垫板四周砼,使之牢固,砼表面应低于垫板2-5mm,座浆平垫板与砼接触面积应大于70%。

10) 盖上草袋并浇水湿润养护,时间应在4小时以上,如在5以下低温施工时,应采取保温措施,否则不允许施工。

11) 座浆垫板安装标高允许偏差:

 

序号

项目

单位

允许偏差

1

标高允差

mm

+ 0.00- 0.50

2

纵、横向水平度

mm/m

0.1

12) 轧机等主体设备的平垫板和斜垫板加工后进行研磨处理,其接触点的分布要大于三分之二以上。底座和斜垫板的接触要求同上。

7.4.6 设备安装综述

1)设备的平面定位

为了保证设备在基础上准确就位,设备吊装就位后应根据已设置的中心标板,挂设基准线。基准线的挂设应根据设备安装精度要求和挂设跨距选用直径为0.30.75mm 的整根钢线,其拉紧力一般为钢线破断拉力的40%80%,水平或倾斜挂设的跨距不宜超过40m

基准线应挂设在便于调整的线架上,用线锤对正中心点,当对正中心后将钢线用可锁定滑轮锁定。

使其钢线在使用时不发生位移。但使用期间应定期进行复检。

另一种方法是摇转摇臂测量法,该方法适用于可旋转且精度要求高的设备,利用该方法可调整检查设备对机组中心线的垂直度。如辊道的辊子、活套辊、卷取机卷筒等安装时用此方法。

2)设备的标高调整

设备的安装标高应选择设备的主要工作面作为测量基准。如轧机底座的上平面。由于永久性基准点一般离设备较远,因此应用精密水准仪。根据永久性基准点,投设在设备附近一个辅助基准点,以便于设备在安装过程中的标高调整。

标高的测量按方法,在底座上表面放置一平尺,在平尺上放置水平仪,用内径千分尺测量平尺下平面与基准点的距离h,基准点高程与h 之和即为底座上表面标高。对于较重要设备,最终还要用精密水准仪进行复测。

3)设备的水平度调整

设备水平度调整方法分整体设备、分体设备。

一般整体设备在设备的工作表面或组装结合部表面直接用水平仪测量,根据设备的安装精度可选用不同精度的水平仪,最高可选用0.02mm/m 的方水平。

分体设备安装时可分别对各分体部件进行找平。如卷取机底座,先将两底座分别找正、找平,然后将长平尺放在两底座上,把方水平放在平尺上进行测量。

4)设备的铅垂度调整

设备的铅垂度调整可采用吊钢线测量法。

在设备的上方设置一线架,在线架上挂一钢线,下端挂一线锤,为了防止线锤摆动,使所测数据准确,应将线锤放在一油桶中,然后用内径千分尺测量设备与钢线的间距,测量部位在AB 两点,根据两点的距离,可算出铅垂度差,为了测量准确可采用放大镜观察接触法或用声(光)法。

5) 设备地脚螺栓的紧固

轧机底座等设备调整结束后需要对地脚螺栓进行紧固。紧固的方法有两种:

(1) 液压拉伸螺母拉伸地脚螺栓,是起产生弹性变形,实现紧固地脚螺栓的目的。计算公式:

P=F/A

P---液压拉伸螺母压力读数kg/cm2

F---地脚螺栓设计尽固力kg

A---液压拉伸螺母有效截面积cm2

(2) 初紧螺母,游锤紧固螺母,使其旋转角度达到计算数据,实现紧固地脚螺栓的目的。计算公式:

θ=360.F.L/A.S.E

θ---紧固后地脚螺栓应旋转角度

F---地脚螺栓紧固力

L---地脚螺栓长度

A---地脚螺栓有效截面积

S---螺距

E---弹性模量

7.4.7 运输辊道安装

a)安装程序

 

 

 

 

 

 

 

 

 

 

 

 

 

 

 

 

 

 

 

 

 

 

 

 

 

 

 

b)安装要领

 

辊道安装的技术要求应按设计要求和YB 924993 轧钢设备篇中有关条款的规定。在一般情况下,集中传动辊道的安装精度应高于单独传动辊道的安装精度。

辊道的辊轴线对轧制中心线的垂直度至关重要,它对板料正常运行不跑偏起关键作用。一般采用摇杆找正和测量相邻两辊道平行度的方法检测。如果连续的辊子数量较多,可以每隔数个辊子用摇杆测检一个辊子,检查方法参见下图,其余辊子用测量平行度的方法测检,这样既可以加快找正速度,又可以减少积累误差。辊轴线对机组中心线的垂直公差一般应控制在0.1/1000,相邻两辊偏斜方向宜相反,平行度公差可控制在0.1/1000

辊道的安装,对于运输辊道,标高极限偏差为±0.5mm ,水平度公差为0.1/1000。标高和水平度的测检,要视结构形式选定合理的测检表面,可以辊道底座平面、轴承镗孔或滚动轴承外圈为基准,单独传动辊道也可以辊面为基准。

辊道部件的吊装可采用车间行车或用45t 汽车吊进行作业,辊道传动部件调整的方法和精度要求,可以按通用设备的规范要求进行。

7.4.8 高压水除鳞设备安装

在热轧轧线中,高压水除鳞系统是用来供给热轧板除鳞,将钢板表面的氧化铁皮冲脱,以确保钢板的质量和美观的一套工艺。

高压除鳞水系统,通常由自清洗过滤器除鳞泵组系统(并联蓄能器系统)喷射阀组成。把入口的低压水提高到一定压力,分别在轧线上的喷嘴喷出,形成较高的冲洗水流,在轧线上完成这一任务的就是高压水除鳞箱。

a)高压水除鳞箱安装

在本工程中,粗轧机和精轧机的入口侧均布置有高压水除鳞箱。高压水除鳞箱可由主轧线行车整体吊装就位。

b)高压除鳞水泵站设备安装

高压水除鳞泵站设备通常由多级叶片泵、高压空压机、蓄热器、缓冲罐和过滤器组成,考虑泵站被布置在地下室,所以设备应在地下室顶板封闭前,利用车间行车将大型设备就位。水泵、高压空压机等在顶板封闭后,利用吊装孔吊入站内,再用站内的电葫芦吊装就位。

7.4.9 轧机设备安装

a)安装程序

见下页框图。

轧机安装工艺流程图

b)轧机安装准备

1、基础的检验和地脚螺栓的模拟检查。针对轧机地脚螺栓一般都较大、较长,对预埋地脚螺栓要检查根部中心位置、不垂直度和顶部标高,对套筒型地脚螺栓除检查套筒中心位置、套筒孔壁不垂直度外,还得检查套筒埋设深度。通常对每个地脚螺栓进行模拟检查时还得计算地脚螺栓的长度是否达到要求,这里要着重考虑因基础施工后产生的沉降量,如果设计单位在计算地脚螺栓长度时没有考虑基础沉降影响,一般要加长3050mm,并事先通知加工单位。

2、除埋设中心标板和安装的基准点外,要在连轧机或单个轧机基础的四角埋设沉降观测点,其位置以不妨碍测量和安装为原则,如果基础是由诸多基础块组成,则应埋设在同一基础板块上。

沉降观测点由不锈钢制作,并加保护罩。

3、建立测量观察网根据具体情况每1530 天测量一次,并绘出沉降曲线,掌握基础沉降量和变化规律,以确定安装方案和最终调整时间。

4、轧机垫板施工及基准设置

1)座浆垫板的选择和埋设

座浆垫板总面积的计算;

A=C[(Q1+Q2/R×109mm2

式中 A——垫板承载总面积(mm2);

C——安全系数,采用无收缩水泥进行二次灌浆,取C=2

Q1——设备自重作用在垫板组上的负荷与工作荷载(kN);

Q2——地脚螺栓拧紧后的紧固力(kN);

R——基础混凝土的抗压强度(Pa)。

平垫板和斜垫板加工后进行研磨处理,其接触点的分布要大于三分之二以上。底座和斜垫板的接触要求同上。平垫板中间应设计有排气孔。

斜垫板加工斜度一般取150

座浆垫板布置时留有轧机偏沉后设置千斤顶调整的位置。

严格计量座浆材料的配合比和试块的强度检验,并提出报告检验单。

座浆材料配合比选择

 

材料

无收缩水泥

碎石(520mm

重量比

1

1

1

0.230.35

座浆试块的抗压强度试验要求

 

时间

R11 天)

R33 天)

R77 天)

抗压强度

25MPa 以上

40MPa 以上

50MPa 以上

注:试块的水泥应采用高标号。

座浆平垫板的纵向和横向水平度要达到每米0.1mm 以内

2)轧机预安装和沉降观测

在基础沉降不稳定状态下对轧机进行预安装。所谓预安装就是将轧机设备按照规范和标准进行安装,如果以后基础沉降均匀,各部安装精度均在标准内,则不需再精调,可直接二次灌浆;如果预安装后基础沉降不均匀,产生较大的偏沉,安装精度在重要项目上达不到标准,待基本稳定后要进行精调。预安装的设备主要指轧机底座、机架及上下横梁等。其安装后的总重量要考虑到今后调整的可能性。预安装期间内不允许二次灌浆。

c)轧机主体安装

1、轨座安装

轨座分入口侧和出口侧,轨座安装应以出口侧为基准(包括标高、中心线、水平度),通过基准点和水平仪确定上平面的高度位置。

安装入口侧轨座时,按两轨座间设计尺寸放大11.5mm,以便于机架安装之用,两轨座纵横中心位置、标高、水平度等调整好后,逐个进行地脚螺栓的紧固。轨座安装好后如果不马上安装机架,应在轨座上面涂上一层防锈油,并贴上中性纸加以保护。

轨座标高、水平度和平行度安装方法见下图所示:

1

 

序号

实测项目

极限偏差(公差)

检验方法

1

标高(根据基准点安装)

±0.5

水准仪

2

平面位置(根据主要中心线安装)

±1

钢线、盘尺

3

轧机低座水平度

0.1/1000

水平尺、水准仪

4

轧机两底座平行度

0.1/1000

内径千分尺、外径千分尺

设备地脚螺栓的紧固:

轧机底座调整结束后需要对地脚螺栓进行紧固。

液压拉伸螺母拉伸地脚螺栓,是起产生弹性变形,实现紧固地脚螺栓的目的。计算公式:

P=F/A

P---液压拉伸螺母压力读数kg/cm2

F---地脚螺栓设计尽固力kg

A---液压拉伸螺母有效截面积cm2

2*3500mm 中厚板轧机机架吊装方案

2.1 概述

**钢铁有限公司新建一条3500mm 中厚板生产线,厂房总长1017 米,年产120 万吨中厚板,生产线设计一架3500mm 四辊可逆式粗轧机及一架3500mm 四辊可逆式精轧机。

*3500mm 中厚板粗、精轧机设备由一重制造,分别布置在主轧跨89 线和1516 线间,轧制中心线距操作侧柱中心线19m,距传动侧柱列线14m,单机架重量约为330 吨,为中厚板车间单件设备重量最大值。共四件,粗轧机二件,精轧机二件。机架外形尺寸高××厚为13765mm×4860mm×2000mm,如下图所示,车间主轧跨为33 米跨,跨内设计一台150/30 吨、一台100/30 吨、一台 75 吨、一台 32/5 吨、一台 50/10 吨天车。主电机跨设计一台 200 吨天车。

轧机机架吊装之前,为减少机架的外形尺寸及重量,将机架的不需要使用的六个吊耳割除,机架的外形尺寸高××厚可变为:13245mm×4340mm×2000mm,如下图所示:

2.2 轧机机架吊装方案比选

2.2.1 吊装方案初选

根据**施工中厚板工程的施工经验,大型中厚板轧机的吊装有两种方法:

1) 使用两台300 吨汽车式起重机抬吊

这项技术是**的成熟技术,也是专有技术,目前能够同时拥有二台300 吨级汽车式起重机的大型施工单位的唯有**

济南钢铁集团公司3500mm 中厚板工程轧机机架吊装使用的就是二台300 吨汽车吊抬吊。

2) 使用主轧跨内的天车二台或三台抬吊。

这也是**的一项成熟的施工技术。

安阳钢铁公司2800mm 中厚板工程四辊可逆轧机机架单件最大重量为232 吨,使用一台150吨、一台50 吨和一台32 吨天车成功地吊装了两个机架。

上钢三厂4200mm 中厚板轧机机架吊装也是使用这种办法。

安阳永兴钢铁公司3500mm 中厚板工程非常看重**的这项吊装技术,为了轧机机架的吊装成功,首选**为设备安装施工单位,并且根据这项技术的要求,相应配置了天车和结构方面的各项参数。并组织了多次施工单位与设计院的交流活动。

2.2.2 吊装方案比选

根据**钢铁有限公司中厚板工程的特点,两种吊装方案均可适用。两种方案各自的优缺点如下:

1) 两台300 吨汽车吊抬吊

使用**自有二台300 吨汽车式起重机抬吊。

Δ 优点:第一,不需要厂房天车作吊装工具,节省了200 吨天车安拆的费用。第二,使用施工单位的吊装机具,对业主的天车无要求,天车可以按正常日期到货。

Δ 缺点:第一,增加了两台300 吨汽车吊的大型机械进出场费用;第二,车间内的轧机机架运输比较复杂,需要在轧辊间先拆下轧机机架,然后再从换沟内将轧机机架运入主轧跨,需要安装机架的运输轨道及运输小车;第三,需要核算300 吨汽车吊的压脚支点,确保不影响主轧机附近的地下设施,如地下油库的施工。

2) 两台天车抬吊

使用主轧跨150/30t 天车和主电室200t 天车抬吊机架。

Δ 优点:使用车间内天车抬吊,首先不涉及大型机械的进出场,节省投资;第二,**曾经使用这种方法吊装过机架,施工方案及吊装技术、施工人员比较成熟;第三,轧机机架卸车可以直接在主轧跨卸车,卸车与车间内的机架运输难度降低。

Δ 缺点:第一,要与设计院及天车制造厂家核对厂房结构及天车的起重能力,需要施工单位与设计院充分交流,从总体施工的高度来考虑机架的吊装方案。第二,天车抬吊吊装技术比较复杂,没有施工经验的单位很难作到,施工的难度比较大,对平衡梁的计算要求比较高,各种参数确定要慎之又慎,对施工单位的要求比较高。第三,要求天车的到货与安装满足机架的吊装工期要求;第四,要使用主电机室的200 吨天车,增加了200 吨天车的安拆费用。

2.2.3 吊装方案确定

综合以上论述,根据**目前的施工能力及*钢工程的进一步发展,优选采用二台300 吨汽车抬吊的施工方案,同时仍然保留使用一台150 吨天车及一台200 吨天车双天车抬吊的方式吊装机架施工方案的可能性,根据工程的进展情况进行调整。

2.3 第一套吊装方案

选用二台300 吨汽车吊抬吊。

2.3.1 概况

**钢铁有限公司3500mm 中厚板工程厂房总长1017 米,主轧跨为33 米跨,设置两台主轧机,分别布置在主轧跨89 线和1516 线间,轧制中心线距操作侧柱中心线19m,距传动侧柱列线14m,单机架重约330 吨,外形尺寸高××厚为13765mm×4860mm×2000mm,轧机机架外形尺寸如图所示。

车间主轧跨为33 米跨,跨内设计一台150/30 吨、一台100/30 吨、一台32/5 吨、一台50/10吨天车。

2.3.2 轧机机架的运输通道

1) 从厂外运入车间的通道

按照*钢中板工程的工艺布置和厂房布置的实际情况及我公司的施工经验,轧机机架运输从轧辊间一侧运入为最优。(粗轧机是从9 线进入,精轧机从16 线进入)

2) 从轧辊间运入主轧跨的通道

将机架卸至轧机的换辊沟内,从轧机的换辊沟运至轧机基础。换辊沟内设置钢轨及平移小车,机架由换辊沟从轧辊间平移至主轧跨轧机基础上,先运传动侧机架,再运操作侧机架,

2.3.3 轧机机架卸车方式

利用两台300 吨汽车吊抬吊卸车。卸车位置在轧辊间,直接卸到主轧机换辊沟内,300 吨汽车吊18 米杆、吊装半径11 米时能吊175 吨。两台抬吊能够达到350 吨的吊装能力,可以满足要求。

2.3.4 机架进场的顺序及方向

1) 两机架的进场顺序

传动侧机架先进场,操作侧机架后进场。

2) 机架在拖车上的摆放方向

机架由汽车陆路运入,拖车进入轧辊间时,机架放在拖车上的方向为顶部朝向传动侧,传动侧机架有安装上下横梁螺栓孔的一侧朝向天空,操作侧有安装上下横梁螺栓孔的一侧朝向地面。

2.3.5 轧机机架的吊装

冲渣沟壁用钢板及型钢制作钢架进行加固。保证吊车压脚支点牢固。

300 吨汽车吊的性能参数:主臂18 米,吊装半径11 米,起重量2×175 吨。机架卸车、运输及吊装如下图所示。

2.4 第二套吊装方案

采用一台150 吨天车及一台200 吨天车抬吊的方式吊装机架。

2.4.1 机架运输

机架运输由下列几个步骤组成:

机架厂外运输(由业主负责)机架卸车车间内水平运输放入冲渣内临时存放待吊装机架吊装就位机架安装调整。

1) 吊具及吊点设置

机架卸车由车间主轧跨内一台150 吨天车及一台200 吨天车抬吊,吊具采用一套平衡梁。平衡梁的外形尺寸已确定,外形为矩形箱形梁,截面尺寸为1700×1100mm,长度13.5m,采用Q235板材δ=40mm30mm 制造,总重量约22 吨。加上钢丝绳的重量,预计吊具总重量不超过30 吨。

也就是说两台天车的总负荷在360 吨以内。两台天车动负荷抬吊能力可以满足要求。

机架上的吊点设在机架两侧的四个吊耳上。如机架卸车示意图所示。

2) 机架卸车

根据*钢提供的机架运输方案,机架由汽车公路运输进场。

轧机机架从3500mm 中厚板车间北侧轧辊间21 线-22 线间进入,穿过轧辊间进入主轧跨,停在主轧跨21 线-22 线间,躲开精轧机4 号油库地下设施。机架头部进入主轧跨最小不得小于11696mm,如图所示。

轧机机架在拖车上的摆放方向:

由于运输机架的车辆必须倒进主轧跨,所以机架放在拖车上的方向为两个机架头部全部朝向车尾,传动侧机架有安装上下横梁螺栓孔的一侧朝向天空,操作侧有安装上下横梁螺栓孔的一侧朝向地面。

轧机机架进入主轧跨的方向(与机架在拖车上的摆放方向配套)

机架进入厂房主轧跨的方向为:两个机架头部全部朝向南,传动侧机架有安装上下横梁螺栓孔的一侧朝向天空,操作侧有安装上下横梁螺栓孔的一侧朝向地面。

两机架的进场顺序为:

操作侧机架先进场,传动侧机架后进场。

机架卸下后,水平摆放在主轧跨内,地面用钢板及道木垫平,使车间地面均匀受力。

 

 

 

 

 

 

2.4.2 机架于车间内的水平运输

机架车间内水平运输是指从主轧跨21 线-22 线运输至精轧机基础坑内,水平运输吊具由主轧跨内一台150 吨天车及一台200 吨天车抬吊,吊具采用平衡梁(与卸车吊具相同)。运输时将机架头部倾斜吊起,头高尾低,与地面的夹角进行计算,要与机架放入精轧机基础坑内的角度相适应。

机架放入精轧机基础坑后,轧机机架头部用钢板及道木制作的支撑座撑起,以保护精轧机基础。

机架先运输操作侧机架,再运输传动侧机架,机架放入基础坑内时,机架头部向传动侧倾倒。

轧机基础按实际需要垫放道木。如机架临时存放示意图所示。

2.4.3 机架吊入冲渣沟内临时存放待吊装

机架吊入冲渣沟内临时存放待吊装是指将机架从精轧机基础坑内吊起放入冲渣沟内临时存放,机架放在粗轧机与精轧机之间的冲渣沟内,这一段冲渣沟-2.0 米以上若设计横穿冲渣沟的混凝土固定梁、电缆过梁、管道过梁要由设计院与施工单位交流具体设计位置。如图所示。

放置机架时,先放操作侧机架,再放传动侧机架,操作侧机架靠近精轧机基础,机架吊装时要先吊装操作侧机架,再吊装传动侧机架。

冲渣沟内按实际需要垫放道木。每架机架垫放面积为2.5×820m2,冲渣沟底板承力约200Kpa(20 /2),冲渣沟底板设计时应考虑加固。

如下图所示。

2.4.4 机架吊装

吊装顺序:

先吊粗轧机机架,粗轧机机架先吊操作侧机架,再吊传动侧机架。

等精轧机的机架全部放置于冲渣内后,再安装精轧机底座。

如下图所示。

天车抬吊轧机机架吊装情景

2.4.5 机架运输及吊装注意事项

Δ 主轧跨天车

1、外形尺寸:天车宽度及主梁下底面标高还要进一步与业主及设备制造厂家确认。两台天车靠在一起时,使用钢件及螺栓在端部进行紧密钢性连接。

2、安装施工质量:应满足<<起重设备安装工程施工及验收规范>>GB50278-98 及设备技术文件的各项要求。

3、试动转:分别进行空负荷试运转、静负荷试运转及动负荷试运转。

Δ 平衡梁的结构设计及验算

平衡梁的外形尺寸已确定,外形为矩形箱形梁,截面尺寸为1700×1100mm,长度13m,采用Q235 板材δ=40mm30mm 制造,总重量约22 吨。加上钢丝绳的重量,预计吊具总重量不超过30吨。也就是说一台150 吨、一台200 吨天车的总负荷在360 吨以内。可以满足动负荷的要求。

Δ 精轧机底座安装配合要求

由于两架轧机的四个机架都要在精轧机基础上倾斜后立起,所以精轧机的底座要晚一些安装,等四个轧机的机架全部立起后放入冲渣沟内时,再安装精轧机的底座。

Δ 轧机制造方面的要求

1) 轧机机架的上部两侧的吊耳要能够承受吊重330 吨的要求。

2) 机架的单重及机架水平摆放时的重心位置由业主及制造厂以书面形式提供较为准确的数值。

机架重心要用明显的标记标注在机架实物上,便于识别。

Δ 冲渣沟土建设计的要求

轧机机架要从精轧机基础坑内立起,再临时存放在冲渣沟内。所以,冲渣沟底板承受的压强要达到20 /2 以上。

Δ 轧机机架运输进入主轧跨的要求

由于运输机架的车辆长度约为20 米,进场时,有一定的要求,最小及最大的尺寸详见极限位置示意图。

3、机架安装

当轧机底座安装合格后,可以进行轧机机架的吊装就位。机架安装前应先将轧机底座上的防锈油清除干净,然后涂一薄层透平油和二硫化钼,其目的是防止拉伤接触面及便于移动。

机架安装时先吊装传动侧机架,并以此机架为基准,以保证轧辊驱动装置的安装精度。当机架吊放到底座上时,使支腿侧面靠紧出口侧轨座的侧面,接触严密,要确认从轧制中心线到机架间的尺寸及接触面积、机架的垂直度。操作侧机架就位时要比设计尺寸大12mm,以便于上下横梁的安装。上下横梁就位时应先吊下横梁后吊上横梁,横梁紧固时要先紧固传动侧然后将操作侧机架向轧制线方向移动,使上下横梁接触面靠紧并将连接螺栓紧固。调整入口侧轨座向轧机中心线方向移动使轨座与机架支腿侧面紧密接触并紧固地脚螺栓。

1)机架垂直度的检查方法见下图所示:

机架垂直度的检查包括机架窗口垂直度和机架侧面垂直度。

机架水平度的检查方法见下左图所示:

3)机架窗口面的扭斜和水平偏移的检查方法见上右图所示:

4)机架间平行度的检查方法

相邻轧机平行度检查时,用千斤顶顶住小平尺紧贴窗口,用千分尺检测。

d)轧机的精调

当轧机预安装后,并且周边的基础回填土及地坪施工全部结束,设备基础沉降趋于稳定时,可以对由于基础不均匀沉降影响轧机安装精度的部位进行调整。所谓精调就是根据规范和技术标准要求,将偏沉的轧机调整到允许范围内。

轧机机架安装偏差和检验方法符合下表要求

 

序号

实测项目

极限偏差(公差)

检验方法

1

机架窗口衬板面垂直度

0.1/1000

钢线、耳机内径千分尺

2

机架窗口侧面垂直度

0.1/1000

钢线、耳机内径千分尺

3

窗口底面轧件进入方向水平度

0.1/1000

水平仪

4

窗口底面垂直轧件进入方向水平度

0.1/1000

水平仪、千分仪

5

两机架窗口中心线的水平偏移

0.2/1000

钢线、钢尺、内径千分尺

6

机架窗口在水平方向扭斜

0.2/1000

钢线、钢尺、内径千分尺

7

机架中心线偏移

1

钢线、钢尺

8

机架与底座接触间隙

0.05mm 塞尺检查四周75%不入,局部允许0.1mm

9

横梁与机架接触间隙

0.05mm 塞尺检查四周75%不入,局部允许0.1mm

1、轧机的调偏工艺

1)确定轧机沉降不均匀的量值,选择调偏的顶升量。根据经验,取顶升量等于偏沉量+0.1mm

2)计算顶升力

顶升时非顶升端的地脚螺栓不松开,顶升端轨座上的地脚螺栓全部处于松开状态。其顶升力为:

P=W1L1+W2L2+W3L3+W4L4/L

式中 P——顶升力;

W1——基础螺栓紧固力;

3)确定顶升装置,通常选择体积较小而起重能力又大的液压千斤顶,放置在轧机底座的下方。

在顶升过程中采取防止移位措施。顶升中为防止轧机底座和机架的位移,除在非顶端紧固好地脚螺栓外,在前端和两端均设置千斤顶,紧靠轧机底座,以控制移位,为监视可能产生的移位,在其周围安放千分表,可以读出微量变化。

4)顶升量的控制。顶量的控制方案是在底座上方设置两个千分表,监视调整量的变化。

5)同步进行,顶升过程中要使液压千斤顶和底座下面的斜垫板两者同步进行调整。

6)全面复测和检查。达到顶升力后,用液压紧固螺母紧固各地脚螺栓并复测轧机各部安装精度,达到标准后即可进行二次灌浆。

e)传动装置安装

传动装置包括电机、齿轮机座、主减速机、连接轴及联轴器等,安装的标高、中心线及相关尺寸均以相对应的轧机机架为基准。

f)换辊装置安装

换辊装置有液压传动和机械传动,其安装基准,包括标高、中心线、水平度和平行度等均以相对应的轧机机架为基准。更换工作辊的轨道安装和更换支撑辊的滑道安装,主要保证中心线、水平及相互高差,对于用齿条传动的换辊装置,无论是安装轨道、底板、齿条下部的埋设件及挡轮,还是安装轨道和齿条,以采用间距规、尺寸规等样板安装为好,尤其是固定在混凝土上的埋设件,安装时要预先控制好精度,或者是埋设件暂不浇灌混凝土,待轨道和齿条安装调整好后再进行灌浆,方可保证质量和进度。

g)轴承装配

四辊轧机工作辊一般采用四列圆锥滚柱轴承。在装配时,一般按出厂装配顺序(标记)进行装配安装,要特别注意检查配合表面的质量,如锈斑、硬伤、清洁等;装配后,应检查间隙(直接法或间接法)是否达到技术标准,否则应检查出厂标记是否错对及检测各调整的轴向厚度并进行调整。

四辊轧机支承辊通常采用摩根油膜轴承。油膜轴承加工精度很高,对装配环境要求很严,必须是在封闭的、洁净的有压缩空气及有足够的起重能力的厂房内(一般是在轴承清洗间)清洗装配。

其顺序如下:

1、将清洗好轴承座平放在垫木或胶皮板上,镗孔垂直、外侧向上,并用水平仪检查镗孔端面的水平度;

2、用防变形的专用吊具吊装轴套,轴套的水平度要调整好,将其套装到轴承座内,对准定位销孔后安装定位销轴;

3、起锥套,并在两滑动面上涂抹足够量的工作油,在将其缓慢、准确地套装进轴套内;

4、定螺母旋入环形螺丝内,并将它们吊放在锥套上。安装轴承端部法兰及压盖;

5、轴承座翻转90 度立起。并将它们吊放在锥套上。安装轴承密封装置安装在轴承上。

6、支撑辊吊放在便于操作的轧辊架上。放置时,一定要将键槽朝正上方,并安上键;

7、起支撑辊轴承座并使键槽对准后将轴承座套装到支承轴头上,安装轴头止推环;

8、紧固定螺母。锁紧力要适当,安装端盖。

7.4.10 轿直机设备安装

轿直机设备与主轧机有些相似之处,但轿直机不论从设备安装的吊装难度还是系统的复杂性都比不上主轧机,其液压系统及润滑系统也比主轧机相差很远。

轿直机的定位应以下排工作辊面为基准,轿直机设备安装精度参见YB9249--93冶金机械设备安装工程施工及验收规范(轧钢设备)

7.4.11 剪切机安装

a)安装程序

 

 

 

 

 

 

 

 

 

 

 

 

 

 

 

 

 

 

 

 

 

 

 

 

 

 

 

 

 

 

 

 

 

 

 

 

b)剪切机安装要领

1、基线的设置

通常剪切机本体会被整体运至现场,在现场不再解体,因此,可利用车间内部行车进行整体吊装。剪切机在机组中位置的几何尺寸必须精确,安装精度要求高,安装找平、找正时必须认真地考虑安装检测的基准面。为了便于利用摇杆检测剪切机送料辊与机组中心线的垂直度,须在按机组纵向中心标板设置的机组纵向中心线的一侧,增设一条辅助中心线,纵向中心线与辅助中心线必须平行,其间距应根据最小检测误差要求和操作方便而定。横向中心标板埋设在机组操作侧和传动侧,为了方便找正操作方便,送料辊和剪切机本体可分别埋设横向中心标板。

2、安装顺序

剪切机安装前应先安装其下部切头溜槽和废料箱,由于剪切机机构一般都比较复杂,在连接它的传动机构、匀速机构、空切机构时,必须根据不同机构的特点,在特定的几何位置上连接。

3、安装找平

对于剪切机,其送料辊以及它们的传动机构都装在一个刚性很强的箱形底座上,而且箱形底座的表面经过了精加工,因此为安装找平提供了方便条件,可以直接用水平仪放在底座上调整。

4、剪切机与机组的垂直度找正

为了保证钢板通过剪切机时不跑偏,并且切下定尺钢板是一个规则的矩形,在安装时必须保证剪切机横向中心线与机组中心线相垂直,剪切机因为具有整体刚性底座,只需要对送料辊采用摇杆法找正,就是对整台剪切机的垂直度找正。

7.4.12 冷床设备安装施工方案

1)冷床安装程序见框图。

 

 

2)传动装置的安装

冷床面积由于较大,传动轴较长,传动轴安装要求比较高,安装要领如下:

a) 在传动轴外侧约300500mm 以内设中心标板,分三段挂钢线,用经纬仪将钢线校直(线架要牢固可微调)。根据钢线检查和调整长轴的位置,应在每段轴靠近轴承座的部位测量。

b) 用水准仪直接测长轴的顶面确定轴的标高。

c) 长轴安装时要量出每个轴承座的窜动,要考虑热膨胀的余量。

3)立柱安装

a) 立柱安装时,挂线测量以上平面螺栓孔为准,并要保证上平面水平。

b) 标高也以立柱上平面的高度为准。

4)梁安装

a)梁在传动轴找好,检查无误后安装。

b) 可先将梁在地面拼装,找几个大片,然后安装。

5)链及托轮安装

链安装要注意保护,在设备堆放时,要有相应措施,吊装时,应使用专用的吊具,不得使链条变形。

6)输入辊道安装

a)利用辊道框架上的加工面,测量水平和标高,利用摆动的长轴测量座标位置。

b) 每组辊道必须保证位置准确,一般从中间位置的一线辊道开始找正,分别向两边分头找正,在安装时要和消除累积误差,要保证冷床的活动齿条和辊道的相对位置。

8)冷床输出辊道安装

安装时要注意各位置安装尺寸注意消除积累误差。

9)冷床安装的注意事项

由于冷床的面积较大,大部分件都必须在现场装配,而且输入输出辊道工作状态下设备动作多,其安装难度大于轧机设备安装。

7.4.13 地下油库设备安装

本工程中的油库被布置在箱形基础内,即为地下式油库,其中包含液压系统和润滑系统。安装内容包括蓄能器、油箱、泵、过滤器、阀台、管道的安装。其中油箱几何尺寸很大,材质为不锈钢,考虑其应在工厂内制成,如果油库顶板上设计的吊装孔不能满足油箱整体吊装就位的要求,则必须在油库箱形顶板封闭之前,将其整体吊入就位。

油箱就位后,土建施工时,要注意对设备的防护、防尘,设备上搭设保护棚,各管口的堵盖在管道施工前不得拆卸。

7.4.14 管道安装施工方法

7.4.14.1 管道施工综述

管道按介质可分为水管道、压缩空气管道、煤气管道、蒸汽管道、通风管道及液压润滑管道等。管道施工的各工序将严格按业主的招标文件、相关技术资料及有关国家现行标准执行。管道施工通用程序如下。

7.4.14.2 管道材料验收

a) 验收的内容

1)管子、管件到位后,按有关国家和行业标准对其外观进行检查验收。

2)管子、管件安装焊接前要进行酸洗除锈,有脱脂要求的管子还必须进行槽式脱脂。管子、管件酸洗、脱脂要有软件资料及出厂检验合格资料。酸洗、脱脂后的管子及管件运到现场前其两端一定要封扎严实。

3)阀门到货后要进行强度及密封性试验。

b) 预制的内容

1)管材到货及验收后,应根据图纸和走向空间,能地面组对、煨弯的,应尽量在地面进行,减少空中作业。

2)管道支架应提前预制好。

3)埋地管道施工前应进行管道的防腐工作,根据设计要求确定防腐材料,防腐后的管道根据设计及业主要求进行电火花检测及粘贴强度和防腐厚度的检验。

4)针对不锈钢材质的特性,不锈钢管的现场切割应采用手锯、管刀、等离子切割机等,不得使用氧-乙炔焰切割。在管径及壁厚较小,采用管刀切割时,管口毛刺要用锉刀进行加工。

7.4.14.3 管道安装总体要求

轧钢主车间架空管道的安装:

架空管道可利用车间内天车和临时吊具(吊杆和配重组成)将管道送到安装部位,或者利用挂在上部厂房上的定滑轮用卷扬机吊装到位,对于重量较轻较小的管道,可利用人力拽滑轮组的方法

吊装就位。

蒸汽管道安装:

1)管道安装阶段注意补偿器部分予拉伸(压缩)尺寸控制,应先安装补偿器区域管道,再连接直线段,使之满足热膨胀。

2)施工中注意导向支架、滑动支架、固定支架三种形式的定位,严格按图纸施工。如施工前发现问题,及时同设计部门联系确认。

管道安装总体精度要求如下,如与设计不符应按设计要求执行。

管道安装的允许偏差表

 

项目

允许偏差mm

架空及地沟

室外

25

室内

15

60

架空及地沟

室外

20

室内

15

25

 

水平管道平直度

DN100

2L,最大50

DN100

5L,最大80

 

立管铅垂度

 

5L,最大30

 

成排管道间距

 

15

7.4.14.4 水处理系统管道安装

a) 各种水泵安装

首先应对基础进行检查验收,待基础验收后。各种泵体设备吊装就位后,即可进行设备的找平找正,如果地脚螺栓为直埋螺栓可直接进行设备的找平找正。如果地脚螺栓为予埋螺栓,可先将设备进行粗找,等一次灌浆和养生后,再进行设备的精找。

各种泵的找正除控制泵的坐标位置外,还要控制泵的标高和水平度,以及联轴器的定心精度,水平度在泵的法兰口上用水平仪进行测量检查,联轴器的径向跳动和端面倾斜用百分表来检查。检查数值应符合有关规范要求。立式长轴泵的泵轴安装精度比较高,施工时详细按照设备文件进行。

b) 管道安装

管道与管道、管道与设备及元件连接均采用丝扣连接,管道敷设位置应便于装拆、检修,机体上的管道应尽量贴近机体,但不得妨碍机器动作。管子与设备连接不应使设备承受附加外力,并在连接时不得使脏物进入设备及元件内。管道密封件必须按设计规定的材质和规格使用。管道连接时不得采用强力对口、加热管子等方法来消除错口或不同心等缺陷。管道安装后,按设计及规范要求的压力对管道进行水压试验,试压合格后用洁净水对系统进行冲冼,压缩空气管道进行空气吹扫。

7.4.14.5 蒸汽管道补偿器的安装

a) 方形补偿器的制作安装

方形补偿器尽量用一根管子连续煨制而成,当由于补偿器尺寸较大,用一根管子煨制不够长时,则可用2 根或3 根管子分别煨制,经焊接成形。煨制补偿器时应注意:

1) 煨制补偿器时,尺寸应准确,要防止歪扭和翘瓢。

2) 焊接方形补偿器时焊口留在悬臂的中部,补偿器不论用几根管子煨制,在平臂(顶端)不留焊口。

3) 方形补偿器组对时,应在平地上拼接,组对尺寸要正确,垂直臂长度偏差不应大于±10mm,弯头角度必须是90°。安装补偿器时为了减少热应力和提高热补偿能力,必须对补偿器按设计文件规定进行预拉伸。拉管的方法可用拉管器。管道预拉应在两个固定支架之间的管道安装完毕并与固定支架连接牢固以后进行。预拉伸的焊口离开补偿器的起弯点应大于2m。并应将补偿器两臂同时拉伸。安装补偿器时,用三点以上受力起吊,将两垂直臂撑牢,以免发生变形,如图所示。当水平安装补偿器时,两垂直臂保持水平,补偿器顶端和管道的坡向相同。当垂直安装时,在来汽端装疏水器。补偿器拉伸合格后,应马上作出记录。

b) 波形补偿器安装

安装波形补偿器的要点:

1) 波形补偿器的补偿能力应按设计文件规定或规范计算。

2) 波形补偿器安装时需进行预拉伸,拉伸量应根据补偿零点温度(管道设计最高温度和最低温度的中点温度)来定位。安装环境温度等于补偿零点温度时,不拉伸;大于零点温度时,压缩;小于零点温度时,拉伸。

3) 波形补偿器的预拉或预压,应在平地进行,逐渐增加作用力,尽量保证各波节的圆周面受力均匀,当拉伸或压缩到要求数值时应当安装固定。

4) 波形补偿器必须与管道保持同心,不得偏斜。

5) 吊装波形补偿器时,不能把支撑件焊在波节上,也不能把吊索绑扎到波节上。

6) 安装波形补偿器,不可将二次线碰到波形补偿器上,以免损坏设备。

7.4.14.6 煤气管道安装

a) 施工工序

 

 

 

 

 

 

 

b) 施工说明:

1) 煤气管道制安根据有关要求对焊缝进行无损探伤抽查,并达到要求的质量等级。

2) 管道阀门到货后要根据规范有关要求进行强度及气密性试验。

3) 属设备进货的水封阀安装前要进行压力试验,其试验压力根据设备说明进行。

4) 管道气密性试验前,应进行静电接地的电阻值测试,如不符合GB50235-97 要求时,应对接地进行调整,直至满足要求时为止。

7.4.14.7 管道焊接

a) 管道的焊接要求

1) 焊工一定要持证上岗,对压力管道施焊的焊工还必须要有焊接压力容器的上岗证书。

2) 管子及管件在对接之前一定要打坡口,坡口加工宜采用机械方法进行,如用气焊切割,必须将坡口部分打磨平整后方可进行焊接。

3) 焊条、焊丝的选用应符合设计文件的要求,焊条要在规定的温度和时间烘干后才可使用,且要有专人负责管理。烘干后的焊条进入施工现场,要有专用的保温桶存放,不得随意乱放。

4) 管子或管件对接焊接组对时,对坡口及其内外表面要用手工或机械的方法进行清理,清理范围要大于或等于10mm,而且内壁应齐平,内壁错边量不宜超过壁厚的10%,且不大于2mm

5) 不宜在管道焊缝及其边缘上开孔,卷管的纵向焊缝应置于易检修的位置,且不宜在底部,环焊缝距支架净距不应小于50 mm

6) 不锈钢管焊接采用氩弧焊打底,氩弧焊成形。氩弧焊丝应根据管道的材质选择,钨极一般选用含二氧化钍11.5%的钍钨棒,也可采用纯钨棒,氩气纯度宜在99.2%以上。管子的坡口宜采用机械方法或等离子切割或手工锉等方法。焊前应将坡口及两侧20mm 宽度范围内的油污清除干净,并宜在坡口两侧100mm 宽度内涂上白恶粉,防止焊接飞溅物沾附在管壁上。

不锈钢管不准直接与碳钢支架接触,应在管道与支架之间垫入不锈钢片、不含氯离子的塑料片或橡胶板。

不锈钢管道的焊接,采用在管道内部充氩气对管道焊缝进行焊接,管道内部充氩气焊接可以减少管道内表面的氧化层,焊接后可进行修磨焊口处理。

b) 管道焊接检验

管道的焊缝应进行外观检查,外观检验质量应符合下列规定:

1) 设计文件规定进行局部射线照相检验或超声波检验的焊缝,其外观质量不得低于本规范表中的级。

2) 不要求进行无损检验的焊缝,其外观质量不得低于下表中的级。

3) 焊缝的内部质量,应按设计文件的规定进行射线照相检验或超声波检验。碳素钢焊缝的射线照相检验应符合现行国家标准《钢熔化焊对接接头射线照相和质量分级》GB3323 的规定;超声波检验应符合现行国家标准《钢焊缝手工超声波探伤方法和探伤结果分级》GB11345 的规定。

 

检验项目

缺陷名称

质量分级

焊缝外观质量

裂纹

不允许

表面气孔

不允许≥δ

50mm 焊缝长度内允许直径0.3 δ 2mm 的气孔两个孔间距6 倍孔径

50mm 焊缝长度内允许直径0.4δ,且3mm 的气孔两个孔间距6 倍孔径

表面夹渣

不允许

0.1δ 0.3δ,且10mm

0.2δ0.5δ 20mm

咬边

不允许

0.05 δ,且0.5mm 连续长度100mm,且焊缝两侧咬边总长10 焊缝全长

0.1δ 1mm ,长度不限

未焊透

不允许

不加垫单面焊允许值0.15δ,且1.5mm,缺陷总长在6δ焊缝长度内不超过δ

0.2δ,且2.0mm 100 焊缝内缺陷总长25mm

根部收缩

不允许

0.2+0.02δ 0.5mm

0.2+0.02δ 1mm

0.2+0.04δ,且2mm

长度不限

角焊缝厚度不够

不允许

0.3+0.05δ 1mm,每100mm 焊缝长度内缺陷总长度25mm

0.3+0.05δ,且2mm ,每100mm 焊缝长度内缺陷总长度25mm

角焊缝焊脚不对称

差值1+0.1a

2+0.15a

2+0.2a

余高

1+0.1b 且最大为3 mm

1+0.2b,且最大为5 mm

 

4) 管道焊缝的射线照相检验数量应符合下列规定:

下列管道焊缝应进行100%射线检验,其质量不得低于级:

输送剧毒流体的管道;

输送设计压力大于等于10MPa 或设计压力大于等于4Mpa 且设计温度大于等于4000C 的可燃流体、有毒流体的管道;

输送设计压力大于等于10Mpa且设计温度大于等于4000C的非可燃流体、无毒流体的管道;

设计温度小于-290C 的低温管道;

设计文件要求进行100%射线照相检验的其他管道。

输送设计压力小于等于1MPa 且设计温度小于4000C 的非可燃流体管道、无毒流体管道的焊缝,可不进行射线照相检验。

其他管道应进行抽样射线照相检验,抽检比例不得低于5%,且质量不得低于级。抽检比例和等级应符合设计文件的要求。

如果设计图纸或业主另有要求,则根据设计图纸或业主的要求

实施。

7.4.14.8 管道试压

a) 管道系统试验前的准备

1) 管道系统施工完毕,并符合设计要求。

2) 支吊架安装完毕。

3) 焊接和热处理工作结束,并经检验合格。焊缝及其他应检查部位,未经涂漆和保温。

4) 埋地管道的坐标、标高坡度及管基、垫层等经复查合格。试验用的临时加固措施检查确认安全可靠。

5) 试验用压力表要经校验,精度不低于1.5 级,表的满刻度值为最大被测压力的1.5~2 倍,压力表不少于2 只。

6) 具有完善的、并经批准的试验方案。

7) 试验前应将不能参与试验的系统、设备、仪表及管道附件等加以隔离,安全阀应拆卸,加置盲板的部位应有明显标记和记录。

b) 管道系统的压力试验

1) 水压试验

压缩空气管、蒸汽管、水管压力试验采用清洁的水作介质。向系统注水时,应打开管道各高处的排气阀,将空气排尽。待水灌满后,关闭排气阀和进水阀,用手动或电动试压泵加压。压力应逐渐升高,加压到一定数值时,停下来对管道进行检查,无问题时再继续加压,一般分23 次升到试

验压力。当压力达到试验压力时停止加压,试验压力保持时间按有关标准执行。在试验压力保持的时间内,如管道未发现泄漏现象,压力表指针不下降,且目测管道无变形就认为强度试验合格。

强度试验合格后进行管道严密性试验。把压力降至工作压力,在此压力下对钢管进行全面检查,并用重1.5kg 以下的圆头小锤在距焊缝15~20mm 处沿焊缝方向轻轻敲击。到检查完毕时,如压力表指针无下降,管道的焊缝及法兰连接未发现渗漏现象,即可认为严密性试验合格。蒸汽系统在试验压力保持的时间内,压力下降不超过0.02MPa,即认为合格。

试验过程中如遇泄漏,不得带压修理,应泄压后处理,缺陷消除后,再重新试验。试验完毕后,应及时拆除所有临时盲板,核对记录,并填写《管道系统试验记录》。当气温低于0时水压试验可采取特殊防冻措施后,用50左右的热水在5~10 分钟内充满管线进行试验。试验完毕,应立即将管内存水放净。

2) 气压试验

氮气、煤气管道气压试验可选为无油的压缩空气(或按设计要求进行)。首先进行气压强度试验,试验压力为设计压力的1.15 倍。试验时,压力应逐级上升,先升到试验压力的50%,进行检查如无泄漏及异常现象,继续按试验压力的10%,逐级升压,直至强度试验压力。每级试验压力稳压3 分钟,达到试验压力后稳压时间按有关标准执行,以无泄漏、目测无变形为合格,试验压力亦按有关标准执行。如发现有漏气的地方,应在该处做上标记,放压后进行修理。消除缺陷后,再升压至试验压力。

强度试验合格后,降至设计压力进行严密性试验,先用3~12 小时,使管道内气体的温度与周围大气的温度相等,然后用涂刷中性肥皂水的方法,检查有无泄漏,并以24 小时的时间测定漏气量。

如每小时平均漏气率不超过规定数值,即可认为试验合格。漏气率可按下列公式计算:

A=[1-P2t1+273/P1t2+273]100%

式中 A——漏气率;

P1P2——试验开始及终了时管道内的压力,MPa

t1t2——试验开始及终了时管道内气体的温度,

在选择取测压点和测温点时,应保证使在该点所测得的压力值和温度值,能够代表整个管道的压力和温度。正确作法是装设两个或三个压力表和温度计,取其平均值,这样所计算求得的漏气率则更具有代表性。

按有关规定部分阀门安装前需作气压试验。被试验的阀门外观检查应无砂眼、裂纹等缺陷,试验时,用盲板堵住一侧,用气筒从另一侧向其内充气进行试验,或用压缩机接一个气包进行试压。5分钟后,压力表指针不动为合格;如压力保持不住,可卸下阀门进行研磨修理。

管道耐压合格后,将介质气体排放,氮气要采用放散管进行,如放散区域没有排放设置,则要增设排放设置。

管道试压结束后,如有接地的管道应进行静电接地的电阻值测试,如不符合GB50235-97 要求时,应对接地进行调整,直至满足要求时为止。

7.4.14.9 管道系统的吹扫与清洗

a) 管道系统吹扫与清洗的一般情况

1) 管道系统强度试验合格后,或气密性试验前,应分段进行吹扫和清洗。

2) 吹洗方法应根据管道的使用要求,管道内输送介质的种类及管道内表面的脏污程度确定。吹洗的顺序一般按主管、支管、疏排管依次进行。

3) 吹洗前,应将系统内的仪表予以保护,并将孔板、喷嘴、滤网、节流阀及止回阀芯等部件拆除,妥善保管,待吹洗后复位。

4) 不允许吹洗的设备及管道与吹洗系统隔离。

5) 对未能吹洗或吹洗后可能留存脏污、杂物的管道,应用其他方法补充清理。

6) 吹洗时,管道内的脏物不得进入设备,设备吹出的脏物一般也不得进入管道。

7) 管道吹扫应有足够的流量,吹扫压力不得超过设计压力,流速不低于工作流速,一般不小于20m/s

8) 吹洗时,用锤敲打管子,对焊缝、死角和管底部部位应重点敲打,但不得损伤管子。

9) 吹洗合格前,应考虑管道支、吊架的牢固程度,必要时应予加固。

10 管道吹洗合格后,填写《管道系统吹洗记录》,除规定的检查及恢复工作外,不再进行影响管内清洁的其他作业。

b) 水冲洗

1) 根据业主要求水管道用洁净水或净化剂进行冲洗(采用何种药品按业主或设计要求)。

2) 水冲洗的排放管接入可靠的排水井或沟中,并保证排泄物畅通和安全。排放管的截面不小于被冲洗管截面的60%

3) 水冲洗应以管内可能达到的最大流量或不小于1.5m/s 的流速进行。

4) 水冲洗连续进行。当设计无规定时,则以出口的水色和透明度与入口处目测一致为合格。

5) 管道冲洗后将水排尽,按业主要求软化水管还需用压缩空气吹干。

c) 空气吹扫

1) 按要求压缩空气、氮气、煤气、酸液和化学溶液管道用压缩空气吹扫。吹扫流速不小于20m/s

2) 忌油管道用于吹洗的压缩空气必须无油或用氮气吹扫。

3) 空气吹扫时,在排气口用白布或涂有白漆的靶板检查,如5 分钟内检查其上无铁锈、尘土、水分及其他脏物即为合格。

d) 蒸汽吹扫

1) 蒸汽管道先用压缩空气吹扫,再用蒸汽吹扫。吹扫安设的临时管道应按蒸汽管道的技术要求安装。

2) 蒸汽吹扫前,应缓慢升温暖管,且恒温一小时后进行吹扫,然后自然降温至环境温度,再升温、暖管、恒温进行第二次吹扫,如此反复进行,一般不少于三次。

3) 蒸汽吹扫的排气管应引至室外,并加以明显标记。管口朝上倾斜,保证安全排放。排气管应具有牢固的支架,以承受其排空的反作用力。排气管直径不宜小于被吹扫管和管径,长度应尽量短捷。

4) 蒸汽管道吹扫的检查方法:用抛光的木板置于排汽口处检查,板上应无铁锈、脏物。

5) 管道吹刷结束后,立即进行管道、阀门的保温工作。保温要求按国标绝热工程技术质量标准执行。

7.4.14.10 管道涂漆

a) 管道及其绝热保护层的涂漆应符合设计要求及国家现行标准规定。

b) 涂料应有制造厂的质量证明书。

c) 焊缝及其标记在压力试验前不应涂漆。

d) 涂漆前应清除表面的污物。

e) 涂料的种类、颜色、涂敷的层数和标记应符合设计文件的规定。

f) 涂层的质量应符合规范和设计要求。

7.4.14.11 管道的保温

循环水管道若有保温要求,则此项工作要在管道试压及涂装合格后进行。根据以往的施工经验,管道保温一般采用将保温材料包在管道上,用镀锌铁丝、丝网捆扎后,再用镀锌铁皮作为保护层。

用这种方法时需注意:保温材料的横向接缝必须紧密,纵向接缝应放在管子的顶部;保温层外径如小于500 mm,外部用镀锌铁丝捆扎,间隔为150200mm;保温层外径如大于500 mm,除用镀锌铁丝捆扎外,还以镀锌铁丝网包扎,之后可进行保护层施工;若用镀锌铁皮作为保护层时,铁皮圆筒包裹到保温层外面时,应使其紧贴到保温层上,不留空隙,并使纵缝搭口朝下;纵缝采用咬口连接,在某种情况下,纵缝还可以用半咬口加自攻螺钉的混合连接;铁皮圆筒包裹在保温层上后,用半圆头自攻螺钉紧固。螺钉孔以手电钻钻孔,禁止采用冲孔或其他不适用的方式装配螺钉。

倘若管道保温不是采用上述方法,可根据设计图纸另行制定施工方法。

7.4.15 液压、润滑系统安装

液压、润滑系统的安装施工是本机组的重要环节,是实现机组自动化生产的重要保证。液压润滑管道需要进行酸洗和油冲洗,工序复杂,所以应尽早安排开工。

a) 液压、润滑设备的安装

液压、润滑设备有液压装置(高压系统、辅助调节系统)、阀台蓄能器、油箱、泵站等。安装标准如外商标准高于我方标准,按外商提供的标准实施。否则,采用YBJ-207-85 施工规范。

油箱、冷却器、滤油器、蓄能器及阀架安装标准

 

项次

极限偏差(公差)mm

检验方法

1

纵、横向中心线

±10

拉线用尺量

2

冷却器

标高

±10

用水准仪或钢板尺量

3

滤油器

水平度或铅垂度

1.5/1000

用水平仪或吊线尺量

4

水平度或铅垂度

1.5/1000

用水平仪或吊线尺量

5

蓄能器

纵、横向中心线

±10

拉线用尺量

标高

±10

用水准仪或钢板尺量

重力式

01/1000

用水平仪量

 

 

垂度

01/1000

吊线尺量

 

b) 液压、润滑管道施工程序:

c) 液压、润滑系统管道安装

1) 管道的焊接

所有液压、润滑管道均采用氩弧焊打底电弧焊盖面的形式焊接,其中中、小口径管道为氩弧焊一次成形,为保证管道焊透,所有焊缝必须打好V 型坡口,且坡口间隙为2-3mm。当管道材质为不锈钢时,应采用内部充保护气体,并在焊缝两侧30mm 内涂上硅油,防止飞溅,保证焊缝内外部成形良好。

焊工应按有关规定进行考核,取得所施焊范围的合格证书后方能参加本施焊范围的焊接工熟悉图纸资料。

焊接材料应严格按管道母材选型,并经干燥后使用,焊丝在使用前应清除表面的油污、锈蚀等。

焊缝距离弯管起弯点不得小于100mm,且不得小于管道外径,如遇该情况,可使用直角管接头,或承插式直角接头。

环焊缝距管道支架、管夹净距不应小于50mm。不宜在管道焊缝及其边缘上开孔。

管道坡口加工宜采用机械加工方法,也可采用等离子弧、氧乙炔焰等热加工的方法。采用热加工方法加工坡口后,应用角向磨光机除去坡口表面的氧化皮、熔渣及影响接头质量的表面层,并应将凹凸不平处打磨平整。

施焊前应对坡口附近宽20mm 范围内的内外管壁进行清理,除净其上的油、水、漆、锈及毛刺等。

管道点固焊时,点固焊的工艺措施及焊接材料应与正式焊接一致。点固焊后应认真检查焊肉,如发现有裂纹等缺陷,应及时处理。

管道对接焊口的组对应做到内壁齐平,内壁错边量不宜超过壁厚的10%,且不大于2mm,管道不得强行组对焊接。管道焊接完毕,应将焊缝表面熔渣及其两侧的飞溅清理干净,并作好记录,不锈钢管道焊接完毕后,应在焊缝处涂好酸洗钝化膏,然后用水冲洗干净。

管道焊缝质量应不低于GB3323-87《钢熔化焊对接接头射线照相和质量分级》中规定的II级标准。

2) 管道敷设

管道敷设位置应便于装拆、检修,且不妨碍生产人员的行走,以及机电设备的运转、维护和检修。

对于同排管道,应将各管的法兰、活接头等连接件相互错开100-200mm,便于装拆。

管道外壁与相邻管道之管件边缘的距离应不小于10mm

机体上的管道应尽量贴近机体,但不得妨碍机器动作。

在管道安装时应注意对阀台及管道内部保洁,管道安装间断期间应用丝堵或塑料布将管口包扎好,防止灰尘进入。

稀油润滑管道回油管道安装时应注意严格按照图纸规定保证管道坡向。

管道坐标位置、标高的安装极限偏差均为±10mm;水平度或垂直度公差为2/1000

d) 液压、润滑管道的在线循环酸洗

在线循环酸洗工艺是将专用的酸洗装置与制作、安装好的管道连接成循环酸洗回路,由装置中的耐酸泵将按要求配制好的酸洗液从储液槽输送到管道回路中,再返回到储液槽,从而形成连续循环酸洗的过程。该工艺可以完成各种规格管道的脱脂、酸洗、钝化等全部程序,钝化后用专用的涂油装置对酸洗后的管道内部进行循环涂油。

1) 施工顺序

2) 操作要领

酸洗施工前提条件的确认:

待酸洗的管道已全部施工完毕。

管路上的阀门、仪表等不能参与酸洗的零部件全部拆除完毕;与设备相连的管口应分离开,必要时阀台等小型设备应拆除移位。

生产线上的机械设备应二次灌浆完毕,油库土建施工已完毕。

现场施工条件调查及准备

施工现场道路畅通,车间内的起重设备应能保证使用。

现场应有足够的布置酸洗装置、槽罐、涂油装置等设备的场地和用 油存放地及小型机具的临时仓库。

现场能提供洁净的中性水源(生活饮用水或工业循环水)。

现场应具有干燥洁净的压缩空气,P=0.7MpaQ40m3/min。若车间内没有压缩空气,需准备10m3/min 的空压机和储气罐。

落实施工电源。

落实废液排放方法及地点。

核实临时接管的接头形式、规格及数量,以便加工或购买。

了解并掌握酸洗管道的规格、数量及管道布置,确定酸洗回路的划分,对于过长的管道需分段时,根据酸洗方式确定回路连接方式,增设连接口的位置。

酸洗回路中最高点设排气阀,最低点设排液阀。

落实酸洗用临时管道(耐酸碱的橡胶软管)进入油库的通道。

设备、材料和机具的准备

根据工程量的大小,准备适当量的材料及酸洗装置、按施工进度进入现场指定位置。化学药品、油类材料必须进入临时仓库保管。

各种专用设备在进入现场前均应进行检查维护,保证完好。进入现场后按工艺要求进行摆放并组装连接。

3) 酸洗回路的连接

在回路连接前,酸洗装置、涂油装置必须就位,并接好上下水、压缩空气管道及电源。酸洗回路连接的一般要求尽可能将相同管径的管道连接在一起,按酸洗泵的输出流量及酸洗管径的大小,将系统分成若干个酸洗回路,使酸液能畅通的通过回路返回酸洗装置的储液槽中。

每一根回路根据管径的大小,长度为100-300 米左右。酸洗装置一次可酸洗若干个回路,总长度可达500-1000 米。详见酸洗回路连接示意

连接回路时,应考虑到液压系统中的设备、阀台、阀门等不能有酸液通过,须用临时钢管或软管来取代设备、阀台构成回路。

每一酸洗回路的最低点应增设临时排液阀,管径80mm 的酸洗回路,应在回路最高点加设排气阀门。

4) 管道通水试压

酸洗回路连接完毕后,应进行通水试压,检查管路是否畅通,连接是否有误。试验压力应适当高于酸洗时的工作压力。确认管路密封良好,无泄漏后,方可进行下道工序。

5) 管道脱脂

根据管道内部油脂的多少,确定脱脂液的配方及浓度。对管道内部油脂较多的管道,可用5-10%NaOH 水溶液进行循环脱脂;对油脂较轻的管道可用0.3-0.4%的洗洁精水溶液进行脱脂。脱脂时间的长短,视脱脂情况而定。当返回脱脂水溶液液面上没有油花时,可视为脱脂合格。脱脂温度视油脂多少在40-80之间。

脱脂合格后,将脱脂液从管路中排空,然后用清水冲洗管道,直到管内残存脱脂液全部排除(使用洗洁精脱脂可不必冲洗,因为溶液呈中性)。

6) 管道酸洗

向酸洗装置中加酸洗药剂,配制酸洗溶液。即盐酸、氟化氢铵、乌洛托品的水溶液。循环酸洗2-4 小时,酸洗温度视管道锈蚀情况而定,一般为40-60。管道酸洗要根据管子锈蚀程度,掌握好酸洗时间,不得造成过酸洗。酸洗结束后,将管内酸液排空,然后用清水冲洗管道,直至冲洗出来的水呈中性(PH=7)为止。废酸排入废液槽,待中和处理后排放。

7) 钝化处理

经检查已达到酸洗质量要求后。用氨水调节水溶液的PH=9-10(钢铁钝化最佳区间),即略呈碱性后,加入亚硝酸钠对管道进行2-3 小时的循环钝化。

钝化后,用干燥压缩空气将管道内的钝化液吹出,打开最低点处排液阀,将回路中残存的钝化液排空。

8) 涂油

酸洗后的管道应立即用涂油装置涂油,防止管内再度锈蚀。油在管内循环1-2 小时,油温为常温。液压系统管道的涂油应采用系统工作油,润滑系统可用10#机油。油液应使用精细滤油机过滤加入,涂油结束后,用压缩空气将管内的油液吹回油箱。

9) 溶液配置

根据酸洗回路管道的直径及长度和酸洗装置储液槽的容积,计算出溶液需用量,按配方比例依次投药,例如配置酸洗液投药顺序:先在储液槽内加水。核算出回路总容积,按配方先加入缓蚀剂,搅拌均匀后,用加酸泵加酸,再加氟化氢铵。

10) 废液处理

酸洗工序结束后排出的废酸如能再利用(检查铁离子含量),可暂将其储放在专用的槽罐内,用于下一套回路酸洗时再次使用。不能再利用的均排放到废液槽内,中和处理达到排放标准后方可排放。

11) 临时连接管的拆除和原系统管道的恢复

酸洗全过程(包括涂油)完成后,马上将临时连接管拆除,对系统管道进行恢复。敞开的管口要用干净的管堵堵严或用塑料布包扎好,防止灰尘异物进入。在线循环油冲洗应在酸洗结束后马上进行,一般不宜超过15 天。

12) 专用机具、设备、材料

专用设备

酸洗装置(见酸洗装置示意

涂油装置(见涂油装置示意图):一般二至三套酸洗装置配备一套涂油装置。

机具表

序号

名称

规格名号

数量

备注

1

加酸泵

Q=1-5m3/h P=0.1-0.3MPa

2

加酸液用

2

玻璃钢储罐

V=5m3

2

储运酸液

3

精细滤油机

LUC-40

2

加油、滤油用

4

储油罐

V=5m3

1

储运稀油

5

废液罐

V=20m3

1

 

6

空压机

Q=10m3/h P=0.8MPa

1

若现场有压缩空气则不用

7

储气罐

V4m3

1

若现场有压缩空气则不用

8

石灰水槽

V=1m3

1

无盖、安全措施

9

溶液槽

V=10-20m3

2

储存再利用溶液

10

对讲机

5Km

2-4

现场联系用

 

化学药品

盐酸HCl;氟化氢铵(NH4HF2;柠檬酸C6H8O9;亚硝酸钠NaNO2;氢氧化钠NaOH;碳酸钠NaCO3;生石灰CaO;洗洁精;乌洛脱品。以上药品用量根据工程量和配方而定。

 

序号

名称

规格名号

备注

1

耐酸耐油胶管

DN25-DN100

连接酸洗回路

2

无缝钢管

φ38-φ114

间接临时钢管回路

3

耐酸胶板

δ=3mm

临时法兰密封垫

4

焊接式管接头

DN10-DN32

 

5

冲压弯头

DN40-DN100

 

6

法兰

DN40-DN100

 

7

阀门

DN25-DN50

 

8

铁线

8# 10#

 

9

塑料管堵

DN20-DN100

 

10

塑料布

 

 

11

涂油用油

10#机械油40#液压油

涂油

13) 质量标准及检查方法

酸洗质量检查按照YBJ20785《冶金机械设备安装工程液压、气动、润滑系统施工及验收规范》中3.1.4 酸洗质量检查条款执行。酸洗后管内壁应无附着异物,管内壁呈灰白色。检查方法:酸洗时取一、二个与回路中待酸洗管道内壁锈蚀程度相当的短管作为试样放在储液槽内,通过检查试样酸洗质量来判断回路的酸洗情况。试样合格后,可拆开几处管道接口检查内部酸洗质量。

14) 安全措施

1) 酸洗前对参加酸洗人员进行安全操作规程教育。

2) 酸洗施工现场应设明显标记,或用安全绳将施工作业范围圈起来,非施工人员禁止入内。

3) 凡参加酸洗施工人员均应穿防酸工作服,戴防护眼镜,防酸手套及耐酸胶鞋。

4) 配置酸液,应使用加酸泵抽取浓酸,不得用人力直接将酸液倒入酸洗装置。

5) 酸洗过程中需设专人沿酸洗管线巡回检查,并用对讲机与酸洗负责人保持联系。发现漏酸、漏碱及时停车,漏在地上的酸液及时用石灰中和处理。

6) 酸洗现场设置冲洗水管,并准备1m3 石灰水槽1 个,施工人员身体若溅上酸液,要立即用石灰水或清水冲洗。

7) 涂油设备附近必须配置消火器材,每套装置可配备2-4 个泡沫灭火器。

8) 储酸玻璃钢罐吊运要轻起轻落,避免撞击,吊运酸罐及酸洗装置要有专人指挥操作。

所有化工原料要严格控制,由专人保管并设药品仓库。

e) 液压系统油冲洗

油冲洗一般分两步:一、.临时油冲洗(用临时泵,不经过阀台)二、最终油冲洗(用正式泵,经过阀台)

1) 临时油冲洗的作用

将施工中遗留在管内的焊渣等杂质分离出来,防止将系统中昂贵的高压柱塞泵及控制阀损坏,堵塞。

使用冲洗油冲洗,可将酸洗后遗留在管内的水及废酸带出来,防止损坏泵站及阀台。

检查系统管路有无泄漏(焊口,法兰,管接头)。

2) 在采用临时油冲洗装置进行油冲洗前应做好如下准备:

准备好临时油冲洗装置,临时油冲装置就是一个简单的液压站,唯一多了一个压缩空气接口。

这个接口主要是在管道有泄漏时,用压缩空气将管道内的油液吹回油箱使用。

临时油冲洗装置的选择:

冲洗时希望流速越高越好,因为流速低,油液在管道内呈层流状态,无法将窝点内的杂质赶出来,所以一定要紊流。由公式:

Vcr=Recr*γ/d

Vcr: 临界流速

Recr 临界雷诺数,光滑金属圆管Recr=2000-2320

d 管道内径

γ 油液运动粘度

可以得出各种管道的临界流速及所需流量

油箱

当根据管道内流速选择好泵以后,整套油冲洗装置就定下来了,但假如泵流量差不多而油箱容积不同时,尽量选择稍小的油箱。虽然这样会使油液温升较快,且对油液中空气析出不利,但是首先,油冲洗过程中往往是温度过低(40 度以下)常常使用加热器;其次,临时油冲洗泵对空气不很敏感;再次,使用较小油箱可以减少冲洗油使用量,降低成本。

过滤器

过滤器的压力,流量都应跟泵相匹配,过滤精度5μm。由于有的过滤器不一定带压差报警装置,所以一定要根据经验经常更换滤芯。有条件的尽量设循环过滤。

由于油冲洗装置不象正式液压站常年工作,所以加油之前应先将整套系统清理干净。油箱擦完后再用面团粘一遍,吸油管最好酸洗一下(其他管路在冲洗时流速较高,故不必清洗)。

在线循环油冲洗装置:

大型(数量2 套)

 

名称

规格型号

数量

P=1.6Mpa Q=2200L/min

2

电机

P=90KW

2

过滤器

P=1.6Mpa Q=630L/min

8

最高精度滤芯

5μm

 

油箱

V=20m3

1

 

 

中型( 数量3 套)

 

名称

规格型号

数量

P=2.5Mpa Q=450L/min

2

电机

P=18KW

2

过滤器

P=1.6Mpa Q=250L/min

4

最高精度滤芯

5μm

 

油箱

V=5m3

1

3) 在业主方无特殊要求情况下,冲洗油的选择按以下原则

选择工作油

虽然它比冲洗油价格贵,但有两个好处:第一 可以不必担心其与工作油的相容性。第二 当冲洗结束后,经化验各项指标合格后,完全可以再加入正式工作油箱进行最终冲洗及试车使用。

选择冲洗油

所谓冲洗油即与工作油相容,冲洗结束后即将其报废。以上两种方法各有利弊,在操作中还要根据实际情况权衡。

4) 做好临时油冲洗管路

临时油冲洗装置应放置在尽量靠近正式泵站的地方,这样可减少临时管线制安数量。

管路采用钢管道。因为油冲洗压力为1.6MPa,且进出油管尺寸都在DN100 左右。当管路连接完毕后,末端予留两片法兰,先联接在线酸洗装置,酸洗后,再接油冲洗装置。

5) 阀台

临时油冲洗一定要绕过阀台,一般的方法是:将阀台上的油路块取下移走,台架不动,制作假阀台(集合管),制作假阀台时,一定要注意,不允许气割开孔,必须钻眼。另外在假阀台前应分别设一个截止阀和止回阀,这样可以控制冲洗阀台的数量。

短接液压缸

每一个液压执行机构的进出油管均用正式工作用软管短接,构成冲洗回路。

以上这些工作完成后,即可开始油冲洗。假设:

管道安装时严格执行国家有关规范;

在线油冲洗洗效果较好;

流速 V>=Vcr

过滤器精度 β15>=200

温度为45-55 度;

那么根据经验,一般3 天内应完成临时油冲洗。(NAS 9 级以下)在临时油冲洗完成后,应马上进行最终油冲洗。

6) 最终油冲洗的目的

使整个系统(除执行机构外)在低压状态下跑合一段时间。这段跑合期对系统的最终寿命是至关重要的。

使系统动作以便使油液流过所有的管路和元件,并把各元件中的制造碎屑及安装过程中侵入系统的杂质赶出窝点并送到过滤器,用高效的过滤器捕捉污染,最终使系统清洁度达到正常工作的要求。

7) 最终油冲洗对泵站系统电气联锁的要求

所有马达能启动,并已确认是正转。

液位开关能自动即液位下降时所有马达停止(事实证明,有自动液位开关,可以显著控制油冲洗阶段泄漏量)。

温度开关能自动。若要实现高压力,大流量冲洗,系统温升很快(冬季由10 度升至60 度只要5 个小时,夏天则不用2 个小时)。

循环冷却水必须具备供水条件。

过滤器污染报警,可以及时更换滤芯,防止滤芯被压溃。

8) 最终油冲洗的准备工作

泵站

加油前检查油箱是否干净,清理完毕后用精细滤油小车加油,滤油小车过滤精度不应低于系统过滤精度(此时加入正式工作用油即可)。新油注入油箱后,再启动循环泵使之过滤50 次以上,然后启动柱塞泵。

启动柱塞泵(恒压变量泵)

打开泄漏油口,向泵体内注油,注满油后,再手动盘车,将泵体内空气全部排出。启动马达,让泵在卸荷状态下跑合2 个小时。然后关闭各阀台,逐级调节泵出口压力,先将泵输出压力调至5MPa,检查主管道是否泄漏,10 分钟后升至工作压力,再检查有无泄漏,然后依次打开阀台进行冲洗。控制各阀台开关,使油冲洗压力保持在5MPa 以上。

蓄能器

先将蓄能器内氮气压力充至三分之二油冲洗压力,冲洗过程中打开蓄能器。

阀台

冲洗前检查所有的控制阀,用冲洗板替换所有伺服阀和比例阀。冲洗板有两种:一种为P-T型,用于冲洗阀台内部主管道。另一种为P-A-B-T 型,用于冲洗阀台后液压缸管道。有声望的设备制造厂商会提供各种冲洗板,当没有冲洗板的时候,也可以根据其安装底板制作冲洗板。另外,根据电气的安装进度,在管道油冲洗过程中,一般需要使用应急手动按钮控制电磁换向阀动作,所以事先应制作好专用的电磁换向阀夹具。

将所有节流阀和减压阀开度调整到最大。

液压缸

保持酸洗时状态即可。

过滤器

当流速,温度,压力均能达到要求时,最后的问题就是选择何种过滤器了。一个好的过滤器,能使油冲洗时间大大缩短。这对于工期要求非常严格的工程来说是至关重要的。

过滤器有两个非常重要的指标,绝对精度:在规定的实验条件下将会穿过一个过滤器的最大硬球颗粒的直径。它是滤芯中最大微孔尺寸的一种指示。过滤比(β):被试过滤器上游大于给定尺寸的颗粒数除以该过滤芯下游相同尺寸的颗粒数的比值。

对于系统冲洗清洁度要求在NAS 5 级以下的液压伺服系统来说,应选择β3>=200 的滤芯。

对于在NAS 7 级以下的液压比例系统,应选择β12>=200 的滤芯。而对于在NAS 9 级以下的液压传动系统,应选择β25>=200 的滤芯。

在以上这些工作准备完成后,可以开始油冲洗。

冲洗开始后,应随时检查系统的液位、温度、压力、管道的焊口及接头有无泄漏,发现问题及时处理。在连续冲洗24 个小时后就可以开始取样了。

9) 取样

一般应在回油过滤器的直接上游进行取样。

10) 化验

现场化验

采用先进的便携式激光油液污染检测仪在现场通过回油过滤器的直接上游的测压接头实现取样与化验,这种方法可以避免任何交叉污染,并且可以随时化验并立即打印出结果,将化验周期缩短为最短,保证油冲洗工作顺利进行,进而有效的缩短工期。

我公司拥有该设备(VICKERS TARGRT-PRO 它能探测、计数和测定2μ-50μ的颗粒并最高测到ISO 代号23 而不用稀释油样),可以应用于液压系统冲洗的化验工作。

化验室化验

化验室化验就是将油样装入超净瓶,送至一个业主认可的专业油样化验室化验。

 

第一节        电气设备安装

7.5.1 施工程序框图

7.5.2 盘、箱、柜等电气设备安装

电气室操作室是电气设备集中的地方,用车间行车或汽车吊吊装设备到电气室门口,按安装顺序逐台把设备吊到专用设备运输小车上(大件重件则用滚杆)再用人力推到安装位置上安装就位,为了保护好施工完的地面,在室内运输通道和放盘的位置旁铺设10mm 厚的胶皮板。

电气设备基础型钢长度应与盘箱总长度一致,标高符合设计要求,手车式配电柜基础型钢标高应与柜前敷设的橡皮绝缘板平面一致。

盘柜在基础型钢上固定方式有焊接和螺栓紧固两种。焊接应牢固可靠,焊接部位应在盘柜骨架的内侧。主控柜、继电保护柜、自动装置等盘柜采用螺栓紧固在基础型钢上。

盘箱柜施工程序方框图:

7.5.3 变压器安装

变压器按照规范要求安装,凡参与变压器制造时的总装工作,运输过程对其进行监控的或经甲方同意的可以不进行抽芯检查,因此请设备供应单位做好设备监造及运输过程中的监控工作,这样对工程对厂家都有利。凡发现有不正常现象,不论变压器容量大小都要进行抽芯检查。在特殊情况下应与变压器制造厂联系,求得他们的协作配合。

具体施工方法待有资料后编制详细特殊作业设计,以下为通用施工方法。

户内安装的变压器,不能用吊车直接吊装到位,采用方法:在室内外敷设滚杠,然后将变压器吊放到滚杠上,再用手动葫芦将其拖曳到安装位置,用千斤顶将变压器顶起,移开滚杠后将变压器慢慢放下。若室外地坪低则在室外加垫枕木与室内地坪找平。

变压器施工程序框图:

7.5.4 防雷及各种接地施工

接到施工图后一定要认真审图,掌握接地装置每一处的情况,避免错误和遗漏。接地施工是个配合性较强的分项工程,从配合开始就要求按步就班的进行,如柱基管柱的连接,引线的引出,底板钢筋的接地,铜板的埋设,干线引进地下室,接地极打下,镀锌扁钢的连接,机组设备接地线的敷设等,都需在土建施工阶段认真搞好。如因设计未出正式图纸,施工技术人员则及早做出设计联络,早备料早安排早施工,否则以后很难补救。施工中要注意以下几点:

接地装置的引出线至接地干线间必须安装断接点。

电气室的地线引入处都设有接地电阻测定箱。

接地扁钢的搭接处焊缝长度一定按规程要求施工,在丁字型连接时,分支线应煨制侧弯。

计算机的接地,仪表的接地,电气设备的接地,信号接地要分别设置接地干线。各种接地按规定敷设。

设备接地线的规格选用应视电气设备容量大小放置不同导线。规定使用黄绿相间色,穿墙敷设时必须有金属管保护。这部分常被忽视,施工技术员应早做设计联络。

设备接地不准串联连接,每件设备应单独和干线直接连通,每个接地螺栓上最多只允许压二个接地线。

成列的电气设备盘内接地线要相互连通,此干线至少有二处以上和主干线相通。

接地安装施工程序方框图:

7.5.5 配管工程

基础配管,配合土建完成混凝土中的电气配管工作是时间性很强的工作,图纸或设计联络书中有电线管配管要求时,应迅速准备好各种管子,管内除锈后用贯入法做防腐处理,在接到汇签单后马上进行管子安装工作,经检验合格并经监理现场确认后再返回汇签单。进入设备的管口应套丝并戴好护线帽,帽内加圆垫封堵管口。暂时不到位的管子,应用木楔堵好。使用套管连接时管口对齐把套管移至中心位置后两端满焊,电流不要过大以免烧透管子。管子切断一律使用手据,用挫打掉管口上的毛刺。管子进隧道或地面沟的管口要出混凝土10mm 以上,出混凝土地面时要超过100mm以上,2以下的管子进拉线箱或进设备箱都应套丝用锁紧螺母紧固加带护线帽,2.5以上钢管可以不套丝直接进箱,但管口要打喇叭状。长距离带弯的管子要加穿引线。线的两端应卷进管内(或回折进管),以防别人抽出造成穿线困难。

明配管的敷设除遵守暗配管的操作规程以外尚需遵守以下原则,如管外除锈、刷油的工作尤其重要,油漆不干不可以使用,管弯制作除了按管径满足弯曲半经要求外还要考虑两根以上的成排管弯的配合,明管敷设应横平竖直,排列整齐,支架均匀,夹具坚固,弯多和长距离的管子中间应加拉线盒。

配管施工程序框图:

7.5.6 电缆桥架安装

电缆桥架的施工应遵循以下原则:

在直线段应用水平仪打出参考点,多层桥架应保持水平,间距均匀。

立柱焊在埋设件上,每一个固定点两侧焊接,长度为3040mm,焊缝处要涂防腐漆。如因埋设件参差不齐时,可以在埋设件上加垫铁板,误差太大时可加焊角钢,然后立柱靠在角钢上。立柱安装应垂直,偏差不大于长度的千分之二。

立柱间距应符合设计要求,在同一结构条件区段内,偏差不大于100mm。遇下列情况增设立柱:

水平转弯前后约300mm 处;水平转向直上或直下约100mm 处;伸缩缝前后约300mm 处;标高明显变化的爬坡前后200mm 处;上、下坡间过渡段两端及中间,爬坡点应在1 米以内,否则再增加立柱。

各层托臂应横平竖直,且与立柱垂直,不左右倾斜或上翘下塌,偏差不大于+2mm;托臂间距符合设计要求,同层应在同一水平面上,高低偏差不大于+5mm

桥架伸缩缝处间距在1520mm 之间。桥架接缝处应在两立柱1/4 处。

桥架的连接处应明显设置跨越接地线。

桥架安装施工程序框图:

7.5.7 滑触线安装

安装滑接线前应做好高空施工的技术措施。

角钢滑接线安装

施工方法:采用人工吊篮安全防护措施蹬高作业,滑接线安装技术要求:

1)滑接线的布置应符合设计要求;

2)支架不得在建筑物伸缩缝和轨道梁结合处安装;支架安装应平整牢固,并应在同一水平面或垂直面上;

3)绝缘子不得有机械损伤及缺陷,表面应清洁,绝缘子性能应良好;

4)滑接线接触面应无锈蚀,导电应良好。

5)滑接线安装后应平直,相间距离应一致,其中心线应与起重机轨道的实际中心线保持平行,其偏差应小于10mm

6)滑接线补偿装置的安装位置应在离建筑物伸缩缝最近的位置上留有10-20mm 的间隙,间隙两侧的滑接线端头应加工圆滑,两端高差不应大于1mm,支持点与间隙之间的距离不宜大于150mm,间隙两侧的滑接线应采用软导线跨接;

7)滑接线连接后应有足够的机械强度,且无明显变形,接触面应平整光滑,其高差不应大于0.5mm

8)高压绝缘子安装前应进行耐压试验。

7.5.8 配线工程

7.5.8.1 控制电缆进设备应加装一固定点,电缆在此应排列整齐,电缆标签应贴在易看的一面,高度统一,切除电缆护层时要防损伤芯线,切口处要用自贴性胶带包扎成萝卜头状。备用芯线要贴上电缆编号,系在线槽内,电缆芯线不管在槽内还是明设线把,都应平直,端子在上面的靠里,下面的靠外,尽量避免或减少交叉,靠端子一段应加工成弧形,空间允许排成50mm 左右的直线型。

7.5.8.2 端子要使用规定的型号,使用合适的压接工具,芯线绝缘离端子的尾部既不能长也不可以无间隙,芯线号码应与图纸一致,经校线无误后方可接线。

7.5.8.3 如遇控制电缆太多无法安排,电力电缆芯线太大盘内端子过小无法压接时,应采取特殊措施,既要符合设计要求,又要方便日后电气维护。

7.5.9 电缆敷设及电缆头的制作

电缆敷设施工程序方框图:

7.5.9.1 高压及大截面电力电缆敷设时要准备足够的托辊,沿线路每35 米一个,在转弯处应安装转角型托辊,在进电缆人井口或进管道入口处应加防磨擦的弧型滑板。短距离的电缆可使用人力。

在前部集中10-20 名作牵引力,后面留适当人员照看电缆不要离开托辊。前面和后面人员通讯联络应畅通,派责任心强的有经验的施工人员看守电缆盘。

7.5.9.2 敷设电缆的原则是认真核对电缆表,查清电缆型号、绝缘等级。按图纸规定排列电缆,如设计无详细规定时应按上层为通讯、计算机电缆,二层为控制电缆,三层为低压动力电缆,四层以下为高压电力电缆。在电缆集中的电缆室、电缆隧道内,一般在桥架安装完毕后都涂有桥架的编号,务必按要求布放,在设备旁不管是电缆的始端或者是尾端引出(上)的动力电缆不可以和控制电缆

合穿一个保护管或同用一个固定夹,一定要分别置之。另一个遵循的原则是长距离的先放,大截面的先放,靠里侧的先放,在交叉处尽量减少和避免重复交叉。合理安排尽量减少中间接头。如不可避免的出现中间接头时应安排在隧道内。敷设完的电缆始端和尾端应贴好电缆标签,同时应用透明胶带加固保护。充分利用现代化的通讯联络工具以加快敷设速度,保证质量和安全。

7.5.10 自动化仪表安装与调试

7.5.10.1 温度取源部件安装

安装温度取源部件时,对带螺纹的部件进行螺纹检查,是否与测温一次元件相符。

温度取源部件与工艺管道垂直安装时,温度取源部件轴线应与工艺管道轴线垂直相交;温度取源部件在工艺管道的拐弯处安装时,宜逆介质流向安装,温度取源部件轴线应与工艺管道轴线垂直相交;温度取源部件与工艺管道倾斜安装时,宜逆介质流向安装,温度取源部件轴线应与工艺管道轴线相交。

7.5.10.2 压力取源部件安装

安装压力取源部件时,压力取源部件安装位置应选在介质流速稳定的地方;压力取源部件与温度取源部件在同一管段上时,压力取源部件应安装在温度取源部件的上游侧,端部不应超出工艺设备或管道的内壁。当测量温度高于60的液体、蒸汽的压力时,就地安装的压力表的取源部件应带环形弯或冷凝弯。

压力取源部件在和倾斜的工艺管道上安装时,取压口的方位应符合下列规定:

测量气体压力时,在工艺管道上部;

测量液体压力时,在工艺管道下部与工艺管道的水平中心线成045 度夹角范围内;

测量蒸汽压力时,在工艺管道的上半部及下半部与工艺管道水平中心线成045 度夹角围内。

7.5.10.3 流量取源部件安装

孔板、喷咀及电磁流量计等上、下游侧直管段的最小长度应符合设计要求,当无设计规定时应符合有关规定。安装节流装置所规定的最小直管段,其内表面应清洁、无凹坑。

在节流装置的上游侧安装温度计时,温度计与节流装置间的直管距离应符合下列规定:

当温度计套管直径小于或等于0.03 倍工艺管道内径时不小于(5 3)倍工艺管道内径;

当温度计套管直径在0.03 0.13 倍工艺管道内径之间时,不小于20(或10)倍工艺管道内径。

在节流装置的下游侧安装温度计时,温度计与节流装置间的直管距离不小于5 倍工艺管道内径。

夹紧节流元件的法兰的安装应符合下列规定:

法兰与工艺管道焊接后管口与法兰密封面应平齐;

法兰与工艺管轴线垂直,垂直度允许偏差不得超过1 度;

法兰与工艺管同轴,同轴度允许偏差0.015D1/β。)

节流装置在水平和倾斜的工艺管道上安装时,取压口的方位应在工艺管道上部;测量蒸汽流量时,在工艺管道的上半部与工艺管道中心线成045 度夹角的范围。

用均压环取压时,取压口应在同一截面均匀设置,且上、下游侧取压口数量相等。

测量蒸汽流量设置冷凝器时,两个冷凝器的安装标高必须一致。

7.5.10.4 物位取源部件安装

安装双室平衡容器前,检查内部管路的严密性;应垂直安装,其中心线应与正常液位相重合。

7.5.10.5 导压管路安装

仪表用空气源管路采用螺纹连接,连接处必须密封;缠密封带时,不应使其进入管路内。供气系统采用的管子、阀门、管件等,在安装前均应进行清洗,不应有油、水锈蚀等污物。

控制室内的供气总管应有不小于1:500 的坡度,并在其集液处安装排污阀,排污管口应远离仪表、电气设备及接线端子。装在过滤器下面的排污阀与地面间应有便于操作的空间。供气系统的配管应整齐、美观,其末端和集液处应有排污阀,在水平干管上支管的引出口,应在干管的上方。供气系统安装完毕后应进行吹扫。供气压力应符合规定(或设计要求)。

导压管路沿水平方向敷设时,应根据不同介质及测量要求有1:101:100 的坡度其倾斜方向应保证能排除气体或冷凝液。当不能满足要求时,应在管路的集气处安装排气装置,集液处安装排液装置。

管路在穿墙或过楼板处,应加装保护管,管子接头不应在保护管内。穿过防爆、火灾危险场所时保护管应密封,接头处应做跨接接地线。

敷设管缆时,外观不应有明显的变形和损伤;敷设时,应防止管缆受机械损伤及交叉摩擦;敷设后的管缆应留有适当的余度。

金属管子的弯制采用冷弯高压管弯曲要一次完成,管子弯曲半径不小于管子外径的3 倍,管子弯制后应无裂纹和凹陷。当高压管路分支时,应采用三通连接,三通的材质必须与管路材质相同。

管子连接时,其轴线必须与管路材质相同。

直径小于10mm 的铜管,宜采用卡套式中间接头连接,也可以采用承接法或套管法焊接,承接法焊接时,其插入方法应顺着介质流向。镀锌钢管采用螺纹连接,连接用的管件也应采用镀锌管件。

铝管、不锈钢管应采用氩弧焊方法焊接,不锈钢管采用直流氩弧焊机焊接,焊条材质要与母材材质相同。管路的排列固定要整齐美观,管卡间距要符合规范要求。敷设完毕的管路,必须无漏焊,堵塞和错接的现象。

7.5.10.6 仪表用管路系统的压力试验

管路系统的压力试验宜用液压,当试验压力小于16×105 帕(16kf/cm2),管路内介质试验压力为1.25 倍设计压力,当达到试验压力后,停5 分钟,应无泄漏。气压试验压力为1.15 倍设计压力,

当达到试验压力后,停5 分钟,压力下降不大于试验压力的1%

工艺系统管线进行泄漏试验时,与其工艺管道相连接的仪表管路随同工艺系统管道一起进行试压。空分系统的仪表管路,随同工艺系统一起进行裸冷试验,并进行检查泄漏点(主要检查焊口、接头),并做上标记,裸冷完后进行修整、补焊。压力试验合格后,在管路的另一端泄压,检查管路是否有堵塞现象,并拆除压力试验用的临时盲板与工艺系统管道相连的仪表管路,同工艺系统管线一起进行吹扫。

7.5.10.7 仪表调校

被校仪表设备调校时,按使用说明技术要求和技术参数进行性能试验。被校仪表设备精度调校应符合下列要求:

被校仪表进行灵敏限、正行程和反行程基本误差及回差调校;

被调校调节器按下列要求进行:

手动误差操作试验;

电动调节器的闭环跟踪误差调校,气动调节器的控制点偏差调校;

比例带、积分时间、微分时间刻度调校;

当有附加机构时,进行附加机构的动作误差调校。

系统调试在工艺试车前,应具备下列条件:

仪表系统安装完毕,管道清扫及压力试验合格后;

电源、气源符合仪表运行要求。

检查系统的调试:

在系统信号发生端(即变送器和检测元件)输入模拟信号,检查系统的误差,其值不超过系统内各单元仪表允许基本误差平方和的开方根值。

调节系统的调试应符合下列规定:

检查并确定调节器及执行器的动作方向;

在系统的信号发生端,给调节器输入模拟信号,检查其基本误差,软手动时的输出保持特性和比例、积分、微分动作及手动操作的切换性能。

用手动操作机构的输出信号,检查执行器以始点到终点的全行程动作(连同阀门定位器一起检查。)

报警系统的调试应符合下列要求:

系统的报警给定器及仪表、电气设备的报警机构按设计给定值调整;

在系统的信号发生端输入模拟信号,检查音响和灯光信号符合要求;

联锁系统的调试应符合下列要求;

联锁系统除进行分项试验外,还进行整套联动试验。

自动化仪表施工程序方块图:

7.5.11 大型电机安装

针对大型电机安装我们采用成熟的施工技术,按《大型电机施工工法》施工。

施工顺序:

基础验收确立中心线确定垫板安装位置座浆电机安装前的检查、试验安装电机地脚螺栓灌浆定心、精整检查二次灌浆。

施工方法:

利用座浆法施工。

利用车间吊车或自制吊具进行电机本体安装。

采用机加工的方法加工垫板。

技术要求:

电机接线应按设计要求进行。电机安装轴线精度应符合国家标准。安装垫板的位置及垫板的接触面应符合国家标准规定。

7.5.12 火灾及自动报警系统的施工

施工顺序:施工准备传感器位置测量支架制作传感器安装自动控制报警装置安装安装检验系统调试有关部门验收。

施工技术要求:

火灾自动控制报警系统的施工应按设计图纸进行,不得进行随意性的更改。施工前技术资料应齐全。火灾自动报警系统布线应符合现行国家标准的有关规定。

在槽内或在管内穿线时,应在建筑抹灰及地面工程结束后进行,在穿线前应进行管内的清扫工作。

管内的导线不应有接头或扭结,导线的接头应在接线盒内焊接或用端子连接。

在吊顶内敷设各类路和线槽时,宜采用单独的支架进行固定。支架的距离应符合设计的规定。

探测器的安装位置及其距离墙壁、梁边的尺寸应按设计要求进行,其质量应符合国家验收规范。

探测器应水平安装,特殊情况下倾斜安装时,倾斜角不得大于45 度。探测器的连接应采用压接或焊接,探测器的底座安装完后应采取密封措施,其确认灯应便于维护人员使用。

手动火灾报警按钮的位置应距离地面1.5M,并安装牢固,标志清晰。

火灾报警控制器的安装高度、安装位置应按设计要求进行,引入控制器的电缆应固定牢固,不得交叉,并标识清晰,端子板的每个接线端子上不得超过2 根。电缆芯和导线应留有一定的长度(20CM)。导线引入线穿线后,在进线管处应封堵好。

控制器的电源引入线应与消防电源连接,严禁使用电源插头,主电源应有明显标志。自动火灾报警系统的接地应明显、可靠。

7.5.13 电气试验及调试项目:

电力变压器试验;

断路器试验;

隔离开关试验;

电流互感器试验;

变压器油的电气性能试验及化学分析;

继电保护系统试验;

高压电缆耐压试验;

低压系统绝缘电阻测试;

接地装置的接地电阻测试;

电气传动系统和控制回路调试;

电气系统连锁调试;

PLC 调试

单体试验

空负载试验

甲方要求的试验项目。

 

工程项目管理

第一节        现场组织机构

为了更好地实现本工程的质量、工期、安全、文明施工等目标,我公司将严格按项目管理要求成立项目经理部,对本工程的施工实施全过程的管理。项目经理组织施工准备阶段、施工阶段、验收交工与结算阶段、用后服务阶段的工作。项目经理部各职能部门严格按公司建立的质量管理体系对本工程全部施工内容进行过程控制,保证为业主提供满意的建筑产品和服务。

项目经理部下设工程部、技术质量部、经营部、物资部和综合办公室等职能部门,并设土建、结构安装、机械设备安装、电气设备安装4 个专业项目经理部。见下页组织机构图。

项目经理部主要施工管理人员表及项目经理、项目副经理、项目总工简历附后。

项目经理部组织机构图

主要施工管理人员表

 

名称

姓名

职务

职称

一、总部:项目主管

 

总经理

教授级高工

施工管理

 

副总经理

教授级高工

施工管理

 

副总经理

教授级高工

经营管理

 

副总经理

教授级高工

技术管理

 

总工程师

教授级高工

二、现场:项目经理

 

处长

高工

项目副经理

 

处长

高工

项目总工

 

处长

高工

技术质量管理

 

处长

高工

材料管理

 

科长

工程师

经营管理

 

科长

经济师

安全管理

 

科长

工程师

项目经理简历

 

姓名

 

性别

年龄

50

职称

高级工程师

职务

项目经理

专业工龄

28

1980 年西安冶金学院工民建专业

一级项目经理资质

施工大型冶金工程经历

项目名称

任职

质量

19791982

宝钢一期初轧厂、机修厂

技术员

部优

19851989

宝钢二期冷轧厂

助理工程师

部优

19891991

上钢三厂4200mm 中厚板过程

工程师

优质

19921994

上海梅山热轧工程

技术负责人

部优

19941997

宝钢三期工程

项目总工程师

优质

19971998

浦项不锈钢工程

项目总工程师

优良

19982000

上海宝钢1550mm 冷轧带钢工程

项目副经理

鲁班奖

2001-2003

宝钢1780mm 热轧工程

项目副经理

申报鲁班奖

2003-至今

宝钢1800mm 冷轧工程

项目副经理

在建

项目副经理简历

 

姓名

 

性别

年龄

49

职称

高级工程师

职务

项目经理

专业工龄

28

1980 年西安冶金学院工民建专业

一级项目经理资质

施工大型冶金工程经历

时间

项目名称

任职

质量

1994.5-1995.11

莱芜钢铁集团中小型轧钢工程

工程部长

质量样板

1999.5-1999.12

江苏沙钢35 万吨棒材工程

项目总工

优良

2000.3-2000.8

山西省新临钢380m3 高炉工程

项目总工

优良

2001.3-2001.8

天铁崇利棒材

项目副经理

优良

2002.8-2003.4

天铁轧二连续棒材生产线改造

项目副经理

申报鲁班奖

项目总工简历表

 

姓名

 

性别

年龄

50

职务

职称

高级工程师

学历

大学

参加工作时间

1971 4

从事项目经理年限/从事总工年限

8/10

项目经理证书号

 

在建和已完工程项目情况

建设单位

项目名称

开竣工日期

工程质量

上海宝钢集团公司

2030mm 冷轧工程

1984.10-1988.9

国家金质奖

上海第三钢铁厂

4200mm 中厚板工程

1989.3-1991.10

建设部优质工程

上海宝钢集团公司

技改工程

1992.1-1994.10

优良

上海宝钢集团公司

150t 电炉工程

1995.2-1996.12

质量样板工程

上海宝钢集团公司

1420 冷轧工程

1995.6-1998.2

鲁班奖

上海宝钢集团公司

1550mm 冷轧带钢工程

1998.3-2000.6

鲁班奖

上海宝钢集团公司

1780mm 热轧工程

2001.6-2003.12

申报鲁班奖

 

第一节        项目经理部主要职责分配

以下为我公司项目经理部职责分配模式,开工后根据工程具体情况及业主的要求,可适当加以调整。

8.2.1 项目经理

a)是企业法定代表人即公司经理在项目上的代理人,对项目施工全过程、全方位负责。在项目上贯彻执行公司的质量方针,全面履行承包合同;分管经营部、综合办公室。

b)严格执行国家和业主方的有关规定。

8.2.2 项目总工程师

对项目经理负责,在业务上受公司总工程师的领导,主管工程技术工作,对工程项目的质量工作负有技术责任。分管技术质量部。

8.2.3 项目副经理

对项目经理负责,在业务上受公司施工副经理的领导,主管施工生产,对施工过程控制负责。

分管工程部和物资部。

8.2.4 工程部

根据承包合同的约定,对工程施工进度、施工安全、文明施工等方面进行全过程的管理工作。

文明施工管理包括控制施工现场的粉尘、废水、固体废弃物及噪声、振动等对环境的污染和危害,做好施工现场的管理工作。

岗位设置:工程部部长、施工管理员、安全管理员、资料管理员。

8.2.4.1 工程部部长

a)责施工平面规划的实施工作,按时和按规定要求报批开工申请报告,保存《开工申请报告》的批准件,并报施工处;

b)编制施工网络进度计划,并按照进度计划对各专业项目部的施工进度进行安排;每月对其实施情况进行考核,并将考核结果写入《质量计划实施情况检查表》;

c)组织编制物料、半成品或重大设备的搬运方案,经批准后及时组织实施;

d)组织专业间的工序交接,对工序交接过程、工程交工验收、施工现场的施工机械调动、管理和维护情况以及安全施工和文明工地建设工作进行管理,并认真填写《施工日志》和《调度日记》;

e)参与不合格品的评审工作,将需进行处置的不合格品列入施工计划,并组织按处置意见进行返工或返修;

f)项目完工后业主验收前,负责组织各专业项目部成立产品防护机构,保证交工验收前产品的完好。

8.2.4.2 施工管理员

a)做好半成品和成品的保护工作。对特殊半成品要单独编制进场计划,填写《特殊半成品运输、进场计划表》,并在施工现场安排妥善的贮存地点;

b)对业主提供的半成品要组织各专业项目部有关人员按照合同和规范要求进行验证和接收,填写《业主提供物资的记录》、《业主提供工程和半成品质量问题报告单》;

c)按合同和规范要求对施工的测量过程进行控制,并对测量成果进行整理后归档保存;

d)对特殊工序和关键工序按照作业指导书或作业方案的要求进行监控,并填写《特殊工序/关键工序检查记录》、《特殊工序/关键工序施工情况统计表》;

e)对施工过程中的产品标识检验状态进行管理;对在施工现场堆放的、易混淆的物资及设备的标识按照规定进行管理,每月进行一次检查,填写《检验和试验状态管理情况抽查记录》;

f)每季度对各专业项目部在施工现场堆放贮存的物资、设备和已完成的工序成果的防护情况以及项目完成部分的实物交付情况进行一次检查,并将检查结果填写在《搬运、贮存、包装、防护和交付情况检查表》;

g)每季度对产品的搬运、储存、包装、防护和交付情况进行一次检查,建立并保存检查记录,填写《搬运、储存、包装、防护和交付情况检查表》。

8.2.4.3 安全管理员

a)编制安全交底方案,并组织进行安全交底;

b)施工现场安全工作管理,布置和检查消防设备的设置,将检查结果填写在施工日志上。

8.2.4.4 文明施工管理员

执行当地有关部门及业主、市容监察的要求,负责施工现场文明施工管理工作。

8.2.4.5 资料管理员

负责文件和资料的控制。项目施工期间所有施工文件的收发和分类管理、整理、归档工作,建立收、发文件的台帐,填写《收文登记表》和《发文登记表》。

8.2.5 技术质量部

技术质量部根据承包合同约定,负责工程施工质量的管理工作;并对施工技术等方面工作进行施工全过程的管理。

岗位设置:技术质量部部长、工程技术人员、质量管理员、文件资料管理员。

8.2.5.1 技术质量部部长

a)划分单位工程,确定关键/特殊工序,填写《单位、分部、分项工程划分表》,报业主或质量监督部门同意;

b)每季度组织一次对各专业项目部的计量器具进行检查,将检查结果记录在《检验、测量和试验设备检查表》中;

c)组织编制项目《施工组织设计》,并在通过审批后组织召开专门会议进行技术交底,并按工程管理处规定,编写《技术交底卡》;

d)确定各专业项目部的《施工组织设计》和《施工作业设计》编审计划,并组织各专业项目部编制和报审,填写《施工组织设计登记表》,每季度向工程管理处汇总上报。

e)审查技术、质量系统人员的资质,填写《部门人员登记表》和《质量员岗位变动情况登记表》;

f)及时组织对不合格品的评审并下达《不合格品通知单》,督促责任单位对不合格品进行处置和事故分析,对处置结果进行反馈,收存《不合格品处置记录》。

8.2.5.2 工程技术人员

a)绘制本项目使用的计量器具清单,对计量器具的有效性进行确认,填写《检验、测量和试验设备明细表》,每年度向技术开发处汇总上报;

b)选择有资质的检测机构对检测设备进行检测,并进行评审,并对检测情况统计汇总,填写《检测情况统计表》,并上报技术开发处;

c)组织工程软件资料的交工,填写《资料交接清单》;

d)对产品的标识和可追溯性进行管理;;

e)认真做好施工图纸的自审及技术交底的检查工作,搞好设计联络和图纸会审,坚持每日填写《工作日志》。

8.2.5.3 质量管理员

a)负责对不合格原因进行调查,针对严重不合格项制定的纠正措施,要报企业管理处审核批准实施;

b)针对不合格的原因,制定纠正措施组织实施,并填写《纠正措施记录表》;

c)对纠正措施和预防措施的实施情况每季度进行一次检查。

d)核查质量保证资料,单位工程评定后,向当地质量监督部门申请核定,每季度向质量处报送分项、分部、单位工程核定结果;

e)每季度组织一次对各专业项目部的检查,填写《工程质量检查记录》,并保存。

8.2.5.4 文件资料管理员

对各类技术文件、图纸资料和质量记录的管理、统计、归档,填写和发放《文件和资料控制清单》,并报施工管理处备案。每季度组织一次对专业项目部施工技术文件管理工作的检查,填写《施工技术文件检查表》和《图纸资料发放登记表》。负责收回并销毁作废的图纸资料,需保留的作废图纸资料应加盖作废印章,集中存放。

8.2.6 物资部

物资部负责物资供应和进行此方面施工全过程的管理。

岗位设置:物资部部长、材料员。

8.2.6.1 物资部部长

a)督促各专业项目部及时提出物资需用计划;

b)对物资分供方进行调查评价、确认和复评,填报《分供方评价/复评表》,复印件上报物资处一份,建立合格分供方台帐,填写《分供方台帐》;

c)负责在施工过程中对分供方进行管理、监督、检查。具体要求为:

·对合格分供方进行确认;

·对不能按期解决质量问题,不能保证质量持续稳定的分供方,应及时取消其资格,确认后的变更意见复印件上报物资处。

d)对业主提供的物资和设备按《项目质量计划》的规定进行控制;

e)对在验收中发现的质量问题,与供货方协商解决和处理,填写《物资验收问题处理单》、《设备开箱检验问题处理协议书》;

8.2.6.2 材料员

a)文件和资料的管理和控制

·建立技术标准及所用材料、设备的技术资料管理台帐;保存有效版本的《现用技术标准》,填写《收文登记表》和《发文登记表》;

·采购合同的管理

项目经理部负责采购的物资采购合同保存;

建立采购合同台帐,填写《合同管理台帐》。

b)根据《项目质量计划》要求,按规定时间和要求编制物资或设备采购计划,填报《物资采购计划》,经项目经理审批后执行;

c)对所有工程用物资按照现行技术规范和设计文件规定进行验收、检验或抽样复验。并填写《物资验收记录表》;

d)产品标识和可追溯性管理按《项目质量计划》和公司《标识统一技术规定》的规定执行;

e)接收物资时要先接收和查验产品合格证,无产品合格证的物资不得接收入库,填写《产品合格证收发记录》;

f)物资设备搬运贮存管理工作,负责物资标识管理工作,保证施工全过程中标识的完好;

g)负责接收业主提供的物资,并进行检验,填写《业主提供物资的记录》。

8.2.7 经营部

经营部在合同履行全过程中对经营计划活动负责。

岗位设置:经营部部长、合同管理员、计划预算员。

8.2.7.1 经营部部长

a)起草施工任务分工文件,负责施工计划的编制工作;

b)对已完成并交工的项目编制回访计划,填写《工程项目回访计划》,经项目经理批准后执行;

c)协调与施工项目所在地建筑管理部门的关系;

d)编制工程保修书,明确保修后的验证方法,填写《工程项目保修计划表》;

8.2.7.2 合同管理员

a)经营部应保存该施工项目的所有合同文件的副本或合同复印件,建立合同管理台帐,建立《收文登记表》和《发文登记表》;

b)及时了解合同工期的执行情况。对各专业项目部执行合同的情况进行检查,填写《合同执行情况检查表》,每季度向经营计划处汇总上报。负责协调解决执行中发生的合同争议问题;

c)回访用户时,要填写《回访记录表》,认真记录用户的意见,并及时将用户的意见向项目经理和有关部门反馈;

8.2.7.3 计划预算员

及时编制工程项目预算表,经项目经理审批后与发包方联系和收取工程款,审核专业项目部的预算,提出费用分配意见报部长和项目经理批准;项目竣工后,及时做好竣工结算工作。

8.2.8 综合办公室

综合办公室负责施工全过程的日常管理工作。

岗位设置:办公室主任、文件资料管理员、劳动人事管理员

8.2.8.1 办公室主任

a)对部门起草的文稿进行规范及文字的核稿,确定所拟文稿是否受控,并确定印制份数及发放范围;

b)对各专业项目部文件和资料及质量记录的控制情况,每半年组织一次检查;

c)做好内部质量审核的准备、接待和陪同工作;

d)对内审不合格项采取的纠正措施的验证和跟踪检查工作,每季度组织一次检查;

e)及时将业主的投诉或服务要求传递给项目经理和有关部门;

f)做好施工现场的保卫工作,确保工程设施、施工机具、材料构件的安全;

g)做好质量记录的控制工作;

h)负责统计技术应用工作,对各专业项目部统计技术的应用工作进行指导、检查,并对其应用成果进行评价,每半年进行一次检查,填写《统计技术应用报告表》。

8.2.8.2 文件资料管理员

a)建立文件和资料发放台帐,填写《文件和资料发放签收单》和准确传递往来文件,填写《收

文登记表》和《发文登记表》,项目经理部发布、更改和作废的所有文件及资料都必须有项目经理的批准,保证手续完备;

b)对受控文件和资料要建立台帐,以保证在所有重要的场合使用的文件均为有效文件,并填写《文件和资料控制清单》,每季度后五天向公司办公室汇总上报,每半年对文件和资料的控制情况进行一次自查;

c)负责质量记录的标识、收集、编目、归档、存贮和保管工作。项目经理部解体时,移交经理办公室保存;

d)汇总项目经理部所用的质量记录表式;填写《质量记录表式目录》;

8.2.8.3 劳动人事管理员

a)制订和落实劳动力调配计划,如拟使用外来劳动力时,对外来劳动力的情况进行调查,填写《使用外来劳动力申请表》,经项目经理批准后报劳动人事处审批;

b)对特殊工种人员的资质进行确认,并建立《施工人员资质情况台帐》,每季度组织对各专业项目部施工人员资质情况的抽查,抽查人数不少于被抽查单位应持证上岗人数的20%,并填写《施工人员资质抽查记录》;

c)建立项目经理部各部门人员情况台帐,填写《部门人员登记表》。

 

第一节        项目管理措施

8.3.1 中标后,我公司将严格按照合同有关条款要求、公司质量保证手册和程序文件要求,编制项目质量计划,保证为业主提供满意的建筑产品,具体的项目管理措施待中标后写入项目质量计划中。

8.3.2 施工中遇到问题,项目经理部及时与业主方、设计单位及监理单位取得联系以求尽快解决。

8.3.3 工程管理严格执行业主方和当地的有关规定

严格按照国家现行的建筑安装工程施工及验收规范、质量评定标准和当地有关保证建筑安装工程质量的若干规定进行施工质量管理和控制。

8.3.4 按监理部门、业主方及有关要求进行工程质量报监,执行监理的要求。

8.3.5 合同管理

合同签订后,项目经理组织一次合同交底,保证参加施工的管理、技术人员和专业项目部了解合同内容,推进全面履行合同工作。

项目经理每季度要对合同执行情况进行一次检查。执行中若发生合同争议,由项目经理部负责解决,必要时经营部门参加。

8.3.6 文件和资料管理

a)为保证与工程施工有关的文件和资料能被有效控制或实施,项目实施过程中文件资料的接收、登记、保管、分发、控制等管理工作,项目经理部各部门职能分配为:上级文件、企业文件和项目经理部文件由综合办公室负责;技术质量、设计文件由技术质量部负责;施工文件由工程部负责。

b)所有文件及资料的更改、作废都应由部门负责人或主管领导认可后才能实施,保证所有使用文件、图纸和资料均为有效版本。

c)作废的文件和资料仍有保留价值时,须进行作废标识,并与有效版本隔离。

d)各部资料员负责施工技术资料、质量评定资料、材质证明和施工竣工图纸的整理,保证满足竣工验收需要。

e)项目完工后,项目经理部按公司档案管理及业主的有关规定将有关文件和资料整理,移交给业主和公司档案部门。

8.3.7 物资供应管理

执行公司《物资、设备搬运贮存管理程序》。

a)由我方自行采购的各种材料符合设计要求,并附有质保书、出厂检验合格证;主要材料和用量较大材料的选用事先报业主、监理单位确认,经同意后再进行采购,并在使用前报业主、监理单位工地代表签字确认;

b)物资管理要求:各专业项目部收到设计图纸二周内(将根据设计进度和工程进度关系适当调整)提出材料、半成品(钢结构)供应计划表报物资部。物资部负责按公司有关规定、承包合同及有关方面要求组织采购和进场。

c)所有工程用材料、半成品按技术规范和设计文件规定进行检验试验和抽样复验。定期检查产品的验证资料和检验复验情况。

8.3.8 业主提供产品的控制管理

对于业主直接提供的产品,如机、电设备,项目经理部需按合同规定和设计施工图纸的要求进行验证。

8.3.9 产品的标识和可追溯性

工程用的主要材料、半成品和设备均应进行标识,以防混用或使用过期失效的产品。对规范、法规和合同规定有可追溯性的特定的产品(材料、半成品)及工序成果进行唯一性标识并记录,以保证具有可追溯性。

8.3.10 施工用物资的运输

严格执行当地和业主方的有关规定。

8.3.11.施工过程控制

a)按合同和规范要求对施工的测量过程进行控制,并对测量成果进行整理后归档保存。

b)开工前,按时和按规定要求报批开工申请报告。

c)编制施工进度计划,并按照进度计划对各专业项目部的施工进度进行安排,每月对其实施情况进行考核。

d)开工前和工序开工前做好图纸自审、会审、技术、安全交底工作。

e)组织专业间的工序交接,并对工序交接过程、工程交工验收、施工现场的施工机械调动、管理和维护情况以及安全施工和文明工地建设工作进行管理,认真填写《施工日志》和《调度日记》。

工序交接前,上道工序的质量必须符合设计要求、施工及验收规范和工程质量检验评定标准的要求,经质量专检员签证认可,并报业主代表或监理人员确认签证。

隐蔽工程的验收提前三天书面提交业主方(附自检记录),经验收签证后方可进行下道工序的施工。

中间及竣工验收先组织自查并整改,提前一周通知业主验收。

f)对特殊工序和关键工序需编制施工作业设计,业主有要求时,还要报业主审批。施工过程中按施工作业设计的要求进行监控,并填写和保存有关记录。

对工程质量将产生重大影响的关键工序以及工序成果不能通过其后工序的检验完全验证的、或者无法检测、或需实施破坏性检测才能得到结果的特殊工序,各专业项目部均应编制施工作业设计,对施工工艺、材料、机具、操作人员素质、检测方法及标准做出规定,严格按照经批准的施工作业设计组织施工,并保存相应的过程记录。项目经理部组织对其进行重点监控或连续监控。

g)严把质量关,控制不合格品的出现。一旦出现不合格品要及时组织评审工作,将需进行处置的不合格品列入施工计划,并组织按处置意见进行返工或返修。

h)对施工过程中的产品标识检验状态进行管理;对在施工现场堆放的、易混淆的物资及设备的标识按照规定进行管理,每月进行一次检查,保存检查记录。

i)施工现场设专职安全员,建立消防安全方面的制度和措施,按消防规定要求配备消防灭火器材。

j)项目完工后业主验收前,成立成品防护机构,组织各专业项目部的成品保护工作,保证交工验收前产品的完好。

k)项目完工后,按业主方要求提交工程有关全部技术资料和竣工图。

8.3.12 检验和试验

a)执行业主方和当地的有关规定。

b)检验与试验状态的控制

控制本工程使用的各种产品的检(试)验状态并对其进行标识。保证规定的检测项目不漏检、不迟检,保证未经检验合格的原材料不使用,未经检验合格的工序不转序。

8.3.13 检验、测量和试验设备的控制管理

a)本项目检测设备应符合计量管理规定;

b)主要检测设备有操作规程,检测人员持证上岗;

c)项目经理部技术质量部控制现场使用合格的检验、测量和试验设备,超过周检有效期、无校准合格状态标识的设备须立即撤离现场。

8.3.14 质量记录

按业主方、设计单位、监理单位、当地及公司质量保证体系的有关要求建立并保存项目实施过程记录(包括施工技术记录、技术管理记录、工程质量检验评定记录、施工管理记录)及质量体系运行记录。为施工产品具可追溯性和竣工时技术资料的交工创造条件。

8.3.15 服务

服务宗旨:坚持一切为业主着想;施工中一切问题,均视为**的问题

a)施工过程中我方除保证合同要求服务内容外,应业主要求,还提供以下服务:

·协助、配合业主和设计单位做好设计变更,及其实施工作;

·听从业主的安排,参加有关设备订货技术谈判工作;

·设备出厂前,配合业主参加设备出厂前的有关检验工作;

·积极提出合理化建议。

b)试生产期间,积极组织完成试生产保驾工作;

c)项目交业主后,执行中华人民共和国国务院第279 号令《建设工程质量管理条例》(2000 1 30 日)和合同要求。

项目经理部在工程项目竣工验收期间,会同业主共同商定项目的工程保修书,明确内容和要求,并明确执行单位及其职责,拟定验证的方法。

d)工程保修

根据国家规定或合同条款,本项目交付业主使用后:

·因施工造成的质量缺陷,由我方无偿负责修缮;

·对于非施工原因形成的质量问题,以业主使用方便为前提,积极协助解决。

e)合同保修期及以后的一定时期内,公司经营计划处组织我公司有关单位通过多种方式回访业主,征求建筑产品使用方面的意见,进行总结,为企业进一步提高质量管理水平提出改进措施或建议。

 

质量保证措施

质量、职业健康安全和环境三位一体管理方针

创造精品、诚实守信;

以人为本、安全生产;

保护环境、营造绿色;

遵纪守法、持续改进;

质量目标:单位工程一次验收合格率达到100%,单位工程优良率达到85%以上,工程质量达到国优(鲁班奖)

 

第一节        质量管理体系

我公司已建立了完整的质量管理体系,有整个公司的质量管理体系和以项目经理部、以工程实体质量为核心的工程质量管理体系以及现场的工序质量控制体系,项目经理部各职能部门完全按保证体系要求对施工项目进行全过程控制,主要保证体系图如下:

质量管理体系图、材料供应质量保证体系图、工程施工阶段质量控制工作流程图、工程质量检查主要内容和程序(土建工程)、工程质量检查主要内容和程序(钢结构制作安装工程)、工程质量检查主要内容和程序(机械设备安装工程)、工程质量检查主要内容和程序(电气安装工程)。

 

第一节        组织管理保证

9.2.1 强化质量管理检查的组织机构,项目经理部对质量全面负责,成立以项目经理部经理为首的质量管理领导小组,对影响施工质量的因素进行全面控制,对工程进行事前、事中、事后三控制,严格执行国颁部颁施工规范及评定标准、合同规定标准及当地的有关规定;施工现场配备质保工程师及质量专检员,认真开展自检、交检、专检,尤其要重点落实施工班组的自检工作;

9.2.2 层层落实工程质量管理责任制,实行奖罚制度;

9.2.3 在施工过程中,公司质量处适时对工程项目进行质量大检查;

9.2.4 加强施工技术管理

a)积极参加由业主组织的各阶段各专业的设计交底,认真组织施工图纸会审,重点做好向班组进行技术操作和质量标准的交底工作。

b)严格按照设计图纸、施工规范、施工组织设计、施工作业设计等组织指导施工。

c)测量工作提前进行,认真做好测量定位放线,严格控制轴线、标高、垂直度。

d)严格按招标文件、合同、规范等要求,认真做好施工记录、隐蔽工程记录等,及时办理各种验收签证手续。

e)加强质量通病的治理工作,在工程中,要着重解决钢结构制作、安装中的除锈、油漆、焊接等质量通病。

f)推广新技术、新工艺、新材料。首先编制含如下内容的申报书:材料、工艺、技术的来源及性能介绍;施工工艺标准;质量标准及质量控制检查办法;试验方法和实地试验结果。经监理工程师审核批准后,方可实施执行。

9.2.5 做好工序交接和成品保护工作

a)工序交接前,上道工序的质量必须符合设计要求和施工及验收规范和工程质量检验评定标准的要求,经质量专检员签证认可,并报业主代表或监理人员确认签证。

b)隐蔽工程实施隐蔽前应经过业主代表或监理人员签证认可,隐蔽工程检验合格后方可进入下工序施工。

c)工序成果及工程成品的保护严格执行有关国家规范和标准。

9.2.6 做好质量预控工作,防患于未然

各分部、分项工程开工前,组织技术人员、施工班组等制定预控措施并组织实施。

9.2.7 设置工序质量控制点,加强工序质量控制,严格控制施工中的人、材料、机械、工艺方法和环境。

重点控制轴线、混凝土质量、钢结构件制作质量、钢柱垂直度、高强螺栓连接、焊接以及各类设备、管道、仪表安装。

9.2.8 采用正确的质量控制方法

按下图所示进行质量控制。

质量控制方法系统图

第一节        原材料采购及检验和试验管理

a)采购的原材料必须是具有生产许可证的厂家生产的、符合设计要求,并附有质保书、出厂检验合格证。主要材料和用量较大材料的选用事先报业主、监理单位确认,使用前报业主、监理单位工地代表签字确认;

b)依据国家现行标准、规范及设计要求,项目经理部要及时组织各专业项目部制定检验和试验计划,并监督其实施;

c)施工过程中必须按规定做好材料的复验工作和有关试验工作,特别是砂石、水泥、钢筋等须经试验合格后方可使用;取样实行见证取样;

d)材料检试验工作委托有资质的单位进行,并执行有关质量检验方面的规定,如标准养护室等。

一般检测工作由公司试验检测中心或委托当地有资质的检试验单位完成,公司检试验中心资质为:

国家技术监督局计量认证合格证编号为(国)字(E1340)号;

冶金工业部工程建设试验检测机构资质证编号:YB04-94

资质等级:土建综合一级;

上海市建筑试验等级证书编号:0017

范围:综合一级全部项目。

特殊检测项目,或业主有特殊要求的检测项目,由项目经理部技术负责人征得后,委托有资格的计量检测机构进行检验。

e)施工中所有计量器具、经纬仪、水准仪、盘尺、卷尺、板尺等,均须计量部门登记注册,有计量合格证方可使用;

 

第一节        经济保证措施

保证资金正常运作,确保施工质量、安全和施工资源正常供应。同时为了更进一步搞好工程质量,引进竞争机制,建立奖罚制度、样板制度。对施工质量优秀的班组和管理人员给予一定的经济奖励,激励他们在工作中始终能把质量放在首位,使他们能再接再励,扎扎实实地把工程质量干好;对施工质量低劣的班组和管理人员给予经济惩罚,严重的予以除名。

 

第一节        技术保障措施

9.5.1 土建工程

a)混凝土的配合比必须严格执行试验室给出的配合比,砂、石要过秤,水泥定量抽查,严格控制用水量,浇筑混凝土时,振捣应做到快插、慢拔,插点均匀排列,以保证混凝土的密实,浇筑完的混凝土要及时进行养护;

b)钢筋制作绑扎,一律按施工图纸要求。钢筋在绑扎完毕后,不得随意蹬蹋钢筋网,以防钢筋移位、变形;

c)模板要支搭牢固,拼缝严密,以防漏浆,隔离剂涂刷均匀,不得有漏涂现象。拆模时不得强砸、硬橇,以防损坏混凝土结构;

d)泵送浇灌混凝土时,混凝土高度应大致处于一个水平面,每层浇灌厚度不宜过高,其厚度应不大于插入式振动器作用部分长度的1.25倍。两层浇灌的时间间隔应不超过所用水泥的初凝时间。

e)混凝土级配及试块管理制度:

凡在设计图纸中标明强度等级的混凝土配合比试验,均到指定检测中心进行;

配合比设计报告出来之后提请业主代表认可,并在其监督下进行试拌;

工程技术员负责签发配合比通知单,负责向搅拌站操作人员进行级配交底,中途抽查,并负责现场试块制作、养护及送试工作;

项目技术负责人负责混凝土、砂浆强度评定(数理统计与非数理统计)。

f)实行混凝土浇灌令制度

混凝土浇筑必须严格执行签署混凝土浇灌令制度;

施工员负责填写混凝土浇灌令的申请栏,专职质检员负责混凝土浇灌令签发前的质量确认,项目技术负责人负责混凝土浇灌令的签发。

g)设备基础螺栓

设备基础螺栓的埋设采用可靠的固定架,混凝土灌筑前要交质量专质检查员和有关安装专业施工人员联合检查,混凝土灌筑过程安排专人监视。

h)钢筋绑扎及焊接质量预控

 

可能出现的质量问题

预控措施

钢筋表面不清洁

钢筋应根据进度计划分批制作,分别堆放,并做好钢筋现场维护工作。

钢筋绑扎数量不对、松扣、间距

过大、接头过大或过小

对操作工人进行技术交底,

根数、排距的交底,充分熟悉图纸。

焊接接头偏心弯折

对焊工进行技术考核发证,严禁无证上岗。

混凝土工程质量控制对策

 

9.5.2 钢结构制作

a)严格控制工序与工序的交接,实行工序交接卡制度,不合格决不向下道工序流入。

b)严肃工艺纪律。对违反工艺纪律的人和事,坚决处理并进行经济处罚。使每个工序都处于良好的运行状态。

c)钢结构制作安排工厂化制作。选用高素质制作人员,加强质量管理,确保钢结构部件的制作质量。

d)钢结构使用油漆的采购要选择有相应资质生产许可证,有好的质量,有好的业绩的单位,并应事前征得业主批准。采购合格的油漆,到货后立即取样送有资质的或业主指定的检验机构进行复检,以确保使用的油漆是绝对的合格品,以确保钢结构的防腐能力。

9.5.3 钢结构安装工程

人员:各工序施工人员必须持证上岗,工程保证不分包、不转包。

吊装大型构件时,必须弹出吊装线,严格按规范要求控制好轴线位置,做好吊装记录。

构件吊装时,如有必要应临时加固,以防构件产生过大变形或损坏。

钢结构的焊接必须严格执行工艺规程,所有板材或型材的焊缝应与母材等强。

所有构件的施工及验收都应符合相应施工及验收规范的要求。

9.5.4 机械设备管道安装

a)设备交接验收时,严格执行设备验收制度,无合格证的设备不予接收。

b)设备、管道安装时严格执行施工规范。

c)要使用经检测合格的测量工具,精密仪器要集中保管、维护、校对,以保证设备的安装精度;

d)液压润滑配管施工前,对素材及管件先进行槽式酸洗,然后再运到现场检查配制。管道的焊接采用氩弧焊打底,小于DN50的管道氩弧焊一次成型,以确保焊接质量;安装后的管道采用在线循环酸洗的方式;油冲洗采用专用的大流量(2000L/min)高过滤精度(1μm)冲洗装置,进行在线循环冲洗,冲洗流速大于7m/s,保证系统的清洁度。

e)建立质量管理点,严格控制关键的质量环节:

如设备座浆垫板安装、底座安装;液压系统管道焊接;液压润滑系统的油冲洗等重要工序的检查质量管理点。具体施工前与业主方代表商定。

f)安装中使用的所有量具须经进行校验,合格后方可使用;

g)做好安装前的设备检查、清洗工作;

h)认真对土建交接的基础及埋设件进行复核;

i)在施工中,严格执行规范中关于座浆试块、高强螺栓等物件的检化验规定。并及时进行管道焊口的无损探伤检验,跟踪拍片;

j)一些重要设备底座的二次灌浆待人工对设备进行模拟运行合格,并确认无误后进行。

9.5.5 电气安装工程

a)根据本工程的施工范围和特点,设置隐蔽工程即地下接地网施工和暗配管施工为质量控制点。

b)加强与土建专业的施工配合,接到施工配合汇签通知单后立即组织施工。

c)配管:应符合设计图纸和标准要求;钢管弯曲时,弯曲程度小于10%管径;明配时,弯曲半径大于6D;暗配时,弯曲半径大于10D;弯曲处无褶皱和裂缝。

d)特殊缆线敷设:计算机、工业电视、报警系统的信号电缆应敷设在第一层的封闭式电缆桥架中,传输弱信号的特殊电缆要在封闭桥架中单独设置专用电缆槽并敷设于其中。电缆的屏蔽层在一端作可靠接地。电缆从桥架引出后,在穿入钢管前的过渡段应穿金属软管加以屏蔽,避免外界的电磁干扰。

光缆穿镀锌管敷设时,转弯处设拉线盒或金属软管,光缆在电缆桥架中敷设时,均走最上层的通讯或控制电缆的桥架,不与高压电缆共槽共管,敷设在线槽或电缆桥架中的光缆,尽量保持成一条直线,减少不必要的弯曲以降低信号在光缆中的折射损耗。

e)配线:电线护套切除时要防损伤芯线,切口处用自粘胶布包扎成萝卜头状;备用芯线要贴上电线编号束在线槽内,摆放平直。

 

安全保证措施(含保卫)

在施工安装过程中,遵照建筑施工安装的安全规程、业主方的安全、保卫工作要求,并满足国家有关安全的法律和法规要求。接受业主方的安全教育,现场采取防护和隔离措施。现场设专职安全员和保卫人员,负责现场的安全、保卫工作。

执行的规范、法规主要有:

YB925395 冶金建筑安装工人安全操作技术规程

JGJ 8099 建筑施工高处作业安全技术规范

GB5019493 建筑工程施工现场供用电安全规范

 

第一节        安全组织机构

**安全保卫委员会、安全处、保卫处和项目经理部安全保卫工作委员会、项目经理、目经理部工程部、专业项目部安全保卫人员、施工班组兼职安全员共同组成安全施工管理体系。项目经理部工程部负责安全保卫的具体管理工作,各专业项目部均配专职安全员和保卫人员,负责现场安全生产施工和保卫工作。『安全保卫组织机构图』、『施工阶段安全保卫工作控制流程图』如下:

安全保卫组织机构图

施工阶段安全、保卫工作控制流程图

 

 

 

 

 

第一节        安全管理制度

10.2.1 安全生产责任制

项目经理部设立安全委员会,建立、健全各部门的安全生产责任制,责任落实到人。由工程部负责安全施工的具体管理工作,各专业项目部配持证上岗的专职安全员负责现场安全生产施工,施工班组设兼职安全员,并佩戴袖标上岗。

各项经济承包有明确的安全指标和包括奖惩办法在内的保证措施,项目部与施工班组间必须签订安全生产协议书。

10.2.2 安全教育

a)对参加施工的职工每周进行一次安全教育,提高职工安全意识。坚持安全为了生产、生产必须安全安全第一的思想,做到不违章作业、不违章生产。

b)工人变换工种,须进行新工种的安全技术教育。

c)工人应掌握本工程操作技能,熟悉本工程安全技术操作规程。

10.2.3 安全检查

a)认真进行安全检查,项目经理部每月进行一次全面的安全大检查,对重点和危险部位跟踪检查。

b)安全检查有记录,对查出的问题能立即改的要立即改,做到定人、定时间、定措施;危险性较大的下发整改通知单;危及职工生命安全的下发停工令,整改合格后方准复工。

10.2.4 工伤事故处理

建立事故档案,按调查分析规则、规定进行处理和报告,认真做好三不放过工作。

10.2.5 五牌一图与安全标牌

施工现场必须有五牌一图:(1)施工单位及工地名称牌;(2)安全生产六大纪律宣传牌;

3)防火须知牌;(4)安全无重大事故计数牌;(5)工地主要管理人员名单牌;(6)施工总平面图。

图牌应规格统一,字迹端正,表示明确。

在主要施工部位、作业点、危险区、主要通道口都必须挂有安全宣传标语或安全警告牌。

10.2.6 施工组织设计及施工作业设计

施工组织设计及施工作业设计应有针对性的安全技术措施,由项目工程师审核批准。

10.2.7 分项工程安全技术交底

分项工程施工前,施工负责人要编制分项工程施工安全技术措施,在技术交底的同时进行安全技术交底。

10.2.8 特种作业持证上岗

特种作业人员,如焊工,起重工等必须经培训考试合格持证上岗,操作证必须按期复审,不得超期使用,名册齐全。

 

第一节        安全技术措施

a)进入现场必须穿戴齐全安全劳防用品。

b)严格执行业主有关安全生产制度和安全技术操作规程,认真做好安全技术交底,对安全关键部位进行经常性的安全检查,及时排除不安全因素,确保安全施工。

c)临电按施工组织设计要求架设,符合安全和技术操作规程的规定。开关箱要防潮、绝缘并加锁,接地符合要求;手持电动工具要配备漏电保护装置。

d)乙炔瓶和氧气瓶的存放地点要远离热源;电、气焊时,乙炔瓶和氧气瓶与操作人员保持规程上要求的距离,确保安全操作。

e)编制施工组织设计和施工作业设计必须有全面和详细的安全保证措施,施工中严格按此施工。

f)施工现场及试车区域设置明显的安全警告标志标线。

g)施工机械专人管理与操作,机械防护符合安全要求。

h)针对本项目的施工立体交叉作业多的特点,在施工组织方面应对施工安全加以考虑。

i)施工照明、电焊机及其它电动工具的电源必须要按规定设置,做到防水、防触电、文明施工的要求。

j)高空作业的防雷、防火措施:操作平台最高点,安装临时接闪器,与接地体相连。垂直运输设备及人梯应与防雷装置的引下线相连。雷雨时,所有高空作业人员应下到地面,人体不接触防雷装置。

k)施工现场准备充足的防火器材。

l)厂区高压线的安全防护措施

·道路出入口挂出高压线高度和注意危险的明显标志;

·进出厂区的重型施工机械,不得超出规定高度,以保证高压线的安全和施工人员、设备的安全。

·在高压线附近施工或在高压线附近的临时施工场地,在高压线下设置警戒线、沿高压线方向挂出警戒旗。

10.3.1 土建工程

a)基坑边坡要稳定,对危险部位及时采取措施。

b)脚手架

脚手架按设计要求搭设。要随时检查其牢固性,不准超载或集载,禁止乱放乱掷材料,防止意外事故发生。

脚手架整体承受部位落在回填土上时,应夯实回填土,宽度不小于2m,并做好支承地基的排水措施。

脚手架工程必须由工程技术负责人和专职安全员验收后,方可投入使用。

10.3.2 生产作业安全要求:

a)严禁无证人员操作及指挥起重机。

b)起重机使用前须进行性能指示器和安全装置灵敏程度的检查,合格方可操作。

c)起重机操作人员和指挥人员应严格遵守十不吊规定。

d)起重机起吊时速度要均匀,禁止突然制动和变换方向,平移应高出障碍物0.5m 以上,严禁从人和设备上通过。

e)起吊重物应先检查卡具或捆绑是否牢固,然后试吊确认可靠后方准正式吊装。

f)构件起吊要设专人指挥,指挥时必须吹哨。

g)经常检查钢丝绳的损伤程度,损伤严重的钢丝绳严禁使用。

h)打大锤时严禁戴手套,二人以上同时打锤不得对面站。

i)钢材(构件)堆放应垫稳,翻转必须用专用工具,移动翻身进橇杠支点要垫稳,滚动或滑动时应站在侧面,前方不准站人。

j)组装时,工件要固定好,点焊部件必须焊牢。

k)用电设备使用前应对接地及防护情况进行检查,拉合开关时应带手套,并侧向操作,使用时应穿绝缘鞋。

l)构件钻孔时要垫稳(小工件要卡牢)且严禁戴手套操作,女工应戴防护帽操作。

m)各种油料必须放在专用库房内且有防火措施。

n)搞好文明施工,做到安全生产。每天生产前应做好班前的安全交底。

10.3.3 结构安装工程

a)施工场地必须平坦坚实。

b)安装使用的吊车要求保证运转正常,不许带病使用,吊车指挥人员要选择有经验的人员,指挥时要精力集中,信号明确,构件吊装时,吊点位置选择要正确,吊具要灵活方便,按要求使用,构件吊装回转时要环顾上下左右,避免碰撞,防止构件变形。

c)柱子安装采用钢锚吊具半自动脱钩,省去高空解安全绳扣。立面结构吊装时,要求在侧面拉拖拉绳后回钩,屋架吊装时,吊车指挥和司机要配合默契,屋架就位后,第一节间屋架应设置拖拉绳作为临时固定,屋架的拖拉绳待整个屋面结构安完后拆除。屋面结构安装从垂直支撑处开始,每安二榀屋架张挂一张安全网,空中安全网覆盖面积不小于屋面投影面积,以保证施工人员安全。

d)无论是立面还是屋面结构安装,一定要注意尽快组成几何不变体系,保证结构稳定。已安装完屋面板部位,不允许集中堆放压型板,防止檩条变形,注意施工荷载均匀分布,施工人员要求轻拿轻放,避免变形。

e)安全操作悬挂焊接平台和操作吊篮要牢固可靠,并采取防电焊火花飞溅和防坠落物品措施。

由于吊装高空作业火花溶液最容易引起燃爆,故必须指定专人监护。每天随时检查气瓶是否严密,不漏气瓶要按指定地点堆放,盖好防火石棉布,并配齐干粉灭火机。

f)吊装实行交接班安全记录制度。夜间吊装要保证有足够的照明,风力超过六级或雷雨天气禁止起吊,对零乱散料件应及时归堆整理。

g)钢结构安装时,指挥人员、操作人员必须掌握机械性能、构件的重量,不得超载吊装;吊装危险区设警戒,专人值班;安装要使构件逐步形成空间几何不变体系,以保证厂房整体稳定。

h)高空作业必须地系好安全带,穿防滑鞋作业,携带榔头、扳手、小撬棍、冲头等工具要用绳穿牢或装入工具袋,防止坠落伤人。构件吊装必须绑扎溜绳,风力达到7 级停止吊装。

h)由于吊装高空作业火花溶液最容易引起燃爆,故必须指定专人监护。每天随时检查气瓶是否严密。不漏气瓶要按指定地点堆放,盖好防火石棉布,并配齐干粉灭火机。

10.3.4 机械安装工程

a)对大型设备的运输道路必须达到有关要求,并做好验道工作,防止发生倾翻事故,施工现场的道路要畅通。

b)设备及管道吊装要有统一信号,由专人指挥,各类起重机必须严格按性能作业,不得违章,大型设备吊装方案要经有关部门批准后执行。

c)安装设备时应在易发生坠落绊跌的危险区设立明显标志和加设围栏,夜间施工要有良好照明。

d)行车就位后要调整好大、小车的制动器,并采取临时固定大车措施,以防跑车。

e)润滑管道油冲洗时必须配备足够的防火设施;

f)配管的酸洗时,必须遵守有关安全操作规程;

g)焊口高空探伤检测时,要做好探伤仪的固定工作,以防坠落。现场探伤要按探伤工作要求,在工作点辐射影响区拉好警戒线,并派专人监视,以防他人进入辐射区;

10.3.5 电气安装工程

a)对重要的电气施工场所,要有灭火器、灭火用的黄沙等;

b)各种电器安全用具,仪器、仪表等必须定期检查,无检查合证书者,严禁使用;

c)在电气设备耐压、试运转等带电区域内严禁非工作人员进入,设立明显的警告标志,并责成专人进行监护;

d)尽量避免带电作业。必要时,设专人监护,至少2 人以上一同作业,一人监护,一人施工。

e)行车滑触线较高,需采取安全保护措施。

 

工期保证措施

第一节        成立强有力的组织指挥系统,加强施工现场管理

本工程开工后在施工现场设项目经理部,选派综合管理能力强、施工经验丰富并施工过类似工程的人员作为项目施工管理人员。工程全面推行项目法管理。加强与业主方和监理单位的联系,及时向业主方和监理单位提供影响工程进度计划的外部条件因素的处理意见或建议,供业主方和监理单位在协调施工、设计、设备供货等各方关系时参考。

 

第一节        科学安排施工部署,优化施工程序

以厂房结构安装和机电设备安装调试为施工重点,针对本工程工期的特点,按着互为条件、主辅同步、平行进行的原则组织施工。

 

第一节        投入足够的劳动力

根据劳动力计划,认真组织施工各阶段的劳动力投入,确保各工种劳动力资源合理配置,这是保证施工工期的前提。在施工中视工程进展的实际情况,及时调整劳动力计划,有效地投入各阶段的劳动力。

 

第一节        提前做好各项施工准备工作

11.4.1 按业主方工期要求,提前做好施工现场临时设施、道路、水、电及测量控制网的布设工作,接到开工令后及时开工。

11.4.2 开工后,立即和设计院联系,了解钢结构设计情况,及时进行设计转化、配料和制作,以确保按计划网络进度进行。

11.4.3 认真进行图纸会审,并及时编制施工组织设计和分项施工作业设计,为施工提供必要的技术保证。

11.4.4 做好停水停电的应急措施。

 

第一节        采取切实可行的技术措施

本工程液压、润滑管道施工工序多(安装、配制、酸洗、耐压、试验、油冲洗),其施工周期也较长,为确保其提前施工完,为设备的单体试车创造条件,采取如下措施:

为了缩短在线循环酸洗和油冲洗的时间,在管道安装配制前将素材管道和管件送到酸洗车间进行槽式预酸洗;

管道焊接采用氩弧焊打底技术,50mm 的管子氩弧焊一次焊接成形;

安装后的配管采用在线循环酸洗和在线循环油冲洗新工艺,减少传统的线外酸洗、油冲洗的二次安装过程;

在线循环油冲洗采用我公司自行研制的大流量(2000L/min)高过滤精度(1µm)的专用油冲洗装置。冲洗过程接入进口的自动油质检验仪,随机检验系统清洁度,因此冲洗速度快,清洁度高,在宝钢三期工程中得到了成功的应用。目前,在几个冶建公司中,唯我公司拥有;

 

第一节        加强各项施工管理工作

11.6.1 加强施工机械的维修保养,保证机械运行良好。

11.6.2 做好土建、结构安装、机电设备安装的相互配合工作,协调好各工序之间的交叉作业,相互创造施工条件,避免相互影响。

11.6.3 合理安排冬、雨季施工,确保综合进度的实现。

11.6.4 加强施工质量管理和成品保护,避免返工。

 

第一节        严格计划管理

11.7.1 准确编制材料进场计划,避免因材料不到位而出现窝工、停工。

11.7.2 运用网络技术和综合进展率统计技术二者加强施工管理力度,实现工程进度准点到位。

11.7.3 施工中各道工序要密切配合,为下道工序创造良好的施工条件,并留有足够的施工工期。

11.7.4 注意收听长、短期天气预报,把天气变化对工程进度的影响控制到最小。

 

现场文明施工及环境保护措施

坚持文明施工,确保施工区域内部及外部道路清洁和安全,不对周围环境造成不良影响。

文明施工目标:文明施工达到市级文明工地的标准。

 

第一节        组织保证

设置现场文明工地检查组。

组长:项目经理

副组长:项目副经理、项目工程师

组员:综合办公室主任、工程部部长、工程部成员、安全员

 

第一节        现场文明施工及环境保护措施

12.2.1 文明施工委员会随时检查施工现场的卫生,发现问题,限期改正。工程竣工验收确保场地清、无渣土垃圾等;

12.2.2 现场场容、场貌布置

a)施工现场设有五牌一图

b)施工沿线设有安全生产、文明卫生内容的宣传栏或宣传标语。

12.2.3 道路与场地

a)车辆通行必须服从业主方的组织调度安排,不占用路面,不损坏道路,不擅自中断路段的交通。

b)加强对土方运输车辆的车况检查,做到持证运营;施工场地内设置洗车台,使出厂的土方车辆保持清洁。保证不偷倒、不乱倒多余土方或建筑垃圾。

c)散装运输物资,运输车厢须封闭,避免遗撒。

d)生活垃圾必须随时处理或集中加以遮挡,保持场容整洁。

12.2.4 时刻注意环境保护,确保周围建筑物安全和正常生产。施工机械的噪声控制在城市区域环境噪声标准范围内。

12.2.5 循序作业按程序施工,作业顺序合理,不因工序颠倒造成返工、浪费和阻碍其他项目作业;

人员和机构安排有条理,不混乱、不窝工。

12.2.6 按图用地周转材料、施工机具、构件用地严格遵守业主方对总平面管理和现场平面管理的要求,各种现场设施搭建必须按业主批准的搭建方案实施。

12.2.7 清洁卫生施工作业场所保持卫生清洁。班组必须做到操作落手清,物尽其用。在施工作业点,应有防止泥浆洒漏、污水外流、车辆沾泥土运行等措施。有考核制度,定期检查评分考核,成绩上牌公布。

12.2.8 机械整洁工程使用的机械、车辆保养完好,外观清洁,无污垢、积尘,机械、车辆停放整齐,有防护设施。

12.2.9 路、水畅通道路畅通、整洁,不乱堆放,无散落物,不发生切断或阻塞现场交通干线事件;

施工器具堆放合理,建筑垃圾必须集中堆放,及时处理,不发生阻碍场地排水事件。

12.2.10 施工垃圾和多余土方运输执行业主方的有关管理规定。

12.2.11 重点部位的要求

(1)现场围挡

工地围墙高度不低于1.8 米,并压顶、粉刷、涂白,保持整洁完整。围墙外立面根据公司形象要求进行规划,使其美化、亮化。

(2)封闭管理

施工现场进出口大门整洁、醒目,形象设计要符合公司形象要求。五牌一图齐全完整;设置门卫,并建立门卫制度;进入施工现场必须戴施工证。

(3)施工场地

a)现场主要道路地坪硬化,平整无积水,建筑物周围系统设置排水设施,保证排水畅通。

b)现场设置沉淀池,防止泥浆、污水等堵塞下水道等;

c)施工现场设置吸烟处,严禁随处吸烟;

d)临时厕所内外要求清洁,墙面铺贴白瓷砖,地面铺贴防滑地砖,设置水冲器,并派专人打扫,保持卫生、清洁。

(4)材料堆放

a)建筑材料、料具严格按平面布置图堆放;

b)材料按名称、品种、规格等挂牌堆放;

c)在施工过程中,要求各作业班组做到工完场清,以保证施工面没有多余的材料及垃圾。项目经理部应派专人对各施工区进行清扫、检查。

(5)现场防火

a)制定严格的消防措施并按规定配备灭火器材;

b)办理动火审批手续和动火监护。

12.2.12 其它具体措施

a)建筑、生活垃圾分类围挡堆放,及时清运;

b)大门进出口有冲洗设备,净车出场;

c)大门进出口两侧100 米内有专人清扫,无建筑、生产生活垃圾和污染;

d)防火组织健全,在施工过程中建立以项目经理为首的义务消防队,并保证消防设备齐全有效,所有施工人员均会正确使用消防器材;

e)施工人员登记成册,佩证上岗;

f)加强施工现场用电管理,严禁乱拉乱接电线,并派专人对电器设备定期检查,对不合规范的行为限期整改;

g)建立以现场施工人员为主的保卫组织机构,并与当地公安机关取得联系,以加强现场的安全、防盗工作;

h)严格施工总平面管理,施工场地的道路、材料置场等采取混凝土硬化或砂浆面层硬化,保持施工道路畅通。

i)对噪音较大的运转设备和场所要搭隔音棚,或在设备上加装消音设施,减少噪音对周围环境的影响。

j)夜间连续施工,要针对施工的具体情况制订可行的措施,减少干扰正常生产。

k)对运输松散材料的车辆,要用塑料编织布覆盖,防止散落污染环境。

l)交工后,施工场地要清理干净,临时设施及时搬迁。

m)现场施工道路基层用碾压机碾压数遍,上铺150mm厚级配砾石,并在出入口处用混凝土进行硬化,方便车辆冲洗,施工道路畅通,排水良好,由专人进行清理。

n)钢筋加工场地面用水泥砂浆进行硬化,现场办公室及仓库屋内和屋外四周地面用水泥砂浆进行硬化,并定期清扫。

o)在露出土地处专设草坪绿地,在现场办公室四周放置花草,并由专人养护。

p)施工主电室等建筑时,建筑物外一律采用密目网围护。

q)施工围墙内侧四周每10米布置一盏照明路灯,现场大门处设置激光照明灯,脚手架和高耸的塔吊的四边及顶端设置安全警示灯。

r)在施工区域禁止现场搅拌、禁止现场消化石灰、拌石灰土等有粉尘污染的作业。

s)在施工中,各种模板、扣件等全部材料采用人工或机械垂直运输,决不允许随手乱扔,高处施工时,模板漏出的砂浆等各种建筑垃圾及时清扫到专用垃圾容器内,采用垂直运输工具运下,严禁凌空抛洒建筑垃圾。

 

冬雨期施工措施

第一节        雨期施工措施

13.1.1 雨期施工管理目标

a) 雨期施工主要以预防为主,采用防雨措施及加强排水手段,确保雨期正常施工,不受季节性气候的影响

b) 加强雨期信息反馈,对易发生的问题要采取防范措施设法排除。

13.1.2 雨期施工准备工作

a) 雨期施工前,根据现场和工程进展情况制定雨期阶段性施工计划,并提交监理工程师审批后实施,并要有专人监督、检查其实施情况。

b) 雨期前应组织有关部门和人员对现场作全面检查,保证雨期施工路通、电通、排水系统畅通及机电设备、生产生活设施等完好。道路边排水明沟经常疏通和维修,潮汛季节随时收听气象预报,配备足够的抽水设备及防台防汛的应急材料。

c) 施工场地

1) 场地排水:设置合理、有效的排水系统,根据地形对场地排水系统进行疏竣,以保证水流畅通,不积水,并要防止周边地区地面水倒流进入场内。

2) 道路:主要临时运输道路基要碾压坚实,道路两边做好排水沟,保证通行不陷。

d)机电设备及材料防护

1) 机电设备:机电设备的配电箱要采取防雨、防潮等措施,并安装接地保护装置。

2) 原材料及半成品的保护:对怕雨淋的材料要采取防雨措施,放入棚内或屋内,垫高码放并要通风良好。

13.1.3 雨期施工主要措施

a) 基础工程

1) 基坑边设截水坝,阻止场地雨水流入基坑。在基坑底设置集水井并配足水泵,通过周围明沟将水排到集水井内,用水泵抽水,及时排除雨水。

2) 深基坑挖完后,应立即浇筑好混凝土垫层,防止雨水泡槽。

b) 钢筋焊接

钢筋加工焊接在工棚内进行,雨大现场钢筋焊接作业停止。

c) 模板

1) 雨大时需特别注意模板脱模剂的涂刷,大雨过后脱模剂被冲刷掉的模板需重新涂刷,以保护模板。

2) 大雨会破坏模板的缝隙处理(胶带纸、海绵条等)故雨后需检查这些部位,被破坏的地方需重新处理。

d) 混凝土工程

1) 雨期施工需特别注意混凝土配合比的调整,要经常督促混凝土搅拌站测定砂石的含水率,据此调整混凝土的配合比。

2) 被雨水冲刷过的混凝土施工缝,需剔除表面的浮浆、砂、石粒等,下次混凝土浇筑前需先浇筑同配合比水泥砂浆,作接浆处理。

3) 混凝土浇筑方案中需特别说明施工时如遇大雨的应急措施。

4) 混凝土浇捣时,尽量避开雨天,若不得已情况,必须做好防雨措施,预备好足够的活动防雨棚、塑料薄膜、油布等。以防止雨水冲刷刚浇筑的混凝土和模板脱模剂。

雨期必须连续施工的混凝土工程,应有可靠的防雨措施,备足防雨物资,及时了解气象情况,选择合适的时间施工。如中途施工应采取覆盖及调整混凝土坍落度等方法。

e) 现场防雨措施

1) 结构封顶后,在结构验收完成前提下,尽快完成屋面防水。

2) 屋面开口部位采取遮挡措施。

3) 雨期到来之前,对现场临建房屋的屋面进行检查,发现有渗漏隐患的房屋,及时组织修理。

f) 雨期安全措施

1) 临电防雨安全措施

定期、定人检查临电设施的绝缘状况,检查电源线是否有破坏现象。发现问题做到及时处理。

室外配电箱加工制作成防雨型,设备安装防雨罩。

配电箱内必需安装合格的漏电保护器,随时关好电箱门。

从事电器作业人员须持证上岗,佩戴劳保用品,两人同时工作,其中一人监护。

2) 防滑:每日清理脚手架、坡道,及时维修防滑条和立面防护设施。

g) 消防工作

1) 消防器材有防雨措施;临时消防栓要高出地面防止泡水。

2) 对化学品、油类、易燃品设专人妥善保管,防止受潮变质及起火。

 

第一节        冬期施工措施

当室外日平均气温连续5 天稳定低于5时,应按冬期施工要求进行。为保证冬期施工的工程质量和进度,结合本工程的具体情况,制定冬期施工管理措施,以确保工程质量。

13.2.1 项目经理部及专业项目部在开工前结合本地区气候情况和本单位实际,对工程技术人员、工长、工人进行一次冬期施工思想教育和技术教育,明确岗位责任制,克服侥幸麻痹思想,认真执行冬期施工的操作规程和规定,真正使每个工人都认识到做好冬期施工的重要性。

13.2.2 明确冬期施工项目,在确保工程质量和进度的前提下,制定切实可行的冬期施工技术措施,同时做好冬期施工的物资准备工作。

冬期里每遇寒流袭击时,气温将急骤下降,此时要注意长、短期天气预报,及时掌握气温变化情况,合理安排施工计划,采取必要的保暖防冻措施,做到有预防,有措施。

13.2.3 具体保证措施

13.2.3.1 混凝土和钢筋混凝土工程

1)混凝土搅拌采用加热水的方法,热水的温度在6080。水泥使用前事先运入暖棚内存放。

混凝土搅拌时投料顺序先投入骨料和水,然后投入水泥,搅拌时间应比常温季节搅拌时间延长50%。

混凝土外加剂掺量必须通过试验试配后确定,施工要严格按照要求掺入,不得任意增减。

2)混凝土运输采用混凝土运输车,浇灌时使用混凝土输送泵,泵管外用保温材料包裹。

3)混凝土浇筑后,铺双层草袋保温,草袋叠缝铺设且两层草袋叠缝应相互错开。

4) 分层浇筑的混凝土结构,已浇筑层的混凝土表面温度在未被上层混凝土覆盖前,不得低于2

13.2.3.2 砌筑工程

1)砖在砌筑前,应清除冰霜,拌和砂浆采用热水的方法,流动性比常温下适当增大,但不得超过130mm。砂浆随搅随用,且放在保温的容器内。

2)气温在-15以下时,可掺用双盐,即掺入微沫剂溶液与盐类溶液。但使用时温度大于60的建筑物和高压电接近的建筑严禁选用掺盐砂浆,可选用暖棚法施工。

3)砌体在严冬时期每日砌筑后进行覆盖保温。

13.2.3.3 抹灰工程

1)冬期抹灰工程必须满足以下条件方能施工。

a砖墙砌体达到设计强度的20%。

b砖石墙体所含水份不超过6%。

c冷作抹灰时,抹灰一面解冻深度不小于墙厚的一半时方可进行或墙体完全解冻后再进行抹灰。

d表面有刷油漆的抹灰基层,不宜在砂浆中掺化学附加剂,否则,需隔年反碱清刷后再刷油漆。

2)建筑装饰要求不高的建筑物内墙抹灰采用冷作抹灰,冷作抹灰选用水泥砂浆和混合砂浆,严禁用白灰砂浆。

冷作抹灰砂浆选用氯化钠、氯化钙、碳酸钾、氯水等作为抗冻剂,优先选用单掺氯化钠的砂浆。

掺有氯化钠、氯化钙的砂浆,在操作时的温度应满足下列要求:a施工时气温高于-10时,砂浆不低于+10;b施工时气温在-11~-15,砂浆不低于+15

砂浆搅拌采用热水,但水温不超过80,如必须将砂子加热时,砂子温度不超过+50,拌成的砂浆最高温度不超过+40(氯水砂浆不超过+35)。

掺氯盐的冷作抹灰,严禁用于有高压电源的部位。

3)不宜冷作抹灰或具备供热抹灰的建筑物,优先采用供热抹灰。

墙面保持在0以上,受冻的石灰砂浆不能直接进行抹灰,待二次拌和后方可使用。

抹灰时室内气温不低于+5,为提高抹灰砂浆的早期强度、缩短养护时间,采用加早强剂方法。砂浆热水搅拌,必要时砂子进行加热,具体要求同冷做法。

从抹灰开始前二昼抹完后10天内,均保持室内温度不低于+5,同时在抹灰层的温度降低至8%以前,保持零上温度。

13.2.3.4 钢结构安装工程

1)当气温低于-10,采取相应的予热等措施进行焊接,并采取必要的挡风措施。焊接前对接头处要认真清理,如冰雪、污垢等。

2)在负温下焊接钢结构,采用屈服强度低、冲击韧性好的低氢型焊条,并进行烘焙。在焊缝两侧板厚的23倍范围内进行焊后热处理,加热温度150300,并保持12小时。

3)焊接时,应压紧电弧,电弧低,送短弧,焊条要与焊缝成900,手把稳,分层划圈式送棒手法焊接。

4) 在安装过程中,钢结构起吊加防滑垫。在负温度下安装结构构件时,随安装,随校正随固定。当天安装的构件要形成稳定空间体系,以保证安装质量和安全。

13.2.3.5 机械设备及管道安装工程

1) 液压管道酸洗及油冲洗施工时,要保证酸洗及油冲洗装置电加热器的正常使用,并连续作业至施工完毕。施工结束后要将管内介质放净,避免低温时管道冻裂。

2) 能源介质管道强度及严密性试验结束后将管道内的残水放净,某些放不净水的管道要采取措施加放水阀,放水阀的设置要经设计院及甲方人员同意。试压合格的管道及时用压缩空气进行吹扫,吹净管内残水,然后立即进行防腐保温处理。

3) 设备单体试运转及联动试运转时,液压泵启动前要先用加热器对液压介质进行预热,然后泵站本体进行空负荷运转,待泵站运转正常后再连接执行机构进行调试。

4) 齿轮箱的润滑油选择冬期标号,若仍不能满足要求,可与设计院及甲方人员研究确定使用粘度更稀的润滑油作为试运转润滑介质。

5) 严禁在有霜雪的情况下焊接。

6)冬季施工要加强对焊条烘干的管理,按照焊条质量证明书要求进行烘干,无要求时,E4303焊条烘干温度150200,烘干时间12小时,E5015E5016焊条,烘干温度370,烘干2小时。

拿到现场使用的焊条应有焊条保温桶,防止焊条受潮,用多少拿多少,严禁随便乱放受潮影响焊条质量。

7)露天使用的电焊机、卷扬机、机械电气开关箱等搭设防风雪棚,以免风雪使电气部分受潮。

8)小型机械入库保管,使用时临时出库,用后及时收回。

11)在冬季,对所有不能投入运行的经过水压试验或灌水试漏的设置、管道一律将水放净,并用压缩空气吹扫,以防设备、管道冻坏。

12)冬季室外开口设备应将开口及时封闭,避免雪进入设备内。

13.2.3.6 电气安装工程

1)露天存放的电线管,在暗敷前,必须清除管内积雪、积冰和其它杂物。

2)敷设电缆前要清除电缆沟内的积雪和冰块。敷设电缆时,要保证电缆本体温度在0以上。

如达不到,应提前将电缆予热保温,予热后的电缆要尽快敷设,一般不要超过一小时。敷设时要严禁扭转缆体,弯曲半径也要比规程适当加大。

3)电缆终端头及中间接头的制作环境要清洁干燥,温度保证在5以上。

 

成品保护措施

制定成品保护措施是为了最大限度的消除和避免成品在施工过程中的污染和损坏,以达到减少和降低成本,提高成品一次合格率、一次成优率的目的。

14.1 项目经理部成立工地成品保护小组,全面负责并组织实施工地的成品保护制度,加强成品保护教育。

14.2 项目经理部制定季度、月度计划时,要根据总控计划进行科学合理的编制,防止工序倒置和不合理赶工期的交叉施工以及采取不当的防护措施而造成的互相损坏、反复污染等现象的发生

14.3 项目经理部对所有入场的施工单位要进行定期的成品保护意识的教育工作,依据合同、规章制度、各项保护措施,使施工单位认识到做好成品保护工作是保证自己的产品质量,从而保证自身的荣誉和切身的利益。

14.4 各种加工定货半成品,在运输、入库、保管、存放等环节中,由材料部门妥善管理,并制定具体管理办法。

14.5 上道工序与下道工序要办理交接手续,明确上一道工序成品有无损坏或丢失并做好记录,项目经理部有关部门工程师要把交接情况记录在施工日记中。如土建交给安装的项目,办理交接手续后,由安装部门负责管理。

14.6 作业人员必须严格遵守现场各项管理制度,不准吸烟。如作业用火,必须取得动火证后方可进行施工。所有入场作业的人员必须接受成品保护人员的监督。

14.7 加强成品保护

14.7.1 加工定货,如细木制品、灯具、配电柜等材料,要求厂家必须有可行可靠的包装保护措施。

14.7.2 塑钢窗外侧塑料保护膜不得撕掉、碰坏,凡缺保护膜的在抹灰前应补齐、补好,与埋件焊接时窗脚周围用石棉布遮挡严密,防止烧坏。注意

钢门窗和铝合金门窗的成品保护。

14.7.3 地面等做完后应进行覆盖、遮挡保护。

14.7.4 进料的门窗阳角用铁皮包起来。

14.7.5 油漆、涂料及安装灯具时,上人梯子梯腿要包胶皮,以防划伤地面。

14.7.6 管道安装前,清除内部杂物,安装中断或完毕后和敞口处应临时封闭。

14.7.7 地漏、排水栓等预留口全部用木塞塞紧。

 

本工程中采用新技术、新工艺

第一节        **施工工法

1) 现代化大型轧机安装工法

本工法根据我公司施工经验编写,被评为国家级工法。

2) 现代化大型步进式加热炉施工工法

本工法根据我公司施工经验编写,被评为国家级工法。

3) 大型箱型基础混凝土施工工法

本工法根据我公司施工经验编写,被评为国家级工法。

4) 1000KW以上电机施工工法

本工法根据我公司施工经验编写,被评为省部级工法。

5) 大型变压器安装工法

本工法根据我公司施工经验编写,被评为省部级工法。

6) 基础大体积混凝土工法

7) 钢筋冷挤压连接工法

8) 钢筋气压焊工法

9) 液压、润滑管道在线循环酸洗工法

本工法根据我公司施工经验编写,被评为省部级工法。

 

第一节        土建工程新技术、新工艺

1) 深井降水施工技术;

2) 粗直径钢筋采用套筒冷挤压连接;

3)基础采用竹胶合大型模板支模;

4)应用粉煤灰作混凝土掺和料;

5) 泵送混凝土施工技术;

6) 大体积混凝土施工技术;

7) 地下混凝土外墙板渗漏综合防治技术;

8) 高温期间大体积混凝土施工质量控制技术;

9) 设备基础地脚螺栓孔泡沫塑料板隔离芯模施工技术;

10) 混凝土负温泵送剂应用技术;

11) 基坑开挖时对桩基的保护技术;

12) 钢筋混凝土框架节点模板施工技术;

13) 超长体积混凝土裂缝控制技术。

 

第一节        钢结构制作新技术、新工艺

1) 钢结构详图转换采用CAD 计算机辅助设计技术;

2) 大型钢结构件制作采用计算机温控远红外线消除热应力技术;

3) 使用三维钻床进行钢结构制孔。

 

第一节        钢结构安装新技术、新工艺

1) 超长屋面、墙面彩板现场施工技术;

2) 吊车梁及辅助桁架组合吊装技术;

 

第一节        机械设备安装新技术、新工艺

1) 小口径液压管道采用氩弧焊一次成形技术;

2) 液压、润滑管道采取在线循环酸洗及大流量,高过滤精度循环油冲洗技术;

3) 座浆法配置设备垫板施工工艺;

4)现代化大型轧机机架吊装施工工艺;

 

第一节        电气设备安装新技术、新工艺

1) 变电所调试新技术;

2) 热缩电缆头的推广应用

3) 冷缩电缆头的推广应用

4) 仪表DCS 系统安装与调试技术;

5) 可编程序控制器调试技术

6) 大型变电设施调试新技术

该项技术具有标准化施工、设备先进等特点,已广泛应用于我公司承建的大中型冶金建设项目的供电系统中,是我公司一项成熟的新技术。

7)大型变压器施工工艺;

 

第一节        其他新技术、新工艺

1) 现场财务、工程、技术管理采用计算机应用和管理技术。

2) 横道图与网络图相结合的软件技术;

以上采用的新技术、新工艺我公司已有成熟的工法或作业设计。

 

合理化建议

1)由于本工程工序复杂施工难度大,建议业主定期召开由施工单位主要负责人参加的现场协调会,及时解决施工中各标段出现的需协调、配合问题。

2)在施工图没到前,建议业主要求设计院根据施工图方案,尽早提供钢结构图纸,以便尽快进行图纸转换,为钢结构制作创造条件。

3)为保证设备能顺利安装,施工单位可以配合业主到设备厂家进行设备监造和检查验收。

4)现场施工场地建议业主根据实际情况统一分配协调。

5) 施工图纸必须按期供给施工单位,并由业主组织进行各专业进行图纸会审。

6) 设备及材料按施工要求及时供货。

7) 设备的配件及设备随机文件齐全,按施工工期要求提供给施工单位。

8) 主厂房天车按施工工期要求如期到货。

9) 现场必须有设计院驻现场服务代表及设备制造厂家驻现场服务代表及时为现场服,保证及时发现问题,及时解决。PLC程序编制人员和工程电气设备设计人员在场最好。

10) 配备足够的灭火器材,在热负荷试车时投入使用,确保万无一失。

11) 按施工工期要求提前提供设备调试的相关数据,满足制定调试方案的要求。

12) 电气设施必须保证设备、模块的完好,并准备好充足备件。

13) 设计院所提供的PLC程序和数控直流程序必须保证完全正确,确保调试按期完成。

14) 高压微机监控部分参数设定需厂家负责。

15) 电气部分的PLC设备软、硬件资料、调试设备调试资料、微机网络资料及操作软件、PLC主程序、轧机直流传动设备资料和调试手册、变频器相关资料、电机参数等提前供给施工单位以便熟悉程序,及早制定完备的调试方案。

16) 电气控制设备检查期间甲方所提供调试用电源应与现场大型用电设备如:天车、电焊机等分开,保证电源稳定、无波动。

 

 

星欣设计图库资料专卖店拥有最新最全的设计参考图库资料,内容涉及景观园林、建筑、规划、室内装修、建筑结构、暖通空调、给排水、电气设计、施工组织设计等各个领域的设计素材和设计图纸等参考学习资料。是为广大艺术设计工作者优质设计学习参考资料。本站所售的参考资料包括设计方案和施工图案例已达几十万套以上,总量在数千G以上。

 图库网址http://www.xingsc.cn

ftp://xingxin.oicp.net

联系QQ447255935

电话:13111542600