目录
7
7
13
24
24
25
28
28
28
31
37
51
56
75
76
77
81
81
90
90
249
275
356
362
377
385
391
391
393
393
398
400
402
406
407
408
408
408
425
427
452
454
456
457
468
479
503
503
504
509
511
525
525
527
529
537
539
540
540
542
545
549
551
551
551
556
560
589
594
站基本概况 594
597
599
600
601
602
613
613
614
618
628
641
工程名称: **站站房工程
建设单位: **铁路局**站站房工程建设指挥部
建设地点: **市* *路
建筑面积: 4 1 0 8 0 . 8 2 m 2
结构类型: 桩基、钢筋混凝土框架+斜拉索轻钢屋盖结构
设计单位: 铁道**勘察设计院和法国**公司
工 期: 72 0 日历天
范 围: **站站房工程总承包管理及土建、水电安装施工
1 . 1 . 2 技术标编制说明
在接到* *铁路局* *站站房工程建设指挥部关于* *铁路局* *站站房总承包管理及土建、水电安装施工的招标文件后, 通过认真研究招标文件及有关图纸资料,并多次踏勘了施工现场,及时分析了对工程施工的各种影响因素和本工程施工过程的难点、特点后, 编制了本施工组织设计, 以此作为竞标的技术文件。中标后将按该文件要求,组织各有关部门综合审阅图纸,编制本工程详细的技术交底书,报**铁路局**分局、运输分处、安全监察室、* *站、公安分处、建设指挥部和监理审批后实施。
1 . 1 . 2 . 1 编制依据
1 . 1 . 2 . 1 . 1 * *铁路局* *站站房总承包管理及土建、水电安装施工招标文件、施工图纸及招标澄清文件;
1 . 1 . 2 . 1 . 2 建设单位和设计单位对工程施工提出的有关要求;
1 . 1 . 2 . 1 . 3 我国现行的施工规范和操作规程及质量评定标准;
1 . 1 . 2 . 1 . 4 施工图中有关规定及选用的标准图;
1 . 1 . 2 . 1 . 5 国家现行法律、法规;
1 . 1 . 2 . 1 . 6 有关安全生产、文明施工的标准要求和规定;
1 . 1 . 2 . 1 . 7 有关的各项技术性文件;
1 . 1 . 2 . 1 . 8 我国现行的有关机具设备和材料的施工要求和标准;
1 . 1 . 2 . 1 . 9 江苏省建筑配件通用图集;
1 . 1 . 2 . 2 本工程应严格遵循的有关规范、规程、评定标准
1 . 1 . 2 . 2 . 1 国家房屋建筑强制性条文
中华人民共和国工程建设标准强制性条文( 房屋建筑部分) 关于施工质量和安全的条文。内容包括:
地基基础施工质量;
砼结构施工质量;
砌体结构施工质量;
房屋防水施工质量;
钢结构施工质量;
玻璃幕墙施工质量;
施工安全要求。
1 . 1 . 2 . 2 . 2 国家现行施工规范及标准
《建筑桩基技术规范》( J G J 9 4 - 9 4 )
《建筑基坑支护技术规程》( J G J 1 2 0 - 9 9 )
《地下室防水工程质量验收规范》( G B 5 0 2 0 8 - 2 0 0 2 )
《建筑地基基础工程施工及验收规范》( G B 5 0 2 0 2 - 2 0 0 2 )
《砼结构工程施工质量验收规范》( G B 5 0 2 0 4 - 2 0 0 2 )
《砼质量控制标准》( G B 5 0 1 6 4 - 9 2 )
《建筑用砂》( G B / T 1 4 6 8 4 - 2 0 0 1 )
《建筑用卵石、碎石》( G B / T 1 4 6 8 5 - 2 0 0 1 )
《砌体工程施工质量验收规范》( G B 5 0 2 0 3 - 2 0 0 2 )
《屋面工程施工质量验收规范》( G B 5 0 2 0 7 - 2 0 0 2 )
《玻璃幕墙工程质量检验标准》( G B 5 0 2 0 4 - 2 0 0 2 )
《建筑地面工程施工质量验收规范》( G B 5 0 2 0 9 - 2 0 0 2 )
《住宅装饰工程施工规范》( G B 5 0 3 2 7 - 2 0 0 1 )
《建筑工程冬期施工规范》( J G J 1 0 4 - 9 7 )
《钢筋焊接接头试验方法标准》( J G J / T 2 7 - 2 0 0 1 )
《钢筋机械连接通用技术规范》( J G J 1 0 7 - 9 6 )
《建筑施工高处作业安全技术规范》( J G J 8 0 - 9 1 )
《施工现场临时用电安全技术规范》( J G J 4 6 - 8 8 )
《建筑机械使用安全技术规程》( J G J 3 3 - 2 0 0 1 )
《建筑施工安全检查评分标准》( J G J 5 9 - 9 9 )
《工程测量规范》( G B 5 0 0 2 6 - 9 3 )
《建筑电气安装工程施工质量验收规范》( G B 5 0 3 0 3 - 2 0 0 2 )
《建筑给排水及采暖工程施工质量验收规范》( G B 5 0 2 0 4 - 2 0 0 2 )
《家用燃气燃烧器安装及验收规程》( C J J 1 2 - 9 9 )
《通风与空调工程施工质量验收规范》( G B 5 0 2 4 3 - 2 0 0 2 )
《建筑工程施工质量验收统一标准》( G B 5 0 3 0 0 - 2 0 0 1 )
《建筑施工扣件式钢管脚手架安全技术规范》( J G J 1 3 0 - 2 0 0 1 )
《建筑变形测量》( J G J / T 8 - 9 7 )
《建设工程项目管理规范》( G B / T 5 0 3 2 6 - 2 0 0 1 )
《建设工程文件归档整理规范》( G B / T 5 0 3 2 8 - 2 0 0 1 )
《建设施工场界噪声限值》( G B 1 2 5 2 3 - 9 0 )
《城市区域震动标准》( G B 1 0 0 7 0 - 8 8 )
《钢结构工程质量验收规范》( G B 5 0 2 0 5 - 2 0 0 1 )
《碳素结构钢》( G B 7 0 0 - 8 8 )
《建筑钢结构焊接规程》( J G J 8 1 - 9 1 )
1 . 1 . 2 . 2 . 3 江苏省建筑安装工程施工技术操作规程土石方与爆破工程 ( D B 3 2 / 2 9 3 - 1 9 9 9 )
地基与基础工程 ( D B 3 2 / 2 9 4 - 1 9 9 9 )
砌体结构工程 ( D B 3 2 / 2 9 5 - 1 9 9 9 )
混凝土结构工程 ( D B 3 2 / 2 9 6 - 1 9 9 9 )
地面与楼面工程 ( D B 3 2 / 2 9 9 - 1 9 9 9 )
门窗工程 ( D B 3 2 / 3 0 0 - 1 9 9 9 )
装饰工程 ( D B 3 2 / 3 0 1 - 1 9 9 9 )
防水工程 ( D B 3 2 / 3 0 2 - 1 9 9 9 )
脚手架工程 ( D B 3 2 / 3 0 3 - 1 9 9 9 )
结构安装工程 ( D B 3 2 / 3 0 4 - 1 9 9 9 )
水暖卫生设备工程 ( D B 3 2 / 3 0 5 - 1 9 9 9 )
电气工程 ( D B 3 2 / 3 0 6 - 1 9 9 9 )
焊接工程 ( D B 3 2 / 3 0 9 - 1 9 9 9 )
拟建* *站站房位于原址, 东西长2 7 0 m , 南北宽5 4 . 5m, 呈一字形, 建筑面积36073 .4。西配楼东西长4 5 m, 南北宽2 5 m, 建筑面积5 0 0 7 . 4 2。总建筑面积
4 1 0 8 0 . 8 2。
新站房外型采用法国A R E P 公司的设计方案, 内部功能及结构由铁道第四勘察设计院设计。整个新站房像一艘竖起桅杆、正在拉满风帆的巨型帆船停泊在玄武湖畔。
1 . 2 . 1 . 1 各区建筑特征及建筑面积分布表:
表1 – 1
序 号 | 项目分区 | 地下室() | 地上建筑 () | 分区合计 () | 建筑总高 (m) | 最大混凝土结构层高(m) |
1 | 主站房 | 局部一层 1-5 轴2047.5 9-14 轴3854.19 | 30171.71 | 36073.4 | 42 | 9.3 |
2 | 西配楼 | 一层1239.36 | 3768.06 | 5007.42 | 16.6 | 4.2 |
3 | 分段合计 | 7141.05 | 33939.77 | 41080.82 |
|
|
1 . 2 . 1 . 2 分区内、外装饰主要做法表:
表1 – 2
序 号 | 分 区 | 内 墙 | 外 墙 | 踢脚 墙裙 | 楼、地面 | 顶 棚 | 门 窗 | 屋 面 |
1 | 西配楼 | 水泥砂浆墙面;乳胶漆墙面;瓷砖墙面;粘贴瓷砖墙面 | 高级白色涂料墙面,局部ALC板材饰面 | 水泥踢脚;仿大理石抛光地砖踢脚;陶瓷地砖踢脚;硬木踢脚;陶瓷面砖墙裙 | 水泥楼面;仿大理石抛光地砖楼面; 普通陶瓷地砖楼面; 防滑陶瓷地砖楼面; 防静电地板楼面;素水泥砂浆抹面 | 水泥砂浆抹灰顶棚;装饰石膏板吊顶;乳胶漆顶棚 | 木门;防火门;卷帘门;塑钢门;玻璃门;塑钢窗 | 氯化聚乙烯橡胶共混防水卷材;氯丁沥青防水涂料(二布八涂) |
2 | 主 站 房 | 水泥 砂浆 墙面; 乳胶漆内 墙面 或柱 面 |
| 水泥砂浆墙裙 | 钢屑水泥 楼面; 细石混凝土楼 面 | 水泥砂 浆抹灰 顶棚;乳胶漆 顶棚 | 木门;防 火门;卷帘门;铝 合金门窗 | 高聚物改 性沥青卷材防水 |
3 | 说 明 | 主站房各部位其他的装饰做法属于二次分包内容,此处没有表明。 |
1 . 2 . 2 结构设计特点
* *站站房工程分为主站房和西配楼两个部分。主站房地上设有两道变形缝,分别在1 / 8 和9 轴及2 / 1 4 和1 5 轴之间。混凝土结构上又设了4 道后浇带,具体位置见附图。
主站房: 檐口最大高度3 0 . 8 2 3 m, 桅杆顶高4 2 m 。地下1 层, 地上2 - 5 层,主体结构形式为框架结构, 屋盖采用斜拉索轻钢屋盖体系, 最大层高为9 . 3 m 。西配楼:楼高为1 6 . 6 m,地下为1 层,地上为2 - 4 层,结构形式为框架结构,最大层高为4 . 2 m 。
1 . 2 . 2 . 1 结构特征一览表
表1 – 3
特征 | 区域 | 结 构 |
结构形式 | 主体为框架结构,主站房屋盖部分为桅杆式悬挂斜拉索结构 | |
地基形式 | 桩基 | |
基础型式 | 筏板、承台 | |
砼等级 | C15, C30( S8、S10、S12), C40 | |
钢筋连接要求 | d≥ 18mm 采用镦粗直螺纹连接或焊接,其余可采用搭接连接 |
1 . 2 . 2 . 2 主要工程数量表
土建工程主要工程量表
表1 – 4
序号 | 名称 | 规格型号 | 数量 | 单 位 | 备注 | |
1 | 土方开挖 |
|
| 70575 | |
|
2 | 土方回填 |
|
| 11042 | |
|
3 | 混凝土 | 各种等级 | 35824 | |
| |
4 | 钢筋 | 各种规格 | 6256 | t |
| |
5 | 钢材 | HPB235 | 139 | t |
| |
6 | 砌体 |
| 430 | |
| |
7 | 地砖楼地面 | 各种规格 | 1773.8 | | <300*300> | |
8 | 屋面卷材防水 | 氯化聚乙烯橡胶卷材 | 644.1 | |
| |
9 | 屋面卷材防水 | SBS 防水卷材 | 509.1 | |
| |
10 | 屋面卷材防水 | 石油沥青油毡 | 75.6 | |
| |
11 | 屋盖水泥砂浆找平层 |
| 1797.3 | |
| |
12 | 水泥砂浆地面、天棚 |
| 11620 | |
| |
13 | 墙体水泥砂浆面层 |
| 25698 | |
| |
14 | 柱梁水泥砂浆面层 |
| 13232 | |
| |
15 | 内墙瓷砖 | 各种规格 | 1325 | | <152*152> | |
16 | 室内107 白水泥乳胶漆 |
| 38475 | |
| |
17 | 106 涂料上白水泥腻子 |
| 1416 | |
| |
18 | 外墙高级喷涂 | 高级喷瓷型 | 1288.5 | |
| |
19 | 门窗 | 各种型号 | 5675.5 | |
| |
20 | 地道平面防水卷材 | 氯化聚乙烯橡胶卷材 | 3068.8 | m |
| |
21 | 地道立面防水卷材 | 氯化聚乙烯橡胶卷材 | 2037 | m |
|
1 . 2 . 3 水电安装总体安排
1 . 2 . 3 . 1 给排水工程
1 . 2 . 3 . 1 . 1 主站房包括给水系统、排水系统、灭火器设置、消火栓系统、消防水炮系统、自动喷淋系统及气体灭火装置。
给水系统: 由市政管网直供, 主站房J / 8 系统三层及以上为水箱供水, 采用虹吸式给水方式。室外给水管路采用P E 管D e 1 1 0 及以上采用胶圈接口,D e 1 1 0 以下采用粘接。
排水系统: 生活污水与粪便污水合流排放, 自动扶梯、基本站台综合管沟的排水采用潜污泵机械提升的排水方式。
灭火器设置: 采用3 K g 磷酸铵盐干粉灭火器( M F 3), 安装标高为距地面( 或楼面) 0 . 8 m, 根据面积及危险等级配置, 计主站房2 4 6 具。
消火栓系统:室内消火栓系统管路成环状,主站房屋顶设置2 0 消防及生活合用水箱, 一层以下采用减压型消火栓, 设置消防水泵接合器2 套, 屋顶设试验消火栓D N 6 5 1 组, 主站房屋顶水箱由西配楼水泵房经加压后由D N 1 0 0 管路供应给水。
自动喷水系统: 主站房自动喷水系统为湿式系统, 设置4 组湿式报警阀。
消防水炮系统:主站房二层大厅及三层普通候车室属高大空间、大体积建筑采用智能型消防水炮, 系统管路成环状, 设置消防水泵结合器3 套。
气体灭火设备:主站房内的客运总控室、主机房、电源室、总配室、C A T V 室、售票电源室、主机房等采用E B M 型无管网气体灭火装置。
1 . 2 . 3 . 1 . 2 西配楼包括给水系统、排水系统、灭火器设置、消火栓系统、自动喷淋系统及主站房的的消防加压设施。
给水系统: 西配楼均由市政管网直供, 热水供应系统为开式供应, 采用双管路系统, 屋面设热水箱, 地下机房设燃油( 汽) 间接式常压热水锅炉1 台, 设循环水泵2 台。
排水系统: 生活污水与粪便污水合流排放,地下机房的排水采用潜污泵机械提升的排水方式。
灭火器设置: 采用3 K g 磷酸铵盐干粉灭火器( M F 3 )。
消火栓系统:西配楼屋顶设置2 5 m 3 消防及生活合用水箱,设置消防水泵接合器1 套。
自动喷水系统: 西配楼设置湿式报警阀组1 组, 消防水泵结合器2 套。
主站房的消防加压设施:西配楼地下室设水泵房,包括消防及生活加压循环水泵计2 0 台。
西配楼雨水系统:屋面设坡度雨水汇集至屋面雨水簸箕, 通过雨水立管排至室外散水, 雨水管部分采用钢雨水管浇注于混凝土内, 部分采用P V C 雨水管。
1 . 2 . 3 . 2 电气、信息集成管理系统工程部分
1 . 2 . 3 . 2 . 1 * *站主站房、西配楼电气工程包括:主站房1 0 / 0 . 4 K V 变配电所动力、照明、应急照明、防雷接地、预留夜景照明、广场照明。西配楼1 0 K V 变配电、照明、动力供电、应急照明、消防报警系统。
1 . 2 . 3 . 2 . 2 低压配电系统: 低压配电回路, 低压主接线采用两路单母线分段运行。照明配电按功能分区域划分。设两段消防母线, 公共区应急照明由E P S 应急照明电源供电。大容量空调机组, 由变电所直配供电。
1 . 2 . 3 . 2 . 3 电气照明: 站房内采用高效节能显色性好、配光曲线均匀的光源灯具。广厅、候车室高净空的公共区域采用金属素灯灯具, 售票厅、候车厅、进出站通道等大面积公共场所和办公室设荧光灯,行包房为库房灯具,地下层机房、维修车间采用高压钠灯, 浴室采用防水防尘灯。应急照明分别设E P C 集中供电,控制均采用智能控制系统。
1 . 2 . 3 . 2 . 4 防雷与接地: 二类防雷接地, 主站房利用金属屋顶作为接闪器,西配楼在屋顶四周设避雷带并装设不大于1 0 m * 1 0 m 的避雷网格。利用建筑物基础作自然接地体, 柱子内直径大于1 6 m m 的两根主钢筋作防雷引下线。
1 . 2 . 3 . 2 . 5 铁路火车站是为旅客提供服务的一个重要窗口, 近几年铁路系统许多M I S 系统建成, 运用了现代通信技术、计算机网络及办公自动化控制和多媒体等技术为旅客提供安全、舒适和方便快捷的优质服务。一般火车站可设立弱电系统包括“ 列车到发通告”、“ 客运广播”、“ 综合查询”、“ 行包系统”、“ 客票系统”、“ 旅客引导显示”、“ 网络通信”、“ 办公自动化”、“ 楼宇设备自控”、“ 闭路电视监控”、“ 出入门禁管理”、“ 火灾自动报警管理”、“ 停车场管理” 等系统, 统称为车站信息管理集成系统。
主要工程量表( 动力、照明)
表1 – 5
序号 | 项目 | 单位 | 数量 | 序号 | 项目 | 单位 | 数量 |
1 | 动力电源切换箱 | 台 | 33 | 9 | 封闭插接式母线槽 | 10m | 9.5 |
2 | 动力控制箱 | 台 | 36 | 10 | 日光灯 | 10 套 | 197.7 |
3 | 动力配电箱 | 台 | 91 | 11 | 泛光灯 | 10 套 | 19 |
4 | 电缆分支箱 | 台 | 196 | 12 | 工厂罩灯 | 10 套 | 7.2 |
5 | 电缆 | 100m | 127.81 | 13 | 吸顶灯 | 10 套 | 18.2 |
6 | 导线 | 100m | 1303.14 | 14 | 照明配电箱 | 台 | 138 |
7 | 钢管 | 100m | 413.6 | 15 | 照明电源切换箱 | 台 | 3 |
8 | 铝合金托盘式桥架 | 10m | 177.6 | 16 | PVC 阻燃管 | 100m | 35.9 |
主要工程量表( 给排水及消防)
表1-6
序号 | 项目 | 单位 | 数量 | 序号 | 项目 | 单位 | 数量 |
1 | 生活水泵 | 台 | 4 | 12 | 洁具 | 10 组 | 148.6 |
2 | 消防泵 | 台 | 16 | 13 | 消火栓箱 | 套 | 155 |
3 | 潜水泵 | 台 | 35 | 14 | 消防喷头 | 10 个 | 277.2 |
4 | 镀锌钢管 | 10m | 164.4 | 15 | 水泵接合器 | 套 | 19 |
5 | 焊接钢管 | 10m | 59.6 | 16 | 管道支架 | 100kg | 46.8 |
6 | 给水PE 管 | 10m | 192.3 | 17 | 水箱 | 个 | 3 |
7 | PP-R 管 | 10m | 175.9 | 18 | 保温 | | 7.7 |
8 | U-PVC 塑料排水管 | 10m | 138.3 | 19 | 挖土 | | 1547 |
9 | 铸铁排水管 | 10m | 6.5 | 20 | 消防数控水炮 | 个 | 14 |
10 | 手提式灭火器 | 套 | 286 | 21 | 室外地下消火栓 | 套 | 11 |
11 | 阀门类 | 个 | 628 |
|
|
|
|
本工程建设地点为**市* *路** *号, * *站的原址上。西配楼的西侧为现正在使用的**站售票厅和候车室; 北侧紧靠站台和铁路;南面为临时行包房和停车广场; 东侧为现在的出站口和公交汽车站点。
一方面由于**站是京沪、宁芜、皖赣铁路交汇点上的一等大站, 平时客流量每天达2 5 0 0 0 人次, 高峰时每天客流量达1 0 0 0 0 0 人次。该工程要求边运营边施工, 而且向南穿过**路就是玄武湖旅游风景区, 来往旅客、游客流量相当大。因此如何安全地保证既有铁路的正常运营、合理组织人流和车流的行走路线是该工程施工的一大特征。
另一方面, 站房施工和**市地铁施工交叉进行, 站房与地铁相接、站房与站前广场场相连,因此如何协调好这些衔接部位工程的施工是该工程施工的又一大特征。
1 . 4 . 2 场地已平整, 作业条件较好。
1 . 4 . 3 施工用电到位, 分表定位后即可接通。
1 . 4 . 4 施工用水已到位, 分表定位后即可接通。
根据本工程的特点和环境特征,本项目除了必须严格按照《建设工程项目管理规范》的要求, 采用矩阵式项目体系组织实施, 强化内部管理, 确保各项总体目标的实现外, 重点要解决如何保证既有线边施工边运营时列车、旅客、行包的通畅和安全问题; 如何协调与地铁、社会停车场、站前高架等施工相交、相接问题; 如何加强总包管理, 确保各专业分包工程、各分部分项工程合理、有序地交叉、交接进行的问题; 如何协调好与车站、当地政府职能部门和周边环境关系的问题等。
1 . 5 . 2 总体要求
1 . 5 . 2 . 1 本工程将采用总承包管理模式— — 由业主委托总承包商对整个工程实施全面管理职能, 对所有分包商进行统一组织和协调。这样, 可以充分保证业主把工作的重心放在对总承包商的控制, 对投资的控制。同时, 业主可以充分发挥监理公司的作用, 使工程在有效的控制下进行建设。针对这种管理模式, 我单位将调派具有丰富施工经验的一级优秀项目经理和优秀的工程技术人员及管理人员组成本工程项目管理部。本项目部在业主的控制下和监理公司的督促下, 将着重在施工总进度计划, 施工场地、机械、设备布置及协调使用, 施工人员、物资的计划安排, 施工质量控制及保证措施, 文明施工、安全生产管理, 与社会各部门协调, 并对各参建单位的劳动力、资金管理, 施工质量控制、技术资料、档案整理以及对业主服务等方面设置专人进行强化对口管理,从而顺利完成本工程与其指定的质量、进度、安全、文明施工等目标。
1 . 5 . 2 . 2 通过对拟建施工现场的实地踏勘, 仔细丈量, 并认真学习研究了招标文件及有关图纸资料, 在分析了工程施工中的要点、难点后, 综合本单位的技术、人才优势,我单位有充分信心保证在总工期内高质量全面完成本工程合同文件规定范围内的各项任务。
1 . 5 . 2 . 3 我单位将在要求的招标工期范围内完成施工任务。为使工程保质保量如期完成, 为业主提供更好的服务, 我单位将在本工程施工时, 配备优秀的技术力量、施工队伍及充足的机械设备和周转材料, 保证有工作面、有工作量就有作业人员施工。
1 . 5 . 2 . 4 为保证工程质量一次成优, 我单位将严格按国家标准组织施工, 确保工程达到国家优质工程“ 鲁班奖” 标准。
1 . 5 . 2 . 5 施工期间, 我单位将为业主提供最优质的服务。首先, 我单位一定抓紧落实好施工前的准备工作,保证工程在最短的时间内顺利开工,然后按已审定的各项施工方案组织施工, 充分发挥我单位的管理和技术优势, 强化科学的计划管理, 对每道工序的施工做到施工之前科学分析、施工中严格控制、施工后按标准检查, 全面实行“ 三检制”, 确保工程优质、按期完成。并在施工过程中合理利用新技术、新工艺, 降低消耗, 保证工期目标的实现。
1 . 5 . 2 . 6 在施工期间, 我单位将积极采纳**分局、建设指挥部、监理、设计提出的有利于工程建设各项意见,使施工顺序和组织管理更为合理。为保证本工程优质、快速、全面完成, 凡属我单位范围内的工程我单位绝不转包。
1 . 5 . 2 . 7 我单位将按建设部、江苏省及**市建委颁布的有关规定创建文明工地。加强工地安全保卫和防火工作, 进出施工现场出示证件, 无证不得入内, 创建省级文明工地。
1 . 5 . 2 . 8 施工过程中, 我单位将与建设指挥部、设计单位密切配合, 真心诚意接受质监、安监、监理、建设指挥部及设计人员施工全过程中的管理指导和帮助。我单位在本工程竣工后, 严格遵守国家有关的工程保修规定, 在保修期内将随叫随到, 提供优质服务, 即使保修期满后, 我单位继续为业主提供服务。
1 . 5 . 2 . 9 在施工过程中, 加强与**分局、车站、政府职能部门、建设指挥部和周边居民的沟通协调, 解决施工干扰、噪音扰民、治安等问题, 确保工程顺利进行。
1 . 5 . 2 . 1 0 根据车站现场需要, 提前做好节假日、春运、专运、学生寒暑假、打工人流高峰、兵运、特运等的施工部署, 避免干扰车站正常运营。
质量目标: 符合国家验收标准, 确保“ 鲁班奖”。
安全目标: 消灭责任死亡事故、多人伤亡事故和重大财产损失事故, 年负伤率小于0 . 5‰ 。
文明施工目标: 确保省级文明工地。
2 . 2 . 1 本工程列为我单位的重点工程施工,按照经认证的I S O 9 0 0 0《质量保证手册》、《质量体系程序文件》标准, 建立一个精干, 有效的质量保证体系。以先进的技术, 有效的管理精心组织施工。安全、文明、高速地建造一流水平的优质工程,创造出业主满意的精品工程, 建筑工程最高奖“ 鲁班奖” 工程。
2 . 2 . 2 我单位将组织足够的劳动力、机械和周转材料实行主站房和西配楼同时施工, 并且加快主体工程的施工进度, 给后面的内外装饰工程、屋面轻钢结构工程、点式幕墙和设备安装、调试留下充足的时间, 从而保证本工程在2 0 0 5 年1 月1 8 日全部竣工, 确保工期目标: 72 0 日历天。
2 . 2 . 3 我单位在整个工程施工中全部实行全封闭、标准化作业管理,建立健全安全管理制度和施工作业的“ 三检制” 把安全生产作为各项工作的头等大事。从而保证旅客和行车安全, 确保施工现场事故为零。
2 . 2 . 4 调配我单位具有类似工程丰富管理经验,多次获得省、市优质工程奖,具有国家一级项目经理资质的项目经理和高素质的项目管理人员和高水平工程技术人员, 按照《建设工程项目管理规范》的要求对项目实行项目法施工。尤其注重加强对工程的总包管理, 配备具有类似工程施工经验的专业工程师。
2 . 2 . 5 优选我单位高技术水平的操作技术工人,以及有着多年合作经历的劳务队伍, 实行封闭式军事化管理, 进行现场施工作业。确保现场管理目标: 省级文明工地。
2 . 2 . 6 积极采用成型的新技术、新工艺、新材料、新设备来确保工程施工安全、高速、优质进行。
2 . 2 . 7 为提高项目管理的现代化水平, 同时方便监理及建设单位对现场监控管理, 现场设置电视监控系统, 并为建设单位和监理单位配置监控设备, 使其随时对项目施工进行全过程的电视监控。
2 . 2 . 8 为了更快捷完美的管理好该项目,充分利用现代管理手段,我们在中标后,首先在互联网上为该项目申请制作网页, 并为建设、设计、监理单位安装网际项目管理软件以便和项目有关的各个单位, 通过互联网更快及时地了解项目施工的进展情况, 以便有利于对项目信息及时全面的反馈。实现优质、快速, 确保工期目标:7 2 0 天的顺利实现。
2 . 2 . 9 为确保整个施工阶段车站运营时列车、旅客、行包的安全畅通,结合现场勘察的实际情况, 做如下总体部署。
图2 - 1 基础、主体施工阶段旅客进出流向及安全防护示意图
图2 - 2 基本站台施工阶段旅客进出流向及安全防护示意图
图2 - 3 基础、主体、基本站台施工期间行包通道示意图
2 . 2 . 1 0 急业主所急, 想业主所想, 作为我们总体部署的总设想, 所以我们为尽早缓解车站高峰期人员候车压力,解决行包库存放压力,2 0 0 3 年4 月2 8 日在E 区首层提供高峰期临时候车室8 3 0 m 2,力争2 0 0 3 年6 月3 0 日在H 区首层为业主提供高峰期临时行包房1 3 9 5 m 2。
图2 - 4 临时候车室布置平面图
图2 - 5 临时行包房布置图
本工程将列为我单位重点工程。为确保本工程获我国建筑行业最高奖— 鲁班奖,我单位将根据《建设工程项目管理规范》的要求成立“ * *站站房工程项目经理部”,由我单位具有丰富同类型工程管理经验, 多次获得省、市优质工程奖, 具有国家一级项目经理资质的同志任项目经理,对* *站站房工程实施项目法施工。配备副经理3名, 总工程师、总协调各1 名, 经理部下设施工部、安保部、机械设备部、物资部、创优部、钢结构幕墙配合部、水电安装及配合部、合约部、财务部、技术部、资料室、后勤保障部、车站地铁协调部、治安室、办公室等1 2 部3 室。作业层分为3 个土建作业队, 地道施工队, 钢结构制作安装队, 水电安装队和清洁队。全部管理人员均由曾从事过大型工程施工管理的各专业技术人员组成, 具有较高的业务素质和管理水平, 能与业主、设计、质检、监理等单位进行顺利沟通交流, 以便于工作的顺利开展。
计划投入管理人员为本工程:6 0 人,其中工程技术人员2 8 人,包括6 名高级工程师、20 名工程师。高峰时主要劳动力为: 9 6 2 余人。
各职能部门和专业施工队由项目经理统一进行协调管理。对本项目的人、财、物按照项目法施工管理的要求实行统一组织, 统一布置、统一计划, 统一协调, 统一管理, 并认真执行I S O 9 0 0 0 质量标准, 完善本项目质量体系, 充分发挥各职能部门、各岗位人员的职能作用, 认真履行管理职责, 确保本项目质量体系持续、有效的运行, 通过我们科学、严谨的工作质量和我单位成功的项目管理经验, 确保产品质量, 创建安全、文明标准化工地, 实现合同规定的工期、质量和安全文明工地的预定目标, 确保业主满意, 实现“ 国内一流、国际先进” 的总要求。
2 . 3 . 2 组织机构设置图
图2 – 6
2 . 3 . 3 部门设置工作范围表:
项目部管理职能分工表
表2 – 1
序号 | 部门 | 职 务 | 职 称 | 工作职能范围 |
1 | 项目部 | 经 理 | 高 级 工程师 | 对工程全面负责,并直接对合约部和财务部进行管理,保证总体施工目标的实现 |
2 | 项目部 | 副经理 | 工程师 | 负责对施工部、安保部、机械设备部、物资部 进行管理,保障劳动力、机械、材料的供应和 施工生产的安全 |
3 | 项目部 | 副经理 | 高 级 工程师 | 负责对创优部、钢结构幕墙安装配合部进行管理, 领导工程创优和协调与钢结构幕墙安装之间的关系 |
4 | 项目部 | 副经理 | 高 级 工程师 | 负责对水电安装及配合部进行管理,保证水电安装的工期、质量和安全并协调和其它专业分包之间的关系 |
5 | 项目部 | 总工程师 | 高 级 工程师 | 负责对技术部、资料室进行管理, 对工程技术、资料指导管理,进行质量监控,分管工程创优 |
6 | 项目部 | 总协调 | 工程师 | 负责对治安室、办公室进行管理,做好后勤保 |
障和工地治安管理工作,并对外协调各方面的 | ||||
关系 | ||||
7 | 施工部 | 部长 | 工程师 | 负责施工进度、质量、文明化施工、用料计划管理,并负责对施工方案进行落实 |
8 | 安保部 | 部长 | 工程师 | 负责对工程的安全、文明化施工进行全面控制管理,监督检查 |
9 | 机 械 设备部 | 部长 | 工程师 | 负责对施工机械进行配置和日常的检查、维修、保养等工作。 |
10 | 物资部 | 部长 | 工程师 | 负责工程物料的采购、现场材料管理和材料价格信息收集 |
11 | 创优部 | 部长 | 高 级 工程师 | 负责对施工中的各环节的质量进行监控, 确保创优 |
| 钢结构、 | 部长 |
| 负责土建与钢结构、幕墙安装施工的配合协调 |
12 | 幕墙安装 | 工程师 | ||
| 配合部 |
| ||
13 | 水电安装及配合部 | 部长 | 工程师 | 负责水电安装施工的质量、安全、进度、文明化施工,并配合协调与其它专业之间的关系 |
14 | 合约部 | 部长 | 工程师 | 负责验工、结算及编制工程备料计划和合同管理 |
15 | 财务部 | 部长 | 会计师 | 负责工程资金管理和对成本进行监控 |
16 | 技术部 | 部长 | 高级工程师 | 负责施工方案的优化、编制、交底、设计变更和检查、验收等工作, 解决施工中出现的技术难题 |
17 | 资料室 | 主任 | 助理工程师 | 负责施工技术资料的收集、整理工作,并做好各种文件的收发登记工作 |
18 | 后勤保障部 | 部长 | 助理工程师 | 负责本工程施工的后勤保障和生活区的文明、卫生管理工作 |
19 | 车站、地铁协调部 | 部长 | 助理工程师 | 负责协调与车站运营、地铁施工和站前广场之间的关系, 确保既有铁路运营期间列车、旅客、行包的安全 |
20 | 治安室 | 主任 | 助理工程师 | 负责施工期间内部的治安管理工作,并协助车站派出所做好整个车站地区的治安管理工作 |
21 | 办公室 | 主任 | 助理工程师 | 负责对内协调和对外接待工作 |
施工段划分说明
根据设计的情况,地下部分主站房1 - 5 轴的地下室北侧与行包地道相接,西侧与地铁相接, 南侧与社会停车场连通, 9 - 1 4 轴地下室与出站口地道相接及地铁; 西配楼为单独的地下室。地上部分主站房设置了2 条变形缝和4 道后浇带。为了保证整个施工阶段车站运营时列车、旅客和行包的通畅和安全,结合现场勘察的实际情况,将施工段的划分分为地下部分和地上部分。
图2 - 7 地下部分施工段的划分
图2 - 8 地上部分施工段的划分
2 . 4 . 2 施工程序
为确保我们承诺的工程质量和施工工期安全文明施工的实现, 根据划分施工段的情况, 以及整体的工期安排, 我们制定总的施工程序和分区施工程序如下:
图2 - 9 总体施工程序
分区施工程序
图2 - 1 0 A 区施工流程图
图2 - 1 1 B 区施工流程图
图2 - 1 2 C 区施工流程图
图2 - 1 3 D 区施工流程图
图2 - 1 4 E 区施工流程图
图2 - 1 5 F 区施工流程图
图2 - 1 6 G 区施工流程图
图2 - 1 7 H 区施工流程图
图2 - 1 8 I 区施工流程图
图2 - 1 9 基本站台施工区施工总流程图
2 . 4 . 3 工期的安排
为了确保本工程能在2 0 0 5 年1 月1 8 日竣工交付业主使用, 结合施工段划分情况和施工顺序的安排, 决定各个区同时作业施工, 并加快主体工程的施工进度, 为后续的内外装饰工程、屋面轻钢结构工程、点式幕墙和设备的安装、调试等工程的施工提供宽裕的时间, 为整体工程顺利竣工创造条件。本工程主体施工控制工期的关键线路是由A 区到H 区再到F 区。从2 0 0 3 年1 月3 0 日开工, 到2 0 0 3 年1 0 月1 2日F 区主体及粗装修施工完成, 其它区主体施工的完成都控制在这个时间之内。这其中给相对标高+2 3 . 1 m 以下钢管柱的吊装施工考虑了3 0 天的时间,水电预埋、安装穿插在土建施工中, 不再单独安排工期。整个工程的工期节点安排见下表:
表2 – 2
序号 | 项目 | 完成日期 |
1 | 主站房±0.00 以下基础及地下室 | 2003 年5 月29 日 |
2 | 主站房主体结构 | 2003 年7 月18 日 |
3 | 主站房水电安装、室内粗装 | 2003 年10 月12 日 |
4 | 主站房设备安装 | 2003 年9 月9 日 |
5 | 主站房装饰工程 | 2005 年1 月18 日 |
6 | 屋盖钢结构及屋面板 | 2003 年12 月30 日 |
7 | 玻璃幕墙安装 | 2004 年5 月12 日 |
8 | 基本站台施工 | 2004 年9 月28 日 |
9 | 进站天桥 | 2004 年4 月29 日 |
10 | 出站地道 | 2004 年9 月28 日 |
11 | 行包地道 | 2004 年8 月29 日 |
12 | 高架车道 | 2004 年6 月7 日 |
13 | 西配楼提前交付 | 2003 年8 月6 日 |
14 | 工程竣工 | 2005 年1 月18 日 |
2 . 4 . 3 . 1 各工区施工进度图
图2 - 2 0 E 区主体结构进度示意图
图2 - 2 1 F 区主体结构进度示意图
图2 - 2 2 G 区主体结构进度示意图
图2 - 2 3 H 区主体结构进度示意图
图2 - 2 4 I 区主体结构进度示意图
图2 - 2 5 * *火车站站房地下结构部分施工进度示意图
图2 - 2 6 * *火车站站房地上结构部分施工进度示意图
2 . 4 . 3 . 2 总体施工进度图
图2 - 2 7 * *火车站站房工程总包进度控制网络图
图2 - 2 8 * *火车站站房工程网络进度计划图
表2 - 3 * *火车站改建工程施工进度计划表
2 . 4 . 4 需要重点管理和控制的关键工序
针对* *站站房工程项目的具体结构、装饰、安装等特点, 制定出各阶段的关健工序, 对于关键工序应重点管理, 重点控制。在土方开挖施工阶段: 重点控制基坑降水及支护; 开挖施工顺序; 控制好轴线及垫层混凝土浇注质量; 重点管理好安全用电。
在地下室施工阶段:重点控制混凝土的抗渗、抗裂;施工缝的处理;测量放线;受力钢筋的连接; 模板工程; 行包地道和出站口地道的施工方法; 防水和回填土工程。重点管理好施工工序的穿插, 确保环境及工地施工噪音排放达标。
在主体施工阶段: 重点控制工程测量; 梁柱支撑模板体系; 特殊层高模板支撑体系; 超高柱模板支撑施工技术; 钢管柱预埋施工技术; 粗直径钢筋连接技术; 混凝土施工技术。重点管理好安全防护和现场的文明施工, 确保省级安全文明工地;确保主体结构混凝土达到清水混凝土标准; 验收达到国家验收标准。
在装饰、设备安装阶段: 重点控制材料及设备的选质和选型; 主抓工序穿插,确保施工现场有序、可控、高质。重点管理好材料、设备的进场把关工作; 以及安装工艺。确保装饰设备安装优良。达到工程总体鲁班奖的总目标。
2 . 4 . 5 主要施工方法部署
主要施工方法一览表 (土建) 表2 - 4
序号 | 项目名称 | 主要施工方法 |
1 | 测量 | 平面控制法 |
2 | 土方回填 | 机械回填,压实,人工配合 |
3 | 基坑排水 | 井点降水和明排法 |
4 | 钢筋制安 | 现场集中制作,人工绑扎 |
5 | 钢筋连接 | d≥ 18mm 镦粗直螺纹连接和焊接,其它绑扎搭接 |
6 | 主体模板 | 多层板+ 木方+ 钢管支撑 |
7 | 混凝土拌制 | 预拌混凝土 |
8 | 混凝土运输 | 混凝土灌车 |
9 | 混凝土浇注 | 汽车泵及砼输送泵、布料机 |
10 | 混凝土振捣 | 机械振捣 |
11 | 垂直运输 | 高塔、快速提升架、 |
12 | 外脚手架 | 双排钢管脚手架,木脚手板,阻燃密目网全封闭 |
主要施工方法一览表(水电安装) 表2-5
序号 | 主要项目 | 施工 方 法 及 措施 |
1 | 排水管安装 | 塑料管粘接。 |
2 | 铸铁排水管 | 填料捻口 |
3 | 消防管安装 | 镀锌钢管机械套丝、沟槽式连接。 |
4 | PP-R 管安装 | 熔接 |
5 | PE 管安装 | 承插胶圈接口及粘接 |
6 | 焊接钢管 | 电焊焊接 |
7 | 附属设备安装 | 人工倒链就位。 |
8 | 电气配管安装 | 钢管丝接暗埋,PVC 塑料管承插粘接 |
9 | 电缆桥架安装 | 支架、连接件连接 |
10 | 配电柜安装 | 汽车吊装卸,人工倒链就位。 |
11 | 信息集成管理系统 | 按智能建筑工程有关规范由专业队伍施工 |
2 . 4 . 6 劳动力的安排
2 . 4 . 6 . 1 劳动力组织
为了确保本工程施工总进度计划目标的实现, 达到保障分区施工进度和劳动力投入需要的目的, 劳动力的投入按阶段配备, 重点控制地下工程、主体工程、装饰工程、钢结构工程、点式幕墙和安装工程的劳力配备。地下工程和主体工程施工着重安排木工、钢筋工、瓦工和混凝土工的劳动力, 装饰工程主要配备粉刷工。
水电安装工程在主体施工和粉刷施工时必须服从土建工程的工期安排, 随着土建的进度和工作量的增减及时调整劳动力的配备, 做到决不影响土建的工期。
根据施工总进度计划的要求和施工段的划分情况, 本工程投入的劳动力高峰时9 6 2 人。
2 . 4 . 6 . 2 各作业队劳动力投入计划表及劳动力曲线
表2 - 7 * * 火车站站房土建工程劳动力月计划表
表2 – 6
序号 | 作业队名称 | 计划投入的劳动力( 人) | 备注 |
1 | 土建作业一队 | 240 | 各作业队的人数为各队最多投入的计划,可根据施工阶段的不同进行工种和人数的调整。 |
2 | 土建作业二队 | 240 | |
|
| ||
3 | 土建作业三队 | 240 | |
4 | 地道施工队 | 54 | |
5 | 钢结构制作安装队 | 30 | |
6 | 水电安装队 | 120 | |
7 | 清洁队 | 18 | |
8 | 管理人员 | 60 | |
9 | 合计 | 962 |
2 . 4 . 7 施工机械配置
根据工程的规模和总体工期安排的要求, 本工程机械配置主要解决垂直运输中+ 2 3 . 1 m 以下钢管柱的吊装问题。并为今后施工大屋盖的钢构做机械准备, 如果今后由我们进行安装, 将利用此三台高塔, 全部覆盖施工, 如果不由我方施工将做总包协调管理。因此,在此工程中计划投入4 台塔吊,其中2 台为固定式,分别为F O / 2 3 B和H 3 / 3 6 B ; 另2 台为波坦M C 3 0 0 K。
主要的机械设备表( 土建) 表2 – 8
序号 | 名 | 称 | 规格型号 | 数 | 量 | 单位 | 进出场时间 | |
1 | 塔吊(固定) | FO/23B | 1 | 台 | 2003 年1 月18 日 | |||
2 | 塔吊(固定) | H3/36B | 1 | 台 | 2003 年1 月25 日 | |||
3 | 塔吊(走行) | 波坦MC300K | 1 | 台 | 2003 年2 月8 日 | |||
4 | 塔吊(走行) | 波坦MC300K | 1 | 台 | 2003 年2 月18 日 | |||
5 | 快速提升架 | 1t | 4 | 台 | 2003 年6 月20 日 | |||
6 | 装载机 | ZL30E | 1 | 台 | 2003 年1 月18 日 | |||
7 | 搅拌机 | JZC-350 | 1 | 台 | 2003 年1 月25 日 | |||
8 | 砂浆机 | 250L | 3 | 台 | 2003 年6 月20 日 | |||
9 | 钢筋切断机 | GQ40-2 | 6 | 台 | 2003 年1 月18 日 | |||
10 | 钢筋弯曲机 | GW40-1 | 6 | 台 | 2003 年1 月18 日 | |||
11 | 钢筋拉伸机 | YC588 | 3 | 台 | 2003 年1 月18 日 | |||
12 | 钢筋对焊机 | UN1-150 | 3 | 台 | 2003 年1 月18 日 | |||
13 | 木工圆锯 | MJ235 | 2 | 台 | 2003 年1 月18 日 | |||
14 | 木工压刨 | MB106A | 3 | 台 | 2003 年1 月18 日 | |||
15 | 木工平刨 | MB504B | 3 | 台 | 2003 年1 月18 日 | |||
16 | 交流电焊机 | BX1-500 | 6 | 台 | 2003 年2 月8 日 | |||
17 | 打夯机 | 蛙式 | 6 | 台 | 2003 年3 月5 日 | |||
18 | 潜水泵 | QW25 | 10 | 台 | 2003 年1 月18 日 | |||
19 | 污水泵 | QW50 | 10 | 台 | 2003 年1 月18 日 | |||
20 | 挖掘机 | 反铲1 | 6 | 台 | 2003 年1 月25 日 | |||
21 | 土方运输车 | 15t | 30 | 辆 | 2003 年1 月25 日 | |||
22 | 推土机 | T140 | 1 | 台 | 2003 年1 月25 日 | |||
23 | 氧气焊割 |
|
| 4 | 套 | 2003 年1 月18 日 |
施工机械设备表( 水电安装) 表2-9
序号 | 名称 | 规格 | 单位 | 数量 | 备注 |
1 | 台钻 |
| 台 | 4 |
|
2 | PP— R 热熔机 | DN15~ DN100 | 套 | 4 |
|
3 | 钢管滚槽机( 沟槽式) | DN80~ 150 液压型 | 台 | 2 | 配尾架 |
4 | 电动套丝机 | DN25~ 100 | 台 | 2 |
|
5 | 电动套丝机 | DN15~ 50 | 台 | 4 |
|
6 | 手拉葫芦 | HK1 | 个 | 6 |
|
7 | 电锤 | 国产 | 把 | 4 |
|
8 | 电锤 | 日本或德国进口 | 把 | 10 |
|
9 | 电焊机 | AK— 500 | 台 | 4 |
|
10 | 电焊机 | AK— 300 | 台 | 5 |
|
11 | 气割工具(氧—乙炔) |
| 套 | 6 |
|
12 | 氩弧焊机 |
| 台 | 1 | 备用 |
13 | 液压车(手动托盘) | 2T | 台 | 2 |
|
14 | 角向电动磨光机 | STMS— 180 | 把 | 4 |
|
15 | 砂轮切割机 | D405 | 台 | 5 |
|
16 | 手提式切割机 | 吸尘型 | 台 | 3 |
|
17 | 电焊机(手提式) | 5.5~ 8 | 台 | 4 |
|
18 | 电动试压泵 | 2.5MPa | 台 | 2 |
|
19 | 手动试压泵 | 1.6MPa | 台 | 2 |
|
20 | 水平仪 |
| 套 | 1 |
|
21 | 手电钻 | 108A | 把 | 10 |
|
22 | 钢管钻孔机 | DN65~ 100 | 台 | 2 |
|
23 | 压力表 | Y— 1000~ 1.6MPa | 块 | 10 |
|
24 | 手动套丝机 | DN15— 25 | 台 | 1 |
|
25 | 砂轮磨光机 |
| 台 | 2 |
|
26 | 绝缘摇表 | ZC-25-500V-1000 | 台 | 2 |
|
27 | 接地电阻测量仪 | ZC29B | 台 | 1 |
|
28 | 万用表 |
| 块 | 5 |
|
29 | 钳型电流表 |
| 套 | 2 |
|
30 | 电动液压弯管器 | DN25— 100 | 台 | 1 |
|
31 | 电动液压弯管器 | DN25— 50 | 台 | 1 |
|
32 | 直柄电钻 | 3— 13mm | 台 | 3 |
|
33 | 压线钳 |
| 套 | 2 |
|
2 . 4 . 8 周转材料及工具配置
先进的技术, 充足的周转材料、机具是干好一个工程的关键, 针对* *站站房工程的工期安排, 以及施工分区布置, 结合我单位的综合实力, 计划在此工程中投入周转材料及工具如下表:
周转材料及工具一览表 表2 - 1 0
序号 | 材料名称 | 规格型号 | 数 量 | 单位 | 备注 |
1 | 钢管 | φ 48*3.5 | 1600 | t | 外架、框架模板支撑 |
2 | 扣件 | 十字、接头、转向 | 35 | 万只 | 外架、框架模板支撑 |
3 | 密目安全网 | 1800*6000 | 30000 | | 全封闭外围防护 |
4 | 大孔安全网 | 3000*6000 | 10000 | | 内部洞口防护、外围水平防护 |
5 | 木材 | 板材、方材 | 700 | | 柱、梁、板支模 |
6 | 多层胶合板 | 920*1840 | 16000 | | 柱、梁、板支模 |
7 | 装饰机具 |
| 3 | 套 | 装饰施工 |
8 | 安装机具 |
| 2 | 套 | 安装施工 |
9 | 钢结构安装机具 |
| 1 | 套 | 钢结构安装 |
10 | 吊装用吊具 |
| 4 | 套 | 主体施工、设备吊装 |
11 | 竹笆 | 1150*1800 |
| | 安全防护 |
本工程站房主体施工部分有钢管柱2 0 根,自地下室承台开始至最顶层混凝土楼板以上1 5 m 标高处结束, 工程总量约为2 8 0 吨。钢管柱的制作由专业工厂完成, 按照现场分区和安装顺序要求依次运输进场。
2 . 5 . 2 工期安排
钢管柱的制作工期自开工起为3 个月时间, 第一批基础节进场时间为开工后2 0天。钢管柱的安装穿插在土建主体施工中进行, 和主体工程的施工同时结束。
2 . 5 . 3 机械配置
钢管柱的起重设备主要采用现场布置的塔吊, 对于无地下室部位的超重钢柱,采用一台8 0 t 汽车吊完成安装; 对于楼层上超出塔吊起重性能的钢柱配置龙门起重架完成安装。现场焊接设备布置2 台二氧化碳电焊机、4 台A X - 5 0 0 交流电焊机。
主要制作、安装设备见下表: 表2 - 1 1
序号 | 机械名称 | 规格型号 | 能力 | 数量 | 单位 | 备注 | |
一 | 制作设备 |
|
|
|
|
| |
1 | 刨边机 | B8112CA/12 | 12m | 1 | 台 | 钢板刨边、坡口加工 | |
2 | 刨边机 | B8112CA/9 | 9m | 1 | 台 | 钢板刨边、坡口加工 | |
3 | 龙门刨 | BC12000 | 3m | 1 | 台 | 刨钢板边 | |
4 | 平板机 | PZ750/60 | 60mm | 1 | 台 | 钢板校平 | |
5 | 摇臂钻 | Z3080 | 80mm | 1 | 台 | 钢管柱钻孔 | |
6 | 摇臂钻 | Z35 | 50mm | 1 | 台 | 钢管柱钻孔 | |
7 | 卷板机 | Q40*4000 | 40mm | 2 | 台 | 卷钢管柱 | |
8 | 桥式吊 | 20/20T*28.5 | 20t | 4 | 台 | 起重钢构件 | |
9 | 桥式吊 | 50/20T*28.5 | 10t | 2 | 台 | 起重钢构件 | |
10 | 桥式吊 | 75/20T*28.5 | 20t | 2 | 台 | 起重钢构件 | |
11 | 剪板机 | Q11-20*2000 | 20mm | 1 | 台 | 劲板下料 | |
12 | 剪板机 | Q11-13*2500 | 12mm | 1 | 台 | 劲板下料 | |
13 | 压板机 | S1-1250T | 1250t | 1 | 台 | 钢板压弧 | |
14 | 车床 | C650 | 1m | 2 | 台 | 加工胎膜杆件 | |
15 | 万能铣床 | X63W |
| 1 | 台 | 胎膜铣边 | |
16 | 端铣机 | DX-3 |
| 2 | 台 | 柱顶端铣平 | |
二 | 切割设备 |
|
|
|
|
| |
1 | 数控切割机 | CMC-60-15 | 60mm | 1 | 台 | 柱顶板切割 | |
2 | 等离子切割机 | SKG30C7 | 30mm | 2 | 台 | 钢板切割 | |
3 | 磁力切割机 | BGJ-450 | 100mm | 2 | 台 | 钢板切割 | |
三 | 焊接设备 |
|
|
|
|
| |
1 | 交流电焊机 | BX-500 | 500A | 8 | 台 | 短焊缝焊接 | |
2 | 二氧化碳焊机 | YM-505-KEV | 400A | 6 | 台 | 打底焊接 | |
3 | 埋弧自动焊机 | M2-1000 | 1000A | 8 | 台 | 钢管柱焊接 | |
4 | 栓钉焊机 | RZN-2500 | 2500A | 1 | 台 | 栓钉焊接 | |
5 | 烘箱 | ZXJ50 | 2KW | 1 | 台 | 焊丝焊条烘干 | |
四 | 喷漆设备 |
|
|
|
|
| |
1 | 喷砂机 | Lngers011 |
| 4 | 台 | 喷砂除锈 | |
2 | 喷漆机 | 208-333-45 |
| 2 | 台 | 喷防锈漆 | |
3 | 喷漆机 | 208-333-20 |
| 2 | 台 | 喷防锈漆 | |
五 | 探伤设备 |
|
|
|
|
| |
1 | 超声波探伤仪 | CTS-26 |
| 4 | 台 | 焊缝探伤 | |
2 | 万能实验机 | 1000Mpa |
| 1 | 台 | 材料实验 | |
3 | 万能实验机 | 150Mpa |
| 1 | 台 | 材料实验 | |
4 | 冲击实验机 | 1000Mpa |
| 1 | 台 | 材料实验 | |
六 | 安装设备 |
|
|
|
|
| |
1 | 汽车吊车 | 80T | 80T | 1 | 辆 |
| |
2 | 卷扬机 | 5T |
| 1 | 台 | 配合龙门架 大吨位柱安装 | |
3 | 半挂汽车 | 解放 | 15T | 1 | 辆 | 构件运输 | |
4 | 工具车 | 五十铃 | 1.5T | 1 | 辆 | 材料采购 | |
5 | 交流电焊机 | BX-500 | 500A | 4 | 台 | 配合焊接 | |
6 | 二氧化碳焊机 | YM-505-KEV | 400A | 4 | 台 | 主焊缝 | 焊接 |
7 | 烘箱 | ZXJ50 | 2KW | 1 | 台 | 焊接材料烘干 | |
8 | 空气压缩机 | 4L-20/8 |
| 2 | 台 | 除锈喷漆 | |
9 | 喷漆机 | 208-333-20 |
| 2 | 台 | 喷漆 |
2 . 5 . 4 劳动力配置
钢管柱安装计划投入劳动力3 0 人, 主要工种劳动力需用计划见下表: 表2 - 1 2
序号 | 工种 | 人数 | 序号 | 工种 | 人数 |
1 | 测量工 | 6 | 8 | 卷扬机司机 | 1 |
2 | 起重指挥 | 2 | 9 | 电工 | 1 |
3 | 起重 | 4 | 10 | 探伤工 | 1 |
4 | 铆工 | 4 | 11 | 油漆工 | 4 |
5 | 安装工 | 2 | 12 | 配合人员 | 3 |
6 | 电焊工 | 2 | 13 |
|
|
7 | 二氧化碳焊工 | 4 | 14 |
|
|
2 . 6 . 1 . 1 确定电源
经负荷计算变压器容量为1 0 0 0 K V A 。经现场踏勘,施工现场业主提供变压器容量为1 6 0 0 K V A,位于西配楼处,能够满足施工现场临时用电。由箱变低压配电室引出四个供电回路至P 1、P 2、P 3、P4 总配电柜。P 1 配电柜供西配楼钢筋加工、模板加工、4 #塔吊及施工用电;P 2 总配电柜供主站楼西侧井架、1 #、2 #塔吊及施工配电;P 3 总配电柜供主站楼钢筋加工、模板加工配电; P 4 总配电柜供主站楼东侧井架、3 #塔吊及施工用电。( 详见施工临时用电平面布置图3 - 3 )。
2 . 6 . 1 . 2 . 供电系统及线路敷设
2 . 6 . 1 . 2 . 1 整个施工现场采用T N - S 保护接零系统供电, 从箱变低压配电室引到各总配电柜的所有回路均采用五芯电缆,具有专用保护零线( P E 线)。电缆敷设采用直埋敷设。整个配电系统采用混合式供电方式, P 1 、P3 配电系统采用放射式供电,电源线采用电缆穿管埋地敷设; P2、P 4 配电系统, 考虑用电经济可靠的原则, 分别采用两路干线供电, 电源线采用电缆穿管埋地敷设。干线电缆引出处装设电缆接线盒。分配电箱到设备开关箱电缆采用穿管敷设。引至楼层内的电缆垂直敷设时, 利用在建工程的竖井或管孔引上, 并在楼层设置固定点。
2 . 6 . 1 . 2 . 2 配电系统图
2.6.1.2.3 配电箱(柜)系统图
P1 总配电柜
P2、P4 总配电柜
D1、D16、D17、D18 配电箱
D2、D14 配电箱
D3 配电箱
D5、D11 配电箱
D4、D6、D7、D8、D9、D10 配电箱
2 . 6 . 1 . 3 . 配电箱及开关箱设计
2 . 6 . 1 . 3 . 1 施工现场实行“ 三级配电、两级保护” 的方式供电。“ 三级配电” 即总配电箱— 分配电箱— 开关箱三级设置。设备开关箱的电源由各分配电箱引出, 一般距分配电箱的最长距离不超过3 0 m,根据这一原则,沿主站楼周围每5 5 m 米设置一台分配电箱, 供塔吊、井架及楼层机械设备使用。设备开关箱一般设于设备旁且便于操作的地方, 箱内电器设置一律采用“ 一机一闸一漏电” 的保护方式, 内装隔离开关, 漏电断路器, 开关箱内的漏电保护器的动作电流选用与分配电箱漏电保护动作相匹备, 既能可靠保护, 又能分级动作。( 箱内电器选择见详见配电箱系统图)
2 . 6 . 1 . 3 . 2 箱柜内分设接地、接零排, 箱柜外壳均用软铜线与P E 母排做可靠连接。固定式分配电箱及开关箱的下底与地面的垂直距离一般为距地1 . 4 m , 移动式开关箱下底与地面的垂直距离为0 . 6 m, 各配电箱柜均采用2 m m 厚优质钢板制作, 要求焊接牢固, 带门带锁, 电器安装位置合理, 固定牢固不松动, 室外配电箱具有防雨措施。所有进出线均从箱底引入, 箱的设置应满足两人同时作业的要求, 且方便操作, 箱四周不得有妨碍操作的物体或易燃易爆品。
2 . 6 . 1 . 4 负荷计算及变压器容量选择
2 . 6 . 1 . 4 . 1 主要用电设备名细表
表2 - 1 3
序号 | 用电设备名称 | 铭牌数据 | 数量(台) | 额定负荷合计(KW) | 换算后负荷(KW) |
1 | 1# 塔吊 | 45KVA JC=25% | 1 | 45 | 45 |
2 | 2# 、4#塔吊 | 110KVA | 2 | 220 | 220 |
3 | 3# 塔吊 | 54KVA | 1 | 54 | 54 |
2 | 提升架 | 7.5KW | 3 | 22.5 | 22.5 |
3 | 卷扬机 | 15KW | 1 | 15 | 15 |
4 | 搅拌机 | 7.5KW | 1 | 7.5 | 7.5 |
5 | 砂浆机 | 3KW | 2 | 6 | 6 |
6 | 钢筋切断机 | 4KW | 6 | 24 | 24 |
7 | 钢筋弯曲机 | 3KW | 6 | 18 | 18 |
8 | 钢筋拉曲机 | 3KW | 3 | 9 | 9 |
9 | 钢筋对焊机 | 150KVA JC=20% | 3 | 450 | 296.4 |
10 | 交流电焊机 | 38KVA JC=35% | 18 | 684 | 595.8 |
11 | 交流电焊机 | 22.8KVA JC=35% | 5 | 114 | 99.3 |
12 | 手提式电焊机 | 8KVA JC=20% | 4 | 32 | 21 |
13 | 二氧化碳焊机 | 20KVA JC=60% | 4 | 80 | 91.3 |
14 | 亚弧焊机 | 25KVA JC=35% | 1 | 25 | 21.8 |
15 | 木工圆锯 | 3KW | 3 | 9 | 9 |
16 | 木工压刨 | 8.7KW | 3 | 26.1 | 26.1 |
17 | 木工平刨 | 3.5KW | 3 | 10.5 | 10.5 |
18 | 打夯机 | 3KW | 6 | 18 | 18 |
19 | 潜水泵 | 1.5KW | 10 | 15 | 15 |
20 | 污水泵 | 2.2KW | 10 | 22 | 22 |
21 | 烘箱 | 2KW | 1 | 2 | 2 |
22 | 空气压缩机 | 5.5KW | 2 | 11 | 11 |
23 | 砂轮切割机 | 2.2KW | 5 | 11 | 11 |
24 | 磨光机 | 0.57KW | 6 | 3.42 | 3.42 |
25 | 台钻 | 1.5KW | 4 | 6 | 6 |
26 | 电动套丝机 | 1.5KW | 6 | 9 | 9 |
27 | 振捣器 | 1.5KW | 20 | 30 | 30 |
合计 |
| 1979.02 | 1719.62 |
2 . 6 . 1 . 4 . 2 需用系数法进行负荷计算
塔吊、快速提升架、卷扬机
取K = 0 . 3 c o s= 0 . 7 t g= 1 . 0 2
P j 1 = K P c o s= 0 . 3×3 1 9 × 0 . 7 = 6 6 . 9 9 K W
Q j 1 = P j 1·tg= 6 6 . 9 9×1 . 0 2 = 6 8 . 3 K v a r
泵类、空气压缩机设备
取Kx = 0 . 7 c o s= 0 . 8 5 t g= 0 . 6 2
P j 2 = K P c o s= 0 . 7 × ( 1 5 + 2 2 + 8 ) × 0 . 8 5 = 2 6 . 8 K W
Q j 2 = P j 2t g= 2 6 . 8 × 0 . 6 2 = 1 6 . 6 K v a r
钢筋、木工机械、切割机及其它三相机械
取Kx = 0 . 7 c o s= 0 . 7 5 t g= 0 . 8 8
Pj 3 = K P c o s= 0 . 7 × 1 4 6 × 0 . 7 5 = 7 6 . 7 K W
Qj 3 = P j 3t g= 7 6 . 7 × 0 . 8 8 = 6 7 . 5 K v a r
焊接机械
取K = 0 . 4 5 c o s= 0 . 4 5 t g= 1 . 9 8
P j 4 = K P c o s= 0 . 4 5 × 1 1 2 5 . 6 × 0 . 4 5 = 2 2 7 . 9 K W
Q j 4 = P j 4t g= 2 2 7 . 9 × 1 . 9 8 = 4 5 1 . 3 K v a r
振捣器
取K = 0 . 7 c o s= 0 . 6 5 t g= 1 . 1 7
P j 5 = K P c o s= 0 . 7 × 30× 0 . 6 5 = 8 . 9 K W
Q j 5 = P j 4t g= 8 . 9 × 1 . 1 7 = 1 0 . 4 K v a r
搅拌机械
取K = 0 . 7 c o s= 0 . 6 8 t g= 1 . 0 8
P j 6 = K P c o s= 0 . 7 × 1 9 . 5 × 0 . 6 8 = 9 . 3 K W
Q j 6 = P j 4t g= 9 . 3 × 1 . 0 8 = 1 0 K v a r
Σ P j = 6 6 . 9 9 + 2 6 . 8 + 7 6 . 7 + 2 2 7 . 9 + 8 . 9 + 9 . 3 = 4 1 6 . 5 9 K W
Σ Q j = 6 8 . 3 + 1 6 . 6 + 6 7 . 5 + 4 5 1 . 3 + 1 0 . 4 + 1 0 = 6 2 4 . 1 K v a r
以上没有考虑现场施工照明, 现场照明按总负荷的1 0 % 考虑, 并取同期系数
K p = K q = 0 . 9
P j Z = 1 . 1 KpΣ P j = 1 . 1 × 0 . 9 × 4 1 6 . 5 9 = 4 1 2 . 4 2 4 K W
Q j Z = 1 . 1 K q Σ Q j = 1 . 1 × 0 . 9 × 6 2 4 . 1 = 6 1 7 . 8 5 9 K v a r
2 . 6 . 1 . 4 . 3 变压器容量选择
考虑变压器自身也有损耗, 因此可根据下列公式计算
选择变压器总容量为1 0 0 0 K V A 。
2 . 6 . 1 . 5 电缆截面选择
2 . 6 . 1 . 5 . 1 箱变引出干线
P 1 干线:
安全载流量
查表可选用电缆V V 2 2 3× 1 2 0 + 2×7 0
核算电压降
P 1 干线选用电缆V V 2 2 3× 1 2 0 + 2 × 7 0
P 2 干线:
安全载流量
查表可选用电缆V V 2 2 3× 1 8 5 + 2×9 5
核算电压降
P 2 干线选用电缆V V 2 2 3× 1 8 5 + 2 × 9 5
P 3 干线:
安全载流量
查表可选用电缆V V 2 2 3× 1 5 0 + 2×9 5
核算电压降
P 3 干线选用电缆V V 2 2 3× 1 8 5 + 2 × 9 5
P 4 干线:
查表可选用电缆V V 2 2 3× 1 5 0 + 2 × 9 5
核算电压降
P 2 干线选用电缆V V 2 2 3× 2 4 0 + 2 × 1 5 0
P 1 总配电箱配电系统 表2 - 1 4
回路 | 计算负荷(KW) | 计算电流(A) | 电缆截面 | |
N1 | 200 | 178.8 | VV22 | 3×70+2×35 |
N2 | 159.1 | 142.1 | VV22 | 3×50+2×25 |
N3 | 43.4 | 38.8 | VV22 | 3×10+2×6 |
2 . 6 . 1 . 5 . 2 P 2 总配电箱供电系统 表2 - 1 5
干线 | 计算负荷(KW) | 计算电流(A) | 电缆截面 |
N1 | 252.9 | 203.4 | VV223×95+2×50 |
N2 | 310.8 | 250 | VV223×120+2×70 |
2 . 6 . 1 . 5 . 3 P 3 总配电箱供电系统 表2 - 1 6
回路 | 计算负荷(KW) | 计算电流(A) | 电缆截面 | |
N1 | 200 | 178.8 | VV22 | 3×70+2×35 |
N2 | 200 | 178.8 | VV22 | 3×70+2×35 |
N3 | 200 | 178.8 | VV22 | 3×70+2×35 |
N4 | 46.9 | 54.5 | VV22 | 3×16+2×10 |
2 . 6 . 1 . 5 . 4 P 4 总配电箱供电系统 表2 - 1 7
干线 | 计算负荷(KW) | 计算电流(A) | 电缆截面 |
N1 | 252.9 | 203.4 | VV223×95+2×50 |
N2 | 266.8 | 214.6 | VV223×95+2×50 |
2 . 6 . 1 . 6 安全用电技术措施及电气防火措施
2 . 6 . 1 . 6 . 1.安全用电技术措施:
临时用电工程的施工, 严格按施工组织设计进行, 低压配电柜、分配电箱、设备开关箱、用电设备及供电线路的安装、使用与维护严格按本设计及建设部《施工现场临时用电安全技术规范》J G J 4 6 - 8 8 要求进行。
施工现场周围外电线路与在建工程水平距离小于1 0 米的, 必须采取防护措施,如增设屏障, 遮栏、围栏或保护网等, 并悬挂醒目的警告标志牌。
所有用电设备不带电的金属外壳、配电箱金属箱体及支架均与保护接零P E 线可靠连接,并且有震动的设备连接点不少于两处。保护P E 线在总配电箱、分配电箱及线路末端处分别做一组重复接地, 重复接地电阻值不大于1 0Ω 。保护零线不得装设开关或熔断器。
* *地区年平均雷暴日为3 4 . 4 天, 依据《施工现场临时用电安全技术规范》
J G J 4 6 - 8 8 的要求, 高度≥ 32 米的机械设备按规范安装防雷装置。
严格按照《建筑施工安全检查标准》J G J 5 9 - 9 9 的要求, 实行“ 一机一闸一漏一箱” 保护方式。开关箱漏电保护器额定漏电动作电流和动作时间采用3 0 m A 和0 . 1 S。危险场所、潮湿、大面积金属体上等易触电场所, 漏电保护器额定漏电动作电流采用1 5 m A , 动作时间0 . 1S。
各级配电箱、开关箱内的电气装置必须完好, 安装整齐牢固, 线头压接牢固,接触良好,不得有过热现象。各配电箱、开关箱应标明箱编号及各回路名称、编号、用途及责任人并全部设门加锁。
电动机械及手持电动工具的使用, 必须满足安全使用要求, 电动机械必须按要求装设配套的漏电保护器及隔离开关, 焊接设备的电源线一般不大于5 米, 二次焊线不超过3 0 米;Ⅰ 类手持式电动工具中的金属外壳除采用漏电保护外还必须采用接零保护, I I 类手持电动工具装设额定漏电动作电流为1 5 m A , 动作时间0 . 1 S 的漏电保护器;在金属构件、潮湿场所作业必须采用I I 类手持式电动工具;在特别狭窄场所如金属容器、管道、地沟等处作业一律选用带隔离变压器的I I I 类手持式电动工具。
照明要求,一般场所采用2 2 0 V 的照明电器。室内灯具不低于2 . 4 m,室外灯具不低于3 m,不能满足上述要求的必须使用3 6 V 安全电压。在特别潮湿导电良好的地面、金属容器内作业,照明电压一律采用1 2 V 。照明变压器采用双绕组型,严禁使用自耦型。
水泵的负荷线采用Y H S 型防水橡皮护套电缆, 不得承受任何外力。
2 . 6 . 1 . 6 . 2.安全用电组织措施:
建立健全临时用电施工组织设计和安全用电技术措施交底制度, 并严格执行,任何人未经审批不得随意更改临电设计的方案、内容, 改变开关的配置、线路的走向等, 做到临电配置合理, 变更手续齐全。
设立专职电气安全员,建立安全监察巡视制度,严格执行安全问题一票否决制。建立由专职电气安全员负责的安全用电记录及由值班、检修电工负责的运行及维修、维护记录。
建立电气工作人员持证上岗制度, 从电气工程师到电工均必须具备专业知识,并有劳动部门签发的特种作业操作证。施工现场一切电气作业均由专业持证电工完成, 其它人员一律不得从事电气相关操作。
建立健全本单位职工及分包单位进场的三级安全用电教育制度, 制定严格的奖罚措施, 并严格贯彻执行。
2 . 6 . 1 . 6 . 3.电气防火措施
科学合理配置、检修、更换各类保护电器, 作到动作参数准确, 确保对线路及设备的过载、短路、漏电进行可靠的保护, 以便发生各类电气故障时, 开关电器能及时迅速的切断电源, 避免发生设备过热带电现象。
加强检查巡视, 防止出现线路接地短路及绝缘强度降低。线路与设备的压线端应牢固可靠, 防止电弧闪烁及接触而产生高温高热, 合理设置各类防雷击措施, 防雷击引起的电气火灾。
在电气装置及线路周围严禁堆放易燃、易爆和强腐蚀介质; 不得在电气设备旁使用火源, 进入油料仓库的线路及照明开关灯具一律采取防爆措施。
在箱变低压配电室及用电设备较集中的地点, 如钢筋加工棚、模板加工棚等,配备足够数量的干粉灭火器和二氧化碳灭火器。
2 . 6 . 2 现场用水量计算
工地总用水量Q = q 1 + q 2 + q 3
q 1— 施工用水量
q 1 = K 1 × K 2 × Σ Q 1 × N ÷ ( 8 × 3 6 0 0 ) = ( 1 . 1 × 1 . 5 × 8 0 × 2 0 0 0 ) ÷ ( 8 × 3 6 0 0 )= 9 . 2 L / s
K 1— 不可预见施工用水系数, 取1 . 1
K 2— 施工项目施工用水不均匀系数, 取1 . 5
Σ Q 1×N— 最大用水日施工项目的日工程量与相应用水定额的乘积,取8 0 × 2 0 0 0
q 2— 生活用水量
q 2 = 0 ( 施工人员不在现场住宿)
q 3— 消防用水量, 取1 5 L / s
Q = q 1 + q 2 + q 3 = 9 . 2 + 1 5 = 2 4 . 2 L / s
所以管道直径选取d = 1 0 0 m m
经现场踏勘,业主已经准备2 个接入口,每个管道直径均为D N 1 5 0 ,因此能够满足本工程施工及消防用水。( 详见图3 - 4 )
现场施工电视监控管理系统, 是通过现代化的手段将分布于现场各施工区域的重要部位, 通过摄像机将图象集中于主管部门, 便于集中管理。
2 . 7 . 1 系统组成:
系统由前端摄像设备, 中间信息传输线和控制中心组成。
2 . 7 . 1 . 1 前端设备
由彩色低照度C C D 摄像机, 各种规格的镜头, 云台, 解码器, 防护罩等组成。
2 . 7 . 1 . 2 控制中心的设备组成
控制中心有中心控制图象切换矩阵, 各种归格的监视器, 画面分割器, 长时间录象机, 交流稳压电源等组成。
2 . 7 . 1 . 3 主控室设在项目经理办公室,甲方现场领导办公室,监理现场领导办公室, 甲方指挥部办公室, 现场治安室各设一台分控。
摄像机位置布置
表2 - 1 8
地址 | 摄像机数量 | 类型 |
基本站台 | 2 | 彩色低照度摄像机,活动云台 |
施工工作区 | 8 | 彩色低照度摄像机,活动云台 |
大门 | 2 | 彩色固定摄像机 |
楼内重要部位 | 2 | 彩色活动云台摄像机 |
重要仓库 | 2 | 彩色活动云台摄像机 |
2 . 7 . 2 系统的功能:
系统设有1 6 只彩色摄像机, 16 路摄像机图象分别接入1 6 画面分割器, 通过长时间录象机及彩色监视器作组合监视及录象, 摄像机图象接入矩阵切器通过主控键盘对切换主机进行切换显示, 对前端活动云台摄像机的状态进行控制。
分控台可分别对前端活动云台摄像机全方位操作控制, 可将前端任何一台摄像机图象切换至分控监视器上。本图象监控系统可使领导在办公室就可随时随地的掌握现场施工的情况, 进行施工监督, 并通过通讯手段进行指挥调度。楼内摄像机布点位置可随施工进度或现场实际情况进行调整, 局部调整时不影响监控系统的正常运行。
为了保证现场施工通讯方便快捷,通讯设备配置为市内电话3 部 ,传真机1 台。项目经理、项目副经理, 项目总工、总协调、各部部长、作业队长配手机。在施工现场为了和建设单位、监理及我单位各部室负责人及现场施工技术人员联系方便配对讲机数量不少于2 0 台,以便及时沟通联系快速解决现场的问题。同时为方便与甲方、监理、设计院、联系及收集各种技术资料和材料价格信息, 在该项目上推广应用网际项目管理技术软件, 该软件就是利用先进的互联网技术, 使参与建筑项目的各个有关单位能够协同工作, 以达到减少风险、降低成本保证质量并缩短工期的目的。首先在项目开工后建立一个项目管理的网站, 使得所有项目相关人员都可以在该网站中随时随地交换信息, 包括工程图、相关合同、进度安排等, 但项目管理人员可以决定每个项目参与者能够进入的区域和可阅读的资料。网际项目管理的功能设置: 文件传输、在线交流、公告板、组织管理、资料整理。使用网际项目管理能达到的效果: 节省通讯费用、避免错误、方便观看和删除、节约时间、得到更快速度、安全可靠、加强责任性。
所有进入**站施工的管理人员和工人均要进行短期的军训,以便适应大型公用工程的施工, 提高每个员工的纪律性、责任心、团队精神和应急响应能力
2 . 9 . 1 . 1 管理人员的选用:
我们将精兵强将, 选用一批技术强、业务精又有很强的管理组织协调能力和具有奉献精神的中青年骨干, 形成一个富有生机活力的集体, 实行以人为本的战略和动态管理, 明确岗位职责, 落实奖罚制度。
管理人员均是从事过大型工程施工管理的各专业技术人员组成, 具有较高的素质和管理水平。所有项目管理人员的持证上岗率达1 0 0 %。
2 . 9 . 1 . 2 操作人员的选用:
现场特殊工种的操作人员全部选用具有丰富施工经验的本单位在册职工及专业班组; 从事工程项目劳务的作业层人员为我单位合格劳务分包商, 这些队伍同我单位合作多年,有自己的技术、施工管理人员、质量安全检查人员,便于管理和控制。从而确保现场操作质量, 并通过对在施人员的各种培训, 提高全体施工人员的质量意识和安全生产的责任感。
2 . 9 . 2 施工技术准备
2 . 9 . 2 . 1 在本工程的全过程施工中,我单位将充分发挥在施工技术上的优势,本着技术先行的原则, 在施工前就针对技术上的一切问题做好充分的准备, 一旦中标进场, 则立即进行施工准备工作。
2 . 9 . 2 . 2 针对本工程的建筑、结构特点,制定详细且具有针对性的各阶段施工组织设计, 并且在施工前报请建设单位和主管监理工程师、指挥部及车站调度室的批准, 随后及时向施工队伍做好书面交底工作。
2 . 9 . 2 . 3 各技术人员及时熟悉图纸,并通过图纸自审、互审和会审形成图纸会审纪要,作为本次施工质量控制的重要依据之一,同时掌握 本工程的特性和应重点注意的问题, 给工程的全面施工创造条件。
2 . 9 . 2 . 4 根据建设单位提供的建筑红线,永久性坐标和高程测点按建筑总平面设立永久性标志桩( 点), 为施工过程中的投测创造条件。
2 . 9 . 2 . 5 合同签订后一个月内向当地行业主管和综治部门办理各种手续,交纳费用, 理顺关系, 创造顺畅的施工外部环境。
2 . 9 . 2 . 6 确定关键、特殊工序及质量控制点,制定相应的技术保证措施及质量和安全生产保证计划, 及时做好对于施工班组的逐级交底, 以确保在施工中得以切实贯彻实施。
2 . 9 . 2 . 7 桩基工程的竣工验收文件及资料的收集、整理、复查,桩基的试验检测,大应变, 小应变动测应符合规范要求。
2 . 9 . 3 施工现场准备
施工现场准备工作包括以下一些内容:
2 . 9 . 3 . 1 根据现场条件和本施工方案马上进场完成临设搭建,场内施工临时道路铺设和施工用临水、临电、排污废水设施。
2 . 9 . 3 . 2 施工现场区,现场木工棚,配电房,卷扬机操作棚,水泥仓库等设施的布置。
2 . 9 . 3 . 3 复核及保护建设方提供的永久性坐标和高程,按照既定的永久性坐标定好施工现场的测量控制网。
2 . 9 . 3 . 4 按本单位形象设计要求对施工现场及外围作统一布置。
2 . 9 . 3 . 5 有计划地组织机械及材料的进场, 堆放于指定地点。
2 . 9 . 4 施工机械准备
2 . 9 . 4 . 1 根据本工程总体施工部署并结合各分布分项施工顺序,拟定施工机械出场计划, 按计划要求安排精良的机械设备进场, 进行保养和调试。
2 . 9 . 4 . 2 对于小型施工机械设备,如砂浆机、振动器、电焊机、高压水泵等机械则根据工程各施工阶段施工进度实际需要进行经济、合理地配置,有计划组织进场。
2 . 9 . 4 . 3 所有机械设备进场后均事先规划适当的位置停放,小型设备则在房间内集中储蓄备用。
2 . 9 . 4 . 4 塔吊的使用是施工的关键,进场后立即着手大中型垂直运输机械的定位及安装, 并在主体进行一定程度, 开始安装快速提升架。塔吊以符合实际、安全可行、全部覆盖为原则, 着重考虑设置位置。
2 . 9 . 5 施工物资准备
2 . 9 . 5 . 1 施工用的常规物资,如搭建临时的用料、临时办公桌、办公椅,各类施工工具, 测量定位仪器、消防器材等, 均提前十天进场, 并合理分类堆放, 派专人看护。
2 . 9 . 5 . 2 施工用建筑材料视施工阶段进展计划材料进场时间, 并均保证提前进场。
2 . 9 . 5 . 3 对于构成工程实体的建筑材料将编制详细的物资需求计划, 物资储备、申请、订货计划, 采购加工计划, 这些计划必须附以确切的数量清单, 且经过建设单位及监理工程师的审核、确认。
2 . 9 . 5 . 4 所有进场物资按平面布置图分类别堆放, 并作好标识及产品保护工作。
2 . 9 . 5 . 5 施工中及时早准备堆放材料、设备的楼面,以便安装,这些材料、设备都放置在每个楼层标高处, 相应的作好材料传递及处置运输工作, 即分类别有计划的运输。
根据**站现有实际情况,且又与地铁、高架以及钢结构、幕墙等形成交叉施工,施工总平面布置要综合考虑各施工单位正常施工的需要, 尤为重要的是保证铁路正常运营的需要,使得现场可供考虑的施工用地极为有限,施工总平面布置较为困难。根据此情况, 为保证车站的正常运营又兼顾施工的实际需要, 施工开始前需要对站前广场的临时行包房以及中铁快运行包房进行部分拆除, 以使得施工能够有必要的通道, 行包房的部分拆除范围详见施工总平面图的示意。
3.1.1 临时用房布置
3.1.1.1 考虑到现场比较狭小的特点, 为尽量合理利用现场空间, 临时办公室拟搭建于现有中铁快运行包房与铁路临时行包房的中间区域, 在此部位采用彩钢板搭设双层彩板办公楼。 图3-6
3.1.1.2 现场临时办公室布置
现场临时办公室考虑双层办公室,外围护墙采用100mm 厚夹心彩钢板,中间隔墙采用75mm 厚夹芯彩钢板, 于办公楼北侧设置钢梯上下, 彩钢板采用白色, 走廊拦板和屋檐板采用兰色彩板, 现场办公室功能划分详见下图:
图3-7
项目部主要办公室考虑场外租房或场外租地建房的方式解决,现场办公室主要作为工地直接监管使用。
3.1.1.3 现场不考虑员工住宿, 员工住宿采用外租房或场外建房的方式解决。
3.1.1.4 基础施工阶段的现场库房拟设置于西配楼西南角,便于材料出入及收发,待主体工程完工后由于本处将改为旅客候车通道, 届时进行拆除。临时库房设置如下: 图3-8
3.1.2 临时加工场布置
3.1.2.1 由于现场极为狭窄, 且目前行包房等尚未拆除, 故暂时要求在狭窄的场地内进行临时加工场的布置。
3.1.2.2 钢筋加工场的设置依现场条件,基础阶段设置两座,主体阶段设置两座,具体位置详见施工总平面布置图。
3.1.2.3 木工加工场设置两座, 基础和主体由于施工情况不同, 故考虑在基础和主体阶段分别进行考虑, 具体位置详见施工总平面布置图。
3.1.2.4 钢结构构件堆放场地的布置详见施工总平面布置图,由于场地狭小的原因, 基础阶段的钢柱由于量比较少, 主要考虑随运随安装的原则, 主体阶段由于工作面的变化, 设置比较大的钢结构堆放场地, 主体阶段堆放场地详见主体总平面布置图。
3.1.3 现场水电布置说明
3.1.3.1 业主方已经提供箱式变压器, 总容量达1600KVA,现场供电线路的布置详见施工用电总平面布置图。
3.1.3.2 根据现场机械设备的配置和钢结构安装的需要,现场用电线路分设4 个回路, 办公室区域采用独立供电, 防止各用电单位互相产生影响。电缆走向尽量沿围墙平行布设, 沿现有行包房一侧的现有电缆, 我单位进场后将拆除, 改走临时道路一侧的电缆沟, 防止电缆影响正常的行车或施工吊装; 靠近站台一侧的电缆沿彩钢板围墙进行, 该处电缆考虑悬挂于围墙上。 图3-9
3.1.3.3 业主方已经提供二处各DN150 的水源点, 临时管路的布置详见施工用水平面布置图。
3.1.3.4 施工用水管的布置按以下方式进行, 靠砖砌围墙一侧沿围墙根部放置;沿彩钢板围墙一侧, 挂于彩钢板上布置; 遇道路处采用埋地加套管的方式; 进入施工现场内部的部分采用软管以便于能够及时撤除; 布置方式见上图。
3.1.4 施工机械布置说明
3.1.4.1 主站房考虑设置两台60m 臂的行走式重塔吊及一台60m 固定重塔吊,能够充分满足土建主体结构施工和配合钢结构吊装施工的需要, 减少中间的吊装盲区。
3.1.4.2 西配楼由于单体单层建筑面积较小, 施工区域也比较小, 故考虑使用一台36m( FO/23B) 塔吊进行全楼覆盖, 即可满足施工需要。
3.1.4.3 主体结束进入钢结构安装和装修阶段后,将于主站房设置东西两侧各设置一台提升架, 进行部分材料的垂直运输, 塔吊主要作为配合钢结构安装使用。
3.1.5 施工道路布置
3.1.5.1 现场设置环行施工道路的条件不具备, 根据现有条件, 且考虑车站的正常运营,西配楼现场临时道路设置于主站房之间,道路宽4m,并于西配楼南侧靠近基础开挖线设置一条4m 宽的道路; 考虑到站房基础和主体施工阶段, 行包的运输无法通行, 故并行西配楼道路另行安排两条道路, 一条全封闭作为行包道路, 一条作为站房施工道路, 形成三条道路并行的情况, 详见施工总平面布置图。
3.1.5.2 行包房拆除后将沿主站房平行处设置一条临时道路,满足钢构件和现场物料的运输需要。
3.1.5.3 所有施工道路均考虑进行硬化处理,, 由于车站建于原有地基上, 土质比较好,可以在原有地基上适当处理后即浇注道路面层,道路面层为100 厚C30 砼。
3.1.5.4 所有道路均设置砖砌排水沟,以避免道路上和施工场地内积水影响施工。
3.1.6 施工围墙布置
3.1.6.1 我单位进场后将配合业主拆除现有行包房的一部分,然后将沿行包房新建部分围墙,同时对西配楼围墙进行改造,以满足施工现场和车站地区的美观要求,参见水电布置中的围墙图。( 见图9-3)
3.1.6.2 沿站台一线采用经我单位设计的彩钢板围墙进行搭设,采用角钢和型钢作为围墙支撑, 防止围墙被挤倒。
3.1.7 现场设置三座大门, 具体位置详见总平面布置图, 以满足现场实际施工需要。
3.1.7.1 大门示意图( 见图9-2)
3.1.7.2 每个大门处均设置洗车台, 洗车台设置。( 见图9-7)
3.1.7.3 大门口处均设置不锈钢文明施工图牌。( 见图9-1)
3.1.8 现场电子监控布置
3.1.8.1 监控系统采用集中控制管理的方式,办公室内设置一台专用监控器,专人二十四小时进行值班,并对监控的全过程建立图象档案进行保存。
3.1.8.2 线路布置:监控线路统一由办公区引出,沿南围墙进行架设,分别引至各台塔吊上。
3.1.8.3 探头布置:主要设置在塔吊上,由上向下监测,每台塔吊大臂上均配置两个探头,主站房每台塔吊的配重端亦分别设置一个探头,以辐射广场区域;沿基本站台东西两端各设置一只探头,广场上设置两只探头,根据情况的需要,于楼层上和二三站台上进行增设,详见电子监控平面布置图。
3.1.8.4 监测系统与车站原有监控系统进行互连,视需要与地方有关执法单位进行互连。
3.1.9 现场卫生设施布置
3.1.9.1 现场不考虑设置食堂,采用外配餐的方式进行解决。
3.1.9.2 现场设置两个临时厕所,一座位于东侧出站口处,一座位于西侧综合楼附近,采用部分移动式厕所置于现场使用。
3.1.9.3 现场固定厕所采用砖砌,彩钢板屋顶,设置高位水箱进行冲洗;内外墙刷白色涂料,室内1.8m 以下贴白色瓷砖,地坪贴防滑瓷砖。
3.1.9.4 厕所后设置化粪池,经过处理后排入市政污水管网。
附: **站站房工程基础阶段总平面布置图( 图3-1)
**站站房工程主体阶段总平面布置图( 图3-2)
**站站房工程施工用电总平面布置图( 图3-3)
**站站房工程施工用水总平面布置图( 图3-4)
**站站房工程电子监控总平面布置图( 图3-5)
4 . 1 . 1 施工方案: 本工程现正进行工程桩及基坑维护桩的施工阶段, 本次招标范围为主站房的主体结构(屋顶钢结构及屋面工程),部分功能房的装饰、西配楼分部、整个主站房二次装饰不在施工范围, 该工程的总工期为7 2 0 日历天。为了加快该工程进度, 充分为建设单位考虑, 我施工单位严格按照“ 只要有工作面有工作量, 就必须做到有作业人员在施工” 的原则紧安排施工进度及方案。根据现场的实际情况具体的施工方案详见一览表。
主要施工方案一览表
表4 - 1 – 1
序号 | 施工项目 | 施 工 方 案 | 备 注 |
1 | 施工测量 | 1、建筑物定位及轴线测设,使用全站激光 经纬仪做三等平面矩形控制网。 2、垂直度及标高使用经纬仪、全站仪、精 密水准仪复核,精密钢尺相结合。 |
|
2 | 土方工程 | 机械施工,人工清底修坡 |
|
3 | 混凝土工程 | 预拌混凝土,混凝土输送泵输送 |
|
4 | 钢筋工程 | 1、现场制作 2、钢筋连接: 水平钢筋采用镦粗直螺纹机械连接,闪光对焊,竖向钢筋采用电渣 压力焊接,其余为搭接 |
|
5 | 模板工程 | 全部使用复合防水胶合板模板,模板加固使 用木方与钢管相结合,柱子采用加工大钢 模,使用20[ 槽钢、φ20 对拉螺栓固定 |
|
6 | 钢管斜立柱 | 工厂加工制作,现场汽车吊、大吨位塔吊、龙门架配合安装 |
|
7 | 屋顶钢结构及屋面 | 主站房配合施工,西配楼防水涂料、防水卷材胶粘结,建筑找坡 |
|
8 | 脚手架 | 1、外脚手架为φ48 双排钢管外脚手架 2、主体内脚手架为φ48 钢管配合可调支撑满堂脚手架 3、装饰内脚手架为满堂脚手架 |
|
9 | 垂直运输 | 主体结构使用四台塔吊(其中西配楼一台, 主站房二台行走,一台固定),装饰阶段使 用4 台快速提升架 |
|
10 | 门窗工程 | 1、后塞口施工方法 2、玻璃幕墙及铝塑板配合施工 |
|
4 . 1 . 2 施工测量
4 . 1 . 2 . 1 施工测量的顺序根据现场的实际情况及设计图纸的要求计划安排顺序如下:
4 . 1 . 2 . 2 建筑物的定位
由于该工程占地面积较大, 主站房总长2 7 0 m, 宽5 4 . 5m, 一般的定位测量容易造成施工的测量的偏差, 偏差有温度及人为的偏差, 且累计偏差较大, 故在该工程中建筑物的定位及控制点的引测均使用全站仪, 具体控制引测定位如图
4 - 1 - 1 :
按上图要求为平时测量方便,再在中间部位设置一个永久性保护点, 作为全站仪检查点,考虑到施工场地较大,甲供的永久性测量控制点在施工中可能破坏,所以按照上图要求设置两个永久性控制点( 综合楼楼顶和东侧建筑物顶), 控制平面点需要进行施工期的永久性保护,如工程确需要进行引测移位, 到工程竣工时准确的定测点及定向点最少保证2 - 3 个点,以保证以后的后续工作的及时安排,对原有破坏点的恢复工作提供方便。具体控制点的做法如图4 - 1 - 2 :
然后使用现场的保护点进行建筑物的测量工作。测量方法使用坐标值的极坐标定点法测出建筑物任意所需点,最后放出各相应的轴线。现场实际测量放线时对距离大于2 0 m 的测量均使用全站仪进行定位, 避免使用钢尺造成累计误差。综合楼楼顶检查点主要用来检查校核使用。
对±0 . 0 0 0 m 以上结构施工, 在一层楼面预埋2 0 0 m m × 2 0 0 m m × 4 m m 不锈钢板,做法同控制平面点的做法, 具体位置设在控制平面点“ 1、2、3、4” 平引① 轴南北向与平台点“ 5、6” 平引○A 轴东西方向的相交点, 在建筑物内共有6 个点进行垂直投点。同时在楼面的同栋的方法使用全站仪继续展开测量放线定位工作。所有楼面的放线每一轴线引至外墙且使用经纬仪进行垂直检验校正,在外墙面每层的每一轴线均使用红三角表示, 并标出各轴线值。
4 . 1 . 2 . 3 建筑物的标高测量控制
标高的测量依据建设单位提供的高点( 不得少于2 个点) 及高程值, 用精密水准仪( S 2 型) 引测检验校正, 将高程全部引测到坐标控制点上“ 1 - 6” 轴, 以及在新建筑物的周边旧建筑物或其它物体上用红三角标明记录,在红三角处标上其标高值, 要求在建筑物外每点相距不超过2 0 m , 便于及时准确使用。此红三角必须经过多次复测准确无误后方可使用且做到经常( 每施工一层楼面) 检测, 发现如果有沉降使用应及时停用并销毁,重新测做。待一层建筑物完成后将其标引至建筑物上, 在建筑物外围每点设在轴线柱子上。进入装饰阶段后, 所有内外均弹出建筑物地面以上1 m 的建筑标高线, 便于装饰工程的施工作业。
4 . 1 . 2 . 4 建筑物的竖向控制及轴线的测量放线
建筑物的垂直度控制采用“ 内垂直” 引测, 外经纬仪( 外控法) 来相互校核的方法进行。即建筑物外轮廓的垂直度控制由经纬仪在建筑物外侧的首层的基准线为基础向上投测校正偏差。在建筑物内部轴线使用激光垂直投点经纬仪,在一楼楼面预埋“ 1 - 6” 点分别向上进行垂直投点, 垂直投点详见下图4 - 1 - 3 :
轴线测量放线根据垂直投点( 垂直投点每层楼面不少于3 个) 使用全站经纬仪进行楼面的展开放线工作,局部面较小处使用经纬仪及钢尺进行引测,将所需要用的线全部弹在楼面上,并将轴线引至建筑物的外侧进行外控法的调整校正以确保测量放线精度及准确。
每层楼上的标高控制使用钢尺以一层建筑物外围红三角为基础向上引测。
4 . 1 . 2 . 5 建筑物的沉降观测
主站房及西配楼为新建工程, 为保证施工能顺利进行, 施工过程中应对建筑物随时进行沉降观测, 便于给施工过程提供有关数据, 确保建筑物的结构安全。沉降观测点的设置,因招标阶段现有图纸没有明确的规定, 根据我单位的施工经验, 沉降观测点的设置应在沉降且结构较重要部位以及地基及基础不相同处设置,首先考虑在建筑物的四角、伸缩缝、地铁上部建筑物处以及建筑物内外设置,主站房设置约3 6 个点, 西配楼设置6 个点。
建筑物沉降观测应按时( 每月一次或每完成一层结一次),使用固定的沉降观测仪器, 由专人负责按照确定的方案进行检测, 并绘制每点的沉降曲线图并收集完成准确资料编制详细的沉降观测报告为创“ 鲁班奖” 工程创造便利条件。
沉降观测点应牢固, 确保点位安全, 能长期保存, 考虑到建筑物为玻璃幕墙及铝塑板外墙, 具体观测点做法详见图4 - 1 - 5 :
建筑物的沉降观测, 首先在场内做2 个观测基准点, 基准点应设置在坚硬的地基以及不便干扰变形的地方, 并加以安全保护, 且做法在远离新建筑物靠近现有的旧建筑物边向自然地坪以下挖5 0 0 m m×5 0 0 m m×1 0 0 0 m m 的洞用混凝土灌注,预埋钢筋头, 砌砖维护加盖保护, 具体详见图4 - 1 - 6 :
建筑物的沉降观测使用S 2 级水准仪及铝合金塔尺监测, 每次观测必须对基准点进行复核, 每次测设数据应做好记录, 每次观测进行三次, 一人观测, 一人复核记录,一人跑尺,沉降观测的要求在主体施工阶段每层且不多于一个月进行观测一次,主体进入装修阶段可每月进行一次施测直到工程全部竣工验收,将所测设的数据记录完整,竣工时一并随同竣工资料移交建设单位,便于建设单位以后继续对建筑物进行沉降观测。在施工中每次沉降观测的数据应及时以书面形式通知施工项目总工、工程总监、建设单位有关人员。
4 . 1 . 2 . 6 测量工作人员安排
* *火车站站房占地面积较大, 施工测量工程量较大, 在该工程计划安排专职测量人员4 人进行专职测量, 负责该工程的基准点、测设点等维护使用, 测量放线抄平以及有关测量放线的数据收集整理,配合现场施工, 为施工技术人员提供准确数据供项目总工程师施工技术决策。
4 . 1 . 2 . 7 施工测量主要器具 表4 - 1 – 2
序号 | 名称 | 型号 | 生产厂家 | 主 要 用 途 | 数 量 |
1 | 全站仪 | PTV-2 | 日本 | 控制测量 | 1 套 |
2 | 激光投点 经纬仪 | J2-JD | 苏州一光 | 垂直传递 | 1 套 |
3 | 经纬仪 | J2 | 苏州一光 | 测设轴线 | 3 套 |
4 | 水准仪 | S2 | 上海 | 水准测量 | 2 套 |
5 | 钢卷尺 | 50 m | 上海 | 水平丈量 | 5 把 |
6 | 铝合金塔尺 | 5 m | 上海 | 水准测量 | 2 把 |
除上述主要器具外另配有: 线锤、计算器、记录本、钢桩、木桩、铁钉、5 m小钢卷尺等。
全站仪主要技术参数
表4 - 1 - 3
距 离 | V2 型 单 棱 镜 | 2400( 7900f t ) | ||||||
2700( 8900 f t ) | ||||||||
三 棱 镜 | 3100( 10200 f t ) | |||||||
3600( 11800 f t ) | ||||||||
一般气象条件;有薄雾;能见度20Km | ||||||||
良好气象条件;阴天无雾有和风能见度 40Km | ||||||||
测 量 | ||||||||
单位换算比:1m=3.280833 f t | ||||||||
精 度 V2 型 | ± ( 2+2PPm | × | D ) mm | |||||
X ± (2+10PPm | × | D ) mm | ||||||
| D :距离 X :自动大气补偿 | |||||||
角 度 测 量 | 最小读数;V2 | 型1″ ( 2cc) | ||||||
精度( D1N … … 18732); V2 型:标准差 | ||||||||
计 算 功 能 |
| 共有十八项专项功能 |
4 . 1 . 2 . 8 测量误差控制
控制点测量应满足一级小三角的精度要求即测角相对中全差≤ 5″ ,测距边长相对中全差应≤ 1 / 4 0 0 0 0 。
轴线间距测量相对读差≤ 1 / 1 0 0 0 0, 测角相对中误差应≤ 5″ 。
垂直度偏差层间不大于3 m m, 全高不大于5 m m 。
标高测量层高不大于±3 m m, 全高不大于±5 m m 。
4 . 1 . 2 . 9 施工测量应注意的事项
施工过程中测量放线应严格执行《工程测量规范》G B 5 0 0 2 6 - 9 3 。
测量仪器必须符合《检验、测量和试验设备控制程序》的有关规定, 所有测量仪器进场前必须进行检测并在有效期范围内,并在施工全过程中保证仪器状态良好。使用时避免日晒、雨淋, 烈日下或有零星雨点时应撑雨伞保护。
测量人员必须持证上岗, 配合人员必须相对固定。
钢尺使用时应注意直、平、齐、准,并标准用力( 配备拉力器),同时要进行尺长和温度改正。对大于2 0 m 需使用全站仪进行测距定位校正。
在施工过程的施工测量以及沉降观测中如有异常应及时通知有关技术人员及项目总工程师, 便于工程修改变更技术决策。
屋面网架和玻璃幕墙、斜钢柱安装部位, 均在相应位置准确标注轴线及相应的标高, 供安装单位使用。
各种作业记录必须原始真实、数据准确、内容完整、字体工整, 便于事故资料的收集。
4 . 1 . 3 地下降水施工方案
4 . 1 . 3 . 1 根据现场土方的实际情况, 该工程需要降水的部位有: 主站房( 1 - 5轴地下室、9- 1 4 轴地下室); 西楼地下室; 站台内出站人行地道; 行包房地道。
具体降水的位置详见降水施工布置图4 - 1 - 7 至图4 - 1 - 1 0 :
图4-1-7
4 . 1 . 3 . 2 该工程五个部分的降水工作根据工程总进度的安排, 分时间分阶段进行以保证该工程的整体能施工。
4 . 1 . 3 . 3 地下室挖土标高分别为:主站房1 - 5 轴为-6 . 5 0 m ,9 - 1 4 轴为- 8 . 5 0m,西配楼为- 6 . 5 0 m, 出站地道为- 5 . 3 0 m, 行包房地道为-4 . 8 0 m , 根据各部分降水的标高不一样, 选用不同主管高度, 对主站房及西配楼地下室选用9 m 主管, 行包及出站通道选用6 m 主管降水,均采用一级降水方案。地下室承台采用明沟排水。
4 . 1 . 3 . 4 由于该施工组织设计为投标技术标,建设单位未提供详细地质报告,根据我单位以往的施工经验, 考虑降水的深度及坡度, 降水坡度按1 / 1 0 考虑,基坑深为8 m, 总宽考虑3 0 m , 即降底1 . 5 + 0 . 5 = 2m, 总降水深度1 0 m, 主管高9 m,所以主站房9 - 1 4 轴地下室的降水水平管向自然地坪以下挖一米排管。其余部分的降水水平总管在自然地坪上排放。
4 . 1 . 3 . 5 井点降水成孔采用3 B L - 9 导杆式水冲枪成孔,成孔井点管居中设置,漏料使用粗砂, 成孔前将地表的杂土清理干净见软土或老土。
4 . 1 . 3 . 6 井点降水的施工工艺:
4 . 1 . 3 . 7 喷射井点的工作原理: 喷射井点设备为使用循环水与井点管出水方向相同, 给循环管加压形成高速水流, 高速水流与井点出水方向相同, 使井点水管内由于高速水流形成管内负压真空吸水 , 排出的水作循环水。
4 . 1 . 3 . 8 主要设备的技术参数: 降水设备采用j s j - 6 0 型真空泵机组, 离心泵功率7 . 5 k w, 最大抽水量为6 0 m 3 /天, 最大吸水深度9 . 6 m, 真空负压6 - 8 k g 。
4 . 1 . 3 . 9 现场做施工准备工作包括排水沟,电源( 配电箱7 5 0 k w)及水源。并做好设备 保养, 滤管清洗砂布包裹, 粗砂等材料的准备。
4 . 1 . 4 基坑支护土方工程施工方案
4 . 1 . 4 . 1 基坑支护由建设单位另行发包施工, 总承包单位配合施工。为考虑工程现场场地的需要以及加快工程的施工速度,我方中标后进场即将安排基坑钢结构支护工作与降水工作同时进行,以保证降水达到挖土的效果时同时保证基坑内桁架支护的钢结构设计要求, 为土方尽早开挖创造条件。
4 . 1 . 4 . 2 基坑支护桁架施工按照设计图纸的要求, 首先局部将土挖至支护桁架梁的底部以加快支护桁架的施工进度, 基坑支护有建设单位指定分包单位。
4 . 1 . 4 . 3 基坑支护水平桁架为钢结构, 支护下的土方必须待支护钢结构施工及验收完成后方可进行施工。
4 . 1 . 4 . 4 土方开挖以机械开挖为主, 人工负责配合清理基底。
4 . 1 . 4 . 5 土方量表
部位 | 1-5 轴地下室 | 9-14 轴地下室 | 西配楼地下室 | 行包房地道 | 出站地道 |
土方量 () | 13000 | 31000 | 8500 | 3500 | 9000 |
4 . 1 . 4 . 6 根据工程的具体安排及各部位的土方量分配情况以及现场的实际情况,,土方开挖首先从西配楼地下室开始挖土, 土方量8 5 0 0 m 3, 使用两台挖土机,然后再从主站房1 - 5 、9 - 1 4 的地下室开始, 土方共计4 4 0 0 0 m 3, 机械挖土考虑同时使用6 台1 反铲挖土机, 其中1 - 5 轴2 台, 9 - 1 4 轴4 台, 最后两台挖土机挖1 4 - 2 0 轴基础土方及5 - 9 轴基础土方, 两个地道计划采用人工挖, 具体时间详见施工进度总计划表。
4 . 1 . 4 . 7 在进行主站房地下室土方及结构施工期间, 同时地下室通道的人工挖孔桩及铁路架梁的工作在行中。
4 . 1 . 4 . 8 所有挖土作业机械尽量在夜间进行, 每天避开火车站的客运高峰。土方开挖时我们将随时了解车站客运情况, 以提高我施工单位的工作效率。
4 . 1 . 4 . 9 机械挖土方过程设专人指挥, 且抄平放线随时跟进, 为防止机械挖土破坏原地基老土层,机械挖土至高于设计标高2 0 0 mm,余下2 0 0 m m 厚人工清挖,且人员安排充分足够以保证人工清土能跟上机械挖土的节奏。
4 . 1 . 4 . 1 0 基坑土方开挖应密切注意天气的变化, 合理组织排水, 基坑开挖到标高后应及时浇注混凝土垫层时间不得超过2 4 h 。
4 . 1 . 4 . 1 1 所有基坑土方挖至设计标高后应通知质量监督站、地基勘探设计单位、监理单位、设计单位、建设单位等有关部门组织地基验槽,并做好验槽记录,合格后应及时浇注混凝土垫层。
4 . 1 . 4 . 1 2 土方开挖具体走向详见土方开挖方向图4 - 1 - 1 1 。
4 . 1 . 4 . 1 3 土方外运运输车全部完全严密封闭, 严禁外露土方,运输车进出大门时派专人检查, 并检查进出车辆的轮胎用水清洗干净后才允许上路。
4 . 1 . 5 地下室工程施工方案
4 . 1 . 5 . 1 为考虑西配楼提前交付建设单位使用以及主站房工作量较大, 所以施工时土方工作面近乎全面施工,西配楼地下室的土方开挖时间不得过长,具体挖土顺序为:
4 . 1 . 5 . 2 主站房土方开挖先挖1 - 5、9 - 1 4 轴土方, 先施工此部分的地下室,待该部分地下室结构施工完成后再施工其它部分的基础工程。
4 . 1 . 5 . 3 地下室的钢筋工程成型: 地下室全部钢筋成型在1 5 - 2 0 轴范围内。西配房地下室后期开工,钢筋加工在主站房1 - 5 轴一层内成型。±0 . 0 0 0 m 以下水平钢筋接头≥ ф 18 用镦粗直螺纹及闪光对接焊施工, 墙柱竖向钢筋≥ ф 16 使用电渣压力焊接。所以钢筋进场必须有合格证及进场检验报告方可使用。钢筋的绑扎及成型严格按照图纸的规格、尺寸、数量、间距以及规范施工规程。
4 . 1 . 5 . 4 模板工程: 地下室底板反梁以及基础底板外围使用2 4 0 m m 厚砖墙砌筑用水泥砂浆粉刷。对基础承台及反梁的砖墙砌筑完成后使用复合防水胶合板顶木方或钢管支撑加固再回填砖模外的土方夯实。
考虑到现场的实际情况, 地铁车站现正在施工桩基工程, 地铁车站主体还未施工,可能地铁车站的主体比火车站的地下室主体晚结束, 所以在地铁口通火车站地下室通道设置一道施工缝以保证主站房的地下室结构正常施工,竖向施工缝的做法与地下室外墙水平施工缝防水做法相同。
地下室外墙为保证防水效果沿地下室外墙水平方向留止水施工缝, 具体做法详见图4 - 1 - 1 2 。其余通口处的沉降及伸缩缝按照设计要求设置防水橡胶带
B = 4 5 0 m m 。
地下室所有墙、顶板、梁使用复合防水胶合板1 8 0 0 m m × 9 0 0 mm,墙螺栓加固使用间距双向@ 4 5 0 m m 。
外墙使用一次性防水对拉螺栓, 为考虑施工后穿墙螺栓修补, 螺栓墙内两头使用5 0×5 0×2 0 木板。对拉螺栓加工如图4 - 1 - 1 3 :
地下模板其余一般做法详见模板施工方案。
4 . 1 . 5 . 5 地下室钢柱底座的安装与加固: 基础施工时, 待混凝土垫层有足够的强度后, 用全站仪及经纬仪对钢柱底座定位弹线, 考虑到钢柱的底较重, 需要使用钢架底座加固钢柱底, 钢架支座最少四个支撑腿。钢圆柱底及支撑重约5 0 0 0 k g, 支架4 个腿对垫层局部承压力, 为安全起见, 在没有钢圆柱的垫层加厚至1 5 0 m m, 并配筋Φ 1 0 @ 1 5 0 m m 的钢筋。范围2 0 0 0 × 2 0 0 0 m m 以保证混凝土垫层的足够强度。具体加固图见4 - 1 - 1 4 、图4 - 1 - 1 5 :
图4-1-15
该工程主楼地下室混凝土施工按部位三个地下室各分三次混凝土浇注。第一次混凝土建筑为底板、承台及混凝土基础梁;第二次混凝土浇注为地下室墙与柱;第三次为±0 . 0 0 0 m 梁板混凝土施工。
墙体与柱混凝土浇注施工时应分层浇注, 墙内混凝土流淌部分混凝土要专门振捣, 以免漏振, 给地下室防水埋下隐患。
地下室混凝土工程量表
序号 | 部位 | 范围 | 底板、承台连梁 | 墙柱子 | 顶板梁 | 备注 |
1 | 主站房1-5 | C40S8( 1850) | C40S8( 340) | C30( 450) |
| |
2 | 主站房9-14 | C40S12( 2600) | C40S12( 400) | C30( 530) |
| |
3 | 西配楼 | C40S8( 660) | C40S8( 330) | C30( 180) |
|
4 . 1 . 5 . 6 考虑车站使用、广场能尽早提供其它使用以及广场地下室车库, 主站房1 - 5 轴地下室拆模后及时进行装饰及1 - 5 轴一层结构完成拆模及早与地下室临时提供车站使用。
4 . 1 . 6 后浇带施工方案
4 . 1 . 6 . 1 根据建设单位提供的设计图起,该工程结构施工留有后浇带,具体位置详见施工图,地下室外墙及底板的后浇带及 ±0 . 0 0 0 m 板及以上采取的施工方案如图4 - 1 - 1 6 :
4 . 1 . 6 . 2 ± 0 . 0 0 0 板及以上楼板的后浇带具体施工按下图4 - 1 - 1 7 :
4 . 1 . 6 . 3 所有的后浇带处的模板使用快易收口网以减少支模及拆模的工作量,有利于作业的方便, 同时快易收口网混凝土为凹凸面以增强防水效果。
4 . 1 . 6 . 4 所有后浇带如设计要求时,严格按照设计一切施工以保证施工质量.
4 . 1 . 6 . 5 如果后浇带要求时,对地下室等有防水作用的部位使用具有防水比原防水混凝土提高一个等级(即原设计为S 8 ,则后浇带使用S 1 0 ) 。
4 . 1 . 6 . 6 所有后浇带的混凝土均比原设计结构混凝土提高一个强度等级,且在混凝土内加1 0 % H E A 混凝土膨胀外加剂。
4 . 1 . 6 . 7 如后浇带灌注设计有时间要求时按设计要求施工。无设计要求时在原结构混凝土完最短6 0 天后浇注后浇带的混凝土施工工作。
4 . 1 . 7 钢筋工程施工方案
4 . 1 . 7 . 1 本工程钢筋制作, 在施工现场的钢筋制作场进行, 钢筋加工场根据施工阶段流向施工期间有所变动, 具体位置详见平面布置图。
钢筋制作前, 由土建工程师编制钢筋制作方案和钢筋配料表,并向作业班组进行技术交底。
用于制作加工钢筋表面应洁净。油渍、漆污、浮皮和铁锈在使用前清除干净。
钢筋除锈一般可以在钢筋冷拉调直过程中进行, 或使用电动除锈机或钢丝刷进行。
钢筋调直可采用调直机或采用卷扬机拉伸调直的方法,其冷拉率:Ⅰ 级钢筋不大于4 %, Ⅱ 级钢筋不大于1 %。调直后的钢筋应平直, 无局部曲折。
钢筋下料切断采用G J 5 - 4 0 型钢筋切断机。先制作钢筋下料平台, 每种规格下料前, 先将钢筋需要的下料长度标识在下料平台上, 经复核无误后, 设置断料尺寸栏板, 再开始下料, 以保证下料尺寸准确。
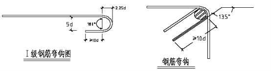
钢筋弯曲成型采用G J 7 - 4 0 型钢筋弯曲机, 辅以手摇扳手、卡盘、扳头等手工工具。对需要弯曲已安装在结构上的钢筋, 采用T J C 型手提式液压弯曲机, 一般可弯曲φ 10~ 3 2 的钢筋。不允许热弯曲,也不允许锤击弯曲或尖角弯折。Ⅰ 级钢筋末端需要作1 8 0 °弯钩, 其圆弧弯曲直径不小于2 . 5 d( 注: d 为钢筋直径,下同)。钢筋平直部分长度不宜小于3 d; Ⅱ 级钢筋末端需作9 0°或135°弯折,弯曲直径不小于4 d,平直长度按设计要求确定;弯起钢筋末端弯钩按设计要求制作,设计无要求时,属抗震和受扭结构弯钩做成1 3 5°,平直长度不小于1 0 d 。( 见钢筋弯钩图4 - 1 - 1 8 )
制作完成的钢筋构件按钢筋配料表分部位、规格、长度归类保护、保持洁净,并尽快使用。
制作完成的钢筋采用塔吊垂直运输, 人工水平转运, 并控制好下料长度, 以免在运输过程中弯折。
4 . 1 . 7 . 2 钢筋接头
本工程钢筋焊接施工执行J G J 1 8 - 9 6《钢筋焊接及验收规范》和设计文件的有关规定。钢筋制作中, 水平( 包括梁) 钢筋( ≥ φ 18) 采用镦粗直螺纹机械接头及闪光焊对接连接。
钢筋安装时, 柱墙钢筋( ≥ φ 16) 现场竖向接长采用电渣压力焊接头, 选用M H— 3 6 型钢筋埋弧电渣压力焊机将φ 14~ 2 8 的Ⅱ 级钢筋焊接接长。
所有焊接接点及焊接接头距钢筋弯曲处的距离不小于1 0 d, 也不得位于构件的最大弯距处。不得在受力主筋上施焊, 如必须施焊时, 不能点焊, 施焊的焊缝长度不小于5 d。
所使用的焊条、焊剂符合设计要求, 有出厂合格证, 焊工均持证上岗, 每批钢筋正式焊接前,按实际操作条件进行试焊,试焊检验合格后才可正式成批焊接。
焊筋焊接接头或焊接制品, 按焊接规范的规定, 分批进行质量检查与验收,检查验收包括外观检查和力学性能试验。检查验收合格,经监理签收后再转入下一道工序施工。
钢筋采用焊接接头时, 设置在同一构件内的接头应相互错开。在受力钢筋直图4-1-18径3 0 倍的区段范围内, 有接头的钢筋截面面积占钢筋总截面面积的百分率, 应符合下列规定:
受拉区 | 不宜超过50%; |
受压区和装配式结构节点 | 不限制 |
4 . 1 . 7 . 3 钢筋的绑扎搭接
当水平钢筋直径d≥ 1 8 m m 时采用焊接接头或机械连接接头, 当钢筋直径d < 1 8 m m 时可采用绑扎搭接接头。
绑扎接头搭接长度的末端距钢筋弯曲处, 不小于1 0 d, 接头不得位于构件的最大弯矩处。
受拉区域内, Ⅰ 级钢筋绑扎接头的末端做弯钩, Ⅱ 级钢筋可不做弯钩。
直径不大于1 2 m m 的受压Ⅰ 级钢筋的末端, 以及轴心受压构件中任意直径的受力钢筋的末端, 可不做弯钩, 但搭接长度不小于钢筋直径的3 5 倍, 并满足设计要求。
钢筋的绑扎接头施工,执行G B 5 0 2 0 4 - 2 0 0 2《混凝土结构工程施工质量及验收规范》和设计文件的有关规定。
有绑扎接头的受力钢筋截面面积占受力钢筋总截面面积的百分率,应符合下列规定:
受拉区 | 不得超过25% |
受压区 | 不得超过50% |
4 . 1 . 7 . 4 钢筋的现场绑扎与安装
4 . 1 . 7 . 4 . 1 准备工作
核对成品钢筋的钢号、直径、形状、尺寸和数量等是否与配料单、料牌相符,如有错漏,应纠正整补。所示钢筋进场必须有生产合格证以及及时进行钢筋的检验合格记录方可使用。
准备绑扎安装钢筋用铁丝、工具、设备、绑扎架等。
准备好控制砼保护层用的砂浆垫块,采用高于该部位砼强度的砂浆配合比制作垫块。
清扫钢筋绑扎安装场地,在模板上或架立筋上用粉笔画出钢筋位置线,预埋件、预埋管线位置线。
4 . 1 . 7 . 4 . 2 钢筋绑扎总体要求
所有梁、板、墙、柱的受力主筋、箍筋、钢筋网均按设计图纸的要求设置,箍筋的弯钩叠合处沿受力钢筋方向错开设置。
钢筋的交叉点均采用双股2 2 号铅丝扎牢。
钢筋弯钩平面与模板面垂直,转角处钢筋弯钩平面与模板夹角为模板转角的平分角。当采用插入式振捣器浇筑小型截面柱时, 弯钩平面与模板的夹角不得小于15°。
受力钢筋接头位置设在受力较小处,接头互相错开,当采用非焊接的搭接接头时, 从任一接头中心至1 . 3 倍搭接长度的区段范围内, 或当采用焊接接头时,在任一焊接接头中心至钢筋直径的3 5 倍长度且不小于5 0 0 m m 的区段范围内, 同一根钢筋不得有两个接头,在该区域内, 有接头的受力钢筋截面面积占受力钢筋总截面面积的百分率不大于2 5% , 并符合下列规定:
4 . 1 . 7 . 4 . 3 板钢筋绑扎安装
板的底部钢筋伸入支座≥ 10 d 且不小于1 2 0 m m 。
板支座上部钢筋( 负筋) 两端设直钩, 边支座负筋伸入梁内满足锚固长度。板上孔洞须注意预留, 避免后凿。当孔洞尺寸小于3 0 0 m m 时, 板筋由洞边绕过, 不得截断; 当洞口尺寸大于3 0 0 m m 时, 应设洞边加筋, 按图纸要求施工; 当图纸未交待时,则要在洞口每侧各加2 根钢筋,其截面积不得小于被洞口截断的钢筋截面积,且不小于2φ 12( Ⅱ 级钢),长度为单向板受力方向以及双向板的两个方向沿跨度通长布置,并锚入梁内;单向板的非受力方向洞口加筋长度为洞宽两侧各加3 0 d。施工时各工种必须根据各专业图纸配合土建预留全部孔洞。双向板的底部钢筋, 短跨钢筋置下排, 长跨钢筋置上排。
本工程使用后浇带, 板纵向钢筋在此处拉通, 添设附加钢筋。
为保证板内负弯矩的正确位置和有效受力高度,所有板负筋均设置凳筋Φ 12@ 1 2 0 0 m m 均匀布置并在梁边适当加密。
板砼施工前, 搭设简易人行走道, 以保证钢筋的成型尺寸。
4 . 1 . 7 . 4 . 4 框架梁、次梁、板钢筋绑扎安装
框架梁、次梁钢筋的接头选择在受力较小的位置。梁上部通长钢筋可选择在跨中1 / 3 净跨范围内搭接。相邻两跨的下部钢筋当直径、位置相同时,钢筋通长,此时通长钢筋可选择在支座处接长。
梁钢筋绑扎采用满扎, 扎点相互间呈“ 八” 字形错开。 梁箍筋除单肢箍外,其余箍筋采用封闭形式, 制作成1 3 5 °弯钩, 当梁的上部钢筋为多排时, 须注意主筋与箍筋绑扎牢固。
构造柱与梁连接或在梁上立柱, 梁上应预先留出柱子钢筋。
梁内第一根箍筋距柱边5 0 m m 起设置。
腰筋设置按构造设置伸至梁端,当为受扭腰筋时,应满足受拉时的锚固长度。
板的钢筋在施工前均应先搭好排架,铺好底模,绑扎前应准确测量墙柱轴线及模板控制线并作好标记。
因梁及板的钢筋规格较多,故在施工前,由专人负责核对钢筋的钢号、直径、形状、尺寸和数量, 如有差错, 要及时纠正增补, 在绑扎复杂的结构部门时, 应研究逐根钢筋穿插应就位的顺序,并与模板工程联系,确定支模和绑扎钢筋的先后次序, 避免返工和不必要的绑扎难度。
在梁纵向受力钢筋采用双层排列时,两排钢筋之间应垫以直径≥ 2 5 m m 的短钢筋, 以保持其设计距离。箍筋的接头( 弯钩叠合处) 应交错布置在两根架力钢筋上。
平板钢筋网绑扎时,四周钢筋交叉点应每点扎牢, 绑扎时应注意相邻绑点的铁丝要成八字形,以免网片歪斜变形,板的钢筋网绑扎还应注意板上部的负筋位置。
梁交叉节点处钢筋穿插十分稠密时,应留出振动棒头子插入空隙,以利灌筑砼。平板钢筋绑扎前必须按图纸划出钢筋间距位置线, 尽量做到纵横向一条线。
楼板钢筋的弯起点, 如设计图纸无特殊注明的, 可按以下规定弯起钢筋, 板的边跨支座跨度1 / 1 0 L 为弯起点, 板的中跨及连续多跨可按支座中线1 / 6 L 为变起点
4 . 1 . 7 . 4 . 5 墙、柱钢筋绑扎安装
承台施工时应预留柱插筋, 柱竖向受力钢筋接头的标高位置应满足设计要求, 每边5~ 8 根时, 应分二次接头; 每边多于8 根时, 应分三次接头。
柱竖向钢筋接头一般在楼板面以上每隔一根错开接头,第一次接头距楼板面≥ 5 0 0 m m 且≥ 3 6 d , 第二次接头距楼板面再增加3 6 d 。
柱箍筋一般为复合箍, 由大箍和中小箍或拉结钢筋组成,除拉结钢筋外均采用封闭形式, 并作成1 3 5 °弯钩; 箍筋的接头( 弯钩叠合处) 应交错布置在四角竖向钢筋上。柱筋采用满扎, 箍筋转角与竖向钢筋交叉点均应扎牢, 绑扎箍筋时绑扎相互间应成八字形。柱子钢筋保护层垫块在每面靠边均匀设置。
柱子到顶时, 其纵向钢筋应锚入梁内。
柱子与圈梁、钢筋砼腰带、现浇过梁相连时, 应留出相应的钢筋, 钢筋长度为柱子内外各3 6 d 。
框架梁及柱帽等钢筋, 应放在柱的竖向钢筋内侧。
严禁与柱主筋点焊, 以防钢筋局部发生脆断。
钢筋在绑扎前,均必须在柱周围搭设脚手架,所有操作人员均须在脚手架上进行施工, 以确保钢筋绑扎时的人员安全。
竖向钢筋的接头按设计及施工要求制定相应的操作控制要点,对Ф ≥ 18 m m 的钢筋采用电渣压力, 其余采用冷搭接处理。
下层柱的钢筋露出楼面部分,宜用柱箍将其收进一个柱箍直径(搭接柱), 以利上层柱的钢筋搭接, 当柱截面有变化时, 其下层柱钢筋的露出部分, 必须在绑扎梁的钢筋之前, 先行收缩准确, 在绑扎钢筋过程中注意砼保护层的设置。
竖向钢筋的弯钩应朝向柱心,角部钢筋的弯钩平面与模板面夹角对矩形柱应为4 5°角,截面小的柱砼振捣用插入振动器时,弯钩和模板所成的角度不应小于15°。
箍筋的接头应交错排列垂直放置;箍筋转角与竖向钢筋交叉点均应扎牢( 箍筋平直部分与竖向钢筋交叉点可每隔一根互成梅花式扎牢); 绑扎箍筋时, 铅丝扣要相互成八字形绑扎。
钢筋工程包括埋件,必须开具隐蔽工程验收,由质监部门检查合格后报请监理工程师验收认可后方可进入一道工序。
4 . 1 . 7 . 4 . 6 对墙柱竖向钢筋采用电渣压力焊接头的施工技术措施施工工艺:
施工技术措施
焊接钢筋时, 用焊接具分别钳固上下的待焊接的钢筋, 上下钢筋安装时, 中心线要一致。安放引弧铁丝球: 抬起上钢筋, 将预先准备好的铁丝球安放在上、下钢筋焊接的中间位置, 放下钢筋, 轻压铁丝球, 使之接触良好。
装焊剂盒:先在安装焊剂盒底部的位置缠上石棉然后再装上焊剂盒, 并再往焊盒满装焊剂。安装焊剂盒时,焊接口宜位于焊剂盒的中部,石棉绳缠绕应严密,防止焊剂泄漏。
接通电源, 引弧造焊, 按下开关, 接通电源, 在接通电源的同时将上钢筋微微向上提, 引燃电弧, 同时进行“ 造渣延时读数” 计算造渣通电时间。
“ 电渣过程”: 随着造渣过程结束, 即时转入“ 电渣过程” 的同时进行“ 电渣延时读数”, 计算电渣通电时间, 并降低上部钢筋, 把上钢筋的端部插入渣池,徐徐下送上部钢筋,直至“ 电渣过程”结束。“ 电渣过程”:工作电压控制在2 0 - 2 5 V之间, 电渣通电时间约占单个焊接过程所需时间的1 / 4 。
顶压钢筋,完成焊接:” 电渣过程” 延时完成;电渣过程结束,即切断电源,同时迅速顶压钢筋, 形成焊接接头。然后卸出焊剂, 拆除焊剂盒、石棉及夹具。
钢筋焊接完成后, 应及时进行焊接接头外观检查, 外观检查不合格的接头,应切除重焊。
在整个焊接过程中,要准确掌握好焊接通电时间, 密切监视造渣工作电压和电渣工作电压的变化, 并根据焊接工作电压电离的变化情况提升或降低上钢筋,使焊接工作电压稳定在参数范围内,在顶压钢筋时,要保持压力数秒后方能松开操纵杆, 以免头偏斜或接合不良, 在焊接过程中, 应采取扶正钢筋上端, 以防止上、下钢筋错位和夹具变形。焊接结合时, 应立即并检查钢筋是否顺直。如不是顺直, 要立即趁钢筋还在热塑状态时将其反直, 然后销延滞1 - 2 m i n 。
4 . 1 . 7 . 5 钢筋现场验收
钢筋绑扎完应进行“ 自检、互查、总检”三检查制,具体检查内容要求如下:
钢筋级别、直径、根数和间距均应符合设计要求。
绑扎或焊接的钢筋网和钢筋骨架, 不得有变形、松脱和开焊。
允许偏差: 均高于规范要求
钢筋加工允许偏差( mm)
项目 | 允许偏差 |
受力钢筋顺长度方向全长的净尺寸 | ±5 |
弯起钢筋的弯折位置 | ±10 |
绑扎网及绑扎骨架允许偏差( mm)
项目 | 允许偏差 |
网的长、宽 | ±5 |
网眼尺寸 | ±10 |
骨架的宽及高 | ±3 |
骨架的长 | ±5 |
箍筋间距 | ±10 |
受力钢筋间距 | ±5 |
受力钢筋排距 | ±3 |
4 . 1 . 8 模板工程施工方案
4 . 1 . 8 . 1 * *火车站工程主要由主站房和西配楼组成。主站房地下室为承台连梁基础, 部分为承台基础, 现浇钢筋砼框架结构, 地下一层, 地上二至五层; 西配楼为一层地下室, 地上四层, 局部二层, 现浇钢筋混凝土框架结构。地下室剪立墙、基础承台及承台梁采用复合防水胶合板模板; 柱子采用定型大钢模; 所有梁板、梁柱接头、楼梯模板以及地道模板均采用复合防水胶合板模板。
4 . 1 . 8 . 2 材料
定型大钢模; 复合防水胶合板( 规格9 0 0×1 8 0 0×1 8 m m)、5 0 × 1 0 0 m m 木方、1 0 0×1 0 0 m m 木方、φ 48 m m 扣件脚手架钢管、扣件、φ 14 m m 穿墙螺栓( 带止水片)及塑料套管、脱膜剂、碗扣脚手架支撑系统的立杆、横杆、可调顶托等。
4 . 1 . 8 . 3 主要机具:
平刨、压刨、园盘锯、手锯、锤子、手电钻、活动扳手、线坠、撬棍等。
4 . 1 . 8 . 4 模板设计
4 . 1 . 8 . 4 . 1 基础底板模板:
底板侧模采用2 4 0 m m 砖模, 20 0 m m 高外墙内模及底板标高变化处模板采用木方钢管作背楞与复合防水胶合板面板组合支吊模,用φ 14 间距4 5 0 m m 的穿墙螺栓连接加固, 并架设钢管支顶牢固。
4 . 1 . 8 . 4 . 2 地下室墙体模板
地下室墙体采用复合防水胶合板模板, φ 14 穿墙螺栓固定, 背肋次龙骨采用5 0×1 0 0 m m 木龙骨间距2 0 0 m m,主龙骨采用φ 48 钢管双根固定,间距4 5 0 mm,详见图4 - 1 - 1 9 。
4 . 1 . 8 . 4 . 3 柱模板:本工程由于跨距尺寸大,柱截面尺寸也很大,柱模板主要采用可调定型大钢模,保证混凝土外观效果,所有柱梁接头采用竹夹板现场加工定型模板, 根据梁柱的截面尺寸及形式制作不同的柱梁接头, 支模时调直、调方正。柱模接缝处及梁柱接头贴密封条, 柱模板下口压海绵条防止漏浆。个别小截面柱子采用复合防水胶合板制作柱模板, 外侧钉5 0×1 0 0 m m 的木竖龙骨间距2 0 0 m m, 柱角用1 0 0×1 0 0 m m 的木方封闭接缝, 木方与竹夹板交接处刨平, 并加密封条, 梁柱节点采用预先加工好的定型节点模板。外设间距4 0 0 m m 的柱箍, 柱子四周加固采用钢管加顶托( 不少于三道), 并且同时与满堂红的碗扣架连成整体,柱根部用木方楔与地锚固定, 控制轴线位置和垂直度。
4 . 1 . 8 . 4 . 4 梁板模板
梁底模板采用复合防水胶合板,下部钉5 0×1 0 0 m m 木龙骨,龙骨间距不得大于1 5 0 m m 底模落在脚手架的横杆上, 横杆间距9 0 0 mm, 梁下加顶撑( 主梁) 间距9 0 0 m m, 顶撑钢管必须落地且按满堂红架步距用横杆与满堂红架相连。
梁侧模采用复合防水胶合板, 50×1 0 0 m m 木龙骨间距2 0 0 m m , 外侧用φ 48 钢管固定, 高度大于7 0 0 m m 的梁加穿墙螺栓, 两侧用支顶保证梁的垂直度及顺直。
梁节点处模板采用预先制作好的定型角模, 其制作形式同梁柱节点模板。
与柱、墙相接处在模板上粘密封条( 不允许直接粘在混凝土上), 并挤紧,防止浇筑混凝土时漏浆。模板拼装部位尽量采用硬拼, 拼接不严需粘密封条处,也必须将密封条挤紧不得外露, 特别是梁柱接头, 必须密贴、垂直、方正, 杜绝拼缝错台或漏浆。
在流水段分界处施工缝用钢丝网后卡木板支设。
对于跨度大于或等于4m 的梁, 模板应沿此跨度方向起拱跨度长度的1 . 5 / 1 0 0 0 。
顶板模板采用1 8 m m 厚复合防水胶合板,纵向次龙骨采用5 0×1 0 0 m m 木龙骨,间距3 0 0 mm, 木龙骨与模板面交接处刨平, 下部主龙骨采用2φ 48 钢管( 3 m 跨井字梁处)或1 0 0 × 1 0 0 m m 木方,间距9 0 0 mm,下部支撑系统采用柱距为9 0 0 m m 的满堂红碗扣式脚手架, 上部架设可调顶托, 脚手架下垫脚手板。搭碗扣脚手架时要综合考虑井字梁的位置, 布置合理。
碗扣式脚手架立杆间距9 0 0×9 0 0 m m, 水平横杆步距1 . 2 、1 . 8 m, 在主框架跨度内搭设成单元架构, 单元架间靠支撑主梁的支顶钢管及其水平杆连接。每个单元架周边加斜撑与预埋钢筋固定,以确保架子的整体稳定性,层高较高的部位的单元架四周和中部必须加十字剪刀撑, 单元架上、中、下还需加设十字水平撑。顶板模板的拼缝,全部采用硬拼,拼接要细致,保证平整无错台,密封不漏浆, 多次周转的顶板可以裁边刨平刷封边漆重新使用, 分格条板要统一、美观而且要保证拆模便利, 不损坏整块模板。
顶板与混凝土墙梁交接处要顶紧并加密封条,模板四周要固定一道木方,木方上部刨平直, 用铁钉与竹胶板固定, 与梁交接处, 边要刨平、刨直, 不能出现错台、缝隙。
流水段分界处施工缝用钢丝网后卡木板支设。
对于跨度大于或等于4m 的顶板, 应将模板起拱, 起拱高度为跨度的1 . 5 / 1 0 0 0 。
4 . 1 . 8 . 4 . 5 混凝土墙与梁相交处用木板卡出梁窝, 梁窝尺寸必须保证混凝土按施工缝处理完后比梁截面小3~ 5 m m, 以避免露缝。
4 . 1 . 8 . 4 . 6 所有模板的穿墙螺栓的间距及规格, 必须满足设计及计算要求, 使用
图4-1-21
4 . 1 . 8 . 4 . 7 楼梯模板
楼梯平台和踏步底模与顶板相同, 采用5 0×1 0 0 m m 的木方和胶合板构成, 侧模和踏步采用木方和胶合板构成。踏步支设时须考虑出装饰面预留的厚度。踏步吊帮模板夹在楼梯间墙和踏步板侧帮间, 踏步吊帮模板上口钉三根5 0×1 0 0 m m 的通长木方( 两端及中部各一根), 下口用两根3 0×5 0 m m 各钉在通长木方上顶紧,通长木方下端利用搭设的钢管将力传至楼梯间混凝土墙上。楼梯施工缝留置在楼梯间平台板上跑楼梯一侧长向1 / 2 , 宽度方向1 / 3 处,施工缝一侧梯梁也在墙上留出梁窝。
4 . 1 . 8 . 5 作业条件
弹好楼层轴线、柱子控制线和模板边线及墙身线、门窗洞口线和标高线;墙、柱钢筋绑扎完、水电预埋管线及预留洞口检查完毕,检查混凝土保护层厚度符合要求及校正模板用的地锚已预埋好, 隐蔽工程检查验收合格。
4 . 1 . 8 . 6 操作工艺
墙体模板支设工艺流程:
安装梁模板工艺流程:
顶板模板支设工艺流程:
其它模板的支设
楼梯模板的支设: 先支好休息平台及楼梯梁模板( 方法同顶板及梁模板支设),再支梯段底模,底模采用木方加胶合板构成,木方间距2 0 0 mm;绑扎楼梯钢筋, 在墙上弹好踏步线后再安装侧模。
4 . 1 . 8 . 7 模板拆除
拆模时间:侧模以试块抗强度达到1 . 2 N / m m 2 为准,冬施期间为4 N / m m 2 且混凝土温度低于5℃ ; 跨度2 m 及 ≤ 8m 的梁、板拆除时间: 跨度≤ 2m 的悬挑构件底模必须试块抗压强度达到设计强度的7 5 %;跨度8 m 的梁、板及跨度2 m 的悬挑构件底模必须试块抗压强度达到设计强度的1 0 0 % 。
冬期施工时由于模板须在混凝土强度达4 N / m m 2 后方可拆模,此时混凝土与模板间的粘接力太大不好拆模, 在混凝土强度达1 N / m m 2 后即将模板松动后再合上。
模板拆除后的材料要及时运出,各种周转料要及时清理干净分类存放以备周转使用。
4 . 1 . 8 . 8 质量标准
模板及其支架必须具有足够的强度、刚度和稳定性。其支承部分应有足够的支承面积。
接缝不应漏浆,模板与混凝土接触面清理干净并涂隔离剂,严禁脱模剂沾污钢筋与混凝土接槎处。
模 板 安 装 允 许 偏 差 ( mm) 表4 - 1 – 8
项次 | 项 | 目 | 允许偏差值(mm) | 检查方法 | |
1 | 轴线位移 | 基础 | 3 | 尺量 | |
柱、墙、梁 | 2 | ||||
2 | 标高 | ±2 | 水准仪或拉线尺量 | ||
3 | 截面尺寸 | 基础 | ±3 | 尺量 | |
柱、墙、梁 | ±1 | ||||
4 | 每层垂直度 | 2 | 2m 托线板 | ||
5 | 相邻两板表面高低差 | 1 | 直尺、尺量 | ||
6 | 表面平整度 | 1 | 2m 靠尺、楔形塞尺 | ||
7 | 阴阳角 | 方正 | 1 | 5m 线尺 | |
顺直 | 1 | 拉线、尺量 | |||
8 | 预埋铁件 预埋管、螺栓
| 中心线位移 | 1 | 拉线、尺量 | |
螺栓中心线位移 | 1 | ||||
螺栓外露长度 | + 5, - 0 | ||||
9 | 预留孔洞 | 中心线位移
| 3 | 拉线、尺量 | |
内孔洞尺寸
| + 3, - 0
|
4 . 1 . 8 . 9 成品保护
吊装模板时轻起轻放, 不准碰撞, 防止模板变形。
拆模时不得用大锤硬砸或撬棍硬撬, 以免损伤混凝土表面和楞角。
拆下的模板如发现不平或破损时应不再使用。
支模用的花兰螺栓和支撑必须拧紧支牢。
模板在加工和堆放时应加强管理, 分规格堆放及时涂脱模剂。
4 . 1 . 9 混凝土工程施工方案
根据招标文件要求:本工程全部采用商品砼。根据施工总布署,混凝土浇筑采用泵送入模施工, 为便于浇筑, 以汽车泵为主, 地泵铺助, 柱子浇筑时高塔、吊斗配合。
4 . 1 . 9 . 1 ± 0 . 0 0 0 m 以下砼浇筑
±0 . 0 0 0 m 以下砼浇筑主要有承台、基础梁、剪力墙, 按施工流水段划分组织水平流水作业, 每一流水段浇筑方法如下:
浇筑部位及顺序:
承台浇筑:采用汽车泵、塔吊吊斗浇筑配合;插入式振捣棒振捣密实,承台面木抹子搓平。短柱与承台一次浇筑至首层梁底标高处。
地下室顶板梁结构砼浇筑:按照施工段分别浇注,浇注时采用2 台汽车泵和一台混凝土地泵, 浇注顺序详见混凝土基础浇注平面布置图
图4 - 1 - 2 3
4 . 1 . 9 . 2 ± 0 . 0 0 0 m 以上砼浇筑
±0 . 0 0 0 m 以上为框架结构, 根据施工总部署柱与梁、板分两次浇筑, 先将柱浇至框架梁底, 然后再施工梁、板。梁、板砼一次浇筑完成。按施工段划分,组织垂直、水平流水作业。每一流水段浇筑方法如下:
柱混凝土浇筑:采用汽车泵,泵送入模施工,汽车泵浇筑不到的部位利用塔吊或活动吊车用灰斗浇筑。用6 m、8m 长振捣棒振捣密实。严格控制柱顶标高,收水后用木抹子搓平。
梁、板混凝土浇筑: 采用汽车泵、地泵泵送施工。由于本工程梁板跨度大,考虑到混凝土浇注必须连续,不能留混凝土施工冷缝,采用两台汽车泵及一台混凝土地面输送泵。混凝土振捣、收面操作同前。
4 . 1 . 9 . 3 高柱与墙的混凝土施工
由于地下室混凝土墙高近6 m,柱的混凝土一层至二层层为9 . 3 m,柱子高度约8 m ,为保证混凝土施工质量控制混凝土的浇注高度,同时为作业方便减轻辅助设备的重量,对超高部分的混凝土施工使用人工加工Φ 20 0 帆布直筒, 长度6 m, 帆布Φ 2 0 0 串筒底至混凝土面最深高度( 即混凝土自由落差)在2 m 以内,每层浇注振捣厚度不得超过5 0 0 mm,同时使用L = 8 m 长的强有力混凝土振捣棒振捣。对超高部分的混凝土振捣时在墙柱底部有专人检查,混凝土必须振捣密实, 保证混凝土施工质量。
4 . 1 . 9 . 4 砼施工注意事项
安装预留、预埋工作及时配合,经各专业联合检查并经现场监理验收符合浇注条件后签发砼浇注令。
砼浇筑时注意和搅拌站保持密切的联系,严格控制水灰比和坍落度,混凝土坍落度控制在( 1 6 0±2 0 m m)以及砼出厂时间,避免泵送时向砼中加水或砼在输送车中储存时间过长。
砼浇捣前应清除钢筋上浮灰, 模板上油污、杂质, 模板洒水湿润。
砼泵送前, 用水湿润泵管, 然后用同成份水泥砂浆湿润泵管。
墙、柱浇筑时, 砼分层浇筑, 一次浇筑高度不超过5 0 0 mm, 振捣时分区责任到人, 振动棒要做到“ 快插慢拔” 每次下棒间距不超过5 0 0 m m。柱先振捣四角,再振捣中间部位。砼浇筑过程中派专职木工检查柱、墙底部振捣密实情况及防止模板涨模或松动移位。梁、板砼浇筑时, 派钢筋工保证钢筋不发生位移, 安装人员负责预留、预埋管、洞数量及位置准确。
如果浇筑砼过程中,遇下雨应用塑料布对已浇筑部位进行覆盖,雨大时,应
停止浇筑, 注意留置好施工缝。
砼浇筑完后, 须做好养护工作, 覆盖浇水养护地上部分不少于7 d。
地下防水砼除每2 0 0 m 3 留置一组抗压试块外,按要求留置抗渗试块,地上部分根据每次砼浇注量每1 0 0 m 3 留置抗压试块一组, 另加二组同条件养护试块。
该工程为框架结构,框架梁柱钢筋排列比较密,振捣时要避开钢筋筋,确保位置准确, 柱端梁头混凝土特别要注意振捣密实。
混凝土工程施工:
本工程基础、主体砼全部采用商品砼,由专门的大型商品混凝土搅拌站提供。
4 . 1 . 9 . 4 . 1 商品砼的检验和试验
各部位砼的质量要求由施工技术部以砼配合比申请单的形式提出,交由物资供应部门组织采购。
砼进场必须提供配合比报告,由施工技术部门审核后签认使用,并通知专职检验人员按规范要求和施工要求留置砼试块。
施工现场设置砼标准养护室,由专职检验人员管理,定期向施工技术部提交砼试验报告。
4 . 1 . 9 . 4 . 2 地下室底板砼的施工
西配楼、主站房的基础地下室承台、承台梁以及剪力墙根据结构特点以三个地下室为界水平划分为三个流水施工段, 各段依次进行砼的浇筑。
为达到缓凝的目的,砼需掺加复合型S P 高效砼泵送剂及粉煤 灰以达到缓凝、早强、减水, 同时降低砼水化热的目的, 保证砼的质量, 加快施工进度, 提前进行底板上部结构的施工。砼浇筑后, 表面用木抹子搓平, 随即覆盖塑料薄膜一层进行保湿养护, 砼终凝后蓄水5 c m 进行养护。
地下室外墙砼的施工
外墙均为抗渗砼,施工缝位置增设3 m m 厚4 0 0 m m 宽通长焊接止水钢板, 后浇带位置外墙也沿竖向设止水钢板。
外墙砼浇筑时采用台阶式分层浇筑,每层浇筑厚度不超过1 0 0 0 mm,采用两台砼泵相距1 0 m, 同时进行浇筑, 每段墙沿长度方向以一端开始至另一端结束, 连续浇筑, 施工缝留在预设位置。
外墙与楼板砼同时施工的部分, 因楼板砼为非抗渗砼,外墙砼采用塔吊单独运输,先行进行浇筑,与楼板连接部位多浇筑5 0 0 m m 宽,如图4 - 1 - 24,以保证外墙抗渗砼质量, 其它不同标号砼交接部位参照此方法实施。
底板及外墙施工缝的处理
在施工缝上浇筑下一层砼前, 表面须进行凿毛处理, 凿除表面浮浆, 露出石子, 并用水冲冼干净。浇筑下一层砼时充分振捣, 确保结合紧密。
外墙止水螺栓周围开凿2 0 m m 深凹槽, 割掉螺杆。施工缝位置, 在做防水施工前凿除2 0×2 0 m m 的, 用水冲干净, SH 料填补抹平, 防止漏水。
后浇带砼掺加1 0 % U EA,采用高一级等级的膨胀砼,底板及外墙后浇带模板支设方法见模板工程部分, 地下室底板后浇带在底板施工后两边砌2 0 0 m m 高砖垛,上盖木板加以保护, 防止泥水及杂物落入而增加清理难度 。
4 . 1 . 9 . 4 . 3 主体砼工程施工
主体砼工程采用两台汽车泵, 汽车泵大臂回转半径3 7 m, 另配一台混凝土输送泵备用。
主体砼施工时, 泵管在由水平方向向竖向9 0 0 转角的弯管处做加固处理, 泵管用φ 48 钢管固定在柱子上。
主体砼施工时, 梁板柱、墙相交部位的砼强度不同时, 相交部位采用高标号砼并多浇筑交接部位外5 0 0 m m, 高差较大时, 用钢板网进行分隔。
本工程主体砼全部采用商品砼, 由附近大型合格砼搅拌站生产供应。
4 . 1 . 9 . 4 . 4 混凝土施工时的注意事项
浇筑砼前, 由技术负责人会同施工员、质检员进行交底, 使操作人员清楚砼的浇筑顺序、方法、振捣点布置、施工路线及一些特殊部位砼浇筑应采取的措施,并且明确质量要求。每次浇筑砼前对地泵,振捣机具等施工机械进行全面的调试,防止在浇筑过程中发生故障而影响砼的质量。
浇筑砼前, 由技术负责人会同水、电、消防、通风空调、弱电及其它涉及的地下室墙体水平施工缝相关安装专业进行碰头会审, 参加会审各专业需仔细审图, 查对现场, 验收完各负责人在砼浇筑通知单上签字后方可浇筑砼。
在浇筑墙、柱竖向构件砼前,先将施工缝清洗干净,新旧砼接槎处凿成毛面,并浇筑同配比砂浆3 0 - 5 0 m m 厚。泵送砼时,泵口出料不允许直接冲击已成型钢筋。
在混凝土的施工现场, 要有专职人员在场协调指挥,对不同标号的混凝土的施工一定要控制配合好,既不能让低标号的混凝土流入高标号混凝土内,又不能因高标号混凝土浇筑时间过长而出现冷缝。
混凝土的施工现场必须留有钢筋工及木工,对浇筑混凝土时可能出现的钢筋偏位、模板漏浆及跑模、涨模等问题进行及时处理。
墙、柱、梁的砼采用插入振捣器振捣, 板砼采用平板振捣器振捣。砼振捣要密实, 但也不能过振而造成涨模甚至跑模。板面砼浇筑完成后先用刮杆刮平, 然后用木抹子抹平, 最后在砼初凝前用木抹子再压一遍, 以减少砼的表面裂缝。在施工班组内部明确“ 谁施工谁负责” 的奖罚制度, 对于梁柱接头等钢筋较密且交叉重复较多的部位, 作为结构的特别部位, 浇筑砼时应加倍仔细小心, 使该部位砼能振捣密实, 避免漏振而影响砼质量。
4 . 1 . 9 . 4 . 5 不同等级混凝土浇筑处理:
由前面混凝土强度等级表可知, 存在墙、柱混凝土与梁板混凝土属于不同标号的混凝土的情况,所以我们要考虑不同标号混凝土的浇筑,对不同标号的混凝土的施工, 必须注意, 不得让低等级的混凝土流入标号高的墙柱混凝土内。
在距柱子5 0 0 m m 处采用快易收口网封堵,防止等级低混凝土流入标号高的混凝土内。见图4 - 1 - 2 5 : 图4 - 1 - 2 5
梁柱接头部位钢筋较密,给柱子混凝土的施工带来很大的困难,容易造成柱子混凝土振捣不密实的质量问题。除要保证混凝土的坍落度及和易性良好外, 按规定要分层浇灌, 分层振捣。对钢筋较密部位要插钢管下振捣棒, 必须保证混凝土的振捣要到位、密实。
4 . 1 . 9 . 4 . 6 混凝土的养护
混凝土养护指派专人负责, 混凝土初凝后, 其凝结硬化过程仍在继续进行,为了使密实成型的混凝土继续进行水化反应,必须要保证有湿度和温度。可以采用拆模后浇水养护,竖向构件用水管随时浇水使砼表面保护湿润,使之保持湿润。砼养护时间不少于7 昼夜。
4 . 1 . 9 . 4 . 7 混凝土的实验要求
全部使用商品砼浇筑, 普通砼在砼施工前七天向搅拌站申请配合比,抗渗砼提前1 5 天申请配合比。
砼配合比,原材料出厂合格证,在砼浇筑前需提前送至技术部,报监理等有关人员审核, 无误后浇筑。
由于砼使用泵送运输, 坍落度要求1 4 0 - 1 8 0 m m 。
现场试验人员要经常不定量抽测砼的坍落度,并作好记录,如出现异常,及时通知技术部与搅拌站有关人员联系、处理。
砼试块留量:
同等级、同次浇筑的混凝土每1 0 0 留置一组, 不足也留置一组;
每层相同构件留置不少于一组;
地下室底板、外墙、水池化粪池有抗渗要求, 要留置抗渗试块。
每层多留设一组同条件试块, 作为拆模试块。
4 . 1 . 9 . 4 . 8 混凝土的质量评定标准
主控项目:砼用水泥、水、骨料必须符合施工规范的有关要求; 砼配合比、原材料计量、搅拌、养护和施工缝的处理, 必须符合施工规范的要求; 试块的强度评定必须符合规范要求; 对设计不允许出现裂缝的结构, 严禁出现裂缝, 对设计允许出现裂缝的结构, 裂缝宽度不得大于有关设计要求。
一般项目: 砼必须振捣密实, 不得有孔洞、露筋、缝隙夹渣等缺陷; 砼梁、柱蜂窝面积一处不大于1 0 0 c , 累计不大于2 0 0 c, 基础上一处不大于2 0 0 c ,累计不大于4 0 0 c 。
允许偏差项目:
序号 | 项目 | 允许偏差 | |||
1 | 轴线位置 | 基础 | 8 | ||
独立基础 | 5 | ||||
柱、梁 | 4 | ||||
2 | 垂直度 | 层间 | 层高≤5m | 4 | |
全高 | H/1000 且≤ 30 | ||||
3 | 标高 | 层高 | ±5 | ||
全高 | ±15 | ||||
4 | 截面尺寸 | +4 、-2 | |||
5 | 表面平整(2m 以上) | 4 | |||
6 | 预埋件设施中心线位置 | 预埋件 | 5 | ||
预埋管 | 3 | ||||
7 | 预埋洞中心线位置 | 8 |
4 . 1 . 1 0 防水施工方案
4 . 1 . 1 0 . 1 工程概况: 表4 - 1 - 1 0
序号 | 部位 | 做法 | 备注 | |
1 | 主站房屋面 | 轻钢结构防水屋面 | 配合施工 | |
2 | 西配楼屋面 | 上人 | 底层为2 厚聚氨脂防水涂料;面层为氯化聚乙烯橡胶共混卷材 |
|
不上人 | 氯丁胶乳沥青,SBS 改性沥青防水卷材 | |||
3 | 地道 | 氯化聚乙烯橡胶共混卷材,面层为石油沥青马蹄脂 |
| |
4 | 卫生间、厨房、清毒间 | 聚氨脂涂料三遍 |
| |
5 | 地下室 | 4 厚高聚物沥青防水卷材面层为聚合物防水砂浆 |
| |
6 | 地下室后浇带 施工缝 | 400×4mm 止水钢板带 |
|
4 . 1 . 1 0 . 2 施工准备:
材料准备:选用* *市建委备案产品及具有合格证。卷材先经取样复试合格后方可使用。所有的材料均必须有合格证、**市准用证。
劳动力准备: 防水工程保证由具有施工资质的专业防水施工队来施工。施工人员必须持证上岗。
机具准备: 喷灯、滚刷、毛刷、剪刀、铲刀和消防器材等。
工作面准备:基层应坚实平整、干燥,含水率不超过9 %。底板保护墙抹面干燥。卫生间阴角抹成凹圆角, 半径为5 0 m m。西配楼屋面阳角园弧为1 0 m m 。
4 . 1 . 1 0 . 3 施工工艺:
4 . 1 . 1 0 . 3 . 1 施工缝防水:
基础承台板与剪力墙连接处根据施工经验留高2 0 0 m m 为地下室外墙水平施工缝。
主站房地下室外墙垂直施工缝留置在外墙后浇带处;西配楼地下室不留置垂直施工缝,混凝土剪力墙一次浇注完成。垂直施工缝的外墙中间加设3 m m 厚钢板止水带, 见图4 - 1 - 2 6 : 图4 - 1 - 2 6
4 . 1 . 1 0 . 3 . 2 外墙穿墙螺栓、套管止水:
地下室外墙上所有穿墙螺栓均设置4 m m 厚5 0×5 0 m m 钢板止水片、端头在模板内侧加设5 0 ×50×1 0 m m 木块作堵头,以便切割螺栓时抹平砼表面。所有穿墙套管均设置4 m m 厚钢板止水环。止水环须两面满焊。做法如图4 - 1 - 2 7 :
4 . 1 . 1 0 . 3 . 3 地下室外墙防水施工:
地下室承台混凝土底板以及外墙混凝土为自防水混凝土;
工艺流程:
地下室结构验收后即安排外墙卷材施工。先处理基层不平的部位,用膨胀水泥砂浆修补穿墙螺栓堵头。
基层清理干净后即可满刷卷材基层处理剂,要求涂刷均匀,不露底、不流坠。
穿墙管根铺贴附加层。
清理保护墙上的卷材甩头,如卷材有局部损伤须进行修补才能施工。此处卷材要错搓接缝, 上层卷材盖过下层卷材不小于1 5 0 m m。地下室外墙卷材施工完成及时报验。验收合格即在卷材外侧铺贴聚苯板并及时回填3: 7 灰土。
4 . 1 . 1 0 . 3 . 4 屋面卷材防水施工
主站房屋面为金属结构防水屋面;该部分为配合施工,如我单位中标待具体图纸到后另行增补施工方案。
西配楼屋面防水分为上人屋面和不上人屋面两种, 上人屋面的做法: 底层为2 厚聚氨脂防水涂料; 面层为氯化聚乙烯橡胶共混卷材; 不上人屋面的做法: 底层为氯丁胶乳沥青, 上铺S B S 改性沥青防水卷材。
卷材施工前,找平层应当干燥,含水率小于9 %。基层处理干净。涂刷底子油时先对屋面拐角、节点等处先行涂刷。基层处理剂的涂刷均匀, 不露底。
基层处理 涂刷基层处理管根等处贴附加层大面积卷材施工 砌筑保护墙 3: 7 灰土回填卷材铺设:平屋面的卷材应平行屋脊铺贴。屋面卷材施工时先做好节点拐角及水落口等处的附加层。然后由屋面最低处向上铺贴。
铺贴卷材采用热熔法搭接,上下及相邻两幅卷材的搭接缝错开。平行于屋脊的搭接应顺流水方向搭接。
卷材铺贴完成, 经验收后, 清扫干净, 涂刷浅色涂料保护层。涂层应与卷材粘贴牢固, 厚度一致, 不漏涂。
4 . 1 . 1 0 . 4 进场卷材取样复试规定:
同一品种、牌号和规格的卷材,抽验数量:大于1 0 0 0 卷抽取5 卷;5 0 0 - 1 0 0 0卷抽取4 卷; 1 0 0 - 4 9 9 卷抽取3 卷; 小于1 0 0 卷抽取2 卷。
4 . 1 . 1 0 . 5 厕所、卫生间、消毒间等防水:
采用聚氨酯防水, 要求涂刷三遍, 设计要求厚度不低于1 . 5 m m 。
基层表面满刷底涂一遍0 . 5 m m 厚。
刷0 . 4 m m 厚聚氨酯防水涂膜。
刷0 . 6 m m 厚聚氨酯防水涂膜。
厕所墙面聚氨酯防水涂膜刷高1 . 8 m 。
4 . 1 . 1 0 . 6 质量标准
保证项目:
防水卷材须有出厂合格证, 并复试合格。
卷材防水层和穿墙管根等细部做法须符合设计要求和施工规范规定。
一般项目:
卷材防水层的基层表面平整、牢固、洁净。阴阳角等处呈园角。基层处理剂涂刷应当均匀, 不露底。
卷材防水层铺贴、搭接、收头符合施工规范,并粘贴牢固,接缝严密、无空鼓、损伤、滑移等现象。
4 . 1 . 1 0 . 7 成品保护及安全措施:
底板卷材施工完成及时报验, 验收合格后及时铺粘4 0 m m 厚的C 1 5 细石砼保护层。
在进行防水层施工时, 不得穿带钉子的鞋进入施工现场, 以免损坏防水层。
地下室外墙防水施工完成后及时做砂浆保护层, 防止卷材的破坏。
屋面卷材完成后其他工种施工要保护卷材。
进入施工现场, 戴好安全帽。上下基坑马道不得拥挤。
施工现场严格用火制度。严禁吸烟, 并配置数量相当的消防器材。
地下室外墙防水施工做好相应通风, 防止中毒。
厕所涂刷聚氨酯时施工人员配置个人防护用品。
屋面施工注意防风、防火。注意高处作业安全。
进入施工现场的人员必须严格遵守施工现场的规章制度,服从现场管理人员的指挥。
4 . 1 . 1 0 . 8 卫生间、厨房间、消毒间要求做4 8 h 盛水试验,检查是否有渗漏。并经过现场监理及建设单位的验收方可进行下一道工序的施工。
4 . 1 . 1 1 砌筑施工方案
4 . 1 . 1 1 . 1 概述
西配楼框架填充墙采用M 5 混合砂浆砌5 0 号加气混凝土砌块墙(干容重= 5 K n / m 3 ) 2 0 0 厚; 浴室、烟道井填充墙采用M 5 水泥砂浆砌M 7 . 5 粘土砖1 8 0 厚;
厕所内隔墙采用M 7 . 5 粘土砖1 2 0 厚.
主站房框架内填充墙采用M 5 混合砂浆砌5 0 号加气混凝土砌块墙(干容重= 5 K n / m 3 ) 2 0 0 厚; 外墙采用M 5 混合砂浆砌5 0 号加气混凝土砌块墙( 干容重= 5 K n / m 3 ) 2 0 0 厚、3 0 0 厚; 地下室电梯井墙体采用标准砖。
砌筑时, 所有墙体均砌至梁或板底, 不留缝隙, 在砌到顶部时, 留出一定空隙,用砌块斜砌,倾斜度6 0 0 左右,砌筑时,砌块必须逐块敲紧挤实,填满砂浆,且在下部砌块沉实后砌筑。用混凝土加气块砌筑时, 在墙体底部, 先用实心砌筑三皮砖后方可砌筑。
4 . 1 . 1 1 . 2 材料要求:
砌块:容重≤ 50 0 k g / m 3 ,使用前,对砌块进行外观检查,对于有严重的缺棱掉角、底部露底现象的砌块, 不得用于工程之中。
水泥:砌筑采用砌筑水泥3 2 . 5 ,构造柱、圈梁混凝土用水泥采用3 2 . 5 水泥,进场后进行复试, 合格后方可使用。存放期间, 保持干燥, 受潮硬化后的水泥不得使用。对于存放时间超过三个月的水泥, 必须试验, 并按试验结果使用。
砂: 砂采用中砂, 且不含有草根等杂物, 含泥量≤ 5%, 泥块含量≤ 2%, 使用前过5 m m 筛子。
石子: 采用0 . 5 - 2 . 0 c m 的连续粒径的石子, 含泥量≤ 2%。
4 . 1 . 1 1 . 3 施工准备:
材料进场后必须先进行复试, 复试合格后方可使用。
砌筑用砂浆、构造柱( 圈梁) 用混凝土配合比必须提前做好试配, 施工过程中严格按配合比施工。
所有砌块在砌筑前, 提前1 d 浇水湿润, 保证砌筑质量。
所有墙边线、门窗洞口线已放出, 结构墙、柱上有5 0 c m 标高控制线。
4 . 1 . 1 1 . 4 施工机具:
主要施工机具有: 搅拌机、磅秤、手推车、铁锹、大铲、灰槽、托线板、小白线、水平管、扫帚、线坠、小水桶、卷尺、砖夹子、无齿锯等。
4 . 1 . 1 1 . 5 施工方案:
4 . 1 . 1 1 . 5 . 1 材料运输:
地下室砌筑时,砂浆采用溜槽送入,地上部分砌筑用材料用室外电梯送至楼层, 水平运输全部采用手推车运输。
4 . 1 . 1 1 . 5 . 2 构造要求:
构造柱: 构造柱设置必须按以下要求进行: 砌体端头、门窗洞口两侧、隔墙转角处、不同方向墙体交接处及间距小于3 m 处设置构造柱, 构造柱具体做法详见附图。
圈梁:内隔墙在每层门洞上皮, 外围护墙在窗口下皮设置通长钢筋混凝土圈梁一道( 外围护墙圈梁交圈), 圈梁高1 5 0 mm。无门洞隔墙沿高度2 m 左右设圈梁一道。
拉接筋: 与隔墙相连的框架柱, 在有隔墙一侧沿高度每6 0 0 m m 设2Ф 6 的拉结筋, 拉结筋伸出柱边1 0 0 0 m m 。
圈梁与圈梁、圈梁与构造柱相互搭接锚固3 5 d 。
隔墙过梁采用现场预制过梁, 混凝土强度等级为C 2 0, 配筋见表一。靠近框架柱或构造柱、圈梁时过梁用现浇, 主筋伸入洞边2 0 d 且不小于2 5 0 m m 。
隔墙现场预制过梁配筋表 表4 - 1 - 1 1
洞口宽度B | 墙厚≤ 200mm | 200< 墙厚≤ 300mm | ||||
(mm) | 上筋 | 下筋 | 箍筋 | 上筋 | 下筋 | 箍筋 |
B≤ 1000 | 2Ф 10 | 2Ф 10 | Ф 6@200 | 2Ф 10 | 3Ф 10 | Ф 6@200 |
1000<B≤ 2000 | 2Ф 10 | 2Ф 12 | Ф 6@200 | 2Ф 10 | 3Ф 12 | Ф 6@200 |
2000<B≤ 4000 | 2Ф 10 | 2Ф 14 | Ф 6@200 | 2Ф 12 | 3Ф 14 | Ф 8@200 |
4000<B≤ 6000 | 2Ф 12 | 2Ф 16 | Ф 8@200 | 2Ф 12 | 3Ф 16 | Ф 8@200 |
所有的钢筋与主体结构的连接均采用胀锚螺栓固定钢板后焊接, 焊接长度大于1 0 d, 钢板厚6 m m 。
4 . 1 . 1 1 . 5 . 3 砌筑:砌筑前,将砌筑部位的砂浆和杂物等清理干净,并浇水湿润,砌块在砌筑前1 d 浇水湿润, 保证砌块有一定的含水量, 以便砌筑和保证砌筑砂浆有适当的硬化条件。
陶粒砌块砌筑时先在墙底部砌三皮红机砖后方可用砌块砌筑。
砌筑时, 上、下皮砌块要错缝搭砌, 搭接长度不小于9 0 m m
砌筑时,水平灰缝厚度和竖向灰缝宽度为1 0 m m ,每次铺灰长度不超过2 块主规格砌块的长度( 8 0 0 mm), 竖缝采用加浆法, 使砂浆饱满, 严禁用水冲浆灌缝。
砌体在砌筑时, 应连续砌筑, 若必须临时间断时, 砌成斜磋, 不得留设成马牙槎, 直槎。
构造柱, 拉结筋等钢筋要在砌筑前留设, 并做好隐检。砌筑时, 在构造柱处砌成马牙槎, 且先退后进, 马牙槎留设时, 用线坠吊垂直。
对于设计规定的洞口、管道、沟槽等, 在砌筑时, 水电专业派专人负责, 随砌筑预留和预埋准确, 不得剔凿已砌好的墙体。
在砌筑到梁板底时, 留出一定空隙, 在抹灰前用砖或砌块斜砌顶紧, 倾斜度为600 左右, 且砂浆饱满。
砌体工程的工作段的分段位置, 设在构造柱或门窗洞口处, 相邻工作段的砌筑高度差不得超过4 m。
窗洞口砌筑时,采用砌块与预制的1 9 0×2 4 0 m m 的混凝土块组砌,混凝土块间距3 0 0 m m, 且砌块面向洞口者为无槽一端。
需要在墙上设置脚手眼时, 用辅助规格的小砌块侧砌,
利用其孔洞作为脚手眼, 墙体完工后采用C 2 0 的混凝土填实。
砌筑过程中, 砌体表面的平整度、垂直度、灰缝厚度和砂浆饱满度等要随时检查并校正, 且砌体表面平整度、垂直度校正, 必须在砂浆终凝前进行。
砌块使用过程中不得随意切断, 必须切断时, 用无齿锯切割, 确保砌块表面平整。
砌筑用砂浆应随拌随用,一般应在3 h 内使用完,施工期间温度超过3 0℃ 时,必须在2 h 内用完。
砌体的每日砌筑高度不得超过1 . 8 m 。
4 . 1 . 1 1 . 5 . 4 构造柱、圈梁模板支设:
构造柱、圈梁模板采用竹夹板配5 0×1 0 0 m m 木方, 构造柱外侧每6 0 0 m m 高设两根钢管, 用穿墙螺栓配" 3 " 型扣件进行拉结。支模时, 所有模板与墙体接触面,阴阳角处模板接触面必须粘海棉条,以防漏浆,木方与模板接触面必须压平刨光。
4 . 1 . 1 1 . 5 . 5 构造柱、圈梁混凝土的浇筑:
在砌筑完或砌至圈梁位置时, 浇筑构造柱和圈梁混凝土, 混凝土强度等级C 2 0, 浇筑前, 清除需浇筑部位的杂物并用水冲洗干净, 浇筑构造柱时, 每次浇筑4 0 0 m m 高后振捣一次, 要求振捣密实。
4 . 1 . 1 1 . 5 . 6、砂浆及混凝土试块的制作、留置:
砂浆和混凝土试样在搅拌机的出料口随机取样、制做,一组试样在同一盘中取样制做, 且同盘砂浆只能制作一组试样。
砂浆抽样频率:每一楼层或2 5 0 m m 3 砌体中的砂浆,每台搅拌机检查一次,每次制作一组试块, 或配比发生变动时, 另行制作试块。
混凝土的试块制作:每工作班、每1 0 0 m m 3 、每一楼层的混凝土取样不得小于1次, 每次取样至少留置一组标养试件, 一组同条件试块。
4 . 1 . 1 1 . 5 . 7 质量要求:
保证项目:
砌块的规格、强度必须符合设计要求。
砂浆的强度等级必须符合设计要求,按规定制作砂浆试块, 砌块接缝砂浆必须饱满, 立缝砂浆必须填塞密实。
一般项目:
砌块上下错缝, 每间( 处) 2 皮砖通缝不超过3 处。
砌块接槎处砂浆密实、 砖缝平直, 接槎部位水平灰缝厚度小于5 m m 或透亮缺陷不超过5 个。
预埋拉结筋的数量、长度、位置均符合设计要求, 留置间距偏差不超过1 皮砖。
允许偏差: 表4 - 1 - 1 2
序号 | 项 目 | 允许偏差(mm) |
| 检验方法 | |||
1 | 轴线位移 | 5 | 用经纬仪或拉线和尺检 查 | ||||
2 | 垂直度 | 每层 | 3 | 用吊线法检验 | |||
全高≤ 10m | 5 | 用经纬仪或尺检查 | |||||
全高>10m | 10 | ||||||
3 | 表面平整度 |
| 4 | 2 米靠尺 | |||
4 | 水平灰缝平直度(10mm 内) | 5 | 拉10 米线和尺检查 | ||||
5 | 水平灰缝厚度( 连续5 皮砌块累计数) | ±5 | 用尺检查 | ||||
6 | 垂直(包括凹面深度)灰缝宽度(连续5 皮砌块累计数) | ±8 | |||||
7 | 门窗洞口(后塞框) | 宽度 | ±3 | 用尺检查 | |||
高度 | ±8 -3 | ||||||
8 | 构造柱截面 | ±5 |
4 . 1 . 1 1 . 5 . 8 成品保护措施:
对于墙内的预埋、预留管线不得碰撞、破坏, 注意保护。
墙内的预留钢筋要加强保护, 不得随意弯折。
运输用的手推车要平稳行驶, 防止碰撞墙体。
搭设脚手架时, 不得碰坏已砌好墙体和门窗口角。
砌筑前, 在地面铺好塑料布, 对落地灰及时清理干净并回收利用, 以免与地面粘结后影响下道工序施工。
4 . 1 . 1 1 . 5 . 9 质量通病预防措施:
砂浆强度不够: 注意不使用过期水泥, 严格按配比拌和、计量准确, 保证搅拌时间。
后剔凿: 孔洞、预埋件按设计图纸的位置、标高、尺寸准确预留、预埋, 避免事后剔凿开洞, 影响质量。
预埋在墙、柱内的拉结筋任意弯折、切断: 墙、柱预留的钢筋位置准确, 且要注意保护, 不得随意弯折、切断。
墙体顶面不平直: 在梁底或板底弹出边线, 认真按线砌筑, 确保顶部墙体平直通顺。
4 . 1 . 1 1 . 5 . 1 0 安全防护措施:
施工人员必须戴安全帽、严禁酒后、病中作业。
现场严禁吸烟, 严禁嘻笑打闹。
高处作业时, 必须搭设脚手架或门式架, 并保证架体稳固, 作业面满铺脚手板。
严禁自高处向下随意抛掷物件, 防止落下物件伤人。
砌筑使用的脚手架搭设后必须经验收合格后方可使用,使用过程中, 架上不得过多堆料, 同一块脚手板上的操作人员不得超过2 人。
使用电器设备时, 不得私自拉设电源、电线, 并使用漏电保护器。
4 . 1 . 1 2 回填土施工
4 . 1 . 1 2 . 1 施工准备:
材料:
回填土: 优先选用基槽中挖出的素土, 回填土应不含有机杂质, 最大粒径不大于5 0 m m, 含水量符合最佳含水量要求;
作业条件:
基坑基底的垃圾、建筑废料、泥土等已清除干净, 所有准备工作己按设计要求完成或处理好, 并按规定程序办好验收手续。
基础、地下室外墙、地下防水层、保护层及各预埋水、电管道等已检查完毕,并办好隐蔽验收手续, 且结构已达到规定强度。
基坑内回填士时, 应将填区内的积水和有机杂物等清除干净后进行。
机具、劳力配备:
装运土方机械: 自卸汽车5 辆, 铲土机2 辆。
施工机械及劳动力配备:每2 0 m 一段劳动人数3 0 人,小推车1 0 辆,铁锹1 5把, 蛙式打夯机3 台。
4 . 1 . 1 2 . 2 施工措施:
施工顺序:
基坑底地坪上清理: 填土前, 将基土上的洞穴或基底表面上的垃圾、钢管、木方等各种建筑废料以及其它杂物处理完毕, 清理干净。若基坑底有积水, 应先将坑内积水及含水率过大的泥土清除后才能回填。
检验回填土质: 检验回填土料的种类、粒径, 有无不允许的杂物, 是否符合施工规范规定。检验回填土料的含水率: 含水量偏高时, 可采用翻松晾晒、均匀掺入干土等措施, 含水量偏低时, 可预先湿润, 增加压实遍数。
分层铺土: 回填前, 在地下室外墙上每隔0 . 2 5 m 用墨黑实线做出明显标记。
回填铺土时派专人监督检查,严格将每层的铺土厚度控制在0 . 2 5 m 以内, 不要超出每层的控制黑实线标记。回填铺土按每2 0 m 分为一段。如图4 - 1 - 3 0 :
分层夯打密实: 填土时以2 0 米为一段按每层0 . 2 5 m 厚度铺填, 每层之间按阶梯形铺填, 两层之间应错开1 . 2 m 。每层分段夯实, 夯打压实遍数不少于4 遍。
检验密实度: 回填土方每层压实后, 都应做干容重试验, 采用环刀取样, 基坑每层按每一分段2 0 m 长度取一组试样进行检测并做好检测记录。只有当控制干密度达到规定要求后, 才能进行下一层铺土。
修整找平验收: 土方回填前, 由专业测量人员按低于室外建筑标高0 . 6 m 测出土方回填标高控制线,并将其在地下室外墙上用红实线标出。土方回填完成后,表面按标高控制线拉线找平,超过标高控制线的地方依线铲平;低于标高控制线的地方, 补土找平夯实。
4 . 1 . 1 2 . 3 质量标准:
基坑处理必须符合设计要求和施工规范规定。
回填土的工料必须符合设计要求和施工规范规定。
回填土必须按规定分层夯压密实, 所取试样的干密度测定值必须有9 0 %以上
符合施工规范要求, 其余10 % 的最低值与规范计算值允许偏差不应大于0 . 0 8 g / c m 3。且应分散不集中。回填土的压实系数若设计有要求时按设计施工,若设计没有要求时按0 . 9 3 施工。土质要求: 使用由现场测试出的最佳含水率的回填土。( 含水率不能超过1 8 % )
允许偏差项目见下表: 表4 - 1 - 1 3
项次 | 项目 | 允许偏差(mm) | 检验方法 |
1 | 顶面标高 | +0 、-20 | 水准仪测量 |
2 | 表面平整度 | 10 | 2m 靠尺、锲形塞尺尺量检查 |
4 . 1 . 1 2 . 4 回填土施工注意事项:
回填施工时, 对标准水准点、轴线控制标记、定位标准桩等, 在填运土方时应注意保护, 不得碰撞。回填施工完后, 对这些控制点位、标记等应复测检查其标识是否清楚, 位置是否准确。
夜间回填施工时, 应合理安排施工顺序, 配备足够的照明设施, 防止每层铺填超厚。严禁用汽车将土直接倒入基坑内。
每层回填土都应测定夯实后的干土质密度,达到设计要求后才能铺摊下一层土。测定结果应以实验报告的形式记录清楚, 注明土料种类、实验日期、实验结论及实验人员签字。对测定未达要求的土层制定专门处理方案, 并做好记录。
4 . 1 . 1 3 粗装修工程施工方案
4 . 1 . 1 3 . 1 顶棚、内墙面涂料工程:
4 . 1 . 1 3 . 1 . 1 材料准备: R 3 2 . 5 水泥; 耐水腻子; 内墙涂料
4 . 1 . 1 3 . 1 . 2 施工条件: 刮腻子之前将窗洞口进行封闭, 避免工作面有灰尘。对施工人员进行技术交底及做出技术要求。制定验收制度。
4 . 1 . 1 3 . 1 . 3 内墙面涂料施工:
工艺流程:
施工前的准备工作
准备施工所需的各种施工机具;
基层抹灰经过全面检查验收, 表面干燥基层含水率不大于1 0 % ;
提前做涂刷乳胶漆样板并经设计、质量检查和监理人员、建设单位等有关部门检查鉴定, 达到设计及规范要求方可组织施工;
施工现场的环境温度不低于1 0 0;
基层处理:
将基层灰尘、油污和灰渣清理干净。
用白水泥(或大白粉)、滑石粉与1 0 8 胶调腻子,补平基层表面的裂缝和凹凸不平处, 干透后用砂纸磨平, 然后满刮腻子, 待干燥后用1 号砂纸打磨平整。
涂刷第一遍乳胶漆:
先将墙面仔细清洗干净。用布将墙面粉尘擦净; 涂刷顺序先上而下, 自左向右。一般用排笔( 羊毛刷) 涂刷, 使用新排笔时, 注意将活动的笔毛理掉。乳胶漆涂料使用前应搅拌均匀, 根据基层及环境温度情况, 可加1 0 %水稀释, 以防头遍涂料施涂不开。干燥后复补腻子, 待复补腻子于透后, 用1 号砂纸磨光并清理干净。
涂刷第二遍乳胶漆:
操作要求同第一遍乳胶漆涂料,涂刷前要充分搅拌,如不很稠,不宜加水或尽量少加水。以防露底。漆膜干燥后, 用细砂纸将墙面小疙瘩和排笔毛打磨掉。
磨光滑后用布擦干净。
涂刷第三遍乳胶漆:
操作要求同二遍乳胶漆涂料。由于乳胶漆膜干燥较快,应连续迅速操作,涂刷时从左端开始, 逐渐涂刷向另一端, 一定要注意上下顺刷互相衔接, 后一排笔紧接前一排笔, 避免出现接头明显而再另行处理。
质量标准:
保证项目:油漆涂料工程等级和材料品种、颜色应符合设计要求和有关标准的规定油漆涂料工程严禁脱皮、漏刷和透底及有明显接搓。
清理基层 刮腻子 打磨 刮腻子
打磨 滚涂料( 两遍)
一般项目: 乳胶漆涂料一般项目, 表4 - 1 - 1 4
项次 | 项目 | 中级 涂 料 |
1 | 透底、流坠、皱皮 | 大面无,小面明显处无 |
2 | 光亮和光滑 | 光亮和光滑均匀一致 |
3 | 装饰线、分色线平直 | 偏差不大于1mm( 拉5m 小线检查, 不足5m 拉通线检查) |
4 | 颜色、刷纹 | 颜色一致,无明显刷纹 |
成品保护:
涂刷前应清理好周围环境, 防止尘土飞扬, 影响涂漆质量;
在涂刷墙面涂料时, 不得污染地面、门窗及玻璃等已完成的分部分项工程,必要时采取遮挡措施;
最后一遍涂料涂刷完后,设专人负责开关门窗,使室内空气流通,以预防漆膜干燥后表面无光或光泽不足;
涂料未干透前, 禁止打扫室内地面, 严防灰尘等沾污墙面涂料;
涂刷完的墙面要妥善保护,不得磕碰墙面,不得在墙面上乱写乱画而造成污染;
施工注意事项:
涂料工程基体或基层的含水率:混凝土和抹灰表面涂刷乳胶漆时,含水率不得大于1 0 % 。
涂料工程使用的腻子, 应坚实牢固, 不得粉化、起皮和裂纹。厨房、厕所、浴室等部位应使用具有耐水性能的腻子。
透底: 涂刷时注意不漏刷, 保持涂料稠度, 不可加水过多。
接槎明显: 涂刷时要上下顺刷, 后一排笔紧接前一排笔, 若时间间隔稍长,就容易看出接头。因此, 大面积涂刷时, 应配合人员, 互相衔接好。
刷纹明显: 乳胶漆稠度要适中, 排笔蘸涂料量要适宜, 涂刷时要多理多顺,防止刷纹过大。
涂刷带色的乳胶漆时、配料要合适,并一次配足。保证每间或每个独立面和每遍都用同一批涂料, 并宜— 次用完, 以确保颜色一致。
4 . 1 . 1 3 . 1 . 4 外墙涂料施工工艺
外墙涂料在外墙面局部不平处已修补, 屋面工程完成后进行。
外墙面采用水泥腻子将不平处进行修补, 局部凸出处打磨平整。
涂料采用喷涂施工。施工前, 根据材料及设计要求做好交底, 大面积施工前做好样板块, 经监理等有关人员鉴定合格后方可进行。施工前, 还应对施工段的门、窗等进行防护, 以免污染。
涂料施工前, 应一次购足涂料数量, 同一面墙应用同一批号的涂料, 做到颜色一致。
喷涂作业时, 手握喷枪要稳, 涂料出口应与被涂面垂直, 喷枪移动时应与涂面保持平行。喷枪运行速度应适宜, 且应保持一致。
喷枪移动范围直线喷涂7 0~ 8 0 c m 后, 拐弯1 8 0°向后喷涂下一行; 喷涂时第一行与第二行的重叠宽度控制在喷涂宽度的1 / 2~ 1/ 3 使涂层厚度比较均匀,色调基本一致。
喷涂时应先喷门、窗口附近,局部喷枪喷涂不到的地方,用油刷、排笔刷涂。
涂料干燥前, 应防止雨淋、尘土沾污和热空气的侵袭。
喷涂施工注意事项:
喷涂所用的涂料稠度要适中,太稠不便施工,太稀遮盖力差,影响涂层厚度,而且容易流淌, 压力应调适当。
对于不需喷涂的部分应用纸或其它物体将其遮盖, 以免在喷涂过程中受污染。
每层接槎必须留在分格缝或阴角、水落管处, 以免出现明显的搭接痕迹。
喷涂施工质量要求:涂膜应厚度均匀,颜色一致,平整光滑,不应出现露底、皱纹、流挂、针孔、起泡和失光现象。
4 . 1 . 1 3 . 2 顶棚吊顶工程:
4 . 1 . 1 3 . 2 . 1 吸音吊顶工艺流程:
4 . 1 . 1 3 . 2 . 2 防水硅钙板和石膏板吊顶施工方法如下:
安装完顶棚内的各种管线及通风道,确定好灯位、通风口及各种露明孔口位置; 各种材料全部配套齐全, 罩面板安装前应做完湿作业工程项目;
在大面积施工前, 应做一样板间, 对顶棚的起拱度、灯槽的构造处理, 分块及固定方法等经试装, 并经鉴定认可后方可大面积施工;
弹线: 根据楼层标高水平线, 用尺竖向量至顶棚设计标高, 沿墙、柱四周弹顶棚标高水平线, 并沿顶棚的标高水平线, 在墙上划好龙骨分档位置线;安装吊杆: 吊杆表面应刷防锈漆, 在弹好顶棚标高水平线及龙骨位置线后,确定吊杆下端头的标高,按主龙骨位置及吊挂间距,将吊杆无螺栓丝扣的一端用与楼板膨胀螺栓固定;
安装主龙骨:配装好吊杆螺母,在主龙骨上预先安装好吊挂件,安装主龙骨,将组装吊挂件的主龙骨,按分档线位置使吊挂件穿入相应的吊杆螺栓、拧好螺母。
相接主龙骨、装好连接件, 拉线调整标高起拱和平直。安装洞口附加主龙骨, 按照图集相应节点构造设置连接卡固件、钉固靠边龙骨;
安装次龙骨: 按已弹好的龙骨分档线, 卡放次龙骨吊挂件, 吊挂次龙骨, 按设计规定的次龙骨间距,将次龙骨通过吊挂件,吊挂在主龙骨上,一般间距为5 0 0- 60 0 m m。当次龙骨长度需多根延续接长时, 用次龙骨连接件在吊挂大龙骨的同时相接, 调直固定; 按已弹好的次龙骨分档线, 卡装次龙骨吊挂件, 将次龙骨吊挂在中龙骨上;
安装罩面板: 石膏板用自攻螺丝和次龙骨固定, 接缝要错开; 硅钙板装档即可;
4 . 1 . 1 3 . 3 楼地面工程
4 . 1 . 1 3 . 3 . 1 水泥砂浆地面:
作业条件:
1、办好基层结构验收手续;
2、木框安装和地面予埋铁件等项目, 均应施工完毕并检查合格;
3、各种立管、孔洞应用豆石砼灌实堵严; 弹好室内5 0 0 m m 水平线。
操作工艺:
注意事项:
根据5 0 0 m m 水平线, 房间增加冲筋工序, 冲筋间距1 . 5 m 。
有地漏的房间要在地漏四周找出不小于5 %的坡度, 用干硬性砂浆做软筋,然后立即铺水泥砂浆。在冲筋之间铺砂浆,配合比( 体积比)为水泥:砂=1 : 2 . 5 ,宽度应小于3 5 m m ,用木抹子拍实,用短木杠根据两边冲筋标高刮平,用木抹子挫平, 再用铁抹子压头遍,抹压时可略撒些1 : 1 干水泥砂子面等吸水后随即压光;用木杠检查平整度, 头遍应抹压轻一些, 尽量使抹子纹浅一些。待水泥砂浆开始凝结, 人踩上去有脚印但不下陷时, 用抹子压第二遍, 要求不漏压, 把死坑、砂眼压平。等水泥砂浆凝结到人踩上去稍有脚印,抹子抹上去不留抹子纹时即可用铁抹子压第三遍。
地面交活后2 4 - 2 8 h 开始铺湿锯木养护5 天。
4 . 1 . 1 3 . 3 . 2 预制水磨石楼面:
施工流程:
施工准备:
施工工具: 常用工具有磨石机、砂轮机、手推车、45 号钢砂轮片、木抹子、木杠、靠尺、水平尺、橡皮锤、钢角尺、小线、扫帚等。
预制水磨石板铺浆模台,可供铺预制水磨石板底粘结层砂浆,能控制水磨石板加粘结层的总厚度, 使之规格化, 确保地面平整度, 实践证明效果较好, 可代替一般手工操作; 检查、验收主体结构层, 平整度、强度是否符合设什要求, 否则应进行返工; 检查、验收门框、水暖、电气管道及预埋件安装是否合乎要求;板块应预先用水浸湿, 并码放好, 铺时达到表面无明水。
施工要点:
预制水磨石地面, 一般应在顶棚、立墙抹灰后进行, 先铺地面后安踢脚线。铺设在水泥砂浆结合层上的水磨石板块, 在铺设前应用水浸湿,应待基层水泥砂浆抗压强度达到1 . 2 M P a 以上才能进行。
水磨石预制块面层铺设前,按图案纹理试拼并编号,应使预制水磨石表面平整、密实。板块应分段同时铺砌, 板块与结合层之间不得有空隙, 墙角、镶边和靠墙处都要与水泥砂浆紧密结合, 砂浆应在其凝固前清除。铺砌时, 预制水磨石地面缝隙不得大于2 m m, 应将己铺砌的板块下挤出的砂浆予以清除。
水磨石预制板铺砌后, 表面加以保护, 待水泥砂浆强度达到6 0 % - 7 0 %时, 方可打蜡达到光滑洁亮。
操作要点:
基层处理、定线: 将基层表面的浮土或砂浆铲掉, 清扫干净。砂浆找平层抹好后第二天就可清扫表面,然后根据设计要求进行弹线排块,要注意对称和尽量少切割预制水磨石。分格时, 要与相连房间的分格线连接, 所有分格线应在墙面上做好标志。
水磨石板浸水及砂浆拌制:为确保砂浆找平层与顶制水磨石块之间的粘结质量, 在铺砌前要用水浸湿、码好, 铺时达到表面无明水。找平层应用1 : 3 的干硬性水泥砂浆,是保证地面平整度,密实度的一个重要措施。拌制时要控制水量,钢筋砼楼面 2 0 厚1 : 3 水泥砂浆结合层一道
拌制程度以手捏成团颠后即散为宜。随铺随拌, 不要拌制过多。
铺预制水磨石板底面粘结砂浆: 将预制水磨石板放入模台的钢模中, 底面向上,清除灰尘、垃圾,稍洒水湿润,铺上粘结砂浆,用木刮尺刮平砂浆层,厚5 m m左右。
铺找平层面粘结砂浆及铺水磨石板: 用铁板铺砂浆, 抹平, 厚度为3 - 4 m m,预铺砂浆长度为1 m,然后进行预制水磨石板试铺。镶贴饰面板时四角应同时往下落, 使其与砂浆平行接触、轻放。用橡皮锤轻敲, 随时用水平尺或直板尺找平。
凡有柱的大厅, 应先铺柱与柱之间的直线, 然后向两边镶贴。
校正水磨石板: 预制水磨石板铺好后用木锤轻击板面, 使之牢固粘结, 表面平整, 两块板之间的接缝对齐、平整, 尤其要注意板的“ 拼角” 要平、齐, 边用橡胶锤敲击边用水平尺检查。铺好一排后要拉通线检查是否直,如发现凹凸或曲缝, 要及时进行加浆、减浆和理缝。
养护和灌缝: 预制水磨石板铺砌1 - 2 昼夜后, 经检查表面无断裂、空鼓后用稀水泥浆( 水泥 : 细砂=1 : 1) 灌缝, 随时将溢出的水泥浆擦干净, 应先用水泥砂浆灌2 / 3 高度,余下的按要求的颜色水泥浆灌满并嵌擦密实,最后用干锯末把表面擦净, 嵌好缝后的第二天应立即铺上5 - 1 0 m m 的木屑浇水养护3 d。
镶贴踢脚板: 踢脚板施工前要认真清理墙面, 提前一天浇水湿润, 如设计要求在阴角处相交的踢脚板有割角时, 用无齿锯切成4 5 0。施工有粘贴法和灌浆法两种, 镶贴踢脚板时, 踢脚板立缝宜与地面磨石板缝对缝镶贴。
磨光抹蜡:在地面使用前扫除木屑,用磨石子机压麻袋布擦净表面灰尘污物,再稍打一遍蜡, 擦亮, 到出现反光为止。
4 . 1 . 1 3 . 3 . 3 地砖楼地面:
注意事项: 所有地砖施工前均采用电脑排砖, 按照设计要求选折排转尺寸并经设计、业主、监理单位后取得一致意见方可施工。材料的选折必须经过设计、业主、监理认可并经过试铺达到要求后方可大面积施工。清理基层并浇水湿润,在抹底层砂浆之前应于基层上刷一道水泥素浆; 找平层、防水层、找坡层等施工完毕,并经验收合格后,才能铺设地砖。防水层应做好隐检记录及闭水试验记录;
地砖应在埋地管安装完毕, 各专业检查无误后, 方可进行施工, 以免造成返工;
铺贴时, 应从里向外铺贴, 先小间房后公用部位; 铺贴时, 一个房间一次完成,不能分次铺贴; 铺贴完成后, 铺锯末浇水养护3 - 4 天, 养护期不得上人; 有泛水坡度房间, 坡高应符合设计及规范要求;
4 . 1 . 1 3 . 3 . 4 花岗岩地面施工:
工艺流程:
准备工作: 熟悉图纸: 以施工大样图和加工单为依据, 熟悉了解各部位尺寸和作法, 弄清洞口、边角等部位之间的关系。
基层处理: 清除地面垫层上障碍物, 浮灰清扫干净。
弹线:在房间的主要部位弹互相垂直的控制十字线,并依据墙面+ 5 0 0 m m 线,找出面层标高, 在墙上弹好水平线, 注意要与楼道面层标高一致。
试拼:在正式铺设前,对每一房间的花岗岩板块,按图案、颜色、纹理试拼,试拼后按两个方向编号排列, 然后按编号码放整齐。
刷水泥浆结合层: 洒水湿润基层, 然后刷1 0 8 胶素水泥浆一道。
铺砂浆: 根据水平线, 定找平层厚度, 拉十字控制线, 铺找平层水泥砂浆,找平层厚度宜高出大理石底面标高水平线3 - 4 m m 。
铺花岗岩石块:一般先由房间中部向两侧采取退步形铺砌, 板块在铺砌前应浸湿润, 阴干后备用。铺砌时, 要先进行试铺, 待合适后再将板揭起, 在找平层上均匀撒布一层干水泥面, 并洒水一遍, 同时在板背面洒水, 作正式铺砌。铺砌时, 板块要四角同时下落, 并用木锤或橡锤敲击平实, 注意随时找平找直。花岗岩石地面缝隙不得大于1 m m 。
灌浆擦缝: 在铺砌后1 - 2 昼夜进行灌浆擦缝。根据板块的颜色, 选择相同颜色矿物颜料和水泥拌和均匀调成1 : 1 稀水泥浆, 用浆壶徐徐灌入板块之间缝隙;
边灌边用橡皮锤轻轻敲击石板面使灌入水泥浆排气。要轻轻操作,防止碰撞和猛灌。灌浆1 - 2 h 后, 用同色水泥浆擦缝, 与板面擦平, 使缝隙密实、均匀、干净、颜色一致,同时将板面上的水泥浆擦干净。然后用干锯末覆盖保护,2 - 3 d 内禁止上人。
打蜡:当各工序完工不再上人时方可打蜡。用干净的布或麻丝沾稀糊状的成蜡涂在板块上, 涂敷应均匀。待第一遍完成后, 再进行第二遍打蜡, 要求光亮,颜色一致。
质量标准:
保证项目: 花岗岩的品种、规格、颜色、图案, 必须符合设什要求和有关标准规定。
花岗岩铺贴, 严禁空鼓, 必须牢固, 无歪斜、缺棱掉角和裂缝等缺陷。
一般项目: 表面: 平整洁净、颜色协调一致。
接缝: 填嵌密实、平直, 宽窄一致, 颜色一致, 非整板的使用部位适宜。
弹线 试拼 编号 刷水泥浆结合层
铺砂浆 铺花岗石块 灌缝、擦缝 打蜡
地漏坡度符合设计要求,不倒泛水、积水,与地漏结合处严密牢固,无渗漏。
允许偏差项目:
项目 | 允许偏差(mm) | 检验方法 |
表面平整度 | 0.5 | 用2m 靠尺和塞尺检查 |
缝格平直 | 1 | 拉5m 通线检查 |
接缝高低差 | 0.5 | 尺量和塞尺检查 |
板块间隙不大于 | 0.5 | 尺量检查 |
成品保护:
存放板块时一般采取板块立放、光面相对。板块的背面应支松木条, 板块下面垫木方, 木方与板块之间垫软胶皮。
试拼应在地面平整的房间内进行,调整板块的人员宜穿干净的软底鞋搬动和调整板块。
新铺砌的花岗岩板块的房间应临时封闭、粘贴层上强度后, 应在其表面加以覆盖保护, 上人行走的找平层砂浆强度不得低于1 . 2 M P a 。
4 . 1 . 1 3 . 4 门窗工程
4 . 1 . 1 3 . 4 . 1 木门安装工程
门框安装:
门框进场后首先检查是否翘曲变形,尺寸是否符合要求,与墙面接触处刷好防腐油, 然后垫平分类码放整齐, 码放位置必须干燥通风。
门框安装前核对洞口尺寸、位置、标高, 开启方向保证准确。
门框固定每边三点,上下距端部2 0 0 m m,居中一点。在结构墙上弹出中心线,固定点处
延长十字线打孔, 孔深适宜, 在孔内放入φ 8 内胀栓, 与门框螺丝拧紧, 内隔墙门口同外边平齐。
门框安装固定后, 检查垂直度、方正度是否符合要求, 如不符合要求, 立即修改调整。门框安装完毕后高度必须在同一水平线上。
门扇安装:
门扇进场后首先检查门扇的平整度、对角线是否符合要求, 确定门扇的开启方向、安装位置、五金零件型号。厂家如未刷底油及时补刷( 熟桐油)。
安装门扇之前检查门口的尺寸是否准确方正,宽度量门框的上、中、下三点,高度量框的两侧,并在扇的相应部位定点画线。第一次修刨后的门扇能塞入口内为宜。塞好后用木楔塞紧。临时固定按门扇与口边缝宽合适尺寸, 画第二次修刨表4 - 1 - 1 5线, 并标出合扇槽位置( 距门扇的上下端1 / 1 0, 避开上下帽头), 注意口与扇的平整度。
第二次修刨后安装合页,合页槽剔的不能过大、过深,安装时先拧一个螺丝,无问题后全部拧紧, 木螺丝应钉入全长的1 / 3 拧入2 / 3。并且与门框垂直。
安装对开扇时, 将门扇的宽度用尺量好, 再确定中间对口缝的裁口深度, 对口缝的裁口深度及裁口方向应满足装锁的要求, 然后将四周修刨到准确位置。
五金零件不得遗漏, 门锁、碰珠、拉手距地高度为9 5~ 1 0 0 c m, 插锁应在拉手下面。
4 . 1 . 1 3 . 4 . 2 铝合金门窗安装:
操作工艺:
防腐处理: 门窗框四周侧面防腐处理: 在门窗框四周侧面涂刷防腐沥青漆。连接铁件、固定件等安装用金属零件, 除不锈钢外, 均应进行防腐蚀处理。就位和临时固定: 根据门窗安装位置墨线, 将铝门窗装入洞口就位, 将木楔塞入门窗框与四周墙体间的安装缝隙, 调整好门窗框的水平、垂直、对角线长度等位置及形状偏差符合检评标准, 用木楔或其他器具临时固定。
门窗框与墙体的连接固定:
连接铁件与预埋件焊接固定: 适用于钢筋混凝士和砖墙结构。
连接铁件用紧固件固定, 射钉: 适用于钢筋混凝士结构。
特种钢钉(水泥钉): 适用于低标号混凝土和砖墙结构。
金属膨胀锚螺栓: 适用于混凝土结构。
不论采取哪种方法固定, 铁脚至窗角的距离不应大于1 8 0 m m, 铁脚间距不大于6 0 0 m m 。
门窗框与墙体安装缝隙的密封:
铝门窗安装固定后, 应先进行隐蔽工程验收, 检查合格后再进行窗框与墙体安装缝隙的密封处理。
门窗框与墙体安装缝隙的处理, 应填塞水泥砂浆。
安装五金配件齐全, 并保证其使用灵活。
安装门窗扇及门窗玻璃:
门窗扇及门窗装璃的安装应在洞口墙体表面装饰工程完工后进行。
平开门窗一般为框与扇构架组装上墙, 安装固定好之后安装玻璃, 先调整好框与扇的缝隙, 再将玻璃入扇调整, 最后镶嵌密封条和填嵌密封胶。
推拉门窗一般在门窗框安装固定好之后将配好玻璃的门窗扇整体安装, 即将玻璃门扇镶装密封完毕, 再入框安装, 调整好框与扇的缝隙。
质量标准:
主控项目: 铝合金门窗及其附件质量必须符合设计要求和有关标准的规定。
铝门窗的开启方向、安装位置必须符合设计要求。
门窗安装必须牢固, 防腐处理和预埋件的数量、位置、埋设连接方法等必须符合设计要求, 框与墙体安装缝隙填嵌饱满密实, 表面平整光滑无裂缝, 填塞材料及方法持合设计要求。并办理隐蔽记录。
一般项目:门窗附件齐全安装牢固,位置正确,灵活适用,达到各自的功能,端正美观。
门窗扇开启灵活, 关闭严密, 定位准确, 扇与框搭接量符合设计要求。门窗安装后表面洁净, 无明显划痕、碰伤及锈蚀。密封胶表面平整光滑, 厚度均匀。
所有的门窗安装的十字丝横平竖直, 同一方向标准。
所有的铝合金门窗施工前必须有检测报告、合格证, 检测报告中必须有气密性、水密性、抗风压变形、玻璃光学反射等性能的检测合格结果。
4 . 1 . 1 3 . 4 . 3 塑钢门窗安装:
门框安装:
塑钢门窗进场后,检查尺寸、对角线是否符合要求,包装严密无外露、划痕、变形、开焊现象, 垫平分类码放整齐, 严禁烟火。洞口清理干净, 无杂物。门窗安装: 窗洞口应以楼层整体垂线和水平线为标准, 弹线准确, 洞口四边弹中心控制线。
核对门窗框与洞口尺寸是否吻合: 固定点每边3 点( ≤ 2 0 0 0 m m ), 距上下口2 0 0 m m 处中间一点,墙上打眼用Ф 6×8 0 0 m m 胀管螺丝拧紧,下口采用固定片固定,Ф 3. 2 钻打孔, Ф 4×2 0 m m 自攻钉紧固或用射钉固定。
门扇安装:
窗扇搭接均匀, 推拉顺畅、灵活、开关力不大于5 0 N 。
密封严密, 关闭时窗框无明显间隙, 无扭曲变形现象。
排水孔畅通。
4 . 1 . 1 4 脚手架工程施工方案
4 . 1 . 1 4 . 1 工程概况
由于该工程主站房及西配楼的总高度不高于个别地的层高较高, 对混凝土结构层高最高为9 . 3 0 0 m。主站房总高为3 0 . 8 0 0 m ( 不含钢柱子), 所以在该工程中内外脚手架使用一般的钢管脚手架, 部分层高较低使用内脚手管。
主站房及西配楼由于各层楼层的层高不一样, 形成不了标准层的施工, 这样我单位原使用的标准主杆件,如果使用与其它钢管主管不方便,为考虑施工作业的快速方便, 层高超过3 m 使用各种长度型号的普通钢管, 对于一根立钢管不能满足高度要求的使用二根钢管使用方向扣件搭接, 这样大大加快工程施工进度,材料的投入较大。
在该工程中尤其为主站房结构跨度较大, 主梁及个别次梁的断面尺寸较大,此部分的钢筋混凝土荷载较大,对板立杆采用一般1 . 2 m × 1 . 2 m 的间距,对梁较大的地方立杆间距为0 . 6 m ×0. 6 m 以保证内脚手架立杆的强度要求。必要时在立杆与梁底横杆受力的交叉点再增加一个十字扣件,以保证因梁荷载过大, 导致扣件滑移( 扣件承受滑移荷载面≤ 6 0 0 K g/个, 此处钢管承载力不够而扣件滑移不能满足要求使用)。
对于施工现场搭设安全通道或其它特殊要求的地方, 跨度较大时不得使用单层钢管搭设, 必须上部横向钢管搭桁架式的密梁, 对两边的立杆搭4 根组成的横加立柱以提高钢管脚手架的刚度满足施工的质量要求,这种作业的方法由施工现场的具体情况具体灵活使用。
钢结构梁及钢柱脚手架: 施工时搭设满堂脚手架, 顺梁及钢柱轴线方向从上到下为空缺, 留有空缺主要用钢柱子及钢梁安装时应急使用,主站房北侧由于受到站台的影响, 1 号站台施工期不能停止使用以及其中设备难以进入主站房北侧1 号站台内,北侧大钢梁必要时利用脚手架吊装,具体立管的间距@ 3 0 0 m m 以保证脚手架有足够的强度满足钢结构的安装需要。
4 . 1 . 1 4 . 2 双排外脚手架主要构造及施工方法
4 . 1 . 1 4 . 2 . 1 双排脚手架的构造:
由于本建筑檐高为3 0 . 8 m, 考虑脚手架顶端伸出檐口1 . 5 m, 则脚手架的局部最高搭设高度为3 2 . 3 m 。
脚手架的搭设几何尺寸:
排距: 1 . 1 m ;
柱距: 1 . 5 m ;
步距: 1 . 8 m;( 主要步距为1 . 8 m, 由于层高变化较大, 步距赶不到楼层高度不利施工处单设一步不大于1 . 5 m 的步距。)
内立杆距墙3 5 0 m m 。
剪刀撑按6 0 0,间隔4 跨连续全高设置;横向支撑在脚手架拐角处,中间每隔6 跨设置, 设在有连墙件的跨, 且沿高度方向呈之字布置。
连墙件使用刚性连墙件, 水平距离为4 . 5 m, 垂直距离随楼层标高。在有外混凝土墙处利用大模板所留D N 4 0 穿墙螺栓孔,用连墙钢管和铁件焊接。框架部分在结构框架梁施工时按水平间距预埋钢管, 脚手架搭设到此位置时, 与预埋钢管相连接。
4 . 1 . 1 4 . 2 . 2 马道搭设:
马道坡度为1 : 3, 宽度不小于1 m, 马道脚手板应铺严, 上面铺设厚3 0 m m间距不大于3 0 0 m m 的防滑条,转弯处搭设休息平台,宽度不小于1 . 2 m,护栏高度1 . 2 m。马道设置在便于人员通行的脚手架外侧,用安全网封闭,外设踢脚板,通道两侧设置剪刀撑,进出口搭设防护棚,并悬挂标识牌。操作层满铺脚手板,操作层设两道护身栏, 护身栏高度不低于1 . 2 m , 并设1 8 0 m m 高挡脚板。
4 . 1 . 1 4 . 2 . 3 脚手架的搭设:
开始搭设立柱时, 应每隔6 跨设置一根抛撑, 直至连墙件安装稳定后, 方可据情况拆除。
4 . 1 . 1 4 . 3 施工注意事项:
4 . 1 . 1 4 . 3 . 1 材料要求
脚手架钢管采用焊接钢管, 规格为ф 483 . 5 m m。长度钢管两端应平整, 无裂纹, 锈蚀处钢管厚度不得小于3 m m, 钢管的弯曲偏差1 . 5 m 范围小于5 m m , 锈蚀或弯曲严重的钢管不得使用。所用钢管同为黄色。
扣件包括直角扣件、旋转扣件、对接扣件及其附件T 型螺栓、螺母、垫圈等。扣件及其附加应符合G B 9 7 8 - 6 7《可锻铁分类及技术条件》的规定,机械性能不低于K T 3 3 - 8 的可锻铸铁的制作性能, 其附件的制造材料应符合G B 7 0 0 - 7 9中A 3 钢的规定,螺纹应符合G B 1 9 6 - 8 1《普通螺纹》的规定,垫圈应符合G B 9 5 - 7 6《垫圈》的规定。扣件与钢管的贴合面必须严格整形, 保证钢管扣紧时接触良好, 扣件活动部位应能够灵活转动, 旋转扣件的旋转面间隙小于1 m m, 扣件表面应进行防锈处理。
木脚手板采用松木板, 厚度不小于5 0 m m , 宽度不小于2 0 0 m m , 不得使用开裂、腐朽脚手板。
安全网: 按照**市安全质量监督总站的有关规定, 本工程中的安全网采用密目式安全网。
脚手架所用安全网必须符合G B 1 6 9 0 9 - 1 9 9 7 国家标准, 并进行抽样检测。
4 . 1 . 1 4 . 3 . 2 搭设要求
立柱采用对接接头, 接头应交错布置, 相邻接头不得在同步、同跨内, 错开距离不得小于5 0 0 m m, 第一步用6 m 杆和3 m 杆错开。
平直部分的纵向水平横杆通长设置, 两根杆间采用搭接, 搭接长度不小于1 m, 并等距设置3 个旋转扣件固定。外排的纵向水平杆伸出立柱的长度统一为5 0 ~ 1 0 0 m m 。
横向水平杆在主节点处必须设置, 并采用直角扣件扣紧在纵向水平杆上,该杆中心线偏离主节点的距离不应大于1 5 0 m m。横向水平杆伸出架子外排的长度统一为6 c m。并应保证杆件伸出扣件边缘1 0 0 m m 。
剪刀撑设置时应沿全高连续设置, 剪刀撑采用搭接, 搭接长度不小于6 0 0 m m,并用不少于2 个的旋转扣件固定;剪刀撑用旋转扣件固定在与之相交的横向水平杆的伸出端或立柱上, 旋转扣件的中心线距主节点的距离不大于1 5 0 m m; 双管剪刀撑间固定立柱, 搭设高度同立柱。
横向支撑的斜杆在一步内, 由底层呈之字型连续布置, 采用旋转扣件固定在与之相交的横向水平杆的伸出端或立柱上。横向支撑每隔6 跨设置, 端部必须设置。连墙钢管与脚手架连接采用两个扣件与内外排立柱各扣一个, 并且连接点偏离主节点的距离不应大于3 0 0 mm。连墙件须从第一根纵向水平杆处设置。
脚手板在操作层满铺, 操作层以下, 每隔三层满铺一层。脚手板采用平铺搭设在横向水平杆上, 每块板至少三根横向水平杆, 其对接接头须满足如图4 - 1 - 3 2 要求。
安全网: 沿外架子内侧满挂密目安全网, 操作层下挂随层网, 每隔四层挂一道水平网, 安全网之间必须连接牢固, 并与架体固定。架子里口至结构外墙间水平网无法封闭处,铺设脚手板封挡。架子与结构外皮间不得有2 0 c m 以上的空隙。安全网用1 6 号铅丝绑牢固定在架子上。
搭设前要按要求放线、铺垫板, 并标定好立杆位置。
搭设时按定位一次竖起立杆, 将立杆与纵横向扫地杆连接固定, 然后再装第一步的纵向和横向水平杆, 随校正立杆垂直之后予以固定, 并按此要求继续向上搭设。
在设置第一排连墙件前应按连墙件水平距离设置抛撑。
剪刀撑、横向支撑等整体拉结杆件和连墙件应随搭升的架子一起及时设置。
脚手架处于顶层连墙件之上的自由高度不得大于6 m。
4 . 1 . 1 4 . 3 . 3 拆除要点
拆除前全面检查脚手架的扣件连接、连墙件、支撑体系等是否符合安全要求。
拆除前须对操作人进行交底。
清除脚手架上杂物及地面障碍物。
拆除顺序应逐层由上而下进行, 严禁上下同时作业。
所有连墙件应随脚手架逐层拆除, 严禁先将连墙件整层或数层拆除后再拆脚手架, 分段拆除高差不大于2 步。
4 . 1 . 1 4 . 3 . 4 安全事项及检查要点
本方案须报处审批后方可实施, 脚手架使用前须经项目部安质、技术、施工三方验收, 并上报上级施工技术部、安质部验收。
脚手架搭设前应对操作人员进行交底, 所用操作人员应有有效证件, 施工时应穿戴防滑鞋、手套并系上安全带。
脚手架搭设时应按下列阶段进行检查: 基础完工后及脚手架搭设前; 每搭完1 0 m 高度后; 操作层上施加荷载前; 达到设计高度后。
使用阶段对架子的检查: 在六级大风与大雨后; 停用超过一个月, 重新使用前。
检查项目: 各杆件安装, 连墙件、支撑设置, 门洞构造是否符合方案和交底要求; 地基是否积水, 立柱是否悬空; 扣件螺栓是否松动( 扣件螺栓的拧紧力矩值为4 0~ 65 N ·m, 用力矩扳手检查); 立柱垂直度是否满足要求( 立柱全高偏差± 1 0 0 m m)。纵向水平杆高差是否满足要求( 一根杆两端±2 0 m m ,同跨内、外纵向水平杆高差±1 0 m m );主节点处各扣件距主节点的距离,各杆件对接、搭接要求是否符合方案及交底要求; 操作层上的施工荷载是否符合要求( 小于2 7 0 k g / m 2), 使用或搭设中有无显著变形; 有无随意拆除架子构件, 挪、借作它用情况( 特别注意不得悬挂起重设备)。
检查人员:验收时由项目部安质、技术、施工三方验收, 日常检查主要由安全员负责。
使用时的注意事项: 架子上的施工荷载不得超过2 7 0 k g / m 2 , 不得集中多人搬运重物; 禁止重物撞击架体, 较重物体要轻放, 不得冲击架子; 架子上不得堆放零散物件, 以免坠物伤人; 使用中不得随意拆除架体杆件和连墙件; 不得在六级以上大风天、雷雨、雪天使用。
4 . 1 . 1 4 . 4 双排扣件式钢管脚手架设计验算内容及施工
本设计计算主要依据行业标准《建筑施工扣件式钢管脚手架安全技术规范》( J G J 1 3 0 — 2 0 0 1 、J 8 4 — 2 0 0 1 )和《建筑施工脚手架手册》( 中国建筑工业出版社)。
4 . 1 . 1 4 . 4 . 1 计算说明
本脚手架验算包括杆件验算、抗风荷载验算、稳定性验算三部分, 所采用的公式及验算步骤根据《建筑施工扣件式钢管脚手架安全技术规范》( J G J 1 3 0 —2 0 0 1 、J 8 4 — 2 0 0 1) 进行取用。有关构造参数如下:
搭设参数为:搭设高度3 0 . 8 0 m。立杆间距1 . 5 m,排距1 . 1 m,大横杆步距1 . 8 m,小横杆间距0 . 5 m, 距结构外边沿0 . 3 - 0 . 5 m 。
剪刀撑设在脚手架外侧,与地面夹角为6 0°,宽度6 m,沿脚手架全高连续设置; 横向支撑( 横向剪刀撑) 每隔1 5 m 沿脚手架全高设置一道。
脚手架连墙点采用刚性和柔性相结合连接, 连墙点横向间距三跨, 纵向间距二步。
4 . 1 . 1 4 . 4 . 2
脚手架验算内容:
杆件验算:
小横杆的抗弯、抗剪,
大横杆的抗弯、抗剪, 扣件抗滑承载离验算;
立杆的验算考虑风载组合;
通过以上各杆件的验算设计杆件的搭接尺寸并满足脚手架的搭设规范, 保证脚手架的安全。
4 . 1 . 1 4 . 5 脚手架安全防护装置
脚手架在施工楼面四周脚手跑道必须满铺钢笆片, 钢笆片用1 2 #铁丝同大横杆绑扎牢固, 脚手架内排立杆与墙面之间铺设通长安全隔离七夹板或安全网。
脚手架外侧满铺密目式防火安全网, 并在外立杆里侧设置1 . 2 m 高的防护栏杆。
脚手架在3 层搭设平架,平架应外高内低,与水平面成1 5°角,伸出外立杆2 . 5 m,斜杆与横杆均用Φ 48×3 . 5 钢管搭设,上铺密目式安全网,用1 6 号铁丝与横杆绑扎牢固。
脚手架防雷措施, 将建筑物上的避雷针引出与各段脚手架承载装置的四角焊接, 接地电阻不大于1 0 欧姆。
4 . 1 . 1 4 . 6 脚手架搭设的技术要求及允许偏差
表4 - 1 - 1 6
序 号 | 项目 | 技术要求 | 允许偏差(mm) | |
1 | 地基基础 | 表面 | 硬化地面 |
|
地基土质 | 符合技术要求 |
| ||
排水 | 不积水 |
| ||
垫板 | 不晃动 |
| ||
底座 | 不滑动下陷 |
| ||
2 | 立杆垂直度:Hmax>30m |
| Hmax≤50mm Hmax/400-600 | |
3 | 间距 | 步距偏差 |
| ±10mm |
柱距偏差 |
| ±30mm | ||
排距偏差 |
| ±10mm | ||
4 | 大横杆高差 | 杆 两 端 |
| ±10mm |
4 . 1 . 1 4 . 7 脚手架安装、拆除规定
4 . 1 . 1 4 . 7 . 1 一般规定
架子工必须具备国家标准《特种作业人员安全技术考核管理规则》的条件,经过培训、考核、取得安全操作证并经体检合格后方可从事脚手架安装、拆除作业。
脚手架安装前, 架子工应熟悉图纸, 熟悉现场具体情况, 了解技术交底意图和施工操作方法, 并将符合要求的钢管、扣件等材料运至现场, 分类存放, 搭设前清除障碍物, 搭设范围内基础土方必须分层夯实平整, 并作好排水沟。
脚手架拆除前, 脚手架上的材料、杂物等应清理干净, 拆除前下通知单, 架子工应了解拆除技术交底意图和操作方法,拆除范围内的护栏和警示牌应设置完备。
架子工作业时, 必须佩带好安全帽、系好安全带, 严禁穿高跟鞋、拖鞋或硬底带钉易滑鞋作业, 工具及零件应放在工具包内, 服从指挥, 集中思想、相互配合, 拆除下来的材料不乱抛、乱扔。脚手架作业下方不准站人, 架子工不准在脚手架上打闹、嬉笑。
凡遭遇六级以上大风或下雨天气时, 不得进行作业, 雨后作业应待脚手架上雨水吹干后进行, 防止滑落。
在靠近电源处拆除脚手架时, 必须将电源先切断或严密防护, 必要时变更位置后方可进行作业, 不允许将电源线拉在脚手架上, 以防止漏电伤人。
不在脚手架上附装机械设备,悬挑平台拉揽风绳及搭( 接)卸料槽( 斗)等。
4 . 1 . 1 4 . 7 . 2 搭设规定
搭设双排脚手架, 先立里排立杆, 后立外排立杆, 立杆的垂直偏差不得大于1 / 2 0 0 架高, 相邻两根立杆接头错开5 0 0 m m, 并不在同一步距内。大横杆架设在立杆内侧, 同一水平面的内外大横杆接头错开一跨距。大横杆水平偏差控制在5 0 m m 内。
小横杆垂直置于大横杆之下, 用扣件与立杆紧固连接, 小横杆伸出大横杆之外, 不应小于1 0 0 m m , 靠近一面, 距离1 0 0 - 1 5 0 m m , 小横杆应水平、不得内高外低。
剪刀撑的位置从脚手架两端开始连续设置, 竖向全高。剪刀撑的斜杆设在立杆的外侧, 与大横杆成4 5°- 6 0 °夹角。
为保证架子的稳定性, 搭设剪刀撑时, 将斜杆间隔的扣在立杆上和小横杆的伸出部分上。
用对接扣件连接大横杆时, 扣件的开口应朝向架子的内侧, 螺栓朝上、以防雨水进入。用十字扣件时, 开口不得朝下, 以确保安全, 在安装扣件时, 必须将
扣件放端正后再拧紧螺栓, 拧紧螺栓时, 用力要适当, 一般控制在4 0 - 5 0 n·m。
脚手架钢笆片在操作层上应满铺、铺稳, 两边用1 2 号铅丝绑扎在大横杆上,防止滑动, 严禁在护身杆外侧铺设站人钢笆片。
操作层脚手架设置栏杆与挡脚板,栏杆高度不低于1 . 2 m ,挡脚板用七合板制成, 高度不低于2 0 0 m m 。
搭设脚手架必须严格按照规范要求选用材料, 对于压扁、弯曲、锈蚀和有裂缝的钢管及不合格的构件, 严禁使用。
反拉钢丝绳要求保证通顺,不得因被其它钢管等部件阻挡,而形成折线形状,调节花篮螺栓, 使其松紧适度, 受力明确。
检查验收, 悬挑架安装完毕后, 要进行全面综合的检查验收、签证, 对所有节点还要进行复拧收紧, 扣件螺栓扭力矩不得小于4 0 n · m , 并不大于 6 5 n · m,及时用彩色粉笔做出标记, 确保一个不漏。
为了安全防火, 在每两层上人跑道及建筑物对角处, 各设置一个灭火器。
4 . 1 . 1 4 . 7 . 3 拆除规定:
拆除前, 通知有关协作部门进行全面检查, 要保证架体上的建筑物外装修饰面和吊顶全部施工完毕, 验收合格, 形成共识、会签拆除通知单后方可进行拆除作业。
再次全面检查架体上的扣件连接点, 根据检查结构, 对于后拆的松动杆件、扣件等进行加固, 以保证拆除过程中的安全。
清理架体上的杂物及多余的脚手板、钢管等建筑材料, 包括各种拆除下来的材料, 均集中在上料平台上及时用塔吊运送到制定地点, 严禁抛掷。
每拆除一步架后, 都要配合装修对, 割除凸出墙面的预埋铁件, 完善装修的未了事宜, 验收合格后, 方可进行下一道工序的拆除。
拆除脚手架安装先上后下的顺序进行, 即后安装的先拆, 先安装的后拆。
拆除脚手架, 有专人指挥, 上下呼应, 左右协作, 挡拧开与另一人有关的扣件时, 应提醒堆放。拆除下来的各部件应用滑轮或绳索运送到指定位置, 不得从高空向下抛掷。
脚手架拆除过程中, 不中途换人, 如必须换人, 则应该在安全技术交底中交代清楚。
4 . 1 . 1 4 . 8 脚手架的使用与保护
脚手架使用中必须经常检查, 清除架子上的杂物, 严禁在架子上堆积过多的施工材料, 或多人挤在一起, 以免架子发生超载, 造成事故。
脚手架上施工材料应随用随运, 施工荷载不得大于2 7 0 K N / m 2。使用的机具、材料等尽量放在脚手架里侧, 以减小倾覆力矩。
施工过程中, 派专人负责经常检查脚手架, 如发现连接部件有松动、位移等现象时, 应及时采取加固措施。
4 . 1 . 1 4 . 9 安全文明施工
对围护安全网、外挑安全网、外侧挡板和接地防雷等安全设施进行检查, 保证这些安全设施完整、牢固, 能正常发挥安全作用。
脚手架的开口、断口和出入口进行重点检查, 严格限制脚手架承载情况, 不得超过设计荷载。
挡板应每隔一步围护一圈, 放在围护密目网外侧, 刷红白油漆间距各6 0 0控制使用荷载, 确保足够的安全设备。严禁利用脚手架吊运重物、作业人员架子上攀登、推车在架子上跑动、在脚手架上拉接吊装缆绳、任意拆除脚手架部件和连墙附件。
六级以上大风、大雾、大雨暂停脚手架作业。
4 . 1 . 1 5 预留预埋工程施工方案
4 . 1 . 1 5 . 1 该工程主要为主站房、西配楼及地道,主要预埋预留的地方有:主站房的钢结构预埋件, 玻璃幕墙及铝塑墙板铁件预埋, 电梯及自动扶梯的预埋与预留, 门窗铁件以及水电管线管套设备等的预留与预埋。
4 . 1 . 1 5 . 2 由于该工程收现场场地的限制, ±0 . 0 0 0 m 以下及一层的预埋件均在场外进行加工, 需要预埋时当天运至工地预埋, 以减少现场的加工占用场地,确保施工工地做到文明化施工。
4 . 1 . 1 5 . 3 圆钢柱底埋入混凝土的详细做法见地下室工程施工方案中的钢柱底座预埋安装做法。
4 . 1 . 1 5 . 4 所有预留预埋在混凝土施工时必须派专人看护,混凝土灌注完凝固前及时对预埋部位进行检查校核, 如果有移位要及时修正, 以保证预留预埋的位置准确。
4 . 1 . 1 5 . 5 对地下室及水箱等部位具有防水作用的需做防水措施处理。预埋套管防水处理详见水电安装工程施工方案, 其余详见地下室工程施工方案。
4 . 1 . 1 5 . 6 玻璃幕墙及自动扶梯侧向预埋件在梁底模以及钢筋施工完成验收后, 再进行预埋件的预埋定位, 预埋件的定位严格按照施工图的标准及尺寸位置要求进行定位, 并使用其它铁件进行电弧焊加固, 在确定加固牢靠后可进行模板封闭工作的作业。
4 . 1 . 1 6 屋面工程施工方案
4 . 1 . 1 6 . 1 概述:
本工程主站房屋面钢结构屋面; 西配楼屋面做法分上人和不上人两种。上人屋面采用氯化聚乙烯橡胶共混卷材防水, 上铺地砖; 不上人屋面采用S B S 卷材防水, 上架空隔热板。
4 . 1 . 1 6 . 2 施工准备:
4 . 1 . 1 6 . 2 . 1 材料准备:
水泥珍珠岩块1 0 0 m m 厚,聚氨脂防水涂料;
氯化聚乙烯橡胶共混卷材;
聚乙烯薄膜; 氯丁沥青防水涂料;
S B S 改性沥青防水卷材, 架空隔热板。
4 . 1 . 1 6 . 2 . 2 机具准备:
找坡层和找平层施工时所必需的搅拌机、刮杠、抹子等小型工具以及手推车等, 防水卷材所用的喷灯、刀具、防火设备等。
4 . 1 . 1 6 . 2 . 3 作业条件:
四周墙上弹有水平标高控制线。
出屋面管道已施工完毕。
屋面钢结构已施工完毕并经验收合格。
屋面的各种架子已拆除, 且屋面清理干净。
施工现场的大气温度不宜低于5 0 C, 空气湿度宜小于8 5 %, 风力宜小于三级。
4 . 1 . 1 6 . 3 施工方案:
4 . 1 . 1 6 . 3 . 1 上人屋面施工
基层清理, 屋面施工前必须先将基层上的残余砂浆、灰尘、杂物清理干净,并浇水湿润。1 : 0 . 3 水泥砂浆找平,厚度2 0 m m ,在砂浆找平层上干铺1 0 0 m m 厚水泥珍珠岩板,铺设前提前在砂浆找平层上放好线,弹在找平层上,严格按照线铺设。
上铺设1:8 的水泥珍珠岩混凝土1 0 0 m m 厚按照2%找坡。在混凝土上做2 0 m m 厚的砂浆找平层, 要求表面抹平压光, 在女儿墙根部、管根的阴阳角处做成圆弧状,圆弧半径不小于5 0 m m,要求表面无裂缝、无空鼓、无起砂脱皮现象。待砂浆找平层基本干燥后,且含水率不大于8 %时开始做2 厚的聚氨脂防水涂料要求涂刷三遍,涂刷均匀不能漏刷, 尤其在女儿墙及管根部位要仔细涂刷, 待涂料干燥后即可铺设氯化聚乙烯橡胶共混卷材。
地砖保护层:上人屋面保护层为干硬性水泥砂浆铺设地砖,缝宽1 0 m m ,擦缝,铺设平稳, 砖缝填塞密实, 并在保护层上留设分格缝, 分格面积不大于1 0 0 ,缝宽2 0 m m 。
4 . 1 . 1 6 . 3 . 2 不上人屋面施工
基底清理、砂浆找平层及水泥珍珠岩找坡做法同上人屋面, 架空层做法: 架空板下用砼垫块垫稳、垫平, 板与女儿墙压顶边间距2 5 0 m m, 架空板用水泥砂浆卧在砼垫块上, 板缝用水泥砂浆填嵌密实, 铺设架空板时, 屋面上的落灰、杂物清理干净。
S B S 改性沥青卷材防水
作业条件
本屋面防水层采用S B S 改性沥青防水卷材与氯丁沥青防水涂料组合, 卷材厚≥ 3m m, 涂膜厚≥ 3 m m 。( 二布八涂)铺贴防水层的基层表面, 应将尘土、杂物彻底清除干净。
基层坡度应符合设计要求, 表面应顺平, 阴阳角处应做成圆弧形, 基层表面必须干燥, 含水率不大于9 %。
卷材及配套材料必须验收合格, 规格、技术性能必须符合设计要求 及标准
的规定, 存放易燃材料应避开火源。
操作工艺
工艺流程( 热熔法施工):
清理基层: 施工前将验收合格的基层表面尘土、杂物清理干净。
涂刷防水涂料: 将S B S 改性沥青防水涂料搅拌均匀, 用长把滚刷均匀涂刷于基层表面上, 干燥后开始铺贴卷材。
附加层施工: 在女儿墙、水落口、管根、檐口、阴阳角等细部先做附加层,附加的范围应符合设计和层面工程技术规范的规定。
铺贴卷材: 铺贴时随放卷材随用火焰喷射枪加热基层和卷材的交界处, 喷枪距加热面3 0 0 m m 左右, 经往返均匀加热, 趁卷材的材面刚刚熔化时, 将卷材向前滚铺、粘贴, 搭接部位应满粘牢固, 搭接宽度为8 0 m m 。
清理基层 涂刷S B S 改性沥青防水涂料
铺贴卷材附加层 热熔封边 蓄水试验 保护层
热熔封边: 将卷材搭接处用喷枪加热, 趁热使二者粘结牢固, 以边缘挤出沥青为度; 末端收头用密封膏嵌填严密。
质量要求
铺贴卷材防水层的基层, 泛水坡度应符合设计要求, 表面无起砂、空鼓, 且平整洁净, 无积水现象。阴阳角处应呈圆弧或钝角。
卷材防水层铺贴、搭接、收头应符合设计要求和屋面工程技术规范的规定,且粘结牢固、无空鼓、滑移、翘边、起泡、皱折、损伤等缺陷。
已铺贴好的卷材防水层, 应采取措施进行保护, 严禁在防水层上进行施工作业和运输, 并应及时做好防水层的保护层。
屋面不平整: 找平层不平顺, 造成积水, 施工时应找好线, 放好坡, 找平层施工中应拉线检查。做到坡度符合要求, 平整无积水。
空鼓: 铺贴卷材时基层不干燥, 铺贴不认真, 边角处易出现空鼓; 铺贴卷材应掌握基层含水率,不符合要求不能铺贴卷材,同时铺贴时应平、实,压边紧密、粘结牢固。
4 . 1 . 1 6 . 4 2 0 厚水泥砂浆结合层
防水卷材铺贴完毕, 经隐检、蓄水试验合格后, 上面做2 0 m m 厚水泥砂浆结合层, 在1 :3 水泥砂浆中掺水泥量1 5 %的界面剂。
水泥砂浆的配合比及质量必须符合设计要求及规范有关规定。
找平层应粘结牢固, 没有松动、起壳、翻砂等现象。施工中应拉线检查, 做到坡度符合要求, 平整无积水。
撒素水泥面( 洒适量清水)
砂浆结合层施工完毕, 应在其表面均匀撒一层素水泥面, 并洒适量清水, 但不可洒水过量。
施工时应采取必要保护措施, 以免破坏结合层的平整度。
4 . 1 . 1 6 . 5 质量保证措施:
防水找坡层施工时,严格按四周标高控制线拉通线向雨水口处找坡2 %,雨水口处5 0 0 m m 直径范围内找坡5 %。
为防止找平层开裂, 每66 m 设分隔缝, 缝宽为2 0 m m 。
防水基层必须清理干净、无杂物, 阴阳角、转角圆滑平顺。
防水材料储藏环境温度在1 5 0 C 以上,不得曝晒和雨淋,使用前包装不得有破损。
防水设备要做到施工前检修, 施工中检查, 施工后维修, 使设备保持良好工作状态。
4 . 1 . 1 6 . 6 屋面自防水措施
考虑的屋面防水的需要,屋面结构施工时应采取相应的措施,混凝土浇筑时应做到混凝土不漏振,并使用平板振捣器振捣,使用Φ 20 0 钢管混凝土碾压数遍以确保混凝土的密实性及混凝土结构的自防水性能.同时适时掌握结构混凝土面的收抹面工作,分别为初步抹平、初凝时抹平以及终凝时抹平三次。确保混凝土表面不产生裂缝, 避免结构收缩裂缝导致渗水。
4 . 1 . 1 6 . 7 质量标准
屋面工程所使用的各种材料( 包括防水材料, 找平层、隔热层、保护层等所使用的材料) 必须符合质量标准和设计要求。
屋面不得有渗漏和积水现象。检测方法为: 屋面防水层施工完后, 经持续淋水2 h 后检查屋面有无渗漏, 并在一个雨季后检查屋面有无渗漏。
屋面坡度必须准确, 排水系统通畅。
找平层坡度符合设计要求, 平整度不超过5 m m, 表面不得有疏松、起砂、起皮现象。
防水层的基层表面平整、牢固、洁净, 干燥, 无空鼓开裂现象, 阴阳角处圆滑顺直。
找坡的珍珠岩板的厚度不得小于3 0 m m。检验方法为: 用ф 1m m 钢针插入, 每1 0 0 m 2 检测5 处, 测量钢针的插入深度, 最薄处不小于3 0 m m 。
节点做法必须符合设计和施工规范要求。
防水保温层表面防紫外线辐射涂料保护层, 不应有漏喷、裂纹、皱褶、脱皮现象。
4 . 1 . 1 6 . 8 屋面防水的检验:由于主站房屋面为钢结构屋面,不宜做闭水试验,施工中做2 4 h 淋水试验检验屋面防水效果;西配楼屋面为钢筋混凝土结构,做4 8 h盛水试验,检查屋面是否渗漏,并经监理检验后方可进行下道工序施工。
4 . 1 . 1 6 . 9 屋面冷却塔基础的螺栓防水做法同楼板套管做法,混凝土采用自防水混凝土,另螺栓加设止水环。
4 . 1 . 1 7 钢管柱制作安装方案
4 . 1 . 1 7 . 1 工程概况
本工程钢管柱自2 轴至1 9 轴布置, 其中8 轴和1 5 轴伸缩缝处增设1 / 8 轴和2 / 1 4 轴为双柱设置。2 轴至1 9 轴的1 8 根柱子规格为Ф 1 2 0 0 m m ×30 mm, 钢管柱伸缩缝处1 / 8 轴和2 / 1 4 轴的2 根柱规格为 Ф 10 0 0 m m × 3 0 m m 钢管柱。钢柱的纵向布置在○D 轴附近0 . 3 5 0 m 标高呈1 5 0 0 m 半径的弧度布置, 钢柱在东西向与水平面垂直, 南北方向呈8 0 。倾角向北倾斜。2 至5 轴钢柱地下室的承台标高为- 4 . 7 0 0 m,6 - 8 轴钢柱承台按照地铁的施工确定,9 轴钢柱的承台标高为-0 . 7 5 0 m , 1 0 - 1 4 轴钢柱子的地下室承台标高为- 7 . 3 0 0 m , 1 5 轴至1 9 轴钢柱的承台标高为-0 . 7 5 0 m,钢柱承台的厚度均为3 m , 钢柱基础节埋入承台内2 . 4 0 0m, 有地下室基础节钢管柱在承台上1 . 3 0 0 m 标高处分段, 无地下室基础节钢管柱穿过第一层顶层混凝土楼板5 0 0 m m 标高处分段, 相临两段钢柱分段接头尽量不在同一楼层,钢管柱的分段一般不超过1 2 m ,钢管柱至最顶层混凝土楼面标高分别为2 3 . 1 0 0 m 、1 5 . 2 5 0 m 、1 3 . 1 5 0 m 和9 . 2 5 0 m , 钢管柱的柱顶标高为4 2 m。钢管柱的材料要求为: 钢管、承重销采用Q 2 3 5 - B · Z 钢材,混凝土采用C 3 5,其它钢配件均采用Q 2 3 5 - B·F 钢材,钢管混凝土柱的接头采用带衬板形式的全熔透等强对接焊, 焊缝质量等级为二级。
钢管柱主要尺寸结构一览表 表4 - 1 - 1 7
序 号 | 轴线 | 名 称 | 规 格 (mm×mm) | 柱 底 标 高 | 混凝土 顶板标高 | 主体结构 钢 柱 高 | 备 注 |
1 | 2 | 钢管柱 | Φ 1200×30 | -7.1m | 23.1m | 30.2m+1.5m | 有地 下室 |
2 | 3 | 钢管柱 | Φ 1200×30 | -7.1m | 23.1m | 30.2m+1.5m | 有地 下室 |
3 | 4 | 钢管柱 | Φ 1200×30 | -7.1m | 15.25m | 22.35m+1.5m | 有地 下室 |
4 | 5 | 钢管柱 | Φ 1200×30 | -7.1m | 15.25m | 22.35m+1.5m | 有地 下室 |
5 | 6 | 钢管柱 | Φ 1200×30 | 待地 铁定 | 15.25m | 15.25m+1.5m |
|
6 | 7 | 钢管柱 | Φ 1200×30 | 待地 铁定 | 15.25m | 15.25m+1.5m |
|
7 | 8 | 钢管柱 | Φ 1200×30 | 待地 铁定 | 9.75m | 9.75m+1.5m |
|
8 | 1/8 | 钢管柱 | Φ 1000×30 | 待地 铁定 | 9.75m | 9.75m+1.5m |
|
9 | 9 | 钢管柱 | Φ 1200×30 | -3.15m | 9.75m | 12.9m+1.5m |
|
10 | 10 | 钢管柱 | Φ 1200×30 | -9.7m | 13.15m | 22.85m+1.5m | 有地 下室 |
11 | 11 | 钢管柱 | Φ 1200×30 | -9.7m | 13.15m | 22.85m+1.5m | 有地 下室 |
12 | 12 | 钢管柱 | Φ 1200×30 | -9.7m | 13.15m | 22.85m+1.5m | 有地 下室 |
13 | 13 | 钢管柱 | Φ 1200×30 | -9.7m | 13.15m | 22.85m+1.5m | 有地 下室 |
14 | 14 | 钢管柱 | Φ 1200×30 | -9.7m | 9.25m | 22.85m+1.5m | 有地 下室 |
15 | 2/14 | 钢管柱 | Φ 1000×30 | -3.15m | 9.25m | 12.4m+1.5m | 有地 下室 |
16 | 15 | 钢管柱 | Φ 1200×30 | -3.15m | 9.25m | 12.4m+1.5m |
|
17 | 16 | 钢管柱 | Φ 1200×30 | -3.15m | 15.25m | 18.4m+1.5m |
|
18 | 17 | 钢管柱 | Φ 1200×30 | -3.15m | 15.25m | 18.4m+1.5m |
|
19 | 18 | 钢管柱 | Φ 1200×30 | -3.15m | 15.25m | 18.4m+1.5m |
|
20 | 19 | 钢管柱 | Φ 1200×30 | -3.15m | 15.25m | 18.4m+1.5m |
|
4 . 1 . 1 7 . 2 钢管柱的制作
4 . 1 . 1 7 . 2 . 1 钢管柱的制作工艺流程
4 . 1 . 1 7 . 2 . 2 钢管柱制作主要技术措施
钢管柱的分段: 根据设计图纸规定, 有地下室的钢管柱基础节在承台上1 . 3 0 0 m 处分段, 无地下室的钢管柱基础节在第一层间顶板上0 . 5 0 0 m 处分段,以上的标准节按照第一不长于1 2 m ,第二相临钢柱的分段不能在同一层间的原则, 根据起重设备的起重能力合理分段。钢结构制作的分段严格按照现场安装的分段要求。见主体钢管柱分节一览表4 - 1 - 1 8。具体分节见图4 - 1 - 3 3 。
土建主体钢管柱分节表( 根据图纸设计分段规定)
表4 - 1 - 1 8
序号 | 轴线 | 规格 | 基础节 | B 节柱 | C 节柱 | D 节柱 | ||||
长 度m | 重量t | 长度m | 重量t | 长度m | 重量t | 长度m | 重量t | |||
1 | 2 | Φ1200 ×30 | 3.7 | 5 | 11.05 | 9 | 8.1 | 7 | 8.85 | 7 |
2 | 3 | Φ1200 ×30 | 3.7 | 5 | 3.9 | 3 | 11.35 | 9 | 12.95 | 11 |
3 | 4 | Φ1200 ×30 | 3.7 | 5 | 9.3 | 8 | 10.85 | 9 |
|
|
4 | 5 | Φ1200 ×30 | 3.7 | 5 | 12.95 | 11 | 7 | 6 |
|
|
5 | 6 | Φ1200 ×30 | 地铁 | - | 9.25 | 8 | 7 | 6 |
|
|
6 | 7 | Φ1200 ×30 | 地铁 | - | 5 | 4 | 10.75 | 9 |
|
|
7 | 8 | Φ1200 ×30 | 地铁 | - | 9.25 | 8 |
|
|
|
|
8 | 1/8 | Φ 1000 ×30 | 地铁 | - | 9.25 | 8 |
|
|
|
|
9 | 9 | Φ 1200 ×30 | 12.95 | 11 |
|
|
|
|
|
|
10 | 10 | Φ 1200 ×30 | 3.7 | 5 | 6.5 | 6 | 10.3 | 9 | 6.9 | 6 |
11 | 11 | Φ 1200 ×30 | 3.7 | 5 | 10.3 | 9 | 10.3 | 9 |
|
|
12 | 12 | Φ 1200 ×30 | 3.7 | 5 | 6.5 | 6 | 10.3 | 9 | 6.9 | 6 |
13 | 13 | Φ 1200 ×30 | 3.7 | 5 | 10.3 | 9 | 10.3 | 9 |
|
|
14 | 14 | Φ 1200 ×30 | 3.7 | 5 | 6.5 | 6 | 10.3 | 9 |
|
|
15 | 2/14 | Φ 1000 ×30 | 12.95 | 20 |
|
|
|
|
|
|
16 | 15 | Φ 1200 ×30 | 3.7 | 6.25 | 8 |
|
|
|
| |
17 | 16 | Φ 1200 ×30 | 8.4 | 8 | 10.75 | 9 |
|
|
|
|
18 | 17 | Φ 1200 ×30 | 12.95 | 11 | 7.2 | 6 |
|
|
|
|
19 | 18 | Φ 1200 ×30 | 8.4 | 8 | 10.75 | 9 |
|
|
|
|
20 | 19 | Φ 1200 ×30 | 12.95 | 11 | 7.2 | 6 |
|
|
|
|
制作详图的绘制: 根据图纸的设计要求和安装现场的分段及安装工艺要求, 遵照国家和行业的有关钢结构施工的验收规范, 由钢结构技术设计部门绘制本工程钢管柱制作详图,报经设计院审核盖章后下发到钢结构生产班组,做为各工序作业的施工图纸依据。
钢管柱的制作工艺指导书的编制:由专业工厂工艺部门编制出钢管柱制作的工艺指导书,对于本工程的卷圆、装配、焊接、制孔工艺编制详尽的工艺文件,以便各工种各工序合理穿插作业,严格保证构件的制作精度和质量等级,并努力降低生产成本, 提高构件制作的生产效率。
本工程的钢材严格按照设计要求采购, 确保钢管、承重销的材质为Q 2 3 5 B·Z, 其它钢配件的材质不低于Q 2 3 5 B·F, 钢材采用国内大型钢厂的材料, 钢材的材质证明文件和钢材合格证资料齐全, 材料进场后按照每6 0 吨1组进行取样检验, 机械性能试验合格后方可进行下料加工工序。
钢材检验合格后, 对钢板表面变形超差材料, 吊入七辊平板机进行校平。
号料:对于钢管柱和承重销在平台上放出结构大样,做出样板,进行承重销上下翼板及腹板的划线。钢管柱的柱脚板和钢管的下料, 经过计算后直接划线号料。号料时对长大板料要考虑预留一定的加工余量( 其中含焊缝收缩量和接口加工量)。
下料:本工程钢板采用自动切割机气割下料,柱底板、柱顶板采用数控切割机进行圆弧下料。
对设计要求全熔透的焊缝和其它需要进行坡口焊接的构件,采用刨边机和坡口机进行坡口加工以保证焊缝质量。
卷圆:采用三辊滚圆机进行卷圆,卷圆前要测量钢板的尺寸和对角线尺寸正确, 钢板的坡口角度和方向无误, 钢板两端压弧完成, 钢板的板边与定位挡块贴合后进行滚弧, 滚弧时采用较小的压紧变形量反复多次的往复滚动使圆筒缓慢减型以保证结构的内应力释放均匀和卷制钢管的外形尺寸符合规范要求。钢板卷圆中用弧度样板进行检验, 样板应同圆管内径的同心圆, 检查成型部位与样板间距小于2 m m 。
钢管柱竖缝对接、环缝对接: 设计采用全熔透对接, 坡口角度3 5 0, 焊缝质量等级为二级检验。在钢管卷制检验合格后进行钢管焊接, 焊缝打底采用C O 2 气体保护焊机, 焊丝采用H 0 8 M n 2 G i A, 充填焊采用埋弧自动焊, 焊丝为H 0 8 A, 焊剂为H J 4 3 1。相临两圆管对接时要注意竖向焊缝交错1 8 00。
钢柱基础节的组装:钢柱钢管卷制焊接检验合格后,将钢柱筒体与柱底板进行组装, 将钢柱十字线及外轮廓线对准柱底板上的定位基准线, 检查筒体与柱底板的垂直度合格后进行定位点焊, 再完成加劲板在组装。
内衬管与承重销的组装焊接:本工程无地下室的钢管柱要求基础节要穿过第二层楼层标高, 制作中要根据梁的截面选取承重销的尺寸, 将内衬管装入钢管内,用8 M 1 2 螺栓固定,按照钢管柱的角度和承重销的安装位置精确放样后, 在钢管柱上设计安装位置划线用数控切割机开槽, 完成承重销与钢管柱的组装。
钢管柱与柱底板及承重销的焊接: 钢管柱与柱底板的焊接采用全熔透焊接, 加劲板采用角焊缝, 承重销的腹板与钢管柱为角焊缝, 翼板与钢管柱为全熔透焊接。焊接定位焊采用手工电弧焊, 焊条为E 4 3 0 1 、E 4 3 0 3 , 填充焊采用CO2 气体保护焊焊接, 焊丝采用H 0 8 M n 2 S i A 。
钢筋孔的加工:纵向梁横向梁与钢管柱的连接处,根据钢筋直径排数,在钢管柱壁上确定所开椭圆孔的位置, 开孔采用机械钻孔加模具割孔的制孔工艺,完成椭圆孔的加工。钻孔时为保证在任何弧面位置钻孔方向都平行轴线,采用钻孔工艺板平面保证;长孔的加工工艺采用3 0 m m 厚弧度钢板铣出模具孔。
将长孔模具临时固定在割孔位置, 用仿形切割机完成长孔的制孔。
圆管柱的端部铣平: 圆管柱焊接完成后, 将圆管柱的端部采用端铣机进行铣平加工, 使柱的端部与钢管柱的中心线互相垂直, 保证安装中两节柱的接口对接间隙一致, 提高安装和焊接质量。基础节栓钉的焊接: 在埋入承台的柱长的范围内,按间距1 0 0 m m 布设栓钉,根据设计确定的焊钉直径和长度,选用合理的焊接工艺参数, 采用栓钉焊机完成栓钉的焊接, 栓钉焊接完成后用锤击3 0 0 检验, 不合格者打掉重新焊接。
钢管柱制作的质量检验:钢管柱制作完成后由专职质量员进行质量检验,钢管柱制作的主要质量标准要求和检验方法见下表; 误差超过规范的钢管柱采用千斤顶进行校正。
钢管构件外形尺寸的允许偏差( mm) 表4 - 1 - 1 8
项目 | 允许偏差 | 检验方法 | 图例 |
直径 | ±d/500 ±5.0 | 用钢尺检查
| |
构件长度L | ±3.0 | ||
管口圆度 | d/500 且不大于5.0 | ||
管面对管 轴的垂直度 | d/500 且不大于3.0 | 用焊缝量规检查
| |
弯曲矢高
| L/1500 且不大于5.0 | 用拉线、吊线和 钢尺检查
| |
对口错边
| t/10 且不大于3.0
| 用拉线和钢尺检查
|
圆钢管柱钻孔工艺示意图椭圆孔割制模具示意图
成品钢管柱进行喷砂除锈处理, 喷砂等级S a 2 . 0 - 2 . 5 级, 表面达到无油污、锈、氧化层,露出金属表面,对钢柱的外表外露表面在除锈完毕后4小时内进行喷漆处理, 喷漆要求底漆为水熔性无机富锌底漆二度, 干膜厚度1 0 0μ m。环氧云铁中间漆和面漆待安装完成后喷涂。以钢管柱的端部铣平端面为基准,在钢管柱的柱脚板和钢管外壁复核定位中心基准线无误后,重新用样冲打洋冲眼和红油漆三角标示, 标高基准用鲜明油漆三角标示;以便现场安装测量。钢管柱成品检验合格后,将编号喷涂在柱体明显位置,码放在成品堆放场地, 按现场安装顺序准备运输进场。
4 . 1 . 1 7 . 3 钢管柱的安装
4 . 1 . 1 7 . 3 . 1 安装方案说明
经过综合分析本工程的结构特点、场地布置、进度安排及上部钢结构的施工和其他专业队伍配合, 对钢管柱的安装作业, 考虑采用布置两台行走式塔式起重机安装作业, 行走式塔式起重机起重性能为3 0 0 吨米, 臂长6 5 m, 最大起重量1 2 T , 分别设置在主站房南侧1 - 5 轴和1 5 - 2 0 轴的范围,地铁完成后,1 - 5 轴塔吊可延长至9 轴,在1 0 - 1 4 轴地下室内设置一台固定式塔式起重机, 起重性能为2 6 0 T·m, 臂长6 0 m , 最大起重量1 2 T 吨, 无地下室的1 5 - 1 9 轴钢柱, 分节长度较大, 15 轴基础节双柱最大重量2 0 T, 采用8 0 T 汽车吊直接吊装, 标准节钢管柱重量低于6 T 时, 由塔吊吊装就位,超过6 T 时, 塔吊不能满足吊装要求, 采用塔吊吊上楼层, 由轨道车运输到位, 采用1 5 m 高龙门架, 用卷扬机主吊, 塔吊配合, 安装人员在完成的混凝土楼板上作业,对特殊分节部位采用搭设脚手架平面方法进行安装作业,塔吊布置详见施工平面布置图。
4 . 1 . 1 7 . 3 . 2 安装主要工程量: 本工程钢管柱安装至顶层混凝土楼板以上1 . 5 m 处, 2 0 根钢柱垂直投影长度2 4 4 . 6 2 m, 总重量约2 8 0 T , 共计4 6 段。
4 . 1 . 1 7 . 3 . 3 钢管柱安装工艺流程
4 . 1 . 1 7 . 3 . 4 钢管柱安装方法
图4-1-38
基础底座制作安装:
为不影响承台穿筋浇注砼, 采用1 0 号槽钢材料, 制作中心6 0 0 高, 上斜面槽钢中心1 . 8 × 1 . 8 m 的基础底座, 根据钢管柱放线安装轴线, 用M 2 0膨胀螺栓固定在承台底板上。基础底座示意图如下:
基础底座安装: 将基础的轴线引放到底座上, 并用样冲打出标志, 测量底座8 个点的水平标高, 标高超差时, 采用在底座上加垫铁调整, 使标高误差符合+ 3 m m , - 5 m m 的公差要求。
钢管柱的进场检验: 安装前对钢管柱的编号、外形尺寸、吊耳、轴线和标高基准点标志进行复测检验, 对变形部位进行校正。
基础节钢管柱安装:
有地下室的基础节钢管柱, 柱高3 . 7 m, 重5 . 5 T, 采用3 绳3 点吊装,其中正对钢柱倾角侧1 绳为专用长吊索,使钢柱起吊后形成8 0 0 倾角,以便钢柱柱脚板与底座平稳就位。钢管柱就位时安装人员调整柱脚板的定位线与基础底座的轴线重合后,在底座上点焊钢板挡块,保证轴线的安装精度,并防止钢柱的滑移。
无地下室的钢管柱分节超过地上二层楼面,钢柱总长达1 2 . 9 m,重量达1 4 T, 2/ 1 4 和1 5 轴的基础柱连成一体, 总重达2 0 T, 采用8 0 T 汽车吊完成吊装。吊装绑扎方法同地下室基础节方法,不同的是就位后在吊耳下设置3道缆风绳与预埋在底板上的锚点固定,以防止构件倾倒和调整垂直度偏差。
基础节钢管柱的测量校正:
轴线测量校正, 复核定位轴线与底座基准轴线偏差, 用直尺测量底座的基准轴线与柱脚板侧面的中心线是否重合一致, 控制柱脚板中心对定位轴线的偏移量小于5 m m。调整方法: 吊机微微起吊用撬棍完成。
标高测量校正: 用水准仪测量钢柱上的标高基准点, 控制标高的偏差为+ 3 m m 、- 5 m m 范围, 标高超差调整方法, 采用千斤顶顶起柱脚板一侧, 加减钢板垫完成。
垂直度和倾角的测量校正:本工程的2 0 根钢柱,纵向除在D 轴附近呈半径为1 5 0 0 m 的弧形布置外,还均向北倾斜,与地面呈8 0 0 角。钢管柱的垂直度测量采用三台经纬仪进行, 全站仪在综合楼顶复测。南北向经纬仪以钢柱上下的轴线标志为基准进行测量, 东西向为两台经纬仪以钢柱上底端和顶端的中点为基准线进行测量, 全站仪进行复测, 见测量方案图。钢柱垂直度和倾角调整方法采用千斤顶进行调整。钢柱的垂直度偏差要求控制在H / 1 0 0 0 范围。
焊接固定并与避雷接地焊接:
钢柱的轴线、标高、垂直度测量校正完后, 将钢管柱的柱脚板与基础底座进行定位焊接,焊缝厚度不小于8 m m,保证在承台浇注砼时不会产生位移。避雷接地完成检查合格后, 钢柱的柱脚底用直径Ф 12 的钢筋与避雷接地连接, 焊接形成避雷网带。
标准节钢柱的安装:
在承台砼及内砼浇筑后, 安装标准柱。安装前清除接口表面的砼杂物和锈迹, 符合基础节柱顶的中心线和标高偏差, 以便节柱安装时进行反向偏差, 减少误差的积累。
重量在6 T 以下标准节钢管柱吊装
标准节钢管柱重量在6 T 以下的钢管柱采用塔吊吊装就位, 长度为7 m左右, 钢管柱绑扎采用3 绳3 点吊装, 其中一根绳为设计长绳, 挂在柱子北侧吊点, 卡环采用自卸活动卡环, 摘钩时在地面上的安装人员牵拉控制绳即可完成脱钩。吊耳下的三根缆风绳用2 个3 T 倒链与地下锚点连接,作为钢柱的临时固定设施。
重量6 T 以上钢管柱的吊装
本工程设计要求相邻的钢管柱分节要互相错开同一楼层,为满足这一设计条件,钢管柱的长度需要跨两个楼层,最大分节长度达到1 2 m,最大单体重量1 1 T, 塔吊起重半径约3 5 m, 塔吊起重力矩不能满足安装要求。对此,我们采用由塔吊将钢柱吊在铺设在楼层砼梁上的轨道车上运输到位, 以5 T卷扬机和简易起重龙门架为起重设施, 完成大重量圆管柱的吊装。起重架由4 根直径2 1 9 的钢管和I 2 8 号工字钢焊接而成,高度1 5 m,自重3 T, 由下部的工字钢梁将重力传到砼梁上。钢轨和轨道车南北向铺设在砼主梁上, 由塔吊完成龙门架和轨道运输的就位。
具体安装步骤是:
塔吊将龙门架吊放在底节钢柱的部位, 使龙门架钢梁在上节柱顶端正上方, 将5 T 卷扬机锚固在砼梁柱上, 完成吊钩2 轮3 绳的安装, 使起重量达到1 5 T 。
将2 根1 2 . 5 m 钢轨铺设在砼梁上,吊上轨道车,将钢柱吊在轨道车上,用人工撬动轨道车运输钢柱至安装位置。
将龙门架的吊钩吊起柱顶的3 根绳索, 将塔吊吊住柱底的1 根吊索。
开动卷扬机, 使钢管柱升起, 塔吊大臂变幅小车向前喂送, 直到龙门架将钢柱起吊, 超过下节柱顶接口。由塔吊在柱底的吊索完成钢柱的8 0 0倾角, 以便平稳就位。
由塔吊和卷扬机的缓慢下降, 对准上下柱的定位线后进行就位, 检查接口间隙均匀一致, 管壁错边合格后将3 根缆风绳将钢柱临时固定, 用连接板和上下柱耳板用螺栓临时固定。
将龙门架和塔吊摘钩, 将龙门架吊开, 以便进行测量和校正。
标准节钢管柱的测量校正
轴线及错边量的测量校正, 根据下节柱顶的轴线偏差值, 用上节柱垂直度向反向偏差来调整轴线偏差。对上节柱的错边量用直尺测量。错边量质量要求小于3 m m, 校正错边量用锤击钢楔完成, 见图4 - 1 - 4 5 :
标高测量校正: 用水准仪测量上节柱上的标高基准点, 控制标高偏差符合规范的范围, 对于标高偏差超限的钢柱, 采用千斤顶顶起上节柱来调整。见千斤顶校正标高示意图。
垂直度和倾角的测量校正方法同基础节, 不再赘述。
钢管柱的焊接:
焊接结构说明
本工程钢管柱焊接接口为横向环行焊接, 焊接缝结构型式下柱顶不开坡,上柱柱底开3 5 0 坡口,焊口内部加设衬管,采用坡口全熔透焊接。在工艺上为保证焊缝的焊接质量, 确保在板厚方向全部熔透, 采用上柱留有钝边b = 2 m m ,预留间隙Ó= 5 m m( 见焊缝型式图4 - 1 - 46)。焊缝焊接主要采用C O 2气体保护焊, 焊机采用Y M - 5 0 5, 焊丝采用H 0 8 M n Z S iA, 如遇大风天气, 改为手工电弧焊, 焊机采用交流电焊机A X - 5 0 0, 焊条采用E 4 3 0 1 , E 4 3 0 3 。
焊前准备工作:
焊接工艺评定:针对钢管柱的接口型式,根据《建筑钢结构焊接规程》第5 章“ 焊接工艺试验” 的具体规定, 组织进行焊接工艺评定, 确定最佳焊接工艺参数, 编制合理详细的工艺措施, 指导焊接工序施工。
焊接培训:组织参加本工程施工的焊工进行理论和实际操作技能培训,经考试合格, 取得合格证后的焊工才能进入现场焊接, 有《压力容器焊工合格证》或取得国际认证的焊工可直接进入施工现场施工。
焊接坡口检查处理: 检查坡口角度和间隙尺寸是否合格, 不合格用角磨砂轮机进行修整,焊接前将接头附近和内外侧表面2 0 m m 范围内,打磨至露出金属光泽。
检查焊条、焊丝的质量合格证, 将焊条、焊丝设置储存库房, 使用前进行3 5 0 - 4 0 0℃ 烘干, 烘干时间1 - 2 h, 焊工在保温筒内随用随取。
焊接工艺措施:
焊前对错口检查,如错口量大于3 m m ,应进行调整,对坡口表面用角向砂轮进行清理, 阴雨、潮湿天气对坡口进行火焰烘干处理。
定位点焊,点焊焊缝厚度为6 - 8 mm,焊缝长度6 0 m m。间距4 0 0 m m,点焊采用C O 2 焊接。
焊接时每柱由两名焊工在相对位置同时对称施焊, 采用相同的焊接工艺参数和焊接速度逆时针进行。如图4 - 1 - 4 7 所示
焊完一层后, 认真清除焊缝表面的飞溅和杂质, 第二层及以后各层均在离前一层起焊点3 0 - 5 0 m m 处起焊, 避免接头重叠。
为防止阴雨天气焊接影响焊接质量, 准备防风防雨设施。
焊接过程中, 组织跟踪监控, 观察钢柱的垂直度偏差和柱顶位移, 总结焊接变形规律及时调整顺序减少焊接变形。
钢管柱的探伤检验:
焊缝的外观检验: 焊缝表面形成良好、无焊瘤、夹渣和明显气孔、咬肉等焊接缺陷。
所有钢管柱对接焊缝焊缝质量等级为二级,进行按焊缝长度2 0 % 的探伤比例进行超声波探伤检验。
超声波探伤不合格的焊缝, 用碳弧气刨将焊缝刨开, 刨开的长度为缺陷长度两端处各加5 0 m m, 以与正式焊缝相同的焊接工艺补焊, 焊接后重新进行超声波探伤验收。
钢管柱的油漆:
主体下部的钢柱表面油漆设计未做要求,参照屋盖钢结构的设计要求,构件表面除锈等级为S a 2 - 2 . 5 级,除锈后首先刷无机富锌漆( 干膜厚度1 0 0μ m),再刷环氧云铁中间漆一道( 60μ m)面漆丙烯酸聚氨酯二道( 5 0μ m)。
钢管柱在工厂制作完成后进行喷砂除锈,防锈质量等级为S a 2 - 2 . 5 级,除锈后4 h 内进行无机富锌底漆的涂刷,涂膜厚度达到1 0 0μ m,焊缝接头处5 0 m m 宽, 用胶带纸保护, 避免喷涂底漆。
安装完成后, 用钢丝砂轮清除焊缝部位及其他损伤表面的锈污杂质,露出金属表面光泽后, 进行无机富锌底漆的补涂。
中间漆和面漆的施工, 环绕钢柱搭设脚手架作业操作平台, 油漆作业人员在脚手架平台上完成作业。
喷涂每一道油漆时, 要按照工艺要求的湿膜厚度进行喷涂, 同时用湿膜厚度仪测量, 以保证涂层干膜厚度和均匀性。
每道油漆喷涂完, 要对漆膜进行检查, 对喷涂流挂、漆膜厚度不均匀的部位进行修补。
所有构件表面油漆完成后, 必须对漆膜进行全面检查, 对缺陷部位按涂装工艺要求进行修复。
4 . 1 . 1 8 基本站台施工方案
4 . 1 . 1 8 . 1 基本站台概况: 基本站台从主站房E 轴至铁道站台边共计2 5 . 2m, 其中1 5 . 5 m 在主站房F 轴以内, 该站主要有电缆管沟、排水沟。铁道旁站台为钢筋混凝土挡墙, 主站房F 轴至站台边的范围的雨蓬、进站楼梯及出楼梯行包道、地道以及进站人行天桥。相应的精装修工程。
4 . 1 . 1 8 . 2 1 号站台施工前条件:人行进站天桥及台阶施工完毕,同时1 号站进出站临时人行通道桥施工已经结束,临时任性进出站的天桥的具体做法在1 号站台内紧挨主站房F 轴,此时F 轴的外墙装饰(玻璃幕墙)施工已经完成.人行临时天桥利用正式人行进站天桥台阶连接,临时人行天桥使用钢柱、钢梁板结构,不影响1 号基本站台的正常施工,待1 号基本站台的主体结构施工完成后,将临时人行天桥外露部分拆除,埋入部分作废,1 号基本站台的结构内。具体位置及做法详见图4 - 1 - 4 8 , 具体临时人行天桥进度计划详见施工总进度计划表。根据该工程施工组织的方案的原则, 工程只要有工作面有工作量就有工作人员作业的指导思想, 但同时考虑到基本站台的正常使用, 为尽量减少施工对车站客运影响, 施工中我们将会有部分施工时采取必要的措施。
4 . 1 . 1 8 . 3 主站房施工期间即主站房F 轴以内为正常的施工区域, 主站房F 轴以外至站台边为基本站台的正常使用区域,在基本站台的使用期间,我总承包单位将正常施工F 轴内的电缆沟以及出站地道及行包地道。其余所有主站房F 轴至站台边范围基本站台的工作量安排在2 0 0 4 年5 月1 0 日- 9 月3 0 日施工。
4 . 1 . 1 8 . 4 在基本站台正常使用期间我总承包单位只施工基本站台的人行出站地道、行包地道。出站楼梯及行包坡道暂不施工, 待站台具备条件封闭时施工。
4 . 1 . 1 8 . 5 站台出站地道及行包地道施工期间为保证站台的正常, 我方将在站台分两次对地道区域采取措施保证行人及行包车正常使用, 具体措
施为每开挖2 米利用站台地道两侧钻孔灌注混凝土桩, 满铺“ I 2 0 ” 字梁上铺钢走道板, 用于行包车辆及进出站人员通过。施工人员在走道以下对地道进行施工作业。
4 . 1 . 1 8 . 6 基本站台的施工待到车站内安排增加站台利用到发站台安排作业, 北侧增加对基本站台进行封闭的施工, 基本站台的封闭施工时日期
选在客运低潮期, 根据每年的客运期情况, 为避开“ 五一”、“ 十 一” 黄金旅游季。2 0 0 3 年正值主站房施工高峰。基本站台施工安排在2 0 0 4 年5 月- 9月施工,具体时间确定为2 0 0 4 年5 月1 2 日- 9 月2 8 日包括装饰工程全部完成。
4 . 1 . 1 8 . 7 基本站台的施工时间较长, 施工的项目较多, 有进站天桥、进出站楼梯、行包坡道、站台挡墙、站台雨蓬、排水沟以及地面精装修工程, 工程施工相互影响大, 到时我们将组织足够的劳动力以及足够施工经验的人组织施工。
4 . 1 . 1 8 . 8 基本站台挡墙施工, 当站台全封闭进行施工时, 首先进行基本站台挡墙施工, 基本站台挡墙为全钢筋混凝土挡墙, 施工中严格按照有关施工规范及设计要求进行施工, 因此为紧靠火车第一股道, 尺寸要求严格, 强度、稳定必须保证, 具体偏差必须在允许范围内, 基本站台施工期,火车道第一、二股道火车股道将停止使用,转到北侧安排增加的临时股道。
4 . 1 . 1 8 . 9 基本站台基本情况图如图4 - 1 - 4 9 :
4 . 1 . 1 9 进站高架车道的施工方案
该工程为**大车站站房工程, 在主站房的南侧有一高架二楼进站立交设施。南侧主站房A 轴的南侧有1 6 m, 9 轴至1 4 轴地下室, 在站房南侧有一大型地下停车库, 主要停放社会小型车及出租车, 具有车辆载人高进低出的特点。
该工程的地下室A 轴/ 9 - 1 4 轴南侧口外1 6 m 地下室为主站房蝶形花与地下车库的联接通道以及主要的出站口, 所有人行在一层进出站房, 该部分的工作在本次招标范围内。
4 . 1 . 1 9 . 1 该工程主站房地下室A 轴/ 9 - 1 4 轴现有建筑图无详细的结构图( 待中标后补)。此部分的施工与主站房有一沉降缝, 同主站房9 - 1 4 轴/ A - E 轴地下室同时施工, 做好沉降缝及防水的处理工作。
4 . 1 . 1 9 . 2 待地下室施工完成后即该部分地下室顶板封顶,剩余±0 . 0 0 0 m 以上的进站高架道待主站房的钢结构安装完以后开始进站高架车道±0 . 0 0 0 m 以上的施工工作, 具体施工工艺及施工方法与主站房的主体结构相同。具体施工工作时间详见施工总进度计划表。
4 . 1 . 1 9 . 3 ± 0 . 0 0 0 m 以上的高架进站车道晚施工主要考虑主站房为施工工期控制主干线以及玻璃幕墙外脚手架的影响,计划进站高架车道施工1 6 0 日历天。
4 . 1 . 1 9 . 4 考虑到主站房的施工期间站前地下车库也要进行施工, 即与主站房进行交叉作业, 如我施工单位中标我们将密切配合协调与市政地下室车库的施工工作, 保证车站与地下车库配套工程都能进行顺利施工。
出站地道为双向出口,地道洞身8 m,第一站台出入口4 . 0 m ,中间站台为3 . 2 m台阶式出入口。第一站台下设有出站大厅与地道主洞身相通的联系通道。行包房地道长9 7 m , 洞身5 . 2 m 。单向出入口, 出口净宽5 . 0 m 。出入口采用1 / 1 2 坡度。站台下设有行包库与地道主洞身相通的联系通道。洞身及出入口路面采用8 c m 厚C 2 5 耐磨混凝土。
地道施工工程由基坑防护、钢筋混凝土洞身、土石方开挖回填、防水、路面与装修分部工程组成。
工程地质情况: 表层为素填土、粘土加碎石, 其下依次为: 可塑性粉质粘土, 风化粉岩, 承载力f k = 2 0 0 K P a 。
4 . 2 . 2 编制依据:
* *站改造施工图
《铁路路基施工规范》( T B 1 0 0 1 - 9 9 )
《地下工程技术防水规范》( G B 5 0 1 0 8 - 2 0 0 1 )
《铁路桥涵工程质量检验评定标准》( T B J 2 0 3 - 9 6 )
《铁路轨道工程质量检验评定标准》
4 . 2 . 3 施工组织机构
此项工程有三个分部组成:线路施工班,桥涵施工班,土方施工班。
线路班: 负责施工线路加固,便梁拼装,线路安全防护及施工后的线路恢复工作。
土方班: 负责地道土方开挖,回填及外运,配合线路施工部进行线路加固同时配合桥涵施工部进行箱涵的施工。
桥涵班: 负责地道箱涵的钢筋、模板、混凝土、防水及路面装饰工程。
4 . 2 . 4 施工现场布置
4 . 2 . 4 . 1 施工便道(详见图2 - 1 )
4 . 2 . 4 . 2 临时用电(详见图3 - 3 )
4 . 2 . 4 . 3 临时用水(详见图3 - 4 )
4 . 2 . 4 . 4 施工平面布置图( 详见图4 - 2 - 8 )
4 . 2 . 5 施工进度计划( 详见图2 - 2 7 )
4 . 2 . 5 . 1 施工步骤:施工中出站地道采用便梁加固线路、边坡喷锚支护,线路以外部分出站及行包地道均采用挖孔桩支护垂直开挖。
4 . 2 . 5 . 2 工期安排
工期: 23 0 日历天
表4 - 2 – 1
工作名称 | 时间安排 |
扣轨加固路线 | 2003 年2 月10 日-2003 年3 月22 日 |
挖孔桩 | 2003 年3 月20 日-2003 年4 月20 日 |
架设便梁 | 2003 年4 月12 日-2003 年5 月12 日 |
边坡支护 | 2003 年5 月8 日-2003 年5 月26 日 |
基坑开挖 | 2003 年5 月27 日-2003 年6 月27 日 |
洞身施工(防水) | 2003 年6 月28 日-2003 年8 月10 日 |
路面及装修工程 | 2003 年8 月13 日-2003 年9 月13 日 |
拆除便梁 | 2003 年9 月13 日-2003 年9 月28 日 |
4 . 2 . 6 资源计划
根据工程特点及要求,项目部施工人员组成如下:
表4 - 2 – 2
部门 | 施工项目 | 人员 | 备注 |
土方班 |
| 27 |
|
线路班 | 防护 | 11 | |
便梁施工 | 20 | ||
挖孔桩 | 10 | ||
桥涵班 | 钢筋 | 10 | |
模板 | 12 | ||
混凝土 | 10 | ||
防水 | 6 | ||
合计 | 106 |
主要施工机械表
表4 - 2 – 3
名称 | 型号 | 单位 | 数量 | 备注 |
挖掘机 | 1m 3 | 台 | 2 |
|
装载机 | ZL-30 | 台 | 1 |
|
ZL-40 | 台 | 1 |
| |
自卸汽车 | 10T | 辆 | 20 |
|
汽车吊 | 25T | 辆 | 1 |
|
木工圆锯 |
| 台 | 1 |
|
钢筋加工机械 |
| 套 | 1 |
|
潜水泵 |
| 台 | 8 |
|
便梁 | D24 | 孔 | 7 |
|
插入式振动器 |
| 只 | 10 |
|
交流电焊机 |
| 台 | 2 |
|
直流电焊机 | 400A | 台 | 2 |
|
4 . 2 . 7 施工方案
本工程横向穿越七股道, 开挖较深、跨度较大, 因此采用人工挖孔桩做便梁支墩,同时在便梁加固外侧使用扣轨( 抬轨梁)对外侧进行加固。洞身施工采用明挖基础施工,本工程关键工序为D 2 4 型施工便梁的施工。具体施工顺序
如图4 - 2 -1: 图4 - 2 – 1
4 . 2 . 8 测量放线
中线贯通和控制桩加密行包房地道和出站口地道由设计现场交桩后,先检算桩点位,再进行现场复测,全线贯通,其误差如超过规范允许值时,及时联系设计单位处理。
如所提供的已知点密度难以满足施工需要时,需加密控制桩。加密点应先在图上选择,然后到现场勘察实际情况,选择安全处用混凝土埋设加密点。
控制测量仪器采用全站仪,配以普通经纬仪作局部施工测量和定桩位,放样测量时应与前后施工桩位核对,避免发生错误。
使用自动安平水准仪进行水准测量,设置临时水准点时,要做到往返闭合,并经监理认可后方可使用。
对设计提供的水准点和临时水准点做到定期复测,以防意外。
现场施工测量较频繁,要认真研究图纸杜绝粗心大意,对每道工序进行自检,重要部位进行复测,避免差错。
测量仪器因其使用频繁,除相关仪器按规定进行鉴定外,平时应加强对仪器的效验,以避免因仪器的原因而产生偏差。
4 . 2 . 9 井点降水
4 . 2 . 9 . 1 施工采取冲沉法:即用高压水枪冲孔下管,具体施工工艺如下如下:
冲点准备:
定位:吊起冲水管,对准点位,垂直插入预先已经挖好的井点小坑。
试水:使用0 . 5 - 1 . 0 M p a 的高压水,开泵,压入冲水管,喷嘴出水。
冲孔:边冲孔边抽拔,旋转, 摇晃,边保持冲水管垂直,调整水压和沉管速度保证冲孔直径.冲水压力从0 . 2 M p a 开始,逐步生压。
冲孔到位:冲孔到设计管底5 0 c m 以上, 停止沉管,固定片刻,把底步泥浆随水冲走。
停冲拔管,下管:切断水源,迅速拔管,立即将井点管对准孔位垂直插入,当井点管上端达到设计标高,立即固定并把井点管上顶封堵。
填滤料:将合格的滤料(粗砂,沙砾,小豆石等按土层具体配置)在井点四周均匀灌入。
甩“ 小辫子” :将透明弯管接到井点管上,严密牢固,甩向集水干管连接点方向,并临时封口。
完成一组冲点后,安装集水干管与连接管接头及闸阀,经单井试抽,校定,参加机组和整组井点系统的运行。
场地平整 井点放线 组装 挖冲点沟 测放点位
4 . 2 . 9 . 2 全套井点系统要保证无渗水漏水跑气现象。机组运行稳定,真空度达
到要求,工作水压力要达到规定要求,每根井点管都要出清水。
4 . 2 . 9 . 3 依据地质报告井点降水滤水管设置透水较好的粉质土层中, 在降水
范围内设置水位观测井,每根井点管的出水情况要随时记录。依据观测记录绘制
出水位降落曲线及动态变化情况。同时在井点设备运转正常后、应连续抽水,出
水口设在降水范围以外。
4 . 2 . 9 . 4 轻型井点降水如图4 - 2 - 2 所示, 井管间距1 . 2 - 1 . 6 m ; 采用设备由井管、连接管、集水管、抽水管组成。
4 . 2 . 9 . 5 如采用喷射井点降水,依据现场实际情况及开挖深度,作单排或环状布置, 井管距坑壁大于1 . 2 m, 间距设为3 . 2 m, 平面布置图4 - 2 - 3 如下:
1、喷射管 2、基坑 3、进水管 4、出水管
5、高压水泵 6、集水池 7、水泵
4 . 2 . 9 . 6 回填和拔管:厢涵结构施工隐蔽验收后,抓紧回填夯实.当回填土进行到稳定水位以上时,即可停止抽水,继续回填拔除井点管。
4 . 2 . 1 0 人工挖孔桩施工
4 . 2 . 1 0 . 1 挖孔桩工艺流程
4 . 2 . 1 0 . 2 施工工艺要求:施工中采用人工从上至下逐层用镐、铰锹进行挖土,挖土顺序为先中间后周边。开挖中应随时检查孔中心位置和孔径护壁钢筋绑扎, 支定型模板, 浇筑砼, 应循环反复作业, 直至设计要求深度。每灌筑三节护壁, 应复核中心位置及垂直度一次。
扩底部分采用先开挖桩深圆柱体, 再按扩底尺寸从上到下削力修成扩底型,弃土用电动井架提升至井口, 人工推车倒至临时堆土点。
护壁模板采用加工好的定型钢模,根据本工程设计分为三块,安装时用v 型扣件连接、固定。
安装前涂脱模剂拼装中留一道接缝夹一根钢管,以便拆模,护壁砼利用吊桶下吊, 人工捣实, 分层浇筑厚度为1 0 0 - 2 0 0 m m , 在砼终凝后强度达到1 M p a 以上时才能拆摸。
桩身砼浇筑采用泵送砼,泵管接至井口,在桩孔内安置串筒,保证砼自由落体小于2 m。串筒4 m 用在桩孔内钢筋支架固定,挖孔机提升机架升降,浇注等应将底部清理并排水。
4 . 2 . 1 0 . 3 明确施工图纸,依据轨顶标高控制桩顶标高,因距线路较近,挖孔桩桩位应严格定位要求准确无误。
4 . 2 . 1 0 . 4 桩基施工中,钢筋采用分段制作,电焊连接,施工中采用机械吊起搬运, 防止扭曲, 安装时对正吊直, 缓缓下沉, 避免碰撞。
4 . 2 . 1 0 . 5 施工中加强护壁,防止塌落,护壁应快速施工。施工断面见图4 - 2 - 4:
4 . 2 . 1 0 . 6 因挖孔桩距线路较近, 为不影响行车安全同时保证施工的正常进行, 在施工中我施工部除在挖孔桩开挖范围1 0 m 内进行扣轨线路加固外, 再开挖的挖孔桩四周设防护墙, 并派专人安全防护。
4 . 2 . 1 0 . 7 依据铁路建筑物限界的要求, 首先确定防护墙的范围。在确定好的范围内加设防护墙。
4 . 2 . 1 0 . 8 防护墙采用钢管支架, 用扣件相连, 下部压入土中, 压入深度不小于总长的三分之一, 之后用彩钢瓦在内测绑扎牢固。
4 . 2 . 1 0 . 9 在施工线路间挖孔桩中, 钢筋混凝土井圈必须加高, 井圈四周必须清理干净。
4 . 2 . 1 0 . 1 0 施工中派专职线路安全员,2 4 h 跟班作业并如实做行车记录。对挖孔桩防护范围内的路基随时监控。发现影响行车安全的因素立即处理妥善后方可进行后续工程的施工。
4 . 2 . 1 0 . 1 1 在挖孔桩开挖过程中,派驻站联络员。随时了解列车进站情况。并使用对讲机通知施工人员。使作业人员加强作业安全, 防止因列车震动导致泥石滚落伤人。
4 . 2 . 1 0 . 1 2 挖孔桩泥土运输采用挖土、出土、运土双作业面施工( 出土方向见图示)。出土有专人运至临时小型堆场,再由专人随时不停的运出施工现场。运土人员应做到得到联络员无车通过时再使用推车运送出场。
4 . 2 . 1 0 . 1 3 挖孔桩施工中,对施工卷扬机、钢丝绳、滑轮等机械应随时检验,井上下的施工人员应有联络器材。
4 . 2 . 1 0 . 1 4 本工程挖孔桩距离线路较近,施工中应随时检查线路加固是否移位.同时移动提升架时应做到先观查再施工。
线路间挖孔桩施工防护图4 - 2 - 5 、图4 - 2 - 6 :
4 . 2 . 1 1 便梁架设及边坡喷锚支护
在D 2 4 便梁施工的同时,施工两侧各1 0 m 的扣轨工程,架设时整个线路的轨距、水平、顺直情况应由专人日夜检查, 对便梁施工工艺具体要求如下:
4 . 2 . 1 1 . 1 挖孔桩施工完毕后, 在顶部铺设垫木、垫木采用2 0 0 m m 厚枕木,以预埋螺栓固定。
4 . 2 . 1 1 . 2 施工前按设计要求对所施工的地点,时间,范围,预先申请铁路施工作业点,清除施工范围内的地下管线,布置防护显示牌,确定卸便梁位置,保护好铁路设施,清楚维护范围。
4 . 2 . 1 1 . 3 对未进厂的施工便梁进行安全,质量验收,配件数量核定,防止材质不符合安全要求,配件有无遗缺和不相吻合。
4 . 2 . 1 1 . 4 在架设便梁前,要与线路管辖单位联系,在划定的施工范围内,把一切事情讲清,交接清楚后方可进行便梁的施工。
4 . 2 . 1 1 . 5 顶便梁时,每侧安排一名吊装工进行监护,螺旋顶端要用木板或其他物件垫上,防止滑移。螺旋顶要搁置在坚固垂直平稳的物体的中心。在两端起落时不宜同时,防止颠覆,在落顶时便梁底下不准施工人员穿行,起落时应随垫随起落。
4 . 2 . 1 1 . 6 两片未拼装前,搁置的便梁不得侵入铁路界限,单片便梁要用支撑加固好,高架的枕木墩要达到承重的强度,稳定实用。
4 . 2 . 1 1 . 7 便梁卸车应按时间进场,卸梁位置确定.预先对使用工具,人员,安全防护人员布置好,确保卸梁时安全、正点、到位。
4 . 2 . 1 1 . 8 施工中首先应在在钢轨上标出便梁钢轨位置,按此调出原轨枕,然后进行抽换枕木,抽换枕按工务要求” 六抽一” 原则进行,并从两端向中心抽换,每次抽枕木,换钢枕时,不应连续抽两根以上的枕木,不得用起道机强行抽枕,防止列车脱轨或超长钢轨移位。对已安放到位的钢轨,要用道渣或木板垫实,固定好,防止钢轨承重沉降不均或两轨连接互通信号。
4 . 2 . 1 1 . 9 便梁拼装要按程序施工,每跟钢轨与便梁连接,应在每根两端都用拼装螺杆紧固后,方可在连续拼装以下钢轨,不可单侧便梁拼装螺杆,防止两根
钢轨脱离沉降不均,造成列车倾向一侧。
4 . 2 . 1 1 . 1 0 每根安放的钢轨,在安放时要用绝缘材料垫钢轨一根底部进行防护,被搁置到位的钢轨在垫实时,使用橡胶垫,并保证不宜脱落。
4 . 2 . 1 1 . 1 1 线路在架设便梁后,再规定范围内要确保线路水平方向不得出现三角坑,轨距误差控制在- 3 m m , + 5 m m 之间.钢轨连接板不得少于四根螺杆并且每根螺杆要拧紧。
4 . 2 . 1 1 . 1 2 挖孔桩支墩四周要挖排水沟,排水畅通。
4 . 2 . 1 1 . 1 3 在线路上作业时,必须在线路安全员带领下作业,一切使用的工具应放在界限外,不准侵入铁路安全范围内。
4 . 2 . 1 1 . 1 4 施工中配备一定的抢险用品,包括:草包、水泵、道渣、枕木、木板等,规定抢险人员积极配合,不讲条件,确保铁路畅通。
4 . 2 . 1 1 . 1 5 安装D 2 4 施工便梁,拼装中在加固线路轨枕间视现场实际情况加塞枕木、拼装完毕后便用道钉将D 2 4 施工便梁固定于垫木上。
4 . 2 . 1 1 . 1 6 依据设计本线路加固限速6 0 K m / h ,因此施工便梁架设后,在加固以外左右各1 0 m 进行扣轨加固线路, 扣轨一端支点于挖孔桩, 另一端以枕木垛为支点做线路方向扣轨加固, 扣轨使用三束轨相连扣轨。(详见附图4 - 2 - 9 )
4 . 2 . 1 1 . 1 7 地道站台出入口施工中采用放坡开挖,并在便梁加固范围以外各5 m 外采用1: 0 . 5 放坡加喷锚支护进行开挖。
4 . 2 . 1 1 . 1 8 锚杆插入后,在边坡上进行细石砼进行喷浆防护。喷护时要求喷护均匀, 分层施工。
4 . 2 . 1 1 . 1 9 施工中注意事项
各种螺栓、螺帽、胶垫是否跑动, 特别在钢轨接头外更应加强检查。
因轨道电路的原因, 撬棍、扳手要有绝缘措施。
随时检查各孔便梁是否横向移动, 横向加设支撑木是否牢固。
4 . 2 . 1 1 . 2 0 便梁架设的同时进行临时人行道施工,施工工序依次为先施工挖土桩, 再搭设[ 4 0 b 型I 字钢, 铺设纵向槽钢及人行道板, 之后进行土方开挖,开挖中有挖孔桩的位置垂直开挖, 不设喷锚支护。
4 . 2 . 1 2 [ 4 0 b 圈梁及ф 3 0 0 m m 钢管支撑安装。
4 . 2 . 1 2 . 1 基本站下洞身基坑及行包房地道,采用垂直开挖 ,人工挖孔桩围护。视现场实际情况采用坑内井点降水。
4 . 2 . 1 2 . 2 人工挖孔桩施工完毕后,
进行的工序进行施工。
施工中首先开挖上层基础至第一层支撑标高时, 进行[ 4 0 b 圈梁及ф 3 0 0 钢管支撑安装, 并设置防滑栓。
4 . 2 . 1 2 . 3 第一层支护结束后进行下层基础开挖,并设置第二层圈梁及支撑,同时机械配合人工进行基底清理, 达到设计要求, 进行下道工序的施工。
4 . 2 . 1 2 . 4 在行包房地道施工中为保证不中断交通的情况下确保工期的目标.在行人通道的位置在防护桩顶铺设工字钢并在工字钢顶部加铺钢板,以保证道路畅通( 详见图4 - 2 - 7 )。因此,在防护桩施工中,桩顶预埋φ 20 m m 的钢筋以保证铺设的工字钢稳定不位移。
人行通道口防护及通道加固图
4 . 2 . 1 2 . 5 出站地道施工时,定对二、三站台产生影响,为方便旅客上下车,对地道穿站台处进行防护加固, 详见出站地道施工人行道施工图4 - 2 - 8 。
4 . 2 . 1 3 基坑开挖
4 . 2 . 1 3 . 1 土方开挖采用机械配合人工进行。械视现场情况采用中小型挖掘机,装载机配合,小型自卸汽车运输。土时机械挖土控制在基底标高上2 0 c m,再用人工开挖,修整基槽,如发现超挖,必须进行处理,严禁用土回填。
4 . 2 . 1 3 . 2 基坑开挖土方要按程序进行施工,基坑的坡度,深度按技术要求进行,在挖土方时,不准超挖,列车通过时,不准挖掘,人员要撤离基坑边约两米左右,防止土方震动滚落伤人。
4 . 2 . 1 3 . 3 开挖的基坑在进行人工清底时,在基坑四周开挖排水沟,排水沟宽3 0 c m,深3 0 c m,每隔3 0 m 左右设集水井一口,井内设潜水泵排水,地面设截水沟,防止地表水流入基坑内。
4 . 2 . 1 4 洞身施工
洞身施工中侧墙应与顶板及底板结合施工, 横向施工缝留在底板上5 0 0 m m处, 施工中采用侧— 底浇注, 侧— 顶浇注, 避免竖向施工缝出现。封闭端板施工中,与其连接的顶底及侧墙应须留防水槽,对于房建及水电有关设计有预留空洞的要求位置, 施工中进行预留, 并严格保证位置的正确。洞身施工前,对雨棚柱及天桥柱的位置明确,并在其施工完毕后再施工完毕后再施工洞身, 同时地道对应的钢筋应截断。
4 . 2 . 1 4 . 1 钢筋施工
遵照设计图纸要求,购置进场的钢筋必须符合技术标准,而切要对配置的钢筋作好抽样检验,对进场的原材料要划区域分类垫高堆放,防止污蚀。
钢筋工在配筋前要熟读图纸,对整个钢筋的布置,要求,规格,作大体归类,结合施工方案程序,安排人员进行配置。
对以配置的钢筋要按部位,数量,顺序进行挂牌堆放,以免搞错影响进度。
环箍绑扎道道扎牢,拉钩绑扎在同一截面,主筋与环箍角部交叉点全部绑扎,其与间隔成梅花试绑扎。
钢筋支架采用角钢支架,水平间距小于2 m ,支架之间加设角钢水平连续杆及钢筋剪力撑,形成稳固的整体。
钢筋排距,再上层两排钢筋内放入不小于同规格的纵向钢筋直径的短钢筋搁铁隔开,搁铁1 5 0 c m 一挡,最小直径不小于2 5 m m 。
采用同标号混凝土垫块控制钢筋保护层。
对钢筋进行配置、弯曲、碰焊、搭接焊、捆绑、设置、间距等要求应严格按钢筋施工技术规范进行施工。
现场施工人员严禁在已绑扎好的钢筋 成品上行走、践踏防止在混凝土浇筑前污蚀或使钢筋移位。
钢筋施工中,采用闪光对焊接头时,应符合再同等条件下,完成并经过外观检查合格的接头,以2 0 0 个为一批,从中取六个试件,三个做拉力实验,三个做冷弯实验,进行质量检验。
用电弧搭接焊,帮条焊的接头,经外观检查合格后,应取样进行拉伸实验,并应符合再同等条件下的焊接接头,以2 0 0 个为一批,取三个做拉伸实验。
预埋钢筋应按图纸尺寸设置,并使钢筋的位置形状不变样,对构件特殊的钢筋形状,要采用放样配置。
4 . 2 . 1 4 . 2 模板施工
4 . 2 . 1 4 . 2 . 1 模板施工流程
4 . 2 . 1 4 . 2.2 施工处节点:施工缝凿毛清理后,根据轴线弹出外边线及边线以外的支摸控制线,沿边线做5 0 c m 宽2 0 m m 厚的找平层,保证平整,模板坐在找平层上。
4 . 2 . 1 4 . 2 . 3 施工中模板采用定制钢框木模板拼装,模板分别按照所有外露的阴阳角角度由专业加工厂按照项目部的加工图加工。
4 . 2 . 1 4 . 2 . 4 定型钢框木模板安装,必须由先画出模板排列图,并按规格编号,分别堆放和拼装。
4 . 2 . 1 4 . 2 . 5 钢木组合模板使用平头螺丝连接夹板和角铁边框及方钢筋肋;角铁边框上间隔1 5 0 m m 钻孔,方钢肋上间隔6 0 0 m m 钻孔,模板之间角铁边框用“ U”型卡加紧,间距3 0 0 mm;边框和劲肋与横竖围檩之间用勾头螺栓勾牢,保证模板不变形松动。
4 . 2 . 1 4 . 2 . 6 模板拼缝内加垫3 m m 海棉条, 保证浇注混凝土时不漏浆; 角部使用定行加工的角钢模。
4 . 2 . 1 4 . 2 . 7 模板垂直角度校正完后, 再内侧搭设支撑架, 用对口支撑稳定模板,并使支架连接成整体,保正受力的均匀性。模板外侧以防护混凝土桩为支撑点, 顶撑在钢框木模板的围檩上。
4 . 2 . 1 4 . 2 . 8 模板在混凝土施工完毕后, 必须得到技术人员的书面指示后方可拆模。
4 . 2 . 1 4 . 2 . 9 侧模板: 常温下浇注混凝土后至少三天方可拆模, 以保证拆模板后不损坏构件棱角为原则。
底模板: 必须待混凝土强度达到设计强度时方可拆模。
模板拆除要遵循先支后拆, 自上而下的原则; 拆模板时严禁用大锤和撬棍硬砸硬撬, 以免损坏模板以及混凝土表面。
4 . 2 . 1 4 . 2 . 1 0 拆下的模板, 配件等, 严禁抛扔, 必须有专人接应传递, 按指定地点堆放, 并及时清理, 维修和刷好脱模剂。
4 . 2 . 1 4 . 3 砼施工
本工程有关混凝土均采用商品混凝土,现场严格控制塌落度。第一次浇注混凝土时,应从前向后有序分层浇灌,分层震捣;在进行浇注过程中,应注意控制先浇灌的混凝土的初凝时间,避免在浇注过程中出现冷缝事故。第二次浇注混凝土前,应将施工缝处混凝土表面浮渣凿除, 冲洗, 清理干净。浇灌2 h 前, 用清水湿润施工缝。配置同级配沙浆,在施工缝浇注后, 才能按既有规定程序浇注。箱身浇注时应对称, 先墙身后顶板; 顶板应该先两边后中间。浇注混凝土时, 混凝土的自由落差不得大于2 米,反其, 使用串通下落防止混凝土离析。认真做好每盘混凝土塌落度控制工作,以塌落度桶检测混凝土料, 高于上限的混凝土料, 不可使用。作好每次浇注混凝土料的实验试块工作,混凝土施工中,在震捣的过程中必须注意避免震捣器震捣到模板上,或者震捣到钢筋上,造成钢筋位置偏位.在进行箱涵浇注时,两边墙应对称浇注,不得偏向一边,防止重量过分集中。再浇注过程中,如发现异常,应停止浇注,并查明原因,作出正确的处理后方可继续施工。在混凝土浇注过程中,木工及技术人员应不离现场,如有变动及时补救,以免模板过大变形.在混凝土施工前应做好养护的准备工作并指派责任心较强人员专职养护。
4 . 2 . 1 4 . 4 防水施工
4 . 2 . 1 4 . 4 . 1 施工前, 将地下水降至防水层底面以下0 .5 m。依据实际情况, 适当采用井点降水以保证防水层的施工。
4 . 2 . 1 4 . 4 . 2 铺设防水卷材前,将基坑砂浆找平层清理干净,并使其表面干燥后用冷底子油打底。铺设好防水卷材后在其表面抹水泥砂浆保护层,并在砂浆达到足够的强度后进行底板砼的施工。
4 . 2 . 1 4 . 4 . 3 侧墙及顶板防水层在拆模后及涂抹砂浆找平层达到强度后施工。同时在外侧夯填粘土隔水层,侧墙厚不小于5 0 0 mm。顶板不小于3 5 0m m 。
4 . 2 . 1 4 . 4 . 4 雨棚柱基础部位防水层严格按设计要求及规范精心施工,以防止雨水下渗。
4 . 2 . 1 4 . 4 . 5 橡胶止水带施工中,确保止水带位置正确,同时注意沥青的用量。第二次灌注砼时, 不得损坏沥青木丝板。
4 . 2 . 1 4 . 4 . 6 侧墙后隔水粘土层回填时, 砌筑防护墙, 防止损坏防水层。
给排水配合土建预留槽洞、预埋件
工艺流程:
给排水消防工程预留预埋内容包括:水池( 水箱)防水套管、穿墙、梁套管、卫生洁具排水预留洞、穿墙板孔洞、设备基础及支架预埋铁件等。预留孔洞的尺寸可按GBJ242— 82《采暖及卫生工程施工及验收规范》第二章“ 通用规范” 执行, 套管及防水套管的制作工艺要求按全国通用给排水标准图集S312 的要求执行, 长度按土建结构施工图确定, 套管直径一般比所穿管道的直径大30~ 50mm为宜。
套管安装: 结构施工时钢筋绑扎完成后,根据本专业的设计图纸确定套管的位置和标高, 现场调整钢筋的位置, 使套管置于钢筋网中, 找正几何尺寸将套管牢固地焊接在钢筋网中,尽量避免损坏钢筋和切断钢筋, 特别注意不能破坏预应力钢筋,如钢筋过密,安装套管有困难且必须切割时事先与结构工程师取得联系,确定加强筋方案, 并取得业主监理工程师的同意后方可进行, 在砼浇筑工程中,委派专人看护, 发现问题及时处理。
孔洞预留主要配合土建专业编制楼板预留孔洞图,做到完整合理, 并在现场进行定位, 砼浇筑前要进行核对。预埋铁件根据施工图的要求绘制预埋现场施工图,交由施工队伍按图施工并及时进行检验,预埋件的尺寸参照设计或标准图集,必要时需进行结构验算, 以满足强度和刚度的要求为准。
预留孔洞的位置、尺寸、标高均应符合设计和施工规范要求, 预留孔、预留管的中心线位移允许偏差值为3mm, 预留孔洞中心线位移允许偏差10mm, 其截面内部尺寸允许偏差为+1.0 ~ 0 mm。
4.3.1.1 室内给水系统
4.3.1.1.1 给水管道及配件安装
管道支吊架的安装:
支架安装工艺流程:
根据设计图纸规定的图集结合现场实际情况确定支吊架的具体型号,管道支吊架的安装应位置正确, 埋设应平稳牢固, 固定支架与管道接触应紧密, 固定应牢靠, 滑动支架应灵活, 滑托与滑槽两侧应留有 3 ~ 5mm 间隙, 纵向移动量应符合设计要求,固定在建筑物结构上的管道支吊架不得影响结构的安全。钢管水平安装的支吊架间距应按下表规定:
表4-3-1
公称直径(mm) | 15 | 20 | 25 | 32 | 40 | 50 | 65 | 80 | 100 | 125 | 150 | 200 | 250 | 300 | |
支架的最大间距( m) | 保 |
|
|
|
|
|
|
|
|
|
|
|
|
|
|
温管 | 2 | 2.5 | 2.5 | 2.5 | 3 | 3 | 4 | 4 | 4.5 | 6 | 7 | 7 | 8 | 8.5 | |
不保温 | 2.5 | 3 | 3.5 | 4 | 4.5 | 5 | 6 | 6 | 6.5 | 7 | 8 | 9.5 | 11 | 12 | |
管 |
|
|
|
|
|
|
|
|
|
|
|
|
|
|
给水及热水供应系统的塑料管垂直或水平安装的支架间距应符合下表的规定, 采用金属制作的管道支架应在管道与支架的接触面间加衬非金属垫或套管。
表4-3-2
管径(mm) | 16 | 20 | 25 | 32 | 40 | 50 | 63 | 75 | 90 | 110 | ||
最大间距(m) | 立管 | 0.7 | 0.9 | 1.0 | 1.1 | 1.3 | 1.6 | 1.8 | 2.0 | 2.2 | 2.4 | |
水平管 | 冷水管 | 0.5 | 0.6 | 0.7 | 0.8 | 0.9 | 1.0 | 1.1 | 1.2 | 1.3 5 | 1.5 5 | |
热水管 | 0.3 | 0.3 | 0.3 5 | 0.4 | 0.5 | 0.6 | 0.7 | 0.8 |
|
|
金属管道立管管卡安装应符合下列规定: 楼层高度小于或等于5m, 每层必须安装1 个, 楼层高度大于5m, 每层不得少于2 个, 管卡安装高度, 距地面应为1.5~ 1.8m, 2 个以上管卡应匀称安装, 同一房间管卡应安装在同一高度上。
管道及管道支墩( 座) 严禁铺设在冻土和未经处理的松土上, 管道穿过墙壁和楼板应设置金属或塑料套管,根据房间功能的不同套管高出装饰地面的高度也不同, 套管底部与楼板底面相平, 安装在墙壁内的套管其两端与饰面相平, 管道的接口不得设在套管内。
室内给水管道安装:
本工程的给水管道包括: 生活给水管、消火栓给水管、自动喷洒给水管、消防水炮给水管、室外给水PE 管
生活给水管道安装工艺流程:
生活给水管采用PP— R 管材及管件, 施工方法采用热熔连接。建筑给水PP— R 管道宜暗敷, 暗敷包括直埋和非直埋, 设置在公共场所的立管如无条件设于管道井内时, 应有防止碰撞的措施, 非直埋管道应设置支吊架, 最大间距按下表执行:
冷水管支吊架最大间距(mm)
表4-3-3
公称外径 | 20 | 25 | 32 | 40 | 50 | 63 | 75 | 90 | 110 |
横管 | 650 | 800 | 950 | 1100 | 1250 | 1400 | 1500 | 1600 | 1900 |
立管 | 1000 | 1200 | 1500 | 1700 | 1800 | 2000 | 2000 | 2100 | 2500 |
热水管支吊架最大间距(mm)
表4-3-4
公称外径 | 20 | 25 | 32 | 40 | 50 | 63 | 75 | 90 | 110 |
横管 | 500 | 600 | 700 | 800 | 900 | 1000 | 1100 | 1200 | 1500 |
立管 | 900 | 1000 | 1200 | 1400 | 1600 | 1700 | 1700 | 1800 | 2000 |
直接敷设于墙体或地坪面层的管道外径不宜超过De25,布置在地坪层内的管道, 宜沿墙敷设, 且有定位尺寸, 当有可能遭到破坏时, 应加套管保护, 搬运管材管件时, 应小心轻放, 避免油污和划伤, 管道嵌墙暗敷时宜配合土建留凹槽,其设计尺寸无规定时深度为De+20mm, 宽度De+40~ 60mm, 管道试压合格后,墙槽用M7.5 级水泥砂浆填补密实。
热熔连接操作:仔细阅读焊接工具操作说明。用切割刀或细齿钢刷将管材切成所需长度, 除去毛边和毛刺, 在管上标出焊接深度。热熔器接通电源, 当达到工作温度( 一般为260℃ 左右),指示灯亮后方可开始焊接操作。管材管件焊接端应保证清洁, 无油污、干燥。焊接弯头或三通时应注意方向。将管材管件无旋转压入焊接机熔接头和熔套内, 至标志深度, 按下表时间加热, 或按焊接机生产厂的规定。
热熔连接技术要求
表4-3-5
公称外径( mm) | 热熔深度( mm) | 加热时间(s) | 焊接时间(s) | 冷却时间(s) |
20 | 14 | 5 | 4 | 2 |
25 | 16 | 7 | 4 | 2 |
32 | 17 | 8 | 6 | 4 |
40 | 19 | 12 | 6 | 4 |
50 | 21 | 18 | 6 | 4 |
63 | 25 | 24 | 8 | 6 |
75 | 27 | 30 | 10 | 8 |
90 | 31 | 40 | 10 | 8 |
110 | 37 | 50 | 15 | 10 |
若环境温度小于5℃ , 加热时间应延长50%
当加热过程完成后, 立即把管材管件从加热头上拿下,迅速无旋转地直线插至所示深度,使接头处形成均匀地凹缘,在规定的焊接时间内刚接好的接头还可校正, 但严禁旋转。
当管道采用法兰连接时应符合下列规定: 法兰盘套在管道上,PP— R 过滤接头与管材采用热熔焊接,校直两对应的连接件, 使连接的两片法兰盘垂直于管道中心线, 表面相互平行, 连接法兰用螺栓应为同规格且连接方向一致, 螺栓均为镀锌件, 紧固螺栓时, 不应使管道产生轴向拉力, 法兰连接部位应设置支吊架,法兰的衬垫应采用耐热无毒橡胶圈,因热熔连接的方法对管道的加热时间, 插入深度及力度均有要求, 所以对操作人员需进行技术培训, 掌握操作要点, 保证工程质量,采用金属管卡或吊架时,金属管卡与管道之间应采用塑料带或橡胶等软物隔开。
消防系统管道安装
工艺流程:
自动喷水灭火系统安装工艺流程
镀锌钢管螺纹连接管路施工工艺:
加工螺纹前必须将管子与其所连接的管件螺纹量准,螺纹加工长度既不可过长, 也不能缺扣, 应使管子与管件连接后露出螺尾2~ 3 扣为宜, 螺纹套丝加工时不可一次套成, DN15~ 40mm 时分两次套成,DN≥ 50 时分三次套成, 套完丝扣后随即清理管口, 将管子端面毛刺清除掉, 使管口保持干净光滑。
丝扣连接的管道具体要求详见《螺纹密封的管螺纹》( GB7367— 87) 规定,要求螺纹清洁、规整, 断丝、缺丝不大于螺纹全扣数10%, 螺纹连接应牢固, 管螺纹根部有外露螺纹不多于2 扣,镀锌碳素钢管和管件的镀锌层无破损,螺纹露出部分防腐蚀良好, 接口处无外露麻丝或胶带。
钢管沟槽式连接安装
施工工艺:
钢管沟槽式连接的安装方法在管路连接安装中具有快速、简易、可靠、经济、免电氧焊、无污染、缩短工期等优点。
安装前的准备工作:滚槽机、开孔机、钢管切割机、滚槽机尾架,材料准备,待装的管子( 符合国家标准)、扳手、游标卡尺、水平仪、润滑剂( 肥皂水或洗洁精)、木榔头、安装脚手架等, 按管路设计要求安装好待装管子的支架、托架。钢管滚槽: 用切割机械将钢管按所需长度切割, 切口应平整, 切口外若有毛刺, 应用砂轮机磨平, 将需加工沟槽的钢管架设在滚槽机与滚槽机尾架上, 用水平仪调整, 滚槽机尾架与滚槽机及钢管处于水平位置,将钢管端面与滚槽机槽轮挡板端面贴紧, 即钢管与滚槽机槽轮挡板端面成90 度。启动滚槽机电机, 徐徐压下千斤顶, 使上压轮均匀滚压钢管至预定的沟槽深度为止, 取出钢管, 用游标卡尺、深度尺检查沟槽深度和宽度等尺寸,尺寸要求按使用配件的厂家的产品说明及尺寸要求确定, 保证施工的质量。
钢管开孔: 安装机械三通, 机械四通的钢管应在连接部位用开孔机先开孔,开孔尺寸要求按照按厂家的产品说明及尺寸要求确定,按开孔的直径选择相应的钻具, 用链条将开孔机固定于钢管预定位置处, 水平仪校正, 启动电动机钻头,操作钻孔机使钻头压下, 并适量添加开孔钻头的润滑剂保护钻头。
管路安装时应注意根据不同的管道输送介质采用不同的密封圈,密封圈加装时一定要安装到位, 确保接头的质量, 管路安装完毕进行水压试验, 试压前全面检查各安装件、固定支架等是否安装到位, 管道试压应分段、分层、分片进行,试压时逐步提高压力, 试验压力为工作压力的1.5 倍, 如设计有要求时, 按设计进行, 试压时间按规范要求进行。使分段、分层、分片进行完毕后再进行系统试压, 当管道有压时, 不得松动接头螺栓、螺母等零件。
焊接钢管安装:
钢管焊接的工艺流程:
焊接所采用的焊条的规格应与母材相匹配, 质量符合现行《碳钢焊条》的规定,焊条使用前应干燥。管道焊接前先修口、清根、管端端面的坡口角度、钝边、间隙符合规定要求, 对口时应使内壁齐平, 对口时纵向焊缝应错开, 环向焊缝距支架净距不应小于200mm, 直管管段两相邻环向焊缝的间距不应小于200mm。
不同管径的管节连接, 当两管径相差大于小管管径的15%时, 可用渐缩管连接,渐缩管的长度不应小于两管径差值的两倍,且不应小于200mm。钢管对口合格后方可进行点焊, 点焊采用的焊条与焊口焊接的焊条应相同, 应对称点焊, 厚度与第一层焊接厚度一致,钢管的纵向焊缝及螺旋焊缝处不得点焊。当工作环境的风力大于5 级、雪天或相对湿度大于90%时, 应采取保护措施施焊, 焊接中必须把握好引弧、运条、结尾三要素, 每层焊缝必须细致清理, 以免造成层间夹渣、气孔等缺陷、焊口的平直度、焊缝加强面应符合施工规范规定, 表面无烧穿、裂纹和明显结瘤夹渣及气孔等缺陷,焊波均匀一致, 管道试压合格后焊缝应作防腐处理。
阀门安装:
阀门安装前后应作强度和严密性实验, 试验应在每批( 同牌号、同型号、同规格) 数量中抽查10%, 且不少于一个, 对于安装在主干管上起切断作用的闭路阀门应逐个作试验。阀门的强度试验为公称压力的 1.5 倍,严密性试验为公称
压力的1.1 倍, 试验压力在持续时间内应保持不变, 且壳体填料及阀瓣密封面无渗漏, 阀门试验持续时间应不少于下表的规定:
表4-3-6
公称直径( mm) | 最短试验持续时间(s) | ||
严密性试验 | 强度试验 | ||
金属密封 | 非金属密封 |
| |
≤ 50 | 15 | 15 | 15 |
65~ 200 | 30 | 15 | 60 |
250~ 450 | 60 | 30 | 180 |
消防设施安装:
消火栓配件安装,将消火栓箱按设计要求的标高固定在墙面上或墙洞内, 要求横平竖直固定牢靠,暗装的消火栓将消火栓的箱门预留在装饰墙面的外部, 单出口的消火栓水平支管可从箱的端部经箱底由下向上引入, 消火栓中心距地面1.2m,栓口朝外。自动喷水系统中支架按一般规定外支架位置与喷头距离应不小于300mm, 距末端喷头的间距不小于750mm, 为防止喷头喷水时产生大幅度晃动, 应按要求在干管、立管、干支管及支管上安装防晃吊架。
报警阀组安装需在明显且易于操作的位置上,距地面高度宜为1.2m,确保两侧距墙不小于0.5m, 正面距墙不小于1.2m, 地面应设排水装置, 水力警铃安装在报警阀附近,尽量选择公共通道或值班室附近的墙上, 并安装检修和测试用的阀门, 水流指示器在管道试压和冲洗合格后垂直或水平安装在配水干支管上侧,安装后须检查其最高不动作流量应符合17L/min 的规定, 信号阀安装在水流指示器前的管道上,间距不小于300mm,排气阀应在系统试压和冲洗合格后安装在配水干管顶部, 配水干支管的末端, 试验阀组前方安设压力表, 其后安装试验放水口, 喷头安装必须在管路系统试压冲洗合格后进行, 安装喷头须用专用扳手, 严禁用喷头的框架拧紧喷头。
无管网气体灭火装置由专业厂家成套后和灭火器一起按图纸设计要求的位置及标高摆放。
设备基础及地脚螺栓
施工前屋面、外墙、门窗和内部粉刷等工程应基本完工, 有关的基础地坪、沟道等工程应已完工, 其混凝土强度不应低于设计强度的 75% , 安装施工地点及附近的建筑材料、泥土、杂物等应清除干净。当设备安装工序中有防震、防尘等要求时应在安装地点采取相应的措施后方可进行相应的工序施工,设备开箱应在建筑单位有关人员参加下作出有关技术资料所需的记录。设备安装前应按规范的允许偏差对设备基础位置和几何尺寸进行复检,需要预压的基础应预压合格并应有预压沉降记录,设备就位前应按施工图和相关建筑物的轴线或边缘线及标高线, 划定安装的基准线。
埋设预留孔中的地脚螺栓时地脚螺栓在预留孔中应垂直, 无倾斜, 地脚螺栓任一部分离孔壁的距离大于 15 mm,地脚螺栓底端不应碰孔底,地脚螺栓上的油污和氧化皮等应清除干净,螺栓部分应涂少量油脂,螺栓与垫圈,垫圈与设备底座间的接触均应紧密,拧紧螺栓后,螺栓应露出螺母的长度宜为螺栓直径的 1/3 ~2/3 , 应在预留孔中的混凝土达到设计强度的 75% 以上时拧紧地脚螺栓, 各螺栓的拧紧力应均匀。
预留孔灌浆前, 灌浆处应清理洁净, 灌浆宜采用细碎混凝土, 其强度应比基础地坪的混凝土强度高一级, 灌浆时应捣实,并不使地脚螺栓倾斜和影响设备的安装精度。
水泵安装
检查水泵安装基础的尺寸、位置和标高是否符合设计要求,同时对泵进行开箱检查记录, 出厂时已装配、调整完善的部分不得拆卸。驱动机与泵连接时应以泵的轴线为基准找正,驱动机与泵之间有中间机器连接时应以中间机器轴线为基准找正, 吸入管道和输出管道应有各自的支架, 泵不得直接承受管道的重量。管道与泵连接后,不应在其上进行焊接和气割,当需要焊接和气割时应拆下管道或采取必要的措施防止焊渣进入泵内。
泵的试运转应在其各附属系统单独试运转正常后进行, 泵应在有介质情况下进行试运转,试运转的介质或代用介质均应符合设计的要求,泵试运转前的检查应符合下列要求: 驱运机的转向应与泵的转向相符, 各固定连接部位应无松动,各润滑部位加注润滑剂的规格和数量应符合设备技术文件的规定,有预润滑要求的部位应按规定进行预润滑,各指标仪表、安全保障装置均应灵敏、准确、可靠,盘车应灵活、无异常现象。泵试运转时应符合下列要求: 各固定连接部位不应有松动, 转子及各运动部位运转应正常, 不得有异常声响和摩擦现象, 附属系统的运转应正常,管道连接应牢固无渗漏,滑动轴承的温度不应大于 70 ℃ ,滚动轴承的温度不应大于 80 ℃ ,各润滑点的润滑油温度、密封液的温度均应符合设备文件的规范,润滑油不得有渗漏和雾状喷油的现象,泵的安全保护和电控装置及各部分仪表均应灵敏、正确、可靠, 机械密封的泄漏量不应大于 5ml/h , 填料密封的泄漏量不应大于下表的规定, 且温升应正常。
填料密封的泄漏量
表4-3-7
设计流量 (m3/h ) | ≤ 50 | 50~ 100 | 100~ 300 | 300~ 1000 | > 1000 |
泄漏量(ml/min) | 15 | 20 | 30 | 40 | 60 |
泵在额定工况点连续试运转的时间不应小于 2h。泵停止运转后应符合下列要求: 离心泵应关闭泵的入口阀门, 待泵冷却后再依次关闭附属系统的阀门, 应放净泵内积存的液体, 防止锈蚀和冻裂。
4.3.1.1.2 室内排水系统
U— PVC 塑料排水管
U— PVC 塑料排水管粘接安装施工工艺:
在粘合前将承口内侧和插口外侧擦干净,认真检查外观, 严禁使用管端处已有裂痕, 凹陷的管子和管件以免留下后患, 在管端表面划出插入深度的标记, 粘接时胶粘剂丙酮等易燃品必须远离火源, 排水管粘接的具体工序同给水PE 管粘接, 生活给水塑料管道的坡度如设计无明确规定, 则按下表执行:
表4-3-8
项次 | 管径(mm) | 标准坡度(‰) | 最小坡度(‰) |
1 | 50 | 25 | 12 |
2 | 75 | 15 | 8 |
3 | 110 | 12 | 6 |
4 | 125 | 10 | 5 |
5 | 160 | 7 | 4 |
排水塑料管必须按设计要求及位置装设伸缩节,如设计无要求时伸缩节间距不得大于4m, 同时按设计要求设置阻火圈或防火套管, 排水主立管及水平干管管道均应做通球试验。通球球径不小于排水管道管径的2/3, 通球率必须达到100%。
排水塑料管道支架最大间距( 单位m)
表4-3-9
管径( mm) | 50 | 75 | 110 | 125 | 160 |
立管 | 1.2 | 1.5 | 2.0 | 2.0 | 2.0 |
横管 | 0.5 | 0.75 | 1.1 | 1.3 | 1.6 |
排水塑料管立管上应每隔一层设置一个检查口,在最底层和有卫生器具的最高层必须设置。检查口中心高度距操作地面一般为1m, 检查口的朝向应便于检修,暗装立管在检查口处应安装检修门,通向室外的排水管穿过墙壁或基础必须下返时应采用45°三通和45°弯头连接。用于室内排水的水平管道及水平与立管的连接应采用顺水型或45°斜的三通及四通,立管与排出管端部的连接,应采用两个45°弯头或曲率半径不小于4 倍管径的90°弯头。
排水附件及洁具安装
排水设备附件安装的工艺流程:
根据设计的位置, 以墙的轴线为准, 核对位置, 根据土建给出的水平安装标高线及地面实际竣工线,按设计要求的坡度计算出地漏上沿安装标高。如果清扫口设在楼板上,应预留孔洞( DN+120),若是设在地面上先安装清扫口后做地面,依据清扫口的设计位置与标高, 可用两个45°或弯曲半径为400mm 的月形弯头接至地面处。
4.3.1.1.3 卫生器具安装
卫生洁具安装流程:
卫生洁具的选型根据设计要求及建设方的意见来确定,卫生洁具的安装按设计图纸, 国家通用给水排水标准图集S312 进行。施工的关键部位在于卫生器具与排水管的连接,卫生器具的排水口承插接头用油灰填实,严禁用水泥砂浆填充、安装卫生器具时应首先确保排水管的高度, 保证卫生器具的排水口插承口的深度, 承口内先用油灰抹好, 并保持环口间隙均匀, 确保接口不渗漏, 洁具的镀铬配件应注意保护,在单位工程未正式交付使用前禁止使用,制定出有针对性的成品保护措施。成排的洁具及单独的洁具安装位置及标高, 应控制在质量检验标准的允许偏差范围内。
4.3.1.1.4 室外给水管道安装
工艺流程:
测量之前先找好固定水准点, 其精确度不应低于Ⅲ 级,在居住区外的压力管道则不低于Ⅳ 级, 铺设管道前应按规定进行排尺, 并将沟槽底清理到设计标高,管沟壁和边坡在开挖过程中应予保护, 以防塌陷。
PE 管胶圈接口:胶圈应形体完整,表面光滑,用手扭曲、拉、折表面和断面不得有裂纹、凹凸及海绵状等缺陷,尺寸偏差应小于1mm,将承口工作面清理干净。安装胶圈, 胶圈擦拭干净, 扭曲, 然后放入承口内的圈槽里, 使胶圈均匀严整地紧贴承口内壁, 如有隆起或扭曲现象, 必须调平。画安装线, 对于待装的合格管材清除内部及插口工作面的粘附物,根据要插入的深度( 一般比承口深度少10~ 20mm), 沿管子插口外表面画出安装线, 安装面与管轴相垂直。涂润滑剂,向管子插口工作面和胶圈内表面刷水涂上肥皂。将被安装的管子插口端锥面插入胶圈内, 稍微顶紧后找正管子垫稳。安装安管器, 一般采用钢箍或钢丝绳, 先捆住管子, 安管器有电动、液动、气动, 出力在50KN 以下, 最大不超过100KN。
插入管子经调整对正后缓慢启动安管器,使管子沿圆周均匀地进入并随时检查胶圈不得卷入, 直至承口端与插口端的安装线齐平为止。检查接口, 插入深度胶圈位置( 不得离位或扭曲), 如有问题时必须拔出为止。推进压紧, 根据管子规格和施工现场条件选择施工方法,小管可用千斤顶顶入或用锤敲入( 敲击时用木方垫好防止砸坏管子)
PE 管粘接接口
管道粘接不宜在湿度很大的环境下进行,操作场所应远离火源,防止撞击和阳光直射; 涂抹胶粘剂应使用鬃刷或尼龙刷,用于擦揩承插口的干布不得带有油腻及污垢。
在涂抹胶粘剂之前应先用干布将承插口处粘接表面擦净, 若粘接表面有油污, 可用干布蘸清洁剂, 将其擦净, 粘接表面不得含有尘埃、水迹及油污。涂抹胶粘剂时必须先涂承口后涂插口, 涂抹承口时应由里向外,胶粘剂应涂抹均匀并适量。
涂抹胶粘剂后应在20S 内完成粘接,若操作过程中胶粘剂出现干涸,应在清除干涸的胶粘剂后重新涂抹。
粘接时应将插口轻轻插入承口中, 对准轴线, 迅速完成, 插入深度至少应超过标记。插接过程中可稍作旋转, 但不能超过1/4 圈, 不得插到底后进行旋转。
粘接完毕应即可将接头处多余的胶粘剂擦干净。
初粘接好的接头应避免受力, 须静置固化一定时间, 牢固后方可继续安装。
在零度以下粘接操作时不得使胶粘剂结冻,不得采用明火、电炉等加热装置加热胶粘剂。
4.3.1.1.5 室外排水管网
铸铁排水管
按设计要求的管材规格、型号作好选材、清理工作, 要求铸铁管管壁厚薄均匀, 内外光滑整洁, 无砂眼、裂纹、无疙瘩和毛刺, 清理浮沙和粘沙。
生活污水铸铁排水管道的坡度如设计无详细说明按下表执行: 表4-3-10
项次 | 管径(mm) | 标准坡度(‰) | 最小坡度(‰) |
1 | 50 | 35 | 25 |
2 | 75 | 25 | 15 |
3 | 100 | 20 | 12 |
4 | 125 | 15 | 10 |
5 | 150 | 10 | 7 |
6 | 200 | 8 | 5 |
排水管道上的吊钩或卡箍应固定在承重结构上,固定件间距:横管不大于2m,立管不大于3m, 楼层小于或等于4m, 立管可安装1 个固定位, 立管底部的弯管处应设支墩或采取固定措施,铸铁排水管的接口材料采用石棉水泥,比例为石棉:泥=3: 7, 填料要随拌随用, 要求接口饱满, 在接口捻口后要进行按规定根据气温养护。
4.3.1.1.6 小型整装锅炉安装
锅炉的基础混凝土强度必须达到设计要求, 基础的坐标、标高、几何尺寸和螺栓孔位置应符合下表的规范。
锅炉及辅助设备基础的允许偏差和检验方法 表4-3-11
项次 | 项目 | 允许偏差( mm) | 检验方法 | ||
1 | 基础坐标位置 | 20 | 经纬仪、拉线和尺量 | ||
2 | 基础各不同平面的标高 | 0, -20 | 水准仪、拉线和尺量 | ||
3 | 基础平面外形尺寸 | 20 | 尺量检查 | ||
4 | 凸台上平面尺寸 | 0, -20 |
| ||
5 | 凹穴尺寸 | +20, 0 | |||
6 | 基础上平面水平度 | 每米 | 5 | 水平化(水平尺和楔形塞尺检查) | |
全长 | 10 | ||||
7 | 竖向偏差 | 每米 | 5 | 经纬仪或吊线和尺量 | |
全高 | 10 | ||||
8 | 预埋地脚螺栓 | 标高(顶端) | +20, 0 | 水准仪、拉线和尺量 | |
中心距(根部) | 2 | ||||
9 | 预留地脚螺栓孔 | 中心位置 | 10 | 尺量 | |
深度 | -20, 0 | ||||
孔壁垂直度 | 10 | 吊线和尺量 | |||
10 | 预埋活动地脚螺栓锚板 | 中心位置 | 5 | 拉线和尺量 | |
标高 | +20, 0 | ||||
水平度(带槽锚板) | 5 | 水平尺和楔形塞尺检查 | |||
水平度(带螺纹孔锚板) | 2 |
锅炉的锅筒和水冷壁的下集箱及后棚管的后集箱的最低处排污阀及排污管道不得采用螺纹连接, 锅炉系统安装完毕后, 必须进行水压试验, 水压试验的压力应符合规范或设计要求。
锅炉安装的允许偏差应符合下表规定:
表4-3-12
项次 | 项目 | 允许偏差(mm) | 检验方法 | |
1 | 坐标 | 10 | 经纬仪、拉线和尺量 | |
2 | 标高 | ± 5 | 水准仪、拉线和尺量 | |
3 | 中心线垂直度 | 卧式锅炉炉体全高 | 3 | 吊线和尺量 |
立式锅炉炉体全高 | 4 |
4.3.1.1.7 油漆防腐及保温安装:
油漆施工工艺流程:
金属表面锈垢的清除程度是决定管道防腐效果的重要因素,为增加涂料与金属的附着力,取得良好的防腐效果必须除锈至露出金属光泽方可刷底漆。人工除锈采用钢丝刷, 粗破布、废砂轮片去除氧化皮、铁锈, 再用干净的布块或棉纱擦净, 根据设计要求按不同管道、金属构件选择油漆涂料, 油漆的调和用棍棒搅拌均匀, 以可刷不流淌, 不出刷纹为准, 手工涂料每次油刷沾油量要适合, 漆层厚表面去污防锈 调配涂料 刷或喷涂施工 养护薄均匀一致, 不得漏刷, 必须在上一遍涂膜干燥后才可涂刷第二遍。油漆施工不应在雨天、雾天、露天和0℃ 以下环境施工, 油漆涂层的成膜根据不同涂料有不同的养护条件和规律。
管道保温施工: 保温管壳可以用φ 1.0~ 1.2mm 镀锌铁丝等直接绑扎在管道上,绑扎保温材料时应将横向接缝错开,绑扎的间距不应超过300mm,每块保温制品至少应绑扎2 处, 每处绑扎的铁丝不应少于两圈, 使接头嵌入接缝内, 保证制品必须紧贴管道表面, 搭、对接缝处严密、无缝隙, 表面平整、光滑, 保护层表面要清理干净, 不可碰坏或上人, 以免影响保温效果和外形美观, 具体保温材料结合施工标准图集实施安装。
4.3.2 电气工程施工工艺及技术方案
4.3.2.1 供电干线安装
封闭插接式母线安装
工艺流程:
根据设计要求检查成套供应的封闭式母线。各段标志要清晰, 附件齐全。外壳无变形, 内部无损伤。
封闭式母线水平安装至地面的距离不应小于2.2m。垂直安装距地面1.8m 以下部分应采取防止机械损伤措施, 但安装在电气专用房间( 如配电所、电机室电气竖井、技术层) 除外。
封闭式母线水平安装的支撑点间距不宜大于2m。垂直敷设时, 应在通过楼板处采用专用附件支撑, 进出线盒及末端悬空时应采用支架固定。
封闭式母线的连接不应在穿过楼板或墙壁处进行。
封闭式母线在穿过防火墙及防火楼板时, 应采取防火隔离措施。
支架处必须安装牢固。母线应按分段图、相序、编号、方向和标志正确放置。
每相外壳的纵向间隙应分配均匀。
母线与外壳间应同心,其误差不得超过5mm。段与段连接时两相邻段母线及外壳应对准, 连接后不应使母线及外壳受到机械应力。
螺栓固定的母线搭接面应平整, 其镀银层不应有麻面, 起皮及未覆盖部分。
封闭母线不得用裸钢丝起吊和绑扎。母线不得任意堆放和在地面上拖动。外壳上不得进行其它作业。外壳内不得有遗留物。
封闭式母线的外壳需做接地连接。但不得做保护接地干线用。
封闭式母线应按设计要求和产品技术文件规定组装。组装前逐段进行绝缘测选材 确定位置 安装支架 逐段测试绝缘 母线安装试, 其绝缘电阻值不得小于0.5MΩ 。若不能满足要求需做干燥处理。
4.3.2.2 电气动力安装
4.3.2.2.1 电线电缆保护管安装:
工艺流程:
保护钢管进场时, 产品的技术文件应齐全、要有合格证, 并应符合国家颁发的现行技术标准。
保护钢管进场后, 应进行外观检查、钢管壁厚薄均匀, 不应有折扁、裂缝、砂眼、塌陷及严重腐蚀等缺陷, 并报业主及监理专业负责审验。
保护钢管套丝要保证不乱丝, 分两次加润滑油套成, 随即清理管口, 将管子端面毛刺处理光, 使管口保持光滑。
保护钢管煨弯一般小口径的用手扳煨弯器,较大口径的用液压煨弯器。弯曲半径不小于管外径的6 倍,当埋于地下或混凝土内时,其弯曲半径不应小于管外径的10 倍。弯处不应有褶皱、凹陷和破裂,并且弯扁程度不应大于管外径的10%。
管路敷设尽量沿直线,减少弯曲,管路超过下列长度时中间加装拉线箱( 盒):
管子长度超过30m 时, 无弯曲; 管子长度超过20m 时, 有一个弯曲; 管子长度超过15m 时, 有二个弯曲; 管子长度超过 8 m 时, 有三个弯曲。
G50mm 及以下钢管采用螺纹连接。连接时,管端螺纹长度不应小于管接头长度的1/2。连接后, 其螺纹宜外露2~3 扣。螺纹表面应光滑, 无缺损。G50mm 以上的钢管采用套管连接。连接时, 套管长度为管外径的1.5~3 倍, 焊缝应牢固严密。
钢管暗配, 埋设深度与建筑物、构筑物表面的距离不应小于15mm。
钢管暗敷于钢筋现浇混凝土中,在钢筋绑扎完应及时敷于钢筋网中间, 遇有过梁的钢管时, 应先预埋套管。避免气割钢模扳。钢管与钢筋每隔1m 左右绑扎牢固。钢管与确定好位置的箱、盒连接在箱、盒0.5mm 以内,绑扎牢固,并将其空穴处采用锯沫塞满。
钢管敷设完后用圆钢或扁钢做跨接地线,将箱盒管路焊接成整体, 焊接处消除药皮, 刷防腐漆( 现浇混凝土除外); 管路连接紧密, 排列整齐光滑; 配管牢固, 排列整齐。
箱、盒位置正确, 固定可靠。严禁用电气焊开孔。管子进出箱、盒处顺直排列整齐。
穿过变形缝处有补偿装置,补偿装置能活动自如。穿过建筑物和设备基础有保护层; 管路、箱、盒接地牢固; 防腐保护无遗漏。
4.3.2.2.2 电缆桥架安装
工艺流程:
桥架进场检查产品的型号、技术数据、外形尺寸、标准符号字样是否符合设计规范要求, 检查直线段, 弯通段、附件的数量是否与定货数量相符。并报业主和监理专业负责人审验。
桥架安装时与土建密切配合, 做到距离最短、经济合理、安全运行, 满足施工安装、维修和敷设的要求。
桥架接口应平整, 接缝处应紧密平直, 桥架盖板装上后应平整, 无翘角。分线口的位置准确。
不允许将穿过墙壁的桥架与墙上的孔洞一起抹死。
桥架的所有非导电部分的铁件应相互连接和跨接,使之成为一连续导体, 并做好整体接地。
敷设在吊顶、通道、夹层及设备层等处的桥架应符合《民用建筑设计防火规范》( GB-45-82) 的有关防火要求。
桥架水平敷设时, 距地面高度不宜低于2.5m, 垂直敷设时在距1.8m 以下易触及部位时为防止人直接接触或避免电缆遭受机械损伤, 应加金属盖板保护, 但敷设在电气专用房间( 如: 配电所、电气竖井、技术夹层等) 除外。
桥架直线段连接应采用连接板, 用垫圈弹簧、螺母紧固。进行交叉、转弯、丁字连接处应采用单通、二通、三通、或平面二通、平面三通等进行连接, 末端应加装封堵。
桥架与箱、盒、柜等接茬时, 进线口和出线口等处应采用抱脚连接, 并采用螺丝紧固。
桥架安装时应尽量避开风管、水管, 严禁在风、水管口下方敷设。为了散热和维修及防止干扰的需要,桥架间应留有一定的距离,一般不宜小于0.6m。桥架熟悉图纸 桥架选择 外观检查 支吊架安装
桥架组装 跨接地线安装
上部距离顶棚或其他障碍物不应小于0.3m。桥架与管道平行敷设时其净距为0.4m,交叉敷设时为0.3m。桥架水平敷设时,支撑跨距为1.5~3m,垂直敷设时,固定点间距不宜大于2m。桥架弯曲半径不大于300mm 时, 应在距弯曲段与直线段接合处0.3~0.6m 的直线段侧设置一个吊支架, 当弯曲半径大于0.3m 时, 还应在弯道中增设一个支、吊架。桥架支、吊架沿桥架走向左右的偏差不应大于10mm。
桥架在跨越建筑物伸缩缝处应设置好伸缩板。
桥架接地应清除绝缘层, 在连接处用6mm2 黄绿双色专用塑铜接地线烫锡连接, 或用编织铜线连接。
4.3.2.2.3 电缆敷设
工艺流程:
电缆严禁有绞拧、压扁、护层断裂和表面严重划伤等缺陷, 直接敷设时, 严禁在管道上面或下面平行敷设。
电缆终端、电缆接头处、桥架转弯处、隧道及竖井两端入进处应牢固, 装设标志牌。标志牌应注明线路编号、型号、规格和起始地点。
电缆保护管内径不得小于电缆外径的1.5 倍。管口成喇叭形, 防腐良好。电缆出入电缆沟、隧道、窨井、建筑物、盘柜以及穿入管子的出入口应封闭。
在桥架内电力电缆的总截面( 包括保护层) 不应大于桥架横断面40%, 控制电缆不应大于50%。拐弯处电缆的弯曲半径应以最大截面电缆允许弯曲半径为准。
弱电电缆与电力电缆间不应小于0.5m, 控制电缆不应小于0.2m, 电力电缆之间
不应小于0.3m, 垂直敷设的电缆在支架上, 桥架上每隔2m 处, 加以固定, 水平
敷设每隔5~10m 处固定, 桥架内电缆排列整齐不交叉。
4.3.2.2.4 配电箱、控制箱、切换箱安装
工程流程:
设备进场后, 应存放在现场设备库房内, 邀请业主共同进行开箱检查。生产厂商的技术文件应齐全, 型号、规格应符合设计要求。附件备件齐全。柜体外观应无损伤及变形。油漆完整无损。柜内内部电器装置及文件绝缘瓷件齐全, 无损伤及裂纹等缺陷。
根据设计图纸的要求, 制作基础槽钢, 并进行除锈、刷防腐漆、面漆。之后在根据设计图纸位置固定安放槽钢。安装基础槽钢时, 应用水平尺找平, 找正。
基础槽钢安装的不平直度及水平度应小于1mm, 全长时应小于5mm。
基础槽钢有良好的接地。
箱体安装前, 土建屋顶墙面、地面抹灰、喷浆全部完成。
安装位置正确, 箱体开孔合适, 固定牢固, 平正, 接地可靠, 标志齐全, 箱体漆层完好, 嵌壁箱贴脸紧贴墙面。
同类箱、盘标高应一致, 允许偏差10mm, 成排柜标高允许偏差5mm, 连接缝2mm, 垂直度, 箱盘允许偏差1.5mm~3mm, 柜为1.5mm。
接地导线截面为电源线的1/2。装有电器的可开启箱,柜门采用软导线接地。
接地线不得串接, 且有防腐、防松措施。
导线绑扎成束, 连接牢固, 紧密, 不伤线芯。多股线压接采用标准线端。母线连接导电膏涂层均匀、牢固、紧密,用0.05*10mm 塞尺检查,线接触者塞不进,面接触者接触面宽50mm 及其以下塞入深度不大于4mm, 60mm 及其以上不大于6mm。
4.3.2.3 电气照明安装
4.3.2.3.1 电线保护PVC 塑料管安装
工艺流程:
PVC 塑料管进场时的产品技术文件应齐全,要有合格证,并应符合国家颁发的现行技术标准。
PVC 塑料管进场后, 应进行外观检查, 管子壁厚均匀, 不应有折扁、裂缝、塌陷等现象, 并报业主及监理专业负责人审验。
PVC 塑料管煨弯:一般小口径硬质塑料管应插入管芯或弯管弹簧后煨管,大口径硬质塑料管采用热煨法。即,将炒干的砂子在管内灌实,堵好后放在电炉( 或热风机) 上均匀加热后, 放在木板上进行煨弯, 并随煨随用湿布沾擦, 也可使用煨管器煨弯, 弯曲半径不小于管外径的6 倍。
断管: 使用剪管器或钢锯、刀具断管。断管后用锉( 扁锉) 圆锉或刀具将管口修整平齐、光滑。
管路连接: 管路连接需用套管和接口或管接头连接,与箱盒连接用锁扣连接并涂抹好粘合剂。
管路固定:暗敷管路在距箱、盒0.2~0.3m 内和每隔1m 左右用铁丝或尼龙绑扎带与钢筋混凝土中钢筋绑扎固定,并敷于钢筋网中间, 遇有过梁时应先预埋套管。
管路保护: 易受损伤的管段用水泥砂浆保护; 管路连接紧密, 管口平齐, 光滑; 保护层大于15mm。
箱、盒位置正确, 固定可靠, 管子进入箱盒处须平直, 排列整齐。
过变形缝处有补偿装置, 并应有保护措施, 补偿装置活动自如。
敷设管路应减少弯曲, 当线路直线段超过15m, 直角弯超过3 个时, 均应加装接线盒。
4.3.2.3.2 电线敷设
工艺流程:
根据图纸及变更协商, 选定管内导线的型号、规格、绝缘等级必须符合国家要求的产品。并有名副其实的产品合格证书。并报业主及监理专业负责人审验,同时需按质检站的要求进行送检测试。
本工程最小导线截面为2.5mm2。穿线时,首先检查管护口是否齐全。如有遗漏或破损应及时补齐或更换, 同一交流回路的导线必须穿于同一管内,根据规范要求导线选择统一,保护接地( PE 线)应采用黄绿颜色相同的绝缘导线,零线宜采用淡兰色绝缘线。
导线在管内不应有接头和扭结, 接头应设在接线盒( 箱) 内。
管内导线包括绝缘层在内的总截面面积不应大于管子内截面面积的40%。
4mm2 以下的导线采用绞接阻燃塑铜接头压接法。6mm2 以上导线采用缠卷法连接。
焊接头、测绝缘, 本工程导线均采用铜导线, 导线接头多股时采用焊锡法,即用电烙铁( 或专制锡锅加热) 的方法。烫锡应饱满, 焊完后将焊剂及其他污物剥削绝缘层 接线 焊头 测绝缘擦净。
导线包扎应严密,送电前应进行绝缘摇测,使用500V 量程为0~500MΩ 的欧姆表。其线路绝缘电阻应大于0.5MΩ , 低压动力管路应大于1MΩ , 并做好测试记录。
4.3.2.3.3 灯具及开关、插座安装
工艺流程:
根据图纸设计要求, 认真组织施工。管理人员审核图纸, 学习工艺标准, 验收规范, 讨论技术, 质量交底。
与土建协调配合, 创造作业条件。
灯具、开关、插座进厂, 检查型号、规格、质量是否符合设计要求, 并报甲方和监理专业负责人审验。
确定安装位置及安装方式, 清扫出线盒, 正确接入相线、零线。
灯具固定牢固、平正。灯体漆层完好。嵌入灯贴脸与墙顶面不漏光。
成排灯具中心线允许偏差5mm。灯具绝缘电阻值为0.5 MΩ 。灯具重量超过3kg 时, 应采用预埋螺栓或吊钩固定。高净空灯具的安装需搭设移动式脚手架,并搭设安全防护网。金属灯具外壳需接地的, 其接地点不应有绝缘漆。灯具在顶棚下安装时, 灯头盒至灯具间导线用金属软管保护, 金属软管长度不大于1m.
开关、插座安装找准基准位置。以平面图和变更协商为依据。分清压接相序,火线、地线, 开关找好断、合方向, 将盒内导线理顺, 面板水平牢固。开关不得在后门( 双开门除外) 窗、镜、箱及吊柜上方或管后安装。开关控制相线, 插座右极接相线, 左极接零线。正上方接保护地线, 且使用不小于1.5mm2 双色绝缘塑铜线。开关、插座安装高度一致, 允许偏差1.5mm。暗装开关、插座面板垂直允许偏差1mm。各种开关、插座相邻高度一致, 允许偏差2mm。
4.3.2.4 防雷及接地安装
工艺流程:
按设计要求确定建筑物基础自然接地装置位置。用接地电阻测量仪测量, 其接地电阻不大于1Ω 。当接地电阻不满足要求时, 增设人工接地极。
埋在土壤中的接地装置其连接采用焊接,在焊接处做防腐处理,焊接面不小于扁钢宽度地二倍, 焊三面。圆钢不小于直径的6 倍, 焊两面。焊缝无夹渣、咬肉等缺陷。
利用建筑物支柱内的2 根主钢筋做引下线,引下线不应断裂,连接处应可靠焊接, 并与建筑物基础钢筋进行可靠连接。
在引下线每处距地1.2m 处安装测试点。
屋面避雷带网按设计要求敷设与引下线焊接。屋顶上方凸起金属建筑物及管道应与避雷网连接。
避雷线应平直、牢固, 弯曲半径不得小于圆钢直径地10 倍, 焊接面不小于扁钢宽度地二倍, 焊三面。圆钢不小于直径的6 倍, 焊两面。
焊接处应饱满, 不得有夹渣、气孔、咬肉、裂纹等焊接缺陷。
用接地测量仪作系统测量, 其接地电阻不大于1Ω , 并做好测试记录, 报验业主, 监理专业负责人。
为防止裸露接地体在地面形成跨步电压, 将B 轴18 根立柱在地下层进行绝缘处理, 即在每根立柱四周铺设50~80mm 厚地沥青, 沥青层顶部比室内地面标高低0.1m。沥青环绕立柱铺设, 环状宽度不小于2m。
4.3.3 车站集成信息管理系统
4.3.3.1 信息、网络综合服务显示系统是向旅客提供各种信息,自动变化广播内容,为候车、乘车和过境的旅客提供进出站口、售票厅、候车厅、检查口、廊道、休息区、站台、列车到发车次、行包、环境、铁路知识、旅游城市简介、住宿、电话查询、站内触摸屏、等大屏幕引导服务信息。
施工工艺流程:
设备材料选用: 施工前对运到施工现场的器材, 应进行清点及外观检查。规格、型号、质量必须符合设计要求, 并报业主及监理专业负责人审验。
主机设在旅客引导信息显示系统机房及弱电控制中心内。设备与主机的连接均采用专用电缆。主机通过高速解调器及专线与车站值班室的终端机相连。
本系统配管、配线及专用插座盒、面板的安装按电气工程的有关规范要求进行。
各种设备的安装要求如下表所示:
表4 - 3 - 1 3
与电力、照明线路及设施最小距离大于 | 0.3m | ||
与煤气、热力管道最小距离大于 | 0.3m | ||
与吊顶(吊顶下安装)距吊顶板下 | 0.2m | ||
与室内地面(嵌入、吸顶、吊装、壁装支架上安装)大于 | 2.2m 、高净空处约为3— 5m | ||
与室外地面(嵌入、吸顶、吊装、壁装支架上安装)一般为 | 3 | — | 10m |
控制设备机架垂直偏差不得超过 | 10mm | ||
控制设备机架并列在一起前后偏差不得大于 | 3mm | ||
两个机架中间缝隙不得大于 | 3mm | ||
电缆线路应在起弯点捆绑,距起弯点为 | 0.1m | ||
电缆的弯曲半径应大于电缆直径的 | 1.5 倍 | ||
壁挂式机框距地面为 | 0.3— 0.8m | ||
交接箱、暗线箱箱底距地面为 | 0.5— 1m | ||
信息插座安装在墙上应高出地面 | 0.3m | ||
设备间缆线布放对绞电缆应预留长度一般为 | 3 | — | 6m |
设备间缆线布放对绞电缆应预留长度工作区为 | 0.3— 0.6m | ||
光缆在设备端预留长度一般为 | 5 | — | 10m |
非屏蔽4 对对绞电缆弯曲半径大于电缆外径 | 8 倍 | ||
屏蔽对绞电缆弯曲半径大于电缆外径 | 10 倍 | ||
光缆的弯曲半径大于光缆外径 | 20 倍 |
大屏幕显示屏安装流程图 图4 - 3 – 1
电缆的编号和对号。电缆的芯线是由中心层起向外层顺序编号。使电缆两端芯线号一致,免发生错乱。影响芯线的接线。对新设备的电缆段长对号。当电缆一端接编号要求编号后以此端为准, 在另一端进行编号, 须使用对号器。找出同线对编号, 使两端芯线完全一致。控制中心的设备要在专业工程师的指导下进行。安装完后, 进行系统调试,并与其它系统进行联合调试。
4.3.3.2 智能建筑系统工艺流程及安装技术措施:
施工工艺流程:
同专业人员对图纸进行审核, 确定材料设备, 符合系统设计要求, 报甲方、监理专业负责人审验型号、规格、质量。根据设备的安装要求, 确定安装位置。对支架、管、线、桥架、线槽等安装参见电气施工方案。
摄像机属于精密光电设备,其安装必须在其它工程结束以后进行。摄像机安装前必须经过单体试验。
检查云台的水平、垂直转动角度和定植控制是否正常,并根据设计要求定出云台旋转的起点方向。
从摄像机引出的电缆应有余量, 以不影响摄像机转动。
摄像机镜头应避免色强光直射和逆光安装。
根据工作环境造配相应的摄像机防护罩。
安装要求如下表:
表4 - 3 - 1 4
摄像机距地面安装高度,室内 | 2.5— 5m(吊顶下0.2m) |
摄像机距地面安装高度,室外 | 3.5— 10m |
摄像机引出电缆应留有余量 | 1m |
保安、门禁系统探测报警器安装时, 发射器与接收器要对应, 中间不应有阻挡物体。
报警按钮安装在隐蔽处。
电控门锁在主体施工时,在门框外侧门锁安装高度处,预埋穿线管及接线盒。
锁体安装要与相应的专业配合。
对讲设备安装: 主机安装在出入口处, 分机安装在室内。
探测器探测距离表
表4 - 3 - 1 5
型号 | 室外 | 室内 |
PB-20 | 20m | 40m |
PB-40 | 40m | 80m |
PB-60 | 60m | 120m |
保安、门禁设备安装要求如下表:
表4 - 3 - 1 6
探测器与热源距离保持至少 | 1.5m | ||
探测器安装高度通常为 | 2 | — | 5m |
探测器与卷帘门上反光层距离为 | 0.05— 0.4m | ||
出入口控制器及读卡机安装高度为 | 1.4m | ||
电磁门锁安装高度为 | 1.2m | ||
对讲机安装高度中心距地面 | 1.3— 1.5m | ||
对讲主机安装高度为镜头距地面 | 1.5m |
楼宇设备自动控制:
传感器安装包括: 温度、湿度、压力、压差、流量、液位传感器等, 设备安装需要在管道及设备上进行信号采集, 信号采集点应选在流量、压力均匀处, 避免在管道转弯处进行信号的采集。
执行器安装包括各种电动阀、电磁阀、风门驱动器。
接口、DD C 箱、控制配电箱等设备的连接、设备机房( 冷冻站、热交换站、水泵房、空调机房等)、计算机控制中心进行相连, 集中监视控制管理。
传感器与控制器的距离不超过5 0 m, 室内恒温器安装高度为1 . 4 m 。
停车场管理系统:先进行感应线圈及安全岛的施工,感应线圈应放在水泥地面上,可用开槽机将水泥地面开槽,线圈安装完成后在线圈上浇筑与路面材质相同的混凝土或沥青。
设备安装应符合下表的要求:
表4 - 3 - 1 7
1 | 线圈回路无金属物体安装深度为 | 0.1m |
2 | 线圈边距电气线路为 | 0.5 |
3 | 穿线套管管口应高出安全岛 | 0.1m |
4 | 满位指示灯安装高度不低于 | 2.2 m |
楼宇自动化系统控制范围图 图4-3-2
4.3.3.3 火灾自动报警及消防联动系统安装:
消防自动报警系统工程安装必须按照国家所颁布的火灾自动报警系统设计规范、施工验收规范进行, 并应符合当地消防部门的要求。
工程中所安装的的自动报警系统设备必须是经国家消防电子产品质量监督检测中心检测合格, 批准使用的产品, 产品说明书、合格证、测试报告和系统图等文件必须完整, 所有设备、器件开箱后作外观检查和相关的检验, 合格后方可进行安装。
消防控制设备、火灾报警器和手动报警按钮的外接导线或接线端子应有明显的标志和编号, 设备盘内不同电压等级, 不同电流差别的端子应分开, 并有明显标志。
消防报警系统应使用专用接地线由消防控制室引至接地体。
导线必须是防火导线。
设备安装工作应在土建结束室内地面工作、预留孔、预埋件符合要求, 设备所在位置的装饰工程全部结束后进行。
安装要求如下表:
表4 - 3 - 1 7
1 | 探测器至墙壁、梁边的水平距离不应小于 | 0.5m |
2 | 探测器周围 | 0.5m 内不应有遮挡物 |
3 | 探测器至空调、风口边的水平距离不应小于 | 1.5m |
4 | 探测器至多孔送风顶棚口的水平距离不应小于 | 0.5m |
5 | 探测器在宽度小于3m 的走道顶棚上安装宜居中布 置且间距不应超过 | 10m |
6 | 探测器宜水平安装,当必须倾斜时, 倾斜面不应大于 | 45° |
7 | 手动火灾报警按钮安装在墙上距地(楼)面高度 | 1.5m |
8 | 火灾报警控制器安装在墙上距地(楼)面高度 | 1.5m |
9 | 火灾报警控制器落地安装时宜高出地坪 | 0.1— 0.2m |
10 | 端子板的每个线端接线端不得超过 | 2 根 |
11 | 金属软管做导管时长度不大于 | 2m |
12 | 专用接地线截面不得小于 | 16mm2 |
调试由有资质的专业技术人员担任, 按调试程序由探测器到区域报警控制器、集中报警控制器、火灾报警装置和消防控制设备等逐个进行检查, 单体调试正常后方可进行系统调试并填写调试报告, 由消防检测事务所进行检测验收。
4.3.4 水电安装工程质量控制流程图 图4-3-3
管安装流程图
图4-3-3
图4-3-5
图4-3-6
图4-3-7
图4-3-8
图4-3-9
图4-3-10
图4-3-11
图4-3-12
图4-3-13
图4-3-14
4.3.5 降低成本措施
施工人员充分熟悉工程的特点、施工范围、工艺流程、复核建筑坐标尺寸、设备位置等, 充分做好施工准备, 在保证选材的前提下努力搞好降低成本, 增加效益。
合理安排施工进度和作业计划,均衡安排劳动力防止窝工现象。尽量减少严寒酷暑的室外作业, 提高劳动效率。
提高预制件标准化程度, 提高预制件准确性, 集中加工预制, 减少重复运输及损耗。
合理安排施工顺序, 有关工序搞好协调关系, 避免不必要的返工消费。严格把住质量关,精心操作,合理用料,降低废品率,提高材料的利用率,做到省力、省时、省材料。
加强现场材料管理, 按计划分期进料, 防止积压, 对来料的验收工作, 从数量、质量、规格、型号要把关, 防止不符合标准的材料进场造成浪费, 施工员对进料和材料消耗做到心中有数, 合理使用大型机具设备, 用完及时退回, 节约台班费。
施工中推广采用活动安装架子既灵活又方便,不但可减少搭架子费用, 又可保证劳动生产的安全。
采购材料广开门路综合比较, 择优进货节约采购费用,
在施工中认真推广新工艺、新材料、新机具、新技术、降低成本。
工程施工时尽量利用土建脚手架,需用另搭架的脚手架, 施工员应与土建办正式委托手续。
对施工中的设计变更或代用材料及时办理变更代用手续或经济签证手续。
班组应做到文明运输和施工,卸货点件认真,避免磕碰损坏,造成二次加工。
开展群众性增产节约增收节支活动, 对下脚料、废料、包装箱及余料及时进行回收和利用。同时加强小组的工具管理, 爱护生产工具, 修旧利废。
主站房屋盖钢结构采用桅杆斜拉索悬挂钢结构型式, 结构纵向自1 轴至21轴线,共长279 米,横向自A 轴至F 轴各向外悬挑4.5 米后共63.5 米,投影面积为17716.5 平方米。自2 轴至19 轴向北倾角为80 度的钢管混凝土斜柱标高为42米,每根柱顶设有4 根斜拉索分别拉设着刚接在钢柱南北布置的变截面工字钢梁上, 钢梁的外端中心线为23.111m ~30.5m , 横梁下北侧为圆钢管直立柱, 南侧为钢管斜立柱。钢屋盖南北方向为两端高中间低, 由中间排水, 东西方向呈折线形高低起伏,5~18 轴间有突出屋面的采光窗,每两榀横梁跨之间以屋脊梁、檩条、屋盖支撑等纵向构件相连接。分别在8 轴和15 轴设有双柱双梁组成的伸缩缝。
钢结构重要梁柱构件材质为Q235B.Z ; 次要受力构件材质为Q235B.F, 直径大于114mm 的钢管采用无缝钢管,钢梁采用钢板加工成焊接H 型钢,ф 900~ф 1200的钢管柱采用钢板卷制成直缝焊接钢管。高强螺栓采用摩擦型大六角高强螺栓( 10.95), 钢销采用45#钢制作, 斜拉索采用双护层半平行镀锌钢丝束, 两端锚具采用固定单耳式和螺旋可调单耳式,螺纹调节范围双向各100mm。各构件最大长度30m, 重量12T。本钢屋盖结构型式新颖, 造型独特, 由于钢结构施工时站台不能占用, 安装施工具有一定难度。对于钢屋盖工程的施工, 我单位组织专业人员进行反复分析和论证。若我单位屋盖钢结构有幸中标, 将充分利用主体施工所布置的大吨位塔吊, 为屋盖钢结构的安装提供可靠的垂直运输保障;若其他单位承接屋盖钢结构施工, 我单位的大吨位塔吊也可作为钢结构安装的配合机具,为工程整体按期竣工创造条件。
4.4.2 施工方案的初步构想
4.4.2.1 施工方案 表4-4-1
序号 | 项目 | 施工方案 |
1 | 钢结构制作 | 专业钢结构厂家制作 |
2 | 张拉斜拉索制作 | 专业起重索具厂家张拉定型制作 |
3 | 钢管混凝土柱安装 | 大吨位塔吊分段吊装 |
4 | 南半部屋盖安装 | 大吨位塔吊吊装 |
5 | 北半部屋盖安装 | 横梁分段后塔吊吊装就位其余构件整体塔吊吊装 |
6 | 斜拉索安装 | 塔吊吊挂固定锚耳与钢柱安装,电动倒链拉紧可调锚耳与梁连接,人工调节螺旋调整索长度和张拉力 |
4.4.2.2 主要施工方法和技术措施
钢结构制作前由生产厂家或专业设计院根据主站房的建筑施工图、结构施工图和现场安装的分段要求, 设计一套完整的制作详图, 系统对构件分类编号, 注明构件的单板尺寸、坡口型式、技术要求和加设安装工艺装置, 详图完成报设计院审核盖章后, 分发到车间和班组进行下料加工。
钢结构生产厂家的技术工艺部门要编制合理的制作工艺, 采用先进的加工设备和加工全过程的质量控制措施,保证构件制作精度,制作完成后在工厂进行预拼装, 有监理和安装公司的驻厂质检员验收合格, 方可出厂。
斜拉索的制作厂家要根据钢柱和钢梁上的吊耳尺寸重新核定钢索的长度, 钢丝束的张拉方案报设计院审核后进行张拉,张拉力要严格按照设计图纸注明的张拉索力值进行张拉,固定锚耳和可调节的锚耳的型号规格, 按照斜拉索的直径和张拉索力合理选取,经力学试验后方可与张拉索锚定,钢索出厂时要进行两处以上的编号标注, 以免混用。
现场安装的波坦MC300K 型走行塔吊, 独立高度为56.8m 臂长采用65m 臂时, 至臂端可吊3.5T, 42.6m 时可吊6T , 起重性能见下表:
表4-4-2
起重 | 3.1 | 23.2 | 27 | 35 | 42.6 | 50 | 60 | 65 |
半径m |
|
|
|
|
|
|
|
|
起重量t | 12 | 12 | 10 | 7.4 | 6.0 | 4.9 | 3.9 | 3.5 |
钢柱42 米标高处最大偏离D 轴向北达7.046m,钢柱的最大起重半径为42m,塔吊起重量为6T, 钢柱的分节在6T 以下, 既可满足安装性能。南部钢构件均在12T 以下, 北部的横梁按起重量分为2~3 节后, 其余构件均可由塔吊直接进行吊装。
钢管柱吊装: 合理分段后, 采用3 绳3 点吊装, 专用吊索保证钢柱起吊后形成80 度倾角, 钢柱顶端设置缆风绳临时固定, 安装人员在搭设的脚手架平台上操作, 脚手架平台平面低于柱接口1m, 满铺脚手板, 设置防护栏杆, 以便安装和焊接操作便利和安全。轴线、标高、垂直度的测量和校正方法同下部钢柱的方法。
钢管柱焊接、探伤合格后, 进行砼的浇筑, 施工方法同主体钢管柱砼的浇筑施工。
屋脊梁的安装:圆管柱之间连接的屋脊梁截面为H1200×600×16×20,长度13.8 米,重量4.8 吨,由塔吊直接吊装就位,施工人员在脚手架上作业。
立柱的安装: 南北柱分别采用ф600X20 和ф402X16 的圆钢管材料, 塔吊作业范围和起重能力均能满足安装要求, 钢柱的标高和轴线位置, 测量校正准确,将柱间支撑和遮阳板横梁安装, 使南立柱、南斜柱间形成稳定的框架整体, 同时完成东西立柱和格构柱的安装。
横梁的安装: 屋盖结构的主横梁长30 米左右, 整体最大重量约12 吨, 为方便运输和吊装, 将南部大横梁分为2 段, 将北部大量分为3 段在工厂制作。钢梁安装前在南北方向( 2~19 轴)搭设脚手架拼装平台,拼装平台的定位标高和钢梁的下平面标高相同。塔吊将分段钢梁吊上拼装平台,调整钢梁的两端标高与设计标高一致时测量钢梁的直线度、轴线、垂直度合格后, 完成钢梁之间的螺栓连接和焊接,最后完成钢梁与中间钢管柱和南北立柱的高强螺栓连接,1 轴和20 轴的钢梁在顶层楼面拼装成整体后直接采用80 吨汽车吊完成安装。
其它钢构件的安装: 由塔吊吊装完成屋盖檩条、支撑檩条、采光窗结构系统和其它屋面构件的安装。
斜拉索的安装: 由塔吊将斜拉索的固定端锚耳用钢销安装在钢管混凝土柱的顶端, 用10 吨电动倒链一端固定在梁端一端固定在斜拉索的螺旋锚耳端, 将斜拉索拉紧后, 用钢销将螺旋锚耳与横梁上吊耳铰接。
人工采用专用力矩扳手转动锚耳的螺旋套, 改变斜拉索的长度, 调整斜拉索的张拉力。
4.4.2.3 配合屋面钢结构施工
为了圆满完成**站站房改建工程, 主体施工队伍与钢结构专业队伍必须相互协调, 密切配合, 合理穿插作业, 为对方提供便利条件, 才能保证工程的顺利实施。若我单位屋盖钢结构未能中标, 我方采取以下措施:
将钢结构施工队伍纳入总包统一管理, 委派经验丰富的钢结构专业项目副经理在总体施工进度、质量、安全、文明施工等方面进行统一协调和配合。对钢结构的施工方案和工期安排认真进行审核, 确保钢结构施工顺利实施。
提供相关的测量控制点, 提供钢结构安装的柱底基础轴线和标高检测数据。
合理分配现场施工电源、水源, 给钢结构安装提供便利。合理安排施工和生活办公场地, 给钢结构队伍提供构件进场道路和材料堆放场地。
根据施工区域划分和施工顺序, 给屋盖钢结构施工创造工作面, 我单位现场塔吊等设备, 积极配合钢结构施工, 为钢结构施工尽最大限度创造便利条件。
创优部对钢结构施工全过程进行检验、监督和质量控制, 协调钢结构队伍完善竣工资料的收集、整理, 保证工程整体竣工验收圆满完成和实现质量目标。
4 . 5 . 1 主体结构完成后,将所有主体结构施工中遗留下的垃圾及其它材料全部清理干净, 保证二次装饰工程顺利进行。
4 . 5 . 2 二次装饰进场前我单位项目部将组织有关人员认真熟悉二次装修的设计图与二次装饰施工单位共同完成二次装饰的施工方案以及总进度的安排,如果二次装饰由总承包单位中标我们将分别组织我单位的多年从事精装修施工且有丰富经验的技术及施工人员完成该工程的精装修工作
4 . 5 . 3 在主体结构施工中总承包将根据现有的图纸认真做好该工程楼面的测量放线工作, 做到每层楼面的轴线弹线清楚, 在每根结构柱子上均有建筑楼面上+ 1 . 0 0 0 的标高红三角, 在有结构墙体的墙面上均有建筑地面上+ 1 . 0 0 0 的标高线。二次装饰过程中我方项目部将根据现场装饰情况随时掌握精装修施工进度, 对装修掩盖( 不为最后一次) 的轴线弹线及标高线及时恢复, 以保证精装饰工程尺寸位置的准确性。
4 . 5 . 4 施工总承包单位精装饰施工队伍联合统一对精装饰质量进行控制,纳入总包单位的管理范围, 所有技术资料纳入总包单位实行控制。精装修在进入施工现场前必须与总包单位联合实施精装饰工程方案的计划与确定。
4 . 5 . 5 总承包单位将派出有丰富精装饰经验的施工人员与精装饰时光单位质量检查组联合制件小组认真对施工质量进行控制。
4 . 5 . 6 待精装饰施工图纸收到后,总承包单位将与中标二次精装饰单位制订一份详细的各分分部分项施工方法及施工工艺标准, 严格按照有关施工规范及地方规范标准进行。
4 . 5 . 7 精装饰单位进场后我方将积极为精装饰施工单位提供便利,及时提供现场的水源、电源并在施工现场内专门规划部分场地区域区域供二次装饰施工单位使用, 安排办公及材料库等, 便于二次装饰施工单位既是展开工作。
4 . 5 . 8 精装饰施工单位进场后总承包物资部门将积极配合精装饰物质管理部门工作, 当精装饰单位材料供应出异常时, 我方将积极协助精装饰单位解决,配合所有进场材料的技术管理, 并协助精装饰单位有关材料技术资料检测、归档工作。
4 . 5 . 9 总承包单位的施工作业区严格与精装饰施工作业区域隔离分开,以免相互影响, 尤其是对成品保护, 以保证该工程能顺利地按期完成任务。
4 . 5 . 1 0 水电设备安装配合土建装修的施工方案
4 . 5 . 1 0 . 1 做到“ 有工作面、有工作量就有作业人员施工” 的施工安排原则,集中力量保重点, 保工期。西配楼地下室设备安装、主站房消防喷淋管道设备安装以及插接式母线槽、电缆桥架作为重点, 在人力、物资、机具上给以充分保证。
具备施工条件的提前插入, 具有预制条件的提前预制, 地下室提前插入,确保西配楼按期完成。
按土建施工分区作业段及装修次序组织分段施工, 地下室及主站房为重点作业段, 西配楼按照土建装修作业分段顺序组织安装分段, 平行作业, 综合施工。
组织配合施工, 穿插作业, 重点部位抢工。水电预留预埋管盒配合主体施工进行, 确保位置准确, 临时封堵严密。在装修作业期间搞好工序合理穿插,组织相关安装项目抢工作业。推行先进的施工方法和施工机具, 提高机械化作业水平, 提高劳动生产率。施工机具材料的准备需根据工程进度提前调配或购置施工机械和专用工具, 详见主要施工机械设备表( 表2 - 9)。材料部门应按技术员、施工员作的材料计划提前作好材料的准备工作, 保证及时供应合格的材料。有些材料和设备还要考虑足够的订货时间, 甲供料及设备需及时提出材料进场计划, 便于甲方安排, 不耽误材料的进场。
4 . 5 . 1 0 . 2 安装工程协调配合施工措施
依据总进度计划, 分包单位每月制订相应月度计划, 交总承包审阅认可。水电安装在做好施工图纸会审、材料设备采购、施工操作管理这三项工作的同时, 配合土建、装饰等其他工种工序交接。特别是抓住卫生间、排水管道、预留孔、洞修补、管道保温等施工。工序交接中, 施工主管复核坐标、位置后,并由装修验收; 装修施工完, 交安装验收, 相互交叉验收把关。水电安装在土建做地面、墙面粉刷吊顶前, 电气所有管、箱、盒预埋完,水管疏通完; 管道系统试水、试气完, 风管及设备安装完, 经专业施工主管检查复核无误后, 书面通知总承包项目部, 交装饰施工。
屋面防水卷材施工前, 水电安装应将出屋面的管道、设备、风机安装完,经各专业施工主管检查复核无误后, 书面通知总承包项目部有关人员验收, 经验收无误交防水专业队伍施工。
室外总体施工中, 水电安装埋地排水、污水管接到每一只窨井安装完, 经专业施工主管检查复核无误, 书面通知总承包项目部, 交下道工序施工。
水电在施工安装中, 水电材料、设备大批量进场提前1 5 天书面报总承包项目经理协调进场日期, 电梯使用时间、场地堆放点, 经书面签证认可后, 水电部由专人组织落实, 做好各项准备工作, 确保材料设备顺利进场。
水电安装在施工中需动用明火, 均按规定执行, 三级动火由水电项目施工主管填写, 水电项目副经理签证, 并交到项目部安全主管备案; 二级动火由水电项目施工主管确定, 水电项目经理签字送项目经理审阅签字同意后方可动火。
业主提出甲供的材料、设备, 由水电部编制甲供材料设备、进场时间表,提交总主承包和业主审核。
在地坪及墙面粉刷施工前, 水电安装应将所有电管、电箱按标准等预埋完,穿线完。凡发现损坏或堵塞, 箱、盒坐标标高有误等均应及时修复。所有给排水、电管、雨水管、消防管应全部安装完, 系统泵水完。发现漏水、漏气、都应及时整修完。对所有空调预留洞孔坐标标高, 认真复核一次, 发现有误及时整改。对卫生间立管预留洞孔修补及防渗漏采取措施, 间间认真验收, 一旦发现问题, 书面汇报项目部, 要求有关方面及时修补完。
在吊顶内施工前, 总承包要召集分包单位, 共同协商的施工配合问题及相应的产品保护工作, 并形成书面意见, 共同遵守执行。
4 . 5 . 1 0 . 3 安装各工种之间的配合
给排水、消防及电气工程与通风空调工程安装的配合: 各工种本着小管道让大管道的原则, 了解风管布置位置确定和调整本工程各专业的管道、电气线路走向及支架位置。风管应尽早安装, 以便给其他工种创造施工条件。由土建提供给通风空调工程室内标高基准线及装修分隔线。
油漆施工配合: 施工中各种管道, 支架均先刷底漆, 待交工前按统一色泽规定刷面漆, 个别情况需全部漆完的由技术员确定。
设备安装与管道、电气的配合:设备到货后尽快就位( 含水泵、配电柜等),为管道与电气接线创造条件。
设备试运转的配合: 设备试运转应由电工先将电机单试合格, 设备运转时以设备钳工为主, 电气、弱电配合。
4 . 5 . 1 0 . 4 安装与土建的配合
预留预埋配合: 详细审核图纸, 解决各工种之间的矛盾, 把问题和矛盾处理在起始阶段, 在土建施工过程中安排水、电各一名技术干部, 配合土建施工,随时检查发现问题, 当场解决, 决不推诿。同时, 协调会中总结上一周工作的经验教训, 安排下周的工作。预留人员按预留预埋图进行预留预埋, 预留中不得随意损坏建筑钢筋, 与土建结构有矛盾处, 由技术员与土建协商处理, 在地坪内错、漏、堵塞或设计增加的埋管, 必须在未作楼地坪面层前补埋, 墙体上留设备进入口, 由设计确定或安装有关工种在现场与土建商定后由土建留孔。
卫生间施工配合: 在土建施工主体时配合安装留孔, 安装时由土建给定楼地坪标高基准, 安好卫生器具及地漏后, 土建再作地坪( 土建施工不得损坏安装口) 保护措施。
暗设箱盒及墙面上开关, 插座安装配合: 暗设箱盒安装, 应随土建墙体施工而进行。箱盒标高及墙面位置按土建标高线、墙面贴灰饼后的标准做, 以保证安装质量。
设备基础及留孔的配合: 设备基础应尽早浇注, 未达到强度7 0% , 不得安装设备。基础位置尺寸及留孔, 由土建检查, 安装复查, 土建向安装办理交接记录。
灯具、开关、插座, 面板安装配合: 灯具、开关、插座盒安装应做到位置准确, 施工时不得损伤墙面, 若孔洞过大应先作处理, 在粉刷后再装箱盖, 面板。
施工用电及场地使用配合: 因作业班组多, 穿插作业多, 对施工用电, 现场交通及场地使用, 应在统一安排下协调解决, 以达互创造条件为目的。
成品保护的配合: 安装施工不得随意在土建墙体上打洞, 因特殊原因必须打洞, 应与土建协商, 确定位置及孔洞大小, 安装施工中应注意对墙面, 吊顶的保护, 避免污染。
通过各单位协调共同搞好安装成品保护, 土建施工人员不得随意板动已安装好的管道、线路、开关、阀门、未交工的厕所不得使用, 湿作业时不得利用已按好的下水管排水, 不得随意取走预埋管道管口的管堵。
4 . 5 . 1 0.5 安装与装修的配合
灯头盒、烟感接线盒安装与吊顶施工的配合:灯头盒、烟感接线盒及监测、广播扬声器应在龙骨上固定( 或确定孔位和孔的大小)。再配管穿线, 烟感探头在吊顶安装完工后安装, 其布局要与二次装修配合。
喷淋系统与施工配合: 喷淋系统干管, 在吊顶龙骨施工前安装, 支架安装与系统冲洗, 应在吊顶封面前进行, 吊顶面板留喷头孔, 由二次装修配合开孔,封面完工后再装喷淋头。
在装修墙面上安装开关插座, 应与专项工作配合进行。
安装单位与业主的配合
甲方供应的材料设备, 由甲方按进度计划及时提供。
图纸资料及设计变更, 由甲方按规定数量及时供应, 安装与设计的有关事宜亦由甲方协调。甲方在施工过程中对安装质量进行监督, 设备开箱检查, 隐蔽验收、试车、试压应约请甲方有关人员参加和验收。
主要分部分项配合流程图及措施
基础及底板施工配合流程图
图4 - 5 – 1
4.5.10.6 配合实施要点:
在桩基础开挖时,电气技术人员需认真复核防雷接地系统图纸,找出所利用的接地体桩基具体位置,并用不同于土建使用的油漆颜色做好标志。
在土建钢筋绑扎完的同时,机电工作人员需核查防雷接地系统所要利用的板内主筋,进行焊接连通,做好标志。并将接地均压环与桩基进行焊接连通。焊接时按照规范所规定的要求进行。
通风、给排水及电气专业技术人员要详细复核设备基础位置,并将设备重量向土建技术人员进行交底,土建技术人员复核基础配筋及承重情况能否满足机电需要,如未能满足要求,则及时联系设计单位进行变更。
各层平台施工配合流程图
图4-5-2
配合实施要点:
定位测量前机电技术人员要详细研究土建结构图和建筑图,以便做到测量定位准确无误。
底筋绑扎完毕后,要给机电工序留有充足的施工时间。
砼浇捣时,管线看护人员要认真负责。
模板拆除后,机电工作人员对管线要进行及时的清理及复查工作。
砌体施工配合施工流程图
图4-5-3
配合实施要点:
在预制过梁时,要在过梁的一端预留出直径25mm 的洞口用以电气开关管的敷设,以免将来刻槽配管损害过梁结构受力要求。
半砖墙体电气配管时禁止直接敷设或墙体刻槽敷设,应将此部分采用现浇混凝土;
一砖墙应采用墙体完成后刻槽配管,刻槽要使用专用切割工具,并在配管完成后用钢丝网完整覆盖后方可进行抹灰工作;240mm 以上砖墙采用砌墙时同时进行配管工作。
线盒安装时位置要准确无误,稳注牢固,并出墙面距离统一为5mm。
洞口修复时土建施工人员注意使整个墙体保持一致、美观。
施工配合流程图
图4-5-4
配合实施要点:
在粉刷前必须完成线管引线的穿引工作,以免将来出现线管堵塞情况打墙或重新配管对饰面造成破坏。
暗敷设水管必须做好试压工作后方可进行墙面封堵及粉刷工作。
粉刷前电气工作人员需对线盒保护工作重新做详细检查,以免粉刷时盒内受到污染。
4 . 6 . 1 总承包单位在主体施工期间严格按照施工图纸的要求进行有关预埋件的预埋工作,预埋件必须严格符合设计要求,认真对玻璃幕墙预埋件检查校正,保证万无一失,为以后的玻璃幕墙施工提供作业的方便。
4 . 6 . 2 玻璃幕墙施工单位进场后及时在施工现场规划一块施工区域供玻璃幕墙单位使用( 具体位置在一层)。由玻璃幕墙施工单位安排办公及现场材料库。
现场及时为分包单位提供水源及电源以及施工现场提供轴线及建筑物标高的明显标志, 供玻璃幕墙施工单位准确使用无误。
4 . 6 . 3 对玻璃幕墙施工我总承包单位派出在玻璃幕墙方面有丰富施工经验的现场管理人员负责对玻璃幕墙的施工及质量检查协调工作,并与玻璃幕墙施工单位组成联合检查小组, 在自检合格后交建设单位和现场监理验收。
4 . 6 . 4 外墙玻璃幕墙施工由总承包单位提供安全合格的外脚手架, 完全满足玻璃幕墙的施工要求。
4 . 6 . 5 总承包单位在玻璃幕墙施工前对该部分的施工组织设计施工方案进行认真审查, 以保证建设单位的利益, 玻璃幕墙的施工方案必须符合设计, 施工规范及建设单位的要求( 包括工期), 对玻璃幕墙的施工方法及施工工艺以及节点进行严格的审查, 以确保该工程的验收达到设计标准。
4 . 6 . 6 由于总承包单位长期从事房屋建筑行业的施工,具有玻璃幕墙施工丰富的经验, 协助分包单位制定施工方案。
4 . 6 . 7 施工工艺
本工程将采用的工艺及施工工艺流程图:
工艺:
工艺流程:
4 . 6 . 8 施工方法及施工机具
根据本工程占地面积较大的特点,要求对土建提供的主体轴线及基准线,进行复验由专业技术人员操作确定无误后,用高精度测量仪器准确无误地将框架位置线,依据设计要求确定在主体结构的相对位置上, 做为施工和检验依具。
预埋件与连接件的焊结( 我总承包单位保证预埋件安装达到图纸设计要求):幕墙与主体结构连接的预埋铁件应在主体结构施工时,按设计要求埋设,埋件牢固, 位置准确, 标高偏差不大于5 m m , 埋件轴线距离偏差不大于1 0 m m, 幕墙平行方向的左右偏差不大于1 5 m m 。幕墙框架安装前应首先按框架位置线检查预埋铁件准确程度,误差过大的必须调整,预埋件与连接件焊接必须按设计要求, 框架位置调整后, 满焊时对焊缝的长度,焊缝高度, 焊缝位置等必须严格把关由专人负责。焊接处须进行防腐处理。由于本工程已有预埋件须对其进行复核。
框架安装:幕墙框架安装是决定其外饰效果的关键工序。在确定基准的前提下在同一节面首先安装基准框,经检查基准框符合设计要求后方可继续立框。 安装顺序由下向上,由主体的中心向两侧展开,安装框架应先安装竖框后安装横框,将竖框先与转接件连接, 连接件再与主体预埋件连接并进行调整、固定。按竖框轴线及标高位置将标高偏差调至不大于3 m m, 轴线内外偏差不大于2 m m, 左右方向内外偏差不大于3 m m, 同层竖框的最大标高偏差不大于4 m m, 同一层的横框安装由下向上, 当安装完一层高度时, 进行检查、调整、校正, 符合质量要求后满焊固定。
玻璃安装: 玻璃安装前应将表面灰尘和污物擦试干净,检查是否有破损。所采用的镀膜玻璃其镀膜面朝内,非镀膜面朝外。玻璃与构件之间应避免直接接触。
用耐候胶密封后,使用修胶工具进行休整,揭掉遮盖压边胶带并清除残余胶。
铝板安装: 安装铝板按照从上向下的顺序, 安装时要保证铝板方向一致, 胶逢宽窄一致, 安装牢固,满足设计要求。
注胶: 注胶前将须将注胶处清理干净, 不要存有灰尘和杂物。注胶应均匀、饱满。待密封胶固化后, 撕去铝板表面的保护膜, 并把表面清理干净。
4 . 6 . 9 工程质量控制及安全保卫措施
4 . 6 . 9 . 1 施工准备过程中的质量控制
方案本身严格按照程序审批,发现问题及时解决, 以免因设计失误而影响工程质量。
对本工程所选用的各种材料,依据供方提供质量保证的具体情况,履行入库检查制度( 免检、抽检、全部检查), 同时, 对所购进材料厂家、生产日期、批次、合格证明等进行严格检查监督, 避免超期、失效等不合格产品进入现场。
玻璃幕墙材料需要进行以下检验测定:铆钉的力学性能检验报告、玻璃光学性能检验报告、硅酮结构胶与基材相溶性检验报告、防雷测试记录、淋水试验、锚栓拉拔试验报告、玻璃幕墙的透气性、淋水风压变形检验报告。要求各项性能均要达到设计与规范的要求, 施工中确保各项性能达到要求。
加强对进入施工现场的施工人员的场前教育、培训和考核, 阐明本工程的重要性, 对经考核不合格的施工人员不得进场。
4 . 6 . 9 . 2 加工、安装过程中的质量控制
在职工中开展以创优工程活动为中心的质量教育,认真贯彻执行施工质量要求及规范要求,并对保证工程质量上有突出成绩的班组及个人给与奖励,对出现质量事故者严惩不殆。
对进入现场的半成品及各种结构组件,历行抽样检查制度, 按比例随时抽取样件,如有质量问题应予以修复,如不能修复,则必须退回生产部门,重新加工。
此外在安装过程中发现有质量问题的半成品,要立即停止安装,退回修复或重新加工制作, 以确保工程安装质量。
厂内加工,加工车间推行工序间质量控制手段,即中间检验和最终检验相结合。由经验丰富的工程技术人员组成质量监查部, 依具设计要求进行自检、互检制度基础上的“ 专检” , 专职负责中间检验和工程质量验收工作( 竣工验收)。
4 . 6 . 9 . 3 工程关键部位质量控制
幕墙连接质量是保证其安全性和使用寿命的关键部位,必须严格按操作规范进行,在铝板,玻璃安装前由质监部专职检查员实行“ 专检” ,并填写相应的“ 隐蔽工程检查验收记录” , 用以备案。
铝板,玻璃安装的外观效果及平整度是工程质量的关键部位, 在安装前专职质监人员对幕墙框架的平整度、垂直度利用仪器进行检查, 检查合格后, 满焊固定, 安装板件。
4 . 6 . 9 . 4 工程质量验收
工程质量验收依据, 按国家行业及企业标准执行。
施工中完善各种质量验收手续, 认真填写各种原始记录和质量验收表格。
工程整体交工验收应具备完整加工图( 包括设计变更通知书、工程洽商记录、修改图等) 和原始记录资料。
玻璃幕墙工程验收具体质量要求
玻璃幕墙应有专业结构设计计算书, 结构胶、密封胶厚度和密度的计算。
龙骨焊缝饱满,无孔洞或不平现象。
埋件应牢固, 位置准确, 埋件的标高差不应大于5 m m, 埋件位置与设计位置的偏差不应大于1 0 m m 。
玻璃幕墙垂直度不大于5 m m , 幕墙平整度不大于3 m m, 竖缝垂直度或横缝直线度不大于3 m m, 拼缝宽度不大于2 m m 。
胶缝均匀顺直, 宽度应一致, 表面光滑。
防水密封胶胶路要均匀, 严密。安装幕墙时切勿堵塞排水孔, 确保幕墙的防水性能达到设计要求。
玻璃幕墙应进行风压变形性能、雨水渗透性能、空气渗透性能的检测及冲淋试验;结构硅酮胶、密封胶应进行相容性试验;进口胶应有商检报告和复试报告,并确保有效期。
4 . 6 . 9 . 5 施工安全及消防保卫措施
现场项目队长、技术负责、施工作业组组长对本职范围内的安全生产及贯彻国家和地方安全施工方针、政策及落实具体措施负责,认真进行遵纪和安全教育,定期或不定期地进行安全检查、总结、评定。
现场安全员严格按安全员岗位责任制规定工作,必须每天亲临作业现场, 随时检查纠正不安全因素, 对违章操作者, 记提示单、清醒单乃至罚款通知, 以确保人身安全。
施工作业组组长, 必须以身作责, 带领全组成员, 严格按施工操作规程施工做好班前班后的安全检查和交接工作, 有权拒绝违章指挥、违章作业的指令。
进入工地现场的施工人员, 必须戴好安全帽。高处作业必须系安全带。
施工用的脚手架等高空作业设施, 操作前必须做好安全检查工作。
对在安全作业中作出显著成绩者, 依据有关规定给予奖励。
特殊工种持证上岗, 有电焊施工时, 安排专人巡视防止火灾事故发生。
加强对施工现场成品、半成品及零配件的保护工作,库房设专人负责,作好安全防范工作按照有关规定保证用电安全, 施工及生活用电由专业电工负责。
4.7.1 我们将以总承包身份对通风与空调、智能建筑安装分包工程履行管理职责, 确保分包工程质量满足总包制定的工期、质量目标。为此, 我们将做好如下工作: 配合业主与监理方做好对通风空调、智能建筑项目工程的招投标, 与业主一道做好安装分包队伍的评审工作,选用能够认真履行合同规定, 让业主满意的“ 合格分承包方”。在本工程的施工安装过程中作为总包将对通风空调、智能建筑项目工程提供如下现场施工的配合。
4.7.2 在建设单位完成对通风与空调、智能建筑项目工程的招标活动并确定中标单位后,及现场达到该专业进场的前提下要求其尽快进场,由土建提供各类相关的标高等技术参数及土建施工的总体施工进度安排等。通风与空调、智能建筑专业在做好施工图纸会审,材料设备、施工操作管理的同时需配合土建及其它专业安装工种进行协调和交接。工序交接中由施工主管复核并由相关专业进行相互交叉验收。保证工程的顺利进行及质量总体控制。
4.7.3 进度配合:根据工程总进度计划控制各分包专业的进度及分项的完成时间. 要求分包单位提交周进度计划及月进度计划, 便于总包进行客观的协调和控制. 确保总进度的实现和完成。对施工过程中的关键工程设立质量控制点。
4.7.4 基础施工的配合:智能建筑系统设有单独保护接地。在基础施工时施工,要求测试接地电阻值达到设计要求。做好测试记录。
4.7.5 设备基础及留孔的配合:设备基础根据土建设计图纸及通风、空调、智能建筑专业的设计图纸结合设备的实际基础要求的相关文件,确定基础的尺寸及留孔位置。尽早进行浇注,基础未达到强度的70%不得安装设备。基础位置尺寸及留孔由土建检查, 安装专业复查。土建向安装办理交接记录。如需预留设备孔及其它孔洞时需报总承包进行协调配合。
4.7.6 主体机构施工时的配合:按照设计图纸及要求,现行施工规范规定预埋管线、箱、盒。
4.7.7 砌体、粉刷施工时的配合: 机房、控制室设备安装需要粉刷提前结束。与各专业技术人员协商按进度计划施工。
4.7.8 管道安装配合:各安装专业本着压力管让无压管,小管道让大管道的原则, 确定风管的安装位置, 调整其它专业管道。电气线路的走向及支架位置。风管应尽早安装以保证为其它工种创造条件, 确保整体安装项目的进度。
4.7.9 装饰、吊顶施工的配合: 风口应在龙骨上固定( 或确定孔位和孔的大小), 风口在吊顶安装完工后安装。公共广播, 闭路电视监控设备、火灾报警探测器、列车到发信号显示屏、客运引导信息显示屏的安装应结合其布局、总体规划进行装修配合。
4.7.10 成品保护的配合:安装施工不得随意在土建墙体上打洞,因特殊原因必须打洞, 应与土建协商, 确定位置及孔洞大小, 安装施工中应注意对墙面, 吊顶的保护, 避免污染。通过各单位协调共同搞好安装成品保护, 土建施工人员不得随意板动已安装好的风管及设备。
4.7.11 配合业主召开工程协调会议, 解决、协调、成品保护, 各专业预留孔洞相统一等问题。材料进场及验收的配合: 安装施工中通风与空调、智能建筑专业大批量材料或设备进场前15 天提出书面报告交总承包项目经理, 由总承包项目经理协调进场时间、吊装工具的使用时间, 场地堆放地点, 经书面签证确认后由通风与空调、智能建筑专业落实材料及设备按计划顺利进场。建设单位提出的甲供材料及设备由该专业编制甲供材料设备的数量、进场时间表提交总承包和业主审核。
4.7.12 为分包队伍提供安全条件。安全管理配合: 因作业班组多, 穿插作业多, 对施工用电, 现场交通及场地使用, 应在统一安排下协调解决, 以达互创造条件为目的。在施工中需动用明火, 均按规定执行, 三级动火由水电项目施工主管填写, 水电项目经理签证, 并交到项目部安全主管备案; 二级动火由水电项目施工主管确定, 水电项目经理签字送项目经理审阅签字同意后方可动火。
4.7.13 将分承包的安全、质量保证体系,纳入通风与空调、智能建筑项目安装部的管理体系, 质量管理配合: 要求分包单位严格执行GB50243-2002 的《通风与空调工程施工质量验收规范》、GB50166-92《火灾自动报警系统施工及验收规范》、GB131-90《自动化仪表安装工程质量检验评定标准》、CECS89: 97《建筑与建筑群综合布线系统工程施工及验收规范》、GB50169-92《电气装置安装工程接地装置施工及验收规范》、GBJ303-88《建筑电气安装工程质量检验评定标准》, 由水电部安排专业质量检验员对分包专业的施工质量与进度进行控制. 施工中相关的验收及检查项目应提前2 4 小时书面通知总包及监理单位,以便进行质量验收,对总包提出的质量方面的要求必须严格执行。对施工过程中的关键工程设立质量控制点。定期开展活动,运用PDCA 循环原理做好计划、实施、检查、总结、提高等质量控制工作。对施工工程中的中间验收、隐蔽工程验收等项目,项目部将自行检查。对不符合验收标准的, 项目部技术负责人实行质量否决制。
在自检符合要求后24 小时之内书面通知建设单位和监理单位。在认可并书面签字的前提下方可进行下道工序施工。施工中发现分包队伍不能履行合同职责和义务,影响合同目标的兑现时,及时向业主反映,必要时总包方有权采取一切措施,包括劝其退场, 更换分包队伍, 一切损失由责任方或责任人负责。
4.7.14 在施工过程中,总包按行业标准和国家现行规范检查分包队伍施工质量、进度、文明施工情况。分包队伍必须做好各种检查、试验记录、特别是隐蔽工程的检验、验收记录, 随时接受业主、监理及总包职能部门的检查。按检查意见认真改进工作。工程竣工后, 总包要求各分包队伍及时提供完整、真实的施工技术资料。
4.7.15 在控制网络计划指导下,加强对分包队伍的计划管理和协调配合,科学安排各工序,协调好安装与土建及其它专业的立体交叉和空间流水作业,加强现场质量管理, 重视收尾工作。
4.7.16 在安装阶段总包建立现场生产调度会制度,各分包单位负责人必须准时参加。听取施工调度安排, 协调各方及各工种、工序穿插施工的有关问题。解决现场生产、安全、质量、文明施工中出现的问题。各分包单位必须认真执行会议决定。
4.7.17 竣工验收时, 项目部先进行自检, 验收合格后方移交建设单位、监理单位验收。符合要求后积极配合政府质量部门的监督。
4.7.18 甲供设备及材料的管理
4.7.18.1 验收
甲供设备及材料到场后,管理部由本专业总工程师牵头,组织专业人员配合业主及监理单位及时做好开箱点验工作。检查其合格证、技术说明资料是否齐全;
是否有产地证; 进口设备、材料是否有海关验收证明等相关资料。
详细检查设备型号规格、各项技术参数及数量是否与设计相符合,发现问题尽早处理。
认真检查设备外观及可检查的内部结构, 测量外型安装尺寸,看是否有锈蚀或损伤情况, 是否满足安装要求数量较多的设备、材料, 现场抽查一部分进行通电试运转及试压工作及时做好各项验收记录, 作为以后查证及竣工验收的资料。
在其施工过程中,配合业主及监理单位做好各项施工管理工作,严把质量关。
4.7.18.2 保管
由于本专业工程设备及材料数量大,设备单体体积庞大,全部一次进场将会给现场存放带来很大困难。故我方将与业主及监理单位协商,根据现场实际情况及进度要求制定详细计划。各设备材料的进场时间相互错开,以利于现场的妥善保管各种材料及设备进场前一天,将其存放场地选好。并搭建好必要的防护设施,请业主及监理单位验收合格。
材料、设备进场后未安装前, 做好防风、防火、防雨、防爆、防腐、防盗工作, 设立专人看护, 二十四小时值班。确保设备及材料不遭受任何损坏。
各种设备安装完毕后, 未运转前做好各项成品保护工作。
专门委派看护人员每天对安装好的重要设备、材料例行巡视检查,每天做好记录, 加强成品保护。
分包单位与项目部业务交往工程中。以业务联系单、备忘录等书面形式与项目部进行联系。由项目部解决的问题须限时进行妥善解决。分包单位须诚恳接受建设单位对项目管理工作的指导意见和要求,相互紧密配合,以确保工程顺利进行。
开工日期: 2 0 0 3 年1 月3 0 日
竣工日期: 2 0 0 5 年1 月1 8 日
各阶段里程碑工期目标:
表5 – 1
序号 | 项目 | 完成日期 |
1 | 主站房±0.00 以下基础及地下室 | 2003 年5 月29 日 |
2 | 主站房主体结构 | 2003 年7 月18 日 |
3 | 主站房水电安装、室内粗装 | 2003 年10 月12 日 |
4 | 主站房设备安装 | 2003 年9 月9 日 |
5 | 主站房装饰工程 | 2005 年1 月18 日 |
6 | 屋盖钢结构及屋面板 | 2003 年12 月30 日 |
7 | 玻璃幕墙安装 | 2004 年5 月12 日 |
8 | 基本站台施工 | 2004 年9 月28 日 |
9 | 进站天桥 | 2004 年4 月29 日 |
10 | 出站地道 | 2004 年9 月28 日 |
11 | 行包地道 | 2004 年8 月29 日 |
12 | 高架车道 | 2004 年6 月7 日 |
13 | 西配楼提前交付 | 2003 年8 月6 日 |
14 | 工程竣工 | 2005 年1 月18 日 |
我单位在近年的施工中, 按期交工率达1 0 0 %, 根据类似工程的施工, 我方总结了“ 垫、遮、疏、挖、洒、冲” 的施工方法, 成功的解决了扰民、环境污染、文明施工等现代施工中的突出难题; 并通过“ 栈桥、地道、绿色通道” 等措施, 解决了现场用地紧张、旅客安全第一及现场原有管线、设备的防护、拆除问题, 通过这些成熟的措施, 保证在车站不中断运营情况下, 实现预定的工期目标并争取提前完成。
5 . 3 . 1 . 1 组建“ **站站房工程项目经理部”, 下设1 2 部3 室, 实行项目法施工。
5 . 3 . 1 . 2 派具有国家一级项目经理资质的人任项目经理和具有类似施工经验的管理人员等进驻现场组织施工。
5 . 3 . 2 合理组织、流水作业:
5 . 3 . 2 . 1 本工程根据设计图纸、现场* *地铁一号及边施工* *站车站边运营的实际情况, 地下施工时划分七个施工作业区( 详见图2 - 2 5); 地上部分施工时, 划分为五个作业区。( 详见图2 - 2 6 )
施工中各个作业区依次组织钢筋、模板、砼作业组, 按流水段划分进行流水作业。确保施工不会影响车站的正常运营,为旅客提供更加舒适的候车环境。
5 . 3 . 3 充足的劳动力及总包协调能力:
安排施工队伍, 进入现场两班昼夜施工( 办理夜间施工许可证), 做到只要有工作面, 有工作量, 就有作业工人在施工; 并选择与我方有良好合作关系、质量可靠的合格劳务分包队伍, 加强对施工队伍的管理, 每天的调度会施工队伍负责人必须参加, 听取对施工进度的安排, 及时调整施工进度, 保证总工期的实现。
5 . 3 . 4 做好超前施工技术准备工作:
5 . 3 . 4 . 1 认真进行图纸审核, 编制分项分部施工技术方案, 特殊工序的作业指导书, 超前预想, 超前准备, 提前编制各类材料计划, 确保工程按计划进行。
5 . 3 . 4 . 2 加强质量通病的预防,根据我方施工火车站的经验,对易出现质量问题的部位, 提前制定预防措施。减少返工。
5 . 3 . 4 . 3 针对本工程特点, 编制雨季施工措施, 做到防患于未然, **地区雨水较多, 对工期影响较大, 为确保施工进度不致延误, 要采取切实可行的技术措施, 以消除不利因素的影响。
5 . 3 . 5 加强工程进度的计划性:
5 . 3 . 5 . 1 施工期间, 建立进度控制的组织系统, 按施工项目的结构、进展阶段进行目标分解, 确定其进度目标, 编制月、旬作业计划, 做到日保旬, 旬保月, 并做好施工进度记录。
5 . 3 . 5 . 2 加强施工中进度检查力度, 将实际进度与计划进度对比, 及时调整。建立现场会、协调会制度, 每周召开一次现场会, 每天召开生产调度协调会, 加强信息反馈, 及时调整进度计划。
5 . 3 . 5 . 3 将把**车站项目列入我单位重点工程,重点管理,上级将密切关注工程进度情况,及时掌握工程的施工动态,必要时,从其他施工地区调集人力、物力、以确保本工程如期顺利竣工。
5 . 3 . 6 材料、设备订货超前准备: 材料、设备加工定货超前准备。* *站房工程屋面采用了轻钢架结构屋面, 因此, 要根据总包施工进度的安排, 配合业主, 考虑生产厂家设计、加工的时间, 提前做好配合工作。
5 . 3 . 7 采用“ 四新” 技术, 保证工程进度:
5 . 3 . 7 . 1 积极采用新技术, 新工艺, 新材料, 并充分利用我单位现有的先进技术和成熟的工艺保证质量, 提高工效, 保证进度, 降低成本。本工程拟采用的新技术及我方工法详见施工方案中新技术一览表。
5 . 3 . 7 . 2 本工程的砼采用预拌商品砼, 由砼输送泵输送浇筑。加快施工进度, 缩短工期, 节约投资。
5 . 3 . 8 加强土建、安装的配合工作:
5 . 3 . 8 . 1 装修、水电设备工程采取提前插入, 交叉作业等综合措施, 尽可能减少其实际占用工期天数。
5 . 3 . 8 . 2 加强安装与土建配合工作, 互相协调, 配合默契, 安装工程要随时了解、掌握土建的施工进度, 使预埋、预留以及安装项目得以及时完成, 减少返工, 加快施工进度。
5 . 3 . 9 合理安排机械设备的使用:
施工过程中, 各种机械设备充分合理利用, 人停机械不停, 机械操作人员两班倒, 尽最大程度满足施工进度的需要。
5 . 3 . 1 0 加强成品保护工作:
5 . 3 . 1 0 . 1 做好成品保护措施, 减少返工、返修浪费, 加快施工进度。
5 . 3 . 1 0 . 2 对全体员工加强教育, 使之晓之以理, 在施工过程中做到自觉自律。在每天的调度会由项目经理或项目总工对各班组负责人进行教育,班前会,要求班长要强调员工的成品保护意识, 提高员工的职业道德和职业素养。
5 . 3 . 1 0 . 3 建立一套严格的管理体系和管理制度,做到每个成品都有人负责。
5 . 3 . 1 0 . 4 各工种间相互做到互不破坏互不污染, 确有相互干扰和更改的要征求总工程师和项目经理同意, 拿出具体的方案。各工种进行施工前要进行现场交接, 后施工的工种和工序, 不得破坏上道工序的和其他工种的成品, 并把责任落实到班长。
5 . 3 . 1 0 . 5 加强总包方与分包方之间的联系, 有相互扯皮和相互干扰, 相互影响及要破坏成品的, 要报告总承包, 由总承包出面协调相互关系, 把损失减少到最低限度。
5 . 3 . 1 0 . 6 具体施工时, 据实际情况, 再编制详细分部分项成品保护措施。减少返工时间, 加快施工进度。
5 . 3 . 1 1 加强既有线车站施工的安全管理:
施工中坚持“ 安全第一, 预防为主” 的原则, 一切为旅客着想, 尤其是春运、暑运、“ 五一”、“ 十一” 黄金周运输高峰期间, 旅客较多, 加强安全防护,给旅客提供一个安全、舒适的候车环境, 是我单位加快施工进度的根本保证。
在专列和军人等特殊运输作业时,配合车站公安作好安全治安保卫工作。( 进站口、出站口及一站台安全防护见第七部分: 安全目标及保证措施)。
5 . 4 . 1 施工进度事前控制
编制本工程施工总进度计划,同时以总工期为依据,编制工程进度分阶段实施计划,包括施工准备计划、劳动力进场计划、施工材料、设备、机具进场计划、分包单位进场计划等。
对关键过程或特殊过程编制相应的施工进度计划, 制定相应的节点, 编制节点控制计划。
编制施工节点实施细则, 明确搭接和流水的节拍。
5 . 4 . 2 施工进度事中控制
审核施工( 各供货、配合等) 单位进度计划、季度计划、月计划, 并监督施工单位按照已制定的施工进度计划进行实施。
每周定期与分包单位召开一次协调会、协调生产过程中发生的矛盾和存在的问题, 按总承包每周施工进度要求检查完成情况, 并落实下周施工生产进度。
在施工高峰时, 每日施工结束前, 召开一次碰头会, 协商解决当天生产过程中和第二天生产中将会发生的问题, 服从总承包负责协调解决的问题决不拖延。
根据施工现场实际情况, 及时修改和调整施工进度, 并定期向业主、监理和设计单位通报工程施工进展情况。
5 . 4 . 3 施工进度事后控制
根据施工进度计划, 及时组织有关部门进行分项施工验收。
定期整理有关施工进度的资料, 汇总编目, 建立相应的档案。
加强工程项目竣工验收管理。
5 . 4 . 4 工程进度管理流程图
根据总承包技术管理的要求, 发挥计划、组织、指挥协调和控制功能, 积极贯彻国家和**市的技术政策和法规。建立良好的项目技术管理秩序, 使项目管理过程能符合技术规范、规程、科学、有效有组织各项技术工作的顺利开展。
接到施工图纸以后,总承包应及时组织有关人员熟悉图纸, 并将图纸中存在的问题汇总整理,在图纸会审前提交设计单位。使得这些问题在各工序施工前将图纸上存在问题及时解决。
在图纸会审后一周内, 由总承包编制详细的施工组织总设计,并经我方总工程师审批后送交业主和监理审核批准, 根据批准的施工组织总设计再按各单项、工程各阶段编制分段段施工组织设计, 经我方总工程师批准后再分送业主和监理。
对经业主和监理批准的施工组织设计,由项目经理组织有关人员认真学习并严格执行, 随时接受业主、监理的监督检查。
对轴线、标高等施工现场的关键工序进行复核,负责各分包单位技术方面的协调, 在不同施工阶段协调各分包单位调整场地, 满足施工的需要。对于施工中发生的一般技术问题及时解决, 如有重大技术问题,则组织有关方面共同参与解决。
及时做好的各项技术资料汇总工作,定期归档,并定期对各分包单位的技术资料进行检查, 发现问题及时落实解决。
根据施工的实际情况, 设置相适应的计量器具,要求各专业分包单位也配备专职计量管理人员, 开展计量工作。将定期对各分包单位的计量工作进行检查,监督各分包单位做好计量器具的送检工作, 确保工程质量。
技术管理流程图: 图5 – 2
工程质量管理目标: 按照国家新近颁发的标准、规范和**市有关规定, 抓好施工质量、原材料质量、半成品质量,使本工程质量符合国家验收标准,确保“ 鲁班奖”。
安全施工的目标:安全生产重大事故为零,把安全管理工作贯穿于施工管理中, 设立专责安全员, 突出安全生产在生产活动中的重要地位。
管理网络的建立:为了及时将施工过程中的质量信息上报监理, 成立以项目经理为组长, 技术负责为副组长的全面质量管理小组,对于施工过程中的关键过程( 如土建与安装配合、精装修各专业工种配合等), 将特殊过程( 如屋面防水施工、轴线控制等) 设立质量控制点, 定期开展活动, 并运用P D C A 循环原理,做好计划、实施、检查、总结、提高等质量控制工作。对于施工过程中的质量问题, 采用排列图方法, 即找出偏差频率最多的质量缺陷, 从而找出最易产生的质量问题, 以采取措施进行避免。对于产生质量问题, 由全面质量管理小组再运用因果分析法进行分析, 找出主要原因和次要原因, 从而找出解决问题的方法, 使整个过程始终处于稳定受控制状态。
5 . 6 . 2 质量控制管理措施
督促和检查各分包单位严格按照现行的国家规范、标准和设计图纸要求进行施工。
根据合同各图纸要求, 审查各分包单位提供的材料、设备清单及质保书, 并对工程中使用的原材料、构件及设备进行必要的抽检,对施工单位提交的各种材料样品经审核后, 送监理、报业主审定, 并及时封样和采取相应保护措施。
检查工程施工质量,每月一次书面向业主和监理单位提供工程质量月报, 并组织好各项工程验收。
对于施工过程中间验收、隐蔽工程验收等, 总承包将先自行组织检查, 对于不符验收标准的,项目部技术负责人实行质量否决制,在自查符合要求后以书面通知监理,在监理认可并书面签字前提下方可进行下道工序施工,对于监理在检查中提出的问题,整改后及时通知监理进行验收, 待验收批准后方可进行下道工序施工。
协助业主确定本工程甲供设备、材料的定版、造型和提供业主所需的有关技术数据、资料、样品及推荐有关材料。
处理分包单位的质量事故,查明质量事故原因的责任,并督促和检查各施工单位事故处理方案的实施, 做到不留隐患, 不降低工程质量标准。
为了便于分阶段验收, 定期将所有与质量情况有关的资料按A、B、C 三类整理成册, 并定期送监理进行审核。
工程质量竣工验收时, 将先进行自检, 验收合格后移交监理验收, 符合要求后积极配合政府质量监督部门验收。
工程竣工验收后,将设立专门回防服务小组做好竣工以后的成品保护及竣工后的服务工作。
5 . 6 . 3 安全控制管理措施
督促和落实各专业分包单位按照国家、建设部、* *市建委和本工程中被认可的施工组织设计中有关的安全生产的规定规程进行操作。
督促各分包单位提交的方案中有关现场安全管理内容, 提出修改意见。
督促、指导、检查各分包单位搞好安全生产管理工作, 严格执行安全生产管理规定; 设备, 脚手架验收挂牌和操作人员持证上岗制度; 对危险区域重要过道处均设置防护措施; 对重点部分落实专人监控等。
督促各分包单位建立起安全生产台帐;同时每月组织对施工现场的安全工作进行检查,擅于在动态中采用照片、实物取证等有效手段发现并处理施工中的违章和不安全因素, 并采用强有力的手段落实整改, 并下发书面记录。
每月汇总一次现场安全情况,根据施工进度及采用的施工方法,提出阶段安全检查要点, 并进行分级安全教育和技术交底工作。
5 . 6 . 4 质量控制管理流程图
图5 – 3
评定(地下室、结构、项目竣工)
根据工程的进度计划, 及时制定劳动力月、旬、年的使用计划( 同时审核分包间接的劳动力使用计划)。
严格计划使用劳动力, 如了现实际情况与计划不符合时,总承包及时查明原因, 并采取相应的积极措施解决。
为了便于管理员识别,对在工程中进行施工的人员均要求佩戴统一制作编号的胸卡。管理层( 总包和分包的施工管理人员) 和机修人员以及作业人员安全帽须区别颜色。
安排有丰富后勤管理经验的人员负责管理劳动力的吃、住、行等工作, 解决劳务工的后顾之忧。
对业主提出要求辞退的劳务工( 或其领导层), 经与甲方验证后, 按合同约定条件要求分包方三天之内清退,同时也及时清退各分包单位中不能达到本工程合同及国家有关规范要求的劳务工。
按照承包管理的要求, 做好预算编制的统一管理工作,主动收集工程的资料和信息, 以保证预算造价编制合理。
在熟悉合同的基础上分析合同, 对合同中的每一个条款都要认真推敲,全面落实。
根据施工预算造价及总进度计划, 编制工程总资金计划及本年度资金计划。
根据业主核准的工作量报表, 及时准确办理付款凭证。
每个月召开一次预算工作分析和项目成本分析会, 分析总承包部的成本情况。
建立五大材台帐, 审核五大材的用量, 按阶段汇总制表, 送交业主和监理方审核。
根据工程的进度及质量情况,调整单位付款计划, 用经济控制手段督促分包单位按期优质完成工程各分部分项目的施工和节点施工计划的实现。
中国建筑工程质量最高奖— 鲁班奖本工程共有分部工程9 项, 子分部工程3 6 项, 分项工程1 6 3 项。
分项工程合格率: 1 0 0 %
分部(子分部)工程合格率: 1 0 0 %
根据鲁班奖的有关要求,并结合我单位创鲁班奖的经验,将单位工程进行质量目标分解, 根据质量目标进行重点监控, 以分项保分部, 以分部保单位工程,实行目标控制, 实现工程质量一次成优。
附: 分部、分项工程质量目标设计( 表6 - 1 ):
单位工程观感质量目标设计( 表6 - 2 ):
分部( 子分部)、分项工程质量目标设计
表6 – 1
序号 | 分部 工程 | 子分部工程 | 序号 | 分项工程 | 质量 等级 |
一 | 地基与基础 | 有支护土方 | 1 | 土方开挖、回填 | 合格 |
混凝土基础 | 2 | 模板工程 | 合格 | ||
3 | 钢筋工程 | 合格 | |||
4 | 砼工程 | 合格 | |||
5 | 后浇带混凝土 | 合格 | |||
6 | 混凝土结构缝处理 | 合格 | |||
桩基 | 7 | 混凝土灌注桩 | 合格 | ||
二 | 主体结构 | 混凝土结构 | 1 | 模板工程 | 合格 |
2 | 钢筋工程 | 合格 | |||
3 | 砼工程 | 合格 | |||
4 | 后浇带混凝土 | 合格 | |||
5 | 混凝土结构缝处理 | 合格 | |||
砌体结构 | 6 | 砌筑工程 | 合格 | ||
钢结构 | 7 | 钢结构安装 | 合格 | ||
8 | 钢结构涂装 | 合格 | |||
|
|
| 9 | 压型金属板 | 合格 |
10 | 钢结构预拼装 | 合格 | |||
11 | 钢结构焊接安装 | 合格 | |||
12 | 紧固件连接 | 合格 | |||
三 | 建筑装饰装修 | 地面 | 1 | 人造大理石楼、地面 | 合格 |
2 | 地砖楼、地面 | 合格 | |||
3 | 玻化石地面 | 合格 | |||
4 | 防静电地板 | 合格 | |||
5 | 水泥砂浆楼、地面 | 合格 | |||
6 | 花岗岩楼、地面 | 合格 | |||
7 | 钢屑水泥楼、地面 | 合格 | |||
8 | 细石砼地面 | 合格 | |||
门窗 | 1 | 卷帘门 | 合格 | ||
2 | 玻璃地弹门 | 合格 | |||
3 | 铝合金门 | 合格 | |||
4 | 钢防火门 | 合格 | |||
5 | 木门 | 合格 | |||
6 | 拼板门 | 合格 | |||
7 | 钢化夹胶玻璃门窗 | 合格 | |||
8 | 铝合金推拉窗 | 合格 | |||
9 | 压花玻璃窗 | 合格 | |||
10 | 塑钢窗 | 合格 | |||
11 | 组合钢窗 | 合格 | |||
抹灰 | 1 | 水泥砂浆墙面 | 合格 | ||
2 | 普通抹灰墙面 | 合格 | |||
3 | 水泥砂浆顶棚 | 合格 | |||
幕墙 | 3 | 点式玻璃幕墙 | 合格 | ||
涂饰 | 4 | 普通乳胶漆墙面 | 合格 | ||
5 | 高级乳胶漆墙面 | 合格 | |||
饰面板 | 6 | 抛光玻化砖墙面 | 合格 | ||
|
| (砖) | 7 | 瓷砖墙面 | 合格 |
8 | 外墙干挂火烧板 | 合格 | |||
|
|
| 9 | 外墙千思板 | 合格 |
10 | 千思板柱 | 合格 | |||
11 | 吸音墙面 | 合格 | |||
吊顶 | 12 | 铝合金顶棚 | 合格 | ||
13 | 石膏板顶棚 | 合格 | |||
14 | FC 板顶棚 | 合格 | |||
15 | 铝合金格栅顶棚 | 合格 | |||
四 | 建筑屋面 | 卷材防 水、 涂膜防 水屋面 | 1 | 保温层 | 合格 |
2 | 找平层 | 合格 | |||
3 | 卷材防水层 | 合格 | |||
4 | 涂膜防水层 | 合格 | |||
5 | 细部构造 | 合格 | |||
瓦屋面 | 6 | 金属板屋面 | 合格 | ||
7 | 细部构造 | 合格 | |||
五 | 建筑给水、排水及 采暖 | 室内给 水系统 | 1 | 给水管道及配件安装 | 合格 |
2 | 给水消火栓系统安装 | 合格 | |||
3 | 给水设备安装 | 合格 | |||
4 | 管道防腐、绝热 | 合格 | |||
室内排 水系统 | 5 | 排水管道及配件安装 | 合格 | ||
6 | 雨水管道及配件安装 | 合格 | |||
室内热 水供应 系统 | 7 | 管道及配件安装 | 合格 | ||
8 | 辅助设备安装 | 合格 | |||
9 | 防腐、绝热 | 合格 | |||
卫生器具安装 | 10 | 卫生器具安装 | 合格 | ||
11 | 卫生器具给水配件安装 | 合格 | |||
12 | 卫生器具排水配件安装 | 合格 | |||
室外给水系统 | 13 | 给水管道安装 | 合格 | ||
14 | 消防水泵接合器及室外消火栓安装 | 合格 | |||
15 | 管沟及井室 | 合格 | |||
|
| 室外排 | 16 | 排水管道安装 | 合格 |
水系统 | 17 | 排水管沟及井池 | 合格 | ||
室外供 热管网 | 18 | 管道及配件安装 | 合格 | ||
19 | 系统水压试验及调试 | 合格 | |||
|
|
| |||
20 | 防腐、绝热 | 合格 | |||
六 | 建筑电气 | 电气动 力安装 | 1 | 成套配电柜、动力、照明配电箱几控制柜安装 | 合格 |
2 | 低压电动机、电加热器 及接地 | 合格 | |||
3 | 桥架安装和桥架内电缆敷设 | 合格 | |||
4 | 电线、电缆导线和线槽 敷设 | 合格 | |||
5 | 电线、电缆穿管和线槽 | 合格 | |||
| |||||
敷线 | |||||
6 | 电缆头制作、导线连接和线路电气试验 | 合格 | |||
7 | 插座、开关、风扇安装 | 合格 | |||
电气照 明安装 | 8 | 成套配电柜、动力、照明配电箱几控制柜安装 |
| ||
合格 | |||||
| |||||
9 | 电线、电缆导管和线槽 敷设 | 合格 | |||
10 | 电线、电缆导管和线槽 敷线 | 合格 | |||
11 | 电缆头制作、导线连接和线路电气试验 | 合格 | |||
12 | 普通灯具安装 | 合格 | |||
13 | 专用灯具安装 | 合格 | |||
14 | 插座、开关、风扇安装 | 合格 | |||
15 | 建筑照明通电试运行 | 合格 |
|
|
| 16 | 成套配电柜、动力、照 明配电箱几控制柜安 装 |
|
|
|
| 合格 | ||
|
| 备用和不间断电 源安装 |
| ||
17 | 柴油发电机组安装 | 合格 | |||
18 | 不间断电源的其他功能单元安装 | 合格 | |||
19 | 裸母线、封闭母线、插结式母线安装 | 合格 | |||
20 | 电线、电缆导管和线槽敷设 | 合格 | |||
21 | 电缆头制作、导线连接和线路电气试验 | 合格 | |||
22 | 接地装置安装 | 合格 | |||
防雷接地安装 | 23 | 接地装置安装 | 合格 | ||
24 | 建筑物等电位连接 | 合格 | |||
25 | 避雷引下线和变配电室接地干线敷设 | 合格 | |||
26 | 接闪器安装 | 合格 | |||
七 | 智能建筑 | 火灾报警及消防联动系统 | 1 | 火灾和可燃气体探测系统 | 合格 |
2 | 火灾报警控制系统 | 合格 | |||
3 | 消防联动系统 | 合格 | |||
综合布线系统 | 4 | 线缆敷设和终结 | 合格 | ||
5 | 机柜、机架和配线架的安装 | 合格 | |||
6 | 信息插座和光缆芯线终端的安装 | 合格 | |||
电源与接地 | 7 | 智能建筑电源 | 合格 | ||
8 | 防雷及接地 | 合格 | |||
环境 | 9 | 室内空调环境 | 合格 | ||
10 | 视觉照明环境 | 合格 | |||
11 | 空间环境 | 合格 | |||
八 | 通风与空调工程 | 空调风系统 | 1 | 风管与配件制作 | 合格 |
2 | 部件制作 | 合格 | |||
3 | 风管系统安装 | 合格 | |||
4 | 空气处理设备安装 | 合格 | |||
5 | 消声设备制作与安装 | 合格 | |||
6 | 风管与设备防腐 | 合格 | |||
7 | 风机安装 | 合格 | |||
8 | 风管与设备绝热 | 合格 | |||
9 | 系统调试 | 合格 | |||
净化空 | 10 | 风管与配件制作 | 合格 | ||
11 | 部件制作 | 合格 | |||
12 | 风管系统安装 | 合格 | |||
13 | 空气处理设备安装 | 合格 | |||
14 | 消声设备制作与安装 | 合格 | |||
|
| 调系统 | 15 | 风管与设备防腐 | 合格 |
16 | 风机安装 | 合格 | |||
17 | 风管与设备绝热 | 合格 | |||
18 | 系统调试 | 合格 | |||
19 | 高效过滤器安装 | 合格 | |||
制冷设备系统 | 20 | 制冷机组安装 | 合格 | ||
21 | 制冷剂管道及配置安装 | 合格 | |||
22 | 制冷附属设备安装 | 合格 | |||
23 | 管道及设备的防腐与绝热 | 合格 | |||
24 | 系统调试 | 合格 | |||
空调水 | 25 | 管道冷热水系统安装 | 合格 | ||
|
| 系统 | 26 | 冷热水系统安装 | 合格 |
27 | 冷凝水系统安装 | 合格 | |||
28 | 阀门及部件安装 | 合格 | |||
29 | 冷却塔安装 | 合格 | |||
30 | 水泵及附属设备安装 | 合格 |
|
|
| 31 | 管道和设备的防腐与 绝热 | 合格 |
32 | 系统调试 | 合格 | |||
九 | 电梯 | 自动扶 梯 | 1 | 设备进场验收 | 合格 |
|
| ||||
| 土建交接检验 | 合格 | |||
2 | |||||
| |||||
|
|
| |||
3 | 整机安装验收 | 合格 | |||
强制式电梯安装 | 4 | 设备进场验收 | 合格 | ||
5 | 土建交接检验 | 合格 | |||
6 | 驱动主机、导轨 | 合格 | |||
7 | 门系统 | 合格 | |||
8 | 对重(平衡重) | 合格 | |||
9 | 安全设置 | 合格 | |||
| 10 | 部件 | 合格 | ||
11 | 悬挂装置 | 合格 | |||
12 | 随行电缆 | 合格 | |||
13 | 电气装置 | 合格 | |||
14 | 整机安装验收 | 合格 |
室外分部工程质量目标设计
表6 - 2
单位工程 | 子单位工程 | 序号 | 分部工程 | 质量等级 |
室外建筑环境 | 附属建筑 | 1 | 进站天桥 | 合格 |
2 | 地道 | 合格 | ||
3 | 高架车道 | 合格 | ||
室外安装 | 给排水 | 1 | 室外给水系统 | 合格 |
2 | 室外排水系统 | 合格 | ||
电器 | 3 | 室外供电系统 | 合格 | |
4 | 室外照明系统 | 合格 |
单位工程观感质量目标设计
表6 – 3
序号 | 项目名称 | 质量评价 | 备注 | |||
好 | 一般 | 差 | 1、表中用√表示评定 为该项等级。 | |||
1 |
| 室外墙面 | √ |
|
| |
2 | 建筑与结构 | 变形缝 | √ |
|
| |
3 | 水落管、屋面 | √ |
|
| ||
4 | 室内墙面 | √ |
|
| ||
5 | 室内顶棚 | √ |
|
| ||
6 | 室内地面 | √ |
|
| ||
7 |
| 楼梯、踏步、护栏 | √ |
|
| |
8 |
| 门窗 | √ |
|
| |
9 | 给排水与 | 管道接口、坡度、支架 | √ |
|
| |
10 | 卫生器具、支架、阀门 | √ |
|
| ||
|
|
|
|
| ||
11 | 采 | 检查口、扫除口、地漏 | √ |
|
| |
| 暖 |
|
|
|
| |
12 | 建 | 配电箱、盘、板、接线合 | √ |
|
| |
| 筑电气 |
|
|
|
| |
13 | 设备器具、开关、插座 | √ |
|
| ||
14 | 防雷、接地 | √ |
|
| ||
15 | 通风与 | 风管、支架 | √ |
|
| |
16 | 风口、风阀 | √ |
|
| ||
17 | 风机、空调设备 | √ |
|
| ||
18 | 空调 | 阀门、支架 | √ |
|
| |
19 | 水泵、冷却塔 | √ |
|
| ||
20 | 绝热 | √ |
|
| ||
21 | 电梯 | 运行、平层、开关门 | √ |
|
| |
22 | 层门、信号系统 | √ |
|
| ||
23 | 机房 | √ |
|
| ||
24 | 智 能 建筑 | 机房设备安装及布局 | √ |
|
| |
25 | 现场设备安装 | √ |
|
|
根据创优规划, 从施工准备到竣工验收, 每个施工阶段都要进行有效控制,使所有参建人员明确创优过程, 创优目标, 达到一次成优的目标。( 见**站优质工程管理图6 - 1 )
另外在本工程中我们实行质量目标管理, 以分项、分部( 子分部) 工程质量确保单位工程质量。工程施工中, 将各部分施工内容的质量目标进行分解, 明确质量管理责任, 形成人人讲质量、人人抓质量的良好作风, 对本工程实行全面质量管理。从设计、施工、检验和使用四个方面对本工程质量进行全面考核和评价,力求提高工程质量, 缩短工期。由于本工程结构新颖、施工面积大, 为保证工程质量达到“ 鲁班奖” 质量标准, 我们将组织专门人员组成不少于三个Q C 小组,认真研究工程特点和设计要求, 制定专项技术措施, 并负责具体落实。由项目总工程师任组长,组织全体小组人员学习有关T Q C 方面的知识, 就有关内容结合实际进行讲解,并对施工工艺标准进行学习。通过学习,使全体员工自觉运用P D C A循环的方法解决质量通病。
实行T Q C 管理体系:
图6 – 2
制定分项工程质量控制程序:
图6-3
开工前对每一个分项质检所需的表格及填写要求、验评标准、验评的时效、参加验评的人员都明确列出, 并下达到班组; 对分包单位在合同中加以明确, 统一要求、统一汇编, 确保工程实物质量一次创优, 资料归档质量一次创优, 为争创鲁班奖打下良好的基础。
认真贯彻执行I S O 9 0 0 1 质量保证标准,规范项目经理部的全部质量活动,严格按I S O 9 0 0 1 质量标准进行施工管理,通过各部门、各岗位人员质量目标的完成,确保本项目质量目标的实现同时全体管理人员在施工过程中不断总结, 为**站站房工程实现“ 鲁班奖” 专集做完整的资料准备。
6 . 4 . 1 建立工程档案, 健全工程资料的规范管理, 本工程严格按照2 0 0 2 年5 月1 日实施的《建设工程资料归档整理规范》及相关声像资料的管理规定进行统一编制管理。
本工程设置资料管理室,并具有先进、完备的资料采集、整理、编辑机具( 见资料管理机具一览表6 - 4 ),确保归档资料 “ 准确、齐全、及时、有效”。质量验评与隐蔽工程检查、工序过程质量控制结合起来,确保每一个分项工程质量创优,资料规范。
在施工过程中,由专业资料管理员对工程施工的全过程进行过程跟踪,使资料能全面反映工程的施工过程, 在各分项、分部( 子分部)、单位工程的施工、检查验收过程中, 资料管理员应随行进行检查、收集第一手资料; 对各政府部门及相关部门的资料收集后,资料员要及时进行编辑整理归档。具体见资料管理程序图:( 图6 - 4 )
表6 – 4
序号 | 名称 | 品牌 | 规格型号 | 数量 | 备注 |
1 | 摄象机 | 索尼 | TLP-560 | 1 |
|
2 | 投影仪 | 东芝 | TRV27E | 1 |
|
3 | 数码照相机 | 索尼 | DSC-P9 | 1 |
|
4 | 扫描仪 | 惠普 | SCANJET4400C | 1 |
|
5 | 刻录机 | 明基40X | 4012P | 1 |
|
6 | 录音笔 | 索尼 | ICD-BP250 | 1 | 录音时间12 小时 |
7 | 录象带、光盘 | 索尼 |
| 30 |
|
8 | 电脑 | 联想 | PⅣ | 1 |
|
图6-4
工程资料管理程序图
6 . 4 . 2 过程控制有效制度
6 . 4 . 2 . 1 质量例会、每月质量讲评制度
6 . 4 . 2 . 1 . 1 每周质量例会
由项目总工主持, 参与项目施工的所有分承包方负责人及技术人员参加。首先由参与项目施工的分承包方汇报上周施工项目的质量情况, 质量体系运行情况。质量上存在问题及解决问题的办法,以及需要项目经理部协助配合事宜。会议分析上周质量活动中存在的不足或问题, 并和与会人员共同商讨解决问题所应采取的措施, 会后予以贯彻执行。
6 . 4 . 2 . 1 . 2 每月质量检查讲评
每月底由项目总工组织有关人员对在施工程进行实体质量检查, 并将检查结果在质量例会上通报, 对质量较好的分承包队伍予以表扬, 需整改的部位明确限期整改日期, 并在下周质量例会逐项检查是否彻底整改。
6 . 4 . 2 . 2 样板制度
即在分项工程施工前, 由责任工程师依施工方案和技术交底以及现行国家规范、标准, 组织进行分项样板施工。将每一层的第一施工段的各分部分项工程及重点工序都作为样板, 请监理共同验收, 样板未通过验收前不得进行下一步施工。通过样板施工作到统一操作程序,统一施工方法,统一质量验收标准。
6 . 4 . 2 . 3 三检制及检查验收制度
6 . 4 . 2 . 3 . 1 三检制
自检: 在每一项分项工程施工完后均由施工班组对所施工产品进行自检,如符合质量验收标准要求, 由班组长填写自检记录表。
互检: 经自检合格的分项工程, 在项目总工组织下由分包方工长及质量员组织上下工序的施工班组进行互检,对互检中发现的问题应认真及时予以解决。
交接检: 上下工序班组通过互检认为符合分项工程质量验收标准要求, 在双方填写交接记录, 经分包工长签字认可后, 方可进行下道工序施工。
6 . 4 . 2 . 3 . 2 检查验收制度检查验收制度可用下图表示
图6 – 5
6 . 4 . 2 . 4 问题追根制度
对施工中出现的质量问题,追根制度是其最好的解决办法。追根工作按以下程序严格执行:
6 . 4 . 2 . 4 . 1 会诊
6 . 4 . 2 . 4 . 2 查原因, 挖根子
6 . 4 . 2 . 4 . 3 追查责任人
6 . 4 . 2 . 4 . 4 限期整改
6 . 4 . 2 . 4 . 5 验收结果, 不达到效果不罢休
6 . 4 . 2 . 4 . 6 写总结, 立规矩
6 . 4 . 3 成立创优部, 受总工程师直接领导, 认真制定奖罚制度, 把质量目标分 解落实到每个操作人员,实现创优目标重奖的鼓励政策,设立奖金基金。具体办法:对施工作业班组达到创优标准的奖励创优基金的7 0 % , 管理人员奖3 0 %。达不到目标罚款数额同奖励数额。
6 . 4 . 4 做好超前技术准备工作, 包括图纸审核、分部分项工程施工技术方案编制及审定等, 确保施工过程得到有效控制。加强质量通病的预防, 根据我单位施工同类工程的经验,对易出现质量问题的部位,提前制定预防措施。并负责“ 新材料、新技术、新工艺、新设备” 的推广应用。
6 . 4 . 5 建立健全监控机制, 工程项目安质部设5 名有技术、懂业务、责任心强、敢抓敢管的专职质检员, 施工班组设专职或兼职质检员, 健全管理职能, 建立各项规章制度,建立起规范化的工作程序。上级职能部门每季度对工程进行监督检查并进行跟踪管理。
6 . 4 . 6 加强施工队伍的管理, 确保操作质量。重点抓好以下几个环节:
6 . 4 . 6 . 1 施工队伍进场严格执行入场教育制度,由安质人员和施工技术人员对他们分别进行安全管理制度教育、质量意识教育和操作技能的教育。
6 . 4 . 6 . 2 加强岗位培训。对一些高、难、新技术的岗位施工人员由熟练工人带培, 进行岗位技术训练。
6 . 4 . 6 . 3 指定专人管理,随施工, 随检查, 随指导,发现问题及时纠正。
6 . 4 . 6 . 4 保持队伍相对稳定,从生活上关心帮助,解决他们的后顾之忧.
6 . 4 . 6 . 5 实行优质优价, 调动他们创优质树名牌的积极性, 促进工程质量的提高。
6 . 4 . 6 . 6 实行样板引路制度,推行“ 样板墙、样板间、样板层”制度,明确标准, 增强可操作性, 便于检查监督, 暴露问题, 把问题解决在大面积施工之前,样板做好后, 经业主代表、监理验收合格后方可进入大面积施工。
6 . 4 . 7 严把材料关, 防止劣质材料进场。
6 . 4 . 7 . 1 材料的采购严格执行I S O 9 0 0 0 标准中的采购程序。
6 . 4 . 7 . 2 所有甲、乙双方采购的材料设备, 都要满足设计和规范的要求, 并提供产品合格证明及检验材料。
6 . 4 . 7 . 3 进场的原材料、半成品、预制构件及各种设备的采购供应, 严格执行《顾客提供产品控制程序》、《产品标识和可追溯性程序》、《进货检验和试验程序》、《采购程序》。
6 . 4 . 7 . 4 实行材料供应“ 四验”( 即验规格、验品种、验质量、验数量)“ 三把关”( 材料人员把关、技术人员把关、施工操作者把关) 制度; 确保只有检验合格的原材料才能进入下一道工序, 给提高工程质量打下一个良好的基础。
6 . 4 . 7 . 5 建立有监理见证抽检试验制度, 严把材料的质量关。
6 . 4 . 8 严格工序管理
6 . 4 . 8 . 1 加强工程施工全过程的质量管理, 严格按《过程控制程序》实行监控, 尤其是被列入关键工序和特殊过程的工序要从材料采购、进场检验、施工过程检查、重点难点技术攻关、特殊工种持证上岗、所用机械设备的能力检定、工序验收等各个环节予以全过程控制, 保证工程质量。
6 . 4 . 8 . 2 严格执行“ 工序操作挂牌制”,“ 三检制”,避免返工,同时也提高自我控制的意识和能力;
6 . 4 . 8 . 3 施工中严格按照有关标准、规程、规范进行作业, 积极推广应用工法, 提高工序质量。
6 . 4 . 9 加强成品保护, 确保工程免受人为损失。对装修工程制定系统的成品保护制度, 如“ 贵重设备进楼交接制度”,“ 允许进楼施工交接制度”,“ 持证进楼制度”, 并成立专职成品保护队伍, 24 小时轮流值班, 杜绝成品交叉污染、破坏等现象。
6 . 4 . 1 0 主要分部分项工程质量控制措施:
6 . 4 . 1 0 . 1 钢筋绑扎:
钢筋料表要经过技术主管复核无误后方可下料加工。钢筋的构造节点做法要满足图纸要求和规范的构造做法。
钢筋搭接接头的位置、搭接长度、锚固长度、钢筋直径间距、保护层厚度等要严格按照设计图纸施工。
大直径的钢筋接头, 主要采用墩粗直螺纹接头和电渣压力焊, 操作时必须选派专业技术人员现场指导、监督,接头要按照规定抽样试验合格方可进行下一道工序的施工。( 详见钢筋工程质量控制程序图6 - 6 )
6 . 4 . 1 0 . 2 模板工程:
投入大量的新九夹板做模板,全部采用5 0×1 0 0 m m 和1 0 0 × 1 0 0 m m 木方,对柱梁的模板支撑, 螺栓间距等要经过计算确定, 防止砼涨模及其他质量通病, 达到清水混凝土的目标。
改进支模工艺,保证梁柱接头的砼质量,消除砼质量通病。( 详见模板工程质量程序控制图6 - 7 )
6 . 4 . 1 0 . 3 砼工程:
对钢筋密集的梁、梁柱接头部位要采用插钢管, 用细振捣棒, 留设振捣孔等措施来保证砼振捣质量。
加强成型砼的养护, 强化养护是砼强度增长的必需条件。设专人负责坚持按规范要求进行养护。
按规定留设同条件养护试块和标准养护试块, 以同条件试块的强度来确定拆模时间。
砼供应必须保证连续性,楼面砼浇灌时,要根据泵送能力,严格控制浇注宽度,防止砼出现冷缝。( 详见砼工程质量程序控制图6 - 8 )
6 . 4 . 1 0 . 4 砌筑工程:
砌筑前按图放线, 构造柱、门窗洞口留设必须准确, 门窗洞口按规定埋设防腐木砖、设置过梁, 当过梁与圈梁等高时, 可用圈梁代替过量, 但钢筋取两者中较大者; 砌筑过程中砂浆计量要准确, 做到工完料尽, 严禁使用隔夜砂浆。
砌筑工程质量程序控制图
图6 – 9
6 . 4 . 1 0 . 5 装饰工程:
推行样板制, 凡装修项目均要先做样板块、墙, 经设计、业主和监理单位认可后在大面积施工。
抹灰工程要由上而下,按先平顶,后柱、墙的施工顺序进行,抹灰前应首先进行基层清理, 浇水湿润墙面, 并在砼表面涂刷界面剂。根据墙体平整度、垂直度找方,抹灰饼,找规矩。内外设计为贴面的按照块料模数,要予留面层做法厚度。
楼地面水泥砂浆工程施工, 必须严格按照工序执行, 施工前必须将基层水泥渣等杂质清理 ,且基层要充分湿润, 扫浆, 防止出现空鼓, 开裂, 起砂等现象,地面完成后, 养护期间不得上人, 养护至少7 天以上。楼地面工程质量程序控制图
图6 - 1 0
屋面工程必须严格执行“ 三检”制度,在进入下一道工序前,上一道工序必
须办完隐闭验收手续; 防水工程闭水试验完成验收合格后, 方可进行隐蔽报验。
( 详见屋面工程各分项工程程序)
屋面找平层工程控制图
图6 - 1 1
屋面保温工程控制图
图6 - 1 2
屋面防水工程控制图
图6 - 1 3
油漆工程施工前确保基底干燥、清洁,涂抹腻子坚实牢固,不得有起皮、裂缝等缺陷, 漆膜干燥前保证房间清洁。
外墙面砖镶贴前先选砖预排,并做样板,确定镶贴形式和砖缝宽度,镶贴前找准标高, 确保砖缝对齐。重点抓好嵌缝、窗口部位面砖的压向及滴水线( 滴水槽)等细部作业。加强工序、工种间的互检及验收,不合格的材料、工序及产品,不得进入下道工序施工。
外观要达到横平竖直, 洁净平整、线条清晰顺直, 棱角分明。
6 . 4 . 1 0 . 6 玻璃幕墙工程:
应对施工队伍进行严格的考核,选择有相应资质等级、技术力量强的施工队伍负责施工, 成立Q C 小组, 对玻璃幕墙的节点焊接和玻璃的安装及打胶进行技术攻关。施工过程中, 严格按施工及验收规范检查验收。
6 . 4 . 1 0 . 7 门窗工程:
门窗的规格、型号应符合设计要求,五金配件配套齐全,并具有产品出厂合格证。 结构质量经验收合格, 方可进行门窗工程施工, 各工种之间办好交接手续。确定统一的窗台标高, 确保同一层内窗台标高无误差。确定墙厚方向安装位置, 保证同一房间内窗台板宽度一致。门窗固定牢固,门窗装入洞口应横平竖直。
铝合金门窗工程重点抓好后塞口问题。塞口质量的好坏直接影响外墙的防水功能, 塞口应有专人负责, 固定班组作业, 工序完成后应认真检查合格, 方可进行下道工序施工。
门制作工程控制图
图6 - 1 4
门窗安装工程控制图
图6 - 1 5
6 . 4 . 1 1 设备安装工程
本工程设备安装主要包括:电梯、扶梯安装工程,给排水安装消防工程,电气( 力) 安装工程, 通风空调系统工程、智能建筑工程。
6 . 4 . 1 1 . 1 电梯安装工程:
认真核对电梯安装图纸, 按设计要求做好预留、预埋。主体结构施工中, 严格控制电梯井的偏差,保证井洞几何尺寸准确。协调电梯安装与其他工种的关系,保证电梯安装质量。
6 . 4 . 1 1 . 2 给排水消防工程:
管材管件及阀门等材料, 在安装前先检查和试验, 合格后再进行使用。注重准备工作管道的焊接、丝接、粘接的质量, 严格把关。
管道的法兰连接、法兰阀门的连接, 法兰端面及垫板要清理干净, 保证接触良好。各种管道安装完成后及时固定、采取强有力的保护措施, 防止因外力造成损坏。
穿楼板的管道安装完成后, 楼板的预留孔洞要及时封堵。在排水立管的施工
中,立管三通口的甩口标高计标要正确,施工测量工作要细致、准确。排水管( 支管) 在施工前, 要根据设计坡度计算出起止点的落差值, 结合施工现场实情,综合考虑各专业交叉作业的各种情况,提前解决施工中可能会出现的问题。管道支架的安装要拉线, 高度要准确, 以便管道安装时保证顺直。
6 . 4 . 1 1 . 3 通风空调系统工程:
风管平面不平,造成安装后密封不严。采取措施:法兰材料由专人负责下料,设置焊接模具平台,由技术强的焊工从法兰内侧焊接,不平之处及时打磨,对称,焊接防止焊接变形, 焊后及时检查, 水平及纵横、弯曲度不合格者及时修整。
系统风量不平衡。采取措施: 风管制作在弯管处加合理的风向导流叶片, 三通及变径处留有足够的缓冲长度,合理调整风阀的开启程度,制安时及时检查监督, 不合理处及时调整。
6 . 4 . 1 1 . 4 电气( 力) 安装工程:
钢管预埋前, 认真核对专业施工图, 按最近距离敷设, 敷设在主体结构中的钢管,口要封补好;安装在主体钢筋中的预埋箱在钢筋绑扎时将箱壳预埋好,( 或备用木质箱)。采用丝扣连接的钢管要焊跨接地线。穿入管内导线, 不应大于管内直径4 0 %, 导线在管内不应有接头。
变压器安装前应进行油位有无漏油的检查;安装时注意各方位的用力要均匀。
高压开关位置准确, 操作方便, 使用的配件均为镀锌制品。
6 . 4 . 1 1 . 5 智能建筑工程
该系统设备安装前检查设备内的元器件是否符合设计及规范要求,接线是否正确,是否配有专用接地线。设备安装牢固后,其接线要符合设计接线图的要求。电缆排列整齐, 挂牌标识清晰, 与设备接线牢固。壁龛、云台等就位后要用遮布盖好, 防止灰尘进入。
6 . 4 . 1 2 钢管柱施工措施
6 . 4 . 1 2 . 1 钢管柱安装由专业公司负责施工,由专业公司的经理和总工程师直接牵头, 建立健全质量管理机构体系, 对钢管柱的详图设计, 工厂制作、运输、安装焊接、涂装施工全过程进行检查、监管、验收质量管理,确保实现创优目标。
6 . 4 . 1 2 . 2 钢管柱生产由专业生产厂家进行制作安装,由从事过同类工程的工程师现场进行过程监控, 配合专职质检员进行质量验收。
6 . 4 . 1 2 . 3 加工完成的成品钢柱,采购钢材、焊接材料、焊缝的外观质量和探伤结果,构件的外观尺寸偏差, 底漆的涂装厚度均经验收符合规范和图纸设计要求后, 方可运往安装现场。
6 . 4 . 1 2 . 4 对参加现场安装的施工人员, 特别是装配、焊接、油漆施工人员,要进行技术交底和质量管理培训,使施工人员熟悉有关的工艺规程和质量标准要求, 按规范要求精心施工。
6 . 4 . 1 2 . 5 由工程技术部门编制各工序的施工技术交底和作业指导书,以合理的操作工艺指导钢管柱安装施工。
6 . 4 . 1 2 . 6 对组装、校正、焊接、油漆每道重要工序都要实行 “ 三检” 制,
以免不合格半成品转入下道工序, 形成质量隐患。工程中使用的计量器具, 必须在有效期内并有检定合格标志, 使用前须经计量检定合格。
6 . 4 . 1 2 . 7 钢管柱安装前,要对构件的中心线和标高基准线进行复合标准,对柱基础定位线根据图纸设计给定倾角和定位半径, 根据每层的标高进行验算, 反复复合无误后方可确定, 以免在同一标高处各钢柱中心不在设计的弧线上。
6 . 4 . 1 2 . 8 对8 0 度倾角的测量,除借助1 0 度角测量样板外,在柱顶中心设置符合点, 经计算柱子倾斜到楼层的水平投影距离, 确定经纬仪的架设位置, 水平投影距离与倾角样板“ 双控” 无误后, 再进行固定。
6 . 4 . 1 2 . 9 钢管柱操作人员,除保证柱子的轴线、标高、垂直度偏差符合设计要求外, 还须注意调整上下接口的坡口间隙和错边量, 为焊接工序打好基础。
6 . 4 . 1 2 . 1 0 电焊操作人员必须根据相应焊缝质量等级持证上岗, 施焊时必须按照技术交底和操作技术规程要求,进行焊条烘干、焊缝的表面清理和焊口烘干,施焊中按照工艺评定中选定的焊接参数和焊接速度对称施焊,每焊完一层后。用电动钢丝砂轮清除表面飞溅的杂质后, 方可进行下层焊接。
6 . 4 . 1 2 . 1 1 探伤检验不合格的焊缝, 必须用碳弧气刨按规程的长度刨开缺陷处重新补焊并再次探伤,同一部位的补焊不得超过两次,否则须经现场技术部门和监理商定补焊措施。
6 . 4 . 1 2 . 1 2 涂装前应对焊口及其他划伤构件的表面用电动砂轮进行除锈, 使表面无油污、水泥砂浆污染物, 表面露出金属光泽后, 方可进行底漆补涂, 补涂的底漆厚度、颜色要与原来一致。
6 . 4 . 1 2 . 1 3 中间漆与面漆的喷涂,在环境5℃ — 38℃ 之间,相对湿度8 5 %以下时进行,涂装作业应按设计规定的厚度和道数进行,涂层间的间隔时间必须保证每道涂层漆膜实干后方可进行下道涂层施工。
6 . 4 . 1 2 . 1 4 每道油漆完成后, 不允许出现偏涂和明显的流挂、皱皮等缺陷,并用涂膜测厚仪按规定的点数测试干膜厚度,对有流挂、粥皮等缺陷和干膜厚度不足的部位, 清除表面缺陷后进行重新补涂。
6 . 4 . 1 2 . 1 5 由质量检验部进行质量检验过程中, 及时对质量记录、合格证、质量检验评定资料的收集整理, 为工程的竣工验收和资料归档提供原始资料。
铸就建筑精品是我单位的质量方针, 也是我们向社会和业主的质量承诺。我单位在工程施工中一贯重视工程质量,坚决贯彻百年大计、质量第一和预防为主的方针,坚决贯彻实施I S O 9 0 0 0 标准。近几年来,竣交工程100%,实现了承诺业主的质量目标, 并荣获多项国家级、省部级大奖。**站房将列为我单位重点工程, 集全体优秀管理人材、精良设备和有经验的施工队伍投入本工程, 确保鲁班奖。经过多年的实践, 我单位建立和健全了一套完整的质量保证体系, 为保证工程质量提供了可靠的组织保证。
工程质量保证体系图
图6 - 1 6
工程质量组织体系图
图6 - 1 7
* *站站房工程质量组织体系
质量预控及检测是保证工程质量的一个重要手段。项目经理部从施工图纸到工程开始, 经图纸会审, 编制施工组织设计, 分项分部工程质量评定, 单位工程质量评定, 竣工验收, 直至竣工后服务, 实行全过程控制。同时接受业主及监理公司的监督及政府质量监督机构— — 工程质量监督站的指导和监督,实现工程质量一次成优的目标。
质量预控及检测程序
图6 - 1 8
质量控制要点一览表( 表6 - 5 )
* *站站房工程项目,我方将以施工总承包履行管理职责。确保合同规定的工期质量和目标。为此, 我们将做好如下工作:
各分承包方应建立健全自己的安全、质量保证体系,并纳入项目经理部统一领导, 服从总包及业主代表、监理工程师的领导。
6 . 7 . 1 进入本工程施工的所有分承包方,必须是经过总包或业主经过评审,确认能够认真履行合同规定, 让业主满意的“ 合格分承包方”。施工中发现不能履行合同责任或义务, 影响合同目标的兑现时, 总包方有权采取一切措施, 包括劝其退场, 更换分包队伍。
6 . 7 . 2 各分承包方认真执行行业标准和国家现行规范, 施工过程中做好各种试验检查记录,随时接收业主、监理及总包职能部门的工作检查,特别是隐蔽工程检查验收。做好文明施工。工程竣工后, 及时提供完整、真实的施工技术资料。
6 . 7 . 3 总包建立施工现场生产调度会制度,各分包单位负责人必须准时参加。听取施工调度安排、协调各方及各工种工序穿插有关问题。解决现场生产、安全、质量、文明施工出现的问题。会议决定, 各分包单位必须认真执行。
6 . 7 . 4 对于各工序之间任务验收, 实行转序单制, 上道工序转入下道工序必须填写转序单, 双方签字后方能认可为正式交接。
建筑工程质量的好坏很大程度上取决于“ 渗、漏、裂、空、堵”等质量通病的防治效果, 这些质量通病主要表现为: 外墙面渗水; 外门窗周围渗水; 屋面渗水;卫生间、厨房间渗漏;管道接口渗漏;地面、顶棚空鼓;楼地面、墙面裂缝;下水道堵塞等。对这些质量通病, 我公司通过多年来的工程实践和研究, 已经基本上得以解决。减少质量通病的出现, 除了必要的技术措施外, 更加需要有严格的质量管理措施和监控手段,需要施工人员和管理人员的高度重视。对重点防治项目成立Q C 专题攻关小组, 有针对性的予以防治。
6 . 8 . 1 模板工程质量通病的防治
6 . 8 . 1 . 1 轴线偏位的预防措施
6 . 8 . 1 . 1 . 1 有专人检查验收轴线位置, 并由技术质检员复核验收。
6 . 8 . 1 . 1 . 2 柱、墙根部加设定位钢筋, 防治模板偏位。
6 . 8 . 1 . 1 . 3 模板验收时, 拉水平通线检查, 竖向吊线检查与相对轴线尺寸检查相结合。
6 . 8 . 1 . 2 接缝不严的预防措施
6 . 8 . 1 . 2 . 1 在模板的接缝处加3 m m 厚的海绵条挤压紧密。
6 . 8 . 1 . 2 . 2 墙柱根部采用砂浆密封台处理。
6 . 8 . 1 . 3 胀模的预防措施
6 . 8 . 1 . 3 . 1 模板的支撑体系要经过严格的计算进行确定, 支撑体系的安全系数必须符合规范的规定, 总工程师必须对计算书审核批准后方可进行加工。
6 . 8 . 1 . 3 . 2 模板自身的刚度必须符合规范规定, 施工中杜绝发生暴模现象。
6 . 8 . 2 钢筋工程质量通病的防治措施
6 . 8 . 2 . 1 钢筋偏位的预防措施
6 . 8 . 2 . 1 . 1 钢筋绑扎完毕后, 在混凝土的接茬部位加设固定框, 保证此处的钢筋不位移。
6 . 8 . 2 . 1 . 2 混凝土浇注完成后, 及时复核轴线位置和钢筋位置, 及时修整。
6 . 8 . 2 . 2 钢筋漏筋现象的预防措施
6 . 8 . 2 . 2 . 1 按要求加设钢筋垫块, 保证钢筋的保护层厚度。
6 . 8 . 2 . 2 . 2 减少对成品钢筋的踩踏, 混凝土浇注过程中设专人看守钢筋, 发现钢筋被踩下时及时修复。
6 . 8 . 2 . 3 钢筋锈蚀、污染的预防措施
6 . 8 . 2 . 3 . 1 钢筋进场后, 分类堆放, 钢筋距地面高度1 5 0 m m, 在阴雨天气用塑料布进行覆盖; 钢筋加工过程中, 不得有油污附着在钢筋上。
6 . 8 . 2 . 3 . 2 混凝土浇注完毕后, 派人及时清理钢筋上的混凝土浆, 使钢筋表面保持干净清洁; 钢筋加工好后, 在接头处及时用保护帽进行保护, 防止锈蚀。
6 . 8 . 3 混凝土工程质量通病的防治
6 . 8 . 3 . 1 混凝土蜂窝、麻面的预防措施
6 . 8 . 3 . 1 . 1 加强对振捣手的教育, 实行“ 挂牌” 负责制。
6 . 8 . 3 . 1 . 2 指派施工管理人员跟班作业, 加强过程检查监督。
6 . 8 . 3 . 1 . 3 规定振捣的具体方法、移动点位距离和振捣时间。
6 . 8 . 3 . 2 混凝土裂缝的预防措施
6 . 8 . 3 . 2 . 1 加强对混凝土水灰比的控制, 填加混凝土外加剂, 减小混凝土的收缩。
6 . 8 . 3 . 2 . 2 控制面层的操作时间和混凝土拆模时间。
6 . 8 . 3 . 2 . 3 加强混凝土的养护, 养护时间不少于7 天。
6 . 8 . 4 砌体工程质量通病的防治
6 . 8 . 4 . 1 防止砖缝砂浆不饱满的方法
6 . 8 . 4 . 1 . 1 改善砂浆和易性是确保灰缝砂浆饱满和提高粘结度的关键。在砌筑砂浆中掺入M T 外加剂以改善和易性。
6 . 8 . 4 . 1 . 2 改进砌筑方法。
6 . 8 . 4 . 1 . 3 严禁使用干砖砌墙。
6 . 8 . 4 . 2 防止外墙渗漏的预防措施
6 . 8 . 4 . 2 . 1 加强墙体灰浆饱满度的控制。
6 . 8 . 4 . 2 . 2 加强脚手眼封堵的控制, 采用内用砖、外用混凝土的方法。
6 . 8 . 4 . 2 . 3 墙体施工中, 要求操作工人进行勾缝处理。
6 . 8 . 5 抹灰工程质量通病的防治
6 . 8 . 5 . 1 内墙抹灰空鼓裂缝的预防措施
6 . 8 . 5 . 1 . 1 抹灰前的基层处理是确保抹灰质量的关键, 必须认真做好基底的处理工作。
6 . 8 . 5 . 1 . 2 抹灰用的原材料应符合材料质量要求; 抹灰前墙面应充分浇水。一般应提前一天将水浇透。
6 . 8 . 5 . 1 . 3 抹灰用的砂浆必须具有良好和易性, 并具有一定的粘结强度, 掺加M T 分散剂, 可改善砂浆性能。
6 . 8 . 5 . 1 . 4 底层砂浆与中层砂浆的配合比应基本相同, 配合比必须准确。
6 . 8 . 5 . 1 . 5 当基层墙体平整和垂直偏差较大, 局部厚度较厚时, 应先行采取挂钢丝网等加强措施“ 垫糙”,将基层基本找平。抹灰每次厚度控制在8 - 1 0 m m为宜。
6 . 8 . 5 . 2 砼顶板抹灰空鼓裂缝的预防措施
6 . 8 . 5 . 2 . 1 混凝土楼板底必须清理干净, 特别是浇砼时涂刷的隔离剂, 一定要清理干净。
6 . 8 . 5 . 2 . 2 为了使底层砂浆与基层粘结牢固, 抹灰前一天应先在楼板底部进行甩浆处理或使用混凝土界面处理剂, 增加抹灰的粘结性。
6 . 8 . 5 . 2 . 3 顶棚抹灰层每遍厚度宜控制在4 - 6 m m 以内。
6 . 8 . 5 . 3 箱体、电线管埋入墙体处墙面开裂的预防措施
6 . 8 . 5 . 3 . 1 砖混结构闸箱背面砌体应咬槎砌筑。
6 . 8 . 5 . 3 . 2 闸箱四周的空隙应用C 1 5 细石混凝土分层填实。
6 . 8 . 5 . 3 . 3 在图示位置加钢板网一道( 钢板网周边尺寸大于箱体孔洞周边尺寸2 0 0 mm), 抹混合砂浆灰、面层灰( 或刮腻子)。电线管埋入墙体距墙面不应小于4 0 m m 。
6 . 8 . 5 . 3 . 4 箱体背面无砌体时设置钢板网。
图6 - 1 9
6 . 8 . 6 外墙面渗水的防治
6 . 8 . 6 . 1 加强砌体质量的控制管理, 保证砌体灰缝的密实。
6 . 8 . 6 . 2 加强抹灰的施工质量控制, 减少外墙抹灰面的裂缝产生。
6 . 8 . 6 . 3 外墙分格缝采用定型的P V C 线条, 避免雨水从分格缝渗入。
6 . 8 . 6 . 4 在外墙面施工中,可适当加入部分防水剂,增加抹灰层的憎水性能。
6 . 8 . 6 . 5 加强外墙部位的节点处理, 增加止水措施, 防止雨水由构件边缘导入。
6 . 8 . 7 外门窗洞口接缝渗水的防治
6 . 8 . 7 . 1 结构施工时, 严格控制门窗洞口的尺寸, 避免剔凿和增补, 保证门窗安装的正常余量。
6 . 8 . 7 . 2 门窗固定完成后,采用聚氨脂P U 发泡剂填充缝隙,保证缝隙的填充质量。
6 . 8 . 7 . 3 饰面完成后, 在门窗框与饰面的接缝处打胶密封, 并做喷淋试验。
6 . 8 . 8 卫生间、厨房间渗漏的防治
6 . 8 . 8 . 1 卫生间、厨房间的墙下防水台必须保证与楼面板同时浇注, 一体成型, 保证防水台的高度不小于设计要求或1 5 c m 。
6 . 8 . 8 . 2 指派专人带领专业防水工完成卫生间、厨房间的防水层施工, 并指派专人完成试水工作, 保证防水层的施工质量。
6 . 8 . 8 . 3 指派专人完成室内管洞的修补工作, 必须按照两次施工两次检查的程序施工( 即先用高补偿性混凝土填堵洞口的2 / 3 高度, 7 2 小时后, 进行2 4 小时的试水工作, 无渗漏后,进行防水加强层, 再进行二次补平工作。72 小时后,进行二次试水检查)。如下图示:
图6 - 2 0
6 . 8 . 8 . 4 管道根部做6 c m 高、5c m 宽的水泥圆台, 可增加防水效果。
6 . 8 . 9 屋面渗漏的防治
6 . 8 . 9 . 1 屋面渗漏主要部位在屋面泛水、管道出口及雨水口等处,其根本原因是这些部位的节点处理不当、施工工序的质量把关不严。
6 . 8 . 9 . 2 加强工序施工质量控制监督, 作到每一步施工均满足要求。
6 . 8 . 9 . 3 改变陈旧的施工方法,在泛水处的抹灰层中掺加抗裂防水剂,减小由于抹灰层裂缝造成渗水的可能性。
6 . 8 . 9 . 4 在泛水上口的防水材料收边处,增加刚性压条,且压条上口部位用防水胶密封, 减少由于收边不严造成渗漏。
6 . 8 . 9 . 5 在管道出屋面的部位,先做一定宽度的水泥砂浆泛水,以利于防水材料在此部位的处理和粘结。
6 . 8 . 9 . 6 在管道出屋面部位的防水层表面, 加设水泥砂浆锥体, 作为对此处接口的二次保护。管道出屋面部分加设防雨罩。
6 . 8 . 9 . 7 “ 三缝” 渗漏的预防, 按图示要求制备“ 三缝” 外檐铁皮。2m 以下镶嵌点间距3 0 0 m m; 2 m 以上镶嵌点间距5 0 0 mm。“ 三缝” 施工严格按照图纸执行,不得发生渗漏现象。
6 . 8 . 1 0 室内排水堵塞是由于 排水管道甩口封堵不及时或方法不当,造成土建施工时, 水泥砂浆或杂物掉入管道内; 管道组装时管件使用不当, 造成管道的局部阻力增大而水流速度减慢, 污物容易阻塞, 使流水不畅; 管道安装的坡度不够或均匀, 甚至倒坡; 管道安装接口前( 或接卫生器具) 没有认真清理管内的杂物, 以至通水时水垢堵塞管道。
用管道连接时严格清理管内的泥土及污物,甩口应封好堵严;卫生器具的排水口在未通水前应堵好;施工排水管及水平干管时应满足或不小于最小坡度的要求; 管件安装时, 尽量采用阻力小的, 如Y 型、T Y 型三通或4 5°弯头等。
6 . 8 . 1 1 埋地排水管漏水是由于管沟挖好后,沟底打夯不实,管道局部受力不均匀而造成管材或接口处断裂或活动;. 2 未认真检查管材是否有裂纹、沙眼等缺陷; 回填土不按操作规程进行, 随便回填造成局部土方塌陷或硬土块( 石块) 砸裂管道。
管沟挖好后, 应原土夯实或用砼打垫层, 使沟底符合设计标高和排水坡度;
管接口要养护好, 并在回填土时要保护好; 管道安装前, 要逐条仔细检查, 发现有裂纹、缺陷等不合格产品, 一定不能使用; 管道连接好后, 做好闭水试验。
进行回填土时要逐层回填夯实, 不能随意回填。
6 . 8 . 1 2 阀门漏水是由于压盖不严漏水;阀座、阀瓣、密封面的磨喷、阀座使用一段时间被腐蚀或有裂纹及气孔,阀杆有缺陷或损坏,系统中硬物损坏密封面,均可造成关闭不严, 开启不灵活或无法关闭。
压盖不严往往是填料问题,因此更换填料拧紧压盖即可;如有损坏者,应更换阀芯、阀杆及重新研磨密封面。
6 . 8 . 1 3 地漏排水不通畅是由于地漏标高高出地面;地面没有排水坡度;地漏内堵死。
安装地漏时,其篦子顶面应比地面低5 - 1 0 m m;地面往地漏排水方向要有排水坡度; 安装地漏时, 应清理管道, 防止杂物堵住地漏。
6 . 8 . 1 4 消火栓箱门关闭不严是由于安装未找正;箱门强度不够变形造成。安装时要找正、找直; 按设计要求选择正统消防合格产品。
6 . 8 . 1 5 消火栓阀门关闭不严是由于管道冲洗不干净, 阀座有杂物造成。可用连续冲洗管道, 清理杂物。
6 . 8 . 1 6 水泵结合器不能加压是由于阀门未开启; 止回阀装反; 盲板未拆除。施工安装前, 根据水流方向仔细检查, 及时修整。
6 . 8 . 1 7 防雷接地
在防雷接地装置的焊接过程中,注意明敷避雷带转角应均匀过渡,不能做成锐角, 以防尖端放电, 焊口不得有夹渣、咬肉现象, 焊接后的焊药渣应敲掉, 并涂好防锈漆。隐蔽工程在混凝土浇注前应重新检查各焊接部位,以防在后期结构施工中被破坏后隐蔽, 造成无法修补的情况。
6 . 8 . 1 8 电气配管通病防治
在配管过程中应注意保证配管制作的弯曲半径, 暗配管尽量减少弯头的数量; 明配管应横平竖直, 固定点间距均匀, 如多根管并列敷设应注意固定点保持一致。管内穿线前必须清除管内杂物、积水, 管口应套好护口。
6 . 8 . 1 9 电缆施工通病防治
电缆施工中应注意防止电缆经受过大的应力作用,防止电缆发生破皮、绞拧,电缆转弯处要保证足够的弯曲半径,不得有压扁现象。电缆头进出配电设备要固定牢固, 防止电缆因重力作用损坏所连接的设备。电缆从潮湿房间进入电气设备处应制作防水弯, 以防凝结水流入电器设备损坏绝缘, 引起短路事故。
6 . 8 . 2 0 配电箱安装通病防治
低压配电柜及动力、照明配电箱安装时,应按进线需要敲掉敲落孔,敲落孔应使用厂家配套的塔形橡胶圈做好密封处理,以防虫鼠等进入箱内引起短路。所有配电回路的配线钢管在进入配电箱处应与箱体做好接地连接。
为本工程质量最终达到鲁班奖的质量目标,确保工期,根据《建筑法》、《消防法》以及我单位有关文件精神要求, 特制定下列管理细则:
6 . 9 . 1 建立一套严格的管理体系和管理制度, 成立以项目副经理牵头, 施工技术部、安质部为主的成品保护小组, 分区、分片包干管理, 做好成品保护, 做到每个成品都有人负责。每层有一个人日夜巡视,并掌管房门钥匙,无论何专业,何工种进房施工必须有工长签字的施工单,清点房内成品及成品状况,施工完毕必须由值班人员验收, 如有损坏、丢失要追究施工人员的责任。
6 . 9 . 2 在施工人员进场时, 对全体施工人员进行成品保护思想教育, 晓之以理, 在施工过程中做到自觉自律。每天的调度会由项目经理或项目总工对各班组负责人进行教育; 班前会, 要求班长要强调职工的成品保护意识, 提高员工的职业道德和职业素养。
6 . 9 . 3 各专业、各项目单独编制分项工程成品保护措施, 责任到人, 严格管理, 认真落实。
6 . 9 . 4 建立工序交接施工制度, 各工种间相互做到互不破坏互不污染, 确有相互干扰和更改的要争求总工程师和项目经理同意,拿出具体的方案。各工种进行施工前要进行现场交接,后施工的工种和工序, 不得破坏上道工序的和其他工种的成品, 并把责任落实到班长。
6 . 9 . 5 加强总包方与分包方之间的联系, 避免相互扯皮和相互干扰, 相互影响。不得不破坏成品时, 由项目部统一协调相互关系, 把损失减少到最低限度。
6 . 9 . 6 加大成品保护的宣传工作, 加强成品保护意识。
6 . 9 . 7 建筑产品成品保护是单位工程顺利竣交的保证, 即减小了不必要的浪费, 又是一个建筑企业文明施工水平和管理水平的综合体现。为按预定工期及质量目标, 顺利交工, 各管理部门必须加强成品保护意识, 确保工程交验成品优良率。同时我方根据不同施工阶段制定相应的成品保护措施。
6 . 9 . 7 . 1 土建主体阶段成品保护
6 . 9 . 7 . 1 . 1 钢筋工程:
钢筋进场后,应按规格、品种放置整齐并垫木方,做好标识。已加工成型的钢筋,按工程部位分规格、型号码放整齐,做好标识。绑扎墙柱筋时应搭设架子,不准蹬踩钢筋。予埋电线管与钢筋发生冲突时, 应将钢筋上下、左右弯曲, 严禁随意切断钢筋。绑扎钢筋时, 禁止移动预埋件和预留洞模板。
钢筋绑扎完,禁止其它工种踩踏。楼板的弯起钢筋、负弯筋绑扎完后及时铺设板道, 严禁踩在上面行走。
浇筑混凝土时,设专人看筋,振捣混凝土时,不得振动钢筋、模板及予埋管、件, 以免钢筋移位、模板变形、埋件移位。
6 . 9 . 7 . 1 . 2 模板保护
模板进场应整洁,放置合理,吊运时防止碰撞;模板涂刷脱模剂应在地面堆放场进行, 严禁污染钢筋; 拆除时按程序进行, 禁止使用大锤敲击, 防止砼墙面及门口等处出现裂纹、掉角现象。
6 . 9 . 7 . 1 . 3 混凝土工程:
混凝土浇筑完毕后, 强度达到1 . 2 M p a 前严禁上人踩踏。
剪力墙及梁侧模在砼强度能保证其表面及棱角不因拆模而受损坏后即可拆除。拆模时不得用钢棍或铁锤猛击乱撬, 以防砼外观及内部受损, 严禁使拆下的模板自由坠落于地面或向下抛掷, 应随时堆码整齐。未经技术人员通知, 不经施工员安排, 任何人员不得随意拆除模板、支撑及加固系统。
浇筑完后的砼,如果遇到下雨,应及时用塑料布对其进行覆盖,以免砂浆流失, 影响强度。
已拆模的钢筋砼成品工程,如楼梯、柱角可采用护角板对其易损坏部位加以保护, 以免损伤。
6 . 9 . 7 . 1 . 4 砌体工程:
进场的砖应在平面图所指定位置存放, 按要求码放, 不得超高, 防止碰撞。装运时应轻装轻放, 减少破损, 对已砌好的墙体注意保护。
埋设的管道、电管应注意保护, 不得碰动损坏。
搭设、拆除脚手架时, 注意对已砌好墙体的保护, 防止损坏。
加强对构造柱和墙拉结筋的保护, 不得随意拆除损坏。
6 . 9 . 7 . 2 土建装修阶段成品保护
6 . 9 . 7 . 2 . 1 门窗工程:
门窗的运输应有包装, 装卸小心、安全。玻璃侧立堆放, 支撑稳固。
木门、窗等装卸时应轻拿轻放, 防止磕碰; 为防雨、防潮把木门、防火门、窗等水平放置在库房内, 不得超高堆码和重物压放, 且门、窗底垫木高度不得低于1 0 0 m m 。
门窗框安装完毕后, 应及时作好边口保护板, 防止损坏。
门窗扇安装完毕后,应及时作出醒目标志,并派专人巡视检查,避免人为损坏。拆除脚手架时要轻拆轻放, 拆除后的各种材料要码放整齐, 不要撞坏门窗、墙面和口角。
6 . 9 . 7 . 2 . 2 楼地面工程:
楼地面施工时, 运输物料的小车应注意不得碰撞门框和墙壁。
基层和面层施工时,应注意不得堵塞地漏等水电管线。水泥砂浆不得污染墙体。
地面养护期间不得上人行走,已完工的面层上不得堆放水泥、砂石、砂浆等材料。严禁在地面上直接拌合或堆放砂浆。
块材楼、地面施工完后,应清扫干净,不得有砂浆等尖锐物,且七日内严禁上人, 以免造成空鼓。
在地面上施工的马凳、架子及手推车脚要用木块或软胶皮垫好,包裹好,以避免各种坚硬物体碰坏面层;严禁穿带铁掌皮鞋进入已贴好的地面上。若相邻的楼面暂不施工, 块材楼、地面边缘处应先铺一层编织袋, 上面压砂浆进行保护。
楼梯成品保护:对楼梯地面装修后进行临时封闭,待养护期过后要对棱角做好保护措施。
6 . 9 . 7 . 2 . 3 屋面工程:
施工人员应保护好已做好的找平层、保温层等成品。
屋面防水层施工前, 应注意检查排水管路的畅通, 施工时, 加以保护。
工具、材料严禁乱扔乱放,操作人员工作时一律穿软底鞋,以保护成品半成品。防水层施工完毕, 及时做好保护层。
架子及手推车脚要用木块或软胶皮垫好,包裹好,以避免各种坚硬物体碰坏,轧坏卷材防水层。屋面防水层施工完毕后, 严禁在其上面堆放硬质物品, 避免防水层被破坏。
施工现场严禁烟火防水层施工时,应配备足够灭火器材防止火灾,避免污染墙壁面、檐口及门窗等已完工程。
对穿过板面、墙面等处已稳固好的管线加以保护,施工过程中不得碰损变位。
6 . 9 . 7 . 2 . 4 装饰工程
抹灰时要注意墙上的预埋件、电线盒和各种管道部位要进行特殊处理,以免造成空鼓开裂。抹灰层未硬化前防止水冲、撞击、振动和挤压。
抹灰时,最容易污染门窗等成品,要采取围挡措施加以保护。一旦不慎,门窗等成品被污染时, 要马上采取措施清理, 并应注意不要损伤保护层。
为了保护成品,吊顶板安装必须在棚内管道试水,保温等一切工序全部验收后进行。吊顶安装时注意保护顶棚内各种管线、吊杆不准固定在通风管道及其它设备件上。已装龙骨不得上人踩踏, 其它工种吊挂件不得吊于龙骨架上。电、通风等专业安装设备时, 不得污染已安好的吊顶板。施工顶棚时注意保护已完的门窗、地面、墙面、窗台, 防止损坏。
涂料工程施工时, 不得污染以有成品, 应加强保护措施
6 . 9 . 7 . 3 给排水工程成品保护
施工人员要认真遵守现场成品保护制度,注意爱护建筑物的装修、成品、设备、以及设施。
本工程为甲方定货的设备,安装前根据施工进度要求甲方或材料部门把设备运至指定地点, 交接后施工单位负责保管。
设备在安装前由甲方有关工作人员检查,重要设备及保温材料一定要存入库内, 进行拆箱点件并做好记录, 发现缺损及丢失情况, 及时反映给有关部门。应参加人员不齐时, 不得随意拆箱。
设备开箱点件后对于易丢,易损部件应指定专人负责入库妥善保管。各类小型仪表元件及进口零部件,在安装前不要拆包装, 设备搬运时明露在外的表面应防止碰撞。
制冷机组、空调机组等大型设备吊装,应编写吊装及运输方案在吊装时按产品吊装点吊装, 专业公司和施工队指派有关人员参加。
配合土建的预埋电管及管口要封好, 以免掉进杂物。
对产品有意损坏的要给予处罚。
对管道、通风保温产品要加强保护, 不得随意拆、碰、压, 防止损坏。各专业施工遇有交叉“ 打架”现象发生,不得擅自拆改,需经设计、甲方及有关部门协商, 协调解决后, 方可施工。
对机房、变电室、卫生间等重要部位在不具备安装条件时不得进行设备安装,当设备安装好门要加锁, 并设专人看管。
对于贵重、易损的仪表、零部件尽量在调试之前再进行安装、必须提前安装的要采取妥善的保护措施, 以防 丢失、损坏。
托架( 钩)、吊架载入墙体或顶棚后, 在混凝土强度未达到1 . 2 N / m m 2 前禁止受外力更不准蹬踏摇动, 混凝土强度( 或砂浆) 未达到设计强度的5 0 %或满足不了G 5 要求时, 不准安装管道。
各类支架在管道安装前均应完成防腐工序。
严防在预下完的模具、木砖、铁件上放置物件或踩踏。
浇灌混凝土时有专人看护,防止预留模具、铁件、套管发生振动、位移或倾斜。
P P— R 管接口在冷却过程中不得移动或受力管道施工暂时中断, 必须临时封堵敞口,塑料管在下管子运输过程中不得碰伤管壁,撤出电热铁时不可碰伤聚乙烯软化物镀锌钢管套丝后短时间内不进行接连时应刷一道机油,用灰袋纸缠好待用, 连接后的短段管子在运输堆放中防止撞击和重物堆放在上面,不准损坏螺纹和附件, 安装后的管路严禁用作临时架子或上人攀登。
消防管路安装完毕后严禁攀登、磕碰、重压,防止接口松脱而漏水,箱式消火栓箱内清理干净, 按规定摆放整齐, 箱门关好, 不准随意开启乱动, 室内进行装饰、粉刷时应对消火栓箱进行遮盖保护, 防止污染或损坏, 对处在采暖不利或有产生冻结可能的消防管道应做好防冻保温措施。
清理干净的P E 管承插口要防止存积污物, 阴雨天要采取覆盖措施, 对接后的管道严禁移动。
塑料排水管在运输、装卸和搬运过程中,要轻放,严禁抛摔、拖。不得乱堆放, 不得暴晒, 塑料管承口的粘接过程中不得用手锤敲打。
对没装修完的卫生间及房间内洁具应进行覆盖保护,洁具在单位工程未正式交付使用前严禁使用, 办理工序交接手续, 制定出有针对性的成品保护措施。
施工完的管道保温及保护层不可碰撞和受压, 更不可上人踩。
刷过油漆的管道、物件不得脚踩,半成品安装前刷完油漆的要注意堆放,防止油漆粘接破坏漆膜,刷完油后将滴在地面、墙面及其他物品上的油漆清除干净,安装施工中搬运管道设备应注意设备的安全,同时注意不可破坏其他专业的成品及半成品,在地面施工完成后安装施工用的梯子等物,需将与地面接触的脚包括起来,搬移梯子等物时注意门窗及墙角及墙面的保护,在墙面料装饰后的安装施工中要注意对装饰工程成品的保护做到认真细致。
6 . 9 . 7 . 4 电气工程成品保护措施
配管过程中应注意及时封堵管口、箱盒口并复查。其它工种施工应注意防止碰坏管路、箱盒。剔槽过程中如遇到剔坏管子时, 应及时通知电工进行修理理。
穿线时应保持墙面顶棚的清洁完整。穿线完成后应将导线盘入箱、盒。封箱,堵管, 防止污染。
使用高凳时不得碰撞墙面、门窗等。加强警卫值班, 防止损坏和丢失。
灯具开关、插座安装时, 应保持墙面, 顶面的清洁完整。
灯具开关、插座安装后,土建施工不应再刷浆。如必须修改,应将其罩盖好。
箱( 柜、盘) 安装时应保护墙面, 地面的清洁、完整。箱、盘安装后箱内不应有存放物品, 以避免碰坏弄脏电器、仪表。箱( 柜、盘) 安装后土建不应再刷浆,如必须修补,应将箱( 柜、盘)罩盖好。箱( 柜、盘)安装后应将房屋锁好,并加强警卫值班, 防止损坏或丢失。
其他工种要注意不得损坏接地体。
注意保护土建的结构及装修、粉刷的成品。
到屋面进行安装时要注意避免踩坏屋面。
安装好的避雷带应避免砸碰, 造成损失。
6 . 9 . 7 . 5 分包厂商成品保护
6 . 9 . 7 . 5 . 1 各分包商必须服从总包的统一管理, 与总包方签定配合协议, 在协议中明确规定双方成品保护的条文。
6 . 9 . 7 . 5 . 2 在施工过程中, 努力做到分区作业, 互不干扰, 在各自的工作区域内, 实行工序交接制度, 并认真做好工序交接记录, 责任明确。在不能分区作业的区域, 派专人进行负责管理监督。
6 . 9 . 7 . 5 . 3 分包商在做好成品后, 应提前采取成品保护, 保护工程完善后,通知总包方进行验收, 总包方认为保护合格后, 方可撤出作业区。分包方在工程施工中遇到矛盾应及时向总包方反馈, 以便及时解决处理。
6 . 9 . 7 . 5 . 4 空调器、风机等安装后, 应用尼龙布包扎好保护。
6 . 9 . 7 . 5 . 5 对管道、风管保温成品要加强保护,不得随意碰、压,防止损坏。
冷却塔等设备提前维护, 防止污染和损坏。
我单位本着一切为用户服务的思想,处处要为用户着想,工程虽然已经竣工验收, 但是竣工后的服务工作尚未完结。为使车站能够安全、正常运营, 工程竣工后, 我们将为车站的运营保驾护航, 并向用户作如下承诺:
6 . 1 0 . 1 成立质量回访、保修小组,及时向用户提供服务,小组成员组成如下:
表6 – 6
保修小组组长 | 项目经理 |
保修小组副组长 | 总工程师、项目副经理 |
保修小组组员 | 土建工程师(1人)、电气、给排水工程师 各1 人、各专业操作工人15 人 |
6 . 1 0 . 2 向用户提供所有的工程技术档案, 有关说明及各种原始资料, 同时我单位保留一份, 以备回访和保修期查用。
6 . 1 0 . 3 执行工程竣工后回访保修制度。竣工后随即向用户发放回访保修卡,认真履行合同及有关规定。保修期内, 每隔三个月进行一次定期回访; 在特殊环境出现时,( 如大风、暴雨天气后) 我单位将进行特殊情况下的不定期回访工作,及时掌握实际情况, 为车站的正常运营提供有力保证。
6 . 1 0 . 4 针对车站工程的特点,对于易发难治的质量通病,我们将事先编制专门的质量通病防治措施, 在施工过程中跟进回访, 收集信息, 及时制定有针对性的措施应用于过程实践中;根据质量回访中业主及其他有关单位反馈的意见和建议以及在日常管理中得到的信息,我们将制定必要的纠正和预防措施,以保证在以后的质量活动中得到改进和提高。
6 . 1 0 . 5 保修期内对用户在使用中所碰到的质量问题, 我单位将立即派人了解、调查并分析原因。 凡由于施工原因造成的质量问题, 我单位负责立即派人修复。凡属于其他原因造成的质量问题, 我们将向用户解释, 并积极参与配合修复, 在技术上、物质上提供力所能及的帮助。
6 . 1 0 . 6 适时邀请火车站各部门座谈,请用户对我单位的质量情况多提宝贵意见, 以便今后不断改进。
质 量 控 制 要 点 一 览 表 | ||||||||||||||||||||||||||||||||||||
控制 阶段 | 控制环节 | 控制要点 | 主要控制人 | 参与控制人 | 主要控制内容 | 参与控制内容 | 工作依据 | 工作见证 | ||||||||||||||||||||||||||||
施工准备阶段 | 一 | 设计交底与 图纸会审 | 1 | 图纸、技术文件检查 | 各专业工程师 | 项目总工程师 | 图纸资料是否齐全 | 能否满足施工要求 | 施工图及技术文件 | 自审记录 | ||||||||||||||||||||||||||
2 | 设计交底技术会谈 | 项目总工程师 | 专业工程师 | 了解设计意图,提出问题 | 解决问题的方法 | 施工图纸及技术文件 | 设计交底 技术会谈记录 | |||||||||||||||||||||||||||||
3 | 图 纸 会 审 | 项目总工程师 | 专业工程师 | 对图纸的完整性,准确性, 合法性,可行性进行会审 | 根据图纸提供时间 及时地进行图纸会审 | 施工图纸及技术文件 | 图纸会审记录 | |||||||||||||||||||||||||||||
二 | 制定施工 工艺文件 | 4 | 施工组织设计 | 项目总工程师 | 各专业责任工程师 | 按企业标准进行编写并会审 | 及时编制 | 规范、施工图、标准 | 批准的施工组织设计 | |||||||||||||||||||||||||||
5 | 专题施工方案 | 专业工程师 | 技 | 术 | 员 | 组织审批 | 编写 | 规范、施工图、标准 | 批准的专题施工方案 | |||||||||||||||||||||||||||
三 | 施工材料 机具准备 | 6 | 各专业提出 材料需用计划 | 项目总工程师 | 各专业工程师 | 审核报批 | 编制计划 | 规 范、定 额 | 批准的材料计划 | |||||||||||||||||||||||||||
四 | 技术交底 | 7 | 技术交底和 分专业交底 | 项 目 经 理 项目总工程师 | 各专业责任工程师 | 组织实施 | 编 写 交 底 书, 操作工艺卡,施工技术交底 | 施 工 图、规 范、 质 量 评 定 标 准 | 批准的专题施工方案 | |||||||||||||||||||||||||||
五 | 材料检验 | 8 | 材料检验及复试 | 项目总工程师 | 试验工程师 | 砂、石检验,水泥钢材复试 材料合格证,检验报告 | 花岗岩、面砖等 所有材料检查验收 | 规范、质检标准 | 检验及复试报告 | |||||||||||||||||||||||||||
六 | 材 料 进 场 | 9 | 材料进场计划 | 物资部部长 | 材 | 料 | 员 | 编写材料平衡计划、组织进货 | 建帐立卡 | 材料预算 | 材料计划表 | |||||||||||||||||||||||||
10 | 材料试验 | 专业材料技术员 | 材 | 料 | 员 | 审查材料质保书 清查数量 | 有无合格证 | 定货合同,材料预算 | 材料验收单 | |||||||||||||||||||||||||||
11 | 材料保管 | 材 | 料 | 员 |
|
|
| 分类存放、建帐立卡 |
| 材料供应计划 | 进 料 单 | |||||||||||||||||||||||||
12 | 材料发放 | 材 | 料 | 员 | 领 | 料 | 员 | 核对名称规格型号材质 | 核对合格证及数量 | 限额领料卡 | 发 货 单 | |||||||||||||||||||||||||
七 | 人员资格审查 | 13 | 焊 | 工 | 焊接工程师 | 办公室及项目总工 | 审查焊工合格证有效项目 | 检查确认 | 焊工考试规范 | 焊工合格证 | ||||||||||||||||||||||||||
14 | 驾驶员等特殊工种 | 专业工程师 | 办公室及项目总工 | 审查操作证 | 检查确认 | 规范、规程 | 资格证书 | |||||||||||||||||||||||||||||
15 | 试 验 人 员 | 试验工程师 | 办公室及项目总工 | 审查操作证 | 检查确认 | 规范、规程 | 资格证书 | |||||||||||||||||||||||||||||
| 八 | 试 验 报 告 | 16 | 确认施工条件 | 项目总工程师 | 各专业工程师 | 现场“三通一平”, 质保人员上岗,设备材料机具进场 |
| 施工准备工作计划 | 批准的开工报告 | ||||||||||||||||||||||||||
质 量 控 制 要 点 一 览 表 | ||||||||||||||||||||||||||||||||||||
控制 阶段 | 控制环节 | 控制要点 | 主要控制人 | 参与控制人 | 主要控制内容 | 参与控制内容 | 工作依据 | 工作见证 | ||||||||||||||||||||||||||||
施工阶段 | 九 | 轴线标高 | 17 | 各楼层轴线标高 | 专业工程师 | 质量检查员、 测量放线员 | 轴线标高位置 | 复核检查确认 | 图纸标准 | 测量放线定位记录 | ||||||||||||||||||||||||||
十 | 材料 代用 | 18 | 材料代用 | 各专业工程师 | 质量检查员 | 工艺审查、理论验算 |
| 图纸,规范 | 三方签证的 代用通知单 | |||||||||||||||||||||||||||
十 一 | 基 础 工 程 施 工 | 19 | 基础验槽 | 专业工程师 | 质量检查员 | 地质情况、钎探、基槽尺寸 | 组织甲乙丙三方验槽 | 图纸,规范 | 三方签证的验槽记录 | |||||||||||||||||||||||||||
20 | 模板 | 专业工程师 | 技术员、质检员 | 支模方法、钢度 | 几何尺寸位置,标高 | 施工组织设计 | 原始记录,砼质量 | |||||||||||||||||||||||||||||
21 | 钢筋制作与绑扎 | 专业工程师 | 专业技术员 | 规格、品种、尺寸、对焊质量 | 数量,搭接长度,保护层 | 图纸规范标准 | 复核隐蔽 工程验收记录 | |||||||||||||||||||||||||||||
22 | 砼制配施工 | 专业工程师 | 各专业工程师 质量检查工程师 | 按程序施工, 确保计量准确,解决技术问题 | 实施监督按标准施工 | 施工验收规范 | 各项原始记录, 质量评定表 | |||||||||||||||||||||||||||||
十二 | 主 体 装 修 工 程 施 工 | 23 | 模板铁件制安 | 专业工程师 | 质量检查员 | 几何尺寸位置正确、稳定 | 按图施工 | 施工方案 | 质检记录 | |||||||||||||||||||||||||||
24 | 钢筋工程 | 专业工程师 | 专业技术员 质检员 | 规格、品种、尺寸、对焊质量 | 复核、保护层,搭接 | 图纸规范标准 | 隐蔽工程验收记录 | |||||||||||||||||||||||||||||
25 | 砼制配施工 | 专业工程师 | 各专业工程师 质量检查工程师 | 按程序施工, 确保计量准确,解决技术问题 | 实施监督按标准施工 | 施工验收规范 | 各项原始记录, 质量评定表 | |||||||||||||||||||||||||||||
26 | 钢 管 柱 | 专业工程师 | 专业工程师 质量检查工程师 | 吊装方案,标高、 80 度倾角焊缝质量 |
|
|
| |||||||||||||||||||||||||||||
|
|
|
|
|
|
|
| |||||||||||||||||||||||||||||
|
|
| 27 | 砖砌体工程 | 专业工程师 | 专业技术员 | 砂浆饱满度墙平整度垂直度 | 实施监督按图施工 | 施工验收规范 | 各项原始记录 | ||||||||||||||||||||||||||
28 | 门 | 窗 | 总工程师 | 各专业工程师 | 材料及安装质量 | 实施监督,成品保护 | 图纸,施工方案 | 各项原始记录 | ||||||||||||||||||||||||||||
29 | 室内吊顶 | 总工程师 | 各专业工程师 | 材料、标高位置 | 平整度,接缝,顺直 | 图纸,施工方案 | 质量评定表 | |||||||||||||||||||||||||||||
十 三 | 屋面工程 | 30 | 砼基层屋面 | 专业工程师 | 质量检查员 | 防水层施工方法 |
| 规范,图纸, 施工方案 | 施工记录 | |||||||||||||||||||||||||||
31 | 钢 屋 盖 | 专业工程师 | 质量检查员 | H 梁安装方法、三缝处理 |
| 规范,图纸, 施工方案 | 施工记录 |
质 量 控 制 要 点 一 览 表 | |||||||||||
控制 阶段 | 控制环节 | 控制要点 | 主要控制人 | 参与控制人 | 主要控制内容 | 参与控制内容 | 工作依据 | 工作见证 | |||
施工阶段 | 十四 | 地面工程 | 32 | 块材地面 | 总工程师 | 专业责任工程师 质量检查员 | 主持质保体系运转,按图施工, 材料进场检验,铺粘 | 材料配合比, 价格,磨平平整度 | 施工方案,操作工艺卡 | 各项原始记录 | |
33 | 水泥砂浆地面 | 总工程师 | 专业工程师 | 样板开路细部做法观感质量 | 平整度,垂直度,接缝 | 操作工艺卡 | 质量评定表 | ||||
十五 | 安装工程 | 34 | 电气工程 | 项目总工程师 | 专业工程师 | 审核安装方法 | 监督施工 | 图纸,规范,安装说明 | 原始记录 | ||
35 | 协 | 调 | 项目总工程师 | 专业工程师 | 协调施工 | 监督施工 | 图纸、设备说明书 | 安装记录 | |||
36 | 空调设备安装 | 项目总工程师 | 专业工程师 | 位置标高、安装方法 |
|
|
| ||||
37 | 管道制安及焊接 | 项目总工程师 | 专业工程师 | 组织解决技术和质量问题 |
| 施工与验收规范 | 各项原始记录 | ||||
调试 与试 运转 阶段 | 十六 | 调试 | 38 | 管路试压 | 专业工程师 | 专业技术员 | 组织实施 |
| 规范、方案 | 试压记录 | |
39 | 电气设备调试 | 专业工程师 | 专业技术员 | 组织实施 |
| 规范、方案 | 调试记录 | ||||
验收阶段 | 十七 | 隐蔽 工程 验收 | 40 | 分项、分部工程 | 专业工程师 | 各专业责任工程师 | 监督实施 | 数量位置,质量标准 | 施工图 | 隐蔽工程验收记录 | |
41 | 主体结构 | 总工程师 | 专业工程师 | 组织实施 |
| 规范 | 基础与结构 工程验收记录 | ||||
十八 | 工程 质量 评定 | 42 | 分项、分部、 单位工程 | 项目总工程师 | 各专业工程师 质量责任工程师 质量检查员 | 实施监督评定 | 实测实量观感保证 项目资料评定,问题整改 | 评定标准 | 质量评定记录 | ||
十九 | 工程 验收 交工 | 43 | 交工验收报告 资料整理 | 项目总工程师 | 各专业工程师 | 签发验收报告,审核 交工验收资料的准确性 | 整理交工验收资料 | 验收规范 | 交工资料 | ||
44 | 办理交工 | 项目经理及总工程师 | 各专业工程师 | 组织验收 | 提出交工文件,资料归档 | 施工图,上级文件 | 竣工资料 | ||||
二十 | 用户 回访 | 45 | 质量及使用 功能回访 | 合约部 | 施工部 | 了解情况、落实整改措施 | 编制整改措施 | 国家文件规定 | 整改报告 |
钢筋工程质量程序控制图
图6-6
模板工程质量程序控制图
图6-7
混凝土工程质量程序控制图
图6-8
消灭责任死亡事故、多人伤亡事故和重大财产损失事故,年负伤率小于0 . 5‰ 。
安全管理目标网络
图7-1
建立以项目经理为首的项目安全保证体系。经理部设安保部负责工程安全工作, 依据O H S A S 1 8 0 0 0 的程序文件要求负责对项目的实施过程中所有安全生产情况进行监督检查。
施工安全组织管理网络图
图7-2
施工过程安全控制流程图
图7-3
安全重点防护及安全保证措施
表7 – 1
安 全 重 点 防 护 | 安 全 保 证 措 施 | ||||
序 号 | 内容 | 主要项目 | 负责人 | 序号 | 具 体 措 施 |
1 | 基槽 、坑 沟、孔桩 | 放坡、支撑、防护栏、 标志牌、顶面堆放安 全距离 |
| 1 | 全员安全岗位责任制 |
2 | 全员安全意识教育 | ||||
3 | 民工进场安全教育 | ||||
2 | 脚手架 | 材质、探头板、人行 道防护、护栏、接地 保护、防雷 |
| 4 | 编制安全措施及交底 |
5 | 专人检查现场安全措施落实情 况 | ||||
6 | 施工后奖评安全生产情况 , 针对问题采取对策 | ||||
|
| ||||
3 | 安全网 | 本身材质、支挂、网 片规格 |
| 7 | 特殊工种安全培训持证上岗 |
8 | 安全定期检查 | ||||
9 | 班前安全活动 | ||||
4 | 施工机械及垂直运 输 | 机械本身安全防护装置防护栏挡脚板、防 |
| 10 | 遵章守纪 |
12 | 安全事故处理(四不放过) | ||||
护棚、防护门 | |||||
5 | 临边及洞口安全防护 | 通道防护棚、防护栏、防护门、预留洞口 |
| 13 | 开展安全无事故活动 |
14 | 现场文明施工 | ||||
6 | 高处作业 | 物料堆放、特殊天气、 安全防护设施 |
| 15 | 工地义务消防组织 |
16 | 劳动保护(三宝及其他) | ||||
7 | 现场临电 | 线的规格、型号、保护、配电箱的材质、型号与地面高度、高压线防护 |
| 17 | 现场安全警告标志 |
18 | 消防用火申报制度及器材配管 | ||||
19 | 大型垂直运输设备(验收 操作 检查 维护) | ||||
|
7 . 3 . 1 建立各级管理人员安全生产岗位责任制, 包括项目经理、技术人员、施工员、班组长、专职安全员等, 编印成《员工手册》; 作业人员下发《员工安全须知》, 人手一份, 互相监督。
7 . 3 . 2 对所有进场的职工、分包队伍进行入场安全教育及针对本工种安全操作规程的教育, 并建立个人安全教育卡片。
7 . 3 . 3 需持证上岗的特殊工种工人都必须经过培训考试,并取得有关部门颁发的合格证书后方可上岗。
7 . 3 . 4 各工班每天上班前, 工班长做班前安全施工教育, 并做好记录。
7 . 3 . 5 主管安全生产副经理组织每月两次安全检查,安保部不定期组织人员检查, 专职安全员天天检查。
7 . 3 . 6 对查出的问题隐患要做好文字记录, 开据整改通知单, 并落实到人,限期整改, 整改完毕后要由安全员进行验证。上级安全部门将不定期对本项目进行安全检查。
7 . 3 . 7 技术员编制技术方案、技术交底必须同时编制详细、有针对性的安全措施, 并向操作人员进行书面交底, 双方签字认可。
7 . 3 . 8 现场发生的安全事故,都要本着“ 四不放过”的原则进行处理,查明原因, 教育大家, 并落实整改措施。重大安全事故必须及时向上级部门及地方有关部门汇报, 积极配合和接受有关部门的调查和处理。
7 . 4 . 1 . 1 坚决贯彻执行国家颁发的《建筑安装安全技术操作规程》和新的《安全法》有关规定。
7 . 4 . 1 . 2 每月第一个星期一上班之前开半小时安全生产会,奖励安全生产积极分子, 批评不安全行为。
7 . 4 . 1 . 3 安全“ 三件宝”必须教育切实贯彻使用,本工程工地不戴安全帽者不准入内, 没有上过安全教育课者, 不准上岗。
7 . 4 . 1 . 4 切实做好现场施工管理工作,道路要平整、畅通、硬化,材料、构件应堆放平稳整齐。
7 . 4 . 1 . 5 工作间及临时库房内严禁吸烟, 并需设置消防器材。
7 . 4 . 1 . 6 机电设备一律应设安全防护罩和接地接零, 机具操作应有专人负责, 并安装触电保护器, 做到一机一闸一触电保护器, 防止触电事故的发生。
7 . 4 . 1 . 7 做好安全交底工作, 加强安全监督检查。
7 . 4 . 1 . 8 外脚手架全封闭,每步脚手架外立面方向均用密目网满封,层层脚手架满铺排片, 耐用度要定期检查随时更换。
7 . 4 . 1 . 9 洞口、临边以及沿站台和通道等危险地方必须用竹排片、钢排片严加围拦, 并设置明显标志。
7 . 4 . 1 . 1 0 夜间施工应有足够的照明, 并派跟班电工。
7 . 4 . 1 . 1 1 脚手架上下不准堆积模板、钢管等重物, 以防脚手架超载下滑,酿成安全事故。脚手架挑杆必须坚固、稳定。经常检查是否松动, 如有松动下沉现象, 必须及时加固处理, 消防安全隐患。
7 . 4 . 1 . 1 2 坚持安全生产书面交底制度, 凡新开的分部分项工程, 专业负责人都应有针对性的安全技术交底并进行签字手续, 其原件应交资料室存档。
7 . 4 . 1 . 1 3 现场悬挂安全生产标语, 洞口、临边部位、站台和通道除设置防护措施外, 还应张贴有关安全标牌, 以示提醒。
图7 – 4
有关安全标牌示意图
7 . 4 . 1 . 1 4 现场设置的安全防护设施未经允许任何人不得擅自拆除。
7 . 4 . 1 . 1 5 对生产过程中检查出的安全问题及安全隐患应以书面形式通知有关人员或施工班组, 并限期整改, 将安全管理纳入施工班组任务书、承包书的结算管理, 形成以安全保证施工, 以施工促进安全的工作方式。
7 . 4 . 1 . 1 6 施工现场动火, 按工程进展情况实行动火审批制度, 未经批准擅自动火者, 视情节严重情况, 给予一定的经济制裁。
7 . 4 . 1 . 1 7 施工现场配备足够的防护眼镜、口罩、劳保鞋等劳保用品, 以确保施工人员的人身安全。
7 . 4 . 2 洞口防护、临边防护及外架防护
7 . 4 . 2 . 1 每道工序施工前必须进行书面安全技术交底。
7 . 4 . 2 . 2 楼梯口设防护栏杆,电梯口设护栏,内设平网,预留洞口设铁篦子,通道口设护头棚, 四口设明显的警示牌。
7 . 4 . 2 . 3 建筑物各层的四周及屋面四周做临时防护栏杆封挡。
7 . 4 . 2 . 4 各种防护栏杆刷红白相间3 0 0 m m 长的油漆以做警示。
7 . 4 . 2 . 5 外脚手架必须与建筑物有可靠的拉结,间距不得大于5 m ,杆与墙的缝隙不大于3 0 0 m m, 外脚手架用密目安全网全封闭, 脚手架施工层设1 . 2 m 高的护身栏杆。
7 . 4 . 2 . 6 外脚手架作业层用5 c m 厚脚手板满铺, 靠外侧设1 8 c m 高挡脚板。
7 . 4 . 2 . 7 在一层顶部悬挑4 m 宽的安全棚架,上铺双层竹笆,以防坠物伤人。施工入口处, 用φ 48×3 . 5 脚手管搭设安全通道, 上铺双层5 0 m m 厚木板, 两侧用多层板封挡。
7 . 4 . 2 . 8 脚手架的地基平整夯实, 排水通畅, 架体周围不准随意开挖。
7 . 4 . 2 . 9 脚手架底角采用5 0 m m 厚木板或[1 0 做垫木, 不得用砖、石等支垫。
7 . 4 . 2 . 1 0 剪力撑要按施工规范搭设, 斜杆与地面倾角6 0°。
7 . 4 . 2 . 1 1 钢管脚手架杆件应采用壁厚3 . 5 mm、外径4 8 m m 的焊接钢管, 其材质应符合《G B 7 0 0 - 7 9》的技术要求, 凡钢管表面有凹凸状、疵点、裂纹、变形和扭曲等现象一律不准使用。每根钢管的二端切口需平直, 严禁有斜口、毛口、卷口等现象, 钢管还必须有出厂产品质量证明。
7 . 4 . 2 . 1 2 扣件采用可锻铸铁, 并应符合技术要求, 凡有变形、裂纹、砂眼等现象的扣件, 不得使用。
7 . 4 . 2 . 1 3 脚手架经验收合格后挂合格标识牌, 并悬挂安全标志及安全标语牌。洞口防护图
图7 – 5
7 . 4 . 3 施工用电安全
7 . 4 . 3 . 1 所有电力线路和用电设备, 必须由持证电工安装, 并负责日常检查和维修保养, 且不得带病作业; 其他人员不得私自乱接、乱拉电线。
7 . 4 . 3 . 2 现场用电线路, 一律用绝缘导线, 移动线路必须用橡皮电线, 不得裸露。电线要架空设置, 绝缘子固定, 不得捆绑在脚手架或钢筋上。
7 . 4 . 3 . 3 在潮湿场所及高度低于2 . 4 米的房间以及各种通道内作业时应使用3 6 V 的安全电压做照明; 油料及易燃易爆品仓库内使用防爆灯具。严禁使用移动式碘钨灯。
7 . 4 . 3 . 4 室外配电箱必须做防雨罩, 并上锁, 钥匙由值班电工统一管理, 总配电箱和分配电箱均设漏电开关,开关箱内的漏电开关动作电流不大于3 0 m A,所有用电设备均采用一机一闸一漏电保护。配电箱要安装牢固, 底边距地面不小于1 . 5 m。
各配电箱均应有用电标识。
图7 – 6
配电柜防护及标识示意图
7 . 4 . 3 . 5 配电系统采用T N - S 接零保护系统, P E 线截面不小于1 / 2 相线。所有出线电缆末端均做重复接地, 接地电阻不大于1 0Ω 。电力设备的外壳及所有金属工作平台均与P E 线相接。
7 . 4 . 3 . 6 塔吊顶装设避雷针, 避雷引下线接地极电阻不大于4Ω 。
7 . 4 . 4 机械设备的使用、维修和保养。
7 . 4 . 4 . 1 现场的机械设备必须有书面操作规程,操作人员必须持证上岗,严格按照操作规程操作, 不得带病或酒后作业, 且实行定机定人。
7 . 4 . 4 . 2 机械设备管理人员必须经常检查机械设备的安全防护装置并予以维修和保养, 及时更换失灵和损坏的零部件。
7 . 4 . 4 . 3 高大机械设备、脚手架等要做好防雷接地,接地电阻不大于4Ω 。
7 . 4 . 4 . 4 主要机械安全操作规定
7 . 4 . 4 . 4 . 1 砼搅拌机
作业场地应有良好的排水条件, 机械近旁有水源、地面硬化, 搭设工作棚,做好防雨、防冻设施并不得积水。
作业后, 应及时将机内、水箱内、管道内的积水放尽, 并清洁保养机械,清理工作场地, 切断电源, 锁好电箱。
移动式搅拌机长期停放或超过三个月以上时, 应将轮胎卸下妥善保管, 轮轴端部应清洁无锈。
作业前, 空车运转, 检查各工作装置的操作、制动、传动部位、防护装置,均应牢固可靠, 确认正常, 方可作业。
进料时, 严禁将头或手伸入搅拌筒内或用木棒在筒口清理砂浆。
作业中, 如发生故障或突然停电不能继续运转时, 应切断电源, 才可将混凝土或灰浆清除干净, 进行检修等工作。
作业后, 将料斗放置地面, 须升起时应用链条扣牢。
7 . 4 . 4 . 4 . 2 砂浆搅拌机
作业前, 检查搅拌机的传动部分, 工作装置和防护装置的完好情况, 并启动后空载运转, 待一切正常方可投料搅拌。
运转中, 不得将手、木棒和铁锹伸进搅拌筒内或在筒口清理砂浆。
作业中, 如发生故障, 应立即停车, 切断电源, 倾出砂浆, 方可进行检修。
砂浆机的每盘加料量应符合机械性能, 禁止超负荷运行, 搅拌砂浆所用砂子应过筛, 防止小石子卡住叶片。
作业中, 应做好机内外清洗工作, 保养机具, 清洁场地。
7 . 4 . 4 . 4 . 3 提升架和卷扬机
提升架必须装设吊篮断绳保险, 冲顶限位和进出料安全门、三面必须用网封闭。
架设提升架的地基必须稳妥可靠。表土平整夯实, 夯实后的土层基承载力不得小于8 t / m 2,底座的深度不小于井字架高度的1 %,并浇注C 2 0 以上砼,厚度为3 0 c m 左右, 基座应按装地脚螺丝或四角桩固定。
提升架安装到三节时, 必须用钢丝绳合理地拉好临时缆风绳, 严禁用棕麻绳、铅丝或钢筋作临时缆风绳。
缆风绳应对角拉设, 架高1 5 m 以下设1 组, 每增高1 0 m 加设一组, 每组不小于4 根, 缆风绳与地面夹角在4 5 º 至60º 之间, 缆风绳必须用钢丝绳, 如有断丝、锈蚀或表面磨损超过规定时, 不准使用。缆风绳所用轧头每根上、下必须设有2 只以上。
提升架的桩锚, 应根据土质及荷载情况, 采用合理的埋桩锚和联桩锚。
提升架的搭设、检查、保养及拆除必须严格按有关规定做好安全技术交底的安全验收记录。
卷扬机的安装基础必须平正牢固, 设置可靠的地锚, 并应搭设工作棚, 操作人员的位置应能看清指挥人员和吊物件。
使用可以正反转的卷扬机,卷筒旋转方向应和操作开关上指示的方向一致。
从卷筒中心线到第一个导向滑轮的距离, 无槽卷筒应大于2 0 倍筒径, 当钢丝绳在卷筒中心位置时, 滑轮的位置应与卷筒轴心垂直。
钢丝绳在卷筒上必须排列整齐, 作业中最少需保留三圈。
作业中, 任何人不得跨越钢丝绳。操作时严格擅自离开岗位, 休息时吊笼应降至地面, 如果作业时突然停电, 应立即切断电流, 将提升物缓慢放至地面。
7 . 4 . 4 . 4 . 4 电焊机
电焊机应设有可防雨、防晒的机棚, 并备有消防器材, 接地线与焊把线都不得搭设在易燃、易爆和带有热源的物品上。雨天不得在露天电焊。
电焊机的绝缘电阻不低于0 . 5 MΩ ,运行中的焊机温升不得超过A 级6 0℃ 、B 级8 0℃ 。
施焊现场的1 0 m 范围内, 不得有氢气, 乙炔和木材等易燃易爆物品。
作业后, 应清理场地, 灭火种, 切断电源, 锁好闸箱。并等焊料余热散净后方可离开。
7 . 4 . 4 . 4 . 5 振捣器
使用前应先检查各部件的连接是否牢固, 接线处绝缘是否可靠, 运转方向是否正确。振捣器不得在地板、脚手架和干硬的地面上进行试振。
插入式振捣器软管的弯曲半径不得小于5 0 c m, 并不得多于两个弯。使用时应使振捣棒自然地垂直沉入砼中, 不得硬插、斜插。
平板式振捣器的电源线必须固定在平板上, 电器开关应装在手把上, 如用绳拖拉时, 拉绳应干燥绝缘, 转弯时不得用脚踢电动机。
操作人员施工时必须穿绝缘鞋, 戴绝缘手套, 完后做好机械的清洁保养工作。
7 . 4 . 4 . 4 . 6 水泵
水泵应安放于坚实, 平整的地点, 吸水管应使用带滤头吸水口, 工作中发现出水不正常, 盘根漏气, 轴承发热, 应即停机检查。
潜水泵接通电源后, 应先检查电机旋转方向。潜水泵的吸水部分必须沉入水中, 在水外运转的时间不得超过5 分钟。
潜水泵移动时必须提拉扣在潜水泵耳环的绳子, 严禁拉提电缆线。潜水泵工作时, 应妥善接地, 其工作范围的3 0 m 内不应洗手, 洗物, 以免发生触电。
潜水泵工作完毕, 应切断电源, 放尽积水, 妥善安放。
7 . 4 . 4 . 4 . 7 蛙式打夯机
使用前对机械各部认真检查, 连接细丝必须紧固, 电气及接地必须良好,三角带松紧适度, 经运转合格后方可正式使用。
试运转时应注意音响是否正常, 三角皮带是否跳动, 偏心块是否摇摆。
夯土时由一人操作, 一人拉线, 操作人员应戴绝缘手套, 穿绝缘鞋。
操作中打夯机前进方向不得有人, 夯机不得夯打在坚硬物体上, 三角皮带打滑时, 应使用皮带帽, 不得浇水或扬土。
连续工作一段时间后, 应停止检查各部位是否松动。
使用完毕, 将夯机移入干燥叶点, 做好防雨遮盖。下班时应切断电源, 收好电缆线。
7 . 4 . 4 . 4 . 8 砂轮切割机
机具要安放在稳固的地面上, 接地应良好。
先空载运转, 正常后方可进行切割。
切断作业时, 人应偏离切割方向, 操作中不得加长力臂, 不得进刀过快。
7 . 4 . 4 . 4 . 9 塔吊
司机除应与指挥人员密切配合外, 还应遵守施工现场的安全生产有关规定和卷扬机的安全规程。
检查电压是否达到3 8 0 V 的标准, 其变动范围不得超过±5%( 即4 0 0 - 3 6 0 V之间) 如超过时, 须采取相应措施, 否则不准使用。
操作前应空车试动转, 检查起重钩、摆杆、行车三个动作的制作的制动器保险装置和传动装置是否灵活可靠。
操作控制器时, 应从停止点( 零位) 转动到第一级, 然后逐级增加速度,严禁越级操作。要变换回转方向时, 应将控制器手盘指针先转动至零位, 并待运动停止后再行转向另一方向, 不得直接变换回转方向。操作时应力求平稳,严禁急起急停, 以防塔式起重机发生严重的倾倒故事。
吊起的重物严禁自由落下, 应保持两机之间的安全操作距离( 吊钩上所悬挂物件的间距, 不得小于5 m)。
严格检查机身各部主要连接螺栓是否齐全紧固, 电气设备和传动装置是否灵敏可靠, 并注意校正起重机拐弯曲度, 检查轨道及夹轨钳连接情况。
工作中不准有意利用限位装置进行自停车, 如偶然触及, 应立即将控制器反方向运转( 详见塔吊限位示意图7 - 7 )。
7 . 4 . 4 . 4 . 1 0 其他手持电动工具
使用加强绝缘的手持电动工具时, 应接在漏电保护开关下, 并有可靠的接地保护装置。操作人员必须戴绝缘手套和穿绝缘胶鞋。
角向磨光机, 必须装防护罩, 操作时, 加力要平稳, 不得用力过猛。
使用2 5 m m 以上冲击电钻时, 作业场地周围应设护栏, 在地面上操作应有稳固的平台。
使用角向磨光机应注意砂轮安全线速度8 0 m / m in。作磨削时砂轮与工作面应保持1 5 - 3 0 º 的倾斜位置, 作切割时砂轮不得倾斜。
7 . 5 . 1 吊装作业必须执行规定的统一信号, 严格执行“ 十不吊” 的规定。
7 . 5 . 2 吊具、吊钩、钢丝绳等必须符合有关技术规定。
7 . 5 . 3 高空作业的工具、垫块、螺栓、焊条等应装入工具袋,防止坠落,严禁由高空向下抛掷料具和杂物。
7 . 5 . 4 主体施工时使用的塔吊,力矩限制器、超高、变幅、行走限位要灵敏,吊钩、卷扬机滚筒要有保险装置, 轨道要有极限位置阻挡器, 轨道要有接地、接零装置, 并且道轨连接处要有跨接地线, 每隔3 0 m 应加一组接地装置, 轨道两端要有接地装置。
7 . 6 . 1 开挖前要做好各项施工准备工作, 做好安全技术交底才可挖孔。
7 . 6 . 2 开挖过程中专职安全员要随时检查。
7 . 6 . 3 在透水和软弱土层进行挖掘作业时,井下人员要随时注意孔内情况的变化, 保证孔内有足够的通风, 发现流沙、塌方、孔壁开裂、或有异味气体等时要立即停止施工, 向值班人员报告并采取措施后, 才能继续施工。
7 . 6 . 4 坑口应设防护栏, 第一节护壁要高于地面2 5 c m 作为踢脚板, 井口周围严禁放杂物。护壁拆模要经过安全员同意。孔内凿岩要有防尘措施。
7 . 6 . 5 井上井下必须保持可靠联系, 孔内要设安全爬梯, 距坑口2 m 处要设半月板, 吊筒上下要扶正, 上下时孔内人员要避于板下, 吊筒要绑扎牢固, 不得装满以免掉物伤人, 上下递物严禁抛掷, 必须吊索捆绑吊下。
7 . 6 . 6 挖深4 m 以上时应在下井前作气体试验, 检查孔内是否有沼气或有毒气体, 当发现超过允许值时应及时采取措施将毒气排除, 并检查不再产生时方可作业。作业前应用鼓风机向孔底送风, 必要时( 如桩孔过深时) 应适当送氧。
7 . 6 . 7 井下照明使用1 2 V 的安全电压,夜间作业时要有足够的照明,孔内潜水泵的电缆应完好无损, 并做好捆绑的措施, 防止摩擦、碰撞造成损坏漏电事故。
7 . 6 . 8 加强基坑的安全监测工作,发现隐情和数据异常等要停止施工,及时向有关人员反映, 及时采取措施进行处理。
7 . 6 . 9 基坑四周做钢管临时防护栏杆,刷红白油漆警示,各通道口处,必须搭设防护栏杆, 悬挂有关的警示标志牌。
7 . 6 . 1 0 由于该分项工程施工处于铁路线的中间。故在施工时确保行车的安全, 为保证行车安全, 在施工时在作业区与线路区设安全护拦。在每步施工时必须有安全员专门监控。
7 . 7 . 1 针对本工程边施工边营运的安装施工特点,组织所有施工人员学习和掌握安全操作规程和有关安全生产条例, 认真贯彻、落实国家“ 安全第一, 预防为主” 的方针, 严格执行国家、地方及企业安全技术规范、规章、制度, 建立落实安全技术交底制度, 认真做好进场安全教育及进场后的经常性的安全教育及安全生产宣传工作。
7 . 7 . 2 建立落实安全技术交底制度, 各级交底必须履行签字手续。
7 . 7 . 3 特种作业务必持证上岗,且所持证件必须是专业对口、有效期内及市级以上的有效证件。
7 . 7 . 4 高处作业的安全设施必须经过验收通过, 方可进行下道工序的作业。
7 . 7 . 5 所有高处作业人员必须经过体检, 作业时必须系挂好安全带。
7 . 7 . 6 吊装方面的作业必须有跟随时的水平安全网,且每隔一层设一固定安全兜网, 按施工方案及时进行临边防护安装。
7 . 7 . 7 柱焊接时,要制作专用挡风斗,对火花采取严密的处理措施,以防火灾、烫伤等; 下雨天不得进行露天焊接作业。
7 . 7 . 8 吊装作业应划定危险区域, 挂设明显安全标志并将吊装作业区封闭,设专人加强安全警戒, 防止其他人员进入吊装危险区。
7 . 7 . 9 施工中的电焊机、空压机、气瓶、打磨机等必须采取固定措施存放于平台上, 不得摇晃滚动。
7 . 7 . 1 0 登高用钢爬梯必须牢牢固定在钢柱上, 不得晃动。
7 . 7 . 1 1 紧固螺栓和焊接用的挂篮必须符合构造和安全要求。
7 . 7 . 1 2 吊装作业必须遵守“ 十不吊” 原则。
7 . 7 . 1 3 当风速达到1 5 m / s( 6 级以上)时,吊装作业必须停止。做好台风雷雨天气前后的防范检查工作。
7 . 7 . 1 4 高空作业人员必须系挂安全带, 穿防滑鞋, 并在操作行走时将安全带扣挂于安全缆绳上。
7 . 7 . 1 5 高处作业中的螺杆、螺帽、手动工具、焊条、切割块等必须放在完好的工具袋内,并将工具袋系好固定,不得直接放在楼层 面、走道板等物件上,以免妨碍通行, 每道工序完成后柱边、临边不准留有杂物, 以免通行时将物件踢下发生坠落打击。
7 . 7 . 1 6 禁止在高空抛掷任何物件, 传递物件用绳拴牢。焊接时, 电焊工要将焊条头收集在专用筒内, 防止甩出后烫伤他人。
7 . 7 . 1 7 气瓶需有防爆防晒措施, 且远离电焊、气割火花及发热物体。
7 . 7 . 1 8 作业人员应从规定的通道和走道上下来往, 不得在柱上等非规定通道爬攀。如需在无楼板的混凝土梁面上行走时, 则该梁面上必须事先挂设好钢丝缆绳, 且钢丝绳用花篮螺栓拉紧或梁下面已兜设了确保安全的水平网。
7 . 7 . 1 9 每节柱顶层楼四周均设置走道, 以保证安装人员的安全。
7 . 7 . 2 0 各种用电设备要用接地装置, 并安装漏电保护器。使用气割时, 乙炔瓶必须直立并装有回火装置。氧气瓶与乙炔瓶间距大于8 m, 远离火源并有遮盖。
7 . 7 . 2 1 夜间施工要有足够的照明。下班时要检查施工现场无火灾几事故隐患后, 清洁现场, 收好工具, 关掉电源方可离开现场。
7 . 8 . 1 凡建委和劳动局规定的持证上岗人员,必须持证上岗( 各特殊工种均须持证上岗)。
7 . 8 . 2 进入施工现场必须戴安全帽,高空作业时带好安全带。严防脚下蹬滑、蹬空或踏上探头板。用手扶正预留洞模具时避免振捣棒振到手。保管好自己的工具严防失手伤人, 上下层交叉作业时严防从套管中掉下重物伤人。锯管时应用压力钳将管子夹紧, 以免管子颤动锯条折断而伤人。
7 . 8 . 3 乙炔瓶必须放在离火源、高温物体1 0 m 以外, 严禁置于高压线下方。氧气瓶不得与其他气瓶放在一起, 氧气瓶避免暴晒, 防止爆炸。使用氧气时,不得将瓶内氧气全用完, 最少留1 - 2 a t m。焊接时设置接火盘, 以防火花测落引起火灾或切割料落下伤人。乙炔发生器必须设有防止回火的安全装置、保险链、氧气瓶、氧气表及焊割工具严禁沾染油脂, 氧气瓶应有防震胶圈。使用砂轮机切割时管子必须夹紧勿动, 手把加压进刀时不可太猛太快, 以免意外伤人。錾切时, 管子两端不应站人。以防铁屑测出伤人。两人同时操作管钳进行接口时用力要均匀, 压紧拿稳把柄。
7 . 8 . 4 焊接操作时, 施工场地周围应清除易燃易爆物品或进行覆盖、隔离、下雨时应停止露天焊接作业。电焊机外壳必须接地良好, 其电源的拆装应由电工进行, 并应设单独的开关, 开关放在防雨的闸箱内。焊钳与把线必须绝缘良好, 连接牢固, 更换焊条应戴手套。在潮湿地点工作应站在绝缘板或木板上。
更换场地或移动把线时应切断电源, 不得手持把线爬梯登高。划分动火区域,现场动火作业必须执行审批制度。并明确一、二、三级动火作业手续。落实好防火监护人员。电焊工在动用明火时必须随身带好“ 二证”( 电焊工操作证、动火许可证)“ 一器”( 消防灭火器)“ 一监护”( 监护人职责交底书)。气割作业场所必须清除易燃易爆物品, 乙炔气和氧气存放距离不得小于2 m, 使用时两者不得少于1 0 m, 严格执行“ 十不烧” 的规定。
7 . 8 . 5 法兰对口的管子串动和对口动作要协调,手不得放在管口和法兰接合处。
7 . 8 . 6 胶粘剂、丙酮等易燃品,在存放和运输时,必须远离火源。存放处应安全可靠, 阴凉干燥, 随用随取。一切油漆、易燃、易爆材料必须存放在专用库房内。不得与其他材料混放在一起。挥发性油料须装入密闭容器内妥善保管。
施工现场及库房应通风良好, 严禁烟火, 并应设置“ 严禁烟火” 明显标志及消防器材。粘接场所严禁明火, 场内通风良好, 粘接管道时操作人员应站在上风处, 戴防护手套、防护眼镜和口罩。
7 . 8 . 7 明火采用热熔工艺。电热熔接口操作时应遵守用电设备的规定。防止触电。
7 . 8 . 8 使用电动套丝机时应专人专用,操作者应熟知机具性能。机具应有良好的绝缘装置, 防止事故发生。搬运和吊装管子时应注意不要碰到旁边的用电设备及电线等。
7 . 8 . 9 打修楼板洞眼时应抓紧錾子,用手锤或电锤打眼应逐渐扩孔不得用大锤打爆破眼。孔眼下不得有人停留防止砸伤。禁止往上或往下抛丢东西, 只准用绳向上吊或放。
7 . 8 . 1 0 在高处安装管道支架或敷设管道及其他施工作业时应搭设施工作业脚手架, 确保施工作业的稳定与安全。
7 . 8 . 1 1 管道试压时在管道的末端如设有堵板或丝堵时严禁在对面站人。以防跑水伤人, 在试验压力下不许紧固螺栓或锁紧螺母。
7 . 8 . 1 2 利用塔吊向搂层运管时必须绑牢固, 以防管子滑脱伤人。支托架上安装管子时, 先把管子固定好再接口。防止管子滑脱砸伤人。剔槽打眼时, 锤头不得松动, 铲子应无卷边、裂纹, 并戴好防护眼镜。楼板砖墙打透眼时, 板下、墙后不得有人靠近
7 . 8 . 1 3 电动液压机械弯管器弯管时,应选好场地。检查电器绝缘、液压油、配套模具及其机械部分有无损伤。操作人员位置正确。
7 . 8 . 1 4 管子穿带导线时,不得用嘴对管口呼气、吹气,防止带线弹力勾眼。穿导线时应协调配合防止管口挤手。
7 . 8 . 1 5 用兆欧表测定线路绝缘电阻时, 应防止触及正在测定中的线路和设备。雷电气候下, 禁止测定线路绝缘。
7 . 8 . 1 6 架设电缆盘的地面必须平实。支架必须采用有底平面的专用支架。不得用千斤顶代替。采用撬动电缆盘的边框架设电缆时, 不要用力过猛, 不要将身体伏在撬棍上面, 并应采取措施防止撬棒滑脱、折断。人力拉电缆时, 用力要均匀, 速度要平稳, 不可猛拉猛跑。看护人员不可站于电缆盘的前方。
7 . 8 . 1 7 敷设电缆时, 处于电缆转向拐角的人员。必须站在电缆弯曲半径的外侧。切不可站在弯曲度内侧, 以防止挤伤事故。过管处的人员必须做到送电缆时手不可离管口太近, 防止挤手。接迎电缆时, 眼睛及身体不可直对管口,防止挫伤。电缆盘应随拆随清理, 防止扎伤人或损伤电缆。
7 . 8 . 1 8 人工滚运电缆盘时要做到: 推盘的人员不得站在电缆盘的前方, 两侧人员所站位置不得超过电缆盘轴心, 以防止压伤事故。电缆盘上、下坡时可采用在电缆盘中心孔穿钢管。在钢管上栓绳拉放的的方法。但必须拉放平稳,缓慢进行。为防止电缆滚坡, 中途停顿时, 要及时在电缆盘地面与地面之间加楔制动。人力滚动电缆盘, 路面的坡度不宜超过1 5°。
7 . 8 . 1 9 小型电缆盘可搬抬转弯, 不允许采取在地面上用物阻止电缆盘一侧前进的方法转弯。用汽车运输电缆时, 电缆应尽量放在车斗前方( 跟车人员站在电缆后面)。并用钢丝绳固定, 以防止汽车启动或紧急刹车时冲撞车体或挤伤人员。
7 . 8 . 2 0 在已送电运行的变电室沟内进行电缆敷设时, 必须做到电缆所进入的开关柜必须停电, 施工人员操作时应有防止触及其它带电设备的措施( 如采用绝缘隔板隔离)。在任何情况下与带电体操作安全距离不得小于1 m( 1 0 K V 以下开关柜)。电缆敷设完毕, 如余度较大, 应采取措施防止电缆与带电部分接触( 如捆扎固定)。
7 . 8 . 2 1 在通道道路附近或人员较多的地方施工电缆时,要设栏杆和标志牌、夜间标志灯( 红色)。
7 . 8 . 2 2 在地下室内工作时, 临时照明电源不得大于3 6 V , 施工前应将地面进行清理, 积水排净, 戴安全帽。
7 . 8 . 2 3 成套配电柜( 盘) 及动力开关柜吊装作业时, 工具、机具必须先经过检查, 不合格者不得使用。成套配电柜( 盘) 及动力开关柜, 试运行的安全防护用品未准备好时, 不得进行试运行。试运中必须严格服从指挥, 按试运方案操作, 操作及监护人员不得随便改变操作指令。
7 . 8 . 2 4 安装自动空气等有返回弹簧的开关设备时, 应将开关位置于断开位置。
7 . 8 . 2 5 电气设备的金属外壳必须接地。同一设备可做接地和接零。同一供电网不允许有的接地, 有的接零。电焊机外壳必须接地良好。其漏电的装拆应由电工进行。电焊要设单独开关, 并应放在防雨的闸箱内, 拉合闸时应戴手套,侧向操作。电气设备和线路必须绝缘良好。电线不得与金属物绑在一起。各种电动机具必须按规定接零、接地。并设单独的开关。
7 . 8 . 2 6 电力、照明设备布线中的钢铁件、支架、配件等材料至少涂上一道防锈漆, 两遍调和漆。之前应做防锈处理。在安装配件中应配合主件的要求,装卸灵活、安装牢固、严禁凑活使用。
7 . 8 . 2 7 防雷装置应从接地体往上安装。注意要及时接地, 并且在雷雨季节前要进行接地电阻测试, 确保接地安全。施工中注意单相触电, 注意跨步电压触电。
7 . 8 . 2 8 使用电动工具时, 电源线不得破皮漏电。使用时应戴绝缘手套。各种电动机具必须按规定接零接地, 并设置单一开关。遇有临时停电或停工休息时, 必须抽闸加锁。系统调试各型开关时, 应将有关的开关手柄取下或锁上。悬挂标示牌, 防止误合闸。
7 . 8 . 2 9 电工刀使用时要防止伤手。用毕随即将刀折进刀柄。电工刀绝缘保护严禁在带电导线或器材上剖割, 以防触电。
7 . 8 . 3 0 冲击电钻使用前, 先检查绝缘电线不得有破皮漏电。使用时应戴绝缘手套, 并且先启动后接触工件。钻斜孔时, 应防止滑钻。楼板、砖墙打透眼时, 板下、墙后不得有人靠近。使用手电钻钻孔时( 特别是直径较大的孔), 工件要夹紧。通孔将穿透时要减少力量。不准戴手套操作, 以防止切屑勾住手套发生事故。清除切屑不得用手拉。必须在停车后清扫。钻夹头的松紧必须用专用钥匙, 不准乱敲。钻孔时要添加适当的切削液, 以降低切削温度和改善润滑情况。常用的切削液有机油和乳化液等。
7 . 8 . 3 1 施工现场的洞、坑、沟、升降口、漏斗等危险处应有防护设施或明显标志。没有安全防护设施, 禁止在屋架的上弦、支撑、桁条、挑架的挑梁和未固定的构件上行走或作业。
7 . 8 . 3 2 使用高凳必须栓好拉线。下脚要支稳并有防滑措施, 使用单梯上端要绑牢, 必要时需要有人扶持保护。梯子不得缺档, 不得垫高使用。梯子模档间距为3 0 c m 为宜。使用时上端要扎牢, 下端应采取防滑措施。单面梯与地面夹角以6 0 - 70°为宜。禁止两人同时在梯上作业。如需按长使用,应绑扎牢固。在通道处使用梯子, 应有人监护或设置围拦。
7 . 8 . 3 3 施工地点应整齐、清洁, 设备材料、费料按指定地点堆放。并按指定道路行走, 不准从危险地区通行, 不能从起吊物下通过。与运转中的机器保持距离。下班前或工作结束后要切断电源, 检查操作地点, 确认安全后, 方可离开。
7 . 9 . 1 现场环状布置的消防管, 隔5 0 米设一消火栓, 各区每一层设一消火栓, 每层留设水龙头。
7 . 9 . 2 为了加强施工现场的防火工作,严格执行防火安全规定,消除不安全隐患, 预防火灾事故的发生, 项目部成立消防领导小组, 成立义务消防队, 由项目经理任队长, 安保部长任副队长, 并坚持“ 谁主管、谁负责” 的精神, 每月召开一次防火例会, 并记录在案。
7 . 9 . 3 与进入施工现场的分包单位签订“ 安全防火责任书”, 建立义务消防队。并绘制现场消防警示图, 合理配备消防器材。
7 . 9 . 4 施工现场执行用火申请制度,凡因生产需要动用明火,如电焊、气焊( 割)、熬油膏等, 必须实行工程负责人审批制度办理动用明火许可证。对易引起火花的用火操作应有相应的控制措施, 在用火操作结束离开现场前, 要对作业面进行一次安全检查, 熄火, 清除火源溶渣, 消除隐患。
7 . 9 . 5 在各自施工的防火操作区内,根据工作性质,工作范围配备相应的灭火器材, 或安装临时消防水管。生活区内应配齐灭火器材。工地工棚搭建严禁使用易燃物品搭设, 以防火灾发生。
7 . 9 . 6 工地上乙炔、氧气等易燃易爆气体罐分开存放,做明显标识,操作人员必须持证上岗。
7 . 9 . 7 严格用电制度,各分包单位须配有专职电工和合格的配电箱。如需用电应事先与专职电工联系。严禁各分包单位擅自乱拉乱接电源, 工地严禁使用电炉。
7 . 9 . 8 在装饰施工现场、木料加工棚等易引起火灾的场所,严禁吸烟和使用碘钨灯照明, 同时配足灭火器材, 如有违反规定处以重罚。
7 . 9 . 9 建立健全各种业务档案:
7 . 9 . 9 . 1 消防组织及义务消防队人员档案;
7 . 9 . 9 . 2 辖区内的重点防火部位档案;
7 . 9 . 9 . 3 各种具有火险危险的工种培训、教育档案;
7 . 9 . 9 . 4 消防安全检查意见书档案;
7 . 9 . 9 . 5 重点火险隐患通知书档案;
7 . 9 . 9 . 6 火灾案件统计档案;
7 . 9 . 9 . 7 火灾事故调查处理档案;
7 . 9 . 9 . 8 易燃、易爆危险品档案。
7 . 1 0 . 1 工地建立安全防范系统的图像监控系统, 成立治安保卫机构, 由治安室主任负责。
7 . 1 0 . 2 配备足够力量的保安人员, 昼夜值班巡视, 做好工地物品的防盗工作, 对现场材料、设备、车辆的进出必须进行验证, 并严格控制非施工人员进出。
7 . 1 0 . 3 施工现场的管理人员及施工人员佩戴工作卡。工作卡由总包单位制作, 工作卡有本人相片、姓名、所属单位、工种或职务, 管理人员和施工人员的工作卡分颜色区别。
7 . 1 0 . 4 建立来访登记制度,进入工地须办理登记备案,经批准后方可进入。
7 . 1 0 . 5 在施工现场严禁打架斗殴, 无理取闹, 扰乱正常的生产、工作和生活秩序, 违者严肃处理, 并负责赔偿对方的一切经济损失, 情节严重的将送公安机关处理。
7 . 1 0 . 6 凡工地施工人员必须自觉遵纪守法, 严禁在工地聚众赌博, 偷盗公私财物, 如有发现, 即送公安机关处理。
7 . 1 0 . 7 分承包方在进场时要向治安室明确治安责任人, 签订治安管理责任书, 收缴治安押金, 并对所有施工人员统一登记造册, 报项目治安室及所在地公安机关备案, 同时办理相应的手续。
8 . 1 . 1 由于本工程开工时间定于2 0 0 3 年1 月3 0 日, 工程经历二个冬季, 进入冬施开始, 就必须做好冬季气温的监测工作,指定专人根据气象台的天气预报和气象台提供的有关资料及现场测控建立气象监测台帐,该台帐上需要反映出下一阶段天气趋势和基本天气状态, 供本工程施工安排时进行参考。
8 . 1 . 2 安排施工生产时要根据天气和气温状况, 合理调整各施工区的施工顺序, 尽可能避免在气温低于五度的情况下进行砼浇注和砂浆砌筑施工,以尽可能减少对结构不利的影响。
8 . 1 . 3 冬季施工时现场需要采取适当的防冻措施, 对上水管、现场水箱等需要采用麻绳、保温塑料等保温材料进行防护, 防止水管、水箱等出现冻阻、爆裂现象。
8 . 1 . 4 施工场地内临时道路、脚手架、钢平台等需要及时清理积水、冻雪、冰凌等, 并采取适当的防滑措施, 避免意外事故的发生。
8 . 1 . 5 根据国家规定,当平均气温连续5 d 低于5℃ ,进入冬季施工,砼不得浇水养护。由于* *地区冬季气温不是很低, 而且由于高强砼水泥用量大, 水泥水化热较高,可以充分利用砼内部水化热交换原理进行保温养护,保温层采取加盖一层塑料膜、一层草袋等措施进行解决。
8 . 1 . 6 当遇到极低气温或温度始终低于零度时, 如必须进行施工, 考虑在砼中使用外加剂,使砼早强并降低砼的液相冻点,保证砼受冻前其强度大于临界强度, 冬季浇砼宜选用引气减水剂以防砼强度降低, 并严格控制使用氯盐。
8 . 1 . 7 地基基础挖开后当遭遇低温时应采用草袋等进行适当的覆盖, 防止出现地基洞融现象,影响基础质量,回填土应将表面冻融土进行翻晒处理后方可使用。
8 . 1 . 8 施工中使用的砂石料中不得含有冰雪, 如有发现必须进行晾晒处理后方可使用,砼浇注前必须对模板进行检查,确认已经清除完成模板上的冰雪后方可进行砼的浇注或进行其他操作。
8 . 1 . 9 砼一般应要求正温浇筑, 如果温度过低( 低于5℃ 时) 应加快浇筑速度, 缩短砼搅拌车的停等时间, 泵管采用草包、麻袋等进行包扎保温处理。现场搅拌的零星砼宜进行加温处理, 以提高砼浇筑时的温度。
8 . 1 . 1 0 砼试块制作必须按照冬季施工的有关规定,同时制作两组,一组用于检验砼受冻前的强度, 一组用于检验转入常温养护后的二十八天强度。
8 . 1 . 1 1 当日平均气温低于5℃ 时, 砂浆宜随拌随用, 经过冰冻或结块的砂浆禁止使用, 砂浆搅拌时间比常温延长0 . 5 - 1 倍, 以2 . 5 m i n 为宜。
8 . 1 . 1 2 冬期如需进行砌体施工时,宜在正温下进行,砌筑前必须清除表面的冰雪,砌筑前对砌筑材料不得进行浇水, 施工时宜采用增大砂浆稠度的方法来弥补干砌筑材料对砌体强度的影响。
8 . 1 . 1 3 负温进行砌筑工程时,必须对砂浆采取升温措施,使用热水搅拌,砂浆砌筑完成应进行保温养护, 每盘砂浆使用时间不得超过2 小时。
8 . 2 . 1 考虑到南方地区多雨的实际情况, 施工中每一个阶段都必须仔细规划好施工现场的排水设施,并严格按照已经拟订的方案进行实施,并于施工中保持排水沟的畅通, 如果必须截断排水沟, 必须报经批准后方可实施, 并采取适当的处理方案, 保证现场排水的顺畅。
8 . 2 . 2 对现场排出的雨水, 当接入市政管网前必须进行沉淀处理, 防止因现场泥浆等带入管网造成管网淤积堵塞, 影响现场的排水工作。
8 . 2 . 3 雨天施工必须配备一定数量的遮雨材料( 雨布、塑料薄膜等),雨量过大应暂停室外施工, 当必须浇筑砼时, 必须搭设防雨棚, 并对已经浇注的砼面层进行覆盖, 防止出现雨水冲刷砼的现象。雨停后应及时做好面层的处理工作。
8 . 2 . 4 地下室施工时必须保证基坑内的排水沟畅通, 配备充足的水泵, 时常检修保证设备的完好, 并设置专人进行管理, 及时抽排基坑内的积水。
8 . 2 . 5 砼浇注前应了解2 到3 天的天气情况, 尽量避开大雨, 并需要根据结构的情况,适当考虑几道施工缝的留设位置,以备浇注过程中突然遇到大雨造成的停工现象。
8 . 2 . 6 现场使用的脚手架、爬道、钢平台等必须采取适当的防滑措施确保安全。
8 . 2 . 7 用电设备以及配电箱等设施必须做好防雨、防淹措施, 安装好接地装置, 电箱必须垫起, 机动配电箱的漏电保护装置必须可靠, 机械设备应具有防雨棚, 电源线路要绝缘良好并具有完善的保护接零装置。
8 . 2 . 8 施工期间专职电工必须随时对用电线路进行检查, 修复或更换破损的电缆设施, 防止当遭受雨淋时发生漏电现象, 影响现场安全。
8 . 2 . 9 对已经安装完成的管道、设备等必须进行检查,及时去除残存的积水,并做好防腐处理。
8 . 2 . 1 0 雨期必须做好防雷击工作,施工现场内的塔吊、人货电梯、钢平台等应采取适当的防雷装置, 避雷针应装设在施工设备或建筑物的最高端, 接地线、避雷针、接地体必须采用双面焊( 长度大于或等于6 d) ,接地电阻不超过1 0Ω 。
8 . 2 . 1 1 落实专用防台、防汛物资, 放在仓库内备用, 不得挪作他用; 防台、防汛期间, 每天安排不少于2 人轮流值班, 发现险情及时上报, 并组织力量及时抢救。
8 . 2 . 1 2 台风来临之前应对塔吊、脚手、提升架、钢平台等加强安全检查并确保附墙与缆风绳安全牢固,必要时增加缆风绳。提升架及塔吊的升节应避开台风,台风来临时应停止一切工作。
8 . 2 . 1 3 由于夏季温度较高,水分蒸发很快,为了保证砼能够充分水化及防止产生干缩裂缝,在浇筑完成后六小时内需要充分覆盖养护, 养护时间大于或等于七天。
8 . 2 . 1 4 夏季高温施工时,应充分调整砼和砂浆的缓凝剂用量,以适当推迟砼的初凝时间( 视当时气温确定), 防止产生砼未经过充分振捣就已经硬化的现象发生。
8 . 2 . 1 5 考虑到**在夏季十分炎热的特殊情况,应避免在中午高温时施工,砼在施工过程中, 泵管必须用草包进行绑扎, 并不断派人浇水降温, 对于砼原材料应进行降温处理, 并降低泵送速度, 以减少摩擦力和压力损失, 防止泵管产生堵塞现象并降低砼的出管温度。
8 . 2 . 1 6 夏季施工砌筑工程时,砌筑用砖及砌块必须充分浇水湿润并浸满一个昼夜以上, 砂浆随拌随用, 由于温度高, 搅拌砂浆时必须注意适当提高砂浆的保水性、和易性; 对砌筑完成的墙体, 待其砂浆初凝后应在墙上浇水湿润养护并不得少于3 天。
8 . 2 . 1 7 夏季高温施工应妥善安排好施工程序,由于注重工作时间的调整,使工作人员能够休息好, 不可疲劳作业, 安排工作避开中午高温时段, 延长午休时间, 充分利用早上和晚上比较凉爽的时间段。
8 . 2 . 1 8 夏季应充分准备好防暑降温工作,施工现场配备必要的抗暑药品,并安排充足的饮用水, 加强施工人员的监护工作, 及时制止身体不适者强行作业。
8 . 2 . 1 9 夏季施工时间内应充分加强电缆及用电设备的监护,防止由于高温状态下热量不易于散发引起火灾,电气焊作业时必须对周围场地进行整理并加强监护措施, 防止火花溅射到干燥物体上引起火灾。
8 . 3 . 1 火车站承担着繁重的陆上运输任务, 是交通枢纽, 在春运、暑运、黄金周期间更是人流集中的高峰期; 此外专运、特运、军运也是火车站重要运输任务。在此期间的各施工工序必须制定详细的施工保证措施, 安全防护, 治安消防和应急救援等工作。
8 . 3 . 2 考虑到本工程施工场地十分狭小且又处于地铁、高架车道、钢结构吊装、土建立体交叉施工的实际情况, 施工中应采取适当的措施分导人流, 避免现场内外出现人流拥堵的情况。
8 . 3 . 3 综合现场地铁、高架车道、站房施工的实际情况, 会同业主、车站有关部门进行协调,布置合理的旅客流动线路,以尽量减少对施工的影响而又能充分保证施工。
8 . 3 . 4 根据土建和钢结构吊装的进度情况, 人流高峰期来临前, 在西配楼一层设置临时候车室, 用彩钢板搭设专用通道, 并使施工场地和通道、临时候车区完全封闭隔离,以充分保证旅客安全,施工不同阶段临时候车室的布置区域详见图2 - 1 、图2 - 2 、图2 - 3 、图2 - 4 、图2 - 5 。
8 . 3 . 5 人流高峰期间, 施工现场所用材料放在下半夜进出工地, 尽可能避开人流高峰时间段; 在周末、黄金周等时间相对较短的人流高峰段施工时, 应提前对现场施工进行统筹规划,预先进齐此时间段内需用材料, 保证材料的运输不与人流产生冲突。
8 . 3 . 6 充分利用现场布置的电视监控设施, 设置专人进行监控管理, 遇到突发情况及时与上级或站台有关部门进行联络, 及时疏导人流。
8 . 3 . 7 现场进行封闭式管理, 加强现场保安措施, 进入施工场地必须佩带出入证并对材料出入进行专项许可制度, 防止闲杂人员或旅客无意间闯入施工现场。
8 . 3 . 8 施工场地内的围护设施应提前进行详细检查, 保证围护具有适当的高度, 临时围栏的支撑应加密布置, 保证其具有一定的抗挤压能力。
8 . 3 . 9 施工场地周围配合车站有关部门设置数量足够的人员流动导向牌, 在车站各出入口安放车站施工平面布置图,使旅客能够按照指定的路线和区域进行疏散。
8 . 3 . 1 0 人流高峰期间,站台附近的有关工作应进行妥善安排,尽可能后撤基本站台上的施工围栏, 使基本站台具有充足的面积供旅客侯车;地道施工应暂停并安排好进出通道的防护保证旅客能够顺畅的出入站台。
8 . 3 . 1 1 站内地道、站台、钢结构施工应尽可能安排于晚上1 0 点后进行, 防止与高峰期人流产生冲突。
8 . 3 . 1 2 基本站台施工应全部封闭进行,旅客通过北侧增加的临时站台上车。确保车站正常运营。
8 . 3 . 1 3 施工临时大门非经有关部门批准,不得开放,施工人员按照指定的路线进出施工现场。
8 . 3 . 1 4 充分与业主、车站、地铁、高架车道、钢结构等施工单位进行配合,加强协调,在人流高峰阶段对整个施工现场进行统筹考虑, 既要满足各施工单位的工作需要又必须保证旅客能够有序的进出站。
8 . 3 . 1 5 由于在春运、暑运、黄金周、重大活动期间等人流集中阶段,施工总体效率和进度不可避免的会遭受影响,为满足进度要求,必须在高峰期之前及高峰期过后采取适当的抢工措施, 以保证进度节点计划不受铁路运输的影响。
8 . 3 . 1 6 春运、暑运、黄金周等特殊时间段必须加强对施工人员的管理,派专人采取强制措施控制员工的无故外出,组织专人进行车站范围内的巡检工作, 防止施工人员发生扰乱车站工作秩序或影响车站正常运营的行为发生。
8 . 3 . 1 7 凡遇有车站专、特运的任务时, 加强领导, 派专人负责, 做好施工场地易燃、易爆物品的保管或转移,以及施工场地的围护和周边道路的畅通,确保警卫对象万无一失。
8 . 3 . 1 8 为保证正常施工的需要,妥善处理高峰期人流的疏散,将组织熟悉现场和周围环境的人员成立车站服务队,协助车站进行疏导旅客、保持车站秩序的工作。
8 . 3 . 1 9 组织专门的清洁队,协助车站进行卫生工作,保证车站和施工现场具有一个文明的环境。
8 . 3 . 2 0 加强工地内外的防火防盗工作,工地内二十四小时进行巡逻,电视监控二十四小时派人值班, 并与车站派出所保持密切联系。
8 . 3 . 2 1 我公司将编制**火车站施工须知,对主要管理人员在当地驻军进行为期一周的军事训练,并组织考试,使进场员工都能够充分熟悉**站的施工特点和火车站施工注意事项。
8 . 4 . 1 为保证考试期间考生的正常休息和学习, 此期间施工必须合理安排施工流程, 夜间停止施工。
8 . 4 . 2 考试期间中午时段避免高噪音的施工程序或设备进行施工, 以保证周围居民和考生能够具有较好的休息。施工现场内车辆、机械设备等禁止鸣笛, 防止产生过大音响影响考生正常的复习考试状态。
8 . 4 . 3 为满足施工进度的需要在考试时间来临前或高考过后, 在保证质量的前提下, 组织适当的抢工工作, 挽回考试期间造成的进度损失。
8 . 4 . 4 为保证考试的顺利进行, 考试前三天施工现场就必须按照政府的有关规定和本公司制定的有关措施进行现场施工。
8 . 4 . 5 为配合**市重大活动的开展, 除按照上述有关措施进行旅客疏导外,还应及时同省、市有关部门保持联系、沟通信息, 提前做好预案, 现场安排专用绿色通道, 保证有关宾客能够顺利出站。
8 . 4 . 6 重大活动期间, 必须严格保证施工现场内外环境的整洁有序, 组织专人进行不间断的场地内外清理、整理工作,保证车站始终处于一个良好的环境中。
8 . 4 . 7 重大活动期间, 必须及时同**市政府有关部门进行沟通, 了解**市的有关要求, 按照**市的有关规定组织施工。
8 . 4 . 8 车辆进出工地必须经过认真检查, 认真冲洗, 防止污染道路, 并对车辆的装载情况进行检查, 防止超载以及影响市容的情况发生。
8 . 4 . 9 配合**市的有关要求, 进出工地的重载车辆和材料运输车辆一律安排在晚上进行, 防止对车站附近的交通造成影响。
8 . 4 . 1 0 工地施工的人员无故不得随意外出,必须经过批准后方可外出并带好必要的证件, 着装必须整洁, 不得三五成群于车站周围闲逛。
8 . 4 . 1 1 重大活动期间组建专门的纠察队协助治安人员和车站公安巡查工地车站区域, 制止不文明行为, 维护车站区域的文明秩序。
文明施工是企业现代化施工的一个重要标志,也是施工企业一项基础性的管理工作,又是施工企业管理水平的综合反映和现代化施工本身的客观要求;现场施工是企业对外宣传的窗口,有利于培养一支懂科学,善管理,讲文明的施工队伍。
环境管理是我国的一项基本国策,保护和改善施工环境能保证人们身体健康,消除外部干扰保证施工顺利进行,是现代生产的客观要求,也是政府的要求,是企业行为准则。
9.2.1**火车站是**市的窗口地区, **火车站的施工环境直接影响到**市的整体形象,为此,必须尽全力做好**火车站的文明施工工作。
9.2.2 根据**火车站施工总平面布置图的安排,本工程施工现场采取全封闭状态施工,我公司进场后,将首先对原有围墙进行改造,广场区域采用多孔砖围墙,站台区域采用彩钢板围墙与砖围墙连接形成封闭,围墙高度2.2m。
9.2.3 在广场、进出站主要位置围墙部位布置灯箱、宣传画、**火车站效果图、施工总平面布置图等**市规定的施工图牌;围墙顶子刷红漆,围墙上下各30cm 刷兰色油漆,宣传画、灯箱等周围及空白区域刷白色油漆。
图9-1
9 . 2 . 4 施工现场设置三个临时大门, 临时大门采用砖砌, 大门柱上设置装饰灯, 门柱采用兰色和白色瓷砖装饰。
图9-2
施工现场大门示意图
9 . 2 . 5 大门采用封闭式钢制门, 钢门侧开8 0 0 * 1 8 0 0 m m 的小门供员工出入使用;大门上下3 0 c m 刷红色油漆, 中间刷兰色油漆, 上书企业标志和企业名称。
9 . 2 . 6 彩钢板围墙采用我公司统一制作的标准围板,全部采用兰色彩板,上书企业标志和企业名称;彩钢板的搭设必须整齐划一,彩板背后支撑采用角钢加密装设,彩板顶和底部采用5 c m 槽铝扣齐, 槽铝与角钢连接牢固。
图9-3
9 . 2 . 7 根据现场的实际情况, 工地只设一栋二层彩钢板房, 一层办公, 二层为会议室, 其余人员办公另行租借场地。
9 . 2 . 8 在工地立交桥附近租借场地作为项目办公区、加工区、生活区, 员工宿舍采用军事化管理, 保证居住区域的整洁、美观。
9 . 2 . 9 为保证旅客和行包能够顺利进出车站, 根据施工的不同阶段, 将分别设置行包运输通道和旅客进出通道, 通道采用1 0 c m 砼硬化地坪, 宽度4 m 和5 m两种, 使用5 c m 彩钢板进行三面封闭围护, 道路两侧必须设置排水沟, 行包与旅客路线交叠处采用架空旅客通道的方法避免冲突,具体位置详见施工通道示意图。
9 . 2 . 1 0 施工场地内的电缆部分采用埋地方式,靠现有行包房一侧的电缆设置电缆沟,此范围内大批量的主电缆将沿临时电缆沟通行, 拆除上部现有的电线杆等影响观感和施工的设施。
9 . 2 . 1 1 施工现场将设置三个临时厕所,位置见施工总平面布置图,厕所采用砖砌水冲式, 并于厕所后设置化粪池并将其密闭, 然后方可排入市政污水管网;
临时办公室区域与彩板房内设置水冲式厕所; 现场适当位置布置钢制临时厕所,并每日进行清洁、消毒。
9 . 2 . 1 2 施工现场内的供水管采用埋地方式敷设,避免行人踩踏和影响现场文明施工的布置环境。
9 . 3 . 1 钢筋场布置: 钢筋场张拉线采用大型冷拉机, 钢管护栏, 钢管刷兰白油漆; 钢筋加工棚采用角钢支架, 顶棚采用彩钢板; 成品和半成品分别设置摆放区并悬挂明显标识; 钢筋废料放置于专门隔离的废料堆内, 每天进行一次清场。
9 . 3 . 2 木工加工场布置: 加工场内木作区必须与模板摆放区进行适当隔离,加工场内的废料必须及时清理干净;成品和半成品悬挂明显标识; 模板成品和半成品必须堆放整齐; 木工棚搭设方法同钢筋棚。
9 . 3 . 3 临时道路:临时道路采用1 5 c m 砼进行硬化,道路与施工区域采用钢管搭设护栏进行隔离, 护栏刷红白相间的油漆, 并悬挂明显的警示标记, 护栏高度8 0 c m, 临时道路两侧设置排水沟。
9 . 3 . 4 排水沟; 排水沟一律采用砖砌, 排水沟接入市政雨水管网前必须经过沉淀处理,排水沟必须设置专人进行定期清理;排水沟设置必须环绕建筑物一周,保证场地内的雨水和抽取的地下水能够及时排放;任何人未经过批准不得随意截断排水沟, 必须报经有关部门批准并具有妥善的替代处理方案。
9 . 3 . 5 脚手架: 本工程主体施工阶段采用全封闭双排脚手架封闭, 脚手架必须搭设整齐美观; 安全网悬挂整齐, 颜色统一; 脚手架基底采用砼硬化并随时清理干净; 上人坡道的搭设符合规范要求, 并上下整齐。
9 . 3 . 6 现场材料摆放: 现场材料必须摆放于指定地点, 并堆码整齐, 如有变化必须另行申报审批;堆放区域与施工场地采用钢管护栏进行隔离;材料使用完成后必须及时归位, 如有覆盖必须整齐。
9 . 3 . 7 地下室基坑: 地下室基坑周围必须采用钢管围栏进行隔离, 护栏上刷红白相间的油漆, 并设置挡脚杆。
9 . 3 . 8 施工通道: 施工通道的搭设必须规范, 安全网和竹笆必须铺盖整齐美观, 入门处悬挂明显的警示标识; 通道三面均必须用夹板和彩条布整齐封闭。
9 . 3 . 9 机械设备: 未使用的小型机械设备必须归整入库房, 露天摆放的机械设备必须按照指定地点对方整齐,并进行妥善的覆盖;现场使用的机械设备必须经过防锈处理, 保持设备表面干净不脏乱。
9 . 3 . 1 0 各大门口均设置洗车台,并保证洗车台下排水沟的通畅,洗车台前放置麻袋片铺路, 进出现场的车辆必须经过车洗并压过麻袋片后方可离开工地。
9 . 3 . 1 1 现场绿化: 办公区门前、大门左右两侧设置适当的绿化以对现场进行适当的装点。
9 . 3 . 1 2 根据**市的有关要求以及本工程裸露面积不大的特点,除施工工作区以外的场地均进行全部硬化。
9 . 3 . 1 3 施工现场有关部位必须悬挂材料标识牌、各种警示或导向牌。
根据本工程施工单位多,施工立体交叉严重的实际情况, 为从根本上解决本工程的安全文明施工问题,施工现场必须成立文明施工领导小组, 负责进行本工程的安全文明施工管理工作。
文明施工领导小组组织机构
9 . 4 . 2 文明施工组职责: 负责纠正现场的一切违反文明施工的行为; 组织文明施工检查工作; 编写文明施工周报; 对违反文明施工的行为进行处罚; 对进场各分包队和专业分包队进行文明施工教育;负责就文明施工的有关事宜与有关方面进行沟通; 制定文明施工规范并负责实施; 建立文明施工在责任制; 建立文明施工责任体系; 认真贯彻落实国家、地方政府有关文明施工的管理规定; 处理其他文明施工的有关工作。
附: 文明施工组织保证及主要职能部门职责体系图
文明施工组织保证及主要职能部门职责体系图
图9-10
环境保护职能图
图9-11
9 . 4 . 3 环境保护组职责; 负责制止、纠正现场违反环境保护的行为; 组织进行环境保护检查工作;编写环境保护周报;对违反环境保护的施工行为进行处罚;
对进场各分包队和专业分包进行环境保护的教育;制定有关环境保护的规定并负责实施; 建立环境保护责任制并落实; 建立环境保护责任体系; 负责就环境保护的有关事宜与市容、环保部门、居委会等有关单位进行沟通联络; 认真贯彻落实有关国家、* *市有关环境保护的法律、法规和各项管理规定; 处理其他有关环境保护的事宜。
9 . 4 . 4 施工现场卫生管理
9 . 4 . 4 . 1 明确施工现场各区域的卫生负责人, 并明确其职责和奖罚标准; 在各工作区域悬挂责任制牌。
图9-12
9 . 4 . 4 . 2 检查食堂的卫生状况, 食堂必须具有卫生许可证, 操作人员必须具有有效的健康证; 饭菜符合卫生标准并留有取样; 生、熟食操作应分开; 熟食操作时应具有防蝇间或防蝇罩; 禁止使用非食用塑料制品作熟食容器;食堂必须干净整洁; 食堂内必须配置冰箱、消毒柜等设施。
9 . 4 . 4 . 3 现场卫生间有不间断的水源供应; 同时设简易化粪池或集粪池, 加盖并定期喷药, 每日上下两班有专人负责清洁。
9 . 4 . 4 . 4 进行垃圾分类管理, 设置足够的垃圾池和垃圾桶, 员工使用的一次性餐盒等必须分类置入垃圾桶内;定期搞好环境卫生、清理垃圾,施药除“ 四害”;及时请环卫部门对场内的垃圾进行清运。
9 . 4 . 4 . 5 建筑垃圾必须集中堆放并及时清运, 做到工完料尽场清; 施工工区内每天及每完成一道工序都必须清扫施工现场。
9 . 4 . 4 . 6 工地设置茶水亭和茶水桶, 做到有盖加锁和有标志; 夏季施工应有防暑降温措施。
9 . 4 . 4 . 7 现场组织1 8 人左右的场容清洁队,专门负责场内外、站台等区域的清洁卫生工作, 分片管理责任到人, 确保场外道路的清洁。
9 . 4 . 4 . 8 土方、材料运输等外运车辆离场前必须经过洗车台冲洗干净, 运土车采用新型全封闭运输车。
9 . 4 . 5 文明施工行为管理
9 . 4 . 5 . 1 教育火车站内施工人员行为举止文明礼貌, 不得喧嚣施工。
9 . 4 . 5 . 2 施工人员不得对旅客或其他施工单位人员或站务人员出言不逊, 不得发生争执。
9 . 4 . 5 . 3 施工人员不得发生打架斗殴事件, 更不得与旅客发生冲突如有发生进行严惩。
9 . 4 . 5 . 4 为维护火车站地区的文明环境, 教育广大施工人员不得乱仍果皮纸屑, 不得随地吐痰, 并由我单位组成的监察队随时进行检察, 如有发现将按规定进行处罚。
9 . 4 . 5 . 5 教育广大施工人员必须遵守火车站及火车站周围地区的有关管理规定。
9 . 4 . 5 . 6 教育施工人员对旅客或行人的询问礼貌回答, 并乐于助人, 我单位将对此制定专门的鼓励和奖励措施。
9 . 4 . 5 . 7 员工必须认真带好安全帽, 员工识别卡, 进站施工还必须带好进站识别证, 备好各种防护用品。
9 . 4 . 5 . 8 严禁施工人员到站台上闲逛, 如有发现立即驱除出施工现场; 站台内施工必须2 4 小时派人值班管理。
9 . 4 . 5 . 9 施工现场设立专门的吸烟区, 非吸烟区严禁吸烟。
9 . 4 . 5 . 1 0 进入施工现场的所有人员,必须穿着我单位制作的工作服,不穿工作服者不得进入现场施工。
9 . 4 . 6 办公室文明办公管理
9 . 4 . 6 . 1 办公室必须每天随时进行清扫, 保证良好的卫生环境。
9 . 4 . 6 . 2 办公室必须随时整齐有序, 保持有序规范的办公秩序。
9 . 4 . 6 . 3 办公室内着装规范、整洁, 个人使用物品摆放有序。
9 . 4 . 6 . 4 办公设备、墙面、玻璃必须干净整洁。
9 . 4 . 6 . 5 说话文明礼貌, 热情为其他施工单位和合作单位解决施工重遇到的问题, 举止行为规范。
9 . 4 . 7 文物保护管理
9 . 4 . 7 . 1 由于**是历史古都, 地下历史文物众多, 施工开挖过程中必须妥善注重对文物的保护工作。
9 . 4 . 7 . 2 基坑开挖前, 必须对参与开挖的所有人员进行交底, 开挖速度不可过快, 需要按照施工方案的部署逐步进行, 排除随意乱挖的情况。
9 . 4 . 7 . 3 基坑开挖过程中需要有专人负责检视开挖后的情况, 发现有文物需要立即停止开挖工作,并在4 小时内向业主现场工程师汇报发现文物的情况, 2 4小时内由业主通知文物管理部门,同时必须通知项目部进行现场封闭, 保护好开挖出的环境, 由项目部通知文物保护部门进行现场勘察。
9 . 4 . 7 . 4 当开挖碰到异物, 造成挖掘困难时, 必须暂时停挖, 寻找原因, 并派人深入下到基坑进行检查, 人工小心逐步挖掘, 发现陶片、规则的青石板、瓷片、瓦片、朽木等时必须通知业主现场工程师和文物管理部门查看现场, 由项目经理部研究并制定出下部开挖方案后方可进行, 防止破坏文物。
9 . 4 . 7 . 5 如发现有文物出现, 项目经理部积极配合文物保护部门的征询、发掘、保护现场等工作。
9 . 4 . 8 开展创建“ 文明三区” 活动
9 . 4 . 8 . 1 活动内容:
9 . 4 . 8 . 1 . 1 文明施工区: 即以工程质量、安全防护、临时用电、机械安全、保卫消防、料具管理、环保卫生和现场管理、宣传布置、宣传思想工作等为主要内容。做到现场布局合理、气氛热烈、作业有序、防护规范、环境优美、方便群众、无强噪音, 并协调好与场区周围军、警、民关系。争创文明工地。
9 . 4 . 8 . 1 . 2 文明办公区: 即以爱岗敬业、忠于职守, 优质服务、主动协调,深入基层、调查研究,坚持原则、秉公办事,举止文明、讲究卫生等为主要内容,创造良好的办公环境, 建设一支高素质的工作人员队伍。
9 . 4 . 8 . 1 . 3 文明职工生活区: 即以组织健全、严格管理、制度完善、遵纪守法、爱护公物, 场院美观平整、宿舍清洁卫生, 饮食卫生等为重点, 教育广大职工自觉遵守各种法规和企业规章制度, 不断规范职工的行为,增强大局意识和文明素质。
9 . 4 . 8 . 2 活动的基本条件
9 . 4 . 8 . 2 . 1 文明施工区: 场容场貌、形象鲜明, 安全防护、全面达标, 临电设施、措施有效, 机械设备、规范安全, 消防保护、万无一失, 料具管理、分类科学, 环境整洁、防尘防噪, 保护植被、爱护动物, 工程质量、一次成优, 宣传有力、服务中心。
9 . 4 . 8 . 2 . 2 文明办公区: 职责明确、作风严谨、规范高效, 深入实际、调查研究、服务基层, 遵纪守法、廉洁自律、公正公道, 踏实勤奋、待人真诚、团结协作, 举止文明、衣着大方、品行端正, 环境优美、窗明地净、置物有序。
9 . 4 . 8 . 2 . 3 文明职工生活区: 责任清楚、岗位明确, 制度完善、管理严格,院容环境、绿化美化, 宿舍整洁、空气清新, 食堂卫生、消毒防腐, 厕所清洁、无味无虫, 设施完备、活动经常, 钻研技术、视企如家, 遵纪守法、文明礼貌。
9 . 4 . 8 . 3 创建文明三区的检查与考核
此项工作做为项目部各业务部门的一项日常工作,对施工作业队及厂之间每月进行一次检查评比。检查结果同各施工作业队内管理人员的奖金挂钩,实行有奖有罚的政策, 调动全体员工争先敢优的积极性。
9 . 4 . 8 . 4 文明三区检查评分标准表
“ 文明施工区” 标准及考核办法
(质量管理部分) 表9 - 1
施工队: 负责人: 年 月 日
序号 | 检 查 项 目 | 标准分值 | 评 定 分 值 | 检查 情况 | ||||
质 | 1 | 质量保证体系完整、符合规定 |
|
|
| |||
2 | 质量管理制度健全落实 |
|
|
| ||||
3 | 施组方案、目标设计合理、手续健全 |
|
|
| ||||
量 |
|
|
|
|
| |||
|
|
|
|
| ||||
管 理 | 4 | 质量评定资料齐全、符合要求 |
|
|
| |||
5 | 砼搅拌站设备齐全、有效,原材料计量准确,配合比符合要求 |
|
|
| ||||
6 | 勘察技术、质量资料符合要求 |
|
|
| ||||
工程 | 按照国家、部、设计、江苏省工程质量检验评定 |
|
|
| ||||
质量 | 标准进行检查评比,必须达到合格标准 |
|
|
| ||||
否决条件 | 1、发生工程质量事故,质量按0 分计,取消评选资格。 2、工程质量不合格,取消评选资格 |
|
|
| ||||
应得分: | 实得分: | 得分率: | 折合标准分值: |
责任人: 检查员签字:
“ 文明施工区” 标准及考核办法
(安全防护部分) 表9 - 2
施工队: 负责人: 年 月 日
序号 | 检 | 查 | 项 | 目 | 检查情况 | 标准分值 | 评定分值 | ||||
1 |
| 土方工程安全防护符合标准 |
|
|
| ||||||
2 |
| 桥涵脚手架支搭符合标准 |
|
|
| ||||||
3 | 现场 | 脚手架作业面安全防护齐全有效 |
|
|
| ||||||
4 | 安全网支搭符合标准 |
|
|
| |||||||
5 | 管 | 防护棚、架设置合理,符合要求 |
|
|
| ||||||
6 | 理 | 照明架支护符合标准 |
|
|
| ||||||
7 |
| 材料、设备放置安全合理 |
|
|
| ||||||
8 |
| 施工现场无违章作业 |
|
|
| ||||||
9 |
| 安全措施方案符合实际并能贯彻实施 |
|
|
| ||||||
10 | 资 | 高大异形架子有设计审批、验收手续 |
|
|
| ||||||
11 | 料 | 安全技术交底资料齐全 |
|
|
| ||||||
12 | 安全检查资料齐全 |
|
|
| |||||||
13 | 职工应知考核 |
|
|
| |||||||
应得分: | 实得分: | 得分率: | 折合标准分值: |
责任人: 检查员签字:
“ 文明施工区” 标准及考核办法
(临时用电安全部分) 表9 - 3
施工队: 负责人: 年 月 日
序号 | 检 | 查 | 项 | 目 | 检查情况 | 标准分值 | 评定分值 | ||||
1 | 线路 照明 | 施工区、生活区架设配电线路应符合有关规范 |
|
|
| ||||||
2 | 施工区、生活区按规范装设照明设备 |
|
|
| |||||||
3 | 照明灯具和低压变压器的安装使用符合规定 |
|
|
| |||||||
4 | 特殊部位的内外电线路按规范采取安全防护 |
|
|
| |||||||
5 | 配电箱 | 施工区实行分级配电,配电箱、开关箱位置合理 |
|
|
| ||||||
6 | 配电箱、开关箱安装和内部设置符合规定 |
|
|
| |||||||
7 | 箱内电器完好,选型定值合理,标明用途 |
|
|
| |||||||
8 | 箱体牢固、防雨、内无杂物,整洁、编号,停用后断电加锁 |
|
|
| |||||||
9 | 保护 | 配电系统按规范采用接零或接地保护系统 |
|
|
| ||||||
10 | 电力施工机具做可靠接零或接地 |
|
|
| |||||||
11 | 现场的高大设施按规范要求装设避雷装置 |
|
|
| |||||||
12 | 配电箱、开关箱设两极漏电保护,选型符合规定 |
|
|
| |||||||
13 | 值班电工个人防护用品穿戴齐全,持证上岗 |
|
|
| |||||||
14 | 机具 | 施工机具电源入线压接牢固整齐,无乱拉、扯、压、砸现象 |
|
|
| ||||||
15 | 手持电动工具绝缘完好,电源线无接头破损 |
|
|
| |||||||
16 | 电焊机及一二次线防护齐全,焊把线双线到位,无破损 |
|
|
| |||||||
17 | 资料 | 临时用电有设计书(方案)和管理制度 |
|
|
| ||||||
18 | 配电系统有线路走向,配电箱分布及接线图 |
|
|
| |||||||
19 | 电工值班室有值班、设备检测、验收、维修记录 |
|
|
| |||||||
20 | 职工应知考核 |
|
|
| |||||||
21 |
| 发电机有专人管理并有记录 |
|
|
| ||||||
应得分: | 实得分: | 得分率: | 折合标准值: |
责任人: 检查员签字:
“ 文明施工区” 标准及考核办法
(机械安全部分) 表9 - 4
施工队: 负责人: 年 月 日
序 号 | 检 | 查 | 项 | 目 | 检查 情况 | 标准 分值 | 评定 分值 | ||||
1 | 现场状况 | 运输车辆保持良好的运转状态无带病车 |
|
|
| ||||||
2 | 信号指挥人员有明显标志,不能兼作其它工作 |
|
|
| |||||||
3 | 起重机械运行中按规定保持安全距离 |
|
|
| |||||||
4 | 中小型机械的使用应符合规定 |
|
|
| |||||||
5 | 搅拌机设置及安装应符合规定 |
|
|
| |||||||
6 | 卷扬机的地锚及设置符合规定 |
|
|
| |||||||
7 | 机械设备传动外露部分要有防护装置 |
|
|
| |||||||
8 | 机械设备维护保养符合规定 |
|
|
| |||||||
9 | 机械设备电气控制箱齐全有效 |
|
|
| |||||||
10 | 吊索具应按规定使用 |
|
|
| |||||||
11 | 资料 | 汽车运输派车记录 |
|
|
| ||||||
12 | 机械工作记录 |
|
|
| |||||||
13 | 操作人员持证上岗 |
|
|
| |||||||
14 | 职工应知考核 |
|
|
| |||||||
应得分: | 实得分: | 得分率: | 折合标准值: |
责任人: 检查员签字:
“ 文明施工区” 标准及考核办法
(保卫、消防管理部分) 表9 - 5
施工队: 负责人: 年 月 日
序 号 | 检 | 查 | 项 | 目 | 检查 情况 | 标准 分值 | 评定 分值 | ||||
1 | 现场 状况 资 料 | 现场重要出入口应设警卫室,昼夜有值班人和记录 |
|
|
| ||||||
2 | 施工区域内外消防道路和通道畅通 |
|
|
| |||||||
3 | 现场有明显的防火标志 |
|
|
| |||||||
4 | 消防设施、工具、器材符合规定 |
|
|
| |||||||
5 | 现场临时建筑符合防火规定 |
|
|
| |||||||
6 | 仓库内易燃性油料和料具不能混放 |
|
|
| |||||||
7 | 剧毒、易燃物应有严格的领退手续 |
|
|
| |||||||
8 | 氧气瓶、乙炔瓶(罐)使用符合规定 |
|
|
| |||||||
9 | 材料、机具和成品保卫措施健全有效 |
|
|
| |||||||
10 | 施工现场未经批准,不准使用电热器具 |
|
|
| |||||||
11 | 电、气焊工必须持证上岗 |
|
|
| |||||||
12 | 保卫消防设施的布置要符合平面图 |
|
|
| |||||||
13 | 施工现场有保卫消防制度、方案和预案 |
|
|
| |||||||
14 | 有保卫消防负责人和组织 |
|
|
| |||||||
15 | 保卫消防检查要有启示和整改措施 |
|
|
| |||||||
16 | 职工应知考核 |
|
|
| |||||||
应得分: | 实得分: | 得分率: | 折合标准分值: |
责任人: 检查员签字:
“ 文明施工区” 标准及考核办法
(现场管理部分) 表9 - 6
施工队: 负责人: 年 月 日
序 号 | 检查项目 | 检查 情况 | 标准 分值 | 评定 分值 | ||||
1 | 现场状况 | 施工现场大门和围挡牢固整齐,符合要求 |
|
|
| |||
2 | 临设工程牢固整齐,材质符合要求 |
|
|
| ||||
3 | 工地主要出入口有施工单位标牌 |
|
|
| ||||
4 | 大门内有一图五板 |
|
|
| ||||
5 | 现场运输道路平整、畅通,有排水措施 |
|
|
| ||||
6 | 料具和构件码放整齐,符合要求 |
|
|
| ||||
7 | 施工现场内无随地大小便痕迹 |
|
|
| ||||
8 | 建筑物内外零散碎料和垃圾渣土清理及时 |
|
|
| ||||
9 | 成品保护措施健全有效 |
|
|
| ||||
10 | 责任区分片包干,个人岗位责任制健全 |
|
|
| ||||
11 | 施组编制、审批手续齐全,内容科学合理 |
|
|
| ||||
12 | 资料 | 施组变更手续齐全,有原审批人签字 |
|
|
| |||
13 | 流水段、工序流程,设备配置符合施组 |
|
|
| ||||
14 | 季节性施工方案和措施齐全,针对性强,切实可行 |
|
|
| ||||
15 | 施工平面布置图符合规定,现场状况与图相符 |
|
|
| ||||
16 |
| 职工应知考核 |
|
|
| |||
应得分: | 实得分: | 得分率: | 折合标准值: |
责任人: 检查员签字:
“ 文明施工区” 标准及考核办法
(料具管理部分) 表9 - 7
施工队: 负责人: 年 月 日
序 号 | 检 | 查 | 项 | 目 | 检查情况 | 标准分值 | 评定 分值 | ||||
1 | 现场状况 | 现场外堆放要有批准手续并码放整齐,不妨碍交通 |
|
|
| ||||||
2 | 施工场地内外存放各种料具要分规格码放整齐,符合要求 |
|
|
| |||||||
3 | 材料保管要有防雨、防潮、防损害措施 |
|
|
| |||||||
4 | 贵重物品要及时入库 |
|
|
| |||||||
5 | 水泥库内外散落灰必须及时清运 |
|
|
| |||||||
6 | 现场和搅拌机四周无废弃砂浆和混凝土 |
|
|
| |||||||
7 | 砖成丁、砂石和散料成堆,随用随清,不留料底 |
|
|
| |||||||
8 | 钢材、木材等料具合理使用,优材不劣用 |
|
|
| |||||||
9 | 工人操作能做到活完料净脚下清 |
|
|
| |||||||
10 | 施工垃圾集中存放,及时分拣,回收清运 |
|
|
| |||||||
11 | 现场余料、包装容器回收及时,堆放整齐 |
|
|
| |||||||
12 | 现场无长流水、无长明灯 |
|
|
| |||||||
13 | 资料 | 施工组织设计有技术节约措施并能实施 |
|
|
| ||||||
14 | 材料管理严格,进出场手续齐全 |
|
|
| |||||||
15 | 实行限额领料,领退手续齐全 |
|
|
| |||||||
16 |
| 职工应知考核 |
|
|
| ||||||
应得分: | 实得分: | 得分率: | 折合标准分值: |
责任人: 检查员签字:
“ 文明施工区” 标准及考核办法
(环境保护管理部分) 表9 - 8
施工队: 负责人: 年 月 日
序 号 | 检 | 查 | 项 | 目 | 检查情况 | 标准分值 | 评定分值 | ||||
1 | 防大 气污染 | 施工应搭设封闭式垃圾池或采用容器运输 |
|
|
| ||||||
2 | 应有防扬尘措施 |
|
|
| |||||||
|
|
|
|
| |||||||
3 | 搅拌机应按规定安装除尘装置 |
|
|
| |||||||
4 | 茶炉、大灶整治 |
|
|
| |||||||
5 | 冬施锅炉整治 |
|
|
| |||||||
6 | 防水污染 | 烟尘黑度监控 |
|
|
| ||||||
7 | 搅拌机前台及运输车冲洗应设沉淀池 |
|
|
| |||||||
8 | 乙炔污水应经沉淀池沉淀后外排 |
|
|
| |||||||
9 | 食堂污水按规定设隔油池,除油后外排 |
|
|
| |||||||
10 | 材料库应有防渗漏措施 |
|
|
| |||||||
11 | 防噪声污 | 强噪声机械设备有降噪措施 |
|
|
| ||||||
12 | 人为活动噪声应有控制措施 |
|
|
| |||||||
13 | 资料 | 施工组织设计中要有针对性环保措施 |
|
|
| ||||||
14 | 环保工作自我保障体系有检查记录 |
|
|
| |||||||
18 | 职工应知考核 |
|
|
| |||||||
应得分: | 实得分: | 得分率: | 折合标准分值: |
责任人: 检查员签字:
“ 文明施工区” 标准及考核办法
(现场宣传部分) 表9 - 9
施工队: 负责人: 年 月 日
序 号 | 检 查 项 目 | 检查 情况 | 标准 分值 | 评定 分值 | ||||
1 | 宣传教育 | 现场政工组织机构健全 |
|
|
| |||
2 | 宣传教育工作落实,教育面不低于95% |
|
|
| ||||
3 | 任务动员、思想发动、总结表彰工作扎实 |
|
|
| ||||
4 | “三工”教育落实 |
|
|
| ||||
5 | 现场布置 | 标志、标语牌规范醒目 |
|
|
| |||
6 | 黑板报、宣传栏、竞赛台、阅报栏内容适时 |
|
|
| ||||
7 | 宣传报导 | 宣传报导网络健全,工作开展有力 |
|
|
| |||
8 | 刊稿数量符合规定要求 |
|
|
| ||||
9 | 宣传工作制度 | 宣传工作制度,宣传思想工作制度规定健全 |
|
|
| |||
10 | 现场思想政治工作及时、扎实、有效 |
|
|
| ||||
11 | 宣传工作资料、台帐齐全 |
|
|
| ||||
12 | 团结协调 | 团结协调,单位内部、甲方、监理之间关系协调,及时与总指挥部系 |
|
|
| |||
13 | 同场区周围军、警、民、友邻施工单位关系协调 |
|
|
| ||||
应得分: | 实得分: | 得分率: | 折合标准分值: |
责任人: 检查员签字:
“ 文明办公区” 标准及考核办法
表9 - 1 0
施工队: 负责人: 年 月 日
考核 项目 | 序号 | 考核标准 | 定分 | 得 分 | 扣分 |
组织领导坚强有力 | 1 | 党政领导齐抓共管,建立健全组织机构 |
|
|
|
2 | 健全各项管理规章制度、职业道德规范和检查考核实施办法 |
|
|
| |
3 | 检查考核实施得力,有专人负责,有检查记录,整改办法 |
|
|
| |
4 | 组织开展文明部室、文明班组、文明职工等层层创建活动 |
|
|
| |
业务工作成绩突出 | 5 | 办事周全、办会圆满、办文规范、高效迅速,不拖不延 |
|
|
|
6 | 坚持深入基层、调查研究、工作求实求效、力戒形式主义 |
|
|
| |
7 | 坚持原则、秉公办事、不循私情 |
|
|
| |
8 | 遇事不推诿,不扯皮,团结协作好 |
|
|
| |
举止文雅仪表端正 | 9 | 言谈文明,不说脏话 |
|
|
|
10 | 品行端正,相互礼让 |
|
|
| |
11 | 衣着整洁,端庄大方 |
|
|
| |
12 | 不循不傲,以诚待人 |
|
|
| |
13 | 院内有花、整洁卫生,无痰迹,灭蚊蝇,达标 |
|
|
| |
14 | 楼内整洁隆重,无痰迹,无杂物堆放 |
|
|
| |
15 | 墙壁无涂抹刻画、污迹烂痕 |
|
|
| |
16 | 室内办公设备布局合理,干净整洁,空气新鲜;桌椅门窗明亮无尘;书刊报纸资料放置整齐 |
|
|
| |
遵章守规秩序井然 | 17 | 遵守各项有关管理规定和制度,爱护办公设备等公共财物 |
|
|
|
18 | 洁身端行,无嫖娼赌博,看黄传黄、酗酒、打架斗殴现场 |
|
|
| |
19 | 胸襟大度,光明磊落,不乱议论人非,不传谣不信谣 |
|
|
| |
20 | 不串岗聊天,不妨碍他人正常工作学习 |
|
|
| |
21 | 按时作息,不迟到,不早退 |
|
|
| |
22 | 大公无私,工作时间不办私事 |
|
|
| |
23 | 防火防盗,特殊部位做到防水防潮、防蚀防霉 |
|
|
| |
累计分数 |
|
责任人: 检查员签字:
“ 文明职工生活区”标准及考核办法
表9-11
施工队: 负责人: 年 月 日
序 号 | 检查项目 | 检查 情况 | 标准 分值 | 评定 分值 | ||||
1 | 现 场 生活区 | 施工现场整齐清洁,无积水 |
|
|
| |||
2 | 车辆不带泥沙出现场 |
|
|
| ||||
3 | 生活区办公室内清洁整齐,窗明地净 |
|
|
| ||||
4 | 宿舍、更衣室要清洁,床铺上下整齐卫生 |
|
|
| ||||
5 | 生活区周围不随意泼污水、倒污物 |
|
|
| ||||
6 | 生活垃圾按指定地点集中,及时清理 |
|
|
| ||||
7 | 冬季取暖炉设施齐全,有验收合格证 |
|
|
| ||||
8 | 伙房食堂 | 伙房内外整齐卫生,炊具干净,无腐烂变质食品 |
|
|
| |||
9 | 伙房要有食品卫生许可证 |
|
|
| ||||
10 | 炊事人员要有身体健康证 |
|
|
| ||||
11 | 炊事人员上岗必须穿戴工作服帽,保持个人卫生 |
|
|
| ||||
12 | 操作间仓库食堂清洁卫生,无蝇无鼠无蛛网 |
|
|
| ||||
13 | 加工、保管生熟食品要分开,食品有遮盖 |
|
|
| ||||
14 |
| 职工饮水要卫生 |
|
|
| |||
15 | 厕所 | 厕所屋顶墙壁严密、门窗齐全有效 |
|
|
| |||
|
|
|
|
| ||||
16 | 现场厕所按规定采用冲水或加盖措施 |
|
|
| ||||
17 | 厕所有专人清扫保洁,有灭蝇、蛆措施 |
|
|
| ||||
18 | 管 理资料 | 工地有卫生管理制度 |
|
|
| |||
|
|
|
|
| ||||
19 | 卫生责任区划分明确 |
|
|
| ||||
20 | 工地有卫生检查记录 |
|
|
| ||||
21 | 保卫 | 门卫护场,生活区有警卫传达室,有专人昼夜值班,对晚十一时出入人员能登记备案 |
|
|
| |||
22 | 娱乐 | 生活区必须配备电视机、图书室和文体活动用具;有文体活动安排 |
|
|
| |||
23 |
| 职工应知考核 |
|
|
| |||
应得分: | 实得分: | 得分率: | 折合标准分值: |
责任人: 检查员签字:
9 . 5 . 1 . 1 由于其它原因而未做到硬化的部位, 定期压实地面和洒水, 减少灰尘对周围环境的污染。
9 . 5 . 1 . 2 禁止在施工现场焚烧有毒、有害和有恶臭气味的物质。
9 . 5 . 1 . 3 装卸有粉尘的材料时, 应根据不同情况洒水湿润或在仓库内进行。
9 . 5 . 1 . 4 严禁向建筑物外抛掷垃圾, 所有垃圾装袋或装桶投入指定地点并及时运走。
9 . 5 . 1 . 5 运输车辆必须冲洗干净后方能离场上路行驶; 驶离现场前必须对车厢进行检查防止裸露现象; 在装运建筑材料、土石方、建筑垃圾及工程渣土的车辆, 派专人负责清扫道路及冲洗, 保证行驶途中不污染道路和环境。
9 . 5 . 1 . 6 施工场地内固定专人进行道路、楼层的清洁工作,并进行严格检查;严格执行工完料尽场地清的原则。
9 . 5 . 2 噪音控制措施
9 . 5 . 2 . 1 每一项施工方案的编制中都必须详细考虑所采用的施工方法或施工工艺,尽可能采用低噪音的工艺和施工方法,施工方案实施前必须经过环境保护小组的审核。
9 . 5 . 2 . 2 建筑施工作业的噪音可能超过建筑施工现场的噪音限值时, 我公司在开工前向建设行政主管部门和环保部门申报,并首先同车站部门及周围居民组
织协调, 核准后方能施工。
9 . 5 . 2 . 3 对于小范围的噪音或将在站台附近、进站口处施工而影响到车站正常运营的噪音,考虑采用玻璃钢噪音隔离板围护以隔离和减少噪音,以降低至允许值以下。
9 . 5 . 2 . 4 合理安排施工工序, 禁止夜间进行产生噪音的建筑施工作业( 晚上1 0 时至第二天早上6 时)。因施工不能中断的技术原因和其它特殊情况, 确需夜间连续施工作业的, 我公司将向建设行政主管部门和环保部门申请,取得相应的施工许可证后方可施工;施工中需要合理组织, 尽可能将产生噪音的工作安排在白天进行。
9 . 5 . 2 . 5 进入施工现场内的车辆、所有场内施工用机械设备不允许鸣笛; 地面和高层的联系采用对讲机; 工人施工时禁止大喊大叫。
9 . 5 . 2 . 6 施工场地外围进行噪音监测, 对于一些产生噪音的施工机械, 应采取有效的措施, 减少噪音, 如切割金属和锯模板的场地均搭设工棚、设置隔音屏以屏蔽噪音。
9 . 5 . 2 . 7 施工中模板的支设和拆除必须轻拿轻放,严禁硬敲重砸或高空抛掷,防止过大噪音的出现。
9 . 5 . 3 光污染控制措施
9 . 5 . 3 . 1 电焊、金属切割产生的弧光必须采用围板与周围环境进行隔离, 防止弧光满天散发。
9 . 5 . 3 . 2 现场围墙上布设的灯具原则上不得超过围墙高度; 塔吊及周围场地照明的大镝灯必须调整照射方向向场内,不得直接照射到居民住宅区,施工场地外围的照明采用柔光灯, 不可采用强光灯具。
9 . 5 . 3 . 3 原则上现场施工时间定到十二点, 晚十二点以后关闭大镝灯, 施工现场开启柔光灯进行现场照明、保护; 如必须晚上加班工作的, 则必须将不使用的大镝灯关闭。
9 . 5 . 4 排污控制措施
9 . 5 . 4 . 1 施工现场厕所污水在进入污水管网前必须经过化粪处理并定期撒适当的防疫药物后方可排入市政管道; 厕所、化粪池应具有防漏措施, 防止污染水源。
9 . 5 . 4 . 2 施工现场严格禁止随地大小便的情况发生; 主站房东西两侧较高楼层上分层设置可移动式简易厕所, 并设置专人每天两班进行清理。
9 . 5 . 4 . 3 现场冲洗机械设备必须在指定地点进行,避免冲洗的废油四处扩散,冲洗完成后必须将冲洗的废油进行收集;机械修理等地方必须于地面上采取木板等进行适当的铺垫, 防止污染地面。
9 . 5 . 4 . 4 施工现场必须保持雨水排水的畅通, 防止现场局部地方产生积水现象。
9 . 5 . 5 现场防污染控制措施
9 . 5 . 5 . 1 本工程采用木模板, 模板加工必须在加工棚内进行, 工作前事先做好模板配板图, 避免在施工现场进行加工, 产生碎屑等废料污染场地; 使用的模板严禁使用油性脱模剂。
9 . 5 . 5 . 2 现场使用的油料必须设置专人进行保管, 防止产生油料扩散现象;现场摆放的易扩散油料或施工用料必须进行密闭储存, 防止扩散。
9 . 5 . 5 . 3 现场使用的易漂浮材料必须装袋进行储存, 防止扩散。
9 . 5 . 5 . 4 现场垃圾实行分类管理, 设置足够的垃圾池和垃圾桶, 建筑垃圾集中堆放并及时清运。
9 . 5 . 5 . 5 现场禁止焚烧油毡、橡胶等会产生有毒、有害烟尘和恶臭气体的物质。
9 . 5 . 5 . 6 禁止有毒有害物体用于回填工地, 防止对水源产生污染。
9 . 5 . 5 . 7 化学物品, 外加剂等要妥善保管, 库内存放, 防止污染环境。
9 . 5 . 6 现场防病防疫控制措施
9 . 5 . 6 . 1 现场设置卫生设施有水源供冲洗, 化粪池加盖并定期喷药, 每日有专人负责清洁。
9 . 5 . 6 . 2 工地设茶水亭和茶水桶, 做到有盖、加锁和有标志。
9 . 5 . 6 . 3 现场严格控制污水的积存, 由文明施工人员及时清理。
9 . 5 . 6 . 4 保持员工住宿区的整洁、通风, 及时对有传染病的人员进行隔离或送医院检查。
9 . 5 . 6 . 5 对供应工地餐饮的食堂进行专项控制,严格执行留样制度,检查饭菜质量和食堂卫生、餐具卫生, 落实相关的卫生制度, 定期消毒。
9 . 5 . 6 . 6 现场设保健箱, 备用急救包和常用药品
经我单位现场踏勘, 走访**火车站安技科、分局公安处等有关部门, 了解到**站2 0 0 1 年基本概况如下:
*站主要客运概况 表1 0 – 1
旅客列车对数(不含通过) | 站场 | |||||||||||||||||||
线别 | 特快 | 快速 | 普快 | 普客 | 路别 | 合计 | 客车到发线(m) | 1 道 | 3 道 | 4 道 | 6 道 | 7 道 | ||||||||
津浦 | 12 | 12 | 21 |
|
| 45 | 650 | 620 | 640 | 600 | 620 | |||||||||
沪宁 | 5 | 2 | 13.5 |
| 5 | 25.5 | 客运站台、雨棚(m) | 一号站台:长500X 宽10X 高0.3, 雨棚448 | ||||||||||||
宁芜 | 1 | 2 | 7 | 1 |
| 11 | 二号站台:长500X 宽9X 高0.3, 雨棚464 | |||||||||||||
合计 | 18 | 16 | 41.5 | 1 | 5 | 81.5 | 三号站台:长500X 宽10X 高0.3, 雨棚473 | |||||||||||||
| 地道二条(m) | 长50X 宽4X 高2.4 ,西部出站用 | ||||||||||||||||||
2001 客运量(万人) | 平交道二条(m) | 各宽3m ,东部邮政用、西部行包用 | ||||||||||||||||||
客发 | 8884.4/日均2.42 | 站舍(单位:m) | ||||||||||||||||||
直通 | 322.2 | 名称 | 数量 | 面积 | 名称 | 数量 | 面积 | 名称 | 数量 | 面积 | ||||||||||
管内 | 546.6 | 基本候车室 | 1 | 1973 | 广播室 | 1 | 30 | 小件寄存 |
|
| ||||||||||
市郊 | 14.1 | 贵宾室 | 1 | 222 | 机动候车室 | 1 | 144 | 站外厕所 | 1 | 60 | ||||||||||
中转 | 28.9 | 母婴候车室 | 1 | 74 | 售票厅、票房 | 1 | 542 | 行包发送处 | 1 | 600 | ||||||||||
免票 | 6.0 | 重点候车室 | 1 | 156 | 鼓楼售票所 | 1 | 480 | 行包到达库 | 2 | 1200 | ||||||||||
合计 | 917.8 | 进站廊道 | 1 | 744.8 | 问询处 | 1 |
| 综合楼前 南侧广场 | 1 | 2077 | ||||||||||
2002 年“ 五• 一”最高峰输送人数(5.3) | 11.05 万人 | 二层售票厅大街 | 1 | 390 | 出口处广场 | 1 | 216 | 软席、茶座 (军人) | 1 | 738 |
*站主要客运概况 表1 0 – 2
客运主要机械及技术设备 | |||
种类 | 数量 | 种类 | 数量 |
行包牵引车 | 13 | 电子订售票系统 | 1 |
行包拖车斗 | 90 | 售票汉卡 | 56 |
行包电子地磅 | 2 | 线路同步显示系统 | 1 |
三品检查仪 | 5 | 票额行情显示系统 | 1 |
无人售票机 | 1 | 行包制票系统 | 1 |
语音问讯系统 | 4 条(人工) 9 条(自动) | 行包到达管理系统 | 1 |
平交道预警装置 | 1 | 出口查堵电子磅 | 1 |
语音广播系统 | 1 | 行包到达电子磅 | 1 |
客运引导系统 | 1 | 候车室空调系统 | 2 |
1 0 . 2 . 1 施工中坚持“ 安全第一,预防为主”的原则,一切为旅客着想,尤其是春运、暑运期间,旅客较多,加强安全防护,给旅客提供一个安全、舒适的乘车环境, 是我单位在**站站房施工的根本宗旨。
1 0 . 2 . 2 建立健全技术责任制、安全逐级负责制和“ 三检制”,严格执行既有线施工的各项规章制度, 制定合理的施工方案, 加强对各专业、各工种结合部的规范管理, 落实安全措施, 防止结合部失控。
1 0 . 2 . 3 施工区域实行全封闭管理, 施工区域四周用彩钢板进行围护, 与周围完全隔离。加强门卫值班制度, 非施工人员一律禁止入内, 做好安全警示标志, 以防止旅客误入施工场地而导致意外伤害。同时施工人员不得在轨道上行走, 横过车站股道应止步了望, 确认两端均无列车开来时方准通过。
1 0 . 2 . 4 在现有的进站通道基础上搭设防护棚, 上铺两层脚手板。使进站通道与施工区域完全隔离, 保证旅客的进站安全。从出站地道口到施工区域外( 现有车站广场), 用钢管搭设出站防护棚, 上铺两层脚手板, 两侧用彩钢板围护, 与施工区域完全隔离, 通道内配备足够的照明, 保证旅客的出站安全。建筑物四周悬挂密目式安全网进行全封闭, 防止坠物伤人。
1 0 . 2 . 5 加强施工期间的安全宣传工作, 根据不同的施工阶段, 做好旅客和行包行走路线的标识, 让人一目了然。通道与施工区域交叉需开口处、施工区域与铁路交叉处设专人值班。
1 0 . 2 . 6 根据施工顺序的变化通道需要改道时, 先把新的通道做好后, 再拆除旧的通道。
1 0 . 2 . 7 加强和**分局、车站安技科、建设指挥部的联系, 针对旅客高峰期提前做好人员的组织安排, 及时疏导, 避免大量人员停留在施工区域附近。
1 0 . 3 . 1 根据现场和业主提供水源接驳点的水表位置后,用D N 1 0 0 的镀锌钢管接向现场形成环状管网。
1 0 . 3 . 2 车站施工现场设临时消防:
1 0 . 3 . 2 . 1 由于施工现场的用水必须满足临时消防用水, 经综合考虑, 现场用水按消防用水量确定1 5 L /S,并满足两处消火栓同时使用水量,D N 1 0 0 的镀锌钢管在现场做环状布置,沿管线每隔5 0 m 设置一个直径D N 6 5 消火栓,安装高度为1 . 1 m,配备箱体、水龙带L 2 5 m 及水枪D N 6 5 × 1 9 , 沿管线在各主体施工区接入D N 8 0 消防水管,详细情况见各阶段施工平面布置图。
1 0 . 3 . 2 . 2 在主体施工区E、F、G、H、I 各设立一根D N 8 0 的消防用水管与主体结构同步施工到屋面, 每层设置一个直径为D N 6 5 的消火栓, 配备水龙带及水枪。
1 0 . 3 . 2 . 3 由于主站房的建筑高度为3 0 . 8 2 3m,市政给水的压力不够,在主站房首层设置两台临时水泵加压供水, 以满足主站房的消防及施工用水。
1 0 . 3 . 2 . 4 在木工加工场、配电室等处配备足够的干粉灭火器。
由于本工程是边施工边运营,因此如何保证旅客进出和行包运输通畅是项目管理的重点课题。针对本工程的建筑和结构特征,结合施工现场的实际情况,我们从以下几个方面加以考虑:
1 0 . 4 . 1 从项目机构组织上,我们设立了车站、地铁协调部,配备了具有类似工程施工经验的管理人员专门负责与**分局、车站调度室和建设指挥部的协调工作,及时掌握车站旅客流量的变化情况,从而及时指挥现场的施工安排,调整施工车辆的进出场时间, 避免由于车辆和人流的过于集中而造成车站附近的交通堵塞。
1 0 . 4 . 2 从施工顺序安排上, 对于有利于现场布置的部位尽早安排、加紧施工,提前交付使用,从而改善施工环境。比如西配楼工程,我们安排与主站房同时施工,并且在2 0 0 4 年春运前完成, 为业主提供临候车室和临时行包房。对于严重影响车站运营的部位则安排错过客运高峰时间再施工,并合理安排工期,从而使影响减少到最低。比如基本站台工程, 安排在2 0 0 4 年“ 五·一” 黄金周结束后开始施工,在“ 十·一”黄金周开始前施工结束投入使用。这样就大大减轻了车站的压力, 保证了旅客进出站的通畅。
1 0 . 4 . 3 从总体工期安排上,我们组织了充足的劳动力、机械和周转料保证整个土建工程同时施工,确保有作业面、有作业量就有作业人员施工,尽量缩短主体结构的施工时间, 一方面减少现场大量的施工人员和湿作业带来对周边环境的影响;
另一方面给后面的装饰、屋面轻钢结构和设备安装、调试等施工留下充足的时间,确保本工程在2 0 0 5 年春运前交付业主使用。
1 0 . 4 . 4 从安全和文明施工管理上,我们建立和健全了各项管理规章制度,对作业区和通道采取有效、合理和美观的安全防护,确保了施工现场和旅客、行包的安全。保证了施工生产的安全、文明, 消灭了不安定因素和隐患, 也就保证了旅客、行包进出站的通畅。
由于本工程在既有线下施工,且距离线路较近,因此在施工中保证正常的行车安全,路基安全成为施工的重中之重。我们坚持” 安全第一,预防为主” 的原则对既有线路基进行防护监测具体措施如下:
1 0 . 5 . 1 确保基坑在开挖过程中路基结构的安全,在基坑开挖期间进行工程环境监测,以实现信息管理,知道施工,保证行车安全。
1 0 . 5 . 2 在基坑后背设置监测点,监测的主要内容为水平位移,监测时间安排在基坑开挖前至整个工程结束.在基坑快挖到标高时,为监测的重点,密切注意防护桩的动向,测工要跟班作业,观察次数根据需要增加。
1 0 . 5 . 3 在线路上设线路位移及沉降观测点,作好动态监测,保证行车安全。
1 0 . 5 . 4 人员方面:线路,便梁,防护人员各司其责,作成记录,并备策速器,以监测列车速度。
1 0 . 5 . 5 经常调整便梁的支坐垫板,使其稳固,检查支墩是否下沉,以免影响路基,造成行车安全。
1 0 . 5 . 6 .加强组织领导发挥安全员的作用,在架拆便梁恢复路基时,项目经理要亲临现场领导以确保安全。
由于**市是江苏省的省会、历史古城, 而且在边营运边施工的条件下, **站又是京沪线上的一等大站,来往旅客很多,人流集中,地理位置重要,具有一定的政治影响力。因此,为了预防和减少重大事故的发生,在紧急事故发生时能及时得到处理, 以减轻损失和减少对环境及人员的影响和伤害, 特制定本应急救援措施。
1 0 . 6 . 2 适用范围
本措施适用于在**站工程施工过程中发生的重大事故的应急处理。重大事故包括:人员伤亡事故、火灾、爆炸、坍塌、食物中毒、法轮功活动和不可抗拒力造成的伤害等。
突发事件包括:穿线施工中的线路沉降;天桥施工中跨线施工封锁时,高空物体坠落; 主体结构施工中的高空物体坠落、打击; 旅客伤害等。
1 0 . 6 . 3 组织机构
根据项目部组织机构的人员设置情况,成立应急救援领导小组,并且每天安排项目部领导值班, 机构组成情况见下图:
应急救援领导小组机构图 图1 0 – 1
1 0 . 6 . 4 岗位职责 应急救援领导小组成员主要职责见下表:
表10-3
序号 | 姓名 | 职务 | 主要职责 | ||
1 | 项目经理 | 组 长 | 负责领导小组的全面工作 |
|
|
2 | 安保部长 | 常务副 组 长 | 主持日常预防、检查、 |
|
|
3 | 项目副经理 | 副组长 | 负责保障应急时劳动力、机械、材料的供应 | ||
4 | 总协调 | 副组长 | 做好后勤保障,并对外协调各方面的关系 | ||
5 | 技术部部长 | 组员 | 解决应急过程中出现的技术难题 | ||
6 | 治安室主任 | 组员 | 协助公安分处、车站派出所做好的治安管理工作 | ||
7 | 物资部部长 | 组员 | 主要负责应急过程中的物资供应 | ||
8 | 办公室主任 | 组员 | 负责对内协调和对外接待工作 | ||
9 | 财务部部长 | 组员 | 保证期间的资金正常运作 | ||
10 | 各作业队队长 | 组员 | 积极参与,积极配合 |
1 0 . 6 . 5 突发事件应急处理流程
突发事件应急处理流程
图1 0 – 2
1 0 . 6 . 6 突发事件的应急处理
突发事件的处理原则:以抢救、保护生命为第一重点,减少国家损失为第二步,尽可能地保护好现场为第三步,分析问题的发生原因及处理为第四步。在突发事件发生时,现场施工管理人员可在不汇报的前提下,进行人员的抢救和向当地的救助部门、执法部门求助。
1 0 . 6 . 6 . 1 工伤救护:施工人员如发生工伤事故以及高空坠落、物体打击、触电等, 可直接护送伤员到临近医院进行救助或请求当地急救中心援救。
1 0 . 6 . 6 . 2 治安事件:施工人员如发生打架斗殴、流血事件,应立即制止,在现场不能控制的情况下, 应立即拨打1 1 0 报警。
1 0 . 6 . 6 . 3 火灾、爆炸事故:施工现场发生火灾、爆炸时,应立即切断施工电源,组织人员将危险品、易燃品转移至安全地带,同时组织人员利用现场的消防设施进行灭火。在现场不能控制的情况下,应立即拨打1 1 9 报警,并安排专人引导消防车辆, 同时疏通道路, 保证消防车的顺利驶入。
1 0 . 6 . 6 . 4 法轮功事件:当发现施工现场周围有人练习、组织法轮功违法活动时,立即向当地公安部门举报。
1 0 . 6 . 6 . 5 防台防汛:在台风期间,每天安排不少于3 人专项值班,发现情况及时上报, 并组织力量抢救。
1 0 . 6 . 6 . 6 * *市医疗等各主要单位分布清单 表10-4
| 序号 | 单位名称 | 地址 | 联络电话 | 特点 |
医疗单位 | 1 | **市第二医院 | 钟阜路1-1 号 | 总机:3432214 3419039 | 普科 |
2 | **长江医院 | 钟阜路新门口118 号 | 总机:3416999 3419039 | 皮肤病、肝胆专科 | |
3 | 解放军四一四医院 | 建宁路200 号 | 总机:8802266 急诊:8818414 |
| |
4 | 东南大学附属中大医院 | 丁家桥87 号 | 急诊:3272120 | 心血管、微循环、肾科 | |
5 | **市疾病预防控制中心 | 紫竹林2 号 | 总机:3421379 2421517 | 卫生防疫 | |
6 | 江苏省中西医结合医院 | 红山路十字街100 号 | 急诊:5639624 | 中西医结合治疗各慢性病 | |
7 | **市口腔医院 | 中央路30 号 | 7714636 | 口腔医院 | |
8 | **市鼓楼医院 | 中山路321 号 | 总机:3304616 3308059 |
| |
医疗单位 | 9 | **市急救中心 | 中山路231 | 120:6633858 |
|
10 | **市铁路分局中心医院 | 中山北路262 号 | 总机:3429265 3434656 |
| |
11 | **市第三医院 | 中山北路53 号 | 总机:6632537 66327961 |
| |
12 | **市胸科医院 | 广州路215 号 | 总机:3726557 3726559 |
| |
13 | **市脑科医院 | 广州路264 | 总机:3700011 3734114 |
| |
14 | 江苏省人民医院 | 广州路300 号 | 总机:3718836 3714511 |
| |
15 | 江苏省省级机关医院 | 江苏路67 号 | 总机:3712838 3712933 | 康复治疗 | |
16 | **儿童医院 | 广州路72 号 | 总机:3301138 3301139 |
| |
17 | 解放军**军区**总院 | 中山东路305 号 | 总机:4826808 4827110 |
| |
18 | 解放军八一医院 | 三十四标34 号 | 总机:6648090 3387781 |
| |
火警 | 1 | 公安消防局玄武区消防科 |
| 119:4421119 |
|
2 | 消防大队富贵山中队 |
| 119:4825438 |
| |
治安 | 1 | 公安局玄武分局 |
| 110:4421114 |
|
2 | **市收容遣送站 |
| 总机:8801443 8804394 |
| |
| 1 | 公安局交通管理局 |
| 122:4429114 |
|
注: 1、此表中所列电话号码为**地区的电话。
2、此表中所列各医院按离火车站由近而远排序。
3、消防、治安等单位为火车站所处行政管理区内的相管单位。
1 0 . 7 . 1 * * 站作为京沪线、宁芜线上的一等大站,其专特运输任务比较繁重,因此对专特运输的保证问题较为突出,为此**站施工期间必须确保专列运输的顺利进行。
1 0 . 7 . 2 同业主车站安技室紧密联系掌握铁路运输计划( 需注意保密工作); 做好预控工作, 制定针对性措施。
1 0 . 7 . 3 专列、特运当天除施工现场留必要的治安人员外,其他人员提前撤离现场, 且确保警卫通道的畅通。
根据本工程的招标文件精神, 结合现场踏勘现状,以及现行总承包项目管理的相关法律、法规要求, 和我单位近年来积累的总承包项目管理的成熟经验, 对* *站站房工程实施总承包项目管理, 简称总包管理。
总包管理的内容包括:劳务分包管理, 专业分包管理以及涉及项目的各方的协调和周围外部环境的协调等工作。劳务分包是指总承包单位将主体结构的人工发包给具有相应资质的当事人;专业分包是指总包单位或业主将专业性很强的分部、分项工程发包给具有相应资质的当事人;另外协调与项目各方之间的关系也是总包管理一项重要内容, 如与业主、设计单位、监理单位和正在施工地铁站前广场工程的单位配合协调, 以及政府主管部门, 如安监站、质监站、派出所、周围企事业单位和居民等。
劳务分包管理在前面内容我们写得很多, 这里我们着重就其它内容进行评述。
专业分包管理,不论是同业主签定合同的专业分包,还是同总包签定合同的专业分包, 我们均将对其按项目管理规范和合同约定内容进行管理;从合同评定( 选择专业分包商)、进度控制、质量控制、安全控制、成本控制、现场管理、合同管理、信息管理( 资料、文档)、生产要素管理、组织协调和竣工验收管理,以及回访保修管理几个方面进行实施。
* *站站房工程是未来京沪高速铁路的重要枢纽,它的建设对华东地区乃至全路的高速铁路建设起着举足轻重的作用。我单位如若中标,对* *站站房工程严格实行项目管理规范, 按我单位的管理体系运作, 对项目实行项目经理责任制, 按矩阵式项目管理组织设置项目经理部, 配套、配齐以项目经理为首的项目经理班子。项目经理与单位签定“ 项目管理目标责任书”, 在其中确定项目经理的责、权、利, 以及帮助项目部建立健全各种规章制度, 如: 项目管理人员岗位责任制度, 技术管理制度, 质量管理制度, 安全管理制度( 安保体系), 项目计划、统计与进度管理制度 ,材料、机械设备管理制度,成本核算制度,现场管理制度,分配与奖励制度, 项目例会及施工日志制度, 项目分包及劳务管理制度, 组织协调制度, 信息管理制度等。认真执行并落实各项制度, 保证项目经理部的有效、受控, 正常运转。
总承包管理机构设置:
图 1 1 – 1
总承包管理机构分工: ( 主管部门部门和相关部门)
表1 1 – 1
序号 | 分包内容 部门 | 施 工 部 | 安 保 部 | 机械设备部 | 物资部 | 创优部 | 钢结构幕墙安装及配合部 | 水电安装及配合 | 合约部 | 财务部 | 技术部 | 资料室 | 后勤保障部 | 车站地铁协调部 | 治安部 | 办公室 | 要求 |
1 | 合同评审 |
|
|
|
|
|
|
| √ |
|
|
|
|
|
|
|
|
2 | 技术支持 |
|
|
|
|
|
|
|
|
|
|
|
|
|
|
|
|
3 | 进度计划 | √ |
|
|
|
|
|
|
|
| √ |
|
|
|
|
|
|
4 | 安全监控 |
| √ |
|
|
|
|
|
|
|
|
|
|
|
|
|
|
5 | 材料检验 |
|
|
| √ |
|
|
|
|
|
|
|
|
|
|
|
|
6 | 质量控制 |
|
|
|
| √ |
|
|
|
|
|
|
|
|
|
|
|
7 | 机械配备 |
|
| √ |
|
|
|
|
|
|
|
|
|
|
|
|
|
8 | 现场 | √ |
|
|
|
|
|
|
|
|
|
|
|
|
|
|
|
9 | 资金 |
|
|
|
|
|
|
|
| √ |
|
|
|
|
|
|
|
10 | 资料管理 |
|
|
|
|
|
|
|
|
|
| √ |
|
|
| √ |
|
11 | 后勤 |
|
|
|
|
|
|
|
|
|
|
| √ |
|
|
|
|
12 | 治安 |
|
|
|
|
|
|
|
|
|
|
|
|
| √ |
|
|
技术方案协调
表1 1 – 2
分包单位 | 主管部门 | 负责人 | 要求 |
钢结构分包 | 钢结构幕墙安装配合部 | 项目副经理2 |
|
玻璃幕墙分包 | 钢结构幕墙安装配合部 | 项目副经理2 |
|
装饰分包 | 施工部 | 项目副经理1 |
|
电气、通风分包 | 水电安装及配合部 | 项目副经理3 |
|
消防分包 | 水电安装及配合部 | 项目副经理3 |
|
智能建筑分包 | 水电安装及配合部 | 项目副经理3 |
|
电梯分包 | 水电安装及配合部 | 项目副经理3 |
|
对**站站房工程的专业分包单位管理按一般要求和个别要求进行管理。
一般要求:
1 1 . 3 . 1 . 1 专业分包商按有关要求取得相应合法地位和资质等级,提交施工所需全文件资料和有关证件的复印件( 原件审核退回), 以确定其具有相应承包能力的施工单位, 经业主、监理、总承包等单位的评审, 才可以进入现场施工。
1 1 . 3 . 1 . 2 由总包单位向专业分包单位书面交待施工现场和日常管理的各种规章制度, 工作流程, 以及其他事项。
1 1 . 3 . 1 . 3 要求专业分包单位根据总包的总体部署以及分项要求,向业主、监理、总包提交专业施工的方案, 工程施工进度计划, 以及质量、安全、技术保证措施, 材料设备进场计划, 劳动力进场计划和施工所需管理人员( 常驻) 清单和岗位、联系方式。
1 1 . 3 . 1 . 4 由总包各主管部室协调,按合同约定向专业分包提供所需办公、住
宿、生活、现场施工等方面场所。
1 1 . 3 . 1 . 5 根据合同约定向专业分包提供施工所需垂直运输机械、脚手架三类水、电等设施, 保证分包单位正常开展工作。
1 1 . 3 . 1 . 6 根据施工总体安排, 按总承包的要求对专业分包队伍进行日常管理,管理内容包括:进度计划、质量控制、安全控制、现场管理、生产要素管理、合同管理、信息( 资料, 文件归档) 管理、以及验收保修管理。
1 1 . 3 . 1 . 7 根据总包承包总体布置,每周一次生产例会,解决本周内发生的技术现场相互交叉影响的问题, 以及需提交业主、监理、设计解决的问题。
1 1 . 3 . 1 . 8 根据总包要求,对各分包单位和劳务单位,下达的技术、安全上的有关规定、措施, 同时上报业主、车站安技科、* *分局、分局公安处、监理等相关单位, 向他们及时汇报, 通报工程进展和计划情况。
1 1 . 3 . 1 . 9 根据总承包对现场的管理要求和确保车站正常的需要, 在工地四周、工地进出口、车站旅客上、下车、进、出站的处设置电视监视探头, 维护现场安全和车站治安。后期将探头延伸至站房内各处,确保成品保护需要和工地防火、防盗的需要。
其工作流程图:
进场准备阶段: 图1 1 – 2
正常施工阶段:
竣工阶段:
1 1 . 3 . 2 对钢结构工程分包管理
1 1 . 3 . 2 . 1 钢立柱吊装,屋面钢结安装是本工程的关键工作,它的质量、进度直接影响到整个站房的施工成败和目标工期的保证。
1 1 . 3 . 2 . 2 会同业主、设计、监理、分包方对钢结构部分图纸进行设计交底和图纸会审, 并形成图纸会审记录。
1 1 . 3 . 2 . 3 对分包单位提交的施工方案,包括钢结构加工、吊装方案进行审核。对其中的保证质量的材料,包括钢材、焊割、螺栓、高强度螺栓连接副、悬钢索、屋面材料全数检查, 以及焊接要求重点把关, 参与对钢立柱、屋面钢梁吊装的方案的制定和审核工作。
1 1 . 3 . 2 . 4 由钢结构幕墙安装配合部,根据分包提供并审批的进度计划,对现场进行协调, 为吊装工作做好现场布置准备工作。
1 1 . 3 . 2 . 5 由安保部对其提供的安全措施进行审批,并结合总包的现场实际情况,共同制定钢结构吊装的安全保障措施和应急预案,该方案由业主工程部审批。
1 1 . 3 . 2 . 6 由创优部对其提供质量保证措施,提出修改意见,对其钢结构加工和安装的质量进行实测实量,以保证施工质量达到合格,确保整个站房工程创“ 鲁班奖” 成功。
1 1 . 3 . 2 . 7 对与钢结构施工有关的钢筋混凝土结构分部,幕墙安装,智能建筑( 消防, 照明等) 安装工程由配合部进行协调配合。
1 1 . 3 . 2 . 8 工程资料最后由资料室按总承包项目管理要求收集并整理成册。
1 1 . 3 . 3 对玻璃幕墙的分包管理
1 1 . 3 . 3 . 1 本工程设计晶莹剔透、舒展大方,同站房大量使用玻璃幕墙分不开,因此幕墙的分包控制是本工程又一重点和难点。根据我单位长期施工大型公共建筑积累的经验, 在业主的指导下和监理监督下一定能将幕墙这一特殊的子分部工程施工好。
1 1 . 3 . 3 . 2 选择具有专业分包幕墙资质的单位,以及符合相关条件,有施工承包能力的施工队伍进场施工。
1 1 . 3 . 3 . 3 会同业主、设计、监理、分包方对玻璃幕墙部分图纸进行技术交底和图纸会审, 并形成图纸会审记录。
1 1 . 3 . 3 . 4 对分包单位提交的施工方案, 包括钢立柱( Φ 40 2, Φ 6 0 0 )、钢桁架的吊装和玻璃幕墙五金安装方案进行审核。
1 1 . 3 . 3 . 5 对分包单位提供的材料进行现场抽样检查,按同一厂家生产的同一型号、规格、批号的材料作为一个检验批,每批随机抽取3 %且不少于5 件。检验结果须达到设计要求、标准要求和产品标准要求。
1 1 . 3 . 3 . 6 检验主要材料有钢材、玻璃、硅酮结构胶及密封材料、五金件、幕墙竖直索、锚具及其他配件。
1 1 . 3 . 3 . 7 由安保部对其提供的安全措施进行审批,结合现场实际,共同制定玻璃幕墙安装的安全实施要点和应急预案, 该方案由业主工程部审批。
1 1 . 3 . 3 . 8 由创优部对其提供质量保证措施, 提出修改意见, 对其吊装Φ4 0 2 *9、Φ 4 0 2 * 1 6 、Φ 6 0 0 * 2 0 钢立柱和幕墙拆架, 点支承点和竖直索, 玻璃安装的质量进行复测实量, 以保证施工质量达到合格, 确保幕墙装饰分部工程达到验收标准。
1 1 . 3 . 3 . 9 对与幕墙施工相关的钢筋混凝土结构分部,钢结构分部、智能建筑分部工程由配合部进行协调配合。
1 1 . 3 . 3 . 1 0 施工中工程资料, 竣工后由资料室按总承包项目管理要求统一编收, 整理成册。
1 1 . 3 . 4 对建筑装修装饰分部工程的分包管理
1 1 . 3 . 4 . 1 由施工部协调以分包合同规定的装修装饰工程质量、工期、安全等要求, 总包技术部会同安保、施工、治安等部门编制详细、完善的施工技术措施和质量保证措施, 安保计划和治安、消防措施, 并监督实施。
1 1 . 3 . 4 . 2 结合总承包对工期的要求,分包单位编制合理的工期进度计划,使装饰工程处于总工期的受控状态之下, 以确保总工期的如期完成。
1 1 . 3 . 4 . 3 装饰各分项工程开展之前,以“ 样板间”,“ 样板段”引路,经业主、监理、设计、总承包检验合格后, 方可全面展开。
1 1 . 3 . 4 . 4 每周召开一次分包协调会,及时解决各分包之间与总包之间的矛盾和问题,按总体部署,落实总承包、业主的管理意图与要求,确保工程顺利进行。
根据装饰工程的不同阶段, 尽可能做到与主体结构、建筑电气、消防、通风、通讯等分部分项工程交叉作业, 穿插施工, 有条不紊。
1 1 . 3 . 4 . 5 全面负责监督、检查、管理各分包对装饰产品的保护工作,确保装饰工程质量, 从而顺利通过验收。
1 1 . 3 . 5 对建筑电气、供热采暖、通风与空调、智能建筑( 含火灾报警, 消防联动, 通信网络, 办公自动化等) 分部工程的分包管理。
1 1 . 3 . 5 . 1 由总承包管理部的水电安装及配合部进行协调配合,由负责安装的项目副经理总负责。
1 1 . 3 . 5 . 2 由分包单位根据总包的工期进度安排和质量要求, 向业主、监理、总包单位提交详细的施工方案和各项保证措施, 由技术部汇同水电安装配合部,对其提交方案进行审核, 进而由业主工程部进行审批。
1 1 . 3 . 5 . 3 安保部对其提交的安保计划和安全技术措施进行审核、修改、批准、监督分包单位的安全消防工作, 使其纳入总包管理, 对其动火审批, 安全用电,机械防护等危险源予以重点管理。
1 1 . 3 . 5 . 4 每周召开一次分包单位例会,划清工作界面,明确责任范围,落实总的进度计划, 协调和解决安装分部工程与其它分部工程出现矛盾和问题, 同时及时协调解决材料供应( 包括甲供材料), 劳动力调配, 施工用电、用水, 垂直机械的协调等具体问题。
1 1 . 3 . 5 . 5 在主体结构施工中,混凝土浇筑前,按施工图确定预埋配件,预埋套筒, 管线槽, 孔洞, 榫眼等位置, 并配合专业分包确定放置电缆, 电线管, 其它管道预埋配件的时间。
1 1 . 3 . 5 . 6 由水电安装配合部、创优部对其预埋工作和完成工作进行实测实量, 对达不到合格标准进行返工, 决不将不合格工序流向下道工序。
1 1 . 3 . 5 . 7 对安装分包的工程资料, 由资料室统一收集, 整理成册。
1 1 . 3 . 6 对电梯、自动扶梯分部工程的分包管理
1 1 . 3 . 6 . 1 根据业主选定的电梯安装单位, 由水电安装部进行配合管理。
1 1 . 3 . 6 . 2 对电梯安装需要用材料、机具、现场办公、生活设施等条件,根据合同约定的条件进行提供。
1 1 . 3 . 6 . 3 向电梯安装分包提供完整井道、坑道、机房及井道房图,根据图纸对实际的井道、坑道、机房、底坑等进行核对。如发现不符之处, 及时通知有关人员, 做好记录并确定整改方案及完成时间。
1 1 . 3 . 6 . 4 到达现场的电梯及零配件,安装场地要设专人进行看管,注意防火、防潮、防盗, 根据工程总体进度计划, 安排电梯安装工作进度。
1 1 . 3 . 6 . 5 安装过程中,由水电安装配合部和创优部专人对其施工质量进行实测实量,尤其在试运行期,对轿厢,扶梯,控制柜,支架,地脚螺栓等反复检查,发现异常, 及时通知有关人员, 停止运行进行整改。
1 1 . 3 . 6 . 6 安装过程中,安保部对井道、坑道的临边防护,每天坚持巡查,做好记录, 发现违章违规及时制止, 同时监督分包单位各施工人员佩带齐全劳防用品( 工作服、工作鞋、安全帽、安全带等); 吊装时, 扶梯上禁止行走, 下面禁止站人;盘车和动车时,扶梯上禁止施工,并有专人看守,梯头、梯尾设警示牌,禁止闲杂人员靠近。
1 1 . 3 . 6 . 7 调整电气设备,施工时切断电源,慢车操作手柄和钥匙要有专人保管, 用小车运梯身、轿厢时, 应垫木板, 防止打滑。
1 1 . 3 . 6 . 8 每周召开一次例会,及时解决分包之间和电梯分包过程中遇到的各种矛盾和问题, 同时协调处理关于电梯、自动扶梯的成品保护等具体事项。
根据组织协调原则,外部协调环境分成近外层关系的协调和远外层关系的协调。本工程近外层关系是指与业主、监理、设计院、地铁等单位相互关系; 远外层关系是指与安监站、质监站、政府主管部分、公安、环保、环卫、市容、居民等相关单位。
总承包单位与工程有关部门对口协调人员一览表
表1 1 – 3
序号 | 相关部门名称 | 总包方对口部门 | 总包方负责 |
1 | 业主 | 项目经理部、办公室 | 项目经理 |
2 | ** 火车站 | 车站、地铁协调部 | 项目经理、总协调 |
3 | 设计院 | 技术部 | 项目总工程师 |
4 | 监理 | 施工部、水电安装配合部 | 项目副经理1 项目副经理3 |
5 | 甲方指定供货单位 | 物资部 | 项目副经理1 |
6 | 安监站 | 安保部 | 项目副经理1 |
7 | 质监站 | 创优部 | 项目副经理2 |
8 | 派出所(警署) | 治安室 | 总协调 |
9 | 交警、市容、环卫、环保、居委会、居民 | 办公室 | 总协调 |
10 | 供电、上下水、电话、煤气等 | 后勤保障部 | 总协调 |
11 | 与工程相关人 | 办公室 | 总协调 |
1 1 . 4 . 1 与业主和**火车站的协调
首先说明的是招标文件中说到“ 业主” 即上海铁路局**站站房工程建设指挥部, 指挥部是**分局为建设站房成立的专门机构。
在实施本项目的过程,即是为业主服务和提供服务产品的过程。质量管理体系的要求中八项质量管理原则之首,即是以顾客为关注焦点,即应当充分弄清顾客( 业主) 当前和未来的需求, 满足顾客要求并争取超越顾客期望。
1 1 . 4 . 1 . 1 根据合同的约定,我们将绝对履行合同中的各项承诺,按照达成的进度、质量、安全、文明施工各方面计划。对工程实行项目管理, 通过良好的合作, 全面履行合同。
1 1 . 4 . 1 . 2 努力配合**站旅客高峰期( 高峰期是指春运、暑运、五一、十一等重大活动期间) 旅客运输工作, 力争提前使用临时候车室和临时行包房, 为旅客运输和行包运输创造一个较好的过度环境。
1 1 . 4 . 1 . 3 给业主和**站提供文明施工的环境,做好施工现场的安全防护,以及施工过程中,现场派专人对作业区与旅客上下车交叉口,行包车行驶交叉口加强防护, 增派人员协调、疏通、引导和对通道二十四小时保洁。
1 1 . 4 . 1 . 4 对现场的文明施工, 材料堆放, 施工车辆进出, 施工人员的管理,严格执行我单位有关规定外, 同时对我方的提出意见进行落实。
1 1 . 4 . 1 . 5 对于业主、车站提出的涉及运营的紧急事项,立即派人办理,决不拖延。如遇突发事件, 我单位将立即启动应急救援预案, 紧急通知各方, 尽一切资源予以抢救, 将损失降低到最小程度。
1 1 . 4 . 1 . 6 我单位治安室和联防队,配合业主、车站派出所,做好节假日旅客运输高峰期的车站稳定工作, 协调处理法轮功等各种破坏稳定的事项,同时做好施工区域内和周围的刑事案件的预防、预控工作。同车站派出所做好车站治安工作, 防火、防盗, 打击违法犯罪活动。
1 1 . 4 . 1 . 7 对甲方供应材料,我单位认真提出计划,质量要求以及其它建设性意见, 协助做到甲供材料的采购、运输工作, 对到场的设备和材料, 予以积极取样复验。复验通过的材料, 予以妥善保管; 在物资部中, 抽调人员组成甲供材料组, 订立实施方案, 目标只有一个: 一切服从**站, 服务业主, 节约投资, 保障到位。
1 1 . 4 . 1 . 8 作为**站站房工程总承包单位,充分履行总包职责。从进度、质量、安全、成本进行控制; 从现场、合同、信息、生产要素进行管理, 组织协调内外层关系, 实现**站的工期、质量、安全、文明施工总目标。
1 1 . 4 . 2 与监理、设计的协调
1 1 . 4 . 2 . 1 为了保质、按期完成本工程,本着为业主着想的宗旨,在施工全过程中, 将加强与设计院、监理的密切联系。
1 1 . 4 . 2 . 2 配合业主组织设计交底和图纸会审,以及设计深优化和技术咨询工作, 以及将各分包方的意见和图纸上的问题, 提供给业主, 并反馈给设计单位。
1 1 . 4 . 2 . 3 在施工过程中,配合业主组织设计院、专业分包单位进行技术交底,代表业主进行设计内容、技术方面的工程协调, 负责审查施工方案, 并提出书面意见, 上报业主工程部。
1 1 . 4 . 2 . 4 及时向业主和设计院现场代表、设计院、监理书面提出施工图设计可能出现的疏漏缺陷, 或尺寸差异或资料不足等问题, 及时报业主、监理、设计单位, 确认后按照设计单位或补充的施工图指导施工单位进行施工。
1 1 . 4 . 2 . 5 项目部定期召开工程例会,可邀请设计参加协调例会,及时解决设计或搭接中出现的疑难问题, 以保证施工顺利进行。
1 1 . 4 . 2 . 6 按规范规定,对工程的测量定位、轴线、基坑开挖验槽、验桩等分部工程验收, 及时通知设计参与验收。
1 1 . 4 . 2 . 7 根据质量计划中的材料检验计划, 材料到场及时通知监理见证取样, 对重要材料经试验验收, 经试验合格后方可放行使用。
1 1 . 4 . 2 . 8 对工程施工过程中, 隐蔽验收项目, 经过施工方进行“ 三检” 后,方可交业主、监理验收, 未经验收不得进入下道工序。
1 1 . 4 . 2 . 9 对于施工过程中出现的质量问题,首先查明问题原因,督促和检查施工单位拿出处理方案,报业主、监理后报设计批准,彻底处理到位,不留隐患,不影响工程最后创优。
1 1 . 4 . 2 . 1 0 每周组织一次有业主、监理、总包、分包参加的工程质量抽查和质量评审。对现场和内料, 以及管理当中存在的问题进行讲评, 并限期整改。
1 1 . 4 . 2 . 1 1 根据各专业分包的合同要求和设计文件要求, 同监理一起对分包单位提供的方案、材料、设备等进行审核、验收, 同时进行必要的抽查, 经复核后, 方可进行专业分包内容的施工。
1 1 . 4 . 2 . 1 2 工程竣工完成时, 由业主、监理组织总包、各专业分包对工程项目进行综合评估, 对观感差的分项工程进行整改, 最终成优后, 申报“ 鲁班奖”。
1 1 . 4 . 3 与地铁施工单位的协调
1 1 . 4 . 3 . 1 经现场踏勘,* *市地铁1 号线**站正在施工,南北走向,斜向穿过火车站站房工程,即站房⑥ ~ ⑦ ~ ⑧ 轴线为地铁区域。地铁正在施工围护桩和和工程挖孔桩。预计围孔桩挖完后进行明挖法土方施工,到时会对站房施工和旅客人流、行包的运输有很大的影响, 为了缩小影响, 确保车站的正常运营和站房工程的目标如期实现, 在前文从施工部署上充分考虑相互关系外,日常两家施工单位同车站、建站指挥部**分局保持经常性沟通, 协调处理好相互交叉影响问题。
1 1 . 4 . 3 . 2 确定每周一到两次定期的协调会,如遇紧急事项也可随时召开碰头会, 协调处理相互间碰到的各种问题。我单位由总协调负责, 由车站、地铁协调部专门负责落实各项事宜。
1 1 . 4 . 3 . 3 同地铁施工单位搞好关系,彼此尊重,对遇到之间矛盾和问题,在两方充分谅解和尊重、信任的前提下,解决问题,同时拿出双方都能满意的方案。
例如: 地铁和站房共用出入口, 双方都要进材料, 运土方、泥浆, 这就给管理带来一定的难度,同时地铁向北施工会给第一站台和现有进站地道的使用造成极大影响,而第一站台进站地道担负着整个车站的旅客进站和整个车站的行包运输工作, 所以双方密切配合、共同做好协调工作, 对整个**站的建设和**在施工期间的正常营运, 起着决定性的作用。
1 1 . 4 . 3 . 4 在两个站房之间存在相互联系的进入口。地铁站柱与站房⑥ ~ ⑧ 轴线的柱是共同桩基。从工程本身来讲, 两个工程是紧密相联, 所以**站将发展成整个城市窗口和交通人流的枢纽。我们更有理由同地铁单位协调好,为建设**陆上大门形象工程作出我们贡献。
根据双方施工的特点和工期安排, 我们两家会在如下几点有些冲突:
1 1 . 4 . 3 . 4 . 1 施工现场进出口, 交通相互干扰;
1 1 . 4 . 3 . 4 . 2 地铁挖孔桩对旅客进站地道和第一站台有很大影响;
1 1 . 4 . 3 . 4 . 3 地铁挖土时对行包地下室和出站大厅地下室的施工有影响;
1 1 . 4 . 3 . 4 . 4 站房⑥ ~ ⑧ 轴线上部施工对地铁影响;
站房、地铁相互影响的对策对策见下表:
表1 1 – 4
序号 | 相互影响点 | 对策 |
1 | 施工现场进出口交通相互干扰 | 双方协商,错开进出材料时间 |
2 | 地铁挖孔桩围护对进站地道和行包车交通影响 | 待地道口加固好, 将行包车行走路线重新改道 |
3 | 地铁挖土对站房地下室的影响 | 错开施工时间 |
4 | 站房⑥~⑧轴线上部施工对地铁 | ⑥~⑧轴线区域,利用后浇带 最后施工,对地铁施工不影响 |
1 1 . 4 . 4 与站前广场的协调
1 1 . 4 . 4 . 1 在站房施工的同时,站前广场的施工进行施工准备阶段,因此站房施工除同地铁有关系之外,同站前广场也存在相互关系, 因为站前广场是组织* *火车站, 地铁站交通的重要组成部分, 包括过境交通, 车站进出交通和静态车交通停车, 同时综合考虑该地区环境与景观等方面的问题。
1 1 . 4 . 4 . 2 * * 站站房工程中出站大厅连接的地铁站和出站进入站前广场的地下停车库,上到地面有地面停车场,以及二层的高架车道桥上,进站环行立交桥,构成地下、地面和空中的立体交通型集聚中心。它们建成将极大发挥**陆上大形象作用, 为广大旅客、进行提供极大的便利。
1 1 . 4 . 4 . 3 根据现场了解,站前广场方案设计正在进入方案评审阶段,估计在站房施工到主体封顶时, 站前广场将进入实质性施工阶段。为此, 如若我单位中标, 我们将力争2 0 0 3 年底前主体结构全部完成, 包括钢筋砼结构部分、钢结构部分、轻钢屋盖部分、玻璃幕墙部分, 留有部分装饰工程和设备安装调试工程,以及通讯工程等。拆除位于站房南边的四台塔式吊机, 拆除现有广场的障碍物,给站前广场施工提供完善的施工现场。
1 1 . 4 . 4 . 4 密切关注站前广场的各项信息,同业主一道参与站前广场,参加施工的各类会议,为业主和站前广场提出意见和合理化建议。此事由我单位总协调负责, 由地铁、车站配合部负责各项事宜。
1 1 . 4 . 4 . 5 在站前广场施工之初, 我单位施工已经进入站房的后期施工阶段,密切双方配合,发现问题及时沟通。站前广场施工的站前地下停车库和高架桥肯定对站房南立面的装饰工程有很大影响,给我们成品保护带来极大的难度。我们将本着精诚合作, 共同建设好**站, 为* *人民城市建设做贡献宗旨出发, 精心组织, 提出问题预案, 在问题发生之前进行预案, 双方沟通, 对站前施工提出合理化建议, 将损失和影响降低到最小程度。
1 1 . 4 . 4 . 6 做好现场的安全防护、文明施工、综合治理工作,共同维护**、* *站, 维护企业在**人民和全国人民心目中的良好形象。
1 1 . 4 . 5 与周围居民、企事业单位的协调
在施工期间, 将不可避免因施工原因产生噪声, 会对周围居民、企事业单位的生活,学习带来一定的影响。我单位进场后,将由总协调负责带领后勤保障部、办公室、治安室等相关人员走访附近居民和企事业单位, 认真倾听他们的意见和建议,同时我们也将做一定宣传教育工作并取得他们的谅解。将他们意见和建议反馈到安保部以及其他相关部门, 认真制定针对性措施, 减少噪声等污染。对有特殊情况的, 我们将视情况给予一定的物资补偿。
1 1 . 4 . 5 . 1 夜间施工一定执行国家, **有关的规定精神, 如需夜间连续施工,将办理夜间施工许可证, 同时在居民和主要出入口以公告形式进行张贴。
1 1 . 4 . 5 . 2 对噪声大的设备,如:空压机、振捣棒、木工电锯等采用装消声器,加设隔声棚, 围墙四周加架设屏障等措施。
1 1 . 4 . 5 . 3 在中考、高考期间, 以及节假日期间, 严格执行有关规定, 夜间1 0 点至早上6 点之间不施工, 给考生提供一个好的休息环境。
1 1 . 4 . 5 . 4 安排清洁队,做好施工区域的文明施工,清扫垃圾,消除扬尘,以及监视噪声不得超标。
1 1 . 4 . 5 . 5 请居委会定期召集居民代表,就现场的施工进度和安排给居民讲清楚, 让居民做到心中有数, 对居民提出意见和建议尽全力做到, 如果现在做有困难, 给居民讲清楚, 取得他们的谅解。
1 1 . 4 . 6 与周围道路管线保护措施
由于* *站站房工程是在老的站房基础上新建,而且火车站还在正常营运, 因此保护**站的周围道路管线工作,不仅是施工的需要,同时更是确保车站正常运营的需要, 某一管线批破坏, 将导致火车站的混乱。
经现场踏勘, 本工程周边管线非常复杂, 既有地上架空高压线, 通讯光缆,同时还有周围地下管线,为了确保管线的安全,必须详细了解业主的地下管线图。
根据管线的使用情况和现场布置情况, 各管线保护措施见下表:
表1 1 – 5
序 号 | 现有管线现状 | 管线保护措施 |
1 | 东边架空电缆线,A 轴附近 | 开工初, 在A 轴外做施工电缆沟,临时将电缆放电缆沟中 |
2 | 上水管 | 在上水管上立预制砼,下标“有上水管” |
3 | 雨水管、污水管 | 考虑施工期间雨水和经沉淀污水排放,确保水管畅通,在地上用黄色油漆标出 |
4 | 煤气管 | 如果在建筑物附近,开挖地下室对其有影响,可采用直接开挖暴露,以免挤裂漏气发生危险 |
5 | 对铁路通信光缆 | 如不能下埋电缆沟,搭设脚手架防护 |
工地现场车辆进出通道应避开管线,塔吊旋转范围内避开电缆线, 如无法避开,可在车辆经过的位置用砼配钢筋加固路面或铺设钢板。搭设防护电缆线的脚手架, 同时对加塔吊起重臂的限位。
在上水管、雨水管、污水管、煤气管上面不能堆放重物,如:砂、石、钢筋、水泥等材料, 对施工现场清洗泵车, 泵管及施工临时通道产生的污水, 应经过沉淀后排入市政污水管道, 以免防止污水堵塞管道。
根据本工程实际情况,监测管线变形的建立信息化管理系统,将监测到的有关资料分类汇总, 形成图表曲线, 及时向业主汇报, 同时建立监测领导小组和超标报警制度, 督促施工单位以信息指导施工。
1 1 . 4 . 7 与安全质量监督站, 以及地方政府部门的协调我单位一旦中标, 便安排项目部安保部、创优部的负责人同**的安全、质量监督站和环卫、环保、劳动监察等部门取得联系, 办理有关施工所需手续, 并明确与之对口人员, 定期召开协调会, 取得联系, 加强沟通, 为今后施工期间及时解决各种问题创造良好的条件, 打下坚实的基础, 以认真的工作态度, 良好的工作作风, 树立企业的形象。
相关部门办理有关手续一览表
表1 1 – 6
序号 | 单位名称 | 办理证件资料内容名称 | 项目部相关部门 | 负责人 |
1 | 市交易中心 | 中标手续 | 单位市场部 | 法人委托人 |
2 | 市安全、质量监督站 | 安全、质量监督手续 | 安保部 | 项目经理 |
3 | 市建管处 | 施工许可证 | 合同部 | 项目经理 |
4 | 环保部门 | 夜间施工许可证 | 施工部 | 总协调 |
5 | 派出所 | 暂住证 | 治安部 | 总协调 |
6 | 卫生防疫所 | 健康证、卫生证 | 后勤保障部 | 总协调 |
7 | 环卫部 | 生活垃圾清理手续 | 后勤保障部 | 总协调 |
8 | 劳动监察部门 | 劳动力使用 | 办公室 | 总协调 |
9 | 城建档案馆 | 城建档案登记 | 资料室 | 项目总工程师 |
10 | 保险公司 | 保险事项 | 合约部 | 项目经理 |
11 | 居委会 | 计划生育、社区治安 | 后勤保障部 | 总协调 |
12 | 消防局 | 消防工作 | 治安室 | 总协调 |
13 | 城管市容 | 建筑垃圾、渣土 | 后勤保障部 | 总协调 |
根据项目管理的实际需要,对项目实行信息化管理,为预测未来和正确决策提供依据,提高管理水平,项目经理部应建立项目信息管理系统,优化信息结构,实现项目管理信息化。
1 1 . 5 . 1 针对* *站站房工程的实际情况, 项目经理部在项目总工程师的领导下, 设置资料室, 设专职项目信息管理员三名: 一名定负责人兼土建工程资料的收集管理( 含钢结构、幕墙、装饰分包工程);一名负责工程资料的收集管理( 含消防、通风、报警、通讯、电梯分包工程); 一名负责管理资料和创“ 鲁班奖”资料的收集整理, 如法律、法规、市内信息、企业的I S O 9 0 0 0 质量、职业健康安全、环境保护等内业资料, 以及创“ 鲁班奖” 的内业资料, 包括文字、图纸、数据、表格、声像资料等。
图1 1 – 3
1 1 . 5 . 2 项目经理部配备信息管理员,项目信息管理员经有资质的培训单位培训。项目经理部及时收集信息资料, 将信息资料准确、完整地传递给相关单位和人员。
1 1 . 5 . 3 项目经理部收集的信息及时、准确、齐全、有效,它包括在项目管理过程中形成的各种数据、表格、图纸、文字、声像、资料等。
1 1 . 5 . 4 项目经理部资料室负责收集、整理、管理* *站站房工程范围内的信息资料。作总承包负责各分包范围的信息收集、整理、汇总和整理各分包人的全部信息。
1 1 . 5 . 5 随着工程的进展计划,保证真实、准确,按照项目信息管理的要求及时整理, 经有关负责人审核签字。
1 1 . 5 . 6 * *站站房工程属大型项目且在华东乃至全铁路是具有一定影响力的工程, 根据企业的规定, 项目管理采用企业自主开展的管理软件, 对项目日常活动进行管理,规范和控制项目经理部各部门以及分包单位的活动,保证相关资料、信息在各部门及时流动, 同时确保项目部主要领导掌握全项目的每天的一举一动。同时也为项目业主、**站、监理等相关部门及时提供信息。
1 1 . 5 . 7 根据总体安排和以往经验,我们在大型公共建筑工程上,均安装电视监控设备, 设在交通出入口, 人流的集中地和工地四角。进出口设置监视探头,监控设备放在治安室, 以确保工地的治安、安全保卫工作, 安排专人负责值班监视,发生情况及时通报,启动应急程序。这样使现场和火车站地区的治安、防盗、安全防护, 工程进展均处于受控之中, 同时将监控信息与车站治安派出所相连,相互提供信息, 以便需要时出警处置。
11.5.8 总承包信息化管理必须执行《建设工程项目管理规范》GB/T5 0 3 2 6 - 2 0 0 1, 以及《建设工程文件归档整理规范》G B / T 5 0 3 2 8 - 2 0 0 1
1 1 . 5 . 9 项目经理部资料室收集的信息主要有以下内容
表1 1 – 7
序号 | 信息(资料)内容 | 收集部门 | 整 理 部 门 |
1 | 国家现行法律、法规行业,江苏** 市有关文件规定 | 技术部 | 资料室 |
2 | 有关** 市造价信息、物资情况调研 | 物资部、合约部 | 资料室 |
3 | 工程概况、场地与环境概况 | 技术部 | 资料室 |
4 | 参与建设(分包)各单位概况 | 合约部 | 资料室 |
5 | 施工合同、协议、工程造价书等 | 合约部 | 资料室 |
6 | 施工各种记录,施工技术资料 | 技术部、施工部、水电安装部 | 资料室 |
7 | 项目管理规划大纲和实施规划计划 | 技术部 | 资料室 |
8 | 项目进度控制资料 | 施工部 | 资料室 |
9 | 项目质量控制资料 | 创优部 | 资料室 |
10 | 项目安全控制资料 | 安保部 | 资料室 |
11 | 项目成本控制 | 物资部、合约部 | 资料室 |
12 | 项目现场管理 | 施工部、安保部 | 资料室 |
13 | 项目合同管理 | 合约部 | 资料室 |
14 | 材料、机具等管理 | 物资部 | 资料室 |
15 | 人力资源管理 | 办公室 | 资料室 |
16 | 机械管理 | 机械部、安保部 | 资料室 |
17 | 项目资金管理 | 财务部 | 资料室 |
18 | 技术管理、竣工验收、考核评价 | 技术部、施工部、创优部 | 资料室 |
19 | 项目组织协调 | 后勤保障、治安室、办公室 | 资料室 |
1 1 . 5 . 1 0 工程技术资料中, 按国家现行城建档案的验收标准外, 同时考核* *市和* *分局**站具体实际情况, 对工程技术资料的收集整理, 建档提高标准, 除书面文本文件外, 同时提交电子版光盘, 以便调阅、查询。
1 1 . 5 . 1 1 工程技术资料的收集整理的重点内容是:
表1 1 – 8
序号 | 归档文件 | 收集部门 | 整理部门 |
1 | 施工组织设计(质量计划) | 技术部 | 资料室 |
2 | 技术交底(作业指导书) | 技术部 | 资料室 |
3 | 图纸会审记录 | 技术部 | 资料室 |
4 | 施工预算编制和审查 | 合约部 | 资料室 |
5 | 施工日志 | 施工部 | 资料室 |
6 | 控制网设置,工程定位测量, 基槽开挖测量 | 施工部 | 资料室 |
7 | 施工安全措施 | 安保部 | 资料室 |
8 | 施工环境保护措施 | 安保部 | 资料室 |
9 | 地质报告 | 技术部 | 资料室 |
10 | 桩击施工记录,试桩记录 | 技术部 | 资料室 |
11 | 验槽记录和地基处理记录 | 施工部 | 资料室 |
12 | 设计变更、工程洽商记录 | 技术部 | 资料室 |
13 | 砂石、砖、水泥、钢筋、防水材料、 隔热保温出厂证明文件 | 物资部 | 资料室 |
14 | 砂石、砖、水泥、钢筋、防水材料、 焊条复试报告 | 技术部 | 资料室 |
15 | 钢结构构件、幕墙构件、零件出厂证明文件 | 物资部 | 资料室 |
16 | 钢结构构件、幕墙构件材料复试报告 | 技术部 | 资料室 |
17 | 砂浆(混凝土)配合比通知单 | 技术部 | 资料室 |
18 | 砂浆(混凝土)抗压强度试验报告 | 技术部 | 资料室 |
19 | 混凝土抗渗试验报告 | 技术部 | 资料室 |
20 | 商品混凝土出厂合格证,复试报告 | 技术部 | 资料室 |
21 | 钢筋接头(焊接)试验报告 | 技术部 | 资料室 |
22 | 防水工程试水检查记录 | 技术部 | 资料室 |
23 | 基础、主体结构钢筋、钢结构、防水工程、高程控制、隐蔽检查记录 | 施工部 | 资料室 |
24 | 沉降观测记录,结构吊装记录 | 施工部 | 资料室 |
| 检验批、分项工程、基础、主体、幕墙工程、 | 技术部 | 资料室 |
25 | 钢结构工程、分部(子分部)工程质量验收记录 |
|
|
26 | 安装工程中记录、报告、验收记录 室外工程中(略) | 水电安装及配电部 | 资料室 |
1 1 . 5 . 1 2 对材料信息的要求:
1 1 . 5 . 1 2 . 1 一经签字确认的资料, 及时存入计算机。
1 1 . 5 . 1 2 . 2 资料系统目录完整、层次清晰、结构严密、分类合理、表格自动生成。
1 1 . 5 . 1 2 . 3 管理软件在使用人明确各岗位的权限职责下, 专人维护数据。
1 1 . 5 . 1 2 . 4 对软件要求: 输入、整理、存储、提取、修改、补充、删除非常方便。同时考虑同其它信息留有接口, 便于信息沟通。
1 1 . 5 . 1 3 . 对创“ 鲁班奖” 的文档、数据、图表、声像资料, 由信息管理员专档管理, 除工程技术资料外, 对图纸、声像资料有严格要求, 每一个隐蔽验收和分部( 分项) 工程, 必须有图象资料( 多角度), 同时配合讲解说明。
12.合理化建议
根据我单位承包类似工程施工经验,**站站房施工图纸的深入了解和现场踏勘, 对本程提出如下建议:
建议一: 对项目经理部主要管理人员进行“ 军事” 训练建议对项目经理部主要管理人员的硬朗作风、责任心和团队精神,建议安排业主、监理、总包单位的主要管理人员拉到部队营房驻地进行为期一周的军事训练。训练的主要科目有: 早操、队列和部队严格的作风培训, 以及项目主要管理程序的学习。三方在一起进行沟通和相互了解,为干好**站做思想上的保证工作。
建议二: 成立材料采购小组, 降低材料成本。
**站站房规模较大, 三大材供较集中, 建议对甲供材料、乙供甲控材料, 成立材料采购小组。对大宗材料采购集中管理,这样可充分发挥总承包市场行情熟,信誉较好, 甲方发挥减少中间环节, 降低市场风险, 从而控制成本, 降低造价。
建议三: 地道施工技术
根据我单位, 对铁路既有线的过线地道的施工经验,将成熟的施工技术引进到**站的行包地道和出站地道的施工中。
建议采取便梁顶进技术。根据既有线同时运营的车站情况以及预制场地的限制, 可采取分节顶进。每节施工缝采取设橡胶止水带防水措施, 箱体中心及标高精确控制。
建议四: 取消地下室施工时的降水方案
根据现场踏勘和走访正在地铁施工的单位, 了解到目前地铁围护桩为挖孔桩,施工到12m 左右,基本上没有大的明水出现,而且7 轴线上四个大的挖孔桩,深达25m, 现成为集水井形成集中水井排水; 因此, 两侧的行包地下室和出站大厅地下室( 挖深8m) 在目前季节不可能出现大的集水和潜水。
建议五:行包和出站地道在基本站台处的围护桩, 建议采用钻孔桩与挖孔桩相间隔施工。
根据现场的实际情况, 行包地道和出站地道在基本站台处施工时,均要进行桩围护。现场正在进行地下室的围护支撑施工, 为节约工期, 可将基本站台上的地道围护桩先间隔施工钻孔灌注桩,这样总承包单位中标进场,可直接进行挖孔桩施工, 从而加快施工进度。
建议六: 在抹灰时, 阳角嵌加塑料条
根据我单位在历次创优施工经验中, 创优工作, 特别是创“ 鲁班奖”, 除质量实测等级和使用功能达到要求,观感得分也很重要,观感主要看的是工程的实作中, 有没有特色, 现在, 我单位普遍采用的滴水线加塑料条和阳角加塑料条,在工程使用得到较好的效果, 业主反映特别好。它既取得保护阳角的作用, 同时确保阳角挺括。因此建议业主在**站站房中采用。
建议七: 适当提高砼等级
由于**站站房工程, 土建工程量所占比重不大, 但它的施工快慢, 直接制约着后续钢结构吊装和玻璃幕墙的安装, 以及设备安装, 因此适当提高砼等级, 提前达到一定强度值, 可提前拆模, 加快土建施工进度。
建议八: 各种管线吊架预埋锚固螺母
根据我单位已成熟的施工技术, 在需要打膨胀螺栓来吊设线架之处, 准确定位在现浇砼时预埋锚固螺母,可减少或避免电锤对现浇结构的破坏, 消除施工隐患, 大大提高站房施工质量。
建议九: 沥青加环氧树脂绝缘处理
施工图纸原设计为防止雷击是裸露接地体在地面形成跨步电压,主站房B 轴18 根钢柱在地面以下进行绝缘预埋, 即在每根立柱四周50-80mm 厚地沥青, 沥青层顶部比室内地面标高低0.1m, 沥青环绕立柱铺设, 环状宽度不小于2m。考虑到沥青为软性物质, 根据温度的变化会发生形变,而沥青顶部比室内地面标高低0.1m,沥青环绕立柱铺设,环状宽度不小于2m,沥青层的面积比较大,对地面的强度稳定性会造成影响,因此建设采用沥青加环氧树脂的做法,既能保证防止雷击时裸露接地体在地面形成跨步电压又能加强地面强度的稳定性,保证面不变形。
建议十: 施工缝及后浇带采用快易收口网施工工艺
由于本工程结构呈带形式,故存在大量的施工缝及后浇带。如该工序处理不好, 将会对结构留下隐患。根据我单位已成熟的施工技术, 采用快易收口网施工工艺, 消除施工隐患, 大大提高工程质量, 同时又保证安全文明施工。
建议十一: 冷拔带肋钢筋
根据我单位成熟的施工工艺,建议楼板配筋采用冷拔带肋钢筋。此种钢筋既可以降低工程造价,又因为其本身的特性在施工时,可以最大程度上保证钢筋的施工质量。防止因踩踏使楼板配筋偏离其设计位置, 影响工程质量。
建议十二: 建议业主提前在北面增加临时站台, 利用已有到发线, 分担部分旅客列车运营作业,并将此到发线加长。需要注意的是临时站台边距离最近轨道中心线不小于2.55m。
建议十三: 建议在基本站台封闭施工前, 提前施工完两个正式进站天桥, 将东边天桥架空接长至出站口,使之成为临时出站天桥,西边天桥架空至现有进站通道西配楼P7 轴线, 使之成为临时进站天桥, 以解决基本站台施工期间的旅客进出站问题。
建议十四:项目部由总协调派专人同车站安技科保持经常联系,及时沟通信息; 以便通知各作业点做好配合车站营运作业工作, 特别是在节假日、黄金周、春运、暑运运输高峰以及专运、特运、兵运等特殊运营作业时。
建议十五: 建议对施工图进行深化设计并提供安排计划。
建议十六:**站站房是**市的陆上大门标志性工程,根据现有施工图装修说明, 建议业主协调设计院, 适当提高室内外装修标准, 以适应使用功能和时代发展的要求。
建议十七:根据**站施工对车站正常作业影响较大,我方提出在西配楼结构封顶后, 为车站提前提供临时候车室和临时行包房的建议。
建议十八: 根据现场踏勘, 地铁施工已经给站房施工带来影响, 建议地铁施工加快进度, 尽早为站房施工提供工作面;同时建议业主协调好站前广场的施工进度, 确保站房和站前广场两个工程能同步建成。
附:主要施工图、表清单
序号 | 图 | 名 | 编号 | 所在章节 |
1 | 基础、主体施工阶段旅客进出流向及安全防护示意图 | 图2-1 | 2.2.9 | |
2 | 基本站台施工阶段旅客进出流向示意图 | 图2-2 | 2.2.9 | |
3 | 站房工程基础主体施工阶段行包通道示意图 | 图2-3 | 2.2.9 | |
4 | 临时候车室布置平面图 | 图2-4 | 2.2.10 | |
5 | 临时行包房布置图 | 图2-5 | 2.2.10 | |
6 | 地下部分施工段的划分图 | 图2-7 | 2.4.1 | |
7 | 地上部分施工段的划分图 | 图2-8 | 2.4.1 | |
8 | 总体施工程序 | 图2-9 | 2.4.2 | |
9 | A 区施工流程图 | 图2-10 | 2.4.2 | |
10 | B 区施工流程图 | 图2-11 | 2.4.2 | |
11 | C 区施工流程图 | 图2-12 | 2.4.2 | |
12 | D 区施工流程图 | 图2-13 | 2.4.2 | |
13 | E 区施工流程图 | 图2-14 | 2.4.2 | |
14 | F 区施工流程图 | 图2-15 | 2.4.2 | |
15 | G 区施工流程图 | 图2-16 | 2.4.2 | |
16 | H 区施工流程图 | 图2-17 | 2.4.2 | |
17 | I 区施工流程图 | 图2-18 | 2.4.2 | |
18 | 基本站台施工区总流程图 | 图2-19 | 2.4.2 | |
19 | E 区主体结构进度示意图 | 图2-20 | 2.4.3.1 | |
20 | F 区主体结构进度示意图 | 图2-21 | 2.4.3.1 | |
21 | G 区主体结构进度示意图 | 图2-22 | 2.4.3.1 | |
22 | H 区主体结构进度示意图 | 图2-23 | 2.4.3.1 | |
23 | I 区主体结构进度示意图 | 图2-24 | 2.4.3.1 |
序号 | 图 | 名 | 编号 | 所在章节 |
24 | 南京火车站站房地下结构部分施工进度示意图 | 图2-25 | 2.4.3.1 | |
25 | 南京火车站站房地上结构部分施工进度示意图 | 图2-26 | 2.4.3.1 | |
26 | 南京火车站站房工程总包进度控制网络图 | 图2-27 | 2.4.3.2 | |
27 | 南京火车站站房工程网络进度计划图 | 图2-28 | 2.4.3.2 | |
28 | 南京火车站站房工程施工进度计划表 | 表2-3 | 2.4.3.2 | |
29 | 南京站站房土建工程劳动力月计划表 | 表2-7 | 2.4.6.2 | |
30 | 基础施工阶段平面布置图 | 图3-1 | 3 | |
31 | 主体施工阶段平面布置图 | 图3-2 | 3 | |
32 | 临时用电平面布置图 | 图3-3 | 3 | |
33 | 临时用水平面布置图 | 图3-4 | 3 | |
34 | 现场电子监控平面布置图 | 图3-5 | 3 | |
35 | 钢管柱主要尺寸结构一览表 | 表4-1-17 | 4.1.17.1 | |
36 | 土建主体钢管柱分节表 | 表4-1-18 | 4.1.17.2 | |
37 | 主体钢管柱分布示意图 | 图4-1-33 | 4.1.17.2 | |
38 | 南京站站房改建工程基本站台施工期间旅客进出站临时通道示意图 | 图4-1-48 | 4.1.18.2 | |
39 | 基本站台基本情况图 | 图4-1-49 | 4.1.18.9 | |
40 | 出站地道施工人行道施工图 | 图4-2-8 | 4.2.12.5 | |
41 | Q24 便梁、扣轨加固线路布置图 | 图4-2-9 | 4.2.11.16 | |
42 | 南京站优质工程(鲁班奖)管理图 | 图6-1 | 6.3 | |
43 | 塔吊限位示意图 | 图7-7 | 7.4.4.4.9 |