北京某新建电视台施工组织设计

目录

              7

              7

              7

              7

              8

              10

              12

              13

              30

              30

              30

              32

              35

              35

              41

              41

              41

              42

              45

              45

              78

              123

              128

              135

              138

              181

              182

              218

              356

              397

              407

              517

              605

              806

              815

              841

              881

              899

              912

              940

              964

              964

              964

              966

              985

              986

              1022

              1073

              1117

              1117

              1148

              1159

              1171

              1179

              1193

              1203

              1225

              1225

              1227

              1232

              1254

              1255

              1284

              1302

              1302

              1305

              1317

              1319

              1381

              1397

              1405

              1417

              1419

              1421

              1425

              1426


第1章第一册

第1节前言

本篇以摘录招标文件、招标图纸等资料方式简要阐述了工程总体概况、设计概况及施工条件。

在本篇中,本投标人明确表示对招标文件中有关技术要求的响应。

 

第2节建设项目概况

1、工程概况

1.1 工程名称:**电视台新台址建设工程B 标段施工总承包工程

1.2 工程地址:北京市****中路32

1.3 建设单位:**电视台新台址建设工程办公室

1.4 设计单位:建筑设计--**建筑事务所

合作设计单位--**建筑设计研究院有限公司

结构设计--***工程顾问

机电设备设计--***工程顾问

声效顾问--**生声学设计研究所

演播厅顾问--**广播电视科技系统有限公司

1.5 监理单位:待

1.6 建筑规模:总建筑面积103648m2,其中地上69132m2,地下34516m2

1.7 数:地下2 层,地上30

1.8 承包方式:施工总承包

1.9 招标范围:土方工程、基础工程、钢筋混凝土工程、钢结构工程(包供应、设计、加工及安装)、装修工程、地下室机电预埋工程、室外工程、其他零星工程。

1.10 要求工期:计划开工时间:2005 03 (暂定);计划竣工时间:2007 09 30 日。

1.11 质量要求:合格,北京市建筑(竣工)长城杯

2、建筑设计概况

2.1 建筑功能

**电视台新台址工程B 标段电视文化中心(**)工程,地下2 层,地上30 层,建筑物高度为159m。地上建筑主要由两部分组成:**电视台的电视文化中心和五星级的豪华酒店。酒店在**大楼主体,电视文化中心在大楼低区部分,包括剧场、录音棚、数字电影院等。地下建筑功能主要为车库;货物的装卸区和储藏空间及各类机电用房。

2.2 建筑特点

本工程主体采用钢筋混凝土-钢结构混合结构,外立面为金属幕墙系统。南立面上各种变化的形体均采用玻璃纤维增强混凝土板幕体系。裙房部位局部为钢筋混凝土墙面。金属斜屋顶为定制成型金属幕墙系统。

电视文化中心及其剧场、公共设施和酒店是一个开放的并具有邀请姿态的建筑,成为一座既向酒店客人又向公众提供服务的综合性文化设施。新址工程将成为首都北京的标志性建筑物,并由此向全世界展示**电视台新的面貌。

2.3 ±0.00 标高:+38.90m

2.4 建筑层标高:B2 层:-10.000-11.900-17.900mB1 层:-6.400m01 层:+0.000m02层:+7.000m03 层:+11.000m04 层:+14.500m05 层至26 层每层层高4.000m26 层:

+102.000m27 层:+122.000m28 层:+126.000m29 层:+130.000m30 层:+134.000m

2.5 建筑高程:+159.000m

 

3、主要功能房间分布

(专业房间分布没提供)

序号

功能房间

分布

1

酒店客房

酒店6层至26层

2

酒店风味餐厅

酒店27层至28层

3

剧场

文化中心

4

录音棚

建筑的西端

5

数码影院

剧场的北部

6

多功能厅

酒店底部的中心

7

新闻分布厅

建筑的东侧二层

8

展厅

建筑的东侧二层

9

新风机房

酒店29层

10

风机房

地下2层、酒店14、29层

11

水泵房

地下2层

12

大楼控制中心

1层

13

旅馆防火监控室

酒店5层

 

4、结构设计概况

4.1 结构形式:

结构类型为钢筋混凝土结构、钢结构混合结构,其中:

基础结构为混凝土灌注桩及筏板基础;

地下结构为现浇钢筋混凝土剪力墙;

主体结构为现浇钢筋混凝土剪力墙;

屋盖结构为单层空间钢网架。

4.2 基础类型:桩基及桩筏基础。

4.3 主要材料:

4.3.1 混凝土:

地上结构:结构构件混凝土强度等级不小于C40。酒店:梁、板为C40;柱及墙为C60C50(F14-屋顶)。裙楼:录音室柱、梁、板及墙为C40;剧院梁、板为C40,柱为C60;舞台及后台室柱、梁、板及墙为C40

地下结构:酒店:梁、板为C40;柱及墙为C60。其它:柱及墙为C50;梁及板为C40

基础为C40;剧院柱为C60;挡土墙为C40;底板及外壁为结构自防水,防水混凝土抗渗等级为S8

4.3.2 钢筋种类:HPB235HRB335。钢筋直径:68101214161820222528 32mm

4.3.3 钢材种类:Q345Q390。均采用不少于Q345 的型钢。

4.3.4 螺栓连接

普通螺栓应符合现行国家标准《六角头螺栓-A B 级》(GB/T 5782)和《六角头螺栓-C级》(GB/T 5780)的规定。

除非另有说明,所有螺栓连接节点采用10.9 级摩擦型高强度螺栓。

高强度螺栓应符合现行国家标准《钢结构高强度大六角头螺栓、大六角头螺母、垫圈与技术条件》(GB/T12281231)和《钢结构用扭剪型高强度螺栓连接副》(GB/T 36323633)的规定。高强螺栓摩擦面处理方法采用喷砂,抗滑移系数不得小于0.45

5、机电设计概况

5.1 给水排水工程

5.1.1 生活给水系统

1. 水源:由红线生活消防合用管网上引入一根DNl50给水管至**地下二层水泵房间,由专用软化设备处理后进入生活给水蓄水池,其水池容积为100m3,以供本楼室内生活用水,引入管在总体上设子水表计量。

2. 水质处理方式:生活用水采用软化处理。

3. 供水方式及管网竖向分区:系统采用水箱()水泵联合、垂直分区、并联和串联相结合的供水方式。竖向分低、中、高三个区。即地下二层~五层为低区,六层~十三层为中区,十四~二十九层为高区。在地下二层水泵房内设置三套变频加压泵组。

5.1.2 中水给水系统

1. 水源:由红线内的中水给水管上引入一根中水引入管至地下二层水泵房中水池,水池蓄水容积为20m3,以供本楼室内中水用水,引入管在总体上设子水表计量。

2. 供水范围:中水供水范围为全大楼内卫生间的冲洗水。

3. 供水方式及管网竖向分区同给水系统。

4. 系统预留深度处理的设备间,并考虑设置生活给水的应急补水管,向中水蓄水池补水。

5.1.3 直饮水系统

1. 采用市政生活给水水源作为直饮水的源水。再进行深度处理和消毒后,由管网供至各用水点。

2. 供水范围:大楼内开水间的冷热饮用水、宾馆客房饮用水及厨房部分的食用水。供水方式及管网竖向分区同给水系统。

3. 水质处理:源水在地下二层泵房集中处理,处理方式采用砂滤+碳过滤+精滤+膜过滤,处理后的水经紫外线消毒器处理后注入直饮水专用水箱。管网采用全日制机械循环,每个分区循环管网中均设紫外线消毒装置,以确保管网系统中的水质。

5.1.4 生活热水系统

1. 分散式热水供应系统:大楼内部分卫生间和开水间的热水为分散式供水,就地采用容积式电热水器制备,供水水温50

2. 集中加热供水系统:裙房部分卫生间、化妆间,厨房、餐厅及宾馆客房卫生间等热水采用集中加热,采用容积式水水换热器制备热水。

5.1.5 排水系统

1. 生活污、废水系统:室内排水采用污,废水分流制,地下车库废水经聚集型矿油分离器处理,并由排水潜水泵加压后排至室外。

2. 主楼屋面及部分裙房屋面排水采用重力流雨水系统。

5.2 暖通空调工程

5.2.1 空调风系统

1. 629 层客房部分及34 层通讯用房,空调系统采用风机盘管加新风系统,对室内的空气进行调节,新风机组设置在服务楼的29 层,从竖井向每层分配新风。

2. 非标层的剧院、休息厅、会议室、舞厅、体育馆、游泳场、录音厅及餐馆、厨房采用全空气系统,单独设置空调机组、排风机进行空气调节。剧场大厅及剧场观众厅的气流组织为下送上回的送风形式,从设在舞台及观众厅座椅下的风口向室内送风,利用剧场上空的回风管回风。

3. 地下车库空调采用热盘管空调风机,冬季只对车库内供暖,夏季进行自然通风,同时设置单独的排风系统对室内进行换气。

4. 客房内的卫生间设置单独的排风系统。

5.2.2 消防排烟系统:

1. 剧场、休息厅、舞厅、体育馆、录音厅、楼梯间、楼梯前室均设消防排烟风口及正压送风口,低区部位的消防风机及正压送风机设在地下2 层,高区部位的风机设在1429 层。

2. 地下一、二层的餐厅、厨房、走道及洗衣机房内采用排风兼排烟系统,平时排风,着火后排烟,排烟风口采用常开排烟防火风口。

5.2.3 空调水系统

**制冷站设在服务楼,通过Φ600 的主管道向**提供冷冻水,送至位于**的地下二层的机房,通过6 台水泵(1 台备用)加压后送至未端各空调设备。空调水系统管道为四管制,冷热水可分别供给空调设备。

5.2.4 采暖及蒸汽系统

**低压热水分两部分产生,一部分由区域蒸汽总管引入,通过分离器和减压阀减压后供给7 台蒸汽低压热水换热器,通过热交换产生80的热水;另一部分由区域热水总管直接供给9 台水水热交换器,产生80的热水。产生的热水又分两部分,一部分供给系统未端空调设备,作为机组热源;另一部分供给设在热水机房中的热交换器,作为生活一次热水的热源。热水系统的补水管接在总回水管上,并设有增压装置和化学处理装置。

蒸汽系统由区域蒸汽管道供应,一部分通过分离器和减压阀减压后供给低压热水系统,作为低压热水系统热源的一部分;一部分通过分离器和减压阀减压后送至洗衣店;其余部分通过分离器和减压阀减压后送至末端空调设备,供机组加湿。并且为洗衣店设置独立的蒸汽系统,在地下一层设蒸汽锅炉房,设有3 台电热蒸汽锅炉,产生高压蒸汽供洗衣房使用。

5.3 消防工程

5.3.1 消防水系统

1. 本工程将安装下列消防服务管网系统:

1) 自动喷淋系统;

2) 室内消火栓及软管绞盘安装;

3) 固定气体灭火装置安装;

2. 消防系统给水

消防系统给水是从市政总管输送到位于CCTV 地下室的消防水箱。消防栓水泵和喷淋水泵被安装在水箱附近的专用水泵房内。

3. 自动喷淋系统

1) 自动喷淋水泵安装在CCTV 大楼内,并由此通过分管分送其他大楼。通过安装在大楼内的干式或湿式喷淋报警阀和支管的水流阀来控制整个系统。中庭设有消防水炮保护。

2) 演播室配雨淋系统。

4. 室外消火栓

按照法定要求在大楼内安装消火栓及软管绞盘。消火栓安装在楼层上,使得大楼内任何一点都可有2 个消防栓的水柱能够到达。安装减压装置确保工作压力符合规范要求。在每个消火栓及软管绞盘附近安装一个按钮。一旦发生火灾,可以按动按钮启动水泵。

5. 固定气体灭火系统

本项目采用气体灭火系统安装在特殊的电子设备区域。

6. 消防电系统

1) 消防设备强电电源,由强电部分可靠供给。

2 消防自动报警部分。

1**大楼消防控制中心设置

**大楼F1 层:消防控制中心 (一台消防报警控制器,负责B2F4 层)

**大楼B1 层:消防控制中心 (一台消防报警控制器,负责停车库B117

**大楼F1 层:消防控制中心 (一台消防报警控制器,负责宾馆、文化中心F3F11)分段一台宾馆消防报警重复显示屏。(该屏只用于监视,无控制功能)

**大楼F29 层:消防分控中心 (一台消防报警控制器,负责宾馆F19F21

2**消防总控中心与3 个分控中心及分控中心之间采用宽带通信链路C-Bus 通信连通,如一个消防中心报警控制器出现故障,它将被隔离,不会影响C-Bus 链路上其他控制器,而且每个控制中心都能通过链路监视其他二个控制中心。

3 消防电话部分

**楼内设有一套独立消防电话系统,其消防电话主程控交换机设在**F1 层总控中心,在每一个楼层设消防电话分机。消防电话主机与消防局直线电话连接。

7. 消防报警系统说明

1 每个消防控制器与相关区域的自动设备或控制设备配合。

2 每个消防电话箱应采用直线与消防局连接。

3 碎玻璃按钮和消火栓按钮将设在消火栓箱、消防电梯厅、楼梯和其它区域。

4 消防电话将设在安保机房、发电机房、低压配电室、空调机房、排烟风机房、值班室、电梯机房和其它设备机房。

5 火灾发生时,在相应区域应执行下述控制。

1 关闭电动防火门和防火/防烟阀门;

2 切除非消防设施电力电源;

3 启动水喷雾系统/水幕/细水雾系统/气体灭火系统;

4 暂停门禁系统供电;

5 消防泵、喷淋泵和风机的开/关控制。

6 每个控制盘应配备独立的备用电源(蓄电池组和逆变器)

5.3.2 动力照明系统安装工程

1. 高压电源部分

CCTV 主楼110KV 变电所引4 10kVAB)电源分别至**B1 层剧院变电所、B1 层宾馆变电所高压开关框内,并且均可分别独立高压计量。

2. 变配电部分

**楼共设有四个10kV/380V 变电年,共有8 台环氧树脂浇注干式变压器,变压器额定容量总和19040kVA(变压器强制风冷)。

宾馆变电所变电所SS/F1.1 位于**B1 **B2 层-F14

宾馆变电所变电所SS/F1.2 位于**F29 **F29 层-F15

剧院变电所变电所SS/F2.1 位于**B1 **B2 层-F5

剧院变电所变电所SS/F2.2 位于**B1 **B2 层-F4

低压部分全采用TN-S 系统供电。

3. 备用电源**楼备用电源由CCTV 主楼内10kV 备用电源和柴油发电机组供给。共有610kV 级备用发电机组(6×2200kVA)。

4. 应急照明系统供电:采用集中式蓄电池供,其蓄电池组位于**F1 层消防总控制室和F5 层宾馆消防分控中心。

5. 接地、防雷系统

1 **楼底板桩台板钢筋笼、桩基钢筋等组成一联接地体,接地电阻R1Ω,防雷系统共用这接地体。

2 **楼设一独立楼地网络,在**B2 层沿四周墙体面安装一主接地干线环网,该环网与底板联合接地体连接。从接地干线环网开始用铜导体竖直向上分别引至**各楼层强弱电设备间。

3 **楼防雷系统:在屋面敷设25×4 不锈钢做避雷带,利用金属屋面板及避雷针做接闪器。屋面玻璃擦窗机与避雷网可靠电气连接,利用竖向钢栓或钢筋混凝土栓内两根竖向主筋做防雷引下线,利用+3.00m 以上楼层四周圈梁两条水平主筋及钢栓做均压环。

4 **楼幕墙、金属物(门窗、扶手、管网)等预埋接地连接板(100×100×6m 热镀锌钢板)。

5.3.3 弱电工程

1. 楼宇自动化系统

1 将自动监控环境控制系统,包括烟控制系统;监视排放池,灰水和墨水处理设备;监视高压和低压状况以及报警情况。

2 CCTV 大楼的楼宇自动化系统和在**大楼的楼宇自动化系统是完全分开的。但两个系统要连接在一起,因此在CCTV 可以监视**的主要运行情况。

2. 有线电视系统

1 **楼有线电视分为:**服务于CCTV 有线电视系统和**服务于宾馆有线电视系统,前者前端室设在**F1 层,后者前端室设在**F5 层。他们信号源分别由CCTV 主楼电机机房提供(6C)。

1 **服务于CCTV 有线电视系统用于**F1-F4 CCTV 用的电信间AB 终端及录音棚CCTV 电信号:**服务于宾馆有线电视系统用于**F5-F17 层、F18-F29 层宾馆终端。

2 **楼有线电视图象可双向传输,采用光纤和电缆混合网(HFO)。

3. 公共及紧急广播系统

1 **楼内公共广播、紧急广播系统是两个独立系统,其广播控制器分别设在**各消防控制中心内(B1F1F5F29)。公共广播、紧急广播系统控制器之间有相互联系和控制环路(通过控制总线),使得普通广播系统信号可在紧急广播系统中播放。但紧急广播通知和广播系统的操作调整是完全分开的,并用密码保护。

2 **楼各消防分控中心紧急广播主控制器之间、普通广播主控制器之间通过音频和控制总线连接起来。静音控制信号同样通过专用广播音频和控制总线传送至各广播控制和路由器。

4. 安全防范系统

1 **楼内设有数字化闭路电视监控系统,共分为:**服务于CCTV 的数字话闭路监控

电视网络。前者工作站位于**F1 层,监控信号分别来自电信间ABC 范围摄像镜头(用

5×6C 光纤传输);后者工作站位于**F5 层,监控信号来在电信间A 范围摄象机鏡头(用7

×6C 光纤传输)。

2 **楼内两个数字化闭路电视监控系统分别把经处理过摄像信号通过芯安保联网光纤送入CCTV 全楼底层的安保总机房,实现**监控室对**监视系统集中管理和集中监控。

3 门禁系统

1 门禁系统主控制器设在**F1 层,通过LAN 接口与各门控制器连接,与CCTV主楼门禁自成一网络,独立运行,同时监控系统联动。

2 门禁系统对被设防区域的位置,通过对象通过时间等进行实时控制和设定多级程序控制,同时进行报警。

4 对讲系统

**楼对讲系统对讲分控主机设在**F1 层,通过专用网与其他楼层对讲分机通信连接,同时通过光纤与CCTV 主楼、服务楼对讲系统连接,自成独立对讲网络系统,再与安保系统联动。

5. 综合通信系统(GCS

1 **楼综合通信系统(GCS)分为:**服务于CCTV**服务于宾馆两个GCS 系统,前者数字程控交换机房位于**F1 层,信号源由CCTV 主楼主机房引来二条HYA500-0.4+12芯光缆;后者数字程控交换机房位于**F5 层,信号源是从呼家楼局和西单局分别引来12芯光缆路由。

2 **GCS 系统干线采用6 芯光缆和大对数铜缆,水平布线(数据主干)采用Cat6-UTP

3 **楼内设500 门数字程控电话交换机,各层电信间设有IDF 综合分布线楼层110 配线架,系统干线采用3 类大对数电缆。

4 预计直线电话约300 门,并预留若干红线电话,红线电话由309 局引来。

5 综合布线系统结构由以下部分组成

1 工作区子系统

2 配线子系统

3 管理子系统

4 干线子系统

5 设备间子系统

6 建筑物子系统

6. 办公自动化(信息)网络系统(OAS

办公自动化是数据传输系统,在**的计算机网络中心内设核心交换机、数据库服务器、网关、网桥、路由器等网络设备。在各层电信间设有IDF 综合布线快接式配线架,系统干线采用光缆、光纤接续单位和楼层交换机。水平用六类UTP 双绞线与用户终端连接,形成信息传输网络,实现公文传递与批阅、收发邮件、信息发布、信息交换、资源共享、决策辅助。以提高办公效率,实现无纸化办公。在办公室、技术用房等处设电脑终端插座。

**的酒店内客房设信息终端插座,预留宽带接入。

7. 电子会议系统

**内根据实际需要配置电子会议系统,80 平方米以上会议室配置发言系统,扩声系统和大屏幕投影显示设备,并根据需要配置投票表决系统,以及对会议室内的视听设备、灯光、窗帘、配置电子集控系统。新闻发布厅设有红外线同声传译和语言分配设备,提供六种语言同声翻译。

8. 智能一卡通管理系统

**设智能一卡通管理系统,以加强大楼的安全保卫和管理工作,分别有底下车库工作站、2#娱乐消费收费管理系统、3#门禁工作站,与CCTV 智能一卡通主用局域网连接。

智能一卡通管理系统:主要使用在门禁、考勤、餐饮、图书借阅、巡更和车库管理等。

**的酒店内客房设客房读卡器,并在总台进行集中管理。

根据管理需要在室内入口处设考勤用读卡器。

餐厅设有消费用读卡器。

图书馆设有借阅用读卡器。

根据物业管理要求按照巡更路线设备巡更读卡器。

车库出入口管理系统,在出入口设有读卡器,对进入大楼地下室车库的车辆进行计费和管理。

9. 公共及业务信息显示系统

**公共区域主要通道口、候播厅、公共休息厅,利用综合布线信息点,分别设置LED显示屏、触摸屏,进行显示和信息查询。

10. 移动通信中继系统

为了充分保障大楼的移动通信质量,确保通信畅通,在**内设无线信号覆盖宜采用微蜂窝+室内分布系统,解决肓区移动通信。

11 集成管理系统(BMS

1 **楼集成智能管理系统分为:**服务于CCTV**服务于宾馆两个集成管理子系统,前者系统工作站设在**F1 层,后者系统工作站设在**15 层。两个子系统集成工作站都分别通过以太网集线器(HUB)将停车管理系统CPSBAS 系统、消防报警系统FAS、闭路监控系统、电力及应急系统、制冷系统、电梯和自动扶梯、给排水系统等多个子系统集成管理。

2 **楼两个子系统(BMS)都分别上边至CCTV 主楼的IBMS 系统,让各子系统信息综合、资源共亨。

3 弱电工程所有电缆、铜缆全采用低阻无囱阻燃型,统一敷设在ELV 桥架内,对穿管敷设线管均暗设。

5.3.4 电梯及自动扶梯工程

**电视台新址工程B 标段共设有电梯22 台,包括10 台无齿轮系统电梯、6 台齿轮系统电梯、2 台双层轿厢齿轮系统电梯、2 台液压梯、2 台自动扶梯;载重量分别为300020001600Kg;运行距离从140m 6m 不等;运行速度从6m/s 0.3m/s 不等。具体设备情况见下表:

1. 自动扶梯

自动扶梯编号

踏步安全净宽

速度(m/s)

运行距离(m)

数量()

ESC1&ESC2 自动扶梯

大功率商用机

1000mm,倾角30

0.6

9.7

2

2. 升降电梯

电梯编号

载重 (Kg)

速度 (m/s)

运行距离 (m)

数量 ()

H1-H4 客梯

无齿轮系统电梯

1600

6

H1&H4=126

4

 

 

 

 

H2&H3=136

 

EXP1-EXP2 高速客梯

无齿轮系统电梯

1600

6

126

2

L1-L3 短程穿梭电梯

齿轮系统电梯

1600

1.6

28

3

S1-S3 消防/服务电梯

无齿轮系统电梯

1600

3.5

140

3

S4 消防/服务电梯

无齿轮系统电梯

3000

3.5

140

1

KT1 厨房电梯

液压电梯

1600

0.6

6

1

HC1 残疾人/贵宾电梯

齿轮系统电梯

2000

1.6

24.5

1

HC2 残疾人电梯

齿轮系统电梯

1600

1.6

24.5

1

HC3 残疾人电梯

齿轮系统电梯

1600

1.6

11

1

HC4-HC5 消防电梯

双轿厢齿轮系统

2000

1

24.5

2

 

电梯

 

 

 

 

TH1 剧院电梯

液压电梯

24375/

0.3

10

1

 

 

10340

 

 

 

 

第3节施工条件

1、水源电源

1.1 电源:根据招标文件及补充文件,招标人可向B 标段提供10kV 1000kVA 电源一路,变压器位于N10 规划路南端。

1.2 水源:根据招标文件及补充文件,招标人可向B 标段提供1 DN200 施工用水点,位于现场东北角,N10 规划路北端。排水管及检查井1 个位于施工用水点的东侧。另1 个位于基坑西侧(尚未落实)

 

2、场地状况

2.1 施工场区周围环境

场区地势平坦,地表绝对标高37.90m39.14m,平均绝对标高38.52m

**电视台新台址建设工程建于北京市****中路32 号,原北京市汽车、摩托车联合制造公司厂内,地处**路以东、光华路以北、**路以南,在北京市**商务区(CBD)规划范围内。拟建场区周边环境较为复杂,场区西侧、南侧紧邻交通干道**中路和光华路,西北角紧邻市煤气公司,北侧围墙外有两栋永久板式楼房,西侧用地范围线内尚有待拆除的5 栋居民楼。

2.2 地下障碍物情况

拟建场区原为北京汽车摩托车联合制造公司光华路厂区,原厂房及附属设施密集。该工程位置原有建筑物为汽车底盘厂、涂装厂和家具城等建筑物,在拆除过程中遗留的钢筋混凝土柱基础及其他厂房遗留的钢筋混凝土池体等地下障碍物。另外,地下分布有较多的热力、电缆、上下水管道及地下人防通道等地下设施。

2.3 施工场地范围

B 标段施工总承包工程的现场界限范围为:东界限为N10 规划路东边线,南界限为E8 规划路中线,西及北界限为现有围墙。施工场地狭小,没有循环道路,无法布置钢筋、模板加工场地,大型构件运输和吊装将非常困难。场区内不能设置任何生活区和生活设施。

 

3、工程地质

3.1 工程地质条件

根据北京市勘察设计研究院提供的《**电视台新台址建设工程(B )岩土工程勘察报告(草本)》描述,本工程拟建场区在地貌单元上位于永定河冲洪积扇中下部,第四纪地层厚度(相当于第三纪基岩埋深)约在160m 左右。地面以下至基岩顶板之间的土层岩性以粘性土、粉土与砂土、碎石土交互沉积土层为主。

根据现场勘探、原位测试及室内土工试验成果,按地层沉积年代、成因类型,将B 区场地内、本阶段最大勘探深度100m 范围的土层划分为人工堆积层和第四纪沉积层两大类,并按地层岩性及其物理力学数据指标,进一步划分为15 大层及亚层。现按照自上而下的顺序对本工程施工范围内各土层的基本特征综述如下:

人工堆积土:房渣土;粘质粉土、粉质粘土填土。变化范围37.9039.14m,厚度0.805.70m,湿度:稍湿~湿。

第四纪沉积层:37.9m 以下为粘质粉土、粉质粘土;砂质粉土;粘土、重粉质粘土。

3.2 水文地质条件

3.2.1 场区地下水埋藏条件

根据北京市勘察设计研究院提供的《**电视台新台址建设工程(B )岩土工程勘察报告

(草本)》描述,本工程场区主要存在3 层地下水,地下水类型分别为:第1 层地下水为层间潜水,含水层为第3 大层卵砾石层、砂层,该层地下水水位连续分布;第23 层地下水为承压水,赋存于第5 大层和第7 大层的卵砾石层及细砂、中砂层当中,均具有较高的压力水头:第2 层地下水承压水头高度约在5m6m 左右;第3 层地下水承压水头高度约在16m18m 左右。

各层地下水类型及实测水位如下表所示。

序号

地下水类型

含水层岩性

静止水位埋深(m)

静止水位标高(m)

1

层间潜水

卵砾石层、砂层

13.3015.90

22.6024.60

2

第一层承压水

卵砾石层及细砂、中砂层

18.5020.00

18.5119.72

3

第二层承压水

卵砾石层及细砂、中砂层

20.1021.70

16.9118.02

在工程场区第2 大层的粉土层中还赋存有1 层地下水,其类型为台地潜水。该层地下水的水量和水位在整个场区不够连续,根据勘察院设于场区附近的地下水长期观测孔的观测资料及区域性水文地质资料,在拟建场区及其附近区域,台地潜水的当前水位标高在33.50m 左右。

3.2.2 地下水成因及动态变化规律

1. 场区台地潜水主要接收大气降水入渗及管道渗漏补给,并以蒸发及地下径流等方式排泄。其水位季节变化规律一般为:6 月份~9 月份水位较高,其它月份相对较低,年变化幅度一般为2m3m

2. 场区层间潜水主要接收地下径流补给,并以地下径流为主要排泄方式。其水位季节变化规律一般为:11~来年3 月份水位较高,其它月份相对较低,年变化幅度一般为1m 左右。

3. 场区承压水主要接收地下径流补给,并以地下径流为主要排泄方式。其天然动态类型属渗入~径流型,其水位年变化规律与层间潜水类似,而变幅较层间潜水大,第一次承压水水位的年变化幅度一般为3m5m

3.2.3 建场区历年最高地下水位

工程场区历史最高地下水位(1959 )36.60m35.70m(自西南向东北逐渐降低),近35 年最高地下水位标高为35.6035.20m(自西向东降低)

3.2.4 地下水的腐蚀性

各层地下水的水质对混凝土结构均无腐蚀性;但在干湿交替作用条件下,对钢筋混凝土结构中的钢筋有一定的弱腐蚀性;对钢结构也具有弱腐蚀性。

 

第4节招标人对投标人的要求

1、关于施工内容的规定

1.1 承包商进行施工的项目,包括但不限于下列:

1.1.1 ±0.00 以下工程

1. 土方及基础工程

1) 土方开挖、降水及护坡工程;

2) 回填土工程;

3) 桩基础工程,包括成桩、截桩头等一切所需工作。

2. 结构工程

1) 地下室垫层、筏基、外墙及四周的防水工程(包括地下室外墙防水的保护墙)

2) 钢筋混凝土结构工程,包括集水井、电梯基坑、排水沟、隔油池等;

3) 钢结构工程(包括设计、供应、加工和安装)

4) 防火涂料供应及安装工程;

5) 内隔砌块墙工程;

6) 地下室屋面工程,包括找平层、防水层、保温层及保护层。

3. 地下室(B2 B1 )除以划分为精装修工程范围(例如:地下二层贵宾电梯厅、前室及相连卫生间;地下一层夹层多功能厅/母带制作室)外的全部装修工程,包括装修底层及面层。

4. 预埋于混凝土的机电工程(不包括砌块墙部分)

1) 预埋电线管及钢管供应及安装;

2) 预埋防水套管供应及安装;

3) 防雷接地供应及安装。

1.1.2 ±0.00 以上工程

1. 结构工程

1) 钢筋混凝土结构工程,包括钢结构外包混凝土工程;

2) 钢结构工程(包括设计、供应、加工和安装),含外墙体钢结构部分;

3) 防火涂料供应及安装工程;

4) 裙房及塔楼屋面工程,包括但不限于找平层、防水层、保温层及保护层;

5) 外墙保温工程;

6) 幕墙预埋件安装。

7) 防雷接地供应及安装。

2. 全部楼梯间(指后勤服务区)装修工程,包括装修底层及面层。

1.2 指定分包商的分包工程:

1.2.1 强电系统供应及安装;

1.2.2 弱电工程;

1.2.3 给排水工程;

1.2.4 暖通空调系统供应及安装工程;

1.2.5 消防工程;

1.2.6 电梯及自动扶梯工程;

1.2.7 玻璃幕墙及外墙装饰设计、供应及安装工程;

1.2.8 擦窗机系统设计、供应及安装工程;

1.2.9 精装修供应及安装工程;

1.2.10 门窗及五金供应及安装工程;

1.2.11 特种门(包括防火门、防火卷帘门等)供应及安装工程;

1.2.12 盒中盒结构供应及安装工程;

1.2.13 游泳池滤水系统供应及安装工程;

1.2.14 园林、绿化、景观供应及安装工程;

1.3 其它承包商进行的工作:

1.3.1 机械停车设备供应及安装;

1.3.2 强电系统中的主要设备供应;

1. 工艺配电柜;

2. 发电机;

3. 变压器;

4. UPS

5. 特殊配电柜。

1.3.3 给排水特殊卫生洁具供应;

1.3.4 燃气系统工程;

1.3.5 厨房设备供应及安装工程;

1.3.6 洗衣房设备供应及安装工程;

1.3.7 变配电室变配电工程;

1.3.8 电信模块局;

1.3.9 市政工程;

1.3.10 活动家具;

1.3.11 办公室家具;

1.3.12 计算机网络系统;

1.3.13 标志牌;

1.3.14 室内艺术品;

1.3.15 电视工艺;

1.3.16 电视节目及广播制作设备。

1.3 指定分包商的供应工程:

1.3.1 暖通空调工程中的:

1. 空调箱

2. 风机盘管

3. 水泵

4. 热交换器

5. 变风量VAV

1.3.2 给排水工程中的:

1. 水泵

2. 生活水处理设备

3. 中水处理设备

4. 热水罐

1.3.3 强电工程中的:

1. 电缆及桥架

2. 封闭母线

3. 道路、庭院照明设备

4. 室内照明设备

5. 立面照明设备

 

2、招标文件对进度、质量的要求

2.1 质量标准:合格。

2.2 质量奖项:北京市建筑(竣工)长城杯称号。

2.3 开工日期:2005 03 (暂定)

2.4 计划竣工时间:2008 01 15 日。

 

第5节本投标人对招标的响应

1、工程总体目标

1.1 质量目标

实现招标要求

工程质量标准:合格

工程质量奖项:北京市建筑(竣工)长城杯称号,并争创中国建筑工程鲁班奖。

1.2 总工期目标:2007 09 30 日竣工,比业主招标工期提前107 天。

1.3 安全生产、文明施工目标

杜绝死亡和重大交通事故,杜绝火灾和重大治安事件,杜绝重伤事故,年轻伤率控制在10以下。遵循绿色施工组织理念,建设花园式工地,确保北京市文明安全样板工地

1.4 环保工作目标

创建环境保护工作先进施工现场;具体目标为:场地硬化和绿化、洒水降尘,裸露土覆盖,减少扬尘;雨污分开,杜绝水污染;控制噪声指标为白天小于70 分贝,夜间小于55 分贝。

 

2、编制依据

2.1 工程招标文件:

序号

名称

编号

1

**电视台新台址建设工程B 标段施工总承包招标文件(第一册)

03-1641

2

**电视台新台址建设工程B 标段施工总承包招标文件(第二册)

03-1641

3

**电视台新台址建设工程B 标段施工总承包招标文件(第三册)

03-1641

4

**电视台新台址建设工程B 标段施工总承包招标文件补充文件()

03-1641

5

**电视台新台址建设工程B 标段施工总承包招标文件补充文件()

03-1641

6

**电视台新台址建设工程B 标段施工总承包招标文件补充文件()

03-1641

7

**电视台新台址建设工程B 标段施工总承包招标文件补充文件()

03-1641

8

中国**电视台新台址建设工程电视文化中心总包招标文件招标文件报告建筑A

 

9

中国**电视台新台址建设工程电视文化中心总包招标文件招标文件报告建筑B

 

2.2 初步设计招标图纸:

1. 扩初设计最终版(**)建筑设计图纸

2. 扩初设计最终版(**)结构设计图纸

3. 立面设计招标图纸

4. 机电设计图纸第一分册(M 暖动专业)

5. 机电设计图纸第二分册1(P 给排水专业)

6. 机电设计图纸第二分册2(F 给排水专业)

7. 机电设计图纸第三分册1(E 强电专业)

8. 机电设计图纸第三分册2(N 强电专业)

9. 机电设计图纸第三分册3(G 强电专业)

10. 机电设计图纸第四分册(T.H.W 弱电专业)

2.3 国家和地方现行的主要设计规范、规程和标准(详见附篇附录一)

2.4 国家和地方现行的施工规范、规程和标准(详见附篇附录二)

2.5 国家及地方相关法律、法规(详见附篇附录三)

2.6 其它:

2.6.1 **电视台新台址建筑工程B 标段工程现场踏勘情况及现场施工条件。

2.6.2 体系文件:

1. GB/T 190012000 质量管理体系标准;

2. GB/T 14001-1996 环境管理体系;

3. GB/T 280012001 职业健康安全管理体系;

4. 本投标人编制的《质量手册》和《程序文件》。

 

第6节主要工程施工方案

本篇在全面理解招标文件的前提下,针对工程特点,提出了本投标人对项目建设的总体策划,致力于全面实现使用者的明确需求和隐含需求。

本篇主要内容有:总体技术方案、总承包管理体系及组织机构的构建、施工资源及现场建设的筹划。

 

1、总体施工技术方案

1本工程施工中的关键点

1.1 本工程的特点

1. 本标段工程是**电视台新址建筑群的组成部分,与同期建设的A 标段在环境、场地、专业系统之间均是紧密联系的。

2. 本标段是一个建筑群,包含7 个单体,各单体高低错落、形态各异,位置相互毗邻,功能上有机地相互关联。

3. 本工程是一个实现高度专业化、高水平的特定功能的建筑工程包括剧场、录音棚、数字影院、宴会厅、展示厅、新闻发布厅、视听室和数字传送机房等部分,各部分均为高级装饰装修,并装备不同功能、不同规模、不同形态、不同门类的专业技术系统设施、设备。

4 具有大型智能化建筑的所有特点:地理位置显要、规模大、楼层高、系统多、工期长、材料设备新颖、施工内容复杂、施工单位多、工序穿插多、工艺要求高、图纸深化设计量大、施工管理难度较高。

1.2 本工程的施工关键点

1.2.1 土方及降水工程

1. 本工程场区原有遗留的地下障碍物,分布有较多的热力、电缆、上下水管道、地下人防通道等地下设施;施工的关键在于:土方及降水工程施工前必须从速、妥善解决好作业条件的开拓,保证适时进入施工,并能连续顺利进行。

2 土方量多达34 m3;工程量大,工作面分散,开挖深度变化大,基底标高有7 种之多。施工组织的关键是:合理安排作业流程、充分投入设备、保证有序地完成开挖、运输工作。

1.2.2 桩基施工

基础桩数量多,深度大。既有抗压桩又有抗拔桩,共计636 根。施工组织的关键在于投入充足的设备,合理安排各区段之间的施工顺序,并通盘考虑前导与后继项目的施工衔接。在工艺方面,要通过可靠的措施有效地保证不同类型桩基的成桩质量。

1.2.3 底板工程

底板厚度为1.5m2.0m2.5m 不等,属于大体积混凝土。

关键在于施工前制定专项方案,从材料、人员、施工全过程采取有效措施,控制大体积混凝土的温度与应力状态,确保其施工质量。

1.2.4 各个建筑单体

如特点1.1.2 所述,本标段是一个建筑群,各单体形态差异大,功能上有机地相互关联。因此,在施工组织上即要合理安排各单体在总部署上的位置,又要充分考虑各个单体的独立性和特殊性。

1.2.5 钢结构

本建筑群所含各个单体中的钢结构,在形态、规模上各有特色,钢结构工程施工方案必须区别不同部位、不同构件形态确定不同的施工手段,适应工程特点,顺应总体施工部署。

1.2.6 设备安装与装修工程

如前述工程特点1.1.3,本工程各部位均为高级装饰装修,在设备安装工程方面,不仅有一般大型智能化楼宇装备的专业系统,而且还装备有不同门类的服务于声、影、光、讯、机电等特定功能需要的专业技术系统设施、设备。施工组织上应有效地进行全面协调,对特殊专业安装要及时创造技术条件与作业条件,要给出充分的容量。还要特别注意保护特殊材料物理品质、保护中间过程的成品、要积极协调各专业技术检验、检测和调试。

由于特定功能需要,建筑物中一些局部空间构造复杂、专业穿插,必须合理地、规范地排布作业程序及相关的工作程序。

1.2.7 测量放线

由于建筑整体及各单体结构形态独特,方位、高程多变化,因此测量工作是本工程的关键之一。应配备一流的人员、设备,严密组织管理确保周到、细致、准确、及时地完成测量放线与测量监测工作。

1.2.8 A 标段的协调

由于前述特点1.1.1,在施工组织上要与A 标段做好协调,重点是:

1. 场地、能源与交通条件;高空的相互影响;

2. 测量线位闭合;

3. 地下工程衔接(包括管线工程)

4. 系统连接与调试

1.2.9 特殊工艺技术

本工程将涉及多种非常见的材料作法。如:装饰混凝土、厚钢板加工焊接、建筑物整体外围包裹的单层螺栓球钢网架、预制波纹型金属屋面幕墙等,工艺复杂、质量要求高。必须落实材料选用、施工工艺、质量标准。

1.2.10 总体策划

鉴于特点1.1.4,建设项目有显要的社会地位,位处显要的地理位置,工程规模大、周期长,必须建立独具特色的施工组织指挥机构,有针对性地进行总体策划。

 

2超高层施工技术要点及技术路线

2.1 超高层建筑特点

本工程除上述特点外,具有所有超高层建筑的特点

2.1.1 工程规模大

结构占地面积约25000m2,其中地上结构占地面积约14500m2,北侧均为地下室。根据结构功能划分,群房中心钢结构分布比较分散,距地下结构外墙距离较远,吊装机械选择及布置困难。这部分钢结构主要由钢柱及钢桁架组成,单体构件重量大:十字钢柱每米最大重量为2.64t,最长15m;钢桁架最大重量为139.9t

由单层螺栓球钢网架结构外围包裹,作为建筑的外衣,酒店东西两侧网架为直立形式,网架最高点为159.00m,且西侧网架仅两端与南北楼梯筒连接,中部无结构,安装难度大。酒店顶层为五榀承重桁架,下弦标高为129.90m,桁架两端与酒店结构连接,桁架下部112.00m无结构,安装方案的选择及实施难度大。

结构定位共有五组轴线,每栋建筑的轴线均不平行,对建筑物的测量定位提出了很高要求。本项目装饰工程装修面积大、工期紧迫、材料种类繁多、施工内容复杂、施工单位多、工序穿插多、工艺要求高、图纸深化设计量大、施工管理难度较高。除常规用料及施工方法外,本工程还采用了一些新型的装饰材料及设计如:舞台设备安装、升高地台架、预制玻璃纤维组件、幕墙及金属围板、隔声设计等,对施工工艺提出了更高的要求。同时多种设备、装饰材料的组合运用,形成不同的饰面效果,搭接工作不限于结构工程与各专业的施工,也使各不同专业施工人员之间的工序和工艺搭接形成一定难度。

2.1.2 周期长

本工程计划开工时间:2005 3 (暂定),计划竣工时间:2007 09 30 日,总工期目标:930 日历天。跨3 个年度,各经过2 个冬季,3 个雨季,施工周期长,冬雨季施工部位多,季节性施工要求高。根据总进度计划的安排,**电视台新台址建设工程B 标段在冬雨期施工的项目如下。

冬期施工项目

年度

2005 -2006

2006-2007

施工项目

1. 主体结构施工。

2. 机电管线安装。

3. 地下室二次结构施工。

1. 酒店钢结构施工。

2. 酒店屋面网架安装。

3. 部分内装修施工。

雨期施工项目

年度

2005

2006

2007

施工项目

1..基坑支护和土方开挖。

2 基础、地下结构施工。

1. 酒店结构施工。

2. 区屋面施工

3. 幕墙安装。

1. 内装修。

2. 机电设备安装。

3. 系统调试

本投标人将根据以上施工项目采取针对性的措施,保证工程的质量。

2.1.3 处在特定的地理位置

工程位于朝阳路和东三环交界处的CBD **商务区内,交通繁忙,B 标段东界限为N10 规划路东边线,南界限为E8 规划路中线,西及北界限为现有围墙,其中E8 规划路与A 标段共用。本投标人将合理安排运力,保证供应充足。特别是底板大体积混凝土连续浇筑期间,本投标人将遵守北京市相关规定,避开上下班高峰期,调配商品混凝土运输时间和数量,采取一切措施,做到混凝土浇筑不间断,同时保证不因施工造成交通的拥堵和对道路及周边环境的破坏。

2.1.4 参建单位多

本工程承包方式为施工总承包,由于本工程结构形式多变、专业用房多样、装修豪华、设备安装系统复杂,因此参建单位非常多,专业分包单位多,分包形式多。本投标人作为该工程的施工总承包单位,将把此工程作为本投标人的首要重点工程,必须依靠一流的综合实力、一流的策划与运作、一流的管理与协调、一流的技术与设备、一流的承诺与服务,全面组织协调好各分包单位的施工,优质高效地实现工程的综合目标。

2.2 超高层建筑施工技术要点

2.2.1 由于工程规模大、周期长,为保证工程进度和质量,应重点控制以下技术要点:

要筹措充足资源储备和后方支持系统;

要合理组织材料运输与中转存储;

要做好伺服工程的设计与管理;

必须加强对各种风险的预测与防范;

要充分考虑市场资源的变化;

要密切注意材料与设备的升级或换代;

应该妥善安排进度部位与季节的关系,安排切实的季节性措施;

加强档案管理保证档案资料的连续与完整。

2.2.2 由于形体庞大,对工艺精度、垂直及水平运输组织要求高:

必须高精度、高效率地进行测量放线;

应该充分考虑高空作业降效;

必须作好多层作业防护;

要解决好人员与物料垂直运输各区段的水平联系。

2.2.3 由于处在特殊的地理位置,对交通运输组织、环境保护、文明施工要求高:

要关注重要的或大型的城市活动对施工的影响;

要紧凑地布置施工现场;

要高水平地做到文明施工,有效保护环境;

要注意取得地方管理支持;

要关注外网外线建设状况,以取得接驳条件;

要关注临边地区同期建设的大型工程进展状况,避免在运用城市建设资源方面造成相互影响。

2.2.4 由于专业系统多,前期计划、施工准备非常关键:

要在进度安排上充分注意各专业的中心站房建造;

要慎重编制设备选型订货计划;

要认真会审图纸并详细编绘空间管线综合图,明确安装次序;

要合理安排大型设备运输安装方案要编制详细的联动调试计划与工作方案。

2.2.5 由于参建单位多,总包管理意识和水平要求非常高:

要做到工作系统协调;

要落实管理制度贯通;

要保证技术边界吻合;

要保证质量标准配套。

2.3 超高层建筑施工路线

2.3.1 建立独具特色的施工组织机构

(详见本章第4 )

2.3.2 科学地确定施工技术路线

本工程的总体部署和施工方案均采取多种技术路线综合比较,并引入专家论证的程序选用确定。

对于各个重要部位、关键环节的施工方案保证作到有理论支持、有经验依据,不但可行可靠、而且技术经济性良好。

1. 关于塔吊的选择

路线1——选择大吨位起重机;路线2——选择长臂起重机本工程多部位使用钢结构,路线1 有利于钢结构安装,能有效地减少高空作业量,缩短安装工期。另一方面,本工程平面幅面大,综合项目多,宜采用路线2。经充分研讨认为,如果采用路线1,配置起重机的数量多,占用的作业面大,起重机的装立和拆除都将影响相关的空间。因此选择路线2,扩大单机域,并将起重机布置在对作业部位影响最小的位置上。选用两台C7050(R=70m)和一台H3/36B(R=60m)塔吊以满足低层和主楼同时作业。

2. 关于钢结构的组拼和提升方式

钢结构单体构件体形大,吨位重,无法整体直接运输、安装,需采取分段加工。为保证施工质量,必须确定合理的加工工艺及现场拼装安装工艺。

施工工法的选择根据结构形式及场地情况分为如下三种:

1) 分段吊装,就位拼装:主要针对桁架高度不高的低层结构,具体为:展览大厅、舞台塔及后舞台、视像室、数码电影院。

2) 地面拼装,整体提升:应用于酒店桁架及吊挂结构系统。

3) 分段拼装,累积滑移:应用于酒店西侧倾斜网架。

2.3.3 对特殊局部做特殊安排

为保证不同建筑单体的精装修或特殊专业安装,对局部环境采取进度上或技术措施方面的特殊安排。

主要是:

对于主楼西侧的的低层结构,(具体为:舞台塔及前后舞台、视像室、数码电影院等)钢结构吊装施工完成后提前完成该部位的屋面钢网架及屋面工程的保温、防水工程,并加设临时覆盖措施,为后面舞台设备、机电设备安装和装饰工程的及时插入创造条件。

酒店高层结构验收分3 次进行,分别为地下结构、1-15 层结构、16 层及以上结构。每次结构验收完成后遇雨季屋面做临时水平封闭防水层,插入各机房设备安装、粗装修、精装修施工。

在塔式起重机占位做临时隔离封闭,防止雨水倒灌和污染,影响室内装修质量。

 

3项目建设整体流程

3.1 总体部署的原则

3.1.1 保证进度、质量;

3.1.2 由于实物量大、施工层次多,总工期紧迫,施工部署首先要充分投入资源,占满作业空间;

3.1.3 从全局出发,兼顾各方、统筹协调、合理组织交叉作业。

3.1.4 专业性很强的安装工程,总部署中将要优先创造安装条件,并保证对施工区段的划分、施工阶段的划分均可满足不切断系统联系、保证系统完整性的要求。

3.1.5 充分保证深化设计、技术准备、委托加工等各种非现场作业所需要的合理周期。

3.1.6 及时调整现场平面和楼层空间的设施布置保证施工生产有序地进行。

3.2 施工区段划分

根据工程体量、设计特点、施工资源配置和施工组织方法,将B 标段划分成地下3 个、地上2 个相对独立的施工区域。

地下结构施工区域划分图

各施工区域相对独立,各施工单位按施工区组织施工,区域内再分为若干流水段,施工操作按流水段作业。

该工程施工划分为六大阶段,即桩基与土方施工阶段、±0.00 以下结构施工阶段、地上结构施工阶段、钢结构施工阶段、装饰装修及设备安装施工阶段、设备调试、室外工程施工阶段、竣工清理及资料整理验收阶段。

地上结构施工区域划分图

3.3 工程总体施工流程

3.3.1 总体流程如下面框图所示

 

4各主要施工阶段划分及施工流程

4.1 施工准备,现场交接

2005 03 15 日至2005 04 13 日进行施工准备,现场交接,工程开工日期暂定为2005 03 15 日。

总承包单位进场,进行现场暂设施工,与建设单位进行施工场地、定位桩点交接工作。主要进行现场暂设施工、场地硬化、验线、放线等工作。

4.2 土方开挖、支护、基础桩施工阶段

2005 03 25 日至2005 07 15 日;

进行降水井、土方开挖、边坡支护、基础桩施工。土方开挖按顺序进行施工,每个作业区根据工程量和作业条件不同,形成若干个施工作业区域(施工区域划分详见下图)。

在挖至打桩面标高时进行立塔。

桩基土方阶段施工区域划分图

4.3 基础及地下结构工程

2005 06 19 日至2005 10 31 日;

随桩头处理和桩间土清理,及时插入垫层、底板防水及保护层施工。完成1 个区的底板防水保护层后开始进行底板施工。地下结构完成后开始地下外墙防水及保护墙、回填土施工。基础根据工程特点、功能分区和施工后浇带的设置,将地下结构划分为-------、七个施工流水段。流水段划分见下图。

地下结构流水段划分图

地下车库结构流水段划分图

4.4 地上结构施工

2005 10 15 日至2006 08 21 日;

5 层以下分成剧场、录音棚、数字影院、宴会厅、展示厅、新闻发布厅、视听室和数字传送机房等功能各异、相对独立的个体,因此,此部分结构施工划分为-------、七个施工流水段。地上结构5 层以下部分流水段划分见下图。

地上一层至五层结构流水段划分图

6 层以上结构主要为高层的酒店,土建结构工作量较少,因此只划分为--两个施工流水段。6 层以上部分流水段划分见下图。

六层以上结构流水段划分图

4.5 视像室钢结构施工

2005 11 04 日至2005 12 13 日;

地上1 层结构施工完成后插入视像室钢结构安装工程。视像室钢结构为3 层,安装周期为40 天。此时1#塔将主要进行钢结构构件的吊装和就位。2-4 层的混凝土结构施工安排12天一层,所用材料的吊运工作在钢结构拼装间隙期间进行。

4.6 舞台塔钢桁架安装

2006 01 04 日至2006 02 12

舞台塔钢结构拼装在视像室钢结构完成,5 层结构施工完成后进行。舞台塔的钢结构拼装采用高空拼装,滑移就位的方法。拼装前在剧院看台和后舞台的位置搭设平台,这两个部分的结构在舞台塔拼装完成后进行,拼装周期40 天。

4.7 地下结构验收

2006 01 29 日完成地下结构验收工作。开始插入二次结构施工和机电管线制安工程。此时为2006 年冬季,为保证地下装修的施工质量在冬期只进行二次结构砌筑工程,各设备机房的装修工作和其它部分的装修工作在冬施结束后全面展开。

4.8 区屋面网架和临时饰面板安装

2006 02 13 日至2006 05 13 日;

区屋面网架安装在2006 03 24 日完成,随后进行屋面衬板、保温、防水等工序的施工,由于此时区上部仍在进行结构施工,为保证交工时屋面板不受污染,将正式饰面板改为临时屋面板。屋面板和屋面网架在与区西墙交接处留出10m 的空隙不安装,为区西墙网架安装的操作空间。2#3#塔在完成舞台塔钢结构拼装工程后,将配合区屋面网架和临时饰面板的安装。拆塔时间为2006 04 24 日。拆除后在3#塔处立4#外用电梯,并开始分块进行地下车库顶板防水及保护层的施工,为地下室装修和设备安装创造条件。

4.9 地上1-15 层结构验收

6-30 层为标准层按8 天一层组织施工。2006 04 17 日完成1-15 层结构验收工作,开始插入1-15 层二次结构施工、外檐幕墙安装和机电管线制安工程,重点是各设备机房的装修工作,为机电设备安装创造良好的条件。此时为2006 年雨季,为保证室内装修施工不受气候影响,区室内精装修将在外檐基本封闭后开始,在外檐未封闭前只进行粗装修施工。区在进行装修时屋面已基本完成,减少各种机电管线安装和装修工程将受气候影响的程度。

4.10 结构封顶,钢屋架拼装

2006 08 21 日完成16 层至30 层结构施工,全部混凝土结构施工结束。开始进行27层至29 层餐厅的钢结构地面拼装和提升施工,此时将拼装27 层至29 层每层主梁和部分次梁,以及27 层至29 层西侧的外墙网架、西侧支撑墙。拼装完成后做为一个整体提升到位。再安装与混凝土结构间的联系梁及压型钢板楼地面,至2006 11 21 日完成。

4.11 地上16-30 层结构验收

2006 09 20 日完成16-30 层结构验收工作,开始插入16-30 层二次结构施工、外檐幕墙安装和机电管线制安工程。此时为2006 年冬季,为保证室内装修施工不受气候影响,室内装修湿作业将随外檐封闭进度开展,并采取有效的保温和加热措施保证室内温度符合作业要求。在外檐未封闭的区域只进行装修干作业施工。

4.12 展览厅钢结构拼装,屋面、外墙网架拼装和饰面板安装

27 层至29 层钢结构提升时,开始进行展览厅的钢结构拼装工程。从2006 10 13日开始,于2006 11 26 日完成此部分钢结构工程。随后进行展览厅上部混凝土结构施工和屋面、外墙网架拼装和饰面板的安装。于2007 04 12 日结束。塔式起重机在完成钢结构拼装工程后,将擦窗机、机电设备吊装就位,并配合屋面、直墙面网架和饰面板的安装。拆塔时间为2006 12 27 日。

4.13 临时屋面板拆除,外用电梯处内外檐装修完善

2007 02 12 日至2007 05 29 日;

酒店部分的屋面、外墙饰面板完成后开始拆除裙房屋面临时面板,安装正式饰面板。外用电梯全部拆除,进行外幕墙和内装修的完善。

4.14 设备调试,试运行

2007 06 03 日至2007 08 31 日;

本工程专业系统多,工程量大,特别是各种广播电视专用设备、房间的质量要求高。为此,在竣工前安排了90 天的系统调试时间,以完成各专业的分项验收,并进行全系统开通的综合调试工作。

4.15 室外工程

室外工程主要是室外市政管线、庭院道路、园林小品、水池景观及绿化种植。市政管线工程从2007 01 05 日开始,在系统综合调试开始前完成并和市政管线接通。庭院道路、园林小品、水池景观及绿化种植工程安排在外用电梯拆除后,外檐装修基本完成时进行。庭院道路、园林小品、水池景观及绿化种植工程安排在开春后进行施工。

4.16 竣工验收

2007 09 01 日至2007 09 30 日进行资料整理,竣工验收。

4.17 地上结构施工流程

 

4.18 装修施工流水段划分

根据工程项目,将工程划分为四段流水施工,第I 施工段为地下室第一层、第II 施工段为地下室第二层、第III 施工段为裙房工程、第IV 施工段为塔楼工程。具体划分见图示:

装饰工程流水段划分示意图

4.19 装饰工程总体流程

按照先湿后干、先基层后罩面、先墙后顶再地面、先粗装后精装的原则进行平行流水施工。所有罩面板的封闭,须待水、电安装工程确认合格后方可进行;

专业上应按照先水电管线安装施工,然后再依据土建装饰面板的施工顺序进行。

4.8.2. 具体从施工平面及立面空间来说,其施工顺序如下:

平面安排上:先房间,后走廊、过道,最后电梯间。

局部安排上:先施工工序多、施工复杂的部位,后施工工序少、施工简单的部位。

吊顶部分:从专业角度划分,先专业管线的安装,后吊顶骨架,最后饰面板的安装。

墙面部分:先墙体骨架,后饰面板。

地面部分:先垫层,后面层。

4.8.3. 从空间上:墙体的骨架及管线与吊顶内管线平行施工,顶棚饰面板在安装前,要求墙面饰面板的安装及吊顶内的管线安装、保温及隐蔽验收完。

4.8.4. 地下室装修施工流程

吊杆安装吊顶龙骨安装墙面抹灰墙面砖墙面金属饰面板墙纸地面地砖铺设地面混凝土基层环氧树脂涂层顶、墙涂料、油漆粉刷清理验收

4.8.5. 非标准层装修施工流程

地面混凝土基层地面自流平施工楼梯间涂料粉刷钢结构防火涂料

 

5施工进度安排

本工程预计总工期为930 日历天,开工日期:2005 03 15 日(暂定),竣工日期:200709 30 日。

主要节点工期如下:

序号

项目名称

工期()

最早开始时间

最迟完成时间

1

施工准备

30

2005-03-15

2005-04-13

2

土方、桩基础及底板

191

2005-03-25

2005-10-01

3

地下结构

71

2005-08-22

2005-10-31

4

地下外墙防水及回填土

49

2005-10-15

2005-12-02

5

主体结构

311

2005-10-15

2006-08-21

6

钢结构工程

387

2005-11-04

2006-11-26

7

外墙、屋面网架工程

213

2006-09-12

2007-04-12

8

外装修工程

404

2006-04-21

2007-05-29

9

内装修工程

489

2006-01-30

2007-06-02

10

指定分包工程

534

2006-01-30

2007-07-17

11

各系统综合调试、试运行

90

2007-06-03

2007-08-31

12

资料整理、竣工验收

30

2007-09-01

2007-09-30

具体进度计划安排详见附篇附录十二施工进度计划。

 

2、总承包管理体系及措施

1总承包管理体系的设置原则

本工程是一项世界瞩目的大型工程,从施工难度、系统综合、工期要求等方面对建筑业都具有挑战意义,其关联单位包括:建筑设计及其合作单位、结构及机电设备设计单位、监理单位、土方承包商、B 标段总承包商、其它标段承包商、各指定分包商、直接分包商、供应商,业主各专项顾问单位以及市政建设单位等,涉及到政府相关行政和专业主管部门,地方的区域主管部门等。其复杂的建设环境决定项目的组织结构应有效应对多方关系,保证各方的工作联系和利益。为此,本投标人总承包管理体系的设置原则为:

符合项目的重要性原则、符合项目的目的性原则、符合项目的阶段性原则、符合项目的专业化原则、符合项目的协调性原则、符合项目的特殊性原则。

 

2总承包管理组织机构框图

(见下页)

 

3组织机构图的层次说明

现场组织机构框图总体上由上、下两部分组成。即现场组织机构的组成部分,由管理层、执行层组成,执行层中又分为目标规划层和目标实施层。

管理层设立了对现场组织机构全面负责、担任领导者和组织者的项目经理,项目经理下设总工程师、生产副经理、总经济师、总会计师,共同组成现场组织机构管理层。

目标规划层中的各部门是对应本工程的各项目标而设置的,深化设计部、技术部、质量安全部、成本合约部、物流采购部、资金管理部、计划协调部、工程部、机电部、行政部为常设部门。其中深化设计部内设置设计室、绘图室;技术部内设计算中心、测量科和方案;质量安全部内设质量科、安全科和ISO 质量管理科;成本合约部内设招标办公室、成本预算室、合同管理室;物流采购部内设材料科、物流运输科;计划协调部内设统计科;工程部内设钢结构科、土建科、装饰科;机电部内设设备科和电气科;行政部内设人力资源办公室、网络管理室和外联处。其中根据不同施工阶段特点而设置的非长设科室有:负责工程后期的交付与保驾中心

目标实施层在目标规划层的下方。在施工中本投标人会将工程分为多个施工段(用相互层叠的大横框表示),在每个施工段内,针对各具体的专项目标组成各专项管理小组(用大横框上的小框图表示),负责各项工作的具体实施,专项小组人员隶属于相关职能部门,职能部门对专项小组实行矩阵式管理。由于在施工不同阶段的管理重点和所需人员存在差异,目标实施层的人员将根据阶段性的不同而在部门与各小组之间进行调动(中间双向箭头表示),这使目标的规划和目标实施两层工作相互渗透,也有利于每个管理人员对项目进行通盘考虑。

在管理层和目标规划层之间,用箭线表示出管理层的各主要领导对各部门的管理分工,对其它各部门的工作以相关形式形成共同管理(用两侧的粗短箭头表示)。管理层领导也同时对专项小组的工作给予指导的监督(用两侧长箭头表示),从而增加了信息反馈渠道和加快了工作反应速度,有利于实行扁平化管理。

 

4组织机构的适应性及有效性说明

有效利用好人、财、物各方面资源,围绕本项目所要达到的即定目标成功搭建的现场管理组织机构是实现项目综合目标的关键因素,组织机构的设置遵循了八项基本原则,即适应性原则、目标原则、有效管理幅度原则、责任分明原则、协调原则、专业化原则、精干高效原则和以人为本的原则

4.1 体现适应性原则

本投标人特设深化设计部,先于施工进行设计深化工作,以确保技术方案的可行性、加工订货和施工计划的顺利实现;在上部钢结构施工期间,设计优化方案、深化设计图纸,在各专业(指定分包)开始施工前,将设立绘图室,专门解决和协调结构与各专业间的图纸会审和综合问题、设计变更图管理;本投标人还将在建设后期组建交付与保驾中心,集中负责工程的交付与业主设备安装调试的保驾工作。

4.2 体现目标性原则

本项目存在着多个目标,职能部门正是针对多个目标而进行设置的,质量创优目标主要由质量安全部负责落实;安全目标和环保目标主要求工程部、质量安全部和行政部负责落实;工期目标主要由计划协调部负责落实;成本目标主要由成本合约部负责落实;科技创新目标由技术部负责落实;材料和设备质量与物流管理目标由物流采购部负责落实;设计深化及优化目标由深化设计部负责落实;有效沟通目标由行政部负责;工程顺利交付的目标由交付与保驾中心负责。

4.3 体现有效管理幅度和责任分明原则

组织机构为三级管理结构,即管理层(现场组织机构领导班子)、目标规划层(即各部门)、目标执行层(即各专业管理小组)。管理层领导分别主管2-3 个职能部门的工作,体现了有效管理幅度原则;管理层与目标规划层之间是职能型管理模式,各部门只有一个直接领导,保证了管理层各领导和各部门的责权明确。

4.4 体现协调原则

各层次的管理人员都有着明确的管理责任,而各自的管理责任都由对上负责和对下落实两部分组成,并由其它的平行部门加以配合实施。同时,各层管理领导都有明确的协调责任,各专业管理小组间的工作由各职能部门负责协调,各职能部门间的工作由各归口管理层领导负责协调,各管理层领导间的工作,由项目经理负责协调。在各岗位职责中,除明确主要分管职责,也将同时明确对其它部门的配合职责,使组织管理体系形成紧密连接在一起的整体。

4.5 体现专业化原则

在目标实施层中,按标段划分为几个管理板块,每个管理板块内按照专业的不同分为多个专业管理组,负责各专业工作的具体实施,这里所说的专业,不仅包括技术专业,还包括了材料、资料和现场管理小组,用专业对口的人员管理各自专业的工作,体现了管理的专业化原则。

4.6 体现队伍精干原则和以人为本原则

在项目进展的不同阶段对人力资源的配置要求是不同的,本投标人将根据项目阶段性的特点和工作内容的变化,实行管理人员在部门和专业组之间的合理调配,使每个人在项目的不同阶段的工作饱满,防止机构臃肿,体现了队伍精干原则。同时,执行层人员在不同岗位上的调配,使各专业人员能够参与到项目不同阶段的工作中,发挥各具特长的作用,也使这些人员能够更全面的理解项目的工作目标和意图,理解其它部门的工作要求,更全面的掌握项目情况,他们的才干将随着项目的建设而不断提高,也将为项目的建设贡献更大的力量,体现了以人为本的原则。

 

5职责说明

5.1 管理层人员职责

5.1.1 项目经理职责

1. 遵守国家和北京市政府关于工程建设和城市建设管理的政策和法规,在本投标人的授权下,全面负责工程实施,满足业主要求;

2. 严格履行工程总承包合同,确保服务质量和本项目质量、进度、安全等各项目标的实现,参与质量、进度、成本控制方案、物流管理方案的编制,并督促落实;

3. 确定总承包项目管理组织机构,全面组织项目经理部开展工作。

4. 领导编制工程各阶段的目标计划与总体进度计划,建立健全各项管理制度;

5. 指导管理层各领导的相关工作;评价管理层人员及部门经理的工作;

6. 就项目管理需要决策的重大问题,向本部管理委员会提出建议供决策。

7. 负责向本部管理委员会提出内部的人员任免、调配要求,进行部门协调工作,领导人力资源开发和团队建设工作。

8. 做好与业主、监理公司、设计单位的协调工作,与业主保持经常接触,随时解决施工过程中出现的各种问题,多替业主排忧解难,确保业主的利益,负责对业主、监理单位及工程经理部的工作汇报;

9. 积极处理好与项目所在地政府部门的关系,确保当地政府部门的利益,并促使本项目成为爱民工程

5.1.2 总工程师职责

1. 协助项目经理进行技术管理工作,主要负责深化设计部、技术部和质量安全部工作,建立和组织设计室和绘图室工作,配合项目经理对深化设计部、技术部和质量安全部的绩效评价并提出改进措施;

2. 主持编制施工组织总设计,组织审核重大技术方案,审批各分包商的施工组织设计与施工方案,协调各分包商之间的技术质量问题。

3. 主持图纸会审,组织制定深化设计及综合图计划并监督落实;

4. 组织编制测量放线控制方案,管理测量监控工作;

5. 负责建立安全管理组织体系与工作计划,落实各部门相关职责,监督现场落实情况,负责施工安全。

6. 推进与监控质量(ISO9001)、职业健康安全(GB/T28001)、环保(ISO14001)三大体系贯彻执行,制定相应的工作方针,具体主持项目质量管理保证体系的建立,并进行质量职能分配,落实质量责任制,主持质量修正工作;

7. 主持大型技术会议,组织技术骨干力量对本项目的关键技术难题进行科研攻关,进行新工艺、新技术的研究,组织技术培训;

8. 组织有关人员对材料、设备的供货质量进行监督、验收、认可,确保材料及设备质量;

9. 制定技术资料的档案制度,负责组织竣工图工作;

10. 参与部门的职责分配,对各部门主要岗位人员提出聘任与解聘意见。

5.1.3 总经济师职责

1. 协助管理副经理管理本机构的经济活动;

2. 组织分项成本目标的制定与分配工作,监督各部门的成本完成情况;

3. 组织对分包商、供应商的考察与评审工作;

4. 审核各项分包合同与采购合同的经济条款;

5. 审核合同修订、工程变更工作,负责组织竣工结算;

6. 负责制定现场组织机构费用成本计划,对内部经济活动进行合理性和有效性分析;

7. 提出各项成本控制工作的情况分析报告;

8. 协助项目经理进行成本、采购与合约等方面的管理工作,主要负责物流采购部、成本控制部与合约部工作,配合项目经理对物流采购部、成本控制部与合约部的绩效评价并提出改进措施;

9. 负责项目合同管理及分包商的资格审查及招标程序的实施,对合同谈判、合同签定及合同管理的全过程进行监督管理。

10. 组织制定综合成本目标和分项成本控制计划,监控分项成本目标控制工作;

11. 组织招标文件的制定,领导分包、采购的招投标工作;

12. 组织分包商、分供方资格评审、甄选工作,组织合同的评审、合同管理与变更工作;

13. 组织编制物流管理方案,协调现场设施的布置和使用;

14. 参与部门的职责分配,对各部门主要岗位人员提出聘任与解聘意见。

5.1.4 总会计师职责

1. 全面管理现场总承包管理组织机构的经济运行情况;

2. 制定财务工作流程,并须随时审查财务执行过程;

3. 与项目经理共同确认大宗工程款项的支付,共同签认支票;

4. 签认财务运行报告和成本控制情况分析报告;

5. 负责定期提出财务监督情况报告;

6. 参与部门的职责分配,对各部门主要岗位人员提出聘任与解聘意见。

5.1.5 生产副经理职责:

1. 协助项目经理进行现场管理工作,主要负责计划协调部工程部与机电部工作,配合项目经理对计划协调部、工程部、机电部和行政部的绩效评价并提出改进措施,有需要时,生产副经理由各部经理联合组成;

2. 在项目经理领导下,全面组织管理施工现场的生产活动,合理调配资源;负责使项目的生产组织、生产管理和生产活动符合施工方案的实施要求;协调各分包商及作业队伍之间的进度矛盾及现场作业面冲突,使各分包商之间的现场施工有序合理地进行。

3. 参与制定、贯彻项目质量方针目标,并组织质量管理体系的落实,组织制定工程创优计划,落实创优工作,参与技术方案审核,对各分项、分部的施工质量负领导责任;

4. 负责工程的进度管理,领导生产调度室,从计划进度、实际进度和进度协调等多方面进行多元化控制,指导计划协调部编制工程总进度计划和各类实施计划,监控计划的落实情况,确保工程的如期完工。

5. 负责建立环保管理组织体系与工作计划,落实各部门相关职责,监督现场落实情况,

负责现场环保、CI、消防、保卫。

6. 建立健全各项生产管理制度;进行施工现场的标准化管理,确保本工地达到文明工地称号。

7. 组织现场组织机构内部人员的教育培训;

8. 组织建立内部人事、工资、后勤工作制度,抓好内部队伍建设和后勤保障管理。

9. 组织工程前期各项手续的办理;

10 .组织建立信息网络平台和建设工程网站,并为其提供必要保障;

11. 组织现场组织机构人员甄选及人力资源管理与开发;

12. 协助项目经理进行各部门的职责分配与变更,组织各部门工作的定期绩效评定;

13. 对现场各分包商的生活后勤管理进行检查指导,并提出相应要求和建议。积极推进

施工现场文明工地标准化管理达标,负责整个工程的综合治理工作,确保方针目标的实现。

14. 织机构公共关系的对外协调工作,指导、组织对外的宣传和联络工作。

15. 参与部门的职责分配,对各部门主要岗位人员提出聘任与解聘意见。

5.2 部门职责

5.2.1 深化设计部职责

1. 负责设计图纸管理,全面对应设计单位的各项工作;

2. 对设计图纸进行全面审核,配合设计单位进行设计变更;

3. 组织各专业分包商(包括指定分包商)进行专业与结构间、专业之间的图纸会审;

4. 设计图纸的深化,局部大样、放样图、专业综合图的绘制;

5. 汇总、整理、绘制设计优化方案图,与业主和设计单位研究可行性;

6. 配合施工方案的编制工作;配合新技术的确认;

7. 管理设计变更图,绘制竣工图纸。

5.2.2 技术部职责

1. 编制施工组织总设计和各专项施工方案和季节性施工方案,审核各分包施工方案,负责对业主的技术支持;

2. 负责技术课题攻关,组织施工方案和重要部位施工的技术交底;

3. 负责施工过程中的测量与分析;

4. 负责施工技术保证资料的汇总及管理;

5. 努力开发新技术、新工艺,对新材料、新工艺的应用进行技术论证;

6. 配合深化设计部及设计单位对优化设计方案进行分析比较,配合设备采购的技术确认工作;

7. 对专业组进行技术指导,组织专业组的专项技术的培训。

5.2.3 质量安全部职责

1. 项目管理程序化工作的整合及建立标准化制度;

2. 负责ISO9001 质量管理体系的推进,制定质量计划并监督执行;

3. 负责GB/T28001 职业安全健康管理体系的推进,制定安全管理计划并监督执行;

4. 负责ISO14001 环境管理体系的推进,制定环境管理计划并监督执行;

5. 共同进行施工质量、安全、环境检查和施工设施的安全检查;

6. 负责对分包商的标准化管理体系的宣讲教育;

7. 提出质量、环境、安全工作报告。

5.2.4 成本合约部职责

1. 编制工程概预算,编制工程制造成本;

2. 制定总成本目标和分项成本控制目标计划;

3. 分项成本目标执行情况的监督与控制;

4. 经济变更管理和工程结算、决算;

5. 负责对分包合同条款的经济确认;

6. 负责完成工作核算,负责分包商、分供方的工程款、材料款核付;

7. 进行工程成本核算与分析,提出阶段性成本控制报告;

8. 负责制定对分包商的招标文件及合同文本;

9. 组织对分包商的考察及资格评审,组织分包招投标工作;

10. 组织合同评审工作并签定合同;

11. 负责分包合同运行中的管理工作,配合其它部门落实分包商责任;

12. 组织合同交底,对总承包合同风险进行控制;

13. 制定内部运营管理的工作程序,并推动程序化工作进程;

14. 负责与建筑行业主管理部门的接口对应工作。

5.2.5 物流采购部职责

1. 负责分供方资源的管理,建立分供方资源库;

2. 组织采购招标工作,负责分供方资格评审;

3. 负责订货合同的制定、评审和签定;

4. 订货合同的管理,配合其它部门落实分供方责任;

5. 负责设备监造、催交、通关、运输;

6. 场外物流运输的协调管理;

7. 场内物资的分发、调配与管理台帐。

5.2.6 资金管理部职责

1. 按照国家相关的法律法规和财务制度进行财务管理;

2. 负责管理现场组织机构的资金往来;

3. 负责现场组织机构的内部资产核算;

4. 负责项目的成本核算;

5. 负责现场组织机构内部的费用核算;

6. 编制财务报表,对应项目经理部的税务工作;

7. 配合财务总监的监督工作,提出阶段性财务报告。

5.2.7 计划协调部职责

1. 负责制定总体进度计划、阶段性控制计划、月进度计划;

2. 制定专业插入计划;

3. 监督各项计划的落实情况,对完成情况进行分析及计划的调整;

4. 审批各分包商的具体进度执行计划;

5. 负责对各分承包商及各专业进行计划协调,组织进度专题会议;

6. 平衡承包单位的计划协调与进度风险的预测和控制;

7. 组织进度专题会议,提出阶段性进度完成报告。

5.2.8 工程部职责

1. 负责土建工程的现场施工组织与管理;

2. 负责土建与各专业的施工配合与协调;

3. 负责各项施工进度计划的落实与控制;

4. 负责土建专业施工质量的监督、检查与管理;

5. 负责现场的施工安全的组织与管理工作;

6. 负责施工现场的环境管理工作;

7. 负责土建施工机具与现场临时设施的管理。

5.2.9 机电部职责

1. 负责机电专业的现场施工组织与管理;

2. 负责机电专业的施工计划实施,配合土建专业的施工条件;;

3. 负责机电专业的施工质量监督、检查与管理;

4. 配合相关部门进行专业设备、材料采购的质量确认;

5. 负责机电专业现场施工的安全与环境管理;

6. 负责现场施工机具的用电安全检查与管理;

7. 负责现场临时用水、用电设施的管理。

5.2.10 行政部职责

1. 负责项目前期手续的落实;

2. 负责现场CI 管理和保卫管理;

3. 负责内部的人事管理、劳资管理;

4. 负责办公制度的执行和后勤工作;

5. 负责现场组织机构的办公用品、固定资产、交通车辆管理;

6. 负责内部的思想宣传工作;

7. 负责协调与周边单位和居民的关系。

8. 建立和管理现场组织机构信息网络平台;

9. 进行项目相关信息的收集、整理;

10. 对外进行信息发布;

11. 组织对业主以及项目经理部的工作汇报;

12. 建立和维护工程网站;

13. 配合其它部门的外部专业信息收集;

14. 协调现场组织机构与外部关系,协调项目各相关者关系。

5.2.11 交付与保驾中心(在施工后期建立)

1. 制定项目交付工作计划;

2. 组织和检查各部门和各专业组的项目交付的准备工作;

3. 与业主专业设备安装单位进行沟通和协调;

4. 组织进行项目交接和资料交接;

5. 确定保全期的组织体系和保全期工作流程;

6. 配合成本合同部签定保全合同;

7. 制定试运行及保驾方案,进行人、机准备;

 

6人力资源配制

现场组织机构的人力资源将以本投标人内部的优秀人才为基本来源,并面向全社会人才资源进行优化组合。

6.1 管理层的人员配制

由于本项目的复杂性和重要性,现场组织机构管理层人员将是懂管理、懂技术、懂经济并且具有较强协调能力的复合型人才。

项目经理人选:本部将任命一名具有高级职称并在近5 年内担任过类似规模的大型公建工程项目经理,且获得过鲁班奖的一级项目经理作为现场组织机构的项目经理,接受本投标人的授权,领导现场总承包管理组织机构成员,全面负责本工程的实施。

生产副经理人选:本部将派遣一名具有高级职称和一级项目经理资质,有丰富的施工现场组织、指挥、控制与协调能力,有同类规模工程施工管理经验的人员担任生产副经理。

总工程师人选:本部将派遣一名具有教授级高级工程师职称,有极强的技术水平,较强的管理能力,有进行同类规模与技术难度工程的技术管理经验的专家型高级人才担任总工程师。

总经济师人选:本部将派遣一名具有高级经济师职称,有丰富的经济管理经验和相应工程经历的高级经济管理人才担任总经济师。

总会计师人选:本部将选拔一名具有高级会计师职称,有丰富的财务审计与管理经验的资深财务管理人士,直接对本部负责,全面管理现场机构的财务运行与资金使用情况。

6.2 部门经理的配制(目标规划层)

对于目标规划层中的各职能部门经理,本投标人将选择有突出专项技能和丰富实践经验的技术、经济、管理型人才担任,组成目标规划层的骨干力量,在各主管理层领导的直接领导下开展工作,规划、指导、控制和协调目标执行层(各专业管理组)开展工作。

对各部门领导选定的基本要求为:具有10 年以上相关工作经验,具有但任相应管理岗位经验,具有与部门工作相对应的岗位证书和职称。

6.3 部门成员及专业组成员的选择(目标执行层)

对参与本项目建设的专业人员在整体上将有较高的素质要求,高级职称人员将占总人数的15%以上,中级职称以上人员将占50%以上,初级职称以上人员将占70%以上。由于本项目的重要性,本投标人将优选在以往工程管理工作中,表现出色,有敬业精神,并具有较好的业务水平、外语水平、管理与组织能力和专业对口的人员进入现场机构工作。

6.4 管理人力配制计划

根据工程进展和标段划分要求,管理人员总人数将不断增加,在结构施工后期,设备安装开始插入,幕墙完成后,将进入各专业设备安装与装修交叉流水的施工高峰期,管理人员人数也将相应增加,最高峰管理人员将达到85 人。

6.4.1 管理人员配制计划图表

现场机构管理人员的配制应符合本工程施工的计划安排,也同时要符合建筑施工的客观规律。人员的不足,使每个管理人员工作量增加,工作的深入程度、身体以及情绪将受影响;人员过度,使部分管理人员工作量不饱满,逐渐产生懒散、攀比情绪,工作效率下降。另一方面,施工进度计划只反映了工程的形象进度预期,而非管理工作进度,管理工作的开展无疑将先于现场施工,本投标人在管理中也特别强调了规划与计划重要性,以及技术准备、经济准备、现场准备、组织准备、资金准备和各项资源准备的重要性。根据管理工作的安排适当增减管理人员数量,并留有一定的提前量,使管理团队保持高效工作状态,现场管理工作始终有序进行,同时也能控制好在管理费用上不必要的投入,使项目资金更多的应用在工程本体的建设。

管理人员配制计划表

           时间

部门

         人数

 

 

 

 

 

 

 

基础

电视文化中心

酒店

设备安装

外装修

内装修

配合保驾

 

 

 

 

 

 

 

 

 

 

 

 

 

 

管理层

总经理

1

1

1

1

1

1

1

总工程师

1

1

1

1

1

1

1

总经济师

1

1

1

1

1

1

1

总会计师

1

1

1

1

1

1

1

生产副经理

1

1

1

1

1

1

1

人数小计:

5

5

5

5

5

5

5

各部门

深化设计部

8

8

10

10

10

9

3

技术部

6

8

10

10

10

10

5

质量安全部

6

8

10

10

10

10

5

成本合约部

6

8

9

9

9

9

6

物流采购部

4

8

9

9

9

8

5

资金管理部

2

3

4

4

4

3

3

计划协调部

3

3

4

4

4

4

3

工程部

6

8

10

10

10

10

5

机电部

6

8

10

10

10

10

5

行政部

2

3

4

4

4

3

2

交付与保驾中心

 

 

 

 

 

 

8

人数小计:

49

65

80

80

80

76

50

人数总计:

54

70

85

85

85

81

55

6.4.2 人员配制计划的说明

如上图所示,现场机构各部人员总数在整个工程建设期内随工程施工进展而逐渐增多,随工程收尾而减少,各部门的人数配制将符合管理阶段性特点。

深化设计部人员配制:深化设计工作是本工程技术管理工作的重要一环,在开工后,我们将投入必要人员率先深入开展深化设计工作,以保证相对于方案与施工的提前量。在内装开始阶段,将会有大量的装修与设备安装工程的交叉设计,深化设计部人数将达到高峰。

技术部人员配制:技术部主要负责方案编制和技术支持工作,施工方案应先于施工即得到监理审批,方案编制将提前开展;钢结构施工后期,技术部人员将达到高峰,而后的装修与电机分项方案、质量检查、资料整理工作也将需要一定管理人员。

质量安全部人员配制:质量安全部部主要负责现场三大体系标准化管理的推进,施工前期将完成针对本工程的执行标准并不断推进,随着现场施工和管理工作增加,标准化运营的监管工作也随之加大并与施工基本同步,在施工收尾期配合其它部门的资料整理。

成本合约部人员配制:成本合约部前期主要进行分包招标的准备工作,并尽早开展分包商的招标工作,以充分进行对比甄选,使分包商全面符合本工程质量、工期和造价等的要求;负责目标成本的划分与制定,工程过程中进行成本的控制和工程变更管理,后期主要进行业主与分包商的结算工作,人员基本稳定,施工中期达到高峰。

物流采购部人员配制:施工前期进行采购规划并尽早进入采购招标工作,组织材料设备进场和协调场外运输和场内库管工作,本工程涉及的材料设备众多,采购和物流管理工作量巨大,故将派遣足够人力。

资金管理部人员配制:由于本工程浩大,历时时间长,资金管理部将分为内务财务、工程财务和税务财务三部分,但人数将尽可能减少。

计划协调部人员配制:计划先于施工,且是施工顺利开展的先期保障,计划不只是反映工序关系和持续时间,还涉及劳动力、材料设备、机械机具、资金、场地的使用等方面的工作安排,是施工管理至关重要的一环,本投标人将投入必要的人力,事先进行计划的深入安排,力保施工的合理有序。计划协调部人数也将随施工进展而变化并保持一定的提前量。

工程部人员配制:开工后首先进行现场暂设布置,而后开始桩基础施工、地下结构施工、钢结构施工、混凝土施工,后期进行幕墙、内外装饰工程、庭院等,工程部人数随工程进展而变化,且始终保持较高人数。

机电工程部人员配制:在结构阶段机电工程在现场主要为预留预埋,我们将充分利用这段时间进行技术、材料加工订货等的准备工作,并配合好业主进行指定分包的招标工作,管理、协调好专业与结构间的搭接,落实作业面施工条件。从某种意义上讲,缩短机电安装工期是缩短总工期的关键,而机电安装准备工作的程度决定了现场机电安装的时间。机电工程部人数将在结构施工后期达到高峰。

行政部人员配制:行政部负责现场机构的内部管理和现场保安管理,负责外部公关协调和信息平台开发与维护,后期配合业主宣传,人数将随着工程的开展逐渐增加。

交付与保驾中心人员配制:在工程交验期成立的交付与保驾中心全面统筹,有计划的安排本工程的分部分项交验工作,组织试运行保驾工作。本部门人员将从其它各部门抽调,主要来自工程部及成本合约部。

 

7总承包管理措施

7.1 本部对现场组织机构的支持措施

1. 本部对现场组织机构的资源支持:本投标人在长期的总承包经营过程中形成了巨大的资源,这些资源将成为实现本工程技术、经济、管理等目标的坚实保障,本部资源将向现场组织机构全面开放,使其完全有能力应对工程建设中的各种挑战,出色地实现业主目标。

2. 本部对现场组织机构的技术支持:本投标人拥有效强的技术实力,并有解决重大技术难题的丰富经验,在本工程建设过程中将向现场组织机构提供强有力的技术支持,确保解决好工程的一切技术问题。

3. 本部对现场组织机构的人员支持:本投标人保有各领域、各专业的优秀人才,同时也拥有充足的人才储备,并根据本工程的特殊性和重要性合理配备人员,确保现场组织机构的管理人力需求。

7.2 本部对现场组织机构的放权措施

1. 现场组织机构将得到投标人本部有效的最大授权,使其能够充分发挥总承包管理的完整性和主动性,能快速对应和解决实施过程中不断出现的问题,更好地对应业主、监理和政府部门的要求,有利于项目综合目标的实现。

有效放权的含义主要包括以下内容:

1) 现场组织机构对人员的统一管理权,有利于实施统一的系统性的管理;

2) 现场组织机构在各控制目标范围内实行独立操作,使现场形成一个声音,全面对业主负责;

3) 现场组织机构拥有足够的财务权,保证了工程进行中的资金严格到位,便于其周全地、负责地考虑收支与成本目标间的关系

4) 现场组织机构对物资采购与分包选择权,有利于实现对现场各施工单位指挥的唯一性。

7.3 本部对现场组织机构的权力制衡措施

现场组织机构将得到本部的最大受权,有利于项目综合目标的实现,但为了防止独断而可能给项目带来的损失,我们将从以下几个方面对权力进行制衡:

1. 对管理层人员的任免,需经过本部管理委员会的同意;

2. 财务支出需由项目经理和总会计师共同签字;

3. 对各项方案的推出,由管理层全部人员会签;

4. 通过独立的风险预警机构对现场管理工作实行监控。

7.4 规划、实施与控制的组织措施

施工管理遵循着规划、实施、控制、偏差调整、实现目标的客观规律。在各部门的工作组织上,我们注意将规划过程、实施过程与监控过程适当分立,以职能部门合理互动的组织方针,保证管理过程的科学性,如下图所示:

 

 

 

 

 

 

 

 

 

 

 

 

 

 

 

 

 

 

 

 

 

 

 

 

 

各部门在规划、实事、控制中的责任分配图

对于目标实施层而言,目标规划层将制定实施控制方案与计划并指导和监督执行,目标实施层具体负责方案与计划的实施,体现了责任分明原则。目标规划层与目标实施层之间是矩阵型管理模式,决策、授权、指挥与控制的由上而下,实施情况报告反馈的由下而上,确保了决策及时、指挥畅通、沟通灵活。同时,也有利于针对工程进展情况和工作重点的阶段性转移,灵活调配人员,提高人力资源的利用率。

7.5 制度化管理措施

本投标人将立足于建全内部管理制度来规范现场组织机构的总承包管理行为。采用的主要制度化措施包括:

1. 项目管理责任制:通过项目管理责任制建立起层层责任约束机制,使项目建设全过程的管理责任得到落实,有利于保证项目各项管理目标的实现。

2. 内部审计监督制:审计监督将贯穿整个项目的实施过程并涵盖管理工作的各方面,本部将聘请独立的审计部门对现场组织机构的运行情况作出定期的审计,及时纠正工作缺陷。

3. 廉政协议制:为实现业主利益的最大化,本投标人将把廉政建设摆在重要位置,对关键环节进行跟踪检查,考核各项廉政协议的落实情况。

7.6 总承包目标的落实措施

总承包管理的最终目的是实现本工程的全部目标,涵盖项目全员、全方位和全过程的目标责任制是强化内部管理的有效办法。我们将对各目标进行逐步分析和层层分解,细化为一个个子目标和阶段性目标,据此进行资源筹措、配置和协调,以各级子目标和各阶段性目标的如期实现来保证总体目标的最终实现。

根据目标分解,本投标人将建立健全相应的内部管理机构与制度,确立行为规范,使各部门、各级各类人员努力有方向,工作有标准,办事有依据。各项目标将具体落实到部门,落实到部门领导,目标落实框图如下所示(细箭线表示弱相关):

目标的部门分工图

现场组织机构将对各项总目标进行分解,逐级分解出各子目标及阶段性目标,在此基础上划定工作范围、工作内容和工作量,确定项目各阶段的关键控制点,并制定相应的控制计划,可量化的逐步实现各项总目标。

本部也将针对工程目标建立有效的支持体系,并通过组成目标小组落实具体工作,各小组职责分配如下表:

目标支持小组职责分配表

          目标

 

支持组

安全

质量

工期

成本

环保

科技创新文明施工

安全联合检查组

质量联合检查组

进度联合监督组

合同联合审核组

场容联合检查组

技术联合支持组

注:主要支持组;配合组;相关组

7.7 核心控制与体系推动措施

为确保项目总体目标的实现,现场组织机构将制定各项控制基准并保证各项工作符合基准要求。以质量、进度、成本三大控制为核心,着眼于资源控制,落脚于现场控制。推动质量、环境和职业健康安全三大体系的一体化运行,同时,在提高生产效率、降低风险、解决冲突等方面作不懈的努力。

三大体系的一体化,是指在质量、环境和职业健康安全管理以及相关管理方面进行同步控制,并保证这些目标得以实现的制度、措施、方法及资源配置的综合体系。其基本模式如下图:

尽管质量、环境与职业健康安全三大体系各自都有不同的具体方针、目标、保证措施和评估指标与方法,但都要经过体系建立、评估和认证,运行中都将遵循同一个基本模式。我们将三大体系将齐头并进,同时贯穿于施工的全过程、全方位,在制定相关管理制度、采取措施方法及资源配置上,将综合考虑这三种因素,达到平衡协调,以使质量、环境、健康与安全目标得以共同实现。

三大体系一体化基本模式图

7.8 质量控制措施

现场组织机构将在制定质量分项控制目标的基础上,认真分析影响质量的诸多因素,通过制定周密的施工方案、合理的配置人员和机械,严把供货关、过程关,加强质量的追踪检查,实现质量的过程精品。在质量控制中注重事前控制,把握好质量与进度和费用之间的统一。(详见第四篇 质量保证体系及措施)

7.9 进度控制措施

现场组织机构将建立完善的进度计划分级管理体系,按照合理的工序和施工流水段划分,制定包含各专业的综合进度计划,安排好劳动力、作业面、施工机具等相关因素。应用先进、成熟的计划管理软件,对实际进度与计划进度作即时比较分析,及时纠正偏差,控制整体进度计划的实施。(详见第三篇:施工总工期控制及保证措施)

7.10 成本控制措施

在保证工程质量、工期和其他目标要求的前提下,现场组织机构划定成本控制分解结构,运用价值工程理论进行成本的合理分配,确定分项成本控制基线,保证各分项工程的资金使用,并采取科学合理的措施避免一切浪费,使各项费用控制在合理的计划范围内,使资金发挥最大的效能,始终保证施工的良好进行。

为真正实现成本控制的预期目标和成果,我们在项目成本成本预测、计划、实施、核算、一体化管理体系的持续改进分析、考核、整理成本资料与编制成本报告的过程中将采取以下主要控制措施:

1. 目标形成控制:包括真实性控制、完整性控制、目标调整。

2. 执行过程控制:包括数据统计及时准确、质量控制到位、组织保证落实、施工组织设计控制、材料用量/价格/费用的三大因素控制、合理调度、综合分析与处理、合同管理、竞争机制引入。

7.11 安全、环境与文明施工管理措施

现场组织机构将始终坚持安全第一的宗旨,建立完善的全过程、全员安全管理体系,将安全责任落实于每一个管理人员;注重环境与人的关系、环境与施工质量和安全生产的关系,进行环境指标的分解落实;从以人为本的观念出发,营造良好的现场环境,体现本投标人良好的管理水平和精神风貌。(详见第五篇:安全和文明施工)

7.12 生产要素的优化配置和动态管理措施

本工程的体量巨大、内涵丰富、工期紧张,需调动大量的物质资源,现场组织机构将对此进行充分准备,建立物流管理平台,对生产的相关要素进行事先的优化配置和过程中的动态管理,使施工安排井井有条,施工现场秩序井然,以确保各项目标的顺利实现。

7.13 信息管理措施

为适应本工程相关单位多、信息交流量大的特点,我们在公共关系部内设立网络管理室,建立工程信息的网络管理平台,信息网络管理平台的作用如下图所示:

信息管理中心沟通作用图

7.14 总承包商的协调措施

现场组织机构在施工管理过程中,将满足建筑各项法律法规的相关规定,服从业主、监理单位的管理,成为项目的协调中心。达到系统——组织——人员的大三角整合以及质量——进度——费用的小三角整合,努力使项目所有相关者满意。

7.15 团队建设

为业主提供优质周到的服务,要求一个和谐、士气高昂、高效的项目团队与之对应。现场组织机构将大力开展团队建设活动,最大地发挥个人和集体的创造性及潜力,提高整体工作绩效,在工作中将采用的专门措施,使总包管理团队成员明确工作方向、任务和目标,同时为每个人明确其职责和角色,邀请团队成员积极参与解决问题和决策过程,积极放权,使成员进行自我管理和自我激励,增加团队成员的非工作沟通和交流的机会,培养出具有凝聚力的团队精神,以实现为业主提供优质服务的最终目的。

团队建设主要包括:1、创造良好的工作环境和氛围,加强成员的凝聚力,提高团队士气;

2、分析不同阶段可能的冲突,制定冲突解决方案,有效进行团队的冲突管理;3、通过完整的绩效考核体系,形成统一的价值取向,提高职员的责任感;4、坚持以人为本的原则,合理运用激励方法,调动职工的工作积极性。

团队建设的方法主要有:

7.15.1 绩效考核与激励

本投标人通过绩效考核与激励的方法来进行人力资源的管理,绩效考核主要分为品质基础型考核、行为基础型考核和效果基础型考评。激励则是运用有关行为科学的理论和方法,对成员的需要予以满足或限制,从而激发成员的行为动机,充分发挥其潜能,为实现本工程目标服务。以下是综合激励模式图:

 

 

 

 

 

 

 

 

 

 

 

 

 

 

 

 

 

 

 

 

 

 

 

综合激励模式图

7.15.2 加强沟通

现场机构不仅需要工作上的沟通,还需要一些生活上的沟通,这可以帮助大家建立信任和友情,沟通的形式也将是多样的,如工作之余的聚会、郊游和参加与央视有关的社会活动等,以加强团队成员之间的了解和交流,对本项工程建设起到促进作用。

7.15.3 解决冲突

本工程建设的难度大,工期紧,对于现场机构的工作人员而言,巨大的工作压力下冲突是在所难免的,冲突的益处是暴露问题,激起讨论,澄清思想或寻求新的方案;害处是控制不好就会破坏沟通、破坏团结、降低信任。解决好冲突是我们在团队建设中的重要一题。

正确解决冲突,首先要建设大局为重,营造氛围,控制情绪,建立友善信任的环境;其次要正视问题,换位思考,乐于倾听;还要积极沟通,寻找分歧,重新思考,力争达成一致,尽力得到最好和最全面的解决方案。

7.15.4 培训

本投标人还将通过系统的培训工作来提高项目团队的各项技能,保证现场机构成员具备完成本工程管理工作所需要的知识和能力,更好地完成本职工作。在本工程中的培训,将覆盖技术、管理、合同、技能、应用等各个方面,覆盖管理层、执行层到分包商的各个层面。使团队的整体技能在本工程建设过程中不断增强,以适应央视新址建设的高水准要求。

培训工作分为技术技能规章三方面进行,各部门归口负责现场机构成员的培训工作,负责培训需求的调研,编制培训计划,建立并保管职工培训档案。各职能部门也将负责本部门职工的日常意识教育,对新员工进行专业岗位培训。

培训工作流程为:

 

 

培训内容(见下表)

主要培训内容计划表

序号

培训内容

组织部门

配合部门

1

标准化培训

质量安全部

行政部

2

员工入职培训(职业道德、规章制度等)

行政部

相关部门

3

项目总体目标管理培训

工程部、机电部

成本合约部

4

员工晋升、职称培训,持证、换证培训

行政部

相关部门

5

法律、法规及其他要求培训

成本合约部

行政部

6

信息化管理及应用技能培训

行政部

技术部

7

应急预案和响应培训

成本合约部

相关部门

8

合同管理培训

成本合约部

行政部

9

质量管理培训

质量安全部

技术部

10

成本管理培训

成本合约部

相关部门

11

施工技术培训

技术部

工程部、机电部

12

安全文明及环境保护管理培训

质量安全部

工程部、行政部

13

分包培训(以交底和三级教育为主)

工程部、机电部

行政部

加强对特殊岗位人员的培训,也是事前控制的手段之一,在本工程的建设过程中,我们重点将对以下各类人员进行岗位培训,提高各级管理意识,保证工程的安全、顺利进行:

重点岗位培训表

名称

包括人员

特种作业人员

高低压运行维修电工、电气焊工、信号指挥挂钩作业、垂直式卷扬机操作、桥式起重机驾驶、机械施工用车驾驶(含推土、叉车、挖掘机、小翻斗车等)、电梯运行维修工、电梯安装维修、试验工、计量检定工、测量放线工等

与重大危险因素有关的岗位人员

项目经理、生产副经理、工程部部长、电机部部长、测量主管、各专业工长、质量员、安全员、机械管理员、材料员等。

可能产生重大环境影响的工作人员

油漆工、防水工、架子工、钢筋工、混凝土工、木工、电工、通风工、管道工、抹灰工、电焊工、材料员、消防人员等

除了事先确定的培训内容外,现场机构还将根据工程进展情况和出现的问题以及业主、监理方的要求增加相应内容。

确定培训需求 制定培训计划 改进 实施培训 培训效果评价

 

3、主要技术方案概述

1技术方案选择的原则

**电视台新台址B 标段工程是为2008 年北京奥运会提供奥运转播使用的重要工程项目。

将依靠管理、技术、装备等方面的优势,严格遵守设计、施工规范及合同的要求,精心施工、科学管理,确保该工程按期优质完成。以高品质的产品回报建设方的信任,履行本投标人的承诺。

同时,本投标人将遵循绿色、科技、人文的奥运会理念,在工程中展示现代化建筑企业文明施工的崭新形象,为奥运工程贡献本投标人的力量,通过采用可靠、成熟、先进的高新技术成果,实现奥运场馆的时代性和科技先进性,使其成为展示我国建筑施工高新技术成果和创新实力的一个窗口。

充分分析工程特点、难点,对桩基工程、大体积混凝土、钢结构工程、劲性混凝土、清水混凝土工程等进行深入研究,选定了各主导工程的基本方案。

 

2主要技术方案概述

2.1 降水工程

根据降水要求和地下水、地层分布及组成的特点, 结合本投标人周边工程的施工经验,同时参考周边工程的降水成果,本工程采用大口井结合自渗井的降水方案。基坑北侧开挖的深度为11.05m 左右,而地下潜水水位在地下水位埋深为13.3015.90m,此部分地下水对基坑的施工没有影响,因此,不做降水处理。

基坑南侧开挖深度较深,基本都大于13m,因此,在基坑南侧的上部布置大口管井排降潜水;中间深坑区-19.6m-17.6m-15.6m 位置为满足开挖要求,需要进行抽降开挖深度范围内的潜水及第一层承压水头。

如果采用了上述降水方法,在开挖时仍有局部出现地下水,特别是几个开挖较深的设备坑部分,可采用明沟排水的方式作为补充降水。

2.2 土方工程

基坑为一不规则梯形形状,东西长约200m,东侧南北宽度约90m,西侧南北宽度约150m。整个基坑分为3 个区:核心筒周围为一区、基坑西南部为二区、车库为三区;一区安排4 台挖土机开挖至-6.0m,二区安排3 台挖土机开挖至-6.0m,三区安排2 台挖土机从西向东挖土。一区和二区的运土车经由三区,通过东北角的汽车坡道往基坑外运土。这样安排以方便提前插入核心筒区抗压桩的施工。然后进行下步-6.0m~打桩工作面标高土方的开挖。

2.3 钢筋工程

2.3.1 钢筋加工

为保证合理下料,提高钢筋成材率,从而降低成本、加快施工速度,全部钢筋加工、成型集中进行。地下结构阶段,由于场地限制,所有钢筋在场外加工;地上结构施工阶段,钢筋在现场内集中加工。

2.3.2 钢筋连接

直径22 的钢筋采用直螺纹连接;钢筋直径<22 的钢筋接头采用绑扎搭接。

2.3.3 垫块选择

墙、柱、梁侧面、楼板保护层采用塑料卡和塑料垫块,对于桩承台、底板、框架梁底等必须承受钢筋自重的位置采用混凝土垫块。

2.4 模板工程

根据不同结构构件的特点,结构施工中采用不同的模板体系。地下外墙采用多层木模板,柱子采用定型钢模板,顶板使用多层木模板,核心筒使用定型钢模板。

非结构混凝土饰面主要以维萨板为模板面板,以保证混凝土的饰面效果。

2.5 混凝土工程

本工程混凝土均采用商品混凝土,现场采用混凝土泵送到位。

2.6 钢结构工程

1. 施工工法

1) 桁架高度不高的低层结构采用分段吊装,高空对接,具体为:展览大厅、舞台塔及后舞台、视像室、数码电影院。

2) 酒店部位桁架底标高在129.90m,桁架两端与酒店楼梯筒及核心筒结构连接,桁架下部至标高17.90m 无结构,净空高度达到了112.00m。采用地面拼装,整体提升。在提升过程中,将承重桁架下吊挂的两层结构柱、梁可以安装的构件全部安装到位随桁架一起提升。

酒店西侧直立网架上端点与桁架下弦连接,在桁架提升到一定高度后(根据施工要求),进行此部位网架拼装,完成后提升,然后再拼装网架,直至西侧直立网架全部拼装完成后,随桁架一起提升至设计标高。

3) 酒店西侧倾斜网架采用分段拼装,累积滑移

2.7 垂直运输工程

2.7.1 塔式起重机布置

根据建筑物的平面形状、尺寸及现场总平面的情况,基础及主体结构施工阶段选用3 台塔吊,两台型号为C7050,最大回转半径70m。另一台型号为H3/36B,最大回转半径60m。两台C7050 塔吊立在基坑内,H3/36B 立在基坑外。

2.7.2 混凝土输送泵的布置

根据施工区域的划分,为每个施工区配备一台混凝土输送泵,型号为HBT80。另准备一台备用泵,共六台泵。

2.7.3 施工电梯的布置

在装修和机电设备安装阶段,垂直运输需要使用到4 台外用双笼电梯,型号为SCD200/200,外用电梯全部布置在建筑物北侧,临近主要的材料堆场。

2.8 大体积混凝土工程

本工程基础底板、地下室竖向结构等部位存在大量的大体积混凝土,其中最大厚度底板大体积混凝土厚度为15002500mm,混凝土强度等级为C40 S8,一次最大浇筑量约8500m3。北侧、东侧、西侧地下室外墙厚1 m,混凝土强度等级为C60 S8

采用大体积混凝土综合措施法施工,通过有效组织供应保证连续浇筑。

以电子测温及专用软件分析,监测温度和应力变化。

以调整覆盖层方法控制温度。

 

4、施工机械配置

1土方及桩基施工机械需用计划

名称

型号

数量()

功率(kW)

用途

反循环钻机

 

3

70

降水井成孔

地质钻

SH-50

3

 

 

自渗井成孔

挖土机

日立EX300-3

4

 

 

土方挖运

卡特330B

5

 

 

自卸汽车

斯太尔

88

 

 

土方运输

注浆泵

2SNS

1

 

7

土钉墙施工

BW-250

2

 

7

锚杆机

 

2

 

 

预应力锚杆成

旋挖钻机

R-622HR416

4

10

 

基础桩成孔

履带吊

50t

2

 

 

吊放钢筋笼

直螺纹成形机

GHB40

4

4

 

 

钢筋切断机

GQ40-1

4

5.5

 

切钢筋

 

2主体结构施工机械需用计划

2.1 基础结构施工阶段

机械或设备名称

型号规格

数量

()

额定功率

(KW)

生产能力

备注

塔式起重机

H3/36B (60m)

1

160

起重能力294t·m,最大起重量为12t

 

塔式起重机

C7050(70m)

2

160

500t·m

 

混凝土泵

HBT80.8.112R Z

6

112( 柴油)

80/h

1 台备用

混凝布料机

HG17

3

11

80/h

 

振捣棒

HZ-50

50

1.1

 

20 台备用

钢筋调直切断机

GT4/14

3

7

15t/台班

场外加工

钢筋切断机

GJ40

6

7

10t/台班

场外加工

钢筋弯钩机

WJ40

6

6

3t/台班

场外加工

滚轧直螺纹套丝机

TS-40

12

7.5

400 /台班

场外加工

无齿锯

MTG3040A

9

1.1

 

场外加工

电焊机

BX3-300-2

9

23.4

 

 

 

机械或设备名称

型号规格

数量

()

额定功率

(KW)

生产能力

备注

蛙式夯土机

HW60

6

2

 

 

空压机

VV-0.6

3

2.5

 

 

电锯

MJ-114

6

2.25

 

 

手提电锯

STDJ-116

9

1

 

 

电刨

MIB2-80/1

6

2.25

 

 

消防给水泵

150D-30x5

2

90

126m3/h

1 1

施工给水泵

50GDL18-15

2

12

20m3/h

1 1

2.2 主体结构施工阶段

机械或设备名称

型号规格

数量

()

额定功率

(KW)

生产能力

备注

塔式起重机H3/36B (60m)

1

160

起重能力为294t·m,最大起重量为12t

 

塔式起重机C7050(60m)

2

160

500t·m

 

混凝土泵HBT80.8.112RZ

6

112

80/h

1台备用

混凝布料机HG17

2

11

80/h

 

建筑施工外用电梯SCD200/200G

4

11

最大起重量为2t

 

振捣棒HZ-50

40

1.1

 

20台备用

平板式振捣器ZB11

4

1.1

 

 

钢筋调直切断机GT4/14

2

7

15t/台班

 

钢筋切断机GJ40

4

7

10t/台班

 

钢筋弯钩机WJ40

4

3

3t/台班

 

螺纹套丝机TS-40

8

7.5

400 /

 

无齿锯MTG3040A

6

1.1

 

 

电焊机BX3-300-2

6

23.4

 

 

空压机VV-0.6

2

2.5

 

 

电锯MJ-114

4

2.25

 

 

手提电锯STDJ-116

8

1

 

 

电刨MIB2-80/1

4

2.25

 

 

消防给水泵150D-30x5

2

90

126/h

1 1

施工给水泵50GDL18-15

2

12

20/h

1 1

2.3 钢结构施工阶段

机械或设备名称

型号规格

数量

额定功率(KVA)

用于施工部位

备注

50t 履带吊

 

1

 

构件卸车

 

20t 板车

 

1

 

场内构件运输

 

CO2 气保焊机

DYNA AUTO XMARK III50

6

32

焊接设备

 

CO2 流量计

FCR-150CN

 

/

焊接设备

 

Ar 流量计

高压表250

 

/

焊接设备

 

 

 

 

低压表12

 

/

 

交流弧焊机

BX1-500

10

41

焊接设备

栓焊机

QZL2000A

2

120

焊栓钉

烘干箱

60kgMODEL 60kgMODEL ZYH60

4

8 5

350oc500oc 焊条烘干

 

ZPG-1000

 

 

 

碳弧气刨枪

ZXG71000

10

/

焊接

碳弧气刨咀子

Ф6Ф9

100

/

焊接设备

数控等离子切割机

EXA-6000

1

30

切割

焊条保温桶

立卧两用5Kg

20

/

120oC

 

S10t 扭剪型M1622

6

 

每套设初终拧控制箱

高强度螺栓扳手

S10t 扭剪型M2224

4

 

把线30m

 

F10t 大六角头摩擦型

2

 

每台可拧3000

手动扳手

大六角(包括套筒)

6

/

M16202224

汽车式起重机

QY25

1

/

构件倒运

履带式起重机

CC2000

1

/

钢柱吊装

电加热板

 

20

10

预热、后热

卷扬机

JM8

2

15

网架滑移

提升泵站

 

 

120

 

千斤顶

LSD200

4

 

桁架提升

LSD100 JHJ10

4 5

 

桁架提升构件安装

JHJ5

5

 

构件安装

 

5、劳动力配备

1各主要专业劳动力需用计划

序号

工种名称

施工阶段

基础施工

主体施工

装修穿插

装修施工

1

测量工

12

12

12

12

2

防水工

90

0

90

0

3

试验工

6

6

6

6

4

钢筋工

600

500

530

30

5

结构木工

900

750

750

20

6

混凝土工

90

90

120

30

7

壮工

90

50

80

100

8

抹灰工

30

30

120

180

9

装修木工

0

0

60

150

10

油工

2

2

60

200

11

瓦工

30

0

60

60

12

水暧工

20

30

90

60

13

电工

80

90

120

30

14

电焊工

10

30

36

6

15

架子工

90

90

90

90

16

电梯工

0

0

12

12

17

塔吊司机

12

12

12

0

18

起重工

20

20

20

20

19

信号工

16

16

16

0

20

瓷砖工

0

0

60

90

21

石材工

0

0

30

50

22

钢结构施工

20

90

90

60

 

合计

2118

1818

2464

1206

注:本表中的劳动力人数没有包括指定分包项目的施工人数。

 

2劳动力资源曲线

详见附篇附录八

 

3保证工程质量的重点控制工种

保证工程质量的重点控制工种主要有:电气焊工、电梯安装维修工、计量检定工、测量放线工、试验工、油漆工、防水工、架子工、钢筋工、混凝土工、木工、电工、瓦工、通风工、管道工、抹灰工、电焊工、材料员。

 

4重点工种控制途径与制度

4.1 重点工种的控制途径

在与本投标人配合多年的劳务队伍、分包队伍中选择最优秀的做为本工程的施工队伍,同时选出一部分重点工种技术水平高,人员素质好的队伍做为备用,并与之签订协议,保证满足

本程施工的重点工种在人员数量上和技术水平上的需要。

对选定的劳务队伍、分包队伍中的重点工种在进场前对其所持上岗证进行符合,并由技术部、工程部、质量安全部、机电部联合对重点工种实施技术水平的考核。

4.2 重点工种的控制制度

技术部、工程部、质量安全部、机电部联合选择有重点工种的施工队伍和分包队伍,由总工负责确定。对所有重点工种人员进场前进行入场教育、验证、考核等工作,重点工种人员在其施工阶段不得随意流动。定期对重点工种人员进行技术培训和指导,参加质量例会。

 

6、现场建设与平面布置

本工程施工现场比较狭小,且处于特殊地理位置,作为总包单位将宏观考虑全局,按照现场总平面布置图的布局,并结合实际情况,分阶段合理安排现场布置。为各分包单位提供必要的材料设备仓库、设备堆放区、办公用房;指定垃圾存放点,由总承包单位负责清运和消纳;

统筹管理施工现场的围挡、交通、安全、保卫和施工消防工作;杜绝私搭乱建,保持良好的场容场貌。

 

1施工用地状况

本工程位于北京市朝阳区东三环中路32 号,北京商务中心(CBD)内。现场北侧临朝阳路,西侧临东三环中路。场地东界限为N10 规划路东边线,南面为E8 规划路中心线与CCTV 标段施工区域相邻。西面的、北面为现有围墙。现场周边北侧有新苑2 号楼、新苑3 号楼、新苑4号楼;西侧有现状居民楼。施工现场内用地狭小,特别是待建建筑西侧和北侧,基坑开挖后,西侧和北侧基坑边和围墙之间几乎就没有空余场地。东侧场地略微开阔。

 

2施工现场总平面布置原则

根据本工程的实际特点,施工现场总平面布置原则如下:

2.1 场地布置必须满足国家、北京市以及招标文件的有关要求。

2.2 按照施工部署确定的施工区域划分和施工顺序,合理布置大型施工机械,保证满足施工的需求。

2.3 各施工区料场和加工区尽量布置在垂直运输机械设备工作范围内,以减少二次运输。

2.4 合理布置施工道路,保证运输方便通畅,减少运输距离和二次搬运。临时设施的布置应能满足整个施工期间的管理和生产的需要,同时满足安全、环境、消防等方面的管理要求。

2.5 整个施工现场的布置必须考虑到TVCC 的特殊位置,合理增加绿化面积,降低成本、美化环境。达到美观的要求。

 

3施工现场用地及围墙、道路规划和构造做法

3.1 施工用地范围

场地东界限为N10 规划路东边线,南面到E8 规划路中心线。西面、北面为现有围墙。

3.2 清除现场障碍物

进场后首先进行场地平整,清除现场障碍物及现存垃圾,保证四通一平,并对现场周边毗邻的道路、市政设施和建筑物状况进行检查,做好有关情况记录,制定保护措施。现场按地平自然坡度进行0.5找坡,便于现场排水。

3.3 施工现场围墙及大门

东侧和南侧围墙采用金属板制成,刷两遍油漆;西侧围墙用砖块砌成,则在上边加12mm厚的泥沙打底。北侧原有围墙须进行粉刷及维护。围墙外表面图案、颜色将征求业主和监理工程师意见后,根据反馈意见并按相关规定进行涂刷。

现场北侧设一个大门,大门处均设置警卫室,安排人员昼夜值班。

现场东南角与A 标段施工区域相邻处设置一临时消防门。平时关闭,有消防等需要时开启。

现场大门的建造要求:大门宽度8m,均可保证一般施工车辆的回转、倒车距离。大门两侧设砖砌门垛,门扇为四扇两折平开铁门,均采用型钢和铁板焊制,下部安装滑轨和滑轮。门表面处理及装饰要求与围墙相同。沿围墙架设低压标志警示灯,每15m 设一个。

3.4 施工临时道路设置

地下室施工阶段由于西侧和北侧场地狭小,故道路仅设置在东侧和南侧,在西南端安排车辆掉头。在地上施工阶段由于地下工程已经完工并进行回填。施工现场围绕待建建筑设置一条6m 宽的循环道路,现场道路进行硬化处理,现场大门及主要干道等用于以后行走重车道路先用市政铺路专用无机料铺垫300mm 厚,压路机碾压密实后铺设150mm C15 混凝土进行加强,其他道路用无机料碾压密实后铺设100mm C15 混凝土路面。

现场道路沿一侧设置照明路灯装置,以便于夜间运输照明,路灯每25m 设置一个,采用混凝土电线杆进行架设。

3.5 场内绿化

在施工现场内,除料场、道路和暂设以外的空地上,进行绿化处理,可以降低硬化成本,防止扬沙、美化环境。

 

4施工现场大型机械布置

4.1 塔式起重机布置

根据建筑物的平面形状、尺寸及现场总平面的情况,基础及主体结构施工阶段选用3台塔吊,两台型号为C7050,最大回转半径70m。另一台型号为H3/36B,最大回转半径60m。两台C7050 塔吊立在基坑内,H3/36B 立在基坑外。(1 号)塔吊最终高度150m,(2号)、(3 号)塔最终高度均为42.7m。其中(1 号)(2 号)塔吊基础采用标准预埋墩形式,(3 号)塔吊基础采用桩基础预埋墩形式。

具体位置详见附录三施工平面布置图。

4.2 混凝土输送泵的布置

根据施工区域的划分,为每个施工区配备一台混凝土输送泵,型号为HBT80。另准备一台备用泵,共六台泵。

为便于混凝土运输车的运输,所有混凝土输送泵均布置在每个施工区的路边,使用输送管接至浇筑点。现场混凝土输送泵用隔音布进行封闭围挡,降低运行噪音。

4.3 施工电梯的布置

在装修和机电设备安装阶段,垂直运输需要使用到4 台外用双笼电梯,型号为SCD200/200G,外用电梯全部布置在建筑物北侧,临近主要的材料堆场。

4.4 其它机械设备布置

其它机械设备的布置根据各专业工程的需要,在保证安全的前提下布置。

 

5施工现场材料存放及加工场地布置

5.1 施工材料存放场地布置

地下施工阶段,施工现场较为狭小,在南侧道路和围墙之间的区域布置有钢筋、模板加工堆放场地。部分材料采用场外加工。地上施工阶段,可利用北侧地下车库顶板上的场地作为主要材料堆放场地,堆放加工场地按照两个施工队伍分别安排。必须在地下室顶板下部补做支撑以承受其上部施工荷载。料场地面必须经压路机碾压密实。钢筋料场每间隔4m 设置400mm 高,300mm 宽混凝土带,在材料上方设置可展开式苫布,钢筋堆放在此处可防止雨水浸泡。

5.2 材料仓库的布置

材料库房布置在现场东侧环路和围墙间的场地内,分为土建、机电仓库以及综合仓库。水泥等单独设置库房存放,库房下设300mm 厚加气砖并设置防潮层;油漆、稀料、氧气瓶、乙炔瓶等易燃易爆物品分别设置专用危险品库房,设置专用通风口。室内仓库应根据需要设置保温、通风、防盗措施,并分类建立台帐,加强领料签发手续,防止材料丢失和损坏。

库房区建在办公区南侧,便于集中管理。各库房、料场配备足够灭火器材,以便一旦火灾发生时,可以配合消火栓及时将火扑灭,减少损失。

5.3 材料的堆放

主要材料根据材料需用量计划组织进场,按平面图指定位置及规定方式储存或堆放。材料堆放应符合有关规定要求,在楼层内材料尽量分散堆放并进行荷载计算,避免对下部结构造成损坏。预设施工材料堆放场提前做好硬化及防排水措施,并做好标识。

5.4 料场及加工场地的消防措施

所有料场和加工场地配备足够灭火器材,以便一旦火灾发生时,可以配合消火栓及时将火扑灭,减少损失。

 

6施工现场暂设布置及设施构造

办公区设在现场东侧,总承包方办公用房约360m2。还设置了总包方会议室60 m2,测量办公室30m2,材料员办公室30m2,警卫员休息室30 m2。雇主代表和工程监理办公室不需要承包商提供。但是本投标人提供用于工程例会的业主现场会议室,面积60 m2。另外在会议室的旁边设置一个样品间,用于存放和展示样品。面积40 m2。办公室均为新型彩钢板保温活动房屋,具有拆装迅捷、自重轻、安全可靠的优点,墙板采用复合夹芯板,双面彩色钢板,内填聚苯乙烯泡沫塑料板,利于室内保温隔热。

6.1 办公设施布置

1. 办公室地面采用通体砖面层,顶棚为PVC 板材吊顶,塑钢门窗。

2. 每间办公室配备单独冷暖空调及电暖气等设施。

3. 每间办公室设两个双管格栅灯,四个插座,一个开关。

4. 每间办公室设置13 部分机电话和2 个内部局域网络接口。

5. 在总承包办公区设置临时医务室一个,配备专职医生及常用急救器械和药品。

6. 会议室内配有16 人会议桌一张、1.80m×0.9m 白板一块,一块3 平米的告示板及20张椅子。

7. 样品间内要配备有足够的陈列台。

6.2 现场卫生设施布置

现场设固定厕所1 个,设置在东北角。面积90m2,砖砌建筑,内侧抹灰,1.8 米以下贴瓷砖,其余为涂料墙面;地面为防滑地砖。厕所内配有手动冲洗坐便和洗手盆。厕所配置一个化粪池,定时由环卫车辆清运。

每三层设一个临时卫生间。卫生间内设蹲式便器2 个,小便器2 个,安装手动冲洗阀门,洗手池一处,设专职人员清理。地下室不设临时卫生间,排水立管管径为DN150,通气管径为DN100,排水干管为DN200,排水管道通过临时检查井,排到临时化粪池,排水管采用硬质聚氯乙烯管,室外排水管埋地1m,临时化粪池容积按半年清掏一次,7#化粪池考虑。

在现场大门附近设置一个垃圾站,垃圾集中清运,保证现场整洁。

6.3 现场试验室的布置

在总承包办公区设置一中心试验室,统一管理现场试验,保存试件。在每个项目部设置一间标准养护室,用于制作及养护试块,室内设置振动台、标养箱等必要设备。

6.4 配电室布置

根据现场情况,在现场东南角、西北角各安装800KVA 配电室。

6.5 临时排水系统布置方案:

洗车池排水经沉淀后排到市政水井。

现场沿临时车道及建筑四周设环状排水沟,经过临时沉淀池两级沉淀后再排至市政排水井。

在地下室增设若干处集水坑,以备下雨或放水使用,内设潜污泵。

 

7交通组织及运输管理

本工程主楼西侧和北侧分别和东三环路和朝阳路临近,南侧又有**电视台主楼(CCTV)同期开工。如何合理规划布置施工道路、临时建筑以及材料堆放场地,减少二次搬运,确保工程顺利施工,是一个很重要的课题。

7.1 场内交通布置

7.1.1 出入口的设置

根据现场的实际情况,工程施工过程中,现场共设置两个出入口,主出入口位于场地的东北角,面临朝阳路,从朝阳路通往东三环和东四环。另一出入口设置在东南角,通向**电视台主楼(CCTV),作为临时的消防通道。

7.1.2 车辆临时停放场地

工程施工过程中,现场施工车辆进出频繁,因此为确保场内临时道路的畅通,在现场东侧设置车辆临时停放场地,需在场内停留的车辆,一律集中停放在停车场内。

7.1.3 车辆冲洗设备

为避免出场车辆车轮带泥,污染场外道路,在东北角主出入口位置设置车辆冲洗设施,并设置沉淀池。

7.2 场内外交通组织与管理

7.2.1 成立由工程经理部、物流采购部交通管理负责人为首,各施工单位交通管理负责人参加的**电视台新台址建设工程B 标段施工总承包工程交通物流管理委员会(以下简称交通物流管理委员会),组织领导施工现场的交通物流管理工作。

7.2.2 各部门、各施工单位在材料使用前一定时间内向交通物流管理委员会提出材料进、出场运输申请,申请人应按照实际进度,说明需用材料的数量,运输车辆种类,最早、最晚进场时间等内容,由相关人员统一安排材料的具体进场时间。

7.2.3 交通物流管理委员会负责施工现场道路管理,负责场内道路指示标志的设立与管理,并负责运输过程中的组织、协调,负责与地方管理部门的沟通与协调,应对运输过程中的突发事件,处理施工现场进出材料、设备对周边道路的不利影响。

7.3 特殊施工阶段交通组织

7.3.1 土方施工阶段

土方施工阶段的运输重点是土方的外运。本工程的土方外运量较大,为保证土方能顺利运出现场,需要大量的土方运输车辆和频繁的运输车次,所以,保证土方运输车辆的数量及土方运输线路的畅通将是土方施工阶段交通组织的重点。交通组织重点单位:总包、交管部门、土方施工单位。

7.3.2 基础底板施工阶段

基础底板施工阶段的运输重点是混凝土的运输。本工程基础底板混凝土的用量较大,基础底板施工阶段,为保证各区段底板混凝土连续浇筑,需要大量的混凝土运输车辆供应至现场,因此,这一期间,在现场东侧设置混凝土罐车集中周转场地,统一调度;基础底板施工前,及时与交管部门沟通,共同商量混凝土的运输线路,保证材料运送的及时、有序。交通组织重点单位:总包、交管部门、混凝土供应单位。

7.3.3 主体结构施工阶段

主体结构施工阶段的运输重点是钢筋的运输、场内半成品钢筋的运输、混凝土的运输、卸料。将庞大数量的材料及时地运输至施工现场将成为主体结构施工成败的重点之一。因此,这一时期,各种原材料及时的供应、畅通的交通、高效的装卸,将是主体结构正常施工的保证。交通组织重点单位:总包、交管部门、各材料供应单位。

7.3.4 钢结构施工阶段

钢结构施工阶段的运输重点是钢结构构件的运输、卸料。由于钢结构构件类型繁多,数量巨大,成功地将各种构件运输至施工现场并装卸是保证施工正常进行的重点。这一阶段,在现场的东侧、南侧、北侧的塔吊回转半径内开辟出专门的钢结构构件堆放场地,统一管理,对钢结构的运输单位要求定时、定量地完成运输、卸料,及时与交管部门沟通,为钢结构的运输提供方便。交通组织重点单位:总包、交管部门、钢结构施工单位。

7.3.5 装饰施工阶段

装饰施工阶段的运输重点是各种装饰材料的运输、卸料。施工场地内,按照装饰材料的种类,开辟专门的材料堆放场地,如:幕墙材料堆放场、砌体堆放场地、屋面构件堆放场等,装饰施工单位根据划分好的区域,分类码放各种材料,总包方统一管理。交通组织重点单位:总包、交管部门、装饰施工单位。

 

8A标段施工用地的协调

根据补充招标文件(二、三)要求,所有地下通道,均由A 标段总承包商负责完成。但是部分地下通道位于B 标段施工现场内,A 标段在进行地下通道施工时,将会进入B 标段的施工现场并可能对B 标段现场的使用造成一定影响。8.1 A 标段承包人的协调

A 标段总承包商在进行我方现场内地下通道施工时,本投标人将给予积极的配合。本投标人将立即将此部分施工用地的料场和暂设进行搬迁,并对这部分施工用地进行彻底清理,保证A 标段承包人能够按时进入现场施工,从而保证工程整体的施工进度。

8.2 在场地东南侧设置与A 标段施工区域相通的临时通道,安装临时消防门,平时关闭,需要时开启。

8.3 减少由于让出施工用地搬迁损失的措施

8.3.1 现场东侧和南侧与A 标段施工区域相邻施工围墙采用采用专用定型钢板围墙进行设置,钢管固定,便于拆装,并且可以重复使用,降低成本。

8.3.2 办公室为新型彩钢板保温活动房屋,具有自重轻、拆装迅捷的特点,并且可以重复使用,降低成本。

8.3.3 现场办公区和各种料场、加工场均紧靠施工道路设置,减少搬迁次数。

 

9各施工阶段总平面规划布置管理

9.1 施工平面的规划原则

施工现场的规划合理与否将直接关系到施工现场的秩序以及施工进度,本工程的施工用地又存在随时变化的可能,因此施工总平面的规划和管理是工程现场管理中的一个重要组成部分。必须根据施工进度,按照基础施工、地下结构施工、地上十六层以下结构施工、十六层以上结构施工、机电安装和装修施工等阶段分别规划施工平面布置图。

9.2 基础施工阶段平面布置图

在基础施工阶段中,主要有钢筋笼的现场加工、桩基础的施工以及土方开挖,施工平面布置图将围绕这些项目进行规划。施工现场在坑内和坑外设置泥浆池、南侧围墙和道路之间设置钢筋加场,以满足施工的要求。详见附篇附录十一之基础施工阶段平面布置图。

9.3 地下结构施工阶段平面布置图

在地下结构施工阶段,地下室底板、外墙防水工程,钢筋、模板、混凝土工程等的施工,南侧围墙和道路之间设置钢筋、模板加工场,部分模板、钢筋加工在场外。另外东侧有部分钢柱的吊装作业,在基坑东侧设置钢结构构件堆放场地。根据工程施工需要,在基坑东侧和南侧沿施工道路布置5 台混凝土输送泵。基坑车库西北角塔吊回转半径有少量的盲区,这部分的材料由人工搬运。

地下结构施工阶段现场不能形成循环道路,施工车辆安排在场地西南角掉头。

详见附篇附录十一之地下结构施工阶段平面布置图。

9.4 十六层以下结构施工阶段平面布置图

该施工阶段安排有钢筋工程、模板工程、混凝土工程以及钢结构工程等施工。

由于地下室施工完毕,土方已经回填,现场可以形成循环道路。

该施工阶段土建安排两个施工队伍施工,分别在现场南侧和北侧设置两块钢筋、模板加工区。材料堆放和加工场地布置在道路两侧塔式起重机塔臂工作范围之内,避免二次倒运。在建筑物南侧、东侧和北侧分别设置钢结构构件拼装堆放区域。在地下室顶板上设置材料加工、堆放场地以及布置临时道路时,在地下室顶板下加设必要的支撑。

详见附篇附录十一之三十六层以下结构施工阶段平面布置图。

9.5 十六层以上结构施工阶段平面布置图

该施工阶段主要有东侧酒店塔楼部分的结构施工。

该施工阶段安排有钢筋工程、模板工程、混凝土工程以及钢结构工程的施工。

该施工阶段土建安排1 个施工队伍施工,分别在现场东南侧和东北侧设置钢筋、模板加工区。

材料堆放和加工场地布置在道路两侧塔式起重机塔臂工作范围之内,避免二次倒运。在酒店东侧和南侧设置钢结构构件拼装堆放区域。

详见附篇附录十一之三十六层以上结构施工阶段平面布置图。

9.6 机电安装和装修施工阶段平面布置图

该施工阶段主要有机电安装和室内外装饰装修工程施工。

在建筑物北侧设置4 台双笼电梯配合材料垂直运输。现场材料在各施工区域就近堆放。设置有屋面构件堆放安装场地、幕墙材料堆放场地、砌体材料堆放场地、装修材料堆放场地等。

现场西北侧设机电加工区和机电安装区。

详见附篇附录十一之机电安装和装修施工阶段平面布置图。

 

10施工临时用地计划表

施工临时用地计划表

用途

长度(m)

面积(m2)

需用时间

用地位置

现场围挡

833

——

2005.03.15-2007.07.15

现场四周

现场道路

——

4507.8

2005.03.15-2007.07.07

现场内

总包办公用房

——

1080

2005.03.15-2007.07.01

 

总包方会议室

——

500

2005.03.15-2007.07.01

 

测量办公室

——

30

2005.03.15-2007.07.01

现场东侧

材料员办公室

——

30

2005.03.15-2007.07.01

办公区内

大会议室

——

100

2005.03.15-2007.07.01

 

样品间

——

42

2005.03.15-2007.07.01

 

现场门卫

——

60

2005.03.15-2009.09.30

现场南北两个大门

施工现场厕所

——

90

2005.03.15-2007.09.13

现场东北角

 

用途

长度(m)

面积(m2)

需用时间

用地位置

现场垃圾站

——

22

2005.03.15-2007.07.15

现场东北角

现场库房

——

410

2005.03.15-2007.07.01

办公区南侧

现场试验室

——

60

2005.03.15-2007.07.01

现场东南角

钢筋加工棚

——

132

2005.03.15-2007.02.10

现场南、北两侧

料棚

——

797

2005.03.15-2007.07.01

现场内

木加工棚

——

105

2005.03.15-2007.02.10

现场南、北两侧

料场

——

1035

2005.03.15-2007.07.01

现场内

停车场

——

168

2005.03.15-2007.07.01

办公区内

 

11临时用水方案

**电视台新台址建设工程B 标段工程所在地的市政工程设施完善,现场四周道路均有市政给、排水管网。施工现场北侧提供一处DN200 水源接入口。在室外给水管网上预留2 DN150管道接口准备与A 标段给水管网连接。根据施工和消防的需要,特制定以下方案:

11.1 施工用水需求

11.1.1 总用水量测算

1. 工程用水量(q1)计算

施工用水主要为混凝土养护、模板湿润、装修工程等用水,而结构期间混凝土养护、模板湿润可利用降水进行,可节约用水量,结构期间主要用水量为混凝土搅拌用水。

公式q1=K1(Q1×N1×K2)/(8×3600)

=(400×800×1.1)/28800=12.2 l/s

q1 生产用水量;

Q1最大台班工程量;

N1 各工种工段施工用水定额; 400 l/m3

K1未考虑到的用水量修正系数;取1.10

K2 每班用水不均衡系数; 1.5

2. 机械用水量(q2)计算

q2= K1(Q2×N2×K3)/(8×3600)=0.01 l/s

其中:q2施工机械用水量;

Q2 同一种机械的台数;

N2 该种机械的台班用水定额;

K3 施工机械的用水不均衡系数;取2.0

K1 未考虑到的用水量修正系数。1.1

3. 现场生活用水量(q3)计算

q3=P1×N3×K4/(t×8×3600)=3200×10×1.4/28800×3=0.52 l/s

P1 施工现场高峰期人数(3200)

N3 现场生活用水定额;取10 l

K4 每日用水不均衡系数;取1.4

t 工作台班;取3

4. 消防用水量(q4)计算

施工现场: <25 万平米; 15 l/s

5. 总用水量

Q= q1+ q2+ q3=12.2+0.01+0.52=12.73<15 15 l/s

11.1.2 供水管径计算

[4Q/π×v×1000]1/2=[4×15/3.14×2×1000]1/2 =0.10m

供水管径为DN150,可以满足要求。

11.2 临时施工用水布置方案:

11.2.1 本工程临时施工用水系统:采用施工与消防共用管道给水系统。

11.2.2 本工程现场施工的给水管网分为三个阶段布置:

1. 第一阶段为一层以下施工阶段,现场采用环状给水管网,管径为DN150 镀锌钢管,从给水管网引出管径为DN50 到混凝土加压泵各施工区,消防支管为DN80,压力由市政管网提供。

2. 第二阶段为二层以上十二层以下低区供水系统,采用环状给水管网,干管管径为DN100,支管管径DN80,给水预留出口管径为DN40,压力由地下室给水泵提供。

3. 第三阶段为十三层以上高区供水系统,支状管网,干管管径为DN100,支管管径DN80,给水预留出口管径为DN40,压力由给水泵提供。

11.2.3 地下水池贮水容量为200m3,在13 层设40 m3 临时水箱,保证施工和消防的储备用水。

11.2.4 从给水环状管网引出的每条支管需设置闸阀,同时环管上设6 个检修闸阀,便于检修时不影响其他管道正常用水。环管预留8 处供水点,均用法兰盘连接,以备增加不可预见用水。

11.3 临时消防用水布置方案:

11.3.1 消防系统与给水管网连接,低区的水源与压力均由市政管网提供,高区的水源与压力均由给水泵和增压水泵提供。给水泵需满足最高层消防与给水的流量与压力。消防系统干管管径均为DN100,支管管径均为DN80

11.3.2 消防系统以最不利情况时需考虑有两支水枪同时使用并到达,每支水枪设计出口流量为5L/S

11.3.3 消防系统采用支状布置,消火栓间距在50 米之内,栓口直径为DN65,每个消火栓箱内配置25m 长水龙带与水嘴DN19mm 口径水枪一支,干粉灭火器2 部。

11.3.4 室外消火栓采用地下式按50 米半径考虑,每个消火栓砌筑消火栓井。井内有DN100 DN65 的栓口各一个,井盖需标有明显标志。

11.3.5 加工厂及办公区自备灭火器。

11.3.6 消火栓箱上设玻璃门上锁,以防丢失或乱用,有火情时打碎玻璃门,取出消防用具。

11.3.7 红色消火栓箱要喷涂消防箱,火警119等醒目字样。

11.3.8 消防水管需刷成红环状,以区别其它管道,给平时管道检修和维修带来方便。

11.3.9 制定消防应急预案与构架人员,向所有施工人员进行消防演示及培训,并配备消防规章制度。

11.4 高区给水泵的选择:

11.4.1 给水泵两台扬程分别为地下室给水泵100m13 层给水泵120m,流量均为15L/s,电机功率为60kKW,增压水泵扬程分别为地下室给水泵100m13 层给水泵120m,流量为10 L/s,电机功率为25kW。气压罐两台工作压力均为1.2MPa

11.4.2 给水泵的运行方式:系统由给水泵充满水后,在施工用水很少时,气压水罐会补充系统压力;施工用水逐渐增加,气压水罐不能满足供水时,自动起动增压水泵;增加水泵也不能满足供水时,自动起动给水泵。气压水罐的缓冲作用可使水泵运行切换时的压力波动减至最小,气压水罐和小功率泵联合使用,可降低能耗,防止管网超压。水泵的起动与停止是由压力传感器决定的。

11.4.3 在水池内应设液位控制器,防止水池内没有水而起动水泵,造成水泵的损坏。

11.4.4 阀门均采用压力为1.6 MPa 的阀门。

11.5 临时用水管网的保温措施:

11.5.1 北京地区冬季室外计算温度-9,施工用水管道需要作保温处理。

11.5.2 保温具体做法:给水管网埋地90cm,做管道标识,外露水管外包PEPS 管壳或毛毡2cm 厚,外缠玻璃丝布一道。水箱采用保温水箱。

11.5.3 室外地下消火栓井盖采用保温型。

11.6 现场临时用水的管理:

11.6.1 临时用水管网由机电安装队设专人总负责,并派水电工24 小时值班巡查。要求值班人员有责任心及安全防火意识,并熟悉整个管网情况。

11.6.2 现场水电工巡查时要随身携带常用维修工具,发现情况时立即维修,保证施工用水。

11.6.3 每周检测施工水泵的运转情况并做好记录,做好水泵的保养维护,发现问题及时处理。

11.6.4 每处消防设施悬挂醒目标志牌,消防用具摆放整齐,平时做好消防设施的维护、检查,发现问题及时汇报,整改、更换,以保证消防器材的使用功能。

11.7 临时排水系统布置方案:

11.7.1 洗车池排水经沉淀后排到市政水井。

11.7.2 每三层设一个临时卫生间。卫生间内设蹲式便器2 个,小便器2 个,安装手动冲洗阀门,洗手池一处,设专职人员清理。地下室不设临时卫生间,排水立管管径为DN150,通气管径为DN100,排水干管为DN200,排水管道通过临时检查井,排到临时化粪池,排水管采用硬质聚氯乙烯管,室外排水管埋地1m,临时化粪池容积按半年清掏一次,7#化粪池考虑。

11.7.3 现场沿临时车道及建筑四周设环状排水沟,经过临时沉淀池两级沉淀后再排至市政排水井。

11.7.4 在地下室增设若干处集水坑,以备下雨或放水使用,内设潜污泵。

11.8 给排水管线上方过车部位进行硬化处理。

主要材料设备表

序号

名称

材质

规格

数量

单位

1

给水管

镀锌钢管

DN150

20

m

2

埋地管道

镀锌钢管

DN150

720

m

3

给水管

无缝钢管

DN108

850

m

4

给水管

无缝钢管

DN89

710

m

5

埋地管道

镀锌钢管

DN65

40

m

6

给水管

无缝钢管

DN65

400

m

7

给水管

镀锌钢管

DN50

100

m

8

给水管

镀锌钢管

DN40

128

m

9

给水管

镀锌钢管

DN25

100

m

10

排水管

缸瓦管

DN200

200

m

11

排水管

铸铁管

DN150

145

m

12

排水管

铸铁管

DN100

200

m

13

消火栓

配水龙带和水枪

DN65

187

14

室外消火栓

 

DN100 DN65

9

15

阀门

闸阀

DN150

13

16

阀门

闸阀

DN100

14

17

阀门

闸阀

DN80

34

18

阀门

蝶阀

DN70

91

19

阀门

球阀

DN40

120

20

阀门

球阀

DN25

40

21

阀门

止回阀

DN150

2

22

阀门

止回阀

DN100

2

23

阀门

止回阀

DN70

2

24

水龙头

 

DN20

14

25

临时蹲便器

成套

 

30

 

 

序号

名称

材质

规格

数量

单位

26

临时小便器

成套

 

25

 

 

 

 

 

 

27

洗手盆

成套

 

16

28

给水泵

成套

 

 

29

增压水泵

成套

 

 

30

气压罐

立式

容积450L

2

31

安全阀

 

 

2

32

压力表

 

DN20

10

33

减压孔板

 

DN70

124

34

水表

 

DN150

2

35

地漏

 

DN50

12

36

浮球阀

 

DN80

4

37

潜污泵

功率4kW

扬程20m

20

38

软接头

 

DN100

2

39

软接头

 

DN70

2

40

法兰盘

 

DN80

40

41

法兰盘

 

DN70

40

42

水箱

钢板

40m3

1

43

水箱

钢板

200m3

1

44

化粪池

 

7#

1

45

雨水井

 

φ1000

5

46

污水井

 

φ1000

2

47

沉淀池

 

 

2

48

冲洗池

 

 

1

 

 

12临时用电方案

12.1 电源位置

TVCC 楼施工用电源在东南、西北角各安装一台800KVA 箱式变电房独立供电。

12.2 设计依据

1. 《低压配电设计规范规程》 GB50054-95

2. 《建筑工程施工现场供用电安全规范》 GB50194-93

3. 《施工现场临时施工现场用电安全技术规程》 JGJ46-88

4. 《北京市建筑施工现场安全防护技术规程》 (91)京建施字第124

5. 《建筑电气通用图集》 92DQ1-92DQ13

6. 《工程建设标准强制性条文》

7. TVCC 楼各施工阶段施工现场平面布置图

8. TVCC 楼各施工阶段施工所用设备容量、数量

12.3 负荷计算

12.3.1 计算负荷的依据

1. 长期工作制的电动机设备容量等于其铭牌上的额定功率。

2. 短期反复工作制的电动机(如起重用电动机)的设备容量就是将设备在某一暂载率下的铭牌容量统一换算到新的暂载率下的有功功率。

1) 对吊车电动机组:ε=25%      

Pe:设备功率

εe:与Pe 相对应的暂载率

ε:暂载率,取25%

2) 对电焊机组:ε=100%

Pe:设备功率

εe:与Pe 相对应的暂载率

ε:暂载率,取100%

3. 多组用电设备计算负荷确定

由于同一变电所低压母线上的多组用电设备的最大负荷不同时出现的因素,因此计算低压母线上的计算负荷时应考虑计入一个同时系统KΣ

Pjs=KΣ·ΣPjs (KW) Pjs——计算有功功率

Qjs=KΣ·ΣQjs (KVAR) Qjs——无功功率

12.3.2 负荷计算

负荷计算是根据已确定的用电设备容量,采用一定计算方法算出相应的计算负荷,作为选择供配电系统的配电变压器,电器、线路和保护电器元件的依据。对建筑工地供电系统的负荷,一般使用需要系数法,计算方法简便,计算结果比较接近,适用同组用电设备台数较多,各台设备容量相差不太悬殊的配电干线的负荷计算。

计算公式:Pjs=Kx·Pe (KW)

Qjs=Pjs·tgφ(KVAR)

Sc= Pjs2 + Qjs2 (KVA)

Pe:设备总容量(不计备用设备的容量) KW

Pjs:计算容量(有功功率) KW

Kx:需用系数

Qjs:无功功率(KVAR)

Sc:视在计算负荷KVA

1. 塔吊组 Kx=0.45 εe =0.6 Pe=480KW tgф=0.484

Pjs=2√εe·Pe·Kx=20.6×480×0.45=332.64KW

Qjs= Pjs·tgφ=332.64×0.484=160.99KVAR

2. 输送泵组:Kx=0.8 Pe=560KW tgφ=0.75

Pjs=0.8×560=448KW

Qjs= Pjs·tgφ=448×0.75=336 KVAR

3. 加压泵组:Kx=0.8 Pe=102KW tgφ=0.75

Pjs=0.8×102=81.6KW

Qjs= Pjs·tgφ=81.6×0.75=61.2KVAR

4. 施工用电梯组:Kx=0.8 Pe=44KW tgφ=0.75

Pjs=0.8×44=35.2KW

Qjs= Pjs·tgφ=35.2×0.75=26.4KVAR

5. 交流电焊机组:Kx=0.35 εe =0.6 Pe=838.4KW

cosφ=0.6 tgφ=1.33

Pjs=0.6×838.4×0.6×0.35=135KW

Qjs= Pjs·tgφ=135×1.33=179.55 KVAR

6. 直流焊机组:Kx=0.35 εe =0.6 Pe=400KW

cosφ=0.6 tgφ=1.33

Pjs=0.6×400×0.6×0.35=64.68KW

Qjs= Pjs·tgφ=64.68×1.33=86.0KVAR

CO2 气保焊机组:Kx=0.35 εe =0.8 Pe=432KW

7. 栓焊机组:cosφ=0.6 tgφ=1.33

Pjs= 0.8×432×0.6×0.35=80.73KW

Qjs= Pjs·tgφ=80.73×1.33=107.38KVAR

8. 钢筋机械组: Kx=0.4 Pe=461.5KW tgφ=0.88

Pjs=0.4×461.5=184.6KW

Qjs= Pjs·tgφ=184.6×0.88=162 KVAR

9. 木工组:Kx=0.3 Pe=35kW tgφ=1.73

Pjs=0.3×35=10kW

Qjs= Pjs·tgφ=10×1.73=17.3 KVAR

10. 电加热板组:Kx=0.7 Pe=252kW tgφ=0.33

Pjs=0.7×252=176.4kW

Qjs= Pjs·tgφ=176.4×0.33=58.21 kVAR

施工照明用电按总功率10%

混合系数k=0.9

PΣ=k·ΣPjs0.9×(176.4+10+184.6+80.73+64.68+135+

35.2+81.6+448+332.64+140)1519.96

QΣ=k·ΣQjs0.9×(58.21+17.3+162+107.38+86.0+179.55+

26.4+336+160.99+61.2+112)1176.32

Sc=PΣ2+ QΣ21519.962+1176.3221921.98kVA

故现场可选用2 800kVA 箱式变电房,分成2 个单独的供电系统,以保证工程用电高峰期正常施工用电,加2 500kVA 发电机备用,同时如果高峰时现场市电容量不够,发电机可随时作为补充容量投入运行。发电机组应选室外防雨、防雪、防冻型。

12.4 施工用电分段

根据TVCC 楼主体结构装修阶段划分特点,现场施工用电划分为四个阶段:

第一阶段:B2±0.00 层结构阶段施工用电,主要由位于基坑四周(±0.00 层)配电箱提供。(共12 SM 箱)详见附录七

第二阶段:F1F15 层结构施工阶段施工用电,主要由位于施工外架上12 SM 配电箱供电,SM 箱随外架上移而逐层上迁。详见附录七

第三阶段:F16F30 层结构施工阶段施工用电,主要由位于整体提升架上四个SM 箱供电,SM 箱随提升架上升而上移。此阶段,地下室及F15 层以下的用电箱可按装修阶段方案逐层布置,以满足立体、交叉施工需要。详见附录七

第四阶段:装修段施工用电。塔楼部分(含塔楼对应裙楼F1F5 层)均由每层3 个配电箱(SM1SM2SM3)提供电源。地下室及F1F10 层含剧院屋面部分由SM4SM16 箱提供电源。详见附录七

12.5 总配电房布置

1. 根据现场情况,在现场东南角、西北角各安装800KVA 箱式配电所。

2. 箱式配电房正下方用红砖砌筑600mm 高平台,在低压出线电缆位置预留电缆沟,周围应排水通畅。

3. 箱式变配电房采用机械排风散热,同时具有防雨、防雪、防火、防台风、防鸟、防鼠措施。

4. 低压配电系统采用TN-S 系统供电,每台箱式变处设工作、保护接地措施。

5. 箱式变电房内设集中无功功率补偿(自动),功率因数cosφ大于0.95

6. 箱式变电房内高压柜为环网柜,高压10KV 电源从A 标段变电站引入(YJV29-15KV- 3×120)AM1 箱式变电房。

7. 配电房内距地2 米处悬挂电工岗位责任制,施工现场安全操作规程、施工用电管理制度、电工值日牌,电工维修工作记录。

8. 配电柜各回路应编号,绘出线路接线图,标明用途,工作零线与保护零线要明显的标色,安装调试完毕后,须经安全主要部门验收合格后方可投入使用。

12.6 配电箱、开关箱

1. 配电箱、开关箱必须按照有关部门规范要求进行。

2. 配电箱、开关箱根据负荷安装隔离开关,漏电保护熔断器。

3. 配电箱要有分别的编号,标明用途,电箱负责人。

4. PE 线与N 线要有分别的专用接线端子排,每层配电箱设重复接地,其接地电阻小于10Ω

5. 配电箱、开关箱周围必须留有二人同时操作的空间,开关箱做到一机一箱一闸一漏,漏电保护器额定漏电动作电流不大于30mA,额定漏电动作时间小于0.1s。开关箱应有锁,必须固定牢固,箱体距地不小于1.3m,不大于1.5m,移动式电箱下体距地面应大于0.6m

6. 动力箱与照明箱分开设置,电箱的进出线从箱底进出,并有防护套,箱内无杂物,所有电箱必须防雨、防台风、防雪。

7. 根据用电设备性质,在分配电箱后设开关箱。塔吊、混凝土泵、施工电梯、提升架、加压泵配电箱单设,当某个用电设备发生故障时,不至于相互影响。

8. 对电缆竖向供电回路,在电缆T接处考虑采用专用分支器或在配电箱进线主开关上端加装T接母排。

12.7 低压用电、现场照明

1. 现场塔楼四个疏散楼梯由专用照明控制箱(SAM1)低压(36V)供电;剧院部分四个疏散楼梯由专用照明控制箱(SAM2)低压(36V)供电。地下室(B2B1 )通道照明分别由SAM1SAM2 供电回路供给,照明灯功率不大于60w

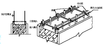
2. 楼层临时卫生间(每三层一个)照明电源由本楼层电源箱就近供给(BV-3×2.5φ20),一个卫生间设一盏40w 普通日光灯。

3. 现场施工环场路设路灯(250w 普通钠灯H6m)

4. 现场照明采用3.5kW 镝灯,镝灯固定必须使用金属架,架体要有可靠的接零保护,每一盏镝灯必须安装专用控制箱,箱内装闸刀,交流接触器,漏电开关,控制按钮,安装在塔吊上的镝灯电源线用绝缘子固定好,且保证塔吊顶升有足够余量。

5. 小面积照明采用1kW 碘钨灯,碘钨灯架须有接地保护,碘钨灯严禁架设固定在易燃易爆处。

6. 生活区设专用支路配电箱控制,箱内装有灵敏的漏电保护器和闸刀开关,室内电线全部采用穿管敷设,灯头距地不得低于2.4m,灯泡不大于60W,相线经开关控制,做到定时送电定时关电。

12.8 避雷与接地

1. 箱式变AM1AM2 处设工作保护接地极,可利用护坡锚杆和大楼底板钢筋、桩基筋,R10Ω

2. 塔吊、人货电梯、必须安装避雷接地系统,与接地体采用-40mm×4mm 镀锌扁钢连接,接地体利用大厦基础钢筋接地网,连接螺栓必须外露,以便于检测,避雷线采用50mm2多股黄绿色线作连接线,电阻不大于10Ω,其中塔吊顶应设防撞红色信号灯。

3. 各楼层配电箱设置重复接地装置,接地体利用建筑物永久接体,用镀锌扁铁接入配电室,再用50mm 多股黄绿双色线与中性线相连接,设检测点并标N 字样,工作零线采用黑色线,保护零线用黄绿双色线,并标字样PE,重复接地须每月检测一次,并做好记录。

4. 每支路线重复接地必须设有三处,即总配电箱,线路中间,分配电箱,重复接地线用黄绿双色软线,截面面积不6mm2

5. 对塔吊、人货电梯等金属构件的接地电阻,应建立一档案卡,并每月测试记录数值。

12.9 安全文明施工用电

12.9.1 电线与电缆的安全及防护:

1. 根据公式计算变压器高压电源电缆选用YJV29-15KV- 3×120 穿G100 钢管引入,埋地深度70cm

2. 各分支路线采用交联聚乙烯铠装绝缘电缆,根据施工时现场实际情况开挖电缆沟加安装支架,并做好防压、防撞措施。

3. 现场电缆过道路须穿管保护,管口要有护口,金属管要求有可靠的接地,电缆接头应采用过路箱,不准有接头直接埋入电缆沟里,防止有水漏电。

4. 楼层施工分动力,照明电箱电缆,不得随意拖拉或缠绕在钢管脚手架上。

5. 电缆固定时应用绝缘子固定好,严禁使用金属裸线作绑扎线。

6. 装修时各层应设分电箱,电线采用6mm2 绝缘塑料铜芯线作照明用,电线架设用介码和绝缘子固定,距地面高度不小于2.5m,低于2.5m 处必须使用安全电压。

12.9.2 安全用电技术措施

1. 地下室临时用电线路全部架空,临时照明采用36V 安全电压。

2. 施工现场供电线路、电气设备的安装、维修保养及拆除工作,必须由专业人员(经有关部门培训考核合格、持有效证件上岗的维修电工)进行。

3. 配电房室内安全工具及防护措施、灭火器材必须齐全。

4. 对易燃易爆、危险品存放场所的设备,要加强监控、检查工作,发现问题立即整改。

5. 移动机具及照明的使用应实行二级漏电保护。并经常进行检查、维修和保养。

6. 施工现场大型用电设备、大型机具等,配有专人进行维护和管理。对大型机械如塔吊、施工升降机等机械应单独设置随机控制电箱。电工晚间值班必须派双人上岗。特殊情况下需要带电操作时,必须配备必要的安全用具,采取可靠的安全隔离措施,并指定专业人员进行监护。

施工用电中常见通病必须杜绝。

7. 施工用电按照临时施工用电规范要求和临时施工用电方案进行检查验收。对特种作业人员持证上岗情况检查,严禁无证和持无效证件上岗与违章作业。对职工遵章守纪的情况进行检查,有违章严肃处理。

8. 工地每天检查,项目部每周检查一次,发现隐患定人、定时、定措施进行整改。

12.9.3 事故隐患的控制

按北京市建设工程安全监督站有关规定实施各阶段、各工种的安全操作。同时,必须结合具体施工对象增加补充的针对性安全技术交底内容。任何人不得违章指挥作业,安全员是安全生产的执法人员,有权制止违章作业,任何人不得干涉。当生产、施工与安全发生冲突时,必须服从安全需要。做好全员发动,使施工过程中存在的事故隐患能及时发现、及时处理,确保不合格设施不使用、不合格过程不通过、不安全行为不放过。对已发生的事故隐患及时进行整改以达到规定要求,并组织复查验收,对有不安全行为的人员进行教育或处罚。

1. 现场用电安全技术措施

1) 配电箱的电缆线应有套管,电线进出不混乱。

2) 照明导线应用绝缘子固定。严禁使用花线或塑料胶质线。导线不得随地拖拉或绑在脚手架上。照明灯具的金属外壳必须接地或接零。单相回路内的照明开关箱必须装设漏电保护器。

3) 架空线应装设横担和绝缘子,其规格、线间距离、档距等应符合架空线路要求,其电杆板线离地2.5m 以上应加绝缘子。

4) 施工现场临时用电的电源箱应合理布置,电源电缆线敷设安全可靠,为防止电缆损坏,应架空敷设,当需在路口、门口的地面敷设时,必须加防护钢套管。配电箱设置应安全醍目、使用方便,并且采取特别标识和保护措施。

5) 电箱内开关电器必须完整无损,接线正确。各类接触装置灵敏可靠,绝缘良好。无积灰、杂物,箱体不得歪斜。电箱内应设置漏电保护器,选用合理的额定漏电动作电流进行分级配合。配电箱应设总熔丝、分熔丝、分开关。零排地排齐全。动力和照明分别设置。

6) 配电箱的开关电器应与配电缆或开关箱一一对应配合,作分路设置,以确保专路专控;总开关电器与分路开关电器的额定值、动作整定值相适应。

7) 接地体可用角钢、圆钢或钢管,但不得用螺纹钢,一组2 根接地体之间间距不小于2.5mm,入土深度不小于2m,接地电阻应符合规定。

8) 电焊机有可靠的防雨措施。一、二次线(电源、龙头)接线处应有齐全的防护罩,二次线应使用线鼻子。电焊机外壳应有良好的接地或接零保护。

9) 所有施工用的电气设备,应定期进行检查,发现问题及时整修或调换,电气设备使用完毕后,一定要关掉电源。

10) 电器操作人员必须受过培训及考试合格的专业人员进行接电操作和维修。

11) 施工机具应设专用电源开关,并应设箱加锁,严禁用一个开关同时启动二台电气设备。

12) 严禁将电线芯线直接插入插座或将芯线挂在电源开关上。使用行灯时电压不得超过36V,行灯必须有金属保护罩。

2. 消防保证措施

1) 建立以项目经理为第一责任人的防火领导小组和义务消防队员、班组防火员,消防员持证上岗。

2) 层层签订消防责任书,把消防责任书落实到重点防火班组、重点工作岗位。

3) 施工现场配备足够的消防器材,统一由消防干部负责维护、管理、定期更新,并做好书面记录。

4) 一般临时设施,每100m2 配备二只9L 灭火器,临时木工间、油漆间等每25 m2 配备一只各类适合的灭火器。

5) 现场动火作业必须执行审批记录,并明确一、二、三级动火作业手续,落实防火监护人员。

6) 电焊工在动用明火时,必须随身带好电焊工操作证和动火许可证、消防灭火器、监护人责任交底书。

7) 气割作业场所必须清除易燃物品,乙炔气和氧气存放距离大于2m,使用时二者的距

离不得小于5m

8) 消防管理必须符合文件规范要求。建立灭火自救方案,自救的同时及时报警。现场设置独立电源的消防水泵。

主要施工机械一览表详见附篇附录五。

施工用电主要材料表详见附篇附录五。

 

第7节主要工程施工方案

在分析本工程特点和难点的基础上,组织有关专家进行论证,结合目前国内领先的施工技术和施工工艺,对以下内容进行重点阐述:

工程测量方案:工程平面和高程控制网控制、土建施工测量、变形观测等。

混凝土结构工程:钢筋施工方法、模板配置方案、混凝土浇注施工、大体积混凝土方案。

钢结构工程:钢结构的加工制作以及钢结构的安装方案。

防水工程、装修工程、机电设备安装、劲性混凝土、脚手架方案分别对工程的不同方面进行了阐述。

 

1、工程测量与控制

**电视台新台址建设工程B 标段施工总承包工程占地面积较大,造型新颖,体型结构较复杂,施工测量计算量大,竖向投测难度高,为此本投标人将组建精良的测量队伍,配备先进的测量仪器,采用科学的测量方法,并辅助以计算机进行计算和绘图,以保证测量工作高精度、高效率的完成。

 

1测量准备工作

1.1 人员和仪器准备

1.1.1 人员准备

1. 根据本工程需要,拟定测量放线人员为12 人,其中有高级技师或技师4 名,高、中级工8 名,所有测量人员均应经过培训合格后持证上岗。测量人员必须熟练掌握仪器的操作规程,熟悉测量理论,针对本工程特点和具体情况采用不同的观测方法及观测程序,对实施过程中出现的问题能够分析原因并正确的运用误差理论进行平差计算,做到按时、快速、精确地完成每次观测任务。

2. 组建一支专业精良的测量队伍,在项目经理部总工程师的领导下负责整个工程的测量与验线工作。技术部负责测量技术、具体的测量放线和验线工作,包括:内业管理、编制作业指导书,建立施工测量数据库,对测量人员进行技术交底,对建筑物平面控制网及高程控制网进行测设和校核,各项测量放线的检查验收工作,以及日常测量工作等。

1.1.2 测量仪器准备

1. 为满足施工精度及进度的要求,配备相应的测量器具。主要测量仪器设备见下表:

仪器配备表

名称

精度

数量

用途

徕卡TCRA1201 高精度智能全站仪

±1mm+1ppm ±0.5"

1

控制网主轴线和钢结构等重要部位测设、校核;工程基准的传递与复验;变形监测;高程基准传递。

GPS 测量仪

5mm+1ppm

2

控制测量、实时监测

中精度全站仪

±2mm+2ppm

3

主轴线测设、坐标放样、测距、传测标高,

 

±2"

 

钢结构安装、竣工测量、变形观测

 

 

 

施测面的角度测量、次要轴线的竖向传递,

电子经纬仪

2"

4

变形观测,钢结构安装。

精密数字水准仪

S05

1

水准路线、沉降观测、复验标高。

数字水准仪

S1

3

沉降观测、竣工测量、常规水准测量

普通水准仪

S3

3

常规水准测量

 

名称

精度

数量

用途

激光铅垂仪 1/200000

3

重要轴线的竖向传递

激光平面仪 10"

2

水平面控制

计算机(一台为笔记本电脑)

2

内业计算与管理、测量数据库。

对讲机

12

测量工作联系

2. 用于本工程施工的测量仪器须严格按照有关规定、规程及ISO9002 标准要求进行检定或校准,并建立测量及试验设备台帐。不得有未检定、超过有效期或检定不合格的计量器具在工程上使用。全站仪、经纬仪、水准仪、垂准仪及50m 钢尺需送到具有国家核定资格的计量检定部门进行检定;对于盒尺、水平尺等普通计量器具按照企业的相关规定进行自检;对于在检定期内的全站仪、经纬仪、水准仪要每三个月进行一次自检,校核其主要轴线关系。

1.2 图纸的校核

1.2.1 总平面图的校核

建筑用地红线桩的坐标、角度和距离的校核;建筑物定位依据及定位条件的校核;竖向设计的校核。

1.2.2 建筑施工图纸的校核

建筑物轴线的几何关系;平、立、剖面及节点大样的几何尺寸;各层相对高程与总图是否对应。

1.2.3 结构施工图纸的校核

校核墙、柱及梁等结构的尺寸;校核结构图与建筑图、设备图是否对应。

1.3 定位依据复测(包括基槽尺寸的校测)

1.3.1 校测业主提供的精密导线点的距离、夹角及坐标。

1.3.2 校测水准点的高差(业主提供的水准点不少于两个)

1.3.3 校核基槽定位及自身尺寸、基底标高。

 

2组织管理

2.1 组织机构

2.1.1 在技术部下组建测量科,实行统一管理。测量科下设6 个测量组,负责整个工程的测量与验线工作。各测量组根据工作需要配备相应的测量专业工程师、测量高级技师和测量技师,测工的最低级别为中级工。测量组长由工程师、高级技师担任。测量工作的整体管理和统一协调由技术部负责;控制测量、变形监测等高精度测量工作由具有相应测量资质的专业公司负责;施工测量、安装测量由各施工项目经理部以及专业分包自己负责,总包单位负责测量的总体控制工作。

测量组织机构表

技术组

编制细部测量方案,内业管理,建立施工控制、测量和变形观测

的数据库及数据处理中心

控制组

控制网测设校核、向施测面传递平面与高程控制

土建组

土建施工期间的细部测设

验线组

验线

钢结构组

钢结构安装测量控制

变形观测组

建筑物沉降观测、地基回弹、护坡变形观测、相关区域沉降观测、

钢结构变形监测

2.2 数字化测量与管理

本工程在测量工作中将全面使用电子测量仪器和计算机,建立测量数据库,调试数据采集、分析、传输等测量设备及测量数据处理软件,为数字化测量准备。数据计算、数据传输、数据采集、内外业计算、成果输出全面使用计算机管理,以数字化测量模式取代传统的常规测量模式。在平面测量过程中主要采用全站仪进行。高程控制和沉降观测采用数字水准仪进行。对于比较简单的细部测量采用常规测量方法。

数字化测量管理工作流程见下图:

 

 

 

 

 

 

 

 

 

 

 

 

 

 

 

 

 

 

 

 

 

 

 

 

 

 

2.3 基本要求及注意事项

2.3.1 施工测量放线工作应执行《建筑工程施工测量规程》(DBJ01-21-95)及国家有关规定。

2.3.2 测量放线人员在工作中应遵守施工测量放线工作基本准则和验线基本准则。

2.3.3 测量仪器应按周期送检,未检定、超出检定周期及检定不合格的测量仪器不使用。

2.3.4 测量放线工作中应认真做好计算、记录工作,并将计算、记录资料及时归档保存。

放线后严格执行自检、互检,检查无误后报总包验线。

2.3.5 钢尺量距应采用往返丈量,并进行三差改正,以保证精度。

2.3.6 施工现场内的测量放线点位、标志均要进行保护,如加护栏、涂刷警戒色,防止

碰动、破坏。测量作业前应对原始依据进行校核,确定点位无碰动、数据无误后方可进行下一步作业。室外的点位要有防雨措施,防止钢板锈蚀。

2.3.7 要定期对AB 标段的测量控制桩点进行复测,保证两标段工程测量控制点的相互吻合。

2.3.8 现场内材料堆放、车辆停放应保证测量点位间的通视。

 

3控制网的布设及桩点的埋设

3.1 控制网布设

3.1.1 平面控制网

1. 本工程占地面积大,对测量精度要求较高,在平面控制中要布设高精度的建筑物平面控制网。尽量避免过多地依赖离基坑较近,受施工影响较大的控制点,并用离基坑较远,受施工影响小的控制点来控制较近的控制点。测设时采用坐标法结合极坐标法来测设主楼控制轴线。

2. 以场区平面规划和业主提供的测量基准点为依据,建立以工程主要轴线为基准的一级控制点,各点在工程定位放线前可相互贯通形成方格平面控制网(详见下图)。首级高程控制网借用建筑物平面控制网的桩点,进行布设。这两个控制网是工程整体控制和变形监测的依据和基准,用以保证各单项工程之间的连贯性和统一性。

建筑平面控制网布置图

3. 建筑平面控制网精度为一级,测角中误差±9",边长相对中误差1/24000。以业主提供的精密导线点为原始依据,利用全站仪采用极坐标法进行测设。

4. 测设完成后逐点用直角坐标法进行校核、调整至符合精度要求。

5. 地下结构施工采用外控法,控制点位布置在基槽边,便于向槽内投测。控制线距离相邻轴线均为1m,可避免与结构墙体、柱等发生位置冲突,且便于记忆,有利于加快放线进度。

6. 地上结构施工采用内控法,内控网布置在首层楼板上,楼板施工时预埋钢板,首层楼板施工后将控制点投测到钢板上,投点允许误差为1mm

7. 内控网根据建筑的特点分成酒店、电视艺术中心两个相对独立的部分,施工放线时要注意校核各部分结构间的关系,以保证后续工程顺利进行,点位的选择要保证上下通视。

3.1.2 标高控制网

根据测绘院提供的水准点,采用附和测法引测底板、首层标高控制网。每个施工段须做三个标高点控制标高。楼板浇筑混凝土前将标高投测到钢筋上,楼层平面放线前引测标高。地下室施工阶段,各层施工放线由底板标高控制网向上引测,地上各楼层由首层标高控制网向上引测。负一层以上各楼层标高传递可采用钢尺,通过平面内控点留洞进行。由于酒店建筑物较高,为了保证标高传递的准确,在10 层和20 层做水平标高传递控制点,作为高程传递的基准。

3.2 桩点的埋设

3.2.1 控制网桩点应选在土质稳定、能长期保存,相临控制点之间应通视、便于施测使用的地方,并按如下规定进行埋设,以便长期保存。

3.2.2 一级控制网的桩点采用直径0.5m 的混凝土桩,埋深大于1.0m。桩顶标高为场地设计标高往下0.3m,桩顶部预埋100×100×6mm 铁埋件。点为中心镶嵌φ1mm 铜芯,在桩顶面的角上设水准点,水准点高出铁埋件510mm。桩的周围设砖井,井壁高出自然地面30cm,井加盖并在井的外圈设钢管护栏进行保护。

一级控制网桩点做法

3.2.3 二级控制网的桩点采用临时木桩。木桩打入地面深度为50cm,桩的截面尺寸为5×5cm,点位中心钉小铁钉,木桩周围用混凝土进行保护,并设钢管护栏。

3.2.4 所有控制桩、水准点均进行挂牌标识,标识牌上要注明桩点的等级、编号。

3.2.5 对于所弹的墨线也要用油漆进行标识。轴线要标明轴线号,水平线要标明标高。同一条线上相邻两标识的距离不大于10m

3.2.6 对结构外轮廓线也要进行标识,在基础内的墙、柱外轮廓线相邻两标识的距离不大于1.0m。地上结构外轮廓线相邻两标识的距离不大于3.0m,重点要在各拐角处进行标识。

3.2.7 施工现场的控制桩点、监测点以及细部点位将绘制详细的平面图,对平面图和现场点位按照每两周一次的频率进行校核,以确保测量依据的准确性。

 

4施工测量放线

4.1 结构施工测量

4.1.1 平面控制

1. 基底防水层及保护层施工完成后,放基础撂底线。由平面控制网投测控制线,由控制线放出底板外边线及各轴线,进而放出墙线、集水井上下口线等细部线。其中,控制线投测误差不大于±3mm,底板外轮廓尺寸误差不大于±20mm

2. 地下各层结构放线时,应均由槽上平面控制点向下投测,精度同撂底线。由控制线放出各主轴线,通过各轴线放出墙柱边线和门窗洞口等细部线。

3. 首层以上结构放线,由首层内控网向上引测。各层楼板在控制点铅垂相对处预留150×150 洞口(包括顶层顶板),用激光铅垂仪向上投测,投测时应转动仪器4 次,转动90 度,在施工层上的结构板上各投点一个,取平均值,再根据此控制点放出各轴线及细部线。

4.1.2 标高控制

1. 垫层及防水层施工完成后,由槽上两个水准点引测标高控制点,要求误差在3mm 以内且较差小于3mm,即可作为底板施工的标高控制点。底板浇筑后,随结构向上传递。施工层抄平前,应先校测由下层传递上来的三个标高点,较差小于3mm 为合格。墙体拆模后以其平均点引测50 线,作为层高控制和装修施工的依据,50 线标高允许误差为±3mm

2. 建筑物平面及标高控制网、垫层放线、基础撂底线、各楼层平面及50 线均要做测量记录并报监理验收合格后方可进行下道工序。

4.2 钢结构安装测量

4.2.1 安装校正

1. 柱子的垂直安装偏差利用两台光学经纬仪观测校正,两台经纬仪应架在该钢柱所处的建筑物纵横轴线上,观测柱身表面的中心线。当柱身周围有钢筋混凝土剪力墙预留钢筋时,仪器应架设在无剪力墙的一侧。无法躲避时应将仪器尽量贴近轴线。

2. 所有钢柱从吊装就位到形成框架直至焊接完成的全部作业过程中至少需进行三次校正:

1) 钢柱吊装就位至安装面,首先找正柱底轴线位移,穿入柱身安装连接板上的高强螺栓,用经纬仪找正垂直偏差后拧紧安装高强螺栓;

2) 本柱段上钢梁安装时,用经纬仪观测钢梁安装对柱顶垂直偏差的影响,发现偏差超出允许值时,用缆风绳、倒链及千斤顶校正,校正完成后及时将梁端高强螺栓完成终拧;

3) 当本钢柱段上钢梁安装并形成稳定的框架体系后,进行钢柱底端的柱对接焊施工。首先根据钢柱垂偏值由技术人员确定钢柱施焊顺序是否需要进行调整,需调整时下发书面通知并做好记录。焊接施工过程中,注意观测柱身的垂直偏差变化,对于框架安装过程中垂直偏差较大的钢柱尤其应当特别予以重视,发现偏差加大的情况后可通过调整柱焊接顺序的方式利用焊接变形加以校正控制。

4.2.2 钢结构安装测量预控程序

1. 测量工序伴随整个施工过程,应对施工进行全程检测,并将测量记录结果反馈到技术部门,为下一步施工提供决策依据。

 

 

 

 

 

 

 

 

 

 

 

 

 

 

 

 

 

测量控制点流程示意图

2. 柱子、主梁、支撑等主要构件安装时,应随时跟踪校正,结构形成稳定体系后,应立即进行永久性固定,确保安装质量。

3. 用缆绳或支撑校正柱子时,必须在缆绳处于松驰状态时,使柱子保持垂直,才算校核完毕。

4. 柱子安装时,垂直偏差一定要校正到垂直,不能有偏差,先不留焊缝收缩量。安装及校正柱间梁时,再根据焊缝收缩量,预留接头焊缝收缩量。

5. 拴钉施工前,应放出拴钉施工位置线,拴钉应按位置线顺序焊接。

4.2.3 钢柱安装和校正中的垂制度控制

1. 钢柱安装时沿钢柱轴线的两个垂制度方向架设经纬仪观测,配合安装校正。

2. 钢柱安装时要先调整钢柱标高,再调整位移,最后调整垂直偏差。

3. 安装柱间主梁时,要对柱子进行跟踪校正,对已安装梁的隔跨柱要一起监测。

4. 钢柱与梁连接时先用临时螺栓进行固定,待安装区段单元的构件安装校正后,再以高强螺栓换掉临时螺栓,最后焊接固定。

5. 为了控制和减少温差对测量工作的影响,除了考虑温差效应产生的偏差外,应尽量避开高温施测。

4.3 装修施工测量

4.3.1 装修工程施工前,应对已完成的结构进行全面的测量,并将数据提交装修放样人员,以便依据结构现状进行放样工作。

4.3.2 装修施工的放线应依据结构控制线施测,对地面、墙面、吊顶、屋面装饰的测量基线应顾及结构现状,按设计图纸进行必要的分格调整。

4.3.3 地面十字直角定位线及分格线量距精度应高于1/10000,测设直角精度应高于±20",在结构四周墙面或柱面上应弹测建筑完成楼()500mm 水平线,作为地面和天花吊顶的控制线。

4.3.4 室内吊顶的标高由标高控制线,用钢尺量距至设计高度,在四周墙上弹测吊顶线,在结构顶板上按实际空间匀称确定十字直角定位线,有一条与外墙面平行。

4.3.5 外墙装饰设计有分格要求时,应按高于1/10000 的精度测定分格线,并在建筑物外墙转角处吊出铅垂钢丝,以便控制墙面垂直度、平整度及板块出墙位置,铅垂钢丝同时用2台经纬仪校测,两次投测误差小于2mm。室内墙面应按1/3000 的精度控制竖直,分格精度同室外墙面。

4.3.6 对于各房间内、顶棚、设备机房等设备管线槽集中的部分,由测量小组测出建筑物实际尺寸,绘出该部分的实物空间图,发给水电通风设备安装的技术人员和施工队伍,为他们在狭小空间内合理布管加工管槽提供数据。

4.3.7 和其他专业单位确定各种控制面板、灯具等具体位置,达到既符合规范要求,又美观大方的装饰效果。

4.4 市政管线园林施工测量

4.4.1 平面定位应以设计总平面图为准,按照图纸给定的定位条件,依据施工平面控制网点测设,或依据与附近建筑物的轴线相互关系测设。

4.4.2 高程与坡度的控制,应依据施工高程控制网点测设。

4.4.3 中线桩位可用极坐标法、直角坐标法、平行线法等测定。

4.4.4 当室外管线与室内管线连接时,应以室内管线为准;市政工程与市政干线连接时,应以市政干线预留口位置或衔接位置为准。

4.4.5 管线挖槽前应测设中线控制桩,在管线安装过程中应用经纬仪、水准仪及时校测,并于回填土前测出主干线起始点、终点、交点与井位的坐标及管顶高程,做好记录并绘制示意图。

4.4.6 道路工程施工中,应用经纬仪、水准仪及时校测中线与高程。道路中线桩间距直线段为20m,曲线段为10m 或按照实际确定。

4.4.7 高程控制桩点应保证场地中分段施工时,均能够在水准仪有效视线范围内提供两个控制点。

4.5 各项测量放线工作允许误差

测量放线允许误差表

项目

允许误差

 

基础放线尺寸(总长)

±20mm

 

外廓轴线夹角

1

 

轴线竖向投测

每层±3 mm 、总高±10 mm

 

外廓主轴线

±10mm

平面控制

 

 

 

细部轴线

±2mm

 

承重墙、梁、柱边线

±3mm

 

非承重墙边线

±3mm

 

门窗洞口线

±3mm

 

标高竖向传递

每层±3mm ,总高±10 mm

标高控制

 

 

 

管道穿墙孔洞

±10mm

 

5施工测量验线

测量验线人员应按施工组织设计施工进度的安排,结合施工测量方案准确及时地做好各阶段的测量验收工作,紧密配合施工生产。在整个测量过程中应认真贯彻落实项目管理运行程序、质量管理组织体系及质量过程控制。

验线工作由规划验线、监理验线和施工总包验线三级组成。建筑物位置、建筑高度等纳入城市规划管理的项目由规划部门负责;施工、安装测量控制的重点部位和关键环节由监理单位负责;施工、安装测量控制的常规验线由施工总承包单位负责。

验线工作与放线工作要采取人员、仪器和测量方法三者相对独立的原则,验线的精度要高于放线精度,严禁验线与放线同时进行。在施工工序安排上要给验线留出必要的时间,严禁不经验线就擅自施工的现象发生。验线工作按精度级别和难易程度由专业验线组和质检员分别负责。平面和高程控制、主轴线投测、标高传递、曲线、中线测量等关键部位由专业组负责验线,细部验线由质检员负责。为了保证验线工作的精度,我们将配备具有上岗资格的验线人员负责具体的验线工作。

每次放线后,要严格做好自检互检工作,并对检测值做书面记录,由分包技术人员验线合格后将检测值记录连同楼层放线记录等资料报总包验线,总包验线合格后报监理验线,监理签字认可后方可进行下道工序。

验线成果与放线成果之间误差Δ的处理:若“Δ1/ 2 限差时,评为优良;若“Δ略小于或等于2 限差时,评为合格(取两者的平均值);若“Δ 2 限差时,为不合格(不予验收或返工)

 

6变形监测

6.1 建筑物沉降观测

6.1.1 观测精度的确定

按照北京市标准《建筑工程施工测量规程》(DBJ01-21-95)二等变形观测精度要求进行,其控制网主要技术要求指标如下表:

变形观测控制网技术要求指标

变形测量

相邻基准点高

测站高差中

往返较差及附合

检测已测测段

等级

差中误差

误差

或环线闭合差

高差之差

二等

±1.0

±0.30

0.6

n

0.8

n

(单位:mm n测站数) 采用S05 级精密数字水准仪,进行精密水准测量。

6.1.2 工作程序

 

 

 

 

 

 

 

 

 

 

 

 

 

 

 

 

 

 

 

 

 

 

 

 

沉降观测流程图

6.1.3 基准点、工作基点的布设

基准点是变形观测的依据,考虑到本工程施工时间长,利于桩点的保护,拟借用场区施工测量定位控制桩点,或者利用永久性建筑物(沉降已确认稳定)结构上设置,并设明显的标识,应确保在整个施工期间,其点位稳定性可靠。每3 个月检测一次。

工作基点是变形观测中使用的控制点,应沿建筑物基础四周布设在变形影响范围以外,或者在场区周围永久建筑物(沉降已确认稳定)的结构上,便于长期保存和联测的稳定位置。通过场区测量基准点定期或不定期地对其进行检测,从而保证在进行变形观测前,控制点的可靠性。每3 个月检测一次。

6.1.4 沉降观测点的布设

1. 为了能够反映出建筑物变形特征和准确的沉降情况,沉降观测点要埋设在变形明显且便于观测的位置。

2. 建筑物上设置的沉降观测点应均匀地分布在建筑物的周围、高低跨两侧、后浇带两侧及特殊部位,且相邻点之间间距以30 米为宜。

3. 埋设的沉降观测点要符合各施工阶段的观测要求,特别要考虑到装修装饰阶段因墙或柱饰面施工而破坏或掩盖住观测点,不能连续观测而失去观测意义。基础沉降观测点位布置图如下:

基础沉降观测点位布置图

4. 从基础底板开始到±0.000 层,埋设临时观测点,±0.000 按规定埋设永久观测点。典型沉降观测点做法示意图

6.1.5 观测频次

1. 根据编制的沉降观测方案及确定的观测周期进行,拟定每施工两层观测一次。

2. 建筑物的沉降观测对时间有严格的限制条件,特别是首次观测必须按时进行,否则沉降观测得不到原始数据,而使整个观测得不到完整的观测意义。其他各阶段的复测,根据工程进展情况必须定时进行,不得漏测或补测。

3. 首次观测应自基础开始,在基础的上按设计好的位置埋设沉降观测点(临时的),等临时观测点稳固好,进行首次观测。首次观测的沉降观测点高程值是以后各次观测用以比较的基础,其精度要求非常高,施测时要求每个观测点首次高程应在同期观测两次后决定。

4. 随着结构每升高一层,临时观测点移上一层并进行观测,直到±0.000 层再按规定埋设永久观测点(为便于观测将永久观测点设于+500mm 高处)

5. 当建筑物突然发生大量沉降、不均匀沉降或严重裂缝时应立即进行逐日或几天一次的连续观测。周期性观测中,如与上次相比出现异常应及时复测。

6. 当复测成果或检测成果出现异常,或测区受到如地震、洪水、爆破等外界因素影响时,应及时进行复测。

6.1.6 观测方法及要点

1. 采用独立高程体系,闭合法几何水准测量。固定的测量仪器为:S0.4 级精密数字水准仪。

视线长度

前后视距差

前后视距累积差

视线高度

20m~30m

2.0m

3.0m

0.3m

2. 沉降观测的自始至终要遵循五定原则

所谓五定,即通常所说的沉降观测依据的基准点、工作基点和被观测物上的沉降观测点,点位要稳定;所用仪器、设备要稳定;观测人员要固定;观测时的环境条件基本一致;观测路线、镜位、程序和方法要固定。

以上措施在客观上尽量减少观测误差的不定性,使所测的结果具有统一的趋向性,保证各次复测结果与首次观测的结果可比性更一致,使所观测的沉降量更真实。

3. 在观测过程中,操作人员要相互配合,工作协调一致,认真仔细,做到步步有校核。

4. 严格按测量规范的要求施测。

5. 前后视观测最好用同一水平尺。

6. 各次观测必须按照固定的观测路线进行。

7. 在同一测站上观测时,不得两次调焦。转动仪器的测微鼓时,其最后旋转方向,均应为旋进。成像清晰、稳定后再读数。

8. 观测时要避免阳光直射,且各观测环境应基本一致。

9. 观测时仪器应避免安置在有空压机、搅拌机、卷扬机等振动影响的范围内。

10. 随时观测,随时检核计算,观测时要气阿成。

11. 在雨季前后要联测,检查水准点的标高是否有变动。

12. 观测过程中,必须保证测量人员与仪器的安全。

6.1.7 数据处理与分析

沉降观测采用数字水准测量仪器进行,数据采集和分析将实现数字化和程序化。每次观测结束后,通过软件处理后,将观测数据、观测结果和根据已有成果分析得出的变形规律及发展变化趋势等信息,以电子和书面两种形式及时反馈给相关部门。

当建筑物每天(24 小时)连续沉降量超过1mm 时应停止施工,会同有关部门采取应急措施。

6.2 基坑边坡与场地变形监测

为监测基础结构施工期间基坑边坡的稳定性,以及场区周围建筑物、地下管线等设施的安全性,应对基坑边坡、场地变形进行必要的监测。

6.2.1 边坡、护坡桩水平位移监测

1. 按照规范的规定:支护结构最大水平位移允许值如下:

安全等级

支护结构最大水平位移允许值

一级

30mm

2. 变形量增大安全划分区域:

安全区域

安全域

警戒域

危险域

δ为桩顶位移

δ≤30mm

δ3050mm

δ 50mm

v 平均变形速度

v 0.2mm/d

v=0.20.5mm/d

v0.5mm/d

3. 基坑边坡护坡桩的水平位移监测,拟采用测角2,测距2mm+2ppm·D 的全站仪,测量被观测点的三维坐标值,不但可以满足精度的要求,且可以提高工作效率。

4. 位移观测基准点数量不应少于两点,且应设在影响范围以外,或者兼用场区其他高级控制桩点。

5. 监测点的布置应满足监控要求,从基坑边缘以外12 倍开挖深度范围内的需要保护物体均应作为监控对象。因为基坑边坡中部变形量和变形速率为该边坡最大处,所以将监测点尽可能集中于边坡的中间部位,基坑的边角处由于受两个垂直边相互牵制,位移为最小处,也是基坑最安全处,所以通常不在基坑边角处布置监测点。

6. 建筑物上的观测点,应选在墙角、柱基及裂缝两边等处,可采用墙上或基础标志;土体上的观测点,可采用混凝土标志;护坡桩的观测点应按待测坡面成排布点;地下管线的观测点,应选在端点、转角点及必要中间部位,采用窨井式标志。

7. 监测项目在进场后,应测得现有值,且不应少于两次,并结合土方开挖前的数据进行比较而确定。

8. 各项监测的时间间隔可根据施工进度确定。当变形超过有关标准或监测结果变化速率较大时,应加密观测次数。当有事故征兆时,应连续监测。

6.2.2 基坑周围地面建筑物的沉降监测

1. 按照建筑变形测量三级观测精度进行精密水准测量,其主要技术要求指标和测法如下:

变形测

量等级

相邻基准点高

差中误差

观测点测站高

差中误差

往返较差及附合

或环线闭合差

检测已测测段

高差之差

±2.0

±0.70

1.4

n

2.0

n

(单位:mm n测站数)

2. 采用S1 级水准仪,进行测量观测。

3. 监测基准点、工作基点可兼用基础垂直位移监测所布设的桩点。

4. 观测点的布设可结合前节所述水平位移监测点布设,或另行布设。

5. 具体的观测方法、工作程序、数据的处理分析等可参考建筑物沉降观测部分内容。

6. 施工过程中,应提交阶段性(例如:基础底板施工完、冬雨施前后、地下结构施工完等阶段)监测结果报告。工程结束时应提交完整的监测报告,报告内容应包括:

1) 工程概况;

2) 监测项目和各测点的平面和立面布置图;

3) 采用仪器设备和监测方法;

4) 监测数据处理方法和监测结果过程曲线;

5) 监测结果评价。

6.3 上部结构施工过程中的变形安全监测

要得到有效的建筑物实时变形趋势,必须借助建筑物模型计算模拟变形量,确定能够合理反映建筑物变形特征的观测点,再配以相应精度的变形观测手段,同时还要结合基础的沉降数据,然后通过数据处理软件进行平差计算、数据分析,从而形成整体建筑物的变形信息,反馈到各施工专业指导施工。

拟采用智能型全站仪于建筑物外部观测,GPS 测量仪于建筑物在施层实时监测,激光位移计于建筑物内底层自动测计法监测,几种方法相结合。

6.3.1 智能全站仪(测量机器人)建筑物外部监测

当采用全站仪进行变形观测时,按照北京市标准《建筑工程施工测量规程》DBJ01-21-95)

水平位移观测一等变形观测精度要求进行,其控制网主要技术要求指标如下:

变形测

量等级

观测点点位

中误差

相邻基准点的

点位中误差

平均边长

测角中误

最弱边相对

中误差

一等

±1.5mm

±3.0mm

150m

±1.8

1/70000

拟采用徕卡TCRA1201智能全站仪(测量机器人),利用其ATR(Automatic Target Recognition)功能自动识别和照准目标,因照准过程不需调焦,故可不考虑每测站方向之间的距离差异。全站仪发射红外光束,并利用自准直原理和CCD 图象处理功能,无论在白天还是黑夜,都能实现目标的自动识别、照准与跟踪。

TCRA1201 全站仪ATR 目标搜索与照准过程如图所示。

 

 

 

 

 

 

 

 

 

 

 

 

 

 

 

 

 

 

 

 

 

ATR 测量过程顺序图

 

 

 

 

 

 

利用 TCRA1201 全站仪的自动化特点,配以相应的数据采集软件AMIS,经简单的配置,在无需人工干预的情况下,TCRA1201 全站仪在计算机软件的控制下,按全圆方向观测法自动照准待测方向,可完成多目标多测回的边角数据采集。测站设备装置如右图所示。利用其PinPoint 测量技术,实现无棱镜三维坐标测量,测距可达到500m,精度为3mm+2ppm·D。可解决对上部结构变形监测时,安设反射棱镜较为困难的问题,取而代之的是反射薄片,该薄片具有易于固定、成本低等特点,可实现大量观测点的布设。

距离测量时注意气象条件,尤其是温度,应选择测量精度较高的温度计,需配气压表。由于测量机器人是自动照准,因此,对棱镜的朝向有较高的要求,要尽量正朝向仪器方向,且保持棱镜表面清洁。

6.3.2 GPS 全球定位测量系统进行实时监测

GPS 定位技术相对于经典测量技术有以下一些特点:观测站之间无需通视,GPS 测量必须保持观测站上空开阔,接受卫星的信号不受干扰;全天候作业,GPS 观测可在任何地点、任何时间连续进行,一般不受天气影响。

根据目前民用的GPS 测量仪的精度,以及本工程施工现场所处市区繁华地带的干扰较大,所以我们将利用其在TVCC 层数较高的部位使用,这样既可以解决常规测量手段仰角过高的影响和不通视的问题,又可以避免常规测量误差积累的问题。

所谓静态定位,就是在进行GPS 定位时,认为接收机的天线在整个观测过程中的位置是保持不变的。也就是说,在数据处理时,将接收机天线的位置作为一个不随时间的改变而改变的量。具体观测模式多台接收机在不同的测站上进行静止同步观测,观测时间20 分钟以上。GPS-RTK 动态差分技术,可以实现实时快捷的观测,但其精度最高仅能达到±15mm(此精度参考有关文献和仪器的标称精度),作为本工程,拟将在对上部结构变形幅度加大的部位予以使用,但有关具体数据,有必要做现场试验。

RTK 作业方式示意图

6.3.3 其他辅助监测手段

激光位移计自动位移监测,位移计安置在建筑物的底层或地下室底板上,接收装置可设在需要观测的楼层,当位移计发射激光时,通过传感器,从光线示波器上可直接获取位移图象及有关参数,并自动记录成果。

采用全能摄影经纬仪、高分辨率数码相机和一系列摄影测量硬软件,进行建筑物特殊目标摄影测量、动态摄影测量等,提供数字或模拟形式的变形结果。

以上方法,直观快捷,可以作为辅助参考,配合其他手段综合分析。

 

2、土方及桩基施工方案

1土方及桩基工程概况

1.1 工程概况

B 标段为电视文化中心,由酒店、裙楼(电视剧场、录音棚等)及纯地下车库组成。设2 层地下室,基础大部埋深在设计标高±0.00 以下11.05m14.60m,局部电梯井加深坑部位基础埋深在设计标高±0.00 以下15.6m19.60m。基坑为不规则形状,东西长约200m,东侧南北宽度约90m,西侧南北宽度约150m。各建筑功能区地上、地下部分结构相互联结为一体。电视文化中心采用桩筏基础,桩为钻孔灌注桩,桩长有四种,分别约为14.7m15m30m62.5m,基础底板厚度为0.72.5m 不等。

1.2 场地条件

1.2.1 施工场区周围环境

**电视台新台址建设工程建于北京市朝阳区东三环中路32 号,原北京市汽车、摩托车联合制造公司厂内,地处东三环路以东、光华路以北、朝阳路以南,在北京市**商务区(CBD)规划范围内。拟建场区地势平坦,周边环境较为复杂,场区西侧、南侧紧邻交通干道东三环中路和光华路,西北角紧邻市煤气公司,北侧围墙外有两栋永久板式楼房。因此,本工程基坑设计与施工时,应确保场区周边环境的安全。

1.2.2 地下障碍物情况

拟建场区原为北京汽车摩托车联合制造公司光华路厂区,原厂房及附属设施密集。该工程位置原有建筑物为汽车底盘厂、涂装厂和家具城等,在拆除过程中,在遗留的钢筋混凝土柱基础及其他厂房遗留的钢筋混凝土池体等地下障碍物。另外,地下分布有较多的热力、电缆、上下水管道及地下人防通道等地下设施,对基础施工十分不利。

1.3 工程地质及水文地质条件

1.3.1 工程地质条件

根据北京市勘察设计研究院提供的《**电视台新台址建设工程(B )岩土工程勘察报告(草本)》描述,本工程拟建场区在地貌单元上位于永定河冲洪积扇中下部,第四纪地层厚度(相当于第三纪基岩埋深)约在160m 左右。地面以下至基岩顶板之间的土层岩性以粘性土、粉土与砂土、碎石土交互沉积土层为主。

根据现场勘探、原位测试及室内土工试验成果,按地层沉积年代、成因类型,将B 区场地内、本阶段最大勘探深度100m 范围的土层划分为人工堆积层和第四纪沉积层两大类,并按地层岩性及其物理力学数据指标,进一步划分为15 大层及亚层。现按照自上而下的顺序对本工程施工范围内各土层的基本特征综述如下表:

成因

地层

岩性

各大层层顶变

各大层厚度

湿度

天然密度

内磨擦角

内聚力c

年代

序号

 

化范围(m)

变化范围(m)

 

ρ(g/cm3)

φ(°)

(kPa)

人工

房渣土

37.9039.14

0.805.70

 

稍湿~湿

/

10

0

堆积

1

粘质粉土、

粉质粘土填

湿

1.91

10

15

第四

纪沉积层

粘质粉土、

粉质粘土

32.4538.34

 

4.609.80

 

湿

1.97

22.5

52

1

砂质粉土

湿(局部饱和)

1.88

34

26

湿~饱和

1.84

19

40

圆砾、卵石

27.8529.29

7.9012.10

湿~饱和

/

38.0

0

1

粉砂、细砂

湿

/

32.0

0

2

细纱、中砂粉质粘土、

湿~饱和

/

33.0

0

3

粘质粉土

湿

/

15

25

 

粘质粉土、

粉质粘土

16.1420.42

1.706.00

饱和~湿

2.03

27.3

29

1

粘土、 重粉质粘土

湿~饱和

1.86

15

55

卵石、圆砾

13.9215.02

8.5010.70

饱和

/

40.0

0

1

细纱、中砂

饱和

/

36.0

0

2

粉质粘土粉质粘土、

饱和

/

18

40

粘质粉土粘土、

3.325.56

3.907.90

 

饱和~湿

2.04

20.8

44

1

重粉质粘土 粘质粉土、

湿~饱和

1.87

29

67

2

砂质粉土

饱和

1.98

31

20

卵石

-2.750.64

 

3.907.90

 

饱和

/

42.0

0

1

细砂

饱和

/

35.0

0

第四

纪沉

积层

2

粘质粉土、

粉质粘土

32.4538.34

0.64~9.80

饱和

/

25

40

根据北京市勘察设计研究院提供的《**电视台新台址建设工程(B )岩土工程勘察报告(草本)》描述,本工程场区主要存在3 层地下水,地下水类型分别为:第1 层地下水为层间潜水,含水层为第3 大层卵砾石层、砂层,该层地下水水位连续分布;第23 层地下水为承压水,赋存于第5 大层和第7 大层的卵砾石层及细砂、中砂层当中,均具有较高的压力水头:第2 层地下水承压水头高度约在5m6m 左右;第3 层地下水承压水头高度约在16m18m 左右。

各层地下水类型及实测水位如下表所示。

序号

地下水类型

含水层岩性

静止水位埋深(m)

静止水位标高(m)

1

层间潜水

卵砾石层、砂层

13.3015.90

22.6024.60

2

第一层承压水

卵砾石层及细砂、中砂层

18.5020.00

18.5119.72

3

第二层承压水

卵砾石层及细砂、中砂层

20.1021.70

16.9118.02

在工程场区第2 大层的粉土层中还赋存有1 层地下水,其类型为台地潜水。该层地下水的水量和水位在整个场区不够连续,根据勘察院设于场区附近的地下水长期观测孔的观测资料及区域性水文地质资料,在拟建场区及其附近区域,台地潜水的当前水位标高在33.50m 左右。

2. 地下水成因及动态变化规律

1) 场区台地潜水主要接收大气降水入渗及管道渗漏补给,并以蒸发及地下径流等方式排泄。其天然动态类型属渗入~蒸发、径流型,其水位季节变化规律一般为:6 月份~9 月份水位较高,其它月份相对较低,年变化幅度一般为2m3m

2) 场区层间潜水主要接收地下径流补给,并以地下径流为主要排泄方式。其天然动态类型属渗入~径流型,其水位季节变化规律一般为:11~来年3 月份水位较高,其它月份相对较低,年变化幅度一般为1m 左右。

3) 场区承压水主要接收地下径流补给,并以地下径流为主要排泄方式。其天然动态类型属渗入~径流型,其水位年变化规律与层间潜水类似,而变幅较层间潜水大,第一次承压水水位的年变化幅度一般为3m5m

3. 建场区历年最高地下水位

工程场区历史最高地下水位(1959 )36.60m35.70m(自西南向东北逐渐降低),近35 年最高地下水位标高为35.6035.20m(自西向东降低)

4. 地下水的腐蚀性

各层地下水的水质对混凝土结构均无腐蚀性;但在干湿交替作用条件下,对钢筋混凝土结构中的钢筋有一定的弱腐蚀性;对钢结构也具有弱腐蚀性。

1.4 工程特点及难点

1. 基坑深度较深,基槽的深度为在设计±0.00 标高以下11.05m14.60m,局部电梯井加深坑部位基础埋深在设计±0.00 标高以下15.6m16.6m17.60m19.10m 19.60m;开挖面积大,达25850m2,地下部分施工周期较长,对基坑支护的安全性要求高。基础各部分埋深不同、多达十几种,而且高低差变化较大,开挖深度不好控制,特别是斜面的土方开挖要求精度较高。同时,高低差变化都发生在砂、卵石地层中,斜面处的土方开挖及支护施工难度都较大。

2. 局部深坑区开挖深度大,涉及潜水及第一层承压水的排降,因此,内部深坑区降水较困难,而且降水周期较长,对坑内降水井的封井要求高,要做到既满足基坑施工要求,又要控制周边的沉降。

3. 本工程中工序较多,土方、支护、降水、基础桩各工序的搭接困难,施工连续性相对较差,不易形成施工流水,造成工期长施工工期紧张。

4. 建筑基底存在高低差最大处达7m,由于基础桩施工采用的是湿作业泥浆护壁成孔工艺,桩孔内的水压力较大,会渗透到支护面处影响支护的稳定性。

5. 拟建场区遗留大量钢筋混凝土柱基础及其他厂房遗留的钢筋混凝土实体等地下障碍物,地下分布有较多的热力、电缆、上下水管道、地下人防通道等地下设施,这些都会影响到土方开挖以及周边支护的施工,必须先探明地下管线、电缆,提前破碎或改移。

6. 工程地处北京商务中心的核心,交通流量大,紧邻居民楼群,对土方运输造成很大的制约,对噪音、粉尘等环保要求也很高。

7. 本工程中既有抗压桩又有抗拔桩,抗压桩桩长最长达62.5m,而且穿越了多个土层,抗拔桩虽然桩长较短仅有15m,但桩顶标高复杂,而且有部分抗拔桩分布在基坑内侧高低差1:1 的斜面上剔凿桩头时难度较大。

1.5 主要工程量

序号

项目

工程量

总量

1

总土方量

33.3

33.3

2

总支护面积

8000

8000

3

自渗井(直径400mm)

42

129

4

外侧管井(直径600mm)

36

内侧大口管井(直径600mm)

46

水位观测井

5

5

抗压桩

138

 

6

抗拔桩

498

 

 

2土方及桩基总体施工安排

2.1 施工组织机构

2.1.1 为了保证本工程的工期、质量、环保、安全、服务实现承诺的目标,保证施工过程中的组织协调,本投标人将成立由项目经理、总工程师、生产副经理组成的领导小组,负责项目组织、机械配备、人力资源、材料资金、技术保障的总体协调。本投标人选调组织管理能力强、技术业务精、敬业心责任感强的人员组成项目经理部,全面负责工程项目的工期、质量、安全、环保和服务。

2.1.2 施工组织机构框图

 

 

 

 

 

 

 

 

 

 

 

 

 

 

 

 

 

 

 

 

 

 

 

 

 

 

 

2.2 施工区域划分及施工部署

2.2.1 施工区段的划分

根据现场条件及施工顺序的先后、基础桩的分布特点及地上结构的建筑功能,在平面上将TVCC 基础分为三个区域即一区、二区、三区;具体的区域划分见下图:

基坑施工分区图

2.2.2 总体施工部署

根据现场条件及施工进度计划,该工程施工部署如下:

施工顺序及施工流程(见下页)

 

 

 

 

 

 

 

 

 

 

 

 

 

 

 

 

 

 

 

 

 

 

 

 

 

 

 

 

施工顺序及施工流程

2. 进场后首先进行测量放线,测量出结构线、开挖上口线、外侧降水井中心线,测量完成后,布置3 台地质钻机进行基坑北侧42 口自渗井的施工,安排3 台反循环钻机进行南侧36口大口管井施工,与此同时,安排3 台挖土机、3 台液压锤进行-2m 位置地下障碍物拆除及土方挖运。

3. 大面积土方开挖在平面上分为三个区,一区中心区布置3 台挖土机由西南向东北方向施工,由东侧两个坡道同时出土;基坑南侧安排1 台挖土机配合土钉支护分层施工;二区布置2台挖土机由西南向东北侧开挖,运土车经三区从东北侧收尾坡道出土;西侧和北侧安排2 台挖土机配合土钉支护施工;三区为地下车库不是施工主线,可安排1 台挖土机由西向东开挖;第二步土方均由-2m 开挖至-6m

4. 大面积第三步土方由-6m 开挖至打桩工作面(打桩工作面标高前面已有说明),此步土方开挖的各区机械布置与第二步土方布置相同,一区、二区均经三区出土,因此在与三区交界处布置2 个临时坡道,此时可将基坑东南角处位于一区的临时坡道挖除土方均由东北侧收尾坡道出土。其中一区东侧与二区西侧基底标高为-11.7m -12.2m 处此部土方开挖至距基底300mm处,以下土方人工清土。

5. 一区土方首先开挖至-11m 工作面,在此位置布置4 台旋挖钻机、1 台反循环钻机进行一区基础桩施工,与此同时,施工基坑内侧的降水井;二区开挖至-11m 打标面标高后,插入基坑内侧降水井施工,打完井后,布置6 台反循环钻机进行二区抗拔桩施工;三区上部开挖进度较慢,待开挖至-9.0m 亮出工作面后,布置6 台反循环钻机进行车库部分抗拔桩施工。

6. 各区段基础桩施工完毕后,进行空钻土方施工、桩间土清理及剔凿桩头,随此步土方的进行,施工剩余的支护施工(包括外侧剩余的土钉墙及内侧高低差处的挂网喷射混凝土支护施工)

7. 最后进行坡道处土方收尾。

2.3 施工进度安排

2.3.1 工期要求

1. 地基基础部分施工工期

工期共113

2.3.2 工期保证措施

1. 选派得力人员组成施工项目经理部,对生产要素优化组合,实行动态管理,灵活地对人员、设备、材料进行及时调整。

2. 抓紧进场及施工前的准备工作。尽快落实材料采购计划,迅速组织机械设备进入施工现场。

3. 制定详细合理的施工计划。抓住关键工序,对影响总工期的工序和具体环节给予人、财、物的充分保证,确保整个工程进行顺畅和连贯。

4. 配足人力、设备,充分发挥本投标人集科研、设计、施工为一体的优势。积极与业主和设计部门配合,对影响工期的工序或施工过程实行集体攻关,选择合理施工方案。

5. 主动做好与其他施工单位的密切配合。充分发挥机械的台班利用率。需要配合的项目事先向有关单位联系,提前作好准备。

6. 机械设备的完好程度是影响工期的主要因素之一,所有设备进场前做好保养,保证机械完好进场。保证机械设备定期保养。

7. 制定详细的材料采购计划,保证材料供应及时。临时所需材料立即解决,不能拖延。

8. 建立切实可行的工期奖罚制度。加强管理,加强施工组织设计的运筹,制定并落实一切可行机制和措施,确保控制工期目标的实现。

9. 本工程由于工序多,工程量大,工期紧。为保证工程如期完工,在人力、物力保障充足的前提下,先进的技术方案、合理的施工组织也是重要因素之一。为此,本投标人针对本工程特点,制定如下措施:

1) 由于建筑物的基础桩、土方工程量都很大,因此,要求土方、支护、降水井、基础桩施工工序间合理搭配、穿插作业,以一区即核心筒部分土方、桩基施工为主线,以利于土建的提前插入,从而节省工期。

2) 土方挖运分为工作区和中心区:工作区为土钉墙施工区,需土方分层配合施工;中心区可大面积开挖,充分发挥机械性能,是保障出土量的基本点。

2.4 施工资源配置

2.4.1 主要施工机械配备

1. 测量机械设备

 

 

仪器设备名称

品牌、型号

生产厂家

数量

电子全站仪

拓普康GTS-332W

日本

1

水准仪

DZS31

北光

2

电子经纬仪

ET02

南方测绘

2

钢卷尺

50m

 

2

钢盒尺

5m7.5m

 

若干

对讲机

5KM

摩托罗拉

2

根据具体施工进度随时调整机械配备。

2. 降水井施工机械

()

功率(kW)

反循环钻机

 

3

70

降水井成孔

地质钻

SH-50

3

 

自渗井成孔

空压机

柳州6130

2

 

洗井

发电机

12A-135

2

200KW

打井发电

电闸箱

 

10

 

 

3. 土方施工机械

挖土机

日立EX300-3

4

土方挖运

卡特330B

5

土方挖运

推土机

D-85

2

土方挖运

洒水车

 

23

现场洒水

自卸汽车

斯太尔

88

土方运输

4. 土钉墙施工机械

功率(kW)

电焊机

交流电焊机

3

30

注浆泵

2SNS

1

7

注浆

BW-250

2

7

注浆

灰浆搅拌机

 

3

3

灰浆搅拌

空压机

W6135

3

7.5

喷射混凝土

洛阳铲

 

40

 

土钉成孔

锚杆机

 

2

 

预应力锚杆成孔

张拉机

 

2

 

锚杆张拉

5. 基础桩施工机械

功率(kW)

用途

旋挖钻机

R-622HR416

4

10

基础桩成孔

反循环钻机

 

6

70

基础桩成孔

交流电焊机

EX500

10

50

钢筋笼加工

履带吊

50t

2

 

吊放钢筋笼

履带吊

35t

3

 

吊放钢筋笼

直螺纹成形机

GHB40

4

4

 

钢筋切断机

GQ40-1

4

5.5

切钢筋

2.4.2 主要劳动力配备

1. 降水井劳动力配备

劳动力数量

反循环钻机

 

20

地质钻机

SH-50

20

空压机

柳州6130

6

发电机

12A-1350

2

2. 土方劳动力配备

挖土机司机

18

 

推土机司机

4

 

汽车司机

150

 

其他人员

10

施工配合

 

3.基础桩劳动力配备

 

 

工种

人数

职责

8

测量放线

电焊工

25

钢筋笼制作

钢筋工

35

钢筋笼制作

钻机机组

40

机械操作、成孔

混凝土及灰浆作业

35

水下灌注及干成孔灌注

4. 土钉墙劳动力配备

3

测量放线

电焊工

50

土钉制作

钢筋工

80

土钉制作、编网

混凝土及灰浆作业

100

锚杆注浆、土钉面层

土钉墙成孔

120

洛阳铲成孔

杂工

40

配合施工,扫马路等

5. 现场管理人员配备

序号

职责

人数

1

工长

6

3

质检员

6

4

测量校正

6

6

安全员

3

 

3土方工程施工方案

3.1 基坑支护设计及施工方案

3.1.1 护坡方案设计的特点

1. 该工程基底标高变化较多,在基坑电梯井开挖深度范围内有一定厚度的卵石层,地下水情况较复杂;场地地面原为北京市汽车摩托车厂,其拆除后遗留下旧房基础、房渣土,同时地下埋设有多条管线与人防等地下设施,工程基坑四周环境比较复杂,这些都给边坡支护的设计和施工带来一定难度。

2. 考虑到基础桩施工及土建地下结构施工可能需要较长的施工周期,基坑支护要经过雨季的考验,因此,要求支护安全系数较大。

3. 支护体系施工完毕后,基础桩施工中湿作业成桩工法所用的泥浆池,会对降水井施工造成影响,并使降水井的效能产生损耗。从而局部地下水可能影响到基坑的边坡支护体系。

4. 基坑北侧开挖深度较深,为13.6m 14.6m,需采取有效的措施进行此部分支护的水平位移及沉降的控制。

3.1.2 场区周边的条件

1. 基坑北侧有两栋315 层的住宅楼距离基坑结构线最小距离约为11m,估计可能有一层地下室埋深不会超过6m,而TVCC 北侧靠近住宅楼部分为车库,开挖深度为11.05m,拟采用土钉墙支护,上部两层土钉的长度为9m,土钉不会影响原有住宅楼。

2. 基坑西侧有一排4-5 层砖混结构住宅楼,估计此楼物地下室,按条形基础考虑,估计

埋深不会超过2.5m;且住宅楼距离TVCC 结构线最小距离也有10m 以上,西侧开挖深度为11.7m,土钉支护施工不会影响到原有住宅楼;但在基坑的西南角突出的位置距离原有住宅楼仅有约6m 的距离,局部土钉施工会受到影响,因其影响的范围较小,仅有约6 根土钉受其影响,我们采取调整土钉角度的方法进行避让,(此角为土钉支护的阴角处受力较小)做法如下:

3. 基坑东侧为规划路30m 范围之内无任何建筑物,因此东侧采用土钉墙支护不会受到任何影响。

4. 基坑南侧距离A 标段(CCTV)的庆典广场最窄处也有20 多米距离,而且其间无任何建筑物,此部分基坑开挖深度最深为14.6m,第三层加一道预应力锚杆的长度也仅有16m。因此,即使与CCTV 同时进行施工,对南侧TVCC 的支护以及土方挖运不会有任何影响。

3.1.3 护坡方案设计的指导思想

1. 护坡方案要科学合理,因地制宜,切实可行,确保深基坑边坡支护经过雨季的冲刷和冬季的冻融后要安全可靠;

2. 护坡工程必须与土方工程一体化安排,要为土方工程的顺利施工创造快捷和良好的前提条件;

3. 护坡工程在确保为后续施工创造出良好的施工作业面的同时,还要尽可能地减少不必要的土方回填;

4. 护坡工程要尽量减少与土方施工的工序穿插的次数,以缩短工期;

5. 护坡工程要充分考虑到其经济合理性等。

3.1.4 基坑边坡支护方案的确定

目前北京市比较成熟的支护形式主要有以下几种:护坡桩与锚杆支护、土钉墙支护、上部土钉墙(挡土墙)下部桩锚支护、悬臂桩支护和地下连续墙支护几种。根据以上五种支护形式的适用范围、安全性及经济性特点,结合工程开挖深度、厂区内地质条件及现场实际情况,本工程根据各部分开挖深度的不同,拟采用土钉墙、复合土钉墙及挂网喷射混凝土三种支护形式,具体方案如下:

1. 基坑纯地下车库部分基底标高为-11.05m,主楼基底标高为-11.70m-12.2m,此部分开挖深度较浅且地下水影响较小,采用土钉墙支护形式。

2. 基坑南侧由西向东基底标高分别为-13.6m-14.6m,槽底位于细砂层,宜采用安全性较高的支护体系。根据《基坑土钉支护技术规程》并结合实际情况采取土钉墙结合预应力锚杆的复合土钉支护形式。

3. 基础高低差交界处,设计图纸要求为11 放坡,因此,土方施工时也按1:1 进行开

挖;基坑内部标高不同处的高低差在1m7m 不等,而且各部分高低差处的地层情况也不一致。综合考虑以上各种条件对支护的影响,为保证开挖时土体稳定,基坑高低差标高交界处采用1:1 挂网喷射混凝土面层的支护形式。

3.1.5 基坑支护方案设计

本工程基坑支护设计,采用经有关部门鉴定的设计软件进行计算及有限元分析,并根据本投标人在类似工程的施工经验进行调整,确定设计方案。

1. 各种土层设计参数:

土层

厚度(m)

土体密度(KN/m3)

土体粘结力(Kpa)

土体内摩擦角(°)

房渣土

1.800

18.000

10.000

10.000

粘质粉土

2.200

19.700

25.000

28.000

砂质粉土

4.800

19.000

23.000

25.000

粘质粉土

1.600

19.700

25.000

28.000

细砂

3.100

20.000

0.000

30.000

卵石

6.000

20.000

0.000

38.000

2. 土钉墙支护设计参数

1) 土钉水平间距为1.5m,按梅花型布置,土钉与水平面夹角为10°

2) 土钉墙墙面坡度10.1,此方案基坑周边允许附加荷载为20KN/m2

3) 土钉钢筋均为二级钢筋,锚筋长度=土钉设计长度+200mm(以下设计土钉长度中包括此200mm)

4) 土钉采用人工洛阳铲成孔,成孔直径为120mm;下层土方需在上层土钉墙浆体强度、面层强度达到70%后再进行开挖。

5) 土钉成孔并放入钢筋后,向孔内压注水泥浆,其注浆压力不小于0.2MPa,水泥浆水灰比为0.5,水泥采用普通P.0.32.5 硅酸盐水泥,水泥浆强度应大于20MPa

6) 喷射混凝土面层配置钢筋网,钢筋直径φ6.5mm,间距250×250mm,网距边坡3050mm,沿土钉横向通长焊上Φ18 钢筋作为附加的加强筋,再将土钉伸出孔口的一端用L 型钢筋与钢筋网上的加强筋焊上。

7) 面层喷射混凝土厚度100mm,混凝土强度等级为C20。混凝土配合比为水泥砂子碎石加复合外加剂 122(重量比)

8) 边坡上沿需外翻1.0m100mm 厚的钢筋混凝土翻边。

9) 预留施工肥槽800mm,支护结构上侧的挡水墙高300mm,用页岩砖砌筑,外抹水泥砂浆,支护结构下侧的排水沟距坡脚200mm,深度为200mm、宽度为200mm

3. 计算书(见基坑支护计算书)

4. 基坑各部分支护形式如下图所示:

基坑支护平面示意图

5. 根据基坑深度,确定边坡6 种支护结构,其计算结果分述如下:

1) 槽底标高-11.05 处支护结构

层号

深度

(m)

长度

(m)

钢筋

倾角

(°)

孔径

(mm)

水平

间距(m)

备注

1

1.0

9

1 Φ18

10

120

1.5

土钉

2

2.5

9

1 Φ18

10

120

1.5

土钉

3

4.0

11

1 Φ22

10

120

1.5

土钉

4

5.5

10

1 Φ22

10

120

1.5

土钉

5

7.0

9

1 Φ22

10

120

1.5

土钉

6

8.5

8

1 Φ22

10

120

1.5

土钉

7

10.0

7

1 Φ22

10

120

1.5

土钉

-11.05m 土钉墙支护剖面如下图所示:

-11.05m 土钉墙支护剖面图

 

2) 槽底标高-11.70 处支护结构

层号

深度

(m)

长度

(m)

钢筋

倾角

(°)

孔径

(mm)

水平间

(m)

备注

1

0.8

9

1 Φ18

10

120

1.5

土钉

2

2.3

9

1 Φ18

10

120

1.5

土钉

3

3.8

11

1 Φ22

10

120

1.5

土钉

4

5.3

10

1 Φ22

10

120

1.5

土钉

5

6.8

9

1 Φ22

10

120

1.5

土钉

6

8.3

8

1 Φ22

10

120

1.5

土钉

7

9.8

8

1 Φ22

10

120

1.5

土钉

8

11.3

7

1 Φ22

10

120

1.5

土钉

 

-11.70m 土钉墙支护剖面图

3) 槽底标高-12.20 处支护结构

层号

深度

(m)

长度(m)

钢筋

倾角

(°)

孔径

(mm)

水平间

(m)

备注

1

1.0

9

1 Φ18

10

120

1.5

土钉

2

2.5

9

1 Φ18

10

120

1.5

土钉

3

4.0

11

1 Φ22

10

120

1.5

土钉

4

5.5

10

1 Φ22

10

120

1.5

土钉

5

7.0

9

1 Φ22

10

120

1.5

土钉

6

8.5

8

1 Φ22

10

120

1.5

土钉

7

10.0

8

1 Φ22

10

120

1.5

土钉

8

11.50

7

1 Φ22

10

120

1.5

土钉

-12.20m 土钉墙支护剖面图

4) 槽底标高-13.60 处支护结构

层号

深度

(m)

长度(m)

钢筋

倾角

(°)

孔径

(mm)

水平间

(m)

备注

1

1.0

9

1Φ18

10

120

1.5

土钉

2

2.5

9

1Φ18

10

120

1.5

土钉

3

4.0

17

Φ22

10

120

1.5

锚钉

4

5.5

10

1Φ22

10

120

1.5

土钉

5

7.0

9

1Φ22

10

120

1.5

土钉

6

8.5

8

1Φ22

10

120

1.5

土钉

7

10.0

8

1Φ22

10

120

1.5

土钉

8

11.50

8

1Φ22

10

120

1.5

土钉

9

13.0

7

1根Φ22

10

120

1.5

土钉

 

第三道采用预应力锚杆,锚杆的非锚固段长度为5m,锚固段长度为12m,单根锚杆的设计张拉力值为220KN,张拉锁定值为150KN,腰梁由两根22b 槽钢组成。

-13.60m 土钉墙支护剖面图

5) 槽底标高-14.60 处支护结构

层号

深度

(m)

长度(m)

钢筋

倾角

(°)

孔径

(mm)

水平间

(m)

备注

1

0.8

9

1

Φ18

10

120

1.5

2

2.3

9

1

Φ18

10

120

1.5

3

3.8

17

2

Φ22

钢筋

10

120

4

5.3

10

1

Φ22

10

120

1.5

5

6.8

9

1

Φ22

10

120

1.5

6

8.3

8

1

Φ22

10

120

1.5

7

9.8

8

1

Φ22

10

120

1.5

8

11.3

8

1

Φ22

10

120

1.5

9

12.8

7

1

Φ22

10

120

1.5

10

14.3

7

1

Φ22

10

120

1.5

第三道采用预应力锚杆,锚杆的非锚固段长度为5m,锚固段长度为12m,单根锚杆的设计张拉力值为220KN,张拉锁定值为150KN,腰梁由两根22b 槽钢组成。

-14.60m 土钉墙支护剖面图

6) 基坑高低差标高交界处采用1:1 挂网喷射混凝土面层的支护形式,坡面上挂2030目的钢丝网,钢丝网外翻约300500mm,为确保钢筋网牢固,采用φ8 钢筋做成的U 型卡将钢丝网挂在坡面上,然后喷射强度等级为C20 的豆石混凝土,厚度5080mm

7) 土钉墙支护的详细做法如下:

土钉墙节点剖面图

3.1.6 基坑支护方案施工

1. 基坑支护施工部署

1) 基坑外侧支护分层进行施工,土方开挖给支护施工留出10m 宽的工作面,基坑内侧高低差处支护随土方开挖进行施工。支护施工不连续,在打桩面标高以下的支护待基础桩施工完毕后,再进行施工。

2. 测量定位放线

1) 在工程开工前及工程竣工后进行工程现场标高测量,并将所得的有关资料按业主方的制成图纸,并一式三份提交给业主方批核,于业主方批核后,批核的图纸应视为经双方同意,且正确地反映工程开工前及工程竣工后的现场标高之图纸。

2) 在进行现场标高测量时,事先向业主方提交有关方案。业主方可在场监督有关现场标高测量。

3) 定位程序:资料审核内业核算外业校测定位测放定位自检定位验线。

4) 平面及高程控制网的建立

(1) 由于本工程占地面积大,轴线较多,平面形状较为复杂,我司进场后应根据业主提供的基本控制点进行水平、高程控制点测设工作,若发现有偏差应提请业主、监理单位及设计单位解决。本投标人将根据准确的红线桩点、水准点进行控制网的布设,控制网水平及高程合二为一,作为施工的参考点,每一分部工程施工前的轴线、标高复核均采用其控制点。

(2) 施工时控制网布设间距控制在40m50m 左右。

(3) 建立施工方格控制网,必须从整个施工过程考虑,施工过程中轴线的定位能应用施工控制网引测。

(4) 由于挖土施工对工程控制网的影响较大,除了经常复测校核外,最好随着施工的进行,将控制网延伸到施工影响区域之外,同时结合现场等周围环境实际情况,设立和布置轴线控制网点。

(5) 本工程测量定位采用先进的高精度全站仪,经纬仪、水准仪;根据业主提供的红线界桩点和有关图纸,确定轴线控制点;并将所有控制点延伸至挖土影响范围以外的适当位置,且采取混凝土加固保护措施。整个定位工作由崩投标人专职测量小组完成。

5) 测量定位

(1) 建筑物的定位放线

建筑物的定位应以其平面布置形式和占地面积大小不同而异:本工程以建筑红线桩定位,选择与总体主要道路中心线平行的建筑红线为依据,以较长的己知边测设较短的边。定位的方法,在控制网上测定建筑物轴线控制桩。本工程建筑基本为矩形建筑,为此宜选用直角坐标法定位。

(2) 挖土施工测量

机械挖土标高控制在基底300mm 处,余下土方改用人工扦平至底标高,标高误差和平整度均严格按规范标准执行。机械挖土接近坑底时,由现场专职测量员用水平仪将水准标高引测至坑底。然后随着挖机逐步向前推进,将水平仪置于坑底,每隔46m 设置一标高控制点,纵横向组成标高控制网,以准确控制基坑标高。

(3) 测量精度的控制及误差范围

测角:采用三测回,测角过程中误差控制在2" 以内,总误差在5mm 以内;

测弧:采用偏角法,测弧度误差控制在2"以内;

测距:采用往返测法,取平均值;

量距:用鉴定过的钢尺进行量侧并进行温度修正。

轴线之间偏差控制在2mm 以内。

6) 施工测量控制

(1) 依据场区平面轴线控制桩和基础开挖平面图,测放出基槽开挖上口线,并用白石灰撒出基坑开挖线。

(2) 基坑开挖过程中,随时用经纬仪及水准仪控制开挖线及标高。护坡桩定位放线时,严格按照设计要求尺寸执行,保证护坡桩与结构外皮线之间的距离满足设计要求。

3. 土钉墙施工

1) 施工工艺流程

 

 

 

2) 主要施工工序

(1) 修坡

基坑开挖作业用挖土机。预留2030cm 厚人工修整,确保边坡的立面角和坡面的平整度。当遇有上层滞水影响时,要在坡面上每隔1 米插放一根泄水管,以减少滞水对坡面的压力。

(2) 编扎钢筋网

钢筋网按照φ6.5 mm@250×250 编制,如遇到边坡土方稳定性差,在修好坡后,先喷射一层混凝土,然后再按正常顺序编扎钢筋网。上下层的竖向钢筋搭接,长度大于一个网格,以保证钢筋网的整体性,有利于传力。

(3) 成孔

本工程主要采用人工洛阳铲与锚杆机成孔,成孔直径120mm。在杂填土土层中,人工成孔较困难时,可采用锚杆机成孔,以确保土钉孔的成孔质量。在成孔过程中,需将孔中的残土清除,确保有效孔深,才能保证下道注浆工艺的质量。

(4) 土钉制作与安放

为保证土钉能定位于孔的中心位置,需沿长度每隔2m 焊上定位支架,定位支架的高度要确保使锚筋能够居中,注浆管绑在锚筋上。插筋前应检查锚筋,包括长度、注浆管是否有漏浆等。插筋时应抬起后部使之与成孔角度相同,徐徐插进,防止碰坏孔壁。锚筋插入孔后应注意留出锚筋外露部分以满足固定的长度。

(5) 注浆

注浆质量是保证土钉抗拔力的关键。在施工中必须认真按照设计要求,严格控制配料比,并根据施工需要,在浆液拌制过程中添加早强剂,以确保浆液的流动性和提高早期强度,使土钉早日进入工作状态。注浆方式为底部注浆,即将注浆管插入孔底(距孔底200mm 左右),浆液从孔底开始向孔口灌填。注浆一般不少于2 次,保证浆液充满锚孔。

向孔内注入浆体的充盈系数必须大于1,尤其对于在本工程超过10m 的基坑土层为砂卵石层中的注浆,更要保证注浆质量。浆体应搅拌均匀并立即使用,开始注浆前、中途停顿或作业完毕后需用水冲洗管路,以防浆体凝固影响下次灌注的质量。

(6) 土钉端部焊接

土钉端部应与加强筋、固定筋相互焊接。各钢筋的位置由里向外是:钢筋网,水平加强筋、土钉端头固定筋。

(7) 喷射混凝土

喷射混凝土强度等级采用C20,其配比为:水泥碎石= 1220.5(以试验室确定为准),碎石的最大粒径不超过12mm,喷射混凝土机的工作压力为0.30.4Mpa。当采用两次喷射时,第一次喷射厚度以不完全覆盖钢筋网为宜,以便第二次施喷时有部分钢筋网与第二层喷射混凝土层连接。

每层喷射混凝土应从下至上进行喷射,这样可防止喷射混凝土自重悬吊于上层土钉,增加上一层土钉荷载,尤其是当上层土钉注浆和喷射混凝土尚未达到一定强度时,更要尽量避免。

3) 土钉墙施工质量保证措施

(1) 根据土层的特点,确定满足要求的成孔方法,本工程采用人工洛阳铲成孔,对于不易成孔地层,采用打钢管成孔或锚杆机成孔。

(2) 修坡时应将表面松动部分清除干净,并设专人进行测量,确保不吃槽。

(3) 成孔前,应根据设计要求定出孔位并作出标记和编号。孔距允许偏差±100mm,成孔的倾角偏差不大于3°,孔径允许偏差+20mm-5mm,孔深允许偏差+200mm-50mm。当成孔过程中遇有障碍物需调整孔位时,不得干扰邻近土钉的工作状态,具体调整位置由现场技术负责人决定。

(4) 插入钢筋时,由专人检查,若插入深度不足,则继续取土成孔。

(5) 水泥浆体的强度应大于20N/mm2,水灰比不宜超过0.5,并宜加入适量的速凝剂等外加剂以促进早凝和控制泌水。注浆时要严格按配比搅浆,并随成孔随注浆,注浆渗漏较多时,要进行二次补浆直到注满。

(6) 锚筋长度=设计深度+0.2m。锚筋制作长度误差不得大于20mm

(7) 水泥浆体的试块每层做二组,每组试块不应少于3 个。

(8) 在喷射混凝土前,面层内的钢筋网应牢固固定在边壁上,并符合规定的保护层厚度要求。钢筋网片可用插入土中的钢筋固定,在混凝土喷射时应不出现振动。

(9) 为了保证施工时的喷射混凝土厚度达到规定值,在边壁面上垂直打入短的钢筋段作为标尺。当继续进行下部喷射混凝土作业时,应仔细清除施工缝结合面上的浮浆层。

(10) 钢筋网在每边的搭接长度至少不少于一个网格边长。

(11) 上层土钉注浆体及喷射混凝土面层达到设计强度的70%后才可进行下层土方的开挖及下层土钉施工。

(12) 500m2 喷射混凝土面积取试块一组,每组试块不应少于3 个。

(13) 每种土层须做12 根土钉抗拔试验,典型土层至少有3 个专门用于测试的非工作钉,且试验总数不得少于3 根。试验采用破坏性试验,在试验钉上进行抗拔试验直至破坏,用以确定极限荷载,并据此估算土钉的界面极限粘结强度。

4) 基坑支护应急预案

施工现场内及周围地下情况复杂,经常会遇到房基、管沟、人防工事等地下障碍物,应根据具体情况进行处理。

(1) 应急预案的总体原则:

调整土钉的角度

本工程支护设计的土钉施工角度为10°,在遇到管线等障碍的时候,通过调整角度的方法进行管线的避让,为避让管线,土钉的施工角度允许在5°25°之间调整。

调整土钉的位置

特殊位置通过土钉角度的调整仍不能避让存在的较大管线障碍,这种情况下通过调整土钉位置的方法进行避让,土钉位置的调整原则是:

能近不远:即在调整土钉垂直间距变小时解决的情况尽量采用近调的方法;

需远则长:即在需要调整土钉垂直间距才能解决管线等障碍时要加长土钉的设计长度,具体加长的长度由现场技术负责人根据调整后的间距进行确定;

调远则密:在土钉垂直间距调大的情况下,应该在调整后的间距内加设摩擦型土钉,并适当加密下排土钉的水平间距。

理论上对于发现的管线应该从管线上下两排开始着手加长加密,但通常考虑的上下加密加长在实际施工中并无太大的可操作性,因为管线情况并没有准确的位置,需要在施工中发现,在发现管线时上排土钉基本已经完成,已经不存在加长加密的可能性。以上的处理方案已能够安全的保护管线。

(2) 具体情况分析

地下障碍物贯穿边坡

在施工过程中会出现管沟、防空洞等贯穿边坡的情况,如沟洞内存水,应先在远离边坡位置将其切断并将水排走,然后在边坡坡面附近从内部砌筑隔离墙,并预留硬塑管泄水,同时查找水源,防止其他部位进水。在外侧编加密钢筋网喷射混凝土,周围土钉及钢筋网应加密,并设置斜拉筋,保证整体稳定。

地下障碍物基本平行于边坡

在施工中会发现有管沟、防空洞等基本平行于基坑边坡的情况,这种情况处理时,在障碍物底部以下500mm 的部位设置一层土钉,土钉长度应超过障碍物侧边5m(2 倍于障碍物宽度),并根据具体位置由现场技术人员确定。障碍物下部土钉水平间距调整为11.3m,并在已经设置横向加强筋的基础上设置竖向加强筋,即连接障碍物上下两层土钉,增强该部位的整体性,并且在有障碍物部位,不管有无滞留水层,设置一定数量的泄水管,防止其它部位的水泄漏后影响支护体系,使该水能够安全排泄。

距离边坡上口较近且埋深浅的管线

基坑坡顶处的水平位移与沉降量较大,为防止距离边坡上口较近且埋深浅的管线加大位移及沉降,对第一层土钉采用地锚进行加固的措施,在距离支护上口线6~7m 的位置加一道竖向土钉,采用人工洛阳铲成孔,成孔直径为120mm,成孔深度为3m,坚向土钉主筋直径为Φ22,地锚拉结筋Φ18,灌注水灰比为0.5 的水泥浆,以增加土钉墙的稳定性,地锚各节点均采用焊接方式连接。

地锚构造图

4. 预应力锚杆施工

1) 施工工艺流程

 

 

 

 

 

 

 

 

 

2) 施工准备

(1) 锚杆杆体加工场地

位于离锚杆施工工作面较近处,面积为5m×25m,并应搭设棚盖。

(2) 水泥浆搅拌站布置

设置移动式水泥浆搅拌站2 个,随锚杆施工工作面的变化而移动。

3) 主要施工方法

(1) 杆体制作

按照设计要求制作锚杆体,保证杆体长度。

隔离架间距2.0m 设置一个。

注浆管与锚杆体绑扎牢靠。

非锚固段应用塑料套管包裹,与锚固体联接处用铅丝绑牢。

(2) 钻孔

锚杆机就位前应先检查锚位标高、锚距是否符合设计要求。就位后必须调正钻杆,符合设计的水平倾角,并保证钻杆的水平投影垂直于坑壁,经检查无误后方可钻进。

钻进时应根据工程地质情况,控制钻进速度,防止蹩钻。遇到障碍物或异常情况应及时停钻,待情况清楚后再钻进或采取相应措施。

钻至设计要求深度后,空钻出土,以减少拔钻杆时的阻力,然后拔出钻杆。

(3) 杆体运输及插入孔内

插筋前应检查锚筋,包括长度、自由段部分的处理、注浆管是否有漏浆等。

杆体在运输过程中不得扭曲、碰撞,严格保护杆体不受损伤。

插筋时应抬起后部使之与孔成一个角度徐徐插进,防止碰坏孔壁。钢筋插入孔时应留出锚筋外露部分的长度以满足张拉要求。

插入钻孔内的杆体应达到设计要求深度,若插入时杆体不能到达要求深度,则应拔出杆体查明原因并处理后再行插入。

(4) 灌浆

选用优质灌浆管,灌浆管出口应位于离杆体底端200mm 处。

浆液搅拌必须严格按配合比进行,不得随意更改。应注意不得使用过期或受潮水泥。

浆液由孔底开始浇注并向外返出,边注浆边向外缓慢拔管,直至浆液溢出孔口后停止注浆。浆液必须在初凝前连续不断一次注完。第一次注浆完毕后,过半小时再补浆一次,如渗严重可补浆二至三次。

(5) 张拉锁定

承压面应平整并与锚杆轴线方向垂直。

锚杆张拉应在注浆体强度达到15 MPa 时进行。

张拉主要步骤应按设计要求进行。

4) 预应力锚杆施工质量保证措施

(1) 锚杆所用原材料,钢筋、水泥等均应有出厂合格证明,并按规范要求复验合格后方可使用。

(2) 锚杆水平方向孔距误差不应大于100mm,垂直方向孔距误差不应大于50mm。倾角允许偏差3°

(3) 水泥浆体的强度不小于20MPa,水灰比0.5。水泥浆体试块每30 根做两组,一组标养,一组同条件养护。

(4) 杆体组装时,应控制承载体和隔离架的间距,钢筋应平直通顺。组装好的杆体放在指定存放场,下杆体前应检查注浆管的通气性能。

(5) 水泥浆随用随搅,搅拌均匀,浆液初凝前必须用完。

(6) 张拉设备使用前必须检验合格后方可使用。

(7) 试验锚杆张拉的加荷分级及加荷速率按规范进行。

张拉荷载分级

观测时间(min)

0.1Nt

5

0.2Nt

5

0.4Nt

5

0.6Nt

10

0.8Nt

10

1.0Nt

15

锁定荷载0.7Nt

10

3.1.7 工程监测与信息施工

为在基坑开挖期间,确保基坑施工安全,做到隐患的早发现、早分析、早处理,拟对基坑边坡进行施工监测。

基坑现场监测是指在基坑开挖及地下工程施工过程中,对基坑支护结构变位和周围环境条件的变化进行各种观测及分析工作,并将观测结果及时反馈,以指导施工。

1. 工程的监测项目

1) 支护结构体系:支护体系的顶部沉降及侧向位移。

2) 地下水:基坑内外地下水水位的变化。

3) 周围水管、排污管、电缆、煤气等重要地下设施变位的监控。

4) 基坑周围地表沉降及地表裂缝。

5) 基坑周围地面超载情况。

6) 基坑渗漏水情况。

2. 监测方案的确定

本工程仅在内部设置抽水井,因此降水对周边建筑物产生影响不大,只需对不明地下水的监测。施工中监测的重点是基坑支护体系顶部沉降及侧向位移。基坑监测点布置如下图:

基坑位移监测点布置图

1) 支护结构体系的监测

(1) 对支护结构的监测

根据规范要求,基坑边坡支护位移允许值为3,考虑本工程为一类基坑,应严格控制墙顶位移,水平位移允许值按2控制。监测点沿基坑周边布置,布点原则是在通长的基坑边每隔30m 设置一个观测点,共布置观测点22 个,在变形最大、受力最大及局部地质条件最为不利的地段可调整观测点的间距或加密设置观测点,具体布置要求如下:

基准点应布设在变形影响范围以外,靠近观测目标,便于长期保存和观测的位置。

监测点应设在变形量大的地段,一般为基坑中部及支护的阳角部位。

监测点、基准点应在土方开挖前布设完毕,在土钉墙上部钢筋混凝土翻边处布置监测点,监测点、基准点应设有明显的标识。

施工时要对观测线路提供有效的保证,所有点位不得被碾压、扰动及遮挡。

(2) 监测基本要求

变形监测的观测采用DJ2 经纬仪和DS3 水准仪。

在正式开挖前,要核对基准点并对其进行保护,设置明显标识。

观测时间的确定:在土方开挖阶段,每天监测不少于2 次,在完成基坑开挖、变形趋于稳定的情况下,可适当减少监测次数至每周1 次。

锚杆施工期间为支护结构受弯矩较大期间,容易产生位移变形,此时应关注监测结果。

在施工开挖过程中,如发现变位速率较大、支护结构开裂等情况,应进一步加强观测,缩短监测时间间隔,并及时向监理、设计和施工人员报告监测结果。

(3) 基坑监测点的构造:

在混凝土翻边上砌筑尺寸为200mm×200mm×200mm 的水泥台,在水泥台中部埋设Φ22 的钢筋,在其中部画上十字线作为标志,利用全站仪进行水平位移及沉降的观测。

2) 变形的监控

(1) 周边环境的监测

地表沉降,不同深度处的侧向变形,与基坑相邻的周围道路路面采用肉眼巡视与裂缝观测的方式,由有经验的工程师每天进行肉眼巡视观测,主要是对土钉端部变形状态、邻近建筑物及邻近地面的裂缝、塌陷和支护结构工作失常、流土、渗漏等的发生和发展进行记录、检查和分析。

(2) 不明水源的监测

进场后,先在基坑四周挖探沟,检查基坑周围的管线情况。

施工中,对雨天以及各种可能危及支护安全的水害来源(如:周围生活排水、上下水道、化粪池渗漏水等)进行仔细的巡视观察,查明水源,及时疏堵。

3) 监测工作质量保证要求

(1) 按规程或设计要求的监测精度选用使用仪器的型号。

(2) 准确取得初始值,确定合适的观测频率。

(3) 及时准确的整理监测记录并在监测值出现异常时进行分析。

(4) 选择有素质、有责任心的监测人员。

4) 监测险情的处理预案

(1) 在支护结构水平位移速率和累计位移较大时结合具体情况选择采用如下处理措施:

停止土方挖运,采用临时支撑避免位移继续增大。

在支护结构的背后挖土卸载。

(2) 周边道路及水管滴漏现象

灌浆加固,压密注浆止水堵漏。

进行周边地区挖探沟,找出水源,并将其排除。

对周边土体裂缝及时用水泥砂浆封闭。

(3) 经过临时处理后,应立即组织有关专家进行会商,确定处理方案。

3.2 基坑降水设计及施工方案

3.2.1 降水方案设计

1. 地下水情况:

本工程场区主要存在3 层地下水,地下水类型分别为:第1 层地下水为层间潜水,含水层为第3 大层卵砾石层、砂层,该层地下水水位连续分布;第23 层地下水为承压水,赋存于第5 大层和第7 大层的卵砾石层及细砂、中砂层当中,均具有较高的压力水头:第2 层地下水承压水头高度约在5m6m 左右;第3 层地下水承压水头高度约在16m18m 左右。各层地下水类型及实测水位如下表所示。

序号

地下水类型

含水层岩性

静止水位埋深(m)

静止水位标高(m)

1

层间潜水

卵砾石层、砂层

13.3015.90

22.6024.60

2

第一层承压水

卵砾石层及细砂、中砂层

18.5020.00

18.5119.72

3

第二层承压水

卵砾石层及细砂、中砂层

20.1021.70

16.9118.02

在工程场区第2 大层的粉土层中还赋存有1 层地下水,其类型为台地潜水。该层地下水的水量和水位在整个场区不够连续,根据勘察院设于场区附近的地下水长期观测孔的观测资料及区域性水文地质资料,在拟建场区及其附近区域,台地潜水的当前水位标高在33.50m 左右。

2. 降水要求

降水要求是将上述地下水降至基坑坑底标高以下0.5m;基坑内北侧车库部分开挖深度内未见地下水,只需要在外侧布置自渗井将上层滞水引入潜水层,以防止上层滞水影响基础施工;

在基坑南侧开挖深度教为复杂,11.719.6m 不等,而且大部分深度都大于13.6m,特别是二区的深坑区部分,深度深且面积大;而地下水位埋深为13.3015.90m,因此,此部分需大面积排降地下水。以满足深坑区土方、支护、基础桩施工的要求并保证坑底覆土的安全。基坑南侧开挖深度大部分都大于13.6m,因此也需要进行降水。

3. 降水方案的选择

1) 根据降水要求和地下水、地层分布及组成的特点, 结合我们周边工程的施工经验,同时参考周边工程的降水成果,本工程采用大口井结合自渗井的降水方案。基坑北侧车库部分由于开挖深度较浅采用自渗井渗水,利用自渗井(针对场区内所存在的上层滞水)将上层滞水输送到潜水中,而基坑南侧开挖深度较深,采用大口管井围降的方法降水,此部分基坑外侧、内侧均布置降水井,用管井降水井的深度控制降水范围达到基坑降水目的,用管井降水井的密度阻止地下水流入基坑。

2) 根据本工程平面划分,基坑北侧开挖的深度为11.05m 左右,而地下潜水水位在地下水位埋深为13.3015.90m,此部分地下水对基坑的施工没有影响,因此,不做降水处理,考虑到地勘报告中勘测出潜水上部有一层不连续的上层滞水,为防止上层滞水影响支护的稳定性及土方施工,在基坑车库部分的上侧布置自渗井,将此部分滞水引入潜水层中。局部出现少量地下水时,可采用明沟排水进行排降。

3) 而基坑南侧开挖深度较深,基本都大于13m,因此,在基坑南侧的上部布置大口管井排降潜水;中间深坑区-19.6m-17.6m-15.6m 位置为满足开挖要求,需要进行抽降开挖深度范围内的潜水及第一层承压水头。根据地质勘察报告,含水层以粗砂、卵石层为主。本工程范围内潜水的水流走向为东北---西南,即场区西南部水位较低,东北部水位较高。拟在深坑区周边布置大口管井,以满足深坑区的开挖要求。

4) 如果采用了上述降水方法,在开挖时仍有局部出现地下水,特别是几个开挖较深的设备坑部分,可采用明沟排水的方式作为补充降水。

4. 降水设计依据及降水计算结果

1) 降水设计依据

(1) 华东建筑设计研究院提供《TVCC 招标图纸》;

(2) 根据北京市勘察设计研究院提供的《**电视台新台址建设工程(B )岩土工程勘察报告(草本)

(3) 本投标人临近工程的施工经验以及参考周边工程的设计计算方法、降水成果以及有关参数。

(4) 《建筑与市政降水工程技术规范》(JGJ/T111-98)及其他现行相关规范标准。

2) 设计计算结果

根据场区内的地质及挖深情况对深坑区进行降水计算。基坑中间深坑区内潜水和第一层承压水的总涌水量为6232m3/d,基坑上侧的降水井为第二阶段的降水,是对深坑区降水的有利补充。即在内侧降水井停抽前一周时间,开始起用外侧的降水井,以维持基坑内部的安全水位。此时基坑内侧深坑区的底板已施工完毕,只需要控制潜水水位在浅区的底板以下0.5m 即可。因此,在基坑上侧布置一定数量的降水井与车库部分的内侧降水井同时抽水形成围降的效果即可。

5. 降水井布置:

降水井布置不单纯考虑涌()水量,还要考虑疏干潜水减少残余水,采取缩小井距的措施,因此,降水井实际布置井数储备量较大;根据场区内地质及挖深情况进行降水计算,降水井的具体布置如下:

1) 考虑到地勘报告中勘测出潜水上部有一层不连续的上层滞水,为防止这一层滞水影响施工,在基坑北侧布置自渗井,将此部分滞水引入潜水层中。渗井井底进入卵石层,局部出现少量地下水时,可采用明沟排水进行排降。基坑北侧自渗井中心线距离基坑上口线约1.01.5m,共布置自渗井42 口,自渗井间距为7.5m,井深度为16m,由自然地坪开始打井。

2) 在基坑南侧的上部距离基坑上口线约1.01.5m 位置布置降水井,井深26m,井直径600mm,间距为10.5m,共布置36 口大口管井;此部分降水井由地面打井。

3) 在车库与基坑南侧交界处也布置大口管井,目的是与基坑上侧的降水井形成封闭降水,以达到更好的排降效果,共布置23 口大口管井,其井深22m,井直径600mm,间距为10.5m。此部分降水井由-9.0m 打桩标高处进行打井。以下开挖土方时随挖随截,保证降水井口高出地坪至少0.3m

4) 在基坑二区的深坑区-19.6m-17.6m-15.6m 位置需抽降潜水及第一层承压水头。外侧降水井由于受到降水半径的影响达不到更好的降水效果,因此,在深坑区(即开挖深度为-19.6m-17.6m-15.6m 位置)的周围布置大口管井以满足深坑区挖土的要求,共布置18 口大口管井,井间距为10.5m,井深度为20m。此部分降水井由-11.0m 位置打井(考虑到泥浆池对基底的影响在距基底2m 位置进行打井以免扰动老土),以下开挖土方时随挖随截,保证降水井口高出地坪至少0.3m。前期排降地下水以基坑内侧的降水井为主,布置在基坑上侧的管井,前期作为渗井用,后期内部降水井撤除前,才开始抽水,以维持基坑内的安全水位。

5) 在基坑南侧、西侧的肥槽内共布置5口集水井,将内侧降水井抽出的水抽至边侧集水井后,采用50t80t/h 的潜水泵集至地面,也可用二次提水箱将水集至地面。集水井的直径为600mm,深度为20m,由-11m 位置进行打井,以下开挖土方时随挖随截,保证降水井口高出地坪至少0.3m

降水井的数量及构造见下表:

序号

类型

间距

(m)

直径

(mm)

深度

(m)

数量

()

材料

打井面

标高

1

外侧渗井

7.5

400

16

42

滤料

自然地坪

2

外侧管井

10.5

600

26

36

无砂砾石

混凝土管

自然地坪

3

车库内侧管井

10.5

600

22

23

无砂砾石

混凝土管

-9.0m

4

深坑区管井

9.0

600

20

18

无砂砾石

混凝土管

-11.0m

5

集水井

 

600

20

5

无砂砾石

混凝土管

-11.0m

6

潜水水位观测井

 

100

20

4

钢管

自然地坪

7

承压水水位观测井

 

100

18

1

钢管

-9.0m

6) 降水井的抽水时间及撤除时间

前期降水以基坑内侧降水井抽降为主,布置在基坑上侧的大口管井前期作为渗井使用,在深坑区的结构施工至周边底板标高处时,可停止其深坑区周边降水井的使用;在停止使用前一周左右基坑外侧的降水井开始抽水;此部分的降水井为辅助性降水,用以维持坑内的安全水位。

位于车库部分的降水井在相应部位的底板施工时在撤除。

各区段降水井的布置如下图:

降水井平面图

6. 降水井构造

1) 自渗井构造

基坑北侧自渗井中心线距离基坑上口线约1.01.5m,共布置自渗井42 口,自渗井间距为7.5m,井深度为16m,由自然地坪开始打井。自渗井井孔直径Φ400mm,井孔内填24mm 滤料,采用地质钻进行成孔。

2) 大口管井构造

井孔直径φ600mm,井管为内径φ300mm、外径400mm 的无砂砾石混凝土滤管,井管与井孔之间填土2-6mm 滤料,井管口高出地面0.3m 并加井盖。采用反循环钻机成孔。

3) 水位观侧孔构造

北京地区属于严重缺水城市,为防止过多抽吸地下水而浪费能源,观测水位十分重要;为有效控制水位降深、防止过多抽吸地下水而浪费能源、过少抽吸地下水影响土方开挖,观测水位是十分重要的。拟在基坑内、外侧布置水位观测孔,可用调整泵高度或泵流量来控制降深,水位观侧由专人负责,做好记录。观测井共布置5口,基坑的四面各一口,自地面成孔深度为22m,由-9.0m打井,间距为10.5m,共23口;基坑南侧周边为管井,井深26m,间距10.5m,共36口深坑区降水井为20m,观测潜水;深坑区中部设置一口,自-9.0m 位置成孔,深度为18m,观测第一层承压水头,观测孔的孔径为100mm,采用钢管。

4) 自渗井、大口管井及水位观测井的构造如下图所示:

降水井构造图

5) 排水系统

基坑内侧降水井内安装集程大于30m,根据井深选用1015t/h 潜水电泵,水泵用钢丝绳吊在井内并用胶管或塑料管与地面排水管连接。而肥槽内的集水井选用5080t/h 潜水电泵集水至地面。基坑南侧深坑区的降水井,采用PVC 管将深坑区降水井中的水抽至集水井,而布置在车库部分的内侧降水井边侧布设φ150mm 钢管直接与周边的集水井相连接;用集水井将水集至地面流入出口处的沉淀池,在沉淀池中将地下水中携带的泥砂净化后再排入市政管线,以避免水污染。

6) 明沟排水

在基坑局部的设备深坑开挖受地下水影响时,可开挖深度600mm,宽度为300mm 边坡1:0.5的排水沟,或集水坑,间隔3040m 设置直径400mm,深度为1.0m 的集水井,集水井可用无砂砾石混凝土井管,也可采用钢筋过滤器;井内安装潜水电泵将水抽至地面排水管,土方开挖过程中可挑明沟将水引至边侧排水沟和集水井,在一区中间几个设备坑开挖时,应及时做好明沟排水。

7) 单井抽水试验

为确保设计降水的成功,进场后进行单井出水量试验,验证现场实际情况与勘察报告是否相符,获得相关数据作为降水的依据,根据实际的出水量验证降水方案的合理性。

(1) 按设计的基本要求,配15m3/h20m3/h30m3/h,集程54m32 m3/h,集程52m 的潜水泵进行深坑区抽水试验,观测其稳定降深后单井出水量是否大于450 m3/d

(2) 根据q-s 结果,观测其稳定水量后降水井水位降深情况,若q-s 结果比较好,可初步选定单井出水量及泵型,再进行下一步群井抽水试验。

单井抽水试验计划进行3 眼井,可安装水表进行出水量的估算,单井抽水试验要获得以下结果:

单井的最大出水能力

最佳水量(q)和降深(s)的关系

单井抽水的有效影响范围

水位恢复时间

计算参数K R

对单井出水能力进行评价

8) 群井抽水试验

(1) 按设计的基本要求配22m3/h,集程54m 的潜水泵进行群井抽水试验,观测其稳定降深后群井总出水量是否大于6232m3/d

(2) 若试验结果与设计计算中相符则可调整计算中的参数,减少抽水井数。通过群井抽水要测出以下参数:

根据Q-T-S 达到稳定要求,选择最佳的泵型,控制抽水井数量,总排水量Q;在选定的配置下,从现有水位降到基底以下0.5m 所需要的时间;完全停泵后,水位恢复所需的时间。单井与群井抽水井的布置及深度可根据现场的实际情况及试验效果进行调整。通过试验测出的单井与群井的数以此为依据验算原降水方案是否能达到基坑开挖的要求。可根据此参数重新测算,确定实际所布的降水井数。

7. 降水井的封井处理

基坑内侧降水井采用的是无砂砾石混凝土的管井,因其降水井顶面在-9.0m-11.0m 位置,而地下水位在-14.0m 左右位置,内侧降水井封井时不存在地下水压力,因此,只需要用C2 混凝土将降水井填实即可。

3.2.2 降水井的施工部署

1. 依据土建单位总的施工分区部署和基础施工的特点,将降水井施工分成两个施工段进行施工。第一施工段为基坑上侧降水井(包含北侧渗井及南侧大口井)的施工,此部分降水井由地面打井,进场后,由测量人员测出井位中心线、点出井位,即可采用地质钻机、反循环钻机进行成孔施工,拟定布置3台地质钻机进行自渗井施工,布置3台反循环钻机进行大口管井的施工;基坑上侧的降水井施工完毕后,布设通向场区排水系统的排水管。第二施工段为基坑内测大口管井施工;采用反循环钻机进行成孔,反循环钻机成孔困难处可替换为冲击钻成孔;在-9.0m-11.0m(即打桩面标高)位置进行此部分降水井的施工。共布置3 台反循环钻机,待此部分降水井施工完毕后,位于车库内侧的降水井即可布设排水管;而深坑区也可布设PVC (降水时用PVC 管将地下水导到肥槽内的集水井内)做好降水前的准备工作。开始抽降地下水时内侧降水井的水通过排水管、PVC 管导到基坑肥槽内侧的集水井,用集水井将水集至基坑上侧的沉淀池内经沉淀后排入市政排水管道。

2. 降水井施工过程中可根据现场工作面的条件,合理布置钻机作业位置,提高效率,缩短工期以加快降水速度。

3.2.3 降水井施工

1. 施工机械

大口管井施工采用反循环钻机,遇到障碍物时采用CZ20 冲击钻,外侧自渗井及观测孔采用SH-50 地质钻进行施工,均为湿作业,自造泥浆护壁。

2. 大口管井施工工艺流程

 

 

 

 

 

 

1) 放线定位:

采用经纬仪及钢尺等进行定位放线

2) 挖泥浆池、泥浆沟

泥浆池的位置可根据现场实际情况进行确定,但必须保证其离基坑开挖上口线的安全距离,确保其对后期基坑边坡的开挖及支护不会带来不良影响。

3) 钻机就位

采用反循环钻机进行施工,钻机中心位置尽量与所放的井位中心线相吻合,偏差不得超过50mm;先对钻机进行垂直度校验,确保钻杆的垂直度符合要求,垂直偏差不得超过5%。

4) 钻机成孔

以上各项准备就绪用满足规定的要求后,即可进行井孔钻进施工,为保证洗完井后,井深满足设计的要求,可以根据情况适当加深。

5) 吊放井管: 井管为φ400mm 无砂砾石滤水管,底部2m 作为沉淀用。在混凝土预制托底上入置井管,四周栓10 号铁丝,缓缓下放,当管口与井口相差200mm 时,接上节井管,接头处用玻璃丝布密封,以免挤入混砂淤塞井管,竖向用4 30mm 宽竹条固定井管。为防止上下节错位,在下管前将井管依方向立直。吊放井管要垂直,并保持在井孔中心,为防止雨水泥砂或异物流入井中,井管要高出地面300mm,井口加盖。

6) 填滤料

井管下入后立即填入滤料。滤料采用水洗砂料,粒径为26mm,含泥量<5%,滤料沿井孔四周均匀填入,宜保持连续,将泥浆挤出井孔。填滤料时,应随填随测滤料填入高度,当填入量与理论计算量不一致时,及时查找原因,不得用装载机直接填料,应用铁锹或小车下料,以防不均匀或冲击井壁。

7) 井管四周粘土封井

在离打井地面约1.0m 范围内,采用粘土或杂填土填充密实。

8) 洗井

在以上各项均完成后,必须及时进行洗井工作,防止井孔淤死,且在正反循环成孔中有少量泥皮影响降水井抽降效果的发挥,也要通过洗井将泥皮洗出,洗井采用空压气举法,要将井底泥砂吹净洗透洗出清水。

9) 下泵抽水:清孔完毕后,根据降水设计计算中的降水井出水量情况,根据井深选用1015t/h 的潜水泵抽水,用钢丝绳吊放至距井底2.0m 处;铺设电缆和电闸箱,安装漏电保护系统。

3. 水位观测井施工

1) 水位观测井施工流程

 

 

 

 

 

 

(1) 放线定位

采用经纬仪及钢尺等进行定位放线。

(2) 井机就位

采用SH-30 地质钻套管法干作业成孔。

钻机中心位置尽量应与所放的井位中心线相吻合,偏差不得超过50mm

先对钻机进行垂直度校验,确保钻杆的垂直度符合要求,垂直偏差不得超过0.5%

(3) 钻进成孔

以上各项准备就绪且均满足规定要求后,即可进行井孔钻进施工。

(4) Φ50 钢管、滤管,填滤料成孔后,应立即下Φ50 的钢管及滤管,填26mm 的滤料,防止出现坍孔。

(5) 井管四周粘土封井在离打井地面约1.0m 范围内,采用粘土或杂填土填充密实。

(6) 观测水位

以上均完毕后,可以根据方案的要求,即可定期进行水位观测,用调整泵高度来控制降深至达到降水要求。

(7) 现场要有备用电源,保持降水井日夜连续运转,防止因停泵水位升高发生涌槽事故。

4. 北侧42 口自渗井施工

此部分自渗井采用地质钻进行施工,成孔过程与观测孔相同,只是成孔直径为400mm,较观测井大些。自渗井施工成孔后立即填入26mm 虑料,将上层滞水输送到潜水中。

3.2.4 降水施工的质量要求

1. 质量要求

1) 打井前要摸清地下障碍情况,以保证成孔质量。

2) 降水井井孔深度不得小于设计要求。

3) 降水井井位位移偏差控制在±10cm

4) 滤料要符合要求,含泥()量不大于5%。

5) 使用专用闸箱,每个闸箱接水泵不多于4 台,每台水泵用一个电插销。

6) 土钉施工要保护降水井安全,成孔时要躲避降水井,防止将其击穿(降水井做好标识)

2. 基坑降水对周围环境影响的分析及防范措施

1) 依据本工程施工特点,基坑大面积开挖深度范围内无地下水,仅有局部深坑区及设备坑位置需排降一级阶地潜水及第一层承压水头,地下水主要存在于粉细砂层、卵石层中。根据北京地区基坑降水经验,及周围环境现状,基坑降水不会产生不利影响,在降水过程中,降水井的布设距离现在周边建筑物较远,降水不会影响到周边环境及现在建筑物。

2) 防止因基坑降水引起周围地面沉降的措施

(1) 保证降水井质量,井管接头要接牢,无砂混凝土井管接缝缠砂布网,浸水部分外缠40 目尼龙网。滤料符合设计要求,使管井抽水含砂量控制在1/100000

(2) 采用分期、分批降水,即边打井边洗井抽水,以使水位缓缓平稳下降,避免因剧烈水位下降拉动土颗粒,增加地表沉降量。

(3) 保持连续抽水,防止水位忽起忽落,因水位反复起落每次都会产生固结沉降,次数愈多,叠加沉降愈大。

(4) 在现场周边及主要建筑物设置沉降观测点,水位观测孔,定期对其进行沉降水位观测,发现异常立即采取措施处理。

(5) 水位观测孔:基坑开挖阶段,水位每天一次;进入土建结构施工阶段,水位每周三次,发现异常情况立即采取措施处理。

(6) 一定要保证有序抽水,根据水位标高控制抽水量,水位观测记录每天应向现场总工程师汇报,严禁盲目抽水造成地下水大量流失及造成土体颗粒流水形成地表沉降过大。

3.2.5 降水工程监测与维护

降水监测与维护是对降水井和观测孔的水位、水量进行同步观察。

1. 降水监测

1) 抽水开始前应统一测一次自然水位。

2) 抽水开始后,在水位未达到设计抽水深度前,每天观察12 次水位。

3) 雨季期间,观测次数为23 /日。

4) 对水位监测记录,绘制水位降值S 与时间t 过程曲线,分析水位水量下降趋势,预测设计降水深度要求所需时间。

5) 在基坑开挖过程中,应随时观测基坑侧壁、基坑底的渗水检查,以便及时处理。

2. 降水维护

1) 降水期间应对抽水设备和运行状况进行维护检查,每天检查不少于3 次。

2) 抽水设备应进行定期保养,降水期间不得随意停抽,遇特殊情况必须经过设计及监理确定后,方可根据实际情况来确定是否停抽。

3) 对井口进行保护,防止杂物掉入井内,经常检查排水管、沟,防止渗漏,冬雨季降水,采取防冻措施,必要时采用PVC 管地下。

4) 在更换水泵时应测量井深,掌握水泵安装的合理深度,防止埋泵。

5) 当发生停电时,及时更换新电源,确保正常降水。

3.3 土方工程施工方案

3.3.1 本工程土方施工特点

1. 拟建场区遗留大量钢筋混凝土柱基础及其他厂房遗留的钢筋混凝土实体等地下障碍物,地下分布有较多的热力、电缆、上下水管道、地下人防通道等地下设施。

2. 工程量大,工作面分散,土方开挖受降水井、基础桩、支护施工的制约,需合理组织施工,才能使工程开展流水施工,土方施工要为基础桩施工创造工作面,基础桩与土方施工穿插作业,影响了土方施工的连续性。

3. 本工程地处东三环路以东、光华路以北、朝阳路以南,在北京市**商务区(CBD)规划范围内。西侧、南侧紧邻交通干道东三环中路和光华路,对环境、噪音等的要求较高,土方施工受到了这些条件的限制;而且南侧的CCTV 同时也在施工,占用现场的出入口,对土方施工进度不利。

4. 本工程中基础桩采用的是泥浆护壁湿作业成孔工艺,基础桩施工完毕后,留有大量的湿作业泥浆,开挖难度较大,且基础桩间距较小,其超灌的桩头使挖土机发挥不了其机械性能,严重降效。

5. 基坑槽底标高复杂共有十种之多,对基底标高的控制难度较大,特别是基坑内部高低差交界的1:1 斜面处(高低差最大处达7.0m)基底标高控制难度更大;基坑建筑物基础底标高如下图所示:

建筑物基础底标高图

3.3.2 拆除方案

1. 地下障碍物情况

拟建场区原为北京汽车摩托车联合制造公司光华路厂区,原厂房及附属设施密集。地上建筑物已拆除完毕,遗留有钢筋混凝土柱基础及其他厂房遗留的钢筋混凝土实体等地下障碍物;地下分布有较多的热力、电缆、上下水管道、地下人防通道等地下设施,会对基础施工造成不利影响。对于地下设施的具体位置及埋深,要在施工前详细调查。

2. 施工方法及施工顺序

1) 用挖土机先将表层土挖除,暴露地下障碍物,同时在基坑四周挖探沟,确定地下障碍物位置。

2) 根据现场情况、周围环境及所遗留的障碍物的结构特点,决定采用液压锤和静力粉碎相结合的拆除施工方法。采用先上后下,先里后外,先非承重后承重结构的拆除顺序。

3) 将渣土清出混凝土结构外,暴露出混凝土面,挖土机清出基础四周边框。

4) 由液压锤继续进行破碎,同时进行清理,人工使用汽割彻底割断钢筋连接,以利于液压锤、重锤进行破碎,挖土机配合清理渣土。由自卸汽车将渣土全部运出场外。

5) 基础的外墙,需挖出一条宽1.5 米的管状沟槽深度到基础垫层下50cm 处,以将外墙全部暴露出来,将渣土外运,创造出破碎拆除工作面。

6) 拆除建筑物时,要注意至对北侧及西侧的住宅楼的保护。

7) 在地下拆除过程中,准备洒水车随时进行洒水降尘,洒水作业率达到100%

8) 在环境不允许使用液压锤的情况下,采用静力粉碎施工方法:

(1) 先使用凿岩机在钢筋混凝土障碍物打孔,孔距为2030cm,深度根据障碍物的厚度分为50cm100cm150cm 三种,基础四周暴露自由面为1m,自由面距最外侧孔距为20cm

(2) 打孔完成后,使用4 号强力静力粉碎剂和水成稠状,人工将和好后的粉碎剂贯入孔中,待静力剂贯完后,将孔堵实(堵孔材料不造成环境污染)后,用保温材料将障碍物盖实,待24 小时后,障碍物开始涨裂。

(3) 障碍物涨裂后,组织人工使用空压机带风镐对障碍物进行二次破碎,边破碎边浇水,防止粉尘飞集。

(4) 根据障碍物的厚度,进行多层静力粉碎。

(5) 在整个施工过程中,随时洒水降尘。洒水作业率达到100%

9) 针对地下管线情况,采用仪器探测和人工网格挖沟的方法查询。发现后及时通知监理、业主及相关单位,在取得批准的条件下进行相应的移除或者破碎工作。

3.3.3 土方施工方案

1. 施工准备

1) 机械设备的投入及运输能力的分析

土方施工工程量较大,外运土方约33.3 m3

土方开挖平均日出土量5000m3,一台挖土机平均每天挖土1000m3。卸土地点平均距工地现场15 公里,一辆运土车往返一趟平均需2.0 小时考虑,一辆车一天来回跑7 次,平均每辆车的运输能力为9m3/次,一辆车的每天的运输能力为63m3

需配备的挖土机:5000÷1000×1.1=5(),考虑到土方施工与锚杆支护及护坡桩施工的配合降效,安排6 台挖土机施工,另外安排三台挖土机配合支护施工,共布置9 台挖土机。

根据挖土机数量及每天出土方量需配运土车:5000÷63×1.1=88()

上述计算值均按平均值计算,要达到高峰期每天出土6000m3 的目标,上述机械配备基本能够实现,但施工现场要根据施工情况进行调整,保证出土量,必要时适当增加机械设备。

2) 挖土机性能参数

挖土机型号

最大挖掘半径(mm)

最大挖掘深度(mm)

铲斗容积(m3)

日立EX300-3

10570

6840

1.38

卡特330B

11620

8080

1.4

 

 

3) 卸土场的选择

(1) 平房卸土场(运距15km)

现场朝阳北路平房卸土场

(2) 东坝卸土场(运距15km)

现场姚家园路东坝卸土场

(3) 豆各庄卸土场(运距18km)

现场东四环京沈高速豆各庄卸土场

三个卸土场的具体位置及运土车的行走路线见下图:

2. 土方施工

1) 方案形成的指导思想基坑为一不规则梯形形状,东西长约200m,东侧南北宽度约90m,西侧南北宽度约150m。为了提高土方施工效率,保证工程如期完工,将整个基坑分为3个区:核心筒周围为一区、基坑西南部为二区、车库为三区;在东北角和东南角分别设置上、下车坡道。基坑开挖分区分层进行,在破除地下障碍物后,一区安排4 台挖土机开挖至-6.0m

二区安排3 台挖土机开挖至-6.0m,三区安排2 台挖土机从西向东挖土(其中有3 台挖土机为配合土钉支护施工)。一区和二区的运土车经由三区,通过东北角的汽车坡道往基坑外运土。这样安排以方便提前插入核心筒区抗压桩的施工。然后进行下步-6.0m~打桩工作面标高土方的开挖。基坑周边10m 为支护作业区,中间地段为大面积中心挖土区,创造多机作业立体工作面,土方开挖以一区为施工的主线,以配合土建提前插入核心筒的施工。待基础桩施工完成后,进行桩间土的清理,一步开挖至距离基底300mm 处,剩余土方采用人工清土。基础施工具体的分区情况见下图:

基坑开挖分区图

2) 具体施工方案

(1) 进场后进行定位放线,做好轴线控制桩和基准水准点,并进行妥善保护。定位放线

经自检后,请监理复验,然后通知建设单位、勘测规划部门验线,合格后再撒槽口灰线挖槽,本工程中为土建施工预留的施工肥槽为800mm

(2) -2.0m 以上地下障碍物拆除及土方挖运

拟建场区地下分布有较多的热力、电缆、上下水管道及地下人防通道等地下设施,可能对基础施工造成不利影响。在拆除过程中遗留的钢筋混凝土柱基础及其他厂房遗留的钢筋混凝土池体等所有地下障碍物影响基坑的开挖进程。开挖过程充分暴露场区内地下障碍物,用液压锤进行破碎处理并及时运走,为土钉墙施工创造工作面。安排3 台液压锤进行地下障碍物的破碎工作,安排3 台挖土机配合进行障碍物的拆除,同时土方施工为土钉墙支护施工创造工作面,同时进行基坑土方的挖运,具体的开挖布置见下图:

第一步土方开挖示意图

(3) 第二步(-2.0m-6.0m)土方开挖

一区安排4 台挖土机挖土,二区安排3 台挖土机开挖至-6.0m,三区安排2 台挖土机从西向东挖土。工作区根据土钉墙的布置分层开挖至-6.0m 标高处,每层挖至相应土钉下500mm 处,进行土钉墙的施工,等土钉墙强度达到要求后,再进行下一层土方的施工。在有预应力锚杆的工作面上,先进行锚杆张拉,再进行下部土方开挖;此步土方开挖均由基坑东侧的两个坡道进行出土。具体的开挖布置见下图:-

第二步土方开挖示意图

(4) 第三步(-6.0m 至打桩面标高)土方开挖

进行-6.0m~打桩工作面标高的土方开挖。与上部土方开挖方式一样,一区安排4 台挖土机挖土,二区安排3 台挖土机开挖至打桩工作面标高(见下图),三区安排2 台挖土机从西向东挖土。此部土方开挖至基础桩的施工工作面处,基础桩预留2m 土方不开挖。具体的开挖布置见下图:

第三步土方开挖示意图

(5) 第四步(桩间土及基础桩空钻部分)土方开挖

一区为施工主线,进度比二区、三区要快,当一区基础桩施工完毕后,即可布置4台挖土机进行一区的剩余桩间土及基础桩空钻部分土方的挖运。

二区的内部降水井施工完毕,待形成降水效果后,布置3台挖土机进行二区剩余桩间土及基础桩空钻部分土方的挖运。

一区、二区的桩间土及基础桩空钻土机施工均由三区进行出土,因此,三区的桩间土及基础桩空钻土方最后进行施工。

具体的开挖布置见下图:

第四步土方开挖示意图

(6) 土方开挖、锚杆施工和土钉墙施工各工序间要衔接紧密,合理安排,上道工序创造出工作面后,下道工序要及时跟进,保证基坑施工多线、流水作业,圆满完成施工任务。

(7) 随着各区段空钻土方及桩间土清理的完成,桩头剔凿紧随其后,局部可借助土方的挖土机进行桩头施工。一区、二区的空钻土方及桩间土清运,经一区、二区与三区之间临时坡道出土。

(8) 基底土挖运

为避免扰动基坑老土,保护槽底,机械挖土方槽底余300mm,此部分土方由人工清除。如土建单位插入较快,人员可以随挖土机施工最后一步土方时,将此部分土方清除,随土方一起运走。

(9) 土方坡道留置及车辆行驶线路

土方开始施工时,坡道根据现场道路和出入口的位置,在基坑东南角设置临时坡道(6m16 放坡),东北角设置收尾坡道(10m16 放坡)。车辆由南侧坡道进入挖土区域,由东北侧坡道驶出施工现场。东南侧坡道为临时行车坡道,随土方施工开挖深度不断加大、工作面的逐渐向东靠近,在进行一区-6.0m~打桩面土方开挖时将该东南侧的临时坡道随土方挖走,其中基坑内部的一区、二区土方均由三区经收尾坡道出土,因此,在三区与一区、二区的交界处可设置临时出土坡道,最后根据土方施工的需要将此两个临时坡道挖走。

(10) 土方收尾

土方收尾坡道为内坡道,土方大面积施工完毕后,只留下收尾坡道处的土方需要挖走,由于该处槽深11.05m,收尾时先采用两步倒土的方法将坡道处大部分土方挖除。

基坑开挖坡道收尾立面图

在坡道收尾时,最后可能剩余一小部分两步倒土的方式未能挖走的土方,此部分土方可留作土建回填土用;如需要挖除,可在基坑下侧留一台挖土机配合将坡道处土堆放到靠近坡边位置,再用汽车吊(如土建的塔吊此时已安装完毕也可用现场塔吊)及临时运土设备将此部分土方吊走,最后再将留在基坑内部的挖土机吊出基坑。

3. 质量要求

1) 机械挖土槽底标高与设计标高允许偏差+200 mm,不得扰动老土。

2) 各层间标高允许偏差±150 mm

3) 边坡允许偏差+200 mm,严禁亏坡。

4) 挖土机严禁碰撞锚杆、土钉墙等支护结构以及位移观测点。

5) 对定位标准桩、轴线引桩、标准水准点等做明显标志,挖土机及运土车辆不得碰撞,

并应定期复测和检查是否正确。

6) 挖土过程中,测量员应随时测量和校核其平面位置、水平标高和边坡坡度是否符合设计要求,以保证基底标高和基坑线在允许偏差之内。

7) 土方挖运过程中,随时观测地下水情况,避免出现地下水及土层含水量过大对土方开挖造成不利影响。

8) 土方施工设专人指挥,并在主要道口进行巡视,确保出土畅通。

3.4 土方回填施工

3.4.1 土料选择

严格按设计和规范要求选料,对每批回填用土进行轻、重型击实试验,确定填料的最佳含水量和最大干容重。进入现场的填土须经现场监理检查合格后方可进行回填。

3.4.2 回填条件

地下室回填在结构完成并达到规定强度后,地下外墙防水层与防水保护层完成之后进行。

根据填方土料种类、密实度要求、施工条件等,合理地确定填方土料含水率控制范围、虚铺厚度和压实遍数等参数。回填前先将基底清理干净,清除积水杂物及其它不利于回填的材料,并采取截水措施防止表面滞水或施工用水流入填方区。以免浸泡地基,造成基土下陷。

3.4.3 回填方法

采用分层填土、压实的方法。回填土采用蛙式打夯机夯实,压实度系数不小于0.95;地下结构顶板以上0.5m 厚范围内的回填土以人工打夯夯实,压实度系数不小于0.85;其它范围的回填土可视情况采用蛙式打夯机夯实,必要时配合1012T 压路机碾压,压实度系数不小于0.95

回填土应分层铺摊,采用蛙式打夯机每层铺土厚度为150200mm,人工打夯不大于200mm,每层铺摊后,随之耙平。

回填管沟时,管线两侧应对称进行,高差不超过30cm;分段回填时,相临段的接茬应形成台阶,每层台阶宽度不小于厚度2倍。

深浅两基槽要先填夯深基础;待填至浅基槽相同的标高时,再与浅基础一起填夯。

3.4.4 回填质量控制

1. 每层铺土厚度及压实遍数根据土料及施工机具设备条件,通过试压经试验检测确定。

2. 回填过程中根据设计或规范要求,对每层回填土密实度及其它要求进行检验,抽检频率为:基坑回填1 /50100;基槽沿长度方向1 /10m20m;室外场地回填1 /100400,且不少于10 点。待检查合格报现场监理验收后再进行下一层回填。

3. 回填土施工应连续进行,尽快完成,尤其是在雨前应及时夯实已填土层或将表面压光,并做成一定坡势,以利排除雨水。

 

4桩基施工方案

4.1 基础桩施工概述

4.1.1 基础桩概要及施工要求

本工程基础桩均为钻孔灌注桩,基础桩类型多,既有抗压桩,又有抗拔桩,且桩长、桩径、桩顶标高复杂,桩端持力层位置及所处土层不一致;抗拔桩桩径为600mm,桩长分别为14.7m15m 两种;抗压桩桩径有800mm1200mm 两种,桩长分别为30m62.5m 两种;依据地质勘察报告中描述,基础桩桩身范围内所涉及的土层较为复杂,其中抗压桩桩端持力层为卵石、圆砾层和细砂1 层;抗拔桩桩端持力层为卵石、圆砾层和细砂、中砂1 层;各个土层的性能参数相差较多,这样对基础桩机械钻进及成孔质量将会产生很大的影响,也增加了工艺选择上的91

难度。下表为基础桩统计表:

型号

     桩数

直径

(mm)

长度

(m)

桩顶标高

(m)

桩最小

标准受

压能力

(MN)

单桩标准

受拉承载

(KN)

主筋

自底端

主筋根

数减半

的长度

桩混

凝土

等级

P1

40

P2

98

TP1

24

1200

800

600

62.5

30

15

-14.35

-18.35

-14.35(-

18.35)

-13.35

11.1

4.0

5000

1900

650

20/10Φ20

16/8Φ20

16/8Φ22

20.8

10

5

C40

C40

C40

TP2 TP3

TP4

154 174 146

600

600

600

15

15

14.7

-19.35

-13.35

-17.35

-10.8

 

750

650750

800

16/8Φ22

16/8Φ22

16/8Φ25

5

5

4.9

C40

C40

C40

 

 

基础桩平面布置示意图

4.1.2 基础桩施工的特点及难点

本工程基础桩为超长、大直径钻孔灌注桩,采用湿作业泥浆护壁成孔工艺。

1. 超长大直径钻孔灌注桩具有成孔时间长、护壁泥浆量大等特点;其桩身均穿透多层粉质粘土、粘质粉土、粉砂、细砂、中砂、交互层地层,并有可能遇到像饱和粉细砂这样的流砂层、卵石等复杂地层,对了保证桩身质量难度较大。因此,孔内稳定液——泥浆是保证成孔质量的关键,泥浆附着在桩孔壁上往往粘聚有一定厚度的泥皮,在起到稳定土层作用的同时,作为基础桩也影响着基桩侧摩阻力及承载力的正常发挥;因此,如何在保证泥浆护壁效果的前提下,减少泥皮厚度成为基础桩施工的一个难点。钻孔灌注桩所穿越土层情况见下图:

基础桩所处地层剖面示意图

2. 在成桩终孔时及混凝土灌注前,孔底往往存在一定厚度的沉渣,它将影响基础桩桩端承载力的正常发挥,所以,控制孔底沉渣厚度也是成桩关键控制点之一。同时对基桩桩侧摩阻力的正常发挥也有影响,从而影响基桩竖向承载力的正常发挥。

3. 对于超长大直径混凝土钻孔灌注桩,其水下混凝土灌注质量是影响基桩承载力的重要因素,因此,水下灌注混凝土的质量控制是成桩过程中最重要的环节之一,基础桩的混凝土灌注量大、灌注深度深,在水下灌注过程中容易出现堵管等现象影响成桩质量。

4. 本工程中抗拔桩数量也较多共498 根, 此部分桩的桩顶标高在-13.35m~-19.35m之间,且有一部分TP3 抗拔桩位于高低差交界斜面处,空钻量相对较大,施工困难,且抗拔桩分布较集中,工作面相对较小,特别是二区的抗拔桩埋深较深,且桩间距也较小,而且桩施工还受到其它各个工序和工作面的限制,因此,要合理布置钻机、吊车的位置才能保证施工顺利进行。

5. 工程地处东三环东侧,属于市区内,工程性质及地理位置较为特殊。周边居民楼及单位较多,对环保要求较高,从而工程在进行文明施工及环保措施等方面难度较大;施工高峰期材料运输、机械进出场、混凝土运输车辆及吊车的行走,都使现场交通布置的难度增大,如何合理调配交通避免堵路又是一个难点。

4.1.3 针对超长、大直径钻孔灌注桩的以上特点所采用的技术措施:

1. 改善及消除泥皮主要有以下技术措施:

1) 根据勘察报告中所提供的地层情况选择湿作业成孔施工工艺,施工时调整好泥浆比重,提高机械利用率,缩短成孔时间,减少泥皮厚度,以提高基础桩承载力。

2) 保证钻孔泥浆的质量,对于不能自行造浆或造浆质量较差的土层,例如砂卵石层要进行人工造浆,且清理泥浆池要及时,防止泥浆过稠影响成孔速度。

3) 采用优质泥浆进行全置换式清孔,保证清孔效果,尽量用稀泥浆将护壁的泥皮置换出,以保证桩侧摩阻力的发挥。

2. 解决沉渣问题可采用以下技术措施:

1) 针对抗压桩的孔深特点及相应所处的地层情况,长度在30m 以下的基础桩采用泵吸反循环清孔工艺进行清孔;

2) 对于62.5 长的抗压桩,采用泵吸反循环和气举反循环清孔相结合的方法,可达到较好的清孔效果,减小沉渣厚度。

3. 水下混凝土灌注可采用以下技术措施:

1) 水下灌注混凝土配合比

由于超长大直径灌注桩具有混凝土灌注量大、灌注深度深等特点,因此在灌注过程中,混凝土在导管中落差较大,具有加速混凝土离析的现象。所以,为保证水下混凝土灌注质量,应适当增加水泥用量(水灰比不变),以增强混凝土的和易性,在首灌时放入球胆,以减慢混凝土下落的速度,避免混凝土发生离析。

2) 首灌

首灌往往是水下混凝土灌注的关键环节,直接影响到成桩质量及竖向承载力。因此,在保证首灌量满足规范要求的前提下,还需保证首灌混凝土的质量及返浆的顺畅,保证混凝土灌注过程的连续。

3) 混凝土灌注

超长大直径灌注桩混凝土灌注除需要满足一般的技术要求如导管埋管深度、导管密封性、混凝土配合比、搅拌质量、首灌等方面外,对灌注量大的超长灌注桩,在混凝土灌注过程中往往需要控制混凝土灌注时间,避免空孔放置时间过长造成塌孔或是桩扩径、缩径影响桩承载力的发挥,为避免灌注过程中混凝土出现堵管,要严格控制灌注时间,并根据单根桩的灌注时间,确定灌注混凝土的初凝时间。

4.2 钻孔灌注桩施工工艺选择及施工流程

4.2.1 基础桩施工工艺的选择

抗压桩长度最长达到62.5m、抗压桩桩径最大为1200,最小直径为800mm,直径为800mm的桩长也有30m 长,抗压桩为超长、大直径钻孔灌注桩;抗拔桩桩径为600mm,桩长均在15m左右,桩顶标高分布复杂,位于-13.75-19.35m 之间不等,且有部分桩位于基坑内部高低差11 的斜面处,桩端持力层以卵石、圆砾层和细砂、中砂1层为主;针对两种类型基础桩平面位置的分布特点,桩长、桩径及其桩长范围内所处的地层情况,结合本投标人多年的基础桩施工经验,在北京市成形的几种基础桩施工工艺中比较,基础桩选择旋挖钻机成孔工艺和泵吸反循环自造泥浆湿作业成孔工艺,由于泥作业采用的是泥浆护壁,因此在桩侧会产生一定厚度的泥皮,影响桩侧摩阻力的发挥(特别是抗拔桩,其承载力主要靠桩侧的摩阻力来承担,如泥皮过厚对桩侧摩阻力的发挥极其不种),在桩底还会有一层沉渣会影响桩端承载力的发挥、同时也会造成地基的沉降,为解决湿作业成孔的这几个问题,拟采用后压浆钻孔灌注桩技术措施,对桩侧及桩端土体进行加固定,抗拔桩采用长螺旋钻孔中心泵压混凝土振插钢筋笼的施工工艺的技术措施;采取以上两种措施以减少泥皮、沉渣对桩基的影响,增加桩侧摩阻力及桩端承载力,减小地基的沉降。

4.2.2 施工机械选择

基础桩成孔机械:选用反循环钻机或旋挖钻机湿作业成孔工艺进行抗压桩施工,钻头选用三翼单腰带梳齿犁式合金钻头,该类型钻头结构简单,强度高,上下导正,并具有极好的导渣、导流性;

4.2.3 基础桩施工部署

1. 钻机布置及各区段基础桩施工标高

1) 根据反循环及旋挖钻机的工作面进行钻机的布置,抗压桩位置主要在一区基坑深度为-14.6m 位置处,桩间距离约为5.0m,局部有24 根基础桩位于基底标高为-13.6m 处,桩长为15.0m,桩间距为5.0m。此区域共有基础桩162 根。一区均开挖至-11m 进行基础桩的施工(预留2m 左右厚的基底土方暂不开挖,以防泥浆池挖运时扰动基底土方),根据此区域工作面的大小,拟定布置4 台旋挖钻机和1 台反循环钻机进行一区基础桩施工;

2) 车库部分抗拔桩共146 根,桩长为14.7m,直径为600mm,车库位置的基坑深度为-11.06m,此部分开挖至-9.0m 工作面进行桩基施工。根据施工工作面,布置6 台反循环钻机进行车库抗拔桩施工。

3) 二区的抗拔桩共328 根,桩径为600mm,桩长为15m,此部分桩桩顶标高变化复杂,即有浅区桩又有深区桩,而且有部分桩分布在高低差交界的斜面上。根据此部分桩的分布特点,土方开挖至-11.0m 进行基础桩施工,安排6 台反循环进行二区基础桩施工。

4) 开挖至此位置进行桩施工目的:预留2m 左右厚的基底土方暂不开挖,以防泥浆池挖运时扰动基底土方,且打桩面尽量统一为基坑开挖创造良好的条件。

5) 在每一部分基础桩施工完毕后,即可进行相应部位的空钻土、桩间土清理及剔凿桩头,在局部位置土钉支护深度较大,在打桩工作面以上还有部分土钉支护,此部分支护在不受基础桩施工影响的条件下即可进行施工,此部分土方仍是分层开挖,留10m 工作面,待此部分支护施工完毕后,土方随桩间土清理一同运走。

6) 湿作业成孔工艺为泥浆池的开挖留出2m 土方,即开挖至距桩顶标高2m 位置进行桩基施工,下图为基础桩施工工作面的标高。为保证基础桩成桩质量,土方开挖严格按下图标高进行施工,严禁超挖,造成泥浆池中泥浆扰动基底老土。第三步土方开挖至基础桩施工工作面标高。

基础桩施工工作面标高图

2. 基础桩施工顺序

基础桩施工的顺序按各区段第三步土方亮出基础桩工作面的先后顺序进行施工。一区为施工的主线,首先亮出基础桩工作面,即可布置钻机进行基础桩施工,二区稍迟于一区;三区基础桩最后进行施工。

3. 基础桩施工准备

1) 与业主联系,获得详细的各种地下管线的资料。对现场地下建、构筑物进行确定,如果存在对基础施工不利的市政管线,积极协同有关部门进行进行改移。

2) 施工材料的准备

(1) 制定材料供应计划,组织相关材料和机械设备进场。机械设备应做好检修和保养,保证使用完好率。

(2) 基础桩桩施工所用的钢筋、水泥、外加剂等需复试的材料提前进场,进场后进行见证取样送试验室复试,确保使用合格的材料。

(3) 桩身混凝土大部分采用商品混凝土,部分采用现场搅拌,根据规范要求做好试块进行复试。

4. 泥浆池布置及做法

1) 由于工程量大,工期紧,需要多台设备同时施工,又因打桩工作面小,要考虑吊车安放钢筋笼行走、混凝土罐车行走以及土方开挖与基础桩的搭接,泥浆池需要合理布置才能使施工顺利进行;基础桩桩间距约为3m5m,在两基础桩之间布置细长条泥浆池,供前期打桩施工用(泥浆池布置避免占用未打基础桩桩位),待基础桩施工出一定工作面后,可在打完桩的部位开挖泥浆池,泥浆池深度约2m

2) 基坑大面积开挖至-9.0m-11m 两个标高处进行基础桩的施工,泥浆池具体做法:采用麻袋装土半挖半砌砌筑,随基础桩施工,泥浆要及时外运。要严格控制好泥浆池底标高,至少高于槽底800mm,泥浆池底部铺塑料布或做防水处理,以免渗水影响原状土。

5. 钢筋加工场地

由于工程桩数量多,工期要求紧,因此日产量要求高,钢筋笼高峰期要达到每天4060个,对钢筋加工场地要求比较高。根据现场条件,在结构外侧布置钢筋加工场地,根据施工段的划分分别布置。可根据现场生产的需要,部分加工场布置在基坑下侧,以减少钢筋笼的倒运,

拟定布置3 个钢筋加工场。

6. 基础桩位的测量

1) 根据桩位平面图使用全站仪测定桩位,水准基点借用平面控制桩。在桩位点打30cm深的木桩,桩上钉小钉定桩位中心;控制桩四周用钢管做1500×1500×1100 的防护栏和醒目的标记,确保桩点不被碾轧和扰动,并采取措施保持控制桩间的通视。

2) 所有控制桩点均设标识牌,牌中注明桩点的名称、精度等级、点号、数据及管理单位;对于细部测设的点位、线段用油漆进行标识,注明其性质和相关数据。

4.2.4 基础桩施工

1. 钻孔灌注桩施工工艺流程

1) 该工程中基础抗压桩采用Φ1200mm 大直径钢筋混凝土灌注桩,基础抗拔桩采用Φ600mm 钢筋混凝土灌注桩;根据现场地质条件,拟采用湿作业成孔,水下浇筑混凝土的成桩工艺。湿作业成孔工艺,主要有反循环成孔和无循环旋挖成孔两种。

2) 钻孔灌注桩施工工艺流程及技术要求

3) 泵吸反循环成孔

(1) 反循环成孔原理及适用条件

反循环钻进指循环介质流向是从地面沿钻具与孔壁的环状间隙进入钻孔,至孔底携带钻渣从钻杆内返回地面的一种钻进工艺。反循环钻进常用于大直径钻孔施工,适用于填土层、砂性土层、粘土层、卵砾石层等,钻进效率较高。

(2) 施工要点:

为保证孔壁稳定,应视表土松散层厚度,孔口下入长度适当的护筒,并保持泥浆柱液面高度。随泥浆漏失及孔深增加,应及时向孔内补充泥浆。钻遇硬土层,如发现每次钻进深度太小,钻斗内碎渣量太少,可换一个较小直径的筒形齿状钻头,先钻一小孔,然后再用钻斗扩孔。钻硬砂砾层,为加固孔壁和便于取出砂砾,可事先向孔内投入适量粘土球。下入孔内的钻斗,应是双层底板的捞砂钻斗,以防提钻过程中砂砾从底部漏掉。

在桩端持力层钻进时,可能会由于钻斗的提升引起持力层的松弛,因此在接近孔底标高时应注意减小钻斗的提升速度。

(3) 泵吸反循环湿作业工艺流程:

 

 

 

 

 

 

 

 

 

 

 

 

 

 

 

 

 

 

 

 

 

 

 

 

 

 

 

 

 

 

 

 

 

泵吸反循环湿作业工艺流程

(4) 工艺说明:下放完混凝土灌注导管后,测量沉渣厚度,如果沉渣厚度大于100mm

满足设计要求时,需二次清孔,如沉渣厚度小于100mm 满足了设计对沉渣厚度的要求,则无需进行二次清孔。

(5) 埋设护筒:孔口处应埋设铁护壁,护住孔口,护筒内径大于钻头直径100mm,壁厚4

8mm,护筒埋置深度为1.01.5m,在砂层中不宜小于1.5m,在粘土中不小于1.0m。护筒上部宜开设1~2个溢浆孔;埋设铁护筒时,以桩位为基准,(桩位的放样允许偏差:群桩小于20mm,单排桩小于10mm)中心偏移不得超过50mm。护筒周围用粘土分层夯实,并经测量人员复测后方可开钻。

(6) 钻机就位:钻机就位时,要做到机座平稳,转盘中心与桩位偏差不得大于20mm。必须做到三点一线,即天车中心,回转器中心与钻头中心在同一铅垂线上。在技术人员指导下,调整桅杆及钻杆的角度;钻机安装就位后,应精心调平,确保施工中不发生倾斜移位

(7) 钻进主要技术参数为:钻压P15--20kN;钻速N20--40rPm;泵量Q120--180m3/h

(8) 钻进过程中的注意事项:

钻进时应轻压慢转,平稳钻进,以保证钻孔垂直;

钻进过程中应根据地层变化情况,适时调整钻进技术参数,并经常检查钻孔水平情况,防止倾斜。

钻进过程中应严格保持稳定的孔口水头高度,防止孔口坍塌。

接近设计孔深时准确控制好钻进深度,并做好进入持力层深度记录。

钻进至设计深度后,应采用反循环认真做好清孔工作,以保证孔底干净。下完钢筋笼及导管后,设专人在混凝土浇灌前采用测绳准确丈量孔深及孔底沉渣厚度,如沉渣厚度超过设计要求,应采用特殊接头连接砂石泵组和混凝土导管,使用泵吸反循环抽吸孔内沉渣,并置换孔内泥浆,直至合格才能进行混凝土灌注。

钻进过程中冲洗液和泥浆护壁主要采用孔内自然造浆的方法,泥浆比重应控制在1.10-1.15;同时,现场准备膨润土,如原土造浆不能满足护壁要求时,应采用人工造浆。

2) 旋挖成孔

(1) 旋挖钻机成孔原理及适用条件

在一个可闭合开启的钻斗底部及侧边镶焊斗齿及切削刀具,在液压伸缩钻杆旋转驱动下切削挖钻土层,同时使土层进入钻斗内,提出孔外卸土,然后加入泥浆静态护壁,如此循环形成桩孔。该方法对软层,特别是土层、砂土层、淤泥层具有很高的效率。但它钻进硬层如卵石层时却相当困难;钻硬土层,砂砾层的效率也要降低。同时设备庞大,钻机工作时活动范围大,现场还需较大面积堆放废土场地,因此当施工场地狭小时,应充分考虑作业安全,应有足够的回转半径。钻进时,孔壁会不规整,在砂、砾石地层扩孔率和灌注充盈系数较大。

(2) 施工要点:

为保证孔壁稳定,应视表土松散层厚度,孔口下入长度适当的护筒,并保持泥浆柱液面高度。随泥浆漏失及孔深增加,应及时向孔内补充泥浆。

钻遇硬土层,如发现每次钻进深度太小,钻斗内碎渣量太少,可换一个较小直径的筒形齿状钻头,先钻一小孔,然后再用钻斗扩孔。

钻硬砂砾层,为加固孔壁和便于取出砂砾,可事先向孔内投入适量粘土球。下入孔内的钻斗,应是双层底板的捞砂钻斗,以防提钻过程中砂砾从底部漏掉。

在桩端持力层钻进时,可能会由于钻斗的提升引起持力层的松弛,因此在接近孔底标高时应注意减小钻斗的提升速度。

(3) 旋挖斗钻机成孔工艺

 

 

 

 

 

 

 

 

 

 

 

 

 

 

 

 

 

 

 

 

 

 

 

 

 

 

 

旋挖斗钻机成孔工艺

(4) 埋设护筒

埋设护筒时,护筒中心轴线对正测定的桩位中心,严格保持护筒的垂直度。

护筒固定在正确位置后,用粘土分层回填夯实,以保证其垂直度,防止泥浆流失及位移、掉落。

如果护筒底层土层不是粘性土,应挖深或换土,在坑底回填夯实300500mm 厚度的粘土后,再安放护筒,以免护筒底口处渗漏塌方。

施工期间泥浆面至少应高出地下水位1.0m 以上,在受水位涨落影响时,泥浆面应至少高出最高水位1.5m

(5) 钻机就位

钻机就位前,需将路基垫平填实,钻机按指定位置就位,并需在技术人员指导下,调整桅杆及钻杆的角度。

钻机安装就位之后,应精心调平,确保施工中不发生倾斜、移位。

(6) 设置泥浆池

泥浆池的尺寸根据泥浆量大小而定,泥浆池的容积不应小于正在施工的桩孔实际体积的1.5 倍~2 倍,同时必须确保桩孔在灌注混凝土时浆液不致外溢。

泥浆制备

根据规程要求,普通灌注桩成孔时,一般情况下注入干净的制备泥浆,相对密度应为1.151.2 之间;当穿过软土层或易坍塌的土层时,要投入粘土或改用专门制备的泥浆进行护壁成孔,检测其排出泥浆的相对密度,宜控制在1.31.5 之间。对于本工程中的超长灌注桩施工钻孔时,泥浆的相对应比普通钻孔时高出0.05 左右,含砂量、粘度和胶体率等指标与普通灌注桩成孔时基本相同。

根据地质水文情况,采用山东高阳1#膨润土,掺加外加剂护壁泥浆。

新鲜泥浆配合比:

膨润土()

纯碱()

CMC()

其它

310

1

0.1

待定

泥浆材料的选定:

水、取用市供应的自来水。

膨润土采用山东高阳1#。

纯碱:工业用碱。

羟甲基纤维素CMC,易溶高粘。

木质素(分散剂)

其它化学外加剂待定

各种掺入剂的用量,应先作试配,试验其配合液的各项性能指标是否符合要求,然后定出具体配合比。

新鲜泥浆性能指标及测试方法

 

序号

性能指标

测试方法

1

1.25g/cm

泥浆比重称

2

28-25

500cc/700cc 漏斗法

3

含砂量

<4%

含砂量仪

注:施工时根据具体地层条件而定,并根据成孔效果适当调整。

制备泥浆的技术要求:

在测定泥浆材料性能的基础上,及时试配泥浆的最佳配合比。

及时取泥浆样品,测试性能指标,新制备泥浆进行第一次测试,使用前测试一次.挖槽过程每班测一次,挖槽结束进泥浆面下1米及槽底0.5米处各取样一次,等换泥浆后测一次,回收泥浆后测一次,依此类推。

新制配泥浆储24小时,测试合格方可使用。

储存泥浆每八小时,用空压机搅动一次。

在使用泥浆过程,随时注意泥浆液面,发现漏失和粘度下降及时报告,以便及时采取措施。

每次搅拌泥浆或测试必须作好原始记录。

(7) 成孔

在钻进过程中,不可进尺太快,由于采取泥浆护壁,因此,要给一定的护壁时间。

在钻进过程中,一定要保持泥浆面高度,不得低于护筒顶40cm。在提钻时,需及时向孔内补浆,以保证泥浆高度。

在钻进过程中,要经常检查钻头尺寸。(可根据提钻情况决定其大小)

施工过程中如发现地质情况与原钻探资料不符应立即通知设计监理等部门及时处理。

3) 清孔

在钻进到设计深度时,应及时清孔,采用磨盘式捞渣钻头捞渣法,可一次或多次进行捞渣。在清孔后,孔底沉渣不得大于150mm,并将孔口处杂物清理干净,方可进行下一道工序。

4) 泥浆排放及外运

(1) 成孔及浇灌混凝土时,孔内泥浆应按事先挖好的泥浆沟排放,排放时应由专人进行疏导。

(2) 泥浆池内泥浆应随时外运,以保证桩孔内泥浆排放畅通,避免泥浆外溢,废弃的泥

浆池尽量将泥浆运走以免破坏原状土或渗入地下影响基坑的降水效果。

(3) 运输车辆采用密封罐车,以免出现遗撒。

5) 钢筋笼加工与吊放

(1) 根据设计,计算箍筋用料长度、主筋分布段长度,将所需钢筋调直后用切割机成批

切好备用;由于切断待焊的主筋、加强箍筋、箍筋的规格尺寸不尽相同,注意分别摆放,防止错用。

(2) 将支撑架按2.03.0m 的间距摆放在同一水平面上对准中心线,然后将配好定长的主筋平直摆放在焊接支撑架上。

(3) 主筋搁在加强箍筋外侧,并保持相互垂直,先进行点焊固定,再进行统一焊接。

(4) 钢筋笼主筋与加强箍筋点焊连接,焊接牢固严禁咬肉,在钢筋笼吊点处应加强,避免出现吊放时开焊,箍筋与主筋在每个交点处用火烧丝绑扎牢固。

(5) 钢筋笼主筋外侧必须加滑靴板,一周6 个,均匀布置,竖向的间距为4.0m;以保证桩主筋保护层厚度;

(6) 本工程中钢筋笼的长度14.7m62.5m 不等,拟定抗拔桩的钢筋笼选用35t 履带吊车整根吊放,而抗压桩中62.5m 桩长的钢筋笼采用50t 履带吊分两段进行吊放,30m 长抗压桩采用50t 履带吊整根吊放。布置50t 履带吊进行钢筋笼的倒运和抗压桩钢筋笼的吊放。

(7) 钢筋笼采用六点起吊,利用滑轮自动平衡的原理,达到由水平位置逐渐转换到垂直位置。根据笼长合理布置吊点位置,以防钢筋笼起吊变形过大。

起重机副钩挂一个单滑轮,钢丝绳从滑轮穿过,两端用卸扣与选定的加强箍筋与主筋交叉连接, 主钩则不同,主钩挂一扁担梁,梁两端多挂一个滑轮。钢丝绳1 穿过滑轮1,两端分别与两个已设定好的加强箍筋相连,相连位置从笼子最高点旋转90 度;钢丝绳2 穿过滑轮2,分别与两相同的加强箍筋相连。连接点与钢筋绳1 180 度。这种穿法能避免钢筋笼主筋的错位变形。吊放钢筋笼时,要求垂直入孔,不得碰孔壁。

6) 混凝土灌注

(1) 本工程基础桩采用商品混凝土,利用混凝土罐车进行浇注,如下图所示。

在混凝土浇筑中因采用的湿作业成孔工艺,工序多、且现场条件复杂,如有局部桩灌注时混凝土罐车无法进入时,可采用地泵进行浇筑。

(2) 水下灌注混凝土要求采用导管,管径235300mm(抗拔桩桩径较小仅有600mm,为防止灌注导管与钢筋笼相碰撞,保证灌注中的返浆质量,选用较小的灌注导管。混凝土灌注中要保证混凝土初次灌方量以及连续灌注,灌注过程中始终保持导管埋在混凝土面以下。

(3) 开始灌注前要认真清孔,换浆清孔后孔口泥浆比重小于1.10 为宜,粘度:16--18S,含砂量:< 3%PH 值:810,循环流动的泥浆无粗燥砂砾感,目测胶体率正常;清孔后,保持浆面稳定,及时浇筑;重点检查混凝土的坍落度、混凝土标高、埋管深度及超灌厚度。

(4) 采用自由塞隔水(即充气球胆),充气球胆直径大小能自由通过导管即可。导管下入长度和实际孔深必须做严格丈量,使导管底口与孔底的距离能保持在0.30.5m 内。

(5) 灌注混凝土,首浇混凝土必须保持埋管深度不小于1.5m,在实际操作中,投入球胆,放入锥塞,当混凝土灌满漏斗,立即拔起塞子,同时继续向漏斗补加混凝土,使混凝土连续浇注。

(6) 提管时,要准确测量混凝土灌注深度和计算导管埋深后,方可提管,导管应徐徐上提,不可一次提的过高,造成导管底部超出混凝土面,形成断桩。导管在混凝土内埋深不得大于6m,也不得小于2m

(7) 灌注桩的充盈系数在1.051.15,且施工中记录每根桩的充盈系数。

(8) 根据设计要求超灌,控制最后一次灌注量。或按如下控制:桩径1m 时,超灌1.0m。桩径<1.0m 时,超过0.50.8m。混凝土灌注高度用12kg 平底重锤控制。

7) 空孔回填

基桩成桩后,空孔部分进行回填处理,且孔口设安全防护措施。

8) 剔凿桩头

剔凿桩头可在场地桩间土清挖后,成桩7 天强度时即可进行,凿桩头采用压缩机风镐与人工钎凿相结合,并采用新的砍凿桩头工艺方法,保证桩头标高及顶面平整,桩头平整度保证高点与低点相差小于3cm,砍凿完成后用空压机吹净。

桩头砍凿后低于设计标高5cm 以上时,应用高标号混凝土补齐(刷界面剂)

主筋顶标高如低于设计标高10cm 以上,需接长钢筋,接长钢筋的焊接位置应错开。

桩头钢筋采用钢丝刷清理干净。

施工中如超灌混凝土,应在3 小时之内用人工将混凝土浮渣掏挖,留不少于30cm 的保护混凝土。

9) 基础桩施工中注意事项

(1) 灌注导管应采用直径不小于250mm 的管节组成,各节应具有带垫圈的连接法兰盘或扣环。

(2) 导管在使用前或灌注完46 根桩后,要检查导管密封圈的密封性,并每次在使用后,应立即冲洗干净,以防粘在侧臂上的混凝土过多造成堵管。

(3) 混凝土灌注关键在于首次浇注,要保证100%的成功率,必须采取如下措施:在承料斗内先置一球胆于导管口,然后用锥形塞堵住承料斗口,让商品混凝土灌满承料斗,在上提锥形塞的同时,向盛料斗内补混凝土,使料斗内混凝土始终保持装满条件下继续浇灌。

(4) 在完成首浇后,灌注混凝土要连续从漏斗口边侧溜滑入导管内,不可一次放满,以避免产生气囊。

(5) 为防止浇筑混凝土造成钢筋笼上浮,可采取如下措施

在孔口固牢钢筋笼上端:

当混凝土面接近钢筋笼底部时,应保持较大的导管埋深,放慢灌注速度;当混凝土面进入钢筋笼23m 后,应适当提升导管,减少埋深(不得少于1.5m)以增加钢筋笼对导管底口下的埋置深度。

在灌注将近结束时,由于导管内混凝土高度减少,压力降低。如出现混凝土顶升困难时,可适当减小导管埋深使灌注工作顺利进行,在拔出最后一节长导管时,拔管速度要慢,避免孔内上部混入泥浆的混凝土压入桩中。

钢护筒在灌注结束,混凝土初凝前拔出,起吊护筒时要保持其垂直性。

当桩顶标高很低时,混凝土灌不到地面,混凝土初凝后回填上部空孔。

4.3 提高桩基承载力及减少桩基沉降措施

本工程中抗压桩为超长、大直径钻孔灌注桩,根据基础桩的特点、场区内的地质条件,施工中均拟选用湿作业泥浆护壁成孔工艺;从施工方面,采取以下各种有效措施,控制施工质量,以弥补超大型灌注桩的缺陷,同时达到提高桩基的承载力、减少桩基的沉降的目的。

4.3.1 改善及消除泥皮主要有以下技术措施:

1. 根据勘察报告中所提供的地层情况选择湿作业成孔施工工艺,施工时调整好泥浆比重,提高机械利用率,缩短成孔时间,减少泥皮厚度,以提高基础桩承载力。

2. 保证钻孔泥浆的质量,对于不能自行造浆或造浆质量较差的土层,例如砂卵石层要进行人工造浆,且清理泥浆池要及时,防止泥浆过稠影响成孔速度。

3. 采用优质泥浆进行全置换式清孔,保证清孔效果,尽量用稀泥浆将护壁的泥皮置换出,以保证桩侧摩阻力的发挥。

4.3.2 解决沉渣问题可采用以下技术措施:

1. 针对抗压桩的孔深特点及相应所处的地层情况,长度在30m 以下的基础桩采用泵吸反循环清孔工艺进行清孔;

2. 对于62.5 长的抗压桩,采用泵吸反循环和气举反循环清孔相结合的方法,可达到较好的清孔效果,减小沉渣厚度。

4.3.3 水下混凝土灌注可采用以下技术措施:

1. 水下灌注混凝土配合比

由于超长大直径灌注桩具有混凝土灌注量大、灌注深度深等特点,因此在灌注过程中,混凝土在导管中落差较大,具有加速混凝土离析的现象。所以,为保证水下混凝土灌注质量,应适当增加水泥用量(水灰比不变),以增强混凝土的和易性,在首灌时放入球胆,以减慢混凝土下落的速度,避免混凝土发生离析。

2. 首灌

首灌往往是水下混凝土灌注的关键环节,直接影响到成桩质量及竖向承载力。因此,在保证首灌量满足规范要求的前提下,还需保证首灌混凝土的质量及返浆的顺畅,保证混凝土灌注过程的连续。

3. 混凝土灌注

超长大直径灌注桩混凝土灌注除需要满足一般的技术要求如导管埋管深度、导管密封性、混凝土配合比、搅拌质量、首灌等方面外,对灌注量大的超长灌注桩,在混凝土灌注过程中往往需要控制混凝土灌注时间,避免空孔放置时间过长造成塌孔或是桩扩径、缩径影响桩承载力的发挥,为避免灌注过程中混凝土出现堵管,要严格控制灌注时间,并根据单根桩的灌注时间,确定灌注混凝土的初凝时间。

4.4 基础桩质量标准

4.4.1 钢筋笼质量检验标准

钢筋笼质量检验标准

项次

项目

允许偏差(mm)

检测方法

1

主筋间距

±10

2

箍筋间距

±20

3

钢筋笼直径

±10

4

钢筋笼长度

±100

4.4.2 灌注桩质量检验标准

灌注桩质量检验标准

允许偏差或允许值

检测方法

1

桩位

D/6,且不大于100

尺量护筒

2

孔深

+300mm

测绳,尺量钻杆

3

垂直度

1%

测套管或钻杆

4

桩径

±50mm

5

孔底沉渣

150mm

重锤

6

钢筋笼安装深度

±100mm

尺量

7

混凝土坍落度

200220mm

坍落筒

8

桩顶标高

+30mm-50mm

水准仪

 

 

4.4.3 确保湿作业成孔灌注桩施工质量的预控措施

名称

主要原因

预防措施

坍孔

护简埋设太浅。筒外围未分层搞实。回转钻进时泥浆密度和黏度偏小,冲击钻进时钢丝太松,钻具碰撞孔壁

护简埋入原状土大于0.2m。筒外围填素土分层搞实。回转钻进时泥浆密度1.2 黏度182 2。冲击转钻进时密度和黏度可适当放大,钢筋绳适当吊紧钻具不碰撞孔壁

扩径

钻孔浅部地层有流沙层,钻进时钻具晃动太大

遇流沙层加大泥浆黏度和密度,尽量减小钻具晃动

缩径

有流塑黏性土或含有高岭土成分的黏性土和膨润土

在缩径地段进行扫孔

孔底沉淤

偏大

清孔不彻底,泥浆密度或含有小泥块或含砂量偏大

彻底清孔,含砂量<4%,合理调整泥浆密度和黏度

钢筋笼上拱

孔底沉淤偏大,泥浆密度太大或含砂量偏大。混凝土面至笼底时猛烈冲击笼上升,导管起拔时钩笼上升。吊筋太细或未固定,混凝土初凝等

孔底沉淤10c m,混凝土面至笼底时放慢灌

注速度,导管放笼中心,顺时针转动导管,

吊筋使笼固定。初凝时间需大于灌注时间2

倍等

桩上部夹泥

清孔不彻底,泥浆密度偏大,沉淤偏大,导管埋深太小

彻底清孔,沉淤10cm,导管埋深310m

柱混凝土

局部离析

混凝土质量不好(未按设计配合比实施,搅拌时间太少,坍落度太小等)。导管不密封漏水,相邻桩施工间距太小

混凝土质量要好,导管要密封不漏水,施工间距4d或时间间隔>36h

导管堵塞

导管变形,混凝土质量不好。离

析或混有大石块和水泥袋碎屑

等堵塞导管或操作不当等

导管需圆直光滑不变行,混凝土搅拌和制作

质量要好,进料时偏大石块和水泥袋碎块需

捡出,避免导管插入孔壁或孔底

导管被埋

导管埋深大于10m,混凝土因故初凝,有异物使导管和钢筋笼卡住

导管埋深310m,水泥中不能含无水石膏成分。水泥安定性要合格,不能用不同品种、不同强度等级的水泥混用,预防导管和笼卡住等

断桩

导管埋深太小或拔出混凝土面

导管埋深310m 严禁拔出混凝土面,一旦拔出需再次彻底清孔,二次剪球灌注混凝土

 

5质量控制要求及质量保证措施

5.1 质量控制要求

5.1.1 工程总目标

确保本项目总体工程质量达到有关市质检站和政府单位评定的合格等级并达到市样板工程要求或以上的质量标准。

5.1.2 质量控制基本要求

1. 遵守国家施工及验收规范以及季节施工的有关规定。

2. 按照建筑安装工程质量评定标准,验收工程质量等级。

3. 按照建设单位及监理要求的验收程序,验收项目,进行质量过程控制,做好自检和申报验收,并交验各种资料,填报各种表格。

4. 各种原材料要有检验合格证书。

5. 建立各级质量管理责任制和工程质量保证体系。

6. 各项工作按照本投标人质量保证手册及质量管理手册执行。

5.2 质量保证措施

5.2.1 质量保证体系

按照GB/T19000-2000 体系成立以项目经理为首的质量保证组织机构,以施工组织机构为框架进行人员组成。配备专职质量检查员,对质量实行全过程控制。树立全员质量意识,贯彻谁管生产,谁管理质量;谁施工,谁负责质量;谁操作,谁保证质量的原则,实行工程质量岗位责任制,各工序均设立质量负责人,并采用经济手段来辅助质量岗位责任制的落实。

质量保证体系框图

.2.2 组织机构保证

1. 建立高资质、强有力的项目经理班子。选用具有丰富施工经验的人员担任经理班子主管,为实现质量目标提供有力的组织保证。

2. 总部各部门将对工程项目经理部提供资金、管理、技术、人才等方面的支持。对工程项目经理部的工作进行固定、连续的检查帮助和督促。协助工程项目经理部进行企业内部的各种协调工作。

3. 对所有现场管理人员,协作单位管理人员进行强化质量意识的教育。

4. 建立质量例会制度,对所有分项工程的质量进行有效监督,开展质量竞赛和质量交流活动,及时预防发现纠正质量问题。

5. ISO9000 标准及企业的质量计划、程序文件的要求制定完善的切实可行的质量计划。

6. 安排经验丰富的质检员上岗工作,质检员不但能够掌握相关的质量标准、检验方式还应能对作业班组给予质量管理方面的指导。

5.2.3 具体质量保证措施

1. 为确保本工程质量目标的实现,本投标人对所有参加工程项目施工人员,尤其是管理人员加强质量意识、质量目标的教育宣传,牢固树立质量第一的意识,围绕质量工作目标,形成科学的网络化管理模式,并层层分解到各个施工环节及日常工作实务管理中去。据此,特制定以下质量保证实施措施:

本工程的基本技术要求必须符合中华人民共和国现行有效版本的标准规范、法规和本合同文件内规定的工程规范、施工图纸、技术要求及有关说明。按合同图纸,施工总说明,技术要求,图纸交底会审纪要,设计变更通知单和国家现行的(施工及技术验收规范)进行施工,作好自检工作,确保为优良工程。并按合同要求,负责编制及向业主方提交设计图设计说明,以及其它业主方在合理时间内要求之所有文件、电脑文件并按北京市档案馆要求编制所需份数的竣工资料。

2. 一旦中标进入现场后,将及时做好业主提供的有关水准点、坐标轴线控制点的复核、验收接受及保护工作,并做好有关书面资料的收集整理归档,为下道工序的施工提供可靠的技术保证。

3. 在展开工程施工前,对接收的施工图纸,由项目工程师组织项目经理部全体技术管理人员认真学习阅读图纸,了解设计意图和关键部位的质量要求和施工措施,并认真参加设计图纸交底。由项目经理负责施工组织设计的汇稿、编制工作,拟定各分项工程质量保证措施,落实质量交底的制度,列出监控部位及监控要点。

4. 现场项目经理部根据项目质量保证计划的要求,制订一个更具体的质量控制体系,明确每道工序的事前交底,中间验收及最后验收环节的要求,严格执行质量三级验收制度,及时尽早发现问题及时整改,防患于未然,确保工程中每个分项直至每个工序环节的施工质量,来保证最终的工程质量目标。

5. 为确保创优工程的目标,对基坑围护、土方施工队伍的选择,必须从本投标人范围内调配具有同类型同规模工程施工经验的施工队伍进场施工,同时对于项目经理部管理人员的配备方面,配备具有多年现场工作经验的管理人员管理施工质量,施工过程中加强过程工序控制,从提高队伍素质及加强管理水平等方面,确保创优目标的实现。

6. 加强施工现场质量管理机构设置工作,各级管理人员都必须对本岗位的质量要求明确了解, 从管理体制上保证工程的施工质量。

7. 工程施工过程中,必须加强计量工作和工程施工资料的整理归档工作,在抓好工程施工的硬件的同时,必须抓好软件的管理工作,从而保证工程的施工质量。

8. 建立三级验收及分部分项质量评定制度

1) 各分部分项工程施工过程中,各分管工种负责人必须督促班组做好自检工作,确保当天问题当天整改完毕。

2) 分项工程施工完毕后,各分管工种负责人必须及时组织班组进行分项工程质量评定工作,并填写分项工程质量评定表交项目经理确认,最终评定表由专职质量员核定。

3) 由项目经理每月组织一次各施工班组之间的质量互检,并进行质量讲评。

9. 施工中承包单位根据业主方的要求,随时提供关于工程质量的技术资料,如材料、设备出厂合格证、实验报告等的影印件,材料代用必须经过业主方审核同意并签证。

10. 凡隐蔽工程,经自检后,应填制确切的隐蔽记录(即范围、数量、质量),凭表在48小时前通知业主方和监理检查,业主方和监理接通知后,在适当时间内组织质检,符合涉及要求在验收记录签字后,才能进行下一道工序的施工。

11. 施工质量不符合设计要求,要立即停工。

12. 工程竣工时,向业主方提交全部原始资料、竣工图及报告两套,业主应及时组织验收。经验收达到国家建筑施工规格及验收规范,相关政府质检部门检查、备案、确认质量合格和优良,和合同要求的质量等级后,则根据业主方发出的竣工证书内指定的日期为实际竣工日期。

13. 确定本工程施工工序控制流程

施工工序控制流程

14. 原材料质量控制措施

1) 加强材料的质量控制,凡工程需用的成品、半成品、构配件及设备等严格按质量标准采购,各类施工材料到现场后必须由项目经理和项目工程师组织有关人员进行抽样检查,发现问题及时书面通知项目经理部,并与供货商联系,经项目经理部批准后进行退货。

2) 合理组织材料供应和材料使用并做好储运、保管工作,在材料进场后应安排适当的堆放场地及仓贮用房,指定专人妥善保管,并协助做好原材料的二次复试取样、送样工作。

3) 对于施工主材应加强取样工作,对每批进场水泥必须取样进行安定性及强度等物理试验,钢筋原材料必须取样进行拉伸、抗弯等物理试验(若有进口钢筋还需进行化学成分分析及可焊性试验)所有防水材料必须进行取样有关指标复试;对混凝土及砂浆的粗细骨料必须进行取样分析,所有原材料均须取得合格的试验证明方可投入使用,坚决不在工程中使用不合格材料。

4) 所有材料供应部门必须提供所有所供产品的合格证, 按规程要求必须的抽样复试工作,质量管理人员对提供产品进行抽查监督, 凡不符合质量标准、无合格证明的的产品一律不准使用,并采取必要的封存措施,及时退场。

15. 钻孔灌注桩施工质量保证措施

1) 钻孔灌注桩是一项施工技术复杂、环节紧凑、质量要求高、工序控制严的隐蔽工程,并受自然因素和人为因素影响较大。为了能优质高效地完成施工任务,施工中采取如下措施:

(1) 坚持质量教育,不断提高全员的质量意识。通过质量教育使全体职工牢固地树立起质量第一、用户至上的思想,质量教育要贯穿于工程施工全过程。

(2) 加强技术管理,认真学习,严格执行施工技术规程、标准及本投标人各项质量管理制度,落实各个环节的质量管理责任制,做好技术交底。使全体职工都能做到对工程的总体要求明确,对本岗位职责、质量要求胸中有数,并落实到工作中。

(3) 强化工序管理,对施工中的每道工序均按要求进行指导、检查、验收。确保工序质量。上道工序不合格决不允许转入下道工序。

2) 施工工艺保证措施

(1) 成孔垂直度保证措施:钻进过程中经常检查钻杆垂直度。

(2) 钢筋笼固定:通过特制固定插杆,一次性将笼子准确定位。

(3) 混凝土灌注:

清孔后,混凝土灌注前由当班技术员检查混凝土的坍落度,满足技术要求方可灌注;

灌注过程中,注意拔管速度。

(4) 基础桩施工的其它保证措施在桩基施工方案中有详细的表述。

3) 施工技术资料管理

(1) 严格按照北京市<<建筑安装工程资料管理规程>>(DBJ01-51-2000)要求,及时整理桩基施工技术资料。

(2) 按有关见证取样要求做好见证取样工作。

 

3、大体积混凝土工程

1设计概况及设计要求

1.1 设计概况

大体积混凝土施工是本工程结构施工的关键之一,本工程基础底板、地下室竖向结构等部位属大体积混凝土,其中L 轴南侧底板厚度15002500mm,混凝土强度等级为C40 S8,一次最大浇筑量约8500m3。北侧、东侧、西侧地下室外墙厚1 m,混凝土强度等级为C60 S8

上述部位大体积混凝土将在夏季进行浇筑施工,采取综合施工措施法是本工程大体积混凝土施工的基本技术路线。

1.2 设计要求

(根据**电视台TVCC 新址主楼-钢筋混凝土材料及施工技术要求)

1.2.1 防止混凝土在初凝期和养护期间产生开裂。

1.2.2 混凝土初凝和养护期间,混凝土的最高温度必须维持在摄氏85 度以下,且在混凝土内任何两点的温度差之不能超过摄氏25 度,混凝土的浇筑温度不得超过摄氏32 度。

1.2.3 混凝土中水泥的最大用量不超过430 /m3,最小则不少于310 /m3,水灰比则不应超过0.5。混凝土中石子的含泥量控制在小于1%,砂的含泥量控制小于2%

1.2.4 混凝土浇筑温度(混凝土振捣后,在混凝土50-100 ㎜深处的温度)不宜超过28 度。

1.2.5 大体积混凝土浇筑后,应采取养护措施,将温差控制在25 度以内。避免因内部温差、内外温差过大引起的裂缝。

1.2.6 在业主代表的批准后,承包人可加入粉煤灰(PFA)替代部分的水泥,但承包人须证明混凝土的强度增长能满足设计与施工要求。混凝土必须在45 天内达到设计强度。

 

2施工组织

2.1 底板施工区段划分及施工流程

2.1.1 施工区段划分

本工程底板大体积混凝土强度等级为C40,主要集中在L 轴南侧,在施工中,本投标人将按照设计图纸中后浇带的位置来划分大体积混凝土浇筑的施工区段,从19 轴往1 轴方向,共分四次浇筑完成,第一段浇筑量约为4000m3;第二段浇筑量约为8500m3;第三段浇筑量约为8000m3;第四段浇筑量约为5000m3。具体区域划分见下图。

基础底板大体积混凝土浇筑流水段划分图

为保证底板混凝土的施工质量,采取每段一次性整体浇筑的方式。根据基础结构特点及后浇带形式将每段混凝土划分为几个浇筑区域同时浇筑。为防止混凝土浇筑速度过快而产生的内部温度过高问题,本投标人将每段混凝土浇筑时间控制在48 小时左右。即:以混凝土泵实际输送速度40 m3/h 计,第一、第四浇筑段分为3 个浇筑区域,用3 台混凝土地泵同时进行浇筑施工;第二、第三浇筑段分为5 个浇筑区域,用5 台混凝土地泵同时进行浇筑施工。按照上述浇筑方式,可以保证每段混凝土均在48 小时完成浇筑任务。

各段浇筑区域划分见下图:

基础底板大体积混凝土浇筑流水段划分图

第一段:1 3 浇筑区域首先同时进行混凝土浇筑,约2 小时后(-11.95m 地坑混凝土流动性不大时),第2 浇筑区域开始进行浇筑。

第二段1 -5 浇筑区域同时进行混凝土浇筑。

第三段先浇筑1 浇筑区域标高较低部分(-17.950)底板混凝土,采用间歇浇筑的方法,低坑侧壁模板做成整体式并预先架立好,先将标高较低处底板浇至与模板底口平,待坑底混凝土流动性不大时(约为2 小时),再浇筑坑壁混凝土及标高较高的底板部分2 -5 浇筑区域。

第四段1 -3 浇筑区域从北至南同时进行混凝土浇筑。

2.1.2 工艺流程

搅拌站供混凝土核实混凝土配合比、开盘鉴定,混凝土运输单检查混凝土质量、坍落度输送与混凝土同配合比水泥砂浆润滑输送管内壁输送混凝土分层浇筑振捣抹面扫除浮浆、排除泌水养护测温成品保护。

2.2 地下室外墙施工区段划分及施工流程

2.2.1 施工区段划分

地下室外墙大体积混凝土强度等级为C60,主要为北、东、西侧地下室外墙,外墙厚1m,在施工中,我们将墙体大体积混凝土浇筑的划分为5 个施工区段(具体见下图)

基础外墙大体积混凝土浇筑流水段划分图

外墙每施工区段混凝土施工从一端开始,使用一台地泵配合一台布料杆,沿墙体单向浇筑,采用斜面分层浇筑法,分层厚度不超过500mm。每台泵均设专人负责,保证布料杆所负责的作业区域的混凝土均匀下料。

2.2.2 工艺流程

浇筑层段施工缝的清理 有关部门验收(土建、水电)签署浇筑申请及混凝土浇筑令施工缝提前浇水湿润 铺设同配合比砂浆 分层浇筑混凝土 标尺分层量取高度 分层振捣 墙上口找平墙体上口混凝土标高检查 清除混凝土表面浮浆 拆模养护成品保护。

2.3 混凝土的运输与供应

2.3.1 混凝土供应站的选择

由于现场施工场地狭小,无法在现场建立混凝土搅拌站,本工程将采用商品混凝土,我们选择五至六家以上资质资信好、供应能力强、技术力量高、与现场距离最近的大型搅拌站,主要由其中两家供应商品混凝土,其他备用。底板每一段混凝土开盘,均要求混凝土供应能力400m3/ h

2.3.2 混凝土输送泵及罐车的布置及交通

现场设置地泵,混凝土通过竖向及水平管输送至作业面。作业面上水平管的浇筑宽度:当底板厚度为2.5 时,按每根管服务宽度810m 来考虑;当底板为1.5m 时,按每根管服务宽度10-14m 来考虑,即泵车、泵管的布置严格按照混凝土浇筑区域划分图进行布设。现场设置5 台地泵(另加一台地泵作为备用)。关于混凝土输送泵的平面布置参见附件地下结构施工期间现场平面布置图

混凝土罐车在现场南侧道路双向行走,并在现场西南设置专用掉头场地,并设置专门交通协管员指挥道路交通。

由于本工程地处三环路边,根据北京市有关要求,早六点至八点、晚五点至七点禁止混凝土罐车驶入,在大体积混凝土施工前应申请办理通行证,或在上述时段提前将混凝土运至现场,已备该时段混凝土浇筑施工使用,避免造成浇筑间歇。

2.4 施工机械

大体积混凝土施工主要设备

设备名称

型号规格

参数

数量

备注

混凝土罐车

 

8m3

40

 

混凝土输送泵

HBT80.8.112RZ

40 m3/h

5

另有1 台备用

混凝土输送管

 

 

1000

 

振捣棒

HZ-50

H50

50

低噪声

布料杆

HG17

 

3

 

 

3技术措施

3.1 施工方法与技术措施

3.1.1 施工准备

1. 组织所有的混凝土施工员和操作者进行培训,并做好书面的技术质量安全等交底。

2. 由总包单位与实验室合作,统一提供配合比,对各个搅拌站使用的水泥、砂、石、活性混和材料、混凝土外加剂等各种原材料实行指定品牌及产地,统一配制。技术部门提前对商品混凝土供应厂家进行技术交底,明确对商品混凝土的技术要求,进行资质备案。并要求商品混凝土供应时匀速进场不断档。要求搅拌站按长城杯标准提供其全套商混凝土技术保证资料。

3. 对施工阶段大体积混凝土块体的温度、温度应力及收缩应力进行验算,确定施工阶段大体积混凝土浇筑块体的升温峰值、里外温差及降温速度的控制指标,制定温控施工的技术措施。

4. 现场设置地泵每台实际输送速度达40m3/h,水平及竖向泵送管安装到位,泵送管支架要有足够的强度和刚度。要充分利用混凝土连续墙、护坡桩及土钉护坡工程作为支点。

5. 模板要支搭完毕并通过验收,搭好施工马道,做好操作面的清理工作。

6. 做好后浇带的堵挡工作。

7. 提前将测温传感器布置到位,并进行保护,确保温度传感器工作正常。

8. 钢筋经总包、监理、业主、设计隐蔽验收,并签署混凝土浇筑申请书。

9. 在混凝土浇筑前应清理场内闲杂车辆及人员,在进出场口设置交通协调人员,负责协调罐车的进、出场以及罐车与社会车辆关系。浇筑场内设置交通指挥人员,负责指挥进场罐车的走向,错车、停车。浇筑场内设置调度人员,负责调度进场的罐车停靠在适宜的地泵边,以防出现窝泵,抢泵的情况。应用项目管理信息系统及商品混凝土调度管理数据库技术,全面分析控制。

10. 为不使混凝土输送管道温度过高,在管道外壁四周用麻袋包裹,并在其上覆盖草包并反复淋水、降温。

11. 覆盖混凝土所需阻燃草帘应等所需材料应提前进场,并保证足够的数量。

3.1.2 大体积混凝土原材料控制

与混凝土供应单位商定材料选用。

1. 水泥

因商品混凝土中水泥的水化热是引起混凝土温升的主要因素,因此,在尽可能达到混凝土设计强度的条件下,减少水泥用量。拟选用符合《硅酸盐水泥、普通硅酸盐水泥》的现行国家标准并经北京市建委备案的知名品牌普通硅酸盐水泥。控制水泥中发热量和发热速度最快的C3A 的含量在7%以下。搅拌站需提供该水泥质量证明书、复试试验报告,并对其品种、等级、包装、出厂日期等检查验收,加强批量复试。混凝土中水泥最大用量不超过430kg/m3,最小则不小于310kg/m3。水灰比则不超过0.5

2.

选用质地坚硬、级配良好的B 类低碱活性天然中、粗砂。符合《普通混凝土用砂质量标准及检验方法》的现行标准,其含泥量不大于1%、细度模数:2.53.2,这样可减少用水量,水泥用量也可相应减少,可降低混凝土的温升和减少混凝土的收缩。要求搅拌站砂进厂后要进行材料试验。

3. 石子

优先选用525mm 的低碱自然连续级配的机碎石或卵石。应具有较好的和易性、较少的用水量以及较高的抗压强度,能减少混凝土的收缩。要符合《普通混凝土所用碎石或卵石质量标准及检验方法》,含泥量不大于1%,针状和片状颗粒含量不大于15%,要求搅拌站石子进厂后要进行材料试验。

4. 混凝土掺和料和外加剂

经业主代表及监理的批准后,可加入适量的一级粉煤灰、缓凝剂和减水剂。以减少水化热,提高混凝土耐久性。混凝土掺和料和外加剂要符合《混凝土外加剂质量标准》、《用于水泥和混凝土中的粉煤灰》现行标准,其应用要符合《混凝土外加剂应用技术规范》、《粉煤灰在混凝土和砂浆中应用技术规程》的规定和要求。混凝土掺和料和外加剂等均需选用绿色环保型的、无污染、无毒害等并经权威检测机构检测的由北京市建委备案的生产厂家生产的合格产品。粉煤灰为I 级粉煤灰,矿粉为S75 磨细矿粉,外加剂选用高效减水剂。要求搅拌站对混凝土放射性进行检测,确保混凝土安全。

3.1.3 大体积混凝土配合比设计

1. 配合比设计的工作程序

向商品混凝土站提出配合比要求做混凝土的热工计算、变形分析进行计算结果论证混凝土试拌试压确定混凝土配合比

2. 向商混凝土搅拌站提出下列技术要求

1) 要求抗渗等级比设计要求提高一级(0.2Mpa)

2) 水灰比:控制在0.400.50

3) 砂率在40%-45%范围内;

4) 采用符合上述要求的原材料;

5) 水采用北京自来水公司饮用水;

6) 根据实际所用砂、石的的含水率具体情况,在混凝土配合比中对水用量进行调整;

7) 控制混凝土中胶凝材料的总量在430kg/m3 以下;

8) 控制混凝土的入模温度在28 以下;

9) 混凝土的最大碱含量 3kg/m3

10) 混凝土放射性指标内照射指数IRa1.0,外照射指数Ir 1.0

11) 混凝土最大氯离子含量 0.1%

12) 水泥7 天的水化热宜不大于250kJ/kg

13) 混凝土初凝时间控制在6 小时以上;

14) 混凝土坍落度宜为160±20mm

15) 加入粉煤灰掺合料时,粉煤灰中的高活性Si02A1203 能与水泥浆中的Ca(OH)2 进行二次水化反应,可以消耗吸收混凝土中的碱,从而降低混凝土中的碱含量,消除大体积混凝土由于碱集料反应产生的裂缝;另一方面,粉煤灰可以在很大程度改善混凝土的和易性,从而进一步保证混凝土的泵送浇筑。同时,每立方米的混凝土中掺加一定量的粉煤灰,减少水泥用量,从此降低了水泥的水化热,达到降低混凝土内外温差,抑制混凝土产生温度裂缝的目的;

16) 在混凝土中加入高效减水剂,可改善混凝土拌和物的和易性,增加坍落度,将混凝土的坍落度损失减少到最低限度,节约水泥,减少用水量。且后期强度增长明显提高,可大大改善和提高混凝土各项物理力学性能;

17) 为了进一步控制温升,减少温度应力,在取得业主和监理单位的同意后,将采用45d强度评定混凝土的强度等级;

18) 配合比要求搅拌站进行严格的混凝土配合比的试配,在系列试配的基础上优选混凝土配合比,针对提出的试验室配合比,在实际生产中进行生产配合比的试拌,以满足施工要求的混凝土技术指标和施工过程中的工作要求。应对混凝土收缩值进行评价,收缩值应控制在万分之四;

19) 混凝土的凝结时间通过外加剂来调整,根据当时的大气温度条件、混凝土运输距离、施工要求等调整混凝土的初凝及终凝时间,保证大体积混凝土浇筑不出现施工冷缝;

20) 严格控制搅拌站原材料温度用原材料降温控制混凝土出机温度根据由搅拌前混凝土原材料总热量与搅拌后混凝土总热量相等的原理,说明混凝土的出机温度与原材料的温度成正比,为此对原材料采取降温措施:将堆场石子连续浇水,使其温度降低且可预先吸足水分,减少混凝土坍落度损失;堆场砂子淋水冷却,使之降温,如需要,混凝土搅拌用水可采用冰水。

3.1.4 混凝土浇筑

1. 底板混凝土浇筑

1) 为了加快浇筑速度,将基础底板第一、四段分成3 个浇筑区域,用3 台地泵浇筑,将基础底板第二、三段分成5 个浇筑区域,用5 台地泵浇筑。详见2.1.1 施工区段划分

2) 每个浇筑区域由一台泵负责浇筑,采用斜面分层浇筑法,为加快混凝土散热,斜面每层浇筑厚度不超过500mm。分层高度以尺杆衡量,1.5m 底板按500mm 厚分三层到顶,2m 底板按500mm 厚分四层到顶、2.5m 底板按500mm 厚分五层到顶。

3) 将所有泵管支设到位,以同一坡度(16110),薄层浇筑,循序推进,一次到顶。

4) 利用泵管或泵管前连接的软管在底板上皮钢筋的表面上直接布料,在保证混凝土不出现冷缝的前提下,利用软管左右移动,作扇形状散布混凝土,尽量使入模混凝土散布面积大,以增加散热与热量交换。

5) 新混凝土覆盖已浇混凝土的时间不得超过混凝土初凝时间。

2. 地下室外墙混凝土

1) 为防止浇筑混凝土时污染钢筋,浇筑混凝土前,用塑料套套在钢筋上。

2) 正式浇筑前先沿墙体均匀浇筑50mm 厚的与墙体混凝土同配合比的减石子砂浆,以避免烂根现象。

3) 墙体混凝土浇筑时,严格分层。要求浇筑墙体混凝土的一次浇筑高度控制在500mm以内,并提前做好测量混凝土厚度的竖向控制杆。

4) 混凝土浇筑时,要随时检查浇筑高度,最终浇筑标高控制在高出顶板底标高30mm左右。

5) 布料杆软管出口离模板内侧面不应小于50mm,且不得向模板内侧面直冲布料,也不得直冲钢筋骨架。

6) 混凝土下料点宜分散布置,间距控制在2 m 左右。

7) 灌注高度大于2m 时,采用溜管或串筒下料,出料管口至浇筑层自由高度不宜大于1.5m,严防混凝土离析。

8) 区域之间、上下层之间的混凝土浇筑间歇时间,不得超过混凝土初凝时间。

9) 混凝土的标高控制以投测到墙体钢筋上的标高线为依据。

10) 待浇筑完毕后,对墙上口甩出钢筋加以整理。

11) 两个班组交接时,应待接班的班组人员全部到位并由被接班班组说明前段工作概况及注意事项,交接顺利后方可离开作业面,完成交接。

3. 柱子混凝土施工

1) 柱子混凝土浇筑时,浇筑至梁底以上1520mm

2) 柱子混凝土浇筑应分层进行,防止混凝土离析现象发生。

3) 浇筑混凝土前,应先在柱底铺一层3050mm 与所浇混凝土同配合比的水泥砂浆,然后浇筑混凝土。

4) 梁、柱结点处的钢筋较密,在进行混凝土浇筑前,应对钢筋的分布情况全面了解。尤其对钢筋较密的部位,要局部加大钢筋的间距,找出下棒的位置,并在模板上或相应的钢筋位置上做出明显标注,以备在混凝土浇筑时使用。同时考虑采用同强度等极细石混凝土进行浇筑。

5) 地下室柱墙相连部分,混凝土强度等极不同,500mm 以上厚墙部分的柱子采用与墙体强度等级相同的混凝土浇筑;500mm 以下薄墙部分在模板安装前墙与柱应用钢板网隔离开来,混凝土浇筑应同时进行。

6) 在振捣过程中,振捣棒不得直接振捣钢筋及模板。

7) 柱高在2m 之内,可在柱顶直接下灰浇筑,超过2m 时应软式串筒进行浇筑。

8) 浇筑完后应随时将伸出的搭接钢筋整理到位。

4. 地下室外墙导墙混凝土

1) 地下室外墙随底板一起浇筑300mm 高的导墙,导墙上口设置止水带。

2) 将导墙的吊模安装好后,先浇筑底板混凝土,在靠近外墙底板混凝土浇筑一定面积后,且在底板混凝土初凝前浇筑外墙导墙混凝土。

5. 集水坑混凝土浇筑

1) 根据大面积基础底板混凝土流淌速度的范围,需提前进行临近集水坑内泵送混凝土的施工,并振捣密实。将集水坑混凝土浇筑至与大底板平齐,与基础底板混凝土部分交接严密。

2) 对较浅的集水坑采用混凝土一次浇筑,当基坑底板混凝土浇筑成后,紧接着浇筑坑壁。

3) 较深的集水坑浇筑时,采用间歇浇筑的方法,其模板做成整体式并预先架立好,先将地坑底板浇至与模板平,待坑底混凝土流动性不大,可以承受坑壁混凝土压力时,再浇筑地坑坑壁混凝土,要保证底与壁接触处的质量。间歇时间在2 小时左右。

4) 坑底浇筑顺序由长度方向从一端向另一端浇筑推进,或由两端向中间浇筑。坑壁应形成环行回路分层浇筑,并根据坑壁的长度采用单向循环或双向循环浇筑。

5) 集水坑侧壁混凝土浇筑时,应对称浇筑,确保侧壁受力均匀。

3.1.5 混凝土振捣

混凝土拌合料在搅拌、浇筑入模后,必须振动捣固,密实成型,结构密实,使拌合料的颗粒之间以不同的震动加速度发生液化,破坏初始颗粒之间不稳定平衡状态,骨料颗粒依靠自重达到稳定位置,游离水分挤压上升,气泡逸出表面,混凝土最终逐渐达到密实状态。从而大大提高混凝土结构耐久性。

1. 浇筑时,每条泵管配备足够的振捣棒。使混凝土自然缓慢流动,然后全面振捣。根据混凝土泵送时自然形成的坡度,在每个浇筑带的前后布置两道振动器。第一道布置在混凝土卸料点,解决上部混凝土的振实,由于底皮钢筋间距较密,第二道布置在混凝土坡角处,解决下部混凝土的密实,随着混凝土浇筑工作的向前推进,振动器相应跟上,保证整个高度混凝土的质量。

2. 振捣棒插入混凝土的深度以进入下一层混凝土50100mm 为宜,消除两层之间接缝,在振捣上层混凝土时,要在下层混凝土初凝之前进行。可在振捣棒距端部550mm 处绑红皮筋作为深度标记。

3. 振捣过程中应将振捣棒上、下略有抽动,以使上、下震动均匀。每点振捣时间一般为2030 秒,使混凝土表面不再显著沉降,不再出现气泡,表面泛出灰浆为止。每个浇筑带应设专人指挥振捣工作,严防漏振、过振造成混凝土不密实、离析的现象产生。防止先将表面混凝土振实而与下面混凝土发生分层、离析现象,确保填满振捣棒抽出时造成的空洞。

4. 振捣器插点要均匀排列,采用行列式交错式的次序移动,不应混用,避免漏振。振动器移动间距为500mm

5. 墙体混凝土分层浇筑后,立即对混凝土进行振捣,振捣上一层混凝土时,振捣棒应插入下一层混凝土50mm,以消除两层之间的接缝,同时在振捣上层混凝土时,要在下层混凝土初凝之前进行。

6. 振捣棒应快插慢拔,插点要均匀排列,逐点移动,点的间距控制在500mm 为宜,并在模板上口用横向标尺杆控制。

7. 墙体应沿墙厚梅花型布置3 个振点,振点沿墙长度方向间距500mm,振捣棒不得直接振捣模板,振捣棒距离模板 100mm,注意保持振捣棒与模板间的距离。

3.1.6 泌水处理

混凝土拌合料浇筑之后到开始凝结期间,由于骨料和水泥浆下沉,水分上升,在已浇筑混凝土表面析出水分,形成泌水,使混凝土表面拌合料的含水量增加,产生大量浮浆,硬化后使面层混凝土强度底于内部的混凝土强度,并产生大量容易剥落的粉尘,混凝土在采用分层施工浇筑工艺时,必须清除泌水和浮浆,否则会严重影响上下层混凝土之间粘结能力。影响钢筋和混凝土握裹强度,产生裂缝。大体积混凝土基础底板在浇筑振动过程中,可能会产生大量的泌水,由于混凝土为一个大坡面,泌水沿坡面流至坑底,随着混凝土浇筑向前渗移,最终集中在基坑顶端排除,当混凝土大坡面的坡角接近顶端模板时,改变浇筑方向,从顶端往回浇筑,与原斜坡相交成一个集水坑,并有意识的加强两侧模板处的混凝土浇筑强度,使集水坑逐步在中间缩小成水潭,使最后一部分泌水汇集在上表面,派专人用泵随时将积水抽出,并用扫帚将混凝土表面浮浆清除。不断排除大量泌水,有利于提高混凝土质量和抗裂性能

3.1.7 表面的处理

基础底板大体积混凝土浇筑施工中,其表面水泥浆较厚,为提高混凝土表面的抗裂性,在混凝土浇筑到底板顶标高后要认真处理,初步按标高用铝合金大杠刮平混凝土表面后,将预先准备好的钢丝网按入基础底板上铁钢筋保护层混凝土内,并用φ8 钢筋做的钩子间距2m 将钢丝网固定在混凝土中,控制钢丝网的标高在基础底板顶标高下20mm 处,墙根、梁根处处理细致,不得有明显间距,随混凝土浇筑的进行随时铺放,及时用木抹子抹压密实,待混凝土收水后,再用木抹子搓平两次,以闭合收水裂缝,然后浇水养护并覆盖防火草帘。

3.1.8 混凝土养护

本工程大体积混凝土养护要达到隔热和保湿的双重目的。我们采用浇水结合覆盖双层防火草帘的方法进行养护,混凝土底板浇筑完毕后,应进行浇水养护,经测温当混凝土内外温差大于25时,覆盖双层防火草帘进行养护。底板也可采取蓄水50mm 深的方式养护,外墙采用顶部敷设花管的方法淋水养护,经测温当混凝土内外温差大于25时可覆盖防火草帘。

1. 混凝土的养护期间必须严格控制其内外温差,确保不出现有害裂缝,确保混凝土质量,养护是一项十分关键的工序,应根据气候条件采取控温措施,并按需要,测定浇筑后的混凝土表面和内部温度,将温差控制在设计要求的范围内。温差控制在25范围内。

2 . 为保证混凝土内部与混凝土表面温差小于25,混凝土降温速率小于1.5 /d 及表面温度与大气温度之差小于25,采用浇水养护并防火草帘覆盖的同时,还要根据实际施工时的气候、测温情况、混凝土内表温差和降温速率,通过热工计算来随时调整养护措施,如增加防火草帘的层数。

3. 养护要求

1) 为了确保新浇筑的混凝土有适宜的硬化条件,防止在早期由于干缩而产生裂缝,混凝土浇筑完毕后,并达到上人条件后,立即进行浇水养护,并应在混凝土内外温差大于25_前进行覆盖。混凝土养护时间不得少于14d

2) 浇水、覆盖养护应在混凝土浇筑完毕后的12 小时内进行。

3) 防火草帘应相互搭接,不得有混凝土面外露,防止出现覆盖不好,造成混凝土表面泛白或出现干缩细小裂缝。

4) 浇水次数应根据能保持混凝土处于湿润的状态来确定。

4. 混凝土的养护时间根据具体测温结果确定。

5. 防火草帘在内外温差及表面与大气最低温差均小于25时,方可拆除。防火草帘的拆除应分层逐步进行。

3.1.9 主要技术措施

1. 使用高性能混凝土,提高混凝土的耐久性

高性能混凝土在配制上的特点是低水灰比,选用优质原材料,除水泥、水和骨料外,必须掺加足够数量的矿物集料和高效减水剂,减少水泥用量,减少混凝土内部孔隙率,减少体积收缩,提高强度,提高耐久性。

2. 为防止产生裂缝,可考虑增加构造配筋、温度筋等防裂措施。

3. 精心设计大体积混凝土配合比,限制水泥用量,降低混凝土内部水化热。

4. 严格控制搅拌站原材料温度用原材料降温控制混凝土出机温度

5. 按要求及时进行浇筑混凝土的浇水养护和覆盖。

6. 保持连续均衡供应控制混凝土浇筑温度。

7. 通过监控及时掌握混凝土温度动态变化

3.2 温度变化实时监测

3.2.1 大体积混凝土测温

对于大体积混凝土施工,控制其温差裂缝的形成是施工成败的关键。因此,加强施工中的温度控制。混凝土浇筑和养护过程中,作好测温工作,控制混凝土的内部温度与表面温度、表面温度与环境温度之差均不超过25_

为了能及时掌握混凝土内部的温度变化情况,以便采取相应的技术措施,保证大体积混凝土的施工质量,测温设备采用智能测温系统,该系统可随时观测混凝土各个部位的温度变化情况,亦可在观测过程中按实际需要设定定时观测,并随时打印观测结果。如果混凝土内外温差超过25_,测温仪将自动警报,提醒施工单位采取合理的混凝土养护措施。

1. 测温点布置

应在每个施工流水段分别布置大体积混凝土测温点,测温点应具有一定的代表性,真实反映混凝土块体的内外温差、降温速度等。混凝土测温点布置原则如下:

1) 在测温区内,温度监测的位置与数量根据基础底板的温度场的分布情况及温控的要求为准。

2) 大体积混凝土必须在每个具有代表性的构件上均须设置测温点。

3) 底板原则上按照每20 平米设置一个测温点进行布置,并且符合设在具有代表性的、标高变化处的结构部位和温度变化大易冷却的部位的规定。底板浇筑块体的外表温度,应以混凝土外表以内3050mm 处的温度为准;底表面的温度以混凝土底表面上3050mm 处的温度为准;中部温度以混凝土高度1/31/2 处的温度为准。

4) 大体积墙体测温点按照施工流水段布置,每个施工流水段至少布置2 组测温点,并具有一定代表性,每组2 个测温点,其中1 个布置在墙顶,1 个布置在墙高的1/31/2处。墙中的测温点使用测温线从墙的上方引出。这些点均布置在墙体厚度的1/31/2 处。

5) 大体积柱子在每个施工流水段每种规格具有代表性的柱子上至少需设置1 (每组2 )测温点,测温点布置在柱顶以及柱高的1/31/2 处。柱中测温点使用测温线引至柱顶。所有测温孔均应编号,进行混凝土内部不同深度和表面温度的测量。

2. 测温制度:根据大体积混凝土的温度变化规律,混凝土自入模并接触到传感器开始测温并以此作为各测温区的入模起始时间。

3. 测温时间:第14d 2 小时测温一次;第59d 4 小时测温一次;第1014d6 小时测温一次;第15d 以后每12 小时测温一次至测温结束。

3.2.2 监测方法及监测设备

1. 监测设备

本投标人采用网络化温度监测系统,系统采用测量精度为0.2_的数字温度传感器。 大体积混凝土温度网络化监测系统由温度传感器、信号测量装置、应用软件及计算机四大部分组成,并采用Modem 方式组建远程监控网络,系统框架见下图。

 

 

 

 

 

 

大体积混凝土温度网络化测试系统构成框架

2. 监测方法

系统采用电感方式,能定时在线监测各测点温度,并自动记录,测量数据及其变化趋势以图表两种方式实时显示。运行期间的自动监测系统是一个基于网络的远程实时在线监测与分析系统,现场测量数据可通过普通电话线远距离传回应用工程师办公室,以便随时提供各种需要的信息。

3. 测点布置

设置环境温度测点4 (每个施工区段设置一个),混凝土测点每20 平米设置一个,对混凝土上中下三层部位设置温度监测点。

4. 测试工况

监测自混凝土浇筑开始至浇筑后30 天止。监测报警温差设置在25。在混凝土浇筑过程中,水化热升温过程中,数据采集时间间隔为30 分钟左右;待水化热能耗尽后温度下降趋于稳定过程中,数据采集时间间隔为1 小时~4 小时左右。

3.2.3 制定测温方案,并呈交业主及监理。

3.3 检验与试验

3.3.1 检验

1. 针对本工程施工特点,提前做好混凝土配合比设计,详见 3.1.2 大体积混凝土配合比设计。

2. 混凝土浇筑前,商品混凝土随车要有搅拌站的开盘鉴定、配合比、原材及外加剂的试验单、检测报告。

3. 现场验收商品混凝土按委托单中的项目仔细校对,认真填写混凝土运输单,混凝土运输单按批装订成册,做好分析。

3.3.2 试验

1. 混凝土浇筑时由专职试验工取样,每200m3 混凝土留置一组45d 标养试块,不超过200 m3 的按200m3 留置。

2. 500m3 留置一组抗渗试块,同时需留置抗压强度试块,两种试块应取自同一车混凝土拌和物。

3. 根据施工需要留置足够组数的同条件试块。

4. 结构实体检验用同条件养护试件

1) 同条件养护试件所对应的结构构件或结构部位,应由监理(建设)、施工等各方共同选定。

2) 对混凝土结构工程中的各混凝土强度等级,均应留置同条件养护试件。

3) 同一强度等级的同条件养护试件,其留置的数量应根据混凝土工程量和重要性确定,不宜少于10 组。

4) 同条件试件拆模后,应放置在靠近相应结构构件或结构部位的适当位置,并应采取相同的养护方法。

5) 同条件养护试件应在达到等效养护龄期时进行强度试验。等效养护龄期应根据同条件养护试件强度与标准养护条件下45d 龄期试件强度相等的原则确定。

6) 同条件自然养护试件的等效养护龄期及相应的试件强度代表值,宜根据当地的气温和养护条件,按下列规定确定:等效养护龄期可取按日平均温度逐日累计达到600d 时所对应的龄期,0及以下的龄期不计入;等效养护龄期不应小于14d,也不宜大于60d

7) 同条件养护试件的强度代表值应根据强度试验结果按现行国家标准《混凝土强度检验评定标准》GBJ107 的规定确定后,乘折算系数取用;折算系数宜取为1.10,也可根据当地的试验统计结果作适当调整。

5. 本工程大体积混凝土试块留置组数为:

部位

标养试块()

抗渗试块()

结构实体检验用同条件养护试块()

1.2Mpa 同条件养护试块()

第一段底板

20

8

2

1

第二段底板

43

17

2

1

第三段底板

40

16

2

1

第四段底板

25

10

2

1

1 段外墙

3

1

1

1

2 段外墙

5

2

1

1

3 段外墙

6

3

1

1

4 段外墙

4

2

1

1

5 段外墙

7

3

1

1

3.4 质量控制要点

3.4.1 配合比

应经过研讨来确定配合比符合设计条件、气候条件、构件尺寸。精心设计大体积混凝土配合比,限制水泥用量,降低混凝土内部水化热。使用高性能混凝土,提高混凝土的耐久性。

3.4.2 浇筑作业应按设计好的作业流程实施

3.4.3 保持连续均衡供应混凝土_

紧密配合施工进度,确保混凝土的连续均匀供应,进行周密的计算和准备,应在浇筑期间始终保持稳定的供应强度,基本上做到了泵车不等搅拌车,不能发生由于相互等待而造成堵泵现象。

3.4.4 隔热措施的落实

为不使混凝土输送管道温度过高,在管道外壁四周用麻袋包裹,并在其上覆盖草包并反复淋水、降温。

3.4.5 加强混凝土隔热保湿养护

混凝土抹压后,当人踩在上面无明显脚印时,随即盖两层防火草帘并浇水进行保湿隔热养护,以减少混凝土表面的热扩散,延长散热时间,减少混凝土内外温差。

3.4.6 通过监控及时掌握混凝土温度动态变化

温度监控的最终目的是为了掌握混凝土内部的实际最高温升值和混凝土中心至表面的温度梯度,保证规范要求的内部与表面的温差小于25及降温速率。

3.4.7 温度是直接关系整个混凝土基础质量的关键。

为了客观反映混凝土温度状况,进行出机温度、入模温度、自然温度、覆盖养护温度、混凝土内部温度等项目的测试,便于及时调整温控措施。

3.4.8 裂缝控制

1) 应在施工前根据现场条件、配合比、气候条件进行混凝土温度应力裂缝控制的计算。

2) 精选材料,优先采用水化热低、含碱量少的硅酸盐水泥,在保证混凝土强度等级的前提下,使用适当的缓凝剂、减水剂,减少水泥用量,延缓水泥水化放热速率,以减少水化热。掺加粉煤灰等活性材料替代部分水泥,能在保证混凝土强度等级的前提下,有效的减少水化放热量。

3) 控制混凝土的出灌和入模温度,控制混凝土的温升值,使混凝土在浇筑入模温度的基础上不大于28

4) 控制浇筑层厚度和进度,以利散热。

5) 控制混凝土的降温速度,降温速度不大于1.5-2.0/d

6) 控制混凝土里外差不大于25

7) 表面绝热,表面绝热的目的不是限制温度上升,而是调节温度下降的速率,使混凝土由于表面与内部之间的温度梯度引起的应力差得以减小,因为在混凝土已经硬化且获得相当的弹性后,环境温度降低与内部温度提升,两者共同作用,会增加温度梯度应力差,因此为减慢表面的热量损失,用绝热材料覆盖。

8) 混凝土可适当的掺加膨胀剂,可以更好防止混凝土开裂。

3.4.9 预防碱集料反应要求

1. 使用B 种低碱活性集料(指膨胀量大于0.02%,小于或等于0.06%的集料)以及低碱水泥(碱含当量0.6%以下)、掺加矿粉掺合料及低碱、无碱外加剂。同时,混凝土碱含量不超过3kg/m3

2. 配制混凝土时,严格选用水泥、砂石、外加剂、矿粉掺合料等混凝土用建筑材料。

3. 基础工程用水泥、砂石、外加剂、掺合料等混凝土用建筑材料,必须具有由市技术监督局核定的法定检测单位出具的含有碱含量和集料活性数据的检测报告,无碱含量数据的检测报告在混凝土施工中禁止在基础工程上使用。

4. 混凝土碱含量阐明:混凝土碱含量是指来自水泥、化学外加剂和矿粉掺合料中游离钾、钠离子量之和。以当量Na2O 计、单位kg/m3(当量Na2O%=Na2O%+0.658K2O%)即:混凝土碱含量=水泥带入碱量(等当量Na2O 百分含量×单方水泥用量)+外加剂带入碱量+掺合料中有效碱含量。

3.5 后浇带、施工缝处理

3.5.1 后浇带的设置及处理

后浇带宽度为1000 ㎜和800 ㎜。在两侧底板中间留高为1/3 板厚、宽为100mm 的凹槽,后浇带混凝土应比底板混凝土等级提高一级,并掺混凝土补偿性收缩剂。后浇带混凝土在两侧底板浇筑两个月后进行浇筑。

为了及时清理后浇带,并且方便安放集水泵,在后浇带处设下人孔洞,下人孔为500mm×500mm 洞口,沿后浇带每30m 左右一个。通过下人孔的上层钢筋暂时不铺设,待浇筑前与两侧钢筋采用机械连接。

为了能及时将底板内积水抽出,及将来后浇带内清理,混凝土垫层施工时,在后浇带内设集水井。集水井设在下人孔侧,距下人孔500m,方便人员操作水泵。

3.5.2 施工缝

1. 基础底板混凝土施工时,在外墙上留置水平缝,距基础上表面500mm,施工缝处采用橡胶止水条。

2. 施工缝第二次混凝土浇筑前对缝表面应进行凿毛处理,直至露出石子为止,冲洗干净,清除浮粒。在继续浇筑混凝土前用水冲洗并保持湿润,先铺上一层50100mm 厚的无石子同混凝土配比的水泥砂浆,然后再继续浇筑混凝土。

3. 墙顶水平施工缝留置高出顶板底标高30mm(预留25mm 的浮浆层剔凿量),待模板拆除后,清除松散的混凝土及石子,并用空压机冲刷干净。如图:

4. 外墙水平施工缝处在外墙厚度居中处留置宽30mm、高10mm 通长凹槽,放置宽30mm、高20mm 的橡胶止水条。

5. 施工缝的清理

混凝土施工缝浮浆处理作为一道工序进行,弹出剔凿控制线(墙根顶板处弹相距5 ㎜的双线,墙头距顶板底上5 ㎜弹单线),用无齿锯按线切出剔凿范围及深度,再将浮浆剔净,露出石子,并检查验收。

 

4温度与应力计算

4.1 软件简介-- 温度场计算方法

大体积混凝土计算采用FZFX3D 进行计算,其求解理论是基于温度场计算理论,简述如下。混凝土温度场的求解方法可以分为三类:1)理论解法。主要用来求解边界条件比较简单的一维温度场,常用的方法有分离变量法和拉普拉斯变换法,对于随着时间而作简谐变化的准稳定温度场,还可以采用复变函数的方法。这些方法在数学物理方程中有对实际工程有用的一些理论解答;2)差分解法。就是用差分代替微分的一种数值解法;3)有限单元法。把求解区域剖分成有限个单元,通过变分原理,得到以节点温度为变凉的一个代数方程组,此方法可用以求解边界条件十分复杂的问题。

FZFX3D 采用第三种方法,即有限单元法进行编制,下文将给出温度场计算的理论基础与算法。混凝土不稳定温度场) t z y x T 满足热传导方程:

式中 t 时间,

θ 混凝土绝热温升,

a 混凝土导温系数,

λ 混凝土导热系数,

c 比热,

ρ 容重

在某一给定区域内,边界满足初始条件

温度场计算的边界条件可用以下四种方式给出。

1.第一类边界条件

混凝土表面温度T 是时间的已知函数,即

2.第二类边界条件

混凝土表面的热流量是时间的已知函数,即

式中n 为表面外法线方向。若表面是绝热的,则有

3.第三类边界条件

当混凝土与空气接触时,经过混凝土表面的热流量是

第三类边界条件假定经过混凝土表面的热流量与混凝土表面温度T 和气温Tc 之差成正比,即

式中β是表面放热系数,单位为kJ/(·h·℃)

当表面放热系数

趋于无限时,TTa,即转化为第一类边界条件。当表面放热系数β0 时,

4. 第四类边界条件

当两种不同的固体接触时,如果接触良好,则在接触面上温度和热流量都是连续的,边界条件如下:

如果两固体之间接触不良,则温度是不连续的,这时需要引入接触热阻的概念。加入接触缝隙中的热容量可以忽略,那么接触面上热流量应保持平衡,因此边界条件如下

式中 Rc 为因接触不良而产生的热阻,由实验确定。

根据变分原理,该问题可化为泛函的极值问题。取泛函

寻找使泛函) (T I 实现极小值的解答,即寻找温度场T ,使 0 Tδ

然后将区域在空间域上离散化,将空间域划分成有限个单元;在时间域上离散化,将时

间域划分成一系列时段,最终得到温度场求解的基本方程:

由此求解出{ T n }

 

4.2 基础大体积混凝土模型

下图为基础底板混凝土浇筑流水段划分图,选取了具有典型意义的第二段进行计算。

基础底板大体积混凝土浇筑流水段划分图

有限元计算模型如下图所示。下半部分为土体,上部分为需要浇筑的第二段混凝土结构。

土体和混凝土有限元模型

待浇筑混凝土有限元模型

4.3 温度场计算结果

混凝土浇筑完毕5d 温度场

混凝土浇筑完毕10d 温度场

混凝土浇筑完毕15d 温度场

混凝土浇筑完毕20d 温度场

为对混凝土中关键点进行跟踪监测,在温度场计算时选取了四个关键点,对这四点的温度变化曲线进行了记录。四个关键点的位置参见下图。

变化曲线进行了记录。四个关键点的位置参见下图。

 

 

 

4.3 温度场计算结论

4.3.1 经过混凝土施工仿真计算,混凝土温升最高温度50

4.3.2 混凝土内部与外部温度差值符合设计要求。

 

4、地下结构防水施工

1地下结构防水设计概况

工程地下室防水等级为一级,地下室底板及外墙为结构自防水,防水混凝土抗渗等级为S8,其外部做3mm+3mm 厚SBS 改性沥青(聚酯胎)防水卷材,外墙外侧部位防水层外侧粘贴50 厚聚苯板保护层。

本工程地下水位高,防水施工面积较大,质量要求较高,采取的防水措施较多。在施工中,应严格执行施工管理质量检查和验收工作,并着重作好节点部位的处理。

 

地下结构防水设计概况

 

2准备工作

2.1 根据施工图纸,编制更有针对性的施工方案,明确特殊节点的防水做法和质量保证措施。

2.2 材料、机具准备

主要防水材料和施工机具:3mm SBS 防水卷材,冷底子油、环氧树脂胶、外贴式止水带、钢板止水带、灰砂砖、砂子、P.O.32.5 级水泥、白灰、喷灯、压辊等。

防水材料根据工程进度分批进场,并附有产品质量认证书,卷材出厂合格证,材质证明书,质量检测报告,进场后必须按要求抽样做外观检查和性能检验,验收合格后方可施工。

2.3 优选专业防水公司,操作工人必须持证上岗。

 

3底板防水施工

3.1 工艺流程

灌注桩头防水处理防水保护墙抹灰、基层处理刷冷底子油弹线附加层粘贴第一道卷材铺贴接头等处的修补检查、隐检第二道卷材铺贴隐检细石混凝土保护层施工

3.2 技术要点

3.2.1 桩头处理:

首先对桩头混凝土虚弱层进行剔凿,在临近承台底标高时,应小心剔凿,使桩头高于承台底70mm(底板钢筋保护层厚度),并保证桩顶边部剔出直径约30mm 的圆角。垫层混凝土在施工至桩附近时,在桩头区域预留距桩边400mm 的矩形凹坑,然后进行底板防水卷材施工,卷材铺贴至桩边;在桩头露出部分喷DPS 水泥结晶体防水材料,在桩钢筋根部包裹球形膨胀止水条。再将桩头上抹聚合物水泥砂浆,桩头部分防水施工完毕,参见下图。

桩头防水处理

3.2.2 防水保护墙表面用20mm 厚1:2.5 水泥砂浆抹平压光,基层阴阳角处均做成圆弧,圆弧半径为50mm,遇突起物铲除干净,表面必须平整光滑,无松动裂缝、空鼓、凹坑、起砂、掉灰等缺陷。基层必须干燥,含水率<9%。

3.2.3 在清理好的基层表面,将卷材粘结剂加入有机稀释剂稀释,搅拌均匀,用长把滚刷均匀涂布两遍于基层上,常温经过4h 后,开始铺贴卷材。3.2.4 防水附加层铺贴:穿墙管根、阴阳角,底板防水保护墙转角处及与底板相交处均用3mm 厚SBS 卷材做防水附加层,防水附加层采用热熔满粘法施工,附加卷材铺贴时要先铺平面,再铺立面,宽度为500mm,

转角两边各250mm。阴阳角防水附加层作法见下图。

3.2.5 底板后浇带防水处理:底板设置后浇带,后浇带下空铺一层3mm 厚SBS 防水卷材作为附加层,两侧各伸过后浇带500mm,见下图。

3.3 铺贴方法

3.3.1 防水卷材采用热熔法铺贴,先铺3mm 厚底层卷材,后铺3mm 厚面层。底板垫层上采用条粘法,外防内贴法按照先贴平面,后贴立面的顺序。

3.3.2 铺贴前,各施工区段按照统一的方向在底板上弹线,尽量减少接茬处理。

3.3.3 卷材铺贴时,长短边的搭接长度不应小于100mm。卷材应铺平压实,与基面、及各层卷材之间必须粘结紧密。

3.3.4 立面与平面的转角处,接缝应留设在平面上,距立面不应小于600mm,见下图。卷材的接缝必须粘贴严密,接缝口应材性相容的密封材料封严,宽度不应小于10mm。

3.3.5 上下两层卷材100%热熔铺贴,方向不得相互垂直铺贴,且上下层卷材和相临卷材的接缝应错开1/3~1/2 幅宽。

3.3.6 滚铺卷材时接缝部位必须溢出热熔胶,并应随即刮封接口使接缝粘接牢固,防止张嘴翘边,造成渗漏隐患。

3.3.7 底板防水层应甩出地下室外墙防水层的接头,接头的节点见下图。

3.3.8 卷材铺贴完成,并经监理验收合格后,应按设计要求,及时做好保护层。

底板及外墙防水节点

3.4 防水保护层

保护层为40 mm 厚C20 细石混凝土,按照6m×6m 留设分隔缝,缝宽20mm,浇筑混凝土时不得损坏卷材防水层,否则,要及时用卷材接缝胶粘补一块卷材修补牢固,保护层的标高应严格控制。

 

4地下室外墙及顶板防水

4.1 工艺流程:

基层处理刷冷底子油弹线阴阳角、管口附加层内贴第二层留槎与外贴第一层接槎从下往上铺贴验收第一层防水内贴第一层与外贴第二层接槎从下往上铺贴封边验收

4.2 地下室的穿墙螺栓孔用干硬性1:2.5 水泥砂浆内掺微膨胀剂的水泥砂浆填充捣实,并与墙表面抹平,外墙面形成的温度裂缝用环氧树脂胶对裂缝进行封堵。

4.3 墙面混凝土的流痕应剔除铲平,施工缝的接茬处混凝土高低不平者应将疏松的石子剔除,用1:2.5 水泥砂浆打面使其顺平,用刷子及烧碱将油污、浮尘清除干净,要求基层坚硬,无空鼓、起砂、裂缝、凹凸不平等缺陷。

4.4 外墙后浇带:采用在后浇带处外墙外侧砌筑水泥砂浆砖墙,面层采用1:2.5 水泥沙浆抹光,铺贴防水卷材附加层,见下图。

墙体后浇带节点示意图

4.5 穿墙管周围用防水卷材环状附加带,穿墙管道防水做法详见下图。

柔性穿墙管道防水节点图

4.6 拆除原底板防水保护墙中用白灰砂浆所砌筑的砖,墙面满刷冷底子油两道,不得漏刷露白,待冷底子油彻底干燥后,方可铺贴防水卷材。

4.7 先铺贴底层3mm 厚卷材,验收合格后铺贴第二层卷材,采用满粘法,粘合率应大于80%,先铺贴各阴阳角,再向大面展开。

4.8 铺贴时,先从接茬下方自下而上铺贴卷材,再将底板外侧预留防水层粘在上部,搭接方法具体见图。

4.9 卷材长边搭接100mm,短边搭接150mm,两层卷材之间全部热熔法粘接,上下层顺铺,禁止互相垂直铺贴,上下卷材间搭接均错开1/3~1/2 幅宽。

4.10 卷材粘接热融后立即滚铺,用钢辊压平,滚压时应排除卷材下面的空气,不得有皱折、翘边和封口不严现象,粘结牢固,接缝熔焊粘结后再用火焰及抹子在接缝边缘上均匀地加热抹压一遍,并有明显沥青条。

4.11 防水保护层:外墙防水卷材粘贴完成,外侧粘贴50 厚聚苯板防水保护层。

 

5质量保证措施

5.1 所使用的防水材料必须符合规范(GB50108-2001)和设计要求。

5.2 找平层原材料和配合比必须符合设计要求和施工及验收规范的规定。水泥砂浆找平层施工后要及时养护,防止找平层早期脱水;铺贴防水卷材时,找平层含水率必须控制在9%以内。

5.3 做好现场技术交底,坚持样板制度,样板验收合格后方可展开大面积施工。防水卷材铺贴方向和搭接顺序、搭接宽度、粘结方法,均应符合规范规定。

5.4 坚持三检制度,每道工序完成后必须经项目经理部 和监理验收合格后方可进行下道工序施工。地下防水工程施工必须达到国标《地下工程防水技术规程》(GB50108-2001)要求。

5.5 为压紧和保护外墙防水层在建筑物使用过程中不受损伤,建议在外侧3mmSBS 上先抹水泥砂浆10-20mm 厚,再用砖砌240 厚保护墙,保护墙与防水层之间的空隙应随时用砌筑砂浆填充。外墙防水保护墙应在转角处和每隔5-6m 的地方断开,并在断开的缝中用3mm 厚SBS 卷材条或沥青麻丝填塞。

5.6 各施工缝钢板止水带、外贴止水带安放位置准确、牢固,防止浇筑混凝土时止水带移位。

5.7 所有穿管、套管、预埋件、固定装置等,必须采用预埋方法,禁止凿洞后补。

 

6成品保护措施

6.1 已做好的卷材防水层要加强成品保护,及时采取措施,不得损伤破坏。

6.2 施工时注意各种工具、器具和重物等,避免划伤砸伤卷材,不允许穿钉掌鞋和带泥砂硬底鞋施工。

6.3 找平层施工完毕,未达到一定强度时不得上人踩踏。

6.4 各区段接茬和施工预留的接茬应保护好,必要时,用木板进行铺盖,防止践踏损伤卷材。铺贴好的卷材防水层,严禁在防水层上进行施工作业和运输,并及时做防水层的保护层。

 

5、主体结构钢筋混凝土工程

1混凝土结构工程概况

1.1 混凝土结构概述及特征

工程结构类型为框架剪力墙体系、钢网架结构,塔楼檐高159m,地上30 层,地下2 层,采用筏型桩基础。

1.1.1 结构材料

1. 混凝土

混凝土必须符合GB50010-2002 内的要求及其它现行国家规范要求,结构构件混凝土强度等级不小于C30,所有混凝土均采用商品混凝土。超过40mm 厚的钢筋保护层,应布置钢丝网片。

混凝土保护层厚度(mm)

 

 

一类环境

 

二类(a)环境

钢筋

楼板、墙

基础、地下室外墙,屋顶

纵筋

15

25

35

50

箍筋,分布筋

10

15

15

50

2. 钢筋

钢筋材料(国产)应符合中国规范GB1499、GB13013 的相关要求,钢筋HPB235 强度标准值=235N/mm2, 钢筋HRB335 强度标准值=335N/mm2,钢筋HRB400 强度标准值=400N/mm2

3. 型钢

型钢材料符合钢结构设计规范GB50017-2003。

4. 机械连接器

连接器的使用必须遵照制造商说明书的要求及指示,各种类型的钢筋连接器必须按相关规范、规程要求进行强度的试验,试验后方可使用。

1.1.2 混凝土强度等级

 

 

部位

楼层

混凝土强度等级

酒店大楼

B2-F13

C60

 

F14-屋顶

C50

C40

B2-F13

C60

F14-屋顶

C50

筒体

B2-F13

C60

F14-屋顶

C50

C40

其它 地下部分

基础、挡土墙、梁、板 墙、柱 剧院柱

C40

墙、柱

C50

剧院柱

C60

裙楼结构

录音室

柱、梁,墙、板

C40

剧院

梁板

C40

C60

舞台及后台

柱、梁,墙、板

C40

钢筋锚固

 

混凝土强度

等级

C30

C40

钢筋类型

锚固长度

La

LaE

La

LaE

HPB235

24d

27d

20d

23d

HRB335

d25

29d

34d

25d

28d

d>25

32d

37d

27d

31d

HRB400

d25

35d

41d

29d

34d

d>25

39d

45d

32d

37d

注:

1) La为不考虑地震作用组合时的构件的受拉钢筋的最小锚固长度。

2) LaE为考虑地震作用组合时抗震等级为一级、二级的构件的受拉钢筋的最小锚固长度。

3) 抗震等级为三级的构件的受拉钢筋的最小锚固长度LaE =1.05La。

4) 在任何情况下,受拉钢筋的锚固长度应不小于250mm。

5) HPB235级钢筋端部应另加弯钩。

6) 混凝土强度等级高于C40的,按照C40取值。

1.1.4 钢筋接头

1. 以下部位的钢筋,应优先采用机械连接:

基础底板,桩筏板的主筋;剪力墙暗柱范围内的纵筋;直径大于22mm的剪力墙分布筋。

2. 接头位置

受力钢筋的接头位置应设在受力较小处,接头应相互错开,当采用搭接接头时,从任一接头中心至1.3倍搭接长度的区段范围内,(或当采用机械及焊接接头时在任一接头中心至长度为钢筋直径35倍且不小于500mm的区段范围内)有接头的受力钢筋截面面积占受力钢筋总截面面积的百分率应符合下表规定:

接头型式

受拉区

受压区

绑扎搭接接头

25

50

机械或焊接接头

50

不受限制

受拉钢筋绑扎接头的最小搭接长度

 

混凝土强度

等级

 

C30

 

C40

钢筋类型

锚固长度

L1

L1E

L1

L1E

HPB235

33d

38d

28d

32d

HRB335

d25

41d

47d

34d

40d

d>25

45d

52d

38d

43d

HRB400

d25

49d

57d

41d

47d

d>25

54d

62d

45d

52d

表中数据为:纵向钢筋搭接接头面积百分率50%时的搭接长度当纵向钢筋接头面积百分率25%时,搭接长度可按表中数值的0.85倍取用。

注:

(1) L1为不考虑地震作用组合时的构件的受拉钢筋的最小搭接长度。

(2) L1E为考虑地震作用组合时抗震等级为一级、二级的构件的受拉钢筋的最小搭接长度。

(3) 抗震等级为三级的构件的受拉钢筋的最小搭接长度L1E =L1。

(4) 在任何情况下,受拉钢筋的搭接长度应不小于300mm。

1.1.5 其它要求

1. 在所有的挡土结构中,应采取防水施工。防水添加剂和涂层的详图提交业主代表审批。

2. 根据规范GB50010-2002,填充采用大体积混凝土等级不应低于C10。

3. 未经业主代表批准不允许焊接钢筋。

1.2 混凝土结构工程特点及施工难点

1.2.1 工程檐高159m,超高结构混凝土的泵送及施工将是结构施工管理的重点、难点。

1.2.2 基础底板、地下室外墙等构件截面较大,应重点做好大体积混凝土施工中的温度及裂缝控制。

1.2.3 地下结构防水要求高,基础底板及地下室外墙为抗渗混凝土。抗渗混凝土施工是

本工程结构施工的又一重点、难点。

1.2.4 结构构件配筋多、钢筋密集(包括钢骨混凝土柱),施工中重点做好混凝土的浇筑、振捣,确保混凝土的密实。

1.3 施工流程

1.3.1 地下结构施工流程:

 

 

 

1.3.2 地上结构施工流程:

 

 

 

 

 

 

 

 

 

 

2钢筋工程

钢筋工程的施工质量对于结构工程质量关系很大,因此施工中强调过程控制,对钢筋分项施工进行全工序监督和全面检查,控制的重点在于锚固、接头、抗震规定、钢筋位置、保护层、审图把关等方面。

2.1 施工管理重点

2.1.1 本工程钢筋量大,钢筋的加工量在一定的时间内非常大,现场内设置钢筋加工场,地下结构阶段部分钢筋场外加工,地上结构阶段所有钢筋场内集中加工。

2.1.2 结构主次梁截面大,数量多,梁内钢筋排列将非常紧密,钢筋的下料长度和加工尺寸的准确性将是影响施工速度和质量的关键环节之一。

2.1.3 钢筋规格、型号、品种繁多,钢筋的加工制作、领料使用要建立严格的管理制度,避免混用错用。

2.1.4 结构部分构件为型钢混凝土组合结构,包括钢骨混凝土柱、梁,压型钢板组合楼板。

2.1.5 结构中构造节点多,施工复杂,主要包括变截面楼板、变截面梁、结构开洞以及钢骨混凝土柱与混凝土梁连接等。

2.2 钢筋贮运及施工方法

2.2.1 钢筋进场

钢筋采用热轧I 级光圆钢筋、级螺纹钢筋及级螺纹钢筋,所有钢材均使用本投标人合格分供方名录中名牌大厂的产品。每批钢筋进场前必须审查材质证明,经过外观、力学试验复检合格并申报监理认可后方可开始加工、使用。

2.2.2 钢筋的贮存运输

考虑到整个工程体量较大,根据工程进度计划及现场实际情况将加工成型的钢筋分期、分批运抵施工现场。拟建工程周边设专用钢筋堆放场,场地平整、铺设垫木,防止钢筋变形;成型钢筋按规格、使用部位等整齐码放,挂牌标识,做到整洁清楚,一目了然。

钢筋水平运输采用平板拖车或汽车,垂直运输采用塔吊。长钢筋吊运时,应进行试吊以确定吊点,防止吊点距离过大,钢筋产生变形。

2.2.3 钢筋加工

为保证合理下料,提高钢筋成材率,从而降低成本、加快施工速度,全部钢筋加工、成型集中进行。地下结构阶段,由于场地限制,所有钢筋在场外加工;地上结构施工阶段,钢筋在现场内集中加工。

项目经理部 提出钢筋加工计划,要求加工人员严格按配料尺寸和工艺要求进行下料和成型,以保证钢筋半成品的工程质量。

2.2.4 钢筋连接

直径≥Φ22 的钢筋采用直螺纹连接;钢筋直径<Φ22 的钢筋接头采用绑扎搭接。

2.2.5 垫块选择

墙、柱、梁侧面、楼板保护层采用塑料卡和塑料垫块,对于桩承台、底板、框架梁底等必须承受钢筋自重的位置采用混凝土垫块。

塑料垫块示意图

基础底板、楼板、框架梁底等必须承受钢筋自重的位置,采用现场制作同配比保护层混凝土垫块。混凝土垫块的厚度等于保护层的厚度,垫块尺寸:当保护层厚度20mm时为30×30mm,保护层厚度>20mm时为50×50mm。

2.3 钢筋加工

2.3.1 加工工艺流程

 

 

2.3.2 钢筋除锈

钢筋生锈或粘上油泥等污物,要用钢丝刷进行人工除锈、去污。在除锈过程中,如发现锈斑现象严重并已损伤钢筋截面,或除锈后发现钢筋表面有严重的麻坑、斑点、伤蚀截面时,禁止使用。

2.3.3 钢筋调直

HPB235 级钢筋采用冷拉方法进行调直,冷拉率控制在4%以内(负温时相同)。粗钢筋局部弯曲可采用机械方法调直,禁止损伤钢筋。

2.3.4 钢筋切断

应按照钢筋料表上的钢筋级别、直径、外形、下料长度,将同规格钢筋根据不同长度进行长短搭配,统筹排料,先断长料后断短料,以尽量减少短头,减少损耗, 并禁止用短尺量长料,可在工作台上加尺寸刻度并加设控制断料尺寸用的卡板,特别应注意机械连接的接头,应将钢筋端头的热轧弯头切除,并保证钢筋端头平直、圆整,无斜口、椭圆口、马蹄口。

2.3.5 钢筋弯钩和弯折应符合下列规定

HPB235 级钢筋末端作180°弯钩,弯弧内径不应小于钢筋直径的2.5 倍,弯后平直长度不应小于钢筋直径的3 倍;

HRB335 级、HRB400 级受力钢筋末端作135°弯钩时,弯弧内径不应小于钢筋直径的4 倍,平直长度符合设计要求;

钢筋做90 度弯折时,弯弧内径不应小于钢筋直径的5 倍;

除焊接封闭环式箍筋外,箍筋的末端均应做弯钩,弯折角度为135°,弯后平直段不应小于钢筋直径的10 倍。

2.3.6 钢筋暂时码放

加工好的钢筋应分类码放整齐,并用方木支垫,支垫高度不应小于30cm。

2.3.7 钢筋加工允许偏差

钢筋加工允许偏差

允许偏差(mm

受力钢筋顺长度方向全长的净尺寸

±10

弯起钢筋的弯折位置

±10

箍筋外包尺寸

±5

2.4 钢筋直螺纹连接

工程主体结构中所有钢筋,直径<Φ22 的钢筋接头采用绑扎搭接,直径≥Φ22 的钢筋采用直螺纹连接。

钢筋等强直螺纹连接示意

2.4.1 材料要求

1. 钢筋

钢筋的级别、直径必须符合设计要求及现行国家标准《钢筋混凝土用热轧带肋钢筋》GB1499及《钢筋混凝土用余热处理钢筋》GB1304 的要求,有出厂质量证明及进场复试报告。

2. 连接套筒

有明显的规格标记,一端孔用密封盖扣紧;进场时有产品合格证;外形尺寸符合相关规定;中径尺寸检验:止塞规旋入深度3 倍螺距,通塞规应能全部塞入;连接套筒分类包装存放。

2.4.2 主要机具

钢筋套丝机、止环规、通环规、丝头卡板、止塞规、通塞规、工作扳手等。

2.4.3 工艺流程

 

 

 

 

2.4.4 钢筋下料

钢筋应调直后下料,宜采用切割机,不得用气割下料。钢筋下料时,要求钢筋端面与钢筋轴线垂直,端头不得弯曲,不得出现马蹄形。

2.4.5 钢筋套丝

钢筋丝头加工时,应采用水溶性切削液,当气温低于0时,应掺入15~20%亚硝酸钠。

严禁用机油作切削液或不加切削液加工丝头。

钢筋丝头的牙形、螺距必须与连接套的牙形、螺距相吻合,有效丝扣内的秃牙部分累计长度小于一扣周长的1/2。

检查合格的丝头加以保护,在其一端头加带塑料保护帽,另一端拧上连接套,按规格分类堆放整齐待用。

2.4.6 接头工艺试验

钢筋连接工程开始前及施工过程中,应对每批进场钢筋进行接头工艺检验,工艺检验应符合下列要求:

1. 每种规格钢筋的接头试件不应少于3 根;

2. 对接头试件的钢筋母材应进行抗拉强度试验;

3. 三根接头试件的抗拉强度均应满足现行国家标准《钢筋机械连接通用技术规程》的规定。

2.4.7 钢筋连接

连接套筒规格与钢筋规格必须一致。连接前检查钢筋螺纹及连接套螺纹是否完好无损,发现有质量缺陷的应退回重加工, 质量合格方可使用。

将带有连接套筒的钢筋拧到待接钢筋上,按操作规程用扳手拧紧接头。在钢筋连接过程中,钢筋外露丝扣不得超过1 个完整扣,如发现外露丝扣超过1 个完整扣,要重拧或查找原因及时消除,不能消除时找技术人员处理。

采用预埋接头时,连接套的位置、规格和数量应符合设计要求。带连接套筒的钢筋应固定牢,连接套筒的外露端应有保护盖。连接完好的接头立即用油漆做上标记,防止漏拧。

2.4.8 质量检查

1. 外观质量检查

直螺纹加工长度必须满足技术要求,螺纹应饱满,无秃牙、断牙缺陷,表面光洁,牙形、螺距必须与连接套一致,且用配套的牙形规检测合格。

螺纹自检合格后,按每种规格加工批量的10%抽检,且不少于10 个,并填写直螺纹加工检测记录。

如有一个丝头不合格应对加工批全数检查,不合格丝头应重新加工再次检测合格后方可使用。

2. 单向拉伸试验

同一施工条件下采用同一批材料的同等级、同型式、同规格的接头,以500 个为一个验收批进行检验和验收,不足500 个的为一个验收批。对每一验收批接头,必须做3 个试件进行试验,并按单向拉伸强度的检验指标判定是否合格。当每个试件单向拉伸试验均符合强度的要求时,该验收批判为合格。如有一个试件的强度不合格,应再取6 个试件进行复检,复检中有一个试件试验结果不合格,则此验收批判为不合格。

在现场连续检验10 个验收批,当其全部单向拉伸试件均一次抽样合格时,每验收批接头数量可扩大为1000 个。

2.4.9 成品保护

注意对连接套和已套丝钢筋丝扣的保护,不得损坏丝扣,丝扣上不得粘有水泥浆等污物。

2.4.10 应注意的问题

钢筋在套丝前,必须对钢筋规格及外观质量进行检查。如发现钢筋端头弯曲,必须先进行调直处理。钢筋套丝前,应根据钢筋直径先调好套丝机定位尺寸的位置,并按照钢筋规格配以相对应的滚丝轮。

对个别经检验不合格的接头,可采用电弧焊贴角焊缝方法补焊,但其焊缝高度和厚度应由施工、设计、监理人员共同确定。

2.5 桩承台、底板钢筋绑扎

钢筋全部在现场集中加工,直径≥Φ22 钢筋接头采用直螺纹连接。桩承台钢筋、底板下层钢筋采用混凝土垫块,侧边钢筋优先采用塑料垫块,上层钢筋采用钢筋(型钢)马凳支撑。

钢筋接头位置、同一截面接头数量、搭接长度等要满足设计及施工规范的要求。

2.5.1 工艺流程

 

 

 

 

 

 

 

 

 

 

 

 

 

 

2.5.2 操作要点

1. 防水保护层混凝土达到强度值后,在防水保护层上按图纸弹线,要求弹出柱、墙边线、桩承台边线、中线和集水坑、电梯井坑的轮廓线,并将墙体孔洞位置测放在防水保护层上并做出明显标记。

2. 钢筋绑扎顺序:先绑扎桩承台、集水坑及电梯井坑内的钢筋,然后再绑扎筏板基础下铁及上铁钢筋,最后是墙柱插筋及预埋件安装。钢筋绑扎方向:顺流水段施工方向。

3. 在垫层上划出桩承台钢筋分档标记,然后依据该标记摆放桩承台钢筋。纵横钢筋用绑扎丝逐点绑扎牢固;钢筋垫块设在承台钢筋的交叉点上,梅花形布置。

4. 绑扎钢筋时,靠近外围两行的相交点,全部扎牢,中间部分的相交点梅花型绑扎,必须保证受力钢筋不位移,对于双向受力的钢筋必须全部扎牢,不得跳扣绑扎。

5. 根据测量人员弹好的墙、柱位置线进行预埋插筋墙、柱主筋插铁伸入基础深度、型号、规格、数量、间距要符合设计要求,并绑扎牢固,位置准确无误,为了保证柱子插筋位置的正确,上部分绑扎二道箍筋,四周用钢筋临时斜撑固定。

6. 对于墙体暗柱、墙体插筋,底板内部绑扎两道与墙插筋相同的水平筋固定预埋插筋,上部绑扎两道水平筋固定预埋插筋,确保位置准确。

7. 钢筋支撑:底板下层钢筋采用混凝土垫块,呈梅花形布置,纵横间距不大于600mm;基础底板厚度为700mm、1500mm、2000mm、2500mm 不等,厚度1m 的底板上层钢筋采用φ25钢筋焊制的支脚支撑,1000mm×1000mm 梅花形布置;厚度大于1m 以上的底板采用型钢支架支撑(型钢型号L50×5)。

支架要有足够的刚度以支撑底板上层钢筋及施工荷载,支腿不得接触防水保护层,其下要设置钢垫块。底板上层支撑示意图见下图:

 

 

2.6 墙体钢筋绑扎

本工程剪力墙厚度为250700mm 不等,配筋类型复杂。剪力墙厚度及配筋情况见下图所。

2.6.1 施工顺序

 

 

 

 

 

 

2.6.2 操作要点

1. 在混凝土板上弹出墙身及门窗洞口位置线,再次校正预留钢筋。如有移位时,按规定认真处理。

2. 墙体钢筋直径22mm 采用直螺纹连接,直径<22mm 钢筋采用绑扎搭接,每根钢筋的接头相互错开,同截面的接头率不应大于50%。

3. 绑扎钢筋时,先绑2-4 根竖筋,并画好横筋分档标志,然后在下部及齐胸处两根横筋定位,并画好竖筋分档标志。先绑横筋后竖筋,横筋在外,竖筋在内。绑扎墙竖向受力钢筋时,要吊正后再绑扣,绑扣时钢筋交叉点必须全部扎牢,凡是搭接处要绑扎三个扣,以免不牢固发生变形,绑扎铅丝必须朝内。

4. 绑扎墙体钢筋时,水平筋拉通线,竖筋吊垂线,必须做到横平竖直。

5. 墙体钢筋定位靠钢筋定距框(见图所示),可以保证所有墙主筋间距准确全部到位,保证保护层完全正确。

6. 墙体保护层厚度通过采用垫块及定距框来控制柱钢筋的保护层的厚度,以达到设计和规范要求,见下图:

墙体钢筋保护层厚度控制

专用塑料垫块

7. 墙体钢筋保护层采用标准塑料垫块,垫块使用前必须经过认真挑选,分规格存放,做好标识,注明规格及使用部位,绑扎时要逐一检查,确保绑扎牢固。塑料垫块呈梅花状,间距为600mm×600mm。

2.7 柱钢筋绑扎

2.7.1 工艺流程

 

 

 

 

 

 

 

2.7.2 操作要点

1. 框架柱接头形式采用直螺纹连接,每根钢筋的接头要相互错开,同截面的接头率不应大于50%。

2. 在框架柱的主筋连接之前,按图纸要求间距计算好每根柱箍筋数量,先将柱箍筋套在下层伸出的搭接筋上,然后立柱子竖向钢筋,在搭接长度内绑扣不少于3 个,绑扣要向柱中心,主筋连接完毕后,在主筋上标注分档线将箍筋就位绑扎。

3. 钢筋必须绑扎到位,并保证保护层厚度尺寸,在框架柱钢筋绑扎过程中,采用定位箍进行四次定位。框架柱的定位箍及柱筋间距控制见图。

1) 浇筑柱子混凝土前,在柱模上口,套上固定钢筋框,进行第一次定位,此框在混凝土浇筑完后取下。

2) 在浇筑梁板混凝土前,在梁板内上铁处用粗铁丝将短钢筋头与梁、柱主筋绑牢,以此对柱主筋进行第二次定位,此短钢筋浇筑在混凝土内。

3) 在梁板上方约500mm 处,再用钢筋框对柱筋进行第三次定位。

4) 在板上放线后,检查每根柱筋,若有位移应按1:6 比例进行调整到位,即第四次定位。

2.7.4 为避免浇筑柱子、梁板混凝土时,柱筋被污染,浇筑柱子、梁板混凝土前,分两次在柱顶及梁板面标高以上10mm 处用塑料布包扎柱筋,高度500mm。

柱筋间距控制示意图

 

2.8 梁钢筋绑扎

2.8.1 施工顺序

 

 

 

 

1. 梁高大于1.2m 时采用模内绑扎,其工艺流程:

在底模上划出箍筋位置线主梁箍筋就位穿主梁主筋次梁箍筋就位穿次梁主筋箍筋与主筋绑扎

2. 梁高不大于1.2m 时采用模外绑扎(先在梁模板上口绑扎成型后再入模内),其工艺

流程:在主梁模板上口铺横杆数根在横杆上面放箍筋穿次梁下层钢筋穿主梁上层钢筋穿次梁上层纵筋按箍筋间距绑扎抽出横杆落骨架于模板内

2.8.2 操作要点

本工程梁钢筋密集,特别是梁柱和变截面节点处施工难度大,为确保工程质量,采取放大样加工梁筋(例如下图),以保证钢筋的位置准确。

框架梁不等高时的主筋锚固构造

典型框架梁平面错位时主筋锚固构造

梁筋在绑扎时,接头位置、错开、伸入中间节点的锚固长度及伸过中心线的长度均应符合设计和规范要求,并应特别注意节点钢筋的安装顺序。

当梁内钢筋需分层设置时,采用与主筋同规格且大于Ф25 的钢筋做分隔钢筋,见下图。

多层钢筋分隔示意图

绑扎箍筋时,绑梁上部纵向筋的箍筋宜用套扣法绑扎,箍筋弯钩叠合处,在梁中交错绑扎,箍筋弯钩为135º,平直长度为10d,如做成封闭箍时,单面焊缝长度为10d,梁端第一个箍筋设置在距离柱节点边缘50mm,梁端与柱交接处箍筋加密,其间距及加密区长度均要符合设计和规范要求。

梁上开洞加筋应按照图纸要求放样准确,并及时标示在现场,防止遗漏后补,加筋大样见下图。

典型梁开洞加固配筋

2.9 楼板钢筋绑扎

2.9.1 工艺流程

 

 

 

 

 

 

 

2.9.2 操作要点

1. 楼板模板支好后,在顶板上按图纸间距要求弹出楼板钢筋纵横向位置线。绑扎主次梁钢筋,并入模就位。

2. 清理模板上面的杂物,用粉笔在模板上划出主筋,分布筋间距。按划好的间距,摆放受力主筋、后放分布筋。预埋件、电线管、预留洞等及时配合安装。在现浇板中有板带梁时,应先绑扎板带梁钢筋,再摆放板钢筋。

3. 绑扎钢筋时,采用顺扣或八字扣,除外围两个筋的相交点应全部绑扎外,其余各点可交错绑扎(双向板相交点须全部绑扎)。在绑扎楼板上网钢筋的同时架设φ12 通长钢筋焊制,间距不超过1000mm,支腿间距不超过600mm 的钢筋马凳。负弯矩钢筋每个相交点均要绑扎。板下层筋垫块采用水泥砂浆垫块,纵横间距不超过800mm,呈梅花状布置。

4. 楼板钢筋绑扎时应防止水电管线将钢筋抬起或压下。钢筋绑扎成型后搭设人行走道,防止直接在钢筋上面行走造成板筋塌陷,并派专人负责随混凝土浇筑随检修。

5. 部分楼板不等高,需严格按照设计及相关规范构造要求进行钢筋绑扎。如下图:

6. 楼板上预留洞加筋按照设计要求及时绑扎到位,如图所示。-

典型楼板开洞加固钢筋(一)

典型楼板开洞加固钢筋(二)

2.10 楼梯钢筋绑扎

2.10.1 工艺流程

 

 

 

 

2.10.2 操作要点

在楼梯底模上划主筋和分布筋的位置线。根据设计图纸中主筋、分布筋的方向,先绑扎主筋后绑扎分布筋,每个相交点均应绑扎。如有楼梯梁时,先绑扎梁后绑板筋,板筋锚固在梁内。

2.11 绑扎质量控制

2.11.1 钢筋位置、保护层控制

1. 本工程所有钢筋必须绑扎到位,且保证保护层厚度准确,施工时从放线开始检查,从审图放样开始计算,楼梯间暗柱处钢筋密集,钢筋绑扎时必须首先保证柱子立筋位置再安排横向筋位置,同时钢筋绑扎过程中,梁、柱、墙均需采用钢筋定位框确定钢筋位置。

2. 钢筋的最小混凝土保护层厚度做如下规定(单位:mm)

钢筋

一类环境

二类环境(a

楼板、墙

基础、地下室外墙,屋顶

纵筋

15

25

35

50

箍筋、分布筋

10

15

15

50

2.11.2 接头位置、搭接和锚固长度控制

1. 钢筋的接头位置必须保证同一截面的接头数量要求,否则对长短不一的接头位置进行调整。

2. 钢筋的搭接长度和锚固长度必须满足设计和施工规范的最小长度要求。

2.11.3 钢筋骨架质量检查

钢筋绑扎分项工程允许偏差

序号

允许偏差(mm 国家标准 企业标准

1

板钢筋网间距

±20

±15

2

柱、梁箍筋外包尺寸

±5

±4

3

柱、梁主筋

间距

±10

±8

排距

±5

±4

4

柱、梁箍筋间距

±20

±15

5

基础底板马凳铁高度

 

±5

6

受力钢筋保护层

基础

±10

±8

梁柱

±5

±4

墙板

±3

±3

钢筋绑扎完毕后严格按照规范中有关钢筋工程施工质量标准的列项进行检查,实行质量三检制,检查标准为企业标准,该标准高于国家标准。

 

3模板工程

模板是本工程施工的关键,尤其对于清水混凝土,使用优质的模板材料、先进的模板体系、合理的支撑方式方能保证清水混凝土质量,实现业主的质量要求。

模板必须具有足够的强度、刚度,以保证结构构件的几何尺寸准确、断面均匀,结构造型准确。模板表面平整光洁,模板的接缝必须严密,不允许漏浆,拆模后无色差。加固模板的所有体系必须安全、可靠。模板工程必须从施工放线、选型、设计、制作、安装、浇筑过程控制和模板成品保护全过程采取有效的措施加以控制,确保质量目标的实现。

3.1 模板工程施工安排

3.1.1 依据结构形式和工程特点,结合总体施工部署,模板工程施工的总体原则为:

1) 质量第一:结构普通混凝土应达到北京市结构长城杯标准。

2) 技术先进:积极推广使用先进的模板施工工艺,对成熟模板方法进行优化,深入研究,不断创新。

3) 安全可靠:强化细部设计,确保模板及支撑体系安全可靠。

4) 经济合理:尽量选用质优价廉的模板材料,充分考虑模板可周转性及后续工程的再利用。

3.1.2 在现场设木工加工棚和模板拼装场地,分别配备模板加工设备。模板加工在场内进行,部分构件需场外加工完成。

3.1.3 模板垂直、水平运输使用现场塔吊就位,人工配合。

3.1.4 模板的周转原则上分区按照流水段进行。

3.2 模板选型与配置

根据不同结构构件的特点,结构施工中采用不同的模板体系。地下外墙采用多层木模板,柱子采用定型钢模板,顶板使用多层木模板,核心筒使用定型钢模板。非结构混凝土饰面主要以维萨板为模板面板,以保证混凝土的饰面效果。清水混凝土饰面及模板详见本章第六节。

混凝土结构模板选型

 

混凝土表面 等级

模板

模板配置方案

适用部位

配置 等级

投标方案

1

F1 级表面

F1

直线段 墙体

面板为15mm 厚多层板,竖肋为15cm 高的铝梁,横肋为双10 号槽钢。

普通结构

弧线段 墙体

采用可调木模板,面板为15mm 厚多层板,50×100mm 方木作竖肋,可调紧缩器背肋。

普通结构

核心筒

核心筒剪力墙采用定型钢模板。

普通结构

门窗洞口

采用定型木模板:模板整体用木方制作,采用多层板面板,四角用角钢封闭。

普通结构

梁、板

梁、楼板模板采用12mm 厚多层板;50×100 m m100×100 mm 木楞, 支撑采用顶板支撑采用TLC 插卡型模板早拆体系。

普通结构

采用定型钢模板。

普通结构

楼梯

踏步采用木模板,楼梯底模采用12mm 多层板,碗扣脚手架支撑。

普通结构

后浇带

后浇带处采用快易收口网做模板,钢筋和方木做支撑。

 

 

混凝土表面 等级

模板

模板配置方案

适用部位

配置 等级

投标方案

 

2

F2级表面

 

F2

直线段 墙体

板面采用15 mm 维萨板,竖肋为15cm 高的铝梁,横肋为双10 号槽钢。

 

清水混凝

土饰面

 

门窗洞口

小洞口用15mm 维萨板模板,角钢龙骨。圆钢加螺丝套筒支撑;大的洞口用15 mm维萨板模板,角钢龙骨。钢管加柱头支撑。

 

清水混凝

土饰面

 

梁、板

15mm 维萨板模板, 50×

100 mm100×100 mm 木楞,支撑采用顶板支撑采用TLC插卡型模板早拆体系。

 

清水混凝

土饰面

 

定型钢模板,内衬9mm 维萨板模板,维萨板模板用胶粘贴在钢模板上。

 

定型钢模板,内衬3mm玻璃钢模板,钢模板为

两块组拼,玻璃钢模板

为整张。

清水混凝土饰面

楼梯

底板和踏步模板为15mm 维萨板模板,方木龙骨。碗扣脚手架支撑。

 

清水混凝

土饰面

 

后浇带

后浇带处采用快易收口网做模板,钢筋和方木做支撑。

 

 

3.3 墙体模板

本工程墙体主要为地下室外墙、裙房部分剪力墙。地下室外墙厚度为1000mm,地下车道部分墙体为弧形墙体。为了达到较好的混凝土浇筑效果,采用重量轻、吊装方便、混凝土成型效果好的木模板。

3.3.1 直线墙体模板设计和制作。

1. 模板构造

直线墙体模板面板为15mm 厚多层板,竖肋为15cm 高的铝梁,横肋为双10 号槽钢。用定型的可调支架作为支撑系统,整装整拆,具有模板布置灵活、混凝土表面质量好、施工简便快速等特点。

外墙模板如下图,其中:为模板吊钩;15mm 厚多层板;③④为铝梁竖肋;为双槽钢背楞;横肋与竖肋的连接扣件;为端头护板。

直线墙体模板构造示意图

2. 角模

角模为定型角模板,板面为15mm 厚多层板,竖肋为方钢和角钢,与面板之间的连接为螺丝。见下图。-

角模示意图

3. 面板与竖肋之间用螺丝连接,螺丝从面板背面进入木多层板内,竖肋与槽钢之间用螺栓连接,见下图。

木模板接缝示意图

4. 内墙使用M16 的对拉螺栓,在对拉螺栓上套φ20mm 的塑料管,在塑料管两端与模板接触处分别套塑料帽,在塑料帽外加海棉止水垫,确保混凝土不漏浆。

5. 木模板面板之间的接缝,地下部分普通模板的面板之间为硬拼缝。清水模板为:先在面板的侧面刷两遍封边漆,在接缝处刷两遍玻璃胶。

6. 模板与模板之间的接缝。地下普通模板做法为:在模板接缝之间加自密型海棉条,海棉条离板面1-2mm,不出板面。在板缝后加50x100mm 方木,方木后加螺栓连接,模板后的通长横肋槽钢通过模板之间的接缝。

7. 外墙模板加固使用对拉三节鞭螺栓,中间带有止水片,见下图。

8. 地下车库部分墙体高度约为8.6m,墙体施工时模板分两次支设。第二次支设时,在第一次浇筑的墙体顶部用无齿锯切出一条通线,在通线上贴模板放一通长的塑料条,拆模后在墙上留有一通长装饰小槽,如下图。模板施工时,用钢管架搭设操作架,第二步模板施工时,梁板支撑架在搭设到同第一步墙体高度作为第二步墙体模板的支撑平台。

墙体水平接缝支模示意图

3.3.2 直线墙体模板施工

1. 按照模板构造图加工模板,组织质量、技术严格按照其要求进行验收模板。验收合格的模板按配模图进行编号,背靠背成75º 存放。

2. 找准模板控制线,按模板编号用塔吊进行安装就位。

3. 模板吊装前用废橡胶片把模板的四边保护起来,防止在安装、运输工程中碰撞和损坏。

4. 木模板与木模板之间放好橡胶条,拉水平通线,调整模板进行清缝,边调整边上水平背肋。

5. 角模板与大模板相连接时,水平槽钢背肋必须深入角模背后,顶到另一侧模板背后。

6. 一侧模板组装完成后,安装对拉螺栓,墙体钢筋妨碍螺栓孔时适当调整钢筋位置。严禁在现场对模板进行开孔,安装事先组装好的塑料套管。安装另一侧模板。用钢管做模板支撑。

7. 调整模板垂直度,把外露在模板背面的橡胶条用小圆钉固定。

8. 紧固对拉螺栓、模板之间的连接螺栓。检查所有模板垂直度、平整度和接缝。

9. 模板安装前用钢管搭设操作架,模板边安装边用钢管架稳定。

3.3.3 弧形墙体模板设计

1. 弧形墙采用可调弧形木模板,面板为15mm 厚多层板,50×100mm 方木作竖向背肋,后设弧形调节支座和双10 号槽钢作横背肋。斜撑采用φ60 可调支撑,斜撑支座与地面通过预埋件连接,见下图:

弧形墙模板支设示意图

2. 弧形可调木模板,模板与模板之间采用螺栓连接,两面模板之间用M16 可拆式穿墙螺栓连接。模板其他具体构造同直线墙体模板,模板安装时,按照模板配置平面图对每块模板进行编号,模板按照编号顺序进行安装就位。弧形模板装配效果见下图。

弧形模板装配效果图(未含主背楞和斜撑)

3.4 柱模板

本工程柱截面规格多,尺寸变化大,混凝土柱拟选用定型组合式钢制模板。部分柱模板根据截面尺寸采用可变截面,以满足不同截面的施工。

由于结构空间高,在本工程中柱子高度多为4m 左右,为保证框架柱的垂直度及稳定性,将采取有效措施进行加固及支撑。局部柱子超高,将采用分段支模浇筑。

模板用带锥度式穿墙螺栓,模板螺栓安装时可直接采用穿墙螺栓,不但方便取出,而且为施工节约大量塑料套管的费用投入,降低工程成本。

柱模的拉杆或斜撑:如果柱截面过大,为避免过多孔洞,不能采用过多的穿墙螺栓。可在柱模每边设2 根拉杆,固定于事先预埋在大放脚或楼板内的插筋或预埋钢筋环上,用吊线坠和拉通线的方法控制垂直度,用花篮螺栓调节校正模板的垂直度,拉杆与地面夹角不大于45°

在模板加固尤其是混凝土浇筑过程中,采用经纬仪进行垂直度监测控制,如发生偏差立即进行调整,确保柱垂直度满足要求。

柱垂直度控制

3.5 梁、顶板模板

3.5.1 梁模板及支撑

1. 梁模板面板采用12mm 厚多层板,50×100mm 木方做肋,间距不大于200mm;弧形梁的模板制作、安装时,预先将底模加工成设计要求的形状,梁侧模及木肋弯曲成相应弧度,以满足施工要求。当梁侧模支承刚度不够时, 需加设1~2 道ф16 对拉杆。

2. 梁柱接头模板采用12mm 厚多层板和50×100mm 木肋制作,与梁、顶板模衔接紧密,并作到相对独立,便于拆模。加工数量根据施工需要与梁板模对应,至少满足一层需要,尽量作周转使用。节点模应拆卸方便,能满足多次重复使用, 并保证梁柱接头混凝土整体效果。

3. 支撑采用TLC 插卡型模板早拆体系,梁高小于800 mm 支撑立杆间距为1000 mm;梁高1000 mm 时,支撑立杆间距800 mm。

4. 所有梁(板)的模板均应按规定起拱。跨位于支承之间时,中心处上拱度为0.1%跨度;悬臂梁(板),自由端上拱度为0.4%跨度。

3.5.2 顶板模板及支撑

顶板模板方案:支撑体系+木龙骨+多层板。顶板模板面层全部采用12mm 厚多层板,墙板接头处采用40×40 角钢加贴海绵条以防漏浆。模板次楞采用50×100mm 木方、间距400mm,主楞采用100×100 mm 木方、间距不大于1200mm。

顶板模板体系

顶板支撑采用TLC 插卡型模板早拆体系。支撑立杆间距根据混凝土板厚确定,当楼板厚度100~150 mm 时,为不大于1200 mm;当楼板厚度200~250 mm 时,为不大于1000 mm;当楼板厚度300mm 以上时,为不大于800 mm。

3.5.3 梁柱节点模板

梁柱节点模板、主次梁交接处模板设计及安装质量是框架结构梁柱节点施工质量的直接表现。本工程不同类型的梁柱节点形式,将通过精心设计,制作专用节点模板,并通过变化其高度尺寸以调节不同层高柱子的模板安装。梁柱节点采用12mm 多层板配制成工具式专用模板,与柱、梁模配套安装。

3.6 核心筒模板

核心筒剪力墙采用定型钢模板,板面采用钢板,四角为铰型专为脱模用角模,每边正中间加用铰接的调节模板,模板为整体吊装,拆装模板只需调整四周螺栓。

在安装模板前,除备好应用的材料和工具外,对作业条件做好准备,对筒体的钢筋、墙内的水电设备以及埋件都要办好隐检手续,并弹好模板控制线。模板安装时,先内模后外模,用塔吊将大模板吊运就位。

3.7 楼梯模板

楼梯踏板模板采用木模板,底模采用12mm 厚多层板。先支设平台模板,再支设楼梯底模板,然后支设楼梯外帮侧模,外帮侧模应先在其内侧弹出楼梯底板厚度线,侧板位置线,钉好固定踏步侧模的档板,在现场装钉侧板(支模详见下图)。

3.8 墙体洞口模板

3.8.1 门窗洞口模板采用50mm 厚烘干白松板拼装,转角采用定型夹具配螺栓调节拆装,木板外表面贴12mm 厚多层板,自攻螺丝紧固。模板内侧水平支撑、斜撑均采用50×100mm 或100×100mm 方木,在窗下口开200×200mm 浇筑孔,防止产生气泡影响外观,如下图所示。

预留洞模板组拼图

3.8.2 对于部分超大超厚墙体预留洞口模板可采用钢管架进行内部顶撑,如下图所示。

超大预留洞口模板支撑示意图

3.8.3 超大洞口模板安装时,先拼装后用钢管支撑。

3.9 积水坑模板

3.9.1 在集水坑底板上铁上绑扎铅丝网两层,并保证上部钢筋的保护层厚度。根据集水

坑的尺寸将铅丝网每间隔450mm 剪出φ70mm 洞,便于混凝土振捣,边侧的振捣洞距集水坑边

侧不小于300mm。然后在铅丝网上绑扎一排Φ20@250 钢筋,防止在浇筑混凝土时铅丝网上浮。

3.9.2 将集水坑的侧模按照集水坑位置线支设,侧模面板为15mm 多层板,背肋为50×

100mm 方木,横撑和斜撑为钢管固定集水坑侧模,并保证集水坑侧模的垂直度。在支撑杆件上放配重,防止模板上浮,集水坑模板支设见下图。

集水坑模板安装示意图

3.10 后浇带模板方案

3.10.1 模板选择

底板及楼板后浇带处采用快易收口网做模板,钢筋和方木做支撑。

快易收口网是一种由薄形热浸镀锌钢板为原料,经过加工,成为有单向U 型密肋骨架和单向立体网格的永久性模板,其力学性能优良,自重轻,与混凝土粘接紧密,不影响混凝土的强度和防水效果。避免了后浇带内拆模、凿毛的困难,见下图。

后浇带快易收口网模板支设示意图

楼板采用快易收口网做模板,见下图。

3.10.2 地下室外墙后浇带

地下室外墙后浇带处利用水泥砂浆砌筑砖墙做墙体后浇带外侧的永久性模板,做法详见下图。

地下室外墙后浇带模板支设

3.10.3 顶板(梁)后浇带

顶板(梁)后浇带施工采用12mm 厚多层板,方木及钢管脚手架支撑,顶板后浇带模板细部做法详见下图。-


 

顶板(梁)后浇带支模方法

3.11 模板质量控制

3.11.1 模板及其支架必须具有足够的强度、刚度和稳定性。模板支承部分应有足够的支承面积。

3.11.2 使用自然风干的方木,含水率不得大于18%,木龙骨使用前必须压刨,保证规格一致、平整,平直度控制在1/1000 以内。

3.11.3 螺栓孔的排布应纵横对称,有一定的规律性和装饰性,受力均匀。并得到建筑师和工程师认可。

3.11.4 模板面板的分割,必须有一定的规律,尽量使用整板制作模板,模板接缝必须水平、垂直。有一定的装饰性。

3.11.5 模板裁板必须使用80 齿以上的合金锯片,使用带导轨的锯边机;不规则的几何形状,使用转速不低于4000 转/分钟的高速手提电锯。整个木模板的加工和安装,按照细木工活的工艺标准执行和验收。

3.11.6 模板裁切、打孔后必须用专用封边漆封闭切口,以防模板吸水变形。所有龙骨与面板之间的连接为反向钉钉。

3.11.7 模板表面涂刷脱模剂,须在立模前将模板表面的隔离剂擦掉,不得有流坠。选用加入表面活化剂的脱模剂,不影响混凝土最终成型效果和颜色,在使用前必须得到建筑师和工程师的认可。

3.11.8 板上钉钉、打孔时必须在板下垫木方,谨防悬空造成背面出现劈裂。模板使用时防止金属锐角划伤、碰伤、摔伤,确保模板表面质量。

3.11.9 模板施工过程中必须做好模板的保护工作,吊装模板必须轻起轻放,严禁碰撞。

3.11.10 当梁跨度大于4m 时,梁按1/1000mm 起拱,楼板随梁。悬臂梁自由端上拱4/1000mm。

3.11.11 拆模后应立即用较宽的刮刀彻底清除模板表面,刷好脱模剂,以利周转使用,并放于干燥处保存。

3.11.12 在各方面积极采取有效的工艺技术和组织管理措施,建立健全各项质量、技术管理制度,完善各级管理人员的岗位责任制。

3.11.13 各参施队伍,应组织有关人员进行培训,达到充分了解设计意图、结构类型特点和模架设计总体思路。并在此基础上搞好各单位所承担施工任务区域的施组及方法的编审工作,做到施组、方法,交底齐全,及时合理并且有针对性和实用性。

3.11.14 对施工队采取俺工种定人、定岗、定质量的三定措施,并针对工程的实际情况进行工前培训。

3.11.15 模板从加工制作到安装,建立模板验收程序管理规定,各施工队必须严格遵照执行,每一道工序都要安排专人进行检查,签认验收结果,如发现存在质量问题,任何人不得放行,专职质量员应对每一道工序的质量把关,对最终的质量负责。

3.11.16 模板安装和预埋件、预留孔洞的允许偏差见下表。

预留孔洞的允许偏差

项目

允许偏差()

检查方法

墙板柱轴线位移

3

尺量

±3

用水准仪或拉线和尺量

墙柱梁截面尺寸

-5+4

尺量

每层垂直度

3

2m 托线板

木龙骨平整度、平直度

1/2000

2m 靠尺和塞尺检查

两块模板之间的拼缝

小于0.5

塞尺

相邻模板面的高低差

0

2m 靠尺和塞尺检查

组装模板板面平整度

2

2m 靠尺和塞尺检查

组装模板两对角线长度差值

2.0

尺量

表面平整度

2

2m 靠尺和塞尺检查

预埋钢板中心线位移

3

尺量

预埋管预留孔中心线位移

3

尺量

3.11.17 提前进行样板段的施工,并得到建筑师和工程师的许可后,方能进行大面施工。

 

 

4混凝土工程

4.1 混凝土工程特点及难点

4.1.1 本工程基础底板厚度1500 mm、2500 mm,局部700 mm、2000 mm,地下外墙厚1000mm,

部分梁、柱截面较大。因此,大体积混凝土温度、裂缝控制是工程施工的重点与难点,超高超厚的梁和剪力墙混凝土模板的设计和支撑的设计是确保混凝土工程质量的关键。

4.1.2 整个工程混凝土施工量大,混凝土强度等级主要为C40-C60 范围内,种类繁多,基础底板、超高超厚梁、墙体的单体构件浇筑较大,所以商品混凝土供应需周密组织安排。

4.1.3 施工中合理划分施工段,优化混凝土配合比,科学地留设后浇带将有效控制干缩裂缝。

4.1.4 对于厚大构件(底板、厚墙、大截面柱、梁等)需采取分层浇筑施工,处理好施工缝是确保其整体性的关键环节。

4.2 商品混凝土的选择及运输

4.2.1 商品混凝土的选择

为确保商品混凝土的质量,本工程将选用具有一级资质且具有相应生产规模、技术实力和具有可靠质量保证能力且能提供良好服务的混凝土供应商三家(备用一家),以保证混凝土的质量稳定、供料及时,满足现场混凝土连续浇筑的要求,确保浇筑过程中不出现冷缝。

施工过程中应严格控制其坍落度、配合比水灰比以及相关资料,施工前与搅拌站办理好合同,提出相关的技术要求,并应考虑预防混凝土碱集料反应的技术措施。

4.2.2 混凝土的运输

混凝土的运输应根据施工要求和运输距离, 配备相应数量的搅拌运输车, 尽量缩短混凝土运输及等待的时间, 减少坍落度损失。夏季高温炎热天气, 应加强运输过程中搅拌和温度控制, 防止混凝土早凝。

1. 混凝土的运输采用混凝土罐车运至现场,所有车辆进行编号。

2. 混凝土拌合物自出机到浇筑完毕时间控制在初凝时间内,并保证浇筑作业面前后覆盖搭接符合规范要求,不出现冷缝

3. 现场调度与混凝土搅拌站调度随时保持联系,确保混凝土供应速度。

4. 混凝土出场前和入模前均需检查验收。

5. 现场试验人员和质检人员严格控制到场混凝土质量,并认真核对和保存混凝土小票。

6. 检查混凝土组成材料的质量,每一工作班至少一次。

7. 检查混凝土在拌制地点及浇筑地点的坍落度每一工作班至少两次。

8. 在每一工作班内,如原材料由于其他原因有变化时,要及时调整混凝土配合比

9. 混凝土运输至现场后,混凝土采用地泵泵送加布料杆,塔吊配合。

4.3 混凝土泵送

混凝土泵的选型、配管设计应根据工程和施工场地特点、混凝土浇筑方案、要求的最大输送距离,最大输出量及混凝土浇筑计划参照《混凝土泵送施工技术规程》(JGJ/T10-95)确定。

4.3.1 混凝土泵的布置

混凝土泵设置处应场地平整、坚实,道路畅通,供料方便,距离浇筑地点近,便于配管,具有重车行走条件;

混凝土泵送应尽可能靠近浇筑地点。在使用布料杆的工作范围内,尽量少移动泵车即能完成浇筑

多台混凝土泵或泵车同时浇筑时,选定的位置要使其各自承担的浇筑量接近,最好能同时浇筑完毕,避免留置施工缝;

接近排水设施和供水、供电方便。在混凝土泵的作业范围内,不得有高压线等障碍物;

在混凝土泵的作业范围内,不得有阻碍物、高压电线,同时要有防范高空坠物的设施;

混凝土泵的转移运输时要注意安全要求,应符合产品说明及有关标准的规定。

4.3.2 混凝土输送管的固定

水平管宜每隔一定距离用支架、台垫、吊具等固定,以方便排除堵管、装拆和清洗管道;

垂直管宜用预埋件固定在墙和柱或楼板预留孔处,在墙壁及柱上每节管不得少于1 个固定点,在每层楼板预留孔处均应固定;

垂直管下端的弯管,不应作为上部管道的支撑点,宜设钢支撑承受垂直管重量;

管道接头卡箍处不得漏浆;

炎热季节施工时,要在混凝土输送管上遮盖湿罩布或湿草袋,以避免阳光照射,同时每隔一定的时间洒水湿润;

严寒季节施工时,混凝土输送管道应用保温材料包裹。以防止管内混凝土受冻,并保证混凝土的入模温度;

混凝土搅拌运输车给混凝土泵喂料时,应符合下列要求:

向泵喂料前,应中、高速旋转拌筒2030s,使混凝土拌合物均匀,当拌筒停稳后,方可反转卸料;

卸料应配合泵送均匀进行,且应使混凝土保持在集料斗内高度标志线以上;

当遇特殊情况中断喂料作业时,应使拌筒保持慢速拌合混凝土;

混凝土泵的进料斗上,应安置网筛并设专人监视喂料,以防粒径过大的骨料或杂物进入混凝土泵造成堵塞;

混凝土搅拌运输车喂料完毕后,应及时清洗拌筒及溜槽等,并排尽积水。喂料作业应由本车驾驶员完成,严禁非驾驶人员操作。

4.3.3 混凝土的泵送

混凝土泵的操作应严格执行使用说明书有关规定。同时应根据使用说明书制订专门操作要点。操作人员必须经过专门培训后,方可上岗操作。

混凝土泵送施工现场,应有统一指挥和调度,以保证顺利施工。

泵送施工时,应规定联络信号和配备通讯设备,可采用有线或无线通讯设备等进行混凝土泵、搅拌运输车和搅拌站与浇筑地点之间的通讯联络。

在配制泵送混凝土布料设备时,应根据工程特点、施工工艺、布料要求等来选择布料设备。

在布置布料设备时,应根据结构平面尺寸、配管情况等考虑,要求布料设备应能覆盖整个结构平面,并能均匀、迅速地进行布料。设备应牢固、稳定、且不影响其他工序的正常操作。

泵送混凝土时,泵机必须放置在坚固平整的地面上。在安置混凝土泵时,应根据要求将其支腿完全伸出,并插好安全销。在场地软弱时采取措施在支腿下垫枕木等,以防混凝土泵的移动或倾翻。

混凝土泵与输送管连通后,应按所用混凝土泵使用说明书的规定进行全面检查,符合要求后方能开机进行空运转。若气温较低,空洞运时间应长些,要求液压油的温度升至15以上时才能投料泵送。

混凝土泵启动后,应先泵送适量水(约10L)以湿润混凝土泵的料斗、活塞及输送管的内壁等直接与混凝土接触部位。润泵及管使用的水和砂浆,严禁排入浇筑面内,泵送时,混凝土泵应处于慢速,匀速并随时可能反泵的状态。泵送的速度应先慢,后加速。同时,应观察混凝土泵的压力和各系统的工作情况,待各系统运转顺利,方可以正常速度进行泵送。混凝土泵送应连续进行。如必须中断时,其中断时不得超过搅拌至浇筑完毕所允许的延续时间。

泵送混凝土时,混凝土泵的活塞应尽可能保持在最大行程运转。混凝土泵的水箱或活塞清洗室中应经常保持充满水。

经泵送水检查,确认混凝土泵和输送管中无杂物后,宜采用混凝土内除粗骨料外的其他成分相同配合比的水泥砂浆润滑混凝土泵和输送管内壁。

施工缝搭接用水泥砂浆应分散分料,不得集中浇筑在同一处。

泵送混凝土时,如输送管内吸入了空气,应立即反泵吸出混凝土至斗中重新搅拌,排出空气后再泵。

在混凝土泵送过程中,若需接长3m 以上(含3m)的输送管时,仍应预先用水或水泥砂浆,进行湿润和润滑内壁。不得把拆下的输送管内的混凝土撒落在未浇筑的地方。

当混凝土泵出现压力升高且不稳定、油压升高、输送管明显振动等现象而泵送困难时,不得强行泵送,并应立即查明原因,采取措施排除。可先用木槌敲击输送管弯管、锥形管等部位,并进行慢速泵或反泵,防止堵塞。混凝土泵送应连续进行。如是有计划中断,应先预先确定的中断浇筑部分,停止泵送,且中断时间不宜超过1h。

混凝土泵送即将结束前,应准确计算尚需用的混凝土数量,并及时告知混凝土搅拌处。废弃的混凝土和泵送终止时多余的混凝土,应按预先确定的处理方法和场所,及时进行妥善处理。泵送完毕,应将混凝土泵和输送管清洗干净。清洗混凝土泵时,布料设备的出口应朝安全方向,以防废浆高速飞出伤人。

4.4 高性能混凝土控制措施

根据**电视台B 标段工程要求使用年限为100 年的规定,本投标人将充分运用科学、合理的方法在施工上高标准、严要求。遵循不断进步、不断创新的奥运理念,保证本工程混凝土达到质量均匀、体积稳定、耐久、满足设计强度的目标。

 

 

 

 

 

 

 

 

 

 

 

 

 

 

高性能混凝土控制流程

4.4.1 原材料的管理:保持原材料的质量稳定是保证混凝土质量的重要条件。本投标人将要求商品混凝土厂家提供所用原材料厂家、定品牌,严格执行各种原材料的标准。本项目混凝土工程中的水泥由同一厂家提供,其质量须满足相关标准。

4.4.2 混凝土的试配:由有技术实力的高水平试验室提供技术支持,根据设计要求和试验结果,合理确定施工配合比。在原材料有变化及季节变化时,要及时调整配合比。

4.5 混凝土浇筑和振捣

4.5.1 本工程混凝土场内运输主要采用泵送方式,有利于混凝土的大量连续浇筑。本投标人在委托试配时,将根据混凝土泵的设备情况和构件尺寸、钢筋最小间距等条件提出对混凝土中骨料最大粒径的要求,以免浇筑时混凝土堵塞。

4.5.2 高性能混凝土因自身流动性较高,易于流动和密实,因此不需强力振捣,可选用低频振捣器。

4.5.3 墙体混凝土浇筑和振捣:混凝土下料点要分散布置,浇筑混凝土要连续进行,间隔时间不应超过2h。

墙体内部振捣器插入深度

4.5.4 框架柱混凝土浇筑和振捣:施工时采用泵送混凝土,为保证混凝土连续浇筑,要求在技术和生产组织上保证混凝土供应、输送和浇筑的各环节效率协调一致,保证泵送工作连续进行。

模板的检查:由于混凝土泵送施工浇筑速度快,混凝土拌合物对模板的侧压力大 ,模板和支撑必须有足够的强度、刚度和稳定性,满足施工要求。

钢筋的检查:检查结构钢筋骨架绑扎是否正确。由于是隐蔽工程,在浇筑混凝土之前要进行自检验收,并由监理签字验收。

柱高度较大时,浇筑混凝土必须用串桶或溜槽。在模板设计时,考虑沿模板高度设置2~3 个振捣孔,以便插入振捣器操作,保证柱混凝土振捣密实。振捣要均匀,每层振捣时振捣棒要插入下层混凝土,振捣棒插入下层混凝土的深度不小于50mm。不得振捣钢筋和模板,振捣棒与模板的距离不大于其作用半径的0.5 倍,且应避免碰撞钢筋、模板、预埋件等。

混凝土下料点要分散布置,浇筑混凝土要连续进行,三班连续作业,间隔时间不应超过2小时。每层接茬处混凝土要加强振捣,以达到接茬严密,落地的混凝土要及时清理。

混凝土拆模后及时喷水养护,浇水次数以保持混凝土具有湿润状态为佳。

4.5.5 梁、顶板混凝土浇筑和振捣:

1. 在专用钢筋马凳上铺脚手板作为浇筑马道,以防钢筋被踩变形。

2. 梁板同时浇筑,浇筑的方法由一端开始下灰,振捣手密切配合,用赶浆法保持混凝土沿梁底向前推进,根据梁高分层浇筑,当达到板底部位后与板一起浇筑。

3. 标高控制:水准仪抄平,用红色胶带纸粘贴或用红铅笔标志在墙柱钢筋上,拉线控制,刮杠找平标高。

4. 振捣采用振捣棒和平板振捣器相配合,振捣器快插慢拨,插点均匀。

5. 梁柱节点钢筋较密,用Φ30 的小振动棒振捣,并准备一些小钢钎人工辅助振捣。

6. 为了提高顶板混凝土表面观感,在顶板混凝土最后一遍压光时,用特制毛刷将混凝土表面沿同一方向刷出顺纹。顶板浇筑时,采用3m 长铝合金杠刮平,初凝时加强二次压面。

顶板混凝土找平

4.5.6 楼梯混凝土浇筑和振捣:楼梯间平台板与楼梯一般钢筋较细,故不得踩踏,不得碰撞预埋件和各种管线,以免发生位移,进行混凝土浇筑时应自下而上,先振实平台板及楼梯板混凝土,达到踏步位置时再与踏步混凝土一起浇筑,连续向上推进,并随时用木抹子将表面抹平。楼梯施工缝留置在上跑楼梯梁的一半和休息平台的1/3-1/2 处。

楼梯处施工缝留置

4.5.7 后浇带施工:后浇带浇筑前应将混凝土断面清理干净,剔出松散混凝土。后浇缝侧面均匀涂刷纯水泥浆一遍。混凝土搅拌后尽快浇筑,以减少混凝土坍落度,注意浇筑温度不宜超过35,对于接缝处仔细振捣、以求密实,待1~2h 后进行抹压收光,防止沉降裂缝出现,终凝后即进行养护,养护不少于7d。

4.6 特殊部位混凝土的浇筑

4.6.1 洞口下混凝土浇筑

由于洞口两侧有暗柱且钢筋较密,振动棒无法插入。为保证混凝土振捣密实,洞下口上表面模板最后在混凝土浇筑至洞下口时进行封闭。下料时应从洞口两侧同时下料,并用振动棒从窗洞口下插入进行分层振捣,并用小锤敲击模板,根据模板外侧所弹窗口下口线检查饱和度,直至浆满为止(可在洞口下侧模板上表面钻2 个10mm 的小孔进行排气和检查)。

4.6.2 洞口侧混凝土浇筑

较大的预留洞、预埋管以及门窗洞口两侧部位浇筑混凝土时,要对称下料,振捣棒从两侧斜插振捣,不得从一侧赶浆浇筑,以防造成洞口偏位。

4.6.3 梁板柱节点混凝土浇筑

根据图纸设计要求,梁板柱接头处混凝土强度级差不大于一级或级差为二级且四周有纵横向框架梁的部位,柱混凝土可与梁板混凝土一起浇筑;混凝土强度级差等于二级且无纵横向交叉梁的及强度级差大于二级的部位的柱混凝土必须与梁板混凝土分开浇筑。浇筑时,先浇筑柱头混凝土,然后浇筑梁板混凝土,在不同强度等级混凝土交接处可利用临时双层铅丝网支挡柱子,梁板混凝土要循回浇筑,梁板与柱混凝土浇筑时间差控制在柱混凝土初凝之前(一般控制在2 小时以内),以使不同等级混凝土之间不出现冷缝。

4.6.4 施工缝处理

浇筑混凝土前,将混凝土凿毛,剔除表面松散的混凝土及浮浆,至密实处,用水冲洗干净,并保持湿润后方可浇筑新的混凝土。施工缝处必须待已浇筑混凝土的抗压强度不小于1.2MPa 时,才允许继续浇筑。墙柱水平施工缝处混凝土浇筑时,混凝土浇筑时先浇50 mm 厚与待浇筑的混凝土同配合比的水泥砂浆,然后继续浇筑混凝土,应细致操作加强振捣,使新旧混凝土紧密结合。

4.7 大体积混凝土施工

本工程基础底板、地下室外墙、结构混凝土柱等部位存在大量的大体积混凝土,其中底板大体积混凝土厚度1500~2500mm,地下室外墙1000mm。大体积混凝土施工控制重点:原材料及配比控制、掺和料及外加剂控制、浇筑方法的选择、温度监测、裂缝控制以及大体积混凝土的养护等。

大体积混凝土施工方案详见本篇第三章。

4.8 地下室防水混凝土防止碱集料反应

基础底板、地下室外墙、地下室顶板覆土以下部位混凝土处于潮湿环境,按照京建科1999-230 号文关于预防混凝土工程碱集料反应技术管理规定和设计要求,在施工中采取措施防止混凝土的碱集料反应,混凝土碱含量必须满足《混凝土碱含量限制标准》CECS53:93 中的要求。

4.8.1 混凝土碱集料反应研究

1. 混凝土碱集料反应,是由于来自水泥、外加剂和环境中的碱金属离子与砂石集料中活性组成部分发生化学反应,在混凝土过渡区界面生成白色凝结物质,这种物质与水接触或处于潮湿环境中吸水膨胀,从而造成混凝土结构从内部开始膨胀。碱集料反应已成为混凝土工程的一大潜在危害。

2. 碱集料反应发生一般来讲有三个必要条件:

1) 混凝土中具备相当数量的碱活性集料;

2) 混凝土中具备相当数量的碱(Na2O、K2O);

3) 混凝土工程使用环境为直接与水接触或具备足够的湿度。

3. 碱集料反应的主要抑制措施

针对本工程的结构特点和混凝土发生碱集料反应的三个必要条件研究,要解决混凝土碱集料反应,重点在选择适用的低碱水泥及混凝土外加剂、砂石料、粉煤灰等,通过试验确定配合比,并采用相应的技术措施,预防碱集料反应的发生,满足混凝土强度、防裂抗渗要求,保证混凝土安全,延长结构使用寿命。

本工程地下结构要求商品混凝土厂家所用水泥、砂石、外加剂、掺合料等材料,必须具有市技术监督局核定的法定检测单位出具的《碱含量和集料活性检测报告》,无检测报告的材料搅拌混凝土禁止使用。

4.8.2 具体控制措施

1. 碱活性集料

本工程根据以前本投标人施工工程的调查,京津塘一带集料多为碱活性集料。而东郊潮白河水系和北郊温榆河水系卵石膨胀率<0.1%,属非活性集料。细集料中龙凤山中砂、潮白河中砂,为惰性集料,本投标人曾对这几个产区的砂石碱活性检验结果,都不存在潜在危害。施工拟选用这几个产区的混凝土骨料。

2. 水泥

本工程混凝土用量大,水泥用量多。基础底板混凝土为大体积混凝土工程,从降低水化热、减少裂缝的角度考虑采用42.5 和52.5 号矿渣水泥最好,但北京地区的42.5 和52.5 水泥均为非低碱水泥。水化热的控制可以通过掺粉煤灰和改善浇筑工艺来控制。

3. 粉煤灰

1) 国内外大量试验和工程实践表明,在含有碱活性集料的混凝土中掺加火山灰质掺合料可明显抑制碱集料反应。我国最常用、经济的火山灰质掺合料为粉煤灰。

2) 因为掺粉煤灰可取代部分水泥、降低水泥用量,从而减少混凝土中碱的最大来源;同时,由于粉煤灰中碱溶出率低,溶出率不到0.1%,这样粉煤灰引入的碱量微乎其微。另外,粉煤灰有较大的比表面,可以吸附碱金属离子,从而降低混凝土孔隙中碱的浓度,起抑制碱集料反应的作用。

3) 粉煤灰的三种效应均能提高混凝土的密实性。

形态效应:粉煤灰的铝硅酸盐玻璃微珠,可填充水泥浆体孔隙,提高密实性,减少干缩。活性效应:粉煤灰中SiO2、AL2O3 与水泥、石灰的水化物反应生成水化硅酸钙和水化铝酸钙,与石膏反应生成水化硫铝酸钙,降低了混凝土的孔隙率,改善了孔结构,且可提高混凝土的密实性。

微集料效应:粉煤灰中微细颗粒分布于水泥颗粒之间,有利于混合物的水化反应,增加混凝土的密实性。

4. 掺加低碱混凝土外加剂

低碱UEA 混凝土膨胀剂作为本工程首选外加剂,要求产品既能达到限制的膨胀率,含碱量较低,又能保持体积稳定性。

5. 采用补偿收缩混凝土技术

补偿收缩混凝土的特点是抗渗力强,掺UEA 膨胀剂能减少孔隙率40%以上,改善混凝土孔结构,有效隔绝水分侵入及碱进入混凝土内部,同时降低混凝土中水分及碱金属离子扩散速度,起抑制碱集料反应的作用。

4.8.3 技术资料对质量的保证

在施工过程中要求资料员与工程同步、齐全,包括由设计、施工、材料、监理各单位共同签订的技术责任合同、预防混凝土碱集料反应的技术措施、混凝土所用各项材料的检测报告和混凝土配合比、混凝土强度试验报告及混凝土碱含量评估,检查无误后签字留存。

4.9 混凝土的养护

为保证混凝土具有优良的密实性和强度,要求对已浇筑完的混凝土部位尽早保水养护。在本工程中,主要采用洒水养护方式。

4.9.1 从楼外临设水管接入楼内并随楼层接高供水管,配备足够数量的水桶以保证混凝土养护用水的需要。同时安排一定数量的工人专门负责混凝土的养护工作,并在混凝土质量评定时将养护效果作为专项进行监控。

4.9.2 混凝土板浇筑完毕后即用塑料布覆盖,减少终凝前水分的蒸发,终凝后改为浇水养护。浇水养护的时间对于普通硅酸盐混凝土不少于7 天,掺有缓凝剂或有抗渗要求的混凝土不少于14 天。

4.9.3 混凝土墙、柱、梁侧模拆模后,及时覆盖湿麻袋片,外包塑料布,经常检查养护情况。发现缺水及时用喷雾器浇水补给养护,保证塑料布内有凝结水。养护时注意端头处的养护,养护时间同混凝土板。混凝土平面直接用水管浇水养护。

4.10 混凝土成品保护

4.10.1 每次浇筑完混凝土以后,冲洗泵管时将冲洗出的废水用水桶盛装并及时吊离作业面。

4.10.2 混凝土墙、门窗洞口、楼梯的阳角在拆模后及时制作木框护角,防止不慎碰撞缺棱掉角。

4.10.3 楼板混凝土强度必须达到一定强度后,方可上人或堆放材料。

4.11 预制混凝土座位梁

根据招标图纸中相关要求,剧院看台部位座位梁150mm 厚,采用预制施工。-

预制混凝土座位梁(剧院)

4.11.1 预制构件做法

结构中所有预制混凝土构件选择距离本工程较近的构件厂生产,其所用混凝土采用与现场同等配合比、同粒径砂石料、同品牌水泥和掺和料搅拌的混凝土。

预制看台板截面为L 型,厚度150mm,宽度为900(950)mm,长度依据梁跨确定。施工见下图所示:-

预制看台板施工示意图

 

 

 

 

              

后浇板缝1 做法示意图                       后浇板缝2 做法示意图

4.11.2 预制构件支撑

预制构件采用碗扣式脚手架配合定型钢支撑进行顶撑,首先根据准确轴线尺寸,搭设碗扣脚手架,然后将预制构件吊装就位,铺设预制混凝土板,进而进行楼板端部的钢筋绑扎及混凝土浇筑。

4.12 混凝土质量控制

4.12.1 混凝土浇灌前的控制

1. 每车必须挂标识牌,注明混凝土强度等级、抗渗等级、浇筑部位。

2. 每车必须有小票,注明工程名称、浇筑部位、混凝土强度、配合比、外加剂、坍落度、出机时间温度、运输车号等。

3. 混凝土到场后都必须做坍落度抽检。等待时间长的应增加复试一次(禁止往混凝土中直接加水),合格的使用;坍落度不合格必须退回混凝土公司。

4. 对不合格的车次(如小票标注不清、自行涂改、与本车次对不上的),要拍照片或录像,并记录车号、退场时间,并存档。

5. 车辆进场后由工程部门派专人(配带标记)指挥调度,并在小票上加盖名章,记录时间,收集小票。

4.12.2 混凝土裂缝的控制

1. 对于泵送混凝土,水灰比往往由于采取泵送方式,不易达到理想状况,为了加强混凝土的密实度,进一步提高混凝土抗渗、抗裂能力,施工中采用二次振捣,保证上下层混凝土在初凝前结合良好。

2. 混凝土浇筑完成后,在初凝前应采用2m 长刮尺抹压两遍,初凝后、终凝前应再抹压一遍,以防止表面收缩裂缝的产生。

3. 混凝土搅拌、运输、浇筑等过程中任何人不得擅自加水。

4. 加强混凝土养护和保温,控制结构与外界温差控制在允许(25)范围以内。

5. 加强混凝土的养护。

4.12.3 现场试验室的控制

1. 现场试验室须保证混凝土试块的制作、养护条件,有健全的管理制度。

2. 现场试验员必须经培训考核合格后,持证上岗。

3. 混凝土施工前应作技术交底,并应具备冬施混凝土养护条件。

4.12.4 拆模、养护

拆模时间必须以混凝土强度报告为依据,同时还要能保证其表面及棱角不因拆模而受损坏,并履行拆模审批手续,水平构件由工长提出拆模申请,项目总工审批并得到建筑师和工程师的许可后,方可拆除。混凝土养护方式及方法要以混凝土等级、部位及厚度而定,要安排专人定岗工作,质检员监督。

 

5劲性混凝土及覆面金属板楼板

5.1 劲性混凝土施工

本工程地下二层到地上五层柱Z34,地下二层到地上二层柱Z34a,地下二层到地上六层柱Z30、Z31、Z32 均采用钢骨混凝土柱,其截面型式见下图。

5.1.1 劲性混凝土特点

劲性钢混凝土梁柱是在钢筋混凝土框架内配置型钢构成的组合结构。它具有钢结构和混凝土结构的双重优点,与钢结构相比,它节省钢材,增加构件及建筑物的刚度,与混凝土结构相比,它减小截面,减轻重量,增大构件的延性,并具有更高的强度,充分发挥了钢(受拉)和混凝土(受压)两种不同材料的特点。劲性钢混凝土的钢筋及混凝土的施工因其内有钢骨,外又有梁、柱、墙钢筋与其相交,因此与普通结构的钢筋、混凝土施工有所不同。

劲性钢混凝土梁、柱截面示意图

5.1.2 钢筋工程施工

劲性钢混凝土柱要与墙、梁相连形成钢筋混凝土筒体结构,梁、墙中的钢筋在钢柱位置处断开,采用钢筋连接器与钢柱连接,详见下图。

钢骨混凝土柱及混凝土梁典型连接详图(1)

钢骨混凝土柱及混凝土梁典型连接详图(2)

钢筋工程工艺流程为:放线安装钢柱预先套柱箍筋钢柱钢筋连接器连接梁(或墙)水平筋绑扎梁筋接墙竖筋穿墙水平筋绑墙筋接柱竖筋绑扎柱筋验收。

5.1.3 混凝土工程施工

劲性钢混凝土柱的混凝土施工不同于普通混凝土柱,内部的钢柱限制了混凝土的流动,因此投料时要四面下料,分层投料高度在50cm 左右,振捣棒需四面插捣,保证振捣密实,在有拉固钢梁的部位混凝土浇筑时要从工字钢一侧挤向另一侧,保证钢梁底混凝土密实,钢梁两侧混凝土应从梁中间向两边驱赶混凝土,振捣时要始终保持振捣区域内的混凝土厚度,并要注意及时添加新混凝土,使混凝土从梁中沿腹板逐渐向两端延伸、直至梁,同时也可把气泡从两端排出。

对于钢骨与周围钢筋间空隙较小,振捣棒难以振捣的劲性柱子,采用自密实混凝土四面下料,保证劲性柱的浇筑质量。

5.1.4 施工中应注意的问题

1. 钢柱生根的埋件平面位置及标高是钢柱施工的第一个关键环节,要绝对保证其准确,及埋件底混凝土的密实。

2. 钢柱逐节上接,要特别注意清除累计误差,每层要两个垂直方向校核偏差及标高误差,否则对与其相交的墙、梁的横穿钢筋增加难度,造成整体结构的偏差。

3. 在与钢柱相交的墙、梁钢筋的翻样加工中,要考虑穿柱钢筋的接头位置,既要施工方便,又必须符合规范及设计要求。

5.2 混凝土覆面金属板楼板施工

本工程2、3、4、4A 层视听室楼板,4、5 层数码影院楼板,5 层餐厅楼板,地下一夹层厨房楼板,一层存衣处楼板,东侧展览大厅2-5 层,屋顶餐厅,27-31 层楼板,均采用压型钢板组合楼板。

压型钢板组合楼板主要施工程序为在钢梁上铺设压型钢板,绑扎钢筋,再浇筑钢筋混凝土板,压型钢板与钢梁之间用栓钉连接。

5.2.1 原材料要求

1. 钢承板表面干净,无油污泥沙,大面积无明显凹凸和皱折,漆膜应无肉眼可见裂纹、剥落和擦痕等缺陷。其尺寸及偏差应符合GB/T12755-91 的规定。

2. 泛水板、包角板一般应采用和压型金属板相同的材料,其尺寸应满足如下要求。板长±5mm,弯折面宽度±2.0mm。

3. 连接件及密封材料应能满足施工的要求,并采用专业厂家的质量可靠产品。

5.2.2 构造要求

1. 板的长度在运输吊装许可的条件下,尽可能采用较长尺寸的金属压型板以减少接缝,防止渗漏。

2. 栓钉应保证将压型钢板严密连接于钢骨上,自攻钉的位置及铺设应按工程设计图纸,自攻钉所配密封橡胶盖垫必须齐全,拉铆钉外露钉头需涂密封胶。

3. 钢承板的长向搭接两块板均应伸至支撑构件上,搭接长度250mm~200mm。

4. 钢承板现场切割应采用电离子切割机。

5.2.3 施工方案

压型钢板铺设之前,必须认真清扫钢梁顶面的杂物,压型钢板与钢梁顶面的间隙应控制在1mm 以下。

施工安装前应在安装压型钢板的主、次梁上按排版图尺寸弹出搁置线,以便安装的正确。需确认钢结构已完成校正、焊接、检测后方可施工。

铺设时以压型钢板母扣件为基准起始边,依次铺设,压型板按排版图对号铺设,再按顺序确保每块板的宽度,对压型钢板进行安装定位。

收边、边模等收尾工程应依浇捣混凝土进度要求及时完成。

本工程覆面金属板楼板纵向距较小,考虑到施工中作业荷载等因素,压型钢板采用临时支撑内置方法施工,钢主、次梁安装后进行作业。

施工操作人员操作时需穿软底胶鞋,在施工过程中不要在钢板上切割,要及时将钢板上的散落钉头、铁屑等清除干净,以免划伤和生锈。

5.2.4 质量要求及保证措施

1. 质量要求

压型钢板在出厂前应检查其材质、板型、板号(板长)、数量和净重,且必须有出厂产品合格证书。

压型钢板的外观检查应符合下列要求:目测压型钢板长向搭接缝成一直线;压型钢板上应无折裂和未经处理的孔洞等缺陷;验收前的压型钢板上应无施工残留物或污物。

2. 质量保证措施

材料出厂前要认真进行包装,包装时采用同一型号板10-15 块为一组,用彩板做护角,用打包带进行打包。材料运至施工现场,要选择合理场地堆放,避免现场其他作业人员破坏及减少材料二次搬运。

钢承板应尽可能地用人工提升,当采用塔吊运输时,应使用专用吊具,吊点间最大间距不宜大于5m,提升时注意不得损坏钢板。

钢承板根据板型和设计的配板图铺设。

 

6清水混凝土饰面

6.1 清水混凝土饰面概述

清水混凝土工程主要包括非结构混凝土饰面、彩色混凝土等高品质混凝土。混凝土表面应平整,无明显变色或玷污,表面未经允许不得处理,模板内拉筋和维持混凝土保护层分隔件处于正常状态。

彩色混凝土饰面需与设计进一步沟通确定后,选择详细的施工方案。所有清水混凝土饰面施工前,在现场制作样板工程,待设计及业主审批后进行正式工程的施工。

6.2 原材料控制

6.2.1 清水混凝土要颜色一致,则要求所用的材料一致。根据气温情况选择水泥和外加剂,确定入模温度。根据本投标人清水混凝土施工经验,外加剂采用缓凝时间达4~6 小时的H2-1(石家庄产)。缓凝时间要增长一些,主要考虑由于各种故障使混凝土无法连续浇筑时形成结构影响受力和外观工艺的施工缝。而且要有利于提高混凝土的内在质量和外观效果。混凝土应取样试配,按试配的配合比施工,严格控制坍落度。

6.2.2 在混凝土原材料上明确并采取混凝土所使用的原材料应为同厂家、同产地、同品种、同级别、同规格,中途不得变换材料。

1. 水泥选择:采用普硅42.5 水泥。选择主要考虑两个因素,一个是含碱量,另外是混凝土颜色要符合要求。清水装饰混凝土缺乏装饰层的保护,受自然环境影响大,选用低碱水泥可减小碱骨料的危害。不同厂家的水泥颜色不同,经过比较选择了拉法基水泥,标号采用P.O42.5Mpa 普通硅酸盐水泥,含碱量0.47%,最终形成的混凝土颜色为明快的浅银灰色调。并且要求搅拌站在生产过程中,原材料要做到同一厂家、同一品种、同一型号,以确保混凝土颜色一致。

2. 砂、石骨料的选择:砂子为细度模数大于2.5 的中砂,含泥量不大于1%,其通过0.315mm筛孔的量应不少于15%。石子为5~20 粒径,强度高,连续级配良好的碎石,含泥量不大于0.8%,针片状石子的含量不大于2%。两项原材料质量标准均严于国家标准。含泥量大将会影响混凝土的颜色,针片状石子将会影响混凝土的强度,增大水泥浆的包裹面积,影响混凝土的流动性和工作度。泵送混凝土碎石粒径应不大于输送管内径的1/3,卵石则不大于2/5。

3. 矿粉的选择:选用S95 级水淬磨细矿渣,活性指数(28 天)可达107%。目的是减少水泥掺量,从而减小水泥收缩,增加混凝土体积稳定,减少混凝土的干缩裂缝。混凝土表面密实性的提高有利于提高混凝土的耐久性。

4. 外加剂应满足混凝土性能要求,减水剂选择具有早强缓凝性能的高效减水剂:萘系BD-高效减水剂,减水率20%。并与水泥做了相容性实验。

5. 消泡剂的选择:选用脂肪烃类消泡剂,PH 值7~8,是一种乳白色粘稠液体。其作用机理是降低液相的表面张力,使润湿角减小,当润湿角减小到一定程度时,气泡即脱离固体表面的吸附而逸出或破灭。每立方米掺量为6~8ppm。

6. 粉煤灰的选择:选用一级粉煤灰,烧失量小于1%,细度8~12% 。掺入优质粉煤灰可改善混凝土和易性,便于浇筑成型,减少水化热。但是掺量太大将会影响混凝土的颜色,因此应严格控制在一个适当范围内,掺量为13%。

7. 水质必须经过化验,均匀无杂质。

8. 所有材料均进行碱含量检测,混凝土总体碱含量每立方米不超过4kg。

6.2.3 混凝土入模温度必须低于32

6.3 施工准备

6.3.1 先将模板内的杂物清除干净,并检查钢筋的保护层塑料垫块是否垫好。

6.3.2 浇筑部位混凝土水平施工缝处在浇筑混凝土前要在已硬化的混凝土表面上清除浮浆和松动的石子,并于此施工缝上将要浇筑竖向结构混凝土时先铺50mm 与混凝土内成分相同的水泥砂浆,然后再浇筑混凝土。

6.3.3 施工现场设置混凝土试标准恒温恒湿养护箱、混凝土振动台、坍落度筒、混凝土试模等主要试验设备。现场制作的混凝土试块放入混凝土试块标准恒温恒湿养护箱进行养护。

6.3.4 混凝土施工前由混凝土工长对操作班组的操作人员进行混凝土施工的技术交底,交底要讲明关键部位、浇筑分层厚度、振捣方式以及采取控制的方法。预拌混凝土到达施工现场后由技术部门组织混凝土工长、班组工人对混凝土的坍落度和和易性进行鉴定,满足要求才能允许使用。

6.4 模板选择及控制措施

6.4.1 清水混凝土饰面模板选择

本投标人有丰富的鱼水情清水混凝土施工经验,本投标人将严格按照业主及设计的要求,对于有较高要求的非结构混凝土饰面,选用优质的模板材料、先进的模板体系、合理的支撑方式,以保证轻水混凝土饰面表面光滑、色泽一致、无玷污或孔洞。

序号

混凝土表面等级

模板配置等级

模板配置方案

适用部位

投标方案

备选方案

1

F2级表面

F2

墙体

板面采用15 mm 维萨板,竖肋为15cm 高的铝梁,横肋为双10 号槽钢

 

清水混凝土饰面

六窗洞口

小洞口用15mm 维萨板模板,角钢龙骨。圆钢加螺丝套筒支撑;大的洞口用15 mm 维萨板模板,角钢龙骨。钢管加柱头支撑。

 

清水混凝土饰面

 

 

 

梁、板

 

15mm 维萨板模板, 50×100 mm

100×100 mm 木楞, 支撑采用顶板支

撑采用TLC 插卡型模板早拆体系。

 

清水混凝土饰面

 

 

 

 

定型钢模板,内衬9mm 维萨板模板,维萨板模板用胶粘贴在钢模板上。

 

清水混凝土饰面

 

 

 

楼梯

 

底板和踏步模板为15mm 维萨板模板,方木龙骨。碗扣脚手架支撑。

 

清水混凝土饰面

2

F3级表面

F3

模板配置方案同F2 级表面

 

 

清水混凝土饰面

6.4.2 板面措施

清水混凝土模板施工时,为保护贴混凝土墙体一侧板面不受螺丝冒影响,本工程墙体多层板采用背面上螺丝,通过定型字型材,包裹龙骨,与多层板背面紧密栓接。保证混凝土表面整体的平整度。

多层板背面与次龙骨通过字型材用螺丝连接

6.4.3 阴角措施

墙体混凝土阴角,传统的模板支撑方式板端直接接触混凝土,导致混凝土表面留有一条木纹痕迹,为回避这一弊病,本工程将采多层板板端锯成45°斜角,两角严密对接,令混凝土表面完美无痕。

经与设计协商后,墙体阴角可采用字角,对阴角模板倒角,防止角部模板劈裂。

传统阴角模板拼接与45°对接比较

6.4.4 模板拆除

模板拆除时必须小心,不得强行剜撬,要求既不能损坏成品混凝土,也尽最大可能减少对模板的损坏,以提高模板周转次数。

6.4.5 脱模剂选用

响应招标文件要求,脱模剂应采用无污染、无残留的优质脱模剂。拟采用加入表面活化剂的纯油,并以化学脱模剂作为被选,具体适宜可在工程开工后同监理工程师共同协商解决。

6.4.6 模板清修保养

对已拆除的模板首先进行清洗,然后采取必要的维修,修整后妥善保存,以备下次使用。所有模板铺设前表面擦洗干净,在浇筑混凝土之前模板内不得残留任何杂物,并保证所有板面都均匀地涂刷指定的脱模剂。

6.4.7 起拱

水平构件必须按照国家规范即招标文件要求起拱:悬臂构件自由端起拱高度为跨度的0.4%;普通水平构件中点部位起拱高度为拱跨度的0.1%。

6.4.8 模板筛选

本工程模板每次拆除完毕后必须进行仔细筛选,根据使用情况及时淘汰;模板每次修复再利用时,须经监理工程师批准,若认为其平整度或瑕疵会影响混凝土浇筑质量,则该模板作废,重新更换。

6.5 操作要点

6.5.1 单层竖直构件每次混凝土施工必须连续浇筑完毕,不得在中间留有施工缝。

6.5.2 混凝土高度方向浇筑速度:2m/小时。

6.5.3 每浇筑一层混凝土均要分两次仔细振捣。振捣器插入下层混凝土深度为100mm。

每次振捣时间不少于30 秒,且使混凝土表面出现浮浆和不再塌陷。振捣器应做到快插慢拔,振点均匀布置,点距不大于振捣器作用半径的1.5 倍,即400mm 以内。按振捣器水平移动间距移动振捣器,不得漏振和过振。

6.5.4 每一浇筑层要紧密相接,必须在已浇筑的下层混凝土初凝前进行其上层混凝土的浇筑。两层浇筑时间间隔控制在一小时以内。每一浇筑层振捣完成后30 分钟后开始进行二次振捣,避免出现气泡。

6.5.5 浇筑竖向结构混凝土时,布料设备的出口距模板不应小于50mm,且不得向模板内侧面直冲布料,也不得直冲钢筋骨架,必须使用串筒布料,防止产生离析现象。

6.5.6 混凝土浇筑完毕后,墙体水平施工缝处用木抹子按标高拉小线进行找平、搓毛。楼板混凝土浇筑完成后用大杠刮平,待混凝土初凝后(浇筑完成后2 小时)再用木抹子搓毛。

6.5.7 梁柱节点浇筑混凝土时采用石子粒径不大于22mm 的同强度等级混凝土,并用不大于50 型振捣棒进行振捣。

6.5.8 浇筑过程中要对浇筑部位的模板上口用镀锌铁板遮挡,防止混凝土灰浆溅落下层墙体表面,若有灰浆溅落则应立即用清水冲洗,确保墙体清水装饰混凝土效果。

6.6 混凝土养护

墙、板混凝土养护:对浇筑完成的筒体内墙及楼板混凝土在浇筑完毕后的12 小时以内进行浇水养护,浇水次数应保证混凝土经常处于湿润状态。墙体混凝土采用于浇筑部位处设置环状塑料花管向下进行淋水养护,养护时间不少于7 天。混凝土养护用水经埋设的排水管排入场外市政管线。

柱混凝土养护:柱混凝土采用密目白色棉布包裹,洒水后再用塑料布包裹,并及时在上口洒水润湿白棉布。

6.7 质量检验标准

由于目前我国现行的《混凝土结构工程施工质量验收规范》(GB50202-2002)中尚无饰面清水装饰混凝土具体规定,施工中结合创北京市建设工程结构长城杯的质量目标,制定该工程饰面清水装饰混凝土外观质量内控标准如下:

6.7.1 混凝土外观标准

混凝土表面平整、颜色均匀一致,无蜂窝、麻面、露筋、夹渣、裂缝、缺棱掉角和明显气泡等质量缺陷,梁柱接头部位平滑方正,无明显接缝痕迹。

6.7.2 结构尺寸内控标准

现浇框架筒体结构的墙体、梁、板轴线位置、标高、截面尺寸、垂直度等均严于GB50202-2002 规范要求。清水混凝土饰面现浇结构拆模后的尺寸允许偏差应符合下表规定。饰面清水装饰混凝土现浇结构拆模后的尺寸允许偏差:

清水混凝土质量控制标准

 

 

 

 

 

 

序号

允许偏差值(mm

检查方法

1

轴线位置

基础

10

尺量

柱、墙、梁

5

2

标高

层高

±5

水准仪、尺量

全高

±10

3

截面尺寸

基础

±30

尺量

柱、墙、梁

±5

4

垂直度

层高

±2

经纬仪、吊线、尺量

全高

H/1000 且30

5

表面平整度

3

2M靠尺、塞尺

6

角、线顺直

3

拉线、尺量

7

预留洞中心线位置

5

拉线、尺量

8

预埋件、管中心线位置

3

拉线、尺量

9

预埋螺栓

中心线位置

2

尺量

外露长度

+10、-0

10

楼梯踏步宽、高

3

尺量

 

7隔墙施工

本工程二次结构为轻质混凝土砌块MU5,M5 混合砂浆砌筑,部分隔墙采用轻钢龙骨纸面石膏板(或FC 板)。

7.1 砌筑工程

二次结构砌筑工程主要为轻质混凝土实心(空心)砌块MU5,M5 混合砂浆砌筑,砂浆抹面,墙体厚度为:90mm、140mm、190mm、240mm。

7.1.2 施工准备

1. 施工方案

主体结构施工完成的楼层,尽快将插入砌体的砌筑施工。砌筑使用预拌砂浆,砌筑材料用外用电梯和手推车运输。

2. 材料选择

1) 材料进场前,必须提供出厂证明及合格证,进场后按规范要求抽验、送试验室复试合格后方准使用。

2) 所用砌块、预拌砂浆必须有出厂证明及合格证,生产厂家资质证明齐全。

3) 砌块产品质量应承重能力强,种类规格齐全,混凝土表面质量好。

拟选用产品规格

7.1.3 工艺流程

墙体放线 材料检验 墙体拉结筋 不锈钢限制带 墙体砌筑 砖缝处理 检查验收

7.1.4 墙体放线

根据结构施工中施放出的墙体控制线,放出墙体边线,并校核。

7.1.5 施工要求

1. 砌筑时严格进行垂直度检测,每层垂直误差不得大于2mm;

2. 砖缝应顺直,施工时采用小线准确控制,房间内砖缝误差不得大于3mm;

3. 所使用的砌块要符合国家规范《砖石施工及验收规范》的要求。所使用砂浆的原材料通过检验和试验,其配合比由一级试验室确定。砂浆采用机械搅拌,搅拌时间不小于1.5min,砂浆随拌随用。

7.1.6 墙体拉结筋

方案一:如招标图纸拉接筋设置方式,结构施工时,在砌体墙相应部位,埋置拉接钢筋,钢筋预留端竖直弯倒埋于墙内,待二次结构施工前,将拉接筋剔出,剔凿墙体时注意先用云石机在墙面锯出竖向缝,再进行剔凿,不得损伤其他部分混凝土墙面。剔出钢筋后,要求用同等级的混凝土砂浆将凹槽摸平,二次结构砌筑时,将其掩盖于墙体中。拉接筋施工工艺参见下图。

墙体拉接筋施工工艺方案一

方案二(推荐):结构框架柱施工时,在设计要求的拉结筋位置预埋铁件,紧顶模板边缘,砌筑施工时剃凿出来,焊接拉结筋。参见下图:

墙体拉接筋施工工艺方案二

7.1.7 圈梁及构造柱

1. 砌体顶部与框架梁板接槎处采用侧向或斜向实心砖砌筑,避免裂缝产生。

2. 砌体长度超过4m,中间应加设构造柱,高度超过4m,墙中间应加设圈梁。

7.1.8 墙体砌筑

1. 砌筑前,砌块洒水湿润。应将砌筑部位清理干净,应在砌筑位置上弹出墙边线,以后按边线逐皮砌筑,一道墙可先砌两头的砖,再拉准线砌中间部分。第一皮砌筑时应试摆。

2. 在砖墙的转角处及交接处立起皮数杆(皮数杆间距不超过1.5m,过长应在中间加立),标明块层、灰缝、门窗洞口、过梁、圈梁、预制构件等的高度及位置。在皮数杆之间拉准线,依准线逐皮砌筑,其中第一皮砖按墙身边线砌筑。

3. 采用刮浆法。竖缝应先批砂浆后再砌筑。当孔洞成垂直方向时,水平铺砂浆,应用套板盖住孔洞,以免砂浆掉入孔洞内。

4. 砖墙水平灰缝和竖向灰缝宽度为10mm,但不小于8mm,也不应大于12mm,水平灰缝的砂浆饱满度不得小于80%;竖缝宜采用挤浆或加浆方法,不得出现透明缝,严禁用水冲浆灌缝。

5. 砖墙的转角处,每皮砖的外角应加砌分头砖。

6. 砖墙的十字交接处,应隔皮纵横墙砌通,交接处内角的竖缝上下相互错开1/4 砖长。

7. 砖墙的转角处和交接处应同时砌起。对不能同时砌起而必须留槎时,应砌成斜槎,斜槎长度不应小于斜槎高度的2/3。如留斜槎确有困难,除转角处外,可留直槎,但直槎必须做成凸槎,并加设限制带。

8. 填充墙的顶面与上部结构接触处用侧砖或立砖斜砌挤紧。

9. 墙中的洞口、管道、沟槽和预埋件等应于砌筑时正确留出或预埋,宽度超过300mm的洞口应砌筑平拱或设置过梁。

7.1.9 勾缝清理

砌筑完毕后,对砖缝砂浆进行修正,然后勾缝,要求勾缝所用的细实混凝土砂浆配比一直、颜色统一,具有清水涂层。

7.2 轻钢龙骨隔墙工程

部分隔墙采用轻钢龙骨双面石膏板(FC 板)隔断,内填岩棉,倒角处金属护角带接缝,腻子批嵌平整。

7.2.1 材料构配件要求

1. 轻钢龙骨主件:沿顶龙骨、沿地龙骨、加强龙骨、竖向龙骨、横撑龙骨的规格应符合设计要求。按规格尺寸不同分为75 系列、100 系列等应符合国家标准《建筑用轻钢龙骨》的规定。

2. 轻钢骨架配件:支撑卡、卡托、交托、连接件、固定件、护墙龙骨和压条等附件,应符合设计要求和有关规范的规定。

3. 紧固材料:射钉、膨胀螺栓、镀锌自攻螺丝、木螺丝和粘贴嵌缝料,应符合设计要求。

4. 填充隔声材料:填充岩棉应按设计要求选用。

5. 罩面板材:纸面石膏板、FC 板等罩面板的性能及规格应符合设计要求。

7.2.2 作业条件

1. 轻钢骨架罩面板隔墙施工前,宜先安排外装修,罩面板安装应待屋面、顶棚和墙抹灰完成后进行。

2. 根据设计图纸对隔墙位置放线并且经过验收准确无误后方可进行施工。

3. 设计要求隔墙有地枕带时,应先将地枕带施工完毕,并达到设计强度后,方可进行轻钢骨架的安装。

4. 主体结构墙、柱为砖砌体时,应在与隔墙交接处,按1000mm 竖向间距预埋木砖。

5. 根据设计施工图和提出的备料计划,查实隔墙全部材料,使其配套齐备。

7.2.3 工艺流程

轻隔墙放线安装沿顶龙骨和沿地龙骨安装门洞口框的竖向龙骨竖向龙骨分档安装竖龙骨安装横向贯通龙骨、横撑及卡档龙骨安装一侧罩面板机电配合管线、线盒预埋隐蔽工程验收安装墙体填充材料安装另一侧罩面板施工接缝做法

7.2.4 主要施工方法

1. 放线

根据设计施工图,在已做好的地面或地枕带上放出隔墙位置线、门窗洞口边框线,并放好顶龙骨位置边线。

2. 安装沿顶龙骨和沿地龙骨

根据已放好的隔墙位置线,安装顶龙骨和地龙骨,用射钉固定于主体上,其射钉间距为600mm。100 系列的沿顶、沿地龙骨应用双排钉固定,钉位要错开。

3. 安装门洞口框

按设计要求,先将隔墙的门洞口框安装完毕。洞口框应采用加强龙骨。

4. 竖龙骨分档

根据隔墙放线门洞口位置,在安装顶、地龙骨后,按罩面板规格分档。不足模数的分档应避开门洞框边第一块罩面板位置,使破边罩面板不在靠洞框处。

5. 安装龙骨

按分档位置安装竖龙骨,竖龙骨上下两端插入沿顶龙骨及沿地龙骨,调整垂直及定位准确后,用抽芯铆钉固定;靠墙柱边龙骨用射钉或木螺丝与墙、柱固定,钉距为1000mm.

6. 安装横向卡档龙骨

根据设计要求,隔墙高度大于3m 时应加横向卡档龙骨,采用抽芯铆钉或螺栓固定,间距600mm。

7. 门窗及转角等特殊节点处骨架安装

门窗及隔断的转角等特殊部位应使用附加龙骨,斜撑或双根竖向龙骨合扣在一起并应按照图纸进行安装固定。装饰性木制门框一般可用螺丝或铆钉与洞口竖龙骨固定。门框横梁与横龙骨以同样方法连接。

8. 安装罩面板

1) 检查龙骨安装质量、门洞口框及转角处应符合设计及构造要求,龙骨间距应符合罩面板宽度的模数,龙骨平整、垂直度符合规范要求后,方可进行下一道工序施工。

2) 装一侧的罩面板,从门口处开始,无门洞口的墙体由墙的一端开始,罩面板一般用自攻螺丝固定,板边钉距不大于200mm,板中间距不大于300mm,螺钉距罩面板边缘的距离不得小于10mm,也不得大于16mm。安装时罩面板必须与龙骨紧靠,相邻两面罩面板镙钉固定要错开,自攻螺钉钉帽要做防锈处理。

3) 安装墙体内电管、电盒和电箱设备。

4) 安装墙体内防火、隔声、防潮填充材料,可以用专用钉固定,填充材料应固定牢固。

5) 安装墙体另一侧罩面板:安装方法同第一侧罩面板、其接缝应与第一侧面板缝错开。

6) 安装双层罩面板:第二层板的固定方法与第一层相同,但第二层板的接缝应与第一层错开,不能与第一层的接缝落在同一龙骨上。

9. 接缝做法

1) 刮嵌缝腻子:刮嵌缝腻子前先将接缝内浮土清除干净,用小刮刀把腻子嵌入板缝,与板面填实刮平。

2) 粘贴拉结带:待嵌缝腻子凝固后即行粘贴拉接材料,先在接缝上薄刮一层稠度较稀的胶状腻子,厚度为1mm,宽度为拉结带宽,随即粘贴拉接带,用中刮刀从上而下方向一个方向刮平压实,赶出胶腻子与拉接带之间的气泡。

3) 刮中层腻子:拉接带粘贴后,立即在上面再刮一层比拉接带宽80mm 左右、厚度约1mm的中层腻子,使拉接带埋入这层腻子中。

4) 找平腻子:用大刮刀将腻子填满楔形槽与板面平。

7.2.5 质量标准

1. 主控项目

1) 轻钢龙骨隔墙所用龙骨、配件、墙面板、填充材料及嵌缝材料的品种、规格、性能和木材的含水率应符合设计要求。有隔声、隔热、阻燃、防潮等特殊要求的工程,材料应有相应性能等级的检测报告。

2) 轻钢龙骨隔墙工程边框龙骨必须与基体结构连接牢固,并应平整、垂直、置正确。

3) 轻钢龙骨隔墙中龙骨间距和构造连接方法应符合设计要求。骨架内设备管线的安装、门窗洞口等部位加强龙骨应安装牢固、位置正确,填充材料的设置应符合设计要求。

4) 轻钢龙骨隔墙的墙面板应安装牢固,无脱层、翘曲、折裂及缺损。

5) 墙面板所用接缝材料的接缝方法应符合设计要求。

2. 一般项目

1) 轻钢龙骨隔墙表面应平整光滑、色泽一致、洁净、无裂缝,接缝应均匀、顺直。

2) 轻钢龙骨隔墙上的空洞、槽、盒应位置正确、套割吻合、边缘整齐。

3) 轻钢龙骨隔墙的填充材料应干燥,填充应密实、均匀、无下坠。

4) 轻钢骨架罩面板隔墙的允许偏差和检验方法应符合下表的规定。

轻钢骨架罩面板隔墙允许偏差和检验方法

项次

项目

允许偏差(mm

检验方法

1

立面垂直度

3

2m 垂直检测尺检查

2

表面平整度

3

2m 靠尺和塞尺检查

3

阴阳角方正

3

用直角检测尺检查

4

接缝高低差

1

用钢直尺和塞尺检查

7.2.6 成品保护

1.轻钢龙骨隔墙施工中,各工种间应保证已装项目不受损坏,墙内电管及设备不得碰动错位及损伤,隔墙龙骨安装完后不能碰撞、严禁上人、注意交叉作业保护。非本专业人员不能随意切断,保护成品。

2. 轻钢骨架及罩面板入场,存放使用过程中应妥善保管,保证不变形、不受潮、不污染,无损坏。

3. 施工部位已安装的门窗、地面、墙面、窗台等应注意保护,防止损坏。

4. 已安装的墙体不得碰撞,保持墙面不受损坏和污染。

轻钢骨架罩面板隔墙允许偏差和检验方法

项次

项目

允许偏差(mm

检验方法

1

立面垂直度

3

2m 垂直检测尺检查

2

表面平整度

3

2m 靠尺和塞尺检查

3

阴阳角方正

3

用直角检测尺检查

4

接缝高低差

1

用钢直尺和塞尺检查

7.2.6 成品保护

1. 轻钢龙骨隔墙施工中,各工种间应保证已装项目不受损坏,墙内电管及设备不得碰动错位及损伤,隔墙龙骨安装完后不能碰撞、严禁上人、注意交叉作业保护。非本专业人员不能随意切断,保护成品。

2. 轻钢骨架及罩面板入场,存放使用过程中应妥善保管,保证不变形、不受潮、不污染,无损坏。

3. 施工部位已安装的门窗、地面、墙面、窗台等应注意保护,防止损坏。

4. 已安装的墙体不得碰撞,保持墙面不受损坏和污染。

 

6、钢结构深化设计与加工方案

1深化设计

深化设计工作为工程设计与工程施工的桥梁,需要准确无误地将设计图转化为直接供施工用的制造安装图纸,从钢结构制造安装角度完全代替了设计图。深化设计还进一步将设计规范制造工艺和施工规范要求等综合的贯穿到设计图纸中,提高了工程设计图的适用性。同时,深化设计还按照规范规定及安全、经济的原则,从节点构造、构件的结构布置、材质的控制等方面对设计进行合理优化,使设计更加完善。

本工程钢结构构件主要由劲性钢柱、型钢梁及钢桁架组成,建筑物屋顶及外墙围护支撑结构为螺栓球节点钢网架结构,采用材料为低合金结构钢Q345 及Q390。深化设计工作应根据各类结构构件的特点抓住重点安排工作。

1.1 深化设计的要点说明

1.1.1 本投标方案中钢结构深化设计侧重于节点设计,尤其是考虑制作、运输、安装条件限制的桁架结构的连接节点、分段节点。

1.1.2 考虑桁架部分及相关节点是本工程中的重点,针对桁架及周边构件的安装方案初步考虑采用现场拼制整体吊装或分体高空拼装的方法进行有关连接节点的设计。

1.1.3 桁架的起拱

本工程桁架较多,跨度较大,详图设计阶段应考虑桁架的加工起拱,以便安装后能保证桁架的起拱要求。

1.1.4 安全的临时连接,使构件在现场焊接完成前连接的安全,并且使临时连接的零件可以反复使用。

1.1.5 合理的连接节点,由于构件截面的类型比较复杂,所以要制定一套既满足结构的力学性能,又能使安装较为方便和安全的连接节点。

1.1.6 针对本工程钢结构单体构件重量大,钢板厚度大,断面形式多样复杂的特点,在深化设计过程中应对加工安装中产生的焊接应力和变形及厚板焊接易发生的层状撕裂采取针对性的措施。

1.1.7 深化设计中构件的节点构造与钢筋混凝土及其它相关专业的关系(尤其是劲性钢结构构件的钢筋孔位置)。

1.1.8 配合设计院完善结构的各类支座设计深化工作。

1.2 深化设计组织

本投标人已对本工程的钢结构进行建模分析,大部分节点已有成熟的设想,如本投标人有幸中标,将可以立即着手本工程的钢结构深化设计工作,按照业主、设计院的要求做好配合设计工作,配置足够的人力、物力,在30 天内分批完成钢结构深化设计工作,深化设计质量保证做到工艺先进,结构可靠美观,使业主、设计院满意。

根据本工程的工程量、总的工期和现有设计的深度,为确保深化设计的质量和进度,计划为本工程的深化设计投入足够的深化设计人员,同时开展立面和平面构件的设计。组织机构见下图:

 

 

 

 

 

 

 

 

 

 

 

 

 

设计组的任务安排以栋号部位划分,以保证工程的设计施工进度安排。

采用多种正版钢结构计算及详图设计软件:

X-Steel 软件

利用X-Steel 进行3 维实体建模。

使整个结构情况在X-Steel 模型中能充分体现。

对一些构件的空间角度能有精确记录。

对所有材料(钢材、螺栓和焊材)等有一个比较精确的统计。

能清楚的观察到结构和节点在实际制造和安装过程中的合理性和可行性。

美国AutoCAD 软件

以AUTOCAD 软件为图纸转化的基本工具,AutoCAD 软件是最佳2D 制图及3D 设计工具。

美国STAAD/PRO 钢结构分析设计软件系统

美国的STAAD/PRO 软件是美国REI 公司开发研制的机构设计分析软件,可进行钢结构的结构分析和断面验算。该程序以友好的界面形式,使用户能方便地建造空间模型,输入荷载,指定参数,程序进行分析后,还能够将所有的计算结果以文本或图型形式生成,方便地校核、报告、打印等;并可按各国的规范验算构件的断面,其中包括深化设计时用来进行部分必要的结构设计计算。

利用国内通过鉴定的网架设计软件进行网架结构的深化设计工作。

1.3 深化设计的流程与控制

1.3.1 一般规定

1. 确认中标后,业主、总承包单位和设计院就本工程进行技术交底,同时提供完整的结构设计图。

2. 首先组织专人详细阅图,并编制《工作图深化设计要领书》,对作图范围、图面表达、构件编号等进行统一的规定。然后开始工作图的转化设计。

3. 设立该项目专职负责人,强化与设计院和现场安装的联系和沟通,发现问题及时解决,确保工作图的设计完全贯彻原结构设计的思路和意图,并且可以根据现场安装的需要,将增设的安装作业所需的一些临时装置绘制在工作图上。以便于在工厂直接加工,减少现场的工作量,加快施工进度。

4. 在设计过程中,如发现设计图有疑问,将立即与监理单位和设计院联系,经过协商达成一致后,方可进行修改。

5. 工作图设计完成后,先进行自审,然后由专审高工进行审核,审核后设计人员进行确认并修改图纸,然后二次出图,再由专审高工进行审核并修改,最后将通过审核的图纸绘制出图,经原设计部门审查批准后方可投入生产。

6. 在构件加工过程中,如发现工作图有错误或原设计图有修改,工作图设计人员应及时进行确认,然后修改图纸发修改图,同时收回原图,以免发生混淆。

1.3.2 设计流程图

 

 

 

 

 

 

 

 

 

 

 

 

 

 

 

 

 

 

 

 

 

 

 

 

 

 

 

 

 

 

 

 

 

 

 

 

 

 

 

 

 

 

 

 

 

 

 

 

1.4 钢结构深化设计的保证措施

1.4.1 进度保证措施

1. 在确认中标后,本投标人将根据工程总进度和资源情况排出深化设计进度计划图,明确本工程各结构设计进度节点,确保满足本工程总体制作进度。

2. 在设计院提交总体设计资料前,本投标人将组建专项设计组,派1-2 名加工图设计人员到设计院提前熟悉设计内容,领会设计意图,以确保转化设计按照总体设计进行;

3. 设计转化工作,在完成每分项设计后,即刻向设计院上报设计图纸进行审批,对审批后需要修改的部分,及时进行修改,直到审批合格;

4. 实行设计倒计时制度,使每个人明确自己分项设计进度对于总体设计进度的重要性,目标明确,确保节点。

1.4.2 深化设计图设计质量保证措施

1. 技术部内部的自审、复审及底图的审核

本投标人为本工程的深化设计组织了强大的队伍,为图纸深化设计的质量提供了人力方面的保证。除了个人能力,对深化设计来说严格合理的工作流程、体制和控制程序是保证深化设计质量的关键因素。本投标人将根据建设部颁布的各项制图标准和设计规范作为本投标人的深化设计标准,建立起了完善的三级审核制度。设计制图人员根据设计图纸、国家和部委的规范、规程以及本投标人的深化设计标准完成自己负责的设计制图工作后,要经过以下检查和审核过程:

1) 设计制图人自审

设计制图人将完成的图纸打印白图(一次审图单),把对以下内容的检查结果用马克笔做标记:

(1) 笔误、遗漏、尺寸、数量;

(2) 施工的难易性(对连接和焊接施工可实施性的判断);

(3) 对于发现的不正确的内容,除在电子文件中修改图纸外,还要在一次审图单上用红笔修改,并做出标记(圈起来);

(4) 自审完成后将修改过的图纸重新打印白图(二次审图单),并将一次审图单和二次审图单一起提交审图人员。

2) 审图人员的校对、检查

审图人员的检查内容和方法同自审时基本相同,检查完成后将二次审图单交设计制图人员进行修改并打印底图,必要时要向制图人将错误处逐条指出,但对以下内容要进行进一步审核:

(1) 深化设计制图是否遵照公司的深化设计标准。

(2) 对特殊的构造处理审图。

(3) 结构体系中各构件间的总体尺寸是否冲突。

3) 底图的审核

以深化设计图的底图和二次审图单为依据,对图纸的适用性进行重点审核。

对于不妥处,根据情况决定从审图人员开始或制图人员开始重复上述的工作。

2. 原寸(计算机放样)技术的检验

本投标人在深化设计图的基础上,还有利用从原寸(计算机放样)技术将构件图拆分成零件图的工序。当深化设计出现质量问题时,基本上都能在原寸(计算机放样)阶段得到及时发现,并及时通知深化设计部门。深化设计部门会立即组织人员对问题进行分析,如果判断属于简单的笔误,就迅速修改错误,出新版图,并立即发放给生产和质控等相关部门,同时收回原版图纸。当质量问题判断为对设计的理解错误或工艺上存在问题时,重新认真研究设计图纸或重新分析深化设计涉及到的制作工艺,及时得出正确的认识,并迅速修改图纸,出新版图,并立即发放给生产和质控等相关部门,同时收回原版图纸。当在构件制作过程中或安装过程中,根据现场反馈的情况发现深化设计的质量问题时,立即通知现场停止相关部分的作业。同时组织技术力量会同有关各方研究出处理措施和补救方案,在征得设计和监理同意后,及时实施,尽可能将损失减少到最小,并将整个过程如实向业主汇报。

3. 出错后的应对措施

本工程结构复杂,工期紧张,将会给深化设计工作带来相当大的困难,设计变更事件可能会经常发生,难免因沟通渠道不畅而造成深化设计出错等问题,为此,本投标人制定专门应对措施:

1) 设立专门联系人与设计院、业主保持不间断的联系,尽量减少深化设计的错误;

2) 在设计中发现深化图出错,此时尚未下料开始制作,立即对错误进行修改,在确认无误后再进行施工;

3) 如果深化设计发生错误,且工厂已经下料开始制作,在发现错误后,立即停止制作,并向设计院和业主报告,与设计人员共同商讨所出现错误的性质,如果所发生的错误对整体结构不造成安全影响,在设计院、业主的认可、批准后继续施工;否则对已加工的构件实行报废处理。

1.4.3 与设计单位协调配合的措施

和设计单位建立通畅的联系渠道是深化设计能够顺利进行的基础,为使与施工图设计单位的协调配合更加方便有效,本投标人将设立专门的深化设计联系人,考虑到本工程的规模和特殊性,技术部的经理为本工程的具体联系人;

本工程规模较大、工期紧,从招标设计图的深度来看,还有很多节点的验算工作需要完成,本投标人承诺,在中标后将协助设计单位完成节点的验算工作;

本投标人将充分发挥在钢结构加工制作方面的经验,在本工程钢结构设计的工艺适用性和可行性方面,向设计单位提出合理化建议,使得本工程的设计不仅是在用钢量指标上,而且在加工制作方面也更加安全、经济、合理;

在如此大规模的工程中,设计变更的发生是不可避免的,当设计变更发生后,本投标人将立即组织深化设计人员,对设计变更部分进行修改或增加,使设计变更能及时得到执行。

1.4.4 设计承诺

1. 与设计院配合的承诺

在工程中标后,依据现有的设计图,在不改变原设计结构形式的前提下,进行优化设计,并根据优化设计可作出满足钢构件制作及钢结构安装所需的施工图,

2. 对提供现场服务的保证的承诺

本投标人将派加工图设计人员、工艺人员到安装现场对安装及相关单位进行图纸技术交底;

本投标人派驻足够的现场技术服务人员,及时解决工程施工过程中出现的问题,提供24小时现场服务,直至钢结构件安装完毕。

 

2钢结构加工制作工艺

2.1 放样

2.1.1 放样人员必须熟悉施工图和工艺要求,核对构件及构件相互连接的几何尺寸和连

接有否不当之处。如发现施工图的遗漏或错误,以及其它原因需要更改施工图时,必须取得原设计单位签具设计变更文件,不得擅自修改。预计会出现大量焊接收缩和需铣削的构件,应在长度和宽度方向加放适当加工余量。

2.1.2 放样应在平整的放样平台上进行。凡需放大样的构件应以1:1 的比例放出实样;

当构件零件较大难以制作样杆、样板时可通过CAD 放样。由于桁架起拱致使斜撑的长度有变化,因此放样后的尺寸要附于安装图。

2.1.3 放样工作完成,对所放大样和样杆、样板(或下料图)进行自检,无误后报专职人员检验。

2.2 下料

2.2.1 下料前检查材料的牌号、规格是否满足设计要求, 材料表面是否有超出标准要求的缺陷,确认后方可下料。

2.2.2 所有主材长度方向加放焊接收缩和机加工余量,原则上宽度方向不得拼接,其余部位按不同节点、板厚加放焊接收缩量。

2.2.3 当钢板厚度50mm 时,钢板拼接焊缝采用单V、U 或X 型坡口;当钢板厚度>50mm时,钢板拼接焊缝采用双U 型坡口。如下图:

1. 60≤δ钢板对接坡口:

2. 30≤δ<60 钢板对接坡口:

3. δ<30 钢板对接坡口:

2.2.4 相邻主材钢板拼接焊缝应相互错开200mm 以上。最短拼接长度大于600mm。

2.2.5 下料后应标明基准线、中心线和检验线以利于组装和检验,对于Q235、Q345 强度级别的材料允许用洋冲或凿子一类的工具进行标记,但其深度应不大于0.5mm。对于Q390 强度级别的材料选用低应力钢印标记。

2.3 切割、铣削加工

2.3.1 切割工具的选用:

1. 条形钢板:可优先采用多头火焰切割机(MG-6000)及NC 火焰切割机(WKQ-6000)。

2. 零件板:可采用NC 多头切割火焰机或半自动切割机。

3. 厚度小于9mm 的钢板,可采用剪板机剪切(65123 型)。非焊接边的硬化层打磨。

4. 小型H 钢、BH 钢:可采用圆盘锯(LC-1250)。冷锯或带锯(GA5070)。

5. 大型BH 钢:可采用全自动火焰切割机。

2.3.2 切割前应清除表面的油污、铁锈和潮气,切割后切割面应去熔渣和飞溅物。对于组装后无法精整的表面,如弧形锁口内表面等,应在组装前进行处理。所有构件自由端必须进行R1 倒角。

2.3.3 火焰切割后,矫直切割引起的变形(如旁弯等),且标上零件所在的构件号、零件号、材质标记后才能流入下一道工序。

2.3.4 气割允许偏差:

项目

允许偏差

零件的长度

±3.0mm

零件的宽度

±3.0mm

切割面平面度

t0.05t 且2mm

割纹深度

0.3mm

局部缺口深度

1.0

坡口加工面的粗糙度及切口深度如下:

粗糙度

0.2m 以下

切口深度

2.0mm 以下(用砂轮打磨)

2.0mm 以上(补焊后砂轮打磨)

 

2.3.5 开锁口原则;为避免焊缝重迭,后装的零件必须开锁口

当板厚19mm 时,锁口的尺寸为R=20mm。

当板厚>19mm 时,按板厚。锁口必须打磨。

2.3.6 柱的支承端面必须进行铣削加工,设备采用端面铣床。

端部铣平的允许偏差:

项目

允许偏差

两端铣平时构件长度

±2.0mm

两端铣平时零件长度

±0.5mm

加工面平面度

0.3mm

加工平面对轴线的垂直度

1/1500

表面粗糙度

12.5μm

2.3.7 坡口和锁口的加工

1. 坡口、锁口加工工具的选用

        工具

 

 

项目

半自动割刀

刨边机(B81120A/I

高精度高速锁口机(HS-38ML

坡口加工

 

锁口加工

 

 

2. 坡口加工允许偏差

1

坡口角度a

a=±2.5°

2

坡口角度a

a =±5°

a=±2.5

 

3

坡口钝边a

a=±1.0

2.4 矫正

钢板切割后材料如有变形应矫正后再进行组装,以保证组装精度。 矫正可采用两种方法:

火焰矫正和机械矫正

2.4.1 火焰矫正:当采用火焰矫正时,加热温度不得超过900,不得用水急冷。

2.4.2 机械矫正时为防止过压,油压机应放置限位装置,对厚板采用机械矫正时应采用火焰配合矫正,温度降至800时应停止加工。

2.5 制孔

2.5.1 本工程所有高强螺栓孔都采用钻孔成型,凡是可以在数控机床上加工的孔一律都在数控机床上钻制加工。螺栓孔应具有H12 的精度,孔壁表面粗糙度Ra12.5μm。

2.5.2 螺栓孔孔距的允许偏差应符合下表的规定。

螺栓孔孔距的允许偏差(mm)

项目

允许偏差

500

501-1200

1201-3000

>3000

同一组内任意两孔间距离

±0.5

±1

---

---

相邻两组的端孔间距离

±1.5

±2.0

±2.5

±3.0

注:以上为一般的划线钻孔标准,采用数控钻床可提高其精度。

2.5.3 凡不能在数控机床上加工的,一律采用钻模板加工;以保证孔群的加工精度。从而保证安装施工的顺利进行。

2.6 组装

2.6.1 组装前必须熟悉图纸,仔细核对零件的几何尺寸和零件之间的连接尺寸;核对零件的编号、材质、数量等,熟悉相应的制造工艺和焊接工艺,以便明确各构件的加工精度和焊接要求。

2.6.2 装配用的工具如卷尺、角尺等必须事先检验合格,样板和样条在使用前也应仔细核对,组装用的平台和胎架应符合构件装配的精度要求(胎具的水平应在3mm 之间),并具有足够的强度和刚度,使用前应经技监部门认可合格。

2.6.3 装配前,零部件应经检查合格;连接接触面和沿焊缝边缘每边30-50mm 范围内的铁锈、毛刺、冰雪等清除干净。

2.6.4 装配顺序应根据结构形式、焊接方法和焊接顺序等因素确定。

2.6.5 构件的装配工作应在坚固的平台或装配胎具内进行,保证各个零件相互间的标准尺寸。

2.6.6 施工前应认真审查图纸,尤其要详细阅读工艺文件和技术文件中的有关要求,认真审查配料草图,确定施工方案。

 

3典型构件的加工制作

根据本工程结构特点,将本工程主要构件划分为焊接H 型钢、十字柱、王字柱、大桁架、管构件及螺栓球几种典型构件,该主要加工制作工艺如下:

3.1 焊接H 型钢梁柱制作工艺

3.1.1 下料

1. 原材料的要求

1) 钢材应附有质量证明书,并符合设计图纸的要求。

2) 钢材表面锈蚀、麻点或划痕深度不得大于该钢材厚度负偏差值的一半,钢材实际厚度不得小于允许的最小厚度,断口处不得有分层等缺陷。

3) 钢板矫正后允许偏差为(1 米范围内):

δ>14 f1.0mm

δ≤14 f1.5mm

4) 角钢肢的垂直度应不大于b/100。

5) 材料流转时应避免损伤母材,避免在母材上造成伤痕。

2. 所用主要设备

1) 钢带设备

2) 门式火焰切割机

3) 光电跟踪切割机

4) 数控等离子切割机

5) HS-38MI 高精度高速开先机(开坡口)

6) MZ1000-1 埋弧自动焊机

7) 碳弧气刨

8) 行车配合

3. 号料加工

1) 认真熟悉施工图纸及工艺要求,理解各种技术文件后方可施工。

2) 必须按照排料图、原寸等加工资料要求的规格、材质进行施工,不得擅自代用;号料作业应严格按照型板和测量钢带等原寸资料进行,所有原寸资料上的必要事项都应通过号料反映在实物上。

3) 板材拼接均采用埋弧焊。

4) 号料时应把引弧板、熄弧板一并号出,规格为:板材拼接材料100×150mm。T 型接头为100×200mm(翼板引、熄弧板)、100×150mm(腹板引、熄弧板),其坡口形式、厚度、材质应与母材相同。

5) 柱的拼接要求:翼板与腹板的拼接缝应互相错开200mm 以上。

6) 拼接缝与劲板错开大于100mm 以上。

7) 柱翼缘板、腹板长度方向加放余料50mm,焊接后进行矫正,矫正合格后切头,多节柱上下端各余留5mm 切削余量。

8) 翼缘板和腹板的落料用自动氧-乙烯直线多头切割机进行。

9) 板材的拼接应在组装前进行,焊后冷却24 小时后进行UT100%探伤。

10) 小件切割采用光电跟踪仿型切割机,异型板切割采用数控等离子切割机。

11) 号料精度如下表所示:

项目

允许偏差mm

基准线位置

±0.5

零件外形尺寸

±1.0

12) 使用的各种计量器具都必须是经过计量检测部门检验过的计量器具。

13) 切割要求

气割余量(mm)

板厚mm

切割间隙mm 板厚mm 切割间隙mm

1030

2 5080 3

3050

23 80160 34

气割的允许偏差(mm):

 

项目

允许偏差mm

零件宽度、长度

翼缘板±3.0;腹板±1.0

切割平面度

0.05t 且不大于于2.0

割纹深度

0.3

局部缺口深度

1.0

零件切割表面应无裂纹、夹渣、分层和大于1mm 的缺棱。

4. 坡口加工

1) 坡口加工按照原寸资料或加工作业指示票来进行。

2) 坡口加工采用:自动火焰切割机、自动开先机。

3) 气割产生的钢渣、熔瘤用打磨机磨平。

4) 坡口加工的精度如下:

项目

允许偏差

mm

钝边

±1mm

 

坡口面角度

±5°

 

坡口面粗糙度

0.2mm

 

坡口面垂直度

1/20

 

5. 可追溯性要求

下料后,必须将母材的材质、炉号、批号和零件号用钢印打到每一块零件上;在每块余料上用钢印打上材质、炉号、批号;加工过程中,要求作好自检记录(随时抽查,完工后收回),在每张作业票上注明所用钢材的材质、炉批号(随时检查)。

3.1.2 加工

1. 主要设备

1) ZYZ-104 型桥式摇臂钻床

2) SCOM 数控平面钻床

3) 6BH-1000 三维数控钻床

4) 端面铣床

2. 钻孔

1) 连接板上的孔均采用加工S-COM 数控平面钻床钻孔。

2) H 型构件主体上的孔待BH 矫正合格两端部铣平后,截面高度小于1000mm 的H 型构

件采用6BH-1000 三维数控钻床钻孔, 截面高度大于1000mm 的H 型构件采用钻模板钻孔,以钢柱上端端铣平面为基准进行画线钻孔,画线时用划针画出翼缘板或腹板的中心线及第一排孔心中心线,然后选择正确的钻模板,对准中心线,固定钻模板进行钻孔。此工程群孔很多,使用钻模板时,要特别注意尺寸。

3) 钻头应与零件保持垂直,钻孔后应对孔边毛刺等打磨干净。

4) 高强螺栓孔偏差要求:

项目

允许偏差mm

孔径偏差:

0--+1.0

圆度

2.0

垂直度

0.03t 2.0

同组内任意两孔间距

±1.0

5) 螺栓孔的允许偏差超过上述规定时,不得采用钢块填塞,可采用与母材材质相匹配的焊条补焊后重新制孔。

3. 端部铣平

1) 钢柱两端部铣平方法:采用端面铣进行。

2) 与BH 柱主体接触面的柱底板需要切削5mm。

3) 端部铣平的允许偏差应符合下表的规定

端铣平面的截面尺寸偏差:

项目

允许偏差

两端铣平时构件长度

±2.0

两端铣平时零件长度

±0.5

铣平面的平面度

0.3

铣平面对轴线的垂直度

L/1500

4) 顶紧接触面应有75%以上的面积紧贴,用0.3mm 塞尺检查,其塞入面积应小于25%,边缘间隙不应大于0.8mm。

3.1.3 组立WH

1. 使用设备

1) BH 型钢生产线

2) BH 组立胎架(用于腹板宽大于1200mm 或翼缘板大于500mm 或翼缘板厚大于50mm 构件)。

工艺流程

 

 

 

 

 

 

 

 

 

 

 

 

 

 

 

 

 

2. 组装步骤

具体制作要领如下:

1) 装配前对焊缝周边50mm 以内,清除浮锈锈和杂质。

2) 定位焊所用焊丝与焊件材质相匹配,采用CO2 气体保护焊。

3) 用H 型钢组立机组立WH 如下图

4) 用胎架组装如下图

5) 组立要求

截面高度允差±1mm(包括柱端部和含有斜支撑连接的梁),其余截面高度允差±3mm;截面宽度允差±3mm; 腹板中心偏移允差±2mm;翼缘板垂直度允差b/100 且2mm;弯曲矢高L/1500 且5mm;扭曲允差h/250 且5mm。

3.1.4 WH 焊接

1. 使用设备

1) HLC 型焊接操作机

2) YG-15 型翻转机

3) MZ-1000(1250)-1 自动埋弧焊机

4) XC-500 型CO2 焊机

5) RSN-2000 型电弧栓钉焊机

6) KOCO 拉弧栓钉焊机

7) 碳弧气刨

8) 行车配合

2. 焊接方法使用范围及焊缝等级

1) 焊接方法使用范围

(1) 埋弧自动焊接:钢板拼接料的焊接、BH 的主焊缝焊接。(特别强调:钢板拼接不允许手工电弧焊和CO2 气体保护焊。)

(2) 手工电弧焊:焊缝的修补焊、拼接的点焊。

(3) CO2 气体保护焊:组立时的点焊,劲板、底板的焊接。

2) 焊缝等级:按本工程的技术要求执行。

3. 焊接规范

1) 埋弧自动焊

焊接方法

板厚 mm

焊丝 直径mm

接头型式

焊接顺序

焊接电流 A

焊接电压 V

焊接速度mm/min

埋弧 自动焊

20~60

Φ4

X

550600 650750

3035 3436

400500 450550

 

 

2) CO2 气体保护焊

道次

焊接方法

焊丝直径mm

焊接电流A

焊接电压V

焊接速度m/h

气体流量l/min

1

GMAW

Φ1.2

180-280

26-32

16-28

22

3) 手工电弧焊

焊接方法

焊条直径mm

焊接位置

焊接电流 A

焊接电压 V

焊接速度m/h

手工电弧焊

Φ3.2

100130

2024

912

90120

2024

810

4. 焊接准备

1) 焊接工艺评定

1) 评定范围经监理审批同意后实施。

2) 焊接工艺评定合格后,工艺参数纳入工艺用于实际生产。

2) 焊接前应清除焊接区表面氧化物、油污、水、浮锈等杂物。

3) 采用CO2 气体保护焊:HO8Mn2SiA,严禁在焊缝区域以外的母材上任意打弧。

4) 定位焊缝有裂纹时应用砂轮或碳弧气刨彻底清除,重新进行点焊。

5) 装配前对焊缝周边50mm 以内,清除浮锈锈和杂质。

6) 钢板采用整体拼接,正面焊接后,反面清根焊接。

7) 焊工应经过考试并取得合格证后方可从事焊接工作,合格证应注明施焊条件、有效

期限。焊工停焊时间超过六个月应重新考核。

5. 对于板厚较大的主材,要求焊接前要进行预热处理:

焊接前预热及层间温度的控制宜采用电加热器、火焰加热,并采用红外线温度测量仪器测量。

6. 装配焊接

1) 装配焊接应限于最少程度,焊缝长度和间隔长度应符合以下标准

板厚(tmm

焊缝长度 手工、半自动焊

间隔 mm

备注

t6

30mm 以上

300

400

t>6

50mm 以上

2) 装配焊接的位置应避免在构件的始终端、角度处等。

7. 高度不大于1200mm 的构件在埋弧焊生产线上焊接(见下图),其余在焊接胎架上焊接。

8. 引弧板要切除后打磨平整,严禁用锤敲落。

9. 栓钉焊接

1) 将钢柱放到焊接架上。

2) 栓钉焊接前将栓钉分部范围内的水、油、锈及杂物清除干净。

3) 磁环受朝或产品有烘干要求时应按要求烘干。

4) 按栓钉分布图在钢柱上用划针划出横向线和纵向线,形成网格,横、纵线的交叉点即为栓钉的焊接位置。

5) 用栓钉焊机施焊时,要保证栓钉垂直钢柱表面,再焊接。

6) 焊接完成后要及时将磁环清除,并打扫干净焊接区域。

3.1.5 矫正及起拱

1. 使用设备

1) H 型钢翼缘液压矫正机

2) 2000 吨液压机

3) 起拱胎架

4) 行车配合

2. 矫正

翼缘板:用BH 线上的翼缘板矫正机或火焰矫正翼缘板的垂直度。

旁弯采用压力机或火焰矫直。

低合金结构钢在加热矫正时,加热温度不得超过900。加热矫正后应缓慢冷却。

3. 起拱

1) 火焰起拱,在胎架上进行,如图

高度大于1200mm 梁用火焰起拱。

2) 压力机起拱

高度小于等于等于1200mm 梁用压力机起拱。

3.1.6 组装工艺

1. 组装零件

1) 钢柱组装时,第一层钢柱以钢柱顶端端铣平面为基准向下进行组装,第二层钢柱以底面为基准向上组装。

2) 顶紧接触面应有75%以上的面积紧贴,用0.3mm 塞尺检查,其塞入面积应小于25%,边缘间隙不应大于0.8mm。

2. 钢柱牛腿组装

1) 牛腿制作

牛腿BH 组装、焊接、矫正后,在自动电锯床上切断,在SDIH2000BA 数控钻床上钻孔,等待组装到柱本体上。

2) 牛腿组装

(1) 牛腿整体组装在组装胎架上进行。

(2) 组装前将胎架顶面用水准仪调整到水平。

(3) 将定位钢带固定到柱上,牛腿依据钢带标记定位。

3. 结构整体高度保证措施

1) 采用钢带技术,减少尺寸误差。

2) 采用数控等离子切割,减少下料误差。

3) 钢柱两端接口均端铣。

3.2 大桁架制作工艺

3.2.1 总体制作方案

1. 根据吊装、运输方式确定构件出厂方式、分段长度,一般分段长度宜为14-18 米。

大桁架上、下弦杆及腹杆可散件出厂。

2. 制作组装平台,并根据设计要求和制作要求按不同分段长度确定每段梁的拱度值。

3. 桁架出厂前要进行预拼装,检查预拼装合格后才可以发货。

4. 协助工地进行组装.

3.2.2 桁架类型

桁架可划分为通用构件和节点两部分。

通用构件主要是指BH 构件,组成弦杆和腹杆。此类构件原则上按BH 构件进行制作,端部留出铣削余量,制作、焊接、校正后进行端铣,作准构件长度。见构件制作的相关内容。典型的桁架见下图:

桁架上的节点如示意图所示,分为上弦节点和下弦节点。

节点制作示意图

制作时为保证节点上每个方向都与伸出的牛腿准确连接,节点板通常整体下料,用数控切割机切割外形。当尺寸超出数控切割机范围时,用型板辅助下料。若钢板宽度难以满足节点要求需要拼接时,一般应先拼接,后下料。

3.2.3 大桁架的制作流程

 

 

 

 

 

 

 

 

 

 

 

 

 

 

 

 

 

 

 

 

 

 

 

 

 

 

 

 

 

 

 

 

 

 

 

 

 

 

 

 

 

 

 

 

 

 

 

 

 

 

 

 

 

 

 

 

 

3.2.4 桁架加工制作工艺

1. 装配

在节点的翼缘板上划线,保证腹板、隔板位置准确。依次装配腹板和隔板。

焊接

需要在另一件翼缘板装配之前焊接的部位,应先焊接,通常采用CO2 气体保护焊焊接。焊接参数、预热、后热以及焊后处理均按相关工艺要求执行。

盖板

借助外侧定位块,保证上下翼缘板位置准确。

2. 组装

由于桁架尺寸较大,受运输条件的限制,在计算机整体放样的基础上,厂内先制作桁架中的H 形构件,然后对桁架逐一进行整体组装,工厂组装时在地面按1:1 放实样,根据组装要求设置必须的定位胎架。将放出的实样线引到胎架的装配平面。胎架上的放样线经检验合格后开始组装应装构件。

组装以桁架上弦的上平面作为基准,计入设计给定的起拱值进行整体组装。现场连接节点用螺栓连接时,用销钉穿入螺栓孔,保证螺孔偏差为0.5mm;现场连接节点焊接连接时,则上弦保证上平面尺寸,下弦保证下平面尺寸,构件厚度以中心线为基准。

桁架上下弦连接节点不在同一立面时,要制作工艺连接节点,固定上下弦,以保证组装准确。

组装后用圆冲打钢印,作好组装标记。发运单元一般应做成带有节点的上下弦杆构件,腹杆做成直段,而上下弦杆构件的长度不应超过18 米,并在分段处焊接临时连接板,到工地穿孔定位,保证顺利安装。

3. 焊接和校正

整体装配后进行焊接,用CO2 气体保护焊焊接,对称进行,按焊接工艺要求进行预热和保温。

焊后进行校正。

4. 除应力

大型节点及焊缝较为集中的构件焊后进行消除应力处理。

5. 整体制作

在专用平台上进行桁架的整体装配。

1) 平台

由于桁架制作尺寸较大,必须设置专用平台,用水平仪检测平台的平面度,误差控制在5mm 范围内。清除装配范围内的垃圾,焊瘤,码脚等杂物。并保证平台牢固固定。

2) 划线

以桁架上弦构件的上平面为基准,按设计要求的起拱值放出起拱量,用专用划线工具作桁架各构件起拱后的位置线,划线误差应控制在1mm 范围内。

3) 装配

在构件装配线的外侧,用钢板制作定位块,点焊在平台上。

依次将应装构件吊上平台,调整位置,主构件装配到位后,装配用螺栓连接的节点板,螺栓孔用销钉定位,复测全部尺寸后再用点焊固定。

用圆冲在构件交点位置作安装标记,打出中心线和相交线。

填写安装记录。

4) 焊接

厂内焊接的焊缝用CO2 气体保护焊焊接,焊接要求见相关焊接章节。根据不同焊缝制定具

体的焊接顺序,对称焊接,把焊接变形控制在最小范围。

5) 校正

焊接后的变形原则上按发运分段用2000t 油压机进行单件校正,局部变形采用火焰校正。

3.2.5 大桁架梁预拼装方案

1. 拼装场地要求:

1) 预拼装场地长不小于45m,宽不小于25m,表面平整。

2) 工厂3PB 车间为钢筋混凝土地坪,桥式起重机为30 吨起重能力,完全符合预拼装条件,可以作为预拼装场地。

2. 拼装胎具

1) 拼装胎具主结构采用BH 型钢及t=40mm 钢板,胎具结构连接点全部满焊。

拼装胎具

2) 胎具顶面根据弦杆或腹杆宽度设置活动调节钢板t=40mm,其下以4 根M24×100 全螺纹螺栓作高度调节器,以2 块t=20mm 经机加工的楔形垫板作活动调节板的支撑。

楔形垫板

3. 预拼装工艺

1) 桁架放大样

在地坪上放桁架大样,并在大样上标出连接口位置。

2) 胎具设置

在大样连接口处设2-5 个胎具为一组,位置定好后,用[16 将同组胎具上、下弦连在一起,使每组的2-5 个胎具形成一个稳定的整体。

3) 胎具调整

胎具设置固定后,在活动调节板顶面相对于螺栓位置标记4 点。

用水准仪DS2800 测量每个胎具活动调节板上已标记4 点的高程,并作详细记录。

选择一个合适高程做基点,以水准仪测控,旋转活动调节板下的螺母,以调整活动调节板高程和板本身的水平度。

当各测量点均调到同一高程后,将楔形垫块加到活动调节板下,夹紧。

4) 在预拼装胎架上按图纸所示尺寸做出结构的大样标记线。

5) 先将大桁架上、下弦杆按标记线摆放、连接、调整合格后,将单件牛腿(放于已调

整好的胎具上)临时点焊到弦杆上,再拼装腹杆,检查各节点接口、连接板及螺栓孔的详细尺寸。

6) 高强度螺栓和普通螺栓连接的多层板叠,应采用试孔器进行检查,并应符合下列规定:

(1) 采用比孔公称直径小1.0mm 的试孔器检查时,每组孔的通过率不应小于85%;

(2) 当采用比螺栓公称直径大0.3mm 的试孔器检查时,通过率应为100%。

7) 禁止用外力强力拼装,各部尺寸测定前,拼装时所用的临时装具、卡具、固定件要全部拆除。

8) 预拼装检查合格后,应标注中心线、控制基准线等标记,必要时应设置定位器,并作好详细的预拼装记录。

9) 拆除装配时,单件牛腿等临时点焊处用磨光机打磨光滑。

检验标准

项目

允许偏差mm

跨度最外两端安装孔或两端支撑面最外侧距离

5.0

10.0

接口截面错位

2.0

设计要求起拱

±l/5000

设计未要求起拱

l/2000 0

节点处杆件轴线错位

4.0

4. 预装构件的现场定位和装配次序

1) 在工厂的构件预装过程中,要考虑工地焊接的焊接收缩余量,对合格构件定位后相互之间必须采用附加的连接件,以保证构件在工地拼装时相对位置准确。

2) 由于许多现场安装的构件属组合型截面,因此在详图设计时要考虑现场可操作的焊接位置,同时避免较大焊接工作量。

3) 现场如采用整体提升桁架,则各构件在对接处的坡口按有利于工地焊接的方向开设。

3.2.6 配合安装公司进行工地拼装

1. 工地拼装场地条件:

1) 拼装场地长不小于45m,宽不小于25m,表面平整。

2) 有足够的地耐力。

3) 有足够的起重设备。

2. 对安装公司就有关拼装问题,将工厂预拼装记录及有关注意事项,进行交底.

3.3 十字柱(王字柱)制作工艺

3.3.1 十字构件

1. 十字柱柱中的BH 型钢

在H 型钢生产线上进行组立和

焊接,长度加放30mm 余量;

十字柱的T 型钢下料

 

典型十字柱装配示意图

后,按原寸资料开焊接坡口,两边同时开。然后拼接,制作成H 型钢,长度加放30mm 余量,焊接校正并检验合格后纵向点焊处断开。(断面外形见下图);

焊接时按图示顺序进行。

a、b 部位先用CO2 气体保护焊焊接(打底焊),焊完a 部位后即焊接b 部位。上层用埋弧焊焊接,先焊b 部位,再焊a 部位。

c、d 部位中的全熔透部位清根,用CO2 气体保护焊打底焊接,焊完c 部位再焊d 部位,然后整条用埋弧焊焊接(非全熔透焊缝直接用埋弧焊焊接),先焊d 部位,再焊c 部位。

3. 十字柱的柱身部分进行组装、焊接,校正;

4. 端部切除余量。切余量时两端各留出3mm 端铣余量并进行端铣;

5. 最后装配底板、顶板和牛腿等附件。

保证牛腿水平标高、翘曲及中心线偏移等公差满足图纸要求;

保证底板、顶板与柱身垂直度及扭曲不得超差。

3.3.2 十字柱制作注意事项

1. 借用柱断面的筋板,保证柱的直线度。

2. 用装配支架保证T 型钢与H 型钢紧密贴合,用斜楔铁辅助装配。

3. 单面装配后,整体翻身装配另一面。

4. 焊接时,先焊接筋板与H 型钢、T 型钢之间的焊缝,翻身焊接背面筋板与H 型钢、T型钢之间的焊缝,然后再焊接T 型钢与H 型钢之间的焊缝。

5. 焊接后整体校正。

6. 端铣时先以底面向上第1 件筋板为基准铣底部,再以铣出后的端面为基准切割余量和端铣。

3.4 网架加工工艺

3.4.1 螺栓球的生产

1. 螺栓球的生产流程:45#圆钢经模锻工艺孔加工编号腹杆及弦杆螺孔加工涂装包装。

2. 圆钢下料采用锯床下料,坯料相对高度H/D 为2~2.5,禁用气割。

3. 锻造球坯采用胎模锻,锻造温度在1200~1150下保温,使温度均匀,终段温度不低于850,锻造设备采用空气锤或压力机。锻造后,在空气中自然正火处理。

4. 螺纹孔及平面加工应按下述工艺过程进行:劈平面钻螺纹底孔孔口倒角丝锥攻螺纹。

5. 螺纹孔加工在车床上配以专用工装,螺纹孔与平面一次装夹加工。

6. 在工艺孔平面上打印球号、加工工号。

7. 螺栓球的主要检测控制有:a.过烧、裂纹:用放大镜和磁粉控伤检验。b.螺栓质量:应达到6H 级,采用标准螺纹规检验。c.允许偏差项目的检查。检验标准如下:

项次

允许偏差

1

球毛坯直径

D120

+2.0 -1.0

用卡钳、游标卡尺检查

D>120

+3.0 -1.5

2

球的圆度

D120

1.5

D>120

2.5

3

螺栓球螺孔端面与球心距

±0.20

用游标卡尺、测量芯棒、高度尺检查

4

同一轴线上两螺孔端面平行度

D120

0.20

用游标卡尺、高度尺检查

D>120

0.30

5

相邻两螺孔轴线间夹角

±30

用测量芯棒、高度尺、分度头检查

6

螺孔端面与轴线的垂直度

0.5%r

用百分数

3.4.2 杆件生产

1. 杆件由钢管、封板或锥头、高强螺栓组成,其主要工艺过程有:钢管下料坡口并编号钢管与封板或锥头,高强螺栓配套并点焊焊接(二级焊缝)抛丸除锈涂装包装。

2. 钢管下料、倒坡口采用管子切割机床一次完成。

3. 杆件组装点焊:按翻样图规定取配对的钢管、锥头或封板以及高强螺栓采用胎具上装点焊。

4. 杆件连接焊接采用二氧化碳气体保护焊或手工电弧焊。

5. 杆件与锥头或封板焊接的焊条采用E4303,焊丝采用ER49-1。

6. 杆件施焊应按GB50205-2001《钢结构工程施工质量验收规范》和JGJ81-2002《建筑钢结构焊接技术规程》规定执行。

7. 杆件的主要检验控制有:

杆件的坡口及坡口后杆件的长度,要求达到±1mm。

编号及焊缝质量,焊缝质量采用超声波探伤,抽查20%。

涂装质量:涂装环境温度为大于5,湿度为小于80%,采用温湿度计控制用测厚仪检查漆膜厚度,厚度为每遍25μm±5。

允许偏差项目的检验:

长度:允许偏差±1mm。

轴线不平直度:允许偏差L/1000,且不大于5mm。

杆件左端面与轴线垂直度:允许偏差为端头面半径的0.5%。

杆件钢管架捆装装运,以利搬运、堆放,保管。

3.4.3 封板、锥头、套筒的生产

1. 封板的生产

1) 封板的加工按下述工艺过程进行:圆钢下料机械加工。

2) 封板下料采用锯床下料。

3) 按封板标准图在车床上加工。

2. 锥头的生产

1) 锥头的加工工艺过程:圆钢下料胎模锻造毛坯正火处理机械加工。

2) 圆钢下料采用锯床下料

3) 锥头锻造毛坯采用压力机胎模锻造,锻造温度在1200~1150下保温,终锻温度不低于850,锻造后在空气中自然正火处理。

4) 按锥头标准图在车床上加工。

3. 套筒的生产

1) 套筒制作按下述工艺过程进行,圆料胎模锻造毛坯正火处理机械加工

2) 圆钢下料采用锯床下料。

3) 采用压力机胎模锻造毛坯,锻造温度在1200~1150时保温,使温度度均匀,终段温度不低于850,锻造后在空气中自然正火处理。

4) 按套筒标准图要求车加工。

5) 根据设计要求进行除锈处理。

4. 封板、锥头、套筒的主要检验控制内容有:

1) 过烧、裂纹、氧化皮等外观缺陷,用放大镜等采用10%数量抽查。

2) 允许偏差项目的检验

项次

项目

允许偏差(mm)

1

封板、锥头孔径

+0.5

 

2

封板、锥头底板厚度

+0.5

-0.2

3

封板、锥头底板二面平行度

0.3

4

封板、锥头孔与钢管安装台阶同轴度

0.5

5

锥头壁厚

+0.5

0

6

套筒内孔与外接圆同轴度

1

7

套筒长度

±0.5

8

套筒两端面与轴线的垂直度

0.5%

9

套筒两端面的平行度

0.5

3.4.4 支座的生产

支座加工按下述工艺过程进行:支座的肋板和底板下料支座底板钻孔支座肋板与底板,肋板与肋板,肋板与球的组装焊接防腐前处理(除锈)防腐处理(涂装)。

3.4.5 支托

支托加工按下述工艺过程进行,支托管及支托板下料焊接。

3.4.6 支座、支托的主要检验控制内容

支座、支托都是在球加完毕的基础进行制作加工,其主要过程 是:钢板切割钢板间底座或托架焊接与球焊接表面处理包装,其检验的主要内容有:

1) 钢板间的焊接:均为角焊缝,应达到3 级以上焊缝质量,焊缝高度应满足设计及规定要求。

2) 与球的焊接:采用E50 系列焊条,焊接质量应达到了3 级以上,高度必须满足设计要求。

3) 底座支托板的平整度应不大于3mm。

4) 螺栓球弦杆孔(或腹杆孔)与底座底板或托板的角度位置误差应不大于±20'。

5) 螺栓球中心与支座底板中心偏移应不大于±5mm。

3.4.7 网架零部件加工到能进行试拼装条件时,应在厂内进行试拼装。试拼装检验合格以前网架零部件不得外运。

 

4钢构件的除锈和涂装

4.1 钢结构抛丸除锈

为了保证摩擦面质量,并为保证钢结构的涂装质量,使漆膜牢固附着在构件表面,特制定本规程。

4.1.1 适用范围

1. 本工艺规程适用于钢结构表面抛丸除锈的施工。

2. 钢结构表面抛丸除锈要在制作质量检验合格后方能进行。

4.1.2 钢结构表面抛丸除锈

1. 钢结构表面抛丸前的要求

1) 钢结构件应经验收合格后才能进行抛丸除锈。

2) 钢结构表面的毛刺、电焊药皮、焊瘤、飞溅物在抛丸前应清理干净。

2. 抛丸所用的空气压缩机应有油水分离器,确保压缩空气中不含水份和油污。空气过滤器中的填料,应定期更换,空气缓冲罐内的积液也应定期排放。

3. 抛丸用的磨料应符合下列要求

1) 磨料应是比重大、韧性强、有一定粒度要求的粒状物。

2) 在使用过程中应不易碎裂并散释出的粉尘最少。

3) 抛丸后不应残留在构件的表面上。

4) 各种磨料的表面不得有油污,含水量不得大于1%。

4. 钢结构抛丸处理后表面质量达到GB8923-88 中的Sa21/2 等级。

1) 抛丸处理后的构件表面的油脂或污垢、氧化皮、铁锈和油漆涂层等污物除净,该表面呈灰白色。

2) 抛丸处理后的高强螺栓摩擦面的粗糙度和抗滑移系数符合设计要求。

5. 抛丸除锈后,应用毛刷等清扫或用干净无油、水的压缩空气吹净构件表面上的锈尘和残余磨料,然后在4 小时内喷涂油漆。

6. 为保护抛丸后构件的表面质量,应根据气象、环境条件作出相应的保护措施,在施工中尽量防止人员触摸和有害物质的沾污。

7. 高强螺栓连接板接触面保证平整(不平度小于1.0mm)。

8. 经处理的摩擦面,施工前按批量做抗滑移系数试验,最小值符合设计要求;发运时按批附3 套与构件有相同材质、同批制作、同一性能等级、同一摩擦面处理办法、同一螺栓直径的三套试件,试件按JGJ8291 规范制作,提供给安装单位进行抗滑移系数的复验,在运输过程中摩擦试件装箱保证摩擦面。

9. 抗滑移系数试验在拉力机上进行。保证高强螺拴的紧固轴力,其摩擦面符合规范GB50205-2001 要求,测得的抗滑移系数必须符合设计要求。如果不符合,对构件摩擦面重新进行处理。处理后的摩擦面重新做试件试验。

4.1.3 质量及验收

1. 构件抛丸处理后表面质量的检查方法:采用对比法检查。

2. Sa2 1/2 钢材表面无可见的油脂或污垢,氧化皮、铁锈和油漆涂层等附着物,任何残留的痕迹应仅是点状或条纹状的轻微色斑。

4.2 钢结构涂装

4.2.1 钢结构涂装

1. 钢结构除锈后要在6 小时内进行喷涂.如有返锈的情况要重新抛丸处理。

2. 涂料开桶后要搅拌均匀,同时检查涂料的外观质量,对颜料比重较大的涂料一般在开桶前1-2 天将桶倒置,以便开桶后易搅匀。

4.2.2 钢结构涂漆工艺流程设计

 

 

 

 

 

 

 

 

 

 

 

 

 

 

1. 涂漆的禁止条件

工作地的环境温度在5以下35以上或相对湿大于80%。

2. 禁止涂漆的范围

1) 地脚螺栓和底板;

2) 高强螺栓摩擦接合面,周围30-50mm 范围内。

3) 与混凝土紧贴或埋入的部位。

4) 现场待焊接的部位,周围30-50mm 范围内。

5) 端铣加工面涂抹201 防锈脂保护。

3. 涂装施工

1) 涂装施工方法,宜采用喷涂的构件采用高压无气喷涂作业,不宜采用喷涂的构件可使用刷涂或滚涂。

2) 高压无气喷涂方式参数:

项目

允许偏差

项目

允许偏差

喷咀口径

0.61.2 mm

喷枪的移动速度

0.11 m/min

喷出压力

20Mpa

喷流的喷射角度

3060°

喷咀与构件表面距离

350450mm

喷幅的搭接

幅度的1/61/4

3) 在刷油过程中用不干胶纸对高强螺栓摩擦面进行遮盖,起到对摩擦面的保护,防止沾上油漆和其它污物。

4) 构件在装车运输过程中,漆膜损伤的部位要进行补刷。

4. 检查

1) 除锈质量必须达到工艺规定的等级,并在规定的时间内涂完油漆;

2) 进厂的涂料应有产品合格证,并应按涂料产品验收规则进行复验。

3) 涂装过程中检查

1) 每道涂层不允许有流淌、起皱和起泡等缺陷,如有,必须进行处理。

2) 在施工过程中涂装的施工粘度变化不能超过规定的范围,如果超过规定的范围,应由指定人员重新配制。

4) 涂装后的检查

1) 涂层外观应均匀、平整,无明显的缺陷。

2) 油漆干膜厚度采用电脑涂层测厚仪测量厚度,总厚度应达到设计规定的标准。

4.2.3 涂装质量保证措施

1. 钢结构涂装

1) 钢构件的除锈要彻底,钢板边缘棱角及焊缝区,要研磨圆滑,质量达不到工艺要求不得涂装。

2) 露天涂装作业应在晴天进行。雨、雪、雾、露等天气时,涂装作业应在工棚内进行,且应以自动温湿记录仪或温湿度仪为准,湿度超过85%,不得进行涂装操作。

3) 操作人员在作业前填写涂装作业申请单,经批准后方可进行涂装作业。同时填写涂装作业施工安全监护通知单

4) 喷涂应均匀,经常用湿膜测厚仪或干膜测厚仪检测,完工的干膜厚度应达到设计要求,漏涂、针孔、开裂、剥离、粉化、流挂现象不允许存在。

5) 经常检查喷涂机、喷漆轮、喷咀、高压胶管之间的连结情况,当天作业后,清洗喷涂设备,以供明天使用。

2. 涂装质量检查标准

涂装以后应对构件进行外观检查和膜厚测量。外观检查对涂装表面进行以下项目的检查:

1) 涂装表面均匀,无明显色差;

2) 无流挂、失光、起皱、针孔、气孔、返锈、裂纹、脱落;

3) 无脏物粘附;

4) 附着良好,无漏涂现象。

外观检查合格以后,对构件进行膜厚测量。对柱、桁架、梁等主要构件抽检20%,次要构件抽检10%。对构件膜厚的抽检,每件不得少于三处,每处不得少于3 点。

 

5加工制作的质量保证措施

5.1 加工制作的检测

5.1.1 原材料检测

1. 检验方法

本工程所有材料将根据设计院图纸要求进行订货。对于制作所采用的材料,需严格把好质量关,以保证整个工程质量。

1) 材料入库后由本投标人物供部门组织质量管理部门对入库材料进行检验和试验;

2) 按供货方提供的供货清单清点各种规格型钢和钢板数量,并计算到货重量;

3) 按供货方提供的型钢和钢板尺寸及公差要求,对于各种规格钢管,抽查其口径、壁厚及椭圆度,对于型钢,抽查其断面尺寸,对于各种规格钢板,抽查其长宽尺寸、厚度及平整度,并检查型钢及钢板的外表面质量;

4) 选取合适的场地或仓库储存该工程材料,按品种、按规格集中堆放,加以标识和防护,以防未经批准的使用或不适当的处置,并定期检查质量状况以防损坏;

5) 汇总各项检查记录,交现场监理确认,并报业主。

2. 原材料检验程序

 

 

 

 

 

 

 

 

 

 

 

 

 

 

 

 

 

 

 

 

 

 

 

 

 

 

5.1.2 制作过程检测

 

 

 

 

 

 

 

 

 

 

 

 

 

 

 

 

5.1.3 无损检测

为保证一、二级焊缝的内部质量,对焊缝进行NDT 检查。对有超声波探伤要求的构件或焊缝按下述要领进行实施。

超声波检查按GB11345《钢焊缝手工超声波探伤方法和探伤结果的分级》进行。其中焊缝检查规则参照下表进行。

 

 

 

 

 

 

 

按单面单侧01 跨距范围内

检查方法

初始探伤

Z 形扫查、左右扫查、前后扫查、斜平行扫查

规定探伤

左右扫查、前后扫查、首振扫查及必要的斜平行扫查

测定范围(时间轴)

δ≤30mm 时为200mm

30mmδ≤40mm 时为250mm

探头

5P9×9K2.5 5Z10×10A70

耦合剂

化学浆糊或75%以上的甘油

装置调整用标准试验片

CSK-IKRB-2

探伤灵敏度(感度)调整用

标准试验片

RB-2

距离波幅校正曲线(DAC)的绘制

RB-2 Φ3

灵敏度及检出水平

判废线:-4dB,定量线:-10dB,评定线:-16dB

检测比例

一级焊缝 100%

二级焊缝 20%

检测时机

焊后24 小时

焊缝内部质量等级及缺陷分级按GB50205-2001 执行。如下表所示。

焊缝内部质量等级及缺陷分级

焊缝质量等级

一级

二级

三级

内部缺

评定等级

-

陷超声

检验等级

B

B -

对所有上述探伤过程中发现的不合格缺陷,应找出原因并及时进行返修,返修后的焊缝应进行再次探伤检查合格。(探伤比例按要求增加并且同一处焊缝的修补次数不应超过二次。若超过二次以上返修者须将修补计划通报业主监理并获批准后方可对这些焊缝进行处理和修补。)

5.2 钢结构构件的组装

5.2.1 构件组装前先检查各组装用零 件的编号、材质、尺寸、数量和加工精度等是否符

合图纸和工艺要求,确认后才能进行装配。(特别是箱形梁的材质应得到确认,才能进入组装)。

5.2.2 组装用的平台和胎架应符合构件装配的精度要求,并具有足够的强度和刚度,经

验收合格后才能使用。

5.2.3 构件组装要按照工艺流程进行,四条纵焊缝处30mm 范围以内的铁锈、油污

等应清理干净。筋板的装配处应将松散的氧化皮清理干净。

5.2.4 构件组装完毕后应进行自检和互检,准确无误后再提交专检人员验收,若在检验

中发现问题,应及时向上反映,待处理方法确定后进行修理和矫正。

5.3 焊接质量保证措施

5.3.1 焊接检查

在焊接检查中,进行焊接前的坡口形状检查、焊接后的外观目视及无损检查,其要领及判定标准按以下内容实施。

焊缝坡口的形式与尺寸应遵照该项目招标文件及设计要求,并参照 GB20205-2001《钢结构工程施工及验收规范》的相关要求。

1. 坡口形状检查

坡口形状检查是确认坡口角度、根部间隙和预拼装焊接状态以及坡口清洁状态是否符合图样、设计文件及相关标准或规范的要求,该检查在各工序中进行及坡口形状检查在各工序中实施自检。

2. 焊接部外观检查

焊接部的外观检查用目视或量规来检验,检查项目和判定标准按设计图样、规范等要求进行。

5.3.2 焊接工艺

1. 定位焊

选择低强度超低氢焊条进行焊接,保证足够的焊接长度和焊角尺寸,以保证有足够的热输入,同时按工艺做好定位焊的预热(采用火焰加热);

2. 坡口根部打底焊

坡口根部打底焊质量,是厚板焊接的关键性步序,除严格执行工艺规定的预热外,应采取大电流高热输入连续施焊(可降低焊缝的冷却时间)的低氢焊接方法(采用自根部深熔、缝中填充、面层焊缝全断面大电流CO2 气体保护半自动焊接方法),同时应保证根部单道焊道有足够的焊缝厚度(保证根部焊缝有足够的强度抵抗焊缝收缩应力);

3. 焊接过程

厚板坡口焊缝在低温环境下焊接,应控制焊接过程的最小层间温度(避免焊道的过快冷却),并应保证焊接过程的连续进行,直至焊接完成,保证接头的热输入稳定;

4. 焊后缓冷

厚板坡口焊缝在低温环境下焊接,焊接后应立即对接头采用保温棉包扎,使焊缝缓慢冷却;

5. 焊后消氢和热处理

厚板坡口焊缝焊接后,应根据接头情况,采取焊后消氢热处理,降低接头的氢含量,可降低接头的冷裂倾向。

5.3.3 焊接过程检查控制

厚板在低温环境下焊接,应设置专职检查员,检查焊接环境、焊接条件、焊接材料、焊接加热、焊接工艺的执行情况,并需特别关注定位焊缝和厚板坡口根部打底焊道的质量检查,控制焊缝的缓冷。

5.3.4 厚板质量保证措施

1. 厚板焊缝质量组织保证措施

 

 

 

 

 

 

 

 

 

 

 

 

 

 

 

 

 

 

 

 

 

 

 

 

 

 

 

 

 

 

2. 厚板焊缝质量技术保证措施

5.4 工厂加工制作成品质量问题处理和预防措施

在工厂加工制作过程中质量产生异常现象时,在适当处理的同时按[不合格品的处理及防止再发生对策体系图]的质量管理体制开展防止再发生的质量保证管理活动。

本投标人标准对构件在工序制作中产生的质量问题分为偶发不良不合格品两类。

5.4.1 偶发不良

产品在制作工序中发生轻微的不良现象(参照下表),在部门标准中制定了修正要领。由检查科在检查中发现的偶发不良填写偶发不良通知单通知责任部门进行处置,责任部门根据发生问题的现状进行返工,返工后由检查科进行再确认。

偶发不良表

 

 

 

 

 

 

 

 

偶发不良的内容

加工

钻孔的遗漏、孔位置、孔径、孔间距离尺寸的

误差。

气体加工造成的伤痕、气割面的粗糙等。

因图纸放样资料指

示有误而造成的为

不合格品。

因图纸放样资料指

示有误而造成的为是不合格品

组装

材料拼装位置的误差、拼装精度不良、矫正不

足等。

焊接

未焊透、未融合、夹渣、气孔、外气孔、焊瘤、

咬边、焊道不整、引弧、飞溅、脚长不足·

大、绕焊不良、焊缝不足、余高不足、其他形

状的不良等。

裂纹是不合格品

产品外观

伤痕(擦伤、器具引痕)

不洁(残留有焊瘤等)

由其它部门在工序制作中发现的偶发不良直接指示制作者对不良内容进行返工,并由检查员进行再确认,合格后方可流入下一道工序。

对于偶发不良问题的集中点,由责任部门召开部门改善会议,找出发生问题的原因,制定对策并实施,最后会同质控部确认其实施效果。

当偶发不良的发生率超过公司规定的目标值后将其视为不合格品,并按不合格品的预防处理措施进行处理。

5.4.2 不合格品

从加工图开始到制造交货为止的阶段中,不符合适用规格、标准、加工图要求,存在严重质量问题的的产品为不合格品。

发生不合格品时检查部门在该不合格品上贴上明确的识别记号,并与其他产品隔离以免被误用。并由质量控制部经理对不合格品进行确认。质量控制部经理决定了不合格品的责任部门之后通知该部门。检查科工程负责人针对不合格事项编制《不合格发生报告书》并发放给质量控制部、处理部门及其他关联部门。

质量控制部门根据需要与有关部门协商后决定以下所示中的任何一个不合格品的处理方法,确定了处理部门之后与有关部门联系。处理部门在返工或返修时应编制处理要领,填写在《不合格发生报告书》中的修正措施栏中并同时实施纠正措施。《不合格发生报告书》(原稿)由质量控制部作为质量记录进行保管。

返修措施实施后,由检查员对返工或返修后的不合格品实施再检查。再检查为合格时,由质量控制部经理对处理结果进行确认。并指示除去不合格品的标识记号。允许流入下一工序。

 

6构件的验收和运输

6.1 产品包装

产品包装是保护产品性能,提高其使用价值的手段。通过储存、运输等一系列流通过程使

产品完整无损地运到目的地。

6.1.1 钢结构包装必须待油漆完全干燥并检查验收后才能进行包装。

6.1.2 包装是根据钢结构的特点、储运、装卸条件和客户的要求进行作业,做到包装紧凑、防护周密、安全可靠。

6.1.3 包装钢结构的外形尺寸和重量应符合运输方面的有关规定。

6.1.4 钢结构的包装方式有:包装箱包装、裸装、捆装和框架包装等形式。

1. 包装箱:适用于外形尺寸较小、重量较轻、易散失的构件,本工程中,如连接件、螺栓或标准件等。

2. 裸装:适用于重量、体积均较大且又不适合于装箱的产品,如梁、钢柱、桁架梁等。

3. 捆装:适用于支撑类没有节点的钢结构,每捆重量不宜过大。

4. 框架包装:采用型钢制成的框架用螺栓(M20 为宜)紧固,将构件固定在其中,这种包装形式适用于钢柱、大型节点等。

5. 包装要求

1) 包装依据安装顺序、分单元配套进行包装。

2) 装箱构件在箱内应排列整齐、紧凑、稳妥牢固,不得串动,必要时应将构件固定于箱内,以防在运输和装卸时滑动和冲撞,箱的充满度不得小于80%。

6.2 钢结构运输

6.2.1 运输方式的选择

柱、梁及一般构件断面均未超大,长度也不超长,可将构件运输至北京中转场地,再由中转场地按安装计划配套运到工地。

6.2.2 运输过程中的质量保证措施

1. 在运输过程中,派专人负责装运,并派员押到工地,对装卸的质量作全面的负责与监控,发现问题及时解决并及时反馈给公司,以便作出第一时间的处理,从真正意义上把质量放在第一位。

2. 钢结构装载与加固的基本要求是必须能够经受正常的运输中所产生的各种力的作用,以便保证钢结构在运输的全过程中不致发生移动、滚动和坠落等情况。

3. 钢结构装货要求

1) 钢结构运输应按安装顺序进行配套发运出货。

2) 装载须均衡平稳、捆扎牢固。

3) 运输构件时,根据构件规格、重量选用运输工具。大型货运汽车载物高度从地面起不准超过4 米,宽度不准超出厢,长度前端不准超出车身,后端不准超出车身2 米;对于船运构件,装载时不超过船弦,大型节点装运时,每个都要做固定,防止船体颠簸,构件相互碰撞损伤,

4) 车运构件时,封车加固的铁线(或钢丝绳)与其在车底板上投影的夹角一般接近45度。钢结构长度未超出车厢后栏板时,不准将栏板平放或放下;超出时,构件、栏板不准遮挡号牌、转向灯、制动灯和尾灯。

5) 船运构件时,要对构件进行包覆,防止构件海水侵蚀。

6) 钢结构的体积超过规定时,须经有关部门批准后才能装运。

4. 加固

1) 加固材料:通常使用的加固材料有:支架、垫木、三角木(包括钢材制作的)、挡木、方木、铁线、钢丝绳、钢丝绳夹头、紧线器、倒链等。

2) 加固时,用铁线(或钢丝绳)拉牢,形式应为八字形、倒八字形,交叉捆绑或下压式捆绑。

6.3 现场交货及验收

为保证该项目施工工期,使产品数量、质量和交货进度达到安装的要求。特制定本交货及验收标准。

6.3.1 钢结构产品先运到北京设立的构件中转仓库,进行成品堆放,把分批从工厂发至北京的构件分类存放,待安装时按安装计划配套运至工地。

6.3.2 钢结构产品运抵到安装地后进行产品的交货及验收。

6.3.3 派专人在安装地负责交货及验收工作。

6.3.4 交货工作由制作公司和安装方的专职人员共同进行交货及验收工作。

6.3.5 包装件(箱包装、捆包装、框架包装)开箱清点时由双方人员一起进行。

6.3.6 交货依据:依据开出的产品发货清单和图纸。

6.3.7 交货:依据产品发货清单和图纸逐件清点,核对产品的名称、标记、数量、规格等内容。

6.3.8 交货产品在名称、标记、数量、规格等和发货清单相符并双方确认,然后办理交接手续。

 

7材料采购及供应计划

针对本工程钢材选用的特点和技术要求,以及采购周期内所反映的影响情况,在本项目钢材采购方案中,本投标人将就解决上述问题所遵循的采购及管理原则,以及建立在本投标人对钢材采购优势基础上的保证措施作如实的介绍。

7.1 钢材采购的保证措施

针对本项目所用钢材的特点、难点,为确保本项目钢材供应上做到资源充足、保证质量、保证使用的安全性,本投标人将以主、辅两个渠道,国内、国外来满足本项目钢材需要:

根据本项目计划实施的特点,对于钢材采购较集中的计划区域,本投标人将采取主、辅两个渠道并举的措施来消除采购中可能出现的瓶颈口。以各钢材供应厂商的特点、装备配置情况和采购期内的钢厂产能负荷情况;以组合采购的方式,及时调整采购方案,保持钢材资源充足,采购渠道游刃有余,钢材供应保障度高,为整个项目的工期保障奠定坚实的基础。

7.2 材料供应计划

7.2.1 与总体施工进度计划相结合,根据总体进度计划安排构件生产计划,确保在吊装前构件提前运至施工现场。

7.2.2 现场计划调整要及时反馈加工厂。

7.2.3 施工现场留驻加工厂人员,配合解决现场构件调配及进度问题。

7.3 材料采购预案

本项目所需的Q345、Q390、Q235 钢板、型钢及钢管等均由国内知名厂家提供,并且已经落实了供应计划,详见投标商务文件。

 

7、钢结构安装工程

1总体施工技术方案

1.1 工程概况

1.1.1 工程钢结构总体分布

1. 工程主要钢结构分布情况

钢结构分布示意图

2.各部分钢结构工程概况

1) 展览大厅:由14 根钢柱支撑,10 根由地下二层到4 层为劲性混凝土钢柱,钢柱截

面分别为:700mm×700mm×45mm×45mm,4 根由2 层到4 层为H 型钢柱,钢柱截面分别为:400mm×400mm×21mm×13mm。钢桁架底标高为+13.00m,顶标高为+17.70m。钢桁架共计8 榀,EHT1及EHT6 为一种两个,详细资料见下表:

序号

桁架名称

桁架尺寸(长×高)

m

杆件截面型式

mm

桁架重量

t

1

EHT1×2

20.0×4.7

388×402×15×15

21.6

2

EHT2

20.0×4.7

428×407×35×20

33.1

3

 

 

458×417×50×40

 

4

EHT3

20.0×4.7

414×405×28×18

22.3

5

EHT4

48.6×4.7

414×405×28×18

73.6

6

 

 

498×432×70×45

 

7

EHT5

48.6×4.7

414×405×28×18

85.7

8

 

 

458×417×50×40

 

9

EHT6×2

25.8×2.3

428×407×35×20

66.1

2) 视像室(AVroom):由7 根钢柱支撑,由一层为劲性混凝土钢柱,钢柱截面分别为1000mm×1000mm×60mm×60mm,1000mm×500mm×60mm×60mm,二层至三层为十字型和王字型钢柱,柱截面分别为1000mm×1000mm×60mm×60mm,1000mm×500mm×60mm×60mm,上部为工字型和王字型钢柱,钢柱截面分别为:500mm×500mm×60mm×60mm,1000mm×500mm×60mm×60mm。钢桁架底标高为+9.60m,顶标高为+16.90m。钢桁架共计10 榀,详细资料见下表:

序号

桁架名称

桁架尺寸(长×高)(m

杆件截面型式(mm

桁架重量(t

1

TRUSS1

44.5×7.3

500×500×32×24

122.7

2

 

 

500×500×60×60

 

3

 

 

500×500×40×40

 

4

TRUSS2

44.5×7.3

500×500×32×24

121.2

5

 

 

500×500×60×60

 

6

 

 

500×500×40×40

 

7

TRUSS3

44.5×7.3

500×500×32×24

138.9

8

 

 

500×500×60×60

 

9

 

 

500×500×40×40

 

10

 

 

700×300×24×13

 

11

TRUSS4

18.5×7.3

500×500×32×24

29.5

12

 

 

400×400×26×19

 

13

TRUSS5

18.5×7.3

500×500×32×24

58.6

14

 

 

500×500×60×60

 

15

 

 

750×500×60×60

 

16

 

 

500×500×60×60

 

17

TRUSS6

20.0×5.0

250×250×11×11

9.7

18

 

 

390×300×16×10

 

19

 

 

582×300×17×12

 

20

TRUSS7

30.0×4.6

350×350×23×17

20.3

21

 

 

300×300×19×14

 

22

 

 

400×400×26×19

 

23

 

 

350×350×350×350

 

24

TRUSS8

10.0×3.8

500×500×32×24

10.1

25

 

 

400×400×26×19

 

26

 

 

400×400×50×40

 

3) 舞台塔:由4 根混凝土柱、一个钢柱支撑,钢柱截面尺寸为φ500mm×35mm,混凝土FTC3 及FTC7 由2 层~3 层为劲性混凝土钢柱,钢柱截面均为400mm×400mm×70mm×24mm 。

钢桁架底标高为+10.75m,顶标高为+22.60m。钢桁架共计8 榀,详细资料见下表:

序号

桁架名称

桁架尺寸(长×高)

m

杆件截面型式

mm

桁架重量

t

1

FT1

37.5×11.85

400×400×70×24

86.5

2

 

 

428×407×35×20

 

3

 

 

300×305×15×15

 

4

 

 

400×408×21×21

 

5

FT2

22.0×11.85

400×400×70×24

30.7

6

 

 

400×408×21×21

 

7

 

 

300×305×15×15

 

8

FT3

56.8×11.85

400×408×21×21

40.6

9

 

 

300×305×15×15

 

10

FT4

28.0×7.0

400×408×21×21

35.7

11

FT5

28.0×7.0

428×407×35×20

41.5

12

 

 

400×408×21×21

 

13

FT6

27.6×11.85

400×408×21×21

50.0

14

FT7

28.2×11.85

300×305×15×15

29.8

15

FT8

30.0×7.0

400×408×21×21

37.8

4) 数码电影院由11 榀桁架组成,长度由6.8m 加上沿墙方向从2m 至6m 线性变化的悬挑部分,重量由6t~12t 变化不等。

5) 剧院座位处由16 个劲性混凝土柱支撑,钢柱截面尺寸为1150mm×1150mm×50mm×50mm、1150mm×1150mm×80mm×80mm、1150mm×1150mm×100mm×100mm。

6) 高层酒店:高层酒店平面呈字型,西侧开口两端电梯井四角及东侧核心筒内设有劲性钢骨柱。在两个电梯井之间处5 层、15 层、25 层各设置一道水平钢管桁架支撑,由φ800mm×20mm 钢管相贯焊接而成;-1~10 层、10~20 层,20~30 层各设置一个钢管结构的十字支撑,支撑与水平钢管桁架相交,十字支撑由φ1200mm×40mm 钢管加工而成;从二十九层开始至三十层设置5 榀钢桁架,形成吊挂系统,底标高为+129.90m,顶标高为+137.90m。

钢桁架详细资料见下表:

 

 

 

 

序号

桁架名称

桁架尺寸(长×高)(m

杆件截面型式(mm

桁架重量(t

1

HLT1

26.4×8.0

414×405×28×18

73.9

2

 

 

458×417×50×40

 

3

 

 

498×432×70×45

 

4

HLT2

26.4×8.0

414×405×28×18

74.1

5

 

 

458×417×50×40

 

6

 

 

498×432×70×45

 

7

HLT3

28.5×8.0

414×405×28×18

69.9

8

 

 

458×417×50×40

 

9

 

 

498×432×70×45

 

10

 

 

400×400×40×40

 

11

HLT4

9.0×8.0

498×432×70×45

12.6

12

HLT5

28.5×8.0

414×405×28×18

43.5

13

 

 

498×432×70×45

 

14

 

 

400×400×40×40

 

 

酒店顶层桁架下弦吊挂两层结构(二十七、二十八层),标高由121.9m~129.9m,结构由H 型钢柱及H 型钢梁组成。

7) 外包钢网架:自西向东延伸的折板形外包钢网架将群楼及高层酒店连为一体,并形

成整个TVCC 大楼屋顶及东西向外檐金属和玻璃幕的支撑结构体系,由抗震缝及伸缩缝分为8个区域,各区域面积分别为:

序号

区域

面积(m2

1

01

2360

2

02

1900

3

03

3830

4

04

3870

5

05

2870

6

06

2450

7

07

760

8

08

3140

合计

 

21180

网架布置示意图

钢网架采用正放四角锥螺栓球节点体系,网架矢高2.2m,网格间距为5000mm×5000mm,螺栓球直径φ300mm,杆件分为5 种规格详见下表所示:

序号

杆件类型

规格(mm×mm

TYPE1

圆管

Ф224×20

TYPE2

圆管

Ф224×16

TYPE3

圆管

Ф224×12.5

TYPE4

圆管

Ф224×10

TYPE5

圆管

Ф224×8

西侧网架水平支撑构件:结构西部支撑钢网架的钢管,规格φ355mm×15mm,共3 根。竖向支撑构件:钢管支撑,规格φ950mm×30mm,共3 根, φ450mm×30mm,共6 根。

3. 钢结构主要节点形式介绍

1) 建筑物各功能区基本为型钢钢柱和劲性钢柱,型钢钢梁和钢桁架组成。承重梁柱大部分节点为焊接节点。典型截面及节点形式如下图所示:

十字钢柱 王字钢柱 梁柱及支撑节点

桁架上弦节点 桁架腹杆连接节点

2) 网架为四角锥螺栓球网架,部分节点与结构通过钢管支撑连接,部分网架支座与结构预埋板连接。

四角锥螺栓球节点 网架与钢管支撑连接节点

1.1.2 主要施工材料

1. 钢材:本工程主要采用Q235、Q345、Q390 等级的结构钢材,其质量标准应符合现行中国标准《碳素结构钢》(GB/T 700)和《低合金高强度结构钢》(GB/T 1591)的规定。同时符合本工程设计依据的其他中国规范对于结构钢材的要求。

1) 酒店大楼

高层结构:F5、F15、F25 由圆管组成的水平支撑桁架,

F29-F30 桁架:Q345,

F27-F30 上的钢梁:Q345,

F26A-F26D 斜支撑:Q345,

屋顶网架结构:Q345,

西区支撑墙楼梯塔:Q345。

2) 裙楼结构(包括地下室部分)

展览大厅,后舞台梁及柱:Q345 ,

舞台塔桁架:Q390,

视像室梁、桁架及柱:Q390,

其余未标明的部分均采用不少于Q345 的型钢。

2. 连接材料

1) 焊接材料

除非另外说明,所有对接焊缝采用全熔透等强度对接焊缝。

焊接材料产生的焊接金属的机械性能应不低于次要焊件的机械性能。

手工焊接应采用符合现行国家标准《碳钢焊条》(GB/T 5117)及《低合金钢焊条》(GB/T 5118)规定的焊条。对Q235 级钢采用E43 型焊条,对Q345 级钢采用E50 级焊条,对Q390 级钢采用E55 级焊条。

自动焊接或半自动焊接采用的焊丝和焊剂,应与主体金属强度相适应,焊丝应符合现行国家标注《熔化焊用钢丝》(GB/T 14957)或《气体保护焊用钢丝》(GB/T 14958)的规定。

焊接工作所采用的焊接方法、工艺参数应符合现行国家标准《建筑钢结构焊接规程》

(JGJ81-2002)的规定。首次采用的焊接方法及焊接材料需做焊接工艺评定。除非另有说明,结构构件间的焊接连接应具有最小6mm 的连续角焊缝。部分熔透对接焊缝应比标明的焊接尺寸大8mm。

2) 螺栓连接

普通螺栓应符合现行国家标准《六角头螺栓-A 和B 级》(GB/T 5782)和《六角头螺栓-C级》(GB/T 5780)的规定。

除非另有说明,所有螺栓连接节点采用采用10.9 级摩擦型高强度螺栓。

高强度螺栓应符合现行国家标准《钢结构高强度大六角头螺栓、大六角头螺母、垫圈与技术条件》(GB/T1228~1231)和《钢结构用扭剪型高强度螺栓连接副》(GB/T 3632~3633)的规定。高强螺栓摩擦面处理方法采用喷砂,抗滑移系数不得小于0.45。

3) 抗剪栓钉

抗剪栓钉为直径19mm,长100mm 的带柱头栓钉。栓钉的尺寸、性能和强度应符合GB10433。

(极限抗拉强度=400MPa)

在梁顶通长排布焊接栓钉处,应不喷涂。

所有宽度大于150mm 的楼板梁应采用双排抗剪栓钉,中心间距150mm,栓钉尺寸为19mm×100mm 长;所有宽度小于150mm 的楼板梁应采用单排抗剪栓钉,中心间距150mm,栓钉尺寸为19mm×100mm 长,除非另有说明。楼板梁的定义延伸至所有支撑组合楼板的构件,包括托梁和桁架弦杆。

4) 灌浆

所有钢柱柱脚底板进行密实灌浆,应采用非收缩性水泥砂浆,其28 天强度不得低于60N/mm2,并符合中国规范《钢结构施工质量验收规范》(GB50205-2001)的相关要求。

5) 压型钢板

压型钢板采用镀铝锌钢板,双面镀铝锌总量为300g/m2(含5%铝)。钢板屈服强度fy=350N/mm2。压型钢板采用闭口型截面,其抗火性能须经消防部门指定的国家级检验单位检验通过。

1.2 工程特点与施工关键点及特殊部位

1.2.1 工程特点

1. 工程规模大,构件吨位重

1) 结构占地面积约25000m2,其中地上结构占地面积约14500m2,结构北侧为为地下室,根据结构功能划分,钢结构分布比较分散,距地下结构外墙距离较远,吊装机械选择及布置困难。

2) 结构主要由钢柱及钢桁架组成,单体构件重量大:十字钢柱每米最大重量为2.64t,最长15m;钢桁架最大重量为139.9t。

2. 材质要求高,加工及现场安装难度大

1) 材料为低合金结构钢Q345 及Q390。大截面H 型构件及十字构件,板厚达100mm,对焊接产生的应力、变形收缩值和层状撕裂都需要制定严格的措施。

2) 单体构件体形大,吨位重,无法整体直接运输、安装,需采取分段加工。为保证施工质量,必须确定合理的加工工艺及现场拼装安装工艺。

3. 设计新颖,结构复杂

1) 结构外围包裹一单层螺栓球钢网架,作为建筑的外衣,酒店东西两侧网架为直立形式,网架最高点为159.0m,且西侧网架仅两端与南北楼梯筒连接,中部无结构,安装难度大。

2) 酒店顶层为五榀承重桁架,下弦标高为129.90m,桁架两端与酒店结构连接,桁架下部至标高17.90m 无结构,安装方案的选择及实施难度大。

3) 结构定位共有五组轴线,每栋建筑的轴线均不平行,对建筑物的定位提出了很高要求。

4. 工期要求紧

1) 工程要在2008 年奥运会期间投入节目制作,必须按时交付使用。

2) 钢构件预埋、劲性钢柱等工序施工,与土建单位必须配合密切,必须合理调配各参战单位的施工部署,统筹安排,使工程有序施工。

3) 从钢结构深化设计、组织工程材料、构件制作、运输,到现场施工准备,拼装,吊装,工序繁多,必须衔接紧密、穿插流水、人员机械配备充足,才能按期保质完成。

1.2.2 施工关键点及特殊部位

1. 酒店桁架及吊挂系统施工

1) 酒店二十九、三十层为承重桁架,二十七、二十八层结构利用钢柱与承重桁架连接,吊挂在桁架结构上。

2) 由于采用吊挂结构,施工时不能按照正常施工顺序施工完二十七、二十八层结构再向上施工,而是要先安装二十九、三十层桁架后再安装二十七、二十八层结构。

3) 高层酒店呈字型结构,开口在结构西侧,开口两端的楼梯井筒为劲性钢骨砼结构,中部设有劲性钢骨砼筒,西侧开口宽40m,屋顶有五榀桁架(29、30、31 层),桁架底标高在130m,而下部结构在地上五层,楼顶标高在18m,中间112m 无结构。如何选择施工方案达到设计要求是关键。

2. 结构外包网架施工

1) 网架展开面积为21180m2,为螺栓球节点四角锥网架。标准网格尺寸为5m×5m,网架矢高2.2m。

2) 高层酒店西侧字型开口处,网架分为直立部分和倾斜部分。直立部分Z05 网架由标高北侧74.00m(南侧85.20m)至标高138.00m,共计2870m2,形成字型开口侧的维护结构支撑体系,网架上部与顶层吊挂系统桁架相连,两侧与楼梯筒上的支座连接;倾斜部分Z04 网架由标高北侧18.50m(南侧33.86m)至标高北侧74.00m(85.20m),共计3870m2,网架由上至下向外倾斜,倾斜角度在15º ~16º 之间。此区域网架如何安装,是施工的关键点。

3. 舞台塔部位施工

1) 舞台塔桁架处于结构最深的台仓部位,由地下室-17.95m 至桁架结构之间无混凝土楼板,洞口宽度18m×50m,桁架顶标高+22.60m,无法搭设如此高的安装承重支撑脚手架进行桁架拼装。

2) 舞台塔部分没有屋顶结构,上部靠屋顶网架作为面层,而网架距下部楼板高度超过40m,无法搭设常规安装脚手架。

1.3 施工工法和施工机械设备选择

1.3.1 施工工法的选择根据结构形式及场地情况分为如下三种:

1. 分段吊装,就位拼装

1) 工法简介

由于本工程结构顶面均为钢桁架结构,桁架单体尺寸及重量大,无法地面拼装成整体一次吊装到位。根据实际情况,依据施工机械的起重能力对桁架进行分段加工,依次吊装,在桁架安装位置搭设拼装平台,将桁架立拼装成整体。在桁架下部搭设承重支撑脚手架或安装脚手架,在承重支撑脚手架上搭设拼装平台,对桁架进行定位、施工。

2) 应用范围

主要针对桁架高度不高的低层结构,具体部位为:展览大厅、舞台塔及后舞台、视像室、数码电影院。

2. 地面拼装,整体提升

1) 工法简介

由于酒店顶部吊挂系统桁架底标高在129.90m,桁架两端与酒店楼梯筒及核心筒结构连接,桁架下部至标高17.90m 无结构,净空高度达112.00m。选用其他工法在实施过程中难度很大。地面拼装,整体提升是将酒店顶部桁架在地面将主桁架最重的四榀桁架拼装成整体,并将上下弦的桁架间次梁安装完成,在酒店顶部利用楼梯筒与核心筒安装提升点,共设置6 点提升。将桁架提升到设计标高。

提升点布置示意图

在提升过程中,将承重桁架下吊挂的两层结构柱、梁及其他可以安装的构件全部安装到位随桁架一起提升。

酒店西侧直立网架Z05 上端点与桁架下弦连接,在桁架提升到一定高度后(根据网格高度确定每次提升高度),进行此部位网架拼装,完成后提升,然后再拼装网架,直至西侧直立网架全部拼装完成后,随桁架一起提升至设计标高。

2) 应用范围

酒店桁架及吊挂结构系统、酒店西侧直立网架(Z05)。

3. 分段拼装,分段滑移,滑升

1) 工法简介

酒店西侧网架由标高北侧18.50m(南侧33.86m)至标高北侧74.00m(85.20m)为倾斜网

架Z04,南端与南侧楼梯筒外侧混凝土结构相连,北端与从北侧楼梯筒挑出的钢管相连,中间无支点。楼梯筒两侧无混凝土结构,网架靠外挑钢管支撑,与混凝土结构无直接支撑点。在两个楼梯筒内侧做滑移用的工装,角度根据网架角度设置,在工装外侧做斜向滑移轨道。网架采用分段拼装,每段在地面拼装好以后,滑移至设计位置固定,直至全部滑移安装完成。

舞台塔中间部位有18m×50m 洞口,无法搭设脚手架拼装,在洞口南北两侧搭设拼装平台,桁架拼装完成后,滑移至吊装位置。

2) 应用范围

酒店西侧倾斜网架、舞台塔部分桁架。

4. 高空散拼

结构外包网架,为四角锥螺栓球网架结构,网格间距5.0m,矢高2.2m,除酒店西侧倾斜Z04 部分采用滑移工法、直立Z05 部分采用提升外,其他部位均采用高空散拼方法安装。在网架下部搭设安装脚手架,利用塔吊进行杆件及球节点就位。

1.3.2 施工机械设备选择

1. 塔吊选择:根据钢结构分布情况及土建施工情况选择塔吊,共计3 台,分别为:

塔吊1:C7050,Pe 轴与P21 轴内侧,性能参数:

半径(m

22.4

27

30

37

40

43

47

50

53

57

60

70

吊重(t

20

16.1

14.3

11.1

10.1

9.5

8.5

7.9

7.3

6.6

6.2

5.0

塔吊2:C7050,L 轴与P8、P9 轴中点,性能参数:

半径(m

22.4

27

30

37

40

43

47

50

53

57

60

70

吊重(t

20

16.1

14.3

11.1

10.1

9.5

8.5

7.9

7.3

6.6

6.2

5.0

塔吊3:H3-36B,A 轴与P8、P9 轴中点,性能参数:

半径(m

21.7

24

28

30

36

40

44

50

54

60

吊重(t

12

10.7

8.9

8.2

6.6

6

5.3

4.55

4.15

3.6

2. 由于剧场看台钢柱TC1~TC3 重量较大,每米重量在1.5t~2.6t 之间,利用塔吊H3-36B 起重量达不到要求,无法安装。施工此部位时,现场配备一台300 吨履带吊车,性能参数如下(单位:t):

工作幅度

m

后方、侧方作业

10.2m

15.65m

21.1m

26.55m

32m

5

14900

14000

9500

7050

 

6

12000

12000

9500

6900

6000

7

9800

10350

8300

6600

5800

8

7800

8260

7200

6000

5300

9

 

6750

6350

5470

4800

10

 

5620

5700

5000

4500

11

 

4740

4930

4620

4050

12

 

 

4220

4180

3700

13

 

 

3630

3750

3480

14

 

 

3150

3260

3180

15

 

 

2740

2850

2900

3. 为避免塔吊吊次多,选择25 吨汽车吊配合构件卸车,及现场构件倒运。性能参数如下(单位:kg)

幅度

18m

24m

30m

36m

42m

48m

54m

60m

66m

72m

78m

84m

90m

 

半径

10

170

169

168

167

167

160

140

102

 

 

 

 

 

11

149

148

147

146

145

145

146

131

107

 

 

 

 

12

128

127

126

125

124

124

127

123

112

94

80

70

 

14

102

101

100

99

98

98

100

100

96

89

74

69

58

16

84

83

82

81

81

80

83

82

80

78

69

67

54

18

72

70

70

69

68

67

70

69

69

65

64

65

52

20

 

61

60

59

58

58

60

60

59

59

58

58

50

22

 

54

53

52

51

50

52

52

52

51

51

51

49

24

 

 

47

46

45

44

46

46

46

45

45

45

44

25

 

 

38

37

36

35

37

37

37

36

36

35

35

26

 

 

 

33

32

31

34

33

33

33

32

32

32

30

 

 

 

 

29

28

31

30

30

30

29

29

29

32

 

 

 

 

27

28

28

27

27

27

27

26

26

34

 

 

 

 

25

24

26

25

25

24

24

24

24

36

 

 

 

 

23

22

24

23

23

22

22

22

22

38

 

 

 

 

 

20

22

21

21

20

20

20

20

 

2主要施工控制线路

2.1 施工总体安排

2.1.1 施工工序流程

1. 施工工序流程图

2. 分部钢结构施工流程

 

 

 

 

 

 

 

 

 

 

 

 

 

 

 

3. 施工流程中主要工序控制点

1) 视像室施工牵涉到酒店高层的插入时间,因此,必须尽早完成。

2) 舞台塔桁架施工利用剧院看台场地搭设拼装平台,要尽早完成,使看台结构能够施工。

3) 舞台及看台部分(结构西部)结构上部没有屋顶,直接利用顶部网架及屋面压型钢板做为屋顶,为使内部下道工序(如装修等)尽早插入,不受外界气候影响,此部位屋顶网架及屋面金属板幕墙要尽早完成。

4) 酒店高层整体提升部分利用酒店两个楼梯筒,要等到混凝土结构强度达到100%后,才能开始提升。

2.1.2 工程材料采购

1. 由于相当一部分构件采用大于25mm 的厚板,为保证钢材的适焊性和抗层状撕裂性能,采用满足冶金部标准YB4104-2000《高层建筑结构用钢板行业标准》的优质国产钢材。目前,国内有能力生产优质中厚钢板的知名企业,完全可以生产优质中厚钢板。因此本工程钢结构所需大量钢材完全可以实现本土化采购。

2. 工程所选用材料必须由经本投标人确认的合格分供方采购。

3. 编制材料采购计划,包括构件制作钢材及现场安装用材料。并对采购计划进行跟踪分析。

2.1.3 钢构件加工

由于结构构件型式多样、重量大,且总加工量非常大。构件不仅有十字型、王字型、H 型钢构件,还有大直径钢管及螺栓球网架结构。加工厂家的选择不仅要保证构件加工成型的质量,而且要保证有较强的年生产能力。因此,加工厂家不一定限制在某一企业,要在全国优秀的钢结构加工企业中综合考察、选择,最终确定钢构件加工企业。同时,充分考虑北京加工企业运输的便利条件,适当的构件可选择在北京当地加工,来分担主要构件加工负担。

钢柱与钢桁架单体重量大,加工单位必须与安装施工单位结合,对柱及桁架进行分段划分,严格按照分段计划进行加工。

总之,构件加工必须严格按照进度计划进行,决不能出现现场安装等加工构件的情况出现。

2.1.4 钢结构安装

本工程钢结构布局分散,相当于若干个小的安装工程。对于低层钢结构,结构型式基本相同,均为钢柱桁架结构,安装工法基本相同。安装时利用塔吊进行吊装,部分构件(剧院座位钢柱部分)吨位大,需安排大吨位吊车(300t 履带吊)进行施工。钢结构安装时,要与土建施工密切配合,搭设承重支撑脚手架及安装脚手架,根据土建结构施工安排,及时插入进行预埋件安装。

酒店顶层钢结构安装采用整体提升施工工法,提升点设置在南北两侧酒店楼梯筒及东侧核心筒上。因此,必须让此部位的结构混凝土达到强度以后才能进行提升牛腿安装及开始提升。

2.2 场区划分及现场平面布置

2.2.1 根据总体施工进度安排,施工场区根据结构的不同区域进行划分,主要分为:舞台塔及后舞台施工区、视像室施工区、剧院座位施工区、展览大厅施工区、酒店高层施工区,以及配合各阶段施工的构件堆放区。

2.2.2 根据各施工区进行现场平面布置,包括构件堆放区、吊装机械布置、施工电焊机棚布置。详见各区域施工平面布置图。

2.2.3 由于现场场地小,在地下室楼板上需设置构件堆放区,在建筑物东侧,堆载限制为35kN/m2;在建筑物北侧,堆载限制为20kN/m2。如预计构件堆载超过限制值时,地下室顶板必须采取支顶加固措施。

2.3 施工控制要点

2.3.1 构件加工及拼装质量控制

由于桁架外形尺寸大,吨位重,无法实现整榀或分段施工。因此,桁架部分进场构件绝大部分为单根杆件,构件进场后需进行二次拼装成形,其控制要点为:

1. 主要构件上焊接的牛腿,定位及角度必须准确,且构件出场前必须进行整体预拼装,避免现场安装中因此出现偏差。

2. 展览大厅、视像室、酒店高层桁架中H 型钢中存在较厚的板材,厚板拼装焊接的质量控制十分重要,因此要严格控制厚板材料的材质满足规范和设计要求的理论性能,确定合理焊接工艺,避免出现层状撕裂等焊接缺陷。

3. 钢柱构件断面形式多样,截面尺寸大,而且板材较厚,除要控制焊接质量外,还要控制构件因焊接引起的变形。

4. 由于工程钢结构部分分布比较分散,钢结构安装必须配合土建总进度部位进行,因此,必须与加工单位协调,按进度部位提供构件。

5. 钢结构与土建砼结构的连接界面多,必须严格控制砼结构中预埋件的安装精度,钢结构安装单位应参与预埋件的安装施工,编制预埋件安装方案,控制预埋精度,保证安装质量。

2.3.2 测量定位

由于本工程轴线较多,相互关系复杂,放线成果完成后,必须严格进行成品保护,定期进行定位点复测,校核准确度。并应注意定位点应布置在基坑开挖时,开挖上口以外较远的位置,最好在7m 以外,避免因基坑边坡位移造成定位点偏移。土建施工中预埋件的埋设与测量精度必须与钢构加工、安装的精度相协调;钢构加工、安装需考虑焊接收缩,温度变形的影响。

2.3.3 结构安装

1. 由于构件基本为散件加工,现场拼装,必须控制拼装精确度。因现场拼装条件远达不到加工厂条件,而且很难校正变形,因此必须制作必要的控制工装器具,避免构件之间拼接造成构件变形。

2. 大型桁架包括展览大厅、视像室、舞台塔及后舞台、数码电影院,其施工工法为下部搭设承重支撑脚手架,高空散拼。此种工法必须制定详细、合理的拼装顺序及焊接顺序,通过定位工装反变形措施及校正揽风、千斤顶等工具和手段,确保整榀拼装的准确性。

3. 酒店顶部桁架的整体提升,除在地面拼装保证精度外,尚需对提升构件进行提升工况验算,保证桁架施工中的强度和稳定安全,同时确定预起拱参数。

4. 酒店外包网架部分,由于外形复杂,安装方案根据不同部位采用不同方案。西侧直立部分Z05 随酒店顶层桁架整体提升。西侧倾斜部分Z04 网架采用分段滑升拼装,在两个楼梯筒搭设滑轨,滑移时应保证两侧受力均匀。其余部位网架均采用搭设脚手架,吊机配合高空散拼方法安装,支座球节点位置和网架构件的加工精度是决定整片网架尺寸是否精确的基准,所以要严格控制。

5. 视像室部位钢结构桁架在酒店高层桁架部位的下方,酒店高层桁架在视像室桁架完成后做完顶层(第五层)混凝土楼板后,在楼板上进行拼装。因此,视像室部位要提前施工,便于酒店结构尽早插入施工。

6. 舞台塔部位桁架施工要占用南北两侧结构搭设拼装平台,平台要搭设到桁架下弦标高,需要在地下室做加固支顶。北侧为地下室部分,拼装平台不妨碍其施工,南侧为剧院看台部分,拼装平台已经占用了剧院看台场地,因此,这两部分存在施工交叉,应尽快让剧院看台部分结构插入施工。

 

3吊装中的施工控制技术

3.1 焊接施工控制

本工程安装以焊接为主,现场焊接采用CO2 气体保护焊及手工电弧焊。为保证钢构件拼装作业在限定的工期内不因焊接施工的质量、数度、检验、转移作业工作台等对总的施工进度造成滞后影响,必须采取合理的作业方式、工艺流程,并采取切实可靠的质量保证措施。

3.1.1 焊接方法、设备及焊材

1. 本工程现场安装节点熔透焊缝采用手工电弧焊和半自动CO2 气体保护焊。

2. 手工电弧焊按设计要求采用E50 系列焊条,结合本工程结构母材(Q345C)选用该系列中的E5016(结506)或E5015(结507)。

3. 焊丝选用与Q345 相匹配的φ1.2 药芯焊丝,焊丝符合GB10045-88 中相关要求。

4. 所有焊材均应有产品质量保证资料,保证合格焊材用于工程。首次选用的焊材重新做工艺评定。

5. 半自动CO2 气体保护焊所用CO2 气体纯度不低于99.5%(体积比),含水量低于0.005%(重量比)瓶内高压低于1MPa 时停止使用。焊接前要先检查气体压力表的指示,焊接时检视气体流量并调节气体流量(16~20L/min)。

6. 施工现场配备焊条烘干箱,焊条烘干工作由专人负责并做好烘干记录。

7. 焊机电压应调节在正常工艺参数范围内,地线压紧牢固,接触可靠,电缆无破损,焊丝包装良好,送丝机均匀送丝,气管应无漏气或堵塞。

3.1.2 焊接准备

1. 焊接工艺评定:针对本工程的焊缝接头形式,根据《JG81-91 建筑钢结构焊接规程》焊接工艺试验的具体规定,组织进行焊接工艺评定,确定完整合理详细的工艺措施和工艺流程。

2. 焊工培训:按照《JGJ81-91 建筑钢结构焊接规程》的规定,对焊工进行复训与考核。

只有取得合格证的焊工才能安排进入现场施焊。

3. 焊接材料:

本工程钢结构现场焊接施工所需的焊接材料和辅材,均有质量合格证书,施工现场设置专门的焊材存储场所,分类保管。

用于本工程的焊条使用前均须要进行烘干处理。

4. 根据构件吊装顺序和进度安排焊接准备工作,提前合理安排焊机风铲和手砂轮机,检查焊接平台(脚手架),及防风围护设施,布置好焊工作业环境,以保证焊工能安全、连续、无障碍作业。

5. 焊接前,检查节点坡口间隙,钢衬垫状况及坡口面质量等,消除影响焊接质量的局部缺陷,清除坡口内浮锈及污物。

3.1.3 结构焊接顺序

1. 结构平面焊接顺序原则上与构件吊装顺序相一致。

2. 竖向焊接顺序

施工层段高强螺栓全部终拧结束焊接顶层梁下层梁中层梁柱/柱接头。

3. 钢柱接头焊接顺序:

为控制钢柱焊接变形,钢柱安装节点的焊接接头采用双人双机对称焊接,换人不停机,一次焊接完成焊接顺序。

钢管柱焊接顺序                H 型柱焊接顺序

1) 采用双人双机焊接时,2 人以均速对称焊接,打底3~4 层,每层起、收弧处错开30~50 ㎜,成阶梯状。焊到柱转角处应放慢速度,使柱角焊缝饱满。

2) 工人同时调转90°到相邻面按以上原则焊至6~8 层,工人再换至原工作面焊接。

3) 按1)、2)条的焊接原则和步骤连续焊接,直至该柱节点焊接完成。焊最后一层盖面焊缝时,应适当减小电流,使外观成形良好。

4) 焊到柱转角处应放慢速度,使柱角焊缝饱满。

4. 钢梁焊接顺序

1) 柱梁节点上对称安装的两根梁应同时焊接,待其焊缝冷却至常温后再焊梁另一端。如对称方向无梁节点,也只能先焊梁的一端,同一根梁的两端不得同时焊接作业。

2) 梁节点的焊接应先焊下翼缘,再焊上翼缘。

3.1.4 钢桁架桁架工艺

1. 焊接工艺

1) 由于本工程结构复杂、焊接量大,焊接是钢结构施工中的关键工序,为了更好地控制焊接变形和减小应力,达到确保焊接质量,保证安装精度的目的,钢桁架主弦杆的对接采用双坡口60°堆焊,并加垫板,全部对接焊缝进行超声波探伤。

2) 焊接顺序:严格控制焊接顺序是保证整个构件焊接后尺寸精度的关键。

上下弦杆件的焊接,是安装焊接的重中之重,必须从组对、校正、复验、预留焊接收缩量、焊接定位、焊前防护、清理、焊接、焊后热调、质量检验等工序严格控制,才能确保接头焊后质量全面达到标准。

组对:组对前采用锉刀和砂布将坡口内壁10~15mm 仔细砂磨去除锈蚀。坡口外壁自坡口边10~15mm 范围内也必须仔细驱除锈蚀与污物;组对时,不得在坡口以外母材上引弧点焊;错口现象必须控制在规范允许范围之内。

校正复检、预留焊接收缩量:加工制作可能产生的误差以及运输中产生的变形,到现场组对时将集中反映在接头处。因此,组对后校正是必须的,焊前应经专用器具对坡口、间隙等认真核对。

2. 焊接定位

焊接定位对于杆端的焊接质量具有十分重要的影响。组装中采用连接板预连接的方法,保证组对准确。

焊前防护:桁架上下弦杆件接头处焊前必须做好防风雨措施,供焊接的作业平台应能满足如下要求:平台面距桁架底部高度约为650mm;密铺木质脚手板,左右前后幅宽大于1.0 米。

焊前清理:正式焊接前,将定位焊处渣皮飞溅、雾状附着物仔细除去,定位焊起点与收弧处必须用角向磨光机修磨成缓坡状,且确认无未熔合、收缩孔等缺陷存在。检查完毕,采用氧炔焰割炬除去连接板。连接板的切除应留下不少于5mm 的余量,除去一切妨碍焊接的器材。

焊接:定位焊采用小直径焊条。定位焊采用与正式焊接相同的工艺,单面焊双面成形。

3. 杆-杆对接焊(上、下弦)均按下述工艺实施

根部焊接:根部施焊应自下部起始出处超越中心线10mm 起弧,与定位焊接头处应前行10mm收弧,再次始焊应在定位焊缝上退行10mm 引弧,在顶部中心处熄弧时应超越中心线至少15mm并填慢弧坑;另一半焊接前应将前应将前半部始焊及收弧处修磨成较大缓坡状并确认无未熔合即为熔透现象后在前半部焊缝上引弧。仰焊接头处应用力上顶,完全击穿;上部接头处应不熄弧连续引带到至接头处5mm 时稍用力下压,并连弧超越中心线至少一个熔池长度(10~15mm)方允许熄弧;

次层焊接:焊接前剔除首层焊道上的凸起部分及引弧收弧造成的多余部分,仔细检查坡口边沿有无未熔合及凹陷夹角,如有必须除去。飞溅与雾状附着物,采用角向磨光机时,应注意不得伤及坡口边沿。此层的焊接在仰焊部分时采用小直径焊条,仰爬坡时电流稍调小,立焊部位时选用较大直径焊条,电流适中,焊至爬坡时电流逐渐增大,在平焊部位再次增大,其余要求与首层相同。

填充层焊接:填充层的焊接工艺过程与次层完全相同,仅在接近面层时,注意均匀流出1.5~2.0mm 的深度,且不得伤及坡边。面层的焊接:杆面层焊接,直接关系到接头的外观质量能否满足质量要求,因此在面层焊接时,应注意选用较小电流值并注意在坡口边溶合时间稍长。焊后清理与检查:上、下弦杆焊后应认真出去飞溅与焊渣,并认真采用量规等器具对外观几何尺寸进行检查,不得有低凹、焊瘤、咬边、气孔、未溶合、裂纹等缺陷存在。经自检满足外观质量标准的接头应鉴上焊工编号钢印,并采用氧炔焰调整接头上、下部温差。处理完毕立即采用不少于两层石棉布紧裹并用扎丝捆紧。上、下弦杆、杆接头焊接完毕后,应待冷却至常温后进行Ut 检验。经确认达到设计标准的接头方可允许拆去防护措施。

4. 钢桁架斜腹杆焊接工艺

本次安装施工中水平斜撑、斜腹杆的焊接集中在桁架线长分段组装处。全部为固定位置焊接。由于构件在长途运输、现场垂直运输过程中以及桁架上、下弦先施焊等因素会使水平撑件与上弦接合处组装、斜腹干与上弦下弦接合处组装出现偏差超标。特别是对开坡口组焊的接头会增加许多难度,对于可能出现对口间隙较大的坡口焊缝,焊接工艺方法正确与否,对桁架的组装质量乃至安全实用性,具有重要影响。因此水平撑件与斜腹杆的现场安装焊接应遵循下述工艺要求:

1) 水平撑焊接工艺

焊前准备:焊接准备包括搭设供操作者便于采取蹲姿、立姿、俯姿,可左右交替往来,牢固并且具有围护的平台。平台铺设石棉布,平台板面距焊口下部必须保证650mm 高度。采用彩条布围护,防止风雨对焊接完毕的接头造成急冷。焊接所需器材,作业器具均应依次到位。焊前清理与检查:焊前清除上弦管壁焊缝区域的防锈油漆,对断切一段应去除管壁内外距切口除不少于15mm 宽度的氧化皮、割渣、外壁锐角。采用角向磨光机将定位焊缝两端修成已与衔接的缓坡状。

焊接:焊接分为打底层与面缝层,均为单道缝。打底层焊接时选用小直径电焊条,电流调节为约90A(φ2.5mm,φ3.2mm);

沿下部中心线将焊口分为两半部实施焊接,焊前应自间隙最小处先焊,多处间隙较小,则分多处将间隙较小处先焊,注意将收弧处弧坑填满;

无论先焊焊缝连贯与不连贯,均应采用角向磨光机去除始端与收端凸起处,形成易使全缝连贯的缓坡状;

接头的阴角部分,使用φ2.5mm 焊条,阳角部分使用φ3.2mm 焊条;

对于间隙较大或缝宽超焊条直径2 倍以上的焊缝,处理方法为在撑管端采用堆垒焊法缩小间隙(不得填充异物,也不得在主弦杆上形成局部高温高热区),修成类似坡口状后全面清渣并采用角向磨光机全面去除凸起部分与飞溅。焊缝的最终完了接头,必须在中部。面层焊缝除必须保证焊脚符合规定外,还必须保证焊缝边缘焊满,缝中区稍凹。

2) 腹杆焊接工艺

腹杆与上下弦接头处焊前检查十分重要,因构件制作所产生的构件误差与变形客观存在,现场安装焊接时对口间隙也将存在误差。对于间隙小于许用焊条直径的焊口,其焊接操作程序无特殊变化;对于间隙较大处应加入衬板,衬板的材质应与构件材料相同,加入的衬板应不妨碍焊缝的有效截面。

5. 对钢桁架焊接变形的控制与限制措施

由于钢桁架跨度大,拼装时很容易产生焊接变形,为保证拼装焊接中几何尺寸的精度和控制变形。在焊接中特采取以下措施:

1) 在立拼胎架上设置与构件相应的螺栓孔并以临时连接板上的螺栓固定,保证构件焊后尺寸保持不变;

2) 钢桁架拼装中必须待每段所有临时螺栓全部固定校正后,再按焊接顺序进行焊接;

3) 焊接之前预先向反向留出焊接收缩余量,该余量与焊接工艺方法有关,在及时调整变形与反变形时,可采用不同的焊接工艺方法;

4) 用临时支撑及时调整变形;

当不易控制焊接变形使其限于较小的变形范围内时,可加临时支撑,待焊缝冷却后再拆除,收缩可减少50%,拼装完成后将控制变形的临时支撑拆除。

5) 采用预起拱,在拆除支撑后,使桁架重力下垂,符合设计要求。

3.1.5 厚板焊接工艺

1. 基本要求

1) 焊接的一般程序为

焊前检查清洁坡口面预热焊接后热检验(外观、UT)填写焊接作业记录。

2) 焊前检查坡口角度,钝边、间隙及错口量,坡口内和两侧之锈斑、油污、氧化皮等清除干净。垫板与母材应贴紧、焊实,引弧板与母材连接牢固。

3) 低氢型E50 系列焊条在使用前要按焊条产品质量说明书要求进行烘干,产品质量说明书未说明的按本工艺执行。

焊条烘干参数

烘干温度(

恒温时间(h

350

2

4) 焊条烘干后应放在保温筒内随用随取,焊条由保温筒取出到施焊的时间不宜超过2h。焊条烘干次数不宜超过2 次。

5) 焊接时第一道应封焊坡口内母材与垫板之连接处,然后逐道逐层焊至填满坡口。每道焊缝焊完后应清除焊渣及焊口内的飞溅物,出现缺陷应及时用角向砂轮机磨除并修补好。

6) 焊接管理人员应每日听取天气预报,以安排下一工作日焊接作业,遇雨、雪天气应停止安排施焊或采用防护措施。

7) 焊接接口四周搭设防风雪设施,用安装平台和脚手架临时搭设,风速大于5m/s(三级)时应停止焊接,检查修整挡风措施至符合施焊要求后再进行施焊。

8) 一个节点焊接口必须一次连续焊接完成,如遇需二次焊接完成,也应在焊满节点焊口的2/3 厚度停止,大于40mm 的厚板,应采取预热、后热保温措施,二次施焊应按正常施焊工艺进行预热、后热和保温缓冷。

9) 当遇特殊情况而中途停焊(如停电、设备故障维修),大于40 ㎜厚板焊口应采用火焰加热100~2000C 保温至故障排除,再进行施焊。

2. 焊接工艺参数

1) CO2 气体保护焊焊丝直径φ1.2mm,电流260~340A,电压30~38V,焊速350~550mm/min,焊丝伸出长度 20 ㎜,气流量16~20L/min。

2) 手工电弧焊焊接电流应按焊条产品说明书规定或参照下表执行

焊条与电流匹配参数

焊条直径(mm

3.2

4.0

5.0

电流(A

100130

160210

200270

3. 预热与后热保温

1) 预热和后热采用火焰加热或电加热片加热。预热和后热在距焊口两侧不小于100mm范围内进行。

2) 根据工程特点、母材材质和厚度及施工经验,选择预热及后热温度如下表:

钢柱节点焊接预热温度

材质

板厚(mm

预热温度(OC

Q345C

40

6080

40t60

80100

60t80

100140

80t

140180

钢柱节点焊接后温度

材质

板厚(㎜)

后热温度(OC

后热时间(h

Q345C

40t60

200250

1

80t

200250

1.5

3) 采用火焰加热时,应在预热或后热范围内均匀加热,并注意随时测量加热温度。加热面的温度测量应在距焊口50mm~75mm 处进行,每侧测量点不少于3 点。

4) 采用电加热片加热时,在加热片外覆石棉保温,加热到预热温度后,拆除加热设备进行焊接。

5) 为避免焊缝急速冷却,产生很大的残余应力,大于40mm 板厚进行后热处理。后热结束,应立即用石棉布包覆焊缝,缓冷至常温。

4. 消除焊接残余应力

1) 按照方案进行预热、后热。

2) 焊接时,控制层间温度在100OC~200 OC 之间。

3) 每道焊缝焊完,进行清渣处理。中间焊层焊完后,用圆头手锤对焊缝进行轻微敲击,消除中间焊层应力。但不应堆根部焊缝盖面焊缝和焊缝坡口边缘的母材进行锤击。

5. 焊缝缺陷的处理

焊缝发生缺陷时,必须进行修补。修补时必须把焊缝缺陷除掉,按焊接工艺再次施焊。一条焊缝修补不得超过二次,否则要更换母材。

6. 冬季施工焊接必须根据焊接工艺评定进行。

3.1.6 焊缝收缩量的测定与反馈

1. 选择不同规格的柱、柱接头和柱、梁接头各2~3 个,焊接前在接头上确定测量点(冲眼或钢针划线),并测量两点距离L1 如图:

2. 焊接完成后在测量AB 两点为L2;焊接收缩量ΔL=L1-L2。

3. 厚板焊缝的横向焊接收缩量按下表取值:

焊缝坡口形式

钢材厚度(mm)

焊缝收缩值(mm)

构件制作增加长度(mm)

19

25

32

40

50

60

70

80

90

100

 

1.3~1.6

1.5~1.8

1.7~2.0

2.0~2.3

2.2~2.5

2.7~3.0

3.1~3.4

3.4~3.7

3.8~4.1

4.1~4.4

1.5

1.7

1.9

2.2

2.4

2.9

3.3

3.5

4.0

4.3

 

12

16

19

22

25

28

32

1.0~1.3

1.1~1.4

1.2~1.5

1.3~1.6

1.4~1.7

1.5~1.8

1.7~2.0

1.2

1.3

1.4

1.5

1.6

1.7

1.8

4. 焊缝的横向收缩值测定由上表和实测结合进行,以实测值为主,当超过允许偏差时,

及时反馈至制作厂,作为下一节构件增加长度的依据。如两者相差过大,技术部门应分析原因。

3.2 工程测量控制

3.2.1 基本要求

1. 钢结构安装施工测量放线工作是各阶段的先行工序、关键过程,又是主要控制手段,是保证工程质量的中心环节。

2. 本工程结构形式多,安装精度要求高,其中钢构件制作、结构放线、轴线闭合、垂直度控制、水平标高等要求较高。

3. 结构内部轴线复杂,共五套轴线,并且相互之间斜向交叉,测量控制难度大,在施工中测量、安装和连接三位一体,以测量为控制中心,密切协作,互相制约。

3.2.2 测量准备

1. 了解设计意图,核实图纸,熟悉标准,掌握工艺。

2. 根据安装精度要求选择测量仪器,所有仪器均须在检定合格有效期内。

3.2.3 吊装前测量施工准备

1. 预埋件验收

1) 交接轴线控制点和标高基准点,布设柱网轴线和定位标高。

2) 复测支座的定位、标高、做好记录。如误差超出规范允许范围应及时校正。

3) 验收合格后方可进入钢柱吊装及桁架拼装工序。

2. 构件进场,测量人员参与检验构件尺寸,主要控制与影响安装时的轴线及标高偏差有关的数据,复核加工加工厂在构件上的定位点是否准确。

3. 测量人员根据检查结果作好每根柱的中心线、标高线标记工作。每节柱在安装前,要将地面的定位轴线及基准标高引测到安装部位,标记在下节柱柱头部位。标高线应从柱顶向下返,据柱底0.5~1.0 米范围内进行标注。

3.2.4 安装校正

1. 柱子的垂直安装偏差利用两台光学经纬仪观测校正,两台经纬仪应架在该钢柱所处的建筑物纵横轴线上,观测柱身表面的中心线。当柱身周围有钢筋混凝土剪力墙预留钢筋时,仪器应架设在无剪力墙的一侧。无法躲避时应将仪器尽量贴近轴线。

2. 所有钢柱从吊装就位到形成框架直至焊接完成的全部作业过程中至少需进行三次校正:

1) 钢柱吊装就位至安装面,首先找正柱底轴线位移,穿入柱身安装连接板上的高强螺栓,用经纬仪找正垂直偏差后拧紧安装高强螺栓;

2) 本柱段上钢梁安装时,用经纬仪观测钢梁安装对柱顶垂直偏差的影响,发现偏差超出允许值时,用缆风绳、倒链及千斤顶校正,校正完成后及时将梁端高强螺栓完成终拧;

3) 当本钢柱段上钢梁安装并形成稳定的框架体系后,进行钢柱底端的柱对接焊施工。首先根据钢柱垂偏值由技术人员确定钢柱施焊顺序是否需要进行调整,需调整时下发书面通知并做好记录。焊接施工过程中,注意观测柱身的垂直偏差变化,对于框架安装过程中垂直偏差较大的钢柱尤其应当特别予以重视,发现偏差加大的情况后可通过调整柱焊接顺序的方式利用焊接变形加以校正控制。

3.2.5 钢结构安装测量预控程序

测量工序伴随整个施工过程,应全程对施工进行检测,并将测量记录结果反馈到技术部门,为下一步施工提供决策依据。

 

 

 

 

 

 

 

 

 

 

 

 

 

 

 

 

 

 

 

 

 

 

 

 

 

 

测量控制点流程

1. 柱子、主梁、支撑等主要构件安装时,应随时跟踪校正,结构形成稳定体系后,应立即进行永久性固定,确保安装质量。

2. 用缆绳或支撑校正柱子时,必须在缆绳处于松驰状态时,使柱子保持垂直,才算校核完毕。

3. 柱子安装时,垂直偏差一定要校正到垂直,不能有偏差,先不留焊缝收缩量。安装及校正柱间梁时,再根据焊缝收缩量,预留接头焊缝收缩量。

4. 栓钉施工前,应放出栓钉施工位置线,栓钉应按位置线顺序焊接。

3.2.6 钢柱安装和校正中的垂制度控制

1. 钢柱安装时沿钢柱轴线的两个垂制度方向架设经纬仪观测,配合安装校正。

2. 钢柱安装时要先调整钢柱标高,再调整位移,最后调整垂直偏差。

3. 安装柱间主梁时,要对柱子进行跟踪校正,对已安装梁的隔跨柱要一起监测。

4. 钢柱与梁连接时先用临时螺栓进行固定,待安装区段单元的构件安装校正后,再以高强螺栓换掉临时螺栓,最后焊接固定。

5. 为了控制和减少温差对测量工作的影响,除了考虑温差效应产生的偏差外,应尽量避开高温施测。

3.2.7 桁架安装控制

1. 根据定位轴线引测柱顶标高至支顶点上,将柱头支座的标高及定位尺寸误差调整在控制范围内。在桁架吊离拼装胎架之前,根据设计图纸,在定出桁架下弦支撑点位,并打好标记,吊装时按照标注就位在支顶点上。

2. 上弦平面控制

根据支座附近的上弦控制点的标高,利用水准仪、平尺等仪器测几个点的标高,以控制整榀桁架的上弦平面。

3. 下挠变形观测

大型桁架在安装位置拼装,检查拼装完成后的预起拱量。

酒店顶部桁架,通过对桁架吊离胎架前,下弦控制点标高及高空就位后上述各点的标高变化的观测,测定桁架下挠变形情况。

4. 桁架的安装校正

钢桁架安装就位后,应在测工的测量监视下,利用千斤顶、倒链以及楔子等对其的轴线偏差以及标高偏差进行校正。

5. 整体校正

每个区域桁架全部吊完后,对这该区的桁架再进行整体测量校正。

3.3 桁架组拼

3.3.1 由于钢桁架截面尺寸超宽、超大,本工程只能将桁架在工厂加工成适合运输长度的单件在现场组拼,现场组拼的质量直接影响安装精度,所以高空拼装胎具的搭设及拼装质量尤为重要。拼装胎具由脚手架搭设,在上下弦杆主管下部设千斤顶,垫枕木,可调节高度和位置,拼装时将桁架的弦杆放在胎架的支撑点上,基本摆放水平。胎架下垫枕木,枕木摆放时用S3 水平仪抄平,胎架搭设好后进行桁架的拼装。

3.3.2 主桁架的分段及组拼顺序示意图(选取舞台塔一榀桁架示意):

搭设拼装台,拼装第一段下弦主梁及相应立柱

拼装第二段下弦主梁及相应立柱

拼装最后一段主梁及相应立柱

 

拼装最后一段主梁及相应立柱

上弦主梁拼装完成

拼装第一段上弦主梁

安装斜杆

安装中间水平杆,桁架拼装完成

3.4 拼装平台及承重支撑脚手架施工

3.4.1 拼装平台及安装脚手架的搭设

由于构件体积大,体量重,桁架采用高空散拼法施工。因此,需要在桁架位置搭设拼装平台。

1. 视像室、舞台塔部分:拼装平台采用脚手架搭设,在平台上铺设脚手板,在桁架拼装接口位置搭设拼装支撑平台,保证平台的总体平整度符合规范要求。拼装平台搭设宽度为4.8m,脚手架排距为1.2×1.2m,分布在桁架两侧:一侧宽度为2.4m,桁架拼装时需要继续向上搭设宽度2.4m 安装脚手架;另一侧放置桁架侧向支撑,宽度1.5m;在安装脚手架与侧向支撑之间拼装桁架。

为保证拼装平台的稳定性,拼装平台下的脚手架需要搭设承重支撑脚手架,并需在相应地下室部位进行支顶。承重脚手架及地下室支顶脚手架排距为1.2×1.2m,步距为0.9m。平台上的安装脚手架排距为1.2×1.2m,步距为1.5m。

2. 酒店高层桁架部分在五层结构混凝土楼板顶部拼装,需要在五层结构以下部位至地下室底板进行支顶。

3. 展览大厅部分为一独立的钢结构框架结构,与其他混凝土结构不发生任何关系,此部位利用布置在其内部的塔吊进行常规梁柱安装。地上第一节钢柱安装完成后,搭设安装脚手架,根据塔吊起重能力,进行二层梁安装,二层主梁根据重量可以进行整体吊装;二层主次梁安装完成后,进行地上二节柱安装,脚手架搭设至桁架下弦,并做拼装平台,将桁架拼装成型。随结构施工随搭设脚手架。脚手架排距为1.5m×1.5m,步距为1.5m。

4. 网架施工时需要搭设安装脚手架,脚手架排距为1.5×1.5m,步距为1.5m。在舞台塔部位搭设门式脚手架,具体方案见5.2 结构外包网架结构安装方案相关内容。

5. 脚手架搭设完后需经质检部门检查验收后方可使用。

3.4.2 承重支撑脚手架及地下室支顶脚手架计算

1. 搭设部位:视像室桁架拼装、舞台塔桁架拼装、酒店提升桁架地面拼装。

2. 承重支撑脚手架计算

支撑架按排距1.2×1.2m 满堂红碗扣架计算,步距取0.9m,高度取11m。

每米脚手架结构自重产生的轴心力标准值gk 取0.26kN/m。则11m 高脚手架自重产生的轴心压力

Nj1=H·gk=11×0.26=2.86kN

构件按视像室最重桁架计算,TRUSS3 重138.9t,长44.5m。考虑到构件重量、施工荷载

等,脚手架承受荷载按140t 考虑,作用在1.5×45=67.5m2 的范围内,脚手架承受施工均布荷

载Qk=1400/67.5=20.74kN/ m2

产生轴心压力

Nh1=20.74×1.2×1.2=29.87kN

底层立杆的轴心压力

N=1.2×2.86+1.4×29.87=45.25kN

1.2——恒荷载使用系数;

1.4——活荷载使用系数;

立杆截面面积:A=4.89cm2

立杆截面回转半径

i=(Imin /A) =(12.19/4.89)=1.58cm

Q235 钢材抗压强度设计值:fc =2.15N/mm 2

则立杆长细比:λ=h/i=90/1.58=60

查表得:稳定系数φ=0.807

立杆稳定承载力设计值:

立杆稳定性满足要求。

 

4大型桁架安装技术

4.1 基本情况

本工程大型桁架由展览大厅、视像室、舞台塔、数码影院四个独立体系组成。展览大厅八榀桁架由14 根钢柱支撑,其中最大一榀桁架EHT5 长48.6m,高4.7m,重97.9t;视像室10榀桁架由7 根钢柱支撑,其中最重一榀桁架重139.9t,长44.5m,高7.3m;舞台塔的10 榀桁架由4 根混凝土柱和一根钢柱支撑,最长桁架长56.8m,高11.85m,重87.1t。数码影院11榀桁架组成。

桁架弦杆采用H 型截面,桁架之间设置水平支撑体系及垂直支撑体系,以加强整体屋盖的刚度。

视像室、舞台塔、数码影院桁架体系均需要和混凝土结构发生关系,因此,混凝土结构施工时,应提前做好预埋工作。

4.2 钢桁架安装方案及施工准备

4.2.1 安装方案的确定

本项工程各独立屋盖钢结构桁架体系体积巨大,结构尺寸长,桁架矢高4.7~11.85m,屋盖采用交叉桁架结构体系,横向桁架为主受力桁架,纵向桁架由横向桁架之间的支撑系统构成。桁架杆件截面主要是焊接H 型钢,最大截面尺寸为750×500×60×60mm,桁架腹杆亦为H 型钢。

1. 展览大厅主桁架南北方向布置,桁架下弦标高为6.7m,上弦标高17.7m,柱间最大跨度25.8m。此部位为一独立的钢结构框架结构,与其他混凝土结构不发生任何关系,利用布置在其内部的塔吊进行常规梁柱安装。地上第一节钢柱安装完成后,搭设安装脚手架,根据塔吊起重能力,进行二层梁安装,二层主梁根据重量可以进行整体吊装;二层主次梁安装完成后,进行地上二节柱安装,脚手架搭设至桁架下弦,并做拼装平台,将桁架拼装成型。拼装顺序见安装流程图。钢结构桁架全部拼装完成后,才能进行土建项目施工。

2. 视像室主桁架东西向布置,桁架下弦标高为9.6m,上弦标高16.9m,柱间最大跨度24.56m。根据塔吊起重能力,且桁架本身重量比较大,无法在现场地面拼装成整体或一个框架体系,只能采取高空散拼法施工。在桁架下部搭设承重支撑脚手架,在地下室相应部位做支顶,在承重支撑脚手架上部做拼装平台,直接将桁架在设计标高位置进行拼装。

3. 舞台塔由10 榀桁架构成,组拼成正方形体系,桁架下弦标高为10.75m,上弦标高22.6m,柱间最大跨度34.432m。其下部为结构最深部位——台仓,深度达到了-17.95m。东西两侧桁架FT1、FT2、FT8 利用一层混凝土楼板,搭设承重支撑脚手架,同视像室拼装方法。中间五榀桁架FT3~FT7,由于下部直至地下二层底板无混凝土楼板,由桁架底到混凝土底板高度达到了28.7m,洞口宽18.0m,长度50m,因此无法搭设脚手架施工。此五榀桁架,采用在南北两侧搭设拼装平台,桁架平拼,在东西两侧铺设滑移轨道,在两侧利用8t 卷扬机提供拉力,使桁架水平滑移至安装部位,利用两侧已经安装完成的桁架或混凝土结构做支点,用卷扬机及倒链,将水平桁架立直,然后与相连部位连接。由于洞口宽度达到了18m,为避免桁架水平滑移时出现平面外变形(下垂变形),滑移前用进行加固。滑移轨道采用钢轨(50kg/m),与滑移平台固定。滑移轨道节点如下图所示:

4. 数码影院部分桁架重量轻,且距塔吊位置较近,根据塔吊吊重,采用整榀地面拼装或高空散拼方法进行施工。

4.2.2 钢桁架安装准备

1. 钢构件与材料的进场和验收

1) 钢构件运至现场,现场卸货后,堆放到指定的临时堆场的指定位置。

2) 钢构件以及材料运输进场应根据安装进度计划来安排,钢构件及材料进场按日计划

确到每件的编号,构件最晚在吊装前一天进场,构件及材料进场要考虑安装现场的堆场限制,尽量协调好安装现场与加工制作的关系,保证安装工作按计划进行。

3) 构件到场后,按随车货运清单核对所到构件的数量及编号是否相符,构件是否配套,如发现问题,应立即通知制作厂迅速采取措施,更换或补充构件,以保证现场急需。

4) 严格按照图纸的有关要求和规范,对构件的质量进行验收检查,并做好记录。

5) 对于制作超过规范误差和运输中受到的严重损伤的构件,在安装前由制作单位进行返修。但对于轻微的损伤,安装单位也可以在现场进行修整。

6) 所有计量检测工具严格按照规定统一定期送检。

7) 构件进场应堆放整齐,防止变形和损坏,堆放时应注意放在稳定的枕木上,并根据构件的编号和安装顺序来分类。

8) 构件的标记应外露以便于识别和检验。

2. 埋件验收

钢结构安装之前,与土建方进行预埋件交接。并派专业测量人员进行验收,检测预埋件的轴线尺寸偏差。预埋件定位、标高验收合格后方可进入吊装工作。

3. 基准线移交

根据土建提供的基准点,进行钢构件基准线和轴线的放线和测量。

4.3 钢桁架结构拼装要求

4.3.1 高空组拼工艺流程如下:

在高空承重架上搭设拼装台放线测量将分段构件摆放在立拼胎架上接口处的腹杆吊装到位在接头两端各系一5t 倒链两端同时收紧倒链,使弦杆对口间隙在6mm用水平仪、经纬仪、钢卷尺反复校核弦杆的垂直度、标高、水平度、总长度、起拱高度等无误后,拧紧接口处的临时节点板的临时螺栓再校正后施全面对称焊接焊缝超声波探伤验收。

标高调整:用桁架下端的千斤顶进行调整。

垂偏调整:用桁架两侧的横向加固器调整。

4.3.2 拼装质量标准

1) 桁架总拼装长度允许偏差为±5~10mm,桁架总拼起拱高度±5~10mm,水平度±0mm,桁架垂直度±2mm。

2) 严格执行各项施工规范制定本工程的测量工艺、焊接工艺保证拼装安装的准确性。

3) 将接头处用临时连接板、临时螺栓固定,校核后焊接。

4.3.3 桁架测量控制

1. 测量的基本内容

桁架测量工作内容包括:钢桁架的安装精度测量,桁架拼装、安装直线度控制,桁架上弦标高控制,变形观测等。

2. 平面测量

根据原有控制桩,经复测闭合后,将主轴设在0.00m 楼面上,定出激光控制点,采用激光铅直仪直接将点位投递到每个施工区。

3. 桁架安装测量控制

桁架安装的测量控制重点在于就位的控制,在柱支座精度保证的前提下,控制以下几个方面。

1) 预埋件验收

交接轴线控制点和标高基准点,布设桁架轴线和定位标高。

复测支座的定位、标高、做好记录。如误差超出规范允许范围应及时校正。

2) 桁架就位控制

根据定位轴线引测柱顶标高至支顶点上,将柱头支座的标高及定位尺寸误差调整在控制范围内。根据设计图纸,在定出桁架下弦支撑点位,并打好标记,吊装时按照标注就位在支顶点上。

3) 桁架标高控制

根据高程控制点的标高,利用水准仪控制拼装平台支撑点标高,保证高差小于规范及设计要求。

4) 桁架的安装校正

对于钢桁架采用滑移方案,滑移到设计位置后,应在测量工的测量监视下,利用千斤顶、倒链以及楔子等对其的轴线偏差以及标高偏差进行校正。

5) 整体校正

当每个区域的桁架吊完后,对这该区的桁架再进行整体测量校正。

4.4 各区域桁架安装流程

4.4.1 展览大厅-

结构布置平面图

第二节钢柱安装及安装脚手架搭设

二层梁安装

二层梁安装完成

第三节柱安装及安装脚手架搭设

安装主桁架EHT4、EHT5,拼装顺序:下弦,上弦,腹杆。(图示数字为桁架分段安装顺序)

安装次桁架EHT1

次桁架安装完成

结构全部安装完成

钢桁架安装完成效果

4.4.2 视像室

结构布置平面图

搭设承重支撑脚手架,拼装桁架7(桁架7 底标高+5.01m)

搭设其他桁架安装承重支撑脚手架

拼装桁架1、2、3

拼装桁架4、5、8

安装完成效果图

4.4.3 舞台塔

结构布置平面图

搭设承重支撑及拼装平台,立拼装FT1FT2,并拉揽风固定。

搭设滑轨,在拼装平台上水平拼装桁架FT6

利用卷扬机将FT6 滑移至安装位置

在FT1、FT2 上做支点,利用卷扬机和倒链将FT6 吊起安装到位

同样方法安装FT3、F7

在结构北侧承重平台上拼装FT5

桁架FT5 滑移、吊装

同样方法安装FT4

安装完成效果图

 

5特殊工艺措施

5.1 酒店顶部钢桁架安装方案

5.1.1 液压同步提升系统组成

1. 集群油缸系统

集群油缸系统作为整个提升工作的执行机构。根据整个大桁架的重量布置吊点及各吊点的油缸数量。液压油缸采用穿心式结构,额定提升能力为50t 和200t。液压油缸有上下锚锚具油缸及提升主油缸。通过上下锚锚具油缸的伸缩来控制锚具的松紧,上锚随主油缸一起运动。

下面以油缸的提升工况说明油缸的工作原理。详见附图液压千斤顶上升、下降流程图

首先上锚紧,下锚停,油缸伸缸,张拉钢绞线,将负载通过钢绞线作用于上锚;

当油缸伸到底以后,下锚紧,油缸缩缸,上锚松,将负载由上锚转换至下锚;

油缸缩缸到底,上锚紧,下锚停,油缸伸缸,将负载由下锚转换至上锚,并且通过油缸伸缸将重物提升;

当油缸伸到底,一个行程结束,提升重物也随油缸伸缸提升一个油缸行程;

下锚紧,油缸缩缸,上锚松,将负载由上锚转换至下锚;

油缸缩缸到底,上锚紧,下锚停,油缸伸缸,将负载由下锚转换至上锚,开始新的一个行程,通过油缸伸缸将重物提升;

这样通过上下锚具负载的转换,油缸的伸缩,将重物随着油缸的伸缸动作逐步提升至规定高度。

集群油缸系统通过计算机控制系统对所有油缸的动作统一控制、统一指挥,动作一致(同时进行锚具的松紧,同时进行伸缩缸动作等),完成结构件的提升作业。

2. 泵站系统

泵站系统作为整个液压同步整体提升系统的动力源,向油缸提供工作动力。通过泵站上各种控制阀的动作切换,控制油缸的伸缩缸及锚具的松紧动作。

3. 钢绞线承重系统

提升油缸通过钢绞线、油缸的上下锚具、地锚和安全锚同提升结构件相连接。本工程使用的钢绞线为低松弛预应力钢绞线,每根钢绞线的破断承载能力为20t。根据提升力计算钢绞线数量。

4. 传感器检测系统

传感器检测系统检测油缸位置、油压及各吊点高差等信号,将这些信号传送至计算机控制系统,作为计算机控制系统决策的依据。

5. 计算机控制系统

作为液压同步整体提升系统核心的计算机控制系统,通过计算机网络,收集各种传感器信号,进行分析处理,发出相关指令,对泵站及油缸动作进行控制,确保提升工作的同步进行。计算机控制系统设置有手动、顺控及自动三种工作模式,以适应不同工况的需要。在手动状态,系统能够实现对某个或部分油缸的单独操作,以便对结构件进行姿态调整等动作。

5.1.2 同步控制措施

液压同步整体提升技术通过对油缸动作同步控制及油缸伸缸速度同步控制来实现整个结构的同步提升。

1. 动作同步控制

计算机控制系统对泵站相关控制阀统一发出指令,控制所有油缸的上下锚具同时松紧和油缸的伸缸缩缸同时动作。当所有的锚具都紧或都松以后,系统才能开始下一步动作。当所有油缸中的某一个油缸伸缸到底,所有油缸同时停止伸缸动作,以确保油缸动作一致。系统通过这些措施实现油缸的动作同步。

2. 油缸伸缸速度同步控制

在同一吊点,所有油缸的伸缩缸管路并联,保证同一吊点的各个油缸伸缸速度一致。提升作业时,在所有吊点中设置一个主令吊点,其余吊点为跟随吊点。油缸的伸缩速度快慢通过调节相对应泵站比例阀的开度来实现。对主令吊点,设置一不变的比例阀驱动电流,保持比例阀开度恒定,以确保主令吊点油缸伸缸速度不变。跟随吊点通过激光传感器测量高差距离,计算机控制系统比较主令吊点同跟随吊点的高差,通过高差反馈信号来调节驱动跟随吊点相应比例阀开度的电流,进而调节跟随吊点油缸的伸缸速度,以保证跟随吊点同主令吊点油缸伸缸速度同步。以同样原理实现所有跟随吊点同主令吊点同步,确保结构件的同步提升。

3. 提升轴线控制措施

1) 油压千斤顶安装轴线偏差控制5mm;

2) 桁架上弦扁担固定锚尺寸偏差5mm;

3) 提升瞬间调整偏差3mm;

4) 控制轴线综合偏差5mm,可用倒链进行水平轴线调整,用单点千斤顶微调调整标高,保证桁架准确就位。

4. 设备故障排除方案

1) 液压系统泄漏:更换相应密封圈;

2) 控制阀卡涩:清洗控制阀,清洁油液;

3) 异常情况紧急报警:在每个吊点设置有紧急停机按钮,一旦出现异常情况,可以实现全系统停机;

5.1.3 提升点布置

1. 提升范围:酒店桁架1、2、3、5 及上下弦杆件、下部两侧吊挂结构、西侧直立网架Z05 结构、第一道水平撑及斜十字撑。

2. 提升点布置:共设置6 个提升点。(见千斤顶布置平面图)

1) 在桁架3、5 与南北两侧楼梯筒的连接处设置4 个提升点(1#~4#),各布置1 台200t液压千斤顶,共计4 台。由于桁架本身强度较弱,不能做为提升作用点。在桁架上部及楼梯筒顶部做提升支架,见设计详图,简图如下所示。

提升支架示意图

2) 在桁架1、2 与东侧核心筒的连接处设置2 个提升点(5#、6#),各布置2 台50t

液压千斤顶,共计4 台。由于1、2 号桁架本身刚度较大,且此部位提升点受力较小,利用桁架本身做为提升支点,并做适当加固。

提升点桁架示意图

3. 提升重量分布:1、2、3、5 主桁架及上下弦连续梁重量为:278t;吊挂结构重量为:

70t;西侧直立网架结构重量为:132.6t;水平撑重量为:49t;斜撑重量为:62.4t。提升总重量为592t。

提升点受力分布计算简图如下:

提升点受力分布计算简图

根据重量分布,G1=373t,L1=24m;G2=219t,L2=11.2m。

对T2 点取矩得出T1=(G1×L1+G2×L2)/L1=(373×24+219×11.2)/24=475.2t

T2=G1+G2-T1=373+219-475.2=116.8t

其中T1 由1#~4#提升点千斤顶提供;T2 由5#、6#提升点千斤顶提供。

整体提升设备能力计算表

吊点

1#

2#

3#

4#

5#

6#

理论值(t

118.8

118.8

118.8

118.8

58.4

58.4

提升能力(t

200

200

200

200

2×50

2×50

使用系数

0.594

0.594

0.594

0.594

0.584

0.584

4. 楼梯筒提升牛腿设计

1) 牛腿采用箱型截面大梁,截面尺寸为1030mm×700mm,上盖板宽为900mm,板厚30mm,

长度与楼梯筒同长,焊接在楼梯筒四根劲性柱顶预埋板上;牛腿挑出楼梯筒4.5m,在牛腿前端部做2 根φ244×8 圆管斜撑,竖向高度为3.0m。

计算简图如下图所示

千斤顶、牛腿、钢绞线自重取10t

牛腿所受剪力Qmax=200+10=210t

2) 提升牛腿根部弯矩计算

千斤顶、牛腿、钢绞线自重取10t

牛腿所受剪力Qmax=200+10=210t

A=112128.32 mm2

X= (900x30x515+640x30x485+5928x2x3500)/112128.32

=64713000/112128.32

=577.13mm

I=2x30x10003/12+900x303/12+640x303/12+3.14159x(2444-2284)/64+900x30x5152+640x3

0x4852+5928x2x35002

=16195.81x107mm4

W=I/X=28.06x107mm3

Mmax=KxFxL=1.5x210x9800x4500=1389.15x107mm2

б=Mmax/W=1389.16/28.06=49.50N/mm2<[б]=200 N/mm2 安全

3) 牛腿根部剪应力计算

τ= Qmax/A

Qmax=210t=210×104N

τ= Qmax/A

=210×104/112128.32

=18.72 N/mm2<[τ]=175 N/mm2

K——安全系数,取1.5

fvw——对接焊缝抗剪强度设计值175 N/mm2

4) 折算应力

由于牛腿根部同时受有较大的正应力和剪应力,按规范要求进行折算应力计算:

б2+3τ2)1/21.1[б]

б——正应力,取49.50N/mm2

τ——剪应力,取18.72 N/mm2

1.1f——对接焊缝抗拉强度设计综合值,1.1×200=220 N/mm2

б2+3τ2)1/2=(49.502+3×18.722)1/2

=58.17 N/mm2<220 N/mm2 安全

5.1.4 桁架拼装

1. 拼装台和侧向支架调整的设计

桁架在5 层楼顶板拼装,因此,拼装时需要对结构进行支顶,以避免桁架重量作用在楼板上对楼板造成损坏。由于桁架拼装部位位于视像室桁架顶部,拼装平台的搭设要充分利用视像室桁架进行承重。

桁架拼装时,每个接口位置处设拼装台,为了保证拼装精度,利用塔式标准节改造的钢板凳做拼装台。钢板凳的四个腿通过埋件与地面固定,保证拼装时桁架不发生位移。

由于两层桁架高达8.0m,拼装时侧向不稳定,控制不好,桁架容易发生垂偏和侧弯。侧向采用缆风绳来控制侧向稳定和调整水平误差。并在桁架侧面设置侧向支架。

2. 整体提升桁架的拼装顺序

桁架分为上下弦,按照由下向上,由两侧向中心的顺序拼装。为了保证最后拼装的杆件不因加工误差影响现场的累积误差而无法拼装,在桁架拼装前,对每个构件进行仔细的检验,根据结果,把加工误差分解在每个安装接口当中。

提升桁架搭设拼装台示意图

从两侧拼装下弦杆

下弦杆拼装完成

安装直腹杆

安装斜腹杆,桁架拼装完成

3. 桁架拼装精度保证措施

1) 要求厂方多供一套桁架端部预留的牛腿。地面拼装前,将提供的牛腿固定在楼梯筒

上,在地面与桁架安装相应位置形成拼装牛腿,确保在地面的拼装牛腿与安装牛腿误差在万分之一。通过拼装牛腿确保安装精度,保证了提升后就位工作顺利完成。拼装牛腿也可用桁架与楼梯筒相连的牛腿,做拼装定位牛腿使用时应注意焊口远离定位面。

2) 拼装台要用高精度的仪器严格超平、放线。

3) 侧向支架及缆风绳保证稳定,拼装期间不发生变形。

4) 拼装时通过桁架与拼装台间斜铁控制起拱量。

5) 桁架拼装时,下弦拼装完毕,及时安装桁架之间的下弦连接杆件,尽快形成稳定的整体。

6) 桁架拼装过程中,当天拼装的构件要形成稳定体系。

7) 桁架拼装完毕要先拧高强螺栓后焊接,焊接时先焊桁架,后焊桁架之间的连接杆件,先焊下弦后焊上弦。为了防止桁架在焊接其连接杆件时发生垂偏,在焊接前拉揽风与地面固定。

8) 桁架在拼装和焊接过程中,使用高精度的测量仪器,配备高水平的测量人员监控桁架的变形情况,发现异常,及时找原因并采取有效措施进行调整。

5.1.5 桁架提升

1. 提升前要进行全面细致的检查,保证桁架与拼装胎架完全脱开。

2. 提升过程监控

1) 桁架拼装、焊接完毕,经检验合格后,进行试提升。试提升桁架离开胎架20cm 后锁定,锁定所有千斤顶,停留一夜或12 小时,观察桁架的变形情况。测量桁架的位移和垂偏变化情况,并和试提升前的结果对比。

2) 在整体提升过程中,为防止发生意外,每个提升点位下安排一名人员监视该点的行走情况,发现有点位偏移、钢绞线切断、脱锚等现象时,及时通知操作人员发出指令停止提升,进行全面检查和维修后再继续提升。

3. 整体提升到位后水平位移的调整

提升到设计标高后,千斤顶的上、下锚盘全部锁定,进行桁架的合拢工作。桁架停滞在半空中,靠千斤顶的锁力,垂直方向上绝对不会下滑,但水平方向上由于风的影响可能会发生微小的摆动,这样会影响桁架的安装精度。为防止上述情况的发生,提升到位后,利用倒链固定桁架,调整位移,使其符合设计状态,然后进行合拢。桁架合拢时,如果桁架偏移,利用千斤顶和倒链调整位移。合拢过程中可通过倒链调整各杆件的松紧程度,现场根据实际长度决定两端的焊缝间隙。

4. 桁架3 及桁架5 提升过程及牛腿的安装

按照常规的施工方法,牛腿应该在与楼梯筒预埋件提前焊接,但为了配合整体提升,桁架的拼装误差便于调整,桁架两端与楼梯筒相连的4 个牛腿提升到位以后再安装。桁架地面拼装时,未焊牛腿先用于地面相应位置做拼装定位牛腿使用。桁架拼装、焊接完毕,将牛腿拆下,临时固定在桁架弦杆上,提升时一起带上去。

牛腿在提升到设计标高并锁定后才允许安装。安装时采用倒链人工就位,在提升支架上焊吊耳,以便挂倒链。牛腿上焊一定数量的吊耳,以便用倒链调整牛腿就位。提升到位以后,根据现场实际情况,搭设操作平台,牛腿安装时根据实测桁架、钢柱之间的具体尺寸由技术人员决定牛腿与钢柱、桁架两个接口的间隙及错边量。牛腿安装就位以后,牛腿焊接要严格执行焊接工艺,同时要求先与楼梯筒预埋件焊接,后与桁架对接焊。桁架两端的对接口不准同时焊接。焊接时严禁在钢绞线上打火,焊接过程中严格监控桁架的变化情况,发现异常立即停止。

桁架提升到位

安装牛腿

安装桁架斜杆

5. 桁架1 及桁架2 提升过程示意

桁架提升过程中

桁架提升到位

安装桁架斜杆

5.1.6 酒店吊挂结构安装

酒店两层吊挂结构通过作用在桁架下弦的H 型钢柱连接。在桁架提升到6.0m(层高4.0m,

考虑到网架拼装)后,进行首层吊柱及钢梁安装;安装完毕后,继续提升,到11.0m 后,进行第二层吊柱及钢梁安装。随后,整体提升至设计标高。

5.1.7 直立网架Z05 结构整体提升方案见第2.5.3 节内容;

5.1.8 桁架提升见附图桁架提升过程示意图(一~六)

5.1.9 水平撑及斜撑安装

1. 水平撑及斜撑安装分为两个部分

1) 第一道十字斜撑与水平撑根据设计图纸,与直立网架Z05 编织在一起,网架提升后,无法进行斜撑与水平撑安装,因此在桁架提升到斜撑与水平撑高度后,与网架一起共同拼装。斜撑与水平撑拼装完成后,用顶部桁架做为受力点,用钢索将其挂在桁架上,不能使网架受力。

2) 下部第二道、第三道十字斜撑与水平撑安装,等到顶部桁架主次梁全部安装完成,且铺完楼顶压型钢板后,在结构钢梁上固定设置2 台8t 卷扬机,选择6 倍率滑轮组,利用顶部桁架做为受力点,在水平撑上设置4 个吊点,将其安装到位。水平撑重49t;十字斜撑每根重15.6t,共四根组成十字斜撑。

水平撑安装完成后,十字斜撑同样利用卷扬机吊装。用揽风控制斜撑角度,将其安装到位。十字斜撑分开吊装,安装完一根后,安装另一根。

水平撑吊装示意图

2. 由于设计明确要求,确保于施工过程中,支撑不发生不必要的应力。因此,施工过程中,应严格按照设计要求执行。

5.2 结构外包网架结构安装方案

5.2.1 基本情况及要求

1. 网架形式

本工程网架采用螺栓球节点四角锥网架形式,以网架伸缩缝为边界将整个网架分成八个区。网架最宽处为80 米,Z01、Z02 区屋面坡度为1:1;Z03 区屋面坡度为1:5.7;Z04 区屋面坡度为3.5:1;Z05 区屋面坡度为1.9:1;其它区域均为垂直、水平网架。网架面积21180m2,网格尺寸均为5×5m,网架矢高2.2m

2. 材料及技术要求

1) 杆件钢管采用Q345B 钢管,其抗拉强度、延伸率、屈服点、冷弯和碳、硫、磷的极限含量等均应符合《碳素结构钢》(GB700-88)的规定。

2) 螺栓球及套管采用45 号钢制作,其抗拉强度、延伸率、屈服点、冲击韧性、硬度及碳、硫、磷的极限含量等均应符合《优质碳素结构钢技术条件》GB699-88 的规定,螺栓球锻造成型。

3) 高强螺栓、紧固螺钉采用40Cr 钢制作,其抗拉强度、延伸率、屈服点、冲击韧性、硬度及化学成分应符合《合金结构钢技术条件》GB3077-88 的规定,还应符合《钢网架螺栓球节点》JG10-1999,《钢网架检验及验收标准》JG12-1999,《螺栓技术条件》GB38-76,《紧固件机械性能》GB3098.1~GB3098.3-SZ,《紧固件表面缺陷》GB5799.1GB5799.3-86,《普通螺纹基本尺寸--粗牙普通螺纹》GBI 9651 的规定。

高强度螺栓采用性能等级为10.9 级,螺钉的螺纹公差按GB197 的6g 级,螺钉热处理后的硬度应为HRC36-42。

所有高强螺栓必须100%的进行质量检验,并做好记录归档,检验合格后方可使用。

4) 锥头、封板、支座采用Q235B,其抗拉强度、延伸率、屈服点、冷弯和碳、硫、磷的极限含量等均应符合《碳素结构钢》GB700-88 的规定。45 号钢螺栓球与Q345 钢焊接,由于钢种不同,为保证焊接质量,批量焊接前,应做动荷载试验,达到等强度连接,采用低氢型E5015 或E5016 焊条,焊前应备好小型加热设备及夹具,球上孔用石棉绳填实(防止孔被氧化),被焊钢板应双面剖口,将球预热到30O 度后再焊,焊后应回火,回升到400 度,恒温半小时,埋入生石灰中缓慢冷却。锥头或封板与钢管的连接必须采用自动焊接,焊缝采用完全焊透的坡口V 型对接焊缝形式,以保证连接焊缝与被连接的杆件截面的焊接强度。

3. 安装施工方案的选择

国内大型网架的安装已有很成熟的经验,但本工程网架型式比较特殊,特别是Z04、Z05区域,为竖向网架。根据本工程的特点,在Z01~Z03、Z06~Z08 区采用搭设脚手架高空散装的方法;Z04 区采用分段滑移的方法;Z05 区采用整体提升的施工方法。

4. 钢构件的复检和配套供应

为保证结构安装快速顺利地进行,构件必须经复检合格才能进入施工现场,构件复检的项目如下:

检查构件的几何尺寸、预留孔位置、螺孔直径与间距、焊缝坡口、临时固定连接;

核对构件的编号、方向、标记是否正确;

核对附件的数量、规格是否正确;

检查构件是否在运输过程中产生变形、损伤等;

由安装部门和制造部门联合进行现场复检,制造部门成立构件处理小组,对检查出的超差问题进行及时处理。

由于钢构件的种类、规格多,数量大,且全部构件均在制造厂生产,制造厂必须按安装计划配套供应至现场。为保证钢结构安装按流水顺序连续施工,必须搞好钢构件的配套工作。

构件安装之前,必须将高强螺栓等小件配套好,并随构件一起安装。

5.2.2 施工工序

1. 施工顺序:

以网架伸缩缝为边界将整个网架分成八个区,总的施工顺序为原则上以每个区为单位,网架从中心向两侧顺序安装。由于西侧舞台塔及剧院看台部分没有屋顶,直接利用网架做为屋顶,为使下道工序如装修等尽早插入,西侧网架尽早施工。

2. 工序流程安排:

 

 

 

 

 

 

 

 

 

 

 

 

 

 

 

 

 

 

 

 

 

 

 

 

 

 

 

 

 

 

 

5.2.3 酒店西侧直立部分网架(Z05)安装方案

1. 此部分网架采用随酒店高层桁架整体提升方案安装,提升网架面积为2870m2,提升高度为112m。

2. 网架的上部外弦端点与桁架的下弦连接,内弦端点通过固定杆件(附加连接杆,与网架构件相同)与桁架间安装的临时附加次梁连接,加强网架平面外稳定性,在每个内弦节点均加以固定。

网架与桁架吊挂节点处理

3. 沿桁架5 方向在网架两侧搭设6m 高脚手架进行网架拼装。在内弦球及外弦球位置设置移动脚手架平台,在平台上利用垫板调整球体标高,并校核轴线,保证对球体进行准确定位。

网架拼装脚手架搭设示意图

4. 网架的安装由一侧向另一侧逐格推移拼装,内外弦同时安装,跟踪检测安装尺寸。在每个螺栓球上的各个杆件全部安装后,要及时检查螺栓是否拧紧到位,不可有松动和焊缝,并在做好临时固定点。各螺栓球支座要求平稳放置。网架在安装下一个网格时要复查前一个网格节点高强螺栓是否拧紧到位,不得有松动。网架构件全部安装完成后,检查每个螺栓球节点,测量轴线,标高,其偏差必须在允许范围内,然后焊接冒头,拧紧支座螺栓,待全部完成后,去掉临时支撑点。

5. 网架随提升随安装,直至Z05 网架全部安装完成后,整体提升至设计标高。

6. 由于楼梯筒有外露水平撑及斜撑牛腿,为便于提升,网架两侧各一个网格不进行安装,待提升到位后,再将边界网架杆件与楼梯筒固定点连接。

7. 由于提升部分网架面积较大,且提升工况与网架最终受力工况不符,网架本身平面外稳定性存在不稳定因素,为解决提升过程中,由于风荷载或其他因素影响,造成网架平面外失稳,在两侧楼梯筒做导向固定轨道,采用C20 槽钢做导向槽,沿楼梯筒在提升高度范围内通长设置,随楼梯筒结构施工时安装完成,导向槽在高度上根据楼层高度,每两个楼层与楼梯筒混凝土内包钢梁做支撑架连接。网架利用最外端螺栓球螺栓孔安装导向滑轮,使网架提升时,在导向槽内滚动。保证了网架本身平面外的稳定。节点见下图所示。

网架提升导向滑轨示意图

5.2.4 酒店西侧倾斜部分网架(Z04)安装方案

1. 此部分网架采用滑移法进行安装,滑移高度约55m,滑移长度约60m,一次滑移两个网格,长度为10m,滑移重量为60.5t。采用两台8t 卷扬机施工,根据计算,每台卷扬机受力为29.6t,选择6 倍率滑轮组,提供的牵引力为8×6=48t。牵引力使用系数为0.62。

滑移受力分析简图

牵引力F 力计算书:

滑移网架重量G= 550m2×0.11t/m2=60.5t

滚动滑移系数μ=0.05,

滑移角度θ=15°

f=μ×G×sin15=0.783t

由力的平衡原理可知:

牵引力F=f+G×cos15°

=0.783+60.5×cos15°

=59.22t

使用两台卷扬机,每台卷扬机受力为29.6t。

2. 滑移系统

1) 滑移系统简介

楼梯筒滑移工装示意图

滑移系统采用单滑轨设置,滑移轨道设置五道滑轨水平三角支撑,与楼梯筒侧壁及西侧连接。根据计算选取滑移工装所用材料。滑轨由H 型钢制作,在型钢凹槽内设置滚轮,网架拼装完成后,通过滚轮减小摩擦力,钢丝绳通过顶部固定在楼梯筒上的滑轮与网架连接。设置两台8t 卷扬机,两个楼梯筒后边各设置一个,卷扬机固定在五层楼板上,通过在五层楼板固定的地滑轮将钢丝绳连接到卷扬机上。

为保证两台卷扬机同步提升,采取如下措施:

1) 使用相同型号卷扬机;

2) 使用共同的控制开关控制卷扬机的运行;

3) 保证两台卷扬机的容绳率相同,并保证卷绳长度相同。

2) 滑移系统设计

Z04 网架分段在地面将宽度方向网架拼装完成后,沿两条轨道提升。每次提升重量约60t。

轨道验算:

材料选用HM500×300×15×11 热轧H 型钢,重量115kg/m,W=2520cm3,受力简图如上

支撑钢柱验算:

钢柱材料选用φ300×12 钢管,

整体稳定验算

3. 网架拼装与滑移

1) 根据网架倾斜角度搭设拼装脚手架,一次拼装两个网格,网架拼装面直接设在滑轨面。

2) 网架拼装完成后,在网架上设置四个拉力点,即一侧设置两个拉力点,拉点要设置在下弦球上,将钢丝绳固定在拉点上,通过滑轮连接到卷扬机上。

3) 在正式滑移前进行试车,检验滑移系统是否存在问题及观察节点受力情况,没有问题后进行正式滑移。

4) 滑移时,控制两台卷扬机的滑移速度,使两侧滑移达到同步。网架滑移到位后,复核外形尺寸,符合要求后应立即进行固定。直至斜面网架全部滑移完成。

5) 网架之间接口时,拼装人员通过附着在楼梯筒上的临时脚手架到达安装位置,在上层已安装的网架上固定安装吊船,人员在吊船上进行接口操作。

5.2.5 东西两侧屋顶部分网架(Z01~03、Z06~Z08)安装方案

1. 网架单元高空组拼方法:

本工程Z01 区网架与地面成大约47°夹角。在结构西侧,标高±0.00 处设有网架固定支座11 个。首先搭设安装脚手架,用仪器按图纸尺寸调整好每个下弦球的坐标,以这11 个固定支座为基准按照调整好的角度逐格推移拼装,直至与PRC1、PRC2 钢柱连接。因为PRC1、PRC2是网架的支点,安装时要提前排好尺寸,保证网架在支点处的准确定位及安装。上下弦同时安装,跟踪检测安装尺寸。在每个螺栓球上的各个杆件全部安装后,要及时检查螺栓是否拧紧到位,不可有松动和焊缝,并在下弦做好临时固定点。各螺栓球支座要求平稳放置。网架在安装下一个网格时要复查前一个网格节点高强螺栓是否拧紧到位,不得有松动。网架构件全部安装完成后,检查每个螺栓球节点,测量上下弦轴线,水平标高及挠度,其偏差必须在允许范围内,然后拧紧支座螺栓,待全部完成后,去掉临时支撑点,转移至下一道工序。

网架Z02 部分随ZO1 安装同步进行安装,均利用西侧塔吊C7050 及H3-36B 进行构件就位。酒店屋顶网架部分Z06 在楼顶搭设脚手架进行高空散拼,利用东侧塔吊C7050 进行构件就位。

酒店东侧网架立面部分Z07 仅在结构南北两侧,安装时利用南北两侧结构搭设安装脚手架,进行网架拼装,利用东侧塔吊C7050 进行构件就位。。

酒店东侧网架斜面部分Z08 在酒店东侧地面及展览大厅楼顶搭设安装脚手架,进行网架拼装,此时东侧塔吊已经拆除,利用现场50t 履带吊车进行构件就位。

西区网架拼装脚手架示意图

2. 舞台塔部位网架安装脚手架搭设

由于舞台塔部位网架距结构高度非常大,距舞台塔桁架顶部高度约11m,下部直接是地下室二层底板,无结构地下室一层、地上一层、二层楼板,洞口尺寸为50m×18m,深度达到了40m,网架安装无法直接搭设脚手架。此部位网架安装时,利用舞台塔桁架搭设外挑门式脚手架,脚手架在桁架上生根进行搭设。

舞台塔网架安装脚手架示意图

网架拼装顺序

 

屋顶网架连接节点示意图

1) 下弦杆与球的组拼:连接下弦球与杆件的高强螺栓螺纹一次拧紧到位。

下弦杆与球组拼

2) 腹杆与上弦球的组装:腹杆与上弦球的组合就成为向下开口四角锥,在地面进行组

拼,利用塔吊进行安装。腹杆与上弦球连接的高强螺栓是全部拧紧的,腹杆下端连接下弦的四只螺栓只能拧紧一只,另三只是松的,主要是为上弦杆的安装起松口作用。开口四角锥与下弦杆组拼成闭口四角锥。

开口四角锥组拼           四角锥与下弦杆拼装

3) 上弦杆及腹杆的组装:一根上弦杆和两根腹杆组合成斜三角锥体系。与闭口四角锥拼装。

斜四角锥组拼         与闭口四角锥拼装

4) 网架上弦、腹杆安装时采用简易高凳作为安装脚手架(二步架)。构件单件重量较重的情况,制作专用吊装设备进行安装。

5.2.6 保证网架外形尺寸控制措施

1. 对于土建单位建筑物的定位轴线、平面封闭角、柱距位置和地脚螺栓位置、标高进行检验,轴线的检查和地脚螺栓的位置的检查,应依据土建提供的控制桩或轴线点,由有关各方共同参加检查验线,符合规范要求并记录签字后,方可进行下道工序。如有问题,经设计变更后再开始施工。对地脚螺栓要有保护措施。

2. 下弦球位置是决定整片网架尺寸是否正确的基准,所以要严格控制。下弦球支托安放好后应用水准仪抄平,根据球的不同直径确定相应的标高。最后安装下弦杆。初步拧紧螺栓后,从新校核网格尺寸,确认无误后方可进行下一道工序。

3. 为了减小安装误差,保证整体尺寸正确无误,组拼时无论上下弦都应校验顺直度。

4. 网架分段安装过程中,分别采用两台经纬仪和一台水平仪跟踪校正网架轴线位置及水平度。并随时对网架下弦标高进行复核。

5.2.7 网架工程安装要求及允许偏差:

1. 支撑面顶板位置允许偏差为15mm,顶面标高允许偏差为-0.3mm,顶面水平度允许偏差为L/1000,支座锚栓中心偏移允许误差±5.0mm。

2. 焊接球节点与钢管中心的偏移 1.0mm;

杆件轴线的弯曲矢高 L/1000,且不应大于5.0mm;

锥体型小拼单元锥体高度 ±2.0mm;

锥体型上弦杆对角线长度 ±3.0mm;

锥体性弦杆长度 ±2.0mm;

纵向、横向长度L/2000,且不应大于30.0mm;

周边支撑网架相邻支撑高差L/400,且不应大于15.0mm

支座最大高差 30.0mm;

多点支承网架相邻支座高差 L/800;且不应大于30mm;

3. 钢网架结构总拼装完成后及屋面工程完后应分别测量其挠度值,且所测的挠度值不应超过相应设计值的1.15 倍。

5.3 整体提升结构施工验算

在整体提升方案中,对三个不利因素进行验算:

1) 提升作用的支点为塔楼的两个楼梯筒,由于提升的外力的作用,楼梯筒是否会产生较大变形;

2) 提升过程中,网架及十字撑、水平撑均吊挂在外侧两榀桁架上,是否对桁架产生不利变形;

3) 提升过程中,在重力作用下,网架本身是否会产生不可恢复的变形。

5.3.1 网架吊装过程计算

计算了两种状态,即吊装过程中的状态和吊装完成后的状态。本节所述状态为吊装过程中的状态。以下所有位移、内力和应力比的计算结果均为自重荷载标准值下的结果。

1. 计算说明

建立整体模型,如下图右侧图形所示。左侧图形为提升结构与楼梯筒组合图形,省略了酒店混凝土结构部分,便于观察。图中单独显示了桁架、网架和井筒形状。井筒厚500mm。吊装网架高度为60m。U1/U2/U3 分别为X/Y/Z 三个方向的平动;RX/RY/RZ 分别为绕X/Y/Z 三个方向的转动。

计算模型形状

将吊挂和球节点作为自重荷载输入模型中。下图显示了荷载施加情况,单位为kN。模型中,混凝土的容重设置为0,不考虑混凝土自重引起的变形,以模拟混凝土井筒施工完成后的状态。钢构件的容重和弹性模量按照钢结构规范GB50017-2003 取值。

荷载施加图

2. 计算结果

主要计算了吊装过程中筒体顶点的位移、桁架变形、网架变形、桁架应力比、网架应力比以及筒体的变形。除另外注明外,所有图形的平动位移单位均为米,转动位移单位为弧度,力的单位均为kN。位移图中显示的位移为红点处节点的位移。

下图为结构吊装过程中,自重作用下的整体变形形状。

整体变形形状

吊装过程中,大筒顶部向内(桁架方向)的水平位移约为6.3mm。小筒顶部向内(桁架方向)的水平位移约为1.4mm。两筒相对水平位移量约为7.7mm

大筒顶部位移

小筒顶部位移

桁架下弦节点的竖向位移绝对值约为8.8mm,除去筒体和托梁的变形(见表1),桁架自身竖向变形(挠度)为5.9mm

桁架下弦节点位移

吊装过程中,网架下弦竖向绝对位移为10.6mm,除去桁架变形,网架自身变形约为1.8mm

网架下端位移

吊装桁架及网架的吊杆轴力值下图所示。

吊杆轴力值

网架吊装过程中构件应力比最大约为0.28

吊装过程中网架应力比

桁架吊装过程中构件应力比最大约为0.35

吊装过程中桁架应力比

1 中输出了桁架和筒体顶部部分节点的位移值。节点编号见下图。

网架和筒体节点编号

2 中列出了网架所有节点的绝对位移值。节点编号见下图。

网架节点编号

5.3.2 网架吊装完成状态计算说明

下图为网架吊装完成后的结构形式。

吊装完成后结构形式

下图为吊装完成后自重作用下结构变形形式。

吊装完成后自重作用下结构变形形式

下图显示了网架吊装完成后自重下大筒的顶部变形量。

吊装完成后自重下大筒变形

下图显示了吊装完成后自重下小筒顶部的变形量。

吊装完成后自重下小筒的变形量

下图显示了吊装完成后自重下桁架下弦节点的位移。

吊装完成后自重下桁架下弦节点的位移

下图为吊装完成后自重下网架下部节点的位移。

吊装完成后自重下网架下部节点的位移

下图为吊装完成后自重下桁架应力比。

吊装完成后自重下桁架应力比

下图为吊装完成后自重下网架构件应力比。

吊装完成后自重下网架构件应力比

5.3.3 楼梯筒、桁架及网架节点位移

表1 桁架和筒体节点位移

节点

UX

UY

UZ

RX

RY

RZ

编号

m

m

m

Radians

Radians

Radians

14

0.00159

0.002995

-0.008746

-0.000041

-3.7E-05

0.000006543

107

-0.00117

-0.001952

-0.000222

0.000051

-5.3E-05

-0.000082

209

0.006033

-0.002551

0.000046

0.000045

0.000022

0.000057

234

0.006732

-0.000713

-0.003936

0.000076

0.000677

0.000242

416

0.006314

-0.0015

-0.001393

0.000006549

0.00034

0.000051

428

-0.00137

-0.001218

-0.001271

0.000036

-0.00031

-0.000078

1175

0.002133

0.000593

-0.003942

0.000252

0.000414

0.000007238

1582

0.000403

0.00021

-0.00368

0.000302

-0.00064

-0.00006

3588

-0.00177

-0.000362

-0.003674

0.000113

-0.00064

-0.000267

表2 吊装过程中网架节点位移

节点

UX

UY

UZ

RX

RY

RZ

编号

m

m

m

Radians

Radians

Radians

53

0.001582

0

-0.01043

-0.000146

0.002127

-0.000084

54

0.00163

-0.000243

-0.01041

-0.000154

0.001864

-0.000064

55

0.001587

-7.216E-06

-0.0105

-0.000103

0.000592

0.000058

56

0.00163

-0.000236

-0.01047

-0.000107

0.000613

0.000011

57

0.0016

-0.000011

-0.01056

-0.000024

0.00009

0.000016

58

0.001634

-0.000232

-0.01053

-1.602E-06

0.000088

0.00001

59

0.001619

-0.000011

-0.01059

6.258E-06

4.531E-06

4.618E-06

60

0.00164

-0.000229

-0.01056

0.000036

4.219E-06

4.845E-06

61

0.001637

-0.00001

-0.01059

-0.000024

-0.000081

-7.04E-06

62

0.001646

-0.000224

-0.01057

-1.916E-06

-0.00008

-4.48E-07

63

0.00165

-6.279E-06

-0.01058

-0.000103

-0.000583

-0.000048

64

0.00165

-0.000218

-0.01055

-0.000108

-0.000605

-8.2E-07

65

0.001654

0

-0.01055

-0.000146

-0.002119

0.000095

66

0.00165

-0.000217

-0.01053

-0.000155

-0.001856

0.000075

67

0.001646

-0.000126

-0.01046

0.000425

-0.001267

-0.000012

68

0.001641

-0.000135

-0.01048

0.000264

-0.000281

-0.000011

69

0.001633

0.00014

0.01049

0.00016

0.000019

1.59E -07

70

0.001623

-0.000143

-0.01047

0.00016

0.000028

9.896E-06

 

71

0.001615

-0.000142

-0.01042

0.000264

0.00029

0.000021

72

0.001611

-0.000137

-0.01035

0.000425

0.001275

0.000023

73

0.001656

-0.00044

-0.01035

-0.00017

0.001774

-0.000046

74

0.001656

-0.000427

-0.01041

-0.000117

0.000579

-5.91E-06

75

0.00164

-0.000373

-0.01032

0.000368

0.001166

3.109E-06

76

0.001642

-0.000367

-0.01039

0.000244

0.000266

0.000012

77

0.001658

-0.000417

-0.01047

-8.871E-06

0.000082

4.087E-06

78

0.001661

-0.000409

-0.0105

0.00003

4.147E-06

5.309E-06

79

0.001645

-0.00036

-0.01044

0.000157

0.000023

7.49E-06

80

0.00165

-0.000354

-0.01046

0.000157

-0.000015

2.792E-06

81

0.001664

-0.000401

-0.0105

-9.219E-06

-0.000073

6.723E-06

82

0.001666

-0.000394

0.01049

--0.000117

-0.00057

0.000017

83

0.001653

-0.000347

-0.01045

0.000243

-0.000258

-1.82E-06

84

0.001655

-0.000341

-0.01043

0.000368

-0.001158

8.258E-06

85

0.001666

-0.00039

-0.01047

-0.000171

-0.001766

0.000059

86

0.001677

-0.000598

-0.01024

-0.000185

0.001754

-0.000042

87

0.001677

-0.000576

-0.0103

-0.00013

0.000565

-0.000014

88

0.00166

-0.00057

-0.01026

0.000348

0.001128

-0.000016

93

0.001661

-0.000554

-0.01032

0.000225

0.000249

1.51E-06

94

0.001679

-0.000558

-0.01036

-0.000022

0.000077

-1.66E-07

95

0.001682

-0.000544

-0.0104

0.000017

0.00000415

5.96E-06

96

0.001665

-0.00054

-0.01038

0.000142

0.00002

5.005E-06

97

0.001669

-0.00053

-0.0104

0.000142

-0.000012

6.327E-06

98

0.001685

-0.000534

-0.0104

-0.000022

-0.000069

0.000012

99

0.001687

-0.000528

-0.01038

-0.000131

-0.000557

0.000027

100

0.001673

-0.000523

-0.01039

0.000224

-0.000241

0.00001

101

0.001674

-0.000519

-0.01036

0.000347

-0.00112

0.000028

102

0.001687

-0.000525

-0.01036

-0.000186

-0.001747

0.000056

103

0.001695

-0.000714

-0.0101

-0.000201

0.001755

-0.000048

104

0.001695

-0.000677

-0.01016

-0.000147

0.000564

-0.000021

129

0.001674

-0.000724

-0.01015

0.000334

0.001122

-0.000029

130

0.001676

-0.000696

-0.01023

0.000209

0.000243

-7.18E-06

131

0.001698

-0.000648

-0.01023

-0.000038

0.000076

-3.12E-06

132

0.001703

-0.000628

-0.01027

2.378E-07

4.155E-06

6.807E-06

137

0.001683

-0.000673

-0.01028

0.000126

0.000018

3.022E-06

138

0.00169

-0.000659

-0.01031

0.000126

-0.00001

9.776E-06

139

0.001708

-0.000617

-0.01027

-0.000039

-0.000068

0.000017

140

0.001711

-0.000616

-0.01024

-0.000147

-0.000556

0.000035

199

0.001696

-0.000654

-0.01029

0.000209

-0.000236

0.00002

200

0.001699

-0.000656

-0.01025

0.000334

-0.001115

0.000043

204

0.001711

-0.000622

-0.01021

-0.000202

-0.001747

0.000063

208

0.001712

-0.000787

-0.0099

-0.000221

0.001759

-0.000061

220

0.001713

-0.000726

-0.00997

-0.000168

0.000566

-0.000027

221

0.001683

-0.000834

-0.01

0.000318

0.001126

-0.00004

225

0.001688

-0.000784

-0.01009

0.000191

0.000244

-0.000013

229

0.001716

-0.000678

-0.01006

-0.000061

0.000077

-4.89E-06

261

0.001724

-0.00065

-0.01011

-0.000022

4.286E-06

7.906E-06

267

0.001699

-0.000748

-0.01016

0.000108

0.000018

1.786E-06

268

0.001713

-0.000731

-0.01018

0.000107

-0.00001

0.000013

269

0.001731

-0.000642

-0.0101

-0.000061

-0.000069

0.000021

270

0.001735

-0.000654

-0.01005

-0.000168

-0.000558

0.000045

271

0.001724

-0.000735

-0.01015

0.000191

-0.000237

0.000029

363

0.001729

-0.00075

-0.0101

0.000317

-0.001119

0.000057

364

0.001735

-0.000678

-0.01002

-0.000222

-0.001751

0.000079

365

0.001727

-0.000813

-0.00966

-0.000252

0.001766

-0.00008

 

节点

UX

UY

UZ

RX

RY

RZ

366

0.001727

-0.000717

-0.00975

-0.0002

0.000573

-0.000033

367

0.001686

-0.000895

-0.00981

0.000294

0.001133

-0.000053

369

0.001695

-0.000814

-0.00992

0.000166

0.000247

-0.000019

370

0.001733

-0.000644

-0.00986

-0.000094

0.000082

-4.99E-06

371

0.001744

-0.000605

-0.00992

-0.000057

5.046E-06

9.34E-06

372

0.001714

-0.000758

-0.01002

0.000081

0.000019

1.21E-06

373

0.001737

-0.00074

-0.01004

0.000081

-0.000011

0.000015

374

0.001755

-0.000605

-0.0099

-0.000094

-0.000072

0.000024

375

0.001762

-0.000637

-0.00983

-0.0002

-0.000564

0.000054

543

0.001757

-0.000758

-0.00999

0.000166

-0.00024

0.000036

544

0.001766

-0.000799

-0.00991

0.000294

-0.001126

0.000072

594

0.001762

-0.000693

-0.00978

-0.000252

-0.001756

0.000103

595

0.001738

-0.000786

-0.00935

-0.000302

0.001781

-0.000108

596

0.001738

-0.000647

-0.00948

-0.000253

0.00059

-0.000037

597

0.001681

-0.000904

-0.00957

0.000255

0.001147

-0.000069

598

0.001695

-0.000782

-0.00972

0.000125

0.000257

-0.000022

600

0.001747

-0.000546

-0.00964

-0.00015

0.000092

-2.96E-06

601

0.001764

-0.000496

-0.00972

-0.000113

7.345E-06

0.000011

602

0.001727

-0.000701

-0.00984

0.00004

0.000023

1.331E-06

603

0.001764

-0.00068

-0.00987

0.00004

-0.000013

0.000017

604

0.001782

-0.000503

-0.00968

-0.00015

-0.000078

0.000026

605

0.001791

-0.000563

-0.00956

-0.000254

-0.000575

0.000062

606

0.001796

-0.000721

-0.00978

0.000125

-0.000247

0.000042

669

0.001811

-0.000802

-0.00967

0.000255

-0.001137

0.000091

670

0.001791

-0.000662

-0.00947

-0.000303

-0.001767

0.000137

671

0.00174

-0.000686

-0.00897

-0.000387

0.001803

-0.000149

672

0.00174

-0.000516

-0.00916

-0.000345

0.00062

-0.000041

673

0.001668

-0.000856

-0.00928

0.000188

0.001173

-0.000083

675

0.00169

-0.00069

-0.00949

0.000058

0.000276

-0.000023

676

0.001757

-0.000395

-0.00941

-0.000245

0.000111

-1E-08

677

0.001785

-0.000335

-0.00952

-0.000209

0.000011

0.000012

678

0.001737

-0.000581

-0.00965

-0.000028

0.000032

3.104E-06

679

0.001793

-0.000557

-0.00968

-0.000029

-0.000015

0.000019

680

0.001812

-0.000344

-0.00945

-0.000246

-0.000088

0.000026

681

0.001827

-0.00043

-0.00924

-0.000346

-0.000593

0.00007

748

0.001841

-0.000623

-0.00955

0.000057

-0.000258

0.000046

749

0.001865

-0.000754

-0.00937

0.000187

-0.001155

0.000109

750

0.001827

-0.000575

-0.00909

-0.00039

-0.001776

0.000184

751

0.001732

-0.000484

-0.00849

-0.000538

0.001785

-0.000211

752

0.001732

-0.000324

-0.0088

-0.000501

0.000632

-0.000054

754

0.001652

-0.00074

-0.00892

0.000067

0.001195

-0.000079

755

0.001684

-0.000545

-0.00922

-0.000061

0.000298

-0.000012

756

0.001761

-0.000219

-0.00917

-0.000405

0.000122

-1.85E-06

757

0.001805

-0.000155

-0.00933

-0.00037

0.00001

0.000012

758

0.001746

-0.000417

-0.00945

-0.000146

0.000042

9.824E-06

759

0.00182

-0.000385

-0.00948

-0.000148

-0.000018

0.00002

760

0.001844

-0.00015

-0.00921

-0.000407

-0.000097

0.000025

831

0.001866

-0.000239

-0.00889

-0.000506

-0.000597

0.000082

832

0.001888

-0.000469

-0.00929

-0.000065

-0.000271

0.000042

833

0.001925

-0.00065

-0.00901

0.000063

-0.001163

0.000113

834

0.001866

-0.00041

-0.00862

-0.000545

-0.001741

0.00025

835

0.001731

-0.000137

-0.00789

-0.000794

0.001543

-0.000296

837

0.001731

-0.000088

-0.0084

-0.000748

0.000494

-0.000093

838

0.001655

-0.000545

-0.00848

-0.000153

0.001117

-0.00002

839

0.001692

-0.000369

-0.00893

-0.000272

0.000271

0.000028

840

0.001771

-0.000064

-0.00895

-0.000657

0.000058

-0.000019

841

0.001825

-0.000013

-0.00917

-0.000629

-0.000019

5.672E-06

842

0.001758

-0.000247

-0.00925

-0.000353

0.000031

0.000028

843

0.001839

-0.000198

-0.00928

-0.000359

-0.000024

0.00002

914

0.001867

0.000032

-0.00901

-0.00067

-0.000087

0.000026

915

0.001891

-0.00001

-0.00849

-0.000768

-0.000501

0.000105

916

0.001922

-0.000276

-0.009

-0.000286

-0.000254

0.00002

917

0.00197

-0.000484

-0.00857

-0.000169

-0.001088

0.000077

918

0.001891

-0.000131

-0.008

-0.000814

-0.001516

0.000331

920

0.001822

0.000361

-0.00711

-0.001188

0.000639

-0.000355

921

0.001822

0.000146

-0.00796

-0.001084

-0.000101

-0.000156

922

0.00174

-0.000274

-0.00794

-0.00054

0.000661

0.000135

923

0.001758

-0.000188

-0.00863

-0.000642

0.000039

0.000113

924

0.001835

0.000022

-0.00877

-0.00102

-0.000235

-0.000049

925

0.001836

0.000016

-0.00906

-0.001026

-0.000131

1.988E-07

926

0.001792

-0.00011

-0.00908

-0.000714

-0.00007

0.000065

997

0.001831

-0.000047

-0.00909

-0.000734

-0.000034

0.00002

998

0.001828

0.000106

-0.00887

-0.001085

-0.000018

0.00003

999

0.001829

0.000187

-0.00807

-0.001177

-0.000126

0.000128

1000

0.001898

-0.000088

-0.00869

-0.00069

-0.000131

-0.000026

1001

0.001933

-0.000257

-0.00803

-0.000599

-0.000736

-0.000026

1003

0.001829

0.000312

-0.00721

-0.001262

-0.000802

0.000366

1004

0.002695

0

-0.00616

-0.001981

-0.001882

-0.000155

1005

0.002489

0

-0.00749

-0.00197

-0.001715

-0.000089

1006

0.002088

0

-0.00724

-0.001156

-0.000672

0.000325

1007

0.002008

0

-0.00834

-0.001237

-0.000624

0.000213

1008

0.002189

0

-0.00863

-0.002044

-0.001142

-0.000014

1009

0.001834

0

-0.00896

-0.002224

-0.000426

0.00004

1080

0.001896

0

-0.00895

-0.001325

-0.000359

0.000107

1081

0.001753

0

-0.00893

-0.001403

-0.000039

0.00002

1082

0.001497

0

-0.00885

-0.002336

0.000203

0.000026

1083

0.001213

0

-0.00763

-0.002369

0.000714

0.000037

1084

0.001683

0

-0.00836

-0.001425

0.000183

-0.000077

1086

0.001616

0

-0.00737

-0.001351

0.000182

-0.000144

1087

0.000982

0

-0.00619

-0.002401

0.000781

0.000127

 

5.3.4 计算结论

通过建模对提升过程结构受力状况及结构安装后的受力状况进行计算及对比,整体提升方案的选择及提升范围的确定都是合理的。

 

6其他分项工程安装方案

6.1 钢柱安装方案

6.1.1 钢柱布置及安装设备选择

1. 钢柱分布情况

结构劲性钢骨柱共有99 根,分段后钢骨柱为187 根,根据塔式的吊装能力分段情况如下:27 根分三段;34 根分两段;38 根分一段。钢柱主要分布在酒店高层、视像室、舞台塔、剧院看台、展览大厅等部位。

具体分节尺寸及重量见《钢柱分节图》。

2. 钢柱吊装机械设备的选择

根据钢结构分布情况结构土建结构情况,选择三台塔吊进行钢结构吊装,具体布置位置前节已做阐述。根据塔吊起重量进行钢柱分节;剧院座位部分钢柱比较重,为板厚100mm 的十字型钢柱,塔吊起重能力不够,无法利用塔吊进行吊装;此部位钢柱安装时,需要进场一台300t履带吊车进行安装,吊装占位在结构南侧地下室外。具体钢柱分节情况及吊装设备的选择见下表。

钢柱分段及安装表

 

型号

截面(mm ××翼缘×腹板

每米重 kg/m

单根长 m

段数

段长(m

段重 t

塔吊

层数

位置

备注

EXC 1-1

 

700x700x45x 45H

710.03

27.95

 

第一段 11.00 7.810 第二段 10.00 7.100 第三段 6.95 4.935

塔吊1

塔吊1

塔吊1

B2-F5

展览大

 

EXC 1-2

700x700x45x 45H

710.03

15.06

第一段 7.00 4.970 第二段 8.06 5.723

塔吊1

塔吊1

B2-F2

EXC2

400x400x21x 13H

168.41

11.0

第一段 5.50 0.926 第二段 5.50 0.926

塔吊1

塔吊1

F2-F5

 

EXC3

300x300x15x 15H

102.44

11.0

第一段 5.50 0.563 第二段 5.50 0.563

塔吊1

塔吊1

F2-F5

 

Z30

1500 x 750 H

353.25

31.95

第一段 11.00 3.886

第二段 11.00 3.886 第三段 9.95 3.515

塔吊1

塔吊1

塔吊1

B2-F6

北酒

 

Z31

1250 x 850 H

333.63

31.95

第一段 11.00 3.670 第二段 11.00 3.670 第三段 9.95 3.320

塔吊1

塔吊1

塔吊1

B2-F6

HC4*

Z32

1250 x 1250 (十)

490.63

31.95

第一段 11.00 5.397

第二段 11.00 5.397 第三段 9.95 4.882

塔吊1

塔吊1 塔吊1

B2-F6

南酒

HC2*

Z33

1800 x 750 H

395.64

31.95

第一段 11.00 4.352 第二段 11.00 4.532 第三段 9.95 3.937

塔吊1 塔吊1 塔吊1

B2-F6

HC1*

TC1

1150x650x40 x40(十)

1488.36

6.0

第一段 6.0 8.930

300t 履带吊

F1-5.010

 

TSC1

TC2

1150x650x80 x40(十)

2248.52

9.0

第一段 9.0 20.23 7

300t 履带吊

F1-8.320

 

 

TC3

1150x650x10 0x40 (十)

2637.60

15.0 12.0

第一段 7.5 19.78 2 第二段 7.5 19.78 2 第一段 6.0 15.82 6 第二段 6.0 15.82 6

300t 履带吊

F1-13.40 0 F1-11.30 0

剧院座位

 

300t 履带吊

 

300t 履带吊

300t 履带吊

TC4

350x350x19x 12H

133.80

8.73

第一段 8.73 1.168

塔吊3

13.27-22 .00

 

 

TC5

100x200x8x5 .5H

28.75

5.4

 

塔吊3

16.60-22 .0

 

吊柱

 

型号

截面(mm ××翼缘×腹板

每米重 kg/m

单根长 m

段数

段长(m

段重 t

塔吊

层数

位置

备注

AVC1

500x1000x60 x60(王)

1563.72

15.0

第一段 第二段

8.0  7.0

12.51 0

10.94 6

塔吊1 塔吊1

B1 -F4

 

 

AVC2

500x500x60x 60H

649.98

8.39

第一段

8.39

5.453

塔吊1

F3-F4

视像

 

AVC3

1000 x1000 x60 x60(十)

1434.98

6.71

第一段

6.71

9.629

塔吊1

B1 -F2

 

AVC5

400x400x35x 35H

310.47

9.7

第一段

9.7

3.012

塔吊1

F1-F3

 

 

AVC6

600x600x30x 30H

409.77

9.7

第一段

9.7

3.975

塔吊1

F1-F3

 

 

FTC3

400x400x70x 24H

488.58

16.89

第一段 第二段

9.19  7.70

4.490

3.762

塔吊2 塔吊2

F2-F6

台塔

 

FTC7

400x400x70x 24H

488.58

16.89

第一段 第二段

9.19 4.490

7.70 3.762

塔吊2 塔吊2

F2-F6

 

FTC9

Ф500 x35

401.37

13.0

第一段

13.0

5.218

塔吊2

F2-F5

 

PRC1 -1

Ф950 x30

680.66

20.0

第一段

7

4.765

塔吊2

 

 

 

第二段

7

4.765

塔吊2

F1-F5

 

 

第三段

6

4.083

塔吊2

 

 

 

PRC1 -2

Ф950 x30

680.66

20.0

第一段

7

4.765

塔吊3

 

 

 

第二段

7

4.765

塔吊3

F1-F5

 

 

第三段

6

4.083

塔吊3

 

 

 

PRC2

Ф450 x30

310.73

20.0

第一段 第二段

10.5 3.263

9.5 2.952

塔吊3 塔吊3

F1-F5

 

 

6.1.2 安装工艺

1. 本工程柱与柱连接节点翼缘采用坡口全熔透焊接,腹板采用螺栓连接,如图典型十字柱对接节点:-

钢柱连接示意图     钢柱与钢柱连接焊口尺寸示意图

钢柱连接节点示意图

2. 主要施工工艺:

1) 第一节柱与地脚螺栓连接:

钢柱底脚安装是在土建基础上进行的,混凝土基础面上的柱脚螺栓的埋设精度直接影响上部钢结构的安装精度,对地脚螺栓中心位置和标高要严格控制。因此在工程施工中按以下工艺进行:

第一节柱与地脚连接示意图

安装前检查项目:基础实际坐标(水平、纵向、横向)偏差;基础混凝土保养期及强度检验报告;构件加工偏差。

钢柱底脚的安装步骤如下:

清理基础表面,除去杂物核对各基础标准线(水平、纵向、横向间距)画出基础表面中心线画出柱底脚中心线调整柱底脚下预埋板的调整螺母到安装标高的位置并紧固钢架预埋板安装就位在调整螺母上用调整螺母调整钢架预埋板标高使之在同一水平标高上刚架柱底角就位在预埋板上用调整螺母调整钢柱标高使之在同一水平标高上调整螺母焊接固定以防灌浆时移动移交土建压力灌浆 。

柱定位轴线允许偏差1mm,每组地脚螺栓与柱子基础轴线之间位移允许偏差2mm。

沿纵向轴线之间的地脚螺栓组间的累计误差:轴线长度在30m 之间的允许偏差3mm,但通长不得超过5mm。

2) 钢柱的吊装前的准备工作:

(1) 检查柱地脚螺栓、标高、十字线、柱子预检、放线、柱顶部放二次定位轴线及标高;

(2) 安装柱上爬梯及校正用缆风,加设柱脚保护器;

(3) 柱子对号入座,柱上标有编号、重量、轴线、方位、水平标高线;

(4) 检查吊装索具、吊耳的安全及变形等;

(5) 柱起吊过程中严防碰撞,柱安装时防碰地脚螺栓,扶稳后垂直下落,以保证轴线位置正确。

3) 标高的控制

本工程采用相对标高控制和设计标高控制相结合的办法进行钢结构的安装,每安装一节钢柱以后,引测实际标高复核设计标高,将设计标高的误差控制在5mm 以内,逐渐趋近设计标高。控制的方法是通过调节柱与柱之间的焊缝间隙来控制,并考虑焊缝收缩量。

钢柱轴线及标高标记

具体施工按照如下方法操作:钢柱吊装就位至安装面,首先找正柱底轴线位移,安装钢柱连接耳板上的大六角高强度螺栓,用钢楔子或千斤顶通过调整柱--柱之间的缝隙,按照先标高,后位移,最后垂偏的原则进行钢结构安装的校正。钢柱安装时每节钢柱垂直度的校正采用外控借线法观测,用两台经纬仪安置在外控点位上用经纬仪在两个垂直方向随时观测,配合安装校正。

4) 钢结构安装校正测量:

钢结构钢柱的校正是钢结构安装测量的关键工序、关键技术。在钢柱吊装就位后,其校正的内容和顺序为:标高的调校、位移调整、垂直度校正、垂直度的看守观测(跟踪观测)。

(1) 钢柱标高调校:钢柱吊装就位后,用大六角高强度螺栓通过连接板固定上下耳板,但是不夹紧,通过起落吊钩并用撬棍调整柱间间隙或通过加焊钢楔子结合千斤顶调整钢柱柱间间隙。通过上下柱的标高控制线之间的距离与设计标高数值进行对比,符合要求后打入钢楔,点焊限制钢柱下落,并考虑其焊接收缩量和压缩变量,将其标高偏差调整至+5mm 内。柱子安装后,在安装面安置水准仪测设相对标高,配合钢尺进行测量换算各钢柱柱顶线,将标高测量结果与下节柱顶预检长度对比进行综合处理。

钢柱标高调整示意图

(2) 位移调整:钢柱对接时钢柱的中心线应尽量对齐,其错边量不得超过规范及长城杯规定的要求。为上下柱不出现错口,尽量做到上下柱十字线重合,如有偏差,在柱--柱的连接耳板的不同侧面夹入垫板(垫板厚度0.5~1.0mm),拧紧大六角高强度螺栓,钢柱的位移偏差每次调整3mm 以内,如果偏差过大可以分2~3 次调整。每一节钢柱的定位轴线决不允许使用下面一节钢柱子的定位轴线,必须从地面控制线引到高空,以保证每节钢柱安装正确无误,避免产生过大的累积误差。

(3) 垂直度校正:钢柱校正的重点是对钢柱有关尺寸预检,对影响垂直的因素的预先控制。对于安装误差、焊接变形、日照温度、钢结构弹性等因素引起的误差值通过不断总结、不断积累的经验预留垂偏值。钢柱的校正采用无缆风校正法,在钢柱的偏斜一侧打入钢楔或用顶升千斤顶。采用两台经纬仪在钢柱的两个互相垂直的方向同时进行跟踪观测控制。在保证单节钢柱垂直度不超过规范的前提下注意预留焊缝的收缩对垂直度的影响,加强焊接工艺采用对称焊接以减小焊接收缩对钢柱垂直度的影响。

(4) 垂直度跟踪观测:为了如实掌握每一根钢柱垂直度的动态,更好的指导安装工作和确定安装顺序。在钢梁安装时、钢梁安装完毕焊接过程中,采用经纬仪对钢柱的垂直度随时进行跟踪观测,保证钢结构安装的各项控制指标受控。钢梁安装过程中对钢柱垂直度的影响,可采用千斤顶和手拉葫芦进行调整。

(5) 梁的水平度校正:同一根梁两端的水平度,允许偏差(L/1000)+3mm。最大不超过10mm,如果钢梁水平度超标,主要原因是连接板位置或螺孔位置有误差,可以采取更换连接板或塞焊孔重新制孔处理。

(6) 每一节钢柱所有构件安装螺栓(高强度螺栓)终拧完毕并且梁梁、柱梁节点全部焊接完成后,复测安装精度,满足要求后组织中间验收。

(7) 每一节钢柱高度范围内的全部构件,在完成安装、焊接后,进行最后的验收测量,做好实际的测量记录,经专人整理之后编制实测资料并进行报验。验线工作与放线工作要做到人员、仪器和测量方法三分开,要独立进行,验线的精度要高于放线的精度。

钢梁安装时调整钢柱垂直度示意图

3. 钢柱接口操作

根据钢柱分段及安装表对钢柱进行分段加工,并用相应机械设备进行钢柱吊装。由于钢柱较高,在下节柱安装完成后,安装上节柱时,在柱周围搭设安装脚手架,在柱接口搭设安装操作平台,进行钢柱接口安装及焊接,如遇到大风天气,在平台周围做围挡,保证焊接时操作区的风速符合焊接要求。

对于剧院部分及网架支撑部分的倾斜钢柱在安装上节柱时,不能将操作平台固定在下节钢柱上,避免钢柱过大的偏心受力。

钢柱接口安装操作平台       梁节点安装吊篮

6.2 栓钉焊接工艺

6.2.1 栓钉焊接施焊工艺

1. 工艺的确认

在焊接操作前,首先在每块试验板上焊上二个栓钉,使其由原来坐标轴弯曲45 度 ,检验栓钉的抗拉强度,如果在二个栓钉中的任何一个在焊接部位出现横裂,就需要调整焊接工艺后,重新做上述检验。如果第二次的二个螺栓又一次失败了,要继续做试验,直到连续二次检验均获得合格后,才可进行钢构件上栓钉的施焊。

在每次焊接工艺有改变时,均需进行上述检验。

如果发现焊层有不够强度的现象,应作处记号并告知有关人员,查明原因,并调查焊接工艺后,才可焊接其它栓钉。

2. 外观检查

焊接完毕后,用尖头手锤轻轻敲击每个栓钉的焊接处,进行焊层外观检查栓钉四周是否有焊层。弯曲试验:对焊层不完善的栓钉;用手锤敲击发出空隙回声的栓钉;对焊接后的长度超过1.6 毫米规定值的栓钉。上述栓钉均需用手锤敲击,使其从原来的坐标弯曲15 度。将焊层不完善的栓钉弯曲15 度,其弯曲方向应使焊层不完善处受到最大的拉力,如果被检钉没有出现裂缝或断裂,这根柱上的已焊栓钉被认为合格。

凡栓钉外观不合格者,一律打掉重焊:外观有缺陷时,进行打弯检查。外观检查合格者,进行1%的抽样打弯检查。弯15 度左右,检查焊肉有开裂者为不合格,一律打掉重焊。欲施焊栓钉部位必须先放线,以保证栓钉位置的准确。其相邻的二只栓钉需用以上方法进行检查。栓焊工应经过专门技术培训和试焊训练,方可现场施焊。

3. 操作注意事项

1) 电源开关是否闭合;

2) 当扳动焊枪开关时,微动开关是否发出咔嚓声;

3) 焊接药座与母材之间是否紧合;是否有绝缘杂质;

4) 如果发生焊接电缆和操作装置紧拉的,禁止拖拉焊枪。

5) 焊接环境要求:

翼缘潮湿或油污处不能进行焊接;

雨、雪天不能进行焊接;

油漆及镀锌处不能焊接。

4. 设备使用

每班焊接完毕,一定要将时间控制器、焊枪及电缆接头收齐,放入室内。防止接头被雨水泡湿。焊接中要将焊机散热,并将遮盖物全部揭去,用后再盖好。连接电缆的延伸,在焊接时,不允许电缆打圈、缠结,否则电流值将被降低。

5. 当进行栓钉焊接时,要稳妥执拿焊枪,严格注意焊接情况,防止水分进入电弧区。

6.3 高强螺栓施工工艺

6.3.1 高强度螺栓难点

1. 关于累计误差问题造成穿孔困难:

从高强度螺栓连接构件制孔的允许偏差、孔距的允许偏差。到测量放线,地脚螺栓预埋,钢结构柱钢桁架安装都有允许偏差范围。由于高强度螺栓孔比螺栓杆大1.5~2.0mm,如果上述各道工序控制不力,螺栓杆就会穿不过去。

2. 当螺栓杆穿孔不能通过时,由于厚板低合金高强度结构钢扩孔艰难。

3. 关于摩擦面问题:

1) 摩擦型高强度螺栓,是在荷载设计值下,连接件之间产生相对滑移,依据摩擦面作为其承载能力极限状态。如果摩擦面保证不了,高强度螺栓直接受剪,不符合摩擦型高强度螺栓的受力原理。

2) 如果由于多种原因造成板间不密贴,摩擦面会先失去作用。主要有以下几种情况:

连接板是否平,不平就不密贴。

连接处断面是否受扭,有扭就不密贴。

牛腿连接处轴线是否对位,不对位就不密贴。

遇有端板连接是否平、直、变形,是否产生间隙不密合。

3) 摩擦面抗滑移数较大时,要做好成品保护较难。

4. 对锐角杆件连接节点采用高强度螺栓不易施拧。

5. 当板厚t20mm 时箱型断面采用高强度螺栓连接比较容易。

6.3.2 高强度螺栓试验及复验

1. 高强度螺栓连接摩擦面抗滑移系数试验和复验:

1) 抗滑移系数检验用的试件由制造厂加工,试件与所代表的构件应为同一材质、同一摩擦面处理工艺、同批制作、使用同一性能等级、同一直径的高强度螺栓连接副,并在相同条件下同时发运。

2) 抗滑移系数μ 按下式计算:

μ=N/nfPt

式中:N滑动荷载;

nf传力摩擦面数,nf =2;

Pt紧固轴力之和。

3) 抗滑移系数检验的最小值必须等于或大于设计规定值。

2. 高强度大六角头螺栓连接副扭矩系数复验

大六角头高强度螺栓施工前,按出厂批复验高强度螺栓连接副的扭矩系数,每批复验5套。5 套扭矩系数的平均值应在0.110~0.150 范围之内,其标准偏差应小于或等于0.010。

大六角头高强度螺栓的施工扭矩由下式计算确定:

Tc=kPcd

式中:Tc施工扭矩;(Nm)

k高强度螺栓连接副的扭矩系数平均值;

Pc高强度螺栓施工预拉力(kN);

d高强度螺栓螺杆直径。

高强度螺栓施工预拉力Pc(kN)

螺栓性

螺栓公称直径(mm

能等级

M12

M16

M20

(M22)

M24

(M27)

M30

10.9S

60

110

170

210

250

320

390

3. 扭剪型高强度螺栓连接副预拉力复验

扭剪型高强度螺栓施工前,按出厂批复验高强度螺栓连接副的紧固轴力,每批复验5 套。5 套紧固轴力的平均值和变异系数应符合下表规定。

扭剪型高强度螺栓紧固轴力(kN)

螺栓直径dmm

16

20

22

24

公称每批紧固

109

170

211

245

最大轴力的平

120

186

231

270

均值 最小

99

154

191

222

紧固轴力变异系数

10%

6.3.3 高强度螺栓的安装

1. 高强度螺栓连接处摩擦面如采用生锈处理方法时,安装前应以细钢丝刷除去摩擦面上的浮锈。

2. 不得用高强度螺栓兼做临时螺栓,以防损伤螺纹引起扭矩系数的变化。

3. 高强度螺栓的安装应在结构构件中心位置调整后进行,其穿入方向应以施工方便为准,并力求一致。高强度螺栓连接副组装时,螺母带圆台面的一侧朝向垫圈有倒角的一侧。

4. 安装高强度螺栓时,严禁强行穿入螺栓(如用锤敲打)。如不能自由穿入时,该孔用铰刀进行修整,修整后孔的最大直径应小于1.2 倍螺栓直径。修孔时,为防止铁屑落入板迭缝中,铰孔前应将四周螺栓全部拧紧,使板迭密贴后再进行。严禁气割扩孔。

5. 安装高强度螺栓时,构件的摩擦面应保持干燥,不得再雨中作业。

6. 高强度螺栓施工所用的扭矩扳手,班前必须校正,其扭矩误差不得大于±5%,合格后方准使用。校正用的扭矩扳手,其扭矩误差不得大于±3%。

7. 高强度螺栓的拧紧分为初拧、终拧。对于大型节点分为初拧、复拧、终拧。初拧扭矩为施工扭矩的50%左右,复拧扭矩等于初拧扭矩。初拧或复拧后的高强度螺栓用颜色在螺母上涂上标记,然后按规定的施工扭矩值进行终拧。终拧后的高强度螺栓用另一种颜色在螺母上涂上标记。

8. 大六角头高强螺栓拧紧时,只准在螺母上施加扭矩。

9. 高强度螺栓在初拧、复拧和终拧时,连接处的螺栓按一定顺序施拧,一般由螺栓群**顺序向外拧紧。

10. 高强度螺栓的初拧、复拧、终拧应在同一天完成。

扭剪型高强螺栓终拧:高强度螺栓尾部梅花头全部柠掉。

6.3.4 高强度螺栓质量检验

1. 大六角型高强螺栓检查

1) 用小锤(0.3kg)敲击法对高强螺栓进行普查,以防漏拧。

2) 检查数量:按节点数抽查10%,且不应少于10 个;每个被抽节点按螺栓数抽查10%,且不应少于2 个。检查时先在螺杆端面和螺母上划一直线,然后将螺母拧松约60。,再用扭矩扳手重新拧紧,使两线重合,测得此时的扭矩应在0.9~1.1 扭矩值范围内。

2. 扭剪型高强螺栓检查

目测高强螺栓尾部梅花头拧断为合格。

6.3.5 成品保护的要求

1. 高强螺栓连接副在运输、保管过程中应轻装、轻卸,防止损伤螺纹。

2. 高强螺栓连接到应检包装箱上注明的批号、规格分类保管,室内存放,堆放不宜过高,防止生锈和沾染脏物,高强螺栓连接副在安装使用前严禁任意开箱。

3. 工地安装时应按当天高强螺栓连接副使用的数量领取。当天安装剩余的必须妥善保管,不得乱扔、乱放。在安装过程中不得碰伤螺纹及沾染脏物,以防扭矩系数发生变化。

4. 加工后的构件在高强螺栓连接处的钢板表面应平整,无焊接飞溅,无毛刺,无油污,其表面处理方法应与设计图中所要求的一致。

5. 经处理后的高强螺栓连接处摩擦面,应采用保护措施,防止沾染脏物和油污,严禁在高强螺栓连接处摩擦面上作任何标记。

6. 经处理后的高强螺栓连接处摩擦面的抗滑移系数应符合设计要求。

7. 高强螺栓连接处摩擦面如采用生锈处理方法时,安装前应以细钢丝刷除去摩擦面上的浮锈。

8. 不得用高强度螺栓兼做临时螺栓,以防损伤螺纹引起扭矩系数的变化。

6.4 压型板方案

6.4.1 工艺流程

 

 

 

 

 

 

 

 

 

 

 

 

 

 

 

 

 

 

 

 

 

 

 

 

 

 

 

 

 

 

 

 

 

 

 

 

 

 

 

6.4.2 施工工艺

1. 压型钢板铺设之前,必须认真清扫钢梁顶面的杂物,压型钢板与钢梁顶面的间隙应控制在1mm 以下。

2. 施工安装前应在安装压型钢板的主、次梁上按排版图尺寸弹出搁置线,以便安装的正确。

3. 需确认钢结构已完成校正、焊接、检测后方可施工。

4. 铺设时以压型钢板母扣件为基准起始边,依次铺设,压型板按排版图对号铺设,再按顺序确保每块板的宽度,对压型钢板进行安装定位。

5. 收边、边模等收尾工程应依浇捣混凝土进度要求及时完成。

6.4.3 质量标准和验收

1. 压型钢板在出厂前应检查其材质、板型、板号(板长)、数量和净重,且必须有出厂产品合格证书。

2. 压型钢板的外观检查应符合下列要求:

1) 目测压型钢板长向搭接缝成一直线;

2) 压型钢板上应无折裂和未经处理的孔洞等缺陷;

3) 验收前的压型钢板上应无施工残留物或污物。

6.5 防火涂料施工工艺

6.5.1 防火要求

对外露钢结构采用薄型防火涂料:钢柱耐火极限应达到3 小时;钢桁架及钢梁耐火极限应达到2 小时。

对非外露钢结构采用厚型防火涂料:钢柱涂刷50mm 厚,耐火极限应达到3 小时;钢桁架及钢梁涂刷30mm 厚,耐火极限应达到2 小时;钢梯涂刷7mm 厚,耐火极限应达到1.5 小时。

根据设计单位要求,区分不同的涂漆系统,选择系统1~4 的防火涂料。

6.5.2 施工工艺

1. 施工准备

1) 本工程在施工前,需进行试件检测。试件为两组,喷抹2 小时及3 小时各一组,检测报告包含耐火性能、耐火性能判断、材料性能,检测过程需通知业主、设计方、监理、总承包及发包方到场,并对检测结果认可。

2) 喷抹前应检查钢构件所有表面除锈是否干净。当钢结构表面上附有浮锈、油、尘埃等时,要进行清除,以保证实施防火保护层部分的附着性。首先可用压缩空气吹除浮尘、浮锈,必要时用刮刀、钢丝刷等去除污染附着物。对油污染可用挥发油去除,干净回丝擦拭干净;除锈可用砂轮批磨、刮刀、钢丝刷及100~180 号砂纸去除。

3) 材料、涂料的贮存:经检验合格的涂料,应存放在库房内,防止日光曝晒。

2. 施工方法及操作要点:

1) 基层处理

施工前要彻底清除需喷涂钢件上的灰土、油污和浮锈。并检查钢梁、柱是否有裂缝、焊接不实、漏铆等现象。经检查无问题后方可开始施工。

2) 刷防锈漆

在处理好的钢件上刷一层耐碱防锈底漆,经检查钢梁上没有漏刷现象后方可进行下一道工序。

3) 底层喷涂

(1) 搅拌

现场开启包装,用电动搅棒搅拌,直至稠度均匀为止。如料稠可少量加水,以适合喷涂为宜。

(2) 施工要领

底层需分层喷涂,每次喷涂厚度根据施工环境、温度的情况而定。一般第一遍厚度应小于2mm,以后每遍喷涂厚度2mm 左右。直至喷够设计要求,每遍喷涂隔时间以手摸涂层表面,有一定硬度即可。喷涂时喷枪垂直于被喷钢件,距离0.2~0.5m 为宜,空气压力0.4~0.6MPa,喷枪嘴的口径不小于4mm。

喷涂时应确保涂层完全闭合。

局部修补和小面积施工,可手工抹涂。

4) 面层施工

(1) 面层涂料以涂抹施工为主,在某些特殊部位也可进行喷涂施工(如难以涂抹到的部位),以保证施工场地及周围环境的整洁。

(2) 面层采用油漆喷枪进行喷涂时,喷枪要垂直于被喷基面,距离0.2-0.5 米为宜,喷涂气压0.4-0.6Mpa,要保持各部位的均匀一致。

3. 施工注意事项:

1) 存放温度和使用温度宜在5以上。

2) 喷涂前要充分搅拌,使用中如发现变稠现象,可加少量水搅拌均匀后继续使用。

3) 防火涂料应随拌随用,一次搅拌的混合料宜在1 小时内用完。

4) 涂料严禁加入其它成分,不可与其它涂料混合使用。

5) 在钢结构中,顶板与钢梁的结合部位的缝隙及网架节点部位的缝隙要使用涂料堵严,再进行整体防火涂料的喷抹工作。

6) 不需喷涂的地方要遮挡,喷后涂层应避免雨水冲淋。

7) 防火涂料施工时,首先对钢结构表面进行打底料喷涂,24 小时后进行防火涂料的涂抹施工,防火涂料每次涂刷厚度宜控制在10mm 左右,二次涂抹间隔时间一般为24 小时,涂抹要均匀,在施工过程中,施工人员应带探针随时检验涂层厚度,涂层厚度应达到设计要求的耐火极限所对应的厚度。

8) 防火施工过程中涂层固化前,环境温度宜在0~38之间,相对温度不大于90%,空气应流通。构件表面有结露时,不宜作业。

6.5.3 施工质量验收规范

1. 产品质量检测要求

1) 在同一工程中,每使用500t 厚涂型钢结构防火涂料应抽样检测一次粘结强度和抗压强度。

2) 防火涂料厚度的检测方法和平均值的确定

钢结构顶、壁的检测方法以针入法测定,所抽查的构件数不小于施工总构件数的20%,均不应少于3 件,单位抽查面积以不小于3m2,单位抽查面积内的检测点宜不少于8 点,其厚度平均值小于允许最小值时则应补刷。钢结构的梁、柱、斜撑等按其不同形状。所测三组数据的平均值和最小值为检测数据。防火涂层平均厚度应达到设计要求的耐火极限所对应的厚度,偏差在±2mm 以内,厚度不足部分的连续面积的长度不大于500mm,并在5m 范围内不再出现类似情况。若不符合上述要求,则要进行修补。

3) 涂层表面平整度的允许偏差项目和检验方法如下:

检查数量按同类构件抽查20%,但均不少于3 件。

允许偏差(mm

检验方法

母线平直度

5

1m 直尺和钢尺检查

用样板检查

2. 钢结构防火涂料施工工程竣工后,建设单位应组织包括消防监督部门在内的有关单位进行竣工验收。

6.5.4 已完工程及施工保护措施

1. 施工过程保护措施

为保证本工程已完工程或其它工种的施工不因钢结构防火涂料的施工而受污染或影响,因此当钢结构防火涂料施工可能会对其它施工单位造成影响时,将覆盖薄膜遮。在高层打底喷涂施工时,为防止风速过大,污染其它建筑物,在临边钢结构构件可采用抹涂打底或者采用薄膜围护。同时在施工中,对刚施工的涂层,应防止脏液污染和机械撞击。施工中做到随做随清,保证每段施工完成,工作面上不留建筑拉圾。

2. 已完工程保护措施

在施工中,将派专职人员负责检查对已完工程产品的保护情况,并作好检查记录,若因其它工种正常施工所造成对防火涂层的损坏,本投标人将派人修补完好。若因人为故意损坏本投标人将追究其因负责任。在工程进入后期阶段视具体情况增设24 小时巡查人员,以确保工程的完好,直至验收合格交付业主。

 

7钢结构安装与土建专业施工搭接

7.1 由于舞台塔、视像室、酒店高层桁架结构较重,需要现场就位拼装,因此需要土建配合搭设承重支撑以及地下室相应位置的结构安全支顶;

7.2 展览大厅钢框架结构以及结构外包网架安装需要搭设安装脚手架;

7.3 钢结构安装有大量的连接板在土建混凝土结构施工时做预埋,并且要求准确定位;

7.4 钢结构施工安装防护措施——安全网的搭设;

7.5 结构定位轴线复杂,提供各结构的定位轴线;

7.6 钢结构安装方案是根据立塔方案形成的,因此,需要保证塔吊安装钢结构的足够吊次;

7.7 现场总体水电布置,并配合桁架安装时接驳到现场。

 

8质量标准、质量保证体系及措施

8.1 质量标准

8.1.1 钢构件组装的允许偏差

1. 焊接H 型钢的允许偏差

项目

允许偏差(MM)

图例

截面高度

 

h<500

±2.O

500<h<1000

±3.O

h>1000

±4.0

截面宽度B

±3.O

腹板中心偏移

2.0

翼缘板垂直度

b/100,且不应大于3.O

弯曲矢高(受压构件除外)

L1000,且不应大于10.O

 

 

扭曲

h250,且不应大于5.O

 

腹板局部平面度f

t<14

3.O

t14

2.O

 

2. 焊接连接制作组装的允许偏差

项目

允许偏差(MM)

图例

对口错边

t/lO,且不应大于3.0

闻隙a

±1.O

搭接长度a

±5.O

缝隙

1.5

高度h

 

2.0

 

垂直度

b/100,且不应大于3.O

 

中心偏移e

±2.O

型钢错位

连接处

1.O

其他处

2.O

箱形截面高度h

±2.O

宽度b

±2.O

垂直度

b/200,且不应大于3.O

 

3. 单层钢柱外形尺寸的允许偏差

项目

允许偏差(MM)

检验方法

图例

柱底面到柱端与桁架连接的最上一个安装孔距离L

±L/1500

±15.O

用钢尺检查

柱底面到牛腿支承面

距离L1

±Ll/2000

±8.O

牛腿面的翘曲

2.0

用拉线

柱身弯曲矢高

H/1200,不应大于12.0

直角尺和钢尺检查

柱身扭曲

牛腿处

3.0

用拉线、吊线和钢尺检查

 

其他处

2.0

 

柱截面几何尺寸

连接处

 

±3.O

 

用钢尺检查

 

 

非连接处

±4.0

 

翼缘对腹板

的垂直度

 

连接处

1.5

 

用直角尺和钢尺检查

 

其他处

b/100,且不应大于5.0

柱脚底板平面度

5.O

 

1m直尺和塞尺检查

 

柱脚螺栓孔中心对柱轴线的距离

3.0

用钢尺检查

多节钢柱外形尺寸的允许偏差

 

 

 

 

 

 

 

项目

允许偏差(MM)

检验方法

图例

一节柱高度H

±3.0

用钢尺检查

两端最外侧安装

孔距离L3

±2.0

铣平面到第一个安装孔距离a

±1.0

柱身弯曲矢高f

f/1500,且不应大于5.0

用拉线和钢尺检查

一节柱的柱身扭曲

h/250,且不应大于5.O

用拉线、吊线和钢尺检查

牛腿端孔到柱

轴线距离L2

±3.O

用钢尺检查

牛腿的翘曲或扭曲

L21000

2.O

用拉线、直角尺和钢尺检查

 

L2>100

0

 

3.O

 

柱截面

尺寸

连接处

±4.0

 

用钢尺检查

非连接处

 

±3.O

 

柱脚底板平面度

5.O

 

用直尺和塞尺检查

翼缘板对腹板的垂直度

连接处

1.5

用直角尺和钢尺检查

柱脚螺栓孔对柱轴线的距离a

3.0

 

用钢尺检查

 

3.0

箱型截面连接处对角线差

3.O

用直角尺和钢尺检查

箱型柱身板垂直度

hb/150,且不应大于5.O

5. 钢桁架外形尺寸的允许偏差

项目

允许偏差(MM)

检验方法

图例

桁架最外端两个孔或两端支承面最外侧距离

L24m

 

+3.O

-7.O

 

 

L>24m

 

+5.0

-10.0

 

桁架跨中高度

±10.O

桁架跨中拱度

设计要求起拱

±L/5000

设计未要求起拱

10.O

-5.O

 

相邻节间弦杆弯曲(受压除外)

L1/1000

支承面到第一个安装孔距离a

±1.O

用钢尺检查

 

檩条连接支座间距

±5.O

6. 钢管构件外形尺寸允许偏差

项目

允许偏差(MM)

检验方法

图例

直径d

±5.O

用钢尺检查

构件长度L

±3.O

管口圆度

d/500且不应大于5.O

管面对管轴的

垂直度

d/500且不应大于3.O

用焊缝量规检查

弯曲矢高

L/1500且不应大于5.O

用拉线、吊线和钢尺检查

对口错边

t/10且不应大于3.O

用拉线和钢尺检查

注:对方矩形管,d为长边尺寸。

钢平台、钢梯和防护钢栏杆外形尺寸的允许偏差

项目

允许偏差(MM)

检验方法

图例

平台长度和宽度

±5.O

用钢尺检查

平台两对角线差L1-L2

6.O

平台支柱高度

±3.O

平台支柱弯曲矢高

5.0

用拉线和钢尺检查

平台表面平面度(1m范围内)

6.0

lm直尺和塞尺检查

梯梁长度L

±5.O

用钢尺检查

钢梯宽度b

±5.O

钢梯安装孔距离a

±3.O

钢梯纵向挠曲矢高

L1000

用拉线和钢尺检查

踏步间距

±5.O

用钢尺检查

栏杆高度

±5.O

栏杆立柱间距

±10.0

8.1.2 钢结构安装的允许偏差

1. 单层钢结构中柱子安装的允许偏差

项目

允许偏差(MM)

检验方法

图例

柱基准点标高

+5.0

-8.O

 

用水准仪检查

弯曲矢高

H/1200,且不应大于15.0

 

用经纬仪或拉线和钢尺检查

 

线

H10m

H/1000

 

H10m

H/1000,且不应大于25.0

 

单节柱

H/1000,且不应大于10.0

 

柱全高

 

35.0

 

 

2. 多层及高层钢结构中构件安装的允许偏差

项目

允许偏差(MM)

检验方法

图例

钢结构定位轴线

L/20000,且不大于3.0

用经纬仪和钢尺或全站仪检查

柱定位轴线

1.0

用经纬仪和钢尺检查

底层柱对定位轴线(结构长城杯

标准)

2.0

用钢尺检查

柱底标高

±2.0

用水准仪检查

上、下柱连接处的错位

3.0

用钢尺检查

同一层柱的各柱顶高度差

5.O

用水准仪检查

同一根梁两端顶面的高差

L/1000,且不应大于10.0

用水准仪检查

主梁与次梁表面的高差

±2.O

用直尺和钢尺检查

压型金属板在钢梁上相邻列的错位

15.OO

用直尺和钢尺检查

建筑物的平面弯曲

L/1500,且不应大于25.0

用水准仪检查

建筑物的整体垂直度(结构长城杯标准)

20

用经纬仪和铅直仪检查

3. 多层及高层钢结构主体结构总高度的允许偏差

项目

允许偏差(MM)

图例

用相对标高控制安装

±∑h+Z+W

用设计标高控制安装

H/1000,且不应大于30.0-H/1000,且不应小于-30.O

注:l.h为每节柱子长度的制造允许偏差;

2.Z为每节柱子长度受荷载后的压缩值;

3.w为每节柱子接头焊缝的收缩值。

4. 钢平台、钢梯和防护栏杆安装的允许偏差

允许偏差(mm

检验方法

平台高度

±15.O

用水准仪检查

平台梁水平度

f/1000,且不应大于20.O

用水准仪检查

平台支柱垂直度

H/1000,且不应大于15.0

用经纬仪或吊线和钢尺检查

承重平台梁侧向弯曲

L/1000,且不应大于10.0

用拉线和钢尺检查

承重平静梁垂直度

h/250,且不应大于15.0

用吊线和钢尺检查

直梯垂直度

f/1000,且不应大于15.0

用吊线和锅尺检查

栏杆高度

±15.0

用钢尺检查

栏杆立柱间距

±15,0

用钢尺检查

8.1.3 焊接质量标准

1. 二级、三级焊缝外观质量标准

项目

允许偏差(mm

缺陷类型

二级 三级

未焊满

(指不足设计要求)

0.2+0.02t,且1.0 0.2+0.04t,且2.0

100.0焊缝内缺陷总长25.0

根部收缩

0.2+0.02t,且1.0

0.2+0.04t,且2.0

长度不限

咬边

0.05t,且0.5;连续长度100.0,且焊缝两侧咬边总长10%焊缝全长

合格

0.1t1.0,长度不限

弧坑裂纹

——

允许存在个别长度5.0的弧坑裂纹

电弧擦伤

——

允许存在个别电弧擦伤

接头不良

缺口深度0.05t,且0.5

 

缺口深度0.1t,且1.0

1000.0焊缝不应超过1

表面夹渣

——

0.2t,长0.5t,且20.0

表面气孔

——

50.0焊缝长度内允许直径0.4t,且3.0的气孔2个,孔距6倍孔距

注:表内t为连接处较薄的板厚

 

2. 对接焊缝及完全熔透组合焊缝尺寸允许偏差

序号

项目

允许偏差(MM)

图例

一、二级

三级

1

对接焊缝余高C

B20.03.0

B20.04.0

B20.04.0

B20.05.0

2

对接焊缝错边d

 

d0.15t

2.0

d0.15t

3.0

3. 部分焊透组合焊缝和角焊缝外形尺寸允许偏差

序号

项目

图例

允许偏差(MM)

1

焊脚尺寸hf

hf6.01.5

hf6.03.0

 

2

角焊缝余高C

hf6.01.5

hf6.03.0

 

注:1. hf8.0mm的角焊缝其局部焊脚尺寸允许低于设计要求值1.0mm,但总长度不得超过焊缝长度10%

2.焊接H形梁腹板与翼缘板的焊缝两端在其两倍翼缘板宽度范围内,焊缝的焊脚尺寸不得低于设计值。

4. 超声波检测

1) 超声波探伤在焊缝外观质量检验合格后进行。

2) 修整打磨焊缝两侧至满足超声波探伤要求。

3) 全熔透焊缝进行100%超声波检测,检查等级按《钢焊缝手工超声波探伤结果的分级》GB11345-89 中规定的B 级要求执行。

8.2 质量保证措施

8.2.1 工程质量保证体系

按照GB/T19000 体系成立以项目经理为首的质量保证组织机构,以施工组织机构为框架进行人员组成。配备专职质量检查员,对质量实行全过程控制。

树立全员质量意识,贯彻谁管生产,谁管理质量;谁施工,谁负责质量;谁操作,谁保证质量的原则,实行工程质量岗位责任制,并采用经济手段来辅助质量岗位责任制的落实。

8.2.2 工程质量目标

工程验收合格率100%

重大质量事故为零

竣工结构长城杯

8.2.3 质量保证措施

1. 施工准备过程的质量控制

1) 优化施工方案和合理确定施工工艺,做好每道工序的质量标准和施工技术交底工作,搞好图纸审查工作。

2) 严格控制进场原材料的质量,对钢材等物资除必须有出厂合格证外,需经试验复检并出具复检合格证明文件,严禁不合格材料进场。

3) 合理配备施工机械,搞好维修保养工作,使机械处于良好的工作状态。

4) 对工人进行入场教育,加强质量意识,严格执行质量标准。

2. 施工过程中的质量控制

1) 钢构件进场,专人负责对构件进行质量检查。

2) 各种施工仪器在施工前均送检标定合格后使用。

3) 安装施工中各工序之间严格执行三检制,保证各种偏差在规范允许范围之内。

4) 质量检查员对各工序必须亲自到场检验,合格后进行报验。

5) 制定项目质量管理奖罚条例,岗位职责、质量目标与奖金挂钩,促进全体职工质量管理意识,实行质量一票否决制。

6) 各种厚度、接头类型的的焊接必须按照焊接工艺认真执行,特殊部位焊接需经必要的培训。

7) 严格执行工程测量方案,在结构吊装及焊接过程,必须随时进行测量工作,保证数据及时、准确,并为施工提供依据。

3. 确保结构长城杯措施

1) 根据结构长城杯评审标准制定施工方案。

2) 健全施工项目管理,明确分工,责任到人。

3) 针对评审标准做好质检员、资料员的培训,并对测工、焊工、起重工等相关工种做好交底。

4) 结构材料采购质量控制、构件制作质量控制、安装质量控制等方面按相应流程执行。

5) 按照《建筑工程资料管理规程》(DBJ01-51-2003)做好施工资料管理工作,施工资料分类整理,所有资料不得后补。

6) 工程经理部总工程师负责各部门协调及组织各项具体事宜的实施。

8.3 质量控制流程

8.3.1 工程质量控制程序

8.3.2 构件制作质量控制程序

8.3.3 构件拼装质量控制程序

8.3.4 安装质量控制程序

8.3.5 焊接质量控制程序

 

8、机电预留预埋

总承包工作范围的机电安装包括:预埋安装、防雷接地预埋安装

 

1预埋施工方法概述

1.1 本项目要求总承包预埋由指定分包按规定时间供应的套管、固定件、锚栓、支架预埋铁、线管。

为了有效的配合结构施工,总承包编制及提供各分包浇混凝土的计划,包括短期(1 周)的计划,使各分包清楚知道浇混凝土的时间及位置,预先进行备料。施工期间,总承包在完成放套管、管线、预埋件及预留孔洞后,通知分包进行现场复查确认位置,及经过监理完成隐蔽工程验收后才进行浇混凝土。

1.2 钢结构预留洞,由总承包提供综合机电留孔图,给钢结构在加工时预先开孔,避免现场切割。在配合阶段要确保混凝土内管线预埋到位准确,缩短工期,使各楼层的施工期为最科学的、最短的。

1.2.1 在预埋时,要根据本工程单层面积大小,各类管线特点,派专人负责与土建单位协调,同时派施工技术熟练的技术工人进行长距离的管线预埋配合施工。

1.2.2 由土建专业施工预留的孔、洞,安装单位必须对施工图进行复核,复核内容、数量是否够,大小是否合适,位置标高是否对。如有差错应及时同设计和土建联系,千万不能擅自割断土建的结构钢筋自行留孔、留洞。

1.2.3 预埋时,按设计施工图进行预埋和预留工作,必须按照设计坐标、标高位置进行,根据土建施工进度要求安排施工,同时按施工图坐标位置要求土建弹出(标出)结构的标高线和水平轴线,以利管道敷设到位。

1.2.4 管道穿越结构梁或主钢筋时应与土建配合处理,不得任意变动和切割主钢筋,管道安装坡度,坐标、位置应符合设计要求和验收规范。

1.2.5 在施工结束后尽快通知监理方进行验收,并及时办好隐蔽工程验收手续,使预埋管连通率做到最高。

 

2预埋套管、预埋件、孔洞等工程施工方法

2.1 工艺流程

 

 

 

2.2 防水套管预留预埋施工方法

2.2.1 柔性穿墙防水套管:用于管道穿过墙壁之处受有震动或有严密防水要求的构筑物,防水套管安装做法见下图:

柔性穿墙防水套管安装图

注: 1-套管;2-翼环;3-挡圈;4-橡皮条;5-螺母;

6-双头螺母;7-法兰盘;8-短管;9-翼盘。

2.2.2 刚性穿墙防水套管:适用于钢管穿过墙壁之处有严密防水要求的构筑物。防水套管安装做法见下图:

刚性穿墙防水套管安装图

2.2.3 墙体或楼板钢套管预留预埋施工方法:

管道穿墙壁或楼板,应设置钢制套管。根据所穿部位的厚度及管径尺寸确定套管规格、长度。一般非保温管道套管内径应大于管道外径2 号;安装保温水管,其套管内径应满足设计规定厚度的保温层通过。安装在楼板内的套管,其顶部应高出地面50mm,底部应与饰面相平;套管与管道之间用非燃性保温材料填实;穿过厕所、厨房等潮湿房间的立管,套管与管道之间可用油麻填实。

2.2.4 墙体施工孔洞预留预埋施工方法

施工前应仔细对照专业图纸和建筑结构图纸,对将要预留的孔洞尺寸、标高、轴线位置一一确定,对于建筑结构图纸中未标出的孔洞应对应专业图纸孔洞给出的位置在结构图中逐一标出。预留套管的,内径尺寸应比过管外径至少大2 号;有保温要求的过管,预留的套管内径应保证保温过管完全穿过。大口径风管预留洞,通常采用预留木盒,尺寸要求同过管。

2.2.5 预埋件安装要求

对于结构墙体、顶板不便以后钻眼的位置应预留预埋钢板(预埋铁),以便于机电安装时为支吊架所利用,预埋铁尺寸为100×100×8mm 的钢板,钢板用铆钩与结构内的钢筋用电焊固定。

 

3防雷、接地施工方法

3.1 对联合接地体(接地装置)分两步施工

第一步随钢筋混凝土底板钢筋绑扎进度焊接基础钢筋。在土建破桩清桩后用接地电阻测试仪(经检验合格)分别测试桩基内钢筋接地电阻值,选择其中阻值最小的钢筋作为与底板接地网焊接钢筋。在底板钢筋上、下层钢筋绑扎到位后,选择40 ×4 mm 或40 ×6 mm 镀锌扁钢将水平地网与桩基内钢筋焊接,双面焊长不小于6dmm(d 为钢筋直径)。第二步随地下室混凝土主体施工至±0.00 层,根据现场电阻测试数据及设计要求在防雷测试点位置外引镀锌扁钢(挖土预埋)。

3.2 对低压电气设备系统接地施工

首先随土建混凝土结构施工进度,按设计图示位置分别在高压、低压变配电室、发电机房、电气控制室、水泵房、空调机房及各种设备房内离地300mm 位置焊接100×100×8mm 镀锌钢板,作为系统、设备接地接驳点。连接钢板与联合地网连接导体采用40 ×4 mm 镀锌扁钢,三面焊接,焊接长度不小于最小截面的2 倍。在高低压等配电室内,离完工地面300mm 位置明设环地网(40 ×4 mm 镀锌扁钢),连接于预留钢板上,变压器中性点、变压器外壳、高压柜、低压柜外壳、发电机组中性点、外壳等均使用40 ×4 mm 镀锌扁钢独立与本环地网独立焊接。另外随弱电井竖向供电干线、水平干线、(电缆、母线槽桥架)施工,按设计要求明设一接地干线(40×4mm 镀锌扁钢或铜带)。

3.3 对防雷引下线施工

本工程引下线采用钢柱或混凝土结构柱内二根主筋。第一步,在底板基础钢筋网焊接时,根据设计要求确定引下线钢柱或混凝土结构柱主筋,并做好明显标记,若工程选用钢柱作为引下线,施工时只需随钢结构施工一路上引做好标记直至屋顶,遇钢柱伸缩节处,则需采用相当截面铜编织带做软跨接;若工程选用混凝土柱内主筋作为引下线,施工时在钢筋接头处既要用不小于φ12 mm 钢筋作电气跨焊(焊接长度6d,双面焊接),同时又要认真做好引下线标志,直至引出屋面,施工时每隔58 层用电阻仪测试一次。

3.4 均压环施工

在土建施工楼层混凝土结构时,按照设计确定有均压环楼层,再利用本楼层外围圈梁两条水平主筋做电气焊接,再利用直径不小于φ12 的钢筋与本层所有防雷引下线与水平网焊接成一整体电气通路。

3.5 接闪器施工

本工程接闪器采用25 ×4mm 不锈钢带敷设,首先在土建结构施工至屋顶后,确认所有设计引下线并做好测试记录,根据避雷带水平位置调整引下线水平位置和支架位置,支架间距不大于1m,转弯处不大于0.5m。如果屋面有金属屋面或金属管道,均要与避雷带做电气跨接,统一做为接闪器。

3.6 擦窗机

本工程的擦窗机其机身外壳及导轨,均采用40 ×4 mm 镀锌扁钢做好等电位连接再与避雷带电气联接为一体。其中导轨间距每隔18~24m 将2 根导轨跨接一次,且每组擦窗机与防雷网系统连接点不少于四个。当擦窗机开到最高处上部达不到人身的高度时,安装2m 高的水平避雷带或加避雷针保护。

3.7 玻璃幕墙接地施工

幕墙内钢构内部接地跨接由幕墙专业公司按规范进行跨接,本投标人按设计要求在就近接地网预留接地钢板(100×100×6mm),当幕墙钢构安装到位后,采用φ10 镀锌圆钢将竖柱与预留接地钢板跨焊,但在进行跨焊前,幕墙钢网及接地钢板分别做接地电阻测试,合格后方可进行焊接。

3.8 对钢结构接地施工

首先与设计确认钢结构内部因各种连接方式(固定、螺栓、活络连接)是否满足电气连接要求,如已满足电气连接要求,则只需在钢柱首尾段做接地跨接,否则需再在连接处用相当截面铜编织带跨接。对钢构伸缩处时采用软连接。

3.9 对外围金属窗防雷施工

要求施工金属窗单位先按照相关规范将窗的接地铁板预留固定到位,再利用φ10 mm 圆钢将窗与就近防雷网(均压环)电气连接。

3.10 对各类进出建筑物电力电缆、金属水管、信号数据电缆穿过的进户钢管利用25 ×4 mm 镀锌扁钢与就近地网电气焊接,防止外围雷电进入大楼。

3.11 对建筑物电子信息防雷施工

首先在供电子设备机房设备强电电源进线处按照设计规范要求装设相应规范电涌保护器(SPD)。电子系统内部信号传输线路、网络数据线路电涌保护由各子系统自身设计、施工考虑。其次在各电子系统机房内预埋接地钢板,为机房做等电位接地预留接驳点。

3.12 对建筑物内有沐浴卫生间局部等电位施工

首先按照设计要求在各卫生间预留接地钢板(必须与地连接),随卫生间水管安装进度从接钢板处外引接地线(不小于2.5mm2)至洁具金属件位置,待洁具到位后全部安装接地线。禁止采用蛇皮管、薄壁钢管、保温管的金属网作接地线或保护线,应单独敷设合格PE 线,其中PE线的截面,当相线截面大于16mm2 时,PE 线截面为相线截面1/2;当相线截面小于16mm2时,PE 线截面与相线截面相等。

3.13 对所有防雷、接地系统施工

当设计不具体要求时,本投标人完全按照国家标准建筑物防雷设施安装99D501-1(原标准99D562)要求严格施工。

 

9、装饰装修工程

本项目装饰工程装修面积大、工期紧迫、材料种类繁多、施工内容复杂、施工单位多、工序穿插多、工艺要求高、图纸深化设计量大、施工管理难度较高。本施工方案主要为总承包范围内粗装修施工,中标后本投标人将编制详细的装修方案。

 

1地面工程

1.1 细石混凝土地面工程

1.1.1 细石混凝土工艺流程

找标高线、弹面层水平线基层处理洒水湿润抹灰饼抹标筋刷素水泥浆浇筑

C20 细石混凝土抹面层压光养护

1.1.2 细石混凝土施工工艺

1. 找标高、弹面层水平线

根据墙面上已有的+50cm 水平标高线,量测出地面面层的水平线,弹在四周墙面上,并要与房间以外的楼道、楼梯平台、踏步的标高相呼应,贯通一致。

2. 基层处理

先将灰尘清扫干净,然后将粘在基层上的浆皮铲掉,用碱水将油污刷掉,最后用清水将基层冲洗干净。

3. 洒水湿润

在抹面层之前一天对基层表面进行洒水湿润。

4. 抹灰饼

根据已弹出的面层水平标高线,横竖拉线,用与豆石混凝土相同配合比的拌合料抹灰饼,横竖间距1.5m,灰饼上标高就是面层标高。

5. 抹标筋

面积较大的房间为保证房间地面平整度,还要做冲筋,以做好的灰饼为标准抹条形标筋,用刮尺刮平,作为浇筑细石混凝土面层厚度的标准。

6. 刷素水泥浆结合层

在铺设细石混凝土面层以前,在已湿润的基层上刷一道10.4~0.5(水泥水)的素水泥浆,不要刷的面积过大,要随刷随铺细石混凝土,避免时间过长水泥浆风干导致面层空鼓。

7. 浇筑细石混凝土

本工程C20 细石混凝土采用商品混凝土,细石混凝土面层的强度等级应按设计要求做试配,并由搅拌站试验室根据原材料情况计算出配合比。并按国家标准的规定制作混凝土试块,每一层建筑地面工程不应少一组,当每层地面工程建筑面积超过1000m2 时,每增加1000m2 各增做一组试块,不足1000m2 按1000m2 计算。当改变配合比时,亦应相应制作试块。

面层细石混凝土铺设:将搅拌好的细石混凝土铺抹到地面基层上(水泥浆结合层要随刷随铺),紧接着用2m 长刮杠顺着标筋刮平,然后用滚筒(常用的为直径20cm,长度60cm 的混凝土或铁制滚筒,厚度较厚时应用平板振动器)往返、纵横滚压,如有凹处用同配合比混凝土填平,直到面层出现泌水现象,撒一层干拌水泥砂(11=水泥砂)拌合料,要撒匀(砂要过3mm 筛),再用2m 长刮杠刮平(操作时均要从房间内往外退着走)。

8. 抹面层、压光

当面层灰面吸水后,用木抹子用力搓打、抹平,将干水泥砂拌合料与细石混凝土的浆混合,使面层达到结合紧密。

第一遍抹压:用铁抹子轻轻抹压一遍直到出浆为止。

第二遍抹压:当面层砂浆初凝后,地面面层上有脚印但走上去不下陷时,用铁抹子进行第二遍抹压,把凹坑、砂眼填实抹平,注意不得漏压。

第三遍抹压:当面层砂浆终凝前,即人踩上去稍有脚印,用铁抹子压光无抹痕时,可用铁抹子进行第三遍压光,此遍要用力抹压,把所有抹纹压平压光,达到面层表面密实光洁。

本工程采用随捣随抹的方法。当面层表面出现泌水,可加干拌的水泥和砂进行撒匀,其水泥与砂的体积比宜为:1:2.0~1:2.5,并应用以上同样的方法进行抹平和压光。

9. 养护

面层抹压完24 小时后(有条件时可覆盖塑料薄膜养护)进行浇水养护,每天不少于2 次,养护时间一般至少不少于7 天(房间应封闭养护期间禁止进入)。

10. 分格缝压抹

有分格缝的面层,在撒1:1 水泥砂后,用木杠刮平和木抹子搓平,然后应在地面上弹好线,用铁抹子在弹好线两侧各200 ㎜宽范围内抹压一遍,在用溜缝抹子开缝;以后随大面积压光时沿分格缝用溜缝抹子抹压两遍方可交活。

11. 施工缝处理

细石混凝土面层不应设置施工缝。当施工间歇超过允许时间规定,继续施工混凝土时,应对已凝结的混凝土接槎处进行处理,刷一道素水泥浆,其水灰比为0.4~0.5,再浇筑混凝土,并应捣实压平,不显接头槎。

1.2 水泥砂浆地面

1.2.1 施工准备

1. 准备

水泥砂浆面层下的各层作法应已按设计要求施工并验收合格;铺设前应根据设计要求通过实验确定配合比。

2. 材料要求

水泥:宜采用硅酸盐水泥、普通硅酸盐水泥或矿渣硅酸盐水泥,其强度等级应在32.5 级以上;不同品种、不同强度等级的水泥严禁混用;

砂:应选用水洗中、粗砂,当选用石屑时,其粒径为15mm;且含泥量不大于3%。

3. 主要机具设备

根据施工条件,应合理选用适当的机具设备和辅助用具,以能达到设计要求为基本原则,兼顾进度、经济要求。常用机具设备有:砂浆搅拌机、手推车、计量器、筛子、木耙、铁锹、小线、钢尺、胶皮管、木拍板、刮杠、木抹子、铁抹子等。

1.2.2 施工工艺

1. 工艺流程

检验水泥、砂子质量配合比试验技术交底准备机具设备基层处理招标高贴饼冲筋搅拌铺设砂浆面层搓平压光养护检查验收

2. 基层处理:

把沾在基层上的浮浆、落地灰等用銮子或钢丝刷清理掉,再用扫帚将浮土清扫干净,应在抹灰的前一天洒水湿润后,刷素水泥浆或界面处理剂,随刷随铺设砂浆,避免间隔时间过长风干形成空鼓。

3. 找标高:

根据水平标准线和设计厚度,在四周墙、柱上弹出面层的上平标高控制线。按线拉水平线抹找平墩(60mm×60mm 见方,与面层完成面同高,用同种砂浆),间距双向不大于2m。有坡度要求的房间应按设计坡度要求拉线,抹出坡度墩。面积较大的房间为保证房间地面平整度,还要做冲筋,以做好的灰饼为标准抹条形冲筋,高度与灰饼同高,形成控制标高的字格,用刮尺刮平,作为砂浆面层厚度控制的标准。

4. 搅拌:

砂浆的配合比应根据设计要求通过试验确定。投料必须严格过磅,精确控制配合比或体积比。应严格控制用水量,搅拌要均匀。砂浆的稠度不应大于35mrn,水泥石屑砂浆的水灰比宜控制为0.4。

5. 铺设:铺设前应将基底湿润,并在基底上刷一道素水泥浆或界面结合剂,将搅拌均匀的砂浆,从房间内退着往外铺设。

6. 搓平:用大杠依冲筋将砂浆刮平,立即用木袜子搓平,并随时用2m 靠尺检查平整应。

7. 压光:

第一遍抹压:在进平后立即,用铁袜子轻轻抹压一遍直到出浆为止,面层均匀,与基层结合紧密牢固。第二遍抹压:当面层砂浆初凝后(上人有脚印但不下陷),用铁抹子把凹坑、砂眼切实抹平,注意不得漏压,以消除表面气泡、孔破等缺陷。

第三遍抹压:当面层砂浆终凝前(上人有轻微脚印),用铁抹子用力抹压。把所有抹纹压平压光,达到面层表面密实光洁。

8. 养护:应在施工完成后24 小时左右覆盖和洒水养护,每天不少于2 次,严禁上人,养护期不得少于7 天。

9. 冬季施工时,环境温度不应低于5。如果在负温下施工时,所掺抗冻剂必须经过试验室试验合格后方可使用。不宜采用氯盐、氨等作为抗冻剂,河碍不使用时掺量必须严格按照规范规定的控制量和配合比通知单的要求加人。

1.3 地面砖工程

1.3.1 施工准备

1. 材料准备

水泥:Ps32.5、Po32.5、Ps42.5、Po42.5 水泥。

砂:粗砂或中砂。

玻化砖:进场后应拆箱检查颜色、规格、形状、粘贴的质量等是否符合设计要求和有关标准的规定。

2. 主要机具

小水桶、半截桶、扫帚、方尺、平锹、铁抹子、大杠、中杠、小杠、筛子、窄手推车、钢丝刷、喷壶、锤子、硬木拍板(240mm*120mm*50mm),合金尖凿子、合金扁凿子(用ф6 钢筋焊接K 6~K 8 合金钢片)、钢片开刀、拨板(200mm*70mm*1mm)、粉线包、小型台式砂轮等。

1.3.2 施工工艺

1. 施工工序

选砖放线冲筋铺砂浆铺砖勾缝

2. 选砖

按材料验收标准选砖,一般按级差1mm 分类选出3-4 种规格,各种规格均要求方正平直,边角完好,颜色图案一致、无裂纹、表面平整无凹凸和曲翘。

3. 放线

根据图纸和已作好的各种基准线(事先须校核)放施工控制线,在主要部位(特殊部位和有不同花色、材质、材质交接处)弹出互相垂直的十字控制线,用以控制和检查位置和施工质量。对弹好的各种控制线应加以校核并作记录,经校核的控制线应加以保护,使之有效使用。

4. 冲筋

根据图纸要求的标高冲筋,间距以不大于1.5m 为准,不同标高处的冲筋应以控制线为准。

使用1:2 1:2.5 水泥砂浆冲筋,并拉通线以检查高度是否符合要求。

5. 铺砂浆

在清理干净的基层上均匀扫浆(水灰比0.5 素水泥浆)。用1:2 或1:2.5 干硬性水泥砂浆在扫完浆后的基层上作粘结层,要用杆刮平,铁抹子拍实,使砂浆与基层粘结密实。

6. 铺砖

在实铺前应将砖试铺,按实铺要求直接放在粘结层上,用橡胶锤振实。试铺经检查无误后开始实铺。铺砖时砖背面抹素水泥加适量胶结合层,要求厚度10mm~15mm,涂抹均匀。在实铺中应用橡皮锤振实,用力均匀,以防损坏地砖,用水平尺检查平整度,用通过检查砖缝的通顺,要求表面平整、颜色一致、砖缝、十字缝通顺,接缝高低一致平整,粘结密实牢固无空鼓,达到完成面标高和设计要求。当卫生间地面板材较大时,泛水坡度可稍缓,然后在地漏周围小面积内做二次泛水,此时坡度可稍大,如下图所示。

地漏周围面砖泛水示意

7. 勾缝

设计要求砖缝大于3mm 的,采用勾缝的方法,材料为白水泥:细砂=1:1;砖缝有特殊颜色要求的,用白水泥调配适当色粉勾、擦缝。要求砖缝安装。

1.4 自流平地面工程

1.4.1 材料要求

水泥自流平涂料:流动度、凝结时间、抗压强度及粘结强度等指标应满足相关规范和设计要求。

环氧自流平涂料:要求满足防尘,防腐,防潮,耐磨;便于清洁,施工快捷,维护方便,造价低廉;附着力强,柔韧性好,耐冲击;

固化剂:采用改性固化剂,在硬化过程中无游离胺析出,满足北京地区气候条件要求。

1.4.2 工艺流程

基层处理物料拌合流平施工养护

1.4.3 操作工艺

基层处理:将基层清理干净,除去浮灰,油迹等不利于粘结的物质,若基层过于干燥时,可适当浇水,但施工前不能留有明水。用地面处理剂涂刷地面2 遍,每次涂刷要待前一层基本干燥后进行,最后一层干燥后,可搅拌施工。若基层坑洼较大,需先补平后再做上述处理。

物料拌合:根据施工面积及时性覆盖率计算地面自流平材料量及用水量。根据自流平涂料配合比要求配制并搅拌。用搅拌器搅拌至无结块的可流动性均匀浆液,将其静置熟化约3min,再短暂搅拌一次;加水量应严格按照水灰比。水量过少会影响流动性,过多则会降低固化后的强度。

自流平施工:将拌合过滤后的料浆均匀倒于处理好的地面上,自流平即可。如局部过高,料浆不能流到的地方,可用抹子轻轻刮平即可,流平施工时间最好在20min 内完成,施工后的机具方即用水冲洗干净。

养护:施工完毕后立即封闭现场,5 小时内禁止行走,10 小时内避免重物撞击,24 小时后可进行橡胶地板的预铺;可在自流平施工12 小时后,对已做好自流平表面进行打磨,以清除自流平施工后遗留在表面的微小浮尘,使自流平表面更加光洁。对已打磨过的自流平进行湿度测量,确保下道工序保质进行。

 

2墙面工程

2.1 墙面抹灰工程

2.1.1 材料要求

水泥采用强度等级不小于32.5 的普通硅酸盐水泥,并有出厂合格证。砂子用平均粒径在0.35~0.5mm 之间的中砂,使用应过筛。

1. 机具准备

一台砂浆搅拌机,5mm 筛子,钢丝刷及抹灰工常用的工具。

2. 工艺做法

1) 工艺流程

墙面基层清理洒水湿润墙面找方、抹灰饼、找规矩抹底层灰抹中层灰面层抹灰

2) 施工过程控制

先对光滑的墙面用钎子剔毛,进行毛化处理,剔去光面,确保基层与面层粘结牢固。

抹底层砂浆时,先刷界面剂一道,紧跟抹1:3 水泥砂浆,并刮平找直,木抹子搓毛。

抹面层砂浆时,将底层砂浆浸水湿润,用1:2.5 水泥砂浆先刮一层灰与底灰粘牢,紧跟抹第二道灰。表面无明显水痕出现时,用刷子蘸水按垂直于地面的同一方向轻刷一遍,以避免和减少收缩裂缝。每遍抹灰厚度为5~8mm。

抹灰层应在潮湿的环境下进行养护。

2.2 墙面砖工程

2.2.1 施工准备

工具: 切砖刀、胡桃钳、手凿、灰铲、橡皮锤等

材料:为了使釉面砖铺贴得牢固、缝 、直、表面平整美观,必须按精心挑选。要求尺寸、厚薄相同,颜色一致,边缘整齐,棱角无损,无裂纹。

2.2.2 基层处理

对混凝土、砖墙等基层的清理可参照前述进行。清理干净后常以1:3 水泥砂浆找平搓毛,厚度7mm 左右,养护1-2 天待铺。

2.2.3 施工工艺

1. 施工工序

浸水阴干找规矩贴灰饼垫木托板铺贴瓷砖清洗擦缝

2. 浸水阴干

釉面砖由于背面无釉,吸水率较大,为了保证基层的粘贴牢固,不致因砂浆失水而降低粘结力,造成空鼓、脱落,因此在施工前应将挑选合格的釉面砖用清水浸泡4 小时左右,然后阴干待用。用时以摸之觉湿、按之无水为准。

3. 找规矩

用水平尺找平、校核方正,算好纵横皮数和铺贴块数,划出皮数杆,定出水平标准,进行预排。一般横向由阳角开始,使非整块砖留在阴角;纵向应使非整块砖留在最下一层,若满墙铺贴也可入天花板内;水池、镜框必须以中心往两边分贴,然后弹好垂直与水平控制线。

4. 贴灰饼

先用碎瓷砖技粘结层厚度用混合砂浆贴好灰饼,找出厚度标准,瓷砖墙裙一般比抹灰面凸出5mm,灰饼间距一般为16mm 左右,阳角处应两面挂直。

5. 垫木托板

在已弹好的水平线上(即计算好了的最下一皮砖的下口标高)支好木托板(要注意地漏标高和位置),必须安放水平,摆实摆稳,木托板垫点间距在40cm 以内。垫木托板的主要目的是为了防止釉面砖在水泥浆未硬化前下坠。

6. 铺贴瓷砖

以木托板为依据,铺贴第一层瓷砖,上口以水平线为标准,由下往上逐层铺贴。用混合砂浆铺贴时(配合比为1:0.1:2.5)应将粘结砂浆满铺在釉面砖背面逐块进行铺贴,并用灰铲轻轻敲击,使其与基层粘结密实牢固。若用建筑胶水泥浆铺贴,一般可抹一行贴一行,用手将砖轻轻压一下,再用橡皮锤轻轻敲实。建筑胶水泥浆应随调随用,配合比为水泥:建筑胶:水=10:0.5:2.6(重量比)。在15条件下操作时,从抹浆铺贴开始到修整擦缝,全部工作最好是在3 小时内完成。铺贴时,应随时用靠尺检查平正方直情况,修整缝隙并用棉纱等擦净缝中挤出的胶浆。粘贴不实的瓷砖应取下重新铺贴,不能在砖边口处塞灰,以防空鼓。墙面铺贴一般应先铺大面,后铺阴阳角、凹槽等费工多、难度大的部位。边角必须平直。上口应用单圆边,阳角最上面的一块必须用两边均是圆边的釉面砖。铺贴艺术釉面砖时还应注意到整体图案效果。

7. 清洗擦缝

釉面砖铺贴完毕后,根据表面污染情况,用水或稀盐酸刷洗干净,最后再用清水冲洗一遍。

再用棉纱将表面擦净,然后用白水泥浆擦缝。

铺贴完毕后,应在10以上条件下养护7 天后方可使用。

2.3 金属饰面板

2.3.1 施工程序

吊直、套方、找规矩、弹线固定骨架的连接件固定骨架金属饰面安装收口构造

2.3.2 施工工艺

1. 吊直、套方、找规矩、弹线

首先根据设计图纸的要求和几何尺寸,要对镶贴金属饰面板的墙面进行吊直、套方、找规矩并一次实测和弹线,确定饰面墙板的尺寸和数量。

2. 固定骨架的连接件

骨架的横竖杆件是通过连接件与结构固定的,而连接件与结构之间,可以与结构的预埋件焊牢,也可以在墙上打膨胀螺栓。因后一种方法比较灵活,尺寸误差较小,容易保证位置的准确性,因而实际施工中采用的比较多。须在螺栓位置画线按线开孔。

3. 固定骨架

骨架应预先进行防腐处理。安装骨架位置要准确,结合要牢固。安装后应全面检查中心线、表面标高等。对高层建筑外墙,为了保证饰面板的安装精度,宜用经纬仪对横竖杆件进行贯通。

变形缝、沉降缝等应妥善处理。

4. 金属饰面安装

墙板的安装顺序是从每面墙的边部竖向第一排下部第一块板开始,自下而上安装。安装完该面墙的第一排再安装第二排。每安装铺设10 排墙板后,应吊线检查一次,以便及时消除误差。为了保证墙面外观质量,螺栓位置必须准确,并采用单面施工的钩形螺栓固定,使螺栓的位置横平竖直。固定金属饰面板的方法,常用的主要有两种。一是将板条或方板用螺丝拧到型钢或本架上,这种耐久性较好,多用于外墙。另一种是将板条卡在特制的龙骨上,此法多用于室内。板与板之间的缝隙一般为10~20 ㎜,多用橡胶条或密封胶弹性材料处理。当饰面极安装完毕,要注意在易于被污染的部位,用塑料薄膜覆盖保护。易被划、碰的部位,应设安全栏杆保护。

5. 收口构造

水平部位的压顶、端部的收口、伸缩结的处理、两种不同材料的交接处理等,不仅关系到装饰效果,而且对使用功能较大的影响。因此,一般多用特制的两种材质性能相似的成型金属进行妥善处理。墙面边缘部位的收口处理,是用颜色相似的铝合金成形板将墙板端部及龙骨部位封住。墙面下端的收口处,是用一条特制的技水板。将板的下端封住,同时将板与墙之间的缝隙盖住,防止雨水渗人室内。

伸缩缝、沉降缝的处理,首先要适应建筑物伸缩、沉降的需要,同时也应考虑装饰效果.另外,此部位也是防水的薄弱环节,其构造节点应周密考虑。墙板的外、内包角及钢窗周围的泛水板等须在现场加工的异形件,应参考图纸,对安装好的墙面进行实出套足尺,确定其形状尺寸,使其加工准确、便于安装。

2.4 壁纸粘贴

2.4.1 基层处理:

水泥基层墙面先清除灰渣鼓包,再刷两道底胶乳胶水。阴阳角垂直,大面平整,阴角线边的小五分要宽窄一致,手摸墙面不能有凹凸感。

2.4.2 裁纸:

首先计算顶墙纸的用量,先裁长纸,先裁短纸,根据长度留出2~3cm 的余量。要求壁纸使用的方向要一致。

2.4.3 刷胶糊纸

粘贴前要在靠近阴角处弹一道垂直线,以保证贴完的壁纸垂直而不歪。壁纸刷胶可一面刷,也可纸、墙两面都刷,530mm 的壁纸粘贴时直接对缝,1000mm、1500mm 的壁纸一般都是重迭裁缝。粘贴第一张壁纸时一定要按已弹好的线找直粘牢,应注意纸的两边各甩出10-20mm 不压死,以满足与第二张铺粘时的拼花压搓对缝要求,然后依上法铺粘第二张壁纸,两张纸搭接10-20mm,用钢板尺比齐,两人将尺按紧,一人用壁纸裁切,随限将搭搓处两张纸条撕去,用刮板带胶将缝隙压实刮牢。随后将阴角边的壁纸用尺比齐拉直裁掉,用温湿毛巾将多余的胶擦净,依次进行。

2.4.4 花纸拼接:

纸的拼缝处花形要对拼搭好,铺贴时应注意花形及纸的颜色力求一致。墙与顶壁纸的搭接应根据设计要求而定,一般有挂镜线或阴角线的房间应以线界,无线条的房间以弹线为准。花形拼接好出现困难时,错搓应尽量甩到不显眼的阴角处,大面不应出现错搓和花形混乱的现象。

2.4.5 修整:

壁纸粘贴完后,应马上检查是否有空鼓不实之处,接搓是否平顺有无翘边现象,胶痕是否擦净,有无小包,表面是否平整,直至符合要求为止。

2.4.6 所用材料的品种、颜色符合设计要求,其质量必须符合有关标准规定。

2.4.7 壁纸必须粘结牢固,无空鼓、翘边、皱折等缺陷。

2.4.8 成品保护:

墙纸精完的房间应及时清理干净,不准做料房或休息室,避免污染和损坏。施工过程中严禁非操作人员随意触摸墙纸。严禁在已贴好壁纸的顶、墙上剔眼打洞,若纯属设计变更,也应采取相应的措施进行成品保护,施工后认真修复,以保证壁纸整体效果二次修补油漆,涂料时应作好成品保护,防止污染、碰撞。

 

3轻钢龙骨吊顶

3.1 龙骨施工程序

在墙上弹出标高线固定吊杆安装大龙骨按标高线调整大龙骨大龙骨底部弹线固定中、小龙骨固定异形龙骨装横撑龙骨。

3.2 放线

放线主要是弹好吊顶标高线、龙骨布置线和吊杆悬挂点。

吊顶标高线:一般是弹到墙面或柱面上。

龙骨布置线:一般必须弹到楼板下底面上。

吊杆位置线:吊杆的间距是根据龙骨的断面及使用的荷载综合确定。

龙骨断面大,刚度好,那么吊杆的间距可相应大一些。如果在实际工程中使用非标准龙骨配件,那么龙骨的断面及吊杆,均应经过受力计算后方能确定。吊杆的位置线与龙骨一样,同时弹在楼板下底面上。

3.3 固定吊杆

吊杆的选择,应根据吊顶的形式灵活处理。可用钢筋,也可用型钢一类的型材。如果选用的不是标准图集的构件,那么,吊杆的大小及连接构造,应经过设计与计算,看其抗拉强度是否满足安全的要求。如果选用标准图集,吊杆的规格及固定方法已经计算,只要按标准图集所标注的尺寸规格选用即可。选用与设计吊杆时,主要是安全问题,其次是悬吊方便,调节灵活。只有这样,才能做到安全、实用。在隐蔽式装配吊顶中,吊顶本身质量的大小,是否上人或有其他活荷载,是决定吊顶构造的关键因素。本身质量大,再有一定检修荷载,在固定方法上,以起码承受使用的荷载为准则。吊杆的施工,主要包括与结构的固定、断面选择、吊杆与龙骨的连接。

在吊点的位置,用冲击钻打胀管螺栓,然后将胀管螺栓同吊杆焊接。此种方法可省去预埋件,比较灵活。吊杆与龙骨的连接:可以采用焊接,也有的采用吊挂件。吊挂件分上人吊挂件与不上人吊挂件。

3.4 龙骨安装

在龙骨的安装程序上,因为主龙骨在上,所以,吊挂 件同主龙骨相连,在主龙骨底部弹线,然后再用连接件将次龙骨与主龙骨固定。在主、次龙骨的安装程序上,可先将主龙骨与吊杆安装完毕,然后再依次安装中龙骨、小龙骨。也可以主、次龙骨一齐安装,二者同时进行。至于采用哪些形式,主要视不同部位、所吊面积的大小来决定。大房间安装大龙骨,根据设计要求中间部分应起拱,一般为短跨的1/200,主、次龙骨(大、中、小龙骨)长度方向可用接插件连接,接头处要错开。龙骨的安装,一般是按照预先弹好的位置,从一端依次安装到另一端。

如果有高低跨,常规做法是先安装高跨部分,然后再安装低跨。对于检修孔、上人孔、通风篦子等部位,在安装龙骨的同时,应将尺寸及位置留出,将封边的横撑龙骨安装完毕。如果在吊顶下部悬挂大型灯饰,龙骨与吊杆在此方面都做好配合,有些龙骨还需断开,那么,在构造上还应采取相应的加固措施。如若大型灯饰,悬挂最好同龙骨脱开,以便安全使用。如若一般灯具,对于隐蔽式装配吊顶来说,可以将灯具直接固定在龙骨上。

3.5 龙骨调平

在安装龙骨前,因为已经拉好标高控制线,根据标高控制线,使龙骨就位,因此龙骨的调平与安装宜在同一时间完成。调平主要是调整主龙骨,只要主龙骨标高正确,中、小龙骨一般不会发生什么问题。

吊顶施工前,检查设备管道安装情况,有无交叉施工,并进行妥善安排。

3.6 纸面石膏板安装

3.6.1 施工要点

在吊顶龙骨安装经验收合格后,方可进入罩面板铺钉工序。根据现行规范规定,纸面石膏板的安装应符合下列要点:

3.6.2 板材应在自由状态下就位固定,防止出现弯棱、凸鼓现象。

3.6.3 纸面石膏板的长边(护面纸包封边)应沿纵向次龙骨铺设。

3.6.4 自攻螺钉与纸面石膏板板边的距离:距护面纸包封边(长边)以10-15mm 为宜;距

切割边(短边)以15-20mm 为宜。

3.6.5 固定纸面石膏板的覆面(次)龙骨间距一般不大于600mm;如果安装在周围环境比

较潮湿的区域,间距应适当减小,以300mm 为宜。

3.6.6 钉距以150-170mm 为宜,螺钉应与板面垂直。弯曲、变形的螺钉应剔除,并在相

隔50mm 的部位另安螺钉。

3.6.7 安装双层纸面石膏板时,面层板与基层板的接缝应错开,不得在同根龙骨上接缝。

3.6.8 纸面石膏板的接缝,应按设计要求进行板缝处理。

楔形棱边板接缝:用底层腻子在板缝内满填刮平,用纸带封住接缝并用底层腻子覆盖,用底层腻子盖住所有螺钉帽,在常温下干燥1 小时以上;抹第二道底层腻子宽度约180mm 并修边,再次覆盖螺钉部位,在常温下凝固至少1 小时;抹第三道腻子采用其表层腻子,宽约270mm,用潮湿刷子湿润腻子边缘后用抹子修边,第三遍涂抹螺钉头部位(覆盖直径约25mm),表层腻子干燥时间为24 小时;最后用150 号砂纸打磨嵌缝处表面(用力要轻,避免划伤接缝)。

直角形棱边板接缝:处理步骤与上述板缝相同,但应注意第一道底层接缝腻子的抹盖宽度要宽出缝两边各约150mm;第二道底层腻子的宽度约400mm;第三道(表层腻子)腻子的宽度至少为440mm,完成后的接缝处微凸,向两边平滑修抹过渡。

3.6.9 纸面石膏板与龙骨固定,应从一块板的中间向板的四边固定,不得多点同时作业。

3.6.10 螺钉头宜埋入板面,但不使纸面破损。钉眼应作防锈处理并用石膏腻子抹平。

拌制石膏腻子,必须用清洁水和清洁容器。

 

4油漆工程

4.1 乳胶漆、涂料工程

4.1.1 材料准备

内墙刮防水腻子、封底漆、高档涂料。应有材料合格证。

4.1.2 施工工艺

1. 施工工序

基层处理修补防水腻子刮防水腻子施涂第一遍涂料施涂第二遍涂料清扫

2. 操作工艺

基层处理:首先将墙面等基层上起皮、松动及鼓包等清除凿平,将残留在基层表面上的灰尘、污垢、溅沫和砂浆流痕等杂物清除扫净。

修补腻子:用水石膏将墙面等基层上坑凹、缝隙等找平,干燥后用1 号砂纸将凸出处磨平,并将浮尘等扫净。

刮腻子:刮腻子的遍数可由基层或墙面的平整度来决定,一般为三遍,第一遍横向满刮,接头不留槎,干燥后用1 号砂纸磨光,第二遍竖向满刮,与第一遍相同干燥后用1 号砂纸磨光,第三遍找补腻子将墙面等基层刮平刮光,干燥后用细砂纸磨光,不要漏磨或将腻子层刮穿。耐擦洗涂料滚涂施工。用涂料滚子蘸料涂刷,为了避免流挂,应少蘸、勤蘸。第一遍施工完后,一般需干燥6 小时以上,才能进行下一道工序(磨光)。

磨光:第二遍耐擦洗涂料应比第一遍稠,具体掺水量根据生产厂家要求而定,施工方法与第一遍相同,若遮盖差,则需打磨后,再涂一遍。

4.2 环氧自流平涂料

4.2.1 工艺流程

基层处理环氧树脂底漆打底环氧树脂砂浆刮涂中层漆打磨、清洁环氧树脂色漆自流平慢涂

4.2.2 操作工艺

基层处理:将基层清理干净,除去浮灰,油迹等不利于粘结的物质,若基层过于干燥时,可适当浇水,但施工前不能留有明水。

环氧树脂底漆打底:用刷涂或滚涂方式涂底漆1 至2 道,每道间隔时间为8 小时以上;在旧基层上需再增1 道底漆。

环氧树脂砂浆刮涂中层漆:对水泥类面层上存在的凹坑,填平修补,自然养护干后打磨平整,采用刮板将已熟化的混合料轻刮,使其均匀分布。按不同要求进行多道刮涂。

打磨、清洁:待环氧树脂砂浆中层漆达到强度后,对面层进行打磨,使其平整,并保证打磨后面层的清洁。环氧树脂色漆自流平慢涂:将搅拌好的自流平浆液倾倒在地坪上,用自流平齿刮板批刮自流平,达到所需的厚度;另一施工人员穿上钉鞋,进入未干的地坪,用自流平放气滚在自流平表面轻轻滚动,将反应产生的气泡放出; 施工完毕后应封闭施工现场,以防有人误入未干的自流平。

 

10、特殊部位施工方案

1酒店部分

1.1 酒店桁架及吊挂系统施工

酒店二十九、三十层为承重桁架,二十七、二十八层的结构利用钢柱与承重桁架连接并吊挂在桁架结构上。由于采用吊挂结构,施工时不能按照正常施工顺序施工完二十七、二十八层结构再向上施工,而是应该先安装二十九、三十层桁架后再安装二十七、二十八层结构。酒店结构平面布置为U 型,U 型开口在结构西侧,为两个楼梯筒结构,东侧为一个核心筒结构,西侧开口宽40m,屋顶有五榀桁架(29、30、31 层),由于酒店部位桁架底标高在129.90m,桁架两端与酒店楼梯筒及核心筒结构连接,桁架下部至标高17.90m 无结构,净空高度达到了112.00m。所以如何选择施工方案以达到设计要求是本工程的关键。

经过对多种施工方案的反复讨论研究和计算分析,最后拟采用地面拼装,整体提升的施工方法。

酒店高层部位整体提升,除在地面拼装保证精度外,因提升部位及吨位分布复杂且工法本

身要求严格,必须对整体提升的工况进行验算,保证各部位能够达到设计要求。具体施工方案详见: 第二篇 第七章 第五节 5.1 酒店高层钢结构安装方案

1.2 酒店外包网架施工

结构外围包裹一单层螺栓球钢网架,作为建筑的外衣。酒店结构外包钢网架展开面积约为21180m2,为螺栓球节点四角锥网架。标准网格尺寸为5m×5m,网架矢高2.2m。酒店高层西侧U 型开口处,网架分为直立部分和倾斜部分。直立部分Z05 网架由标高北侧74.00m(南侧85.20m)至标高138.00m,共计2420m2,中间区域无结构,网架靠上部及两侧支点受力;倾斜部分Z04 网架由标高北侧18.50m(南侧33.86m)至标高北侧74.00m(85.20m),共计3870m2,网架由上至下向外倾斜,倾斜角度在15º ~16º 之间。

国内大型网架的安装已有很成熟的经验,但本工程网架型式比较特殊,安装方案根据不同部位采用不同方案,特别是Z04、Z05 区域为竖向网架。根据本工程的特点,在Z01~Z03、Z06~Z08 区采用搭设脚手架高空散装的方法;西侧倾斜部分Z04 区采用分段滑移拼装的方法;西侧直立部分Z05 区采用整体提升的施工方法。下弦球位置是决定整片网架尺寸是否正确的基准,所以要严格控制。具体施工方案详见:第二篇 第七章 第五节 5.2 结构外包网架结构安装方案

1.3 酒店部分机电安装施工要点

1.3.1 施工前的筹划

酒店部分的机电安装主要是应该综合考虑精装修设计要求、酒店使用要求、厨房和洗衣房设备的设计要求等。因此上述三个设计单位应尽早决定并及时进行沟通协调,才能保证机电设计及管线安装的顺利进行,否则将会导致后期出现大量设计变更及返工问题。

因为酒店的每个房间均设有独立的空调采暖、供电、照明、消防、弱电(包括通讯、智能化综合布线、音响、电视等)、卫生间等,所以酒店的机电系统不但特别复杂,而且管线非常多,安装空间非常紧张,施工前一定要做好统一筹划以减少安装工作的冲突。

1.3.2 编制综合机电协调施工图及综合机电土建配合图

编制综合机电协调施工图及综合机电土建配合图,主要是统筹安排好与精装修设计的配合,确定所有机电设备的位置,例如送回风口、消防喷淋头、烟感头、弱电点、开关插座照明、卫生洁具等,以编制综合管线图及预埋管线图等。所以,酒店精装修设计单位及酒店管理单位应尽早落实。

1.3.3 管道安装

本项目酒店各楼层的空调管道设计安装均在走道吊顶内;另外给排水管道在第5 层、14层及15 层转接,管道布置非常重要,须考虑预留将来的维修空间和吊顶的检修口,并有足够的安装空间,以及制定避免噪音影响客房的措施等。

本项目酒店客房的给排水管道井空间十分紧张,需在编制综合图纸时,特别考虑管井内布置足够的安装及维护空间。

1.3.4 样板房间的安装

经设计单位及酒店管理单位审批确定所有设备位置后,土建施工才能配合管线预埋工程做好工作,所以应尽早针对每一个类型的酒店房间做样板安装。

 

2剧场的舞台、机械设备的安装

2.1 剧场舞台的机电安装

本项目的舞台为活动升降式,整个舞台从地下二层至五层,净空极高,舞台顶部为钢结构,布置有消防管及风管等机电设备,机电安装极为复杂。为了创造机电安装的条件,机电安装将在钢结构吊装完成后屋面板安装时进行施工,拟在在2006 年03 月开始进行,以便利用安装屋面的脚手架作为工作平台,并且在钢结构防火涂料施工前焊接过渡板,以作为机电管道吊架的安装。

机电安装中的空调安装尤为重要,出风布置需谨慎考虑,既要合乎设计要求的温度,也要不影响舞台布景及避免产生噪音等。

2.2 舞台机械设备安装

2.2.1 工程概况

1. 本项目剧场的舞台从地下二层伸展至五层、形成一个大空间,有舞台升降机、乐池升降机,舞台顶部有天桥,机械设备非常特殊,须协调音响、灯光、投射布景的设计。施工前应与舞台设计单位协调,制定设备的运输及安装方案,以便土建及机电安装与其配合,舞台机械设备安装在2006 年底开始。

2. 舞台机械设备的安装与一般的机械设备安装相比,有以下一些特点:

1) 设备尺寸较大,无法在工厂装配后整体运到现场进行安装;

2) 绝大部分设备属于非标准设备;

3) 工地现场的安装条件一般较差,但本工程对设备使用的精度要求很高。现场安装能否回复工厂组装调试的状态,达到较高的精度要求,将直接影响到设备整体质量和运行寿命。

因此,安装配合作为整个总承包系统工程中的关键一环,其质量将直接影响整个工程的质量,显得非常重要,必将是项目的重点。

3. TVCC 电视文化中心剧场是采用动态化的设计手法,将两种不同类型的剧场模式组合而成。一种模式是传统的剧场,另一种是现代的电视演播剧场。

1) 剧场的平面设计及舞台尺寸,首先可满足古典剧场的演出要求,其中包括了侧台、后舞台、台塔等设施。由于两个可移动控制塔和活动隔断,限定了池座及台口,设计者通过尽量减少舞台上的固定设施和灵活多变的观众座席系统,为观众和演员之间的互动交流提供了最大的可能性。

2) 主舞台上设置了相当先进的舞台机械设施,包括旋转舞台所组成的活动车台,可移动升降平台,高度机械化的台塔,剧场的开敞性也有助于灵活布置各类移动或固定的电视摄像机位。在楼座的两侧提供了专用的电视摄像平台,宽敞的横向走道也可以用于摄像机位。固定的可遥控摄像机可安置在楼座的前端或可移动吊杆上,观众席后部的播出及信号传送间也为电视转播提供了完善的设施。

2.2.2 主要施工方案

1. 测量、放线

利用永久控制点将剧院的中心线放设在混凝土基础或预埋件上;用墨线在混凝土基础或预埋件上弹出各中心线;并将标高线测设到混凝土柱上,作明显标记;检查各预埋件或预埋螺栓的偏差、垂直度和标高情况,并作记录。

2. 搭设构件拼装平台

按设备要求搭设构件拼装平台。

3. 卷扬机位置布置

钢结构需按设备要求考虑卷扬机固定位置。

4. 道路运输

按设备要求预留大型设备的运输通道及孔洞,利用临时桅杆将设备吊运到剧场内的构件拼装平台。

5. 舞台升降台安装

1) 安装舞台两旁的升降机轨道及设备。

2) 升降台分段吊装

3) 吊点位置

吊点可设在钢结构梁上,采用卷扬机同时起吊。

4) 降块驱动的安装

5) 安装驱动下面的支撑平台

6) 安装升降块驱动

7) 降块拼装临时支撑

8) 由于升降台重量大、长度长,所以用分段吊装。在升降设备机坑搭建临时支撑进行拼装。

9) 临时支撑的拆除

在升降台设备和轨道安装后,接通临时电源把升降台升起,再把临时支撑拆除。

6. 演奏升降台的安装

1) 升降台分段吊装

2) 吊点位置

吊点可设在钢结构梁上,采用卷扬机同时起吊。

3) 升降块驱动的安装

4) 安装驱动下面的支撑平台

5) 安装升降块驱动

6) 升降块拼装临时支撑

7) 由于升降台重量大、长度长,所以用分段吊装。在升降设备机坑搭建临时支撑进行拼装。

8) 临时支撑的拆除

在升降台设备和轨道安装后,接通临时电源先将升降台升起,再将临时支撑拆除。

7. 反声板吊挂装置的安装

1) 设备就位前,按施工图纸放出反声板吊挂装置安装基准线。

2) 反声板吊挂装置的拼装

(1) 地面上放出欲拼装的测量支点标高;

(2) 拼装构件按次序逐一组装。

(3) 调整中心线、标高、垂直度,合格后连接紧固。

3) 吊装

(1) 吊点位置

反声板吊挂装置结构重量大,采用四台卷扬机同时吊起。

吊点设在安装反声板吊挂滑轮的两根大钢梁上。

(2) 反声板吊挂装置的固定

反声板吊挂装置在拼装完毕并吊装后,用临时钢丝暂时固定。待平衡配重安装完毕后,测量反声板吊挂装置和平衡配生的相对和绝对标高,调节好后连接反声板吊挂装置和平衡配生的钢丝绳。

8. 安全措施

1) 升降装置周围搭设安全护栏,铺设安全网。

2) 手架跳板周围铺设安全网。

3) 作业严格佩戴安全带。

2.2.3 剧场空调特殊安装

1. 本工程剧场内的送风口,设置在观众座位下,使观众坐在座位上观看演出时,即感到空气清新,温度适宜,舒适,又无吹风感,特殊送风口的性能将是关键。另外剧场的看台板为预制板结构,空调通风设计在座椅下面,因此需在预制板生产前确定风口安装节点,编制综合留孔洞方案,给厂家进行预留,而座椅底下的风管及机电管道支架安装,将利用横担装在钢梁之间。

整个剧场的气流组织,及压力平衡,关系到池座与楼座的温差问题,更关系到舞台幕布的飘动问题。而压力首先依赖于风量平衡,设计风口的布置与系统运动中送、回风量的平衡与自动调整,对舞台布景效果起到重要保证作用。

2. 考虑TVCC 剧院的特殊消声要求,拟采取如下措施:

1) 在系统中风管的弯头、三通处理不当会产生噪声与阻力,在这些部位可采用定型生产的导流片,可降低系统气流噪声及局部阻力,必要时可制成消声型弯管导流片,增加消声效果。

2) 在系统中风管采用消声器,对减小系统中产生的中高频噪声是非常有效,镀锌钢板代替木材的阻抗复合消声器已应用多年,也可在系统中应用。

3) 在剧场内有很多贵宾席包厢,这些地方对隔声要求很高,因此本投标人建议支风管采用离心玻璃纤维与铝箔组合的轻型材料风管,或称超级风管。其优点是消声效果好、结构轻、施工方便,可有效解决房间之间串音与降低噪音。

4) 剧场大厅空间很大也很高,为了满足观众的温度与舒适要求,可采用对气流分布较好消声式座位风口。

5) 为了保证空调、通风系统施工质量、杜绝由于风管漏风而造成的噪声影响,便于一次调试成功,本投标人对风管系统严密性检验,采用加测漏风量检测的方法,以保证系统质量。

6) 为保证整个工程系统调试质量,首先从人员与仪器上加以保证。系统风口风量平衡控制在10%以内,部分系统控制在5%,以保证剧场的气流组织完美,不造成幕布的飘动。

7) 根据不同设备,采用相应的减振措施,并严格减振器的安装与验收,使其处于最佳状况。

2.2.4 防火幕的安装

剧场的舞台顶部设置防火幕, 防火幕的安装需与屋面安装时间同时进行,到时可利用安装屋面脚手架为工作平台,进行安装。

 

3屋面及幕墙安装

3.1 屋面幕墙工程特点

3.1.1 电视文化中心(TVCC)的幕墙系统主要由下列各部分组成:

预制波纹型金属屋面幕墙:文化中心顶层及酒店两侧倾斜外墙连顶层屋顶。

预制外墙单元式阳极氧化铝窗框、连玻璃幕墙:酒店房间正面窗框安装。

预制混凝土幕墙系统挂件:剧院和录音棚外墙。

落地全钢框隔音幕墙系统:剧场楼座。

3.1.2 电视文化中心幕墙系统的特点是分布面广,各部分面积、形式、幕墙主要特点、幕墙系统分布特征及所依附的主体结构均不一样,既有混凝土面,亦有桁架支撑系统,连接关系多变,搭接要求各有不同。安装流程,穿插交替,总承包必须统一配合预留吊装运送路线、预埋件安装顺序,协调各不同专业交叉施工,界定交接施工面,才可保证工期、质量。

3.2 屋面及幕墙工程主要施工难点

3.2.1 幕墙种类多变

幕墙面积大,安装系统不一,外形多变,需要组织多家专业公司,按不同位置特点,配合会战,才能在规定工期内完成任务。

3.2.2 防水密封要求特殊

墙面、屋面的所有板块的接缝密封性能,除设计构造因素外,现场接缝密封量大、面积广,对施工人员操作质量要求很高,必须保证接缝密封一次到位。

3.2.3 跨越不同季节

北京冬、夏两季不同天气影响,将会对施工进度及质量控制产生影响。

3.2.4 施工吊装种类多

受施工场地及建筑物位置、外形的限制,运送、吊装预制幕墙构件均需总承包协调安排,应该按地理环境不同,分别采取悬空吊装、滑移或脚手架支撑等不同方案,对管理搭接安排要求极高。

3.2.5 节点特殊

酒店房间单元式铝框连幕墙玻璃90 度转角点及连接波纹型锌质幕墙均需特别预先测量安装,以保证质量、防止漏水。

3.2.6 构件尺寸大

酒店房间单元式铝框玻璃幕墙中最大的单元玻璃窗4.3m×5m,运送及吊装难度大,而且容易损坏,必须有特别的处理措施。

3.2.7 支撑架系统不同

幕墙支撑分别连接在混凝土及钢桁架这两种不同变形性能的支撑架上,很容易受支撑架移动而影响质量及防水性能。

3.2.8 混凝土幕墙挂件预制

剧院和录音棚外挂预制混凝土幕墙,包括防声、防热夹层,对预埋件的安装、测量放线、构件制造及成品保护等要求很高。

3.2.9 不同幕墙系统的搭接

本工程幕墙形式较多,组织好各个类型幕墙的施工搭接至关重要。

3.3 措施

屋面、幕墙系统工程主要分为深化设计、选材加工及现场安装三个阶段

3.3.1 深化设计组织是屋面及幕墙工程的第一阶段,此阶段的组织工作是否有序、有效、迅速,将决定幕墙工程能否顺利展开、业主是否能拿到性能价格比最好的产品。

3.3.2 由于屋面及幕墙均是本建筑的外围护结构,使用材料的优劣甚至表面色差将直接影响到建筑物的使用寿命及感观效果。为此,同一种幕墙材料应该选择同一家有相应生产能力、产品质量保证稳定的材料供应商作为所有加工的材料来源。

3.3.3 屋面及幕墙系统的施工质量将直接影响到文化中心建筑的整体外观效果及使用功能,总承包将对分包商进行全面的工序管理,以确保控制无盲点、操作无漏洞,达到完美的施工效果。

本投标人将对分包商以作业指导书方式进行施工管理与控制。

 

4其他特殊部位施工

4.1 钻孔灌注桩施工方案

本工程基础桩均为钻孔灌注桩,既有抗压桩,又有抗拔桩,桩长、桩径、桩顶标高复杂,桩端持力层位置及所处土层也不尽一致;抗拔桩桩径为600mm,桩长分别为14.7m、15m 两种;抗压桩桩径有800mm、1200mm 两种,桩长分别为30m、62.5m 两种;依据地质勘察报告中描述,基础桩桩身范围内所涉及的土层较为复杂,其中抗压桩桩端持力层为卵石、圆砾层和细砂1层;抗拔桩桩端持力层为卵石、圆砾层和细砂、中砂1 层;各个土层的性能参数相差较多,这样对基础桩机械钻进及成孔质量将会产生很大的影响,也增加了工艺选择上的难度。具体施工方案详见:第二篇 第二章 第三节 桩基施工方案

4.2 清水混凝土施工彩色混凝土

清水混凝土工程主要包括非结构混凝土饰面、彩色混凝土等高品质混凝土。混凝土表面应平整,无明显变色或玷污,表面未经允许不得处理,模板内拉筋和维持混凝土保护层分隔件处于正常状态。

清水混凝土极具装饰效果,所以又称装饰混凝土。它浇筑的是高质量的混凝土,而且在拆除浇筑模板后,不再作任何外部抹灰等工程。它不同于普通混凝土,表面非常光滑,棱角分明,无任何外墙装饰,只是在表面涂一层或两层透明的保护剂,显得十分天然、庄重。近几年来随着施工水平的提高,施工质量标准也不断提高,清水混凝土也在公共建筑、工业与民用建筑中异军突起,成为钢筋混凝土工程中衡量混凝土质量的标准之一。

由于清水混凝土一次浇注完成,不可更改的特性,与墙体相连的门窗洞口和各种构件,埋件须提前准确设计与定位,与土建施工同时预埋铺设,由于没有抹灰层,施工人员必须为门窗等构件的安装预留槽口,并且清水墙体上若安装雨水管,通风口等外露节点也须设计好与明缝等的交接,只有将种种问题发现与解决好,才能保障清水混凝土墙体呈现出它本应反映的纹理与质感,清水混凝土的浇筑是各部门协调合作,通过大量现场制作样板,科学系统地完成各步操作而得以实现的。

具体施工方案详见:第二篇 第五章 第六节 清水混凝土饰面

本工程墙体很多部位采用了彩色混凝土,彩色混凝土是一种新型的混凝土,本投标人具有此类彩色混凝土施工经验,并总结出了相应的施工方法。

4.2.1 严格按照以下设计要求做好彩色混凝土施工。

1. 彩色混凝土颜色

1) 水泥:选用白色水泥

2) 砂:选用天然砂

3) 骨料:混凝土生产商的标准骨料

4) 彩色添加剂:与建筑师提供的颜色样板色匹配

2. 彩色混凝土混合料设计

1) 彩色添加剂的剂量不应超过混合料中水泥质材料的10%。

2) 不得在混合料中加入calcilm 氯化物。

3) 非经制造商同意,不得再补充添加剂。

4) 不得在工地现场往拌合料中加水。

5) 根据制造商的书面指南,向混凝土拌合料中加添加剂。

6) 混凝土的坍落度宜小于等于100mm,并在整个项目中使用的混凝土坍落度一致。任何时候,坍落度最大不应超过125mm。

7) 应采用选用的材料、模板、隔板、插入物、螺栓、脱模剂和表面处理做成彩色混凝土的垂直样板,并将待修补区域包括进去以便设计修补方法。

水平样品应采用合适的和颜色匹配的养护和饰面材料和封闭剂。应保留部分实际用于制作样品的水泥和骨料。在整个项目中应采用同一来源的水泥和骨料,并应定期制作样品以便于经批准的样品中的材料的颜色以及颜色的层次比较。

3. 彩色混凝土养护

1) 整体彩色混凝土:根据制造商的指南,并采用制造商推荐的应用方法对整体彩色混凝土进行养护和封闭,为保持颜色的一致,应在每次浇筑时与一致的时间使用养护剂和封闭混合物。

2) 养护剂的颜色应与彩色混凝土一样,并由颜色添加剂的同一生产商提供。

3) 在天气较热时,应防止由于表面过多的快速熟化而造成的塑性开裂。

4) 不用塑料薄膜覆盖混凝土

4. 彩色混凝土清洁

1) 尽量采用侵蚀性小的清洁方法。

2) 如果采用专利清洁剂,应先将墙壁弄湿,然后再以小块不显眼的区域使用该清洁剂。自上而下清洁。在用清水彻底清洗墙壁,应遵循清洁剂使用说明。

3) 不得再彩色混凝土上使用氢氯酸。

4.2.2 施工控制措施

1. 模板选用

1) 选择背景

本投标人在施工过程中,将在确保工程质量的基础上,充分运用先进的施工材料及工艺,达到高质量、高科技、高环保功能的目的。结合本工程建筑方案特点和使用要求,本投标人在施工中将确保所有彩色混凝土严格按照清水混凝土施工方法进行施工控制。现浇混凝土工程的质量,工期和劳动效率等,在很大成度上取决于模板体系的选择和工程施工的质量。因此,模板体系的选择是实现设计意图和要求所需考虑的重要问题之一。

鉴于以往工程实践,在彩色混凝土施工时,为保证混凝土的外观质量和浇注密实性,避免模板脱模施工易造成混凝土表面缺陷,将不再使用常规模板材料。综上所述,在本工程施工中本投标人决定:采用名牌酚醛树脂双面覆膜多层板模板;此种模板有效避免了以上各种模板的缺陷,其强度高、重量轻、使用方便安全、耐磨、周转次数多的优点,既能保证工程质量,又可加快施工进度,提高混凝土密实度,增强耐久性。

2) 产品特性

 

项目

单位

胶合强度

N/mm2

>1

含水率

%

14

静曲强度

N/mm2

>26

弹性模量

N/mm2

5.5×103

表面耐磨

g/100r

0.08

质量

kg/

22

2. 模板施工管理

1) 模板工程管理流程图

 

 

 

 

 

 

 

板管理流程图

彩色清水混凝土模板质量,除要严格执行国家规范和标准外,还要求观感美观,细部处理好,所以必须在技术上,思想上高标准严要求,精心制作,精心施工。

2) 实现模板工程的定型化、工具化、整体化及可变化,提高柱、墙面、顶板的平整度,重点控制阴阳角、断面尺寸,消除模板接缝不严导致混凝土漏浆的通病。

3) 施工过程中强化模板设计和交底

(1) 模板设计要有稳定性和牢固性的计算,绘制配置图和拼装图,施工前编制详细的《模板设计及施工方案》。在模板工程设计过程中,设计人员与其它分项工程的管理人员要进行技术交流;施工前,要进行技术交底,从而确保模板施工与其它各项施工紧密结合,使模板施工有序地进行。

(2) 根据工程总进度要求,工程施工前期,根据工程情况精心设计模板,认真加工,对每个单项模板工程,严格按照本工程的要求和特殊性设计、制作和质量监控,全面保证工程质量。对特殊部位,如楼梯、核心筒、梁柱节点、曲线形梁、墙等,更要做好设计,制成定型模板,对号入座。

(3) 现场施工时,由模板设计人员现场进行模板管理及施工指导,模板设计人员与现场工程人员紧密配合,严格执行各项检查制度,及时发现和纠正问题,确保工程顺利进行。

(4) 实现清水混凝土效果,要求在施工过程中加强协调、检查、监督机制。钢筋工、混凝土工、水电工等其他工种均要互相配合,共同保护模板。

(5) 模板所有零配件均由专人负责保管,并定期检查模板及配件质量,保证所有现场材料均在合格使用状态,能充分满足工程需要及安装牢固可靠。

3. 彩色混凝土其他控制措施

所有彩色混凝土均完全达到清水混凝土要求,是本投标人在本工程施工中的一项重要质量目标。即混凝土一次成型,包括:轴线通直、尺寸准确;棱角方正、线条顺直;表面平整、清洁、色泽一致;表面无明显气泡及黑斑;表面无蜂窝、麻面及露筋现象;模板接缝、对拉螺栓和施工缝留设有规律性;模板接缝与施工缝处无漏浆现象。必须从模板体系的设计、制作与安装,钢筋绑扎,混凝土原材料及配合比,混凝土浇注,养护和修补等全过程采取有效措施加以控制,以保证清水混凝土的装饰效果。

钢筋:入模的钢筋要保持清洁,无明显水锈、油污及其它污染;钢筋翻样制作准确,保护层宜按正误差控制,绑扎时需将绑扎点的扎丝扣和尾按倒,以免翘起在混凝土面出现锈斑

4.2.3 根据本工程特点及设计要求,彩色混凝土施工主要应注意以下问题:

1. 整个工程使用的水泥应为统一厂家品牌和类型,粗细骨料来自统一供货源,混合料的设计将应用于所有彩色混凝土。

2. 在工程施工前,应与设计充分配合,参照设计单位提供的色板进行材料选择及采购,以满足设计要求。

3. 对于有造型要求的部位,其模板可采用多层板内衬造型橡胶板的方法实现,并应注意处理好模板的接缝,保证接缝高低差控制在2 ㎜以内。

4. 彩色混凝土饰面需与设计进一步沟通确定后,选择详细的施工方案。所有清水混凝土饰面施工前,在现场制作样板工程,待设计及业主审批后进行正式工程的施工。

4.3 大体积混凝土施工方案

大体积混凝土施工是本工程结构施工的关键工序。本工程基础底板、地下室外墙、结构混凝土柱等很多部位都属于大体积混凝土的范畴,其中底板大体积混凝土厚度1500~2500mm,一次最大浇筑量约8500m3,且将在夏季进行浇筑,采取有效的综合施工措施是本工程大体积混凝土施工要进行的重要工作。

具体施工方案详见:第二篇 第三章 大体积混凝土施工方案

4.4 劲性混凝土施工

劲性钢混凝土梁柱是在钢筋混凝土框架内配置型钢构成的组合结构。它具有钢结构和混凝土结构的双重优点,与钢结构相比,它节省钢材,增加构件及建筑物的刚度,与混凝土结构相比,它减小截面,减轻重量,增大构件的延性,并具有更高的强度,充分发挥了钢(受拉)和混凝土(受压)两种不同材料的特点。劲性钢混凝土的钢筋及混凝土的施工因其内有钢骨,外又有梁、柱、墙钢筋与其相交,因此与普通结构的钢筋、混凝土施工有所不同。

本工程地下二层到地上五层柱Z34,地下二层到地上二层柱Z34a,地下二层到地上六层柱Z30、Z31、Z32 均采用钢骨混凝土柱。

具体施工方案详见:第一篇 第三章 第五节 5.1 劲性混凝土施工

4.5 混凝土覆面金属板楼板施工

本工程2、3、4、4A 层视像室楼板,4、5 层数码影院楼板,5 层餐厅楼板,地下一夹层厨房楼板,一层存衣处楼板,东侧展览大厅2-5 层,屋顶餐厅,27-31 层楼板,均采用压型钢板组合楼板。

压型钢板组合楼板主要施工程序为在钢梁上铺设压型钢板,绑扎钢筋,再浇注钢筋混凝土板,压型钢板与钢梁之间用栓钉连接。

具体施工方案详见:第一篇 第三章 第五节 混凝土覆面金属板楼板施工

4.6 大型桁架安装方案

4.6.1 概况

本工程大型桁架主要由展览大厅、视像室、舞台塔、数码影院四个独立体系组成。展览大厅八榀桁架由14 根钢柱支撑,其中最大一榀桁架EHT5 长48.6 米,高4.7 米,重97.9 吨;视像室10 榀桁架由7 根钢柱支撑,其中最重一榀桁架重139.9 吨,长44.5 米,高7.3 米;舞台塔的10 榀桁架由4 根混凝土柱和一根钢柱支撑,最长桁架长56.8 米,高11.85 米,重87.1吨。数码影院11 榀桁架组成。桁架弦杆采用H 型截面,桁架之间设置水平支撑体系及垂直支撑体系,以加强整体屋盖的刚度。

视像室、舞台塔、数码影院桁架体系均需要和混凝土结构发生关系,因此,混凝土结构施工时,应提前做好预埋工作。

4.6.2 安装方案

本项工程各独立屋盖钢结构桁架体系体积巨大,结构尺寸长,桁架矢高4.7~11.85m,屋盖采用交叉桁架结构体系,横向桁架为主受力桁架,纵向桁架由横向桁架之间的支撑系统构成。桁架杆件截面主要是焊接H 型钢,最大截面尺寸为750×500×60×60mm,桁架腹杆亦为H 型钢。

1. 展览大厅主桁架南北方向布置,桁架下弦标高为6.7m,上弦标高17.7m,柱间最大跨

度25.8m。此部位为一独立的钢结构框架结构,与其他混凝土结构不发生任何关系,利用布置在其内部的塔吊进行常规梁柱安装。地上第一节钢柱安装完成后,搭设安装脚手架,根据塔吊起重能力,进行二层梁安装,二层主梁根据重量可以进行整体吊装;二层主次梁安装完成后,进行地上二节柱安装,脚手架搭设至桁架下弦,并做拼装平台,将桁架拼装成型。钢结构桁架全部拼装完成后,才能进行土建项目施工。

2. 视像室主桁架东西向布置,桁架下弦标高为9.6m,上弦标高16.9m,柱间最大跨度24.56m。根据塔吊起重能力,且桁架本身重量比较大,无法在现场地面拼装成整体或一个框架体系,只能采取高空散拼法施工。在桁架下部搭设承重支撑脚手架,在地下室相应部位做支顶,在承重支撑脚手架上部做拼装平台,直接将桁架在设计标高位置进行拼装。

3. 舞台塔由10 榀桁架构成,组拼成正方形体系,桁架下弦标高为10.75m,上弦标高22.6m,柱间最大跨度34.432m。其下部为结构最深部位——台仓,深度达到了-17.95m。东西两侧桁架FT1、FT2、FT8 利用一层混凝土楼板,搭设承重支撑脚手架,同视像室拼装方法。中间五榀桁架FT3~FT7,由于下部直至地下二层底板无混凝土楼板,由桁架底到混凝土底板高度达到了28.7m,洞口宽18.0m,长度50m,因此无法搭设脚手架施工。此五榀桁架,采用在南北两侧搭设拼装平台,桁架平拼,在东西两侧铺设滑移轨道,在两侧利用8t 卷扬机提供拉力,使桁架水平滑移至安装部位,利用两侧已经安装完成的桁架或混凝土结构做支点,用卷扬机及倒链,将水平桁架立直,然后与相连部位连接。由于洞口宽度达到了18m,为避免桁架水平滑移时出现平面外变形(下垂变形),滑移前用沙槁进行加固。滑移轨道采用钢轨(50kg/m),与滑移平台固定。

4. 数码影院部分桁架重量轻,且距塔吊位置较近,根据塔吊吊重,采用整榀地面拼装或高空散拼方法进行施工。

具体施工方案详见:第二篇 第七章 第四节 大型桁架安装技术

4.7 剧院预制混凝土座位梁

根据招标图纸中相关要求,剧院看台部位座位梁150mm 厚,采用预制施工。

预制混凝土座位梁(剧院)

4.7.1 预制构件做法

结构中所有预制混凝土构件选择距离本工程较近的构件厂生产,其所用混凝土采用与现场同等配合比、同粒径砂石料、同品牌水泥和掺和料搅拌的混凝土。预制看台板截面为L 型,厚度150mm,宽度为900(950)mm,长度依据梁跨确定。施工见下图所示:

预制看台板施工示意图

后浇板缝1 做法示意图

后浇板缝2 做法示意图

4.7.2 预制构件支撑

预制构件采用碗扣式脚手架配合定型钢支撑进行顶撑,首先根据准确轴线尺寸,搭设碗扣脚手架,然后将预制构件吊装就位,铺设预制混凝土板,进而进行楼板端部的钢筋绑扎及混凝土浇筑。

4.8 钢结构厚板焊接施工

4.8.1 工程特点

钢板厚度大。本工程中钢板采用了大量的大厚度板,以60mm、80mm、为主,其中板厚最大达100mm,焊接熔敷金属量很大。

4.8.2 钢材

1. 强度等级:Q235、Q345、Q390

大部分钢材要具有-20的冲击性能,即达到D 级;并且由于工程采用大量的大厚度钢板,为提高抗层状撕裂性能,Z 向指标要达到Z25 级别。

2. 焊接方法:

根据现场焊接特点,并结合工程实际,拟采用保护焊和焊条手工电弧焊相结合的焊接方法。为提高焊接工效,大厚度板结构基本以自保护焊为主。

4.8.3 焊接材料

本工程所用钢材板厚厚,因此焊接材料采用氢含量较低或超低氢的焊材。药芯焊丝保护气体为CO2,纯度99.99%。自保护焊丝选用优质焊丝。焊接材料的最终选择根据焊接工艺评定试验而定。

焊接材料的选用原则与母材强度等强,但考虑到厚板、大拘束度接头,根部容易开裂,打底焊可采取低匹配。

4.8.4 焊材管理

1. 焊材须有质保书,应该按类别、牌号、规格、批号等分类堆放,并有明确标志。堆放场地应保持通风、干燥。

2. 焊条按使用说明书进行烘焙、保温,并做好烘焙记录。焊工领用焊条时,须存放在保温筒内,且每次焊条不得超过4 小时的使用量。超过4 小时,应重新烘焙。

3. 药芯焊丝启封后,应尽快用完,不得超过两天时间。当天多余焊丝应用薄膜封包,存放在室内。

4.8.5 焊接设备

所有焊接设备(包括加热、测量、控制装置)应处于正常状态,仪表均应经过鉴定,并在有效期内。

4.8.6 焊工资质及培训

1. 焊工应具有相应的合格证书,包括ZC、AWS 所颁发的资格证书。严禁无证上岗,或者低级别焊高级别。

2. 针对本工程焊接的特点,需对进入现场的焊工进行专门培训,以达到工程所需的焊接技能水平。

4.8.7 焊接工艺评定

在工程正式施焊前,根据不同的焊接方法、焊接材料、焊接位置、预热要求以及坡口类型,按照JGJ81-2002 进行工艺评定试验,确定合适的焊接参数,作为焊接工艺规程的依据。

4.8.8 现场焊接施工流程

4.8.9 焊前准备

1. 焊接区操作脚手平台应搭设良好,平台高度及宽度应有利于焊工操作舒适、方便,并应有防风措施。

2. 焊工应配置一些必要的工具,比如:凿子、刷子以及砂轮机等。焊把线应绝缘良好,如有破损处要用绝缘布包裹好,以免拖拉焊把线时与母材打火。

3. 焊接设备应接线正确、调试好,正式焊接前宜先进行试焊,将电压、电流调至合适的范围。

4. 检查坡口装配质量。

应去除坡口区域的氧化皮、水份、油污等影响焊缝质量的杂质。如坡口用氧-乙炔切割过,还应用砂轮机进行打磨至露出金属光泽。

4.8.10 焊接预热

1. 预热是防止低合金高强钢焊接氢致裂纹的有效措施,可以控制焊接冷却速度,减少或避免热影响区(HAZ)中淬硬马氏体的产生,降低HAZ 硬度,同时还可以降低焊接应力,并有助于氢的逸出。

2. 预热温度的确定与钢材材质、板厚、接头形式、环境温度、焊接材料的含氢量以及拘束度都有关系。由于本工程涉及到大量的厚板焊接,预热温度的控制必须严格重视。在美国AWS D1.1 中根据母材的碳当量、焊接材料的氢含量、接头的拘束度作出了确定预热温度的一些方法,这些方法通过实际应该说是比较可行的。

3. 预热方法主要采用远红外电加热器,预热范围为坡口及坡口两侧不小于板厚的1.5

倍宽度,且不小于100mm。测温点应在加热侧的背面,距焊接点各方向上不小于焊件的最大厚度值,但不得小于75mm 处。

4.8.11 焊接坡口

本工程的构件以箱型为主,根据焊接的可操作性,基本以单面开坡口型式为主。考虑到尽可能减少熔敷金属量,又要保证焊透,以及坡口的可加工,拟采用单面单边V 型,根部间隙6~8mm,坡口角度35°。在正式选用前,本投标人将进行工艺试验以检验坡口型式是否可行。

4.8.12 焊接工艺参数

焊接参数的确定,主要是控制焊接线能量,而线能量则由钢种的t8/5 确定。特别是对于细晶粒正火钢,t8/5 控制较严,即冷却速度有一个控制范围,不能过快也不能过慢。

本工程中板材较厚,可作为三维热传导形式,则根据SEW088:

其中:Q=K·E

T0:预热温度

Q:热输入

E:线能量

K:热效率系数,与焊接方法有关

F3:热传导系数,与坡口型式有关

根据上述公式,不同的钢种,在不同的预热温度下可计算出焊接线能量范围,从而制定出具体的焊接工艺参数。

对含V、Nb、Ti 微合金化元素的钢种,为降低HAZ 粗晶区的脆化,确保焊接HAZ 具有优良的低温韧性,焊接热输入不宜大。

4.8.13 焊接工艺措施

1. 采用多层多道焊,并控制层间温度不低于预热温度,但不宜超过200

2. 打底焊要有一定厚度,以防根部开裂。

3. 焊缝构成由坡口面到中间。

4. 盖面层焊道顺序:

5. 对于大厚度的板材,焊后应进行消氢处理。

6. 对于封闭焊缝,应适当提高预热温度20~30,并一次焊完,采取后热缓冷措施。

7. 由于本工程浩大,整个安装期限将跨年度,不可避免进入冬季施工,而温度对焊接的影响是很大的。所以本投标人将采取措施保证焊接区的温度不低于0,否则就不予施焊。

4.8.14 焊接顺序

1. 焊接顺序对结构的变形,焊接残余应力的控制至关重要。

2. 焊接施工原则是尽量保证在较小的拘束度下焊接,使接头具有较小的焊接应力,并尽量采取对称施焊,减小焊接变形。对称施焊,不仅针对某一接头,对于同一层,焊接点不能集中于一处,要平均分布。

3. 总体焊接顺序

本工程作业面大,施工钢柱多,接柱焊接顺序将直接影响工程平面形位偏差。宜由内而外,从中心向四周扩散的焊接顺序。

4. 安装单元的焊接顺序

根据起重量,两层或三层可能作为一个安装单元。对于每个单元,安装测量校正完后,从上至下焊接主梁,然后钢柱对接焊接,最后焊接斜撑。

5. 同一构件两端不宜同时焊接。

4.8.15 焊接应力控制

对于钢结构现场安装,焊接应力的控制相对变形的控制应该更加重要。由于结构刚性大,

板厚,焊接量大,事必会产生很大的焊接残余应力。而焊接残余应力(尤其是拉应力)对结构的承载、脆断、疲劳强度等多有影响,也可能直接导致焊缝开裂。

焊接应力的控制要从接头的设计、焊接工艺的选择、焊后处理等几方面考虑。接头的设计要能尽量减少焊缝熔敷量,并且有利于两面对称焊接。在满足设计强度要求下,选用局部熔透焊缝。在焊接工艺上,采取合适的焊接顺序,预热、后热措施来减小焊接应力。

在厚板接头中,除纵向和横向残余应力外,还存在较大的厚度方向残余应力。它的分布与焊接工艺方法密切相关。焊接时根部约束固定,横向残余应力σy 可表现为压应力,其余以拉应力为主。

4.8.16 焊接质量检查

焊接质量检查包括外观和无损检测,外观检查按照JGJ81-2002 规范执行。无损检测按照GB11345 执行,一级焊缝100%检验,二级焊缝抽检20%,并且在焊后24 小时检测。

4.8.17 焊接缺陷返修

1. 焊缝表面的气孔、夹渣用碳刨清除后重焊。

2. 母材上若产生弧斑,则要用砂轮机打磨后,必要时进行磁粉检查。

3. 焊缝内部的缺陷,根据UT 对缺陷的定位,用碳刨清除。对裂纹,碳刨区域两端要向外延伸至各50mm 的焊缝金属。

4. 返修焊接时,对于厚板,必须按原有工艺进行预热、后热处理。预热温度应在前面基础上提高20

5. 焊缝同一部位的返修不宜超过两次。如若超过两次,则要制定专门的返修工艺并报请监理工程师批准。

4.8.18 焊接操作注意事项

1. 焊接作业区风速:手工电弧焊时不得超过8m/s,CO2 气体保护焊不得超过2m/s,否则应采取防风措施。

2. 焊接作业区的相对湿度不得大于90%。

3. 遇到雨雪天气,除非采取隔离措施,否则不得施焊,并且要有加热去湿措施。

4. 严禁在焊缝以外的母材上引弧。

5. 定位焊必须由持焊工合格证的工人施焊,且应与正式焊缝一样要求。

6. 如装有引弧和收弧板,则应在引弧板和引出板上进行引弧和收弧。焊接完成后,应用气割切除引弧板和引出板,留有2mm 宽,用砂轮机修磨平整,严禁用锤击落。

4.9 地下结构防水施工

本工程地下室防水等级为一级,地下室底板及外墙为结构自防水,防水混凝土抗渗等级为S8,其外部做3mm+3mm 厚SBS 改性沥青(聚酯胎)防水卷材,外墙外侧部位防水层外侧粘贴50 厚聚苯板保护层。

本工程地下水位高,防水施工面积较大,质量要求较高,采取的防水措施较多。在施工中,应严格执行施工管理质量检查和验收工作,并着重作好节点部位的处理。

具体施工方法见:第二篇 第四章 第四节 地下结构防水施工

 

11、结构施工与其他专业施工搭接

1综述

本工程功能分区复杂,工程的高层为五星级豪华酒店及相关配套,低层部分包括剧场、录音棚、数字影院、宴会厅、展示厅、新闻发布厅、视像室和数字传送机房等功能,且整体效果多为三维立面,技术含量高,交叉作业多。

工程中参与施工的专业队伍众多,包括钢筋混凝土结构、钢结构、粗装修、精装修、水电安装各专业队伍。各专业间的协调配合,工序搭接的组织及施工内容的划项是总承包单位的重要任务,它是保证施工进度、质量、减少返工浪费的重要手段。若组织不力,会造成工期的延误及人工、材料的浪费,甚至各专业施工单位间的矛盾、纠纷。因此,对可能出现两个以上专业队伍同时在一个施工面进行施工或不同的专业队伍交接施工操作的节点,都要由总承包单位进行任务划分,落实各队伍的责任、权利。

 

2与钢结构工程

2.1 土建施工与二十九、三十层屋顶桁架

二十九、三十层屋顶桁架钢结构桁架下部至标高17.90m 无结构,净空高度达到了112.00m。施工时,将采用地面拼装,整体提升。将酒店桁架在五层楼板将主桁架最重的四榀桁架拼装成整体,并将上下弦的桁架间次梁安装完成,在酒店顶部利用楼梯筒与核心筒安装提升点,将桁架提升到设计标高。但上述施工方法的必要条件是:酒店五层结构楼板必须施工完毕。酒店五层楼板标高为18.00m,其下部为视像室,视像室作为一个相对独立的结构,为整体钢结构,形式复杂,施工周期长, 本投标人将于2005 年11 月04 日开始进行视像室钢结构安装工程,视像室钢结构为三层,安装周期40 天。即五层楼板施工时间为2005 年12 月19 日,而桁架将在五层楼面进行拼装,须等五层楼板混凝土强度达到100%后进行。

同时,钢结构桁架提升时,两端与酒店楼梯筒及核心筒结构连接,必须保证该部位竖向混凝土浇筑完毕且强度达到100%后进行。

地面拼装,整体提升是将酒店桁架在地面将主桁架最重的四榀桁架拼装成整体,并将上下弦的桁架间次梁安装完成,

因此,视像室部位要提前施工,便于酒店结构尽早插入施工。

2.2 酒店二十七、二十八层结构与二十九、三十层屋顶桁架

酒店二十九、三十层为承重桁架,二十七、二十八层结构利用钢柱与承重桁架连接,吊挂在桁架结构上。由于采用吊挂结构,施工时不能按照正常施工顺序施工完二十七、二十八层结构再向上施工,而是要先安装二十九、三十层桁架后再安装二十七、二十八层结构。

2.3 舞台塔与剧院看台

舞台塔部位桁架施工要占用南北两侧结构搭设拼装平台,平台要搭设到桁架下弦标高,需要在地下室做加固支顶。北侧为地下室部分,拼装平台不妨碍其施工,南侧为剧院看台部分,拼装平台已经占用了看台场地,因此,这两部分存在施工交叉,剧院看台应待舞台塔桁架安装完毕后方可进行施工,因此舞台塔桁架尽早完成,使看台结构能够施工。

2.4 舞台塔与后舞台钢结构

舞台塔北侧滑移区域占用后舞台施工区域,因此后舞台施工必须待舞台塔施工完毕后方可开始进行。

2.5 舞台、看台与屋面

舞台及看台部分(结构西部)结构上部没有屋顶,直接利用顶部网架及屋面压型钢板做为屋顶,为使内部下道工序(如装修等)尽早插入,不受外界气候影响,此部位屋顶网架及屋面压型钢板要尽早完成。

2.6 钢结构防火工程

钢结构的防火工程应在钢结构阶段完成部位进行,并确认该阶段部位的验收工作已经完成,并应该在装修预埋件、室内石膏板墙预埋件的预埋工作完成的前提下开始。装饰开始时,要确认钢结构和消防保护工程已经完工。装饰与防火喷涂、钢结构交界处,注意成品保护。

 

3与机电工程

本项目机电系统复杂,分包多,工作面大,交叉作业多,需要有效的控制结构与各分包之间的施工搭接,才能使机电工程顺利进行。

结构与分包的施工搭接按下列流程进行:

预埋工程;楼层工作面;管井、设备房的移交;室外总体管线安装;机电调试;与精装修配合。

3.1 预埋工程

当土建开始地下室底板施工,机电预埋工作便须开始施工。

3.1.1 本项目要求总承包预埋由指定分包供应的套管、固定件、锚栓、线管。以及防雷接地工程为了有效的配合结构施工,总承包编制及提供各分包浇混凝土的计划,包括短期(1 周)的计划,使各分包清楚知道浇混凝土的时间及位置,预先进行备料。施工期间,总承包在完成放套管、管线、预埋件及预留孔洞后,通知分包进行现场复查确认位置,及经过监理完成隐蔽工程验收后才进行浇混凝土。按总体施工进度计划,预埋工程在2005 年7 月10 日开始。为了配合土建施工进行预埋工程,总承包需编制综合协调土建配合图,因此在预埋工程展开前,有关的指定分包需要确定,以便配合编制综合图,尤其是电梯,便需要在地下室底板施工前确认电梯井及基坑尺寸。按总体施工进度,电梯分包应在2005 3 15 日确定,其他指定分包应在2005 3 25 日确定。

3.1.2 钢结构预留洞,由总承包提供综合机电留孔图,给钢结构在加工时预先开孔,避免现场切割。

在配合阶段要确保混凝土内管线预埋到位准确,缩短工期,使各楼层的施工期为最科学、最短的工期。

1. 在预埋时,要根据本工程单层面积大小,各类管线特点,派专人负责与土建单位协调,同时派施工技术熟练的技术工人进行长距离的管线预埋配合施工。

2. 由土建专业施工预留的孔、洞,安装单位必须对施工图进行复核,复核内容、数量是否够,大小是否合适,位置标高是否对。如有差错应及时同设计和土建联系,千万不能擅自割断土建的结构钢筋自行留孔、留洞。

3. 预埋时,按设计施工图进行预埋和预留工作,必须按照设计坐标、标高位置进行,根据土建施工进度要求安排施工,同时按施工图坐标位置要求土建弹出(标出)结构的标高线和水平轴线,以利管道敷设到位。

4. 管道穿越结构梁或主钢筋时应与土建配合处理,不得任意变动和切割主钢筋,管道安装坡度,坐标、位置应符合设计要求和验收规范。

5. 在施工结束后尽快通知监理方进行验收,并及时办好隐蔽工程验收手续,使预埋管连通率做到最高。

3.2 楼层工作面

3.2.1 当土建工程施工完成至四层时,可移交地下室楼层工作面于机电安装工程。按本项目总进度计划、土建分区施工划分和机电系统的分区设计,机电安装分为地下室至5 层、酒店低区及酒店高区3 个部分,以便管理协调及系统分段试验。地下室安装在2006 年3 月开始,酒店低区在2006 年5 月开始,酒店高区在2006 年9 月开始。各分包需按综合机电协调施工图进行交叉安装,由总承包制定每个分包在每个工作面的短期完成计划,使各分包能有效利用各工作面进行安装。在楼层工作面移交机电安装前,要求土建模板已拆除,混凝土达到承载强度,场地清理干净,暂设电源的二级箱要到位,临时水源也要到位。在高空作业的场所需要本投标人配合搭设施工用的脚手架。另外还要提供机电专业现场管理人员的办公室和施工人员的工具房。并且必须完成楼板的粗装修,以免对机电安装的成品造成破坏。

3.2.2 在机电安装前必须作好人员的组织、物料的准备,严格按施工总进度计划进行多点、面的全方位施工,从而确保节点的完成。为确保配管正确,须做好与土建、装潢施工单位的配合,及时掌握吊顶高度、水平基准线、墙身线,做好管道的安装敷设,确保管道预留的坐标、标高符合验收规范。嵌墙暗装及预埋的给排水支管要固定牢固,在管弄立管施工时,要按照验收规范要求在立管的底部增设适当口径的排水、排污阀门,防止管道堵塞;在排水立管施工时,还要按照规范要求使用有检修门的管道,并设置排水管道的清扫口,以便于检修和防止堵塞。在土建作业时做好出墙与出地坪的管口加防堵保护盖工作,并派专人进行巡视,发现保护盖未盖或丢失,及时加盖。根据土建、装饰的进度要求及时对管道进行检验与试验,以便确保质量,使工程质量达标;在个机房的施工中,要与土建单位共同商定施工方案和步骤,以免对对方已完成的产品造成破坏。

3.2.2 严格作业面交接制度,尤其是施工队伍之间的交接,交接表如下:

工 序 交 接 表 工程

楼层

部位

房间编号

房间名称

 

 

 

 

移交方完成情况:

接收方检查意见:

交接结论: 同意接收 不同意接收

接收单位:

接收人:

接收日期:

移交单位:

移交人:

移交日期:

备注:

注:1、交接必须严格按计划进行,不得拖后。2、封闭的房间交接后,接收方自行换上门锁。3、接收方应对移交方的成品负责。

3.3 管井、设备房的移交

当土建施工完成核心筒至30 层结构封顶后,可移交管道井及29 层设备机房于机电专业进行安装。

本项目的管井及设备房数量多,总承包需提供各分包管井及设备房的移交计划,使各分包预先安排设备及管道安装配合。本项目的主要设备房为配电室(设在B1、B2 及F29),酒店空调柜房(设在F29),电热锅炉房(设在B1),地下室设备房在2006 年6 月移交安装,29 层设备房及电梯机房在2006 年11 月移交安装,到时可利用塔吊在结构封顶前将设备通过屋面进风

口吊运到设备房。管井及设备房移交前需完成装修、设备基础、临时门的安装,使分包能顺利进行安装。弱电设备房必须合乎环境条件要求包括吊顶、照明、架空防静电地板、接地网、独立空调、消防系统等。

由于本项目的机电系统是由设在A 标段服务楼及CCTV 地下室机房的**系统供应,需计划配合本大楼使用日期完成,包括连通各大楼的设备管线通道,在2007 1 月移交机电分包进行安装,确保按计划与外线接通。

3.4 室外总体管线安装

当A 标段服务楼及管线通道完成后,须进行室外总体管线的安装。由总承包协调各分包及市政单位的室外管线走向、标高及接口位置,制定综合施工图及完成计划,提供各分包及市政单位,作预先工作安排,施工期间,总承包提供各分包及市政单位短期计划,使各单位能做施工准备,由于牵涉土方开挖及回填,要求各分包及市政单位严格按总承包计划在土方开挖及垫层做好后马上进行管道安装、调试及隐蔽验收,以便土方回填。

按总体施工进度计划,室外市政工程在2007 年1 月15 日开始,2007 年4 月16 日完成。

首先安排雨污水管及供电电缆安装,然后是给水管、热力管、电讯及煤气管道。计划2007 年3 月至2007 年4 月完成供电及市政给排水接通,给机电调试创造条件。

3.5 机电调试

当机电安装完成后,需进行系统调试及联动调试,总承包按机电分包调试计划,进行分区封闭,清理、安装门窗,以便分包能顺利进行调试。调试分系统单项调试及联动调试。系统调试在2007 年6 月3 日开始,2007 年7 月31 日完成,联动调试在2007 年7 月31 日开始,2007 年8 月31 日完成。

3.6 与装修配合

总承包与装修设计单位协调,制定吊顶综合机电布置图,以及在精装修图纸上标明所有机电设备的位置,总承包制定每个装修面机电一次安装完成时间表,提供各分包进行安装,同时要求装修分包放线,使机电分包能有效控制安装标高及位置尺寸,当一次安装完成后,移交装修单位进行装修,机电分包配合装修完成吊顶龙骨后进行二次安装, 装修分包完成墙身及地面的饰面装修后,机电进行安装灯具、插座、开关等。

为配合本项目的总体施工进度,精装修单位需在2006 年7 月23 日进场开始装修工程。

另外,本项目有很多的室内架空地板安装,总承包需与地板分包协调,确定地板支架位置及地板安装计划,提供给机电分包进行电线安装,然后移交给地板分包进行安装,全部安装工作计划在吊顶工程完成后进行。

3.7 机电项目

除了上述总则搭接项目外,各专业分包的搭接专项如下:

3.7.1 电梯及扶梯安装

1. 本项目的电梯多达20 台,服务不同分区,按进度计划分低区(B2 至F5)在2006 年9 月15 日及高区(B2 至F30)在2006 年11 月20 日将井道及机房移交给分包进行安装。

2. 井道完成后按电梯深化图进行脚手架安装。

3. 电梯分包井道放线后进行井道修正。

4. 电梯门框安装后进行门边封堵。

3.7.2 暖通空调安装

1. 土建完成后与分包进行预埋工程验收,不合乎要求的进行整改。

2. 分包完成管道安装后进行封堵。

3. 当分包完成走火通道的管道安装后,进行防火板的安装。

4. 配合分包提供现场条件供分包进行调试,包括门窗安装及场地清理。

3.7.3 给排水安装

1. 总承包完成卫生间砖墙的砌筑及放线,移交分包进行管道嵌墙安装。

2. 管道完成后总承包安装墙砖及地砖,然后移交分包进行洁具及配件安装。

3.7.4 强电安装

1. 本项目的配电室分别设在B1、B2 及29 层,土建在完成地下室部分后,先移交B1 及

B2 的配电房给分包进行安装。

2. 按深化图预埋设备支架的埋件及电线沟。

3. 配电室装修完成后移交分包进行安装。

4. 预留变压器吊运的通道给分包吊运。

5. 设备进房及楼层的电线槽完成后进行封堵。

6. 供电调试前完成所有配电室门的安装,确保安全送电。

7. 大楼封顶后移交垂直电缆井及分层配电间给分包进行安装,需要确保防水措施完成,以免电气设备受水浸破坏。

3.7.5 弱电安装

1. 按深化图完成设备房土建、装修,以及安排其他专业分包包括电气、消防、空调完成设备房的机电安装,具备环境条件移交分包进行设备安装。

2. 大楼封顶后移交垂直弱电井及分层弱电房给分包进行安装,需要确保防水措施完成,以免设备受水浸破坏。

3. 管线安装完成后进行封堵。

3.7.6 擦窗机工程

总承包按计划完成层面,预埋路轨安装配件,完成路轨基础及防水后移交分包进行安装。

3.7.7 厨房及洗衣房设备安装

1. 总承包首先完成设备房间墙及放线,和降板的防水层,移交分包进行管道预埋。

2. 分包完成管道预埋后移交总承包进行墙砖、地砖和排水明沟的安装,完成后移交机电分包进行吊顶管道安装。

3. 机电安装完成后移交厨房及洗衣房分包进行设备安装及调试。

 

4与装饰工程

本工程装饰装修面积大、工期紧迫、材料种类繁多、施工内容复杂、施工单位多、工序穿插多、工艺要求高、图纸深化设计量大、施工管理难度较高。装饰工程全面展开时,劳动力达到了高峰,各工种、各施工面的施工交叉进行,本投标人将对可能出现的情况事先进行仔细分析,合理组织安排劳动力,协调各工种之间的关系,确保施工进度,集中力量保重点、保质量,在人力、物资、机具上给本工程的施工以充分保证。公司各部门将协助指导本项目部组织好施工工作,搞好各方面的协调配合。合理组织交叉分段施工,突出重点,顾及总平面和立面交叉施工,综合安排各个工序的搭接配合。

土建施工劲可能考虑对装饰施工工期及质量的影响,加快施工进度,并提前确定装饰方案,为了满足装饰施工工期要求,结构施工至第9 层时,地下结构开始组织验收,并始插入粗装修施工,于2006 年7 月23 日开始地下室精装修施工。

本项目有下列各项装修工程与结构施工有搭接关系:

4.1 房中房结构工程搭接关系

本工程的录音棚、录音配音室和小于400 平方米的演播室均采用房中房结构,用以控制噪音和达到高音质的要求。房中房结构包括浮筑楼板、浮筑隔墙、平顶和隔声门窗等声学构造。此结构由土建部分负责施工,而声学装修层则于二次装修时完成。

4.1.1 施工顺序

房中房的施工,涉及到结构施工和其他专业分包的施工搭接(如机电分包和声学分包)因此施工期间,需由本投标人主导,紧密配合其他施工单位,进行施工。

施工流程如下:

1. 房中房位置的结构施工完成

2. 进行声学构造的安装。此阶段的施工需与机电分包协调配合,铺设所需的机电、通讯电缆

3. 进行声学装修层施工

4.1.2 工作界面划分及交差关系

由于房中房对声学的要求高,必须能控制噪音。因此施工结构的密封性和机电设施电缆的固定非常重要。必须确实安排各顺序工作、互相配合,界面交接清楚,做到设计的要求。

4.1.3 施工部署

房中房的施工部署,主要是先结构施工,配合机电安装,后声学装饰。

4.1.4 粗装修工程配合

在钢结构完成后,可进行浮筑楼板、浮筑隔墙、平顶和隔声门窗等声学构造的安装。

4.1.5 二次装饰要求

1. 房中房位置的结构施工完成

2. 检查机电设备及缆线已完成,并达到设计的要求

3. 声学表层的安装需严格做到密封的要求

4.2 石膏板墙安装搭接关系

4.2.1 石膏板隔墙应在结构施工阶段完成之后开始施工。

4.2.2 首先在石膏板隔墙位置放墙身定位线。

4.2.3 石膏板隔墙单面封板后,进行墙内各类机电安装预埋工作。

4.2.4 石膏板墙完成之后开始机电安装施工。

4.2.5 最后进行墙面孔洞的封堵及修补工作。

4.3 架空地板安装关系

4.3.1 活动地板的铺设应在各类装修施工及固定设施安装完成并对地面清洁处理后进行。

4.3.2 活动地板铺设前应设计标高及地板布置严格放线,将支撑部件调整至设计高度。

4.3.3 支撑安装完成后机电进行布线,然后安装地板。

 

5与幕墙工程

当混凝土结构准备浇筑前,应先做好一切跟幕墙预埋件的安装和定位,这些工序应要跟从预先设计的定位图册(由各分包和本投标人协调绘制),待日后混凝土结构完成,预制幕墙板能吊挂到制定位置和预埋件接合。幕墙工程分包必须与钢结构分包紧密配合,根据结构的测量定位误差等资料核实幕墙系统设计及结构计算,并确定幕墙内嵌组件的位置设计及对钢桁架的荷载及接口的要求,以及在钢结构留孔要求等。

5.1 幕墙与钢结构的搭接

幕墙工程分包必须与钢结构分包紧密配合,根据结构的测量定位误差等资料核实幕墙系统

设计及结构计算,并确定幕墙内嵌元件的位置设计及对钢桁架的荷载及接口的要求,以及在钢

结构留孔要求等。

5.2 幕墙与混凝土结构的搭接

5.2.1 混凝土结构准备建造前,应先做好一切跟幕墙预埋件之安装和定位,这些工序应

要跟从预先设计的定位图则(由各分包和本投标人协调出来),待日后混凝土结构完成,预制幕墙板能吊挂到制定位置和预埋件接合,幕墙吊装前,必须在施工分隔层做好保护遮挡,并完成幕墙连接段的地台抓平、墙体抹灰工程,确保幕墙不受污染。

5.2.2 波纹锌墙屋板

因局部锌板幕墙是安装在钢结构之上,而钢结构之变形会对墙板之固定性产生一定的影响。总承包要求幕墙分包之安装(到钢结构表面)必须严格按设计节点,可调整因不同移动引起的变形,不影响防水功能。

5.2.3 铝合金+玻璃幕墙

由于铝合金+玻璃幕墙的位置全部是吊挂到酒店混凝土结构之上,所以安装工序须待结构到了第15 层以上才开展,有关幕墙之重量应对混凝土结构不会产生有负面的影响,吊装挂件前,必须于四周连接完成地台抓平、墙体抹灰等会污染幕墙的工序,另划分储货区、吊装区。

5.2.4 玻璃幕墙

文化中心区段的幕墙按流程计划在屋面锌板封顶后施工,主要考虑分包进场到文化大楼工地的进出口、局部安装,另屋面锌板封顶后,可提供理想防水作业,亦可与顶部交接点连接施工。

酒店大楼段幕墙,在20 层结构分工后,可将第十五层作分区,先安装15 层以下幕墙。

5.2.5 施工区段划分

根据幕墙种类、相关工序的施工顺序、施工场地的调度等要求,总承包需对工作区段划分,排定幕墙分包施工程序和工作界面开设数量统筹,和幕墙工地加工区的面积定期探讨解决现场用地事宜。

按初步评估,总承包将酒店大楼结构划分为两个区域,一区为地下至第十五层,二区为第十六层至第三十层。

酒店区结构施工至20 层幕墙可施工至15

 

12、与其他指定分包的配合

按招标文件要求,本工程中指定分包项目有:强电工程、弱电工程、给排水工程、暖通空调工程、消防工程、电梯及自动扶梯工程、玻璃幕墙工程、擦窗机工程、精装修工程、门窗及特种门工程、盒中盒结构工程、游泳池滤水系统工程、园林、绿化、景观工程。分包的项目众多,涉及的专业面广,本投标人与各分包及各分包之间的良好配合是完成本工程即定工期及即定质量目标的重要保证。

本章以下各节主要从机电安装、电梯安装、幕墙安装、酒店剧场施工等方面阐述本投标人对指定分包的配合服务措施。

 

1与机电设备安装配合

1.1 本工程机电设备安装主要包括了:强电工程、弱电工程、给排水工程、暖通空调工程、消防工程等。主要涉及到本投标人在土建施工时的预留预埋,以及与各机电施工分包在安装过程中的交叉施工配合。

1.2 与各机电设备安装分包的具体配合措施:

1.2.1 本投标人内设立专门的机电分包协调组,负责对各机电分包的配合服务工作,定

期组织召开与各机电分包的协调会,保证本投标人与分包之间信息沟通的流畅。

1.2.2 本投标人将委托具有甲级设计资质的设计院对图纸进行深化设计,并会同本工程

设计方、业主方、机电分包施工方,一起编制出综合机电协调施工图及综合协调土建配合图,保证日后各机电分包与本投标人的协调、配合。

1.2.3 组织本投标人内的技术及施工管理人员熟悉施工图纸,了解各机电分包施工内容,提前预见本投标人实际施工中可能会与各机电分包发生的矛盾,并会同各机电分包制定各项有针对性的应急预案。

1.2.4 要求各机电分包根据工程进度提前足够富余时间向本投标人提交需要预埋在混凝土结构中的各种洞口、槽口、凹槽、埋件等的尺寸、位置、质量标准等相关资料,由总承包协调部门负责汇总、核对后提前报监理工程师及设计师审批,审批完成后由总承包人负责预留预埋施工。

1.2.5 混凝土施工过程中配合逐一核查管线等预留预埋的走向、标高、位置,力争避免因机电预留预埋发生遗漏而产生的对原混凝土结构的剔凿、切割施工。

1.2.6 在二次结构施工过程中,在二次结构上进行的机电预留预埋施工由各机电专业分包商自行施工。总承包施工时提前通知各机电分包,保证其预留预埋与二次结构砌筑同时进行,尽量避免遗漏造成事后剔凿。如有局部发生遗漏,责任方必须编制处理方案,报总承包审核,监理工程师及设计师审批后实施。

1.2.7 机电分包在其后阶段的施工中,将越来越多的会与装修施工、钢结构施工、幕墙

施工等分包发生交叉。本投标人将发挥本投标人协调的优势做好各施工作业队的协调工作,在交叉施工程序复杂的部位,要求各分包均做出详细的施工工序流程图或施工网线布置大样图,做到施工中有条不紊,繁而不乱。

1.2.8 本投标人将积极与外界市政相关单位联系沟通,向市政供电、供水单位提供审批

所必需的图纸资料等,力争在预定期限内完成现场内的市政供水、供电接通工程,从而使得后继的机电调试工作得以顺利实施。

1.2.9 机电设备安装分包开始施工后,本投标人将根据现场条件提供足够的材料、机具

库房,对于需要有特殊存放条件的材料,本投标人将按分包要求提供特殊材料库房,经双方认可存放在现场内的所有机具、材料将由保安人员的统一照管。

1.2.10 本投标人将为分包提供足够的临时用水、临时用电、消防及排水设施,并制订明确的施工用水、用电的管理措施,并保证各分包部门严格遵守。

1.2.11 分包完成各类管线安装后,本投标人配合其进行后继的洞口封堵作业,并保证其符合相关的消防、防水规定。

1.2.12 配合机电分包方做好设备房的安装条件:包括地面、墙身、楼板的装修,以及设备基础的施工和门窗的施工。

1.2.13 根据机电分包提交的书面的各类垂直、水平运输工具使用申请,本投标人将在兼顾各分包施工的前提下合理安排现场内已有的外用电梯、塔吊、以及卸料平台等机具为各机电分包提供配合服务,在安全施工的前提下提高其施工效率。

1.2.14 场内本投标人已搭设的施工脚手架,机电分包可以在遵守脚手架施工安全规定的前提下使用;机电分包需新搭设脚手架如:垂直管道安装脚手架时,本投标人将给予最大的技术及安全施工方面的配合;其他楼层内的小规模施工脚手架安装,本投标人主要进行安全方面的监督及检查。

1.2.15 本投标人及各机电设备分包均应按规范编制好成品保护方案,并细化为交底传达给所有参与施工的施工人员,保证各施工方的成品不受破坏,或尽量减小其受影响的程度。

 

2与电梯安装配合

2.1 本工程电梯安装分包其施工内容主要包含:本工程内的所有电梯及自动扶梯的安装及调试。

2.2 与电梯安装分包配合的具体措施如下:

2.2.1 本投标人设专项小组负责电梯及自动扶梯安装分包的配合服务工作。并主持召开本投标人与电梯安装分包的协调会,保证相互信息沟通的通畅。

2.2.2 本投标人将委托具有甲级设计资质的设计院对图纸进行深化设计,并会同本工程设计方、业主方、电梯安装分包妥善解决提出的问题。

2.2.3 组织本投标人内的技术及施工管理人员熟悉施工图纸,了解电梯及自动扶梯分包

的施工内容,提前预见本投标人实际施工中可能会与电梯安装分包发生的矛盾,并会同电梯安装分包制定应急预案。

2.2.4 要求各机电分包根据工程进度提前向本投标人提交即将要在本工程中安装的电梯及自动扶梯的各类技术资料,以及我土建施工人员需要完成的施工内容及注意事项。

2.2.5 混凝土结构施工中我施工人员将按电梯安装要求准确的做好各类预留预埋工作,

配合电梯安装技术人员对电梯的底坑、井道、机房预先测量其尺寸和垂直度,对发现的问题,配合有关单位迅速做好协调整改,并在交付电梯及自动扶梯分包施工前做好相关的交接验收手续。

2.2.6 电梯安装分包施工中需要脚手架等设施时,可与本投标人协商后,由本投标人负

责搭设并进行安全维护;亦可由分包方自行搭设,由本投标人派出专业施工管理人员对脚手架进行安全指导及监督。电梯安装中的搬运、吊装作业,本投标人将根据电梯分包的进度计划安排好垂直运输设备的使用计划,并确保各电梯在吊运过程中不出现任何损坏。

2.2.7 本投标人与电梯安装分包均应编制详细的成品保护方案,并细化为交底传达给参与相关施工的所有施工人员,确保各施工方的成品不受破坏。

2.2.8 协调其他分包方例如:强电、通风、楼宇监控、消防、自动报警等进行工作面安排,保证各方施工顺利进行的同时,电梯安装不受影响。

2.2.9 电梯及自动扶梯安装调试完毕后,按相关国家规定验收合格后做现场移交手续,本投标人将在竣工前,负责对电梯及自动扶梯的成品保护。

 

3与幕墙安装配合

3.1 本工程幕墙体系包含:预制波纹型金属屋面幕墙、预制外墙单元式阳极氧化铝窗框连玻璃幕墙、预制混凝土幕墙系统挂件、落地全钢框隔音幕墙系统。

3.2 本投标人与幕墙安装分包的具体配合措施如下:

3.2.1 本投标人设专人负责幕墙安装分包的配合服务工作。在整个施工过程中按进度定期召开本投标人与幕墙安装分包的协调会,保证相互信息沟通的通畅。

3.2.2 本投标人将委托具有甲级设计资质的设计院对图纸进行深化设计,并会同本工程设计方、业主方妥善解决提出的问题。

3.2.3 组织本投标人内的技术及施工管理人员熟悉幕墙施工图纸,了解各部位不同幕墙安装的施工内容,提前预见本投标人实际施工中可能会与幕墙施工发生的矛盾,并会同幕墙安装分包制定应急预案。

3.2.4 要求幕墙分包根据工程进度提前向本投标人提交需要由本投标人在结构施工中完成的预留预埋施工内容,并向本投标人提供详细的幕墙技术资料、幕墙安装施工方案、幕墙安装注意事项,本投标人方将根据分包提交的各类资料,合理安排施工流程,详细制定施工工艺方案,最大程度的避免因交叉施工带来的不便。

3.2.5 由于幕墙的高精度的特征,所以对钢结构的安装精度的要求就相对提高,与钢结

构施工的误差控制与结构施工的成活质量有着密切关系。本投标人将组织施工测量人员配合幕墙施工单位对结构误差进行调整,对主体已完成或局部完成的建筑物进行外轮廓测量,根据测量结果确定幕墙的调整处理方法,提供给设计室作出设计更改。在施工前做好充分的误差分配、消化,不使其积累偏差值;并同时进行幕墙施工方对结构施工中的幕墙预埋件的交接验收手续。

3.2.6 本投标人现场内已存在的施工脚手架、外用电梯、塔吊等大型机械设施均可以提

供给幕墙安装分包使用;根据每日幕墙安装分包提供的吊运工作量,本投标人将在兼顾各分包方施工的前提下制定其垂直及水平吊运的计划。幕墙分包在现场内要新搭设的各类施工脚手架须由本投标人进行监督管理,同时给予人力、物力、安全照管方面的各项配合。

3.2.7 根据幕墙的安装进度情况,将工作面细化为多个小工作面,根据每个小工作面成

套配送安装材料。这样既可保证每个已展开的工作面上安装工作的连续进行,又可保证场地上堆放量降到最低,而且不影响其它工序的施工作业。

3.2.8 本投标人将根据现场实际情况提供足够的幕墙分包材料存放场地、库房,并统一

由本投标人保安人员进行照管、保护。同时也将编制各分包的材料分阶段进场的计划,并发放给各分包方。

3.2.9 幕墙的施工不单会与本投标人施工发生交叉作业及相互协调的关系,同样会和其

他的各类分包发生这些协作关系,本投标人将极力配合好各分包,并做好周详的协作计划,使各分包都能够顺利完满的完成施工。

3.2.10 本投标人与幕墙安装分包均应编制详细的成品保护方案,并细化为交底传达给参与相关施工的所有施工人员,最大限度的保证各施工方的成品不受破坏,或减小其受影响的程度。

 

4与酒店、剧场施工的配合

4.1 本工程酒店及剧场分包施工内容主要为:室内装修工程、专业舞台设备的安装工程、专业声光工程、游泳池滤水系统等。本投标人方负责酒店及剧场的粗装修工程,同时负责配合酒店、剧场其他各分包的施工。

4.2 本投标人方与酒店、剧场施工分包的具体配合措施如下:

4.2.1 本工程内的酒店是按五星级豪华酒店设计,其剧场部分为内含1500 座的剧场、录音棚、数字电影院的多功能大剧场,其室内精装修标准很高,施工难度大,要达到即定的装修目标,必须通过本投标人、各装修安装专业分包的多方配合、协作才能顺利完成。

4.2.2 酒店及剧场的分包施工项目繁多,本投标人将在装修施工阶段组建专项酒店、剧场分包协调小组,保证信息及问题的顺利传达,并缩短发现问题到解决问题的时间。

4.2.3 本投标人将委托具有甲级设计资质的设计院进行本工程装修施工的深化设计工作,同时组织本投标人内的技术及施工管理人员熟悉酒店、剧场分包施工内容,配合精装修深化设计,对提前预见到的本投标人实际施工中可能会与精装修施工发生的矛盾,以及装修安装过程中会碰到的难题,会同设计、施工人员协力制定出解决方案或防范措施。

4.2.4 要求酒店、剧场分包根据工程进度提前向本投标人提交需要由本投标人在工程中

完成的预留预埋施工内容,并向本投标人提供详细的各类装修施工技术资料、装修施工方案及注意事项,本投标人方将根据各分包提交的资料,合理安排施工流程,施工工序,最大程度的避免因各装修交叉施工带来的不便。

4.2.5 酒店及剧场室内精装修开始施工前,必须已完成相对应部位的粗装修验收工作,本投标人将配合酒店、剧场分包施工方做好工作面的交接验收手续。

4.2.6 本投标人现场内已存在的外用电梯、塔吊等大型设施经协商后可以提供给精装修分包使用。本投标人将根据酒店及剧场装修分包每日提供的运输机械具体使用时间表,来安排其使用现场的垂直运输机械时间。

4.2.7 本投标人现场已有的施工脚手架将可以直接提供给分包使用,分包方需要重新搭设的装修用脚手架需由本投标人进行监督管理,同时给予人力、物力、安全照管方面的各项配合。

4.2.8 本投标人将根据实际情况提供足够的分包材料存放场地,按照各类材料的要求分配给相应符合存放要求的材料库房,如提供有防潮、防火功能的库房以存放如:声学地板、声学墙面、声学吊顶板材等材料;专门用以存放化学涂料、建筑胶等材料的化学品材料库等;所有由本投标人负责安排存放在现场内的各类建筑装饰装修材料均将得到本投标人保安人员的统一照管和保护。

4.2.9 作为本投标人方,本投标人将发挥本投标人协调优势,组织粗装修施工队、精装修施工队、机电施工队、专业声光工程施工队及其他所有可能会互相交叉施工的作业队,对施工中的每个小环节都做好协调配合工作,本着公正的原则制定好周详的协作计划,使酒店、剧场施工的各分包都能够顺利完满的完成自己的施工作业内容。

4.2.10 本投标人与酒店分包均应编制有针对性的成品保护方案如:酒店及剧场装修施工成品保护方案、剧场专业声光设备安装成品保护方案等,并细化为专项成品保护技术交底传达给参与相关施工的所有本投标人、分包施工人员,最大限度的保证各施工方的成品不受破坏,或减小其受影响的程度。

 

5与其他专业施工配合

5.1 以上各节阐述了本工程中的主要大项分包配合措施,本节将综述余下其他各项专业分包配合措施,其相关的配合措施适用于所有参与本工程分包施工的各分包单位。

5.2 与其他专业施工分包配合的具体措施:

5.2.1 本工程在逐步插入各项装修、安装施工后,分包单位数量多,各分包的专业性都很强,且针对本工程而言都有很高的技术含量,施工难度随之也增大。做好对各分包的协调、配合、管理、服务工作是本投标人的不可推卸的责任,同时也是顺利完成本工程的关键之一。

5.2.2 本投标人将组建专门的分包专业协调小组,负责各专业分包的信息沟通及协调、配合、管理、服务各方面的内容。所谓业有专攻,对于所有分包施工项目虽然本投标人不一定全部熟悉,但本投标人将在组织我施工管理人员充分理解设计图纸及各分包商提供的分包专业资料的同时,谦虚的向各专业分包施工技术管理人员请教其专业施工的关键点、难点、注意事项等,力求在施工中能够默契配合。

5.2.3 定期召开各分包的协调会,及时了解各分包的工程进度、施工中需要本投标人做配合服务的内容以及工程中出现的矛盾等;根据这些信息协商制定最优的解决方案。

5.2.4 本着公正原则,根据现场的实际情况给各分包及时安排材料临时堆放场地、临时库房、办公室等临时设施,并由现场内保安负责统一照管。

5.2.5 本投标人将为各分包提供足够的临时用水、临时用电、消防及排水设施,并制订明确的施工用水、用电的管理措施,并保证各分包部门严格遵守。

5.2.6 现场内的塔吊、外用电梯均可提供给各分包使用,由于垂直运输量大,本投标人将根据每日各分包提供的运输机械使用表及运输的材料数量,合理安排本投标人及各分包的机械使用时间,充分提高垂直运输机械的效率,并保证各施工单位均能够满足每日施工的需要。

5.2.7 各分包在现场内如需自行搭设任何施工脚手架,均需编制妥善的施工方案并备案

于本投标人处,本投标人除在人力、物力上给予配合外同时还要给予安全及文明施工的建议,确保场内所有施工临时设施安全无隐患。

5.2.8 根据本投标人及各分包制订的互相有针对性的成品保护方案,本投标人负责该信

息的交流,并协同各分包将成品保护方案细化为针对各施工队的技术交底,保证传达到参与各施工环节的施工人员,将成品保护深入人心,最大限度减少因成品破坏的返修返工。

 

13、架子工程

本工程结构形式复杂,异型构件多,大跨结构多,内部有大厅、室内看台等,结构净空高,结构洞口较多,脚手架的施工难度大、变化多、较复杂。电视文化中心工程采用部分钢结构、外框结构为钢网架结构,大量的结构吊装和各种施工操作需要脚手架的支撑,这也是本工程顺利进展的一个关键点。

在施工中,本投标人将充分发挥技术水平优势,本着严谨、求实、创新的科学态度,制定全面详细的施工方案,以满足电视文化中心的施工需要。同时,也将积极利用新技术、新材料解决施工中难题。

 

1架子选型

结构施工阶段,八层以下结构施工采用双排扣件式钢管脚手架;八层以上酒店,南侧采用外挑脚手架,北侧、东侧及西侧采用爬架。

以下将对几种主要脚手架的搭设方案进行说明(钢结构施工用脚手架将在钢结构施工方案部分进行详细阐述)。

 

2外檐双排脚手架

2.1 概况

裙房及八层以下酒店结构施工采用全封闭式双排扣件式钢管脚手架,搭设最高高度为32m,排距Lb=1050mm,柱距Ll=1200mm,步距Lh=1500mm,内立杆距建筑外皮0.35m,根据不同部位搭设高度为高于结构层2m。

2.2 材料要求

2.2.1 焊接钢管(Φ48×3.5):化学成分与机械性能符合国家标准《普通碳素钢技术条件》(GB70088)中3 号镇静钢的要求。所用扣件符合《可锻铸铁分类及技术条件》(GB97867)的规定,扣件不能有裂纹、气孔疏松、砂眼等铸造缺陷。扣件与钢管的贴合面接触良好,扣件夹紧钢管时,开口处的最小距离要小于5mm。

2.2.2 脚手板:厚度50mm,宽200mm,采用杉木或松木制作,其材质符合国家现行标准

《木结构设计规范》GB50005-2003 中对II 级木材的规定,脚手板的两端采用直径为4mm 的镀锌钢丝各设两道箍,腐朽、劈裂等不符合一等材质的脚手板禁止使用。

2.2.3 焊接底座:采用Q235A 钢,E43 焊条,几何尺寸如下图:

2.3 人员素质要求

2.3.1 脚手架搭设人员必须是经过国家现行标准《特种作业人员安全技术考核管理规则》考核合格的专业架子工。凡从事架子工种的人员,必须每年进行体检,体检合格者方可发上岗证。

2.3.2 凡有高血压、心脏病、晕高或视力不够等不适合做高空作业的人员,均不得从事架子作业。

2.3.3 配备架子工的徒工,在培训前必须经过医务部门体检合格,操作时必须有技工带领、指导,由低到高,逐步增加,不得任意单独上架子操作。

2.3.4 进场前要进行安全技术教育。

2.4 搭设前准备

开始搭设前必须已经做好相关的技术方案的审批及技术交底的下发,组织架子工及其他配合工种做好班前喊话,强化安全操作意识。配备足够的安全管理人员在搭设过程中做好协调工作。

2.5 搭设要求

2.5.1 立杆构造要求

1. 立杆上的对接扣件交错布置,两相邻立杆接头不应设在同步同跨内,两相邻立杆接头在高度方向错开的距离不应小于500mm,见下图;各接头中心距主节点的距离不应大于步距的1/3。

2. 立柱的搭接长度不小于1m,不少于两个旋转扣件固定,端部扣件盖板的边缘至杆端距离不小于100mm。

3. 立杆垂直度偏差不得大于架高的1/400,每根立杆按6m 计,即单根立杆垂直度偏差不大于15mm。

4. 开始搭设立柱时,每隔6 跨设一根抛撑,直至连墙杆件安装完毕后,方可根据情况拆除。

5. 当搭设至有连墙杆件的构造层时,搭设完该处的立柱、纵向水平杆、横向水平杆后,底座立即设置连墙件。

2.5.2 纵向水平杆构造要求

1. 纵向水平杆设于横向水平杆之下,在立柱的内侧并采用直角扣件与立柱扣紧;

2. 纵向水平杆采用对接扣件连接,对接接头交错布置,不设在同步同跨内,相临接头水平距离不小于500mm,并避免设在纵向水平杆的跨中。

2.5.3 横向水平杆构造要求

1. 每一主节点必须设置一根横向水平杆,并采用直角扣件扣紧在纵向水平杆上,该杆轴线偏离节点的距离不大于150mm,靠墙(柱)一侧的外伸长度不大于500mm。

2. 操作层上非主节点处的横向水平杆宜根据支承脚手板的需要等间距设置,最大间距不大于柱距的1/2。

2.5.4 脚手板的构造要求

1. 脚手板一般设置在三根横向水平杆上,脚手板宜采用平铺;

2. 作业层脚手板应满铺,搭接铺设,如下图:

3. 转角处的脚手板,应与横向水平杆可靠绑扎连接。

2.5.5 连墙件的构造要求

1. 刚性连墙:由连墙杆、扣件与各层框架柱相连。

2. 连墙件靠近主节点设置,偏离主节点的距离不大于300mm。

3. 连墙件必须底部第一根纵向水平杆处开始设置。

4. 连墙杆垂直于墙面方向设置。

2.5.6 剪刀撑

1. 每道剪刀撑跨越立柱的根数宜在5~7 根之间。每道剪刀撑宽度不小于4 跨,且不小

于6m,斜杆与地面的倾角在45°~60°之间。

2. 在外侧立面整个长度和高度上连续设置剪刀撑。

3. 剪刀撑斜杆的接头除顶层可以采用搭接外,其余各接头必须采用对接扣件对接。

4. 剪刀撑斜杆用旋转扣件固定在与之相交的横向水平杆的伸出端或立柱上,旋转扣件中心线距主节点的距离不大于150mm。

2.5.7 斜道

人行斜道采用之字形斜道。斜道构造需符合下列要求:

1. 人行斜道宽度不小于1m,坡道高长比采用1:3.5。

2. 拐弯外设置平台,宽度不小于斜道宽度。

3. 斜道两侧及平台外围均必须设置栏杆及挡脚板,栏杆高度为1.2m,挡脚板高度为150mm。

2.5.8 安全网设置

脚手架外立面满挂密目安全网,每隔三层设一道水平兜网。

2.6 验收

脚手架每搭设5 步架、搭设完毕、操作层施加荷载以及6 级大风、大雨后,需经项目安全部、技术部、工长以及单位相关部门按照相关对架子技术要求、允许偏差与检验方法进行检查验收,验收合格后,方可使用。

2.7 使用和维护

2.7.1 操作架上的施工荷载符合设计要求,不得超载。

2.7.2 使用阶段,安排专人负责对架子进行经常检查和维修。经常检查各主要节点处诸

杆件的连接是否符合设计要求;检查地基是否有积水、垫木是否松动、立杆是否悬空;架子沉降及垂直度是否超标等。

2.7.3 在架子使用阶段,严禁任意拆除主节点处的纵横水平杆和纵横向扫地杆;严禁任意拆除连墙杆以及拦板。

2.8 脚手架的拆除

2.8.1 拆除前的准备工作

1. 拆除安全技术措施逐级进行交底。

2. 清除脚手架上的杂物及地面障碍物。

2.8.2 拆除要求

1. 拆除顺序按逐层由上而下进行,严禁上下同时作业。

2. 所有连墙件应随脚手架逐层拆除,严禁先拆除几层连墙件后,进行脚手架的拆除。

3. 脚手架拆至下部最后一根长钢管时,先在适当位置临时设抛撑加固,后拆连墙件。

4. 各构配件必须及时分段运至地面,严禁抛扔。拆除架子时,地面设围拦和警戒线,并派专人看护,严禁一切非操作人员入内。

5. 所有材料均逐层下传,不得抛扔,并随时堆码整齐。

 

3南侧外檐结构挑架

结构施工阶段,酒店南侧自八层起采用外挑钢管脚手架,共配置四层钢管脚手架。

 

4顶板支撑体系

顶板施工时,脚手架以碗扣式脚手架为主,少量采用扣件式钢管脚手架。劲性钢梁拼接时,采用加密碗扣架支承,必要时采用承重组合钢架,并搭设操作平台(此部分内容详见钢结构施工部分)。

顶板支撑体系采用碗扣式脚手架配合快拆体系,即在传统碗扣式脚手架上配置快拆组合U托,该U 托具有两道U 托机构,上端U 托用来支撑梁底模板,下面的双U 托用来支撑顶板模板,待混凝土浇筑7 天后,可将双U 托旋下,进而将顶板模板拆除;上端U 托保留,继续支撑梁。

 

5外檐爬架

5.1 方案布置说明及设备配置

根据主楼外形及结构特点,爬架各附墙点布置在楼板和梁上,布置在楼板上的附墙点通过M36 螺栓及附墙装置支架与楼板连接;布置在梁上的附墙点通过M48 穿墙螺栓与结构相连。

爬架覆盖2 个半层高,架体共有4 层操作平台,从上至下分别为:上层为绑筋操作平台,中层为支模操作平台,下层为爬升操作平台,最底层拆卸清理维护平台,相关内容详见爬架附图,各操作平台靠竖梯连接。

5.2 附墙装置与墙体的连接方式及预埋要点

根据此楼外形及的结构特点(各附墙点布置在梁和楼板上),在绑扎楼板钢筋时在墙体上预埋Φ60 的穿墙套管及在楼板上预埋Φ48 的套管,预埋套管是爬架安装及爬升的关键所在,要严格控制预埋套管和预埋件的预埋,预埋套管为2 寸的钢管,预埋时要与楼板钢筋焊接固定,预埋套管的孔位预埋偏差要严格控制在前后5mm,左右±10mm 内。

预埋在楼板上预埋套管的轴线均与楼板混凝土表面垂直;预埋在梁上的预埋件的轴线与梁混凝土表面垂直。

5.3 爬架主要技术性能参数

JFY75-T 型爬架主要由附墙装置、H 型导轨、主承力架及框架及架体系统、液压升降系统、防倾、防坠装置以及安全防护系统等部分组成。

5.3.1 名称型号:JFY75-T 型爬架

5.3.2 脚手架架体系统:

两附墙点间架体支承跨度: 8m

架体高度: 9.8-16.5m(随结构层高而定)

架体宽度: 爬架0.8m 爬架2.25m

步距: 1.85-3.0m

步数: 4 -5

作业层数及施工荷载: 2 3kN/m2

5.3.3 电控液压升降系统

额定压力: 16Mpa

油缸行程: 500mm

伸出速度: 500mm/min

额定推力: 50kN

双缸同步误差: 12mm

电控手柄操作:可实现单缸、双缸、多缸动作

5.3.4 爬升机构

爬升机构是有自动导向、液压升降、自动复位的锁定机构,能够实现架体与导轨互爬的功能。

5.4 施工流程及安装周期

爬架工程在安装现场采用的施工工艺流程图示如下:

 

 

 

 

 

 

 

 

 

 

 

 

 

 

 

 

 

 

根据本工程的结构特点,定于爬架于地上 2 层开始安装。

安装时需要架子工20 人及塔吊配合安装,此楼的安装周期为6 天,具体安装时间分配为:

安装附墙装置 : 1 天

地面组装: 1.5 天

塔吊吊装: 1.5 天

铺脚手板及绑脚手架管:1 天

挂安全网: 0.5 天

安装同步控制系统:0.5 天

5.5 设备的安装

5.5.1 安装步骤

1. 在绑扎墙体钢筋的同时预埋爬架所需的预埋套管,当打完混凝土后,在预埋套管处安装附墙座。

2. 在出厂前将主承力架、导轨及上下爬升箱组装一起,现场用塔吊吊至附墙装置内,并插上插板。

3. 当主承力架都组装完毕后,组装两主承力架之间的连接横梁,用M12 的螺栓连接两附墙点间的横梁。

4. 铺主平台脚手板。

5. 在地面将模板支撑体系组装完毕,整体对其进行吊装。

6. 铺上层绑筋平台的脚手板。

7. 在地面将爬架的挂架体系组装完毕,整体对其进行吊装。

8. 铺爬架下两层平台的脚手板。

9. 挂安全网,安装液压爬升系统。

5.5.2 爬架安装的注意事项及技术要求

1. 爬架在安装前应根据专项施工方案要求,配备合格人员,明确岗位职责,并对有关施工人员进行安全技术交底。

2. 安装前必须根据施工方案和设计要求,检查所有运往现场的零部件质量和数量,符合要求后方可安装使用。

3. 准确预埋好爬架附墙装置的预埋套管,是确保顺利爬升的重要环节,应严格控预埋套管的轴线与混凝土表面垂直,孔位上前后偏差±5mm,孔径偏差±2mm。

4. 正常情况下,当楼板混凝土强度达到10MPa 要求后,即可在预埋孔处安装附墙座支架。用力拧紧螺母达到60~80N·m 的扭矩。

5. 在出厂前事先按要求,将H 型导轨、上下爬升箱和主承力架及框架组装在一起,现场在起重设备的配合下,将其吊装插挂在附墙装置上。然后再根据现场实际情况,吊装就位架体的横梁、竖向支撑架、安全防护系统、液压爬升装置等零部件。

6. 爬架上所有零部件的连接螺栓、销轴、锁紧钩及楔板必须拧紧和锁定到位,并用弹簧垫圈、弹簧销或开口销定位保险。经常插、拔的零件要用细钢丝栓牢。

7. 架体支承跨度的布置,不能超过液压油缸的顶升能力。两附墙点直线布置不应大于9m,折线或曲线布置不能大于5.4m。

8. 架体的悬挑长度,整体式爬架不得大于1/2 水平支承跨度或3m,单片式架体不应大于1/4 水平支承跨度。

9. 爬架安装到位后,为保证施工安全,应及时按有关脚手架安全技术规范要求,铺设脚手板及安全网。铺设脚手板时应考虑架体单元体之间爬升时留有100mm 左右的间隙,以防止爬升时相互碰撞。架体的底层和外围侧面,以及爬升时的架体开口端,应采用密目安全网进行全封闭防护。

10. 爬架配套使用的附加竖向钢管的水平距离不应大于1.5m;小横杆的水平距离不应大于1.2m;且附加竖向钢管应根架体各操作平台的连接横梁进行拉接,以保持架体的整体稳定性。

11. 架体组装完毕,在不进行爬升作业时,应对外墙体的四面模板进行拉接固定,使架体在使用时有足够的稳定性。

12. 在不进行架体爬升作业时,应将塔体四周模板连为一个整体,以保证架体有足够的问题性,并将塔体四周架体用钢管连为整体。

13. 爬架安装完毕后,应由设备所有单位与安装使用单位的有关人员(包括负责安全的人员),共同对安装完的爬架进行安装检查验收,双方验收合格签字后方可投入使用。

5.5.3 爬架安装人员要求

爬架安装由本投标人负责技术指导,业主组织专业施工人员进行安装,负责安装爬架的专业施工人员应具备以下素质:

1. 从事作业人员必须年满18 岁,两眼视力均不低于1.0、无色盲、无听觉障碍,无高血压、心脏病、癫痫、眩晕和突发性昏厥等疾病,无其它疾病和生理缺陷。

2. 责任心强,工作认真负责,熟悉本作业的安全技术操作规程。严禁酒后作业和作业中玩笑戏闹。

3. 正确使用个人防护用品和采取安全防护措施。进入施工现场,必须戴好安全帽,作业时必须系好安全带,使用工具要放在工具套内。

4. 操作人员必须经过培训教育,考试、体检合格,持证上岗。任何人不得安排未经培训的无证人员上岗作业。

5.6 爬架的爬升工艺

5.6.1 爬架和模板的安装

首先按要求在墙体上预埋好穿墙螺栓的套管,当墙体混凝土强度达到10 MPa 要求后,即可在预埋套管处安装附墙座,并在起重设备的配合下,安装主承力架及导轨、内外墙模板及支承架、液压升降装置、防护栏杆、脚手板和安全网等。当上层外墙钢筋绑扎完成后,即可进行柱模板的安装就位,检查合格后浇筑混凝土柱。

5.6.2 拆外墙模板与导轨的爬升

当上层的混凝土强度达到脱模要求后,可将外墙模板支承架后移或吊走模板,此时可安排浇筑顶板混凝土,安装附墙座,操作液压升降装置,将导轨爬升到上一个楼层位置。

5.6.3 架体的爬升

当导轨爬升到位后,再操作液压升降装置将架体爬升到上一个楼层位置,然后再移动支承架将外墙模板安装或吊装就位,并浇筑外墙混凝土。

5.6.4 架体的防护

架体爬升到位后,对相邻两架体的空隙进行维护,应立即将四个操作面的模板用钢管连接为一个整体,使架体上模板有足够的稳定性。

重复正常工艺流程直至结构封顶。

5.7 爬升机构的安全保护

液压爬架的爬升机构,主要由带有爬升踏步块和导向板的H 型导轨与附着其上的上下爬升箱和液压油缸等组成,并通过上爬升箱上端的连接轴与爬架的竖向主承力架连成为整体。上下爬升箱内均设有能够自动导向的凸轮摆块(人字形摆块或承力块)和联动式导向轮。导轨或架体爬升时,启动油泵,通过油缸的伸缩,上下爬升箱内的凸轮摆块和导向轮就自动沿着H 型导轨表面的导向板和踏步块变换方向、自动导向、自动复位与自动锁定,从而达到架体的爬升。如下图所示:

导轨的升降原理

架体的升降原理

爬升箱中的凸轮摆块能够自动导向与复位,在实际升降过程中始终有一个爬升箱内的承力块交替地支撑在导轨踏步块上,实质上它既是升降机构也是防坠机构。

5.8 主要平台位置的安全防护措施

5.8.1 架体与墙体的防护及架体间的防护

在爬架水平梁架上绑小横杆,在小横杆上铺设脚手板,通过小横杆控制脚手板离墙的防护距离,要求脚手板离混凝土墙面的距离均应小于100mm。

各单独独立的架体在搭设的过程中留有100mm 的空隙,以保证单独架体的爬升。为安全防护,在相离架体的空隙处铺设翻板,当架体爬升时将翻板翻开,架体爬升到位后,应立即将翻板铺好,并用安全网将各独立架体连接好。

5.8.2 爬架各操作平台的连接

在铺设架体各平台时,在每个单独独立的架体水平位置中间留700×700mm 的洞,用钢管向下层平台搭设梯子,将各平台连接,使架体上下有一个通道,在各平台洞口处用翻板将洞口封好。

5.9 爬架在结构及爬升过程中的注意事项

5.9.1 爬架在结构施工阶段的操作要点

1. 爬架附墙作业时,墙体混凝土强度应达到10MPa 以上。

2. 结构施工时,施工荷载小于3kN/m2(只限两层同时作业时),与爬架无关的其它东西均不宜在脚手架上堆放,严格控制施工荷载,不允许超载。

3. 5 级(含五级)以上大风应停止作业,冬天下雪后应清除积雪并经检查后方可使用。

4. 非爬架专职操作人员不得随便搬动、拆卸、操作爬架上的各种零配件和电气、液压等装备。

5. 爬架专职操作人员在爬架使用阶段应经常巡视、检查和维护爬架的各个连接部位。

6. 在爬架上进行施工作业的其他人员如发现爬架有异常情况时,应随时通报爬架专职操作人员进行及时处理。

5.9.2 爬架在爬升阶段的操作要点

1. 爬架在爬升开始前,应对爬架系统作全面检查,拆除所有障碍物,确认符合要求后方可进行爬升。

2. 爬架专职操作人员应严格执行爬架爬升作业的操作程序规定和技术要求。

3. 施工期间应确保爬架爬升装置必须灵敏、可靠、有效,电控液压爬升系统应操作平稳、安全可靠,超载保护和爬升同步的功能。

4. 爬架爬升时,架体上不允许堆放与爬升无关的杂物。

5. 爬架爬升时严禁操作人员停留在架体上,特殊情况确实需要上人的,必须采取有效安全防护措施。

6. 爬升导轨时,必须将主承力架插挂在附墙装置上,通过操作液压爬升装置将导轨爬升到上一层的附墙装置上。

7. 爬升架体时,应拔出主承力架与附墙装置的锁定板,用液压爬升装置将架体爬升到上一层的附墙装置上,再将主承力架插挂在附墙装置上。

8. 爬升过程中应实行统一指挥、规范指令,爬升指令只能由一人下达,但当有异常情况出现时,任何人均可立即发出停止指令。

9. 爬架爬升到位后,必须及时按使用状态要求进行附着固定。在没有完成架体固定工作之前,施工人员不得擅自离岗或下班,未办交付使用手续的,不得投入使用。

10. 遇五级(含五级)以上大风和大雨、大雪、浓雾和雷雨等恶劣天气时,禁止进行爬升和拆卸作业,夜间禁止进行爬升作业。

11. 正在进行爬升作业的爬架下面,严禁有人进入施工现场,并应设专人负责监护。

5.10 设备的拆除

5.10.1 爬架拆除条件

当结构施工完毕,即可对爬架进行拆除。

5.10.2 爬架拆除前需做好如下准备工作:

爬架的拆除必须经项目生产、总工会签字后方可。外架拆除前,工长要向拆架施工人员进行书面安全交底工作。交底有接受人签字。

1. 拆除时,写书面通知,拆架前先清理架上杂物,如脚手板上的混凝土、砂浆块、U 型卡、活动杆子及材料。爬架拆除后,要及时将结构周圈搭设防护栏杆。

2. 拆架前,先对爬架进行检查验收,待检查合格后方可拆除。

3. 拆架前,先将进入塔内的通道封闭,并做醒目标识,画出拆除警戒县,严禁人员进入警戒线内。

5.10.3 拆除工作的施工部署

1. 人员组织

爬架技术提供单位配备现场工程、技术负责人各1 名、安全员1 名、专门负责爬架拆除过程中的技术指导和安全培训工作,业主成立爬架拆除工作小组,负责爬架的拆除工作。拆除工作应配15 名专业架子工分成2 个作业班组,并事先培训。

2. 机械设备

由现场已有塔吊配合爬架的拆除作业。

5.10.4 拆除方法

1. 拆除顺序

按机位编号,顺时针方向依次拆除。

2. 拆除步骤

1) 每拆除1 个机位的架体前,先将该机位架体与相临机位的架体连接解除,使该架体成一独立单元。

2) 用液压油缸将导轨提升出来,然后用塔吊吊离作业面。

3) 拆除上、下爬升箱、液压电控系统和爬架下两层附墙座并吊离作业面。

4) 拆除连接两相临竖向支撑架的钢管及上层平台的脚手板。

5) 拆除上平台及主平台的脚手板和踢脚板,将上支撑架吊至地面。

6) 将连接两附墙点的各横梁拆除。

7) 拆除下层平台的脚手板和踢脚板,然后拆除连接两相临挂架的侧片。

8) 用塔吊吊住爬架的挂架,将挂架与主支撑架连接的销拔出后将挂架吊走。

9) 以上拆除的爬架各零部件要统一堆放,统一管理。

5.10.5 拆除过程中的安全要求注意事项:

1. 爬架的拆卸工作必须严格按照专项施工方案及安全操作规定的有关要求进行。

2. 拆除工作前对施工人员进行安全技术交底。

3. 拆架前划定作业区域范围,并设警戒标识,禁止与拆架无关的人员进入。拆架时应有可靠的防止人员与物料坠落的措施,严禁抛扔物料。

4. 架体拆除时应:拆杆和放杆时必须由2~3 人协同操作,拆大横杆时,应由站在中间的人将杆顺下传递,下方人员接到杆拿稳拿牢后,上方人员才准松手,严禁往下乱扔脚手料具。

5. 遇四级(含四级)以上大风和雨雪天气、浓雾和雷雨天气时,禁止进行架体的拆除工作,并预先对架体采取加固措施。

6. 夜间拆除作业时,现场应配备足够的照明设施。

7. 拆除工作因故不连续时,应对未拆除部分采取可靠的固定措施。

8. 爬架拆除属于高空特种作业,操作人员必须经专业安全技术培训,持证上岗,同时熟知本工种的安全操作规定和施工现场的安全生产制度,不违章作业。对违章作业的指令有权拒绝,并有责任制止他人违章作业。操作人员将安全带系于墙体在台仓外一侧的墙体施工钢管操作架上,防止爬架拆除过程中本身失稳造成坠落事故。

9. 拆架时有管线阻碍不得任意割移,同时要注意扣件崩扣,避免踩在滑动的杆件上操作。

10. 拆架时螺丝扣必须从钢管上拆除,不准螺丝扣在被拆下的钢管上。

11. 拆架人员应配备工具套,手上拿钢管时,不准同时拿扳手,工具用后必须放在工具

套内。拆下来的脚手杆要随拆、随清、随运、分类、分堆、分规格码放整齐,要有防水措施,以防雨后生锈。扣件要分型号装箱保管。

12. 从事高空作业的人员必须经过体检、凡患有高血压、心脏病、癫瘫病、晕高或视力不够以及不适合高空作业的,不得从事登高拆除作业。

13. 正确使用个人安全防护用品,必须着装灵便(紧身紧袖),必须正确佩带安全帽和安全带,穿防滑鞋。作业时精力要集中,团结协作,统一指挥。不得走过挡和跳跃架子,严禁打闹玩笑,酒后上班。

14. 搭拆架人员必须系安全带,拆除过程中,应指派一个责任心强,技术水平高的工人担任指挥,负责拆除工作的全部安全作业。

15. 拆除中途不得换人,如更换人员必须重新进行安全技术交底。

16. 严禁架子工在夜间进行架子搭拆工作。

 

6钢结构操作平台、结构承重加固

地上6 层以下局部区域存在跨层大空间,内墙和顶板施工时,脚手架以碗扣式脚手架为主,少量采用扣件式钢管脚手架。脚手架操作平台采用直径48mm 钢脚手管,立杆间距1.5m,横杆间距1.8m。

大空间操作平台构造图

劲性钢梁拼接时,采用加密碗扣架支承,必要时采用承重组合刚架,并搭设操作平台。钢结构现场组拼、安装过程中,需根据情况采用钢脚手管对操作部位以下混凝土结构进行支顶加固(此部分内容详见钢结构施工部分)。

7外装修操作平台

外立面幕墙装修主要采用电动吊篮为施工操作平台,倾斜部位采用外挑钢架挂电动吊篮。从现场材料堆场,施工设备布置及材料运输的角度考虑,鉴于结构15 层及以下幕墙包括全部平面位置,作业线较长,可以考虑机动汽车吊与灵活简便的提升机及小脚手架组合进行平面和垂直运输,材料堆场设在两侧预留施工临时用地上,根据各作业区的需要,用汽车吊运至作业面处。

15 层以上的酒店大楼主要配合塔吊作垂直运输,并在拟定楼层,储存预制单元件,配合可移动吊臂、吊船在拟定楼层吊装预制单元件。

屋面板/幕墙挂件安装

 

14、冬雨季施工措施

本工程从2005 年03 月开工,2007 年09 月30 日竣工,总工期930 天。根据工期要求,

本投标人在编制总控制进度计划期间,充分考虑到气候因素给本工程带来的影响,将大部分不宜于在低温条件下进行的工序如:回填土工程、地下外墙防水工程、装修湿作业等,合理调整到了常温季节施工,在低温季节进行干作业施工项目。对于一些不可避免的低温施工都安排在外檐封闭之后进行,并采取局部供暖措施,以保证操作环境温度和湿度达到有关施工规范要求。

在雨季到来前尽可能多的完成屋面防水和外檐工程,以保证施工生产少受气候的影响。

**电视台新台址建设工程B 标段在冬雨期施工的项目如下:

         时间段

施工项目

2005 11 月中旬

-2006 3 月中旬

2006 11 月中旬

-2007 3 月中旬

 

冬期施工

1. 主体结构施工。

2. 机电管线安装。

3. 地下室二次结构施工。

1. 酒店钢结构安装。

2. 酒店屋面网架安

装。

3. 部分内装修施工。

 

         时间段

施工项目

2005 年雨期

2006 年雨期

2007 年雨期

雨期施工

1. 基坑支护和土方开挖。

2. 基础、地下结构施工

1. 酒店结构施工。

2. 区屋面施工。

3. 幕墙安装。

1. 内装修。

2. 机电设备安装。

3. 系统调试。

本投标人将根据以上施工项目采取针对性的措施,保证工程的质量,具体内容如下:

 

1冬期施工方案

1.1 冬施部署

1.1.1 根据北京地区的气候特点,每年约11 月中旬进入冬施,次年3 月中旬解除冬施,

各级管理人员在工作安排上应充分考虑冬施影响,对不宜进行冬施的施工项目应尽量安排在冬期以外施工。

1.1.2 现场总承包方成立以项目经理为负责人的冬期施工领导小组,负责安排、管理、落实、检查各项冬施工作。各分包单位均成立各自的冬施管理小组,负责对各自施工项目的冬施管理工作。

1.1.3 总承包方及各分包单位在冬施前将编制有针对性的冬期施工方案并报监理单位审批,方案中明确具体的质量管理及安全管理措施。

1.1.4 每年11 月初派专人进行大气测温工作,并做好每日最高温度、最低温度及平均温度的记录。当室外日平均气温连续5 天稳定低于5即进入冬期施工,当室外日平均气温连续5 天高于5时解除冬期施工,总承包方将根据大气温度记录情况以书面形式下达进入冬施和解除冬施通知。

1.2 冬施准备

1.2.1 技术准备

1. 凡进行冬期施工的施工项目,技术人员均要认真审核施工图纸,对不宜冬期施工的工艺及做法,应及时与设计单位研究解决。

2. 由技术部门组织冬施方案的技术交底工作,做到各项技术保证措施的贯彻实施。

1.2.2 现场准备

1. 由安保部门组织相关人员进行一次现场全面检查工作,消除安全隐患,检查内容主要包括暂设采暖、边坡稳定、临水管线保温、大型机具维护、材料码放、脚手架的稳定、临边洞口的封闭及现场照明等。

2. 做好施工人员的冬期施工培训及安全交底工作,加强施工人员防风、防滑、防寒、防火、防中毒等方面的安全意识。

3. 现场的办公用房、库房、钢筋加工棚、试验室、临水管线等均要做好保温防风工作。

试验室内应保证其温湿度达到规范要求。

4. 抓好冬施的防寒、防冻、防火、防滑、防煤气中毒五防工作,做到思想、组织、

措施三落实。在入冬前,对全体施工人员普遍进行一次五防的思想和技术措施教育,对于有关冬施安全、技术措施要有书面交底,达到有施工项目就有文字交底,有技术措施,有检查落实的四有标准。

1.2.3 材料准备

1. 冬施前各种胶、涂料等易冻材料应及时入库,并做好库房防火、防毒工作。

2. 提前按技术方案的要求备好各种保温材料,要保证进入冬施后能够马上投入使用。

1.3 主要施工技术措施

1.3.1 防水工程

防水施工应选择无风晴朗天气进行,并依据使用的防水材料控制其施工气温界限,在迎风面宜设置活动的挡风装置。柔性防水材料应注意施工时的温度和对基层含水率的要求,并避免风沙影响粘结强度。找平层应牢固坚实、表面无凹凸、起鼓、起砂等现象,如有冰雪、杂物应清理干净。如环境温度不能达到材料的工艺要求时,不得进行防水的施工,否则要采取必要的防风、保温措施,避免强行施工造成质量隐患。

1.3.2 钢筋工程

当室外气温过低时应对钢筋加工棚采取必要的封闭和保温措施,保证钢筋不在过低的温度下进行弯曲和直螺纹成型。现场绑扎采取防风遮挡措施,及时清除钢筋上的冰雪。

1.3.3 模板工程

本工程大量使用多层板模板,保温性能较好,冬施期间在模板外侧是否再附加保温层以及保温层的厚度由热工计算进行确定。模板的拆除时间通过推算混凝土的成熟度值和试压混凝土同条件试块确定。

1.3.4 混凝土工程

1. 混凝土的浇筑

混凝土的浇筑尽量安排在白天进行。同一施工段水平结构或竖向结构同一构件混凝土连续浇筑。施工人员认真测量各部位混凝土的入模温度和养护温度,采取可靠措施达到热工计算要求。

2. 混凝土的养护

冬施期间混凝土采用综合蓄热法养护,即在混凝土中掺加合理的外加剂,利用原材料加热及水泥的水化热的热量,通过适当保温,延缓混凝土冷却,使混凝土在温度降到0(或防冻剂的规定温度)前达到预期要求的强度。

混凝土浇筑前对模板提前按热工计算要求作好保温工作,混凝土浇筑完成后立即对混凝土表面进行保温。保温层材质和厚度严格按热工计算要求进行控制,对边棱、角部的保温厚度,增到大面部位的2~3 倍。

混凝土测温采用电子测温仪,从混凝土入模开始至混凝土达到受冻临界强度前

(4.0N/mm2),每隔2 小时测温一次,达到受冻临界强度以后每隔6 小时测温一次,当混凝土温度与大气温度接近时停止测温。混凝土早期强度采用成熟度法进行检验,以确定混凝土在受冻前是否达到临界强度。

冬期混凝土试块除了按照规定取样做标准养护试块外,还要留设600 度·天及两组冬施同条件养护试块,用于检查混凝土是否满足临界强度要求及冬施结束转入常温养护28 天的强度。同条件养护试块应放置在现场相应部位,要保证养护条件与施工现场结构养护条件相一致。

1.3.6 脚手架工程

冬施期间要随时清理脚手架上的积雪、杂物,一方面减少脚手架的雪荷载,另一方面避免出现人员滑倒事故。加强脚手架与结构间的拉接,提高脚手架抗风荷载的能力。冬期施工结束后及时检查脚手架基础是否稳定,避免由于土层解冻造成脚手架下沉。

1.3.7 钢结构工程

1. 构件的运输和存放

在构件进场前必须考虑编排安装工艺流程图,并严格按流程图进行安排堆放构件,尽量避免在现场二次或多次倒运,以免在倒运过程中损伤构件。多层构件堆放时,构件间垫块要注意用防滑材料。

2. 安装前的检查及准备

1) 钢结构安装前一定对构件进行复查,尽量把问题留在地面解决。

2) 凡是在制作、运输、装卸、堆放过程中产生构件变形、损伤、脱漆等缺陷,要在地面进行修理,矫正后,再实施吊装。

3) 冬期钢结构的安装工作应尽量减少高空作业。所以在起重设备能力允许的条件下,尽可能在地面组拼成扩大单元。为防止构件吊装过程中,扩大单元的局部受力过大产生变形,必要时进行验算,或采取临时加强措施。

4) 构件起吊前应清理场地冰、雪。

5) 负温下安装使用的机具、设备使用前应进行调试,必要时在低温下要经试运转,发现问题及时修整。对特殊要求的高强度螺栓、扳手、超声波探伤仪、测温计等,也要在低温下进行调试和标定。

6) 在冬期施工中,钢结构的制作和安装所用的钢尺、量具应采用土建单位使用的钢尺、

量具用同一精度级别鉴定。要制定土建结构和钢结构的不同验收标准,不同温度膨胀系数差值的调整措施。

3. 冬期施工焊条的选择:

1) 在负温度下施工钢结构工程,在满足设计要求的前提下,应选择屈服强度较低,冲击韧性较好的低氢型或钛钙型焊条。

2) 对于要求塑性、韧性、抗裂性较高的重要结构,可选用低氢型焊条,并宜用直流电焊机施焊。

3) 焊条选用时,原则上碳素结构钢选用碳素钢焊条,低合金结构钢选用合金钢焊条。当遇到两种强度等级不同的钢材需要焊接时,应按强度高的钢材选用焊条。

4) 当要求焊缝表面光滑美观,以及一些薄板结构焊接时,可选用钛型或钛钙型焊条。

5) 当结构焊接时,无法清除焊接部位的油、锈等脏物,且要求焊接熔深较大的结构,宜用氧化铁型焊条。

6) 负温度下构件组装定型后进行焊接应符合焊接规程。单条焊缝的两端应设置引弧板和息弧板。引弧板和息弧板的材料应和母材一致。并严禁在母材上引弧。

7) 在负温度下露天焊接大型接头时,宜搭设临时防护棚。雪花严禁飘落在炙热的焊缝上。

8) 在负温度下厚钢板焊接完成后,在焊缝两侧板厚的2~3 倍内,立即进行后热处理,

加热温度150~300°C,保持1~2 小时。焊缝完成后或后热处理完后,要采取保温措施,使焊缝缓慢冷却,冷却速度不大于10/min。

9) 焊条的保护和烘焙

(1) 焊条进场后,首先检查合格证。如满足要求则分类分牌号堆放。

(2) 堆放焊条的库房温度不低于15,温度不高于50

(3) 低氢碱性焊条使用前必须进行烘焙,在250~300的条件下烘焙1~2 小时。然后

放低温烘箱中保存,烘箱温度为80~100。使用时从烘箱中取出,随用随取。从烘箱中取出两小时后应重新烘焙。

(4) 焊条烘焙次数一般不宜超过3 次。

4. 负温下进行施焊,要进行负温下的焊接工艺评定,取得数据后方可施焊。

凡参加在负温下施工的电焊工,除了取得常温焊接资格合格证外,并需经过负温下焊接工艺培训。

5. 负温度下厚度大于9mm 的钢板分多层焊接,焊缝应由下往上逐次堆焊。每条焊缝应一次焊完,不得中断。当发生中断,再次施焊时,应先清除焊接缺陷,合格后方可按焊接工艺再次施焊。

钢结构在负温下进行安装时,要注意温度变化引起钢结构外形尺寸的偏差。特别是在正温下制作,在负温下安装时,要有调整偏差的措施。

6. 冬期探伤使用的耦合剂应使用油基耦合剂,不应使用水基耦合剂,以防受冻。

1.3.8 内装修工程

内装修施工阶段外檐幕墙已基本封闭,对外幕墙尚未完全封闭的部位,采取轻钢龙骨隔墙加以临时封闭。冬施期间内装修工程主要以干作业施工为主,在有条件的情况下进行少量的、必要的湿作业。冬施前将各出入口进行封闭保温,保证室内不出现较大气流,楼内各层楼梯间、电梯间出入口以及各种管道井检修口均安装临时门加以封闭。另外可利用建筑热风系统临时供暖,基本可以保证室内温度在5以上,从而保证内装修的质量。

另外如果届时业主和工程师不同意本投标人利用工程内部的热风系统作为采暖热源,本投标人将采用流水分段施工的方法,在施工的流水段根据空间大小,放置足够数量的电暖器作为热源,保证施工的流水段的局部环境温度,并维持一定的时间。内装修材料一般具有易挥发成分或有毒气体,冬施期间室内气体流动较少,为此本投标人将安排专人负责监督材料的存放和施工时的安全。项目经理部设置专人负责检查每日下班前的关窗、关门工作,防止作业面层夜间受冻、风吹。

施工现场的材料仓库配备一定数量的温度计,随时了解室内的温度变化,有效控制室内温度,并注意保持通风干燥。

1.3.9 机电安装工程

所有水压试验及冲水试验工序将避开冬季进行。如必须进行此项工作,将在试水前编制好技术方案和防冻措施,当试压和冲水完成后,要将设备、管道及容器内的积水彻底放净,为了防止冻坏设备、管道必要时用压缩空气吹净。

机房等重点部位在冬季施工时,门、窗必须进行封闭,充分作好防冻工作。

冬季施工使用的施工机械,必须制定冬季运行措施。

施工现场的漏电保护器,在上班前进行检查是否灵敏可靠,电气设备采用外皮接地一定要符合技术安全规程。

冬季敷设各种电缆时,要严格按照敷设温度要求进行,机电设备的电子元件、插件应按说明书的要求进行存放。

对露天作业的脚手架和电气暂设要经常进行检查,发现问题立即改进,遇有五级以上大风,禁止露天进行吊装、高空作业和焊接作业。

 

2雨期施工方案

2.1 雨施部署

2.1.1 根据北京地区的气候特点,每年约5 月上旬进入雨施,10 月中旬解除雨施,雨期施工以预防为主,强调提前做好生产部署,采用防雨措施和加强排水手段确保雨期正常的施工生产,不受季节性气候的影响,各级管理人员在工作安排上应充分考虑雨施影响,对不宜进行雨施的施工项目应尽量安排在雨施期以外施工。

2.1.2 现场总承包方成立以项目经理为负责人的雨期防汛领导小组,负责安排、管理、落实、检查各项雨施工作。各分包单位均成立各自的雨施管理小组,负责对各自施工项目的雨施管理工作。

2.1.3 总承包方及各分包单位在4 月15 日前编制有针对性的雨期施工方案并报监理单位审批,方案中明确具体的质量管理及安全管理措施。

2.2 雨施准备

2.2.1 技术准备

1. 凡进行雨期施工的施工项目,技术人员均要认真审核施工图纸,对不宜在雨期施工的工艺、做法及材料,应及时与设计单位研究解决。

2. 由技术部门组织雨施方案的技术交底工作,有问题及时解决,要做到各项技术保证措施的贯彻实施。

2.2.2 现场准备

1. 雨施前由安保部门组织相关人员进行一次现场全面检查工作,消除安全隐患,检查内容主要包括暂设防雨、边坡稳定、暂电线路的安全、机械设备的防雨设施、塔吊或外用电梯等高大设备的防雷接地、施工现场的排水情况、脚手架是否稳定、材料码放、临边洞口的封闭及现场照明等。

2. 做好施工人员的雨期施工培训及安全交底工作,对电工、架子工、电焊工、塔司等特殊工种要结合其工作的性质及特点进行有针对性的安全交底;对钢筋工、混凝土工等一般工作要强调雨施的技术要求及安全要求。

3. 雨期来临前应在施工现场及边坡四周提前做好挡水、排水措施,保证现场排水畅通、

不积水、不灌槽。运输道路全部进行硬化处理,并在道路两旁做排水沟,保证现场道路不滑、不陷、不积水。

4. 对地下部分窗井及各种通道、洞口,加以遮盖或封闭,防止雨水灌入。

2.3 材料准备

2.3.1 雨施前各种易受潮、生锈的材料应根据情况分别采取垫高、入库、苫盖等保护措施,并做好库房防火、防雨工作。

2.3.2 雨期施工前材料部门需认真组织有关人员分析雨施生产计划,根据雨施项目提前准备 雨期所需材料、设备和其他防汛用品,如水泵、抽水软管、塑料布、苫布等。

2.4 主要施工技术措施

2.4.1 土方、降水、支护及基础桩工程

土方及基础工程全部在雨期施工,而且受雨期的影响较大,本方案将充分考虑有关边坡稳定、现场排水、道路硬化、桩孔保护及混凝土成形的质量工作。

1. 基础桩工程

1) 基础桩施工的场地尽量提前做好硬化处理,为保证场地坚实可靠和必要的平整度,可对场地铺垫砂石或准备适量道木、路基箱等供垫道之用。场地一般应做成5的排水坡度,四周设排水沟、建立排水系统。

2) 基础桩施工中,为防止雨水灌入桩孔内,成孔后孔口应高出地面,并制作井盖加以覆盖,灌注桩应做到随成孔随安放钢筋笼随浇灌混凝土,空孔不得过夜。

3) 在下雨过程中,不得浇灌混凝土,如在浇灌工程中下雨,浇灌区应有遮盖措施,避免混凝土被雨水淋到。

4) 现场的各种机电设备、开关柜应有防雨保护设施,并定期进行检查,以防漏电伤人。

5) 钢筋加工场地做硬化处理,雨季中将钢筋加工场地设置雨防雨棚,以保护钢筋不受锈蚀。

6) 坑下作业的基坑边坡坡度应比正常边坡放宽一级,基坑深度超过6.0m 时中间视土质情况设置缓冲带,其带宽不小于500mm。

7) 混凝土在浇灌、振捣过程中不得被雨水冲刷,工作面应有遮盖措施。

8) 搅拌站和工地现场使用水泥应有雨季防护措施,不得被雨淋或被雨水浸泡。

9) 搅拌机棚内的机电设备,开关柜应有防雨保护设施,并定期进行检查,以防漏电伤人。

2. 降水井工程

1) 现场降水的机电设备应有防雨设施,且要有接地、接零安全装置,并定期检查,发现问题及时处理。

2) 打井前应先进行平整场地,满足打井、管线铺设及雨天排水需要,防止浸泡场地和设备。

3) 为了防止挖槽后雨水冲刷基坑边坡造成坍塌,影响排水功能,在设计井点管网时,对井点管距基坑槽边的距离进行了适当的加大。

4) 当降水设备位置低于自然地坪时,应做好防水及排水系统,以防积水浸泡损坏设备。

5) 当射流箱、水泵等位置低于自然地坪时,应做好防水及排水系统,以防积水浸泡损坏设备。

6) 加强对周围井口、渗水井、水管等渗漏现象的观察,发现问题应立即排除。

7) 确保施工工地的现在排水系统没有受到干扰,使得从高处流入工地的任何地面水均被截住并安全地排出工地之外。

3. 土方工程

1) 项目经理部应加强雨季施工的安全检查,发现槽内有积水,边坡有裂缝、坍塌隐患及有流水不断时,应立即与相关部门联系,采取加固措施,排除隐患,经检查认可后,方可施工,在此期间停止作业。

2) 施工现场建立排水系统,准备好排水器材和道路防滑、防陷的铺建材料以及排水使用的电源。

3) 土方挖到槽底,如遇有中到大雨时,雨后严禁上人,待凉槽后方可上人操作,并禁止扰动老土层。

4) 基坑分层挖土时,在汽车上下运输坡道处预备碎砖、炉渣等防滑、防陷材料,以备随时使用。

5) 基坑边坡支护,要根据土质及雨量适当加大放坡,下步施工时再做修坡处理。

6) 卸土场同样做好排水系统,且在堆存的过程中使土壤达到一定的密实度,避免陷车,以利连续生产。

7) 汽车在运土中应注意雨季行车特点,保证雨刷、灯光、制动设备完好;雨天行驶严禁滑行,汽车之间应保持一定距离;根据路面情况采取排档控制速度;不能急刹车,防止侧滑;通过积水道路,要避让行人和慢行车;夜间行驶要注意变换灯光,不要冒失行车,以防事故发生。

8) 施工现场机械行走路线,其表面应有横向排水坡度,表面可铺垫碎砖、砂石等防滑材料,必要时可加高、加固路基。机械沿槽边行驶,与槽边尽量保持为槽深1 倍的安全距离。

9) 现场准备适量的明排水器材,以便及时排除大暴雨后流进基坑的积水。

10) 不得在可能造成塌土而危害公众或财产安全的地方堆土。

11) 采用的施工方法应尽量减小工地上裸露土壤的面积,在完成土方工程之后应紧接着进行表面保护和排水工程。

12) 如果不能避免形成临时性的裸露土地表面,应当用护板保护这些表面,而且护板要牢牢固定以防风吹。如果临时性表面要裸露超过两星期,应敷上临时性石灰胶泥并敷设临时性胶泥周边排水道。

13) 监视天气预报以警惕大雨,并在持久下雨期间经常检查现场以确保所有开挖和填筑斜坡在雨水下是安全的。

4. 边坡支护工程

1) 对已经施工的基坑边坡支护结构,在雨季应每天进行位移的监测并组织检查,并加密监测频率,认真检查基坑四周边坡土体稳定情况,确保周边原建筑物或构造物的安全稳定。

2) 基坑周围砌筑挡水墙,要求高出地面30cm,采用页岩砖砌筑,外抹水泥砂浆,避免地面水流入基坑,冲刷边坡。基坑内做排水沟及集水井,装设水泵,专人值班负责抽水,保证排水畅通。

3) 基坑下部设置排水沟,排水沟距坡脚200mm,深度为200mm,宽度为200mm。

4) 构件堆放场地保持平整密实,下部首层垫木放宽厚一些,以防雨后地面下沉,损坏构件。

5) 施工现场各类机械每天班后、公休、节假日应停放在较高的安全地带且距基坑边坡较远的安全位置,避开高压线,以防水淹、塌方倾翻、雷击、触电等损坏机械。

6) 使用的水泥应入库存放,或临时垫高码跺并上搭防雨棚,不得水浸和雨淋。

7) 砂浆(水泥浆)搅拌器上方要有简易防雨棚,防止搅拌时突降暴雨影响水灰比。

8) 雨后及时测试砂、石材料含水量,调整混凝土用水量,保证配合比。

9) 现场机电设备应有防雨设施,机电设备要有接地、接零安全装置,并定期检查,发现问题及时处理。

10) 土钉墙施工面设排水系统避免积水,以便雨后能迅速复工。

11) 土钉墙及锚杆施工,保证成孔一根,灌注一根,不得集中一起灌注;遇大雨时及时对刚完成的土钉墙边坡进行防护、苫盖,防止雨水冲刷边坡,对局部冲刷的边坡及时进行补喷。

12) 为了考虑降水对基坑的影响,在基坑支护结构的设计过程中提高了基坑的安全系数。

13) 施工现场道路应平坦、坚实,路面铺防雨防滑材料,基坑的下坑坡道应坚实平坦,根据土质情况表面适当铺设200mm 防水防滑材料。

14) 现场施工测量仪器,测量时用伞遮挡,防止暴晒或雨淋,用完后及时装箱放在室内通风、干燥处保存。

15) 使用的水泥应入库或垫高码跺,上搭防雨棚不得水浸和雨淋。

16) 砂浆(水泥浆)搅拌器上方要有简易防雨棚,防止搅拌时突降暴雨进入池中影响水灰比。

17) 雨后及时测试砂、石材料含水量,调整混凝土用水量,保证配合比和坍落度。

2.4.2 钢筋工程

钢筋分批进场,尽量减少钢筋在现场的堆放时间。钢筋堆放场地进行硬化并适当垫高,防止钢筋被锈蚀和污染,雨天对钢筋原材和加工半成品覆盖塑料布等防雨材料。直螺纹钢筋接头加工完后必须带保护帽,接头现场对接时方可取下。锈蚀的钢筋必须经除锈处理后并经有关人员检查合格后方可使用。

2.4.3 模板工程

模板堆放场地应平整、坚实、排水畅通,模板拆下后如果场地允许应尽量平放在平台上,如果场地不允许,平板模板放置在牢固的插放架内,以免变形。本工程选用的模板包括钢模板、多层板,其中钢模板易生锈、多层板易变形,均应尽量避免长时间受潮。模板面的脱模剂如被雨水冲刷,在使用前应重新涂刷。

2.4.4 混凝土工程

雨期施工阶段搅拌站应根据骨料含水率随时调整配合比。

及时掌握天气预报,混凝土施工应尽量避免在雨天进行。大雨和暴雨天不得浇筑混凝土。混凝土的入模温度不得超过32,搅拌站及现场必须采取有效措施控制混凝土入模温度,例如采取预先冷却搅拌用水、运输及浇筑过程中加强遮阳等措施。

浇筑混凝土遇到小雨时,应采取必要的保护措施,如对地泵的进料口进行遮挡、浇筑混凝土时分区域进行,浇筑完一个区域随抹随覆盖;雨大时,应停止浇筑,并按规范留茬处理。已入模正进行振捣成型的混凝土遇雨应立即苫盖。

混凝土浇筑完终凝后浇水养护,但应依据雨期施工的特点及时进行调整,如未终凝混凝土遇雨应进行覆盖,等终凝后可取消覆盖,雨停后仍应进行正常养护。

在混凝土养护期间,混凝土内部的最高温度必须维持在75以下,而在混凝土内任何两点的温度差值不能超过25,施工人员需根据测温数据随时调整混凝土的养护方法,避免内外温差过大。

2.4.5 脚手架工程

雨期前对所有脚手架进行全面检查,脚手架立杆底座必须牢固,并加扫地杆,同时保证排水良好,避免积水浸泡。所有马道、斜梯均应钉防滑条。

使用过程中应定期检查,防止扣件松动并保证防护网、挡脚板、脚手板的牢固,发现隐患立即停止使用并进行维修。

2.4.6 钢结构工程

按规范要求做好焊条的烘培和保管工作。

雨天和空气湿度大于85%的天气停止焊接和涂层作业。

进行防腐及防火涂料操作时,当气温高于40时要停止作业,防止构件温度过高油漆在钢材表面产生气泡,降低漆膜的附着力;

塔式起重机在吊装前要严格检查机械性能,机械零配件、钢丝绳、吊钩等是否符合操作规程要求。

履带吊车站车位置、吊装位置,应无障碍物,行车路线范围内的土壤要求夯实,雨天后的松土范围内严禁站车,如需要站车必须加设垫板。

2.4.7 内、外装修工程

内、外装修施工时屋面板已基本安装完成,工作面基本不会直接受到雨淋,施工过程中主要注意各种原材料在运输、存放过程中的防雨防潮。定时、定期对现场材料码放、屋顶空洞封堵、外门窗情况等进行检查,在大雨大风天气前后集中对上述地点进行检查。

1. 墙面乳胶漆

墙面涂料施工选在天气晴朗的时间施工,基层腻子选用防潮、耐水、强度较高的腻,基层施工后待含水率不大于10%时进行涂料施工。底层涂料施工待完全干透后,再刷面层涂料,防止产生涂料咬底现象。施工时加强施工场所的通风。

2. 油漆工程

油漆工程施工时尽量选在选在天气晴朗的时间,如必须阴雨天气操作,要控制室内空气湿度和木基层湿度不大于12%,以避免泛白。如果产生泛白现象,可待泛白的漆膜干燥后,用干布揩去表面水分,再刷涂第二遍硝基清漆,刷涂最后一道硝基清漆时,可加入15%乙酸丁酯,可防止产生泛白现象。

3. 面瓷砖工程

墙地面瓷砖雨期施工时注意砂子含水率及时调整砂浆掺水率。墙面砖放置在避雨的房间内,上墙前泡水湿润。

4. 石膏板吊顶工程

施工板吊顶前,上层楼板及屋面板不得有漏雨现象,吊顶用石膏板必须干燥,防止生霉。

5. 隔断墙工程

隔断墙施工前,需考虑施工中饰面石膏板由于不同季节温度变化的影响,做好现场深化设计,必要时预留温度变形缝。饰面石膏板必须干燥。

2.4.8 机电工程

现场所有用电设备,闸箱、输电线路进行安装时均考虑防雨、防潮措施,并符合用电安全

规则,保证雨期安全用电。对其它精密仪表要加强防护,避免损坏,影响精度。

对于保温风管要加盖帆布,对敷设电缆及导线两端用绝缘防水胶布缠绕密封,防止进水影

响其绝缘性,对仪表要用塑料袋覆盖并扎紧下部。

氧气、乙炔瓶不能放在太阳下曝晒,应有妥善的保护措施。

施工机具要有防雨罩或置于棚内,电气设备要绝缘良好,雨季到来前,对电气设备及线路认真检查和摇测。

在黑暗潮湿场所作业时,使用的照明用电其工作电压应为12 伏,使用手持电动工具,必须穿绝缘鞋、带绝缘手套,脚下必须垫好干燥木板或绝缘胶皮,以防触电。

现场使用的电焊机及大型电动机具,必须垫起,置于室外时,必须有可靠的防雨措施。

电动工具必须有漏电开关,动作灵活可靠,符合规定动作电流、接地、接零保护系统良好。

 

 

第2章第二册

第1节施工总工期控制及保证措施

按照招标文件要求,本工程计划竣工时间为2008-1-15,本投标人根据自身实力、参照以往重点工程施工经验,自定竣工时间为2007-09-30,将提前107 天交付建设单位。

本篇依此部署列出了总进度计划及节点控制计划。并阐述了为保证进度,在资源投入、组织管理、生产调度、技术措施等方面将实施的措施。

 

1、工期控制

1总工期

按照招标文件要求,本工程计划竣工时间为2008-1-15,本投标人自定竣工时间为2007-09-30,总工期930 日历天,将竣工时间提前107 天。

 

2节点工期

主要节点工期如下:

序号

项目名称

工期()

最早开始时间

最迟完成时间

1

施工准备

30

2005-03-15

2005-04-13

2

土方、桩基础及底板

191

2005-03-25

2005-10-01

3

地下结构

71

2005-08-22

2005-10-31

4

地下外墙防水及回填土

49

2005-10-15

2005-12-02

5

主体结构

311

2005-10-15

2006-08-21

6

钢结构工程

387

2005-11-04

2006-11-26

7

外墙、屋面网架工程

213

2006-09-12

2007-04-12

8

外装修工程

404

2006-04-21

2007-05-29

9

内装修工程

489

2006-01-30

2007-06-02

10

指定分包工程

534

2006-01-30

2007-07-17

11

各系统综合调试、试运行

90

2007-06-03

2007-08-31

12

资料整理、竣工验收

30

2007-12-16

2007-09-30

具体进度计划安排详见附篇附录十二:施工进度计划、施工网络计划。

 

2、保证措施

1计划工期管理方法

1.1 进度计划的管理和控制

1.1.1 进度计划管理

以工程总控计划为依据,制定分阶段工期控制目标,即土方、桩基础及底板完成时间、土建结构完成时间、外装修完成时间、室内装修和全部管线安装完工时间等控制点(见工程施工进度计划和网络计划),通过控制分段计划来确保总工期。根据总控计划、分段计划以及业主不同时期对工程工期的要求,适时制定更加详细的月度计划、周计划,每周检查、对比、分析,找出关键问题,当月计划必须当月完成。

本工程施工进度计划包括设计、采购、建造、安装、试运行、移交等内容。整个工程的施工进度计划由四级计划形成,各计划的编制均以上一级计划为依据,逐级展开。四级施工进度计划通过总进度计划、六个月滚动计划、月计划和周计划的形式来体现。

1. 总进度计划:以合同要求的工期和合同中规定的工作内容为依据编制的总控制计划,是为施工总决策人提供的一个概要性计划。这个计划由以下因素确定:

开工前的准备工作;开工日期的确定;合同中规定的工程内容;以里程碑形式确定各分包商在全部施工过程中各阶段的控制点。

2. 六个月滚动计划:该计划是承包商进行计划管理的主要进度计划。是施工监督、管理报告(内部)和按照规定向业主提交每季施工进度报告的基础。其内容是对总进度计划的适当细化。

3. 月计划:是总承包商作为当月工程施工的主要计划。该计划包括以下内容:

设计进度;现场进度;试运行进度。

这些计划要体现出机械设备使用状况、必要的临时工作、各项工程内容工作的持续时间和施工顺序以及各分包商之间交叉配合的安排。

4. 周计划:是详细的阶段进度计划,依据三级计划编制。是实现总进度计划工期目标的根本保证,该进度计划将被总承包商紧密地监控,最后将提供逐日密集管理计划表。

1.1.2 进度计划的动态控制

施工进度计划的控制是一个循序渐进的动态控制过程。施工现场的条件和情况千百万化,项目经理部要及时掌握与施工进度有关的各种信息,不断将实际进度与计划进度比较,一旦发现进度拖后,要分析原因,并系统分析对后续工作会产生的影响,在此基础上指定调整措施,以保证项目最终按预定目标实现。

1. 按施工阶段分解,突出控制节点

以关键线路为线索,以网络计划起止里程碑为控制点,在不同施工阶段确定重点控制对象,指定施工细则,保证控制节点的实现。

2. 按单位分解,明确分部目标

以总进度为依据,明确各个单位的目标,通过合同责任书落实分包责任,以分头实现各自的分部目标来确保总目标的实现。

3. 按专业工种分解,确定交接时间

在不同专业和不同工种的任务之间,进行综合平衡,并强调相互间的衔接配合,确定相互交接的日期,强化工期的严肃性,保证工程进度不在本工序造成延误。通过对各道工序完成的质量与时间的控制,达到保证各分部工程进度的实现。

4. 按总进度计划的时间要求,将施工总进度计划分解为季度、月度和旬度、周进度计划。1.2 计划对比及纠偏措施

施工计划的对比,主要是将计划期内实际完成情况与计划指标进行比较,找出差异。本工程计划对比的主要内容是:计划期实际完成及累计完成的工程量、工作量占计划指标的百分率;计划期实际参施人员、机械设备数量及生产效率等内容,以及计划期发生的对施工进度有重要影响的特殊事项及原因。计划对比的方法将采用网络计划技术法。因本工程施工进度控制计划是采用网络技术,利用目前国内较先进的专用工程施工网络计划程序(本投标人使用的该程序具有计算机动态管理功能)进行编制的,因此,采取在网络计划图上画前锋线的方法进行计划对比是最实用、最快捷的方法。具体流程如下:

 

2工期保证措施

2.1 保证工期的技术措施

2.1.1 先进施工技术、施工方法的应用

1. 地基基础施工阶段:为保证工程如期完工,在人力、物力保障充足的前提下,先进的技术方案、合理的施工组织也是重要因素之一。为此,本投标人针对本工程特点,制定如下措施:

1) 由于建筑物基础桩工程量大,考虑到场区内地下水较为丰富;因此,进场后首先进行降水井施工,待降水施工出工作面后,然后进行基础桩施工尽量使基础桩施工提前插入。

2) 土方挖运分为工作区和中心区:工作区为土钉墙施工区,需土方分层配合施工;中心区可大面积开挖,基本不受其他工序影响,可充分发挥机械性能,是保障出土量的基本点。

2. 墙柱模板采用定型钢模板。梁、楼板、墙体根据饰面要求和等级,采用多层板。模板支撑体系采用模板早拆体系,装拆快捷,工效高,可加快模板周转速度。

3. 钢筋直径22 的钢筋连接采用直螺纹套筒接头,接头等级为级;其余钢筋采用绑扎搭接。

4. 本工程将应用本投标人成熟的计算机综合管理技术,对工程的网络计划编制、生产统计、劳动力、工程质量、技术资料及文档等进行管理。在钢筋优化下料、模板及脚手架等方面应用施工技术和工艺控制软件,提高管理和施工水平。

2.1.2 方案先行,样板引路是本投标人施工管理的特色

本工程将按照方案编制计划,根据本工程的特点、难点编制有针对性的、具有现场指导意义的施工组织设计、施工方案和技术交底。各种方案的内容力求详细、实用,并配以图表,做到图文并茂,生动、形象,调动操作层学习施工方案的积极性,从而实现在管理层和操作层对施工工艺、质量标准的熟悉和掌握,使工程施工有条不紊的按期保质地完成。

同时,为了本投标人的施工进度安排和施工次序少受影响,本投标人在主体结构工程、装修工程开始施工前,将严格按照招标文件及业主的要求,在现场合适的位置进行样板和样板间的施工,解决设计、工艺及施工配合中存在的问题,为全面展开施工作好充分的准备。

2.1.3 合理部署,科学组织

本工程地下结构分为3 个大施工区、地上结构阶段划分2 个大施工区,每区划分若干施工流水段,在区内组织流水施工,在确保施工总体目标的前提下,尽量减少施工投入。关键项目优先安排施工,机电设备安装和装修装饰施工量大且复杂,是制约工期的重要因素。

当主体结构施工达到计划部位时,将及时插入二次结构、钢结构、外檐幕墙及机电管线安装,特别是重要机房的二次结构及装修装饰施工,为尽早进行机电设备的安装创造条件。

2.1.4 根据进度加强现场平面布置管理

本投标人将根据地下结构、地上结构、装修等不同阶段的施工特点和需求设计现场平面布置图,平面图涉及现场循环道路、各阶段大型机械、各阶段材料堆场等方面的布置。各阶段的现场平面布置图和物资采购、设备订货、资源配备等辅助计划相配合,对现场进行宏观调控,在施工紧张的情况下,保持现场秩序井然,以保证施工顺利进行。

2.2 保证工期的管理措施

2.2.1 建立以工程经理部项目经理为主的工期保证体系

组织强有力的项目班子,把本工程作为所承包工程中的重中之重,配齐各专业经验丰富的项目管理人员,加强对项目的协调管理。要求相关职能部门参与计划的编制并集中深入讨论,以明确施工目标及为达到施工目标应做的工作;组织各分包商开计划动员会,明确各分包商施工任务及为完成施工任务应做的工作,要求分包商负责人在讨论通过的计划上签字,以使总包的计划变成所有参施单位的共同目标。

总包要求各分包商接受任务后,要对所有参施人员进行教育,并把施工目标层层分解到班组及个人,从而把施工计划变成全体职工的行动。

本工程将编制周密的施工综合进度计划和季度、月生产计划,均衡组织生产,每天安排两班以上作业,严格执行生产计划。以月度生产计划来保证季度生产计划的完成,以季度生产计划来保证综合进度计划的完成;工程经理部根据月度生产计划的要求,制定分项工程的旬作业计划,用旬作业计划来保证完成月度生产计划。各层进度计划环环相扣,确保工期目标的实现。

2.2.2 增强总包意识,加强分包管理

立足于总承商的地位,以合约为控制手段,以总控计划为准绳,调动各分包商的积极性,发挥综合协调管理的优势,确保各项目标的实现。对每一个分包项目,指派专人负责与分包单位之间的配合,及时通报整体施工安排,及时协调施工中与其他单位的配合,监督其质量、进度和现场文明施工。

2.2.3 签订风险承包责任状

以工期、质量为主要考核项目,上至工程经理部,下至各施工班组,层层签订、落实,有奖有罚,调动各方面的积极性,组织开展以优质、高速施工为目的的劳动竞赛。对于不按期完成施工任务,且工作拖沓松懈的分包进行处罚,对施工严重滞后的分包要给予通报批评或在通报批评的同时采取相应的处罚措施。

2.2.4 建立例会制

本工程分包单位较多,为使总包与分包、分包与分包间尽快熟悉及了解情况,及时反馈相关信息,每周召开由总包单位组织的生产协调例会,会议由总承包生产经理领导主持。各分包单位生产负责人及计划员参加,并通知业主或监理。会议主要解决施工中出现的进度、质量、文明施工等问题,检查计划执行情况,提出存在问题,分析原因,研讨对策,同时总承包认真听取分包单位的意见,对分包单位进行充分协调、管理、化解矛盾,为下一步生产工作提前做好准备,以确保工期控制目标。

2.2.5 加强施工材料、大型施工机械的组织调配

根据施工综合进度计划,制定材料采购和供应计划,及时组织各种及半成品的加工订货,

保证材料设备按时进场,确保施工的需要。尽早与业主确定主要机电设备及指定供应项目的供货单位、供货时间,制定相关的机电设备和指定供应项目分工范围明确责任单,并按施工进度计划安排按期保质保量供货到场。

2.2.6 定期进行工程进度分析

每月召开生产调度会进行工程进度分析,其主要内容有:计划指标完成情况,是否影响工期目标,劳动力和机械设备投入是否按计划进行,能否满足施工进度需要,材料及设备供应是否按计划进行,有无停工待料现象,试验和检验是否及时进行,检测资料是否及时签认,施工进度款是否按期支付,建设资金是否落实,施工图的发放、工程量的增减。通过工程进度分析,总结经验,找出原因,制订措施,协调各生产要素,及时解决各种生产障碍,落实施工准备,创造施工条件,确保施工进度的顺利进行。

2.2.7 与业主及监理单位密切配合

本投标人充分尊重业主、监理单位的意见,并与业主、监理人员一道为本工程做出各自的贡献。本投标人将定期向业主、监理发送承包工程进度简报和施工部署安排,及时沟通与各协作单位的工作关系。积极配合业主、设计单位的工作,对业主、设计单位所提出的问题积极出主意想办法,克服外部条件不足对工期的影响。

2.3 专业施工保证

本投标人具有很强的机电及钢结构综合安装能力和丰富的安装经验。近年完成了许多类似的大型公共建筑项目的机电安装任务和智能化大厦施工、改造的工程,大型钢结构的施工、安装。同时,本投标人还是拥有装饰设计及装饰施工相关资质的企业,完成过大量的大型高档装饰工程。

 

3周转材料及设备配备的保证措施

3.1 大型施工机械设备的选用:

为保证承诺的工期,使施工顺利进行,本投标人选用了适合本工程的、先进的施工机械设备,并结合本工程的特点优化布置。

3.1.1 塔吊的选择与部署:

为满足施工水平及垂直运输需要,现场共布设3 台塔吊,坑内部署2 台固定式塔吊C7050,臂长70m,坑外部署1 H3/36B,臂长60m。(详见附篇附录十一施工平面布置图)

3.1.2 混凝土机械设备的选择:

场内混凝土的运输采用混凝土运输罐车和混凝土浇筑输送泵为主、汽车式混凝土输送泵进行配合。±0 以下结构施工时固定混凝土泵共需5 台,±0 以上结构施工时固定混凝土泵共需4 台。

3.1.3 装修机械的选择:

装修和水电安装垂直运输采用外用双笼电梯和提升架,酒店施工区部署2 部外用电梯,剧场施工区部署1 部外用电梯,数字影院施工区部署1 部外用电梯。

3.1.4 主要施工机械进出场计划:

序号

机械或设备名称

型号规格

数量()

额定功率(KW

用于施工部位

进场时间~出场时间

1

正循环钻

门式

3

23.5

降水井成孔

2005-03-25 2005-05-16

2

地质钻

SH-50

3

自渗井成孔

2005-03-24 2005-03-31

3

正循环钻

门式

3

23.5

降水井成孔

2005-03-24 2005-05-16

4

旋挖钻机

R-622H

4

10

基础桩施工

2005-04-29 2005-06-10

5

汽车吊

16t

4

基础桩施工

2005-04-29 2005-06-10

6

履带吊

20t

2

基础桩施工

2005-04-29 2005-06-10

7

注浆泵

3SNSA

36

基础桩施工

2005-04-29 2005-06-10

8

液浆搅拌机

YJ-340

基础桩施工

2005-04-29 2005-06-10

9

履带或步履桩机

 

4

基础桩施工

2005-04-29 2005-06-10

10

长螺旋钻孔机

 

46

基础桩施工

2005-04-29 2005-06-10

11

装载机

 

1

基础桩施工

2005-04-29 2005-06-10

12

挖土机

日立EX300-3 卡特330B

4 5

--

土方施工

2005-03-24 2005-07-15

13

加长臂挖土机

 

1

土方施工

2005-07-05 2005-07-15

14

推土机

D-85

2

土方施工

2005-03-24 2005-07-05

15

洒水车

 

23

洒水车

土方施工

2005-03-24 2005-07-15

16

塔式起重机

H3/36BSP (60m)

1

160

基础结构施工垂直和水平运输

2005-05-04 2006-05-07

 

序号

机械或设备名称

型号规格

数量()

额定功率(KW

用于施工部位

进场时间~出场时间

17

塔式起重机

C7050

2

160

基础结构施工垂直和水平运输

2005-06-01 2007-01-05

18

汽车式起重机

QY25

1

钢结构安装

随工程进度

19

履带式起重机

CC1800

1

-

钢结构安装

随工程进度

20

混凝土泵

HBT80.8.112 RZ

6

112(柴油)

基础结构混凝土输送

2005-06-15 2006-08-21

21

建筑施工外用电梯

SCD200/200G

4

11

装修施工垂直运输

2006-03-19 2007-03-20

22

混凝布料机

HG17

3

11

基础结构混凝土布料

2005-06-30 2006-08-21

23

振捣棒

HZ-50

40

1.1

基础结构混凝土振捣

2005-06-30 2006-08-21

24

平板式振捣器

ZB11

4

1.1

楼板振捣

2005-06-30 2006-08-21

25

钢筋调直切断机

GT4/14

3

7

基础结构钢筋的调直和切断

2005-06-30 2006-08-21

26

钢筋切断机

GJ40

6

7

基础结构钢筋加工

2005-06-30 2006-08-21

27

钢筋弯钩机

WJ40

6

6

基础结构钢筋加工

22005-06-30 2006-08-21

28

滚轧直螺纹套丝机

TS-40

12

7.5

钢筋连接

2005-06-30 2006-08-21

29

无齿锯

MTG3040A

9

1.1

钢筋切断

2005-06-30 2006-08-21

30

电焊机

BX3-300-2

9

23.4

基础结构施工

2005-06-30 2006-08-21

31

蛙式夯土机

HW60

6

2

肥槽回填

2005-10-20 2005-12-02

32

空压机

VV-0.6

3

2.5

模内清理

2005-07-15 2006-08-21

33

电锯

MJ-114

6

2.25

模板加工

2005-05-15 2006-08-21

34

手提电锯

STDJ-116

9

1

模板加工

2005-05-15 2006-08-21

35

电刨

MIB2-80/1

6

2.25

模板加工

2005-05-15 2006-08-21

36

消防给水泵

150D-30x5

2

90

消防专用

2005-03-24 2007-06-03

37

施工给水泵

50GDL18-15

2

12

施工专用

2005-03-24 2007-06-03

38

砂轮切割机

GJ3-400

10

2.2

机电安装

2006-02-16 2007-06-03

 

序号

机械或设备名称

型号规格

数量()

额定功率(KW

用于施工部位

进场时间~出场时间

39

交流电焊机

BX1-300

9

24

机电安装

2006-02-16 2007-06-03

40

气焊工具

 

12

-

机电安装

2006-02-16 2007-06-03

41

液压弯管器

φ20-φ32

3

1.5

机电安装

2006-02-16 2007-06-03

42

弯管机

WYQ27-108

1

1.5

机电安装

2006-02-16 2007-06-03

43

电动套丝机

CN-100B

3

1.5

机电安装

2006-02-16 2007-06-03

3.2 周转材料的供应

根据施工综合进度计划,制定周转材料采购和供应计划,及时组织各种周转材料的加工订货,保证周转材料按时进场,确保施工的需要。合理规划施工场地和作业面,优化周转材料堆场,减少二次搬运和垂直运输。场外加工的周转材料要做到尺寸准确,按图编号。

 

4各种资源的组织协调保证措施

如果中标,本投标人将授予项目经理调动下属各单位的人力、物资、机械的权力,以保证本工程的建设。

本投标人除具备强有力的对项目实施和管理进行服务和控制外,还具有门类齐全、实力强大的专业化公司所形成的施工保障能力,可充分利用各专业化公司的各种优势资源,同时具备整装和组合社会优势资源的经验和能力。

本投标人具有良好的资信、资金状况和履约能力,被授予重合同、守信誉单位,企业具有AAA 级信用等级。具备丰富的工程项目策划、管理、组织、协调、实施和控制的经验和水平。

本投标人拥有各种门类齐全、性能先进的施工机械设备、检验试验设备、测量设备,完成能满足大型复杂工程的施工需要。如工程上需用个别特殊的机械、测量、检验试验设备,本投标人将组合社会资源进行必要的补充。

 

5劳动力保证措施

选择信誉好、素质高的劳务队伍

施工队伍的素质是保证施工进度和质量的关键因素。本投标人通过长期对劳务分包单位的筛选、优化,形成了相对稳定的劳务分包来源,经过长期的配合,本投标人对其施工质量、管理水平、技术力量、劳动力水平等方面均比较熟悉,劳务施工队伍对本投标人的管理方式、技术质量要求(尤其是长城杯、鲁班奖工程的要求)、工作流程也已熟知,这种默契的配合关系可以保证本投标人对工程的所有要求得到及时、迅速的执行。

对于本工程,本投标人将在具有长城杯、鲁班奖工程施工经验的、整建制管理的劳务施工队伍中,选择几支最强的队伍以满足本工程的施工需要,这也是本工程施工总体目标得以保证的重要措施之一。

 

第2节质量保证体系及措施

本篇主要响应招标文件对质量保证体系及措施的有关要求,针对本工程施工难度大,

质量目标高的特点,在工程施工过程中,本投标人将实施全面的工程质量管理,通过建立完善的组织机构和质量目标体系、执行可靠的质量控制流程、采取有针对性的质量保证措施、履行严格的质量验收程序,以及主动的、动态的、全方位的控制,达到质量、投资、进度之间的完美结合,实现工程的总体质量目标。

 

1、质量保证体系

1质量管理体系图

本工程是一项世界瞩目的大型工程,从施工难度、工期要求等方面对建筑业都具有挑战意义,为此本投标人将组建一个强有力的项目经理部领导班子,并按照ISO9000 系列质量管理体系标准,建立质量保证体系。

 

2质量管理岗位(部门)职责

岗位层次

岗位(部门)名称

质量职责

管理层

项目经理

1. 遵守国家和北京市政府关于工程建设和城市建设管理的政策和

法规,在本投标人的授权下,全面负责工程实施,满足业主要求。

2. 严格履行工程总承包合同,确保服务质量和本项目质量目标的

实现。

3. 确定总承包项目管理组织机构,全面组织项目经理部开展工作。

4. 领导编制工程各阶段的质量目标计划,建立健全各项质量管理

制度。

5. 指导管理层各领导的相关工作;评价管理层人员及部门经理的

工作。

6. 负责提出内部的人员任免、调配要求,进行部门协调工作。

7. 做好与业主、监理公司、设计单位的协调工作,与业主保持经

常接触,随时解决施工过程中出现的各种问题,多替业主排忧解

难,确保业主的利益,负责对业主、监理单位的工作汇报。

8. 针对本工程的质量方针,执行GB/T 190012000 质量管理体系

标准,主持编制本项目的质量计划。

9. 组织和领导工程创优工作。

10. 负责工程的竣工交验工作。

管理层

总工程师

1. 负责本项目技术、质量、安全管理的工作,执行国家、地方的

相关规范、规程及有关法规。主管深化设计部、技术部和质量安

全部的工作。

2. 执行GB/T 190012000 质量管理体系标准,主持本项目质量计

划的实施,主持本项目的创优工作。

3. 主持施工组织设计和重大技术方案的编制,负责施工组织设计

及重大施工技术方案的审批工作;参与分包商选择,负责分包商

技术方案的审核工作。

4. 负责在图纸、技术做法等方面与业主、设计、监理的协调工作。

5. 组织分部工程质量评定,按规定组织过程检验,参加最终检验。6. 定期召开质量例会,提出纠正预防措施,及时向有关单位反馈

各种质量信息。

7. 督促检查各部门管理人员、操作人员做好生产过程中的各种原

始记录,保证资料的完整性、准确性和可追溯性。

8. 负责项目经理部质量记录及各种技术资料的管理工作。

9. 负责机电和土建的技术协调工作。

10. 负责现场安全的总体协调工作。

11. 负责组织项目经理部新材料、新工艺、新技术的推广应用和科

技成果的总结工作和人员培训工作。

12. 负责组织竣工资料的整理和竣工图的编制工作。

管理层

项目副经理

1. 协助项目经理处理项目机构的日常工作。落实项目组织机构和人员配制及相应职责。负责计划协调部、工程部、机电部、行政部的管理工作。

2. 组织土建、机电的各项生产工作,并对工程的过程质量负责。

3. 负责工程正常施工的各项手续的落实情况,保证工程施工的正常环境。

4. 负责项目经理部的信息化建设和对外联络工作。

管理层

总经济师

1. 根据工程进度牵头制定分包方案,报批后实施。

2. 负责同业主、监理公司联络,及时处理商务争议,保证沟通渠道畅通无阻。

3. 负责物资采购分供方的审批、加工定货合同的审批工作。

4. 组织编制材料、设备供应计划,并组织实施。

5. 领导项目的经营预决算工作及日常的成本核算,审核、追讨索赔等工作。

6. 统筹项目内所有分包商工作表现的评估工作。

7. 对施工中涉及质量的有关方案进行成本评估,确保创优措施经济可行。

执行层

深化设计部

1. 负责设计图纸管理,全面对应设计单位的各项工作。

2. 对设计图纸进行全面审核,配合设计单位进行设计变更。

3. 组织各专业分包商(包括指定分包商)进行专业与结构间、专业之间的图纸会审。

4. 设计图纸的深化,局部大样、放详图、专业综合图的绘制。

5. 汇总、整理、绘制设计优化方案图,与业主和设计单位研究可行性。

6. 配合施工方案的编制工作;配合成熟新技术的实施。

7. 管理设计变更图,绘制竣工图纸。

执行层

技术部

1. 为项目实施技术管理的执行部门。

2. 编制施工组织总设计,组织编制分项施工方案,对其他专业分包施组及方案进行审核。

3. 负责材料设备的选型和审核、测量控制网布点、高程、坐标复核、交接、审核、保护。

4. 严格按照《北京市建筑工程资料管理规程》要求负责整个项目

施工技术资料的编制、收集、整理,并装订成册,提供业主方竣工资料。

5. 负责本工程设计文件、施工图纸的领取、发放等管理工作,并建立台帐。

6. 督促和检查各分包施工单位整理各类施工及竣工的工程技术资料,并负责整理、汇编本工程实施过程中的各类技术资料和其他各类工程档案文件资料。

7. 编制适用于本工程的技术质量管理规定和控制标准。

8. 协助业主方完成有关招标的准备工作。

9. 负责工程计量监督管理和测量管理工作。

10. 审查各专业分包施工单位编制的施工方案、报表、备忘录等,检查各专业分包施工单位的各项施工准备工作。

执行层

质量安全部

1. 负责本项目质量管理体系的认证管理工作。

2. 负责工程质量的监控管理,编制工程的质量计划与创优规划,确保达到质量目标。

3. 检查工程施工质量,定期向业主、监理和本投标人总部提供质量月报(重大工程质量问题及时专题报告),组织好各项中间验收。

4. 按照现行规范、设计文件(施工图等)及有关技术要求,督促和检查专业分包施工单位严格按照上述要求进行施工,抓好设备与原材料质量、半成品质量、施工质量。

5. 查明质量事故原因和责任,提出质量事故处理意见,并督促和检查事故处理方案的实施。

6. 组织工程竣工初步验收,参加工程竣工验收。

7. 负责分包队伍的进场教育工作。

执行层

成本合约部

1. 负责工程概预算编制工作,负责分项工程成本控制工作。

2. 负责经济变更的审核工作。

3. 负责施工项目分包计划的制定并参与实施,建立分包商档案,定期考核,负责对分包商的合同管理及日常进度款审核工作,负责工料分析,制定材料计划,参与材料采购谈判,负责施工直接成本管理。

4. 参与组织总承包合同的贯彻落实,负责与各分包商签订总分包合同,并进行动态管理。

5. 汇总各分包商有关工程变更、索赔,按有关约定,编制增减概算和索赔文件,统一报送业主。

6. 组织业主方授权招标项目的招标工作。

7. 与技术部、质量安全部等部门合作做好有关招标文件的编制工作。

执行层

物流采购部

1. 按进度要求组织自供材料设备的询价、采购、供货及现场物料管理工作,保证现场物资存放按照有关规定实施,并确保采购物资的质量。

2. 负责项目物资采购计划、进场计划和统计工作,与技术部配合

做好试验计划。

3. 负责编制项目物资领用管理制度和日常管理工作。

4. 参与质量计划的编制。

5. 负责物资开箱验收、进出库管理和仓储管理;负责验收所有进场物资的数量、质量,协助技术部做好相关技术资料的收集整理工作。

6. 负责进口物资的检验、报关业务。

7. 及时准确地为质量部门提供呈报业主和监理工程师审批的各类材料样品。

执行层

计划协调部

1. 负责制定总体进度计划、阶段性控制计划、月进度计划,并保证计划的合理,为监理验收预留必要的时间。

2. 制定专业插入计划。

3. 监督各项计划的落实情况,对完成情况进行分析及计划的调整。

4. 审批各分包商的具体进度执行计划。

5. 负责对各分承包商及各专业进行计划协调,组织进度专题会议,提出阶段性进度完成报告。

执行层

工程部

1. 负责土建工程的现场施工组织与管理,并对过程质量负责。

2. 负责土建与各专业的施工配合与协调。

3. 负责各项施工进度计划的落实与控制。

4. 负责土建施工机具与现场临时设施的管理。

执行层

机电部

1. 统筹所有机电项目的协调施工及土建配合协调工作。

2. 就机电材料设备协助成本合约部进行招标工作。

3. 参与绘制综合图、编制链接方案边界方案、施工准备计划。

4. 就机电工程协助计划协调部完成计划统计工作。

 

 

1. 统筹所有机电项目的协调施工及土建配合协调工作。

2. 就机电材料设备协助成本合约部进行招标工作。

3. 参与绘制综合图、编制链接方案边界方案、施工准备计划。

4. 就机电工程协助计划协调部完成计划统计工作。

执行层

交付与保驾中心( 在施工后

期建立)

1. 制定项目交付工作计划。

2. 组织和检查各部门和各专业组的项目交付的准备工作。

3. 与专业设备安装单位进行沟通和协调。

4. 组织进行项目交接和资料交接。

5. 确定保全期的组织体系和保全期工作流程。

6. 制定试运行及保驾方案,进行人、机准备。

 

3质量目标和目标分解

3.1 工程质量目标

实现招标文件要求:

质量标准:合格

质量奖项:北京市结构长城杯金质奖和北京市建筑长城杯金质奖

争创:中国建筑工程鲁班奖。

3.2 工程分部、分项质量目标分解

在工程开工前,将工程涉及的各分项工程进行目标分解,把总目标转化为一个个明确的、

具体的、科学化的、系统化的分项目标,确定各级部门和人员的质量责任,开展全面的目标管理。施工中加强过程控制,做到周密部署、精心施工,通过具体分项目标的实现,最终实现工程质量总目标。

3.3 各施工阶段质量目标

工程验收/创优阶段 质量等级 验收/检查时间

工程验收/创优阶段

质量等级

验收/检查时间

地下混凝土结构验收

合格,一次验收通过

地下结构完成30 天后验收

主体结构15 层以下验收

合格,一次验收通过

15 层以下混凝土结构完成30 天后验收

主体结构16 层以上验收

合格,一次验收通过

16 层以上混凝土结构完成30 天后验收

竣工验收

合格,一次验收通过

工程竣工15 日内验收

主体结构工程质量创优

北京市结构长城杯金质奖

结构长城杯分阶段评审

竣工质量创优

北京市建筑长城杯金质奖、

中国建筑工程鲁班奖

竣工后评审

3.4 结构长城杯金质奖分项目标

根据《北京市建筑长城杯工程评审管理办法》(京建质[2002]649 )、《北京市建筑结构长城杯工程质量评审标准》(DBJT01-69-2003)的规定,为保证本工程获得结构长城杯,特制定初评各分项目标如下:

初评检查项目

评价等级

施工项目管理

模板工程

钢筋工程

混凝土工程

工程资料

五项目综合评价

3.5 建筑长城杯金质奖分项目标

根据《北京市建筑长城杯工程评审管理办法》(京建质[2002]649 ) 、《北京市建筑长城杯工程质量评审标准》(DBJT01-70-2003)的规定,为保证本工程获得建筑长城杯金质奖,本工程各初评检查项目质量目标见下表:

 

 

 

 

 

初评检查项目

评价等级

施工项目管理

土建工程(含结构、防水、装修工程等)

建筑电气安装工程

建筑设备安装工程

工程资料

五项目综合评价

3.6 工程创鲁班奖质量目标设计

鲁班奖工程是国优工程,工程代表的质量水平是国内一流水平,因此必须采用高标准。现行的《建筑工程施工质量验收统一标准》(GB50300-2001)只有一个合格等级,没有优良等级。

该标准是通用标准,是任何工程达到合格必须达到的必备条件。鲁班奖工程必须达到用户非常满意的要求,其质量必须高于采用国家标准、行业标准和地方标准的质量,所以鲁班奖工程标准也必须高于《北京市建筑结构长城杯工程质量评审标准》(DBJ/T01-69-2003)和《北京市建筑长城杯工程质量评审标准》(DBJ/T01-70-2003)

为了保证该工程创鲁班奖目标的实现,根据工程的特点,结合《建筑工程施工质量验收统一标准》(GB50300-2001)、《北京市建筑结构长城杯工程质量评审标准》(DBJT01-69-2003)和《北京市建筑长城杯工程质量评审标准》(DBJT01-70-2003)以及本企业标准,本投标人将编制《**电视台新址TVCC 鲁班奖质量验收标准》,在各分部、分项工程施工过程中,将必须满足该验收标准,并且合格率达到100%。

 

4质量管理原则

本工程质量控制坚持以下原则:

4.1 百年大计、质量第一:质量控制是本工程管理工作的重中之重。

4.2 以顾客为关注焦点:满足顾客要求并争取超越顾客期望。

4.3 以人为本:调动人的积极性、创造性,增强人的责任感,强化质量第一的观念,加强培训,提高专业水平,避免人为失误,以人的工作质量带动工序质量进而提高工程质量。

4.4 质量预控:在项目管理中,事先完善各种方案和措施,用人、机、料、法、环图纸、方案各方面条件的完善来保证质量。

4.5 过程精品:过程精品质量管理是多年来建筑施工企业质量管理的精髓,是多项鲁班奖工程和国家优质工程的科学总结。一项工程质量目标的实现,是大量的检验批、分项和分部工程质量目标实现后的综合结果,对本项目整体而言,将按照实施的不同阶段和各专业的不同特点,对质量目标进行分解,制定相应的措施,抓过程、保结果,以抓过程精品管理来保证各分解目标的实现。

4.6 数据控制:在质量控制过程中,建立一套质量检测数据库,通过计算机数据分析系统,对工程质量状况实行量化管理。

4.7 全面质量管理原则:通过全方位和全寿命的质量管理,确保质量目标的实现。

4.8 持续改进原则:通过全体参加人员的共同努力以及PDCA 循环,即:计划实施检查处置的循环模式,通过项目管理水平的持续上升,实现最终质量目标。

4.7 国际化、标准化:在工程施工的各个层面全面采用ISO 质量保证体系、全面履行本工程施工合同,保证管理工作和工序实施的标准化、程序化。

 

5工程质量管理流程

本工程质量管理遵循全寿命工程质量管理原则:方案报审物资进场检验批质量验收分项工程质量验收子分部工程质量验收分部工程质量验收单位工程质量验收工程质量保修。流程如下:

5.1 施工质量管理总流程

施工质量管理总流程

施工质量管理流程

 

 

 

 

 

 

 

 

 

 

 

 

5.2 方案报审流程

 

 

 

 

 

 

 

 

 

 

 

 

 

 

 

 

 

 

 

 

 

 

 

 

 

 

方案报审流程图

5.3 物资进场验收流程

 

 

 

 

 

 

 

 

 

 

 

 

 

 

 

 

 

物资进场验收流程图

 

 

 

 

 

 

 

 

 

 

 

 

 

 

 

 

 

5.4 检验批质量验收流程

 

 

 

 

 

 

 

 

 

 

 

 

 

 

 

 

 

 

 

检验批质量验收流程图

5.5 分项工程质量验收流程

 

分项工程质量验收流程图

5.6 子分部工程质量验收流程

 

 

 

子分部工程质量验收流程图

 

 

 

 

 

 

 

 

 

 

 

 

 

5.7 分部工程质量验收流程

 

 

 

 

 

 

 

 

 

 

 

 

 

 

 

 

 

 

 

 

 

 

 

 

 

 

 

 

 

 

 

分部工程质量验收流程

 

 

 

 

 

 

 

 

 

 

5.8 单位工程质量验收流程

单位工程质量验收流程图

5.9 工程质量保修流程

 

 

 

 

 

 

 

 

 

 

 

 

 

 

 

 

 

 

 

 

 

 

 

 

 

 

 

 

 

 

 

工程质量保修流程

 

2、质量控制与策划

1质量控制

1.1 质量控制总体思路

1.1.1 本工程质量控制按照2000 GB/T19000 族标准和本投标人企业内部质量管理体系的要求进行。

1.1.2 项目质量控制坚持质量第一,预防为主的方针和计划、执行、检查、处理PDCA 循环工作方法,不断改进过程控制。

1.1.3 本工程质量控制遵循满足国家和地方标准以及发包人要求的原则。

1.1.4 质量控制坚持样板制,施工过程中坚持自检、互检(交接检)和专检,检验批未经检验,严禁转入下一工序施工。

1.1.5 项目经理部建立项目质量责任制和考核评价方法,项目经理对工程质量控制负责,过程质量控制由每一道工序和岗位的责任人员负责。

1.1.6 每一个检验批均应由监理工程师检验和认可。

1.1.7 本投标人对项目质量和质量保修工作对业主负责,分包工程质量由分包人向本投标人负责,本投标人对分包人的工程质量承担连带责任。

1.1.8 分包人必须接受本投标人的管理。

1.1.9 质量控制的流程如下:

1. 确定项目质量目标。

2. 编制项目质量计划。

3. 实施项目质量计划。

1) 施工准备阶段的质量控制。

2) 施工阶段的质量控制。

3) 竣工验收阶段的质量控制。

1.2 质量计划

1.2.1 质量计划的编制职责

由于本工程的特殊性,本工程的质量计划的策划和编制由本投标人本部总工程师主持,项目经理部总工程师负责质量计划的编制、报批、修改和实施的具体组织工作,并就质量计划的具体实施情况向项目经理汇报工作。

质量计划编制前由项目总工程师组织经理部各部室以及本投标人本部各处室召开策划研讨会,结合工程合同质量目标,对工程质量计划的编制提出有针对性的意见和建议,对已经明确的分包单位,可邀其参加讨论,项目经理部总工程师根据策划研讨会会议纪要组织质量计划的编制。

1.2.2 质量计划编制应遵循的原则

质量计划作为对外保证工程质量和对内质量控制的依据,将体现工序、检验批、分项工程、分部工程到单位工程的过程控制,体现从资源投入到工程质量最终检验和试验的全过程控制,并遵循以下原则:

1. 明确与合同要求相一致的质量目标;

2. 分清质量职责、明确管理流程;

3. 确定关键和特殊过程,并有相应切实可行保证工程质量的措施;

4. 明确与施工阶段有关的检验、试验、测量和验证要求。

1.2.3 质量计划的内容及具体编制要求

质量计划包含以下几个方面的内容:

1. 编制依据

2. 项目概况

3. 工程质量目标

4. 质量管理组织机构及职责

5. 与质量管理工作有关的流程

明确施工技术资料管理流程(由谁编制、报审、流转、整理等)、施工测量记录管理流程(由谁施测、填单、报验等)、施工物资资料管理流程(由谁收集合格证、试验资料、形成进场检验记录、报验等)、检验批资料管理流程(由谁组织过程控制、质量检查、形成资料、报验等)、施工记录管理流程、施工试验管理流程、物资采购流程、分包选择流程等。

6. 检验、试验计划

检验、试验计划作为质量计划的重要组成部分,也可另行编制成册,作为质量计划的附件(主要方便项目经理部向监理报验《试验计划》,以便监理制定《有见证取样和送检计划》)。

《试验计划》的有关要求见北京市《建筑工程资料管理规程》。检验计划根据施工测量、工程物资进场检验、各种施工记录(包含隐检、预检和其它各种施工记录)、施工质量验收等的情况进行制定。

7. 施工过程中分部、分项工程的确认

此部分内容要对工程整个施工过程中的主要分部和分项工程进行分析,同时确认是关键过程/特殊过程,还是一般过程,以及相关的文件和标准。

8. 质量管理手段和措施(创优规划)

明确施工中坚持的各种管理制度和手段以及各分项和子分部工程实施中需要采取的措施(如钢筋工程、模板工程、混凝土工程、钢结构安装、钢结构焊接、防水工程、门窗工程、板块楼地面、饰面板墙面、吊顶、幕墙、软包、装饰细部以及水电安装等)。

9. 产品实现过程及主责人

确定产品的实现过程和每个过程的主责人及相关人,并列出为控制过程所需要的文件清单。根据GB/T19001-2000《质量管理体系》要求标准将管理过程确定为7 个总过程及28 个第二层次过程,结合项目经理部工作范围,以本投标人程序文件为划分依据,确定工程产品实现过程及主责人。

1.3 施工准备阶段的质量控制

1.3.1 本工程施工合同签定后,项目经理部总工程师将按合同要求向业主索要相关图纸和技术资料,由专人管理并公布有效文件清单。

1.3.2 技术部根据设计文件和设计交底以及业主提供的规划放线资料对工程定位依据和高程依据进行复测,发现问题及时与设计、业主和相关方汇报和沟通。

1.3.3 项目经理部总工程师主持图纸会审,并按专业形成图纸会审记录,报业主以便设计做好设计交底准备。

1.3.4 项目经理部项目经理根据质量计划中对工程分包和物资采购的规定,评价并选择分包人和供应商,并由专人保存评价记录。

1.3.5 由项目经理部项目副经理和总工程师组织对全体施工人员进行质量知识(规范、规程、标准、图纸、合同等)的培训,培训完毕进行考核,由专人保存培训和考核记录。

1.3.6 由项目经理部项目副经理主持设备、计划、预算等管理人员召开生产计划准备会,做好各种施工准备工作。

1.4 施工阶段的质量控制

1.4.1 技术交底控制

1. 单位工程、分部工程和分项工程开工前,由项目经理部总工程师负责向承担施工的负责人以及分包人进行书面技术交底,技术交底资料办理签字手续后归档。

2. 在施工过程中,由项目经理部总工程师负责对发包人或监理工程师提出的有关施工方案、技术措施及设计变更的要求,在实施前向实施人员进行书面技术交底。

1.4.2 工程测量控制

1. 工程施工前编制工程测量方案,经总工程师批准后方可实施,测量记录归档保存。

2. 工程施工过程中,对测量桩、点、线进行妥善保护,严禁擅自移动。

3. 工程测量设备定期检验,未经检定、检定不合格或过期的设备应办理封存手续,经检定合格后方可启封。

1.4.3 材料的质量控制

1. 所有物资的采购应在本投标人合格材料供应人名单中按计划采购材料、成品和构配件。

2. 材料的搬运和贮存应按搬运和贮存规定进行,并建立台帐。

3. 物流采购部对材料、半成品、构配件进行标识,未经检验和已经检验为不合格的材料、半成品、构配件和工程设备等,不得投入使用。

4. 对发包人提供的材料、半成品、构配件、工程设备等必须按照合同规定进行检验和验收。

5. 材料的验证按照合同规定由设计、监理、分包、供应商等共同参与。

1.4.4 机械设备的质量控制

1. 严格按照设备的进场计划进行施工设备的调配。

2. 进场的机械设备各项性能应满足工程需要。

3. 对机械设备操作人员的资格进行审查和确认,无证和资格不合格者,严禁上岗。

1.4.5 计量管理

计量人员应按照规定控制计量器具的使用、保管、维修和检验,各类计量器具的准确度应满足国家规定。

1.4.6 工序控制

1. 施工作业人员应按照有关规定经考核后持证上岗。

2. 施工管理人员和操作人员应按照操作规程、作业指导书和技术交底进行施工。

3. 工序的检验和试验应符合工程检验和试验的规定,对查出的质量问题应按照不合格控制程序及时处置。

4. 施工管理人员应记录工序施工情况,并保存施工日志。

1.4.7 特殊过程控制

1. 对在质量计划中界定的特殊过程,应设置工序质量控制点进行控制。

2. 对特殊过程的控制,除应执行一般过程控制的规定外,还应由专业负责人编制专门的作业指导书,经项目总工程师审批后执行。

1.4.8 工程变更应严格执行工程变更程序,经有关单位批准后方可实施。

1.4.9 成品和半成品应采取有效措施妥善保护。

1.5 竣工验收阶段的质量控制

1.5.1 单位工程竣工前,由项目经理部总工程师组织编制竣工资料,并做好移交准备。

1.5.2 由项目经理部总工程师组织有关专业人员按最终检验和试验规定,根据合同的要求进行全面的验证。

1.5.3 对于查出的质量缺陷,应按照不合格控制程序进行处理。

1.5.4 在最终检验和试验合格后,应对工程采取防护措施。

1.5.6 工程移交后,项目经理部应编制符合文明施工要求和环保要求的撤场计划。

1.6 质量的持续改进

1.6.1 项目经理部定期召开质量分析会,分析和评价项目管理现状,识别质量持续改进区域,确定改进目标,实施选定的解决办法。

1.6.2 质量持续改进将按照全面质量管理的方法进行。

1.6.3 项目经理部对不合格控制遵循以下规定:

1. 按照不合格控制程序,控制不合格物资进入项目施工现场,严禁不合格工序未经处置而转入下道工序。

2. 对验证中发现的不合格产品和过程,应按规定进行鉴定、标识、记录、评价、隔离、处置。

3. 对不合格进行评审。

4. 不合格处置应根据不合格严重程度,按返工、返修,让步接收,降级使用,拒收或报废四种情况处理。

5. 对返修或返工后的产品,应按照规定进行重新检验和试验,并保存记录。

6. 检验人员必须按规定保存不合格控制记录。

1.6.4 纠正措施应符合以下规定:

1. 对发包人、监理工程师、设计人、质量监督部门提出的质量问题,应分析原因,制定纠正措施。

2. 对已经发生或潜在的不合格信息,应分析并记录结果。

3. 对检查发现的工程质量问题或不合格报告提及的问题,应由项目经理部总工程师组织有关人员判定不合格程度,制定纠正措施。

4. 对严重不合格或重大质量事故,必须实施纠正措施。

5. 实施纠正措施的结果应由总工程师验证并记录,对严重不合格的纠正措施和实施效果应验证,并报企业管理层。

1.6.5 预防措施应符合以下规定:

1. 项目经理部应定期召开质量分析会,对影响工程质量的潜在原因,采取预防措施。

2. 对可能出现的不合格,应制定防止再发生的措施并组织实施。

3. 对质量通病应采取预防措施。

4. 对潜在的严重不合格,应实施预防措施控制程序。

5. 项目经理部将定期分析预防措施的有效性。

1.7 检查、验证

由项目经理部总工程师对质量计划的执行情况组织检查,通过内部审核和考核评价,验证实施效果。由项目经理部经理依据考核中出现的质量问题、缺陷或不合格,召开有关人员参见的质量分析会,并制定整改措施。

 

2关键过程和特殊过程质量策划

2.1 关键过程和特殊过程的确认

关键过程是指该项目对工程的安全和使用功能以及工程的观感质量有重大影响的项目。特殊过程是指该施工过程或工序施工质量不易或不能通过其后的检验和试验而得到充分的验证,或者万一发生质量事故则难以挽救的施工对象。

序号

分部工程

关键过程/特殊过程

1

地基与基础

排桩、降水、锚杆、土钉墙

后压浆混凝土灌注桩

防水混凝土、卷材防水层、金属板防水层、细部构造

模板、体积混凝土、后浇带混凝土、混凝土结构缝处理

劲钢焊接、劲钢与钢筋的连接、劲钢混凝土

钢结构制作、钢结构安装

2

主体结构

模板、混凝土

劲钢制作、安装、劲钢混凝土

钢结构焊接、紧固件连接、钢网架结构安装

网架制作、网架安装、网架防火涂料

3

建筑装饰装修

板块地面:砖面层、大理石面层和花岗岩面层

木竹地面:实木复合地板面层、中密度(强化)复合地板面层。

金属门窗安装、塑料门窗安装、特种门安装

暗龙骨吊顶、明龙骨吊顶饰面板安装、饰面板粘贴

玻璃幕墙、金属幕墙、石材幕墙

裱糊、软包

护栏和扶手制作与安装,花饰制作与安装

4

 

建筑屋面

卷材防水层,细部构造

金属瓦屋面,细部构造

5

建筑给水、排水及采暖

卫生洁具及未端设备的安装及成品保护

管道嵌墙处的施工

铜管施工工艺

不锈钢管施工工艺

卫生洁具及未端设备的安装及成品保护

6

建筑电气

防雷接地系统施工与测试

变压器的吊装和安装

竖向电缆的敷设

系统调试

7

智能建筑

机房工程

 

 

系统调试

8

通风与空调

竖井内管道安装

蒸汽锅炉安装

各种设备及管道的成品保护

系统调试

9

电梯

电梯测井放线

导轨安装

10

消防

固定气体灭火装置安装

消防系统调试

2.2 关键过程/特殊过程质量控制原则

2.2.1 对关键过程和特殊过程进行重点策划,施工前制定详细的作业指导书,经总工程师审批后实施。

2.2.2 由于关键过程和特殊过程的控制难度较大,在制定作业指导书前,由总工程师组织深化设计部、技术部、质量安全部、机电部和专业分包的有关专业人员进行策划研讨,分析影响质量的原因,以便采取主动的、预防性的控制措施。

2.2.3 关键过程和特殊过程实施前,按照样板引路的原则,在工程的合理部位设置样板段或样板间,通过样板,检验工艺方法、检验管理措施、检验实施效果。

2.2.4 每一个关键过程和特殊过程实施前,按照工艺的合理要求,设置工序质量控制点,每到达一个控制点,由专职质量检查员按照验收标准进行检查和验收,合格后通知监理工程师,凡未经检验的工序一律不准越过质量控制点。

 

3质量创优策划

3.1 工程质量创优目标

争创:中国建筑工程鲁班奖。

3.2 工程质量创优的组织体系

 

 

 

 

 

 

 

 

 

 

 

 

工程质量创优组织体系

 

 

3.3 质量管理保证措施和制度

3.3.1 质量保证措施

1. 成立以项目经理为首的项目质保体系,明确各个部门的职责权限和各个环节的质量控制措施。在施工过程中树立质量管理人员的权威性,使质量保证体系能够正常、有序运行。

2. 全员质量意识培训:增强全体员工的质量意识是创过程精品的首要措施,项目部将组织人员到外单位的创优项目学习观摩,将各项好的经验,有效作法引入本项目管理中。每周进行质量讲评,真正做到学规范、练队伍、造人才、立规矩、撒种子、创信誉,使每个员工和外施队管理人员都能提高施工管理水平,努力消除质量通病。

3. 加强质量预控和质量策划,工程正式施工之前从施工组织设计、专项方案到技术交底,都结合本工程的实际情况,提出有针对性的措施、要求。

4. 重点控制工艺设计,加强过程控制,制定详细的《检验和试验计划》,明确进货、过程及最终检验和试验的控制要点。

5. 加强对劳务层的选择和管理工作,使用整建制队伍,加强对劳务队伍的教育培训。

6. 在施工过程中,本投标人坚持方案先行,样板引路的原则,对操作方法、质量要求及成品保护等关键环节进行控制,按照方案做出样板段。在大面积施工中,严格按样板段所确定的标准进行施工,保证施工质量。

7. 经理部根据工程特点制定各项成品保护措施,每个检验批完成后及时落实,避免造成不必要的返修和浪费。

8. 在工程质量管理方面,保持和业主、监理进行经常性的质量信息沟通,通过各方面信息的反馈达到工程质量的提高。

3.3.2 质量管理制度

坚持本投标人长期贯彻行之有效的系列管理制度,为实现质量目标提供制度和组织保证。

1. 审核分供方管理体系

开工前,分供方上报其管理体系和人员组成,总包项目部部门以上负责人和专项负责人共同审核分供方管理体系,对其管理体系中存在的漏洞提出修改意见,责令其修改。对分供方中的管理人员由部门负责人和专项负责人进行考察,经过一段时间的考察,专项负责人有权要求分供方更换其中不满足管理要求的人员。

2. 三检制

三检制:即自检、互检、专检。总包方要求分供方在管理体系中建立三检制。自检:每道工序完成后,由分供方工长组织作业层进行自检并填写自检记录,符合要求后送分供方专职质量检查员进行复核。互检:分供方工长组织同工种的几个外施队班组之间进行互相观摩评比,通过互检在外施队之间形成质量竞争局面。

专检:分供方专职质量检查员负责,严格按照长城杯标准对自检记录进行复核,确定实物质量达到了要求后方可报总包方专项负责人进行验收。

通过在分供方中建立三检制度,使分供方确实对自己的产品进行第一次检查;使分供方质检员能做到对自己负责,对产品质量负责,对总包方负责;使每一道工序都有人严格把关,及时发现问题,及时解决问题,同时提高一次验收合格率。

3. 质量奖罚制

作为对三检制的支持,项目部将制定质量奖罚制度。专项负责人在日常工作中有权对分供方进行奖励与处罚。奖励在质量管理中责任心强、管理水平高的个人,对总包验收一次不合格,以及重复出现质量问题、质量通病的施工班组、施工队伍进行处罚。质量奖罚制使分包方作业班组、个人和管理人员人人争当先进,努力提高个人水平,有效的提高产品质量。

4. 质量例会制度

每周项目部召开质量例会,项目部部门以上负责人、专项负责人和分供方负责人参加。会上宣读本周的奖罚事件,并对本周的产品质量进行总结,提出须改进的部位,共同商议改进措施。

5. 施工方案讨论策划和技术交底制

在方案策划和各分项工程技术交底时均由各专项负责人组织、召集分供方工长召开专题会议,共同商讨施工方法,确定施工工艺,明确质量控制要点,学习质量标准。分项工程施工前由专项负责人负责向施工班组做技术交底,明确操作工艺和控制要点。

6. 首段施工样板制

施工中严格执行首段施工样板制,将每个分项工程的第一个流水段作为施工样板,对其严格控制,验收后通知各作业班组学习,使作业人员明确质量标准,保证工序的良好开端。

7. 重要工序申请制

对于混凝土浇筑、竖向结构合模、模板拆除、保温解除等重要工序实行申请制度。混凝土浇筑,竖向结构合模前须由专项负责人和机电部门在申请单上汇签后方可向监理申报;模板拆除须由专项负责人根据同条件试块试压报告结果,签发模板拆除申请;保温拆除由专项负责人根据成熟度计算和临界强度试块试压报告签发解除保温申请。

3.4 专项质量保证措施

3.4.1 地下防水工程

施工中对防水混凝土的密实、卷材基层处理、基层含水率、附加层施工和节点做法、卷材铺贴质量、成品保护等进行控制。

基层的平整度是防水卷材施工的关键环节,为此本投标人在浇筑混凝土后先用刮杠刮平两次,再用铁抹子压平,保证基层的平整度。在基层含水率符合要求后,对基层进行彻底清扫,保证了卷材与基层的粘结效果。

本投标人将节点做法和附加层施工作为一道专门工序进行控制:阴阳角圆弧由专项工长指挥专人进行抹灰处理,质量员对上述部位进行100%验收;附加层施工严格按交底施工,并严格进行三检

3.4.2 钢筋工程

1. 材料采购

钢筋及钢套筒等材料采购,严格对分供方进行考核和评价,选择质量稳定、信誉好的分供方;材料质量在满足有关国家标准的基础上,还满足GB50204-2002《混凝土结构工程施工质量验收规范》关于抗震结构的力学性能要求。在采购钢筋前须取得本投标人材料部门对供应来源的批准,所有购买钢筋的原厂材质证明必须齐全。

2. 钢筋加工

钢筋加工及施工时将根据设计要求和有关规范编制《钢筋工程施工方案》,明确钢筋后台加工、现场钢筋接头、保护层、垫块等具体做法和相关的质量控制方法。所有加工严格按钢筋翻详图纸执行。加工后的钢筋须经质检人员抽样检查,检查应包括:

钢筋规格、尺寸、钢筋是否平直、无局部曲折、钢筋的弯钩角度、平直长度,以及加工尺寸误差是否满足北京市结构长城杯标准中有关钢筋加工允许偏差的规定。钢筋加工检查合格后方可进入现场施工作业面绑扎。

3. 钢筋工程质量控制措施

1) 严把钢筋进场关。凡是进场的钢筋原材均按试验规定抽样进行复试,复试结果必须经监理审查批准。

2) 严把审图关。派有经验的技术人员进行审图和钢筋翻样工作。对梁柱接头、钢骨梁柱节点等钢筋过密区域进行放样,提前采取措施。

3) 坚持钢筋绑扎结构创优七不准五不验原则七不准原则:

(1) 混凝土接槎未清到露出石子,不准绑扎钢筋;

(2) 钢筋污染未清净,不准绑扎钢筋;

(3) 放线工未弹线,不准绑扎钢筋;

(4) 未检查钢筋定位情况,不准绑扎钢筋;

(5) 偏位钢筋未按16 进行矫正,不准绑扎钢筋;

(6) 未检查钢筋接头错开长度或接头位置不符合要求,不准绑扎钢筋;

(7) 未检查钢筋接头质量合格前,不准绑扎钢筋;

五不验原则:

钢筋绑扎未完成不验收;

钢筋定位措施不到位不验收;

钢筋保护层垫块不合格、达不到要求不验收;

钢筋纠偏不合格不验收;

钢筋绑扎未严格按技术交底施工不验收。

4) 控制钢筋下料成型。为保证下料和成型尺寸准确,现场技术人员要亲自到加工现场进行交底,并派专人在加工现场负责监督检查钢筋的加工成型质量,同时加工好的钢筋还要再次经过严格筛选,有效地控制下料成型质量。

5) 作为定位措施使用的各种支撑钢筋的加工:钢筋端头一律采用无齿锯切割,不得有飞边、毛刺,外露钢筋端头刷防锈漆。

6) 竖向梯格筋:根据水平筋间距制作竖向梯格筋,设置间距1.2m,以保证钢筋的横平竖直以及墙体截面尺寸和保护层厚度,竖向梯格筋可代替竖向钢筋,但要比设计直径大一规格。

层高在4.2 米以下时竖向梯格筋在上、中、下设置三个支撑端头,层高每增高1 米增设一个支撑,端头用无齿锯切割,并涂刷防锈漆;竖向梯格筋加工后,按墙体厚度分规格码放,并挂牌标识。

7) 水平梯格筋:根据图纸设计的立筋间距,加工水平梯格筋,固定于墙体顶部,用于控制立筋间距,在墙体及顶板浇筑混凝土前检查水平梯格筋位置,避免虚设。

水平梯格筋

8) 根据柱主筋的规格和间距设置内定位箍筋框,控制钢筋位移。

定位箍筋框

9) 箍筋加工要求:加工标准挂牌于现场,加工前有详细的翻样,分别明示于各自加工的钢筋前。 箍筋端头应弯成135 度弯钩,其平直段相互平行,长短一致,且平直段长度满足10d5mm。箍筋悬挂于钢管上,利于检查。

箍筋平直段检查

10) 钢筋绑扎采用样板引路和挂牌制。钢筋绑扎技术交底(详细具体的数字)直接悬挂在操作面,用于指导施工并利于检查。

11) 钢筋绑扎时绑扎结向里,将尾丝压向内侧,墙体、柱四角钢筋用兜扣。水平挂线,竖向吊线,控制水平和垂直度。

12) 墙体钢筋接头绑扎时,在搭接长度内采用三点绑扎,和其他钢筋交叉绑扎时,不得省去三点绑扎,且在搭接长度范围内必须绑扎三根水平筋。

13) 控制钢筋保护层的垫块采用定型塑料垫块,垫块梅花状布置,间距不大于600 ㎜。控制垫块的验收和绑扎,特别是加强梁底层钢筋保护层垫块的控制工作。在技术交底中进一步明确垫块的绑扎位置。垫块使用前必须经过认真挑选,分规格存放,做好标识,注明规格及使用部位。绑扎时要逐一检查,确保绑扎牢固。

14) 墙、柱模板上口设置与钢筋保护层等宽的通长角钢或钢筋架,控制钢筋位置。(用螺栓可调节,以利于模板多次周转使用)

15) 用皮数杆控制柱箍筋的位置和间距,并作为绑扎固定检查验收的依据。

皮数杆控制柱箍筋的间距

16) 门窗洞口支模时,设置固定门口模板的定位筋,且定位筋焊在附加的U 型铁上,不得焊在受力筋上,而U 型铁应绑扎在主筋上。

17) 钢筋翻样考虑水电、设备等预留洞的位置,尽量不切断钢筋,电盒焊在附加的钢筋上,安装牢固,不得焊在主筋上,且附加钢筋不得焊在受力筋上,而应绑扎在主筋上。

18) 板筋上铁铺放在专用马凳上,马凳采用钢筋直径应确保承受荷载不变形,间距不大于1000 ㎜,马凳位于上下铁之间。

马凳

19) 起步筋绑扎:竖向筋应距柱或墙边50 ㎜处绑扎,水平筋距板面上50 ㎜处绑扎。

20) 加工后的直螺纹锥头应用专用模具检查,直螺纹接头连接后应用力矩扳子检查,合格后做好标识。

直螺纹锥头应用专用模具检查

21) 墙、柱竖筋在浇筑混凝土前套好塑料管保护或用彩布条、塑料条包裹严密,并且在混凝土浇筑时,及时用布或棉丝沾水将被污染的钢筋擦净。

竖筋用塑料条包裹

22) 锚固、接头长度要用尺检验,满足设计及规范要求。

23) 坚持两次放线。楼板模板完后进行一次放线,板钢筋绑扎完成后再进行第二次放线,准确无误后方可浇筑梁板混凝土。

楼板模板放线

24) 楼板施工缝位置钢筋定位,用卡茬木方放在两皮钢筋之间和下铁钢筋保护层处,并用钢筋马凳支撑。

25) 钢筋绑扎成型后,不准踩踏,尤其是负筋部位;浇筑混凝土时搭设操作马道。振捣棒不准触动钢筋,并设专人随时校正钢筋位置。

26) 混凝土浇筑完毕后,派专人负责及时调整钢筋的位置,纠正浇筑混凝土所产生的钢筋位移,用湿布及时清理粘在钢筋上的砂浆。

4. 钢筋工程安装允许偏差及检查方法

项目

允许偏差(MM)

检查方法

结构长城杯标准

绑扎骨架

宽、高

±5

尺量

±10

受力主筋

间距

±10

尺量

排距

±5

弯起点位置

±15

箍筋间距

±10

尺量,连接5个间距

保护导厚度

基础

±5

 

柱、梁

±3

板、墙

±3

插筋

中心线位移

5

尺量

梁板受力钢筋搭接、锚固长度

搭接

10、-5

尺量

锚固

±5

 

3.4.3 模板工程

本工程混凝土观感质量预控目标为清水混凝土,模板分项工程则是关键保证项目之一,模板分项工程包括模板的设计制作、安装、拆除。模板分项工程施工前,应根据工程实际设计制作材质、尺寸适合的模板,并按材料进场计划安排进场,进场前应对模板质量进行验收,合格方可进场使用。模板工程将采用如下方法进行控制,保证其施工质量:

1. 本工程所有模板产品均采用《北京市建筑结构长城杯质量评审标准》(DBJ/T01-69-2003)的要求作为产品的检验标准。

2. 对于本工程所采用的各种不同种类的模板或支撑系统,技术均已非常成熟,在国内外工程已得以推广运用。产品进场后严格质量检验,确保质量。

3. 工程施工前期,精心设计,认真加工,对每个单项模板工程做方案,有措施、有计算,严格按照本工程的要求和特殊性设计、制作和质量监控,全面保证工程质量。

4. 为确保混凝土质量,在多层板模板施工时要特别注意以下几点:

1) 多层板厚度:15 12mm,其中12mm 用于顶板模板,15mm 用于墙体。

2) 多层板墙体模板竖楞间距250mm,模板龙骨间距不大于750mm,最底一道距地300mm

3) 墙体螺栓采用φ16(外墙处加止水环),纵横向间距均不大于750mm

4) 在楼板上的适当位置预留钢筋橛及拉环,在柱子模板下口设置锁口木方一道及垂直板面水平支撑一道,侧面加斜向支撑三道,并根据需要设置花篮螺栓进行拉接。

5. 大钢模板进场前,根据工程安排及流水段划分情况,对模板进行编号,有次序地安排模板分批进场,既保证现场施工的需求又避免占用现场更多的地方放置模板。

6. 竖向构件吊垂线,梁、墙及悬挑结构采用拉通线的方法,并坚持在浇筑混凝土时不撤线,随时观察模板变形及时调整模板。

梁拉通线

7. 为解决模板拼缝漏浆的问题,墙体混凝土可浇筑到板底标高+20mm 左右,剔掉浮浆后达到控制标高。

8. 门窗口角采用角钢活连接,加斜撑,跨度较大的洞口下地锚,洞口暗柱每边各增加三个三边套子用于焊支铁加固模板,并在口模周圈粘厚海绵条。

9. 在顶板模板板缝处均设置底楞,模板边均通过刨子找平,拼缝采用硬拼法,用水泥腻子刮平,确保模板拼缝严密不漏浆,保证接槎平整。

结构类型

结构跨度(m

按混凝土设计强度 标准值的百分率计(%

2

50

28

75

8

100

8

75

8

100

10. 控制拆模时间,留设同条件养护试块,按规范要求决定拆模时间。

11. 为保证脱模效果,使用高效水质脱模剂,涂刷时要均匀。

12. 高度重视模板拆除后的清理及保养工作,作为一道必不可少的工序来对待,设置专人、专用工具对模板进行清理,并将清理模板作为一道工序验收,做到一磨(用打磨机磨去凸物)、一铲(用铁铲铲去污物)、一擦(用拖布擦洗板面)、一涂(用滚子涂刷脱模剂)四道工序,尤其是模板的口角处,模板清理合格后,方能涂刷脱模剂,且要均匀,无漏刷。未经清理保养、涂刷隔离剂的模板不能使用。

模板的清理

13. 后浇带处悬挑结构的顶板模板及支撑体系要在后浇带处混凝土浇筑完毕,达到规定强度后方可拆除。

14. 结构模板安装质量允许偏差及检查方法如下:

项目

允许偏差值(mm

检查方法

结构长城杯标准

轴线位移

柱、墙、梁

3

尺量

底模上表面标高

±3

水准仪或拉线尺量

模板截面尺寸

基础

±5

尺量

柱、墙、梁

±3

垂直度

层高5m

3

经纬仪或吊线、尺量

层高>5m

5

相临两板表面高低差

2

尺量

表面平整度

2

靠尺、塞尺

阴阳角

方正

2

方尺、塞尺

顺直

2

拉线、尺量

预埋铁件中心线位移

2

拉线、尺量

预埋管、螺栓

 

中心线位移

2

 

拉线、尺量

螺栓外露长度

5、-0

预留孔洞

 

中心线位移

5

拉线、尺量

尺寸

5、-0

门窗洞口

 

中心线位移

3

拉线、尺量

宽高

±5

对角线

6

插筋

中心线位移

5

尺量

外露长度

+10、-0

3.4.4 混凝土工程

混凝土分项工程包括混凝土原材料、配合比、运输、浇筑、振捣、养护。由于本工程采

用预拌混凝土,施工中将根据不同施工部位、不同施工季节等条件,对预拌混凝土生产单位进行书面技术交底,保证混凝土运到施工现场后的坍落度及其他特殊要求符合工程要求。

混凝土工程的控制重点为:保证混凝土外立面施工质量达到清水混凝土效果,对有装饰要求的外立面达到相应标准的要求。

1. 混凝土采购选择

由于本工程施工所处的特殊的地理位置,且工期短、要求高。为确保施工质量,按时完成工程任务,本投标人将选择离施工现场近、交通便利、质量稳定、质量体系通过认定、服务信誉好的大型商品混凝土搅拌站。通过对搅拌站进行全面考察,选择供应能力强、技术力量可靠的2-3 家大型搅拌站,供应商品混凝土(其中一家备用)。并充分考虑运输道路等条件,防止浇筑时出现混凝土供应不足。

2. 混凝土施工

1) 竖向混凝土质量保证措施

(1) 制作竖向、水平标尺杆,控制分层浇筑厚度和振捣棒移动间距,浇筑前先用铁铲铺50100 ㎜同配比减石子砂浆。

(2) 振捣要均匀,每层振捣时振捣棒要插入下层混凝土。不得振捣钢筋和模板,振捣棒与模板的距离不大于其作用半径的0.5 倍,遇到门窗洞口时振捣棒要距离洞口30cm 以上,并且从两侧同时振捣,以防洞口模板变形。

(3) 混凝土施工缝浮浆处理作为一道工序进行,弹出剔凿控制线(柱墙根处弹相距50㎜的双线,柱墙头距顶板上5 ㎜弹单线),用无齿锯按线切出剔凿范围及深度,再将浮浆剔净,露出石子,确保均匀。

施工缝处理

(4) 加强混凝土的成品保护,在施层及已施工完毕的主要通道上,柱角、墙体的门窗洞

口处安装塑料护角或多层板下脚料进行保护,楼梯踏步用多层板外探10mm 进行保护,制作三角钢筋架对水电预留管进行保护。

成品保护

2) 水平结构混凝土施工质量保证措施

(1) 混凝土浇筑前在墙、柱钢筋上用水准仪做出标高控制点,用来控制顶板混凝土的浇筑高度。

(2) 楼板混凝土浇筑要控制防止踩踏上层钢筋。浇筑前沿浇筑方向铺设由矮马凳和脚手板组成的马道,混凝土工均站在马道上进行操作,并且在浇筑现场设钢筋工看筋,及时将变形钢筋复位。

(3) 顶板浇筑时,采用4m 长铝合金杠(或木杠)刮平,初凝时加强二次压面,对墙柱边用刮杠重点找平(防止烂根)。顶板洞口边要振捣密实。

(4) 次梁跨中1/3 范围内设置水平施工缝。

3) 大体积混凝土质量控制措施

(1) 原材料方面采取的措施

本工程选用普通硅酸盐水泥,同时在混凝土中掺入粉煤灰,减少约15%的水泥,其密实度增加,收缩变形有所减少,泌水量下降,坍落度损失减少。粉煤灰与减水剂掺入混凝土称为双掺技术,由此会取得降低水灰比,减少水泥浆量,延缓水化热峰值的出现,降低温度峰值,收缩变形也有所降低。

混凝土搅拌站原材料称量装置确保严格、准确;砂石的含泥量对于混凝土的抗拉强度与收缩影响较大,要严格控制在2%以内;砂石骨料的粒径要尽量大些,以达到减少收缩的目的;当水灰比不变时,水和水泥的用量对于收缩有显著影响,因此,在保证可泵性和水灰比一定的条件下,要尽量降低水泥浆量;砂率过高意味着细骨料多,粗骨料少,为了减少收缩的作用,避免产生裂缝,要尽可能降低砂率。

(2) 施工方面采取的措施

采用分段分层浇筑,混凝土采用自然流淌分层浇筑,分层厚度为500mm 左右。在上层混凝土浇筑前,使其尽可能多的热量散发,降低混凝土的温升值,缩小混凝土内外温差及温度应力。

混凝土在浇筑、振捣过程中,上涌的泌水和浮浆沿混凝土面排到后浇带的排水沟,通过沟内设置的集水坑抽出基坑,以提高混凝土质量,减少表面裂缝。浇筑混凝土的收面处理也是减少表面裂缝的重要措施,因此,在混凝土浇筑后,先初步按标高用长刮尺刮平,在初凝前用平板振动器碾压数遍,用木抹子反复搓平压实,使混凝土硬化过程初期产生的收缩裂缝在塑性阶段就予以封闭填补,以防止混凝土表面龟裂。

混凝土养护:由于底板施工正值春季,早晚采用在表面覆盖一层塑料薄膜、以减少水分的散发,以此降低底板内外温差,避免由于温差过大而造成的温度裂缝;中午气温较高时,可以掀开塑料薄膜,并洒水养护,利于混凝土中心热量的散发。

温度监测:混凝土浇筑完毕,及时安排人员测温,确保混凝土内外温差和表面与大气之间的温差小于25oC,根据测定的温度,采取相应的技术措施,以降低表面裂缝的产生;根据测温情况随时计算混凝土内的温度应力(包含收缩产生的温度应力),确保温度应力小于混凝土的抗拉强度,避免出现贯穿裂缝。

4) 后浇带、施工缝的施工

(1) 后浇带处支模时,用快易收口网支设,并使用堵头板封堵,决不能将接缝留成斜坡槎。

(2) 在施工中应对已形成的后浇带部位进行成品保护,顶部砌一皮砖,用水泥砂浆抹平,上部用固定盖板遮盖,避免后浇带内进杂物,造成清理困难。

(3) 后浇带跨内的梁板在后浇混凝土施工前,两侧结构长期处于悬臂受力状态,所以在施工期间本跨内的模板和支撑不能拆除;可采用相对固定的方法,在楼板或梁后浇带部位的边缘埋设埋件,临时固定的支撑焊接在埋件上,保证该部位的支撑不被拆除。

(4) 浇筑后浇带的混凝土采用微膨胀无收缩混凝土,掺入早强减水剂及膨胀剂,并且比原结构混凝土高一个等级,确保混凝土不出现收缩裂缝。

(5) 已浇筑的混凝土上继续浇筑混凝土,其抗压强度不小于1.2MPa。在已硬化的混凝土表面上,先清除水泥薄膜和松动石子以及软弱混凝土层,加以充分湿润和冲洗干净,且不得积水。在浇筑混凝土前,先在施工缝处铺一层水泥浆或与混凝土内成分相同的水泥砂浆。

5)混凝土工程允许偏差及检查方法

项次

项目

允许偏差(MM)

检查方法

结构长城杯标准

1

轴线位移

 

基础

10

尺量经纬仪或吊线、尺量

柱、墙、梁

5

2

垂直度

 

层高5m

5

水准仪、尺量尺量

全高(H)

8

层高

H/1000,且30

3

标高

 

全高

±5

经纬仪或吊线、尺量

水准仪、尺量

基础

±30

4

截面尺寸

 

柱、墙、梁

±5

尺量

基础

±3

5

表面平整度

3

2m 靠尺、塞尺

6

线角顺直度

3

拉线、尺量

7

保护层厚度

基础

 

尺量

柱、梁、墙、板

 

尺量

8

保护层厚度

方正

 

方尺、塞尺

顺直

 

拉线、尺量

9

楼梯踏步板宽度、高度

±3

尺量

10

电梯井筒

长度对定位中心线

+20、-0

经纬仪、尺量

筒全高垂直度

H/1000、且30

11

预留孔洞中心位置

10

尺量

12

预埋螺栓

中心线位移

3

尺量

外露长度

+5、-0

尺量

3.4.5 幕墙工程质量保证措施

本投标人在幕墙的质量管理上,将进行全面控制,即纵向要从设计、选材开始,通过采购、加工、制作、运输、安装、直到最后完成,控制住质量的每一个环节;横向要对安装上去的小到紧固件、预埋件,大到单元板块进行全面质量检查,不允许出一个漏洞。

质量安全部中将设立幕墙专职质量员,对以上两个方面进行全方位、全过程的跟踪检查,以确保质量。本投标人将以作业指导书的形式,将幕墙施工纳入质量管理的轨道。作业指导书分为加工作业指导书和安装作业指导书。

3.4.6 精装修分项工程

1. 板块墙面和地面工程施工前编制施工方案,根据方案作出二次设计图。地面工程施工中把基层清理、浇水湿润、扫浆、预拼花等工序作为重点工序进行控制,加强面层养护,同时,注意成品保护。

2. 有排水坡度要求的房间,应做到泛水坡度合理,流水通畅,不得有倒坡现象。

3. 吊顶分格预先做二次设计,设备外露面板的位置应与吊顶分格对称,如遇分格小于半块时,应两边对称分块。

4. 吊顶与墙面接触处加压条或设凹槽进行过度处理。

5. 粉刷、油漆施工应提前对其它分项进行检查,合格后方可进行,同时对其它分项进行保护,防止污染。

3.4.7 机电设备安装

1. 电气安装工程工序质量控制点及控制措施

分项工程

质量控制点

质量控制措施

施工准备

材料计划、材料送审、施工方案

认真编制

结构预埋

位置、标高正确、线管保护层、漏

埋、错埋、管路弯扁度

确保按基准标高线施工

避免预埋的管路三层交叉认真查阅图纸

孔洞留设

漏留、错留

编制孔洞留洞图和留洞检查表

桥架安装

位置、标高正确、与水管、风管间

距正确、支架排列正确

绘制综合图解决

线槽安装

位置、标高正确、与水管、风管间

距正确、支架排列正确

绘制综合图解决

母线安装

支架间距正确、母线垂直、接头处

封闭

根据电气竖井图进行协调

管路暗敷

支架间距、与水管、风管间距正确接线盒、过线盒接线正确、管路弯扁度

消除质量通病

管路明敷

支架间距、与水管、风管间距正确

接线盒、过线盒接线正确、管路横

平竖直、管路弯扁度

消除质量通病

穿线配线

导线涮锡、导线损伤

严格涮锡工艺穿线时注意保护导线

电缆敷设

电缆平直、固定牢固电缆弯扁度电缆排列整齐、美观

根据电缆排布图进行协调电缆按次序敷设

器具安装

器具固定方法正确位置标高正确

 

研究照明器具的安装方法准确定位

设备安装

安装方法、位置标高正确

制订专项施工方案

调试

绝缘摇测全面开关动作可靠

制订专项目调试方案

 

分项工程

质量控制点

质量控制措施

孔洞预留

位置、标高准确

绘制管道留洞图、洞口检查表

套管安装

套管类型正确 套管水平度、垂直度准确

套管类型根据使用部位进行明确;

立管管道完成后再固定套管

管道安装

位置、标高、坡度正确; 消除管道交叉和矛盾

分系统编制专项施工方案

绘制综合图解决施工交叉问题

防腐处理

除锈、防腐处理砌底

认真检查

填堵孔洞

根据工艺确定填堵方法;套管与管道的间隙均匀;套管出地面高度不一。

套管调正后固定牢固

与土建协调地面做法

水压试验

分层分区打压

编制单项方案

闭水试验

分层分区

编制单项方案

设备安装

稳固

编制单项方案

系统冲洗

冲洗砌底

专人负责

通水试验

认真检查

专人负责

调试

检查数据

编制单项方案

3. 通风空调工程工序质量控制点及控制措施

 

分项工程

质量控制点

质量控制措施

设备安装

基础水平、设备安装稳固、气密性

编制专项施工方案

空调水管道安装

风机盘管吊装、管道坡度、系统严密性

与装修配合、按设计要求施工、耐压实验

保温

材料粘接点、连接缝处理、外保护

严格按工艺操作

调试

检查数据

编制专项施工方案,严格操作

4. 锅炉安装工程

分项工程

质量控制点

质量控制措施

图纸审查

施工工艺、技术、标高、

相关尺寸、选材

认真、彻底审查及交底

施工准备

技术交底、各种材料设备进场检验

认真编制

开箱点件

会同供货单位业主进行清点验收

认真清点

基础验收及放线

锅炉及附属设备基础尺寸位置

绘制综合协调土建配合图

锅炉本体安装

锅炉本体的纵横水平度

制定专项施工方案

锅炉本体试压

强度、严密性必须符合规范要求

编制单项方案

附属设备安装

水泵、水平度、轴同心度径向位移

制定专项施工方案

管道安装

焊接、坡度、附件连接、试压

制定专项施工方案

单机试运转

时间、温升、振动、噪音

编制单项方案

锅炉试运行

烘煮炉、时间、温升、运行情况

编制单项方案

竣工验收

工程技术资料准确齐全

编制资料目录

 

5. 消防报警安装工程

分项工程

质量控制点

质量控制措施

图纸审查

图纸工艺技术标高相关尺寸、选材

认真、彻底审查及交底

施工准备

技术交底、材料配件进场检验

认真编制

暗管敷设

埋深、弯曲半径、弯扁度、地线

消除质量通病

明管敷设

弯曲半径、弯扁度、卡距

消除质量通病

穿线、配线

外观、配线固定、穿线规格

严格涮锡工艺

穿线时注意保护导线

绝缘摇测

相间、相对地绝缘电阻值

严格执行、详细记录

设备安装、盘柜

位置、部件、平整度、组柜间隙

制订专项施工方案

设备安装、接地

工作接地阻值、联合接地阻值

制订专项施工方案

设备安装、

探头、手报等

坐标、固定、平整度

制订专项施工方案

报警系统调试

探头、手报、插孔电话、

闪灯等系统功能

编制单项方案

联动系统调试

消防电梯、正压送风、

防排烟卷帘门、防火门、

水泵切换、设备电源切换功能

编制单项方案

竣工验收

技术资料、功能及外观

编制单项方案

消防检验

(验收)

报警系统、联动系统、功能检测

编制单项方案

 

6. 消防管道安装工程

分项工程

质量控制点

质量控制措施

图纸审查

图纸工艺标高相关尺寸、选材

认真审查及交底

施工准备

技术质量交底、设备材料检验

认真编制

管网安装

放线、支吊架制安、管道坡口加工

分系统编制专项施工方案绘制综合图解决施工交叉问题

设备安装

基础尺寸、设备固定、平整度、坐标、配件、联接方式

绘制综合协调土建配合图

管网试压

压力值、稳压时间、压降

编制单项方案

系统冲洗

流速、进出口水质情况

编制单项方案

末端设备安装

坐标、平整度

配合精装修施工图

单机试运转

时间、温升、振动、噪音

编制单项方案

系统调试

稳压、加压、水流、压力开关、报警阀、税利警铃等功能

编制单项方案

施工验收

技术资料、功能及外观质量

编制单项方案

消防核验(验收)

系统灭火功能检测

编制单项方案

3.4.8 建筑工程资料管理措施

1. 工程技术资料实行总工程师负责制,由2 名取得岗位资格的专职资料员负责收集、整理。

2. 工程总包单位负责工程全部施工资料的汇总工作,各分包单位应在退场前按有关规定向总包单位提供其分包范围内完整、真实、有效的工程资料。

3. 工程资料的收集、整理应始于工程开工,终于工程竣工,随工程进度同步真实记录施工全过程,并按规定移交。

4. 施工单位自检合格后,形成:《单位(子单位)工程质量控制资料核查记录》、《单位(子单位)工程安全和功能检验资料核查及主要功能抽查记录》、《单位(子单位)工程观感质量检查记录》。

5. 监理单位和城建档案馆进行预验收后,形成:《单位工程竣工预验收报验表》、《建设工程竣工档案预验收意见》。

6. 建设单位组织设计、勘察、监理、施工等单位竣工验收后,形成:《工程质量检查报告》(勘察单位)、《工程质量检查报告》(设计单位)、《工程质量评估报告》(监理单位)、《工程竣工报告》(施工单位)、《工程竣工验收报告》(建设单位)、《单位(子单位)工程质量竣工验收记录》。

7. 工程移交建设单位后,形成《竣工移交证书》。

 

3、质量保证措施

1责任到位、奖罚分明

1.1 建立分层次的质量管理职责分工体系

为了更好的分清质量管理职责,本投标人将整个工程的质量管理体系划分为三个层次:管理层(项目经理部领导班子)、执行层(项目经理部各处室)、作业层(各分包及作业队)。根据每个管理层次的管理特点,合理制定管理职责分工,每个管理层次的职责确保服务下个层次、保证上个层次,重点做好各个层次管理交叉点的分工和协调工作,避免管理上的漏洞和冲突,保证管理体系的正常和协调运转。

1.2 建立分层次的质量管理奖罚制度

为了保证质量职责的正常运转,本投标人将在开工前建立四个层次的质量管理奖罚制度,明确具体的管理指标,以月度为周期进行管理,月初考核(考核上个月质量指标完成情况)、月中兑现,对于质量管理顺畅,指标完成情况好的部门、单位和个人进行奖励;对于管理拖沓,指标完成情况不理想的部门、单位和个人进行处罚,对于连续三个月受到处罚的部门、单位和个人要重新考核其管理能力和水平,凡经评估不能胜任的,将对部门、单位和个人进行调整,确保各个部门、单位均由优秀的管理人员组成;同时本投标人将做好充分的后勤保障和思想政治工作,确保各个部门和单位的管理人员在和谐的氛围中工作,最大限度的调动各个层次管理人员的主观能动性,以良好的工作质量来保证工程质量。

 

2跟踪记录

按照总体部署,本工程划分为3 个大的施工区域,其中主楼部分由于面积较大,故将此施工区域划分为3 个子施工区域(10 层以下为一子施工区域,11-20 层为二子施工区域,21-30层为三子施工区域),整个工程项目划分为5 个子施工区域,每个子施工区域内配备各专业质量检查员2 名,确保每个施工区域、每个作业时间均有专职质量检查员跟踪检查,专职质量检查员根据每天的的检验批施工情况,同相关技术人员合作完成楼层放线检验、隐预检、施工试验、材料和设备进场检验、检验批质量验收等技术资料,并及时报监理验收。

 

3材料设备的采购质量控制

3.1 采购原则

原则上凡大宗、重要工程物资采购要通过招标进行采购,并由物流采购部按评标或程序文件规定对供方进行评价。

3.2 采购程序

采购程序如下:

 

 

 

 

 

 

 

 

 

 

 

 

 

 

 

 

 

 

 

 

 

 

 

 

物资采购程序流程

3.3 采购控制措施

3.3.1 工程物资的分类

按照工程物资对工程质量的影响程度分为二类:

A 类物资包括:钢筋、钢材、水泥、混凝土、防水材料、外加剂、高压容器、变压器、高低压柜、机电设备、周转材料(模板、脚手架)、焊接材料、木制品、金属结构件。

B 类物资包括:一般灯具、水暖制品、电气材料、建筑五金、日化油漆、燃料、砌块、砂石、玻璃制品及其它材料。

A 类物资由物流采购部通过招标采购。

B 类物资由本投标人物流采购部根据工程进度分批采购。

3.3.2 编制物资采购计划

1. 项目经理部根据施工合同、图纸和生产进度,编制物资需用计划,明确需用物资的品种、规格、质量要求或技术参数,经主管领导审批后报采购部门。

2. 对工程质量及使用功能有重大影响的特殊和重要的材料,在采购前应坚持样品送报制度,经建设单位或监理批准后方可采购。

3.3.3 对供方评价

1. 采购A 类物资前,对供方的经营资格、国家或地方行业主管部门的许(认)可资料、质量检验资料和是否是环保产品等进行评价,填写《物资供方评价表》。

2. 采购B 类物资前,供方由采购部门评价,可根据生产合格证件、是否是环保产品和进场验收资料进行评价,由评价部门保存资料。

3.3.4 签定采购合同

批量采购物资时,应按合同管理规定签订采购合同。合同中应明确技术要求、供应时间、质量标准和验收方法,追加采购时,按批量采购合同执行。

3.3.5 进场工程物资的质量控制

1. 进场工程物资实行样板制,并遵循以下原则:

1) 粒(粉)状材料,原则上不实行样板制,但必须先送进场材料样品进行复试,复试合格后方可使用;

2) 钢筋(600mm 长)、钢板、砌块等与主体结构密切相关的材料现场取样,并送样复试,将初次进场样品、出厂合格证、复试报告等作为样板存样品室,以后进场的材料每次必须复试,并与样品比照。

3) 各种装修块状材料(包含地板、吊顶板、石材、瓷砖、金属面板、玻璃等),应根据设计对材料的尺寸、颜色及容重等技术质量要求,对块状材料实行样品制,进场的块状材料与样品比照验收;

4) 内外墙涂料、玻璃幕墙、石材、瓷砖、铝塑复合板、门窗、卫生陶瓷及各种地板面材等,应根据设计要求,制作样板墙、样板间或样板房,用于确定设计装饰效果,待样板验收合格后,方可对各种样品进行封样、加工订货。

2. 对工程物资的质量控制应符合以下要求:

1) 建筑工程采用的主要原材料、半成品、成品、构配件、器具、设备等,必须有供应部门或厂方提供的合格证明。凡涉及安全、功能的有关产品,应按各专业工程质量验收规范及相关规定进行复检或有见证取样送检,并应经监理工程师(建设单位技术负责人)检查认可;

2) 涉及结构安全和使用功能的材料需要代换且改变了设计要求时,应征得设计同意,并保存设计单位签署的认可文件;

3) 涉及安全、卫生、环保的物资,包括压力容器、消防设备、生活供水设备、卫生洁具等,应由具有相应资质等级的检测单位进行检测;

4) 进口材料和设备等应经过商检部门的检验,并有商检证明及中文说明书;

5) 建筑电气产品中被列入《实施强制性产品认证产品目录》的,必须经过中国国家认证认可监督管理委员会认证,具有 中国强制性(CCC认证标志,并在认证有效期内;

6) 新材料、新产品必须是生产或研制单位的正式产品,产品质量应达到合格等级。任何新材料、新产品,生产研制单位除了应有开发研制的各种技术资料外,还必须具有产品标准。如果没有国家标准、行业标准或地方标准,则应有企业标准,企业标准应按规定履行备案手续。没有质量标准的材料,或不能证明质量达到合格的材料,不允许在建筑工程上使用;

7) 新材料、新产品的各项性能指标,应通过试验确定,试验单位应具备相应的资质。为了确保新材料的可靠性与耐久性,在工程应用前,应通过具备鉴定资格的单位或部门的技术鉴定或评估;

8) 使用新材料、新产品,应经过设计单位和建设单位认可,并办理书面认可手续;

9) 对于国家和北京市淘汰的材料产品、未达到有关技术标准和不符合合同要求的材料产品,不得使用。

3.3.6 验证

1. 物资验证以施工现场验证为准。

2. AB 类物资由采购方或采购方授权人组织供方进行验证。验证中出现的不合格品,按本投标人《不合格品控制程序》规定处理。

3. 验证内容包括资料验证、数量验证、质量验证三方面。

1) 资料验证包括验证物资合格证或出厂质量证明,成套物资的装箱单(明细表)等随货资料是否齐全有效。

2) 数量验证按合同要求可选择称重、点件、检尺换算等方法,验证数量是否准确,成套物资按装箱单(明细表)开箱验证配套件是否齐全。

3) 质量验证包括外观质量验证和内在质量验证。其中外观质量验证应目测外包装是否完整,规格型号是否符合合同要求,物资表面有无损伤等;内在质量和其它性能的验证按本投标人《检验和试验控制程序》规定执行。

4. 材料进场时须经专人负责验证,对某些特殊部位的材料会同监理、建设单位、设计单位共同进行严格验收,严肃管理制度,对各种材料按规范和规定要求进行检验。

5. 验证情况要做出记录,进行标识,确保物资使用不发生混淆和实现物资使用、加工的可追溯性。

3.3.7 储存、保管及运输

1. 依据工程施工图纸,成本合约部计算出各主要材料用量,物流采购部根据总体施工进度计划安排编制材料采购计划及进场时间,并组织按计划进场。

2. 对进入现场的材料要严格按照现场平面图要求的地点堆放并进行标识和放置铺垫。对业主提供的物资应进行验收,妥善保管,如有问题,应及时向业主提出书面的报告,并按业主的意见处理。

 

4原材料检测及施工试验

4.1 职责划分

4.1.1 项目经理部总工程师

1. 贯彻有关规范、规程、标准以及上级单位的各种有关试验工作的规章制度。

2. 负责管理项目经理部试验工作。

3. 负责主持制定本工程试验计划(方案)。

4. 负责对试验设备的监督管理。

5. 负责对检验试验设备购置计划的审批。

6. 负责试验状态标识的检查监督工作。

7. 主持处理试验工作中的重大技术问题。

8. 对上级主管部门提出的有关问题,制订改进方案并监督实施。

4.1.2 项目经理部技术员

1. 负责现场试验室(含标养室)的检查和指导工作。

2. 负责现场试验项目的数据审核。

3. 负责收集、整理原材料合格证、复试单等试验资料。

4.1.3 项目经理部材料员

1. 负责原材料、半成品、预制构件、设备等的进场外观质量检验。

2. 负责现场材料的检验标识。

3. 负责不合格材料的处理。

4.1.4 项目经理部计量员

负责按国家规定和本投标人《测量装置控制程序》和《测量装置控制作业指导书》的规定对计量器具进行日常管理。

4.1.5 项目经理部试验员

1. 试验人员隶属于现场技术部门,职责如下:

1) 对负责送试的的材料严格按照材料检验标准有关取样的规定和试验室的规定及试验交底取样送试,对试样的代表性、真实性负责,做到不漏试。

2) 严格按照有关规范、规程、标准的规定,制作混凝土、砂浆试块,并做好试块的管理、养护、送试工作。

3) 检测混凝土坍落度,发现异常现象及时向有关领导汇报,并做好记录。

4) 负责土方击实、回填土取样试验。

5) 对于见证取样的材料,试验人员应与见证人员密切合作,保证试样的代表性和真实性。

6) 认真填写试验委托单,其内容齐全保证可追溯性。

7) 按照不同品种分别建立原材料送试台帐;按照单位工程建立试块台帐。同一种类试验台帐编号应连续。

8) 及时取回试验报告单,交给现场相关技术人员,对不合格项目及时报告项目总工程师。

9) 负责所用试验设备的维护保养和自检。

2. 试验人员主要工作内容及应保留的主要台帐记录

1) 水泥原材料进场复试取样、送检,并保留水泥试验台帐;

2) 测定混凝土坍落度,并保留混凝土坍落度测定记录;

3) 混凝土试块制作、养护、送检,并保留混凝土试块试验台帐;

4) 砌筑砂浆试块制作、养护、送检,并保留砂浆试块试验台帐;

5) 砌体材料进场取样、送检,并保留砌体材料试验台帐;

6) 钢筋原材料进场取样、送检,并保留钢筋原材料试验台帐;

7) 钢筋连接取样、送检,并保留钢筋连接试验台帐;

8) 防水材料进场取样、送检,并保留防水材料试验台帐;

9) 土工击实试验取样、送检,并保留土工击实试验台帐;

10) 回填土干密度取样、试验,并保留回填土干密度试验台帐;

11) 混凝土实体检测测温,并保留测温记录;

12) 对大气进行测温,并保留大气测温记录;

13) 测定养护室温度、湿度,并保留养护室温度、湿度记录;

14) 测定混凝土冬期施工出罐、入模温度,并保留测温记录;

15) 混凝土搅拌测温,并保留测温记录;

16) 混凝土养护测温,并保留测温记录;

17) 大体积混凝土测温,并保留测温记录;

18) 配合技术部门计量管理人员做好计量器具、试验设备台帐和检定、校准记录;

4.2 现场试验室

4.2.1 施工现场建立现场试验室,试验室的工作条件应良好、清洁整齐,保证试验工作必要的能源、照明、温度、湿度、通风等条件。试验仪器设备的放置应便于操作人员操作,养护室与操作间应分开设置。

4.2.2 现场试验室隶属于现场技术部门,受现场技术部门领导。

4.2.3 项目经理部开工前将根据工程特点制定本工程的试验计划。

4.2.4 试验室配备与工程实际情况相适应的试验设备和计量器具,并应在开工前提交配置计划。主要有:标准养护室(箱)、混凝土振动台、砂浆稠度仪、架盘天平、砝码、混凝土试模、抗渗试模、砂浆试模、案秤、环刀、坍落度筒、钢板尺、计算器、电炉子、温湿度仪、温度计、电子温度仪等。

4.2.5 标准养护室(箱)由试验员管理,每天上下午按时进行两次温度和湿度的测量并记录,确保标养试块始终处于标养状态。标养室(箱)的温湿度要求如下表:

 

试块种类

温湿度要求

参见规范

混凝土

试块

温度

20±2

《普通混凝土力学性能试验方法》GB/T50081-2002

相对湿度

95%以上

砂浆试块

温度

20±3

 

相对

湿度

水泥

混合砂浆

60%-80%

水泥 混合砂浆 60%-80% 《建筑砂浆基本性能试验方法》JGJ70-90

水泥砂浆

90%以上

制作间

温度

20±5

标准养护室技术要求如下:

1. 房屋要求保温隔热。

2. 配置冷暖空调、电热棒等恒温装置,使室内温度控制在(20±2范围,室内湿度大于95%

3. 试验设备按国家规定和本投标人《测量装置控制程序》和《测量装置控制作业指导书》的规定定期检定、校准。

4. 现场试验室的日常管理由试验员负责,试验室严禁住人,与试验无关的物品不准存放在试验室内。

5. 现场试验室设立后,由项目总工程师组织验收,施工中每周要进行检查。

4.3 试验设备配备

施工现场试验室的主要试验设备如下表所示:

编号

设备名称

型号

单位

数量

用途

1

混凝土回弹仪

ZC3-A

3

混凝土表面强度检测

2

坍落度筒

上口100 下口200 300

6

混凝土坍落度检测

3

标准养护箱

 

2

试块养护

4

标准养护室

 

1

试块养护

5

混凝土振动台

80×80cm

3

混凝土试块振捣

6

混凝土试模

150×150×150

20

混凝土试块制作模具

7

混凝土试模

100×100×100

20

混凝土试块制作模具

8

抗渗试模

上口175 下口185 150

15

抗渗混凝土试块制作模具

9

砂浆试模

70.7×70.7×70.7

15

砂浆试块制作模具

10

电子测温仪

 

3

大体积混凝土、冬季混凝土测温

11

取土环刀

200cm3

6

回填土取样

12

架盘药物天平

HC.TP11B.10

1

回填土取样称重

13

干湿温度计

 

3

大气测温

14

工程检测尺

JZC-8

3

工程质量检测

15

水平尺

60cm

6

工程质量检测

16

内外方角尺

 

6

工程质量检测

17

塞尺

 

6

混凝外观检测

18

钢卷尺

5m

100

 

19

钢直尺

500mm

6

 

20

游标卡尺

0-150mm

6

 

21

磁力线坠

 

6

 

22

超声波探测仪

 

1

检测钢筋保护层厚度

23

毕托管

10001500m

2

风压测量及调试

24

胶皮管

20003000m

1

风压测量及调试

25

热球风速仪

QDF6

1

通风空调系统调试

26

超声波流量 测试仪

 

1

流量测试

27

风管漏风 测试仪

 

1

风管测试

28

钳型电流表

 

3

电流测量

29

交流钳式 电流表

0~1000A 2.5

3

电流测量

30

交直流电压表

T24-V

3

电压测量

31

毫安、毫伏表

C41-mA

3

电流、电压测量

32

交直流电流表

D26-A

3

电流测量

33

接地电阻 测试仪

ZC-1000

3

接地电阻测量

34

电流电压表

T32-VA

3

电流、电压测量

35

兆欧表

ZC-700.500V

3

电阻测量

36

继电器保护 测试仪

JBC-3

3

继电器测试

37

计算数字 万用表

7151.0.01-0.05

3

电流、电压、电阻测量

4.4 试验工作管理制度

4.4.1 施工现场试验管理体系分工明确、责任到人;岗位责任制度明确各岗位的工作内容和具体要求。

4.4.2 现场试验人员专职持证上岗。

4.4.3 试验人员做好试验设备和器具的日常维修和检查工作,以确保安全和正常使用。

4.4.4 工程试验计划

1. 工程开工前,项目总工程师将组织技术部门,根据施工组织设计要求及工程实际情况编制本工程试验计划。

2. 试验计划按照指导性、可操作性和完整性的原则,完整反映试验的准备工作(材料进场使用前的复试等)、取样要求、具体指标等。

4.4.5 对试验人员的交底

项目经理部技术部门根据试验计划,在开工前向试验人员做好书面技术交底,让试验人员对工程的总体试验概况和具体操作细节有全面而具体的认识,明确操作要求。

4.4.6 试验人员的操作

在试验操作中,试验人员根据试验计划、技术交底、施工进度等及时做好试验准备、现场取样和送验工作,严禁先施工后试验、违规取样、送试过期等情况出现。

4.4.7 试验台帐的建立

在施工试验过程中,试验人员做好试验台帐,所建台帐要按类别分别装订成册,不同类别分别编号,同一类别台帐的编号应连续,确保各类台帐分类记录整齐、真实、保存完好、查阅方便。

4.5 有见证取样管理及室内环境污染控制项目

4.5.1 有见证取样管理

1. 有见证取样和送检制度,是指在建设单位、监理单位人员的见证下,由施工单位的现场试验人员对工程中涉及结构安全的试块、试件和材料在现场取样,送至建筑工程质量检测机构进行检测。

2. 本工程进行有见证取样和送检的项目如下:

1) 用于承重结构的混凝土试块(28d 标养)和大体积混凝土试块(45d 标养)

2) 用于承重墙体的砌筑砂浆试块;

3) 用于承重结构的钢筋和连接接头试件;

4) 用于拌制砌筑砂浆的水泥;

5) 地下、屋面、厕浴间使用的防水材料;

6) 用于结构实体检验的混凝土同条件试块;

7) 钢结构用钢材和焊接材料;

8) 高强度螺栓(预拉力、扭矩系数、摩擦面抗滑移系数);

9) 网架节点(承载力);

10) 对材料质量发生争议需要进行仲裁时可采取见证检验;

11) 民用建筑工程室内饰面采用的天然花岗石材、人造木板和饰面人造木板。

3. 单位工程有见证取样和送检次数不得少于试验总次数的30%,试验总次数在10 次以下的不得少于两次。重要工程或工程的重要部位可增加有见证取样和送检次数。送检试样在施工试验中随机抽取,不得另外进行。

4. 单位工程施工前,项目总工程师应与建设、监理单位共同制定有见证取样的送检计划,并确定承担有见证试验的检测机构。

5. 每个单位工程须设定一至二名取样和送检见证人员,见证人员应由建设单位或该工程的监理单位内具备建筑施工试验知识的专业技术人员担任,并经市建委统一培训考试合格取得见证人员岗位资格证书(取得国家和北京市监理工程师资格证书者免试),见证人员确定后由建设单位或该工程的监理单位书面通知施工单位,并向检测机构、质量监督机构备案。见证人员更换时办理变更备案手续。

6. 施工过程中见证人员应按照有见证取样和送检计划,对施工现场的取样和送检进行见证,并在试样或其包装上作出标识、封志。标识和封志应标明样品名称和数量、工程名称、取样部位、取样日期,并有取样人和见证人签字。见证人员应做见证记录,见证记录列入工程施工技术档案。

7. 有见证取样和送检的各种试验项目,凡未按规定送试或送试次数达不到要求,其工程质量情况由质量检测机构通过检测确定,其检测费用由责任方承担。

8. 各种有见证取样和送检试验资料必须真实、完整,符合试验管理规定。发现伪造、涂改、抽换或丢失试验资料的行为,对责任单位和责任人依法追究责任。

9. 对涉及结构安全和使用功能的重要分部工程抽样检测的管理。

1) 抽样检测的项目应按各专业分部(子分部)验收计划进行,应在分部(子分部)工程中抽测,不应到单位工程验收时检测。抽测一般由施工单位进行,监理、建设单位参加。监理、建设单位等也可以进行验证性抽测。

2) 抽样检测项目主要有:主要受力钢筋的位置、结构混凝土强度、防水效果、管道强度及畅通等。承担检测的单位和人员应具有相应的资质。

4.5.2 室内环境污染控制

1. 本投标人将按设计要求及《民用建筑工程室内环境污染控制规范》(GB50325)的规定,对所用建筑材料和装修材料进行进场检验。当建筑材料和装修材料进场检验发现不合格的,严禁使用。

2. 民用建筑工程中所采用的无机非金属建筑材料和装修材料必须有放射性指标检测报告,并应符合设计要求和《民用建筑工程室内环境污染控制规范》(GB50325)的规定。

3. 民用建筑工程室内天然花岗岩石材总面积大于200m2 时,应对不同产品分别进行放射性指标的复验。

4. 室内装修使用人造木板及饰面人造木板时,必须有游离甲醛含量或甲醛释放量的检测报告,并满足规范要求;当某一种人造木板或饰面人造木板面积大于500m2 时,应对不同产品分别进行游离甲醛含量或甲醛释放量的复验。

5. 室内装修所用的水性涂料、水性胶粘剂、水性处理剂必须有总挥发性有机化合物(TVOC)和游离甲醛含量检测报告;溶剂型涂料、溶剂型胶粘剂必须有总挥发性有机化合物(TVOC)、苯、游离甲苯二异氰酸酯(TDI)(聚氨酯类)含量检测报告,并应满足设计要求和规范规定。

6. 建筑材料和装修材料的检测项目不全或对检测结果有疑问时,必须将建筑材料送有资格的检测机构进行检验,合格后方可使用。

7. 室内环境质量验收,应在工程完工至少7d 后、工程交付使用前进行。抽样数量不少于5%,并不得少于3 间。

4.6 工程原材料检测和施工试验的必试项目、取样方法

由于本工程中涉及的原材料试验的项目较多,这里不一一列举,具体要求按照《建筑工程资料管理规程》DBJ 01-51-2003 的要求进行。

 

5执行开工前申报专项方案

5.1 工程专项方案报审流程

5.2 专项方案报审计划

 

 

 

 

 

 

 

 

 

 

 

 

 

 

 

 

 

 

 

 

 

 

根据工程特点和进度计划,提前做好专项施工方案编制计划,明确编制单位、编制时间、审批单位,并报监理单位审批。编制计划如下:

专项方案编制计划

序号

方案名称

编制单位

1

工程施工现场临时设施方案

技术部

2

工程施工现场临时用水、排水及用电方案

机电部

3

塔吊立塔及拆塔方案

工程部

4

工程质量计划

质量安全部

5

工程创优方案

质量安全部

6

工程检验和试验计划

技术部、质量安全部

7

工程测量控制方案

测量负责人

8

季节性施工方案

技术部

9

钢筋工程施工方案

技术部

10

模板工程施工方案

技术部

11

混凝土工程施工方案

技术部

12

大体积混凝土施工方案

技术部

13

回填土施工方案

技术部

14

防水工程施工方案

技术部

15

结构预留、预埋工程施工方案

技术部、机电部

16

后浇带、施工缝、变形缝施工方案

技术部

17

脚手架工程施工方案

技术部、质量安全部

18

二次结构工程施工方案

技术部

19

幕墙工程施工方案

专业分包单位

20

装饰装修工程施工方案

专业分包单位

21

机电设备安装工程施工组织设计

机电部

22

给排水工程施工方案

专业分包单位

23

采暖、通风空调工程施工方案

专业分包单位

24

电气工程施工方案

专业分包单位

25

弱电工程施工方案

专业分包单位

26

消防工程施工方案

专业分包单位

27

电梯工程施工方案

专业分包单位

28

设备基础施工方案

技术部、机电部

 

6深化设计质量管理

图纸深化设计工作是工程技术管理中设计管理的组成部分之一。在工程前期准备阶段,对由工程师和设计院提供的图纸进行全面的审查、学习,对在学习图纸的过程中出现的疑问、合理化建议进行汇总整理,对出图深度不足的的部分由专业分包商进行专业设计的部分的工程内容,组织有关方面进行深化设计。

6.1 图纸深化的总体原则

6.1.1 由设计单位和工程师提供的图纸,有部分是未能达到本投标人施工要求的深度(即由雇主所提供的图纸的深度,只局限于达到中国政府对设计文件的深度规定),负责编制及深化该未能达到施工要求深度之图纸及制件详图。

6.1.2 在获得工程合同后14 天内,向工程师提交一份施工详图明细表及一份清楚显示施工图、大详图、翻详图及制作详图提交时间表供工程师批核。应预留最少14 天供工程师、设计单位审批。

6.1.3 承包人设计的深化图纸:施工图及大翻详图、详图应在各方面都完整和符合规范要求并达到工程师、设计单位完全满意。

6.2 图纸深化的具体要求

确认中标后,业主、总承包单位和设计院就本工程进行技术交底,同时提供完整的结构设计图。首先组织专人详细阅图,并编制《工作图深化设计要领书》,对作图范围、图面表达、构件编号等进行统一的规定。然后开始工作图的转化设计。设立专职负责人,强化与设计院和现场安装的联系和沟通,发现问题及时解决,确保工作图的设计完全贯彻原结构设计的思路和意图,并且可以根据总承包单位现场安装的需要,将增设的安装作业所需的一些临时装置绘制在工作图上。以便于在工厂直接加工,减少现场的工作量,加快施工进度。

在设计过程中,如发现设计图有疑问,将立即与总包单位和设计院联系,经过协商达成一致后,方可进行修改。

工作图设计完成后,由专审高工进行审核,审核后设计人员进行确认并修改图纸,然后二次出图,再由专审高工进行审核并修改,最后将通过审核的图纸绘制出图,经原设计部门审查批准后方可投入生产。

在构件加工过程中,如发现工作图有错误或原设计图有修改,工作图设计人员应及时进行确认,然后修改图纸并发修改图,同时收回原图,以免发生混淆。

6.2.1 图纸深化设计流程:

 

 

 

 

 

 

 

 

 

 

 

 

 

 

 

 

 

 

 

 

 

 

 

 

 

 

 

图纸深化设计流程

6.2.2 深化图纸的报批至少准备七套晒制蓝图和一套可以用于晒图的透明图,如果工程师要求还应提供与相关图纸设计所用AUTOCAD 相同版本的一套储存报批图纸的光盘,图纸制作所标注的语言和尺寸单位应与相应合同图纸一致。

6.2.3 施工翻样图:向建筑师、工程师提交所需数量的翻样图,以及要求的书面注明的相关构造、热学和声学计算以及其他数据。

6.2.4 施工翻样图将以公制标注全部尺寸,采用约定的相当比例制作详图,并且包括:

1. 材料、部件与设备、最终完成面运用条件构造和形成误差描述的全部尺寸大样和图形。

2. 布局、位置和各种工程大样和连接点和所需的设备材料大样,连接方式和所有现场连接、固定和密封方法的详情,最终完成面和所有以下相关的信息:

1) 构造和施工方法。

2) 相关工程的相关联系。

3) 最终完成面。

4) 放大样。

5) 为适应实际条件而对设计进行的微调。

6.3 深化图纸的内容

根据工程师要求及施工需要本投标人将对钢结构工程、幕墙、综合机电施工土建图、内外装饰装修等各项分专业进行具体图纸深化工作。施工图及详图应包括但不限于以下项目:

6.3.1 土方开挖及支撑细节。

6.3.2 门窗安装。

6.3.3 模板及其支撑细节。

6.3.4 施工缝位置及其细节。

6.3.5 石材大样及安装细节。

6.3.6 各类不同装饰之间接口大样。

6.3.7 预制混凝土构件装配图。

6.3.8 已协调综合机电施工土建图,图纸须显示与机电有关的土建工作细节如预留洞、套管、设备底座支撑等及已协调的机电综合管线图

6.3.9 钢结构埋件、节点细节。

6.3.10 其它按合同规范及图纸及工程师要求的制件详图及大样图、翻样图。

6.3.11 屋面板及玻璃幕墙。

6.4 管理措施

由于本工程包含的专业工种复杂,参与建设的专业分包商众多,又面临有限的时间和空间。总包商必须加强工程管理,对其实行规范而有效的管理,避免造成图纸上的混乱,确保工程施工有序进行。深化图设计是介于设计与施工的中间环节,对工程质量、进度乃至成本都有重要影响。

6.4.1 深化图设计的进度管理

总包商必须编制出统一的出图计划,根据施工总计划,统一编制年、季、月出图计划,分发给各分包商,并要求其按此进度进行出图。

总包商各专业主管工程师,按期进行对口督促和检查,并及时调整落实出图计划。总包商深化设计部按时、认真填写出图计划的实施记录。

6.4.2 深化图设计的质量管理

根据原设计师要求,统一深化图的格式、语言及送审份数。

认真初审深化图及文件,严格遵循原设计意图。

坚持深化设计图纸的会签制度,只有当深化设计图纸准确无误、各工种都满意会签后才出图交付施工。

对已经设计师审核批准的深化图,由总包商及时加盖同意施工印章发送分包商组织施工。

6.4.3 深化图设计的综合协调管理

出深化图之前,绘制三维综合管线图,以指导各分包商的深化图设计,减少分包系统管线走向,留孔预埋间的矛盾,好比是管线走向的交通规则。专业主管工程师定期召开专题协调会,逐条逐项解决工程中发生的问题和难点,并及时更改差错。主管工程师经常对分包商进行对口检查,尤其是机电工种,其管线错综复杂,必须对照综合管线图仔细核查。专业工程师之间互通信息,密切配合,发现问题,快速解决,以减少工程损失,加快施工进度。

6.4.4 深化图设计管理体系

深化图设计管理体系内容分为两大部分,一是专业技术管理,二是文档信息管理。

深化图设计管理的内容

深化图设计管理的内容

深化图设计管理体系

深化图设计管理体系

深化图设计管理的程序

 

 

 

 

 

 

 

 

 

 

 

 

 

 

 

 

 

 

 

 

 

 

 

 

 

 

深化图设计管理程序

6.5 钢结构深化设计

6.5.1 深化设计可以纳入钢结构总承包商管理,并作为极其重要的组成部分。

6.5.2 深化设计必须由具有大空间钢结构深化经验和业绩的设计甲级单位来承担,具有大型钢结构制安工程的社会公认的深化设计业绩。并具有以下主要能力:

1. 建立计算模型与荷载分析

2. 钢结构静、动力分析

3. 典型节点的有限元分析

4. 钢结构安装工况分析的综合能力

6.5.3 对深化设计的管理体系考虑

对钢结构深化设计的管理体系可以分为专业技术和文档信息两大部分,如下表所示:

 

 

钢结构深化设计的管理体系

6.5.4 深化设计流程控制

 

 

 

 

 

 

 

 

 

 

 

 

 

 

 

深化设计流程控制

6.5.5 深化设计质量控制

 

 

 

 

 

 

 

 

 

 

 

 

 

深化设计质量控制

 

6.6 装饰工程深化设计

装饰工程深化设计是总承包对装饰工程控制的重中之重。装饰工程深化设计将是本投标人的控制重点。

深化设计是介于设计与施工的中间环节,对装饰工程质量、进度乃至成本都有重要影响。必须有较高水准的、有很高审美情趣和设计实践的专业管理者,确保高水准的装饰设计通过深化设计和施工以较高的美学境界实现。

因此,在类似本工程这样具有极高文化品位的装饰工程管理中,配备有实践经验的,有高水准鉴赏能力的设计专家对设计进行专业管理,将有助于协调好设计与深化设计的关系,有助于深化设计对原设计风格有效体现,有助于加快整个设计进度,最终有助于整个工程达到最好的装饰效果。

在本工程中,本投标人将选派具备上述素质的人员,担任设计总监,并组织一套专业设计管理班子,全面负责装饰深化设计的组织控制工作。

6.7 与设计单位的施工配合

中标后,本投标人将尽快与设计单位联系,充分理解设计意图及工艺要求,根据设计要求深化本投标人的施工组织设计、编制施工方案,包括施工中可能出现的各种情况。

协助设计单位完善施工图纸。向设计院提交根据总进度计划而编制的出图计划并积极参与设计的细化工作。

安排施工图会审,协助业主会同设计师、材料商提出建议,确定设计的内容和材料设备的选型。对施工中可能出现的设计问题应预先提出,并会同驻现场设计师、监理加以解决。

6.8 设计资料的管理

由于本工程规模大、结构形式复杂、分包单位众多,统一协调管理施工图纸的接受、使用非常重要。总包方技术、质量部门成立专门的图纸管理小组,由专人负责组织、协调整个工程的图纸接受、转发工作。

6.8.1 图纸管理小组建立专门的图纸管理台帐以及其他配套的管理制度,负责协调、组织图纸的收发工作,及时按专业分类并通知有关分包单位领图员领取图纸。

6.8.2 如果发生图纸变更事宜,立即通知有关分包单位及时采取相应的变更措施,保证各方使用正确有效的图纸进行施工。

6.8.3 总包方将协助分包单位就图纸有关问题与设计单位进行沟通工作。

6.8.4 总包方将监督指导分包单位建立自己的图纸接受、发放、变更等管理程序,确保施工图纸的正确使用。

6.8.5 严格按设计资料施工,所有技术、质量人员均严格遵循设计要求。在未接到正式设计资料或对设计资料不能充分理解前,不得随意进行下道工序的施工。

 

第3节安全和文明施工

本篇响应招标文件关于安全、消防、治安管理的内容并结合已颁布实施的《建设工程安全生产管理条例》、《北京市建设工程施工现场安全防护标准》、《北京市建设工程施工现场保卫消防标准》等法规标准进行编制的。

针对本工程施工程序复杂性立体交叉作业多等特点,本章找出安全、消防、治安管理方面将会面临的问题并且提出切实的解决办法;通过对安全管理制度、安全管理措施、现场实际情况的掌握分析,编制应急预案,增强紧急情况的处理能力,组织落实、责任到人、定期检查、认真整改,严防各类事故发生,保障施工现场的安全生产,确保北京市建筑工程文明安全样板工地

 

1、安全生产管理

1政策依循

1.1 方针:安全第一、预防为主

在施工中,始终贯彻安全第一、预防为主的安全生产工作方针。

1.2 目标:杜绝死亡、重伤事故、年轻伤率控制在10以下。

强化安全生产管理,通过组织落实、责任到人、定期检查、认真整改,实现杜绝死亡、重伤事故、年轻伤率控制在10以下的工作目标。

1.3 政策依循

认真执行国务院、建设部、北京市关于建筑施工企业安全生产管理的各项规定,重点落实北京市建委、北京市安全生产监督管理局发布的《北京市建设工程施工现场安全防护标准》,把安全生产工作纳入施工组织设计和施工管理计划中,使安全生产工作与生产任务紧密结合,保证职工在生产过程中的安全与健康,严防各类事故发生,以安全促生产。

 

2组织管理

2.1 建立安全生产责任制。工程经理部安全管理负责人与各施工单位负责人签订安全生产责任书,施工单位安全管理负责人也要与外施队签订责任书,使安全生产工作层层负责,责任落实到人。

2.2 成立以工程经理部安全管理负责人为首和各施工单位安全管理负责人参加的**电视台新台址建设工程B 标段施工总承包工程安全生产管理委员会(以下简称安全生产管理委员会),负责施工现场安全生产工作的领导与协调。

2.3 由于本工程所处地理位置的特殊性及工程的重要性,为保证施工的顺利进行,在施工现场特指定足够的专职安全员和专职事故预防员,分别负责安全施工的组织管理工作和施工现场人身安全及安全事故的预防工作。

2.4 根据作业人员情况成立2025 人的现场安全纠察队安全纠察队队员每人佩戴工程经理部统一印制的安全纠察臂章,开展日常安全生产检查工作。

2.5 每个分项工程施工前,根据施工的特点,制定分项工程施工安全技术方案和季节性安全施工措施。施工中,要根据施工作业面的环境建立安全观测系统,密切注视作业面的环境情况,发现异常须立即采取安全技术措施,确保施工顺利进行。

2.6 严格遵守《建筑工程施工安全技术规程》的规定,并严格执行施工现场安全生产管理的技术方案和措施,在执行中发现问题应及时向有关部门汇报。更改方案和措施时,应经原设计方案的技术主管部门领导审批签字后实施,否则任何人不得擅自更改方案和措施。

2.7安全组织保证体系如下图所示

 

 

 

 

 

 

 

 

 

 

 

 

 

 

 

 

 

 

安全组织保证体系图

 

3工作制度

3.1 每周召开一次施工现场安全生产管理工作例会,总结前一阶段的安全生产情况,布置下一阶段的安全生产工作。

3.2 建立并执行安全生产检查制度。安全生产管理委员会下设检查组,每周组织一次对各施工单位的安全生产联合检查,根据检查情况按施工现场检查记录表评比打分,对检查中所发现的事故隐患和违章现象,开出隐患问题通知单。各施工单位在收到隐患问题通知单后,必须根据具体情况,定时间、定人、定措施予以解决,检查组应监督落实问题的解决情况。

若发现重大不安全隐患问题,检查组有权下达停工指令,待隐患问题排除,并经检查组批准后方可施工。

3.3 建立并执行安全三级教育制度。三级安全教育的主要内容有:

3.3.1 本投标人进行安全基本知识、法规、法制的教育。

3.3.2 项目部进行现场规章制度和遵章守纪的教育。

3.3.3 班组进行本工种岗位安全操作及班组安全制度、纪律的教育。

3.4 建立并执行安全协议制。总包与各参施单位签定安全协议书,使分包单位能行使自己的安全职能,做到权责分明。

3.5 建立并执行安全一票否决制。在方案的制定、施工的组织过程中,若有危及工人生命财产安全的可能,即使方案再好、进度可能再快,也不能采纳、执行,坚决一票否决。

3.6 建立并执行安全生产技术交底制度。要求各施工项目必须有书面安全技术交底,安全技术交底必须具有针对性,并有交底人与被交底人签字。

3.7 建立并执行班前安全生产讲话制度。提高工人的安全生产意识,将安全生产落实到每一道工序中。

3.8 建立并执行危急情况停工制度。若出现可能会危及工人生命财产安全的险情,要立即停工,及时采取措施排除险情。一旦发生事故,立即停止该项目及有关项目的施工,迅速报业主和监理。

 

4安全生产管理措施

4.1 行为控制措施

4.1.1. 进入施工现场的人员必须按规定戴安全帽,并系下颌带,不系者视同违章。

4.1.2. 凡从事2m 以上无法采用可靠防护设施的高处作业人员必须系安全带。安全带应高挂低用,操作中应防止摆动碰撞,避免意外事故发生。

4.1.3. 参加现场施工的所有电工、信号工、翻斗车司机,必须是自有职工或长期合同工,不允许安排外施队人员担任。

4.1.4. 参加现场施工的特殊工种人员必须持证上岗,并将证件复印件报项目经理部质量安全部备案。

4.2 劳务用工管理

4.2.1 强化对外施队人员的管理,用工手续必须齐全有效,严禁私招乱雇,杜绝跨省市违法用工。各施工单位使用的外施队人员,必须接受建筑施工安全生产教育,经考试合格后方可上岗作业,未经建筑施工安全生产教育或考试不合格者,严禁上岗作业。

4.2.2 外施队中的特种作业人员,如起重工、卷扬机司机、电焊工、气焊工、架子工、防水工等,必须持有原所在地(市)级以上劳动保护监察机关核发的特种作业证,并换领临时特种作业操作证,方准从事特种作业。在向外施队(班组)下达生产任务的时候,必须向全体作业人员进行详细的书面安全技术交底并讲解,凡没有安全技术交底或未向全体作业人员进行讲解的,外施队(班组)有权拒绝接受任务。

4.2.3 参加现场施工的所有特殊工种人员必须持证上岗,并将证件复印件报工程经理部行政部备案。

4.2.4 外施队人员上岗前由行政部负责组织安全生产教育,授课时间不得少于24 学时,安全生产教育的主要内容有:

1. 施工现场安全生产的方针、目标以及相关政策、法规和制度。

2. 施工现场安全生产的重要意义和必要性。

3. **电视台新台址建设工程B 标段施工总承包工程施工现场的概况。

4. **电视台新台址建设工程B 标段施工总承包工程安全生产的特点。

5. **电视台新台址建设工程B 标段施工总承包工程施工现场安全生产管理制度和规定。

6. 建筑施工中因工伤亡事故的典型案例和建筑施工中高处坠落、触电、物体打击、机械(起重)伤害、坍塌等五大伤害事故的控制、预防措施。

7. 建筑施工中常用的有毒、有害化学材料的使用方法和预防中毒的知识。

4.2.5 外施队人员上岗作业前,必须由外施队负责人(或班组长)组织本队()学习本工种的安全操作规程和一般安全生产知识。主要内容包括:

1. 北京市建委编写的《危险预知训练》初级教材。

2. 北京市劳动局颁发的《北京地区建筑施工人员安全生产须知》。

3. 关于班组安全生产教育的基本要求。

4.2.6 每日上班前,外施队负责人必须召集所辖全体人员,针对当天任务,结合安全技

术交底内容和作业环境、设施、设备状况、本队人员技术素质、安全意识、自我保护意识以及思想状态,有针对性地进行班前安全讲解活动,提出具体注意事项,跟踪落实,并做好活动记录。

4.3 安全防护管理

4.3.1 进入施工现场的人员必须按规定戴安全帽,并系下颌带,严禁戴安全帽时不系下颌带。

4.3.2 开挖槽、坑、沟深度超过1.5m,根据土质和深度情况按规定放坡或加可靠支撑,并设置人员上下坡道或爬梯,爬梯两侧用密目网封闭。开挖深度超过2m 的,在边沿处设置两道护身栏杆。夜间在危险处、通道处设红色标志灯。

4.3.3 基槽内挖土、土钉墙施工、基础桩施工、降水施工等工序交叉作业,要安排各自流水作业面,施工人员不可进入挖土机回转半径范围内,保证人身安全。

4.3.4 槽、坑、沟边1m 以内不得堆土、堆料、停置机具。槽、坑、沟边与建筑物、构筑物的距离不得小于1.5m,特殊情况必须采用有效技术措施。

4.3.5 运输坡道要保证宽度和坡度,且要具备坚实的承压能力,以保证汽车上、下坡道安全。汽车进出挖、卸场地有专人指挥。

4.3.6 护坡桩、降水井施工时泥浆池周围设置明显标志,已经开挖完毕的降水井及护坡桩洞口放铁篦子或孔盖,防止有人掉入、发生危险。

4.3.7 钢管脚手架必须采用无锈蚀、弯曲、压扁的钢管,且搭设脚手架要严格遵守脚手架安全技术防护标准以及专项施工方案的具体要求。脚手架必须按方案要求与结构刚性拉接,拉接点垂直距离不得超过4m,水平距离不得超过6m

4.3.8 脚手架必须保证整体结构不变形,高度在20m 以上的外脚手架,纵向设置连续剪刀撑(十字盖),宽度不超过7 根立杆,斜杆与水平面夹角为4560°。高度在20m 以上的高大架子必须有卸荷措施。

4.3.9 脚手架基础必须平整坚实,且有排水措施,确保不沉陷、不积水,在脚手架基础或邻近处严禁挖掘作业。

4.3.10 脚手架的操作面必须满铺脚手板,离墙面不大于20cm,不能有空隙和探头板、飞跳板。操作面外侧设一道护身栏杆和一道18 厘米高的档脚板。施工层脚手板下一步架处兜设水平安全网。

4.3.11 脚手架外排架内侧统一满挂绿色密目网防护,密目网与架子要绑扎牢固、绷拉平直,封闭严密。

4.3.12 高层不使用落地式脚手架的,首层支6 米宽双层安全网,网底距接触面不小于5米,高层建筑每隔四层固定一道3 米宽的水平安全网,网接口处连接严密。支搭的水平安全网直至无高处作业时方可拆除。

4.3.13 人行马道宽度不小于1m,斜道的坡度不大于13,运料马道宽度不小于1.5m,斜道的坡度不大于16。拐弯处应设置平台,按临边防护的要求设置防护栏杆和挡脚板,防滑条间距不大于30cm

4.3.14 建筑物的出入口处搭设长6m,高度大于3m,宽于进入通道两侧各1m 的防护棚,棚顶满铺不小于5cm 厚的脚手板,非出入口和通道两侧必须封闭严密。

4.3.15 井字架、龙门架首层进料口处应搭设长度为36m 的防护棚,其它三个侧面也必须封闭,各层卸料平台出入口处均应设有安全门,通道两侧必须设有安全防护栏杆,任何人不能乘坐吊笼上下。

4.3.16 结构内1.5m×1.5m 以下的孔洞,应预埋通长钢筋网或覆盖固定盖板。1.5m×1.5m以上的孔洞,四周必须设两道护身栏杆,中间支挂水平安全网。结构施工中后浇带处要加固定盖板防护。

4.3.17 电梯井口处必须设高度不低于1.5m 的金属防护门,门两边各宽于门口10cm,门栏刷涂红白相间的颜色,同色间隔20cm。电梯井内首层及首层以上每隔四层设一道严密牢固的水平安全网。

4.3.18 建筑物楼层临边四周,未砌筑、安装维护结构时,必须设两道护身栏杆,立挂安全网且下口封严。楼梯踏步和休息平台处,设两道牢固的防护栏杆。

4.3.19 作业台架及安全护拦等要做定期检查,及时维护,预防安全事故的发生。因施工需要拆除洞口、临边防护的,必须设专人监护,监护人员撤离前必须将原防护设施复位。

4.3.20 物料堆放平稳,严禁放置在建筑物临边和洞口附近,砌块码放高度不超过1.5m

模板存放区场地地面进行硬化处理,大模板存放设置专用插放架,模板存放区设置1.2m 高围栏进行围挡。

4.3.21 凡从事2m 以上的高处作业人员必须系好安全带,并搭设可靠的防护面,安全带应高挂低用,不得低挂高用,操作中应防止摆动碰撞,避免意外事故发生。

4.3.22 土建工程部要建立天气预报制度,每天在公示栏中将未来5 天的天气情况写出来,按照应急处理预案对突发事件进行处理。在预计刮大风前,对所有可能会被大风吹倒的物件、脚手架及临时设施进行加固。

4.3.23 大风雨过后,要对高处作业安全设施逐一加以检查,发现有松动、变形、损坏或脱落等现象,要立即修理完善。

4.3.24 每天下班前,高空作业人员应将在高空存放过夜的构件摆放整齐并与结构连接牢固,预防构件被大风吹落。

4.4 临时用电管理

4.4.1 施工现场临时用电按照《施工现场临时用电安全技术规范》编制临时用电方案,建立相关的管理文件和档案资料,加强用电管理。

4.4.2 项目经理部与各施工单位签订临时用电管理协议,明确各方相关责任,并按市建委关于现场临时用电管理规定对现场进行定期和不定期检查,对发现的问题及时整改,防止发生事故。

4.4.3 临时配电线路必须按规范架设,架空线必须采用绝缘导线,不得采用塑胶软线,架空线必须沿墙壁敷设,不得成束架空敷设和沿地面明敷设,也不得架设在树木及脚手架上。

4.4.4 施工机具、车辆及人员,应与架空线路保持安全的距离和安全高度。达不到规范规定要求时,必须采用可靠的防护措施。

4.4.5 电缆穿过建筑物、构筑物、道路、易受机械损伤的场所时,必须加设防护套管。

橡皮电缆沿墙壁敷设时,要用绝缘子固定,严禁使用金属裸线作绑线。固定点间距应保证橡皮电缆能承受自重所带来的荷重,橡皮电缆的最大弧度垂距地不小于2.5m

4.4.6 配电系统必须实行分级配电。现场内所有电闸箱的内部设置必须符合有关规定,箱内电器必须可靠、完好,其选型、定值要符合有关规定,开关电器应标明用途。电闸箱内电器系统须统一式样、统一配制, 箱体统一刷涂桔黄色,并按规定设置围拦和防护棚,流动箱与上一级电闸箱的连接,采用外插连接方式。

4.4.7 独立的配电系统必须按标准采用三相五线制的接零保护系统,非独立系统可根据现场的实际情况采取相应的接零或接地保护方式。各种电气设备和电力施工机械的金属外壳、金属支架和底座也必须按规定采取可靠的接零或接地保护。

4.4.8 采用接零或接地保护方式时,必须设两级漏电保护装置,实行分级保护,形成完整的保护系统,漏电保护装置的选择应符合规定。

4.4.9 现场金属架构物(照明灯架、垂直提升装置、超高脚手架)和各种高大设施必须按规定装设避雷装置。

4.4.10 手持电动工具的使用应符合国家标准的有关规定。工具的电源线、插头和插座应完好,电源线不得任意接长和调换,工具的外绝缘应完好无损,由专人负责对其维修和保管。

4.4.11 施工现场的临时照明一般采用220V 电源照明,结构施工时,应在顶板施工中预埋线管,临时照明和动力电源应穿管布线,必须按规定装设灯具,并在电源一侧加装漏电保护器。

4.4.12 土方基础施工,内部照明应使用24V 低压照明设备,结构施工内部照明使用行灯照明,其电源电压不超过36V,灯体与手柄应坚固,绝缘良好,电源线须使用橡套电缆线,不得使用塑胶软线。灯具变压器应有防潮、防雨水设施。外围的强电照明,必须搭设灯架,灯架高度不得低于2m,并做好绝缘。

4.4.13 电焊机单独设开关,施工现场内使用的所有电焊机必须加装电焊机触电保护器。电焊机一次线长度应小于5m,二次线长度应小于30m。接线应连接牢固,并安装可靠防护罩。焊把线应双线到位,不得借用金属管道、金属脚手架、轨道及结构钢筋作回路地线。焊把线要保证无破损,绝缘良好。电焊机设置地点应防潮、防雨、防砸。焊接现场不得堆放易燃易爆物品。

4.4.14 施工现场临时用电由专业人员负责管理,由专人负责各类配电箱、开关箱、电气设备、电力施工机具的检修和维护工作,检修时必须切断电源,拆除电气连接并悬挂警示标牌,试车和调试时应确定操作程序和设立专人监护。

4.5 施工机械安全防护管理

4.5.1 严格遵守《建筑机械操作规程》的规定,建立机械设备验收制度,未经验收和验收不合格的机械设备严禁使用。

4.5.2 外用电梯的地基做法、安装和使用须符合原厂使用规定。安装和拆除必须由具有相应资质的企业进行,并办理验收手续,经检验合格后,方可使用。施工电梯使用中,应定期进行检测。施工电梯的安全装置必须齐全、灵敏、可靠。

4.5.3 外用电梯的制动装置、上下限位、门联锁装置必须齐全灵敏有效,限速器符合规范要求,安装完成后进行吊笼防坠落试验。

4.5.4 外用电梯司机必须持证上岗,熟悉设备的结构、原理、操作规程等。班前必须坚持例行的保养,设备接通电源后,司机不得离开操作岗位,监督运载物料时,做到荷载均衡分布,防止倾翻和外漏坠落。

4.5.5 施工现场的木工、钢筋、混凝土、卷扬机械、空气压缩机必须搭设防砸、防雨的专用操作棚。

4.5.6 施工现场机械设备安全防护装置必须保证齐全、灵敏、可靠。

4.5.7 各种机械设备的安装要有安装验收手续,并在明确位置悬挂安全操作规程及设备负责人的标牌。

4.5.8 施工现场机械严禁超载和带病运行,运行中禁止维护保养;操作人员离机或作业停电时,必须切断电源。

4.5.9 蛙式打夯机必须两人操作,操作人员必须戴绝缘手套和穿绝缘鞋。蛙式打夯机必须使用单向开关,操作扶手应采取绝缘措施。严禁在打夯机运转时清除积土。打夯机用后应切断电源遮盖防雨布,并将机座垫高停放。

4.5.10 氧气瓶不得曝晒、倒置、平放使用,瓶口处禁止沾油。氧气瓶和乙炔瓶工作间距不得小于5m,两瓶与明火作业距离不得小于10m。采用二氧化碳气体保护焊接,应严格执行各项有关安全规定,应保持通风良好,并不得在密闭场所施工,施工人员与焊接点应保持在安全距离。

4.5.11 圆锯的锯盘及传动部位应安装防护罩,并应设置保险档、分料器。凡长度小于50cm,厚度大于锯盘半径的木料,严禁使用圆锯。

4.5.12 砂轮机应使用单向开关。砂轮必须装设不小于180 度的防护罩和牢固的工托架。严禁使用不圆、有裂纹和磨损剩余部分不足25mm 的砂轮。

4.5.13 平面刨(手压刨)安全防护装置必须齐全有效。

4.5.14 吊索具达到报废标准的,必须及时更换,并应注意:

1. 钢丝绳应根据用途保证足够的安全系数。凡表面磨损、腐蚀、断丝超过标准的,打死弯、断股、油芯外露的不得使用。

2. 吊钩除正确使用外,应有防止脱钩的保险装置。

3. 卡环在使用时,应使销轴和环底受力。吊运大模板、大灰斗、混凝土斗等大构件时,必须使用卡环。

4.5.15 机动翻斗车在场内行驶时,时速不得超过5 公里,方向机构、制动器、灯光等应灵敏有效,行车中严禁带人。往槽、坑、沟、卸料时,应保持安全距离并设挡墩。

4.5.16 自卸汽车等在坡道停放时,下坡停放应挂上倒挡,上坡停放应挂上一挡,应使用三角木楔等塞紧轮胎。

4.5.17 对于夜间通行的车辆或工程机械设备,必须有专人指挥,设置醒目的红色信号灯,其电源应设在施工现场电源总开关前侧。

4.6 超高倾斜钢结构施工安全措施

4.6.1 吊装安全要求

钢结构安装采用定型式爬梯、靠梯及A 型梯子解决人员上下的问题,部分柱梁安装处,因悬臂无法安设定型脚手时,需土建单位配合支搭钢管脚手架,主要是在地下室及坡顶,用柱头操作平台、吊篮,解决安装操作的问题,并搭设固定式走道板于设备平台,电焊机棚于安装操作点之间。

1. 钢柱上安装爬梯安全要求

安装前在钢柱上装设爬梯,一般为一柱一串梯,梯子分节组成,与柱同长,上部中部应与柱子拉直卡紧,下面与已安装层固定,严禁安装在柱外侧。安装层间设有靠梯,凡中部悬臂处设有A 型梯,并设有防滑装置。要求每节柱的主梁安装完毕,即安装钢楼梯搭设好栏杆,在已安装完层及时安装电梯以供施工人员使用。梯上人员要站稳把牢,谨防失足坠落。不准两人合用一梯作业。

2. 吊篮安全要求

吊篮用钢筋制成,用于梁上翼缘处,由施工人员按需要自行制作、安装。

3. 塔式起重机安全要求

自升式塔式起重机安装、拆装技术性更强,尤其是顶升,顶落和附着技术要求很高,必须加倍重视,采取严谨的安全技术措施。起重量必须严格按照原厂规定,不得超载。安装、拆除、验收、 运行、保养、维修按有关规定进行,必须做到四限位两保险,且灵敏有效并按规定做好防雷接地。司机必须持证上岗,视力良好,责任心强。实行机长负责制,做好运转、交班记录。指挥配备专人,且持证上岗。指挥人员必须按照塔吊指挥人员准则及有关规定进行指挥。

严禁利用起重钓钩升降人员。

4.6.2 安装用脚手架安全要求

安装用脚手架必须满足施工高度的要求,顶层四周要搭设1.5m 高的两道护身栏,并设挡脚板,同时还要用立网封闭。顶层脚手板铺厚度不小于50mm 的木板。支撑脚手板的横杆要加密,间距一般应不大于0.75m,采用0.60m

4.6.3 缆风绳安全要求

安装第一节柱子时用揽疯绳,每组缆风绳不应少于4 根,缆风绳一端系在钢柱上,另一端固定在地锚上。沿钢柱与地面之间的夹角,应以45º 60º 为宜,角度越大,缆风绳受力也越大不利于钢柱的稳定。

4.6.4 安全网的搭设要求

安全平网沿建筑物外侧3.0m 处搭设,距梁上皮2.0m 处在安装部位的下节柱挑出,随安装层次设置平网一层。随吊装层支搭大孔网,当层高小于4m 时,安全网隔层设置。

立网挂于正在浇筑楼面混凝土的层满为节长网随楼层层当响墙时

操作平台                  爬梯

4.6.5 焊接安全要求

1. 焊接前应对电焊机进行检查和保养,保证电焊机使用时工作状态良好。每台电焊机的地线要单独设置,制作地线专用卡具,并与钢结构连接牢固。

2. 气瓶每8 支装入一个吊笼,以供串联或堆放、起吊、换气。

3. 柱头操作平台,供钢柱安装与焊接、防风,分内柱与外柱两种。

4. 凡放置电焊机棚,设备平台处,钢梁的螺栓须全部投入并拧紧。

4.7 群塔作业管理

4.7.1 组织领导

成立由工程经理部塔机管理负责人为首,各塔吊所属单位塔机管理负责人参加的**电视台新台址建设工程B 标段施工总承包工程塔机作业指挥中心(以下简称塔机指挥中心),负责对施工现场各施工单位塔机之间关系的指挥与协调工作,以满足安全生产的需要,做到合理使用、提高效率、发挥最大效能。

4.7.2 管理规定

1. 一般规定

1) 塔机指挥中心负责指挥、协调施工现场的塔机使用、维修、顶升和运行工作。

2) 各单位塔机管理负责人,负责本单位塔机的日常管理、故障排除、紧急抢修、日常维护、检查评比等项工作,负责向塔机指挥中心汇报情况,服从塔机指挥中心的整体部署和统一指挥。

2. 塔机管理

1) 各单位要严把人员关,选派责任心强、有较长驾龄、技术较全面的司机担任现场塔机驾驶任务。

2) 进业现场的塔机司机,要严格遵守各项规章制度和现场管理规定,做到严谨自律,一丝不苟,禁止各行其是。

3) 为了确保工程进度与塔机安全,各塔机须确保驾驶室内24 小时有司机值班。交班、替班人员未当面交接,不得离开驾驶室,交接班时,要认真做好交接班记录。

4) 塔机长时间暂停工作时,吊钩应起到最高处,小车拉到最近点,大臂按顺风向停置。

5) 对严格限制塔臂回转角度的塔机,要采取塔臂回转限制措施。

6) 统一在塔机起重臂、平衡臂端部、塔机最高处安装标志灯及小红旗。

7) 施工现场设置能够满足塔机夜间施工的照明灯塔,亮度以塔机司机能够看清起重绳为准。

8) 各塔在运行中,各条件同时存在时,必须遵照塔机运行原则:

(1) 低塔让高塔:低塔在转臂之前应先观察高塔的运行情况,再运行作业。

(2) 后塔让先塔:在两塔臂的工作交叉区域内运行时,后进入该区域的塔要避让先进入该区域的塔。

(3) 动塔让静塔:在塔臂交叉区域内作业时,在一塔臂无回转,小车无行走,吊钩无运动,另一塔臂有回转或小车行走时,动塔应避让静塔。

(4) 轻车让重车:在两塔同时运行时,无荷载塔机应避让有荷载塔机。

(5) 客塔让主塔:以各施工单位实际工作区域划分塔机工作区域,若塔臂进入非本单位工作区域时,客区域的塔机要避让主区域塔机。

3. 信号指挥

1) **电视台新台址建设工程B 标段施工总承包工程系群塔水平交叉、立体多层次作业的特殊现场,塔机司机视野有限,因此,信号指挥人员至关重要,故各单位选派有多年实际工作经验、责任心强、能够照顾全面的信号指挥人员担任现场的信号指挥工作。

2) 进入施工现场操作的信号指挥人员,必须经市劳动局统一培训,考试合格并取得操作证书方可上岗指挥。

3) 信号指挥人员应与塔机组相对固定,无特殊原因不得随意更换信号指挥人员,信号指挥人员未经主管负责人同意,不得私自换岗。换班时,采用当面交接制。

4) 塔机与信号指挥人员应配备对讲机,对讲机经统一确定频率后必须锁频,使用人员无权调改频率,要专机专用,不得转借。指挥时一律采用普通话,以免因歧义造成指挥错误。

5) 指挥过程中,严格执行信号指挥人员与塔机司机的应答制度即:信号指挥人员发出动作指令时,先呼叫被指挥的塔机编号,司机应答后,信号指挥人员方可发出塔机动作指令。

6) 指挥过程中,信号指挥人员应时刻目视塔机吊钩与被吊物,塔机转臂过程中,信号指挥人员还须环顾相邻塔机的工作状态,并发出安全提示语言,安全提示语言须:明确、简短、完整、清晰。

4. 起重工(挂钩工)

1) 起重工要严格执行十不吊操作规定。清楚被吊物重量,掌握被吊物重心,按规定对被吊物进行绑扎,绑扎必须牢靠。在被吊物跨越幅度大的情况下,要确保安全可靠,杜绝发生天女散花的现象。

2) 起重工作业前、作业中、交班时,必须对钢丝绳进行检查与鉴定,不合格的钢丝绳严禁使用。

5. 塔机顶升

1) 与相邻单位无影响的塔机,可根据本单位的实际需要,确定本塔的顶升高度和顶升时间。但必须书面上报塔机指挥中心,经审核签字批准后,方可进行顶升。

2) 塔机指挥中心在保证安全生产的前提下,根据工程进度,统一确定塔机顶升高度和到位时间。各塔机必须按塔机指挥中心确定的高度、时间,如期完成顶升,不得提前或延时。

3) 各塔机按塔机指挥中心第一次顶升方案顶升至确定高度后,在工程施工到±0.000 部位时,应尽快确定锚固点位置,同时做好锚固方案及准备工作,以便塔机指挥中心确定下一步顶升高度。

(劳务用工部分)

施工单位: 工程名称:

序号

检查项目

检查情况

标准分值

评定分值

1

规章制度是否健全

 

10

 

2

管理工作是否到位

 

10

 

3

领工员佩戴标志是否齐全

 

10

 

4

注册手续是否齐全

 

10

 

5

办理就业凭证是否齐全

 

10

 

6

专(兼)职管理人员是否配齐

 

10

 

7

进入现场佩戴胸卡是否齐全

 

5

 

8

有无跨省、市用工(情况)

 

10

 

9

有无未成年工(情况)

 

5

 

10

台帐、资料是否齐全

 

10

 

11

工程款(劳务费)结算是否及时

 

10

 

应得分

 

实得分         得分率         折合标准分值

(安全防护管理部分)

施工单位: 工程名称:

序号

检查项目

检查情况

标准分值

评定分值

1

土方工程安全防护符合标准

 

5

 

2

脚手架支搭符合标准

 

10

 

3

脚手架作业面安全防护齐全有效

 

5

 

4

安全网支搭符合标准

 

10

 

5

防护棚架设置合理,符合要求

 

5

 

6

楼梯安全防护牢固可靠

 

5

 

7

阳台、楼层、屋面临边防护措施可靠

 

5

 

8

孔、洞、坑有牢固防护措施可靠

 

5

 

9

电梯井口有固定防护措施

 

5

 

10

井字架、龙门架、照明架支搭符合标准

 

5

 

11

吊笼、卸料平台安全防护措施可靠

 

5

 

12

材料、设备放置安全合理

 

5

 

13

施工现场无违章作业

 

5

 

14

资料

安全措施方案符合实际并能贯彻实施

 

5

 

15

高大异型架子有设计审批、验收手续

 

5

 

16

安全技术交底资料齐全

 

5

 

17

安全检查资料齐全

 

5

 

18

职工应知考核

 

5

 

应得分

实得分         得分率             折合标准分值

检查员签字:

(临时用电安全管理部分)

施工单位:           工程名称:              

序号

检查项目

检查情况

标准分值

评定分值

1

施工区、生活区架设配电线路应符合有关规范

 

5

 

2

施工区、生活区按规范装设照明设备

 

5

 

3

照明灯具和低压变电器的安装使用符合规定

 

4

 

4

特殊部位的内外电线路按规范采取安全防护

 

5

 

5

施工区实行分级配电,配电箱、开关箱位置合理

 

5

 

6

配电箱、开关箱安装和内部设置符合规定

 

5

 

7

箱内电器完好,选型定值合理,表明用途

 

5

 

8

箱体牢固、防雨、内无杂物、整洁、编号、停用后加锁

 

5

 

9

配电系统按规范采用接零或接地保护系统

 

5

 

10

电力施工机具作可靠接零或接地

 

5

 

11

现场的高大设施按规范要求装设避雷装置

 

5

 

12

配电箱、开关箱设两级漏电保护,选型符合规范

 

6

 

13

值班电工个人防护用品穿戴齐全,持证上岗

 

4

 

14

施工机具电源入线压接牢固整齐,无乱拉扯压砸现象

 

5

 

15

手持电动工具绝缘完好,电源线无接头破损

 

5

 

16

电焊机一、二次线防护齐全,焊把线双线到位,无破损

 

6

 

17

临时用电有设计书(方案)和管理制度

 

5

 

18

配电系统有线路走向,配电箱分布及接线图

 

5

 

19

电工值班室有制度牌、设备检测、验收、维修记录

 

5

 

20

职工应知考核

 

5

 

应得分

 

实得分                 得分率                   折合标准分值

检查员签字:

(施工机械安全管理部分)

施工单位:            工程名称:                 

序号

检查项目

检查情况

标准分值

评定分值

1

路基轨道铺设要符合规定

 

8

 

2

塔机卷线器运转正常,电缆线无破损,压接牢固

 

4

 

3

塔式起重机的安全装置齐全有效

 

8

 

4

信号指挥人员有明显标志,不能兼作其它工作

 

4

 

5

施工电梯的限位装置应灵敏有效

 

 

5

 

6

施工电梯有可靠的制动器

 

 

5

 

7

施工电梯导轨及附墙拉接点符合规定

 

5

 

8

起重机械运行中按规定保持安全距离

 

5

 

9

中小型机械的使用应符合规定

 

5

 

10

搅拌机设置及安装应符合规定

 

5

 

11

卷扬机的地锚及设置符合规定

 

5

 

12

机械设备传动外露部分要有防护装置

 

4

 

13

机械设备维护保养符合规定

 

5

 

14

机械设备电器控制箱齐全有效

 

4

 

15

吊索具应按规定使用

 

5

 

16

机械设备电器控制箱齐全平面图

 

5

 

17

塔式起重机有安装、路基验收手续

 

4

 

18

施工电梯有安装验收手续

 

4

 

19

操作人员持证上岗

 

4

 

20

职工应知考核

 

5

 

应得分

 

实得分                 得分率                   折合标准分值

检查员签字:

 

2、文明施工管理

1政策依循

1.1 目标:遵循绿色施工组织理念,建设花园式工地,确保北京市文明安全样板工地

1.2 政策依循

在组织施工中,本投标人将认真贯彻执行建设部、北京市建委、北京市环保局、北京市卫生局关于施工现场文明施工管理的各项规定,重点落实《北京市建设工程施工现场现场管理基本标准》、《北京市建设工程施工现场环境保护工作基本标准》,《北京市建设工程施工现场保卫工作基本标准》、《北京市建设工程现场管理补充生活及卫生防疫管理标准》,以及《北京市建设工程施工现场文明安全施工补充标准》,遵循绿色施工组织理念,建设花园式工地,确保北京市北京市文明安全样板工地

 

2组织管理

2.1 建立文明施工生产责任制。工程经理部文明施工负责人与各施工单位负责人签订治安保卫责任书,施工单位文明施工负责人也要与外施队签订责任书,使文明施工管理工作层层负责,责任落实到人,做到凡事有人管,事事有落实,违规必追究。

2.2 成立由工程经理部文明施工管理负责人为首,各施工单位文明施工管理负责人参加的**电视台新台址建设工程B 标段施工总承包工程文明施工管理委员会(以下简称文明施工管理委员会),组织领导施工现场的文明施工管理工作。

2.3 根据现场情况,工程经理部成立1020 人的场容清洁队,配备专用洒水车及其它保洁工具,每天负责清扫场内交通道路和办公区域并洒水降尘。

 

3工作制度

3.1 每半月召开一次施工现场文明施工管理工作例会,总结前一阶段的施工现场文明施工情况,布置下一阶段的施工现场文明施工工作。

3.2 建立并执行施工现场文明施工工作检查制度。文明施工管理委员会下设检查组,每半月组织一次对各施工单位施工现场文明施工的联合检查,根据检查情况按施工现场检查记录表评比打分,对检查中所发现的问题,开出隐患问题通知单,各施工单位在收到隐患问题通知单后,应根据具体情况,定时间、定人、定措施予以解决,检查组有关部门应监督落实问题的解决情况。

3.3 在项目实施过程中推行文明施工方案会签制,根据合同内容、施工范围、施工区域等划分文明施工责任区,从制度上落实文明施工工作,保证文明施工的切实落实。

 

4文明施工管理措施

4.1 大门、围墙管理措施

4.1.1 施工现场的围挡结构、大门、广告标志等,将依照本投标人CI 设计标准,并充分考虑建设单位提出的具体要求,使得外部形象做到美观大方、统一规范,同周边环境协调一致,展现首都建设的风貌。适宜季节时,还可以在大门口和围墙边摆放花卉。

4.1.2 根据施工现场情况和施工需要设置大门,大门门扇对开,金属框架,铁皮封面,内外喷漆,完全封闭式,且开启自如。车辆出入时打开,不用时关闭。门柱砌块砌筑,正方形截面尺寸50×50cm,高2.4m。围墙采用2.3m 的铁皮围挡,达到牢固、美观、封闭完整的要求,上口平,外立面直。

4.1.3 在主要大门口明显处设置标牌,标牌写明工程名称、建筑面积、建设单位、设计单位、施工单位、工地负责人,开工日期、竣工日期等内容,字迹书写规范、美观,并经常保持整洁完好,标牌面积为0.7m×0.5m,底边至地面距离为1.3m

4.1.4 大门口内设二图五板,如下图所示:

 

 

 

 

 

 

 

 

 

 

 

 

 

 

 

4.1.5 现场设置各类标志牌,如下表所示:

标志牌

说明

现场导向牌

按照本投标人CI 标准,在工地入口及主要道路设置施工现场导向牌。

操作规程牌

钢筋加工场、木工车间等机具集中或较固定处,醒目位置挂相应机具的安全操作规程牌。

安全警示牌

机具、电箱、四口五临边等位置挂相应的安全警示牌,脚手架、卸料平台挂验收合格牌和限高、限载牌。限载牌应填写具体数字;模板多少块、木方多少条等。

材料标示牌

施工现场各种材料均应分别挂材料标示牌,注明产地、规格、数量和检验状态。

设备牌

塔吊、电梯、脚手架,各式吊车等垂直运输、起重设备,标挂验收合格牌、操作规程牌、机械性能牌和安全警示牌。

4.2 施工现场场容管理措施

4.2.1 施工现场平面布置严格执行施工组织设计中的施工平面图,对施工区统一规划和管理,避免各自为战的混乱局面,确保施工区的有序,创造整洁、有序、安全的作业环境,做到文明施工生产。

4.2.2 施工现场道路和堆料场地全部硬化,且做到平整、坚实,做到黄土不露天。统一设置排水系统,做到雨天不积水。

4.2.3 施工现场暂设用房统一规划,办公区、生产加工区等严格分区,分块建设,避免交叉干扰,并设明显标志,暂设用房禁止使用不合格的建筑材料搭设,并应符合环保、消防的要求。

4.2.4 为避免生活区与施工区的相互影响,根据招标文件的要求,施工现场不设生活区,生活区另行租地设置。

4.2.5 入住生活区的作业人员只需携带自己基本的生活用品即可入住,提供统一的床铺、被褥,由专人进行卫生清扫工作,确保生活区的卫生、安全条件,减少疫病,保护作业人员的身体健康。

4.2.6 施工作业面通道设置显著标志,无建筑垃圾,有良好的采光或照明,且易于行走,安全措施可靠。对建筑物内外的零散碎料和垃圾渣土及时进行清理,确保楼梯踏步、休息平台等部位保持干净、整洁,保证人员通行。

4.2.7 运输道路和作业面落地灰及时清理。砂浆、混凝土倒运时,用容器或铺垫板。浇筑混凝土时,采取防散落措施。

4.2.8 安排专人对主体和装修施工过程中的安全网进行清理,保证使用中的安全网干净整洁,对于破损的及时更换。

4.2.9 安排专人每天对浇筑地点的散落灰进行清理,确保不出现扬尘。

4.2.10 工人操作地点和周围必须清洁整齐,做到活完料净脚下清。施工垃圾和洒漏的混凝土及时清理。

4.2.11 建设工程内不得设置宿舍。

4.3 施工现场材料管理措施

4.3.1 施工现场内各种料具按施工平面布置图的指定位置存放,并分规格码放整齐、牢固,做到一头齐、一条线。砖应成行,高度不得超过1.5m,砌块码放高度不得超过1.8m,砂、石和其它散料成堆,界限清楚,不得混杂。

4.3.2 合理制定用料计划,按计划进料。合理安排材料进场,随用随进,不得在场外堆放施工材料,各种材料不得长期占用场地,各种废料必须及时处理。

4.3.3 钢材、木材等料具要合理使用,长料不短用,优材不劣用。节约用水、用电,消灭长流水和长明灯。

4.3.4 基础施工阶段钢筋加工场在场外设置,主要钢筋的放样和加工在场外进行。主体结构施工阶段钢筋加工场移至场内,钢筋的放样和加工在场内进行。

4.3.5 施工现场内的各种材料,依据材料性能妥善保管,采取必要的防雨、防潮、防晒、防火、防损坏等措施,贵重物品、易燃、易爆和有毒物品应及时入库,专库专管,加设明显标志,并建立严格的领、退料理手续。

4.3.6 砖、砂、石和其它散料应随用随清,不留料底,散落灰必须及时清理。施工现场剩余料具和容器及时回收,堆放整齐,并及时清退。砂、石、存土等散料及时覆盖,防止工地扬尘污染环境。

4.3.7 合理设置施工现场的垃圾存放点,所有垃圾当天清除出场,确保现场没有堆积垃圾及废料,并按政府有关管理机构的规定,运送到指定的垃圾消纳场。楼内每层固定的地点设置垃圾存放点,及时清运出楼。

4.4 施工现场卫生与防疫管理措施

详见第六章 施工现场卫生与防疫管理

(现场宣传部分)

施工单位:               工程名称:                   

 

序号

标准 分值

评定 分值

1

徽记制作规范,合乎比例, 悬挂位置合理,醒目

 

20

 

2

施工单位标牌位置显要,符合规定

 

30

 

3

门头美化

 

10

 

4

现场围挡符合要求

 

10

 

5

会议室布置符合规定

 

20

 

6

现场宣传厨窗无损,各种标牌齐全, 内容更换及时

 

10

 

应得分          实得分         得分率                     折合标准分值

检查员签字:

(现场场容管理部分)

施工单位:                   工程名称:                  年

序号

检查项目

检查情况

标准分值

评定分值

1

施工现场大门和围档牢固整齐,符合要求

 

5

 

2

临设工程牢固整齐,材质符合要求

 

5

 

3

工地主要出入口设施工单位标牌

 

4

 

4

有两图五板

 

8

 

5

现场运输道路平整、畅通,有排水措施

 

5

 

6

料具和构配件码放整齐,符合要求

 

5

 

7

楼梯、休息平台、阳台不得堆放材料和杂物

 

5

 

8

施工现场内无随地大小便痕迹

 

5

 

9

建筑物内外零散碎料和垃圾渣土清理及时

 

5

 

10

成品保护措施健全有效

 

5

 

11

责任区分片包干,个人岗位责任制健全

 

4

 

12

施工区不得住人

 

4

 

13

施组编制、审批手续齐全,内容科学合理

 

10

 

14

施组变更手续齐全,有原审批人签字

 

5

 

15

流水段、工序流程、设备配置符合施组

 

5

 

16

季节性施工方案和措施齐全、针对性强切实可行

 

5

 

17

施工平面布置图符合规定,现场状况与图相符

 

10

 

18

职工应知考核

 

5

 

应得分

 

实得分                 得分率                   折合标准分值

检查员签字:

 

3、消防工作管理

1政策依循

1.1 方针:预防为主,防消结合

在施工过程中,始终贯彻预防为主,防消结合的消防工作方针。

1.2 目标:杜绝火灾事故,避免火警事故,尽量减少冒烟事故。

强化消防工作管理,实现杜绝火灾事故,避免火警事故,尽量减少冒烟事故的目标。

1.3 政策依循

认真执行《中华人民共和国消防条例》、建设部15 号令(即《建设工程施工管理规定》)、北京市84 号令(即《北京市建设工程施工现场消防安全管理规定》)、《北京市防火安全工作管理规定》及其它有关法规,将消防工作纳入施工组织设计和施工管理计划中,使防火工作与生产任务紧密结合,有效地落实防火措施,严防各类火灾事故发生。

 

2组织管理

2.1 建立防火责任制。工程经理部防火负责人与**电视台新台址建设工程办公室签订《防火安全承包责任书》,与各施工单位防火负责人签订防火责任书,施工单位防火负责人也要与外施队签订防火责任书,使防火工作层层负责,责任落实到人。

2.2 成立工程经理部消防管理负责人为首和各施工单位消防管理负责人参加的**电视台新台址建设工程B 标段施工总承包工程消防管理委员会(以下简称消防管理委员会),负责施工现场消防工作的领导与协调。

2.3 建立多层次的义务消防队组织,工程经理部根据具体情况成立3050 人的义务消防队,各施工单位也要设立基层义务消防队,义务消防人员必须经过培训并建立防火工作档案。

 

3工作制度

3.1 每半月召开一次施工现场消防管理工作例会,总结前一阶段消防工作的情况,布置下一阶段的消防工作。

3.2 建立并执行消防工作检查制度。消防管理委员会下设检查组,每半月组织一次对各施工单位消防安全工作的联合检查,根据检查情况按施工现场检查记录表评比打分,对检查中所发现的隐患问题和违章现象,开出重大隐患问题通知单,各施工单位在收到重大隐患问题通知单后,应根据具体情况,定时间、定人、定措施予以解决,检查组应监督落实问题的解决情况。若发现重大隐患问题,检查组有权下达停工指令,待隐患问题排除,并经检查组批准后方可施工。

3.3 制定消防工作总体方案,并报送市级公安消防机构。消防工作总体方案根据不同季节和工程进度,制定出分阶段的防火预案及灭火方案。对发生火灾后包括报警、灭火疏散、抢运物资、抢救伤员等项工作,应详细分工,明确职责、使灭火工作忙而不乱,有序有效,把损失减小到最低限度。

3.4 对进场的操作人员进行安全防火知识教育,每周四定为安全教育日,对施工人员及操作者进行安全、防火知识的教育,并利用板报和醒目标语等多种形式宣传防火知识,从思想上使每个职工重视安全防火工作,增强防火意识。

3.5 每季度组织一次防火演习,使工程经理部具备一定的自救能力,一旦发生火情,在消防车到达现场之前,可以进行有效地自救。

 

4消防工作管理措施

4.1 现场施工要坚持防火安全交底制度,特别是在进行电气焊、油漆粉刷或从事防水等危险作业时,防火安全交底要具有针对性。

4.2 施工现场道路兼作消防车道使用,其宽度为6m。现场内要设置防火标志牌、防火制度、防火计划及119 火警电话等醒目标志,并明确划出发生火警时逃生线路及集合地点。

4.3 根据施工现场的具体情况设置消火栓,并做到布局合理,经常维护和保养,在寒冷季节采取防冻保温措施,保证消防器材灵敏有效。消火栓处昼夜要设有明显标志,并配备足够的水龙带,消火栓进水干管直径为DN100

4.4 现场内的各种施工材料、机具及各种物资要码放整齐,严禁占用消防通道。消火栓周围3m 以内,也不得堆放任何物品。

4.5 各施工单位对重点防火部位、易发生火险部位,要配备足够的干粉灭火器,随工程进度及楼层不断增高而及时增加干粉灭火器,并有明显的防火标志,灭火器要经常检查、维护、保养,保证灭火器材灵敏有效。灭火器材必须在经市消防局批准的销售单位购置。

4.6 加强用火、用电管理, 严格执行电、气焊工的持证上岗制度。无证人员和非电、气焊工人员一律不准操作电气焊、割设备。

4.7 电、气焊工要严格执行用火审批制度,操作前,要清除附近的易燃物,开具用火证,并配备看火人员及灭火器材。用火证当日有效,动火地点变换,要重新办理用火证。消防人员必须对用火严格把关,对用火部位、用火时间、用火人、场地情况及防火措施要了如指掌,并对用火部位经常检查,发现隐患问题,要及时予以解决。

4.8 使用电气设备和易燃、易爆物品,必须严格落实防火措施,指定防火负责人,配备灭火器材,确保施工安全。

4.9 施工现场使用的电气设备必须符合防火要求。临时用电必须安装过载保护装置,电闸箱内不准使用易燃、可燃材料。严禁超负荷使用电气设备。施工现场存放易燃、可燃材料的库房、木工加工场所、油漆配料房及防水作业场所不得使用明露高热强光源灯具。

4.10 施工暂设和施工现场使用的安全网、密目式安全网和保温材料符合消防安全规定,不使用易燃或者可燃材料。

4.11 建设工程内禁止存放易燃、易爆、化学危险物品和易燃、可燃材料。对易燃、易爆、化学危险物品和压缩、可燃气体容器等,按其性质设置专用库房分类存放。因施工需要,进入结构内的可燃材料,要根据工程计划,限量进入,并应采取可靠的防火措施。上述物品进场必须事先征得有关管理部门的同意,发给《特种物料进场许可证》方可进场,对擅自进料或超过批准数量进料的,按消防法规及内部规定追究主管人和当事人的责任。

4.12 施工现场内因施工需要使用易燃的稀释剂或添加剂时,应在工程结构外调制完毕后进入现场内使用,各单位对施工过程中的易燃物品应及时清理,消除火灾隐患。

4.13 在防水施工作业前,必须制定防火预案,采取行之有效的防火措施,对防水材料的运输、使用,应严格执行操作规程,明确专人负责组织施工,防止发生火灾和爆炸事故。

4.14 结构工程施工,应设置临时消防竖管,消防竖管管径不得小于75mm,并随层数的升高每层设置一处消防栓口并配备足够的水龙带。消防供水保证足够的水源和水压,保证水枪的充实水柱射到最高、最远点,严禁消防竖管作为施工用水管线。消防泵房应用非燃材料建造,位置设置合理。消防泵的专用配电线路应引自施工现场总断路器的上端,并设专人值班,以保证连续不间断供电。

4.15 施工现场严禁吸烟。建设工程内不得设置宿舍。

4.16 施工现场内和办公区,未经消防部门批准严禁使用电炉或大功率电器。严禁工程中明火保温施工及宿舍内明火取暖。

4.17 氧气瓶、乙炔瓶工作间距不少于5m,两瓶距离明火作业点不少于10m,焊接及气焊作业佩戴好防护用品。

4.18 施工中,对所用木料必须加强管理。进场的新、整材料,要集中码放、整齐有序,并配备灭火器材,设专人看管。拆模后的木料要及时清运至专用木料周转场地,并严格管理。废旧木料要及时清运出场,严防火灾事故发生。

4.19 电焊作业的每一作业点必须配备专门的看火人员,配齐灭火器材。作业完成后确认没有余火后,方准离开。

4.20 施工现场对氧气、乙炔、油漆等易燃、易爆物品做好危险源的识别工作,并有针对性地制定火灾应急预案。

**电视台新台址建设工程B 标段施工总承包工程

编号:

时间

 

用火部位

 

单位

 

用火人

 

看火人

 

特殊要求及措施:

 

 

 

 

 

 

批准人

 

检查人

 

注意事项:1、严禁非电、气焊工操作、看火人员不得离开岗位。

2、将周围的易燃物清理干净。

3、配备必须的防、灭火器材。

**电视台新台址建设工程B 标段施工总承包工程

进场许可证

编号:

材料名称

规格

数量

进场时间

存放时间

保管人

 

 

 

 

 

 

 

存放或使用部位

 

单位领导

 

 

 

**电视台新台址建设工程B 标段施工总承包工程

防火检查记录表

编号:

被检查单位

 

部位

 

检查时间

 

 

 

检查人员

 

被检查单位负责人

 

落实结果

 

 

(消防管理部分)

施工单位:                   工程名称:                  

序号

检查项目

检查情况

标准分值

评定分值

1

建筑内外消防道路和通道畅通

 

4

 

2

现场有明显的防火标志

 

5

 

3

消防设施、工具、器材设置符合规范

 

5

 

4

施工现场内禁止吸烟,或设吸烟室

 

 

4

 

5

施工现场内禁止易燃支搭

 

4

 

6

施工现场及建筑内不允许搭设小工棚及小仓库

 

5

 

7

建筑内不准安排职工和他人居住

 

4

 

8

施工现场临时建筑符合防火规定

 

5

 

9

仓库内易燃型油料和料具不能混放

 

5

 

10

剧毒易燃物应有严格的退领手续

 

4

 

11

油漆库和油工配料房分开设置

 

3

 

12

氧气瓶、乙炔瓶(罐)使用符合规范

 

4

 

13

24m 以上建筑按规定设消防立管和专用水泵电源

 

6

 

14

明火作业符合规定要求

 

6

 

15

建筑材料、机具和成品保护措施健全有效

 

5

 

16

施工现场未经批准,不准使用电热器具

 

3

 

17

 

电、气焊工必须持证上岗

 

5

 

18

保卫及消防设施的布置要符合平面图

 

4

 

19

施工现场有保卫消防制度、方案和预案

 

4

 

20

有保卫消防负责人和组织

 

4

 

21

保卫消防检查要有记录和整改措施

 

6

 

22

职工应知考核

 

5

 

应得分

 

实得分                 得分率                   折合标准分值

检查员签字:

 

4、治安保卫管理

1政策依循

1.1 目标:创北京市治安保卫先进工地。

贯彻北京市施工现场治安保卫工作基本方针,施工现场杜绝重大治安事件,创北京市治安保卫先进工地。

1.2 政策依循

在施工中,认真执行有关法律法规,将保卫工作与生产任务紧密结合,有效地落实防盗措施,严防各类偷盗事件发生,确保施工现场的治安管理秩序和施工生产的顺利进行。

 

2组织管理

2.1 建立治安保卫责任制。工程经理部治安保卫负责人与各施工单位负责人签订治安保卫责任书,施工单位治安保卫负责人也要与外施队签订责任书,使治安保卫工作层层负责,责任落实到人。

2.2 成立工程经理部治安保卫管理负责人为首和各施工单位治安保卫管理负责人参加的**电视台新台址建设工程B 标段施工总承包工程治安保卫管理委员会(以下简称治安保卫管理委员会),负责施工现场治安保卫工作的领导与协调,并制定特殊情况下的安全保卫措施和紧急事故发生时的应急预案,组织保安人员进行特殊时期安全保卫工作的演习。

2.3 工程经理部要与当地公安部门联络,开展社会联防工作。将根据具体情况成立2030人的治安巡查小组,负责开展日常的治安检查工作。各施工单位也要设立基层治安保卫管理机构,义务治安保卫队员必须经过培训。

2.4 要求施工队伍中,每50 人推选一名治安员,负责管理本队组的治安管理。治安员受行政部职工群防组的指挥和管理。

 

3工作制度

3.1 每半月召开一次施工现场治安保卫管理工作例会,总结前一阶段治安保卫工作的情况,布置下一阶段的治安保卫工作。

3.2 建立并执行治安保卫工作检查制度。治安保卫管理委员会下设检查组,每半月组织一次对各施工单位治安保卫工作的联合检查,根据检查情况按施工现场检查记录表评比打分,对检查中所发现的隐患问题和违章现象,开出重大隐患问题通知单,各施工单位在收到重大隐患问题通知单后,应根据具体情况,定时间、定人、定措施予以解决,检查组应监督落实问题的解决情况。若发现重大隐患问题,检查组有权下达停工指令,待隐患问题排除,并经检查组批准后方可施工。

3.3 作好人事管理,加强治安保卫教育,及时处理好单位之间、人员之间的矛盾和纠纷,杜绝重大治安案件。

 

4治安保卫管理措施

4.1 强化治安保卫管理,加强对重点人员和各关键部位的检查管理,通过组织落实、责任到人、定期检查、认真整改,尽量减少各类人为破坏事故和偷盗事件的发生。

4.2 落实成品保护责任制,杜绝重大成品保护损坏事故和设备、零部件的丢失事件的发生。

4.3 在有各级领导、官员参观考察现场时,要协助公安部门作好内勤保安工作,确保贵宾的安全。

4.4 配置必要的设施和配备高水平的保安队伍。

4.4.1 配制摄像监视机、电子计算机等必要的管理设备,建立多媒体有线电视监控系统,对施工现场的全貌、主要工作面、人员车辆的出入进行全天候监视与控制,使整个施工现场的治安保卫控制做到快捷、可靠、有效。

4.4.2 行政部设置专门的监控室,配备8 台监视器,定时自动循环播放现场每个监控点的画面。需要时选播指定处的画面,以及时掌握整个施工现场的情况。

4.4.3 聘用实力强、有较好信誉及管理水平的保安公司及成品保护管理单位进入现场,主要从事现场保安及成品保护工作。

4.5 施工现场人员、车辆的管理

4.5.1 施工现场进行全封闭管理,车辆及人员进出的大门配备保安进行24 小时的保卫,并建立计算机管理的电子门禁系统。施工人员出入必须凭有效的非接触式IC 卡刷卡进入。该IC 卡刷卡后,可在计算机上显示持卡人姓名、性别、年龄、所属公司等详细个人资料,计算机识别身份后才能进入现场。

4.5.2 各施工单位在签订工程承包合同后,在进场前应根据进场人数向工程经理部索取员工登记表并认真填写,将其所有施工人员的名单及外地务工人员的身份证、治安证和劳务证复印件报至行政部,行政部对所有人员有关证件进行审查后,将工程经理部统一制作出入现场用的IC 卡及表明所属公司的胸卡发给每一个员工,并要求其在现场工作时必须佩卡上岗。

4.5.3 施工人员进入施工现场后,必须无条件地遵守现场治安保卫管理制度,听从保卫人员的指挥与管理。各施工队伍的治安员要听从行政部人员的指挥和管理。

4.5.4 为加大实施协调监控的力度,进场的各施工单位须向工程经理部交付押金和工本费,使本单位所属员工全部处于工程经理部的受控状态。各施工单位施工完毕后,凭退还的胸卡和IC 卡办理押金退还手续。通过对进场施工单位收取押金的办法,加上工程经理部在现场采取的各项保卫措施和严格的检查监控,达到对施工人员的有效控制和管理。

4.5.5 为便于工程经理部对进入现场的各单位施工管理人员及工人的管理,正确识别其所属单位和身份,具体措施如下:

1. 安全帽识别:要求各施工单位的管理人员与工人佩带不同颜色的安全帽,安全帽正面粘贴本投标人的标志,侧面粘贴代表其身份的工号。各施工单位的安全管理部门进场后向行政部提交资料,内容包扩安全帽颜色的规定,本投标人标志的样本,所有人员的名单及工号,便于工程经理部的管理。

2. 工作牌识别:凡在现场工作的所有人员,只要未离开现场,必须佩带工作牌。工作牌由工程经理部统一制作。工作牌上注明本投标人名称、姓名、工号并粘贴本人近期照片。工作牌的工号与安全帽的工号必须一致。

4.5.6 建立严格的来访登记制度,确保不会有任何未经雇主代表、工程监理同意的参观人员进入现场,给进入现场的参观人员配备足够的安全帽,并带明显标志。保安人员配备专用登记簿记录所有参观现场人员的姓名、参观目的和参观时间等内容。安全人员进行现场的安全教育,让每个参观现场的人员了解和遵守现场的安全管理规章制度,佩带安全帽,确保所有经顾主代表和工程监理批准的参观人员的人身安全并遵守有关保密义务。参观现场及来访者必须办理以下手续才能进入现场:

1. 来客接待单位派人在门卫进行登记。

2. 来客身份证交给门卫。

3. 由门卫发给临时出入证。

4. 来客离场时凭临时出入证领取身份证。

4.5.7 由于施工现场单位较多,为保证现场的施工秩序,工程经理部将对进出现场的车辆进行管理,具体措施如下:

1. 大型车辆(5 吨以上的载重汽车、轮胎或履带式吊车等大型施工机械)进场,各施工单位必须提前一天向行政部提出申请,注明车辆型号、牌照号码、进场日期及时间,经行政部签字批准后在车辆到达现场大门入口处由施工单位凭车辆进出批准单放行。车辆离开现场时,施工单位向门卫出具签字的放行单后,门卫才能允许车辆离开,放行单由行政部保存。

2. 小型车辆进场实行登记制度,车辆进场时在门卫处登记所属公司名称、车牌号、进场时间、大约停留时间,方可进入现场。

4.5.8 物资出场应有物资管理部门签发的出门证,特殊、危险物品要由行政部监护出场。

4.6 开展治安教育培训:现场行政部每月组织一次治安教育培训,培训对象主要为各分包队伍的保卫负责人和治安员,及时宣传北京市有关治安保卫管理要求,部署下一阶段的治安保卫工作。

4.7 坚持现场日夜巡逻制度:安排足够的保安力量,对现场周边和整个工地进行昼夜24 小时规律性及不规律性的巡视检查,以及时发现并处理各种违纪现象,及时发现制止偷盗行为,确保建设物资及工程的安全。

4.8 文物保护:工程经理部必须要求各施工单位,在施工中若发现文物古迹,必须予以保护并立即通知工程经理部和业主,不得擅自处理。

4.9 开展社会联防:与公安部门和街道组建联防小组,办公点设在项目工地,以提高现场综合治理能力和及时解决施工与地方的各项有关工作的交叉和矛盾,开创企业与政府共建安全工地的新局面。

4.10 实施必要的奖罚制度

4.10.1 在施工全过程中,由行政部组织针对定期检查的结果进行分析,对于治安保卫工作成绩突出的单位和个人给予奖励;对于问题多的单位或个人给予处罚。

4.10.2 对于在日常管理中的各种违纪、违章问题给予必要的处罚,严重的提交公安部门处理。

(治安保卫管理部分)

施工单位:                工程名称:                   年

序号

标准 分值

评定 分值

1

现场状

现场重要出入口应设警卫室, 昼夜有值班人和记录

 

10

 

2

建立巡逻护场制度

 

10

 

3

易发案部位符合防范规定

 

10

 

4

禁止赌博、酗酒、打架斗殴、传播淫秽物品

 

10

 

5

确定重点要害部位

 

10

 

6

保卫组织、保卫干部要积极配合公安机关 查破案件

 

8

 

7

综合治理,治保会组织健全

 

10

 

8

有保卫工作方案

 

6

 

9

有入场教育方案

 

6

 

10

有治安防范检查记录

 

10

 

11

签订治安、消防协议、人员底数清

 

10

 

应得分           实得分           得分率              折合标准分值

检查员签字:

 

5、环境保护管理

1政策依循

1.1 目标:创建环境保护工作先进现场。

场地绿化,洒水降尘,裸露土覆盖,减少扬尘;雨污分开,杜绝水污染;控制噪声指标为白天小于75 分贝,夜间小于55 分贝;创建环境保护工作先进现场。

1.2 政策依循

在组织施工中,贯彻落实《国务院关于环境保护若干问题的决定》按照国家环境保护局颁布的环境管理体系审核指南(ISO14000 标准),并以北京市建委、北京市环境保护局颁发的《北京市建设工程施工现场环境保护工作基本标准》组织实施施工现场的环境保护工作。

 

2组织管理

2.1 建立环境保护责任制。工程经理部环境保护负责人与各施工单位负责人签订环境保护责任书,施工单位环境保护负责人也要与外施队签订责任书,使环境保护工作层层负责,责任落实到人。

2.2 成立由工程经理部环境保护负责人为首,各施工单位环境保护负责人参加的**电视台新台址建设工程B 标段施工总承包工程环境保护管理委员会(以下简称环境保护管理委员会),组织领导施工现场的环境保护管理工作。

2.3 根据现场情况,工程经理部成立2050 人的场容清洁队,每天负责清扫场外周围20m以内以及场外交通道路向外延伸500m 区域内的清洁保洁,并洒水降尘。

2.4 所有参加施工的单位,在开始工作前都要开展学习,学习本工程环保方案及措施,增强环保意识,从我做起,从现在做起,提高环保意识,为绿色施工贡献自己的力量。

 

3工作制度

3.1 每半月召开一次施工现场环境保护管理工作例会,总结前一阶段的施工现场环境保护管理情况,布置下一阶段的施工现场环境保护管理工作。

3.2 建立并执行施工现场环境保护管理检查制度。环境保护管理委员会下设检查组,检查组每半月组织一次对各施工单位施工现场环境保护工作的联合检查,根据检查情况按施工现场检查记录表评比打分,对检查中所发现的问题,开出隐患问题通知单,各施工单位在收到隐患问题通知单后,应根据具体情况,定时间、定人、定措施予以解决,检查组应监督落实问题的解决情况。

3.3 实行环保一票否决制 对施工方案的会签、施工材料的选择、施工合同的签订、施工工艺的制定等所有项目建设的环节中,增加环保审查程序,凡对环保有不利影响或有潜在隐患的,坚决予以拒绝,不得使用或采纳。

3.4 工程开工前,聘请环保专家对施工过程中的环境保护情况提出评估报告,就施工过程中施工环境、施工人员生活、建筑材料、施工工艺等各个方面对环境的影响进行评估,提出建设性方案,指导今后整个工程建设,并在实施过程中不断改进,提高施工中的环境保护水平。

 

4环境保护管理措施

4.1 防止水污染措施

4.1.1 现场内基础降水的地下水,抽出后经导向管排入市政污水管网。

4.1.2 雨水管网与污水管网要分开使用,不得将施工产生的污水排入市政雨水管网。

4.1.3 施工现场试验室的养护用水通过现场排水管线排到市政管线,严禁废水流到现场、污染路面。

4.1.4 现场交通道路和材料堆放场地统一规划排水沟,控制污水流向,设置沉淀池,将污水经沉淀后再排入市政污水管线,严防施工污水直接排入市政污水管线。

4.1.5 出场大门处车辆轮胎清洗冲刷台要配置相应的污水沉淀池,不得直接将污染排入市政污水管线。

4.1.6 加强对现场存放油料和化学品的管理,对存放油料和化学品的库房进行防渗漏处理,采取有效措施,在储存和使用中,防止油料跑、冒、滴、漏污染水体。

4.1.7 对生活区食堂排出的污水要采取隔油措施,设置隔油池,经过滤后再排入污水管道;隔油池要定期检查,以确保其隔油效果。

4.2 特殊施工工序的防污染措施

4.2.1 钢结构、钢筋工程

1. 冷拉钢筋所掉下的钢筋皮、钢筋屑要及时清理,加工钢筋后废弃的钢筋头、钢筋绑丝及垫块都要统一回收处理。

2. 在对锈蚀钢材及钢筋除锈时,除下来的铁锈不得与其它垃圾混放,要集中起来统一回收处理。

3. 使用电焊机要注意节约焊条,用废的焊条头要统一回收处理。

4. 维护钢筋加工机械(如切割机、卷扬机、弯曲机等)时,擦拭的棉纱要统一回收处理。

5. 在检查施工机械时,若发现机械有漏油现象,应立即停止使用,进行维修,防止漏油过多而污染地面。

4.2.2 模板工程

1. 模板设计和制作要尽量合理,以节约材料。模板加工后的残余材料要统一集中处理,加以二次利用。

2. 木工棚加工模板的地面进行洒水防尘,木工操作面要及时清理木屑和锯末,以保证木工棚和作业面保持清洁。

3. 模板在涂刷脱模剂时,要防止泄漏,以免污染地面,禁止用废旧的机油代替脱模剂。

4. 每次模板拆除时,必须尽量保存模板的完整性,减少模板的报废率。设专人及时清理模板上的混凝土和灰土,模板清理过程中的垃圾及时清运到施工现场指定垃圾存放地点。

5. 放置模板的场地地面要硬化,模板下方要铺垫塑料布,以防止模板滴落的油垢污染地面。

4.2.3 混凝土工程

1. 混凝土运输车辆要保证车况良好,避免在运输过程中排放超标的尾气。

2. 混凝土运输车辆上料过程中,洒在车身上的各种骨料要清理干净,以免遗撒在运输道路上。

3. 泵送设备要经常维修,避免漏油污染地面及排放废气污染大气。

4. 混凝土在养护时,养护剂要集中使用,保证其充分利用。对苫布和塑料薄膜要保护好,以备回收利用。

5. 苫布和塑料薄膜等养护材料经多次使用后达到报废标准的,要统一回收处理。

4.2.4 装修工程

1. 采用符合环保规定的建筑装饰材料,严禁使用对人体有害的装饰建材,积极推广使用绿色建材。

2. 各种板材、涂料、粘结剂、化学外加剂等的有机挥发性物质,其有关指标必须符合有关环保规定。

3. 在装修施工过程中,涂刷油漆、涂料等化学品时,要防止遗洒。

4.2.5 脚手架工程

1. 在对脚手管涂刷防锈漆时,要防止油漆出现流坠现象,其下要铺垫塑料布,以免滴下的油漆污染地面。

2. 架子管除锈统一在操作间进行,将除下来的铁锈粉末集中处理。

 

5防尘、防噪、防遗洒专项措施

5.1 防尘专项措施

5.1.1 现场设立固定的垃圾临时存放点,并在各楼层或区域设立足够的垃圾收集点。施工垃圾应及时清运,并适量洒水,减少污染。

5.1.2 建筑结构内的施工垃圾清运,采用搭设封闭式临时专用垃圾道运输或采用容器吊运,严禁随意凌空抛撒。

5.1.3 现场配备专门的洒水设施,设专人每天早晚对现场道路进行清扫工作,并洒水降尘,以防止车过尘起。当风力在3 级以上时,每天要分早、中、晚三次对现场道路洒水,以防止满天飞沙。

5.1.4 土方施工阶段,配备洒水车,对土方的铲、运、卸等环节布置专人进行淋水降尘,对坑内坡道也要适量淋水,防止扬尘污染。挖出的土方不得堆积在公用车道及行人道上,要及时清运,对于来不及清运而存放在现场的土方要用双层绿色密目网覆盖。遇有4 级以上的风,要停止挖土作业。

5.1.5 钢筋加工棚、木工棚、露天仓库或封闭仓库地面均全部硬化,并做到每天清扫,经常洒水降尘。

5.1.6 禁止采用热溶沥青等施工中对大气产生污染的防水材料。

5.1.7 加强对现场的烟尘监测,进行定期检查和不定期抽查,对现场烟尘程度按林格曼烟气浓度图进行观测,落实各项环保措施,确保烟尘排放度达到林格曼I 级以下。

5.2 防噪专项措施

5.2.1 加强环保降噪意识的宣传,采用有力措施控制人为的施工噪声,严格管理,最大限度地减少噪音扰民。

5.2.2 施工现场配置相应的噪声监测装置,每月进行一次噪音监测。监测点选在距现场围墙1m 处,现场设四个监测点,布置在场地四周,设专人做噪声监测并做记录。噪声测量数据必须要原始、公正、有效、严禁伪造数据,数据在记录时字迹要工整。

5.2.3 严格按照白天、夜间施工噪音控制标准控制作业,施工现场产生的噪声及其限值如下表所示:

 

施工阶段

主要噪声源

噪声限值(分贝)

白天

夜间

土方开挖、回填

挖掘机、打夯机、翻斗车

75

55

结构阶段

混凝土罐车、地泵、振捣棒、钢结构

施工磨光机等小型机械、电锯等

70

55

装修阶段

电锤、电锯等手持电动工具

65

55

5.2.4 严格控制强噪声作业,施工现场在使用混凝土输送泵、电锯等强噪音机具前,采取隔音棚或隔音罩进行降噪遮挡和封闭。

5.2.5 保护现场围墙不被破坏,以阻挡噪声扩散。

5.2.6 特殊施工工序的降噪措施

1. 钢结构、钢筋工程

1) 钢材、钢筋等材料进场时,要配合吊车进行装卸,统一指挥,避免产生较大的噪声。

2) 工人在搬运钢筋时,要轻拿轻放,尽量减少噪声污染。

3) 使用砂轮切割机切割钢筋时,必须在钢筋加工棚里进行。

4) 钢筋绑扎及安装钢结构时,一次绑扎、吊装成型到位,减少修整,避免对钢构件的敲击产生噪音。

2. 模板工程

1) 加工模板的木工棚要实行封闭式围挡,以减少噪声。

2) 塔吊吊装模板时,要按照指挥人员的口令信号执行,保证模板轻起轻落,减少与地面的碰撞,降低噪声污染。

3). 安装模板时,若模板需要调整,严禁强烈敲击模板,避免损坏模板及其附件,同时避免造成大的噪声。

3. 混凝土工程

1) 混凝土运输车辆要保证车况良好,避免在运输过程中发出很大的噪声。

2) 对混凝土泵送设备要定期检修,要保证其具有良好的工作状态。泵送时间停顿过长而导致的泵管堵塞,在冲洗泵管和敲打泵管时,要尽量节约水资源和减少噪声。

3) 现场混凝土震捣采用低噪音混凝土震捣棒,尽量避免振击钢筋和模板,以减少噪声。

4. 脚手架工程

1) 在装卸脚手管及扣件时,要轻搬轻放,统一码放。

2) 搭设脚手架时,禁止用力敲击架子管。人工传递脚手管时要轻拿轻放,上下、左右有人传递,禁止向地下抛架子管和扣件。

5.2.7 夜间施工管理措施

夜间施工时,除按上述降噪措施实施外,还要遵守下列措施:

1. 车辆要低速行驶且不能鸣笛,按指挥信号灯行驶。

2. 要在施工现场设置明显的夜间不准鸣笛标志。

3. 夜间施工车辆离开现场后可以略微提速,但途经居民区时,必须减速慢行。

4. 夜间施工时,严禁大声喧哗。

5. 夜间装卸建材时,对建材物资要轻拿轻放,统一码放。

6. 夜间在材料堆放场清理材料时,应轻拿轻放。

7. 夜间加工模板必须在封闭的木工棚内进行。

8. 夜间浇筑混凝土时,地泵必须设置隔音棚。

5.2.8 防止扰民措施

1. 由工程部牵头,会同行政部、技术部等部门组成噪声污染综合治理小组,协调当地街道办事处、派出所和居委会,共同做好防止扰民的工作。

2. 加强对参与施工的职工进行入场教育,杜绝人为的扰民问题。

3. 在工程开工前,走访当地周围居民和单位,做好对周围居民和单位进行说明和解释工作,取得他们的谅解和支持。

4. 积极听取周围居民意见,尤其是居民代表的意见,并承诺努力做好降低噪声工作,为广大居民提供良好的生活环境。

5. 认真执行北京市有关防止扰民的各项管理规定和相应的法律法规,并按照相应规定及时地发放施工扰民费。

6. 施工中定期进行回访,当发生群众投诉,要认真听取其意见,分析出现问题的原因,及时整改,妥善解决。

5.3 防遗洒专项措施

5.3.1 对于土方运输的大型车辆,总承包方必须严格检查其车身遮盖系统是否严密,对于车身遮盖不严的车辆,禁止进入施工现场作业,以防在运输过程中产生遗洒现象。

5.3.2 水泥和其他飞物、细颗粒散体材料,安排在库内存放或严密遮盖,在运输、卸运和使用时要轻拿轻放,防止遗洒、飞扬,减少污染。

5.3.3 安排清扫道路的工人和清扫车辆,将现场出入口及路上遗洒的渣土和粉屑清除干净。

5.3.4 对商品混凝土运输车出场前,要清洗下料斗。为防止运输车遗撒,要求所有运输车卸料溜槽处必须装配防止遗撒的活动挡板,且清理干净后方可出现场。

5.3.5 车辆在出场大门处设置车辆轮胎清洗冲刷台,并设专人协助车辆清洗工作。车辆必须在冲刷台有效清洗且轮胎上无泥垢后,方可离开现场,以防止车辆携带泥沙出场而污染周围道路。

5.3.6 所有进出现场的运输车辆,必须车况良好,尾气排放符合市交通管理部门的规定,且施工车辆都必须安全荷载,运送渣土、垃圾的大型货车必须加盖,以免在运载时货物溢出或材料掉失。

(环境保护管理部分)

施工单位:          工程名称:              年

序号

标准 分值

评定 分值

1

现场状

 

施工应搭设封闭式垃圾道或采用容器吊运

 

10

 

2

应有防扬尘措施

 

5

 

3

现场集中搅拌站应按规定安装除尘装置

 

5

 

4

茶炉、大灶整治

 

10

 

5

冬施锅炉整治

 

5

 

6

烟尘黑度监控

 

5

 

7

现场主要大门处应设汽车冲洗沉淀池

 

5

 

8

冲刷水磨石污水应经沉淀后外排

 

5

 

9

乙炔污水应经沉淀池沉淀后外排

 

5

 

10

食堂污水应按规定设隔油池,除油后外排

 

5

 

11

油料库应有防渗漏措施

 

5

 

12

强噪声机械设备应有降噪措施

 

10

 

13

人为活动噪声应有控制措施

 

5

 

14

低噪声小区噪声监控

 

5

 

15

施工组织设计中要有针对性环保措施

 

5

 

16

环保工作自我保障体系有检查记录

 

5

 

17

职工应知考核

 

5

 

应得分           实得分           得分率              折合标准分值

检查员签字:

 

6、饮食卫生防病防疫安全管理

1政策依循

1.1 目标:做好卫生防病防疫工作,保证施工生产的顺利进行。

为工人提供良好的生活、工作环境,做好卫生防病防疫工作,保障工人的身体健康,保证施工生产的顺利进行。

1.2 政策依循

在组织施工中,本投标人将认真贯彻执行建设部、北京市建委、北京市市政管理委员会、

北京市卫生局关于施工现场卫生与防疫管理的各项规定,重点落实《北京市建设工程施工现场场容卫生标准》、《北京市建设工程施工现场生活区设置和管理标准》,保证施工生产的顺利进行。

1.2 建立防控非典禽流感等疫情的各项预案,杜绝非典禽流感等疫情在工地出现。

 

2组织管理

2.1 建立卫生与防疫责任制。工程经理部卫生与防疫负责人与各施工单位负责人签订卫生与防疫责任书,施工单位卫生与防疫负责人也要与外施队签订责任书,使卫生与防疫管理工作层层负责,责任落实到人,做到凡事有人管,事事有落实,违规必追究。

2.2 成立由工程经理部卫生与防疫管理负责人为首,各施工单位卫生与防疫管理负责人参加的**电视台新台址建设工程B 标段施工总承包工程卫生与防疫管理委员会(以下简称卫生与防疫管理委员会),组织领导施工现场的卫生管理及流行病疫情预防和控制工作。

2.3 根据现场情况,工程经理部成立1020 人的场容清洁队,配备保洁工具及其它消毒工具,每天负责生活区和办公区的卫生与消毒工作。

 

3工作制度

3.1 每半月召开一次施工现场卫生与防疫管理工作例会,总结前一阶段的施工现场卫生与防疫情况,布置下一阶段的施工现场卫生与防疫工作。

3.2 建立并执行施工现场卫生与防疫工作检查制度。卫生与防疫管理委员会下设检查组,每半月组织一次对各施工单位施工现场及生活区卫生与防疫的联合检查,根据检查情况按施工现场检查记录表评比打分,对检查中所发现的问题,开出隐患问题通知单,各施工单位在收到隐患问题通知单后,应根据具体情况,定时间、定人、定措施予以解决,检查组有关部门应监督落实问题的解决情况。

 

4饮食卫生防病防疫安全管理

4.1 食堂卫生管理

4.1.1 认真贯彻《食品卫生法》,食堂八项要求及卫生五四制,每半年组织一次卫生营养知识学习考试。

4.1.2 施工现场设置的临时食堂必须具备食堂卫生许可证、炊事人员身体健康证、卫生知识培训证。建立食品卫生管理制度,严格执行食品卫生法和有关管理规定。施工现场的食堂和操作间相对固定、封闭,并且具备清洗消毒的条件和杜绝传染疾病的措施。

4.1.3 食堂和操作间内墙应抹灰,屋顶不得吸附灰尘,应有水泥抹面锅台、地面,必须设排风设施。操作间必须有生熟分开的刀、盆、案板等炊具及存放柜厨。库房内应有存放各种佐料和副食的密闭器皿,有距墙距地面大于20 厘米的粮食存放台。不得使用石棉制品的建筑材料装修食堂。

4.1.4 食堂炊事员上岗必须穿戴洁净的工作服帽,个人卫生做到五勤,操作时不吸烟、不化妆、不戴装饰品、不做有碍卫生的动作。

4.1.5 公共食具每餐后要洗净消毒,自备碗筷要用流动水冲洗。

4.1.6 食堂内外整洁卫生,炊具干净,无腐烂变质食品,生熟食品分开加工保管,食品有遮盖,应有灭蝇灭鼠灭蟑措施。

4.1.7 食堂操作间和仓库不得兼作宿舍使用。

4.1.8 严格实行食品验收验售制度,注意食品采购、运输、保管中的卫生,防止污染、生蛆,保证不买、不做、不卖、不吃腐烂变质食品。

4.1.9 生活区的食堂将饭菜做好后,送到施工现场指定的用餐地点,工人用餐后由卫生清洁人员负责把食用垃圾清理干净。生活垃圾实行装袋搜集,并与施工垃圾分开,集中堆放,及时清运出场。

4.2 办公室卫生管理

4.2.1 施工现场办公区卫生工作应由专人负责,明确责任。办公室内保持整洁,窗明地净、无烟头、纸屑、痰迹。

4.2.2 施工现场办公区应经常保持整洁卫生,垃圾应存放在密闭式容器,定期灭蝇,及时清运。生活垃圾与施工垃圾不得混放。门窗、灯具、办公设施、用具清洁无尘土,摆放整齐,无灰尘。

4.2.3 公共茶具清洁卫生,及时消毒;室内卫生每日清扫,每周彻底清扫。

4.2.4 冬季取暖用具设施齐全,有验收合格证。

4.3 生活区卫生管理

4.3.1 施工现场生活区卫生工作应由专人负责,明确责任。宿舍内保持清洁卫生。窗明地净、无积尘、无蛛网、空气新鲜、无虫灾。

4.3.2 生活区宿舍内夏季应采取消暑和灭蚊蝇措施,冬季应有采暖和防煤气中毒措施,并建立验收制度。宿舍内应有必要的生活设施及保证必要的生活空间,内高度不得低于25米,通道的宽度不得小于l 米,应有高于地面30 厘米的床铺,每人床铺占有面积不小于2 平方米,床铺被褥干净整洁,生活用品摆放整齐,室内保持通风。

4.3.3 床铺上下整洁卫生,物品放置整齐;地面无积水、污物;餐具、用具摆放有序。

4.3.4 保持环境卫生,不乱扔废弃物、不乱泼污水;不准随地大小便;爱护卫生人人有责。

4.3.5 坚持卫生值日制度,每周大扫除一次,定期消毒。

4.3.6 生活区内必须有盥洗设施和洗浴间。应设阅览室、娱乐场所。

4.4 厕所卫生管理

4.4.1 施工现场应设水冲式厕所,厕所墙壁屋顶严密,门窗齐全,要有灭蝇措施,并设专人负责,定期保洁。

4.4.2 厕所内严禁乱扔烟头,废纸和杂物。

4.4.3 严禁随地大小便,便后及时冲洗干净。

4.4.4 公共卫生人人有责,严禁在厕所内乱写乱画。

4.4.5 现场东侧设立一个固定厕所,厕所内器具齐全。设专人负责清扫保洁,采取水冲措施,及时清掏,及时打药,防止蚊蝇孳生。

4.4.6 现场和生活区厕所要设置化粪池,并设专人定期清理。

4.4.7 楼内,租用环保型临时厕所摆放在施工作业面,弥补固定厕所的不足,每三层设置一处,专人负责检查,确保建筑物内外杜绝随地大小便。

4.5 施工现场防病防疫安全

4.5.1 严把进场关,对新进场外施人员进行强制健康检查,要求外施队100%办理健康证,在进行健康检查后,方准许分配宿舍及进入现场进行施工作业。

4.5.2 对现场职工及外施队和分包单位,进行防疫防病知识的教育,认真传达本投标人的要求,并发放宣传资料。

4.5.3 施工现场各办公室内消毒工作由各办公室自行负责,每周至少一天进行三次空气消毒,接待来访者后,再进行一次消毒。

4.5.4 施工现场内办公区、生活区消毒工作派专人负责进行,每周必须保证至少一天全面消毒两次以上,宿舍及食堂必须做到每天消毒两次,并记录在案。

4.5.5 现场公用厕所、公用水池每周至少有一天消毒两次,不得有遗漏、死角。

4.5.6 食堂炊事人员每日坚持做到健康报告制度,定时向外施队负责人员报告自己的健康情况,如有异常现象立即向项目部有关部门报告。

4.5.7 根据季节变化的特点,做好施工现场的环境卫生工作,并结合现场实际情况,做好流行性感冒、非典型肺炎、高致病性禽流感等流行疾病的防控。

4.5.8 统一规划施工现场内临时办公区域,建造临时办公楼,并配齐水电、取暖、卫生设施,设专人负责清洁卫生,做到办公区域无污物和污水。办公室、更衣室内要保持室内整洁和卫生。

4.5.9 为保证施工现场整洁卫生,无积水,车辆不带泥砂出现场,不随地乱扔、乱倒废弃物,将设专职行政卫生监督管理人员,负责施工现场的行政卫生的组织管理工作。

4.5.10 施工现场内统一规划、设置开水供应站,根据施工人数高峰值,确定开水供应量,确保施工人员的饮水供应。

4.5.11 施工现场制定卫生急救措施,配备保健药箱、一般常用药品和急救器材,为从事有毒和有害作业人员配备有效的防护用品。提前做好各种急性职业中毒的应急预案。

4.5.12 搞好宣传教育,普及防控非典知识,搞好公共卫生,提供必要的防护用品。坚持正常生产,加强安全管理,做到:早发现、早报告、早隔离、早治疗

4.5.13 施工现场发现疫情应立即向所在地区卫生防疫部门和区县政府报告,对可疑病例要及时按防疫程序进行隔离治疗,受非典病毒污染的建筑工地区域,要按《北京市人民政府关于对非典型肺炎疫情重点区域采取隔离控制措施的通告》(京政发[2003]11 号)的规定,由所在区县卫生行政部门视情况采取隔离措施。

4.5.14 施工现场暑期采取发放防暑降温药品、饮料、提供必要的遮阳挡光等多种形式的防暑降温措施。

4.5.15 施工现场消除卫生死角,防止蚊、虫及老鼠的滋生,聘用防蚊虫及老鼠的专业公司定期于工地各处喷射除蚊虫剂及摆放杀鼠药物,且要求所使用的药物对人体健康不会造成不良的影响。

(环境卫生管理部分)

 

施工单位:               工程名称:                       年

序号

标准 分值

评定 分值

1

现场状况

施工现场整齐清洁,无积水

 

5

 

2

车辆不带泥沙现场

 

5

 

3

办公室内清洁整齐,窗明地净

 

4

 

4

宿舍,更衣室要清洁,床铺上下整齐卫生

 

8

 

5

生活区周围不随意泼水,倒污物

 

5

 

6

冬季取暖设施齐全,有验收合格证

 

4

 

7

伙房要有食品卫生,炊具干净,无腐烂变质食品

 

5

 

8

伙房要有食品卫生许可证

 

5

 

9

炊事人员要有身体健康证

 

5

 

10

炊事人员上岗必须穿戴工作服帽,保持个人卫生

 

5

 

11

操作间仓库食堂清洁卫生,无蝇无鼠无蛛网

 

4

 

12

加工、保管生熟食品要分开,食品有遮盖

 

5

 

13

职工饮水要卫生

 

5

 

14

厕所屋顶墙壁严密,门窗齐全有效

 

5

 

15

厕所有专人清扫保洁,有灭蝇,蛆措施

 

5

 

16

工地有卫生管理措施

 

4

 

17

卫生责任区划分明确

 

4

 

18

资料

工地有卫生检查记录

 

4

 

 

19

职工应知考核

 

4

 

20

职工应知考核

 

5

 

应得分           实得分           得分率              折合标准分值

检查员签字:

 

7、场内外交通组织方案

1政策依循

1.1 目标:以科学的管理,保证参施人员的生命财产安全,保证施工生产的顺利进行。

**电视台新台址建设工程B 标段施工总承包工程位于北京市朝阳区东三环中路32 号,北京中心商务区(CBD)内,由于工程地理位置的重要性,场内外交通组织显得尤为重要。也只有高效地将场内外交通管理好,才能保证施工人员的生命财产安全,才能确保施工的正常进行。

1.2 政策依循

在组织施工中,本投标人将严格遵守《中华人民共和国道路交通安全法》,认真执行交管部门的各项管理规定,并听从工程经理部的统一安排,科学有效地管理施工现场及外围道路的交通,力保场内外的交通安全、畅通。

1.3 将交通物流的概念引入施工现场的交通组织中,各种主要材料从出厂到运输到卸货,最后到离场的整个过程进行全方位的跟踪,确保材料运输的安全、快捷。

2组织管理

2.1 成立由工程经理部交通管理负责人为首,各施工单位交通管理负责人参加的**电视台新台址建设工程B 标段施工总承包工程交通物流管理委员会(以下简称交通物流管理委员会),组织领导施工现场的交通物流管理工作。

2.2 当关键材料进场的时候,交通物流管理委员会全力协调各方力量,包括厂家、运输部门、交管部门,总承包单位等,确保运输的及时、有序。

2.3 按照CBD 核心区道路交通的特殊要求,制订有针对性的交通安全管理制度,要求施工现场的所有人员必须严格执行。

 

3工作制度

3.1 每半月召开一次场内外交通物流管理工作例会,总结前一阶段的场内外交通物流情况,布置下一阶段的场内外交通物流管理工作。

3.2 根据工程施工需要,不定期地举行场内外交通物流协调会,对有可能产生的交通问题进行预判、分析,采取有针对性地应对措施,做好充分的准备工作。

3.3 建立并执行场内外交通安全管理工作检查制度,施工现场所有人员要严格遵守场内外交通安全管理制度,现场设多名交通安全员,及时疏导交通以及纠正违章等。

4场内外交通组织方案

对于**电视台新址这样的超大型建筑施工而言,交通运输工作是保证工程顺利进展的重要环节;制定出科学合理、确实可行的场内外交通组织方案,将在很大程度上提高工作效率。

4.1 运输任务的特点

4.1.1 单件单型

本工程建筑形态特异,结构形式复杂,大部分构件、配件属单件单型,构件之间的通用性、互换性较低,难以大量储备,因此,对交通运输提出了较高的要求,必须做到及时、准确。

4.1.2 材料、设备供应量大

本工程规模大,材料、设备需求量巨大,物流管理工作量随之增加,其中土建工程所需的混凝土、钢筋、钢结构构件及安装工程中的机电设备等均属大宗物资,无论是从数量还是种类上而言都远远超出一般工程。顺利完成大宗材料的运输,也是交通运输工作的一个重点。

4.1.3 设备、构件的超限运输

本工程作为一个现代化标志性建筑,与之相配套的大型机电设备繁多,其中存在有大型设备的超高、超长、超宽等运输问题。此外,建筑施工过程中同样存在大型构件、大型机械设备等的超限运输,这也是交通运输所要解决的重要问题之一。

4.1.4 材料的限时供应

施工过程中的某些特殊材料,由于材料自身特点,必须要求限时供应,该类问题较为突出的表现在基础底板混凝土的运输中,如何确保在规定时间内完成此类材料的运输是交通运输工作的重点之一。

4.2 交通条件的特点

4.2.1 地理位置

本工程位于北京东三环中路和朝阳路交汇处的东南角。地处北京中央商务区(CBD)的核心地带,中服大厦、航华科贸中心、国贸中心、银泰中心、现代城等大规模的建筑艺术群体环绕周围;国际知名的金融、贸易、电信、信息咨询等公司云集于此,蓬勃发展中的北京商务中心区,已经成为中国和北京市对外开放的经济窗口,因而合理组织和管理本工程的交通运输工作,对于保证工程顺利有着极其重要的意义,同时也是为北京市的城市建设和经济建设贡献力量。

4.2.2 交通运输与大型城市活动的协调

2008 年奥运会将在北京举行,为配合奥运的成功举办,必须做好工程运输的组织与管理。4.2.3 临近市政道路的交通流量大、交通管制严格、道路状况复杂

本工程地处三、四环之间,西临东三环路,南北分别为光华路及朝阳路,沿朝阳路向东约5.5 公里为东四环慈云寺桥。三环路作为北京市重要的环路交通,交通流量大,车辆过往频繁,车流早高峰为每日7 时~9 时、晚高峰为17 时~19 时之间。周边部分拥堵路段主要为:国贸桥自东向西方向、长虹桥西侧自西向东、燕沙桥下由北向南等。

现场南北两侧的朝阳路、光华路,道路状况复杂,道路上空存在许多架空电线、电缆等障碍。

4.2.3 施工现场用地的局限性

本工程主楼西侧和北侧分别和东三环路和朝阳路临近,南侧又有**电视台主楼(CCTV)同期开工,现场只有东侧规划中的N10 规划路,及南侧E8 规划路部分场地可以利用,如何合理规划布置施工道路、临时建筑以及材料堆放场地,减少二次搬运,确保工程顺利施工,是一个很重要的课题。

4.3 场内交通布置

4.3.1 出入口的设置

根据现场的实际情况,工程施工过程中,现场共设置两个出入口,主出入口位于场地的东北角,面临朝阳路,从朝阳路通往东三环和东四环。另一出入口设置在东南角,通向**电视台主楼(CCTV),作为临时的消防通道。

4.3.2 现场道路规划

由于现场场地狭小,基础施工阶段施工现场的临时道路不能形成环路,结构施工阶段才能形成环路,根据施工现场的实际情况,料场及加工区域均设在塔吊附近,尽量处于塔吊回转半径的范围内,便于施工生产的组织;南侧及东侧设置双向施工道路,宽6m;材料堆放区、材料库房、现场办公室均设在道路的两旁,便于施工材料的装卸及人员往来的交通。

4.3.3 车辆临时停放场地

工程施工过程中,现场施工车辆进出频繁,因此为确保场内临时道路的畅通,在现场东侧设置车辆临时停放场地,需在场内停留的车辆,一律集中停放在停车场内。

4.3.4 车辆冲洗设备

为避免出场车辆车轮带泥,污染场外道路,在东北角主出入口位置设置车辆冲洗设施,并设置沉淀池。

4.4 场内外交通组织与管理

4.4.1 建立运输保障体系

1. 成立由工程经理部交通管理负责人为首,各施工单位交通管理负责人参加的**电视台新台址建设工程B 标段施工总承包工程交通物流管理委员会(以下简称交通物流管理委员会),组织领导施工现场的交通物流管理工作。

2. 各部门、各施工单位在材料使用前一定时间内向交通物流管理委员会提出材料进、出场运输申请,申请人应按照实际进度,说明需用材料的数量,运输车辆种类,最早、最晚进场时间等内容,由相关人员统一安排材料的具体进场时间。

3. 交通物流管理委员会负责施工现场道路管理,负责场内道路指示标志的设立与管理,并负责运输过程中的组织、协调,负责与地方管理部门的沟通与协调,应对运输过程中的突发事件,处理施工现场进出材料、设备对周边道路的不利影响。

4.4.2 特殊施工阶段交通组织

1. 土方施工阶段

土方施工阶段的运输重点是土方的外运。本工程的土方外运量巨大,为保证土方能顺利运出现场,需要大量的土方运输车辆和频繁的运输车次,所以,保证土方运输车辆的数量及土方运输线路的畅通将是土方施工阶段交通组织的重点。交通组织重点单位:总包、交管部门、土方施工单位。

2. 基础底板施工阶段

基础底板施工阶段的运输重点是混凝土的运输。本工程基础底板混凝土的用量巨大,基础底板施工阶段,为保证各区段底板混凝土连续浇注,需要大量的混凝土运输车辆供应至现场,因此,这一期间,在现场东侧设置混凝土罐车集中周转场地,统一调度;基础底板施工前,及时与交管部门沟通,共同商量混凝土的运输线路,保证材料运送的及时、有序。交通组织重点单位:总包、交管部门、混凝土供应单位。

3. 主体结构施工阶段

主体结构施工阶段的运输重点是钢筋的运输、场内半成品钢筋的运输、混凝土的运输、卸料。将庞大数量的材料及时地运输至施工现场将成为主体结构施工成败的重点之一。因此,这一时期,各种原材料及时的供应、畅通的交通、高效的装卸,将是主体结构正常施工的保证。

交通组织重点单位:总包、交管部门、各材料供应单位。

4. 钢结构施工阶段

钢结构施工阶段的运输重点是钢结构构件的运输、卸料。由于钢结构构件类型繁多,数量巨大,成功地将各种构件运输至施工现场并装卸是保证施工正常进行的重点。这一阶段,在现场的东侧、南侧、北侧的塔吊回转半径内开辟出专门的钢结构构件堆放场地,统一管理,对钢结构的运输单位要求定时、定量地完成运输、卸料,及时与交管部门沟通,为钢结构的运输提供方便。交通组织重点单位:总包、交管部门、钢结构施工单位。

5. 装饰施工阶段

装饰施工阶段的运输重点是各种装饰材料的运输、卸料。施工场地内,按照装饰材料的种类,开辟专门的材料堆放场地,如:幕墙材料堆放场、砌体堆放场地、屋面构件堆放场等,装饰施工单位根据划分好的区域,分类码放各种材料,总包方统一管理。交通组织重点单位:总包、交管部门、装饰施工单位。

 

5场内外交通安全管理措施

5.1 场外交通安全管理措施

5.1.1 施工进场前,主动与当地交管部门联系,进行施工围挡和场门外的施工组织导流,制作、购买交通指示牌,在施工区域附近设置明显的警示标志,现场禁止无关车辆、人员进入。

5.1.2 汽车及自行轮胎式机械在进入城市交通或公路时,必须遵守《中华人民共和国道路交通安全法》。

5.1.3 对进出车辆司机要进行严格审查,进场前要对其进行安全教育,并予以考核,不合格不能上岗,所有车辆司机必须在工程经理部注册登记,无特殊情况不予更换。

5.1.4 对进出现场的车辆进行严格审查,凡没有通过年审,不准进入施工现场。

5.1.5 严格遵守交管部门针对本地区交通环境而制定的各种管理规定,优化施工车辆进出施工现场的时间、线路,尽量避免施工车辆对当地交通的影响

5.1.6 加强对现场施工人员的交通安全教育,树立良好的交通安全观念,外出时自觉遵守道路交通管理制度,防止发生交通事故。

5.2 场内交通安全管理措施

5.2.1 按照施工平面总体布置图合理规划施工现场内的道路,保持路面平整、路基稳固、排水良好,并要具备良好的夜间照明设施。

5.2.2 施工现场道路设置齐全的交通标志,道路行驶方向标以箭头指示,路边设限速标志,办公区有禁鸣笛标志等。

5.2.3 优化场内材料运输线路,设专人负责材料的协调调配,保证人车分流;车辆装、卸材料时,不得占用现场主要道路,要确保主要道路畅通,保证施工现场道路顺畅。

5.2.4 在现场设置停车场,以保证车辆能够安全停放,且不会影响主要道路的交通。

5.2.5 车辆出入口设保安24 小时值班,进出车辆必须严格服从门卫及现场交通安全管理员的管理。内部车辆出入时要凭借有效的现场出入证。外部车辆进入时,首先用门口电话或对讲机与内部联系,征得同意后方可放行驶入,其他无关车辆均不得入内。同时保安做好车辆出入记录,以方便查询。

5.2.6 车辆在现场内行驶时,车速不得高于20 公里/小时,且不得紧急起步或突然停车。限于现场内行驶的机动车辆,不得用于载人。

5.2.7 在进出现场大门、停车场、倒车或拖带坏车时,车速不得高于5 公里/小时,且要集中注意力,谨慎行驶。

5.2.8 特殊天气情况下(雨天、雪天、雾天等),由于雨雪天路面较滑、雾天能见度较差等各种因素,容易引发交通事故,故在这类天气下还要注意:

1. 保持低速慢行,并与前车保持安全的行车距离,避免追尾。

2. 严格遵守交通信号及标志,严禁超车。

3. 仔细检查并擦净风挡玻璃、灯具、后视镜和车窗。

4. 可以适当鸣笛与其他车辆交换信息,并有效地使用车前灯、雾灯、车后灯。

5. 由于路面湿滑,停车时要提前减速,平稳制动。

5.2.9 夜间施工时,由于光线较暗,能见度比白天低得多,更容易发生危险,故夜间行驶时必须注意:

1. 夜间行车必须开灯,车灯有故障的车辆不得在夜间行驶。

2. 车辆行驶时要比白天更加注意限速,并保持足够大的车距。

3. 司机驾驶车辆时,要注意道路中线及中线右侧的行人。

4. 车辆不得在无路灯的道路上停车。

5.2.10 施工现场严禁非司机开车、酒后开车,严禁疲劳驾驶、超速行驶、违章驾驶、违章拉人,违者追究有关单位和当事人的责任。

5.2.11 加强现场施工人员场内交通安全的教育,不断增强交通安全意识和自我保护意识。具体要做到如下要求:

1. 行走时要靠道路边侧,不准在道路中间行走。

2. 横过道路时,要注意来往车辆,看清车辆,让车辆先行。

3. 不得在现场追逐猛跑,车辆临近时不要突然横穿。

4. 不得在道路上坐卧或进行其他可能会妨碍交通的行为。

5.3 现场施工机械交通安全管理

5.3.1 现场施工机械安全使用一般规定

1. 机械必须按照出厂使用说明书规定的技术性能、承载能力和使用条件,正确操作,合理使用,严禁超载作业或任意扩大使用范围。

2. 机械上的各种安全防护装置及监测、指示、仪表、报警等自动报警、信号装置应完好齐全,有缺损时应及时修复。安全防护装置不完整或已失效的机械不得使用。

3. 机械不得带病运转,运转中发现不正常时,应先停机检查,排除故障后方可使用。

4. 机械进入作业地点后,施工管理人员应向操作人员进行施工任务和安全技术措施交底。操作人员应熟悉作业环境和施工条件,听从指挥,遵守现场安全规则。

5. 机械操作人员应体检合格,无妨碍作业的疾病和生理缺陷,并应经过专业培训、考核合格取得建设行政主管部门颁发的操作证或公安部门颁发的机动车驾驶执照后,方可持证上岗。

6. 机械操作人员在作业过程中,应集中精力正确操作,注意机械工况,不得擅自离开工作岗位或将机械交给其他无证人员操作。严禁无关人员进入作业区或操作室内。

7. 机械操作人员应遵守机械有关保养规定,认真及时做好机械保养工作,经常保持机械的完好状态。

8. 使用机械与安全生产发生矛盾时,必须首先服从安全要求。

9. 凡违反施工机械安全技术规程的作业命令,操作人员应先说明理由后可拒绝执行。由于发令人强制违章作业而造成事故者,应追究发令人的责任,直至追究刑事责任。

5.3.2 土石方机械

1. 作业时,挖掘机应保持水平位置,将行走机构制动住,并将履带或轮胎楔紧,待机身停稳后再挖土。操纵手柄应平稳,不得急剧移动,动臂下降时不得中途制动。挖掘时不得使用高速挡。

2. 作业时,当铲斗未离开工作面时,不得作回转、行走等动作。回转制动时,应使用回转制动器,不得用转向离合器反转制动。

3. 履带式挖掘机作短距离行走时,主动轮应在后面,斗臂应在正前方与履带平行,制动住回转机构,铲斗应离地面1m。上、下坡道不得超过机械本身允许最大坡度,下坡应慢速行驶。不得在坡道上变速和空挡滑行。

4. 轮胎式挖掘机行驶前,应收回支腿并固定好,监控仪表和报警信号灯应处于正常显示状态、气压表压力应符合规定,工作装置应处于行驶方向的正前方,铲斗应离地面1m。长距离行驶时,应使用固定销将回转平台锁定,并将回转制动板踩下后锁定。

5. 当挖掘机在坡道上行走时,若内燃机熄火,应立即制动并楔住履带或轮胎,待重新发动后,方可继续行走。

6. 作业后,挖掘机不得停放在高边坡附近和填方区,应停放在坚实、平坦、安全的地带,将铲斗收回平放在地面上,所有操纵杆置于中位,关闭操纵室和机棚。

7. 履带式挖掘机长途转移工地时应采用平板拖车装运。短距离自行转移时,应低速缓行,每行走5001000m应对行走机构进行检查和润滑。

8. 推土机行驶前,严禁有人站在履带或刀片的支架上,机械四周应无障碍物,确认安全后,方可开动。

9. 推土机上、下坡或超过障碍物时应采用低速挡。上坡不得换挡,下坡不得空挡滑行。横向行驶的坡度不得超过10°。当需要在陡坡上推土时,应先进行填挖,使机身保持平衡,方可作业。

10. 两台以上推土机在同一地区作业时,前后距离应大于8m,左右距离应大于1.5m。在狭窄道路上行驶时,未得前机同意,后机不得超车。

11. 作业后,应将推土机开到平坦安全的地方,落下铲刀,有松土器的,应将松土器爪落下。坡道上应将变速杆挂低速档,接合主离合器,锁住制动踏板,并将履带或轮胎楔住。

12. 推土机长途转移工地时,应采用平板拖车装运。短途行走转移时,距离不宜超过10km,并在行走过程中应经常检查和润滑行走装置。

13. 装载机起步前,应先鸣声示意,宜将铲斗提升离地0.5m。行驶过程中应测试制动器的可靠性。并避开路障或高压线等。除规定的操作人员外,不得搭乘其他人员,严禁铲斗载人。

14. 装载机高速行驶时应采用前两轮驱动。低速铲装时,应采用四轮驱动。行驶中,应避免突然转向。铲斗装载后升起行驶时,不得急转弯或紧急制动。

15. 装载机在公路上行驶时,必须由持有操作证的人员操作,并应遵守交通规则,下坡不得空挡滑行和超速行驶。

5.3.3 起重吊装机械

1. 操作人员在作业前必须对工作现场环境、行驶道路、架空电线、建筑物以及构件重量和分布情况进行全面了解。

2. 操作人员进行起重机回转、变幅、行走和吊钩升降等动作前,应发出音响信号示意。

3. 操纵室远离地面的起重机,在正常指挥发生困难时,地面及作业层的指挥人员均应采用对讲机等有效的通讯方式进行指挥。

4. 起重吊装的指挥人员必须持证上岗,作业时应与操作人员密切配合,执行规定的指挥信号。操作人员应按照指挥人员的信号进行作业,当信号不清或错误时,操作人员可拒绝执行。

5. 在露天有六级及以上大风或大雨、大雪、大雾等恶劣天气时,应停止起重吊装作业。雨雪过后作业前,应先试吊,确认制动器灵敏可靠后方可进行作业。

5.3.4 履带式起重机

1. 起重机应在平坦坚实的地面上作业、行走和停放,在正常作业时,坡度不得大于3°,并应与沟渠、基坑保持安全距离。

2. 当起重机如需带载行走时,载荷不得超过允许起重量的70%,行走道路要坚实平整,重物应在起重机正前方向,重物离地面距离不得大于500mm,并应拴好拉绳,缓慢行驶。严禁长距离带载行驶。

3. 起重机行走时,转弯不应过急,当转弯半径过小时,应分次转弯,若路面凹凸不平,则不得转弯。

4. 起重机上下坡道时要无载行驶,上坡时应将起重臂仰角适当放小,下坡时应将起重臂仰角适当放大,不得空挡滑行。

5. 起重机长距离转移工地,应采用平板拖车运送。特殊情况需自行转移时,应卸去配重,拆短起重臂,主动轮应在后面,机身、起重臂、吊钩等必须处于制动位置,并应加保险固定。每行驶5001000m时,应对行走机构进行检查和润滑。

6. 起重机通过桥梁、水坝、排水沟等构筑物时,必须先查明允许载荷后再通过。必要时应对构筑物采取加固措施。通过铁路、地下水管、电缆等设施时,应铺设木板保护,不得在上面转弯。

5.3.5 汽车、轮胎式起重机

1. 起重机行驶和工作的场地应保持平坦坚实,并应与沟渠、基坑保持安全距离。

2. 行驶前,检查并确认各支腿的收存无松动,轮胎气压应符合规定。行驶时水温应在8090范围内,水温未达到80时,不得行驶。

3. 行驶时应保持中速,不得紧急制动,过铁道口或起伏路面时应减速,下坡时严禁空挡滑行,倒车时应有人监护。

4. 行驶时,严禁人员在底盘走台上站立或蹲坐,也不得堆放物件。

5.3.6 水平和垂直运输机械

1. 运送超长、超宽、超高物件前,制定妥善的运输方法和安全措施。

2. 应根据车速与前车保持适当的安全距离,选择较好路面行进,应避让石块、铁钉或其它尖锐铁器。遇有凹坑、明沟或穿越铁路时,应提前减速,缓慢通过。

3. 上、下坡应提前换入低速挡,不得中途换挡。下坡时,应以内燃机阻力控制车速,必要时,可间歇轻踏制动器,严禁踏离合器或空挡滑行。

4. 在泥泞、冰雪道路上行驶时,应降低车速,应沿前车辙迹前进,必要时应加装防滑链。

5. 通过危险地区或狭窄便桥时,应先停车检查,确认可以通过后,应由有经验人员指挥前进。

6. 在坡道上停放时,下坡停放应挂上倒挡,上坡停放应挂上一挡,并应使用三角木楔等塞紧轮胎。

5.3.7 平板拖车

运输超限物件时,必须向交通管理部门办理通行手续,在规定时间内按规定路线行驶。超限部分白天应插红旗,夜晚应挂红灯。超高物体应有专人照管,并应配电工随带工具保护途中输电线路,保证运行安全。

5.3.8 机动翻斗车

1. 行驶前,应检查锁紧装置并将料斗锁牢,防止在行驶时掉斗。行驶时不得用离合器处于半结合状态来控制车速。

2. 上坡时,当路面不良或坡度较大时,应提前换入低挡行驶;下坡时严禁空挡滑行;转弯时应先减速;急转弯时应先换入低挡。

3. 通过泥泞地段或雨后湿地时,应低速缓行,应避免换挡、制动、急剧加速,且不得靠近路边或沟旁行驶,并应防侧滑。

4. 翻斗车排成纵队行驶时,前后车之间应保持8m的间距,在下雨或冰雪的路面上,应加大间距。

5. 在坑沟边缘卸料时,应设置安全挡块,车辆接近坑边时,应减速行驶,不得剧烈外撞挡块。

6. 停车时,应选择适合地点,不得在坡道上停车。冬季应采取防止车轮与地面冻结的措施。

7. 内燃机运转或料斗内载荷时,严禁在车底下进行任何作业。

8. 操作人员离机时,应将内燃机熄火,并拉紧手制动器。

5.4 保障飞机飞行安全措施

由于**电视台新台址建设工程B 标段的TVCC 酒店檐高159 米,依据《中华人民共和国民用航空法》第六十一条:在民用机场及其按照国家规定划定的净空保护区域以外,对可能影响飞行安全的高大建筑物或者设施,应当按照国家有关规定设置飞行障碍灯和标志,并使其保持正常状态。本工程在结构施工阶段,随着建筑总高度的增加,将按规定安装航空障碍标志灯,直至外檐装饰工程施工完毕,正式的航空障碍标志灯正常工作后,方可拆除,具体措施如下:

5.4.1 统一在塔机起重臂端部、平衡臂端部、塔机最高处安装高光强的白色航空障碍标志灯及小红旗。

5.4.2 结构施工至50m 处时,在结构四个大角安装四盏低光强的红色航空障碍标志灯。

5.4.3 结构施工至100m 处时,在结构四个大角安装四盏中光强的白色航空障碍标志灯。

5.4.4 结构施工至159m 处时,在结构四个大角顶端以下1.53m 安装四盏高光强的白色航空障碍标志灯。

5.4.5 加强对航空障碍标志灯的管理,随时检查运行情况,准备足够的备用航空障碍标志灯,注意及时更换。

(交通安全管理部分)

施工单位:               工程名称:                    年

序号

检查项目

情查情况

标准分值

评定分值

1

 

施工区域附近设置明显的警示标志

 

5

 

2

 

禁止无关车辆、人员进入

 

5

 

3

 

交通运输合理分流, 保证现场不发生道路拥堵现场

 

4

 

4

 

现场道路平整、排水良好,并具备良好的夜间照明

 

4

 

5

 

施工现场道路设置齐全的交通标志

 

5

 

6

 

现场施工人员自觉遵守道路交通管理制度

 

5

 

7

 

行走时靠道路边侧,不准在道路中间行走

 

5

 

8

 

车辆装、卸材料时,不得占用现场主要道路

 

5

 

9

 

车辆在现场内行驶时,限速20 公里/小时

 

5

 

10

 

主要车辆出入口设保安24 小时值班

 

5

 

11

 

夜间施工是否符合规定

 

6

 

12

 

严禁非司机开车、酒后开车、疲劳驾驶

 

6

 

13

 

在现场内较长的道路边设置回车点

 

4

 

14

 

雨雪天气车辆低速慢行,与前车保持安全的行车距离

 

5

 

15

 

进出现场大门或拖带坏车,限速5 公里/小时

 

5

 

16

 

有无入场教育方案及培训记录

 

5

 

17

 

施工现场有施工区域交通安全制度、方案和预案

 

5

 

18

 

有施工区域交通安全负责人和组织

 

5

 

19

 

施工区域交通安全检查要有记录和整改措施

 

6

 

20

职工应知考核

 

5

 

应得分            实得分              得分率                 折合标准分值

检查员签字:

 

第4节总承包管理

本篇主要从总承包管理角度论述,通过严格履行总承包合同、确定工程管理目标、进行生产要素的优化配置和动态管理、发挥总承包的协调管理作用、成本控制等多方位、多角度对工程进行全方位的管理,确保工程总体管理目标的实现。

 

1、严格履行总承包合同

**电视台新台址建设工程B 标段是**电视台新台址的重要组成部分,工程规模大,科技含量高,为此本投标人认真研读了招标文件,经缜密考虑,本投标人承诺,将认真执行本工程合同协议书、合同通用条件、合同专用条件以及工程规范,确保完成本工程的施工、竣工、交付、修补缺陷并完成档案整理的所有工作,并保证以诚信、敬业和积极的态度与业主和本工程涉及的第三方保持充分有效的合作,以确保本工程圆满竣工。为此本投标人采取以下措施1.1 建立掌握和熟悉FIDIC 合同条件的优秀的项目团队

本投标人注意到:本工程将全面采用国际工程师联合会FIDIC 合同条件,对工程项目合同管理的要求很高,因此成立掌握和熟悉FIDIC 合同条件的优秀的项目团队是做好本项目的基础。

本投标人具有多年国际工程的总承包经验,培养了一大批具有国际工程承包经验、会管理、懂技术的优秀的合同管理人才,在此基础上,本投标人将优中选优,从这一大批人才中择优选择一批拔尖人才,组成一支优秀的项目管理团队,确保工程的一切运作均符合FIDIC 合同条件。

1.2 建立主管领导负责的专门的部门负责合同管理工作

本工程将由项目经理部总经济师领导合同管理工作,具体工作由成本合约部负责。成本合约部将充分研究合同,与技术部、机电部、物流采购部等部门协调配合,做好FIDIC 条件下的合同管理工作。

1.3 定期召开合同分析会,确保不折不扣的履行合同

工程实施中,将由项目经理部总经济师牵头,每周召开合同分析会,分析影响合同实施的各种因素,重点分析实现合同的各种风险因素,并明确单位、部门和个人限期予以解决,确保不折不扣的履行总承包合同。

1.4 做好业主指定分包和指定供应商的合同管理工作

根据本投标人的经验,业主指定分包和指定供应商合同管理工作对总承包合同的落实影响很大,工程进度、质量、安全和文明施工的管理难度很大,为此,本投标人专门成立了计划协调部,重点协调此类分包的招标计划、加工计划、进场计划以及报验计划,确保指定分包和指定供应商与本投标人之间的衔接,保证总承包合同的实现。

 

2、进行项目总体控制确保项目目标的实现

1工程项目总体目标

1.1 质量目标

实现招标文件要求:

质量标准:合格

质量奖项:北京市结构长城杯金质奖和北京市建筑长城杯金质奖

争创:中国建筑工程鲁班奖。

1.2 工期控制目标

本工程计划开工日期2005 3 15 日,计划竣工日期2007 09 30 日,总工期930日历天。

工期对比情况如下:

总工期(天)

计划 开工日期

计划竣工日期

招标文件要求

 

200 53

200 8115

本投标人承诺

930

200 5315

200 70930

1.3 安全生产、文明施工目标

安全生产目标:杜绝死亡和重伤事故,杜绝火灾和重大治安事件,杜绝重大交通事故,控制轻伤事故在10以下。

文明施工目标:建设花园式工地,确保北京市文明安全工地

1.4 环保工作目标

创建环境保护工作先进现场,具体目标为:场地硬化和绿化、洒水降尘,裸露土覆盖,减少扬尘;雨污分开,杜绝水污染;控制噪声指标为白天小于70 分贝,夜间小于55 分贝。

1.5 科技开发与创新目标

本工程项目管理特别突出科技攻关与新技术的应用,大力倡导和实施技术创新和技术创效,使新技术的推广应用真正成为支撑项目管理、实现工程项目综合目标的重要手段。

争取奖项:北京市新技术应用示范工程(一优两示范)。

1.6 信息化管理目标

在工程项目管理的实施过程中,充分利用计算机和信息化施工技术等现代辅助管理手段,保障工程项目优质、高效、顺利地完成。

1.7 廉政目标

争创阳光工程,在整个工程实施运作过程中,认真实施廉政措施,确保工程成为阳光工程

 

2根据项目总体目标制定阶段性目标

由于本工程规模较大,施工周期较长,影响总体目标实现的因素较多,为此本投标人根据项目总体目标制定了阶段性目标,通过控制阶段性目标的实现确保总体目标的实现。各阶段控制目标如下:

施工阶段

目标

地基与基础 施工阶段

主体结构 施工阶段

装修工程 施工阶段

机电安装 调试阶段

验收阶段

质量

1、按北京市结构长城杯标准施工。 2、作好结构长城杯的验收准备工作。

1、顺利完成结构长城杯的两次验收。 2、顺利完成基础结构、主体15 层以下、16 层以上的结构验收。

按北京市建筑长城杯标准施工。

按北京市建筑长城杯标准施工。

1、完成消防检

测、验收;人防验收;水质验收;规划验收;避雷验收等专业验收。 2、完成竣工验收的各项准备工作。 3、协助业主办理相关的竣工备案手续。

确保基础结构在2005-10-31 之前完成。

确保主体结构在2006-08-21 之前完成。

确保装修工程在2007-06-03 之前完成。

确保调试在2007-08-31 日之前完成。

确保在2007-08-31

之前完成专业验收。 确保2007-09-30 日之前完成竣工验收

安全和文明施工

安全生产目标:杜绝死亡和重伤事故,杜绝火灾和重大治安事件,杜绝重大交通事故,控制轻伤事故在10以下。 文明施工目标:建设花园式工地,确保北京市文明安全工地

场地硬化和绿化、洒水降尘,裸露土覆盖,减少扬尘;

雨污分开,杜绝水污染;控制噪声指标为白天小于70 分贝,夜间小于55 分贝。

科技开

发与创

项目管理特别突出科技攻关与新技术的应用,大力倡导和实施技术创新和技术创效,使新技术的推广应用真正成为支撑项目管理、实现工程项目综合目标的重要手段。

具体奖项:北京市新技术应用示范工程(一优两示范)。

信息化管理

完成信息化的硬件和软件建设,保证信息管理顺畅

在工程项目管理的实施过程中,充分利用计算机和信息化施工技

术等现代辅助管理手段,保障工程项目优质、高效、顺利地完成。

廉政目标

争创阳光工程,在整个工程实施运作过程中,认真实施廉政措施,确保工程建设成为阳光工程

 

3、科技创新和成熟新技术应用

1科技创新及技术攻关项目管理

在本工程的施工过程中本投标人将大力开展新技术开发和应用工作,积极采用新材料、新工艺,努力提高工程质量,将TVCC 工程建成国际一流的工程。

科研开发将由项目经理部总工程师负责,分包单位设专职工程师分管科研工作,并成立科技小组,配合工程项目经理部开展科研工作。

科研开发工作流程

科研开发工作流程

1.2 科研开发计划

1.2.1 科研开发课题的确立

本工程科研开发将围绕以下方面确定:

1. 国家级、部级和市级科技合同项目及软科学项目。

2. 解决工程中的技术难点、提高工程质量、节约材料、提高工效、降低成本、改善劳动条件、环境保护等方面有显著效益,有良好的社会和经济效益的项目。

3. 有市场前景的重大技术储备项目或技术引进项目。

1.2.2 科研开发计划

根据本工程的特点,制定以下科研开发计划:

序号

项目

主要完成单位

配合单位

责任人

1

钢结构成套安装技术

技术部

钢结构分包

 

2

钢结构与土建装修节点配

合技术

技术部

钢结构分包装修分包

 

3

超高层建筑安全防护技术

技术部

质量安全部

 

4

超高层混凝土结构施工成

套技术

技术部

质量安全部

 

 

2"成熟新技术"推广项目管理

本工程成熟新技术应用以确保获得北京市成熟新技术应用示范工程(一优两示范)为目标,以建筑业十项新技术为手段,主要推广项目如下:

序号

建筑业成熟新技术

备注

1

地基基础和地下空间工程技术

1.1

桩基新技术

1.1.1

灌注桩后注浆技术

有效解决桩底沉渣和提高桩的承载力

1.1.2

反循环钻机成桩工艺

部分抗压桩成孔采用反循环钻机,其钻头选用三翼单腰带梳齿犁式合金钻头,该类型钻头结构简单,强度高,上下导正,并具有极好的导渣、导流性;

1.1.3

旋挖成孔工艺

 

部分抗压桩成孔采用旋挖成孔法施工,该技术使用静态泥浆护壁成孔,具有成桩质量高、高效节能、污染较少、扭矩大,捞渣能力强(使用磨盘式捞渣钻头)的优点,可使孔底沉渣厚度有效的控制在规定范围之内,达到高效优质的目的。

1.1.4

长螺旋钻孔中心泵压混凝土振插钢筋笼工艺

抗拔桩采用长螺旋钻孔中心泵压混凝土振插钢筋笼的方法,该方法具有桩体材料自行护壁的功能,无须附加任何其他护壁措施,根本免除了泥浆污染、泥浆处理、泥浆外运的工作,对环境影响小;在形成的素混凝土桩体中植入钢筋笼,能提高桩的承重、抗拔能力;施工程序简化,提高效率,降低造价。

1.1.5

桩基检测技术

 

桩基的质量检测采用先进的超声波检测仪,用来检测桩的成孔质量。该设备自动化程度高、精度高,能够有效地提高桩的施工质量。

1.2

深基坑支护技术

 

1.2.1

预应力锚杆施工技术

采用此项技术在满足土方边坡支护安全要求的前提下,可有效减少土方挖填量,增加施工场地面积,是建设部重点推广项目之一。

1.3

降水技术

1.3.1

水位控制技术

 

在降水施工中使用降水水位控制器,根据水位变化自动控制水泵开关,可以起到降低水泵损坏率,节约电能达80%以上,保证降水的效果。

2

高性能混凝土技术

 

本工程将全部采用预拌混凝土,广泛应用高性能混凝土施工技术。高性能混凝土具有无收缩(微膨胀)、防渗、防裂以及和易性、可泵性和稳定性好的特点。在本工程中采取多种掺合料和外加剂共用,可有效保证混凝土的抗渗、防裂、抗冻、抗碳化、抗盐、抗酸等要求,对增强混凝土的和易性和可泵性,预防混凝土中碱-集料反应,十分有效。此项技术还包括了以下内容:

1)提高混凝土耐久性:本工程要求使用年限为100年,混凝土耐久性是其最关键的保障之一,本投标人将充分依靠科学和自身研究成果,研究提高混凝土耐久性

的工艺技术。在混凝土试配、外加剂选用、原材料管理、混凝土浇筑和振捣、混凝土拆模和养护、混凝土裂缝封闭等关键环节上,进行研究、探讨和攻关,提高混凝土

安全使用寿命,确保工程的百年大计。

2)清水混凝土配合比设计:从混凝土原材料的选择到配合比设计,在模板体系选择和浇筑振捣工艺的控制方面进行研究总结,实现清水混凝土效果。

3)大体积混凝土温度裂缝控制技术的应用:引进建设部推广的3DTEP 大体积混凝土不确定温度场及应力场的三维有限元程序,实现微机控制自动监测技术,根据收集的数据,利用计算机分析得出结果,可迅速采取控制温度裂缝的措施。

4)对于钢骨柱由于存在剪力钉、柱主筋、箍筋,混凝土浇筑困难本投标人将采用先进的自密实混凝土

2.1

混凝土裂缝防治技术(原材料选择和配合比优化设计、施工技术)

混凝土浇筑困难,本投标人将采用先进的自密实混凝土技术,确保混凝土密实。

2.2

清水混凝土技术(原材料选择及配合比设计、施工技术)

 

2.3

自密实混凝土技术(技术指标、试验方

法、制备技术、施工技)

3

高效钢筋应用技术

3.1

高效钢筋应用技术

3.1.1

HRB400 级钢筋的应用技术

3.1.2

冷轧带肋钢筋应用技术

3.2

钢筋焊接网应用技术

3.2.1

冷轧带肋钢筋及其焊接网

本工程顶板拟采用冷轧带肋钢筋焊接网,具有质量稳定、施工速度快等特点。

3.3

粗直径钢筋连接技术

3.3.1

粗直径钢筋机械连接技术(滚轧直螺纹)

本工程钢筋连接方式将主要采用钢筋等强度剥肋滚压直螺纹连接技术,该技术等强、高效、经济、简单、实用,达到了国际先进水平。

4

新型模板及脚手架应用技术

4.1

清水混凝土模板技术

4.1.1

清水混凝土模板设计与制作技术

4.1.2

清水混凝土模板施工技术

本投标人将采用周转次数高的酚醛树脂双面覆膜多层木胶合板模板和大钢模板,在模板接缝处理方面、脱模剂的选用和模板的重复利用方面制定措施,提高混凝土表面质量,实现清水混凝土效果必须具备的模板条件。

地下外墙模板螺栓采用带锥度式穿墙螺栓,不但方便取出,而且可以降低费用投入、保证混凝土观感质量。

在配模上将大量采用计算机辅助设计软件 FWCAD进行模板设计,从而确保配模的速度与准确率。

4.2

早拆模板成套技术

4.2.1

早拆模板成套技术

支撑系统以TLC 快拆体系为主,减少模板和支撑的投入。

4.2.2

早拆模板施工技术

4.3

新型脚手架应用技术

4.3.1

整体式爬架

主体结构施工采用整体式爬架,具有自动升降、安全系数高等特点。

4.3.2

新型脚手架

用门型架和碗扣脚手架取代普通钢管脚手架,提高脚手架工具化水平。

由于本工程脚手架用量巨大,外围护脚手架及部分装修施工中非承重脚手架中,拟采用低合金钢管替代普通碳素钢管,与普通碳素钢管相比,其强度高、重量轻、

使用寿命长。

5

钢结构技术

5.1

钢结构CAD CAM 技术

5.2

钢结构施工安装技术(高层、大跨度空间、住宅及施工仿真技术)

5.3

钢与混凝土组合结构技术

5.4

钢结构防火、防腐技术

6

安装工程应用技术

6.1

管道制作(通风、给水管道)连接与安装技术

 

6.1.1

金属风管薄钢板法兰连接技术(组合法兰风管制作与安装)

加工可用流水线加工,加工速度快,节省型钢材料,运输方便,安装进度快。

6.1.2

给水管道卡压连接技术(镀锌钢管沟槽连接)

沟槽连接简单的工艺流程是,在镀锌钢管的两端利用压槽机把镀锌钢管的两端压出与管子轴线相垂直的槽,然后把管道两头对齐,在槽上套上专用的橡胶圈,最后在橡胶圈上套上专用的连接件,用螺丝拧紧。沟槽连接的优点主要有:安装方便、简洁、施工强度低、施工过程中不破坏镀锌钢管的镀锌层,免去了焊接或丝接施工完成后还要单独进行防腐的问题。运行维护简单,可对单节管道进行维修而不必影响其他节的管道

6.1.3

新型管材应用技术

薄壁不锈钢管道安装

抗菌、耐腐蚀、且不宜被污染。安装方便节约安装成本,节约钢材,由于管道安装采用卡压式连接,管道的严密性好。

离心浇铸柔性接口

排水铸铁管安装

管材采用离心浇铸工艺制作,具有结构紧密、壁厚均匀、内外壁光滑、耐蚀、耐高压等特点。在安装使用中,以内衬橡胶密封圈的不锈钢卡箍进行柔性连接,密封性能好,耐油性强,能够有效的防火、防震和抑制噪音,节省空间,安装方便,适用于高层建筑的排水系统。管道的系统组成简单:管、管件、不锈钢卡箍、密封橡

胶圈和支承件(管道支吊架)。后期运行维护简单,维修时需要更换零部件相对于其他排水管材要少。

薄壁紫铜管安装

抗菌、耐腐蚀、且不宜被污染,管道的可塑性强,可以进行任意角度的弯曲。安装方便,管道严密性好。

P3 铝箔保温风管施

工工艺

不需要特殊的加工场地及设备,现场即可加工非常方便,加工速度快,风管质量轻、安装方便,风管阻力小。不用保温,隔音性能好,防潮性能好,使用寿命长。风管材料为难燃B1 级。

6.2

 

电缆安装成套技术

 

 

6.2.1

 

电缆敷设与热缩电缆

头制作技术

 

电缆头附件具有体积小、重量轻、性能可靠、适应

性强。具有制作工艺简单、安装方便、稳定性和可靠性

良好的特点。使用时环境温度的允许范围广,可以在-40

-70使用。

 

6.3

 

建筑智能化系统检测技术

时再单独购买吹光纤芯,安装光纤环路。

2)用最小的开销、最少的干扰及破坏更改路由。

3)可吹光纤主干或吹光纤到桌面。

4)未来可选吹光纤复合电缆系统 ( Blotwist )

5)每根空微管最多可吹 8 芯光纤。

6)保证至少可吹到 1000 米。

7)当需要安装最新的光纤时,还可将旧的光纤吹出。

6.3.1

 

建筑智能化系统功能的评价与检测体系

 

6.4

 

大型结构(构件)和设

备整体安装技术

 

 

7.

建筑节能和环保应用技术

 

7.1

节能型围护结构应用技术

 

7.1.1

新型墙体材料应用及施工技术

 

7.1.2

外墙隔热保温技术

 

7.1.3

节能型门窗应用技术

 

7.1.4

屋面隔热保温技术

 

7.1.5

节能型建筑检测与评价技术

 

7.2

新型空调和采暖技术

 

 

 

7.2.1

空调低温送风技术

 

在夜间用电低峰时,通过低温乙二醇水溶液将水制成冰,在白天用电高峰时融冰制冷,减少了冷水机组和相应设备的开启数量,即节省了用电量又环保。

7.2.2

变风量空调技术

 

采用变风量、定温度的送风方式以调节环境的温度与湿度;通过调节空气处理机组送风机及系统回风机的电机运行频率来改变送风量;通过调节二次水的出水温度与改变新风量(调节新风阀的开度)来改变送风温度,具有节能效果显著、运行稳定、噪音低、调节灵活方便等诸多优点。

7.3

预拌砂浆应用技术

 

1.根据本工程对环保的要求,在建设和今后的使用过程当中,要确保不对环境造成污染。在工程建设中全部采用符合环保标准的绿色环保建筑材料在建筑工程

7.4

干粉砂浆应用技术

 

7.5

应用推广绿色、环保建

 

部采用符合环保标准的绿色环保建筑材料,在建筑工程物资采购过程中,既要保证所购材料符合奥运标准,还要选择环保达标的生产厂家,确保材料生产过程中不对环境产生污染,并通过此举提高全社会环保意识。

2. 建立行之有效的审核管理体系并配备相应的检测手段,对于进场的原材料、成品、半成品、构配件、器具、设备等绿色环保建筑工程物资的五类污染物浓度进行检测。

8

 

新型建筑防水应用技术

高聚物改性沥青卷材是一种无毒、无污染、高弹性、高强度、高耐侯性、高耐水性的防水材料。与基面及水泥砂浆等各种材料粘接牢固,在立面、斜面施工不流淌,施工简单、方便。

水泥基渗透结晶型防水是一种高效无毒无害的新型防水材料,由硅酸盐水泥、经特殊处理的一组活性化合物和石英砂组成的粉末状材料。该材料用于混凝土表面上,其活性化学物质通过载体向混凝土内部渗透,与毛细管道中游离的石灰和水份发生反应,形成不溶于水的结晶体,填充毛细孔道、裂缝,从而使混凝土密实、防水。

8.1

 

新型防水材料应用技术

8.1.1

高聚物改性沥青卷材

8.1.2

防水涂料和密封材料

8.1.3

刚性防水和堵漏止水材料

8.2

发展新的防水工艺技术(采用成套技术、新防水工艺技术、防渗堵漏技术)

9

施工过程监测和控制技术

 

9.1

施工过程测量技术

 

9.1.1

建筑测量放线技术(全站仪坐标法测量定位放线技术)

为确保施工进度和施工精度,提高施测效率,在测量工作中,将全面使用电子测量仪器和计算机。数据计算、数据传输、数据采集、内外业计算、成果输出全面使用计算机管理,以数字化测量模式取代传统的常规测量模式,使测量工作成为智能化施工的第一道工序。内容包括:工程测量数学模型及数据库研究;电子测量仪器智能化、自动化应用技术开发;数据分析、趋势预测软件的应用与开发;安装控制测量应用技术。

9.2

特殊施工过程监测和控制技术

9.2.1

深基坑位移监测和控制

9.2.2

大体积混凝土温度监测和控制

9.2.3

大跨度结构施工过程中受力与变形监测和控制

10

建筑企业信息化管理技术

 

10.1

工程项目信息化管理技术(工程项目的进度、质量、安全、成本的管理与集成管理)

在承建TVCC 如此复杂的大型现代化工程施工过程中,计算机和网络技术的应用是项目管理最为先进高效的现代化管理工具和管理手段,资源共享、信息传递快捷,可以极大地提高国内、国际交往的工作效率和管理水平,具有准确性、可靠性和可追溯性,可以有效且

有序的对工程的每一环节进行指挥、管理和监控,从而达到加快工程进度、保证工程质量和降低工程造价的目的。计算机网络管理应用、开发综合技术包括下列项目:

1.开发并建立工程项目管理信息系统:综合运用现代信息技术,建立局域网和对外网站,连接国际互联网为国际招标、采购提供便捷高效的工作平台;实现信息的内部横向交流和数据共享,为项目决策提供支持和服务,最终形成资源流优化系统。同时全面推行自动化和智能化施工技术。

2.采用先进的应用软件进行工程管理:实现施工图纸电子化、网络化;工程进度计划控制、成本控制、技术资料管理、翻样及加工定货、日常文件管理等推广应用先进的软件,实现无纸化办公及指令传输和信息反馈网络,蓝牙技术等。

3.图纸二次深化设计:应用计算机技术完成加工安装详图设计、综合系统配套图设计、工艺设计节点详图及装修效果图等。

4.建立数学计算模型:钢网架结构、整体密肋梁等复杂部位的三维坐标数据计算;钢构件加工安装变形量的分析预测;屋面下料成型尺寸和曲率精确计算;工程测量数据计算;土方工程量计算。

5.开发应用数据库管理系统,统一指导和指挥各种设备、材料定货加工、编号编码、运输和通关、拼装或组装、设备材料进场的控制和管理、安装与施工等工程的每一环节。

6.特殊专业与计算机技术的结合,诸如精密电子测量设备仪器、先进的焊接无损检测设备、下料加工数控设备等与计算机的有效结合,能自动分析计算,绘制图形和曲线,输出参数和结果。

7.视频监控系统:对关键施工部位和工作岗位进行电视监控,并以电子图形、音像等计算机多媒体技术忠

实、直观地记录和展示工程实施过程。

8.运输车辆GPS 指挥调度系统:土方及混凝土运输车辆,采用GPS 系统进行调度指挥,对车辆运输间隔时间进行动态控制,保证车辆的合理调配。

 

4、进行生产要素的优化配置和动态管理

1.1 根据本工程的重要性(响应招标文件要求,本工程将作为本投标人重点工程),本投标人将选派高素质的专业管理人员,选用以往曾屡获优质工程奖的最有战斗力的施工队伍,组建成一支优秀的项目团队。

1.2 本工程劳动力配备遵循足量供应、保证质量、尽量均衡的原则,根据施工阶段需要,提前做好劳动力数量和工种配备计划;根据现场情况,本工程施工人员将不在现场住宿,所有施工人员住宿安排在本投标人生活基地,由本投标人班车统一接送,施工人员的饮食由送餐本投标人送至工地。

1.3 本投标人具有良好的市场口碑和强大的经济实力,本投标人将为本工程的正常施工提供坚强的后盾,同时为避免工程因资金因素造成的不利影响,本投标人将设立监管部门,对工程项目经理部专用帐户和专款专用情况以及专业分包资金的流向进行监管,确保工程资金有效利用。

1.4 机械配套:由于本工程将由三支相对独立的劳务队伍完成,故机械配套将考虑每支队伍配备一套机械设备,确保每支队伍独立施工互不干扰。

1.5 合理选择、布置水平和垂直运输机械。土方开挖完成后将首先安排塔式起重机基础施工和塔式起重机的安装,使塔式起重机尽早投入使用;主体结构施工到10 层时进行施工电梯的安装。

1.6 混凝土的选择及输送:响应招标文件要求,本工程混凝土全部采用商品混凝土,施工前详细考察周围混凝土供应商的技术实力和装备水平,择优选用目前国内领先水平的绿色环保混凝土,并签定详细的供货合同和技术合同。场外运输采用混凝土罐车,现场运输采用混凝土泵,作业面采用布料杆进行混凝土布料。

1.7 砂浆选择与运输:装修工程的砂浆将采用预拌商品砂浆(湿拌)和干粉砂浆,实现绿色施工。场外运输采用混凝土罐车,场内运输采用施工电梯与人工结合的方式完成。

1.8 为保证工程质量,大宗材料、设备采用社会公开招标,阳光管理,材料设备进场采用业主、监理、总承包、专业分包对照样板联合验收,从源头上进行控制,确保工程总体质量目标实现。

 

5、发挥总承包的协调管理作用

1对总承包协调管理的理解和认识

1.1 工程总承包管理的重点内容

**电视台新台址建设工程B 标段施工总承包工程的建设对我国电视传媒产业的发展将产生非常深远的影响,作为该工程的投标人必须具备一流的综合实力、一流的策划与运作、一流的管理与协调、一流的技术与设备、一流的承诺与服务,才能优质高效完成本工程,实现工程项目的综合目标,因此施工总承包管理的重点内容为:

1.1.1 明确总承包的地位,有效协调工程各方的工作关系,争取政府各相关部门的有利支持。

1.1.2 对工程图纸进行二次综合设计,结合施工现场情况,对设计工作进行全面有效的协调。

1.1.3 通过招标本投标人同业主共同选择专业分包商,确保各分包商在资质、价格、工期等各方面均是最优秀的。对各专业承包商(包括指定分包商)的严格控制、管理、协调以及各专业承包商相互之间的密切配合进行协调。

1.1.4 充分发挥总承包商的综合协调能力,对分包单位进行组织协调、管理到位、解决问题,以确保工程项目的顺利进行,在质量、工期、安全文明施工等方面,全面实现项目的综合管理目标。

1.1.5 对设备、材料的选型、定货、加工制造、对设备和材料的质量目标和档次进行严格的界定和把关,确保所选用的材料和设备达到国内、国际一流产品标准。

1.1.6 在施工和管理方面大力采用计算机技术,全面实行网络化管理,确保关键线路和主导工期。

1.1.7 对工程质量的严格、有效地控制,确保工程实现过程精品。

1.1.8 在全过程的施工环境中存在着工期紧、施工人员及车辆密集、各工种交叉作业,需要多专业、多工种联合协调作业,总承包项目管理体系要有效地协调工程各方的工作关系。

1.1.9 总承包项目管理体系的设置,将充分的考虑到与业主及设计单位随时保持沟通的能力,能及时地迅速地把新的设计成果传递到施工现场;要有较强的应变能力,对到工地来访参观、考察的地方领导、国家领导人进行热情周到的接待,并保证他们的安全,充分体现高效可靠的总承包施工管理水平。

1.2 工程总承包的管理原则

工程总承包管理的基本原则可归纳为公正、统一、控制、协调、服务,这五个原则,本投标人将在本工程施工的全部过程中积极、认真、全面地去体现这五个原则,本投标人将把自己企业一流的管理水平展现在业主面前。

1.2.1 公正原则

在总承包管理中,无论在选择或管理分包商和供应商,还是在施工过程中面对各种问题都应以业主的利益为重,公正对待,以确保整个工程在施工过程中能顺利进行。

1.2.2 统一原则

对于整个工程的施工过程而言,所有分包商进入施工现场都应在总承包领导下统一管理,而分包商则必须服从管理。整个工程,只有处于总承包统一管理之下,才能更好的运转,为优质、高速、安全、文明地完成工程施工创造良好的环境和条件。

1.2.3 控制原则

首先本投标人将配备各类一流的专业施工人员,其次是深入现场进行施工过程的控制,第三本投标人将在工程施工的全部过程中对分包商进行严格的控制,通过过程控制来保证工程各项指标的完成。

1.2.4 协调原则

在总承包管理中,协调能力的强弱是总承包能力、经验的具体体现,本投标人将按照全过程科学管理的方针将协调工作做好,确保整个工程施工的顺利完成。

1.2.5 服务原则

本投标人在施工管理中将充分体现服务职能。总承包的职能不仅是管理,同时要为各分包商提供所需的办公生活设施、临时水、电、道路、垂直运输设备和施工脚手架等临时设施的支持和配合。提供优质服务的方针是本投标人对业主的承诺,也是顺利完成工程施工的保证。

总之,在总承包施工管理的五大原则中:公正是基础,统一是要求,控制是措施,协调是关键,服务是保证,只有这五大原则充分贯穿于整个施工过程,才能保证整个工程的顺利施工。

1.3 施工总承包管理与项目特点的对应

1.3.1 建立设计与施工总承包的密切合作机制。

1.3.2 聚集国内外最优秀的专业技术本投标人,采用符合设计标准的先进材料、技术、工艺和设备,形成实力强大的总承包商,确保工程所有细节成为精品。

1.3.3 发挥企业的总体优势,各专业加强协作,特别是通风、电梯工程、弱电工程的提前配合。

1.3.4 充分利用和发挥先进技术的优势。

1.3.5 在工程建设的过程中加强信息化管理,建立信息沟通平台使所有参加本工程建设的机构和人员最有效的统一在总承包管理的协调和控制中。

1.3.6 以科学的管理和技术节约成本,以以人为本的理念防范风险,控制整个建设过程工伤事故的事故率。

1.3.7 积聚最优秀的人力资源,运用科学的管理体系,圆满完成业主和时代赋予本投标人光荣的使命。总之本投标人及所有参与本工程建设成员的共同目标,是本投标人一切工作的出发点和最终归宿。

 

2与业主、监理、设计单位的配合协调

2.1 与业主的施工配合

2.1.1 本投标人将积极配合业主的工作,以总承包的管理模式做好现场管理,随时与业主保持联系,真正做到对业主负责、对工程负责。

2.1.2 积极主动地为业主服务,有效协调工程各方的工作关系,争取政府相关部门的有力支持。

2.1.3 对工程实施进行科学合理的计划和安排、组织与协调,确保关键线路和主导工期。

2.1.4 在工程进入施工阶段时,拟定每周召集一次各单位参加的施工协调会议,制定本周的工作计划,解决施工现场及图纸出现的问题,接受业主对施工现场管理的建议和意见。

2.2 与监理单位的施工配合

2.2.1 在施工过程中,严格按照监理工程师批准的施工组织设计及施工方案施工,为监理工程师的验收和检查提供力所能及的方便条件,虚心接受监理工程师的验收检查,并按监理要求进行整改。

2.2.2 所有入场使用的成品、半成品、设备、材料等,均主动向监理工程师提交产品合格证或质量保证书,并按有关规定主动报验出厂检测报告和现场复试报告。

2.2.3 按检验批、分项和分部进行质量验收,严格执行上道工序不合格,下道工序不施工的原则。对可能出现的有争议的情况,遵循先执行监理的意见,后予以探讨和磋商的原则,以维护监理工程师的权威性。

2.3 与设计单位的配合协调

2.2.1 中标后本投标人将尽快与设计单位联系,参加由业主组织的设计交底会,掌握设计意图及特殊工艺要求,根据设计要求深化本投标人的施工组织设计,编制详尽的施工方案。

2.2.2 协助设计单位完善施工图纸,向设计院提交根据总进度计划编制的二次出图计划并积极做好图纸的会审工作。

2.2.3 协助设计师确定材料、设备的选型。对施工中可能出现的设计问题预先提出,并

会同驻场设计师、监理加以解决。

 

3对分包单位的协调管理、服务和控制

依据招标文件要求,本投标人将与专业分包单位密切配合,将分包单位的施工进度纳入总体进度计划,统一协调和管理,做好总包服务工作。作为施工总承包单位,本投标人将对指定分包商和自选分包商从施工现场管理(施工程序、人员和材料的进出场、施工场地和仓储用地、临时水电、成品保护)、工期控制(加工及安装时间)、工序协调、质量验收、安全管理、相互之间的密切配合等各环节上做到管理及时、到位,实现对工程质量的严格、有效地控制,确保工程实现过程精品。

3.1 现场总体协调管理

3.1.1 充分发挥总承包单位的综合能力,总承包单位对分包单位进行组织协调、管理到位、解决问题,以确保工程项目的顺利进行,在质量、工期、安全文明施工、成本等方面,全面实现工程的综合管理目标。

3.1.2 各分包单位进场施工前,要与总承包单位签订总包协议,并根据相关的管理规定,签订有关安全、消防、环保、临水临电等具体协议。

3.1.3 各分包单位进场施工前,应向总承包单位提交其施工及构件堆放所需场地面积、部位等的计划,总承包单位根据施工进度计划以及现场实际情况,合理安排施工场地,为各分包单位搭建材料设备的仓库、设备堆放区、办公区,并划分责任区。对于临建设施,要由总承包单位统一规划,统一布置,各分包单位必须遵守总承包单位对现场场容场貌的管理,不得私自乱搭临建。

3.1.4 总承包单位要合理安排各分包单位的施工顺序、设备、材料进场时间、车辆流量控制,以确保现场施工道路畅通。各分包单位不得私自占用施工运输通道,若必须临时占用时,要有导流措施,以确保现场运输通畅,不致影响施工。

3.1.5 在施工和管理方面采用计算机等先进的科学管理手段,对工程实施各阶段进行科学合理的计划、安排、组织与协调,确保关键线路和主导工期。

3.1.6 统筹管理施工现场的围挡、交通、安全、保卫和施工消防,提供各分包单位和其他承包方进出场的通道。提供现场已有的脚手架、垂直运输机械为各专业分包单位使用。

3.1.7 施工现场内各分包单位将施工垃圾堆放到总承包单位指定的各楼层垃圾存放点,由总承包单位负责清运和消纳。

3.1.8 工程施工现场进行封闭,实行准军事化管理,由保安值勤,人员、材料、机械设备将严格实行出入证制度。

3.1.9 施工物资进场后,各专业分包单位要按指定的地方卸货堆放,做到条块整齐划一,并在总承包单位的统一协调安排下,按时吊运到施工作业现场。

3.1.10 按照施工总平面布置图布局,结合现场实际情况,提前完成各项临时设施及施工驻地建设,统筹规划和分配各分包单位的现场施工用地。

3.2 对专业分包单位施工技术的协调管理

3.2.1 根据总承包单位技术管理的要求,发挥总承包单位计划、组织、指挥协调和控制功能,积极贯彻国家和北京市的技术政策和法规。建立良好的项目技术管理秩序,使项目管理过程能符合技术规范、规程,科学、有效地组织各项技术工作的顺利开展,将分包单位的技术管理工作纳入总包单位的技术管理体系中。

3.2.2 总承包单位在接到施工图纸以后,及时组织有关人员熟悉图纸,并将图纸中存在的问题汇总整理,在图纸会审前提交设计单位,在各工序施工前将图纸上存在的问题及时解决。

3.2.3 在图纸会审后一周内,由总承包单位编制详细的施工组织总设计,并经本投标人总工程师审批后送交业主和监理审核批准。根据批准的施工组织总设计由专业分包单位编制专项施工组织设计,经工程项目经理部总工程师批准后再分送业主和监理审定。

3.2.4 对经业主和监理批准的各级施工组织设计,由工程项目经理部总工程师组织有关人员认真学习并严格执行,随时接受业主、监理的监督检查。各分包单位严格按照施工组织设计施工,维护其严肃性。如因条件变化而修改原设计时,应经原审批人同意。

3.2.5 总承包单位负责各分包单位技术方面的协调,满足施工的需要。对于施工中发生的一般技术问题及时解决,如有重大技术难题,则组织有关方面共同参与解决。

3.2.6 工程施工前,由总承包单位测量人员对业主和勘测设计单位提供的基准点进行接收并进行复核,并在场区建立首级精密控制网,总承包单位负责对首级精密控制网进行维护和复核,每两周校测一次。

3.2.7 工程施工中,各专业分包按照总承包单位提供的统一的测量基准线、基准点进行施工测量,专业分包单位在使用基准点、基准线时必须进行复核。总承包单位测量人员对工程重要部位以及各专业分包单位施工交接部位进行重点检查。

3.2.8 工程施工过程中,各专业分包单位应按照国家和北京市有关规定,对隐蔽验收项目进行规划,并在专项施工方案予以明确,使总承包单位和监理工程师对隐蔽验收项目做到心中有数。对隐蔽分项工程验收,专业分包单位先将报验计划、报验资料送总承包单位质量安全部,经总承包单位检查复核后报监理工程师审定。

3.2.9 总承包单位根据施工的实际情况,设置相适应的计量管理机构,要求各分包单位也要配备专职计量管理人员,开展计量工作。总承包单位定期对各分包单位的计量工作进行检查,监督各分包单位做好计量器具的送检工作,确保工程质量。

3.3 对专业分包单位施工质量的协调管理

3.3.1 通过对工程实施过程精品管理,从而创出精品工程。本投标人将建立分级管理、分层控制的质量管理体系,实施全过程、全方位和全员参与的全面质量管理。

3.3.2 对专业分包单位的能力和队伍素质要严格把关,在选择专业分包单位时,严格采用招投标制,重点审查施工资质、履约能力、信誉保证、工程业绩、队伍的管理素质和操作水平。并且在施工过程中加强管理层和操作层的规范化、标准化,重视对管理人员尤其是操作工人的培训教育,从根本上使他们对设计图纸、施工规范和操作工艺有更透彻的理解。

3.3.3 对分包单位实施质量管理责任制,明确现场施工质量的各环节责任人,按照责任逐级层层分解,从而保证施工中各个环节的质量。

3.3.4 对专业分包单位的材料设备进行严格的进场前检查验收。首先是分包单位自检,然后由总承包单位与分包单位联合检查验收,再由监理单位验收。对于重要的材料设备,要由总承包单位、业主、监理共同参与验收,严把质量关。对进入现场的材料设备,达不到质量标准的一律不能在工程上使用。

3.3.5 建立各项质量管理制度和措施,并严格贯彻执行,通过各种手段实施对过程质量的有效管理和严格监控。

3.3.6 严格程序化管理,以严格的程序规范各项质量管理工作。

3.3.7 各专业施工全面开始前,要将质量控制标准写在牌子上,并注明施工负责人、班组名称等,挂在施工部位,有利于每一名操作工人掌握和对照执行,也便于监督检查。

3.3.8 对工程质量要进行会诊、讲评、检查和考核,通过分析预测出质量薄弱环节,提前采取预防措施,及时发现问题和不足,总结经验,吸取教训,有针对性的提出质量改进的办法和措施,使工程质量得到持续的改进。

3.4 对专业分包单位施工进度的协调管理

3.4.1 总承包单位根据招标文件规定的工期要求编制施工总体进度计划,并定出施工过程中的控制节点,各专业分包单位根据施工总体进度计划编制各项工程详细的施工进度计划。

3.4.2 施工中总承包单位将高度重视设备安装、调试以及专业设备安装与装修施工的相互协调,本投标人将与此类专业分包单位密切配合, 严格要求,将分包单位的施工进度纳入总体进度计划,统一协调和管理,做好总承包服务工作。

3.4.3 总承包单位在现场建立总体控制进度计划、年度计划、季度计划、月计划、周计划等计划控制体系,加强现场信息的传递与反馈,加大对各分包单位的现场管理力度,确保施工现场各专业分包单位在统一指挥、统一调度下,有条不紊地工作。

3.4.4 施工总体进度计划确定后,在施工过程中,总承包单位将定期和不定期地对各分包单位施工进度执行情况进行检查,并定期召开现场调度会和协调会,及时解决矛盾,增强协调力度。

3.5 对专业分包单位进场物资的管理

3.5.1 总承包单位设专人负责对进场物资进行管理,各专业分包单位也要指定对口管理人员参与进场物资的管理工作。

3.5.2 专业分包单位提供设备、材料进场的总计划,并按月提供月度计划,以使总承包单位能够统一协调与安排。

3.5.3 严格按照进场物资管理流程安排进场,各种进场物资必须在10 天前向总承包单位提出申请,具体写明进场物资的名称、数量、规格及所占场地面积,经总包单位核准后才可进场。

3.5.4 物资进场后,必须在24 小时内卸货至地面,并存放到总承包单位指定的位置,避免阻碍运输道路,避免影响总承包单位和其他分包单位的施工。

3.5.5 各专业分包单位要落实专人对进场物资予以保管,并注意对产品进行保护,防止失窃与损坏,尤其对小件贵重物资及易燃易爆物品要重点进行保管。

3.6 对专业分包单位劳动力的管理

3.6.1 专业分包单位应将进入现场的施工人员名单及照片向总承包单位申报,由总承包单位行政部审查后办理施工现场出入证。

3.6.2 专业分包单位要提供劳务人员的三证复印件(身份证、务工证、健康证)及特殊工种的上岗证。

3.6.3 专业分包单位要有专人负责来京劳动力的管理,对新入场人员进行安全、消防、文明施工、治安等方面的入场教育。

3.6.4 所有进入现场的施工人员应接受政府职能部门的有关监督检查工作,违反规定者由专业分包单位承担有关责任。

3.6.5 各专业分包单位有责任约束所属员工遵守政府部门发布的有关法律、法规及施工现场的各项规定,确保施工现场文明有序地进行施工。

3.7 对专业分包单位成品保护的管理

3.7.1 总承包单位负责组织实施施工现场的成品保护工作,在整个工程施工阶段尤其是机电安装和装修阶段做好成品保护工作。各分包单位根据总承包单位划分的各自责任区域,组织安排有关人员做好成品保护工作。避免工程出现交叉破坏而造成返工,材料设备也要控制在合理的损耗范围内,以保证工程的顺利交付使用。

3.7.2 工程施工过程中,总承包及分包单位将投入充足人员专门监督和看管施工作业面,对工程成品保护工作进行统一管理,重点部位设专人昼夜看守,确保施工成品和半成品不受破坏、材料设备不丢失。

3.8 对专业分包单位文件档案、施工技术资料的协调管理

3.8.1 总承包单位将成立专门的图纸管理小组,由专人负责组织、协调整个工程的图纸接受、转发工作。建立专门的图纸管理台帐,制定相应配套的图纸管理制度,负责协调、组织图纸的接收工作,及时按专业进行分类并通知有关分包单位图纸管理人员领取图纸。总承包单位将监督指导分包单位建立自己的图纸接收、发放、变更等管理程序,确保施工图纸的有效管理、正确使用。

3.8.2 如果发生图纸变更事宜,立即通知有关分包单位及时采取相应的变更措施,保证

各方使用正确有效的图纸进行施工。总承包单位将协助分包单位就图纸有关问题与设计单位进行沟通工作。

3.8.3 总承包单位加强档案管理工作的建设,安排专职档案资料员,并建立资料收集、管理的组织管理网络。各分包单位也要指定专职档案资料员,按照国家和北京市的规章制度以及总承包单位的要求,及时收集日常资料和有价值信息,并做好竣工资料的整理。

3.8.4 技术部每月组织检查考核,以保证各分包单位的档案和资料管理工作的质量。在专业分部、分项工程结束前,分包单位项目负责人、技术负责人和档案资料员,应对工程档案资料认真自检,并按业主和总承包单位的规定写出档案自检报告,然后交总承包单位审核,为工程验收做好准备工作,验收后一个月内整理完毕交总承包单位汇总。

3.8.5 施工资料的收集、整理、编目等工作要严格执行北京市《建筑工程资料管理规程》(DBJ01-51-2003)中的有关要求,各施工单位应保证工程资料的真实性、完整性和有效性。

3.8.6 竣工档案的封面、卷内目录、装册盒都按照总承包单位统一规定,对资料的分类编号,采用计算机编号系统进行统一编码,以便查询和调阅。

3.8.7 总承包单位负责本工程全部施工资料的汇总工作,各分包单位在退场前按有关规定向总承包单位提供其分包范围内的所有工程资料。

3.9 现场用水用电协调管理

3.9.1 通过有关管理机构,申请从市政总管或支管接驳施工临时用水、用电,设置场内临时总控室、仪表、阀门、场内主管线、场内支管线、配电箱、各类临时检查井、沉淀池等。统筹管理各分包单位施工用水、用电的接口,各分包单位自行敷设该接口到施工现场。

3.9.2 对现场临时建筑物提供足够的水电供应,供水和供电系统要保证对工程施工提供足够的用水和对现场电动机械设备、工器具提供足够的电力。临时水电系统要保证24 小时内均处于良好的运行状态,以保证施工按进度计划要求进行,确保工程如期竣工。

3.9.3 为确保现场用电量,首先进行事前控制,在预测工程用电高峰后,准确测算电负荷,合理配置临时用电设备,对各分包单位已经编制好的用电方案进行优化和总体协调,在不影响施工进度的前提下,尽量避免多台大型设备的同时使用。用电线路按照重点部位施工线路、一般用电施工线路分开,按区域划分,做到合理配置、计划用电。

3.9.4 对各分包单位,要在前端挂表计量。总承包单位定期对现场临时用电情况进行检查,保证电表、电线运行良好;总承包单位将定期记录各施工单位的用电量,做好施工用电费用的管理工作。

3.9.5 根据施工现场各施工单位的用水量及用水区域,由总承包单位对整个施工现场的

临时用水线路做出统一规划并进行管理,在保证各施工单位施工用水的前提下线路布置合理。对于各分包单位,在前端挂表计量。总承包单位的管理部门将定期对施工现场的供水线路进行检查,保证水表、管线等供水设备处于完好状态,防止供水管线跑冒滴漏,节约用水。总承包单位将定期记录各施工单位的用水量,做好施工用水费用的管理工作。

3.9.6 现场排水系统畅通是保证现场文明施工的重要工作,总承包单位将根据现场情况

设置完善的排水系统,排水系统主要包括临时排水管、集水井、水泵等。总承包单位负责检查现场各施工单位施工区域的排水系统,保证现场内屋面、地表面、基坑等处无积水。

3.10 现场安全、消防协调管理

3.10.1 总承包单位将加强对分包单位的安全、消防监督管理,并加强对分包单位的安

全、消防教育。组织各分包单位认真学习政府及有关管理部门的安全、消防法律法规,不断增强员工的自我保护意识和消防安全意识。

3.10.2 总承包单位根据各分包单位的施工部位和施工阶段统一明确划分各分包单位的安全、消防责任区(包括施工区和生活区),以便加强管理。

3.10.3 根据相关法律、法规和政府消防管理机构的要求,总承包单位统一部署,协调管理,根据分包单位的不同施工区域,为施工中的永久工程和所有临时工程提供必要的临时消防和紧急疏散设施,包括提供临时消火栓、灭火器、水龙带、灭火桶、灭火铲、灭火斧、消防水管、阀门、水泵、检查井、临时消防水箱、泵房以及紧随工作面不超过一层的临时疏散楼梯。

3.10.4 总承包单位统一制定严格的现场消防安全管理制度,对现场储存或正在使用的易燃或可燃材料或明火施工的工序实行严格的用火证管理。专业分包单位要配备专人分管安全生产及消防工作,建立健全安全、消防管理制度,强化安全、消防管理工作。

3.10.5 专业分包单位有义务保护现场的各项安全、消防设施,如施工脚手架、临边护栏及消防器材等,不得擅自变更及增加施工荷载。

3.10.6 各分包单位必须接受总承包单位的安全监控,参与工地的各项安全、消防检查工作,并落实有关整改事宜。分包单位的整改工作若不能达到有关安全、消防管理标准,总承包单位可以协助分包单位予以整改,其发生的人工、机械、材料等一切费用将由分包单位承担。

3.10.7 分包单位工程人员在作业过程中发生各类违章作业,总承包单位将依据情节轻重、危害程度等具体情况和有关规定给予处罚,情节严重者,责令其停工整顿甚至要求其退场。

3.10.8 一旦发生重大事故,及时启动相应的应急预案,并立即停止该项目的施工。总承包单位协同有关分包单位,共同对事故采取必要的应急措施。事后,组织进行分析原因、追查责任、处理善后等工作。

3.11 机电部对施工的配合管理工作

3.11.1 服从业主和监理的管理,负责管理、统筹及协调所有机电专业的施工工作,负责与土建及其他施工单位进行联系协调,以使各机电专业合理地按总体工程进度进行施工及圆满完成。

3.11.2 负责与其他承包单位协调和合作,提供所有需要的有关资料、设备和人员以确保于分工交界点上能与其他承包单位满意地配合,并确保其负责的工作是按正确的程序施工。在施工进行中的各个阶段,与其他有关的承包单位讨论、协调和落实各分工交界点。

3.11.3 负责在有关工程施工前复核由结构专业及其他承包单位为配合本工程机电专业所提供的各项设施和预留、预埋是否配合及适用。

3.11.4 负责对各机电分承包单位进行统筹管理,对其各项工作实施有效的部署、控制和监督,并尽应尽的责任和义务,使整体机电项目做到安排上协调统一,均衡部署。

3.11.5 负责对指定的分包人及其他承包人的施工时间和方法进行协调,对各指定分包人的工程质量及进度承担管理责任。

3.11.6 负责在每楼层提供施工供水、供电接点,满足专业施工用水、用电。

3.11.7 统筹协调管理各专业施工技术方案。

3.11.8 统一管理和编制机电工程竣工文件。

3.11.9 对专业分包的管理要求:

1. 所有分包单位进场均必须与工程项目经理部签订工程配合协议,严格按协议条款来检查、落实分包单位的权利、责任、义务,尽量减少推诿扯皮现象的出现而贻误工期。

2. 分包单位应严格按照总进度计划编制月、旬、周实施进度计划,各分包单位应建立健全安全、质量、保证体系,并纳入工程项目经理部统一领导,服从项目经理部及业主、监理工程师的领导,按总体安排进退场。

3. 各分包单位严格执行项目经理部制定的施工现场总平面布置和现场文明施工的管理制度,做好施工现场的CI 工作。

4. 各分包单位所选用的设备、材料必须经业主代表、监理工程师和总包单位的审定,严禁擅自代用材料和使用劣质材料。

5. 各分包单位认真执行行业标准和国家现行规范,施工过程中做好各种试验检查记录,随时接受业主、监理及总包职能部门的工作检查,特别是隐蔽工程检查验收。工程竣工后,及时提供完整、真实的施工技术资料。

6. 项目经理部在控制网络计划指导下,加强对专业施工分包单位的计划管理和协调配合,科学安排各工序,实现结构工程、安装工程、装饰工程与专业分包队伍的立体交叉和空间流水作业,确保实现业主要求的工期目标。

3.12 机电各专业间的配合

3.12.1 准备期

1. 机电部在工程准备期,将组织机电各专业间图纸协调,尽早发现图纸上机电各专业间不交圈的问题,经设计确认后及时修改。

2. 机电部在工程准备期将对机电各专业接口划项进行协调,作好机电各专业的细部划项,排除划项重复和漏项。

3.12.2 施工期

1. 根据工程的需要绘制出施工管线系统综合布置图、施工节点做法图和设备安装(机房)大样图及土建(预留、预埋)配合图等图纸,这些图纸经监理审批后供各机电专业作为施工协调和施工的依据。

2. 地上部分进行结构施工的同时,开始地下室的机电管线安装,同时与土建砌筑墙体进行配合和协调。

3. 机电管线施工顺序

1) 进行机电管线空间布置上的协调,绘制出机电综合管线施工图,在综合图的基础上进行支吊架的协调。

2) 在机电管线支吊架已充分协调的基础上,开始进行机电管线的施工,施工顺序的原则是:有压让无压、小管让大管、电管让水管、下层让上层。

3) 具体施工次序

排水管道风管空调水水平管道电缆桥架消防管道其它机电管线此施工次序将根据具体部位的情况进行调整。

4. 水平区域的流水施工

各专业在不同的区域进行同时施工,以缩短工期。应保证一种管道施工完毕后,其它管道有足够的作业面进行施工。

3.12.3 竣工期

1. 机电部组织、协助机电专业完成各项调试、验收工作。

2. 机电部汇同各机电专业完成各种技术资料、竣工资料、竣工图的编制整理工作。

3.13 几个关键系统配合协调

3.13.1 弱电系统配合协调

弱电系统包括综合布线系统,火灾自动报警系统及消防联动控制系统、消防广播系统、楼宇设备控制管理系统等。它们与机电安装工作等多系统、多专业交叉施工,技术相对复杂,接口界面较多。为此将专门成立弱电系统安装协调小组,负责弱电系统的安装协调。

1. 界面接口的确定

首先与弱电系统安装就设备材料供应界面、技术接口界面、设计界面、施工界面进行划分,使其规范化和标准化,作为工程施工前期的要求向其它专业、工程提出,并在相应设计和合同中予以明确。

2. 施工前的协调

机电安装工程一般先于弱电专业施工,因此在弱电进行施工前主动与弱电承包商沟通,并提交一份本投标人的施工进度计划。同时对双方图纸交叉部分进行共同会审,进而确立施工界面。

3. 施工过程中的协调

1). 在施工过程中按总进度计划和施工方案规定的程序,积极为弱电施工创造条件和提供便利。

2) 向弱电施工提供他们所需要的预埋管、接地隐蔽记录以及预埋件和预留孔洞的施工记录。

3) 工程技术人员常驻现场,进行现场协调,对双方系统中交叉的地方相互沟通,避免重复施工。

4) 主动与弱电各子系统及其它专业系统(如暖通、电气、给排水等)接口协调,在工程实施过程中由于工艺变更引起技术界面、设备材料供应界面、设计与施工界面的变更的协调(包括设计院、土建、安装及各专业设备供应商在上述诸方面的协调)。

5) 在施工中搞好配合,遇到问题友好协商,顾全大局,达成意向协调一致,实施执行雷厉风行。

4. 施工后期的协调

施工后期主要工作为调试配合与成品保护,对弱电系统所需要的电源及时提供,在配合调试中,对于弱电系统交叉施工中可能存在的问题及时整改。在施工后期加强成品保护,加强对施工人员的教育,尊重别人的劳动成果。总之,为确保弱电工程和其它安装工程同步建成,本投标人将加强现场协调,保证弱电系统及时开通并达到设计要求。

3.13.2 与变配电系统施工协调

与变配电系统施工单位做好施工现场的施工范围划分和工程交接的接口,搞好配合。特别在断送电过程中,实行操作票制度,坚决杜绝随意断送电,避免人身伤害事故的发生。遇到问题友好协商,必要时请业主予以协调。

 

4工程总体技术管理

施工技术是保证施工质量的关键,要充分发挥施工技术管理的计划、组织、协调、指挥和控制职能,积极贯彻执行国家及地方的技术规程、规范,建立良好的总承包技术管理模式,科学有效地组织各项技术工作的顺利展开。

4.1 施工项目的主要技术管理制度

4.1.1 图纸学习和会审制度:制定图纸会审制度,加强对设计意图领会,明确有关技术要求,发现设计文件中的差错与问题,提出修改与洽商意见,避免技术事故或产生经济与质量问题。

4.1.2 施工组织设计管理制度:按企业的施工组织设计管理制度制定施工项目的实施细则,着重于分部、分项工程施工方案的编制与实施。

4.1.3 技术交底制度:施工项目技术系统一方面要接受设计的技术交底,而且要接受项目总工的技术交底,又要在项目内进行层层交底,以保证技术责任制落实和技术管理体系按标准和要求运行。

4.1.4 施工项目材料、设备检验制度:材料、设备检验制度的宗旨是保证项目所用的材料、构件、零配件和设备的质量,进而保证工程质量。

4.1.5 工程质量检查及验收制度:制定工程质量检查验收制度加强工程施工质量的控制,避免质量差错造成永久隐患,并为质量等级评定提供数据,为工程积累技术资料和档案。工程质量检查验收制度应包括工程预检制度、工程隐检制度、工程分阶段验收制度、单位工程竣工检查验收制度、分项工程交接检查验收制度等。

4.1.6 技术措施计划制度:制定技术措施计划制度是为了克服施工中的薄弱环节,挖掘生产潜力,加强其计划性、预测性,从而保证完成施工任务,获得良好技术经济效果和提高技术水平。

4.1.7 工程施工技术资料管理制度:本工程规模大、工程复杂、新材料品种多,所以要建立严格的技术资料管理制度。在施工过程中形成的应当归档保存的各种图纸、表格、文字、音像材料等技术文件材料,是工程施工及竣工交付使用的必备条件,也是对工程进行检查、维护、管理、使用和扩建的依据。制定该制度的目的为了加强对工程施工技术资料的统一管理,提高工程的管理水平。

4.1.8 其他技术管理制度:除以上的几项主要的管理制度以外,工程项目经理部还根据需要,制定其他技术管理制度,保证有关技术工作正常运行。例如:总承包与专业分包的施工协作技术规定、工程测量管理办法、计量管理办法。

4.2 技术管理的主要规定

4.2.1 熟悉图纸并组织参与各种设计交底,重点考虑施工措施、工序搭接、重点关键部位的施工难点,对发现的问题,在各工序施工前及时解决。

4.2.2 督促各分包商在不同的施工阶段对不同的施工项目,根据总包的总体方案和技术交底,编制具体的实施方案,经监理批准后实施,并归入总承包档案中。

4.2.3 对于施工生产中产生的一般技术问题及时解决,如有重大技术问题,则同设计、监理组织有关方面共同参与解决。

4.2.4 及时做好总包的各项技术资料汇总工作,定期归档,同时定期对各分包单位的技术管理情况及资料汇总归档工作进行检查,发现问题及时督促整改。

4.2.5 施工技术档案管理要求

1. 本工程属特殊重点工程,在开工初期总承包方协同业主、城建档案馆确定竣工资料的详细内容。

2. 技术管理所用纸张、表格等必须符合北京市《建筑工程资料管理规程》的规定。

3. 对重要部位如地下室防水、底板施工、隐蔽工程等除按规定填写隐蔽验收及质量检验评定表外,还应进行拍照或摄像,留下足够的能够反映施工过程及施工结果的影像资料(同时作为日后申报中国建筑工程鲁班奖的有关影像资料)。

4. 为规范技术资料的管理工作,方便查阅,所有资料均须留置书面及电子版文档,并设专人负责。

5. 本投标人将设专职资料管理人员,负责包括总包、分包在内所有技术资料的管理工作。

6. 在施工过程中设专业摄影人员对工程项目的部位进行拍照、录像,作为施工纪录并供其它各方参考。

4.3 对专业分包的其他要求

4.3.1 专业分包应提供安装施工图,建筑用产品的说明资料及合同中规定必须由监理工程师认可的样品。

4.3.2 根据要求分包商与总包相互协调,共同准备综合安装施工图。

4.3.3 安装施工图应由分包专业人员绘制,并应为各施工项目的相关设施及周围环境绘制大样。

 

6、成本控制

1成本控制目的

1.1 项目施工成本控制

成本是项目施工过程中各种耗费的总和,贯穿于项目管理活动的全过程和每个方面,从项目中标签约开始到施工准备、现场施工、竣工验收、直至缺陷保修,每个环节都离不开成本管理与控制。**电视台新台址B 标段建设过程的成本控制,其重要在于这项工作是保证工程顺利进行,使业主投资按期得到合理回报的重要保证。

1.2 成本控制目的

确保业主利益不受侵害、工程质量、工期等满足合同要求,合理地使用人力、物力、财力,合理降低建设过程中的成本,从而实现预定的成本目标,使有限的建设资金发挥出最大的优势,确保项目顺利进行。

 

2成本控制原则

**电视台新台址B 标段工程是一个体积庞大、功能齐全、工期跨越三个年度的工程,根据这样一个项目特色,本投标人遵照以下原则进行成本控制:

2.1 全面控制原则

项目成本是一项综合性很强的指标,管理和控制涉及到项目组织中每一个部门及个人。因此,本投标人将建立全员参与全过程成本控制管理意识,要求每个部门及个人要按照成本计划和成本控制流程进行工作从而确保成本计划的实现。

在本工程中本投标人将运用系统工程理论,将项目建设前期准备工作、工程建设、竣工交付到缺陷保修所有阶段的成本受控项目,及本项目因施工周期长带来的市场变化、政策性调整变化对本项目产生的成本影响因素,按照成本预测、成本控制、成本核算、成本分析和成本考核等控制模块,全部纳入控制轨道。

2.2 目标管理原则

成本目标是以成本预测为基础,结合管理者的施工经验及科学、合理的控制手段而形成的,成本目标是成本控制的执行依据。成本预测是目标形成的重要基础,主要是使用科学的方法,结合中标价且根据项目的施工条件、使用的机械设备、参与施工人员的素质等因素,对项目成本目标进行的预测。成本预测对提高成本计划的科学性、有效控制成本、合理降低成本和提高经济效益,具有重要的作用。因此,本投标人首先抓住成本预测的工、料、费的预测、施工方案引起费用变化的预测、辅助工程费的预测、临时设施费的预测、工地转移费的预测、成本失控的风险预测等这几个重要环节建立成本控制目标。

2.3 程序控制原则

为有效抑制人为不规范行为因素在成本控制管理过程产生的不良影响,有效保证成本控制目标的实现,本投标人将建立完善的项目成本控制体系、制定相应的控制程序、建立保证成本控制管理体系高度权威性、严肃性的相关制度,确保成本控制目标的有效实现。

2.4 动态控制原则

动态控制原则又称中间控制原则。对待**电视台新台址B 标段这样一个体积庞大、功能齐全、工期较长的建设项的成本目标控制,本投标人将特别强调项目成本的中间控制。针对本项目的具体特点,在确定的成本目标、成本计划、成本控制方案的基础上,把过程动态成本控制的重心放在资金合理调配、施工组织设计优化、建设期工作流程优化、二次设计方案优化等方面。把整个施工过程重点部位分为几个阶段,在每个阶段开始前分别对该阶段的成本控制目标及计划进行确认和调整,以确保其在保证质量及保证工期的前提下有效实施。

2.5 责、权、利相结合的原则

为保证投资与成本控制体系真正发挥及时有效的作用,本投标人将建立严格的经济责任管理制度,贯彻责、权、利相结合的原则。在项目实施过程中,一方面,从项目总经理到各个职能部门都有相应的成本控制责任,从而形成整个项目的成本控制责任网络。另一方面,把成本计划的方针、任务、目的和措施等逐一加以分解,提出进一步的具体要求,并分别落实到执行计划的有关部门、单位、甚至个人。各职能部门在肩负成本控制责任的同时,根据投资及成本控制体系的要求,对其在规定的权利范围内进行成本控制的管理权限进行设定,以保证各职能部门的对项目的投资与成本的实质性控制。为调动每个作为成本中心的职能部门的主动性和积极性,本投标人的相关部门将按项目进展的主要阶段,对各职能部门在成本控制中的业绩进行检查和考评,并与其利益分配紧密挂钩,实行有奖有罚。

3项目成本控制对象

3.1 成本目标形成过程

从中标到成本目标具体形成的过程,是项目成本目标形成的全过程,此过程是本投标人成本控制的超前控制对象。在此期间,本投标人在确保项目工程质量控制和工期控制的前提下,针对中标价对各分项工程进行分解工作、分项,确定实施性施工组织设计和工期计划工作、通过对多方案进一步的技术优化、经济比较,最终选择确定经济合理、先进可行的施工方案和总控工期计划、确定施工机械配备及进场作业计划工作、编制成本计划,在项目实施前进行成本目标的风险分析,及时预测风险、识别风险、消除风险,使这些与成本控制密切相关的工作在成本目标形成的过程中同时完成。以上工作内容均是本投标人对项目成本进行超前控制的控制对象。

3.2 成本目标执行过程

3.2.1 成本目标权威性

成本目标一经确定,本投标人将赋予其高度的权威性、严肃性,各相关部门、单位和个人必须严格执行。在执行过程中本投标人将随时监控各方面工作,将是否以制定的成本计划为指导、按项目成本计划执行作为本投标人项目成本管理的控制对象。

3.2.2 数据统计及时准确

数据统计的及时准确是成本控制运行体系中分析处理工作的重要基础,数据统计的质量直接影响成本控制的综合分析和处理。因此,本投标人将设立专门的部门机构及专职人员专项负责数据统计工作,其主要内容包括资金流动、直接人力成本、间接成本等方面内容,确保数据统计的真实、准确、及时。

3.2.3 综合分析与处理

依据总体成本目标、计划和数据统计的结果对实施中的成本进行综合的分析、判断、处理。其主要内容包括,项目建设时所消耗的人力资源、物资资源和费用开支等方面运用各种管理方法进行指导、监督、调节和限制,及时纠正将要发生和已经发生的成本偏差,把各项费用控制在计划成本内,以保证成本目标的实现。

3.2.4 阶段目标调整

由于成本目标控制计划是超前控制的预案,在执行过程中必定与现场实际情况出现偏差,因此,本投标人把整个施工过程分为桩基础、群房顶标高以下结构、塔身、装修4 个阶段,分别将这4 个阶段成本控制目标及计划的及时调整确定为本投标人成本执行中的控制对象。

3.2.5 工作质量

项目成本控制管理体系建立和运行状态质量的根本体现,就是成本控制的成果。而这个成果的真正取得,各职能部门、各岗位、各工作流程的工作质量是重要因素。因此,本投标人把各职能部门、各岗位、各工作流程的工作质量定为成本控制执行中的受控对象。

 

4项目成本控制管理流程

4.1 项目目标成本编制程序

 

 

 

 

 

 

 

 

 

 

 

 

 

 

 

 

 

 

 

 

 

 

 

 

 

 

 

 

 

 

 

 

 

 

 

 

 

 

 

 

 

 

项目目标成本编制程序

 

 

 

 

 

 

4.2项目成本控制管理流程

 

5成本控制措施

为真正实现成本控制预期的目标和成果,本投标人在项目成本预测、计划、实施、核算、分析、考核、整理成本资料与编制成本报告的过程中将采取以下主要控制措施:

5.1 目标形成控制

5.1.1 真实性控制

在项目成本形成的过程中,对于各项要素的确定要求实事求是、科学合理、真实有效。从而保证成本控制计划的高精度编制,把各项费用行之有效地控制在计划成本的预定目标内。

5.1.2 完整性控制

在成本形成的过程中,本投标人在充分考虑到项目实施过程中市场变化、各施工阶段现场条件、天气变化影响等诸多因素的前提下,编制出完整的成本控制实施目标及计划。

5.1.3 目标调整

项目成本总控目标和计划是在项目开工前预测完成的,随着项目的进程和诸多因素的变化,势必对在原始的成本总控目标带来真实性和可执行性的影响,因此,本投标人在总体成本控制目标的前提下,把整个施工过程分为桩基础、群房顶标高以下结构、塔身、悬挑、装修分为5 个阶段,在每个阶段开始前,分别对该阶段的成本控制目标及计划进行确认和调整,以确保其在保证质量及保证工期的前提下有效实施。

5.2 执行过程控制

5.2.1 数据统计及时准确

在技术、计划、设备、材料采购、加工订货和施工管理、劳动力控制、项目变更等方面,大力推广和采用计算机技术、信息综合管理技术和网络技术。充分发挥计算机和网络技术在综合统计、预测分析方面的功能,尤其是现场动态发展变化趋势的预测分析,在此方面使本投标人充分发挥成本控制体系的管理职能,为本投标人的决策层提供及时、准确有效的基础资料。

5.2.2 质量控制到位

通过严格的质量管理和控制,一次成功,减少返工,降低成本。在施工过程中严把工程质量关,始终贯彻至精、至诚、更优、更新的质量方针,各级质量自检人员定点、定岗、定责、加强施工工序的质量自检和管理工作真正贯彻到整个过程中,采取防范措施,消除质量通病,做到工程一次成型,一次合格,杜绝返工现象的发生,避免造成因不必要的人、财、物等大量的投入而加大工程成本。同时积极主动为业主和设计单位提出合理化建议,采用新技术、新材料、新工艺节约工程成本造价,提高质量效果。

5.2.3 组织保证落实

项目经理及各管理层作为成本控制体系,并为项目成本控制创造优化配置生产要素,实施动态管理的环境和条件。执行过程中按内部各岗位和作业层进行成本目标分解,明确与施工作业层之间的成本责任、权限及相互关系。把项目建设成本责任的产生、分解、转移、分析、考核以及与之相关的奖罚等处理过程形成成本责任流,从而使成本控制有人负责,避免成本大了,费用超了,项目亏了,而责任却不明的问题。

5.2.4 施工组织设计控制

施工组织设计、现场临时设施、大型机械进出场、施工工艺、设备选择、工期安排等,都是影响项目成本的重要因素,因此本投标人在工程项目中标后,结合施工现场的实际情况,合理利用计算机模拟施工的科学管理手段充分地比选论证,以成本控制目标为前提,制定技术先进、经济合理、切实可行的实施性施工组织设计、结合项目所在地的自然地理条件合理安排临时设施、结合整体施工部署的要求合理安排大型机械的进出场和使用,这部分工作着眼于成本控制的事前先进性、合理性计划控制,以达到实施过程中的成本控制。

5.2.5 三大因素控制

1. 对材料用量的控制:首先是坚持按定额确定材料消耗量,实行限额领料制度:在改进施工技术的同时,推广使用物耗低的各种新技术、新工艺、新材料。其次是对工程进行功能分析,对材料进行性能分析,力求用低价材料代替高价材料,加强周转料管理,延长周转次数等。

2. 对材料价格进行控制:主要是由采购部门在采购中加以控制。首先对市场行情进行调查,在保证质量的前提下,货比三家,择优购料;其次是合理组织运输,就近购料,选用最经济的运输方式,以降低运输成本;第三要考虑资金的时间价值,减少资金占用,合理确定进货批量与批次,尽可能降低材料储备。

3. 对机械费的控制:尽量减少施工中所消耗的机械台班用量,通过合理的施工组织、机械调配,提高机械设备的利用率和完好率,同时,加强现场设备的维修、保养工作,降低大修、经常性修理等各项费用的开支,避免不正当使用造成机械设备的闲置;加强租赁设备计划的管理,充分利用社会闲置机械资源,从不同角度降低机械台班费用。

5.2.6 合理调度

在本项目中本投标人引用了先进的项目管理理念,本投标人组建了现场管理机构,由于扁平化管理体系的合理设置、计算机和网络技术的应用、防控预案的提前设定,确保了项目总经理及相关部门及时掌控施工现场的变化,加强了施工调度的应对调整。避免了因施工计划不周和盲目调度造成窝工损失、机械利用率降低、物料积压等而使施工成本增加。从而保证现场施工始终在受控状态下进行。

5.2.7 综合分析与处理

本投标人按照施工形象进度、施工产值统计、实际成本归集三同步的原则,在施工过程中按每月为一核算期,参考计算机统计的数据对项目成本进行核算,并与施工项目管理责任目标成本的界定范围相一致。在以上核算工作的基础上,本投标人及时进行实际工程量与预算工程量的对比分析,实际消耗量与计划消耗量的对比分析,实际采用价格与计划价格的对比分析,各种费用实际发生额与计划支出额的综合对比分析,并将成本分析的结果形成文件,为成本偏差的纠正与预防、成本控制方法的改进,制定降低成本措施、改进成本控制体系等提供依据。

5.2.8 合同管理

合同管理是施工企业管理的重要内容,也是降低工程成本,提高经济效益的有效途径。项目施工合同管理的时间范围应从合同谈判开始,至保修日结束止,尤其加强施工过程中的合同管理。成本预测为成本确立行为目标,成本控制才有针对性,不进行成本控制,成本预测也就失去了存在的意义,也就无从谈成本管理了,两者相辅相成,因此,本投标人在分项施工合同、劳务合同、材料和设备采购合同等管理中,特别强调确立成本控制目标和必须严格执行成本计划的管理条款,就是要确保成本控制目标及成本实施计划的落实,从而达到成本管理的预期目标。

5.2.9 竞争机制引入

在施工技术和技术措施方面,充分发挥本投标人各专业专家的优势,及技术人员的主观能动性,对主要技术方案提出多方面的方案,包括采用新材料、新技术、新工艺节约能耗,提高机械化操作等。经过充分的技术、经济的论证,以寻求选定最先进、可靠、经济的方案,从而达到降低工程成本的目的。

在施工队伍的选用和材料、设备采购方面,本投标人将针对本工程的特点和运作模式以及各专业承包商的情况,严格控制各专业承包商的综合能力和素质,在确保工程质量和工期的前提下,采用招标管理的经济竞争模式,达到合理降低制造成本的目的。

5.3 具体成本控制措施

5.3.1 对钢结构、幕墙、石材、精装修等进行深化和优化设计,各工种施工前设计出施工大样详图,确定细部尺寸和节点做法,做好技术交底,以保证结构及各种埋设管线设备的准确性,最大限度地减少施工中交叉作业中的翻改工作量。

5.3.2 以采用先进的四新技术作为成本管理的切入点,以地基基础和地下空间工程技术、高性能混凝土技术、高效钢筋技术、新型模板和脚手架应用技术、钢结构技术、安装工程技术、建筑节能和环保应用技术等新的建筑业10 项新技术为先导,以新技术提高科技含量,以新技术提高工艺水平,以新技术提高管理水平,以新技术提高生产效率,并最终提高经济效益。

5.3.3 采用先进的清水模板技术,混凝土表面可达到清水要求,大大减少湿作业,保证工程质量,降低工程成本。

5.3.4 钢筋集中采购、加工,减少中间环节;施工生产中按图下料,长材不短用,大材不小用,活完料清,杜绝材料浪费。

5.3.5 钢筋直径22 毫米时应用等强剥肋滚轧直螺纹连接技术。合理搭配长短钢筋接头,利用现场钢筋下脚料制作钢筋定位箍、拉结筋、马凳等,提高钢筋利用率,杜绝浪费。

5.3.6 合理地划分结构和装修施工流水段,合理安排综合进度计划,有效节省人、机、料的投入,缩短施工工期,减少大型机械租赁费、脚手架、模板和其他相关费用。

5.3.7 明确工期、质量等综合目标及奖罚制度,相互制约,互相促进,保证一次成优,避免返工损失。

5.3.8 各工种要做到活完料净脚下清,工作面和完成面不再单独安排用工清理。

5.3.9 加强成品保护工作,按照谁施工,谁保护的原则确定过程成品保护工作的基本准则,最大限度的降低损失。

5.3.10 加强现场管理,合理组织材料进场,按施工组织设计的规划堆放,减少二次搬运和损耗。

5.3.11 主要材料妥善保管,按定额限额领料,余料回收,降低损耗。

5.3.12 加强机具管理与保养,合理调配使用,提高机具的完好率、使用率。

5.3.13 在技术、计划、设备和物资材料、定货加工和施工、人力资源和劳务管理、项目管理等方面大力推广和采用计算机技术、综合信息技术,大力进行技术创新、管理创新,与专业性的科研院所进行密切合作,制定专题的降低成本措施,实现工程项目的降低成本目标。

 

第5节附篇

1、附录一国家和地方现行的主要设计规范、规程和标准

序号

名称

编号

1

建筑地基基础设计规范

GB50007-2001

2

建筑结构荷载规范

GB50009-2001

3

混凝土结构设计规范

GB50010-2002

4

建筑抗震设计规范

GB50011-2001

5

建筑设计防火规范(2001 年修订版)

GBJ16-87(2001)

6

钢结构设计规范

GB50017-2003

7

人民防空地下室设计规范(2003 年版)

GB50038-94

8

建筑防雷设计规范(2000 年修订版)

GB50057-94

9

建筑结构可靠度设计统一标准

GB50068-2001

10

建筑结构设计术语和符号标准

GB50083-97

11

人民防空工程设计防火规范(2001 年版)

GB50098-98

12

总图制图标准

GB50103-2001

13

建筑制图标准

GB50104-2001

14

建筑结构制图标准

GB50105-2001

15

工程结构设计基本术语和通用符号

GBJ132-90

16

建筑抗震设防分类标准

GB50223-95

17

民用建筑设计通则

JGJ37-87

18

广播电视建筑设计规范

 

19

广播电视中心技术用房容许噪声标准

GYJ42-89

20

广播电视中心技术用房室内环境要求

GYJ43-90

21

电视演播室灯光系统设计规范

GYJ45-92

22

办公建筑设计规范

JGJ67-89

23

电影院建筑设计规范

JGJ58-88

24

旅馆建筑设计规范

JGJ62-90

25

剧场建筑设计规范

JGJ57-2000

26

饮食建筑设计规范

JGJ64-89

27

汽车库建筑设计规范

JGJ100-98

28

智能建筑设计标准

GB/T50314-2000

29

高层民用建筑设计防火规范(2001 年修订版)

GB50045-95

30

汽车库、修车库、停车场设计防火规范

GB50067-97

31

建筑内部装修设计防火规范(2001 年修订版)

GB50222-95

32

广播电视建筑设计防火规范

GY5067-2003

33

民用建筑热工设计规范

GB50176

34

民用建筑节能设计标准(采暖居住建筑部分)

JGJ26

35

民用建筑隔声设计规范

GBJ118

36

民用建筑照明设计规范

GBJ133

37

建筑地面设计规范

GB50037

38

城市道路和建筑物无障碍设计规范

JGJ50

39

北京地区建筑地基基础勘察设计规范

DBJ01

 

2、附录二国家和地方现行的施工规范、规程和标准

序号

名称

编号

1

工程测量规范及条文说明

GB50026-93

2

工程测量基本术语标准

GB/T50228-96

3

建筑变形测量规程

JGJ/T8-97

4

建筑工程测量规程

DBJ01-21-95

5

岩土工程勘察规范

GB50021-2001

6

锚杆喷射混凝土支护技术规范

GB50086-2001

7

建筑地基基础工程施工质量验收规范

GB50202-2002

8

建筑边坡工程技术规范

GB50330-2002

9

人防工程施工及验收规范

GBJ134-90

10

建筑地基处理技术规范

JGJ79-2002

11

基桩低应变动力检测规程

JGJ/T93-95

12

建筑桩基技术规范

JGJ94-94

13

建筑基桩检测技术规范

JGJ106-2003

14

建筑基坑支护技术规程

JGJ120-99

15

建筑基坑工程支护技术规范

YB9258-97

16

地下工程防水技术规范

GB50108-2001

17

地下防水工程施工质量验收规范

GB50208-2002

18

碳素结构钢

GB/T700-1988

19

优质碳素结构钢

GB/T699-1999

20

低合金高强度结构钢

GB/T1591-1994

21

钢筋混凝土用热轧光圆钢筋

GB13013-91

22

钢筋混凝土用带肋钢筋

GB1499-1998

23

钢筋机械连接通用技术规程

JGJ107-2003

24

带肋钢筋套筒挤压连接技术规程

JGJ108-96

25

普通混凝土拌合物性能试验方法

GB50080-2002

26

混凝土力学性能试验方法

GB50081-2002

27

硅酸盐水泥、普通硅酸盐水泥

GB1751999

28

用于水泥和混凝土中的粉煤灰

GB159691

29

混凝土强度检验评定标准

GBJ107-87

30

混凝土外加剂应用技术规范

GB50119-2003

31

混凝土结构试验方法标准

GB50152-92

32

混凝土质量控制标准

GB50164-92

33

混凝土结构工程施工及验收规范

GB50204-2002

34

粉煤灰混凝土应用技术规范

GBJ14690

35

超声法检测混凝土缺陷技术规程

CECS212000

36

混凝土及预制混凝土构件质量控制规程

CECS4092

37

混凝土含碱量限值标准

CECS5393

38

混凝土泵送施工技术规程

JGJ/T10-95

39

早期推定混凝土强度试验方法

JGJ15-83

40

回弹法检测混凝土抗压强度技术规程

JGJ/T23-2001

41

粉煤灰在混凝土和砂浆中应用技术规程

JGJ28-86

序号

名称

编号

42

轻骨料混凝土技术规范

JGJ51-2002

43

普通混凝土用砂质量标准及检验方法

JGJ52-92

44

混凝土减水剂质量标准和试验方法

JGJ5684

45

普通混凝土用碎石或卵石质量标准及检验方法

JGJ53-92

46

普通混凝土配合比设计规程

JGJ552000

47

混凝土拌合用水标准

JGJ63-89

48

冷轧带肋钢筋混凝土结构技术规程

JGJ95-2003

49

商品混凝土质量管理规程

DBJ01-6-90

50

混凝土中掺用粉煤灰技术规程

DBJ01-10-93

51

回弹法、超声回弹综合法检测泵送混凝土强度技术规程

DBJ/T01-78-2003

52

建筑楼梯模数协调标准

GBJ101-87

53

冷弯薄壁型钢结构技术规范

GB50018-2002

54

钢结构工程施工质量验收规范

GB50205-2002

55

涂装前钢材表面锈蚀等级和除锈等级

GB8923-88

56

钢结构防火涂料应用技术规程

CECS2490

57

建筑钢结构焊接规程

JGJ81-2002

58

钢结构用高强螺栓连接的设计施工及验收规程

JGJ82-91

59

玻璃幕墙工程技术规范

JGJ102-2003

60

金属与石材幕墙工程技术规范

JGJ133-2001

61

建筑幕墙

JG3035-1996

62

玻璃幕墙工程质量检验标准

JGJ/T139-2001

63

变形铝及铝合金化学成分

GB/T3190-1996

64

铝合金建筑型材

GB/T5237.1-5-2000

65

铝合金阳极氧化、阳极氧化膜的总规范

GB8013-87

66

砌体工程施工质量验收规范

GB50203-2002

67

砌体基本力学性能试验方法标准

GBJ129-90

68

砖石工程施工及验收规范

GBJ203-83

69

砌体工程现场检测技术标准

GB/T50315-2000

70

中型砌块建筑设计与施工规程

JGJ5-80

71

混凝土小型砌块建筑技术规程

JGJ/T14-95

72

建筑砂浆基本性能试验方法J

GJ70-90

73

贯入法检测砌筑砂浆抗压强度技术规程

JGJ/T136-2001

74

多孔砖砌体结构技术规范

JGJ137-2001

75

混凝土小型空心砌块建筑技术规程

JGJ/T14-95

76

砌筑砂浆配合比设计规程

JGJ/T98-2000

77

砌体工程施工质量验收规范

GB50203-2002

78

混凝土承重小型空心砌块建筑施工技术规程

DBJ01-39-98

79

北京地区蒸压灰砂砖砌体结构设计与施工规程

DBJ/T01-59-2001

80

屋面工程施工质量验收规范

GB50207-2002

81

建筑地面工程施工质量验收规范

GB50209-2002

82

建筑防腐蚀工程施工及验收规范

GB50212-2002

83

建筑防腐蚀工程质量检验评定标准

GB50224-95

84

机械喷涂抹灰施工规程

JGJ/T105-96

85

建筑工程饰面砖粘结强度检验标准

JGJ110-97

86

建筑玻璃应用技术规程

JGJ113-2003

87

夹层玻璃

GB9962-1999

88

钢化玻璃

GB/T9963-1998

89

浮法玻璃

GB11614-1999

90

中空玻璃

GB/T11944-1989

91

防火玻璃

GB15763-1995

92

平板玻璃术语

GB/T15764-1995

93

防弹玻璃

GB17840-1999

94

幕墙用钢化玻璃与半钢化玻璃

GB17841-1999

95

夹丝玻璃

JC433-1991(1996)

96

热反射玻璃

JC/T693-1998

97

高级建筑装饰工程质量检验评定标准

DBJ01-27-96

98

轻隔墙条板质量检验评定标准

DBJ01-29-2000

99

增强水泥条板轻隔墙施工技术规程

DBJ01-31-96

100

增强石膏空心条板轻隔墙施工技术规程

DBJ01-32-97

101

硅酮建筑密封膏

GB/T14683-93

102

建筑用硅酮结构密封胶

GB16776-1997

103

硫化橡胶分类、橡胶材料

GB/T16589-1996

104

钢筋网架水泥夹心板隔墙施工技术规程

DBJ01-33-97

105

建筑用界面处理剂应用技术规程

DBJ01-40-98

106

天然花岗石建筑板材

JC/T205-2001

107

绝热用岩棉、矿渣棉及其制品

GB11835-89

108

绝热用玻璃棉及其制品

GB/T13350-92

109

北京市屋面卷材防水推荐做法

93TJ2

110

外墙外保温施工技术规程

DBJ/T01-38-98

111

北京市厕浴间防水推荐做法

91TJ11997

112

建筑内外墙涂料应用技术规程

DBJ/T01-42-99

113

北京市地下室防水推荐做法

95TJ3

114

电气装置安装工程高压电器施工及验收规范

GBJ147-90

115

电气装气装置安装工程电气设备交接试验标准

GB50150-91

116

电气装置安装工程电缆线路施工及验收规范

GB50168-92

117

电气装置安装工程接地装置施工及验收规范

GB50169-92

118

电气装置安装工程盘柜及二次回路接线施工及验收规范

GB50171-92

119

建筑工程施工现场供用电安全规范

GB50194-93

120

机械设备安装工程施工及验收通用规范

GB50231-98

121

工业金属管道工程施工及验收规范

GB50235-97

122

现场设备、工业管道焊接工程施工及验收规范

GB50236-98

123

建筑给水排水与采暖工程施工质量验收规范

GB50242-2002

124

通风与空调工程施工质量验收规范

GB50243-2002

125

电气装置安装工程低压电器施工及验收规范

GB50254-96

126

电气照明装置施工及验收规范

GB50259-96

127

给排水管道工程施工及验收规范

GB50268-97

128

压缩机、风机、泵安装工程施工及验收规范

GB50275-98

129

建筑电气工程施工质量验收规范

GB50303-2002

130

电梯制造及安装安全规范

GB7588-2003

131

电梯工程施工质量检验评定标准

GB50310-2002

132

智能建筑工程质量验收规范

GB50339-2003

133

施工现场临时用电安全技术规范

JGJ46-88

134

建筑照明术语标准

JGJ/T119-98

135

建筑排水硬聚氯乙烯管道工程技术规程

CJJ/T29-98

136

《建筑设备施工安装通用图集》

91SB1

137

《建筑设备施工安装通用图集》

91SB2

138

《建筑设备施工安装通用图集》

91SB3

139

《建筑设备施工安装通用图集》

91SB6

140

《建筑设备施工安装通用图集》

91SB7

141

《建筑设备施工安装通用图集》

91SB9

142

《建筑设备施工安装通用图集》综合版

91SB-X1

143

《等电位联结安装》

02D501-2

144

《建筑电气施工安装通用图集》

92DQ

145

建筑外窗抗风压性能分级及检测方法

GB/T7106-1986

146

建筑外窗空气渗透性能分级及其检测方法

GB/T7107-1986

147

建筑外窗雨水渗漏性能分级及其检测方法

GB/T7108-1986

148

建筑幕墙物理性能分级

GB/T15225-94

149

建筑幕墙空气渗透性能检测方法

GB/T15226-94

150

建筑幕墙风压变化性能检测方法

GB/T15227-94

151

建筑幕墙雨水渗漏性能检测方法

GB/T15228-94

152

建筑隔声测量规范

GBJ75-84

153

厅堂混响时间测量规范

GBJ76-84

154

广播电影电视部建设项目竣工验收规定

GY5006-90

155

建筑装饰装修工程质量验收规范

GB50210-2001

156

建筑工程施工质量验收统一标准

GB50300-2001

157

建设工程监理规范

GB50319-2000

158

城市建设档案著录规范

GB50323-2001

159

建设工程项目管理规范

GB/T50326-2001

160

建设工程文件归档整理规范

GB/T50328-2001

161

建筑机械技术试验规程

JGJ34-86

162

工程抗震术语标准

JGJ/T97-95

163

建筑工程冬期施工规程

JGJ104-97

164

工程网络计划技术规程

JGJ/T121-99

165

北京市建筑安装工程分项施工工艺规程

DBJ01-26-2003

166

建设工程监理规程

DBJ01-41-2002

167

建筑工程资料管理规程

DBJ01-51-2003

168

建筑工程施工技术管理规程

DBJ01-80-2003

169

建筑结构长城杯工程质量评审标准

DBJ/T01-69-2003

170

建筑长城杯工程质量评审标准

DBJ/T01-70-2003

171

建设工程施工现场供用电安全规范

GB50194-93

172

建筑机械使用安全技术规程

JGJ33-2001

173

建筑施工安全检查标准

JGJ59-99

174

建筑施工高处作业安全技术规范

JGJ80-91

175

龙门架及井架物料提升机安全技术规范

JGJ88-92

176

建筑施工扣件式钢管脚手架安全技术规范

JGJ130-2001

177

北京市建筑工程施工安全操作规程

DBJ01-62-2002

 

3、附录三国家及地方相关法律、法规

序号

名称

备注

1

中华人民共和国合同法

1999 15 号主席令

2

中华人民共和国建筑法(1998.3.1 施行)

 

3

中华人民共和国计量法

 

4

中华人民共和国环境保护法(1989.12.26 施行)

 

5

中华人民共和国安全生产法

2002 70 号主席令

6

中华人民共和国职业病防治法(2002.5.1 施行)

2001 60 号主席令

7

中华人民共和国防震减灾法

 

8

中华人民共和国环境噪音污染防治法(1997.3.1 施行)

77 号国家主席令

9

建设工程质量管理条例

2000 279 号国务院令

10

建设工程勘察设计管理条例

 

11

建设工程安全生产管理条例(2004.2.1 施行)

2003 393 号国务院令

12

超限高层建筑工程抗震设防管理规定(2002 9 1 日实施)

建设部令第114 号(2002

13

关于印发《建筑工程预防高处坠落事故若干规定》和《建筑工程预防坍塌事故若干规定》的通知

建质[2003]82

14

北京市建设工程施工现场安全防护标准

京建施[2003]1

15

北京市建设工程施工现场场容卫生标准

京建施[2003]2

16

北京市建设工程施工现场环境保护标准

京建施[2003]3

17

北京市建设工程施工现场保卫消防标准

京建施[2003]4

18

《房屋建筑工程和市政基础建设工程试行见证取样和送检的规定》

建建[2002]11 号令

19

关于转发建设部《房屋建筑工程和市政基础设施工程实行见证取样和送检的规定》的通知

京建质[2000]0578

20

北京市建设工程试验实行有见证取样和送检制度的暂行规定

京建法(1997172

21

北京市建设工程试验实行有见证取样和送检制度的暂行规定补充通知

京建法(199850

22

预拌混凝土工程碱集料反应技术管理规定(试行)

京建科(1999230

23

关于加强建筑防水施工管理严格溶剂型防水涂料使用的通知

京建科教(2003117

24

北京市消防安全责任监督管理办法

北京市政府令第143

 

4、附录四基坑支护、降水计算书

4.1 基坑支护计算书

4.1.1 槽深-11.05m 土钉墙计算书

1. 土坡及土钉墙稳定性分析的瑞典条分法

放坡段数= 1

放坡高度(m) 放坡角度(°) 台阶宽度(m)

11.05 84.30 .00

坡高(m)=11.050

满布荷载值(Kpa)= 20.00

坡顶条形荷载值(Kpa)= .00

条形荷载左端点距坡面及坡顶交点的距离(m)= .00

条形荷载宽度(m)= .00 条形荷载深度(m)= .00

水平向地震系数= .00

地下水埋深(m)= 11.550

地层总数= 6 土条数= 100

土层厚度(m) 土体密度(kN/m3) 土体粘结力(kPa) 土体内摩擦角(°)

1.800 18.000 10.000 10.000

2.200 19.700 25.000 28.000

4.800 19.000 23.000 25.000

1.600 19.700 25.000 28.000

3.100 20.000 .000 30.000

6.000 20.000 .000 38.000

土钉排数= 7 土钉水平间距(m)= 1.500

1 排土钉

埋深(m)= 1.00 倾角(°)= 10.00 长度(m)= 9.00 钻孔直径(mm)=120.00

钢筋抗拉强度(MPa)= 310.00

2 排土钉

埋深(m)= 2.50 倾角(°)= 10.00 长度(m)= 9.00 钻孔直径(mm)=120.00

钢筋抗拉强度(MPa)= 310.00

3 排土钉

埋深(m)= 4.00 倾角(°)= 10.00 长度(m)= 11.00 钻孔直径(mm)=120.00

钢筋抗拉强度(MPa)= 310.00

4 排土钉

埋深(m)= 5.50 倾角(°)= 10.00 长度(m)= 10.00 钻孔直径(mm)=120.00

钢筋抗拉强度(MPa = 310.00

5 排土钉

埋深(m)= 7.00 倾角(°)= 10.00 长度(m)= 9.00 钻孔直径(mm)=120.00

钢筋抗拉强度(MPa)= 310.00

6 排土钉

埋深(m)= 8.50 倾角(°)= 10.00 长度(m)= 8.00 钻孔直径(mm)=120.00

钢筋抗拉强度(MPa)= 310.00

7 排土钉

埋深(m)= 10.00 倾角(°)= 10.00 长度(m)= 7.00 钻孔直径(mm)=120.00

钢筋抗拉强度(MPa)= 310.00

园心横坐标(m) 纵坐标(m) 半径(m) 安全系数

XC=-13.715 YC= 19.308 R= 22.653 FS= .841

XC= -6.954 YC= 11.535 R= 11.879 FS= .876

XC=-15.538 YC= 20.362 R= 33.426 FS= 3.651

XC=-11.020 YC= 14.186 R= 17.266 FS= .814

XC= -7.038 YC= 15.372 R= 28.039 FS= 3.075

XC=-10.373 YC= 13.338 R= 14.572 FS= .938

XC=-14.118 YC= 14.184 R= 19.959 FS= .744

XC=-13.864 YC= 15.504 R= 18.612 FS= .919

XC=-11.898 YC= 17.913 R= 21.306 FS= .825

XC=-12.443 YC= 15.651 R= 19.286 FS= .806

XC=-11.644 YC= 17.247 R= 20.632 FS= .821

XC=-13.642 YC= 14.132 R= 19.622 FS= .741

XC=-14.635 YC= 14.101 R= 20.296 FS= .741

XC=-14.635 YC= 14.101 R= 20.296 FS= .741

当园心横坐标(m)= -14.635 纵坐标(m)= 14.101 半径(m)= 20.296

园弧与坡面(或坡底)交点横坐标(m)= .004 纵坐标(m)= .043

园弧与坡顶交点横坐标(m)= 5.430 纵坐标(m)= 11.050

天然土坡的安全系数= .741

土钉墙内部稳定性安全系数= 2.143

抗滑力(KN)= 1864.044

下滑力(KN)= 870.013

滑弧与坡顶交点距坡面和坡顶交点的距离(m)= 4.327

滑弧与坡面交点位于坡脚之上!

1 排土钉抗拔力(kN)= 98.41 拉力(KN)= 46.61 其抗拔出安全系数= 2.11

其长度达到设计要求!

钢筋选用 1 Φ18

2 排土钉抗拔力(kN)= 138.47 拉力(KN)= .00

其长度达到设计要求!

钢筋选用 1 Φ18

3 排土钉抗拔力(kN)= 223.79 拉力(KN)= 26.37 其抗拔出安全系数= 8.49

其长度达到设计要求!

钢筋选用 1 Φ22

4 排土钉抗拔力(kN)= 240.79 拉力(KN)= 48.92 其抗拔出安全系数= 4.92

其长度达到设计要求!

钢筋选用 1 Φ18

5 排土钉抗拔力(kN)= 257.91 拉力(KN)= 71.11 其抗拔出安全系数= 3.63

其长度达到设计要求!

钢筋选用 1 Φ18

6 排土钉抗拔力(kN)= 313.28 拉力(KN)= 92.92 其抗拔出安全系数= 3.37

其长度达到设计要求!

钢筋选用 1 Φ22

7 排土钉抗拔力(kN)= 317.06 拉力(KN)= 109.58 其抗拔出安全系数= 2.89

其长度达到设计要求!

钢筋选用 1 Φ22

当园心横坐标(m)= -3.411 纵坐标(m)= 11.230 半径(m)= 14.236

园弧与坡面(或坡底)交点横坐标(m)= -12.160 纵坐标(m)= .000

园弧与坡顶交点横坐标(m)= 10.823 纵坐标(m)= 11.050

土钉墙整体稳定性安全系数= 1.453

抗滑力(kN)= 2598.437

下滑力(kN)= 1788.811

滑弧与坡顶交点距坡面和坡顶交点的距离(m)= 9.720

滑弧与坡面交点穿过坡脚!

2. 土钉墙变形与破坏计算有限元分析

位移最大点的位置

1 步开挖

水平位移最大点的位置(m):距坡面: 0.00 距坡顶: 1.50 最大位移值(mm)= 0.11

边坡沉降最大点的位置(m):距坡面: 0.00 距坡顶: 1.50 最大位移值(mm)= 0.32

2 步开挖

水平位移最大点的位置(m):距坡面: 1.10 距坡顶: 0.00 最大位移值(mm)= 0.41

边坡沉降最大点的位置(m):距坡面: 0.00 距坡顶: 0.00 最大位移值(mm)= 0.72

3 步开挖

水平位移最大点的位置(m):距坡面: 1.10 距坡顶: 0.00 最大位移值(mm)= 0.68

边坡沉降最大点的位置(m):距坡面: 0.00 距坡顶: 0.00 最大位移值(mm)= 1.00

4 步开挖

水平位移最大点的位置(m):距坡面: 1.10 距坡顶: 0.00 最大位移值(mm)= 1.15

边坡沉降最大点的位置(m):距坡面: 0.00 距坡顶: 0.50 最大位移值(mm)= 1.49

5 步开挖

水平位移最大点的位置(m):距坡面: 1.10 距坡顶: 0.00 最大位移值(mm)= 1.95

边坡沉降最大点的位置(m):距坡面: 0.00 距坡顶: 0.50 最大位移值(mm)= 2.26

6 步开挖

水平位移最大点的位置(m):距坡面: 1.10 距坡顶: 0.00 最大位移值(mm)= 3.14

边坡沉降最大点的位置(m):距坡面: 0.00 距坡顶: 0.60 最大位移值(mm)= 3.40

7 步开挖

水平位移最大点的位置(m):距坡面: 1.10 距坡顶: 0.00 最大位移值(mm)= 3.33

边坡沉降最大点的位置(m):距坡面: 0.00 距坡顶: 0.60 最大位移值(mm)= 3.66

如下图所示:

4.1.2 槽深-11.70m 土钉墙计算书

1. 土坡及土钉墙稳定性分析的瑞典条分法

放坡段数= 1

放坡高度(m) 放坡角度(°) 台阶宽度(m)

11.70 84.30 .00

坡高(m)=11.700

满布荷载值(Kpa)= 20.00

坡顶条形荷载值(Kpa)= .00

条形荷载左端点距坡面及坡顶交点的距离(m)= .00

条形荷载宽度(m)= .00 条形荷载深度(m)= .00

水平向地震系数= .00

地下水埋深(m)= 12.200

地层总数= 6 土条数= 100

土层厚度(m) 土体密度(KN/m3) 土体粘结力(Kpa) 土体内摩擦角(°)

1.400 18.000 10.000 10.000

3.200 19.700 25.000 28.000

2.100 19.000 23.000 25.000

3.800 19.700 25.000 28.000

1.800 20.000 .000 30.000

7.400 20.000 .000 38.000

土钉排数= 8 土钉水平间距(m)= 1.500

1 排土钉

埋深(m)= .80 倾角(°)= 10.00 长度(m)= 9.00 钻孔直径(mm)=120.00

钢筋抗拉强度(Mpa)= 310.00

2 排土钉

埋深(m)= 2.30 倾角(°)= 10.00 长度(m)= 9.00 钻孔直径(mm)=120.00

钢筋抗拉强度(Mpa)= 310.00

3 排土钉

埋深(m)= 3.80 倾角(°)= 10.00 长度(m)= 11.00 钻孔直径(mm)=120.00

钢筋抗拉强度(Mpa)= 310.00

4 排土钉

埋深(m)= 5.30 倾角(°)= 10.00 长度(m)= 10.00 钻孔直径(mm)=120.00

钢筋抗拉强度(Mpa)= 310.00

5 排土钉

埋深(m)= 6.80 倾角(°)= 10.00 长度(m)= 9.00 钻孔直径(mm)=120.00

钢筋抗拉强度(Mpa)= 310.00

6 排土钉

埋深(m)= 8.30 倾角(°)= 10.00 长度(m)= 8.00 钻孔直径(mm)=120.00

钢筋抗拉强度(Mpa)= 310.00

7 排土钉

埋深(m)= 9.80 倾角(°)= 10.00 长度(m)= 8.00 钻孔直径(mm)=120.00

钢筋抗拉强度(Mpa)= 310.00

8 排土钉

埋深(m)= 11.30 倾角(°)= 10.00 长度(m)= 7.00 钻孔直径(mm)=120.00

钢筋抗拉强度(Mpa)= 310.00

园心横坐标(m) 纵坐标(m) 半径(m) 安全系数

XC=-14.404 YC= 20.358 R= 23.985 FS= .870

XC= -5.108 YC= 18.190 R= 12.577 FS= 1.469

XC=-16.617 YC= 21.672 R= 35.392 FS= 3.659

XC=-10.579 YC= 15.346 R= 18.281 FS= .811

XC= -7.452 YC= 16.277 R= 29.689 FS= 3.073

XC=-10.829 YC= 14.382 R= 15.429 FS= .958

XC=-15.150 YC= 14.799 R= 21.133 FS= .737

XC=-14.684 YC= 16.424 R= 19.707 FS= .940

XC=-16.297 YC= 19.391 R= 22.559 FS= .956

XC=-12.811 YC= 16.575 R= 20.420 FS= .806

XC=-12.249 YC= 18.177 R= 21.846 FS= .815

XC=-14.262 YC= 15.113 R= 20.777 FS= .734

XC=-15.510 YC= 14.909 R= 21.490 FS= .729

XC=-15.510 YC= 14.909 R= 21.490 FS= .729

当园心横坐标(m)= -15.510 纵坐标(m)= 14.909 半径(m)= 21.490

园弧与坡面(或坡底)交点横坐标(m)= .004 纵坐标(m)= .039

园弧与坡顶交点横坐标(m)= 5.738 纵坐标(m)= 11.700

天然土坡的安全系数= .729

土钉墙内部稳定性安全系数= 2.438

抗滑力(KN)= 2386.704

下滑力(KN)= 979.021

滑弧与坡顶交点距坡面和坡顶交点的距离(m)= 4.570

滑弧与坡面交点位于坡脚之上!

1 排土钉抗拔力(KN)= 95.90 拉力(KN)= .00

其长度达到设计要求!

钢筋选用 1 Φ18

2 排土钉抗拔力(KN)= 129.00 拉力(KN)= .00

其长度达到设计要求!

钢筋选用 1 Φ18

3 排土钉抗拔力(KN)= 214.13 拉力(KN)= 13.47 其抗拔出安全系数= 15.89

其长度达到设计要求!

钢筋选用 1 Φ22

4 排土钉抗拔力(KN)= 234.74 拉力(KN)= 47.65 其抗拔出安全系数= 4.93

其长度达到设计要求!

钢筋选用 1 Φ18

5 排土钉抗拔力(KN)= 271.57 拉力(KN)= 53.80 其抗拔出安全系数= 5.05

其长度达到设计要求!

钢筋选用 1 Φ18

6 排土钉抗拔力(KN)= 289.99 拉力(KN)= 74.05 其抗拔出安全系数= 3.92

其长度达到设计要求!

钢筋选用 1 Φ22

7 排土钉抗拔力(KN)= 347.83 拉力(KN)= 93.94 其抗拔出安全系数= 3.70

其长度达到设计要求!

钢筋选用 1 Φ22

8 排土钉抗拔力(KN)= 394.44 拉力(KN)= 122.33 其抗拔出安全系数= 3.22

其长度达到设计要求!

钢筋选用 1 Φ22

当园心横坐标(m)= -3.536 纵坐标(m)= 11.834 半径(m)= 15.073

园弧与坡面(或坡底)交点横坐标(m)= -12.871 纵坐标(m)= .000

园弧与坡顶交点横坐标(m)= 11.537 纵坐标(m)= 11.700

土钉墙整体稳定性安全系数= 1.618

抗滑力(KN)= 3291.787

下滑力(KN)= 2033.906

滑弧与坡顶交点距坡面和坡顶交点的距离(m)= 10.369

滑弧与坡面交点穿过坡脚!

2. 土钉墙变形与破坏计算有限元分析

位移最大点的位置

1 步开挖

水平位移最大点的位置(m):距坡面:0.00 距坡顶: 0.00 最大位移值(mm)= 0.09

边坡沉降最大点的位置(m):距坡面:0.00 距坡顶: 0.00 最大位移值(mm)= 0.22

2 步开挖

水平位移最大点的位置(m):距坡面:1.03 距坡顶: 0.00 最大位移值(mm)= 0.51

边坡沉降最大点的位置(m):距坡面:0.00 距坡顶: 1.50 最大位移值(mm)= 0.86

3 步开挖

水平位移最大点的位置(m):距坡面:1.03 距坡顶: 0.00 最大位移值(mm)= 1.07

边坡沉降最大点的位置(m):距坡面:0.00 距坡顶: 1.50 最大位移值(mm)= 1.39

4 步开挖

水平位移最大点的位置(m):距坡面:1.03 距坡顶: 0.00 最大位移值(mm)= 2.12

边坡沉降最大点的位置(m):距坡面:0.00 距坡顶: 1.50 最大位移值(mm)= 2.50

5 步开挖

水平位移最大点的位置(m):距坡面:1.03 距坡顶: 0.00 最大位移值(mm)= 3.86

边坡沉降最大点的位置(m):距坡面:0.00 距坡顶: 1.50 最大位移值(mm)= 4.09

6 步开挖

水平位移最大点的位置(m):距坡面:1.03 距坡顶: 0.00 最大位移值(mm)= 5.00

边坡沉降最大点的位置(m):距坡面:0.00 距坡顶: 1.50 最大位移值(mm)= 5.24

7 步开挖

水平位移最大点的位置(m):距坡面:1.03 距坡顶: 0.00 最大位移值(mm)= 5.28

边坡沉降最大点的位置(m):距坡面:0.00 距坡顶: 1.50 最大位移值(mm)= 5.46

8 步开挖

水平位移最大点的位置(m):距坡面:1.03 距坡顶: 0.00 最大位移值(mm)= 5.43

边坡沉降最大点的位置(m):距坡面:0.00 距坡顶: 1.50 最大位移值(mm)= 5.72

如下图所示:

4.1.3 槽深-12.20m 土钉墙计算书

1. 土坡及土钉墙稳定性分析的瑞典条分法

放坡段数= 1

放坡高度(m) 放坡角度(°) 台阶宽度(m)

12.20 84.30 .00

坡高(m)=12.200

满布荷载值(Kpa)= 20.00

坡顶条形荷载值(Kpa)= .00

条形荷载左端点距坡面及坡顶交点的距离(m)= .00

条形荷载宽度(m)= .00 条形荷载深度(m)= .00

水平向地震系数= .00

地下水埋深(m)= 12.700

地层总数= 6 土条数= 100

土层厚度(m) 土体密度(KN/m3) 土体粘结力(Kpa) 土体内摩擦角(°)

1.400 18.000 10.000 10.000

3.200 19.700 25.000 28.000

2.100 19.000 23.000 25.000

3.800 19.700 25.000 28.000

1.800 20.000 .000 30.000

7.400 20.000 .000 38.000

土钉排数= 8 土钉水平间距(m)= 1.500

1 排土钉

埋深(m)= 1.00 倾角(°)= 10.00 长度(m)= 9.00 钻孔直径(mm)=100.00

钢筋抗拉强度(Mpa)= 310.00

2 排土钉

埋深(m)= 2.50 倾角(°)= 10.00 长度(m)= 9.00 钻孔直径(mm)=100.00

钢筋抗拉强度(Mpa)= 310.00

3 排土钉

埋深(m)= 4.00 倾角(°)= 10.00 长度(m)= 11.00 钻孔直径(mm)=100.00

钢筋抗拉强度(Mpa)= 310.00

4 排土钉

埋深(m)= 5.50 倾角(°)= 10.00 长度(m)= 10.00 钻孔直径(mm)=100.00

钢筋抗拉强度(Mpa)= 310.00

5 排土钉

埋深(m)= 7.00 倾角(°)= 10.00 长度(m)= 9.00 钻孔直径(mm)=100.00

钢筋抗拉强度(Mpa)= 310.00

6 排土钉

埋深(m)= 8.50 倾角(°)= 10.00 长度(m)= 8.00 钻孔直径(mm)=100.00

钢筋抗拉强度(Mpa)= 310.00

7 排土钉

埋深(m)= 10.00 倾角(°)= 10.00 长度(m)= 8.00 钻孔直径(mm)=100.00

钢筋抗拉强度(Mpa)= 310.00

8 排土钉

埋深(m)= 11.50 倾角(°)= 10.00 长度(m)= 7.00 钻孔直径(mm)=100.00

钢筋抗拉强度(Mpa)= 310.00

园心横坐标(m) 纵坐标(m) 半径(m) 安全系数

XC=-14.942 YC= 21.183 R= 25.010 FS= .834

XC= -4.664 YC= 18.584 R= 13.115 FS= 1.352

XC=-17.155 YC= 22.481 R= 36.905 FS= 3.659

XC=-11.386 YC= 15.882 R= 19.063 FS= .780

XC= -7.770 YC= 16.972 R= 30.958 FS= 3.073

XC=-11.232 YC= 15.111 R= 16.089 FS= .943

XC=-15.734 YC= 15.470 R= 22.036 FS= .707

XC=-15.307 YC= 17.118 R= 20.549 FS= .926

XC=-17.293 YC= 19.841 R= 23.523 FS= .936

XC=-13.358 YC= 17.284 R= 21.293 FS= .779

XC=-12.773 YC= 18.954 R= 22.780 FS= .794

XC=-15.119 YC= 15.530 R= 21.665 FS= .708

XC=-15.995 YC= 15.744 R= 22.408 FS= .707

XC=-15.995 YC= 15.744 R= 22.408 FS= .707

当园心横坐标(m)= -15.995 纵坐标(m)= 15.744 半径(m)= 22.408

园弧与坡面(或坡底)交点横坐标(m)= .006 纵坐标(m)= .056

园弧与坡顶交点横坐标(m)= 6.131 纵坐标(m)= 12.200

天然土坡的安全系数= .707

土钉墙内部稳定性安全系数= 1.990

抗滑力(KN)= 2149.333

下滑力(KN)= 1080.276

滑弧与坡顶交点距坡面和坡顶交点的距离(m)= 4.913

滑弧与坡面交点位于坡脚之上!

1 排土钉抗拔力(KN)= 77.90 拉力(KN)= .00

其长度达到设计要求!钢筋选用 1 Φ18

2 排土钉抗拔力(KN)= 104.88 拉力(KN)= .00

其长度达到设计要求!钢筋选用 1 Φ18

3 排土钉抗拔力(KN)= 174.32 拉力(KN)= 28.88 其抗拔出安全系数= 6.04

其长度达到设计要求!钢筋选用 1 Φ22

4 排土钉抗拔力(KN)= 197.49 拉力(KN)= 51.48 其抗拔出安全系数= 3.84

其长度达到设计要求!钢筋选用 1 Φ18

5 排土钉抗拔力(KN)= 222.56 拉力(KN)= 57.30 其抗拔出安全系数= 3.88

其长度达到设计要求!钢筋选用 1 Φ18

6 排土钉抗拔力(KN)= 237.16 拉力(KN)= 77.53 其抗拔出安全系数= 3.06

其长度达到设计要求!钢筋选用 1 Φ22

7 排土钉抗拔力(KN)= 279.98 拉力(KN)= 97.41 其抗拔出安全系数= 2.87

其长度达到设计要求!钢筋选用 1 Φ22

8 排土钉抗拔力(KN)= 344.84 拉力(KN)= 156.55 其抗拔出安全系数= 2.20

其长度达到设计要求!钢筋选用 1 Φ22

当园心横坐标(m)= -3.536 纵坐标(m)= 11.834 半径(m)= 15.073

园弧与坡面(或坡底)交点横坐标(m)= -12.871 纵坐标(m)= .000

园弧与坡顶交点横坐标(m)= 11.537 纵坐标(m)= 11.700

土钉墙整体稳定性安全系数= 1.618

抗滑力(KN)= 3291.787

下滑力(KN)= 2033.906

滑弧与坡顶交点距坡面和坡顶交点的距离(m)= 10.369

滑弧与坡面交点穿过坡脚!

2. 土钉墙变形与破坏计算有限元分析

位移最大点的位置

1 步开挖

水平位移最大点的位置(m):距坡面:0.00 距坡顶: 0.00 最大位移值(mm)= 0.09

边坡沉降最大点的位置(m):距坡面:0.00 距坡顶: 0.00 最大位移值(mm)= 0.22

2 步开挖

水平位移最大点的位置(m):距坡面:1.03 距坡顶: 0.00 最大位移值(mm)= 0.51

边坡沉降最大点的位置(m):距坡面:0.00 距坡顶: 1.50 最大位移值(mm)= 0.86

3 步开挖

水平位移最大点的位置(m):距坡面:1.03 距坡顶: 0.00 最大位移值(mm)= 1.07

边坡沉降最大点的位置(m):距坡面:0.00 距坡顶: 1.50 最大位移值(mm)= 1.39

4 步开挖

水平位移最大点的位置(m):距坡面:1.03 距坡顶: 0.00 最大位移值(mm)= 2.12

边坡沉降最大点的位置(m):距坡面:0.00 距坡顶: 1.50 最大位移值(mm)= 2.50

5 步开挖

水平位移最大点的位置(m):距坡面:1.03 距坡顶: 0.00 最大位移值(mm)= 3.86

边坡沉降最大点的位置(m):距坡面:0.00 距坡顶: 1.50 最大位移值(mm)= 4.09

6 步开挖

水平位移最大点的位置(m):距坡面:1.03 距坡顶: 0.00 最大位移值(mm)= 5.00

边坡沉降最大点的位置(m):距坡面:0.00 距坡顶: 1.50 最大位移值(mm)= 5.24

7 步开挖

水平位移最大点的位置(m):距坡面:1.03 距坡顶: 0.00 最大位移值(mm)= 5.28

边坡沉降最大点的位置(m):距坡面:0.00 距坡顶: 1.50 最大位移值(mm)= 5.46

8 步开挖

水平位移最大点的位置(m):距坡面:1.03 距坡顶: 0.00 最大位移值(mm)= 5.43

边坡沉降最大点的位置(m):距坡面:0.00 距坡顶: 1.50 最大位移值(mm)= 5.72

如下图所示:

4.1.3 槽深-12.20m 土钉墙计算书

1. 土坡及土钉墙稳定性分析的瑞典条分法

放坡段数= 1

放坡高度(m) 放坡角度(°) 台阶宽度(m)

12.20 84.30 .00

坡高(m)=12.200

满布荷载值(Kpa)= 20.00

坡顶条形荷载值(Kpa)= .00

条形荷载左端点距坡面及坡顶交点的距离(m)= .00

条形荷载宽度(m)= .00 条形荷载深度(m)= .00

水平向地震系数= .00

地下水埋深(m)= 12.700

地层总数= 6 土条数= 100

土层厚度(m) 土体密度(KN/m3) 土体粘结力(Kpa) 土体内摩擦角(°)

1.400 18.000 10.000 10.000

3.200 19.700 25.000 28.000

2.100 19.000 23.000 25.000

3.800 19.700 25.000 28.000

1.800 20.000 .000 30.000

7.400 20.000 .000 38.000

土钉排数= 8 土钉水平间距(m)= 1.500

1 排土钉

埋深(m)= 1.00 倾角(°)= 10.00 长度(m)= 9.00 钻孔直径(mm)=100.00

钢筋抗拉强度(Mpa)= 310.00

2 排土钉

埋深(m)= 2.50 倾角(°)= 10.00 长度(m)= 9.00 钻孔直径(mm)=100.00

钢筋抗拉强度(Mpa)= 310.00

3 排土钉

埋深(m)= 4.00 倾角(°)= 10.00 长度(m)= 11.00 钻孔直径(mm)=100.00

钢筋抗拉强度(Mpa)= 310.00

4 排土钉

埋深(m)= 5.50 倾角(°)= 10.00 长度(m)= 10.00 钻孔直径(mm)=100.00

钢筋抗拉强度(Mpa)= 310.00

5 排土钉

埋深(m)= 7.00 倾角(°)= 10.00 长度(m)= 9.00 钻孔直径(mm)=100.00

钢筋抗拉强度(Mpa)= 310.00

6 排土钉

埋深(m)= 8.50 倾角(°)= 10.00 长度(m)= 8.00 钻孔直径(mm)=100.00

钢筋抗拉强度(Mpa)= 310.00

7 排土钉

埋深(m)= 10.00 倾角(°)= 10.00 长度(m)= 8.00 钻孔直径(mm)=100.00

钢筋抗拉强度(Mpa)= 310.00

8 排土钉

埋深(m)= 11.50 倾角(°)= 10.00 长度(m)= 7.00 钻孔直径(mm)=100.00

钢筋抗拉强度(Mpa)= 310.00

园心横坐标(m) 纵坐标(m) 半径(m) 安全系数

XC=-14.942 YC= 21.183 R= 25.010 FS= .834

XC= -4.664 YC= 18.584 R= 13.115 FS= 1.352

XC=-17.155 YC= 22.481 R= 36.905 FS= 3.659

XC=-11.386 YC= 15.882 R= 19.063 FS= .780

XC= -7.770 YC= 16.972 R= 30.958 FS= 3.073

XC=-11.232 YC= 15.111 R= 16.089 FS= .943

XC=-15.734 YC= 15.470 R= 22.036 FS= .707

XC=-15.307 YC= 17.118 R= 20.549 FS= .926

XC=-17.293 YC= 19.841 R= 23.523 FS= .936

XC=-13.358 YC= 17.284 R= 21.293 FS= .779

XC=-12.773 YC= 18.954 R= 22.780 FS= .794

XC=-15.119 YC= 15.530 R= 21.665 FS= .708

XC=-15.995 YC= 15.744 R= 22.408 FS= .707

XC=-15.995 YC= 15.744 R= 22.408 FS= .707

当园心横坐标(m)= -15.995 纵坐标(m)= 15.744 半径(m)= 22.408

园弧与坡面(或坡底)交点横坐标(m)= .006 纵坐标(m)= .056

园弧与坡顶交点横坐标(m)= 6.131 纵坐标(m)= 12.200

天然土坡的安全系数= .707

土钉墙内部稳定性安全系数= 1.990

抗滑力(KN)= 2149.333

下滑力(KN)= 1080.276

滑弧与坡顶交点距坡面和坡顶交点的距离(m)= 4.913

滑弧与坡面交点位于坡脚之上!

1 排土钉抗拔力(KN)= 77.90 拉力(KN)= .00

其长度达到设计要求!钢筋选用 1 Φ18

2 排土钉抗拔力(KN)= 104.88 拉力(KN)= .00

其长度达到设计要求!钢筋选用 1 Φ18

3 排土钉抗拔力(KN)= 174.32 拉力(KN)= 28.88 其抗拔出安全系数= 6.04

其长度达到设计要求!钢筋选用 1 Φ22

4 排土钉抗拔力(KN)= 197.49 拉力(KN)= 51.48 其抗拔出安全系数= 3.84

其长度达到设计要求!钢筋选用 1 Φ18

5 排土钉抗拔力(KN)= 222.56 拉力(KN)= 57.30 其抗拔出安全系数= 3.88

其长度达到设计要求!钢筋选用 1 Φ18

6 排土钉抗拔力(KN)= 237.16 拉力(KN)= 77.53 其抗拔出安全系数= 3.06

其长度达到设计要求!钢筋选用 1 Φ22

7 排土钉抗拔力(KN)= 279.98 拉力(KN)= 97.41 其抗拔出安全系数= 2.87

其长度达到设计要求!钢筋选用 1 Φ22

8 排土钉抗拔力(KN)= 344.84 拉力(KN)= 156.55 其抗拔出安全系数= 2.20

其长度达到设计要求!钢筋选用 1 Φ22

当园心横坐标(m)= -4.425 纵坐标(m)= 13.821 半径(m)= 16.832

园弧与坡面(或坡底)交点横坐标(m)= -14.033 纵坐标(m)= .000

园弧与坡顶交点横坐标(m)= 12.329 纵坐标(m)= 12.200

土钉墙整体稳定性安全系数= 1.563

抗滑力(KN)= 3396.818

下滑力(KN)= 2173.353

滑弧与坡顶交点距坡面和坡顶交点的距离(m)= 11.111

滑弧与坡面交点穿过坡脚!

2. 土钉墙变形与破坏计算有限元分析

位移最大点的位置

1 步开挖

水平位移最大点的位置(m):距坡面:0.00 距坡顶:0.00 最大位移值(mm)= 0.12

边坡沉降最大点的位置(m):距坡面:0.00 距坡顶:1.50 最大位移值(mm)= 0.23

2 步开挖

水平位移最大点的位置(m):距坡面:0.98 距坡顶: 0.00 最大位移值(mm)= 0.57

边坡沉降最大点的位置(m):距坡面:0.00 距坡顶: 1.50 最大位移值(mm)= 0.88

3 步开挖

水平位移最大点的位置(m):距坡面:0.98 距坡顶: 0.00 最大位移值(mm)= 1.15

边坡沉降最大点的位置(m):距坡面:0.00 距坡顶: 0.60 最大位移值(mm)= 1.42

4 步开挖

水平位移最大点的位置(m):距坡面:0.98 距坡顶: 0.00 最大位移值(mm)= 2.23

边坡沉降最大点的位置(m):距坡面:0.00 距坡顶: 1.50 最大位移值(mm)= 2.52

5 步开挖

水平位移最大点的位置(m):距坡面:0.98 距坡顶: 0.00 最大位移值(mm)= 4.03

边坡沉降最大点的位置(m):距坡面:0.00 距坡顶: 1.50 最大位移值(mm)= 4.12

6 步开挖

水平位移最大点的位置(m):距坡面:0.98 距坡顶: 0.00 最大位移值(mm)= 5.15

边坡沉降最大点的位置(m):距坡面:0.00 距坡顶: 1.50 最大位移值(mm)= 5.30

7 步开挖

水平位移最大点的位置(m):距坡面:0.98 距坡顶: 0.00 最大位移值(mm)= 5.41

边坡沉降最大点的位置(m):距坡面:0.00 距坡顶: 1.50 最大位移值(mm)= 5.56

8 步开挖

水平位移最大点的位置(m):距坡面:0.98 距坡顶: 0.00 最大位移值(mm)= 5.61

边坡沉降最大点的位置(m):距坡面:0.00 距坡顶: 1.50 最大位移值(mm)= 5.86

如下图所示:

4.1.4 槽深-13.60m 土钉墙计算书

1. 土坡及土钉墙稳定性分析的瑞典条分法

放坡段数= 1

放坡高度(m) 放坡角度(°) 台阶宽度(m)

13.60 84.30 .00

坡高(m)=13.600

满布荷载值(Kpa)= 20.00

坡顶条形荷载值(Kpa)= .00

条形荷载左端点距坡面及坡顶交点的距离(m)= .00

条形荷载宽度(m)= .00 条形荷载深度(m)= .00

水平向地震系数= .00

地下水埋深(m)= 14.100

地层总数= 6 土条数= 100

土层厚度(m) 土体密度(KN/m3) 土体粘结力(Kpa) 土体内摩擦角(°)

1.800 18.000 10.000 10.000

2.200 19.700 25.000 28.000

4.800 19.000 23.000 25.000

1.600 19.700 25.000 28.000

3.100 20.000 .000 30.000

6.000 20.000 .000 38.000

土钉排数= 9 土钉水平间距(m)= 1.500

1 排土钉

埋深(m)= 1.00 倾角(°)= 10.00 长度(m)= 9.00 钻孔直径(mm)=120.00

钢筋抗拉强度(Mpa)= 310.00

2 排土钉

埋深(m)= 2.50 倾角(°)= 10.00 长度(m)= 9.00 钻孔直径(mm)=120.00

钢筋抗拉强度(Mpa)= 310.00

3 排土钉

埋深(m)= 4.00 倾角(°)= 10.00 长度(m)= 12.00 钻孔直径(mm)=120.00

钢筋抗拉强度(Mpa)= 310.00

4 排土钉

埋深(m)= 5.50 倾角(°)= 10.00 长度(m)= 10.00 钻孔直径(mm)=120.00

钢筋抗拉强度(Mpa)= 310.00

5 排土钉

埋深(m)= 7.00 倾角(°)= 10.00 长度(m)= 9.00 钻孔直径(mm)=120.00

钢筋抗拉强度(Mpa)= 310.00

6 排土钉

埋深(m)= 8.50 倾角(°)= 10.00 长度(m)= 8.00 钻孔直径(mm)=120.00

钢筋抗拉强度(Mpa)= 310.00

7 排土钉

埋深(m)= 10.00 倾角(°)= 10.00 长度(m)= 8.00 钻孔直径(mm)=120.00

钢筋抗拉强度(Mpa)= 310.00

8 排土钉

埋深(m)= 11.50 倾角(°)= 10.00 长度(m)= 8.00 钻孔直径(mm)=120.00

钢筋抗拉强度(Mpa)= 310.00

9 排土钉

埋深(m)= 13.00 倾角(°)= 10.00 长度(m)= 7.00 钻孔直径(mm)=120.00

钢筋抗拉强度(Mpa)= 310.00

园心横坐标(m) 纵坐标(m) 半径(m) 安全系数

XC=-17.371 YC= 21.875 R= 27.880 FS= .676

XC= -5.540 YC= 21.200 R= 14.620 FS= 1.309

XC=-19.123 YC= 25.060 R= 41.140 FS= 3.682

XC=-13.516 YC= 17.462 R= 21.250 FS= .691

XC= -8.662 YC= 18.920 R= 34.510 FS= 3.087

XC=-18.103 YC= 16.658 R= 24.565 FS= .610

XC=-20.005 YC= 24.736 R= 31.195 FS= .702

XC=-17.068 YC= 19.091 R= 22.908 FS= .836

XC=-17.567 YC= 21.352 R= 26.222 FS= .719

XC=-17.024 YC= 16.975 R= 23.736 FS= .635

XC=-14.239 YC= 21.129 R= 25.394 FS= .722

XC=-17.220 YC= 16.970 R= 24.151 FS= .618

XC=-18.624 YC= 16.678 R= 24.979 FS= .608

XC=-18.624 YC= 16.678 R= 24.979 FS= .608

当园心横坐标(m)= -18.624 纵坐标(m)= 16.678 半径(m)= 24.979

园弧与坡面(或坡底)交点横坐标(m)= .003 纵坐标(m)= .035

园弧与坡顶交点横坐标(m)= 6.165 纵坐标(m)= 13.600

天然土坡的安全系数= .608

土钉墙内部稳定性安全系数= 2.185

抗滑力(KN)= 2636.919

下滑力(KN)= 1207.048

滑弧与坡顶交点距坡面和坡顶交点的距离(m)= 4.808

滑弧与坡面交点位于坡脚之上!

1 排土钉抗拔力(KN)= 93.51 拉力(KN)= .00

其长度达到设计要求!

钢筋选用 1 Φ18

2 排土钉抗拔力(KN)= 122.87 拉力(KN)= .00

其长度达到设计要求!

钢筋选用 1 Φ18

3 排土钉抗拔力(KN)= 236.65 拉力(KN)= 28.31 其抗拔出安全系数= 8.36

其长度达到设计要求!

钢筋选用 2 Φ22

4 排土钉抗拔力(KN)= 214.04 拉力(KN)= 51.19 其抗拔出安全系数= 4.18

其长度达到设计要求!

钢筋选用 1 Φ18

5 排土钉抗拔力(KN)= 221.64 拉力(KN)= 73.80 其抗拔出安全系数= 3.00

其长度达到设计要求!

钢筋选用 1 Φ22

6 排土钉抗拔力(KN)= 258.76 拉力(KN)= 76.83 其抗拔出安全系数= 3.37

其长度达到设计要求!

钢筋选用 1 Φ22

7 排土钉抗拔力(KN)= 295.19 拉力(KN)= 97.13 其抗拔出安全系数= 3.04

其长度达到设计要求!

钢筋选用 1 Φ22

8 排土钉抗拔力(KN)= 375.44 拉力(KN)= 168.72 其抗拔出安全系数= 2.23

其长度达到设计要求!

钢筋选用 1 Φ22

9 排土钉抗拔力(KN)= 500.70 拉力(KN)= 164.13 其抗拔出安全系数= 3.05

其长度达到设计要求!

钢筋选用 1 Φ22

当园心横坐标(m)= -4.336 纵坐标(m)= 13.811 半径(m)= 17.521

园弧与坡面(或坡底)交点横坐标(m)= -15.117 纵坐标(m)= .000

园弧与坡顶交点横坐标(m)= 13.184 纵坐标(m)= 13.600

土钉墙整体稳定性安全系数= 1.510

抗滑力(KN)= 4010.828

下滑力(KN)= 2656.468

滑弧与坡顶交点距坡面和坡顶交点的距离(m)= 11.826

滑弧与坡面交点穿过坡脚!

2. 土钉墙变形与破坏计算有限元分析

位移最大点的位置

1 步开挖

水平位移最大点的位置(m):距坡面:0.00 距坡顶: 0.00 最大位移值(mm)= 0.13

边坡沉降最大点的位置(m):距坡面:0.00 距坡顶: 1.50 最大位移值(mm)= 0.31

2 步开挖水平位移最大点的位置(m):距坡面:1.64 距坡顶: 0.00 最大位移值(mm)= 0.39

边坡沉降最大点的位置(m):距坡面:0.00 距坡顶: 0.00 最大位移值(mm)= 0.71

3 步开挖

水平位移最大点的位置(m):距坡面:0.00 距坡顶: 4.00 最大位移值(mm)= 0.74

边坡沉降最大点的位置(m):距坡面:0.00 距坡顶: 0.00 最大位移值(mm)= 0.85

4 步开挖

水平位移最大点的位置(m):距坡面:0.00 距坡顶: 4.00 最大位移值(mm)= 0.55

边坡沉降最大点的位置(m):距坡面:0.00 距坡顶: 0.50 最大位移值(mm)= 1.25

5 步开挖

水平位移最大点的位置(m):距坡面:0.84 距坡顶: 0.00 最大位移值(mm)= 1.19

边坡沉降最大点的位置(m):距坡面:0.00 距坡顶: 0.60 最大位移值(mm)= 2.00

6 步开挖

水平位移最大点的位置(m):距坡面:1.64 距坡顶: 0.00 最大位移值(mm)= 2.34

边坡沉降最大点的位置(m):距坡面:0.00 距坡顶: 0.70 最大位移值(mm)= 3.11

7 步开挖

水平位移最大点的位置(m):距坡面:1.64 距坡顶: 0.00 最大位移值(mm)= 2.60

边坡沉降最大点的位置(m):距坡面:0.00 距坡顶: 0.70 最大位移值(mm)= 3.34

8 步开挖

水平位移最大点的位置(m):距坡面:1.64 距坡顶: 0.00 最大位移值(mm)= 2.84

边坡沉降最大点的位置(m):距坡面:0.00 距坡顶: 0.70 最大位移值(mm)= 3.68

9 步开挖

水平位移最大点的位置(m):距坡面:1.64 距坡顶: 0.00 最大位移值(mm)= 3.01

边坡沉降最大点的位置(m):距坡面:0.00 距坡顶: 0.70 最大位移值(mm)= 3.93

如下图所示:

4.1.5 槽深-14.60m 土钉墙计算书

1. 土坡及土钉墙稳定性分析的瑞典条分法

放坡段数= 1

放坡高度(m) 放坡角度(°) 台阶宽度(m)

14.60 84.30 .00

坡高(m)=14.600

满布荷载值(Kpa)= 20.00

坡顶条形荷载值(Kpa)= .00

条形荷载左端点距坡面及坡顶交点的距离(m)= .00

条形荷载宽度(m)= .00 条形荷载深度(m)= .00

水平向地震系数= .00

地下水埋深(m)= 15.100

地层总数= 6 土条数= 100

土层厚度(m) 土体密度(KN/m3) 土体粘结力(Kpa) 土体内摩擦角(°)

1.800 18.000 10.000 10.000

2.200 19.700 25.000 28.000

4.800 19.000 23.000 25.000

1.600 19.700 25.000 28.000

3.100 20.000 .000 30.000

6.000 20.000 .000 38.000

土钉排数= 10 土钉水平间距(m)= 1.500

1 排土钉

埋深(m)= .80 倾角(°)= 10.00 长度(m)= 9.00 钻孔直径(mm)=120.00

钢筋抗拉强度(Mpa)= 310.00

2 排土钉

埋深(m)= 2.30 倾角(°)= 10.00 长度(m)= 9.00 钻孔直径(mm)=120.00

钢筋抗拉强度(Mpa)= 310.00

3 排土钉

埋深(m)= 3.80 倾角(°)= 10.00 长度(m)= 12.00 钻孔直径(mm)=120.00

钢筋抗拉强度(Mpa)= 310.00

4 排土钉

埋深(m)= 5.30 倾角(°)= 10.00 长度(m)= 10.00 钻孔直径(mm)=120.00

钢筋抗拉强度(Mpa)= 310.00

5 排土钉

埋深(m)= 6.80 倾角(°)= 10.00 长度(m)= 9.00 钻孔直径(mm)=120.00

钢筋抗拉强度(Mpa)= 310.00

6 排土钉

埋深(m)= 8.30 倾角(°)= 10.00 长度(m)= 8.00 钻孔直径(mm)=120.00

钢筋抗拉强度(Mpa)= 310.00

7 排土钉

埋深(m)= 9.80 倾角(°)= 10.00 长度(m)= 8.00 钻孔直径(mm)=120.00

钢筋抗拉强度(Mpa)= 310.00

8 排土钉

埋深(m)= 11.30 倾角(°)= 10.00 长度(m)= 8.00 钻孔直径(mm)=120.00

钢筋抗拉强度(Mpa)= 310.00

9 排土钉

埋深(m)= 12.80 倾角(°)= 10.00 长度(m)= 7.00 钻孔直径(mm)=120.00

钢筋抗拉强度(Mpa)= 310.00

10 排土钉

埋深(m)= 14.30 倾角(°)= 10.00 长度(m)= 7.00 钻孔直径(mm)=120.00

钢筋抗拉强度(Mpa)= 310.00

园心横坐标(m) 纵坐标(m) 半径(m) 安全系数

XC=-18.740 YC= 23.531 R= 29.930 FS= .668

XC= -5.978 YC= 22.182 R= 15.695 FS= 1.205

XC=-20.609 YC= 26.954 R= 44.165 FS= 3.689

XC=-16.196 YC= 18.028 R= 22.813 FS= .661

XC= -9.299 YC= 20.311 R= 37.048 FS= 3.095

XC=-14.515 YC= 16.446 R= 19.254 FS= .818

XC=-19.326 YC= 18.236 R= 26.371 FS= .591

XC=-18.323 YC= 20.495 R= 24.592 FS= .815

XC=-18.946 YC= 22.955 R= 28.151 FS= .688

XC=-18.401 YC= 18.247 R= 25.482 FS= .605

XC=-15.079 YC= 23.156 R= 27.261 FS= .721

XC=-18.796 YC= 18.169 R= 25.926 FS= .595

XC=-19.830 YC= 18.098 R= 26.816 FS= .588

XC=-19.830 YC= 18.098 R= 26.816 FS= .588

当园心横坐标(m)= -19.830 纵坐标(m)= 18.098 半径(m)= 26.816

园弧与坡面(或坡底)交点横坐标(m)= .005 纵坐标(m)= .052

园弧与坡顶交点横坐标(m)= 6.757 纵坐标(m)= 14.600

天然土坡的安全系数= .588

土钉墙内部稳定性安全系数= 2.257

抗滑力(KN)= 3175.341

下滑力(KN)= 1406.978

滑弧与坡顶交点距坡面和坡顶交点的距离(m)= 5.300

滑弧与坡面交点位于坡脚之上!

1 排土钉抗拔力(KN)= 73.12 拉力(KN)= 40.67 其抗拔出安全系数= 1.80

其长度达到设计要求!

钢筋选用 1 Φ18

2 排土钉抗拔力(KN)= 107.91 拉力(KN)= .00

其长度达到设计要求!

钢筋选用 1 Φ18

3 排土钉抗拔力(KN)= 217.33 拉力(KN)= 26.54 其抗拔出安全系数= 8.19

其长度达到设计要求!

钢筋选用 2 Φ22

4 排土钉抗拔力(KN)= 192.71 拉力(KN)= 49.47 其抗拔出安全系数= 3.90

其长度达到设计要求!

钢筋选用 1 Φ18

5 排土钉抗拔力(KN)= 197.15 拉力(KN)= 72.15 其抗拔出安全系数= 2.73

其长度达到设计要求!

钢筋选用 1 Φ22

6 排土钉抗拔力(KN)= 226.61 拉力(KN)= 75.41 其抗拔出安全系数= 3.01

其长度达到设计要求!

钢筋选用 1 Φ22

7 排土钉抗拔力(KN)= 263.05 拉力(KN)= 95.82 其抗拔出安全系数= 2.75

其长度达到设计要求!

钢筋选用 1 Φ22

8 排土钉抗拔力(KN)= 332.82 拉力(KN)= 167.62 其抗拔出安全系数= 1.99

其长度达到设计要求!

钢筋选用 1 Φ22

9 排土钉抗拔力(KN)= 424.11 拉力(KN)= 186.24 其抗拔出安全系数= 2.28

其长度达到设计要求!

钢筋选用 1 Φ22

10 排土钉抗拔力(KN)= 621.46 拉力(KN)= 98.08 其抗拔出安全系数= 6.34

其长度达到设计要求!

钢筋选用 1 Φ22

当园心横坐标(m)= -9.593 纵坐标(m)= 21.753 半径(m)= 23.480

园弧与坡面(或坡底)交点横坐标(m)= .033 纵坐标(m)= .335

园弧与坡顶交点横坐标(m)= 12.771 纵坐标(m)= 14.600

土钉墙整体稳定性安全系数= 1.346

抗滑力(KN)= 2939.694

下滑力(KN)= 2184.544

滑弧与坡顶交点距坡面和坡顶交点的距离(m)= 11.314

滑弧与坡面交点位于坡脚之上!

2. 土钉墙变形与破坏计算有限元分析

位移最大点的位置

1 步开挖

水平位移最大点的位置(m):距坡面:0.00 距坡顶: 1.50 最大位移值(mm)= 0.13

边坡沉降最大点的位置(m):距坡面:0.00 距坡顶: 1.50 最大位移值(mm)= 0.30

2 步开挖

水平位移最大点的位置(m):距坡面:1.14 距坡顶: 0.00 最大位移值(mm)= 0.38

边坡沉降最大点的位置(m):距坡面:0.00 距坡顶: 0.00 最大位移值(mm)= 0.65

3 步开挖

水平位移最大点的位置(m):距坡面:0.00 距坡顶: 3.82 最大位移值(mm)= 0.78

边坡沉降最大点的位置(m):距坡面:0.00 距坡顶: 0.00 最大位移值(mm)= 0.75

4 步开挖

水平位移最大点的位置(m):距坡面:0.00 距坡顶: 3.82 最大位移值(mm)= 0.58

边坡沉降最大点的位置(m):距坡面:0.00 距坡顶: 0.30 最大位移值(mm)= 1.14

5 步开挖

水平位移最大点的位置(m):距坡面:1.14 距坡顶: 0.00 最大位移值(mm)= 1.04

边坡沉降最大点的位置(m):距坡面:0.00 距坡顶: 0.50 最大位移值(mm)= 1.78

6 步开挖

水平位移最大点的位置(m):距坡面:1.14 距坡顶: 0.00 最大位移值(mm)= 2.01

边坡沉降最大点的位置(m):距坡面:0.00 距坡顶: 0.50 最大位移值(mm)= 2.76

7 步开挖

水平位移最大点的位置(m):距坡面:1.14 距坡顶: 0.00 最大位移值(mm)= 2.21

边坡沉降最大点的位置(m):距坡面:0.00 距坡顶: 0.50 最大位移值(mm)= 2.99

8 步开挖

 

水平位移最大点的位置(m):距坡面:1.14 距坡顶: 0.00 最大位移值(mm)= 2.43

边坡沉降最大点的位置(m):距坡面:0.00 距坡顶: 0.60 最大位移值(mm)= 3.31

9 步开挖

水平位移最大点的位置(m):距坡面:1.14 距坡顶: 0.00 最大位移值(mm)= 2.61

边坡沉降最大点的位置(m):距坡面:0.00 距坡顶: 0.60 最大位移值(mm)= 3.54

10 步开挖

水平位移最大点的位置(m):距坡面:1.14 距坡顶: 0.00 最大位移值(mm)= 2.77

边坡沉降最大点的位置(m):距坡面:0.00 距坡顶: 1.50 最大位移值(mm)= 3.77

如下图所示:

4.2 基坑降水计算书

4.2.1 第一阶段中间深坑区域管井井点计算

在深坑区范围内为B22#B23#两个勘探孔,降水计算书以这两个勘测孔剖面上表达的降

水参数为依据,结合场区内其它勘测孔的情况及潜水的走向。

1. 深坑区计算参数

基坑面积:A = 2730m2(井点内包面积)

降水厚度:层间潜水S1=5.0m

承压水 S2=1.0m

含水层厚度:潜水H=5.0m

承压水M=11.0m

渗透系数:潜水K1=100m/d层)

承压水K2=120m/d 1 层勘查报告)

影响半径:潜水R1=260m(堪察报告)

承压水R2=550m(堪察报告)

2. 基坑假想引用半径

采用大井法,将矩形基坑折算成半径为X0 的理想大圆井,按大井计算总涌水量,因基坑面积不大,为达到更好的降水效果,本工程中基坑普槽深度范围内无地下水,因此仅对深坑区

进行降水计算。其余段布置渗井疏干上层滞水即可。

3. 基坑涌水量

由于降水井伸入承压水有8.0m 左右,距承压水层底板约4.0m,且本工程基坑最深处未开挖到第一层承压水面,故按承压完全井计算较为合理,

Q 总=Q1 + Q2 = 3445.3+2787=6232m3

以上为基坑最大涌水量,随着降深的减小,水位的稳定基坑总涌水量将逐步减少1/3 1/2

4. 单井涌水量

q120πrhw

3 K 120×3.14×0.15×2.0× 3 114

548.2m3/d

式中:K潜水与承压水的加权渗透系数,取114m/d

h w滤管进水长度取2.00m

r井管半径取0.15m

根据相临工程实测构造相同的无砂砼降水井,单井出水量为450 m3/d;本工程群井抽水单井涌水量q1 360 m3/d 计。

5. 管井数量

N=Q ×1.10/q=6232×1.10/360 =19

1.10增井系数,考虑降水井损坏、降水井数量增加10%

6. 管井降水井平面布置及井距

为减少层间的残余水,井距尽量减小的原则

井距DL/n239/1912.6m

为保证深坑区降水效果,在深坑区周边共布置21 口管井(其中有3 口井布置在了靠近车库部分此3 口井由-9.0m 打井因此井深为22m),降水井间距加密为9.0m

7. 管井降水井的竖向布置(井深)

H=h1+h2+Δh+IL1+Lh3

式中 H井点管埋置深度(m

h1地下水位至基坑底距离(m

h2地下水位至集水总管距离(m

Δh降水后地下水位至基坑底的安全距离(m

I水力坡度,取1/10

L1 井点管中心线至基坑中心的水平距离(m

L滤管长度(m

H3安全井深

H =4.5+ 6.1+ 1.0 +29.5/10+ 2.01.0 17.6m

综上所述,考虑到基坑在降低承压水头管中,承压水上部为砂层,较卵石层渗透系数要小,为更好地达到降低承压水头的效果,将降水井的深度加深为20.0m:由-9.0m-11.0m 进行打井(位于车库部分的在-9.0m 打井,位于二区的井由-11.0m 打井)

8. 水泵的选择

根据以上计算单井涌水量可达548.2t/d,群井抽水单井出水量按360t/d 计,井内安装扬程大于30m,出水量1015t/h 的潜水泵。

4.2.2 加深坑基底稳定验算

1. 承压水头高度 h=5.0m

2. 涌水量土层饱和容重 rm=20kN/

3. 开挖后第一层承压水层以上土层厚度h=5.0m

4. 水重度rw=10kN/

5. 承压水水压力 pw=rwh=5m×10kN/ = 50 kN/m3

6. 覆土重 g=DrmD=5.0m×20kN/= 100kN/

覆土重大于承压水水压力,因此,加深坑基底稳定,降水不会对周围建筑物构筑物产生很大的影响。

4.2.3 第二阶段外侧及车库部分降水补充

第二阶段的降水是第一阶段降水的有利补充,即在内侧降水井停抽前一周时间,开始起用外侧的降水井,以维持基坑内部的安全水位。此时基坑内侧深坑区的底板已施工完毕,只需要控制潜水水位在浅区的底板以下0.5m 即可。因此,在基坑的上侧布置降水井与车库部分的内侧降水井同时抽水形成围降的效果即可。拟布置36 口无砂砾石混凝土管井,由地面打井,井深26m,间距为10.5m

4.2.4 降水井布置

序号

类型

间距

m

直径

mm

深度

m

数量

(口)

材料

打井面标高

1

外侧渗井

7.5

400

16

42

滤料

自然地坪

2

外侧管井

10.5

600

26

36

无砂砾石混凝土管

自然地坪

3

车库内侧管井

10.5

600

22

23

无砂砾石混凝土管

-9.0m

4

深坑区管井

9.0

600

20

18

无砂砾石混凝土管

-11.0m

5

集水井

 

600

20

5

无砂砾石混凝土管

-11.0m

6

潜水水位观测井

 

100

20

4

钢管

自然地坪

7

承压水水位观测井

 

100

18

1

钢管

-9.0m

 

5、附录五水电供应系统设计计算书

5.1 施工用水需求

5.1.1 总用水量测算

1. 工程用水量(q1)计算

施工用水主要为混凝土养护、模板湿润、装修工程等用水,而结构期间混凝土养护、模板湿润可利用降水进行,可节约用水量,结构期间主要用水量为混凝土搅拌用水。

公式q1=K1(Q1×N1×K2)/(8×3600)

=(400×800×1.1)/28800=12.2 l/s

q1 生产用水量;

Q1最大台班工程量;

N1 各工种工段施工用水定额; 400 l/m3

K1未考虑到的用水量修正系数;取1.10

K2 每班用水不均衡系数; 1.5

2. 机械用水量(q2)计算

q2= K1(Q2×N2×K3)/(8×3600)=0.01 l/s

其中:q2施工机械用水量;

Q2 同一种机械的台数;

N2 该种机械的台班用水定额;

K3 施工机械的用水不均衡系数;取2.0

K1 未考虑到的用水量修正系数。1.1

3. 现场生活用水量(q3)计算

q3=P1×N3×K4/(t*8*3600)=3200*10*1.4/28800*3=0.52 l/s

P1 施工现场高峰期人数(3200)

N3 现场生活用水定额;取10 l

K4 每日用水不均衡系数;取1.4

t 工作台班;取3

4. 消防用水量(q4)计算

施工现场: <25 万平米; 15 l/s

5. 总用水量

Q= q1+ q2+ q3=12.2+0.01+0.52=12.73<15 15 l/s

5.1.2 供水管径计算

[4Q/π×v×1000]1/2=[4×15/3.14×2×1000]1/2 =0.10m

供水管径为DN150,可以满足要求。

主要材料设备表

序号

名称

材质

规格

数量

单位

1

给水管

镀锌钢管

DN150

20

m

2

埋地管道

镀锌钢管

DN150

720

m

3

给水管

无缝钢管

DN108

850

m

4

给水管

无缝钢管

DN89

710

m

5

埋地管道

镀锌钢管

DN65

40

m

6

给水管

无缝钢管

DN65

400

m

7

给水管

镀锌钢管

DN50

100

m

8

给水管

镀锌钢管

DN40

128

m

9

给水管

镀锌钢管

DN25

100

m

10

排水管

缸瓦管

DN200

200

m

11

排水管

铸铁管

DN150

145

m

12

排水管

铸铁管

DN100

200

m

13

消火栓

配水龙带和水枪

DN65

187

14

室外消火栓

 

DN100 DN65

9

15

阀门

闸阀

DN150

13

16

阀门

闸阀

DN100

14

17

阀门

闸阀

DN80

34

18

阀门

蝶阀

DN70

91

19

阀门

球阀

DN40

120

20

阀门

球阀

DN25

40

21

阀门

止回阀

DN150

2

22

阀门

止回阀

DN100

2

23

阀门

止回阀

DN70

2

 

 

 

 

 

 

24

水龙头

 

DN20

14

25

临时蹲便器

成套

 

30

26

临时小便器

成套

 

25

27

洗手盆

成套

 

16

28

给水泵

成套

 

 

29

增压水泵

成套

 

 

30

气压罐

立式

容积450L

2

31

安全阀

 

 

2

32

压力表

 

DN20

10

33

减压孔板

 

DN70

124

34

水表

 

DN150

2

35

地漏

 

DN50

12

36

浮球阀

 

DN80

4

37

潜污泵

功率4KW

扬程20m

20

38

软接头

 

DN100

2

39

软接头

 

DN70

2

40

法兰盘

 

DN80

40

41

法兰盘

 

DN70

40

42

水箱

钢板

40m3

1

43

水箱

钢板

200m3

1

44

化粪池

 

7#

1

45

雨水井

 

φ1000

5

46

污水井

 

φ1000

2

47

沉淀池

 

 

2

48

冲洗池

 

 

1

5.2 用电负荷计算

5.2.1 计算负荷的依据

1. 长期工作制的电动机设备容量等于其铭牌上的额定功率。

2. 短期反复工作制的电动机(如起重用电动机)的设备容量就是将设备在某一暂载率下的铭牌容量统一换算到新的暂载率下的有功功率。

1 对吊车电动机组:ε=25% Ps=2√εe·Pe

Pe:设备功率

εe:与Pe 相对应的暂载率

ε:暂载率,取25%

2 对电焊机组:ε=100% Ps=√εe·Pe CosФ

Pe:设备功率

εe:与Pe 相对应的暂载率

ε:暂载率,取100%

3. 多组用电设备计算负荷确定

由于同一变电所低压母线上的多组用电设备的最大负荷不同时出现的因素,因此计算低压母线上的计算负荷时应考虑计入一个同时系统KΣ

Pjs=KΣ·ΣPjs (KW) Pjs——计算有功功率

Qjs=KΣ·ΣQjs (KVAR) Qjs——无功功率

5.2.2 负荷计算

负荷计算是根据已确定的用电设备容量,采用一定计算方法算出相应的计算负荷,作为选择供配电系统的配电变压器,电器、线路和保护电器元件的依据。对建筑工地供电系统的负荷,一般使用需要系数法,计算方法简便,计算结果比较接近,适用同组用电设备台数较多,各台设备容量相差不太悬殊的配电干线的负荷计算。

计算公式:Pjs=Kx·Pe (KW)

Qjs=Pjs·tgφ(KVAR)

Sc= Pjs2 + Qjs2 (KVA)

Pe:设备总容量(不计备用设备的容量) KW

Pjs:计算容量(有功功率) KW

Kx:需用系数

Qjs:无功功率(KVAR)

Sc:视在计算负荷KVA

1. 塔吊组 Kx=0.45 εe =0.6 Pe=480KW tgф=0.484

Pjs=2√εe·Pe·Kx=20.6×480×0.45=332.64KW

Qjs= Pjs·tgφ=332.64×0.484=160.99KVAR

2. 输送泵组:Kx=0.8 Pe=560KW tgφ=0.75

Pjs=0.8×560=448KW

Qjs= Pjs·tgφ=448×0.75=336 KVAR

3. 加压泵组:Kx=0.8 Pe=102KW tgφ=0.75

Pjs=0.8×102=81.6KW

Qjs= Pjs·tgφ=81.6×0.75=61.2KVAR

4. 施工用电梯组:Kx=0.8 Pe=44KW tgφ=0.75

Pjs=0.8×44=35.2KW

Qjs= Pjs·tgφ=35.2×0.75=26.4KVAR

5. 交流电焊机组:Kx=0.35 εe =0.6 Pe=838.4KW

cosφ=0.6 tgφ=1.33

Pjs=0.6×838.4×0.6×0.35=135KW

Qjs= Pjs·tgφ=135×1.33=179.55 KVAR

6. 直流焊机组:Kx=0.35 εe =0.6 Pe=400KW

cosφ=0.6 tgφ=1.33

Pjs=0.6×400×0.6×0.35=64.68KW

Qjs= Pjs·tgφ=64.68×1.33=86.0KVAR

CO2 气保焊机组:Kx=0.35 εe =0.8 Pe=432KW

7. 栓焊机组:cosφ=0.6 tgφ=1.33

Pjs= 0.8×432×0.6×0.35=80.73KW

Qjs= Pjs·tgφ=80.73×1.33=107.38KVAR

8. 钢筋机械组: Kx=0.4 Pe=461.5KW tgφ=0.88

Pjs=0.4×461.5=184.6KW

Qjs= Pjs·tgφ=184.6×0.88=162 KVAR

9. 木工组:Kx=0.3 Pe=35KW tgφ=1.73

Pjs=0.3×35=10KW

Qjs= Pjs·tgφ=10×1.73=17.3 KVAR

10. 电加热板组:Kx=0.7 Pe=252KW tgφ=0.33

Pjs=0.7×252=176.4KW

Qjs= Pjs·tgφ=176.4×0.33=58.21 KVAR

施工照明用电按总功率10%

混合系数k=0.9

PΣ=k·ΣPjs0.9×(176.4+10+184.6+80.73+64.68+135+

35.2+81.6+448+332.64+140)1519.96

QΣ=k·ΣQjs0.9×(58.21+17.3+162+107.38+86.0+179.55+

26.4+336+160.99+61.2+112)1176.32

Sc=PΣ2+ QΣ21519.962+1176.3221921.98KVA

故现场可选用2 800kvA 箱式变电房,分成2 个单独的供电系统,以保证工程用电高峰期正常施工用电,加2 500kvA 发电机备用,同时如果高峰时现场市电容量不够,发电机可随时作为补充容量投入运行。发电机组应选室外防雨、防雪、防冻型。

主要施工机械一览表

序号

机械或设备名称

型号规格

数量()

单台额定功率(kvw)

备注

1

塔式起重机

H3/36B(60m)

1

160

 

2

塔式起重机

C7050(70m)

2

160

 

3

混凝土泵

HBT80C-2118

6

132

1 台备用

4

混凝布料机

HG17

2

11

 

5

建筑施工外用电梯

SCD200/200G

4

11

 

6

振捣棒

HZ-50

40

1.1

20 台备用

7

平板式振捣器

ZB11

4

1.1

 

8

钢筋调直切断机

GT4/14

2

7

 

9

钢筋切断机

GJ40

4

7

 

10

钢筋弯钩机

WJ40

4

3

 

11

螺纹套丝机

TS-40

8

7.5

 

12

无齿锯

MTG3040A

6

1.1

 

13

电焊机

BX3-300-2

6

23.4

 

14

空压机

VV-0.6

2

2.5

 

15

电锯

MJ-114

4

2.25

 

16

手提电锯

STDJ-116

8

1

 

17

电刨

MIB2-80/1

4

2.25

 

18

电动把手

初拧六角头高强度螺栓

5

8.5

 

19

CO2 气保焊机

DYNA AUTOXMARK III50

6

32

 

20

加长送丝机

 

6

42.5

 

21

交流弧焊机

BX1-500

10

41

 

22

栓焊机

QZL2000A

2

120

 

23

烘干箱

60kgMODEL

4

8

 

24

振捣棒

60kgMODELZYH60

4

5

 

25

空压机

Y1.05/1.25/1m

2

7.5

 

26

碳弧气刨电源

硅整流

4

100

 

27

钢筋切断机

ZPG-1000

 

 

 

28

消防给水泵

150D-30×5

2

90

 

29

施工给水泵

50GDL18-15

2

12

 

30

砂轮切割机

GJ3-400

10

2.2

 

31

交流电焊机

BX1-300

12

24

 

32

氩弧焊机

WSE-500

1

15

 

33

液压弯管器

φ20-φ32

3

1.5

 

34

弯管机

WYQ27-108

3

1.5

 

35

薄管套丝机

 

3

1.5

 

36

电动套丝机

CN-100B

6

1.5

 

37

电锤

φ8-φ38

15

0.75

 

38

电加热板

 

20

10

 

39

手电钻

6-12mm J222

20

0.9

 

 

施工用电主要材料表(估算)

序号

名称

型号(规格)

单位

数量

1

箱式变电房

800kvA

2

2

柴油发电机

500kvA

2

3

配电柜

AP1AP2 A 级箱

2

4

配电箱(塔吊)

TM1TM3 A 级箱

3

5

砼泵箱

FM1FM5 A 级箱

5

6

配电箱(钢构拆装)

GM1GM2 A 级箱

2

7

配电箱(办公室)

ZBMFBM A 级箱

2

8

配电箱(施工梯)

DM1DM2 A 级箱

2

9

配电箱(加工场)

2×JM1JM2JM3 A 级箱

4

10

照明箱(疏散)

SAM1SAM2

2

11

照明箱(路灯)

LM

1

12

配电箱

SMSM116 B 级箱

141

13

镝灯小配电箱

3.5kw

13

14

配电箱

TAM SBM12 A 级箱

3

15

交联聚乙烯铠装电缆(埋地)

YJV29-15kv-3×120

m

500

16

交联聚乙烯铠装电缆

YJV29-kv-4×150+1×70

m

380

17

交联聚乙烯铠装电缆

YJV29-kv-4×95+1×50

m

690

18

交联聚乙烯铠装电缆

YJV29-kv-4×70+1×35

m

306

19

交联聚乙烯铠装电缆

YJV29-kv-4×50+1×25

m

460

20

交联聚乙烯铠装电缆

YJV29-kv-4×35+1×16

m

575

21

交联聚乙烯铠装电缆

YJV29-kv-4×16+1×10

m

360

22

交联聚乙烯铠装电缆

YJV29-kv-5×10

m

540

23

铜芯线

BV-4.0

m

1480

24

铜芯线

BV-10

m

3680

25

铜芯线

BV-2.5

m

1860

26

铜芯线

YC-3×4

m

860

27

铜芯线

YC-3×2.5

m

3800

28

钢管

G100

m

250

29

线管

SC40

m

510

30

线管

SC20

m

1260

31

路灯

250w 钠灯(H=6m)

50

32

日光灯

40w

90

33

白炽灯

36v60w

480

34

镝灯

3.5kw

11

35

碘钨灯

1.0kw

60

36

扁钢

-40×4

m

86

37

角钢

-40×4

m

240

 

6、附录六大体积混凝土计算书

6.1 软件简介-- 温度场计算方法

大体积混凝土计算采用FZFX3D 进行计算,其求解理论是基于温度场计算理论,简述如下。混凝土温度场的求解方法可以分为三类:1)理论解法。主要用来求解边界条件比较简单的一维温度场,常用的方法有分离变量法和拉普拉斯变换法,对于随着时间而作简谐变化的准稳定温度场,还可以采用复变函数的方法。这些方法在数学物理方程中有对实际工程有用的一些理论解答;2)差分解法。就是用差分代替微分的一种数值解法;3)有限单元法。把求解区域剖分成有限个单元,通过变分原理,得到以节点温度为变凉的一个代数方程组,此方法可用以求解边界条件十分复杂的问题。

FZFX3D 采用第三种方法,即有限单元法进行编制,下文将给出温度场计算的理论基础与算法。

混凝土不稳定温度场) t z y x T 满足热传导方程:

式中 t 时间,

θ 混凝土绝热温升,

a 混凝土导温系数,

λ 混凝土导热系数,

c 比热,

ρ 容重

在某一给定区域内,边界满足初始条件

温度场计算的边界条件可用以下四种方式给出。

6.1.1 第一类边界条件

混凝土表面温度T 是时间的已知函数,即

6.1.2 第二类边界条件

混凝土表面的热流量是时间的已知函数,即

式中n 为表面外法线方向。若表面是绝热的,则有

6.1.3 第三类边界条件

当混凝土与空气接触时,经过混凝土表面的热流量是

第三类边界条件假定经过混凝土表面的热流量与混凝土表面温度T 和气温Tc 之差成正

比,即

式中

β是表面放热系数,单位为kJ/(·h·℃)

当表面放热系数β趋于无限时,TTa,即转化为第一类边界条件。当表面放热系数

β

6.1.4 第四类边界条件

当两种不同的固体接触时,如果接触良好,则在接触面上温度和热流量都是连续的,边界条件如下:

如果两固体之间接触不良,则温度是不连续的,这时需要引入接触热阻的概念。加入接触缝隙中的热容量可以忽略,那么接触面上热流量应保持平衡,因此边界条件如下

式中 Rc 为因接触不良而产生的热阻,由实验确定。

根据变分原理,该问题可化为泛函的极值问题。取泛函

寻找使泛函) (T _ 实现极小值的解答,即寻找温度场T ,使Tδ0然后将区域在空间域上离散化,将空间域划分成有限个单元;在时间域上离散化,将时间域划分成一系列时段,最终得到温度场求解的基本方程:

由此求解出{ Tn }

6.2 基础大体积混凝土模型

下图为基础底板混凝土浇筑流水段划分图,选取了具有典型意义的第二段进行计算。

基础底板大体积混凝土浇筑流水段划分图

有限元计算模型如下图所示。下半部分为土体,上部分为需要浇筑的第二段混凝土结构。

土体和混凝土有限元模型

待浇筑混凝土有限元模型

6.3 温度场计算结果

混凝土浇筑完毕5d 温度场

混凝土浇筑完毕10d 温度场

混凝土浇筑完毕15d 温度场

混凝土浇筑完毕20d 温度场

6.4 温度场计算结论

4.1 经过混凝土施工仿真计算,混凝土温升最高温度50

4.2 混凝土内部与外部温度差值符合设计要求。

 

7、附录七拟投入的主要施工机械设备表

序号

机械或设备名称

型号规格

数量

国别产地

制造年份

额定功率(kW)

生产能力

用于施工部位

备注

1

反循环钻机

 

3

中国

1999

70

 

降水井成孔

 

2

地质钻

SH-50

3

中国

1999

 

 

自渗井成孔

 

3

空压机

柳州6130

2

中国

1999

 

 

洗井

 

4

发电机

12A-135

2

中国

1999

200

 

打井发电

 

5 6

挖土机

日立EX300-3 卡特330B

4 5

中国中国

2000 2000

 

 

土方挖运

 

7

推土机

D-85

2

中国

2001

 

 

土方挖运

 

8

洒水车

 

3

中国

2001

 

 

现场洒水

 

9

自卸汽车

斯太尔

88

中国

2003

 

 

土方运输

 

10 11

注浆泵

2SNS BW-250

1 2

中国 中国

2000 2000

7 7

 

注浆 注浆

 

12

灰浆搅拌机

 

3

中国

2001

3

 

灰浆搅拌

 

13

空压机

W6135

3

中国

2001

7.5

 

喷射混凝土

 

14

洛阳铲

 

40

中国

2003

 

 

土钉成孔

 

15

锚杆机

 

2

中国

2001

 

 

预应力锚杆成孔

 

16

张拉机

 

2

中国

2001

 

 

锚杆张拉

 

17

旋挖钻机

R-622HR416

4

中国

2001

10

 

基础桩成孔

 

18

反循环钻机

 

6

中国

2001

70

 

基础桩成孔

 

19

交流电焊机

EX500

10

中国

2003

50

 

钢筋笼加工

 

20

履带吊

50t

2

中国

1998

 

 

吊放钢筋笼

 

21

履带吊

25t

3

中国

1998

 

 

吊放钢筋笼

 

22

塔式起重机

H3/36BSP (60m)

1

中国

2000

160

起重能力294t·m,最大起重量为12t

基础结构施工垂直和水平运输

 

23

塔式起重机

C7050(70m)

2

中国

2001

160

500t·m

基础结构施工垂直和水平运输

 

24

混凝土泵

HBT80.8.112RZ

6

中国

2002

112( 柴油)

80m3/h

基础结构混凝土输送

1 台备用

25

混凝布料机

HG17

3

中国

2003

11

80m3/h

基础结构混凝土布料

 

26

振捣棒

HZ-50

50

中国

2003

1.1

 

基础结构混凝土振捣

20 台备用

27

平板式振捣器

ZB11

6

中国

2003

1.1

 

楼板振捣

 

28

钢筋调直切断机

GT4/14

3

中国

2003

7

15t/台班

基础结构钢筋的调直和切断

场外加工

29

钢筋切断机

GJ40

6

中国

2003

7

10t/台班

基础结构钢筋加工

场外加工

30

钢筋弯钩机

WJ40

6

中国

2004

6

3t/台班

基础结构钢筋加工

场外加工

31

滚轧直螺纹套丝机

TS-40

12

中国

2004

7.5

400 /台班

钢筋连接

场外加工

32

无齿锯

MTG3040A

9

中国

2004

1.1

 

钢筋切断

场外加工

33

电焊机

BX3-300-2

9

中国

2002

23.4

 

基础结构施工

 

34

蛙式夯土机

HW60

6

中国

2002

2

 

肥槽回填

 

35

空压机

VV-0.6

3

中国

2002

2.5

 

模内清理

 

36

电锯

MJ-114

6

中国

2003

2.25

 

模板加工

 

37

手提电锯

STDJ-116

9

中国

2004

1

 

模板加工

 

38

电刨

MIB2-80/1

6

中国

2004

2.25

 

模板加工

 

39

消防给水泵

150D-30x5

2

中国

2004

90

126m3/h

消防专用

1 1

 

 

序号

机械或设备名称

型号规格

数量

国别产地

制造年份

额定功率(kW)

生产能力

用于施工部位

备注

40

施工给水泵

50GDL18-15

2

中国

2004

12

20m3/h

施工专用

1 1

41

CO2 气保焊机

DYNA AUTO XMARK III50

6

中国

2002

32

/

焊接设备

 

42

焊机电源

CPZX-500

 

中国

2002

/

/

焊接设备

 

43

送丝机

CM-231

 

中国

2002

/

/

焊接设备

 

44

焊炬型号

WTC-500

 

中国

2003

/

/

焊接设备

 

45

CO2 流量计

FCR-150CN

 

中国

2003

/

/

焊接设备

 

46

Ar 流量计

高压表250 低压表12

 

中国中国

2003 2003

/ /

/ /

焊接设备

 

47

加长送丝机

 

6

中国

2003

42.5

/

焊接设备

 

48

交流弧焊机

BX1-500

10

中国

2004

41

/

焊接设备

 

49

栓焊机

QZL2000A

2

中国

2004

120

/

焊栓钉

 

50

烘干箱

60kgMODEL 60kgMODEL ZYH60

4

中国中国

2004 2002

8 5

/ /

350oc500oc 焊条烘干

 

51

碳弧气刨电源

硅整流ZPG-1000

4

中国中国

2002 2003

100

/ /

焊接

 

52

碳弧气刨枪

ZXG71000

10

中国

2004

/

/

焊接

 

53

碳弧气刨咀子

Ф6Ф9

100

中国

2004

/

/

焊接设备

 

54

数控等离子切割机

EXA-6000

1

中国

2004

30

/

切割

 

55

电加热板

 

20

中国

2004

10

 

预热、后热

 

56

焊条保温桶

立卧两用5Kg

20

中国

2004

/

/

120oC

 

 

 

S10t 扭剪型M16 22

6

中国

2004

 

/

每套设初终拧控制箱

 

57

高强度螺栓扳手

S10t 扭剪型M22 24

4

中国

2004

 

/

把线30m

 

 

 

F10t 大六角头摩擦型

2

中国

2004

 

/

每台可拧3000

 

58

手动扳手

大六角(包括套筒)

6

中国

2004

/

/

M16202224

 

59

轴力计

M1624

2

中国

2003

/

/

检验S10t轴力

 

60

电动把手

 

5

中国

2004

8.5

/

M1624 套筒

 

61

电动扳手套管

Ф16202224

20

中国

2004

/

/

打磨

 

62

电动绞刀钻

4 种套管

4

中国

2004

/

/

扩孔

 

63

电动绞刀

M1624

40

中国

2004

/

/

扩孔

 

64

履带式起重机

QY50

1

中国

2000

/

50t

构件倒运

 

65

履带式起重机

CC2000

1

中国

1999

/

300t

钢柱吊装

 

66

卷扬机

JM8

2

中国

2002

15

8t

桁架滑移网架滑移

 

67

提升泵站

 

 

中国

2003

120

/

桁架提升

 

 

 

LSD200

4

中国

2004

 

200t

桁架提升

 

68

千斤顶

LSD100 JHJ10

4 5

中国中国

2004 2004

 

50t 10t

桁架提升构件安装

 

 

 

JHJ5

5

中国

2004

 

5t

构件安装

 

69

叉车

CPCD3

1

中国

2002

 

 

安装阶段

 

70

薄板卷圆机

YB-2×2000

2

中国

2003

5.5

 

加工阶段

 

71

砂轮切割机

GJ3-400

6

中国

2003

2.2

 

配合阶段

 

72

砂轮切割机

GJ3-400

14

中国

2003

2.2

 

安装阶段

 

73

切割坡口机

RA6Φ36

4

中国

2004

0.75

 

安装阶段

 

74

自动切割机

CG211

3

中国

2004

2.2

 

安装阶段

 

75

角向磨光机

φ125mm

16

中国

2004

0.65

 

安装阶段

 

76

管道压槽机

YCT-150

6

中国

2002

2.2

 

安装阶段

 

77

管道压槽机

YCT-100

6

中国

2002

1.5

 

安装阶段

 

78

电动套丝机

Z3T-R4

5

中国

2002

6

 

安装阶段

 

 

 

序号

机械或设备名称

型号规格

数量

国别产地

制造年份

额定功率(kW)

生产能力

用于施工部位

备注

79

圆钢套丝机

Z1T-R2

2

中国

2003

6

 

安装阶段

 

80

潜水泵

φ50mm

4

中国

2004

1.5

 

试压阶段

 

81

电动弯管机

WYQ27-108

2

中国

2004

1.5

 

安装阶段

 

82

液压弯管机

WY10-27-76-10 8

4

中国

2004

1.5

 

安装阶段

 

83

焊条烘干箱

YZH-X100

6

中国

2004

4

 

安装阶段

 

84

电锤

φ22mm

24

中国

2004

0.75

 

安装阶段

 

85

手拉葫芦

1t

8

中国

2004

 

 

安装阶段

 

86

手拉葫芦

3t

10

中国

2004

 

 

安装阶段

 

87

手拉葫芦

5t

10

中国

2004

 

 

安装阶段

 

88

手电钻

 

24

中国

2004

0.75

 

安装阶段

 

89

电动试压泵

 

5

中国

2003

4

 

试压阶段

 

90

铜管专用工具

 

16

中国

2004

 

 

安装阶段

 

91

不锈钢管专用工具

 

12

中国

2004

 

 

安装阶段

 

92

倒链

2T5T10T

10

中国

2004

 

 

安装阶段

 

93

台虎钳

16cm

1

中国

2004

 

 

安装阶段

 

94

压力钳

150mm

1

中国

2000

 

 

安装阶段

 

95

台钻

Z32K

4

中国

1999

 

 

安装阶段

 

96

剥线钳

 

5

中国

2002

 

 

安装阶段

 

97

压线钳

 

5

中国

2003

 

 

安装阶段

 

98

对讲电话

GP2000

2

中国

2004

 

 

调试阶段

 

99

建筑施工外用电梯

SCD200/200G

4

 

 

11

最大起重量为2t

装修材料垂直运输

 

日期:2005 1

 

8、附录八劳动力汇总表及资源曲线

劳动力计划表

项目名称:**电视台新台址建设工程B 标段施工总承包工程 招标编号:

工种

按工程施工阶段投入劳动力情况

 

基础施工

主体施工

装修穿插

装修施工

测量工

12

12

12

12

防水工

90

0

90

0

试验工

6

6

6

6

钢筋工

600

500

530

30

结构木工

900

750

750

20

混凝土工

90

90

120

30

壮工

90

50

80

100

抹灰工

30

30

120

180

装修木工

0

0

60

150

油工

2

2

60

200

瓦工

30

0

60

60

水暧工

20

30

90

60

电工

80

90

120

30

电焊工

10

30

36

6

架子工

90

90

90

90

电梯工

0

0

12

12

塔吊司机

12

12

12

0

起重工

20

20

20

20

信号工

16

16

16

0

瓷砖工

0

0

60

90

石材工

0

0

30

50

钢结构施工

20

90

90

60

分包施工人员

0

30

300

1200

合计

2118

1848

2764

2406

注:1、本表中的劳动力人数为包括分包人在内的估计劳动力人数。

2、本计划表是以每班八小时工作制为基础编制的。

日期:2005 1

 

9、附录九临时用地表

项目名称:**电视台新台址建设工程B 标段施工总承包工程 招标编号:

 

用途

长度(m)

面积(m2)

需用时间

用地位置

现场围挡

833

——

2005.03.15-2007.07.15

现场四周

现场道路

——

4507.8

2005.03.15-2007.07.07

现场内

总包办公用房

——

1080

2005.03.15-2007.07.01

 

总包方会议室

——

500

2005.03.15-2007.07.01

 

 

 

 

 

 

测量办公室

——

30

2005.03.15-2007.07.01

现场东侧

材料员办公室

——

30

2005.03.15-2007.07.01

办公区内

 

 

 

 

 

大会议室

——

100

2005.03.15-2007.07.01

 

样品间

——

42

2005.03.15-2007.07.01

 

现场门卫

——

60

2005.03.15-2009.09.30

现场南北两个大门

施工现场厕所

——

90

2005.03.15-2007.09.13

现场东北角

现场垃圾站

——

22

2005.03.15-2007.07.15

现场东北角

现场库房

——

410

2005.03.15-2007.07.01

办公区南侧

现场试验室

——

60

2005.03.15-2007.07.01

现场东南角

和堆 料场地

钢筋加工棚

——

132

2005.03.15-2007.02.10

现场南、北两侧

料棚

——

797

2005.03.15-2007.07.01

现场内

木加工棚

——

105

2005.03.15-2007.02.10

现场南、北两侧

料场

——

1035

2005.03.15-2007.07.01

现场内

停车场

——

168

2005.03.15-2007.07.01

办公区内

日期:2005 1

 

10、附录十附图

图F01:与A 标段位置关系图

图F02:建筑物基底标高平面图

图F03:降水井平面布置图

图F04:降水井构造图

图F05:第一步土方开挖示意图

图F06:第二步土方开挖示意图

图F07:第三步土方开挖示意图

图F08:第四步土方开挖示意图

图F09:基坑坡道收尾图

图F10:基坑支护平面示意图

图F11:基坑支护1-1 剖面图

图F12:基坑支护2-2 剖面图

图F13:基坑支护3-3 剖面图

图F14:基坑支护4-4 剖面图

图F15:基坑支护5-5 剖面图

图F16:基坑支护节点详图

图F17:基坑位移监测点布置图

图F18:基础桩施工工作面标高图

图F19:一层及以下临时给水及消防系统图

图F20:一层以上临时给水及消防系统图

图F21:地下室结构施工阶段配电系统图

图F22:16 层以下结构施工阶段配电系统图

图F23:16 层以上结构施工阶段配电、动力电箱系统图

图F24:照明电箱系统图

图F25:装修阶段配电系统图

图F26:地下室结构施工阶段用电竖向示意图

图F27:十六层以下结构施工阶段用电竖向示意图

图F28:十六层及以上结构施工阶段用电竖向示意图

图F29:装修阶段施工用电竖向示意图

图F30:斜面爬架立面示意图

图F31:爬架示意图

图F32:钢结构施工阶段场区划分及平面布置图(一)

图F33:钢结构施工阶段场区划分及平面布置图(二)

图F34:钢结构施工阶段场区划分及平面布置图(三)

图F35:钢结构施工阶段场区划分及平面布置图(四)

图F36:钢结构施工阶段场区划分及平面布置图(五)

图F37:钢结构施工阶段场区划分及平面布置图(六)

图F38:钢结构施工阶段柱、桁架、塔吊平面示意图

图F39:牛腿详图

图F40:钢结构施工阶段油压千斤顶工作示意图

图F41:钢结构工程钢柱分节表

图F42:钢结构工程桁架提升立面顺序图(一)

图F43:钢结构工程桁架提升立面顺序图(二)

图F44:钢结构工程桁架提升立面顺序图(三)

图F45:钢结构工程桁架提升立面顺序图(四)

图F46:钢结构工程桁架提升立面顺序图(五)

图F47:钢结构工程桁架提升立面顺序图(六)

图F48:钢结构工程提升吊点布置图

 

11、附录十一施工总平面图

图01:土方阶段现场平面布置图

图02:地下结构阶段现场平面布置图

图03:十六层以下结构阶段现场平面布置图

图04:十六层以上结构阶段现场平面布置图

图05:机电安装和装修阶段现场平面布置图

图06:一层及以下混凝土结构施工临时给水及消防现场平面图

图07:一层及以下室内临时给水及消防现场平面图

图08:二层至十二层临时给水及消防现场平面图

图09:十三层以上临时给水及消防现场平面图

图10:地下结构阶段施工用电现场平面布置图

图11:十六层以下结构阶段施工用电现场平面布置图

图12:十六层及以上结构阶段施工用电平面布置图

图13:装修阶段施工用电现场平面布置图

图14:施工现场环场路灯平面布置图

图15:现场10KV 电源进线平面布置图

 

12、附录十二计划开、竣工日期和施工网络图

本工程预计总工期为930 日历天,开工日期:2005 年03 月15 日,竣工日期:2007 年09月30 日。

项目名称:**电视台新台址建设工程B 标段施工总承包工程 招标编号:ITC04G6510082

序号

项目名称

工期()

最早开始时间

最迟完成时间

1

施工准备

30

2005-03-15

2005-04-13

2

土方、桩基础及底板

191

2005-03-25

2005-10-01

3

地下结构

71

2005-08-22

2005-10-31

4

地下外墙防水及回填土

49

2005-10-15

2005-12-02

5

主体结构

311

2005-10-15

2006-08-21

6

钢结构工程

387

2005-11-04

2006-11-26

7

外墙、屋面网架工程

213

2006-09-12

2007-04-12

8

外装修工程

404

2006-04-21

2007-05-29

9

内装修工程

489

2006-01-30

2007-06-02

10

指定分包工程

534

2006-01-30

2007-07-17

11

各系统综合调试、试运行

90

2007-06-03

2007-08-31

12

资料整理、竣工验收

30

2007-12-16

2007-09-30

日期:2005 1

12.1 施工进度控制网络计划

12.2 施工进度控制计划横道图(大纲摘要)

12.3 施工进度控制计划横道图