目 录
一、土方工程施工方案实例………………………………………………3
二、基坑护坡工程施工方案实例一………………………………………18
三、基坑护坡工程施工方案实例二………………………………………25
四、模板工程施工方案实例一………………………………………………35
五、木模板工程施工方案实例二……………………………………………75
六、全钢大模板施工方案实例三……………………………………………91
七、脚手架工程施工方案实例一…………………………………………115
八、落地式钢管脚手架搭设方案实例二…………………………171
十、悬挑式脚手架计算实例………………………………………………178
十一、起重吊装工程方案实例………………………………………………186
十二、外用电梯安装与拆除工程方案实例…………………………………197
十三、物料提升机安装工程施工方案实例…………………………………202
十四、塔吊安装工程施工方案实例一……………………………………214
十五、塔吊安装工程施工方案实例二……………………………………221
十六、临时用电施工组织设计实例一……………………………………226
十七、临时用电施工组织设计实例二……………………………………253
土方工程施工方案实例
××××××建筑工程有限公司
编制日期: 年 月 日
1.编制依据
1.1 施工图纸
图纸名称 | 图 纸 内 容 | 工程号 | 归档日期 | 设计单位 |
××工程施工图纸 | 基础开挖图 | ×× | ×× | ×× |
…… |
1.2 主要规范、规程
序号 | 规范、规程名称 | 发布日期 | 施行日期 | 规范规程编号 |
1 | 地基与基础工程施工质量验收规范 | ×× | ×× | GB50202-2002 |
2 | 建筑工程施工质量验收统一标准 | ×× | ×× | GB50300-2001 |
3 | 建筑机械使用安全技术规程 | ×× | ×× | JGJ33-2001 |
1.3 施工组织设计
施组名称 | 编制日期 | 编制人 |
××工程施工组织设计 | ×× | ×× |
××工程降水护坡方案 | ×× | ×× |
2.工程概况
序 号 | 项 目 | 内 容 | |||||||||
1 | 工程名称 | ××工程 | |||||||||
2 | 工程地址 | ××市××区××路 | |||||||||
3 | 建设单位 | ××××× | |||||||||
4 | 设计单位 | ××××× | |||||||||
5 | 监理单位 | ××××× | |||||||||
6 | 监督单位 | ××××× | |||||||||
7 | 施工单位 | ××××× | |||||||||
8 | 施工范围 | ××××× | |||||||||
9 | 基本情况 | 工期 | 承包方式 | 质量目标 | |||||||
×× | ×× | ×× | |||||||||
10 | 工程概况 | 建筑规模 | 占地面积 | ×× | 建筑面积 | ×× | |||||
层数 | ×× | ||||||||||
建筑檐高 | ×× | ||||||||||
标高 | ×× | ×× | 室外 | ×× | 基底 | ×× | |||||
建筑功能 | ××××× | ||||||||||
结构类型 | ××××× | ||||||||||
基础形式 | ××××× | ||||||||||
根据现场场地及施工安排,基坑四周均采用放坡,坡度为1:0.2,边坡采用土钉墙锚喷支护。土方开挖采用机械大开挖,人工配合清除基底预留土层。机械挖土方量170136m3,人工挖土方量1925m3。
3.施工部署
据降水观测情况,满足开挖条件后,开始按由西向东的行走方向开挖。采用三台WY160型反铲挖土机,20辆翻斗运土车,一台汽车吊(人工清理基底土层时吊运基坑内土体),具体步骤如下:

4.操作工艺
4.1土方开挖工程
4.1.1先放好坡顶线、坡底线,经复测及验收合格后开始开挖。
4.1.2机械挖土分三大步进行,第一步挖3.5m,第二步挖4.5m,第三步挖4.8m。预留20cm土层人工清理(详见基坑开挖剖面图,图略)。
4.1.3第一步先挖去面层渣土层至自然地坪下2m,自西向东进行,开挖时边坡预留20cm土层人工清理。再挖基坑中心基土至-3.5m,四周预留8m做土钉墙锚杆施工的作业面,随挖土随修整边坡,并进行边坡土钉墙施工(详见降水护坡方案)。待第一步土钉墙混凝土达到允许强度(通常在土钉墙混凝土喷射完成后12h),挖除第一部四周预留的作业面土层,随挖土随修整边坡,并进行边坡土钉墙施工。
4.1.4第一步挖土结束,待土钉墙混凝土达到允许强度后开始第二步开挖。挖土机回到第一步开挖起始点按第一步行走方向进行第二步开挖至-8m,施工人员同时做好边坡修整及土钉墙施工。
4.1.5第二步开挖结束。待土钉墙混凝土达到允许强度后开始第三步开挖。第三步开挖至-12.8m,随挖土随进行边坡修整及土钉墙施工。
4.1.6在开挖至距离坑底50cm以内时,测量人员抄出50cm水平线,在槽帮上钉水平标高小木楔,在基坑内抄若干个基准点,拉通线找平。
4.1.7 马道宽度4m,坡度为15°马道收口时采用两台挖土机倒出大部分马道土体,剩余部分采用人工清理,吊车吊出,支搭脚手架进行土钉墙施工。
4.1.8机械挖至最后一步时,测量人员随即放出基底边坡线及基槽钎探点位,开始进行基槽钎探施工。
4.1.9钎探完后进行基槽验收,合格后开始由人工挖除20cm预留土体,用尺量好50cm标准尺杆,随时校核基底标高。并在清理好的基底上放好槽边线。人工清运土体倒退进行,若手推车不得不在挖好的基底土上行走时,必须垫好木板或厚铁皮,不得扰动基底土。
4.1.10基槽平整完后,随时覆盖帆布,防止基底土水分蒸发损失,导致土体积膨胀,并及时进行垫层等下道工序的施工。
4.1.11施工中对标准桩、观测点、管网加以保护,发现古墓文物及时申请有关部门处理。
4.1.12为防止地下水及雨水浸泡槽底,沿基坑边30cm外预留50cm宽临时排水沟,且在转角处设临时积水坑,每一坑内配备一台抽水泵,随时抽出坑内积水。
4.2 土方回填工程
4.2.1 填土前应将基坑(槽)底或地坪上的垃圾等杂物清理干净;肥槽回填前,必须清理到基础底面标高,将回落的松散垃圾、砂浆、石子等杂物清除干净。
4.2.2检验回填土的质量有无杂物,粒径是否符合规定,以及回填土的含水量是否在控制的范围内,如含水量偏高可采用翻松、晾晒或均匀掺入干土等措施,如遇回填土的含量偏低,可采用预先洒水润湿等措施。
4.2.3 回填土应分层铺摊。每层铺土厚度应根据土质、密实度要求和机具性能确定。一般蛙式打夯机每层铺土厚度为200~250㎜;人工打夯不大于200㎜。每层铺摊后,随之耙平。
4.2.4 回填土每层至少夯打三遍。打夯应一夯压半夯,夯夯相接,行行相连,纵横交叉。并且严禁采用水浇使土下沉的所谓“水夯”法。
4.2.5 深浅两基坑(槽)相连时,应先填夯深基础;填至浅基坑相同的标高时,再与浅基础一起填夯。如须分别填夯时,交接处应填成阶梯形,梯形的高宽比一般为1:2。上下层错缝距离不小于1.0m。
4.2.6 基坑(槽)回填应在相对两侧或四周同时进行。基础墙两侧标高不可相差太多,以免把墙挤歪;较长的管沟墙,应采用内部加支撑的措施,然后再外侧回填土方。
4.2.7 回填房心及管沟时,为防止管道中心线位移或损坏管道,应用人工先在管子两侧填土夯实;并应由管道两侧同时进行,直至管顶0.5m以上时,在不损坏管道的情况下,方可采用蛙式打夯机夯实。在抹带接口处,防腐绝缘层或电缆周围,应回填细粒料。
4.2.8 回填土每层填土夯实后,应按规范规定进行环刀取样,测出干土的质量密度;达到要求后,再进行上一层的铺土。
4.2.9 修整找平:填土全部完成后,应进行表面拉线找平,凡超过标准高程的地方,及时依线铲平;凡低于标准高程的地方,应补土夯实。
5.质量控制
5.1土方开挖工程质量验收标准
项 | 序 | 检查项目 | 允许偏差或允许值(㎜) | 检验方法 | ||||||||
柱基 基坑 基槽 | 挖方场地平整 | 管内 | 地(路)面基层 | |||||||||
人工 | 机械 | |||||||||||
主控项目 | 1 | 标高 | -50 | ±30 | ±50 | -50 | -50 | 水准仪检查 | ||||
2 | 长度、宽度(由设计中心线向两边量) | +200 | +300 | +500 | +100 | - | 经纬仪、用钢尺量 | |||||
3 | 边坡 | 设计要求 | 观察或用坡度尺检查 | |||||||||
一般项目 | 1 | 表面平整度 | 20 | 20 | 50 | 20 | 20 | 用2m靠尺和楔形塞尺检查 | ||||
2 | 基底土性 | 设计要求 | 观察或土样分析 | |||||||||
注:地(路)面基层的偏差只适用于直接在挖、填方上做地(路)面的基层。 | ||||||||||||
5.2 土方回填工程质量验收标准
项 | 序 | 检查项目 | 允许偏差或允许值(㎜) | 检验方法 | |||||
柱基 基坑 基槽 | 挖方场地平整 | 管沟 | 地(路)面基层 | ||||||
人工 | 机械 | ||||||||
主控项目 | 1 | 标高 | -50 | ±30 | ±50 | -50 | -50 | 水准仪 | |
2 | 分层压实系数 | 设计要求 | 按规定方法 | ||||||
一般 项目 | 1 | 回填土料 | 设计要求 | 取样检查或直观鉴别 | |||||
2 | 分层厚度及含水量 | 设计要求 | 水准仪及抽样检查 | ||||||
3 | 表面平整度 | 20 | 20 | 30 | 20 | 20 | 用靠尺或水准仪 | ||
6.主要管理措施
6.1 安全管理及防护技术措施
因本工程为高层建筑,施工面积××㎡,按照我公司职业健康安全管理手册、程序文件严格对现场安全防护进行控制。现场成立安全管理领导小组,工地设专职安全员,由主管生产的副经理全面负责安全生产及各种安全教育活动,由工程部组织有关部门对现场进行经常性检查,发现隐患及时组织人员整改,保证无重大事故。
场内按各阶段施工情况在进出口和危险区挂宣传画、色标、标牌及标语,各种防护部位防护到位。各种标牌应挂齐,并挂在醒目的位置处,符合OHSASI8001标准。
6.1.1基坑的防护
(1)土方开挖要探明地下管网,防止发生意处事故。
(2)在距基坑边0.6m周围用φ48钢管设置两道护身栏杆,立杆间距4m,高出自然地坪1.8m,理深0.8m。在距基坑边0.5m砌120砖墙30㎝高,中有240×240砖柱间距6m。基坑上口边1㎝范围内不许堆土、堆料和停放机具。在锚喷支护上口5m范围内不许重车停留。各施工人员严禁翻跃护身栏杆。基坑施工期间设警示牌,夜间加设红色灯标志。
6.1.2基坑外施工人员不得向基坑内乱扔杂物,向基坑下传递工具时要接稳后再松手。
6.1.3坑下人员休息要远离基坑边及放坡处,以防不慎。
6.1.4施工机械一切听从指挥,人员尽量远离施工机械,如有必要,先通知操作人员,待回应后方可接近。
6.2现场消防保卫管理措施
6.2.1在施工现场建立防火领导小组、义务消防队、治保会、社会综合治理小组,设一名领干部具体负责消防保卫工作,并建立每月召开一次例会。
6.2.2施工现场工作坚持“预防为主,防消结合”的工作方针,认真贯彻《中华人民共和国消防法》和××市《消防条例》,逐级落实防火责任制,利用多种形式对群众进行广泛的宣传教育,做到人人重视消防工作,同时将消防保卫工作纳入生产管理议事日程,与生产同计划、同布置、同检查、同落实、同评比。
6.2.3参加施工的所有人员,入场前都要进行“四防”教育和考试。坚持每月和重大节日、社会政治活动前教育一次,学习两块和各项规章制度和国家法规,使每个施工人员做到制度明确、安全生产、文明施工。
6.2.4现场采用非易燃材料做临设,施工现场的生活、加工、仓储、办公室与在施工程分开设置。
6.2.5易燃、剧毒物品分类专库管理,严格出库手续,进行易燃、易爆化学物品操作时,必须保证通风良好,禁止与电气焊等明火作业交叉操作。
6.2.6加强现场明火作业管理,严格用火审批制度。现场用火证,统一由保卫负责人员签发,并有书面安全防火技术交底。
6.2.7现场设吸烟处,在明显位置贴吸烟管理要求和标志,配备烟头容器和灭火器材,吸烟应到吸烟处,现场其他地方禁止吸烟。
6.2.8现场架设照明线路及安装各种电器设备,必须由正式电工操作,非电工人员不准操作。
6.2.9施工现场消防器材统一由保卫人员检查、维修、保证灭火器材完好有效,不准他人擅自乱移、乱用;施工现场道路宽度不低于3.5米。
6.2.10对现场的要害部位及成品保护工作,坚持“谁主管、谁负责、谁施工、谁负责”的原则,把责任落实到人,根据现场实行情况,采取减少出入口,分片控制出入人员,具体办法由保卫人员负责制定。
6.2.11对现场重点部位(如配电室、塔吊、仓库等)配备责任心强、技术熟练的人员操作和管理,建立健全岗位责任制和交接班制度,认真做好交接班记录。
6.2.12现场留出入口二处,围墙保证良好,出入口警卫要对出入车辆及人员进行严格检查,现场不得留住外来人员,现场办公室、更衣室、仓库门窗要牢固、可靠。现场设自行车棚、集中存放、专人管理。
6.2.13对进入现场的施工人员进行摸底审查,坚持先审后用的原则,对重点人员做到心中有数,并注册登记。
6.2.14 建立门卫制度和巡逻护场制度,设专人两班昼夜值班,并做好值班记录。对携带施工材料进出场的人员和车辆要开出门证,对进入施工现场的联系业务的其他人员要进行登记,经门卫许可后方能进入。
6.2.15消防保卫干事每天对工地用火用电等情况进行巡查,每旬参加一次文明施工检查;有权制止一切违反规定的行为,对违反治安消防规定的人员,保卫干部有权给予批评教育和处罚,直至停止施工。
6.2.16建立健全消防保卫档案,搞好资料的收集、整理工作,对现场发生的事故和各种隐患都要认真记录、整理、备查。
6.3施工现场管理措施
6.3.1施工现场执行“谁主管、谁负责”的原则,工地项目经理对施工现场管理工作全面负责,一切与建设工程施工活动有关的单位和个人,必须服从管理,各分包单位必须接受总包单位的统一领导和监督检查。
6.3.2施工现场的围墙和围档上按集团CIS标准绘制集团标志、企业精神等内容,做到牢固,美观。在现场东侧设主要出入口,大门具体做法按照集团公司企业形象视觉识别规范手册来执行。
6.3.3在施工现场竖立三根旗杆,升挂国旗、集团和业主志旗。
6.3.4在现场大门口前一侧明显处设置工程标牌,不小于700×500㎜,白底黑仿宋体字,写明工程名称、建筑面积、建设单位、设计单位、监理单位、施工单位、工地负责人,开、竣工日期。标牌设置高度:底边距地面不少于1.2米,门口内设置内容符合要求的“一图二牌三板”,即:施工现场平面布置图、安全计数牌、施工现场管理体系牌、安全生产管理体系制度板、消防保卫管理制度板、场容卫生制度板。
6.3.5现场搭设的各种临设材质必须符合要求。现场办公室利用原有的二层小楼,伙房、仓库、水泥库等临设用房采用砖砌、加盖,室内高度不低于2.5米,并防漏、防潮,满足使用,整齐美观。
6.3.6施工区域、办公区和生活区域分隔开,对施工现场内进行绿化布置。建立严格的管理责任制,划分责任区,设置明显的标志牌,分片包干,责任到人,使现场和生活区整洁、文明、有序。
6.3.7在工地设宣传栏、黑板报。在现场的围墙、宿舍外墙上的标语反映集团意识和企业精神。现场所有的标语、制度牌书写规范、醒目美观,保持完好。
6.3.8现场的施工道路为混凝土路面,保持畅通,禁止路面堆放材料、设备;雨季有可行的排水措施,配备4寸潜水泵6台,现场设置排水沟,及时将现场雨水排入市政雨水管道。
6.3.9进入现场的所有临时存放施工材料一律按平面布置图指定的位置放置到位,各类材料分类码放,钢筋、架子管、方木、板材等材料一头齐、一条线、不混放,保持现场材料整齐统一。
6.3.10建筑物内外的零散碎料及时清理,施工垃圾、生活垃圾分开存放,并及时清运;保持现场干净整洁,并安排专人每天清扫现场。
6.3.11悬挑结构处严禁堆放材料和其他物品,进入现场的成品、半成品有可行的保护措施。
6.3.12施工现场内严禁随地大小便,有意违反,加重处罚。施工人员要节约用水,消灭长流水、长明灯现象。
6.3.13施工现场的用电线路,用电设施的安装和使用必须按照施工组织进行架设,严禁任意拉线接电,进行电、气焊作业必须由合格的焊工、电工等专业技术人员操作。
6.3.14施工现场和各类机械,必须按照施工现场管理平面布置图规定的位置停放整齐,定期进行保养,对各种机械操作人员建立岗位责任制,做到持证上岗,严禁无证操作。
6.3.15消除火灾隐患,完善消防设施,严格用火制度,做好消防工作。所有施工人员必须保护消防设施,不得损坏和擅自挪用消防设备、器材,不准埋压和圈占消防水源,不准占用防火间距,堵塞消防通道,不准在施工现场内吸烟。
6.3.16进入施工现场所有人员必须佩戴安全帽,非施工人员不准进入施工现场。
6.3.17采取有效措施控制施工过程中的扬尘。对木工房进行封闭,对振动的施工机械采取有效措施,降低噪音。现场适量洒水,减少扬尘。
6.3.18施工现场的全体管理人员佩戴胸卡。
6.4材料管理措施
6.4.1材料进入现场,严格按照施工平面图划分的料具存放区域摆放整齐,并标明责任区、责任人。
6.4.2各种料具存放区,夯实平整,有排水设施。
6.4.3施工现场料具分规格码放整齐、稳固,做到一头齐、一条线,标识规范、清楚。
6.4.4水泥存放在库内,设门上锁专人管理,垛高不超过12袋,袋装水泥与墙间隙不小于15㎝,水泥库浇筑高出地面20㎝的混凝土,并用水泥砂浆压光地面,用空心砖全封闭砌筑,设进、出料两扇铁门,实行先进先出原则。
6.4.5贵重物品、易燃易爆和有毒物品及时入库,专库专管,加设明显标志。
6.4.6剩余料和包装容器整理归类,与成品原材料分开存放,废油漆、油料及包装容器与供应商签订协议,由供应商及时回收,以免造成污染。
6.4.7料库做到整洁,料具架、料具摆放合理,专人保管,并建立严格领退料手续。
6.4.8根据材料性能对施工现场的材料保管采取必要的防雨、防潮、防晒、防冻、防水、防爆、防损坏措施。
6.4.9坚持两人以上材料验收制度,对进场材料的品名、规格、包装、商标、数量、质量进行认真验收,索要材质证明,并留下详细记录。
6.4.10材料进出场要有严格检查制度和手续,按照贯标程序去做。
6.5环境保护措施
针对该工程所处位置的特点,结合我公司ISO14001管理手册、程序文件规定,成立以项目经理为首的,由技术、生产、物资、机械等部门组成的环保工作领导小组,建立施工现场环保自我保证体系,做到责任落实到人。对现场产生的噪音、扬尘等污染采取以下措施,以减轻各种污染及噪音扰民。
6.5.1防止扬尘、大气污染措施
(1)土方由合格的运输单位施工,并签订运输合同,在合同中明确公司的环境要求。在现场出入口设专人清扫车轮,并拍实车上土或严密遮盖,运载工程土方最高点不超过车辆槽帮上沿50㎝,边缘不高于车辆槽帮上沿10㎝,装载建筑渣土或其他散装材料不超过槽帮上沿,禁止沿途遣洒。
(2)用于工程预留的回填土,为防止扬尘,采取喷洒覆盖的方法。
(3)对施工道路采取混凝土硬化处理,出入口处硬化路面不小于出口宽度,在出口处设置冲洗车轮的装置,并设专人负责。
(4)在现场东、西两侧各设一根洒水临时水管,并设置1名洒水员,配齐洒水设备,根据现场情况对现场及生活区进行洒水、清扫,防止扬尘。
(5)在施工现场设置垃圾分拣站,施工垃圾及时分拣清扫,并洒水降尘。
(6)水泥和其他易飞扬的细颗粒散体材料,安排在库内存放或严密遮盖。
(7)现场食堂用燃气设备和电蒸箱做饭,采用石油液化气装置。
(8)拆除原有建筑时,随时洒水减少扬尘污染环境。
6.5.2防止水污染措施
临时食堂设隔油池,每月清理浮油杂物不少于三次,污水经过滤、沉淀、隔油后排入市政污水管线。
6.5.3防止噪声污染措施
(1)现场搅拌机、电刨、电锯、空压机等强噪声机械,设棚全封闭。
(2)对于不能进行封闭的设备,如塔吊、挖掘机、装载机、电锤等严格控制作业时间,晚上22时至次日早6时不得作业。
(3)建立健全控制人为噪音的管理制度,信号工指挥塔吊采用无线电通讯设备。
(4)噪声值监测执行《建筑施工场界噪声测量方法》(GB12524),土石方施工阶段昼夜不超过75分贝,夜间不超过55分贝,并且经常测试(6:00-22:00为昼夜,22:00-6:00为夜间)。
(5)做好施工现场环境保护的监督检查工作,每月初、月中和月末对环境各项工作进行一次检查,对存在的问题及时采取纠正和预防措施,并做好文字记录和存档工作。
6.6环境卫生管理措施
6.6.1现场环境卫生管理
(1)施工现场要设专人负责整理、保持现场整洁卫生。做到施工现场无积水、车辆不带泥沙出现场。每天派人洒水清扫施工道路,绿化、美化施工现场。
(2)施工现场厕所设1.5米高的瓷砖,蹲坑按每20人不少于一个蹲坑设计,蹲坑采用冲水或加盖措施,派专人每天打扫,保持通风无异味。夏季门窗安装门帘和纱窗,防蝇灭蛆措施齐全有效。
(3)施工现场设置电热水器,保证开水供应,不让民工喝自来水。
6.6.2指定专人每天清理生活区、办公区是,保证生活区、办公区的清洁卫生,做到无洁水、无污物。
6.6.3行政副经理主管施工现场伙房卫生,环卫员负责日常工作管理。伙房炊事人员必须严格执行《食品卫生法》和食品卫生有关管理规定。
6.7防止扰民措施
本工程工地位于××区××路,北边为××,西为××,南为××,为确保正常的施工秩序,尽量减少对周围办公、生活的影响,制定如下措施:
6.7.1施工现场提倡文明施工,建立健全控制人为噪声的管理制度,尽量避免人为的大声喧哗,增强全体施工人员防噪声扰民的自觉意识。
6.7.2在施工中积极采用新机械、新材料或更换、调整部分影响较严重的设施和设备,尽量降低施工影响,保证施工进度。
6.7.3随时与现场周转有关部门取得联系,对他们的意见、建议进行合理采纳,对有关施工工序安排、工人操作方面的问题,在生产制度会上进行解决。
6.7.4在土方施工阶段,坚持定期检测噪音,保证噪音低于临界值。
6.7.5合理安排施工工序,尽量将噪声污染严重的工序安排在白天。
6.7.6对电锯、电刨等产生噪音的地方进行全面封闭。
6.7.7加强噪声监测,采取专人监测、专人管理的原则,及时对施工现场超标的有关因素进行调限度地减少噪声扰民。
6.8外埠施工队伍管理措施
6.8.1外埠施工队伍要建立健全组织管理机构和各种规章制度,各类管理人员的比例不低于全员人数的68%,要组织外埠施工队务工人员进行上岗前的思想教育和技术培训,技术工人应占全员人数的60%,特殊工种要持证上岗。
6.8.2做到合法用工,外埠施工队伍进场后必须与用工单位签订《劳务合作合同》、《工程经济合同》、《安全生产协议书》、《治安消防协议书》,及时办理务工人员的注册手续、就业证、暂住证。注册办证率要达到100%,并持外地进京施工企业备案卡到所在区(县)建委备案。
6.8.3保持队伍稳定,不得随意变更已注册的务工人员,人员流动率不得超过20%,“两收”后的人员变更3天内向用工单位申报,补办注册手续及各种证件。
6.8.4严格履行合同,确保工程进度和质量,做到安全生产,文明施工。
6.8.5外埠施工队不准招用超出区域内的人员和安排用工单位的亲朋好友从事施工生产,杜绝“五种人”,即:童工、残疾、聋哑、呆傻和无技术女工现象发生。
土方工程施工安全要点:
1、土方开挖
1)所有施工机械进场必须经有关部门组织验收确认合格并有记录方可使用。
2)挖土机作业时,人员不得进入挖土机作业半径内。
3)多台机械作业,其间距应大于10m,挖土应由上而下逐层进行,严禁先挖坡脚或逆坡挖土。
4)挖土机司机属特种作业人员,应经专门培训考试合格持证上岗。
5)挖土机不能超标高挖土,坑底最后留一步土方由人工完成。
2、基坑支护变形监测
1)基坑开挖前应作出系统监测方法、精度要求、监测点布置、观测周期、工序管理、记录制度、信息反馈。
2)基坑开挖过程中特别注意监测基坑外的沉降隆起变形和临近建筑物的动态。
3、作业环境
1)基坑作业人员必须有安全立足点。
2)交叉作业、多层作业、上下设隔离层,垂直运输作业及设备也必须按相应规范进行检查。
3)作业环境内光线不足时必须设置足够的照明。
荣盛地产大厦工程基坑护坡方案实例一
(钢筋锚杆挂网基坑支护)
廊坊开发区福斯特建筑工程有限公司
编制日期: 年 月 日
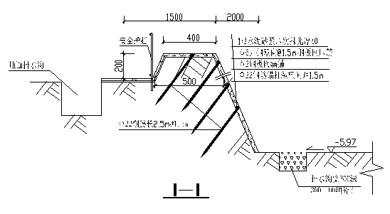
荣盛地产大厦工程基坑已全部开挖完毕,目前正在进行级配砂、石褥垫层和混凝土垫层等基础分项工程的施工。由于基础设计较深(注;基底标高-5.97m,电梯井基底标高-7.07m),目前又处在雨季,为确保施工安全,防止边坡塌方,我们建议边坡采取锚杆护坡措施,具体方案如下:
一、增加放坡坡度,原按1.5m放坡宽度留置,现增加至2m宽。
二、不够坡度的边坡挂线修直整平。
三、钢筋锚杆施工:
1、在垂直于边坡的斜面打入
22钢筋长≥2.5m,间距沿边坡高度、长度均为1.5m,外露≥20mm,便于钢板网焊接。
2、钢筋锚杆打入后,边坡满铺
2钢板网(网格≤60×60mm),接头处搭接按≥200mm用扎丝扎牢。注意,钢板网应与
22钢筋锚杆外露端头点焊,最后用
6元钢按锚杆间距纵横1.5m网格压住钢板网(注:
6钢筋应与锚杆筋焊接),防止钢板网滑动,最后用1:3水泥砂浆压实抹光,厚度40mm(注:转角处附加宽1m钢板网,砂浆厚度适当加厚至50~60mm)。
3、施工顺序从上到下,分段施工,接槎处平整、顺直密实。
四、安全要求
1、修整边坡前先检查槽岸有无裂纹、塌方等隐患。
2、施工前搭设双排脚手架(高4m),底部加垫板防止下陷。
3、高空作业应系安全带。
4、严格按安全操作规程施工。
五、排水要求
1、基底排水主要是排槽底雨水,沿基底四周开挖明排水沟,宽300×深300(最深处300,最浅处100,中高边低),排水沟内满铺石子(粒径2-3cm)防止沟壁流砂堵塞,在明沟中间每隔20-25m设一处
800、深600的集水坑,安装一节
300混凝土透水管,管底及管外壁用碎石填满。安装水泵将水排至地面水沟内。
2、槽岸地面排水措施:在做锚杆护坡前,沿基坑岸周围做一挡水土埂,具体尺寸上宽400、下宽500,高出自然地面标高0.2m,要求水泥砂浆钢板网护坡做至出槽岸地面≥1.5m,具体做法见图。



护坡及排水主要实物工程量
序号 | 工程名称 | 规格 | 单位 | 数量 | 备注 |
1 | 边坡修整 |
| m2 | 1285.3 |
|
2 | 水泥砂浆抹面 | 1:3厚40mm | m2 | 1687 | 含地面外1.5m |
3 | 钢板网 |
| m2 | 1950 | 含搭接头面积 |
4 | 钢筋 |
| t | 6 | L=2.5m |
5 | 钢筋 |
| t | 0.8 | 压钢板网用 |
6 | 挖排水沟土 |
| m3 | 30 | 含挖集水坑 |
7 | 沟内填石子 |
| m3 | 30 | 含集水坑 |
8 | 混凝土透水管安装 |
| 节 | 9 |
|
9 | 水泵 | 5.5kw | 台 | 4 | 扬程15m~20m |
10 | 双排脚手架 |
| m | 230 | 4m高 |
11 | 人工费 |
| 元 | 28089 |
|
基坑护坡工程施工安全要点
一、施工方案
1、基坑开挖前必须编制施工方案,并经上一级技术负责人审批签字。
2、施工方案的内容要求:应包括放坡要求、支护结构设计、机构选择、开挖时间、开挖顺序、分层开挖深度、坡道位置、车辆进出道路、降水措施及监测要求等,并附有施工详图。
二、临边防护
1、当基坑深度达到2米时,应按高处作业和临边作业的规定搭设临边防护设施。
2、基坑周边应搭设防护栏杆,并设置上下安全通道。
三、坑壁支护
一般基坑深度小于3米时可采用一次性放坡。当深度达到4-5米时可采用分级放坡;当基坑深度超过5米时无论边坡土质情况,周边荷载情况如何都必须进行支护,并有详细的支护计算,对深基坑可采用打桩、上钉墙或地下连续墙等方法来确保边坡的稳定。还可采用:排桩、坑外拉锚与坑内支撑、地下连续墙、逆作法施工等方法。
四、排水措施
1、坑底应设排水沟或集水井。
2、深基础施工采用坑外降水时,要有防止临边建筑物危险沉降的措施。
五、坑边荷载
1、堆置土方距坑槽上部边缘不小于1.2米,弃土堆置高度不超过1.5米。
2、大中型机具距坑槽边距离应在施工方案中进行设计并确认。
六、上下通道
1、基坑施工作业人员上下必须设置专用通道,不准攀爬模板。
2、人员专用通道应在施工组织设计中确定,可视条件采用梯子或专门搭设。
七、土方开挖
1、所有施工机械进场必须经有关部门组织验收,确认合格并有记录方可使用。
2、挖土机作业时,人员不得进入挖土机作业半径内。
3、多台机械作业,其间距应大于10米,挖土应由上而下逐层进行,严禁先挖坡脚或逆坡挖土。
4、挖土机司机属特种作业人员,应经专门培训考试合格持证上岗。
5、挖土机不能超标高挖土,坑底最后留一步土方由人工完成。
八、基坑支护变形监测
1、基坑开挖前应作出系统监测方法、精度要求、监测点布置、观测周期、工序管理、记录制度、信息反馈。
2、基坑开挖过程中特别注意监测基坑外的沉降隆起变形和临近建筑物的动态。
九、作业环境
1、基坑内作业人员必须有安全立足。
2、交叉作业、多层作业、上下设隔离层,垂直运输作业及设备也必须按相应规范进行检查。
3、作业环境内光线不足时必须设置足够的照明。
基坑护坡工程施工方案实例二
(土钉墙基坑支护)
××××××建筑工程有限公司
编制日期: 年 月 日
1.概述
北京××工程,位于北京市××区,东临××路,南临××。本工程地上××层,地下××层,全现浇剪力墙结构。自然地面标高为××,±0.000绝对高程为××,基础埋深为××。
因施工现场狭窄,为保证周边建(构)筑物的安全和基础施工的顺利进行,须对基坑进行有效支护。
本场地工程地质性质详见《工程地质勘察报告》。
2.基坑支护设计及施工方案
2.1设计依据
2.2北京市××勘察院提供的本场地《工程地质勘察报告》。
2.3体重度统一取为r=20KN/m3。
2.4设计与计算遵循国家及北京市有关规范,主要有:
《建筑地基基础设计规范》(GB50007-2002)
《混凝土结构设计规范》(GB50010-2002)
《建筑基坑支护技术规程》(JGJ120-99)
《建筑地基处理技术规范》(JGJ79-2002)
2.2设计方案
根据我公司在北京地区施工经验,结合类似工程实际情况,综合考虑技术安全和经济合理,采用锚喷土钉墙方案。东侧、南侧作斜坡,共4排土钉,从上至下长度依次为5米、6米、5米、4米,锚筋1Φ16,四排锚筋间距依次为1.4米、1.3米、1.3米、1.4米,水平间距1.4米;西侧、北侧、东南角按1:0.5放坡,共4排土钉,从上至下长度依次为5米、5米、5米、4米,锚筋1Φ16,间距依次为1.4米、3米、3米、1.4米,水平间距1.4米。
以上设计土钉倾角均为5-10度。横压筋2Φ14通长,竖压筋2Φ14L200,与横压筋在土钉墙端部井字架形焊接。土钉成孔直径100㎜钢筋网片Φ6@200×200,现场绑扎或焊接而成;面层喷射C20混凝土,厚度60-80㎜。
本工程采取信息法施工,各段土钉的排数、长度、间距应根据实际情况由现场技术负责人做出调整。
A座西侧化粪池采用护坡桩,桩数14根,桩长12米,桩径600㎜,混凝土强度C20,桩间距1米,桩顶梁600㎜×400㎜,桩间挂钢板网喷混凝土。化粪池底做一排预应力锚杆,锚杆长8米,水平间距1米,外设槽钢,螺栓连接。护坡桩施工采用于成孔作业,施工前先降低地下水位,共布降水井4眼,井深17米,管井直径600㎜,滤管直径400㎜,滤料5-10㎜。
2.3施工准备
2.3.1施工组织结构







![]()
![]()
![]()
![]()
![]()
![]()
![]()
![]()



![]()
![]()
![]()
![]()
![]()
2.3.2劳动力计划
工种 | 电工 | 电焊工 | 钢筋工 | 机械工 | 力工 |
人数 |
|
|
|
|
|
2.3.3水电计划
用水 | 喷射机 | 电焊机 | 压浆泵 | 搅浆桶 | 照明 | 总用电 |
|
|
|
|
|
|
|
2.3.4机械计划
空压机 | 喷射机 | 电焊机 | 压浆泵 | 搅浆桶 | 切割机 | 拉直机 |
|
|
|
|
|
|
|
洛阳铲 | 手推车 | 铁锹 | 镐 |
|
|
|
|
|
|
|
|
|
|
2.4施工程序
现场三通一平→测放开挖上口线→土方按要求分步开挖→定孔位→土钉施工→修坡→铺挂钢筋网片→喷射混凝土→下步开挖护坡。
本工程土方与护坡相互配合是关键,土方按护坡挖土技术交底开挖并修坡,应保证坡面平整,达到设计的开挖位置。土方第一步开挖2米,以下一般分段1-1.5米一步,开挖时视土质情况由现场技术人员决定。机械挖土应正对坡面进行,凹凸角严格按总放线尺寸开挖,我方派专人指挥挖土,土方操作手要听从指挥。沿基坑边线向内10米范围为锚作业区,应严格按照交底分层开挖,杜绝超挖。
2.5质量控制
2.5.1成孔:
(1) 孔位允许偏差±100㎜;
(2) 孔深允许偏差±50㎜;
(3) 孔径不允许负偏差;
(4) 孔内渣土应清理干净;
(5) 遇地下障碍打不到设计深度应及时上报,经技术人员会同总包、监理研究变更后再施工。
2.5.2注浆:
(1) 采用二次注浆法;
(2) 注浆采用全长压力灌浆,注浆压力不小于0.4Mpa;
(3) 采用纯水泥浆,浆液水灰比0.5,水泥P.O42.5。
2.5.3制锚
(1) 锚杆要达到设计长度,孔口外露统一为80㎜;
(2) 锚杆全长每2米加焊支架;
(3) 锚杆外露段严禁悬挂重物。
2.5.4喷射混凝土
(1) 面层喷射C20混凝土,厚不小于60㎜;
(2) 钢筋网片Φ6@200×200,采用绑扎或焊接而成,铺设时焊边的搭接长度应小于200㎜。
(3) 横竖压筋要双面满焊,不得有气孔、咬肉。
2.5.5钢筋笼制作与吊放
(1) 钢筋笼的制作:
1)钢筋送货时,必须随车附有质量报验单,并应进行二次材质检查;
2)钢筋笼制作严格按照设计要求及规范要求进行;
3)钢筋笼制作允许偏差为
①主筋间距偏差≤±10㎜;
②箍筋间距或螺旋筋间距偏差≤±20㎜;
③钢筋笼直径偏差≤±10㎜;
④钢筋笼长度偏差≤±5㎜;
⑤成型后的钢筋笼应分段加焊混凝土保护垫块,即可保证钢筋笼下放孔内居中。未经检验合格的钢筋笼不得下入孔内。
(2) 钢筋笼的吊放:
该工程钢筋笼长度为12.00米,在钢筋笼制作时加工成一节,钢筋笼起吊时应准确计算好起吊点,防止起吊的钢筋笼弯曲、变形。
2.5.6滞水处理:
(1) 设置排水管;
(2) 设排水沟,挖集水坑,集水外排。
2.5.7质量保证措施:
(1)孔位放线定位后,必须同质检人员、监理人员进行孔位复核;
(2)钻孔钻进过程中随时调整角度,以保证5-10度;
(3)采用适当直径的钻头,以保证成孔直径不小于设计要求;
(4)详细记录钻孔过程,精确控制孔深;
(5)钻孔过程中,遇滞水易塌孔孔段,采取干水泥护壁。若孔内滞水外流,则采用套管跟进护壁,成孔后立即放入钢筋,边注浆边拔管,并用止浆袋封堵孔口;
(6)严把钢筋进料关,保证使用产品质量合格的钢筋,并做好原材料试验,锚筋制作成形后,必须会同有关质检人员及监理人员进行钢筋质量检查,锚筋放到位后,还应做钢筋隐检,并认真填写隐检记录;
(7)混凝土必须进行试配确定配合比,要有原材(水泥、砂、石、外加剂)试验报告,现场施工时每200m3留一组混凝土试块(100×100×100㎜),并做好混凝土试块制作记录和试块的现场养护;
(8)锚杆注浆后,必须在较长时间(2h)内进行二次补浆,以确保注浆满实;
(9)冬季施工应采取有效的保温措施,当日未做完和已喷射混凝土的工作面,夜间应用塑料布和保温被履盖;
(10)做好并收集、整理好各种施工原始记录、质量检查记录、设计变更、现场签证记录等原始资料,并做好施工日志。
2.5.8质量管理体系
(1)建立由项目负责人领导控制、技术质量组全体人员基层检查的管理系统,以确保各项质量管理措施落实到各分部(子分部)、分项工程及各道工序中;
(2)在施工进行中设专职质检员,班组设兼职质检员进行自检、互检,发现不符合质量标准的问题及时纠正;
(3)各工序设质量负责人、质量检查人,明确岗位,落实责任;
(4)严把材料进场关,搞好复查、抽检,确保材料质量;
(5)定期召开质量会议,严格质量管理。
2.6与总包配合
2.6.1现场三通一平。
2.6.2制锚场地固定,不得随意挪动。
2.6.3基坑测量放线。
2.6.4提供周围管线和地障资料。
2.6.5解决扰民和民扰问题。
2.6.6提供办公室1间,55人住宿临设。
2.6.7搭设基坑周边防护栏和采取足够的照明。
2.6.8每日保证提供150㎡工作面。
2.7安全管理
2.7.1严格执行国家及北京市有关施工现场安全管理条例及办法。
2.7.2制订施工现场安全防护基本标准,如:基坑防护标准;各类洞口及临边地带的防护标准;施工临时用电安全防护标准;各类施工机械和设备的安全防护标准;施工现场消防工作管理标准等。
2.7.3建立严格的安全教育制度,坚持入场教育,每周按班组召开安全工作教育研讨会,增强安全意识,务必使安全工作落到广大群众基础上。
2.7.4编制安全措施,设计和购置安全设施。
2.7.5强化安全法制观念,严格执行安全工作文字交底,双方认可,坚持特殊工种持安全操作证上岗制度等。
2.7.6加强管理人员的安全考核,增强安全意识,避免违章指挥。
2.8文明施工与环保措施
2.8.1合理进行施工现场的平面布置,做到计划用料,使现场材料堆放降到最低值,保证场内道路通畅。
2.8.2运输散装材料时,车斗或车厢封闭,避免运输途中遗洒。
2.8.3合理安排作业时间,采用低噪音施工机械,减少噪音扰民。
2.8.4夜间灯具集中照射,避免灯光扰民。
2.8.5根据公司文明施工会议精神要求,现场施工人员统一着装。
2.8.6喷射混凝土时,派专人负责挡尘布,随喷射工作面移动,将扬尘控制在最低范围。
2.9施工进度计划
项目 时间 | 2 | 4 | 6 | 8 | 10 | 12 | 14 | 16 | 18 | 20 | 22 | 24 | 26 | 28 |
降水井施工 |
|
|
|
|
|
|
|
|
|
|
|
|
|
|
护坡桩施工 |
|
|
|
|
|
|
|
|
|
|
|
|
|
|
第一步土钉施工 |
|
|
|
|
|
|
|
|
|
|
|
|
|
|
第二步土钉施工 |
|
|
|
|
|
|
|
|
|
|
|
|
|
|
第三步土钉施工 |
|
|
|
|
|
|
|
|
|
|
|
|
|
|
第四步土钉施工 |
|
|
|
|
|
|
|
|
|
|
|
|
|
|
收马道 |
|
|
|
|
|
|
|
|
|
|
|
|
|
|
基坑护坡工程施工安全要点
一、施工方案
1、基坑开挖前必须编制施工方案,并经上一级技术负责人审批签字。
2、施工方案的内容要求:应包括放坡要求、支护结构设计、机构选择、开挖时间、开挖顺序、分层开挖深度、坡道位置、车辆进出道路、降水措施及监测要求等,并附有施工详图。
二、临边防护
1、当基坑深度达到2米时,应按高处作业和临边作业的规定搭设临边防护设施。
2、基坑周边应搭设防护栏杆,并设置上下安全通道。
三、坑壁支护
一般基坑深度小于3米时可采用一次性放坡。当深度达到4-5米时可采用分级放坡;当基坑深度超过5米时无论边坡土质情况,周边荷载情况如何都必须进行支护,并有详细的支护计算,对深基坑可采用打桩、上钉墙或地下连续墙等方法来确保边坡的稳定。还可采用:排桩、坑外拉锚与坑内支撑、地下连续墙、逆作法施工等方法。
四、排水措施
1、坑底应设排水沟或集水井。
2、深基础施工采用坑外降水时,要有防止临边建筑物危险沉降的措施。
五、坑边荷载
1、堆置土方距坑槽上部边缘不小于1.2米,弃土堆置高度不超过1.5米。
2、大中型机具距坑槽边距离应在施工方案中进行设计并确认。
六、上下通道
1、基坑施工作业人员上下必须设置专用通道,不准攀爬模板。
2、人员专用通道应在施工组织设计中确定,可视条件采用梯子或专门搭设。
七、土方开挖
1、所有施工机械进场必须经有关部门组织验收,确认合格并有记录方可使用。
2、挖土机作业时,人员不得进入挖土机作业半径内。
3、多台机械作业,其间距应大于10米,挖土应由上而下逐层进行,严禁先挖坡脚或逆坡挖土。
4、挖土机司机属特种作业人员,应经专门培训考试合格持证上岗。
5、挖土机不能超标高挖土,坑底最后留一步土方由人工完成。
八、基坑支护变形监测
1、基坑开挖前应作出系统监测方法、精度要求、监测点布置、观测周期、工序管理、记录制度、信息反馈。
2、基坑开挖过程中特别注意监测基坑外的沉降隆起变形和临近建筑物的动态。
九、作业环境
1、基坑内作业人员必须有安全立足点。
2、交叉作业、多层作业、上下设隔离层,垂直运输作业及设备也必须按相应规范进行检查。
3、作业环境内光线不足时必须设置足够的照明。
模板工程施工方案实例一
××××××建筑工程有限公司
编制日期: 年 月 日
1.编制依据
主要依据施工图纸、施工组织设计、规范和规程,具体见表。
模板编制的主要依据
序号 | 名称 | 编号 | 备注 | |
1 | ××工程施工图纸 | 建施××,建施×× | 工程号:602 | ××建筑设计院设计 |
结施××,结施××,结施×× | ||||
2 | ××工程施工组织设计 |
| 编制人:×× | |
3 | 规程、规范 | 混凝土结构工程施工质量验收规范 钢结构设计规范 高层建筑混凝土结构技术规程 | GB50204-2002
GB50017-2003 JGJ3-2002 |
|
2.工程概况
序号 | 项 目 | 内 容 | |||
1 | 建筑面积(㎡) | 总建筑面积 |
| 地下室面积 |
|
占地面积 |
| 标准层面积 |
| ||
2 | 层数(层) | 地上 |
| 地下 |
|
3 | 层高(m) | 地下3层 |
| 首层 |
|
地下2层 |
| 标准层 |
| ||
地下1层 |
| 顶层 |
| ||
4 | 结构形式 | 基础结构形式 |
| ||
主体结构形式 |
| ||||
5 | 地下防水 | 混凝土自防水 |
| ||
柔性防水 |
| ||||
6 | 结构断面尺寸 | 外墙厚度(㎜) |
| ||
内墙厚度(㎜) |
| ||||
柱断面尺寸(㎜) |
| ||||
梁断面尺寸(㎜) |
| ||||
楼板厚度(㎜) |
| ||||
7 | 楼梯结构形式 |
| |||
8 | 坡道结构形式 |
| |||
9 | 施工缝设置 |
| |||
2.2结构平面图
《地下3层结构平面图》、《标准层结构平面图》(图略)。
3.施工安排
3.1施工部位及工期安排
根据施工进度计划,施工部位及工期安排见下表
施工部位及工期安排
序号 | 施工部位 | 完成时间 | 工期(天) |
1 | 基础底板 | ××年×月×日~××年×月×日 | ×× |
2 | 4层以下结构 | ××年×月×日~××年×月×日 | ×× |
3 | 5-16层及以上结构 | ××年×月×日~××年×月×日 | ×× |
3.2劳动组织及职责分工
3.2.1管理人员组织及职责分工:见图1
3.2.2劳务分包队人员组织及职责分工:见图2


3.2.3工人分工及数量
根据施工进度计划及施工流水段划分进行劳动力安排,主要劳动力分工及数量:
劳动力准备一览表
序号
|
工种 人数 | 基础工程 | 主体工程 | ||||
墙体 | 顶板、梁 | 柱 | 墙体 | 顶板梁 | 柱 | ||
1 | 木工 | ×× | ×× | ×× | ×× | ×× | ×× |
2 | 电气焊工 | ×× | ×× | ||||
3 | 电工 | ×× | ×× | ||||
4.施工准备
4.1技术准备
项目总部组织项目经理部技术、生产人员熟悉图纸,认真学习掌握施工图的内容、要求和特点,同时对有关施工技术和图纸存在的疑点做好记录,通过会审,对图纸中存在的问题,与设计、建设、监理共同协商解决,取得一致意见后,办理图纸会审记录,作为施工图的变更依据和施工操作依据。 各部位截面尺寸、标高,制定模板初步设计方案。
4.2机具准备
主要机具及工具准备详见下表
机具及工具一览表
名 称 | 规 格 | 功率(KW) | 数 量 |
锤子 | 重量0.25、0.5㎏ |
| 500个 |
单头扳手 | 开口宽(㎜)17~19、22~24 |
|
|
圆盘锯 | MJ-106 | 3 | 2台 |
平刨 | MB-503 | 3 | 2台 |
手电钻 |
|
| 8把 |
台钻 | VV508S | 520 | 2台 |
手提电锯 | M-651A | 1.05 | 4台 |
手提电刨 |
| 0.45 | 4台 |
压刨 | MB1065 | 7.5 | 2台 |
活动扳手 | 最大开口宽65㎜ |
|
|
手电钻 | 钻头直径12-20㎜ |
| 12个 |
空压机 | 1立方 |
| 2台 |
钢丝钳 | 长150、175㎜ |
|
|
砂轮切割机 | 配套 |
| 2个 |
零配件和工具箱 |
|
|
|
水准仪 | DZS3-1/AL332 |
| 2台 |
直尺 |
|
|
|
水平尺 | 长450、500、550㎜ |
|
|
钢卷尺 | 50m/30m/5m |
|
|
工程检测尺 | 2m |
|
|
4.3材料准备
顶板、梁、地下部分墙体、方柱模板材料选用覆膜多层板,模板周转次数为6次,地上部分主楼核心筒材料选用大钢模约1000㎡,支撑采用碗扣架,隔离剂选用油性隔离剂。根据所需材料提前考察、选用相关材料厂家。
5.主要施工方法及措施
5.1流水段划分
施工流水段界限尽量与结构自然界限(后浇带)相吻合,流水施工可以使工程有节秦、均衡、连续施工,流水段划分图详见插图,流水段名称与相应的轴线对应见下表
流水段名称与相应的轴线对应关系
地下3层~地下1层结构施工流水段划分 | ||
名称 | 资料填写名称 | 备注 |
1段 |
|
|
2段 |
|
|
…… |
|
|
名称 | 首层~××层结构施工流水段划分 |
|
1段 |
|
|
2段 |
|
|
…… |
|
|
5.2模板及支撑配置数量
地下3层~1层顶板面积约为3×9625.5㎡,首层~4层顶板面积约为4×7170㎡,5层~16层顶板面积约为12×2816㎡。综合考虑多层板周转次数6次,水平结构为保证混凝土达到拆模强度,需配地下3层~1层顶板的模板。±0.000以下的墙体考虑多层板周转次数6次,所以配1层一半的模板。柱子模板3层更新一次面板。梁只配±0.000以下部分。地上部分梁、楼梯采用地下剩下的顶板模板进行组装。考虑到顶板回顶,配3层支撑体系。施工中,模板及脚手架施工所用材料计划见下表。
模板施工材料计划表
序号 | 名 称 | 规 格 | 单 位 | 数 量 | 使用部位 | 备 注 |
1 | 多层板 | 15㎜ | ㎡ | ×× |
|
|
2 | 木方 | 5×10 | M3 | ×× |
|
|
10×10 | M3 | ×× |
|
| ||
3 | 碗扣架立杆 | 0.9 | 根 | ×× |
|
|
1.2 | 根 | ×× |
|
| ||
1.8 | 根 | ×× |
|
| ||
碗扣架横杆 | 1.2 | 根 | ×× |
|
| |
4 | 立杆顶托 | 600可调 | 个 | ×× |
|
|
5 | 法式螺杆 | φ14×1150 | 根 | ×× | 外墙 |
|
φ14×1000 | 根 | ×× | 外墙 |
| ||
φ14×750 | 根 | ×× | 内墙 |
| ||
φ14×1300 | 根 | ×× | 内墙 |
| ||
φ14×700 | 根 | ×× | 内墙 |
| ||
6 | 钉子 | 50 | ㎏ | ×× |
|
|
70 | ㎏ | ×× |
|
| ||
90 | ㎏ | ×× |
|
| ||
7 | 胶水 |
| 桶 | ×× |
|
|
8 | 水白线 |
| ㎏ | ×× |
|
|
外脚手架施工材料计划表
序号 | 材料名称 | 规 格 | 单 位 | 数 量 | 备 注 |
1 | 架子管 | 6m | 根 | ××× |
|
2 | 架子管 | 1.8m | 根 | ××× |
|
3 | 扣件 |
| 个 | ××× |
|
4 | 脚手板 | 5㎝ | M3 | ××× |
|
5.3隔离剂选用
大钢模板的隔离剂选用油性隔离剂,即机油和柴油按1:3比例调匀。
5.4模板设计
5.4.1±0.000以下模板设计
(1)垫层模板:
垫层厚度为100㎜,垫层模板采用100×100㎜方木,沿垫层边线设置方木,方木支撑在基坑壁上。
(2)底板模板:
底板厚度为1200㎜、裙楼800㎜,侧模全部采用砖模,沿底板边线外延50㎜砌筑240㎜厚砖墙,高度=底板厚+100㎜,积水坑、电梯井模板采用15㎜厚多层板按坑大小加工成定型模板。
(3)墙模板:墙模采用1.22×2.44米,15㎜厚多层板面板,50×100㎜方木作竖楞(方木均经压刨找
使用的多层板,如果有飞边、破损模板必须切掉破损部分,然后刷封边漆加以利用。
5.6模板安装
5.6.1模板安装的一般要求
竖向结构钢筋等隐蔽工程验收完毕、施工缝处理完毕后准备模板安装。安装柱模前,要清除杂物,焊接或修理模板的定位预埋件,做好测量放线工作,抹好模板下的找平砂浆。
5.6.2±0.000以下模板安装要求
(1)底板模板安装及技术要求
垫层施工完毕后进行底板模板安装,底板侧模全部采用砖模,沿底板边线外延50㎜砌筑240㎜厚砖墙,高度=底板厚+450㎜,在底板厚度范围内砌筑永久性保护墙,砂浆采用1:3水泥砂浆,上面450㎜处砌筑临时性保护墙,用混合砂浆砌筑,砖墙内侧抹20㎜厚1:3水泥砂浆。
积水坑、电梯井模板采用15㎜厚多层板按坑大小加工成定型模板。模板固定要牢固,并用钢丝绳将模板拉在底板钢筋上,防止浇筑混凝土时模板上浮。
(2)墙体模板安装顺序及技术要点
1)模板安装顺序
模板定位、垂直度调整→模板加固→验收→混凝土浇筑→拆模。
2)技术要点
安装墙模前,要对墙体接茬处凿毛,用空压机清除墙体内的杂物,做好测量放线工作。为防止墙体模板根部出现漏浆“烂根”现象,墙模安装前,在底板上根据放线尺寸贴海绵条,做到平整、准确、粘结牢固并注意穿墙螺栓的安装质量。
(3)梁模板安装顺序及技术要点
1)模板安装顺序
搭设和调平模板支架(包括安装水平拉杆和剪力撑)→按标高铺梁底模板→拉线找直→绑扎梁钢筋→安装垫块→梁两侧模板→调整模板。
2)技术要点
按设计要求起拱(跨度大于4米时,起拱2‰),并注意梁的侧模包住底模,下面龙骨包住侧模。
(4)楼板模板安装顺序及技术要点
1)模板安装顺序
“满堂红”碗扣脚手架→主龙骨→次龙骨→柱头模板龙骨→柱头模板、顶板模板→拼装→顶板内、外墙柱头模板龙骨→模板调整验收→进行下道工序。
2)技术要点
楼板模板当采用单块就位时,宜以每个铺设单元从四周先用阴角模板与墙、梁模板连接,然后向中央铺设。按设计要求起拱(跨度大于4米时,起拱0.2%),起拱部位为中间起拱,四周不起拱。
(5)柱模板安装顺序及技术要点
1)模板安装顺序
搭设脚手架→柱模就位安装→安装柱模→安设支撑→固定柱模→浇筑混凝土→拆除脚手架、模板→清理模板。
2)技术要点
板块与板块竖向接缝处理,做成企口式拼接,然后加柱箍、支撑体系将柱固定。
3.6.3±0.000以上模板安装要求
(1)墙体模板安装顺序及技术要点
1)模板安装顺序
模板定位、垂直度调整→模板加固→验收→混凝土浇筑→拆模。
2)技术要点
筒体模板支撑均为双面支模,采用对拉螺栓固定,螺栓孔采用锥形堵头防止漏浆。筒体随层高变化墙厚变化,采用改变阴阳角模及B板(丁字板)尺寸调整配模。
(2)梁、板模板安装顺序及技术要点
梁、板模板安装顺序及技术要点同5.6.2中(2)、(3)条。
(3)柱模板安装顺序及技术要点
柱模板安装顺序及技术要点同5.6.2中(5)条。
5.7模板的拆除
5.7.1墙柱模板拆除
在混凝土强度达到1.2Mpa能保证其表面棱角不因拆除模板而受损后方可拆除,拆除顺序为先纵墙后横墙。在同条件养护试件混凝土强度达到1.0Mpa后,先松动穿墙螺栓,再松开地脚螺栓使模板与墙体脱开。脱模困难时,可用撬棍在模板底部撬动,严禁在上口撬动、晃动或用大锤砸模板,拆除下的模板及时清理模板及衬模上的残渣,在大钢模板面板边框刷好隔离剂且每次进行全面检查和维修做好模板检验批质量验收记录,保证使用质量。
5.7.2门洞口模板拆除
松开洞口模板四角脱模器及与大模连接螺栓,撬棍从侧边撬动脱模,禁止从垂直面砸击洞口模板。防止门洞过梁混凝土拉裂,拆出的模板及时修整。所有洞口宽大于1米时拆模后立即用钢管加顶托回撑。
5.7.3顶板模板拆除
顶板模板拆除参考每层每段顶板混凝土同条件试件抗压强度试验报告,跨度均在2米以下,强度达到50%即可拆除,跨度大于8米的顶板当混凝土强度达到设计强度100%强度后方可拆除外,其余顶板、梁模板在混凝土强度达到设计强度的75%强度后方可拆除。拆顶板模板时从房间一端开始,防止坠落人或物造成质量事故。
顶板模板拆除时注意保护顶板模板,不能硬撬模板接缝处,以防损坏多层板。拆除的多层板、龙骨及碗扣架要码放整齐,并注意不要集中堆料。拆掉的钉子要回收再利用,在作业面清理干净,以防扎脚伤人。
5.7.4后浇带模板拆除
墙体、顶板模板拆模后,用撬棍从侧边撬动脱模,拆除下的模板及时清理模板残渣及画线剔凿后浇带处混凝土。
5.8模板的维护及维修
5.8.1模板使用注意事项
吊装模板时轻起轻放,不准碰撞已安装好的模板和其他硬物;大模板就位时要平稳、准确,不得兜挂钢筋。用撬棍调整大模板时,要注意保护模板下口海绵条。严格控制拆模时间,拆模时按程序进行,禁止用大锤敲击或撬棍硬撬,以免损伤混凝土表面和棱角。模板与墙面粘结时,禁止用塔吊吊拉模板,防止将墙面拉裂。拆下的钢模板,如发现不平或肋边损坏变形,应及时修理、平整。定型模板在使用过程中应加强管理,分规格堆放,及时修理,保证编号的清晰。拆模时要注意对成品加以保护,严禁损坏。
5.8.2多层板维修
覆膜多层板运输堆放防止雨淋水浸;覆膜多层板严禁与硬物碰撞、撬棍敲打、钢筋在上拖拉、振捣器振捣、任意抛掷等现象,以保证板面覆膜不受损坏;切割或钻孔后的模板侧边要涂刷,防止水浸后引起覆膜多层板起层和变形;覆膜多层板模板使用后应及时用清洁剂清理,严禁用坚硬物敲刮板面及裁口方木阳角;对操作面的模板要及时维修,当板面有划痕、碰伤或其他较轻缺陷时,应用专用腻子嵌平、磨光,并刷BD-01环氧木模保护剂,多层板一般周转次数为6次,当拆下的模板四周破坏、四边板开裂分层时,将模板破损部分切掉四周刷封边漆,然后重复利用。
5.8.3大钢模板角模维修
阴阳角模、异型角模存放于专用插放架里,存放地点硬化、平稳且下垫100×100㎜方木。角模拆除后若有扭曲变形,在平整场地进行校正、标识。
6.模板安装允许偏差及检验方法
序号 | 项目 | 允许偏差(㎜) | 检查方法 |
1 | 基础轴线位移 | 5 | 尺量检查 |
2 | 柱、墙、梁轴线位移 | 3 | 尺量检查 |
3 | 标高 | ±2、-5 | 水准仪或拉线和尺量检查 |
4 | 基础截面尺寸 | ±10 | 尺量检查 |
5 | 柱、墙、梁截面尺寸 | +2、-5 | 尺量检查 |
6 | 每层垂直度 | 3 | 线垂或2m托线板检查 |
7 | 相邻两块表面高低差 | 1 | 用直尺和尺量检查 |
8 | 表面平整度 | 3 | 用2m靠尺和楔形塞尺检查 |
9 | 预埋件中心线位移 | 3 | 拉线尺量检查 |
10 | 预埋管预留孔中心线位移 | 3 | 拉线尺量检查 |
11 | 预埋螺栓中心线位移 | 2 | 拉线尺量检查 |
12 | 预埋螺栓外漏长度 | +10、0 | 拉线尺量检查 |
13 | 预留洞口中心线位移 | 10 | 拉线尺量检查 |
14 | 预留洞口截面内部尺寸 | +10、0 | 拉线尺量检查 |
7.注意事项
7.1一般要点
7.1.1模板上架设电线和使用电动工具采用36V的低压电源。
7.1.2登高作业时,各种配件放在工具箱内或工具袋内,严禁放在模板或脚手架上。
7.1.3装拆施工时,上下有人接应,随拆随运转,并把活动部件固定牢靠,严禁堆放在脚手板上或抛掷。
7.1.4设防雷击措施。
7.1.5安装墙柱模板时,随时支撑固定,防止倾覆。
7.1.6预拼装模板的安装,边就位、边校正、边安设连接件,并加临时支撑稳固。
7.1.7拆除承重模板,设临时支撑,防止突然整块塌落。
7.1.8在架空输电线路下面安装和拆除组合模板时,吊机起重臂、吊物、钢丝绳、外脚手架和操作人员等与架空线路的最小安全距离符合下表要求
外电显露电压 | 1KV以下 | 1~10KV | 35~110KV | 154~220KV | 330~500KV |
最小安全操作距离(m) | 4 | 6 | 8 | 10 | 15 |
7.1.9安装整块柱模板,不得将柱子钢筋代替临时支撑。
7.1.10吊装模板时,必须在模板就位并连接牢固后方可脱钩,并严格遵守吊装机械使用安全有关规定。
7.1.11拆除模板时由专人指挥和切实可靠的安全措施,并在下面标出作业区,严禁非操作人员进入作业区。操作人员佩挂好安全带,禁止站在模板的横杆上操作,拆下的模板集中吊运,并多点捆牢,不准向下乱扔。拆模间歇时,将活动的模板、拉杆、支撑等固定牢固,严防突然掉落、倒塌伤人。
7.1.12拆模起吊前,复查拆墙螺栓是否拆净,再确定无遣漏且模板与墙体完全脱离方可吊起。
7.1.13雨、雪及五级大风等天气情况下禁止施工。
7.1.14基础及地下工程模板安装时,先检查基坑土壁、壁边坡的稳定情况,发现有滑坡、塌方危险时,必须先采取有效加固措施后方可施工。
7.1.15操作人员上下基坑要设扶梯。基坑上口边缘1米以内不允许堆放模板构件和材料,模板支在护壁时,必须在支点上加垫块。
7.1.16模板设置时不得压有电线、气焊管线等。
7.1.17大模板放置角度大于其自稳角。
7.1.18模板安装时采取触电保护措施,操作人员带绝缘手套穿绝缘鞋。模板安装就位后由专人将大模板串联起来,并与避雷网接通,防止漏电伤人。
7.1.19清理模板和涂刷大模板隔离剂时,必须将模板支撑牢固,两板中间保持不少于60㎝的走道。
7.2大模板堆放要求
7.2.1平模立放满足75-80度自稳角要求,采用两块大模板板面对板面对放,中间留出50㎝宽作业通道,模板上方用拉杆固定。
7.2.2没有支撑或自稳角不足的大模板(阴阳角模、异型角模)存放于专用插放架里,存放地点硬化,平稳且下垫100×100㎜方木。
7.2.3大模板按编号分类码放。
7.2.4存放于施工楼层上的大模板必须有可靠的防倾倒措施,不得沿建筑物周边放置,要垂直
模板工程施工安全要点
一、施工方案
1、模板工程的施工方案内容编制完成后,须经上一级技术负责人审批签字后方可实施。
2、方案内容包括:模板及支撑的设计、制作、安装和拆除的施工程序、作业条件以及运输、堆放的要求及根据混凝土输送方法制定的有针对性的安全、防火措施等。
二、支撑系统
1、模板支撑系统的设计应包括:设计计算书及细部构造大样图,材料的规格尺寸、接头方法、间距及剪力撑的设置等均应绘制施工详图。
2、支撑系统的选材及安装应按设计要求进行,支撑在安装过程中应考虑必要的临时固定措施,以保证其稳定性。
三、立柱稳定
1、木立柱应选用质地坚韧、无腐朽、无扭裂、无劈裂且平直的材料;钢立柱应符合国家现行规范A3钢的标准。
2、立柱底部垫板应平整、垫板长度至少应能承受两根立柱,并应确保垫板的强度和稳定性。严禁在立柱底部垫砖。
3、为保证立柱的整体稳定,应在安装立柱的同时,加设水平支撑和剪刀撑。立柱高度大于2米,应设两道水平支撑,满堂模板立柱的水平支撑必须纵横双向设置,其支架立柱四边及中间每隔四跨立柱设置一纵向剪刀撑。
4、立柱的间距应经计算确定,按施工方案的要求进行,若采用多层支模,上下层立柱要垂直,并应在同一垂直线上。
四、施工荷载
1、模板上施工荷载不得超过设计规定。
2、模板上堆料和施工设备应合理分散堆放,禁止集中堆放,尤其是滑模,爬模等模板的施工,应使每个提升设备的荷载相差不大,保持模板平稳上升。
五、模板存放
1、大模板应存放在经专门设计的存放架上,应采用面对面存放,必须保证地面平整坚实,应满足其稳定角,并有可靠的防倾倒措施。
2、各类模板应按规格分类堆放整齐,高度一般不超过1.6米。
六、支拆模板
1、支拆3米以上高度模板时,应搭设脚手架工作台,不足3米的可用移支式高凳,不准站在拉杆、支撑杆上操作,也不准在梁底模板上行走操作。
2、拆除模板作业比较危险,为防止落物伤人,应设置警戒线有明显标志,并设专门监护人员。
3、模板拆除应按区域逐块进行,定型模板拆除不得大面积撬落,严禁随意抛掷,不得留有未拆净的悬空楼板。
七、模板验收
1、模板拆除前必须确认混凝土强度达到规定强度后,并经拆模申请,批准后方可进行。
2、模板工程安装后,应由现场技术负责人组织,按照方案进行验收,并将结果逐项认真填写,并记录存在问题和整改后达到合格的情况。
3、模板安装和拆除之前,必须按施工方案进行安全技术交底,确保施工过程的安全。
八、混凝土强度
1、现浇整体模板拆除之前,应查阅混凝土强度试验报告,必须达到拆模强度时方可进行;滑升模板提升时的混凝土强度必须达到方案的要求时方可进行。
2、承重结构应按照不同的跨度确定其拆模强度。
九、运输道路
1、混凝土运送小车道应垫板,不得直接在模板上运行,当须在钢筋网上通过时,必须搭行车通道。
2、运输小车的通道应坚固稳定,脚手板应铺平绑牢,便于小车运行,通道两侧因设置防护栏杆及挡脚板。
十、作业环境
1、安装、拆除模板以及浇筑混凝土作业人员的作业区域内,应按高处作业的有关规定,设置临边防护和孔洞封闭严措施。
2、交叉作业避免在同一垂直作业面进行,否则应按规定设置隔离保护措施。
木模板工程施工方案实例二
廊坊市开发区福斯特建筑工程有限公司
编制日期: 年 月 日
一、工程概况
序号 | 项 目 | 内 容 |
1 | 工程名称 | 廊坊市锦绣家园牡丹苑高层住宅1#楼 |
2 | 建设单位 | 荣盛房地产发展股份有限公司 |
3 | 设计单位 | 中国建筑科学研究院建筑设计院 |
4 | 勘察单位 | 廊坊地矿地质勘察院 |
5 | 监理单位 | 廊坊市工程建设监理公司 |
6 | 监督单位 | 廊坊市建设工程质量监督站 |
7 | 施工单位 | 河北荣盛建筑安装工程集团有限公司四分公司 |
8 | 施工范围 | 施工图中全部 |
9 | 结构形式 | 全剪力墙结构 |
10 | 建筑面积 | 8613.8㎡ |
11 | 层 数 | 地上十二层、地下一层 |
12 | 基底标高 | -4.66m |
13 | 基础形式 | 满堂基础 |
二、编制依据:
1、施工图纸
图纸名称 | 图 纸 内 容 | 设 计 单 位 |
建筑图 | 274/1—274/30 | 中国建筑科学研究院建筑设计院 |
结构图 | 274/1至274/64 | 中国建筑科学研究院建筑设计院 |
2、主要标准、规程
序号 | 规范、规程名称 | 规范编号 |
1 | 混凝土结构工程施工质量验收规范 | GB50204-2002 |
2 | 建筑工程冬期施工规程 | JGJ104-97 |
3、施工组织设计
施 组 名 称 | 编 制 日 期 | 编制人 |
锦绣家园牡丹苑1#楼工程 施工组织设计 | 2002.11.01 | 彭治淮 |
三、施工准备
1、技术准备
项目部组织技术、质量、生产人员熟悉图纸,认真学习掌握施工图的内容、要求和特点
2、材料及主要机具:
(1)清水竹胶合板:规格为:2440×1220×11mm,材料进场时要检验胶合板厚度,要求厚度偏差为±1mm。
(2)支撑系统:Ø48脚手管、U托、木龙骨(龙骨规格:50×100mm;100×100mm),长4m,要求过压刨,薄厚一致。
(3)脱模剂:油质隔离剂。
(4)工具:铁木榔头、活动(套口)扳手、水平尺、钢卷尺、轻便爬梯等。
四、构造要求及技术措施
全剪力墙结构工程,模板是关键,为确保工程质量。我们均采用清水竹胶合板支设体系,梁板结构采用满堂钢管架支撑,清水竹胶板支设。整层梁板结构竹胶合板模及支撑架体系分别按三层配制,以便保证楼层模板使用的周转需要。
1.模板的设计原则及要求
(1)基本要求
模板必须尺寸准确,板面平整;具有足够的承载力、刚度和稳定性,能可靠地承受新浇筑混凝土的自重和侧压力,以及施工荷载;构造简单,装拆方便,并便于钢筋的绑扎、安装和混凝土的浇筑、养护等要求。在满足塔吊起重量要求、施工便利和经济的条件下,应尽可能扩大模板面积、减少拼缝。
(2)模板要有计算、有措施、有方案
依据新浇筑混凝土的自重或侧压力及施工荷载的有关数据和标准计算,确定模板体系、措施和施工方案。
①模板设计中必须要有模板体系的计算,计算内容应包括以下几项:
1)混凝土侧压及荷载计算;
2)板面承载力及刚度验算;
3)次龙骨承载力及刚度验算;
4)主龙骨承载力及刚度的验算;
5)穿墙螺栓承载力的验算(对板模要有支撑体系的验算);
6)清水竹胶合竹模板自稳角的验算。
②模板及其支架设计应考虑的荷载有:
1)模板及其支架自重;
2)新浇筑混凝土自重;
3)钢筋自重;
4)施工人员及施工设备荷载;
5)振捣混凝土时产生的荷载;
6)新浇混凝土对模板侧面的压力;
7)倾倒混凝土时产生的荷载。
(3)关键部位模板的技术要求
除整体的配模要求外,模板设计的重点应放在阴阳角接口、楼层间过渡节点、底部节点、门窗洞口、电梯井筒等一些特殊部位的模板设计上,以保证洞口方正,尺寸准确、层间过渡自然。模板设计中还应注意各种接缝的处理,做到不变形、不跑位、不胀模、不漏浆。对于墙柱模板在配模过程中还应注意穿墙螺栓的布置,应与模板背楞的刚度相配合,特别注意其与上、下口及门窗洞口处间距不宜过大,避免胀模及漏浆的现象。
(4)模板的堆放、清理及脱模剂的应用
①模板应面对面堆放,堆放场地应平整,模板按计算的自稳角放置;
②模板清理必须及时将粘结的混凝土块剔除干净,表面浮砂和灰尘清扫干净;
③脱模剂的选用必须根据所用模板而定。钢模用油性脱模剂,木模采用水性脱模剂。脱模剂的涂刷应均匀,不漏涂,涂刷不得出现流坠现象,经雨雪后应重新涂刷一遍。
2.模板体系的选用
(1)楼板采用光面清水竹胶合板,木龙骨组成。
(2)采用竹胶合板大模拼装,满堂架加固措施的施工方法。
(3)支撑:采用钢管脚手架支撑体系,具有装拆方便、快捷、省工省料的特点,支撑下要加垫木方,支撑立杆根据放线确定并上下层对齐搭设,确保受力均匀合理。
3.模板的安装
支模前必须搭好相关脚手架,电梯井筒模每层施工完后,安装封堵式防护门,并且筒内每三层设置水平安全网(通过在墙体上预埋钢筋固定)。浇筑混凝土前必须检查支撑是否可靠、扣件是否松动,发现问题及时处理。
(1)立模前的准备工作
①安装放线:模板安装前先测放控制轴线网和模板控制线。根据平面控制轴线网,在防水保护层或楼板上放出墙、柱边线和检查控制线,待竖向钢筋绑扎完成后,在每层竖向主筋上部标出标高控制点。
②模板安装前首先检查模板的杂物清理情况、浮浆清理情况、板面修整情况、脱模剂涂刷情况等。
③在梁端部、柱根角部,剪力墙转角处留置清扫口,顶板浇筑前将模板、钢筋上的杂物用高压气泵清理干净。
④上道工序验收完毕,签字齐全。
⑤按要求安装好门、窗洞口模板。
⑥防止模板漏浆、烂根、错位等的设施安装完毕。
⑦现浇结构模板的安装放线及允许偏差要求见下表。
(2)基础与墙水平施工缝沿底板外围采用竹胶合板支设,钢管方木支撑加固,外墙施工缝采用吊模高出底板面≥250,简图如下:

注意:①吊模的加固必须牢固,防止下部模板外胀;②止水企口缝用10×10cm的方木在外墙支设。
地下室墙采用竹胶合板双排钢管架加固体系,对拉螺栓采用ø12螺栓中间加止水片。模板底部用水泥砂浆提前封堵,板缝拼接用胶条封闭挂线校正,保证墙面垂直度在3mm以内,轴线位移不超过5mm,保证模板顶面高度±10mm以内。
⑶标准层内剪力墙清水竹胶合板模板安装(如图)。
(4)标准层外剪力墙模板安装简图

(5)窗洞口模板见图3

(6)门洞口模板见图4

(7)梁板模板图见下图
(8)材料要求
①材料:清水墙光面竹胶合板厚10~12mm,背楞方木100×100,加固钢管使用脚手架管,穿墙罗杆
12元钢加工两端开丝,配套螺母、3形件。
②模板的配制,按照图纸要求,最好整面墙配一块,但最大长度不超过4m,方便吊装和拆除,竹胶合板面,拼缝严密,最大缝隙控制在2mm以内,板面平整光滑,钉帽不得凸出板面,穿墙罗栓孔
12罗杆可钻
12.5孔,防止孔大漏浆。要孔洞间距均匀,内外模板孔对称。
大墙转角和丁字墙处应加工阴角模和阳角模,宽度模数取300、600,转角模缝隙应加密封条,防止漏浆。
③模板安装:模板安装前,应在剪力墙钢筋底部高10~15cm处竖向水平间距均为1.5~2m的模板限位筋,限位筋用≥
12钢筋焊接,钢筋限位的宽度比墙厚小2mm,满足混凝土侧压变形量要求,对大墙面由多块模板拼接,或与内外角模连接时,拼缝应顺直,不得有错台,缝隙必须用海棉压条封密,外墙外模上下层接缝处应加密封条。模板就位后,先将根部按照放好墙边线或控制线校正一面,在安装校正另一面,借用内架加固,模板校正加固后,底部提前用砂浆封堵,有一定强度后方可浇筑混凝土。
标准板最小宽度为600mm,最大宽度为3000mm。其特点是组拼灵活,通用性强,重复使用率高,能适用不同开间进深的建筑结构,节省开支。
④模板质量允许偏差和检查方法
模板质量允许偏差(mm)
序号 | 名称 | 允许偏差(mm) | 检查方法 |
1 | 模板高度 | ±2 | 钢卷尺 |
2 | 模板宽度 | ±2 | 钢卷尺 |
3 | 对角线 | 3 | 钢卷尺 |
4 | 板面平整度 | 2 | 2米靠尺、塞尺 |
5 | 相邻板面高低差 | 1 | 2米靠尺、塞尺 |
6 | 边框平直度 | ±1 | 3米靠尺、塞尺 |
7 | 模板翘曲度 | L/1000 | 在平台上对角拉线 |
8 | 模板拼装后接缝宽度 | 1 | 塞尺 |
9 | 穿墙螺栓孔眼位置 | 1 | 钢尺 |
10 | 油漆 | 无漏涂无流淌 | 目测 |
模板安装允许偏差(mm)
项次 | 项目 | 允许偏差值(mm) | 检查方法 | ||
1 | 轴线位移 | 基础 | 5 | 尺量 | |
柱、墙、梁 | 3 | ||||
2 | 标高 | ±3 | 水准仪或拉线尺量 | ||
3 | 截面尺寸 | 基础 | ±5 | 尺量 | |
柱、墙、梁 | ±2 | ||||
4 | 每层垂直度 | 3 | 2m托线板 | ||
5 | 相邻两板表面高低差 | 2 | 直尺、尺量 | ||
6 | 表面平整度 | 2 | 2m靠尺、楔形塞尺 | ||
7 | 阴阳角 | 方正 | 2 | 5m线尺 | |
顺直 | 2 | ||||
8 | 预埋铁件、预埋管、螺栓 | 中心线位移 | 2 | 拉线、尺量 | |
螺栓中心线位移 | 2 | ||||
螺栓外露长度 | +10,-0 | ||||
9 | 预留孔洞 | 中心线位移 | 5 | 拉线、尺量 | |
内孔洞尺寸 | +5,-0 | ||||
10 | 门窗洞口 | 中心线位移 | 3 | 拉线、尺量 | |
宽、高 | ±5 | ||||
对角线 | 6 | ||||
⑷模板拆除工艺流程
①浇筑外墙混凝土时,在外墙外模板内侧,内板上部安装导墙木板。
②模板拆除时,结构混凝土强度应符合设计要求或规范规定。侧模以混凝土强度能保证其表面及棱角不因拆模而受损坏时,即可拆除。模板拆模保证墙体混凝土强度不小于1.2N/mm2时方可进行此顶工作。
③梁、板模拆除,当设计无要求时,可按以下混凝土强度拆除底模板:
现浇结构拆模时所需混凝土强度
结构类型 | 结构跨度(m) | 按设计的混凝土强度标准值百分率计(%) |
板 | ≤2 | ≥50 |
>2,≤8 | ≥75 | |
>8 | ≥100 | |
梁、拱、壳 | ≤8 | ≥75 |
>8 | ≥100 | |
悬臂构件 |
| ≥100 |
注:本规定中“设计的混凝土强度标准值”系指与设计混凝土强度等级相应的混凝土。
④拆模时,混凝土强度必须达到上表强度要求方可拆除。
⑤结构拆除底模后,其结构上部应严格控制堆放料具及施工荷载。必要时应经过核算或加设临时支撑。悬挑结构,均应加临时支撑。
⑥拆下的模板及附件应及时维修保养,清理干净刷油或脱模剂,并分类整齐堆放
⑸梁、板模板安装:
①板利用满堂架支撑,满堂架搭设要求:立杆间距不大于1m,水平杆步距不大于1.2m,且不少于3道,在立杆顶端加U托,托住主龙骨。要求主龙骨用70mm×100mm方木沿开间长向设置,间距不大于1m(按立杆及U托设置),次龙骨用50mm×100mm方木放在主龙骨上并垂直主龙骨放置。光面竹胶板铺钉在次龙骨上,要求板面平整光滑,板缝用海棉条贴严。
②板与墙接触处阴角做法:为防止出现错台,浇墙混凝土时适当将墙内侧混凝土浇高出楼板底标高5-10mm,支楼板模时沿墙设置一道50×100方木,在铺钉光面胶合板与墙接触缝用海棉条封实,防止漏浆。
③梁模支设:梁底模,侧面模可提前配好,只将梁底铺设在已调好的满堂架水平杆上,扎好钢筋后在支设梁侧面,用短钢管加固,梁板模安装如下简图:
⑹模板工程质量保证措施
①冬期施工模板多采用聚苯板保温,在混凝土浇筑后用草帘被覆盖,要求覆盖牢固,特别是迎风面、结构转角易散热处适当增强保温措施,并依据测温情况适当调整或增强保温措施。
②墙柱烂根的处理
1)传统做法为在墙柱模板支设后用砂浆或其他材料填堵,漏浆烂根现象仍无法全部根除,反而有时会造成夹渣现象。
2)墙、柱根部采用抹砂浆台和加设海绵条或橡胶软管的办法,基本上能解决漏浆的问题,但砂浆强度不易保证,剔除后不美观,且费工费料。
3)采取在浇筑顶板混凝土时在墙、柱根部支设模板处分别用4米和2米刮杠刮平,并控制墙体两侧及柱四周板标高,标高偏差控制在2mm以内,并用铁抹子找平,支模时加设海绵条或橡胶软管的办法可取得较理想的效果。
(4)模板漏浆处理
①顶板模板和墙体的接缝处理
1)可采用在墙体混凝土浇筑时控制浇筑高度的办法处理,即墙体混凝土浇筑时高出楼板底标高8~12cm,在剔除8~10cm浮浆后将顶板边木方靠紧墙体后支设顶板模。
2)顶板与墙体的接缝处,如果将顶板直接靠墙上,容易造成接缝过大导致漏浆,另一种成熟的作法是用带企口的木方代替板模,在木方上留一个宽25mm、深15mm的企口,顶板模板搭在企口上,顶板模与木方接触处垫上海棉条,防止漏浆,木方用夹具夹紧在墙面上,见下图:

③木模板施工,上下层楼板接缝处容易出现漏浆现象,可在外墙外侧浇筑导墙,其高度与楼板厚度相同,作为楼板浇筑时的侧模,并在模板外侧加焊5个厚的钢板控制负偏差。
④模板拼缝内侧用海棉条镶嵌,挤紧防止漏浆。
(5)防止胀模、位移可采取的措施
①控制模板设计强度。
②加密背楞。
③模板支设前放好定位线、控制线。
④墙柱模板安装就位前采取定位措施。
(6)成品保护措施
①吊装模板时轻放轻起,不准碰坏已完成的结构,并注意防止模板变形。
②严禁用大锤砸或撬棍硬撬门窗框模板,应松螺丝拆卸,以免损伤混凝土表面及棱角。
③模板的堆放、清理和修理。模板拆除后,立即对模板的板面及缝隙进行全面彻底清理,保证下次使用不出现粘模现象。模板使用后要进行维修清理,如模板清理、变形的校正、模板配件的更换等。
五、安全措施
1、进入施工现场人员必须带好安全帽,高空作业人员必须佩带安全带,并应系牢;
2、工作前应先检查使用的工具是否牢固,扳手等工具必须用绳链系挂在身上,钉子必须放在工具袋内,以免掉落伤人。工作时要思想集中,防止钉子扎脚和空中落物;
3、高空、复杂结构模板的安装与拆除,事先应有切实上午安全措施;
4、遇六级及其以上的大风时,应暂停室外的高空作业,雪霜雨后应先清扫施工现场,略干不滑时再进行作业;
5、二人抬运模板时要互相配合、协同工作。传递模板,工具应用运输工具或绳子系牢后升降,不得乱抛。模板及配件应随装拆运送,严禁从高处掷下,高空拆模时,应有专人指挥。并在下面标出工作区,用绳子和红白旗加以围栏,暂停人员过往;
6、不得在脚手架上堆放大批模板等材料;
7、支模过程中,如需中途停歇,用将支撑、搭头、柱头板等钉牢。拆模间歇时,应将已活动的模板、牵杠、支撑等运走或妥善堆放,防止因踏空、扶空而坠落;
8、模板上有预留洞的应在安装后将洞口盖好,混凝土板上的预留洞,应在模板拆除后即将洞口盖好;
9、拆除模板一般用长撬棍,人不许站在正在拆除的模板上,在拆除楼板模板时要注意整块模板掉下,拆模人员要站在门窗洞口外拉支撑,防止模板突然全部掉落伤人;
10、装、拆模板时禁止使用2×4”木料做脚手架板;
11、高空作业要搭设脚手架或操作台,上、下要使用梯子,不许站立在墙上工作;不准站在大梁底模上行走。操作人员严禁穿硬底鞋及有跟鞋作业;
12、装、拆模板时,作业人员要站立在安全地点进行操作,防止上下在同一垂直面上工作;操作人员要主动避让吊物,增强自我保护和相互保护的安全意识;
13、拆模必须一次性拆清,不得留下无支撑模板。拆下的模板要及时清理,堆放整齐;
14、拆模时,临时脚手架必须牢固,不得用拆下的模板做脚手板。脚手板搁置必须牢固平整,不得有空头板,以防踏空坠落;
15、在施工过程中如发现其它不安全因素,可在重复交底时再补充交底内容。
全钢大模板施工方案实例三
××××××建筑工程有限公司
编制日期: 年 月 日
脚手架工程施工方案实例一
(架高>50m需计算)
××××××建筑工程有限公司
编制日期: 年 月 日
1.编制依据
1.1施工图纸
图纸名称 | 图纸内容 | 工程号 | 归档日期 | 设计单位 |
|
|
|
|
|
|
|
|
|
|
1.2主要规范、规程
序号 | 规范、规程名称 | 发布日期 | 施行日期 | 规范规程编号 |
1 | 建筑施工扣件式钢管脚手架安全技术规范 | 2001.1 | 2001.6 | JGJ130-2001 |
2 | 建筑施工高处作业安全技术规范 | 1992.1 | 1992.8.1 | JGJ80-91 |
3 | 建筑施工安全检查标准 | 1993.1 | 1999.5.1 | JGJ59-99 |
4 | ××市建筑工程施工安全操作规程 |
|
|
|
1.3施工组织设计
施组名称 | 编制日期 | 编制人 |
××工程施工组织设计 | ××年×月 | ××× |
1.4参考图书
序号 | 图书名称 | 出版日期 |
1 | 建筑施工手册(第四版) | 2003.9 |
2 | 简明施工计算手册 | 1999.7 |
3 | 实用建筑施工安全手册 | 1999.7 |
4 | 建筑施工脚手架实用手册 | 1994.5 |
2.工程概况
2.1工程简介
序号 | 项目 | 内容 | |
1 | 工程名称 | ××工程 | |
2 | 工程地址 | ××区××路 | |
3 | 建设单位 | ××房地产开发股份有限公司 | |
4 | 设计单位 | ××设计院 | |
5 | 监理单位 | ××工程监理公司 | |
6 | 监督单位 | ××质量监督站 | |
7 | 施工单位 | ××建设工程有限公司 | |
8 | 基本情况 | 工期 | 质量目标 |
××天 | ××× | ||
3.施工部署
3.1安全防护领导小组
安全生产、文明施工是企业生存与发展的前提条件,是达到无重大伤亡事故的必然保障,也是我项目部创建“文明现场”、“样板工地”的根本要求。为此项目经理部成立以生产副经理为组长的安全防护领导小组,其机构组成、人员编制及责任分工如下:
组 长:×××(生产副经理)——负责协调工作
副组长:×××(技术部经理)——技术总部署
×××(工程部经理)——现场施工总指挥
组 员:×××、×××(技术员)——方案编制、技术交底
×××(栋号长)——现场施工协调
×××(安全员)——现场施工指挥、质量检查
3.2设计总体思路
结合本工程结构形式、实际施工特点,建筑物四周搭设落地式、全高全封闭的扣件式双排钢管脚手架。此架为一架三用,既用于结构施工和装修施工,同时兼作安全防护。荷载按装修荷载考虑,要求三层同时作业。根据设计单位提供的顶板承载极限值(活荷载5KN/㎡、恒荷载6KN/㎡)要进行顶板承载验算,若不满足要求,则须在地下1-2层的相应部位设回撑用的碗扣式钢管脚手架支撑。
脚手架搭设采用双排双立杆。立杆距结构外沿0.35米,排距(横距)为1.1米、柱距为1.55米,大横杆步距为1.80米。
4.构造要求及技术措施
4.1扣件式钢管脚手架的构造要求及技术措施
4.1.1地基处理:
肥槽回填土采用2:8灰土分层夯实,密实度采用环刀取样进行试验,表面用C10混凝土进行硬化,厚度为100㎜。四周外脚手架以硬化的回填土作业基础,所有的基础必须平整。基础上、底座下设置垫板,其厚度不小于50㎜,布设必须平稳,不得悬空。并在四周距脚手架外立杆50㎝处设一浅排水沟。
4.1.2立杆:
全楼脚手架采用双排双立杆,立杆顶端高出结构檐口上皮1.5米,双立杆应采用双管底座。
立杆接头采用对接扣件连接,立杆与横杆采用直角扣件连接。接头交错布置,两个相邻立柱接头避免出现在同步同跨内,并在高度方向错开的距离不小于50㎝;各接头中心距主节点的距离不大于60㎝。
4.1.3大横杆:
大横杆置于小横杆之下,在立柱的内侧,用直角扣件与立柱扣紧;其长度大于3跨、不小于6米,同一步大横杆四周要交圈。
大横杆采用对接扣件连接,其接头交错布置,不在同步、同跨内。相邻接头水平距离不小于50㎝,各接头距立杆的距离不大于50㎝。
4.1.4小横杆:
每一立杆与大横杆相交处(即主节点),都必须设置一根小横杆,并采用直角扣件扣紧在大横杆上,该杆轴线偏离主节点的距离不大于15㎝。小横杆间距应与立杆柱距相同,且根据作业层脚手板搭设的需要,可在两立柱之间在等间距设置增设1-2根小横杆,其最大间距不大于75㎝。
小横杆伸出外排大横杆边缘距离不小于10㎝;伸出里排大横杆距结构外边缘15㎝,且长度不大于44㎝。上、下层小横杆应在立杆处错开布置,同层的相邻小横杆在立柱处相向布置。
4.1.5纵、横向扫地杆:
纵向扫地杆采用直角扣件固定在距底座下皮20㎝处的立杆上,横向扫地杆则用直角扣件固定在紧靠纵向扫地杆下方的立柱上。北侧裙房顶板存在较大高差,则将高处的纵向扫地杆向低处延长两跨与立柱固定。靠边坡的立柱轴线到边坡的距离不小于50㎝,并对此立杆采取双向斜拉架固定措施。
4.1.6剪刀撑:
本脚手架采用剪刀撑与横向斜撑相结合的方式,随立柱、纵横向水平杆同步搭设,用通长剪刀撑10㎝沿架高连续布置。双立杆部位采用双杆通长剪刀撑,单立杆部位则采用单杆通长剪刀撑。
剪刀撑每6步4跨设置一道,斜杆与地面的夹角在45-60度之间。斜杆相交点处于同一条直线上,并沿架高连续布置。剪刀撑的一根斜杆扣在立柱上,另一根斜杆扣在小横杆伸出的端头上,两端分别用旋转扣件固定,在其中间增加2-4个扣结点。所有固定点距主节点距离不大于15㎝。最下部的斜杆与立杆的连接点距地面的高度控制在30㎝内。
剪刀撑的杆件连接采用搭接,其搭接长度≥100㎝,并用不少于2个旋转扣件固定,端部扣件盖板的边缘至杆端的距离≥10㎝。
横向斜撑搭设在主楼脚手架部位,在同节内由底层至顶层呈“之’字型,外排立柱之间上下连续布置,斜杆应采用旋转扣件固定在与之相交的立柱或横向水平杆的伸出端上。除拐角处横向斜撑处,中间应每隔6跨设置一道。
4.1.7脚手架
脚手板采用松木,厚5㎝、宽35-45㎝、长度不少于3.5米的硬木板。在作业层下部架设一道水平兜网,随作业层上升,同时作业不超过两层。首层满铺一层脚手板,以上每隔六层也要满铺一层脚手板,并设置安全网及防护栏杆。
脚手板设置在3根横向水平杆上,并在两端8㎝处用直径1.2㎜的镀锌铁丝箍绕2-3圈固定。当脚手板长度小于2米时,可采用两根小横杆,各杆距接缝的距离均不大于15㎝。靠墙一侧的脚手板离墙的距离不应大于15㎝。拐角处两个方向的脚手板应重叠放置,避免出现探头及空档现象。
4.1.8连墙件
连墙件采用刚性连接,垂直间距为3.60米,水平间距为4.05米。连墙杆用φ48×3.5的钢管,它与脚手架、建筑物的连接采用直角扣件。
在结构每一外框架处设一组双杆箍柱式拉杆与框架柱拉结。在顶板上两框架柱间中点处,距结构外皮1.5米处预埋HRB335钢筋(加工尺寸与悬挑架预埋件相同),用φ48×3.5的钢管与脚手架可靠拉结。14层以上没有框架柱的地方则以圆柱代替,同时在两圆柱中间增设一道上述拉结。在脚手架的转角处,于框架柱上双向设置上述箍柱式拉杆。在建筑物的首层设置两道连墙杆。
连墙杆横竖向顺序排列、均匀布置,与架体和结构立面垂直,并尽量靠近主节点(距主节点的距离不大于30㎝)。连墙杆伸出扣件的距离应大于10㎝。底部第一根大横杆就开始布置连墙杆,靠近框架柱的小横杆可直接作连墙杆用。
4.1.9防护设施
脚手架要满挂全封闭式密目安全网。密目网采用1.8×6.0米的规格,用网绳绑扎在大横杆外立杆里侧。作业层网应高于平台1.2米,作业层下步架处设一道水平兜网。在架内高度3.6米处设首层平网,往上每隔5步距设隔层平网,施工层应设随层网。
作业层脚手架立杆于0.6米及1.2米处设有两道防护栏杆,底部侧面设18㎝高的挡脚板。
4.2卸料平台
从经济、实用的角度考虑,卸料平台设计为悬挑式型钢平台,两楼各制作2个,规格为5.0×4.5×1.5米(长×宽×高)悬挑长度为3米。平台上要设有限定荷载标牌,本工程卸料平台限重为1.5t。
主梁、次梁分别采用[十字钢、十槽钢,所有构件均为螺栓连接,即为铰接。防护栏采用φ48×3.5钢管,分别在高75㎝、150㎝处设立两道,并与四周工字钢焊接。四周工字钢外侧面及防护栏均刷红白相间的油漆标识,并满布密目安全网。平台每侧设两根6×19、φ20钢丝绳,每根绳设夹具不少于3个。钢丝绳与卸料平台钢管架接触处垫橡胶胶皮,以缓冲钢丝绳的拉力。钢丝绳通过梁上侧模对拉螺栓孔连接,但两根钢丝绳不得拉结于同一个对拉螺栓孔,并且预留的梁上预留的孔洞要保证能让上述钢丝绳穿过。平台底面设5㎝厚的脚手板,满铺、铺牢,两端用8号镀锌铁丝捆紧,并在四周设18㎝高的踢脚板。
卸料平台自4层至9层每层设一个。
4.3脚手架出入口的构造
该出入口设在9轴~10轴之间,挑空两根立杆、跨越三步三跨,大小为4.5×5.4米(宽×高)。出入口处再搭设6×4.5×6(长×宽×高)的防护棚,上铺50㎜厚的双层脚手板。
在出入口两侧的内、外排单立杆处分别增设一根辅立杆,并高于门洞口1-2步,立柱用短管斜撑相互联系。上方悬空立柱处增加两根斜杆,斜杆与各主节点相交处用扣件固定。洞口上方增设两道横向支撑,应伸出斜腹杆的端部,以保证立柱悬空处的整体性。门洞两侧分别增加两根15㎝内。当斜腹杆在1跨内跨越2个步距时,应在相交的大横杆处增设一根小横杆,将斜腹杆固定在其伸出端上;斜腹杆宜采用通长杆件,接长时用对接扣件连接。
5、安全防护措施
5.1电梯井洞口设置不低于1.2米高的开启式防护门,用φ12的螺纹钢筋按水平间距30㎝、竖向间距40㎝焊制而成,并在防护门上要刷漆、上锁、挂牌。
电梯井筒内每隔一层在入口处设置一个用φ25钢筋、钢管及木板搭设的平台,中间一层用钢筋支托安全网一道,网上及平台上均不得存有杂物。电梯井内不准做垂直运输通道或垃圾通道。
5.2结构临边防护措施
在结构四周边线内50㎝处设置全封闭式护身栏,使用材料均采用φ48×3.5钢管。其高度不低于1.2米,立杆间距不大于2.5米,竖向每隔0.6米设一通长大横杆,每隔一根立杆设一道三脚架。
沿钢管长度方向刷红白间隔的油漆,挂醒目标志牌;护身栏杆四周满挂密目安全网,白天设警示牌,夜间设红色标志灯,临边四周1米范围内不准堆料,停放机具。
5.3楼梯间防护措施
楼梯的侧边利用脚手架做安全防护,架子立管从梯井内搭设,侧边沿楼梯坡度方向做一道1.2米高的护身栏,侧边底部设18㎝高的挡脚板。
5.4防雷避电措施
采用避雷针与大横杆连通,接地线与整幢楼层内避雷系统连成一体的措施。
避雷针共设置4根避雷针,避雷针采用φ12镀锌钢筋制作,高度不小于1米。设置在脚手架四角立杆上,并将所有最上层的大横杆全部连通,形成避雷网。
接地线采用40×4的镀锌扁铁,将立杆与整幢楼层内避雷系统连成一体。接地线的连接应保证接触牢靠,与立杆连接时应用2道螺栓卡箍连接,螺丝加弹簧垫圈以防松动并保证接触角不小于10㎜2,并将表面油漆及氧化层清除,露出金属光泽并涂以中性凡士林。
接地线与建筑物楼层内避雷系统的设置按脚手架的长度不超过50米设置1个,位置不得选在人们经常走到的地方,以避免跨步电压的危害,防止接地线遭机械伤害。两者的连接采用焊接,焊接长度应大于2倍的扁钢宽度。焊完后再用接地电阻测试仪测定电阻,要求冲击电阻不大于10Ω,同时应注意检查与其他金属物或埋地电缆之间的距离(一般不小于3米)以免发生击穿事故。
6、脚手架的搭设及拆除施工工艺
6.1落地式钢管脚手架搭设施工工艺
落地脚手架搭设工艺流程为:场地平整、夯实→基础承载实验、材料配备→定位设置通长脚手板、钢底座→纵向扫地杆→立杆→横向扫地杆→小横杆→大横杆(搁栅)→剪刀撑→连墙杆→铺脚手板→扎防护栏杆→扎安全网。
定距定位。根据构造要求在建筑物四角用尺量出内、外立杆离墙距离,并做好标记。用钢卷尺拉直,分出立杆位置,并用小竹片点出立杆标记。垫板、底座应准确地放在定位线上,垫板必须铺放平稳,不得悬空;双管立柱应采用双管底座,底座下垫枕木,并垂直于墙面设置。
在搭设首层脚手架的过程中,沿四周每框架内设一道斜支撑,拐角处双向增设,待该部位脚手架与主体结构的连墙杆可靠拉结后方可拆除。当脚手架操作层高出连墙件两步时,应采取临时稳定措施,直到连墙件搭设完毕后方可拆除。
双排架宜先立里排立杆,后立外排立杆。每排立杆宜先立两头的,再立中间的一根,互相看齐后,立中间部分各立杆。双排架内、外排两立杆的连线要与墙面垂直。立杆接长时,宜先立外排,后立内排。
其余组件的搭设要求参见构造要求。
6.2悬挑式钢管脚手架的搭设施工工艺
悬挑脚手架的搭设顺序为:水平挑杆→纵向扫地杆→立杆→横向扫地杆→……其后的搭设顺序与落地架相同。
6.3卸料平台的施工工艺
卸料平台加工制作完毕经验收合格后方可吊装。吊装时,先挂好四角的吊钩,传发初次信号,但只能稍稍提升平台,放松斜拉钢丝绳,方可正式吊装,吊钩的四条引绳应等长,保证平台在起吊过程中平稳。吊装至预定位置后,先将平台工字钢与预埋件固定后,再将钢丝绳固定,坚固螺母及钢丝绳卡子,完毕后方可松塔吊吊钩,卸料平台安装完毕后经验收合格后方可使用,卸料平台的限重牌应挂在该平台附近的明显位置。要求提升一次验收一次。
6.4脚手架的拆除施工工艺
拆架程序应遵守由上而下,先搭后拆的原则,即先拆拉杆、脚手板、剪刀撑、斜撑,而后拆小横杆、大横杆、立杆等(一般的拆除顺序为:安全网→栏杆→脚手板→剪刀撑→小横杆→大横杆→立杆)。
不准分立面拆架或在上下两步同时进行拆架。做到一步一清、一杆一清。拆立杆时,要先抱住立杆再拆开最后两个扣。拆除大横杆、斜撑、剪刀撑时,应先拆中间扣件,然后托住中间,再解端头扣。所有连墙杆等必须随脚手架拆除同步下降,严禁先将连墙件整层或数层拆除后再拆脚手架,分段拆除高差不应大于2步,如高差大于2步,应增设连墙件加固。
拆除后架体的稳定性不被破坏,如附墙杆被拆除前,应加设临时支撑防止变形,拆除各标准节时,应防止失稳。
当脚手架拆至下部最后一根长钢管的高度(约6.5米)时,应先在适当位置搭临时抛撑加固,后拆连墙件。
7、劳动力及材料、机具配备
7.1劳动力配备
工 种 | 人 数 | 任 务 |
架子工 | ×× | 负责架子搭设及拆除 |
测量放线工 | ×× | 负责脚手架垂直度控制 |
7.2材料配备
名 称 | 数 量 | 规 格 |
无缝钢管 | ×× | ф48×3.5 |
脚手板 | ×× | 厚5㎝、宽20-30㎜ |
密目安全网 | ×× | 1.8×6.0米 |
水平安全网 | ×× |
|
直角扣件 | ×× |
|
旋转扣件 | ×× |
|
对接扣件 | ×× |
|
钢丝绳 | ×× | 6×19、ф15.5 |
钢丝绳 | ×× | 6×19、ф20.0 |
卡具 | ×× | GD21 |
卡具 | ×× | GD22 |
花篮螺栓 | ×× | M22 |
7.3机具配备
名 称 | 数 量 | 备 注 |
架子扳手 | ×× | 架子工搭设和拆除架子用 |
力矩扳手 | ×× | 检查架子扣件拧紧力度是否达到要求 |
倒链 | ×× | 调整架子水平弯曲度 |
8.质量保证体系
8.1构配件允许偏差
序号 | 项目 | 允许偏差 | 检查工具 |
1 | 无缝钢管尺寸 外径48㎜ 壁厚3.5㎜ |
-0.5 -0.5 | 游标卡尺 |
2 | 钢管两端面切斜偏差△ | 1.70 | 塞尺、拐角尺 |
3 | 钢管外表面锈蚀深度 (△=△1+△2) |
≤0.50 | 游标卡尺 |
4 | 立杆钢管弯曲 3m≤l≤4m 3m≤l≤4m |
≤12 ≤20 | 钢板尺 |
水平杆、斜杆的钢管弯曲 l≤6.5m |
≤30 |
8.2脚手架搭设的允许偏差和检验方法
项次 | 项目 | 技术要求 | 允许偏差(㎜) | 检查方法与工具 | ||||
1 | 地基基础 | 表面 | 坚实平整 |
| 观察 | |||
排水 | 不积水 |
| ||||||
垫板 | 不晃动 |
| ||||||
底座 | 不滑动 不沉降 | -10 | ||||||
2 | 立杆垂直度 | 最后验收垂直度 | - | ±100 | 用经纬仪或吊线和卷尺 | |||
下列脚手架允许水平偏差(㎜) | ||||||||
搭设中检查偏差的高度(㎜) | 总高度 | |||||||
50m | 40m | 20m | ||||||
H=2 | ±7 ±20 ±40 ±60 ±80 ±100 | ±7 ±25 ±50 ±75 ±100 | ±7 ±50 ±100 | |||||
H=10 | ||||||||
H=20 | ||||||||
H=30 | ||||||||
H=40 | ||||||||
H=50 | ||||||||
中间档次用插入法 | ||||||||
3 | 间距 | 步距 | - | ±20 | 钢板尺 | |||
纵距 | ±50 | |||||||
横距 | ±20 | |||||||
4 | 纵向水平杆高差 | 一根杆的两端 | - | ±20 | 水平仪或水平尺 | |||
同跨内两根纵向水平杆高差 | - | ±10 | ||||||
5 | 双排脚手架横向水平杆外伸长度偏差 | 外伸500㎜ | -50 | 钢板尺 | ||||
8.3扣件拧紧抽样检查数目及质量判定标准
项次 | 检查项目 | 安装扣件数量(个) | 抽检数量(个) | 允许的不合格数 |
1 | 连接立杆与纵(横)向水平杆或剪刀撑的扣件;接长立杆、纵向水平杆或剪刀撑的扣件 | ×× | ×× | ×× |
2 | 连接横向水平杆与纵向水平杆的扣件(非主节点处) | ×× | ×× | ×× |
9.安全施工技术措施
9.1材质及其使用的安全技术措施
9.1.1扣件的紧固程度应在40-50N.m,并不大于65N.m,对接扣件的抗拉承载力为3KN。扣件上螺栓保持适当的拧紧程度。
★对接扣件安装时其开口应向内,以防进雨水,直角扣件安装时开口不得向下,以保证安全。
9.1.2各杆件端头伸出扣件盖板边缘的长度不应小于100㎜。
9.1.3钢管有严重锈蚀、压扁或裂纹的不得使用。禁止使用有脆裂、变形、滑丝等现象的扣件。
9.1.4外脚手架严禁钢竹、钢木混搭,禁止扣件、绳索、铁丝、竹篾、塑料混用。
9.1.5严禁将外径48㎜与51㎜的钢管混合使用。
9.2脚手架搭设的安全技术措施
9.2.1脚手架的基础必须经过硬化处理满足承载力要求,做到不积水、不沉陷,顶板基础的混凝土必须达到设计强度的75%以上才能施工。
9.2.2搭设过程中划出工作标志区,禁止行人、统一指挥、上下呼应、动作协调,严禁在无人指挥下作业。当解开与另一人有关的扣件时必先告诉对方,并得到允许,以防坠落伤人。
9.2.3开始搭设立杆时,应每隔6跨设置一根抛撑,直至连墙件安装稳定后,方可根据情况拆除。
9.2.4脚手架及时与结构拉结或采用临时支顶,以保证搭设过程安全,未完成脚手架在每日收工前,一定要确保架子稳定。
9.2.5脚手架必须配合施工进度搭设,一次搭设高度不得超过相邻连墙件以上两步。
9.2.6在搭设过程中应由安全员、架子班长等进行检查、验收和签证。每两步验收一次,达到设计施工要求后挂合格牌一块。
9.2.7外脚手架的卸荷严格采用ф15.5的钢丝绳通过梁上对拉螺栓孔与脚手架连接,严禁私自拆改。
9.3脚手架上施工作业的安全技术措施
9.3.1结构外脚手架每支搭一层,支搭完毕后,经项目部安全员验收合格后方可使用。任何班组长和个人,未经同意不得任意拆除脚手架部件。
9.3.2严格控制施工荷载,脚手板不得集中堆料放荷,施工荷载不得大于3KN/㎡,确保较大安全储备。
9.3.3结构施工时不允许多层同时作业,装修施工时同时作业层数不超过两层,临时性用的悬挑架的同时作业层数不超过1层。
9.3.4当作业层高出其下连墙杆3.6米以上,且其上尚无连墙杆时,应采取适当的临时撑拉措施。
9.3.5各作业层之间设置可靠的防护栅栏,防止附落物体伤人。
9.3.6定期检查脚手架,发现问题和隐患,在施工作业前及时维修加固,以达到坚固稳定,确保施工安全。
9.4脚手架拆除的安全技术措施
9.4.1拆架前,全面检查待拆脚手架,根据检查结果,拟订作业计划,报请批准,进行技术交底后才准备工作。
9.4.2架体拆除前,必须察看施工现场环境,包括架空线路、外脚手架、地面的设施等各类障碍物、地锚、缆风绳、连墙杆及被拆架体各吊点、附件、电气装置情况,凡能提前拆除的尽量拆除掉。
9.4.3拆架时应划分作业区,周围设绳绑围栏或竖立警戒标志,地面应设专人指挥,禁止非作业人员进入。
9.4.4拆除时要统一指挥,上下呼应,动作协调,当解开与另一人有关的结扣时,应先通知对方,以防坠落。
9.4.5在拆架时,不得中途换人,如必须换人时,应将拆除情况交代清楚后方可离开。
9.4.6每天拆架下班时,不应留下隐患部位。
9.4.7拆架时严禁碰撞脚手架附近电源线,以防触电事故。
9.4.8所有杆件和扣件在拆除时应分离,不准在杆件上附着扣件或两杆连着送到地面。
9.4.9所有的脚手板应自外向里竖立搬运,以防脚手板和垃圾物从高处坠落伤人。
9.4.10拆下的零配件要装入容器内,用吊篮吊下;拆下的钢管要绑扎牢固,双点起吊,严禁从离空抛掷。
10.文明施工要求
根据脚手架施工的特殊性,结合公司职业健康安全管理手册、程序文件,要求施工时做到如下:
10.1进入施工现场的人员必须戴好安全帽,高空作业系好安全带,穿好防滑鞋等,现场严禁吸烟。
10.2进入施工现场的人员要爱护场内的各种绿化设施和标示牌,不得践踏草坪、损坏花草树木、随意拆除和移动标示牌。
10.3严禁酗酒人员上架作业,施工操作时要求精力集中,禁止开玩笑和打闹。
10.4脚手架搭设人员必须是经考试合格的专业架子工,上岗人员定期体检,体检合格者方可发上岗证,凡患有高血压、贫血病、心脏病及其他不适于高空作业者,一律不得上脚手架操作。
10.5上架子作业人员上下均应走人行梯道,不准攀爬架子。
10.6护身栏、脚手板、挡脚板、密目安全网等影响作业班组支模时,如需拆改时,应由架子工来完成,任何人不得任意拆改。
10.7脚手架验收合格后任何人不得擅自拆改,如需做局部拆改时,须经技术部同意后由架子工操作。
10.8不准利用脚手架吊运重物;作业人员准攀登架子上下作业面;不准推车在架子上跑动;塔吊起吊物体时不能碰撞和拖动脚手架。
10.9不得将模板支撑、缆风绳、泵送混凝土及砂浆的输送管等固定在脚手架上,严禁任意悬挂起重设备。
10.10在架子上的作业人员不得随意拆动脚手架的所有拉接点和脚手板,以及扣件绑扎扣等所有架子部件。
10.11拆除架子而使用电焊气割时,派专职人员做好防火工作,配备料斗,防止火星和切割物溅落。
10.12脚手架使用时间较长,因此在使用过程中需要进行检查,发现基础下沉、杆件变形严重、防护不全、拉紧松动等问题要及时解决。
10.13要保证脚手架的整体性,不得与井架、升降机一并拉结,不得截断架体。
10.14施工人员严禁凌空投掷杆件、物料、扣件及其他物品,材料、工具用滑轮和绳索运输,不得乱扔。
10.15使用的工具要放在工具袋内,防止掉落伤人;登高要穿防滑鞋,袖口及裤口要扎紧。
10.16脚手架堆放场做到整洁、摆放合理、专人保管,并建立严格领退料手续。
10.17施工人员做到活完料净脚下清,确保脚手架施工材料不浪费。
10.18运至地面的材料应按指定地点随拆随运,分类堆放,当天拆当天清,拆下的扣件和铁丝要集中回收处理。应随时整理、检查,按品种、分规格堆放整齐,妥善保管。
10.19六级以上大风、大雪、大雾、大雨天气停止脚手架作业。在冬季、雨季要经常检查脚手板、斜道板、跳板上有无积雪、积水等物。若有则应随时清扫,并要采取防滑措施。
11.稳定承载计算
11.1落地式脚手架承载计算
11.1.1计算依据:
(1)钢管载面特征:(钢号:Q235,b类)
规格ф(㎜) | 48×3.5 | 惯性矩I(㎜4) | 12.19×104 |
单位重量q0(kg/m) | 3.84 | 抵抗矩W(㎜3) | 5.08×103 |
截面积A(㎜2) | 489 | 回转半径I(㎜) | 15.8 |
抗弯、抗压容许应力[б]N/㎜2 | 205 | ||
(2)脚手架特性参数
立杆纵距La(m) | 1.55 | 脚手板重量q1(㎏/㎡) | 0.25 |
立杆横距Lb(m) | 1.1 | 连墙杆纵距lw(m) | 3.6 |
大横杆步距h(m) | 1.8 | 连墙杆横距hw(m) | 4.05 |
施工荷载q(KN/㎡) | 3 | 同时作业层数n1 | 2 |
内立杆距结构外皮宽度b1(m) | 0.35 | ||
作业面铺脚手板宽度b2(m) | 1.1+0.6=1.7 | ||
(3)相关计算参数:
落地式脚手架工程施工安全要点
一、施工方案
1.脚手架搭设之前应根据工程特点、施工工艺编制搭设方案,内容应包括:编制依据、工程概况、施工条件、基础处理、搭设要求、连接方法、搭设施工图、安全技术措施等。
2.脚手架高度超过50米必须进行计算。
3.脚手架施工方案及设计计算书必须具有针对性和指导性,并经上一级技术负责人审批签字方可施工。
二、立杆基础
1.脚手架立杆基础应符合方案要求
1.1搭设高度在25米以下时,先将基础夯实找平,然后上铺5㎝厚通长木板;
1.2搭设高度在20-50㎝时,应根据现场地耐力情况,设计基础作法或采用回填土夯实达到要求时,可用枕木支垫,或在地基上加铺20㎝厚道碴,在上面铺设混凝土板再仰铺12-16号槽钢;
1.3搭设高度超过50米时,于地面下1米处采用灰土地基,或浇筑50㎝厚混凝土,其上采用枕木支垫。
2.钢管脚手架搭设时应将木板铺平放好底座,在将立杆放入底座内,不准将立杆直接放在木板上;铸铁底座直径150㎜,焊接底座尺寸为150×15㎜2,厚度不低于8㎜。
3.立杆埋设时离地面20㎝处设纵向横向扫地杆。双排脚手架扫地杆与立杆交接处用小横杆拉牢。
4.脚手架四周应设排水设施。
三、架体与建筑结构拉结
1.高度在7米及以上的外脚手架,每隔4米,水平每7米设一个拉结点,拉结点必须均匀分布,并设置在立杆上。双排脚手架拉结点必须同时拉住里外立杆。
2.连墙杆必须与建筑物结构部位连接,以确保承载能力,在施工方案中应绘制作法详图,施工中不得随意设置;连墙杆可作柔性连接或刚性连接,当脚手架高度超过24米时不准采用柔性连接。
四、杆件间距与剪刀撑的搭设
1.剪刀撑的设置
1.1每组剪刀撑跨越立杆根数为5-7根(>6米),斜杆与地面夹角为45-60度之间。
1.2高度在24米以下单、双排脚手架,均必须在外侧立面的两端各设一组剪刀撑,由底部至顶部连续设置;中间部分可间断设置,但间距不大于15米。
1.3高度在25米以上的双排脚手架,外侧立面必须沿长度和高度连续设置。
1.4剪刀撑斜杆应与立杆和伸出的小横杆连接,底部下端应置于垫板上。
1.5剪刀撑斜杆的接长均采用搭接,其长度不小于1米,设置2个旋转扣件。
2.横向剪刀撑
脚手架搭设高度超过24米时,为增强其横向水平的刚度,可在脚手架拐角处及中间沿纵向每隔6跨在平面内加设斜杆,使之成为“之”字形或“十”字形。
五、脚手板与防护栏杆
1.脚手板必须铺满、铺严、铺稳,距离墙面不得大于20㎝。
2.脚手板可采用竹、木、钢脚手板材质应符合要求。
3.凡脚手板伸出小横杆以外大于20㎝的称为探头板,当操作层不需沿脚手架长度满铺脚手板时,可在端部采用护栏及立网将作业面限定,把探头板封闭在作业面外。
4.脚手架外侧应按规定设置密目安全网,安全网设置在外排立杆的里面,密目网必须用合格的绳或12-14#铅丝穿过环扣系牢在脚手管上。
5.遇作业层时,还要在脚手架外侧大横杆与脚手板之间,按临边防护的要求设置1.2米防护栏杆和180㎜档脚板,防止作业人员和物料坠落。
6.单双排脚手架首层必须设置兜网,每隔10米再设一道兜网,双排脚手架里立杆与墙体间应设兜网或铺设脚手板。
7.架体外立杆内侧必须从底到顶连续横向设置密目式安全网。
六、交底与验收
1.脚手架搭设前,施工负责人应按照施工方案要求,结合施工现场作业条件和队伍情况,做详细的交底并有专人指挥。
2.脚手架搭设完毕后,应由施工负责人组织有关人员,对照施工方案和规范分段进行逐项检查验收,符合要求后方可投入使用。
3.对验收表上的内容应进行量化,应实测数据进行记录,并由检测人员签字。
七、小横杆设置
1.规范规定应该在立杆与大横杆的交点处设置小横杆,小横杆应紧靠立杆用扣件与大横杆扣牢。
2.双排脚手架搭设的小横杆必须在小横杆的两端与里外排大横杆扣牢,否则双排脚手架将变成两片脚手架,不能共同工作,失去脚手架的整体性。
3.单排脚手架小横杆的设置位置不能用于半砖墙,18㎝墙小横杆在墙上的搁置长度不应小于18㎝。
八、通道(斜道、马道)
1.人行通道宽度不得小于1米,坡度宜为1:3,宽度不小于1.5米,坡度为1:6。
2.拐弯处应设平台,通道及平台按临边防护要求设置防护栏杆和挡脚板,并挂密目网。
3.、通道板上应设防滑条,厚度20-30㎜,间距不大于300㎜。
九、卸料平台
1.施工现场使用的各种卸料平台,必须经单独设计并绘制施工图纸。
2.卸料平台应制作成定型化、工具化的结构,无论采用钢丝绳或型钢支承都应与建筑物主体连接。
3.卸料平台禁止与脚手架连接。
4.卸料平台周围应设置双道防护栏杆及180㎜挡脚板,外侧挂密目网,平台应在明显处设标志牌,规定其荷载;在卸料平台处脚手架开洞尺寸不得超过两跨并进行加固。
落地式钢管脚手架搭设方案实例二
(架高50m以内一般脚手架)
××××××建筑工程有限公司
编制日期: 年 月 日
外伸长度不应大于50㎝。单排架的小横杆一端采用直角扣件,固定在纵向水平杆上部,另一端应伸入墙内240㎜以上。
9.脚手架的防护栏杆
脚手板一般应设置在3根小横杆上,要铺满、铺严密,在两侧设置180㎜以上高踢脚板,操作层上部护身栏杆1.2米高,下部护身栏杆距踢脚板0.6米处。
10.脚手架体与建筑物之间封闭办法
10.1密目网垂直封闭
10.1.1密目网的质量要求
10.1.1.1密目网要四证齐全,要有阻燃性能,其续燃、阻燃时间均不得大于4秒。要符合GB16909的规定。
10.1.1.2每10㎝×10㎝=100㎝2的面积上,有2000个以上网目。
10.1.2密目网贯穿试验
做耐贯穿试验时,将网与地面成30度角拉平,在其中心上方3米处,用5㎏重的钢管(管径48-51㎜)垂直自由落下,不穿透即为合格产品。
10.1.3密目网的绑扎方法
用系绳将密目网绑扎至立杆或大横杆上,使网与架体牢固的连接在一起。系绳的材质应符合GB16909的规定。
10.2兜网封闭
用大眼安全网(平网)将脚手架与建筑物之间封闭起来,每隔10米封闭一道。
11.脚手架的上下通道
脚手架体要设置安全马道:1.马道宽度不小于1米,坡度以1:3(高:长)为宜。2.马道的立杆、横杆间距应与脚手架相适应,基础按脚手架要求处理,立面设剪刀撑。3.人行斜道小横杆间距不超过1.5米。4.马道上满铺脚手板,板上钉防滑条。5.设置护身栏杆,上部护身栏杆1.2米,下部护身栏杆距脚手板0.6米,同时设180㎜宽挡脚板。
12.脚手架的卸料平台
卸料平台上面要挂牌标明控制荷载,要有荷载计算书,要有专门搭设方案,要严格按照搭设方案施工。
13.脚手架交底与验收
脚手架必须严格按照施工方案搭设,要有严格的技术交底,要有节点构造详图,操作人员必须严格执行,所有偏差数值必须控制在允许范围内。
要有专门人员对已搭设好的脚手架按照搭设方案进行验收,验收时要有量化内容,如:横、立杆间距数值,立杆的垂直度,横杆的平整度等都详细记载在验收记录当中。不能简单的用“符合要求”来代替。
14.脚手架的拆除方法
制定拆除方案,方案包括拆架的步骤和方法、安全措施等。拆除顺序应遵守由上到下,先搭后拆、后搭先拆的原则。即先拆栏杆、脚手架、剪刀撑、斜撑,而后小横杆、大横杆、立杆等。并按一步一清原则依次进行,要严禁上下同时进行拆除工作。拆架子的高空作业人员应戴安全帽,系安全带,穿软底鞋上架作业,同时周边设围栏或竖立警戒标志并有专人指挥,以免发生伤亡事故。
15.脚手架搭设时注意事项
15.1外径48㎜与51㎜的钢管严禁混合使用。
15.2主节点处,固定横向水平杆(或纵向水平杆)、剪刀撑、横向支撑等扣件的中心线距主节点的距离不应大于150㎜。
15.3各杆件端头伸出扣件盖板边缘的长度不应小于100㎜。
15.4对接扣件的开口应朝向架子的内侧,螺栓朝上,直角扣件的开口不得朝下,以确保安全。
15.5当脚手架外侧遇有低压电线时,而且外侧边缘距外电架空线路外侧边线的安全距离小于规范规定时,应做专门外电防护方案,并严格执行。
15.6上架作业人员必须持证上岗,戴安全帽,系安全带。
15.7严格按搭设方案施工,连墙件和剪刀撑应及时设置,不得滞后超过两步。
15.8在搭设过程中,应注意调整脚手架的垂直度,最大允许偏差100㎜。
悬挑式脚手架计算实例
××××××建筑工程有限公司
编制日期: 年 月 日
保定市多田冷却设备有限公司综合
厂房起重吊装方案实例
施工单位:河北建设集团
一、编制依据:
本方案编制参考了《建筑施工手册》、《建筑安装工程施工技术操作规程》、《建筑构件质量验证标准》。
二、工程概况:
保定多田冷却设备有限公司综合厂房,为中日合资项目,位于保定市高新区,建筑面积9800㎡,其吊装任务委托河北建设集团安装公司吊装工程处施工。该厂房为18米跨距,单层,三联跨车间,东侧附一副跨,纵轴为A、B、C、D、E、F六轴,横轴为1-25轴,建筑标高13.5米。工程工期紧,任务重,焊接量大,质量要求高,计划6月5日开工,7月5日竣工,质量予控为优良。
三、作业环境:
现场道路平坦,通水通电具备吊装条件,混凝土柱及行车梁为现场予制。
四、吊装物体说明:
名 称 | 规 格 | 重 量 | 数 量 |
混凝土薄腹屋架 | 18米 | 9.3T | 88 |
混凝土柱 | 400×700 | 8.5T | 104 |
抗风柱 | 400×600 | 9T | 12 |
混凝土柱 | 400×500 | 6T | 20 |
行车梁 | 400×900 | 3.5T | 144 |
屋面板 | 1500×6000 | 1.25T | 810 |
嵌板 | 900×6000 | 1T | 162 |
天沟板 | 580×6000 | 1.5T | 162 |
走道板 | 800 | 0.8T | 24 |
走道板 | 400 | 0.5T | 48 |
系杆及支承 |
|
| 若干 |
五、起重机械选用:
考虑起重机的起重能力,现场道路安全及经济效益等各方面因素,结合现场物件重量,几何尺寸安装高度来选择起重机。
1.混凝土柱吊装受力计算
以最重柱9T计算:9T×1.2=10.8T(1.2为动力系数),柱高:13米(以抗风柱计)+2米(吊索)+0.5(离地高度)=15.5米即为起重高度。
根据机械性能表选择起重机,考虑我单位设备条件,先用50T或45T汽车吊。
50T汽车吊出杆长度21米,工作车径10米,吊重11.65T
45T汽车吊出杆长度22米,工作车径9米,吊重11.25T
满足吊装要求。
2.18米薄腹屋架吊装计算
9.3T×1.2=11.16T,起升高度:10.4米(柱顶标高)+2.5米(腹高)+5.1米(吊索高度)+0.5米(安装时柱顶到薄腹梁底的距离)=18.5米
梁吊装绳长度根据吊点位置,吊装角度计绳长为14米,保持吊装角度55度。
吊装钢丝绳选择,根据吊装重量,查表选绳。选用6×19+1,d=18.5㎜钢丝绳,其破断拉力总和为k=19.9T
因19.9/6=3.3T>9.3/(2+2×sin55。)=2.55T(其中6为安全系数)故选用此绳安全。
根据机械性能表,50T汽车吊出杆21米,工作半径10米,吊重11.65T。
45T汽车吊出杆22米,工作半径9米,吊重11.25T,满足吊装要求。
六、吊装程序、方法和要求:
1.施工准备。
2.认真学习施工图纸,并组织班组了解安装的技术要求进行技术及安全交底。
3.认真核对的数量、重量、规格及连接件的规格、数量。
4.核对结构构件的就位尺寸和相互关系。
5.对各构件及支撑进行分类编号。
6.检查构件是否有严重裂纹、扭曲、破损及缺陷,其质量是否达到标准要求,如未达到应采取妥善措施。
7.查看构件、预埋件及吊环是否齐全可靠。
2.上装程序
翻柱→立柱子找正→走道板及柱间支撑安装→吊运行车梁→薄腹屋架、屋面支撑及屋面板安装→行车梁找正及固定。
3.施工方法和要求
3.1柱子翻身
3.1.1作业前,必须核实柱子的强度是否达到100%设计要求,以及型号是否正确,有无损伤。
3.1.2钢筋混凝土柱子采取平卧叠放生产,翻身吊装位置无吊环,为预留钢管,应作工装才能进行,柱子翻身呈侧立状态后,水平吊到适宜于竖立位置,即按编号使柱根靠近杯口。并提顺方向。
3.2柱子吊装
3.2.1绑扎:起吊柱子用吊索直接绑扎,连接用活络卡环,为防止捆绑绳索柱子外观,在柱子与绳索接触的棱角处垫胶皮。
3.2.2使用铁扁担垂直吊起柱子,采用旋转法吊装。
具体措施:柱子位于柱根靠近口处,使起吊点、柱根、杯口基本顺以吊车为圆心的圆弧上,吊车在起钩时同步进行旋转,即将柱子吊到杯口上方。吊车缓慢落钩,设两名起重工在地面配合,使柱子就位。柱子就位后,用坚实木楔临时固定。
3.3柱子校正固定
3.3.1平面位置校正:对定位线的程序是,先是小面,着力于角上,后对大面,着力于中间,使柱子平稳。在柱子吊装就位过程中,利用撬棍配合起重机即作好定位工作。使用大锤锤击木楔固定,定位偏差控制在±5㎜范围内。
3.3.2垂直度校正:采用无缆线校正法,其特点是在柱子底部对定位线,并在杯口处着力校正垂直度。此法要重视弹线工作,柱子通长线要直。
校正时,先在杯底柱子四周塞紧木模,使柱脚不能移动,然后用千斤顶或倒链配工装作用于柱子侧面,同时使用两台经纬仪在纵横两个方向观察柱子垂直度偏差,即可校正,校正后其垂直度偏差严格控制在±10㎜内。
柱子校正完毕后应尽快在杯口内灌入规定标号的细石混凝土,达到一定强度后,去掉木楔,进行二次灌浆。
4.走道板及柱间支撑安装:按施工图纸及有关图集的要求,将走道板托架焊接于柱子预埋铁上后,采用8T汽车吊进行走道板的吊装就位,然后进行焊接固定。柱间支撑的安装采用8T汽车吊配合,先点焊固定后满焊。
5.吊运行车梁:
5.1行车梁在吊装前应进行清理,检查构件强度,弹设中心线和编号,防止端部有伸缩缝的梁与一般梁混淆而吊错位置。
5.2在柱子二次灌浆强度达到要求,柱间支撑安装后吊装行车,行车梁起吊的绑扎,应使吊车梁起吊后能保持水平,两端均设溜绳,防止碰撞柱子或其他物体,在离牛腿面20-30㎝时用溜绳和撬棍撬住引导吊车梁慢慢定位对线。将吊车梁两端中心线与牛腿上所划的定位线对准,目测吊车梁表面中心线是否在一条直线上。
5.3行车梁系统吊装完毕后,进行吊车梁的校正工作,采用拉钢丝的尺量的方法,校正行车梁垂直度及直线度,并按图集要求焊接固定。
6.薄腹屋架吊装
屋架吊装前甲方应提前联系好运输事宜。采用旋转吊装法。
6.1起吊前应作好放线工作,并按图集要求在柱顶处焊好梁垫板。
6.2先进行试吊,当屋架稳定后吊离地面20㎝,检查各吊点及吊索具,以及构件受力,一切无问题后方可正式吊装。
6.3起吊后使梁中心对准安装中心,然后平稳起钩,当梁吊离到高于柱顶30-50㎝时即停车起钩,用溜绳旋转梁头对准柱顶,然后慢慢落钩。
6.4用撬棍使屋架中心线对准柱顶的定位线,刚接触柱顶时,即刹车。
6.5采用目测尺量及吊线坠的方法,进行梁的定位垂直度及直线度的校正工作,然后采用三边杉杆进行临时固定,调整好后,进行焊接固定。
6.6焊接固定时,梁两端同时分段对称进行,不得同一侧施焊,避免梁垂直受影响。
6.7施焊完毕即可摘钩。
6.8技术要求梁垫板三面围焊,梁端两面焊,焊厚8㎜,梁定位偏差±5㎜,±3㎜。
7.屋面支撑杆,索固一定要使用麻套以防滑脱,按标准图集的要求作好支撑和联结件的联接和焊接固定。
8.屋面板吊装
8.1屋面板按设计吊点四点起吊后由两块天沟板开始向屋脊对称由低向高进行,每就位一块板,马上进行焊拉固定。
8.2按弹线位置吊装就位,使板两端与梁的搭接长度和板缝均匀。
8.3屋面板采用电焊固定,每块板至少保证三点焊接,焊接长度不小于8㎝,焊厚不小于5㎝。
七、安全技术措施:
1.吊装前,作好安全教育及安全技术交底工作,作好吊索具及起重绳,起重机的检查,发现问题及时解决。
2.吊装时保证吊装角度不小于55度,立柱子选用铁扁担,以保证构件不被破坏。
3.吊装作业区域内非操作人员严禁入内,柱子及屋架的吊装应在试吊无误后进行,吊装时设专人指挥。
4.施工人员应遵守安全技术操作规程,严禁违章作业和野蛮施工,严格执行“十不吊”。
5.所有计量工具应检测合格,测量时尽量减少误差,作好必要的复测。
6.特殊工种人员必须持证上岗,严禁顶岗和无证操作。
7.施工人员正确使用劳动保护用品,进入现场戴安全帽,2米以上高空系挂安全带,穿绝缘鞋,屋架吊装前在安全架上绑好安全绳,安装时高空作业人员将安全带拴于安全绳上,确保安全。
8.吊车站时,勘察地理强度,仔细调整吊车液压支腿,确保吊车的稳定性,避免支腿下沉而失稳。
起重吊装施工安全要点
一、施工方案
1、起重吊装包括结构吊装和设备吊装,其作业属高处危险作业,作业条件多变,施工技术也比较复杂,因此在施工之前应根据现场实际情况编制施工方案,其内容包括:现场环境、工程概况、施工工艺、吊装物的说明、起重机械的选型、吊装方法、构件堆放位置图以及吊装程序和各种安全防护措施。
2、施工方案必须有针对性和指导性,并经上一级技术负责人签字后方可实施。
二、起重机械
1、起重机
(1)须有主要部门监测验收颁发的准用证
(2)经检查确认安全装置包括超高限位器、力矩限制、臂杆幅度指示器及吊钩保险装置均符合要求。如该机有其它安全装置应按说明书进行检查。
(3)起重机械到现场后,应进行试运转试验和验收并签字。
2、起重扒杆
(1)应符合作业工艺要求,规格尺寸应经过计算确定,并经上级技术负责人签字。
(2)扒杆选用的材料、组装形式必须按设计图纸要求进行组装,经有关部门检验确认符合要求。
(3)扒杆与钢丝绳、滑轮、卷扬机组合后,须试吊确认。
三、钢丝绳与地锚
1、起重机钢丝绳应符合相关规定,并满足不同用途的安全系数。
2、扒杆滑轮与地面导向滑轮的选用,应与钢丝绳的直径相适应,其直径比值不应小于15,各组滑轮必须用钢丝牢靠固定。
3、缆风绳应使用钢丝绳,其安全系数K=3.5,并与地锚牢固连接。
4、地锚的埋设应经计算确定,不准随意栓在电杆树木和构件上。
四、吊点
1、根据重物的外形、重心及工艺要求选择吊点,并在方案中进行规定。
2、索具应按施工方案确定的要求选用,并符合安全要求,吊索用绳应采用6×19或6×37型钢丝绳制作。
五、司机、指挥
1、起重机司机属特种作业人员,必须经培训考核合格后持证上岗。
2、汽车吊、轮胎吊必须由起重机司机驾驶,严禁同车的汽车司机替代(持两本司机除外)。
3、信号指挥人员也必须持证上岗。
4、高处作业的起重吊装,必须设信号传递人员,以确保清晰、准确。
六、地耐力
1、起重机作业区路面应符合说明书要求,并应对相应的地耐力结果进行审查。
2、当地面平整与地耐力不能满足要求时应用路基箱,道木等铺垫,以确保机车的作业条件。
七、起重作业
1、起重机司机应对施工作业中所起吊重物的重量确实清楚,并有交底签字记录。
2、司机必须熟知该机车起吊高度及幅度情况下的起吊物重量,清楚机车各装置位置,熟悉操作规程,不超载。
八、高处作业
1、起重吊装于高处作业时,应按规定设置安全措施防止高处坠落,包括各洞口盖严盖牢,临边作业塔设防护栏杆挂密目网。结构吊装,可设置移动式节间安全网;屋架吊装时,应预先在下弦挂设安全网,吊装完毕后既将安全网铺设固定。
2、吊装作业人员在高空移动和作业时,必须系牢安全带。
3、作业人员上下应有专用爬梯或斜道,不准攀爬脚手架或建筑物上下。
九、作业平台
1、起重吊装作业人员按高处作业规范规定,悬空作业应有牢靠的立足处,配置防护栏网、栏杆和其它安全设施。
2、脚手架或作业平台应有搭设方案,临边有防护栏杆并挂密目网。
3、作业平台脚手板应铺满铺实绑扎牢固。
十、构件堆放
1、构件堆放应平稳,底部应设置垫木,高度一般不超过1.6米。
2、构件多层叠放时,柱子不超过两层,梁不超过三层,各构件之间应留不小于0.7米宽的通道。
3、大型构件应有可靠防倾倒措施,除底部垫木外两侧应加支撑,墙板堆放架应经设计,确保地面抗倾覆要求。
十一、警戒
1、起重吊装作业前,应划定危险作业区域,设警示标志,防止无关人员进入。
2、除设置标志外还应该专人监护,防止高处作业、交叉作业时造成的落物伤人。
十二、操作工
起重工、电焊工均属于特种作业人员,应培训考核合格后持证上岗,起重吊装队伍应有资质证书,作业时有专人指挥。
外用电梯安装与拆除施工方案实例
荣盛建设工程有限公司
编制日期: 年 月 日
施工地点:廊坊市
施工单位:荣盛建设工程有限公司
建筑高度:55米
安/拆技术说明要求
一、本设备为京港SCD200/200施工升降机,安装额定载重量为1000㎏,吊杆额定载重量为200㎏,自重4.4吨,对重重量为2.4吨。标准节每升高15米增加1.61吨,最大架设高度≤200米。根据使用单位要求,施工升降机架设高度为60米。
二、施工升降机基础是330㎜厚,4100㎜×4200㎜的钢筋混凝土地板,预留底脚孔洞。混凝土板下地面承载压力为0.15mpa,基础中民距建筑物铆固点平面的水平距离为3054-3671㎜。根据使用单位提供的安装位置,测距为1400㎜,其它具体数据见图一。
三、施工升降机铆固点为建筑物的阳台平面,附墙架作用于建筑物上的里约8吨,因此要求采用4条Φ32穿墙螺栓固定附墙架。
四、标准节安装后,垂直距离约9米左右安装附墙架。附墙架与标准节夹角为85-95度左右。每做一道附墙架后,要用经纬仪监测导轨架的垂直度,并调整至1/1500之内。见图2、3。
五、对重钢丝绳采用每头四个绳卡固定,绳卡螺纹面置于主绳侧,第三卡与第四卡之间附绳需留观察弯。
六、安装顺序
1、基础抄平。(并记录下数据)
2、外笼就位。(并找平)
3、吊笼就位。
4、对重就位。
5、灌注底脚螺栓。
6、安装电缆,接通电源。
7、安装吊杆。
8、安装一节标准节。
9、电器装置检查。
10、安全装置安装检查。
11、机械装置检查并试运转。
12、安装导轨架。
13、安装附墙架。
14、导轨架垂直度的检测及调整。
15、安装天轮。
16、钢丝绳及对重的安装。
17、限位开关及碰铁的安装。
18、所有的限位及安全装置的调试。
19、安装过程中所有设施的复位。
20、试运转及整体验收。
七、拆卸顺序与安装顺序相反
八、技术、安全要求及措施
1、安装拆卸作业严格按说明要求和拆装方案进行。
2、严禁超载吊装,吊索具必须符合起重要求。
3、钢丝绳固定、绳卡规格、数量、间距等必须符合起重要求。
4、各部位螺栓不得混用,特别是高强度螺栓不能用其它螺栓代替。紧固力值达到说明书要求。
5、所有开口销处严禁丝代销。
6、拆装凡遇上大雪、大雾、风力达13/S严禁作业。
7、严格遵守操作规程及有关条例,规章制度。
8、进入现场必须戴好安全帽,操作人员穿好工作服。高空作业人员穿好防滑鞋,系好安全带。
9、信号指挥人员必须遵守操作规程,做到准确、清楚。
10、拆装组做好自检工作,严把质量关,调试各部安全装置,完成试运转工作。
11、拆装完毕办好交接验收手续。
12、安装完毕,切断电源门上加锁。
九、遇到现场特殊情况或使用方的要求时的安装技术措施。
外用电梯安装安全要点
一、安全装置
1、外用电梯的制动器,上、下限位器、限速器和门联锁装置必须齐全有效,其中限速器要求每两年标定一次,安全检查应检查标定日期和结果。
2、上班作业前要进行试验,确保安全装置灵敏、可靠,每班试验要有记录。
二、安全防护
1、外用电梯地面吊笼出入口处必须搭设防护棚。防护棚宽度应大于吊笼出入口,长度不少于2.5米,周围必须设置牢固的防护栏杆。
2、防护棚必须结实牢固,顶部铺5㎝脚手板,铺满、铺严。
3、电梯与各层卸料口要搭设卸料平台,平台宽度不小于0.8米,两侧设置两道防护栏杆及档脚板,并用安全网封闭,进出口应设置常闭型防护门,梯笼运行到哪一层时该层防护门方可开启。
4、卸料平台防护门应安全可靠,必须是常闭型,平时全部处于关闭状态,不能打开形同虚设。
5、各层的卸料平台必须采用5㎝厚木板搭设,不准采用钢模板,竹板及厚度不一的板材,板材之间进行固定,沿梯笼运行一侧不允许有局部板伸出现象。
三、司机
1、外用电梯司机属特种作业人员,必须经培训考核取得合格证后持证上岗。
2、电梯每班作业前应检查试验各安全装置,各层站台口是否关闭,并进行空车升降试验和制动器的效能。
3、多班作业的电梯司机应按规定进行交接班,并认真填写交接班记录,单班司机对每天作业情况也必须进行记录。
四、荷载
1、依据外用电梯使用说明书在梯笼外应张挂额定荷载牌,要标明额定载重量和额载人数,严禁超载使用。
2、未加配重时,严禁载人。
五、安装与拆卸
1、安装或拆卸之前,有主管部门按说明书结合现场出详细的安拆方案,并在作业前对全体人员进行书面安全技术交底,安拆时要设定警戒区,专人监护,同意指挥,协调作业。
2、外用电梯的安拆必须由专业队伍进行,严禁无安拆资质的队伍安拆。
六、安装签收
电梯安装后应按规定做整机运行实验,包括定载及定额载,坠落实验,并认真填写验收单,验收单上需要填写数据的内容必须量化。
七、架体稳定
1、架体的基础必须夯实、平稳,浇筑30㎝厚C20混凝土并做好排水。
2、架体安装时导轨应用经纬仪进行测量校准,其垂直偏差不得超过万分之五或按说明书规定。
3、外用电梯的附壁架按电梯说明书与建筑物主体连接,严禁与脚手架进行连接。
八、联络信号
1、电梯作业应设信号指挥,司机按照给定的信号操作,操作前必须鸣铃示意。
2、信号指挥与司机必须使用可靠的联络方式,不允许各层作业人员以敲打轨架进行联系的混乱做法。
九、电器安全
1、外用电梯必须配备专用的配电箱,并安装漏电保护器。
2、按照说明书做好重复接地装置。
十、外用电梯超出避雷范围时要做避雷装置,做法参照物料提升机避雷检查项目。
承德市东兴组团商住楼物料提升机
安装施工方案实例
施工单位:承德市第四建筑工程公司
一、编制依据(略)
二、工程概况及安装条件
本工程位于东兴路东侧,建筑面积15000㎡,地下一层,地上八层,混合结构,建筑物呈“T”型布置,总长度88米,总宽度34米,总高度24.6米。龙门架三台,一台位于1#楼西侧(22)一(24)轴间,一台位于2#楼东侧(24)-(25)轴间斜边处,另一台设置在2#楼东侧⑥-⑦轴间,该三台提升架主要用于装饰工程运输物料,安装高度为27米。
三、安装机构设置
现场总指挥:苏尚金
安装负责人:苏国明
安装机具负责人:吴爱民
安装人员:孙凤山、李志云、纪文成、杨超
卷扬机手:王秋君、赵小芝、薛桂兰
四、提升架安装
1.低架提升机的基础应符合下列要求:A.土层压实后的承载力应不小于80Kpa。B.浇注C20混凝土厚度300㎜。C.基础表面应平整,水平偏差不大于10㎜。D.基础应有排水措施,不得有积水浸泡基础。
2.安装前,首先检查龙门架体的垂直度,导轨的平行度,导轨时接点的措位差,立柱安装后,要求在两个方向上作垂直度检查,倾斜度应保证1‰以内,达不到标准应在底架下塞垫调整片,直到调整符合要求为止。
3.安装地梁,先组装好地滑轮再连接底盘,找好水平,坚固地脚螺栓。
4.放置自开平台就位,使套架中心线与立柱中心线重合。
5.将第一组立柱标准节放入套架内,底端与地菜用螺栓连接找正紧固。
6.将提升滑轮组置于安装好的两立柱顶端。
7.安装手动卷扬机于自井平台上,并按规定的绕绳方式穿好提升钢丝绳。
8.将扒杆安装于自开平台上。
9、利用手动卷扬机提升自升平台,直到台面与立柱顶面平齐,取下提升滑轮组件置于平台上。
10.利用扒杆或塔吊安装好第二组标准节,并将提升滑轮组置于第二组标准节顶部。
11.重复步骤9提升平台至立核顶面。
12.安装撑杆并紧固以上各件连接螺栓,检查安装好的标准节垂直偏差,调整到符合要求。
13.安装卷扬机。
14.放进吊篮,调整升降吊篮的水平度及导靴滚轮与导轨接触面的间隙,达到设计要求后,再安装两对楔体组件。
15.楔体组件必须安装在升降吊篮左右两侧槽钢柱体的同一水平下,将楔块提到上止点就拉抱合后,再将楔体座焊接在槽钢体上,焊接必须达到要求。
16.安装断绳保护系统,升降动滑轮轴心必须与升降吊篮承重中心重合,安装好的升降动滑轮能灵活转动,弹簧拉板与滑轮压及座体轮向间隙一致,压缩弹簧受压时,两钢丝间隙大于成等到于0.1d(d是钢丝直径),四组调整一致。
17.安装杠杆,连接校链。
18.摇臂铰链机构,按图样尺寸位置安装后,转动应灵活,臂板中心线角度应一致,当升降动滑轮提升到应体顶点时,用调节螺栓调整四个楔块,抱合磨擦面与导轨接触面的间隙达到15㎜,升降机滑轮轴降到下止点,楔块提升到上止点(夹紧状态)。
19.卸料对开防护门,开门灵活,插销自如。将拉伸弹簧连接在摆臂上,再将钢丝绳绕过导向绳轮与门相接,推拉门子调整拉伸弹簧拉力,当门开启后,楔块必须提到上止点(门轴中心距离索绳孔中心100㎜),此时,门架升降机就基本安装就绪,以下主要是如何实现升降。
20.将第三组标准节送入吊篮,提升吊篮到接近极限高度,然后利用扒杆安装好第三组标准节,将提升滑轮组件置于第三节标准节顶部,再重复步骤9提升平台。
21.架设好第三节时,应做龙门架作外封闭铰手架,组装好第一道进料门,并做斜支撑处理,按楼层高度在架管上安装磁控开关支架,应可以正式投入使用。
22.龙门架架设高度为27米,应在第9米处设置第一道附着,以后每间隔9米增加一道。杆节增高,外封闭铰手架及附着同步进行,以保证门架工作平稳为准则。
23.附墙架与建筑物的连接图附后,根据现场实际选用。
24.外封闭脚手架进料口附后。
25.外封闭脚手架示意图附后。
五、调试
1、空载提升吊篮在全行程范围内作升降、变速、运行三次(楔块取下),验证架体的稳定性、两导轨间的距离是否达到技术要求,并同时观察进出料门是否灵敏,不允许有振颤冲击现象。
2、将吊篮悬挂离地面100-200㎜,调整导鞭滚轮与架体导轨的间隙,八处一致后,装好楔块,达到锁紧状,再将升降滑轮降到下止点,调整调节螺栓至拉紧状态。在额定荷载下将吊篮提升到离地面2-3米高停机,将对开防护门打开锁住,调整钢丝绳长度,检查制动夹持的可靠性,吊篮不下滑。
3、升降吊篮内施加额定载荷,使其试运行三次,并作开门自锁试验,再吊篮升高到2-3米高度,进行模拟断绳试验,其滑落行程不能超过100㎜。
4、在升降吊盘上取额定起重量的125%(按5%逐级加量(作提升、下降、开门停靠自锁试验(此时不做断绳试验),下滑不能超过100㎜,下降速度在30-40m/min时,要求动作准确可靠,无异常现象,金属结构不变形,无裂痕及油漆脱落和连接松动损坏等现象。
六、安装中技术要求
1、立柱兼作导轨架,为吊篮运行滚动的轨道,其标准节接头处阶差小于1㎜,安装时必须注意调整。
2、立柱全高的垂直度偏差应≤1‰;两导轨平行度偏差不大于5㎜。
3、各连接螺栓必须紧固。
4、高空作业人负必须质证上岗,系好安全带,门架下和立柱周围5米内禁止站人,以防物体跌落伤人。
5、四级风以上禁止安装作业。
七、安装后整机性能检验
安装完毕应有专门检验人员按标准要求进行下列检验:1、立柱垂直度检验;2、紧团连接件检验;3、空载运行试验;4、额定载荷试验;5、模拟断绳试验;6、超载25%试验,经试验合格后方可投入使用。
八、操作使用及注意事项
1、操作者必须持主管部门颁发的操作证上岗,应熟悉本设备技术性能,能熟悉掌握卷扬机操作,注意及时停机,拉断总闸,严禁冲顶和冲底事故。
2、安全装置——停层控制必须由专人管理,并近定进行设试检查,保持灵敏可靠,不能带病运行,一般情况下,每月及暴雨后,需对架体基础、钢丝绳的磨损程度、楔体抱闸、所有锁轴、滚动轮、紧固件、各种弹簧卷扬机、抱闸等易损件和关键部件及立柱倾斜度等进行一次全面检查,发现问题及时维修,不带通病运行。
3、导轨表面严禁涂抹任何油脂,导鞭滚轮销轴每班应加注1次润滑油脂。
4、升降吊篮每班首次运行时,应作空载及满载试运行,检查制动灵敏可靠后方可投入运行。
5、吊篮载物升降时,应使载荷均匀分布,严禁超载;偏运行禁止带人运行。
6、吊篮停靠就位,联络信号要做到准确无误。
7、吊篮停稳后再打开防护门,开后支稳后方可上人卸料。吊篮下降时,首先必须关好防护门,插好销轴后,再明确联络信号。
8、安装时专职的操作机手参加安装调试,以便进行使用和调整维护的技术交底。
9、禁止在6级风以上作业,禁止非操作人员启动卷扬机。
10、收班时应放下吊篮,严禁将吊篮搁置在空中长期停放,并要拉闸断电,锁好电源箱。
九、维护、保养与运输
每项工程结束对卸下的标准节、吊篮、平台等结构要全面清洗,除锈刷漆。电机、手动卷扬机、安全装置等要进行维修保养。
储存时禁止杂乱堆放、碰撞、挤压,要按顺序放好,转场运输时要捆绑牢固。
物料提升机安装安全要点
一、架体制作
物料提升机作为起重机械分类升降机类中的一种,在施工现场中广泛应用,既有定型厂家生产的产品,也有企业自己制作的架体,而企业制作的架体一般结构无设计依据,未经计算,制作无工艺要求,验收无检测手段,粗制滥造以致在使用中不能满足施工要求,留下事故隐患,因此特规定:
1、企业自行制造的架体必须有设计计算书,并经上级相关部门和总工审批。
2、企业自行制造的架体指的是用型钢材料,预制成标准节或标准件到施工现场,按照图纸进行组装的架体;禁止使用脚手架钢管、扣件组成的架体。
3、施工单位施工现场使用的物料提升机不管是定型产品还是自制产品,自架设验收合格之日起30日内应向建设行政主管部门进行登记,验收合格,发放登记标志后方可使用。
二、限位保险装置
1、吊篮必须设置定型化的停靠装置,停靠装置必须灵活可靠。严禁使用脚蹬滚杠。
2、超高限位装置,安装在距天梁不少于3米处或卷扬机机体上,必须灵敏可靠。当使用摩擦式卷扬机时,超高限位不准采用断电方式。应采用报警(响铃)方式,以提示司机立即分离离合器,并用手刹制动,慢慢松开使吊篮滑落。
3、高架(30米以上)提升机除具备上述的安全装置外还应安装下极限限位器、缓冲器、超轼限制器和通讯装置。
三、架体稳定
提升机架体稳定的措施有两种:当建筑物主体未建造时可采用缆风绳与地锚接法;当建筑物主体形成时可采用边墙杆与建筑结构连接的方法来保障架体的稳定。
1、缆风绳与地锚
(1)高度在20米以下时可设一组(不少于4根),高度在20-30米以下设两组,超过30米时不应采用缆风绳,应采用钢性连接。
(2)缆风绳必须采用钢丝绳,直径不小于9.3㎜,与地面夹角为45-60度,严禁使用钢筋,铅丝等,其它材料替代。
(3)缆风绳必须为单独栓在各自的地锚上,缆风绳与地锚采用花篮螺栓连接,严禁将缆风绳栓在树上或电杆上及设备上。
(4)缆风绳穿过墙体楼板时应预先加套管,缆风绳与天梁、地锚的固定绳卡少得小于3个,且滑鞍必须卡受力绳方。
2、与建筑结构连接
(1)边墙杆选用材料应用提升机架体材料相适应,连接紧固合理,与建筑结构的连接方法应在安装方案中有设计并有施工图纸。
(2)连墙杆与建筑结构连接形成稳定结构架,其竖向间隔不得大于9米,且在建筑物顶层必设1组,架体顶部自由高度不得大于6米。
(3)在任何情况下连墙杆都不准与脚手架相连接。
四、钢丝绳
1、钢丝绳应维护保养良好,不得有严重的扭结、变形、断丝、锈蚀、缺油的现象,严禁使用拆减、接长或报废的钢丝绳。
2、钢丝绳用绳卡连接时,间距为钢丝绳直径的6-8倍,绳卡紧固应将鞍座放在承受拉力的长绳一边,U形卡环放在返回的短绳一边,不得一倒一正排列。
3、钢丝绳在地面上的部分不得拖地,应有托架过路要有保护措施。
五、楼层卸楼平台防护
1、楼层卸料平台宽度不小于80㎝,采用木脚手板横铺、铺满、铺严、绑牢,严禁用模板做平台板。
2、平台两侧应设1-1.2米高双道防护栏杆,并挂安全网。
3、卸料平台内侧应设定型化、工具化的防护门,防护门高1-1.2米。
4、提升机进料口防护门应设防护棚,其宽度应大于提升机外部尺寸,长度:低架提升机应大于3米,高架提升机应大于5米,防护棚顶铺不小于5㎝的脚手板,并铺满、铺严。
六、吊篮
1、吊篮进出料口必须设置定型化、工具化的安全门。
2、吊篮两侧应设置固定栏板或钢丝网,其高度为1-1.2米。
3、吊篮与架体的涂色应有明显区别。
4、吊篮提升严禁使用单根钢丝绳。
5、高架提升机应采用吊笼运作物料。吊笼顶板可采用5㎝厚板。
6、物料提升机在任何情况下都不准人员乘吊篮、吊笼上下。
七、安装验收
1、《规范》规定物料提升机在重新安装后使用之前,必须进行整机实验,符合要求后方可投入运行。
2、试验方法及内容
(1)试验前编制试验方案,对场地进行全面检查。
(2)空载试验:包括上升下降变速、制动不少于三次。
(3)额定载试验:按偏心位置1/6处加不少于3次。
(4)试验中检查金属结构有无变形、裂纹、节点松动,将试验结果填写记录,由参加试验的人员签字确认是否合格。
八、架体
1、安装与拆除作业前应根据现场作业及设备情况编制施工方案,并对作业人员进行分工交底。
2、物料提升机基础应按图纸要求施工,低架提升机基础土层压实后承载力应小于80kpa,浇筑C20混凝土30㎝厚,并预埋地脚螺栓,基础表面应平整并高于地坪,并做排水沟。
3、架体安装的垂直偏差最大不超过架体的0.15‰-0.3‰。
4、架体与吊篮的间隙,即吊篮导靴与导轨的间隙应控制在5-10㎜内。
5、架体外侧用安全网封闭,司机面可用立网保护。
6、在提升机架体上安装摇臂扒杆时应加保险绳作业时,吊篮与扒杆不能同时作用。
7、《规范》规定:井架式提升机的架体在与各楼相接的开口处应采取加强措施。
九、传动系统
1、卷扬机地锚应在卷扬机前方打入两根立桩,防止卷扬机受力转动。
2、卷扬机上钢丝绳应排列整齐,不得咬绳和相互压绞,运行中钢丝绳在卷筒上的圈数不少于3圈 。
3、滑轮组与架体应采用刚性连接,严禁采用钢丝绳,铅丝柔性连接和使用开口板式滑轮。
十、联络信号
1、低驾提升机使用时,司机可以清楚看到各层通道及吊篮内情况下可由各层作业人员直接与司机联系。
2、司机不能清楚看到各层作业情况时,此时应设专门信号员。
3、使用高架提升机时,司机与各层必须使用通讯装置。
十一、卷扬机操作棚
1、防护棚要防雨、防砸,棚顶用5㎝厚脚手板铺满铺严。
2、机棚对提升机一面严禁放置障碍物影响司机视线,其他三面都要进行围护,地面要硬化。
十二、避雷
1、临电规范规定:井字架及龙门架若在相邻建筑物防雷装置以外有,又在地面雷暴日规定的高度之中时,则应装防雷装置。
2、防雷装置包括:避雷针可采用Ф20钢筋。长度1-2米置架体顶端,接地体可与重复接地和阻值不大于10Ω。
塔吊安装方案实例一
×××××建筑工程有限公司
编制日期: 年 月 日
1、工程概况
北京××工程10#、11#住宅楼工程位于北京××区××大街××号院内,建筑面积××㎡,其中10#住宅楼26863.2㎡,11#住宅楼26162.7㎡。两栋住宅楼均为地下两层,地上24层,地下2层为人防,地下1层为自行车库、配电间、弱电间等,地上部分为居民用房。
地下2层层高3.65米,地下1层层高3.25米,1-24层层高2.8米,电梯机房层高5.0米,水箱间高3.67米。建筑物檐高为68.00米,建筑总高度78.2米。
工程基础采用满堂红基础,场地为中硬场地土,场地类别为Ⅱ类,底板厚0.9-1.2米,埋深-7.88~-8.48米,建筑物外围尺寸为39.6×33.2米。
2、施工现场条件
北京××工程10#、11#住宅楼工程位于北京市××区××大街××号院内,建筑物周围原建筑较多。
10#北侧为原甲方6#住宅楼(有居民),5层,高约15米,距离10#楼西侧为北京××学院宿舍楼,6层,高约20米,距离10#楼约15米。
11#楼北侧为原甲方4#住宅楼(有居民),5层,高约15米,西侧为北京××学院烟囱,高约30米,距离11#楼约15米。11#楼东南角为原甲方办公楼,5层,高约15米,距离11#楼约30米。
3、塔吊选型及位置确定
根据施工现场场地条件及周围环境情况,该工程采用两台F0/23B型塔式起重机,塔高100米,臂长50米。
10#塔塔基中心位于10#楼T轴以北4.0米,6轴以东5.0米处。塔吊位于此位置可以满足塔臂的就位与拆除有足够的空间。11#塔塔基中心位于11#楼24轴以西5.0米,A轴以南3.8米处(详见附图02)。塔吊立于此位置可以满足塔臂的就位与拆除有足够的空间,同时可以避开10#楼西侧的高约30米的烟囱。
塔吊承台土方与主体结构土方同时开挖,开挖深度相同,承台板厚1.35米,承台尺寸为6.25×6.25米,混凝土强度等级标号C30。
主体结构底板施工前先立塔吊。塔吊进场时从施工现场北门进入,塔臂东西向放置,利用一台50t吊车吊运塔臂进行装塔。为保证塔臂能自由回转,10#塔第一次立塔调度为塔吊承台以上30米,高出甲方6#楼最高点及北京××学院宿舍楼最高点6米以上;11#塔第一次立塔高度为塔吊承台以上35米,高出甲方3#楼最高点6米以上,塔吊吊物时有足够的安全距离,并保证与10#塔顶升高度错开,保证两台塔吊施工时,塔机之间不发生冲突。以后根据施工进度情况顶升塔吊时都要保证两台塔吊之间的顶升高差。
10#、11#塔与结构均为两次附着,第一次位于距塔基上表面42米处,与结构9层外围框架柱附着,第二次位于距塔基上表面58米处,与结构14层外围框架柱附着,结构施工时按要求进行预埋,塔吊最高顶升高度为100米。
当塔吊吊次不能满足施工要求时,塔吊主要用于大模板、钢筋等大宗物件吊运及配合混凝土浇筑,其他小型物件如木模、顶托等采用人工搬运。
4、塔吊承台配筋
塔吊基础配筋见图
5、塔吊安装要求
5.1基础采用支脚固定式,浇筑前预埋四个主脚钢筋,其标高相对误差控制在2㎜之内。
5.2主脚钢底板与马凳,马凳腿与底层钢筋之间焊接牢固。
5.3做两组防雷接地,接地电阻值不大于4Ω。提供80KW的塔机专用电源。防雷接地做法:用1㎡的钢板立埋于基础边,用镀锌扁铁与塔基基础节点连接。
5.4混凝土承台上砌井,井内净空3米×3米,井顶面高距承台顶面1.5米,井壁为370厚砖墙,用水泥砂浆砌筑。井内设良好的排水措施。
5.5混凝土浇筑前对钢筋和主脚钢安装尺寸进行隐检,确认合格后进行下道工序。
5.6固定支脚安装时必须保证鱼尾板的安装尺寸150㎜,其他尺寸由固定框(模具)尺寸决定。
6.注意事项
6.1塔机安装按说明书进行,必须符合安全要求,禁止违章作业。
6.2塔机使用前必须经检查验收。
6.3塔机司机必须遵守“十不吊”要求。
6.5立塔、顶升时必须设安全区,并有专人指挥。
6.6任何情况下禁止对塔机进行油漆作业。
6.7风速超过60km/h,禁止吊物、顶升。
6.8需要更换或排放塔机上的油料时必须在无风条件下进行,并将油料排放到容器内回收。
6.9禁止将各种废弃物丢弃在工地。
施工升机拆装安全要点
一、安全要求
根据国家有关法律、法规、条例的规定,施工现场严禁使用国家明令淘汰、禁止使用的危及施工安全的工艺设备、材料。原有的TQ60、TQ80塔式起重机,QT16、QT20、QT25系列中的井架简易式塔式起重机及红旗16Ⅱ型起重机已列为淘汰产品。自2002年7月1日起禁止使用。同时《条例》规定,施工单位自施工起重机械验收合格之日起30日内,向建设行政主管部门进行登记,并领取登记标志,附着于设备的显著位置。
1、安全保护装置
塔式起重机的力矩限制器,超高限制器、变幅限制器、行走限制器、吊钩保险、卷扬机滚筒保险(简称四限位、两保险)、上人爬梯护圈,都应符合塔式起重机安全规定和操作使用规程的要求,起重机使用单位在机械安装完毕后应组织有关单位对设备进行检查验收,并向起重机械设备检验机构提出检验申请。出具检验报告,装入设备档案,作为国家法定2年周期进行一次监督检验的起始日期。因此施工现场的塔吊安装完毕后,必须有使用单位,安装单位的检验备案表、验收表方可使用。
2、安装与拆卸
1)塔吊安装拆卸前必须编制安拆方案,并经上一级技术负责人审批后方可实施,还要有书面安全技术交底。安装方案内容包括:编制依据、工程概况、现场情况、安装作业人员组成,机具准备、安装程序、技术要求、安全技术措施和防护措施。拆除方案内容包括:工程概况及现场情况,拆卸人员的组成及职责,拆除方法、程序,拆除过程中的安全防护措施。
2)塔吊拆装队伍必须取得省建设厅颁发的资质证书,安拆作业人员必须有省建设厅颁发的岗位培训证书,施工现场必须有专人指挥。
3、塔吊指挥
1)塔吊司机、司索、塔吊信号指挥人员都属于特种作业人员,必须经培训合格后持证上岗,每台塔机每班配备人员不能少于4人,既:司机一人,指挥两人,司索一人。
2)高塔作业的司机不能清晰的听到信号指挥人员的哨音和手势时,应改用旗语或对讲机指挥。
4、电气安全
1)施工现场架空线路与塔吊的安全距离按临电规范规定防护。
2)现场采用TN-S系统时除作保护接零外还应按临电规范规定,做重复接地,其电阻值不大于10Ω。
5、多塔作业
1)两台以上塔吊作业要有防碰撞措施,并保持两机之间最短距离,低塔端部距离高塔塔身不小于2米距离;高塔与低塔(吊钩至最高点)垂直方向的间距不小于2米。
2)因施工现场作业条件的限制不能满足时应同时采取两种措施:
组织措施:规范塔吊行走路线,设专人指挥、监督。
技术措施:缩短臂杆,外高(下降)塔身。
6、安装验收
1)塔吊安装完毕后必须试转与验收,参加验收人员及技术负责人必须本人签字,填写验收单,其中塔吊垂直度,接地电阻值内容必须实测实量数据。
2)塔吊正式使用前还应作静载和动载额定试验,观察无异常现象方可投入运行。
QTZ5013塔式起重机安装方案实例二
荣盛建设工程有限公司
编制日期: 年 月 日
荣盛四分公司承建的锦绣国税3#住宅楼工程,因工程需要应安装一台QTZ5013型塔式起重机,经施工单位确定塔机具体坐落位置后,现予以安装,具体安装方案如下:
一、人员配备
此次安装工作需要安装指挥一名彭存良,安装电气技术工人一名高旭武,安全员唐妃陆,安装钳工、焊工各一名,安装工人数名。
二、工程概况
国税局3#住宅楼工程为主体框架结构,用QTZ5013型塔机一台即可满足工程施工的需要。根据施工现场的具体情况,施工单位决定将塔机坐落于主体结构的北面,这样有利于施工生产的顺利进行。
三、机具准备
此次安装工作需QT20型汽车起重机一台、平板拖车(8米)四辆、安拆装塔机用工具一套(活动扳手四把、大锤一把及各型号工具若干)、电工用工具一套。
四、安装程序
1.施工单位按照塔机说明书的要求制作好塔机基础垫层后,安装单位进行基础抄平,然后将底架放在混凝土基础上,校正安装平面后,再放压重。
2.用三节标节连接为一体,然后吊装在混凝土基础上,在地面上将液压站吊在套架上,并完成装配,然后将套架吊装在标准节上。
3.用汽车式起重机吊装塔机回转机构,分别与套架和标准节相连。
4.在地面上将塔顶与平衡臂拉杆的第一节以及起重臂拉杆的长拉板与短拉板用销轴连接好,然后进行吊装。
5.在地面拼装好平衡臂接好各部分的电线,然后将平衡臂吊起与水平线呈20度至平衡臂拉杆的安装位置装好平衡臂拉杆后,再将吊车卸载。
6.吊起重1.87T的平稳重一块,放在平衡臂后方最靠近塔顶的位置。吊装驾驶室与上回转台连接好。
7.在地面上连接好起重臂,用汽车吊将起重臂缓慢吊起,与地面呈20度,保持不变,连接起重臂长短拉杆,起重机缓慢卸载,起重臂拉杆处于拉紧状态。
8.将所有平衡重全部吊装完成,用拉板连接为一体,穿绕钢丝绳和进行最后连线。
9.将塔机顶升数节,使之达到使用要求。
五、安全技术要求
1.塔机安装前,必须先清理场地,在作业范围内不应有任何障碍物。
2.塔机基础制作及安装必须严格按照说明书安全要求进行。
3.安装作业人员必须有必备的安全防护措施,安全帽、安全带等。
4.安装作业应统一指挥,协调作业。
5.安装工作在风力大于4级的情况下不得进行安装。
六、编制依据
本安装方案依据河北省建筑工程施工安全监督总站编制的《安全管理资料填写说明》和QTZ5013塔机使用说明书以及施工现场具体条件而编制。
QTZ5013型塔机拆除方案
荣盛四分公司承建锦绣国税3#楼工程,因工程需要应安装一台QTZ5013型塔吊作业。工程结束后该塔机将与于拆除,根据施工现场的具体情况特制订如下拆除方案:
一、人员配备
此次拆除工作设指挥彭存良一名,安全员唐妃陆、钳工、焊工各一名,电气技术员一名,安装工人数名。
二、工程概况
本工程结束后,施工现场的场地比较小且现场较杂乱,根据QTZ5013塔机说明书来制定拆除方案。此塔机为标准高度,故先将塔机降至拆除高度并予以拆除。
三、机械准备
此次拆除工作需QT25型汽车式起重机一台(吊重索具由汽车吊自备)。汽车拖车(8米)两台,拆除工具一套、电动工具一套。
四、拆除程序
QTZ5013型塔式起重机为液压自升式塔机,其拆除过程和安装过程为相反的程序,即“先安的后拆,后安的先拆”。其工作方法是基本相同的。
五、拆除注意事项
1.塔机拆除作业人员必须熟悉塔机的性能和塔机拆除过程。
2.顶升机构由于长期没有使用,所以在使用前必须进行试运行。
3.塔机拆除作业中严禁使用回转机构。
4.塔机拆除作业中,工作人员必须协调统一,服从指挥。
5.拆除作业人员必须有必要的安全防护措施。
6.拆除工作在风力大于4级的情况下不得进行。
六、编制依据
本拆除方案依据河北省建筑工程施工安全监督总站编制的《安全管理资料填写说明》和QTZ5013型塔机使用说明书以及施工现场具体条件而编制。
临时用电施工组织设计实例一
廊坊开发区福斯特建筑工程有限公司
编制日期:2004年11月1日
一、外电防护
1、在建工程(含脚手架)的外缘与外电架空线的边线最小安全操作距离:1KV以下为4米;1-10KV为6米;35-110KV为8米。当施工现场作业条件达不到上述安全距离时,必须采取屏护措施并悬挂警告标志。
2、必须采取防护措施时,其材料应使作木质绝缘材料进行立面防护。当建筑物高度超过20米时距高压线顶部2米处应增设屏障,顶部用5㎝厚脚手板铺满,四周用荆笆片封闭。防护、拆除时应停电,并设专人监护。
3、当架空线在塔吊等起重机的作业半径范围内时,其线路上方也应有防护,搭设成门型,其顶部用5㎝厚木板,四周用荆笆片封闭,并在防护架上设置小彩旗,夜间施工应有彩灯(或设红色灯泡)电压为36V。
4、在建工程严禁在高压线下施工,停放机具、搭作业棚、建生活设施或堆构件和物料。
二、接地与接无序保护系统
1、《施工现场临时用电安全技术规范》规定“在施工现场专用的中性点直接接地的电力线路中必须采用TN-S接零保护系统”。即保护零线PE与工作零线N分开的系统(即三相五线)。
2、在同一个供电系统中,不得一部分设备做保护接零,另一部分设备做保护接地。
3、保护零线除必须在配电室或总配电箱处做重复接地外,还必须在配电线路的中间和末端处做重复接地。
4、保护零线应单独敷设,不作它用,保护零线严禁穿过漏电保护器,工作零线必须穿过漏电保护器。
5、保护零线的统一专为绿/黄双色线,在任何情况下不准使用绿/黄双色线作负荷线。
三、配电箱、开关箱
1、关于“三级配电两级保护”
(1)规范要求,配电箱应分级设置,即在总配电箱下设分配电箱,分配电箱下设开关箱,开关箱以下接用电设备,形成三级配电。照明配电与动力配电最好分别设置,自成独立系统,不因动力停电影响照明。
(2)“两级保护”主要指采用漏电保护措施,除在末级开关箱内加漏电保护器外,还要再上一级分配电箱或总配电箱内再装一级漏电保护器,总体形成两级保护。
(3)开关箱内应安装的漏电动作电流不大于30MA,动作时间应小于0.1s的漏电保护器;潜水泵及地下等潮湿场所所用的漏电保护器其动作电流不大于15 MA额定漏电动作时间应小于0.1s。
(4)隔离开关
分配电箱,开关箱内必须装设隔离开关,因空气开关没有明显可见的断开点,因此空气开关不能用作隔离开关。开关箱接线顺序为:先进隔离开关,再进漏电保护器,然后接用电设备。
(5)每台用电设备均应做到“一机一闸一漏一箱”。
(6)配电箱、开关箱应装在干燥、通风及常温场所,周围应有足够两人同时工作的空间和通道,不得堆放杂物。配电箱、开关箱应安装牢固、端正、有门有锁、有防雨措施,开关箱距地面垂直距离为1.3-1.5米。
(7)配电箱开关箱电器应完好可靠。不准使用破损,不合格电器。
(8)配电箱内各回路与其控制的电器设备要用文字标明对号入座。
(9)配电箱、开关箱中导线的进出线口应设在箱体下面,严禁在侧面、上面、后面和箱口处,进出线应加套分路成束,并做好上下防水弯。
(10)金属箱体有;主电气开关的金属外壳应做接零保护;保护零线,工作零线应通过接线端子板连接,严禁采用鸡爪式接线。
四、现场照明
1、照明开关箱内必须安装漏电保护器。
2、照明灯具的金属外壳应做保护接零。
3、室外灯具距地面低于3米,室内灯具低于2.4米,应采用36V安全电压,灯头距棚顶应大于20㎝。
4、隧道、人防工程电源电压应不大于36V。
5、使用36V安全电压照明线路接头处应用绝缘布包扎,并应敷设整齐。
五、配电线路
1、《规范》规定“架空线路必须采用绝缘铜线或绝缘铝线”。不允许有老化、破损现象,接头和包扎都必须符合规定。
2、《规范》规定“电缆线应采用地埋或架空敷设,严禁沿地面明敷,并应避免机械伤害和介质腐蚀”,“穿越建筑物、构筑物、道路、易受机械损伤的场所及电缆引出地面从2米高度至地下0.2米处必须加设防护套管”。橡皮绝缘电缆应采用钢丝架设。
3、架空线路《规范》规定“与地面最大弧垂:施工现场4米,机动车道6米”。
4、电缆施工现场应采用五芯电缆。四芯电缆外敷设一根PE线代替五芯电缆,这种做法的弊病是:两种线路绝缘程度,机械强度抗腐蚀能力及载流量不匹配,易引发事故,五芯电缆一般使用在总配箱与分配电箱之间,当施工现场的配电方式采用动力与照明分别设置时,三相设备可用四芯电缆,单相设备、照明线路可采用三芯电缆。
5、电缆线架设或埋设规范规定
高层多层建筑施工的室内用电,不允许由室外地面电箱用橡皮电缆从地面直接引入各楼层使用。《规范》规定:在建高层建筑的临时配电,必须采用电缆埋地引入,允许利用在建工程的竖井,垂直孔洞处敷设。固定点每层不少于一处,每层或隔层可设分箱,固定设备可设开关箱,手持电动工具可设移动电箱。
六、电器装置
1、各类电器开关应和其控制的电动机、电焊机设备额定容量相匹配,严禁使用破损不合格电器。
2、5.5KV以上用电设备不得用手动开关控制(如刀闸、空气开关)必须使用自动开关控制。
3、开关电顺应按规定的位置坚固在安装板上,不得歪斜、松动,严禁带电体外露。
4、严禁用其它金属材料(如铜线、铝线、铜丝)代替熔丝。
七、变配电装置
1、总配电箱中应装设电压表、总电流表、总电度表及其它仪表。
2、总配电箱内还应装总隔离开关、分路隔离开关,总熔断器和分路熔断器(或总自动开关和分路自动开关)以及漏电保护器。
3、施工现场的配电室应符合下列要求:
(1)配电屏(盘)后维护通道宽度不小于0.8米;
(2)配电屏(盘)侧面维护通道宽度不小于1米;
(3)配电室天棚距地面低于3米;
(4)配电室内设值班或检修室时,该室距电屏(盘)的水严距离大于1米,并采取屏障隔离;
(5)配电室的门向外开,并配锁;
(6)配电室内应配置砂箱和绝缘灭火器。
八、用电档案
1、临电施工组织设计包括:现场勘探,所用电气装置、用电设备的详细资料,负荷计算及电气布置图等资料。
2、技术交底:包括总体意图、具体技术要求、安全用电技术措施和电气防火措施等文字资料。
3、安全检测记录
主要包括:临电工程检查验收表、电气设备的试验凭单调度记录,其中接地电阻测试记录应包括电源变压器投入运行前其工作接地阻值和重复接地阻值,以及定期检查、复查接地阻值测定记录。
4、临时用电工程图须单独绘制,由电气技术人员编制施工组织设计,经上一级技术负责人审批签字后实施。
5、电工维修工作记录,要填写真实尽可能记载详细。包括:时间、地点、设备、维修内容、技术措施、处理结果,对事故维修还要作出分析提出改进意见,有专人负责管理。
临电方案审核意见反馈表
方案名称 | 临时用电施工组织设计 | |||
项目技术负责人 |
| 上报时间: 2004年 11月 1日 | ||
审核部门 | 审核意见 | 签字及日期 | ||
安全 | 修改意见:
|
| ||
质量 | 修改意见:
|
| ||
技术 | 修改意见: 见方案内标注 详见附件说明 |
| ||
工程 | 修改意见: 见方案内标注 详见附件说明 |
| ||
设备 | 修改意见:
|
| ||
生产副总经理(生产副经理) | 修改意见:
|
| ||
临电施工组织设计审批表
工程名称 | 阿尔卡迪亚9#、19#楼 | 结构形式 | 框剪 | |||
面积 | 25166m2 | 层数 | 11 | |||
编制部门 | 施工项目部 | 编制人 |
| |||
部 门 会签 | 部门 | 签字 | 部门会签 | 部门 | 签字 | |
质量 |
| 工程 |
| |||
安全 |
| 设备 |
| |||
技术 |
|
|
| |||
一级项目 | 主任工程师 (审核) |
| 一般项目 | 生产副经理 (审核) |
| |
生产副总经理 (审核) |
| 主任工程师 (审批) |
| |||
总工程师 (审批) |
|
|
| |||
审批意见 |
签字: 年 月 日 | |||||
一、设计依据
1. 《阿尔卡迪亚帝景园9#、19#楼施工组织设计》。
2. 《施工现场临时用电安全技术规范》(JGJ46-88)。
3. 《建筑施工安全检查标准》(JGJ59-99)。
4. 《河北省建筑安全施工检查技术标准实施细则》。
5. 《低压配电设计规范》(GB50054-95)。
6. 民用建筑电气设计规范(JGJ/T16-92)。
7. 国家及电力部门的有关规定。
二、 工程概况
本工程有两栋单位工程,分别为帝景园9#、19#楼
工程名称 | 占地面积 | 建筑面积 | 结构形式 | 层数 | 高度 | 备注 |
帝景园9#楼 | 1333m2 | 16965m2 | 框剪 | 11 | 36.69m |
|
帝景园19#楼 | 615.24m2 | 8201.38m2 | 框剪 | 11 | 36.69m |
|
设计包括建筑、结构、给排水、暖通、电气安装(包括照明、动力、弱电、电梯、防雷接地等)几个专业。开工时间为2004年11月1日,竣工时间为2005年8月31日。
三、 现场临时供电方案的确定
1、供电系统的确定
380/220V用电电源由甲方在帝景园7#楼北侧箱变供给,电缆直埋引入施工现场配电室,做重复接地后供给配电柜。施工现场采用TN-S三相五线制供电系统。采用600A隔离开关引入施工用电配电柜。配电室布置在负荷比较集中的9#楼东侧。
2、现场线路方案的确定
结合施工现场情况及工程施工组织设计,兼顾施工用电的可靠性,采用放射式与树干式相结合的供电方式。主干线采用直埋电缆敷设,施工现场主干线路布置如下:
DL1回路:由总配电柜至19#楼塔吊分箱,下设五个开关箱,主要设备有塔吊一台、校光灯两盏、电锯一台、电焊机一台、生活区照明箱一台。
DL2回路:由总配电柜至19#楼搅拌机分箱,下设五个开关箱,主要设备有搅拌机一台、水泵一台、活动箱一台。
DL3-1回路:由总配电柜至19#楼钢筋加工厂分箱,下设八个开关箱,主要设备有冷拉机一台、电焊机一台、弯筋机两台、套丝机两台、切断机两台。
DL3-2回路:由总配电柜至9#楼木工加工厂分箱,下设四个开关箱主要设备有电锯两台、电刨一台。
DL4回路:由总配电柜至9#楼西塔吊分箱,下设五个开关箱,主要设备有塔吊一台、校光灯两盏、水泵一台、活动箱一台。
DL5回路:由总配电柜至9#楼搅拌机分箱,下设四个开关箱,主要设备有搅拌机两台、电焊机一台、套丝机两台。
DL6回路:由总配电柜至9#楼东塔吊分箱,下设七个开关箱,主要设备有塔吊一台、校光灯两盏、弯筋机两台、切断机两台、冷拉机一台。
主要设备容量统计表
机具名称 | 规格型号 | 额定功率 | 使用 |
塔式起重机 | TC4207 | 46.5KW | 2台 |
TC5013B | 57 KW | 1台 | |
混凝土搅拌机 | JS500 | 24 KW | 3台 |
钢筋调直机 | JN-22 | 7.5 KW | 2台 |
钢筋切断机 | GJ5-40 | 2.2 KW | 4台 |
钢筋弯曲机 | GW-40AH | 3.0 KW | 3台 |
钢筋套丝机 | GY-40 | 4.0 KW | 4台 |
交流电焊机 | BX-500 | 24KW | 4台 |
台式电锯 | MJ140 | 3.0KW | 4台 |
台式平刨 | MZ530 | 2.2KW | 2台 |
水泵 | QWD-15-22 | 3.0KW | 2台 |
切割机 | J3G—T400 | 3.0KW | 2台 |
插入式振捣棒 | MT—50 | 2.2KW | 3台 |
电暖气 |
| 2KW | 6台 |
校光灯 | 380V | 3.5KW | 6台 |
现场及生活区照明 |
| 30KW |
|
四、负荷计算及导线、开关电器的选择
1、计算说明
本设计计算主要选择开关设备及各主干线路电缆的规格型号。实际施工时,充分利用已有设备材料,以节约开支。本计算结果为最小值,可以根据实际情况酌情变动,但保证所有线缆的允许载流量不小于设计要求,并保证所有设备开关能可靠动作。
本设计中要求三级配电两极保护执行施工,计算中不在选择分配电箱至开关箱的线路型号,以及由开关箱至设备的线路型号。现场安装时遵循以下几点要求:
a).三相设备计算电流时,可按设备容量乘以2得出经验电流值,选择接近且较大的值来确定开关箱开关的型号及开关前后线路的型号。
b).单相设备计算电流时,按设备容量与电压(220V)的比值确定。
c).开关箱必须装设隔离开关和漏电保护器,漏电保护器额定漏电动作电流按规范选择。
2、设计计算方法及计算过程
(1)计算方法
本设计采用需要系数法进行负荷计算,按安全载流量进行选择,然后进行电压损失和机械强度校核。计算公式如下:
①计算容量S=KC∑P机/ηcosφ
②工作电流I线=S/31/2U线
③电压损失校验ε=∑P机L/CS截面积%<5%
其中L为线路长度,C为线损系数(铜线取77、铝线取46.3), η为效率取0.8,cosφ为功率因数取0.75
(2)计算过程
①DL1回路计算
∑PDL1=P塔吊+P电锯+2P校光灯+ +P电焊机+P生活区照明
=46.5+3.0+2×3.5+24+30
=110.5KW
SDL1=KC1∑P /ηcosφ
=0.5×110.5/(0.8×0.75)
=98.7KW
I线DL1=SDL1/31/2U线
=98.7/(0.38×31/2)
=145A
ε=∑PDL1L1/CS截面积%<5%
=110.5×80/(77×35)%
=3.3%<5%
电缆型号选用VV22-4×35+1×25能满足要求。
选用DZL25-200/430漏电开关(额定漏电动作电流100mA)作为DL1回路总漏电开关,设于配电室。
②DL2回路的计算
∑PDL2=P搅拌机+P水泵+P活动
= 24+3+30
=57KW
SDL2=KC2∑P /ηcosφ
=0.7×57/(0.8×0.75)
=66.5KW
I线DL2=S/31/2U线
=66.5/(0.38×31/2)
=101A
ε=∑PDL2L2/CS截面积%<5%
=57×90/(77×25)%
=2.7%<5%
电缆型号选用VV22-4×25+1×16能满足要求。
选用DZL25-200/430漏电开关(额定漏电动作电流100mA)作为DL2回路总漏电开关,设于配电室。
③ DL3回路的计算:
DL3-1回路的计算:
∑PDL3-1=P卷扬机+2P弯筋机+2P套丝机+2P切断机+P切割机+P备
=7.5+2×3.0+2×4+2×2.2+3+24
=52.9KW
SDL3-1=KC3-1∑P /ηcosφ
=0.7×52.9/(0.8×0.75)
=61.7KW
I线DL3-1=SDL3/31/2U线
=61.7/(0.38×31/2)
=93.7A
ε=∑PDL3-1L3-1/CS截面积%<5%
=52.9*80/(77×25)%
=2.2%<5%
电缆型号选用VV22-4×25+1×16能满足要求。
DL3-2回路的计算
∑PDL3-2=2P电锯+P电刨子
=2×3.0+3.0
=9KW
SDL3-2=KC3-2∑P /ηcosφ
=0.7×9/(0.8×0.75)
=10.5KW
I线DL3-2=SDL7/31/2U线
=10.5/(0.38*31/2)
=15.6A
ε=∑PDL3-2L3-2/CS截面积%<5%
=9×40/(77×6)%
=0.8%<5%
DL3-2的橡胶电缆型号选用3×6+2×4能满足要求。
选用DZL25-200/430漏电开关(额定漏电动作电流100mA)作为DL3回路总漏电开关,设于配电室。
④DL4回路的计算
∑PDL4=P塔吊+2P校光灯+P水泵+P活动箱
=57+2*3.5+3.0+30
=97KW
SDL4=KC4∑P /ηcosφ
=0.7×97/(0.8×0.75)
=113.2KW
I线DL4=SDL4/31/2U线
=113.2/(0.38×31/2)
=172A
ε=∑PDL4L4/CS截面积%<5%
=97×60/(77×50)%
=1.5%<5%
电缆型号选用VV22-4×50+1×35能满足要求。
选用DZL25-200/430漏电开关(额定漏电动作电流100mA)作为DL4回路总漏电开关,设于配电室。
⑤DL5回路的计算
∑PDL5=2P搅拌机+2P套丝机+P电焊机+P备
=2×24+2×4.0+24+30
=110KW
SDL5=KC5∑P /ηcosφ
=0.7×110/(0.8×0.75)
=128.3KW
I线DL5=SDL5/31/2U线
=128.3/(0.38×31/2)
=195A
ε=∑PDL5L5/CS截面积%<5%
=110×80/(77×35)%
=3.3%<5%
DL5的电缆型号选用VV22-4×50+1×35能满足要求。
选用DZL25-200/430漏电开关(额定漏电动作电流100mA)作为DL5回路总漏电开关,设于配电室。
⑥ DL6回路的计算
∑PDL6=P塔吊+2P校光灯+2P弯筋机+2P切断机+P冷拉机P备
=46.5+2×3.5+2×3.0+2×2.2+7.5+20
=91.4KW
SDL6=KC6∑P /ηcosφ
=0.7×91.4/(0.8×0.75)
=106.6KW
I线DL6=SDL6/31/2U线
=106.6/(0.38×31/2)
=162A
ε=∑PDL6L6/CS截面积%<5%
=91.4×25/(77×35)%
=0.85%<5%
DL6的电缆型号选用VV22-4×50+1×35能满足要求。
选用DZL25-200/430漏电开关(额定漏电动作电流100mA)作为DL6回路总漏电开关,设于配电室。
⑦总的电源计算
∑P总=∑P1+∑P2+∑P3-1+∑P3-2+∑P4+∑P5+∑P6
=110.5+57+52.9+9+97+110+91.4
=527.8KW
S总=KC∑P总/ηcosφ
=0.3×527.8/(0.9×0.85)
=207KW
I总×S总/31/2U线
=207/31/2×0.38
=314.5A
ε=∑P总L/CS截面积%<5%
=527.8×80/77×150%
=3.7<5%
入配电柜处电缆型号选用VV22-4×150能满足要求。
五、 电系统图
见附图(1):
六、 防雷与接地
1、 据施工现场临时用电安全技术规范要求,除在配电室(柜)处做重复接地外,还必须在线路中间末端处做重复接地。采用3根2.5米长,直径为50毫米的热镀锌钢管,间距为5米,接地线用40*4热镀锌扁钢,接地体接到配电柜(箱)的PE端子上,要求每处接地的电阻值不大于10欧姆。
2、防雷接地:塔吊、施工电梯、竖井架、落地式脚手架等必须做防雷接地,接地极利用建筑物的基础,在建筑物防雷接地安装时,引出接地线备用。作防雷接地的电气设备,必须同时作重复接地,同一台电气设备的重复接地与防雷接地可使用同一接地体,接地电阻值应符合重复接地电阻值的要求.
3、全部布置完毕后,摇测接地电阻,用电设备调试合格后方能投入使用。
七、临时用电安全技术措施
1、技术要求
(1) 本工程根据《施工现场临时用电安全技术规范》“在施工现场选用的中性点直接接地的电力线路中必须采用TN-S接零保护系统”的规定,采用了保护零线PE与工作零线N分开的系统(即三项五线制)。
(2) 保护零线除必须在配电室或总配电箱(柜)处做重复接地外,还必须在配电线路的中间和末端处做重复接地。
(3) 在同一个供电系统中,不得一部分设备做保护接零,另一部分设备做保护接地。
(4) 保护零线应单独敷设不做它用,保护零线严禁穿过漏电保护器及其它开关,工作零线必须穿过漏电保护器。
(5) 相线的统一标准为A相黄色、B相绿色、C相红色;保护零线的统一标准为黄、绿双色线,在任何情况下不准使用黄、绿双色线作负荷线。
2、配电设备
(1) 本工程临时用电采用“三级配电两级保护”。
① 配电箱应分级设置,即在总配电箱下设分配电箱,分配电箱下设开关箱,开关箱下接用电设备,形成三级配电。
② “两级保护”是指在总配电柜处设漏电保护器控制,各分配电箱处在末级开关箱加上一级漏电保护器,总体形成两级保护。
③ 开关箱内安装的漏电保护器,漏电动作电流不应大于30mA,动作时间应小于0.1s,潜水泵及地下室等潮湿场所所用的漏电保护器,动作电流应不大于15mA,额定漏电动作时间应小于0.1s。
(2) 隔离开关
分配电箱、开关箱应设置隔离开关,隔离开关在开关箱的接线顺序为电流先进隔离开关,再进漏电保护器然后进用电设备。
(3) 每台用电设备均应做到“一机一箱一闸一漏”电。
(4) 配电箱、开关箱应装在干燥通风及常温场所,周围应有足够两人同时操作的空间和通道,不可放杂物,配电箱、开关箱安装应牢固、端正、有防雨措施、有锁、开关箱距地面1.3-1.5m。移动箱距地0.6-1.5m。
(5) 配电箱、开关箱中导线的进出口应设在箱体下面,严禁在侧面、上面、后面和箱口处,进出线应加套管分路成束,并做好上下防水弯。
(6) 金属箱体及电气开关的金属外壳应做接零保护,保护零线、工作零线应通过端子板连接,严禁采用“鸡爪式”接线。
(7) 分配电箱体的颜色喷成黄色,开关箱体的颜色喷成橘黄色,便于电工日常维修。
3、现场照明
(1) 照明开关箱内必须安装漏电保护器。
(2) 照明灯具的金属外壳应做保护接零。
(3) 室外灯具距地面低于3m,室内灯具低于2.4m,应采用36V安全电压,灯头距棚顶应大于20cm。
(4) 使用36V安全电压时,线路接头应用绝缘胶布包扎,并应敷设整齐。
4、配电线路
(1) 电缆线应采用地埋或架空敷设,严禁沿地面明敷,并应避免机械伤害和介质腐蚀。穿建筑物、构筑物、道路、易受机械损伤的场所及电缆引出地面从2m高反至地下0.2m处必须加设防护套管,橡胶电缆架空时应采用钢索配线。电缆埋设深度应不小于0.6m,并应在电缆上下铺设不小于50cm厚的细纱,然后覆盖砖等硬只质保护层。
(2) 自总配电柜至分配电箱到开关箱应采用五芯电缆,由室外引至楼内各层配电箱的电缆不可直接从地面引入应利用建筑工程的竖井,垂直孔洞敷设固定点每层不少于一处,每层或隔层可设分箱,固定设备可设开关箱,手持电动工具可设移动电箱。
(3) 总配电箱应设置在电源近的地方,分配电箱应设置在负荷集中的地方,分配电箱与开关箱的距离应不大于30m,开关箱与电气设备的距离应不大于3m。
5、电器装置
(1) 开关箱内安装的电器开关应与电器设备的额定容量相匹配,严禁使用不合格及受到损伤的开关。
(2) 电器开关安装应牢固端正,熔丝应该与开关额定容量匹配,严禁使用铜丝、铝丝等其他金属材料代替熔丝。
(3)开关电器应按规定固定在安装板上,严禁带电体外露。
6、变配电装置
(1) 总配电柜中应安装电流表、电压表、电度表、总隔离开关,分路熔断器(或总自动开关和分路自动开关)以及漏电保护器。
(2) 配电室中配电柜后维护通道不小于0.8m,配电柜侧面维护通道不小于1m,配电室天棚距离地面应不低于3m。
(3) 配电室门应向外开,并配锁,配电室内应设绝缘灭火器,并配置砂箱。
八、安全用电组织措施
1、施工现场的变配电设施应由受到专业培训并取得上岗证的电工操作。
2、各类用电人员应该做到:
(1) 掌握安全用电基本知识和所用设备的性能。
(2) 使用设备前必须按规定穿戴好相应的劳动保护用品,并检查电器装置和保护设施是否完好,严禁设备带“病”运行。
(3) 使用的设备必须拉闸断电,锁好开关箱。
(4) 负责保护设备的负荷线、保护零线和开关箱。
(5) 发现用电设备及配电线路、配电设备出现异常现象应该及时通知电工进行维修处理,维修时应该与电工积极配合。
3、建立安全用电技术交底制度,电气技术人员向专业电工,各类用电人员介绍临时用电施工组织设计和安全用电技术措施的总体意图、技术内容以及安全用电规范性内容。
4、建立安全用电规范制度
(1) 定期对专业电工及各类用电人员(尤其是新到岗人员)进行安全用电规范教育,对违反规程标准和操作规程的行为及时制止,并追究有关人员的责任。
(2) 停电顺序为:开关箱—分配电箱—总配电箱,全部或部分停电的检修工作必须遵循:停电—验电—放电—安装临时接地线—设专人看管电源—设遮拦警示牌—检修,其步骤不得省略或跳过。
(3) 配电柜(箱)应该加锁保护,钥匙由专业电工保管,其他人员不得乱动。
(4) 如果需要对线路进行带电检修时,必修保证有足够的安全检修距离,工作人员必须穿绝缘鞋(靴)、带绝缘手套以及配备好其他安全保护措施。
(5) 建立安全检测制度,自临时用电工程开始,定期对临时用电设施进行检测,主要工作为:接地电阻值,电线电缆和配电设备的绝缘电阻值、漏电保护器动作参数、各类仪表读数、用电设备的性能参数等,并做好检测记录。
九、临时用电防火措施
1、要根据用电设备容量正确选择电线、电缆截面和开关的规格。当线路上出现过负荷时,能在规定的时间内动作以保护线路。
2、电气操作人员应该按照规范操作,接线方式要正确,应该接实、接牢,三根或三根以上单股导线与设备连接时应该压接端子,多股导线要用端子或涮锡后与设备连接,以防止接触点电阻加大引起火灾。
3、配电箱(柜)电线电缆及用电设备附近不允许堆放易燃易爆物品,电箱附近应该备有绝缘灭火器。
4、施工现场不允许使用电炉子,使用碘钨灯时,灯与易燃物品间距应该大于1.0M。尽可能使用36V灯泡,室内不准使用大于100W的白炽灯泡,严禁使用床头灯。
5、竖井架、塔吊应该做好防雷接地,接地电阻应该小于10欧姆
6、存放易燃物品的仓库内照明装置应该采用防爆灯具,导线敷设,灯具安装,导线与设备的连线均应该满足有关规范的要求。
十、施工现场临电平面布置图
见附表1
十一、材料需求计划表
材料需求计划表
名称 | 规格(毫米) | 需用时间 | 数量 | 备注 |
总配电柜 | 1800×700×400 | 10.29 | 1 | 用于配电室 |
钢筋加工厂分箱 | 500×400×300 | 10.29 | 2 |
|
木工加工厂分箱 | 600×450×300 | 10.29 | 2 |
|
搅拌站分箱 | 600×450×300 | 10.29 | 2 |
|
塔吊分箱 | 600×450×300 | 10.29 | 3 |
|
开关箱 | 450×400×200 | 10.29 | 32 |
|
电缆 | VV22—4×50+1×35 | 10.29 |
| 根据现场实测 |
| VV22—4×35+1×25 | 10.29 |
| 根据现场实测 |
| VV22—4×25+1×16 | 10.29 |
| 根据现场实测 |
| VV22—4×150 | 10.29 |
| 根据现场实测 |
橡胶电缆 | 3×6+2×4 | 10.29 |
| 根据现场实测 |
塑铜线 | 红BV-2.5 | 10.29 | 200米 | 用于办公区照明 |
| 蓝BV-2.5 | 10.29 | 200米 | 用于办公区照明 |
| 白BV-2.5 |
| 100米 | 用于办公区照明 |
| 红BV-6 |
| 100米 |
|
| 蓝BV-6 |
| 100米 |
|
PVC管 | 20毫米2 |
| 200米 |
|
碘钨灯 | 100W |
| 10盏 |
|
插座 |
|
| 6 |
|
邯郸市供电公司2#高层住宅楼
临时用电施工组织设计实例二
施工单位:中煤建安第六十九工程处
一、编制依据
1.施工现场临时用电安全技术规范(JGJ46-88);
2.建筑施工安全检查标准(JGJ59-99);
3.河北省建筑施工安全检查标准实施细则;
4.《施工现场临时用电施工组织设计》(徐荣杰编)
二、工程概况
1.本工程位于邯郸市滏东大街西侧、丛台路北500米处,为高层家属住宅楼。地上十九层,楼向座北向南,总建筑面积10504平方米。施工用电配电室设在主体施工现场的东侧北角,配电室总电源由建设单位供给。
2.用电专业设计范围380V/220V供配电设计,现场用电分设备用电、施工照明用电。动力用电分6路,照明分3路,施工用电线路采用TN-S接零保护系统。
三、配电系统施工布置
1.第一路混凝土搅拌站。橡皮铜芯电缆由配电室架设到搅拌站二极配电箱。由二极电箱分6路分别(埋地)向木工加工车间、混凝土搅拌站供电。
2.第二路户处电梯。橡皮铜芯电缆由配电室架设到户处电楼侧二极配电箱供电梯专用。
3.第三路钢筋加工车间。橡皮铜芯电缆由配电室架设到钢筋加工车间二极配电箱,由二极配电箱分7路分别对弯曲、切断和对焊机供电。
4.第四路塔吊。橡皮铜芯电缆由配电室架设到塔吊侧二级配电箱,由二级配电箱分3路分别向塔吊供电,两路备用开关。
5.第五路电焊加工车间。橡皮铜芯电缆由五路备用开关架设至主体施工现场,分别引到三极漏电开关箱供电焊机三极开关箱。3路备用。
6.第六路振捣电机。橡皮铜芯电缆由五路备用开关架设至主体施工现场,分别引到三极漏电开关箱供振捣电机用电。
施工所用设备用电采用三级配电二级保护。三极开关箱:一机一闸一漏一箱配电。
四、负荷计算
第一路:混凝土搅拌站、木机加工车间用电设备总功率为91.3千瓦
选电缆截面为(3×50+2×25)
ΣP机=25×2+11.4×2+3×2+5+7.5=91.3千瓦
KΣP |
30.5.v.cosФ.η |
I线=
0.9×91.3×1000 |
30.5×380×0.75×0.86 |
=
=192安
第二路:电梯、水泵用电设备总功率为27.5千瓦,选电缆截面为(4×10+1×6)
ΣP机=22×5.5=27.5千瓦
KΣP |
30.5.v.cosФ.η |
I线 =
0.9×27.5×1000 |
30.5×380×0.75×0.86 |
=
=58安
第三路:钢筋加工车间用电设备总功率为69.8千瓦,选电缆截面为35㎡。(3×35+2×25)
ΣP机=22+3.2×4+10+25=69.8千瓦
KΣP |
30.5.v.cosФ.η |
I线=
0.9×69.8×1000 |
30.5×380×0.75×0.86 |
=
=147安
第四路:塔吊用电设备总功率为32.7千瓦,选电缆截面为(3×16+2×10)
ΣP机=25+2.2+5.5=32.7千瓦
KΣP |
30.5.v.cosФ.η |
I线=
0.9×32.7×1000 |
30.5×380×0.75×0.86 |
=
=169安
第五路:电焊加工设备总功率为35.3千瓦,选电缆截面为(3×25+2×16)
ΣP机=12.3×3+20=35.3千瓦
KΣP |
30.5.v.cosФ.η |
I线=
0.9×35.3×1000 |
30.5×380×0.75×0.86 |
=
=74.5安
总容量:
ΣP总=(91.3+27.5+69.8+32.7+35.3)×0.7=180KW
180 |
|
I总=
=365A
五、配电室设备:总负荷:180千瓦
1.配电室高度大于3米。
2.成排与电屏。电屏之间应采用不小于6㎡铜芯导线相互连接与接地线连接。
3.配电屏正面的操作宽度不应小于1.5米,通过人通道不小于0.6米。配电室门向外开关配锁。
4.满足供电运行可靠、操作灵活、检修方便、有专人值班。
六、电缆、电线敷设
1.避免电缆受到各种损坏及腐蚀,避开规划中建筑工程需要挖掘施工的土方。
2.电缆在室外直埋地敷设的浓度不小于0.6米,并在电缆上下均匀铺设不小于0.5米厚的细砂,然后覆盖砖等硬质板物保护。
3.电缆穿越建筑道路易受机械损伤的场所引出地面2米高度到地下0.2米必须加设防护套管。
4.地埋电缆严禁有接头。
5.橡皮电缆架空敷设时应沿墙或电杆设置,应用绝缘子固定,严禁使用金属体线作绑线。
七、室内配线
1.室内配线必须使用绝缘导线,采用瓷瓶、瓷夹等敷设,距地面高度不得小于2.5米。
2.进户线过墙应穿保护套管,并应采取防雨措施。
3.室内配线所用导线截面铝线截面不小于2.5㎡,铜线截面不小于155㎡。
4.潮湿场所埋地非电缆配线处必须穿管敷设。管口应密封,采用金属管敷设时必须做保护接地线。
八、室外配电箱设置
1.配电箱应设置在干燥、通风及常温场所,不得设在强烈振动的场所。
2.配电箱周围应有足够两人同行的空间,不得堆放任何妨碍操作、维护物品,不得有颧木、杂草。
3.配电箱内的工作零线应能过接线端子板连接,并应有保护地线
4.必须实行“一机一闸制”。必须装漏电保护器,漏电额定动作电流应不大于30MA。额定漏电动作时间应小于0.1s。水泵、振捣器工作在潮湿场地的设备应装设额定电流不大于15MA,动作时间小于0.1s的漏电断路器。
5.配电箱导线在进线口和出线口应设在箱体的底面,严禁在箱上侧后门处进出线。
九、工地照明
1.选用额定电压220V、380V的照明器,室外灯具距地不得低于3米,室内灯具不得低于2.4米。
2.工作零线截面应按下列规定选择。
1)单相及二相线路中,零线截面与相线截面相同。
2)三相四线制线路中,当照明器为白炽灯时,零线截面按相线截面流量的50%选择。
十、现场施工安全用电
1.安装维修、拆除临时用电工程,必须用电工完成。其它人员不得擅自施工。
2.电工人员应掌握安全用电基本知识和所有设备的性能。
3.上岗必须按规定穿戴和配好相应的劳保防护用品,并检查电气装置保护设施是否完好。严禁设备带“病”运转。
4.停用设备必须拉闸断电,锁好开关箱。
5.施工现场外电防护措施无法实现时,必须采取防护措施增设屏障遮挡,围挡保护网,并悬接醒目的警告标志牌。
6.在施工现场专用的中性点直接接地的电力线路中必须采用TV-S接零保护系统。
十一、用电防火措施
1.施工现场用电的仓库、食堂、宿舍等不得采用胶织线配线
2.严禁使用电炉取暖、做饭。
3.烛接地点要远离易燃、易爆物品。
4.配电室及用电设备应适当配备手提式及推车式化学灭火器。
5.施工现场发现有火情要及时报警110。
十二、施工机具设备明细表
施工设备明细表
序号 | 设备名称 | 型号 | 功率千瓦 | 备注 | 台数 |
1 | 搅拌机 |
| 25 |
| 2 |
2 | 卷扬机 | KW | 114 |
| 2 |
3 | 木工刨 | MQ4 | 3 |
| 1 |
4 | 电钻 |
| 3 |
| 1 |
5 | 圆盘锯 |
| 5 |
| 1 |
6 | 输送机 |
| 7.5 |
| 1 |
7 | 水泵 |
| 5.5 |
| 1 |
8 | 电梯 |
| 22 |
| 1 |
9 | 卷扬机 | JD-22 | 22 |
| 1 |
10 | 弯曲机 | GM40A | 3.2 |
| 1 |
11 | 切断机 | Q-40 | 10 |
| 1 |
12 | 对焊机 | MN | 25 |
| 1 |
13 | 电焊机 | 13X-500 | 35 |
| 2 |
14 | 振动器 | 2×50 | 2.1 |
| 3 |
15 | 塔吊 | QT80A | 35 |
| 1 |
设备总台数:23台 设备总功率:2885千瓦 | |||||
================================================================
说 明
星欣设计图库资料专卖店拥有最新最全的设计参考图库资料,内容涉及景观园林、建筑、规划、室内装修、建筑结构、暖通空调、给排水、电气设计、施工组织设计等各个领域的设计素材和设计图纸等参考学习资料。是为广大艺术设计工作者优质设计学习参考资料。本站所售的参考资料包括设计方案和施工图案例已达几十万套以上,总量在数千G以上。
联系QQ:447255935
电话:13111542600